User manual

KISA PHONE MANUAL
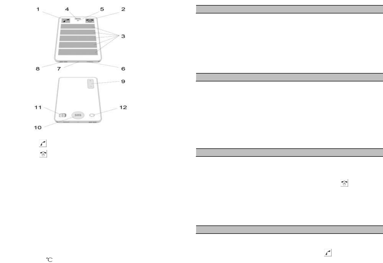
1. Answer button
2. End call button
3. Contact dial buttons (5 contact configuration shown)
4. Earpiece
5. LED indicator
6. Charging socket (connects to USB power cable)
7. Microphone
8. Lanyard anchor point
9. Volume Up/Down button
10. SOS button
11. ON/OFF switch
12. Loudspeaker
GETTING STARTED
Your KISA phone has been charged at the factory and is ready to use. To
make your first call using KISA phone:
1. Turn the phone ON by placing the ON/OFF switch (11) to ON position. The
lights will flash, the phone will vibrate and play the “on” sound.
2. You can now use your KISA phone to make and receive phone calls.
3. Press on any Contact dial buttons (3) to make a call.
CHARGING YOUR KISA PHONE
ON/OFF switch (11) must be in the ON position for charging. To charge your
KISA phone, simply plug the power adapter into a power point. Connect your
KISA phone to the power adapter using the provided USB power cable.
It takes 2 hours to fully charge your KISA phone. The charge can last up to 7
days. The LED indicator will blink red if your KISA phone is charging properly.
You can use the provided charging cradle to make charging easier. When the
cradle is plugged in and has power, you will see a light on it.
MAKING AND ENDING PHONE CALLS
To make a call, simply press the Contact dial button (3). KISA phone will
flash green, vibrate and play a sound indicating a successful dial.
To end the phone call simply press the End call button . KISA phone
flashes blue, vibrates and plays a sound to let you know that the call has
ended. Your KISA phone will go into sleep mode after 1 minute of inactivity.
To wake it up, just press any button and then press the Contact dial button
(3) to make a phone call.
RECEIVING PHONE CALLS
When there is an incoming call KISA phone will ring, vibrate and the LED (5)
will flash green. Simply press the Answer button to answer the call.
Work Temperature:-30~50ÿ

When talking you can activate and deactivate Loudspeaker (12) by pressing
the Answer button . To end the call press the End call button
SOS BUTTON AND EMERGENCY CALLS
To call emergency services, press the SOS button 4 times within 3 seconds.
KISA phone will switch itself to Loudspeaker. KISA phone will also make a
loud emergency noise and vibrate; this is deliberate to alert people around.
To end the call press End call button
VOLUME ADJUSTMENT
You can adjust the volume of the ringtone by pressing the Volume button
(9) while not on an active call. Press + to increase the volume, press - to
decrease the volume.
You can also adjust the Earpiece and Loudspeaker volume by pressing the
Volume button (9) during a call.
TURNING KISA PHONE ON AND OFF
To check if your KISA phone is switched ON press the Answer button
once, LED indicator will show green or blue depending on mobile signal.
We recommend not turning your KISA phone OFF. If the need arises you can
turn KISA phone OFF using the OFF switch.
To turn KISA phone back ON, move the ON/OFF switch (11) to the ON
position.
THINGS YOU SHOULD KNOW ABOUT KISA PHONE
LED INDICATOR
Green light indicates working mobile reception.
Blue light indicates no mobile reception.
Four red lights indicate battery power is at 100%, three lights mean
75%, two lights mean 50% and one light means 25% or less.
No LED light when KISA phone is in sleeping mode or switched off.
SMART CALL TERMINATION
To protect you from receiving excessive bills if you forget to end an outgoing
call your KISA phone will disconnect all outgoing calls after 15 minutes; this
function does not affect incoming calls.
If KISA phone disconnects you partway through a phone call you can re-dial
using a Contact dial button (3).
CHANGING DIAL BUTTONS AND PHONE NUMBERS
Please refer to www.kisaphone.com.au/mykisa for instructions on how to
make changes to dial buttons and phone numbers.
WARRANTY
Please refer to www.kisaphone.com.au/warranty for KISA phone warranty.
Federal Communications Commission (FCC) Statement
This device complies with part 15 of the FCC Rules. Operation is subject to the following two
conditions: (1) This device may not cause harmful interference, and (2) this device must
accept any interference received, including interference that may cause undesired operation.
Note: This equipment has been tested and found to comply with the limits for a Class B digital
device, pursuant to part 15 of the FCC Rules. These limits are designed to provide reasonable
protection against harmful interference in a residential installation. This equipment generates,
uses and can radiate radio frequency energy and, if not installed and used in accordance with
the instructions, may cause harmful interference to radio communications. However, there is
no guarantee that interference will not occur in a particular installation. If this equipment does
cause harmful interference to radio or television reception, which can be determined by turning
the equipment off and on, the user is encouraged to try to correct the interference by one or
more of the following measures:
●Reorient or relocate the receiving antenna.
●Increase the separation between the equipment and receiver.
●Connect the equipment into an outlet on a circuit different from that to which the receiver is
connected.
●Consult the dealer or an experienced radio/TV technician for help.
Warning: Changes or modifications made to this device not expressly approved by Shenzhen
Hollyland Technology Co.,Ltd may void the FCC authorization to operate this device.
Note: The manufacturer is not responsible for any radio or tv interference caused by
unauthorized modifications to this equipment. Such modifications could void the user’s
authority to operate the equipment.
SAR Information Statement
Your wireless phone is a radio transmitter and receiver. It is designed and
manufactured not to exceed the emission limits for exposure to radiofrequency (RF)
energy set by the Federal Communications Commission of the U.S. Government.
These limits are part of comprehensive guidelines and establish permitted levels of
RF energy for the general population. The guidelines are based on standards that
were developed by independent scientific organizations through periodic and
thorough evaluation of scientific studies. The standards include a substantial safety
margin designed to assure the safety of all persons, regardless of age and health. The
exposure standard for wireless mobile phones employs a unit of measurement
known as the Specific Absorption Rate, or SAR. The SAR limit set by the FCC is 1.6
W/kg. * Tests for SAR are conducted with the phone transmitting at its highest
certified power level in all tested frequency bands. Although the SAR is determined
at the highest certified power level, the actual SAR level of the phone while
operating can be well below the maximum value. This is because the phone is
designed to operate at multiple power levels so as to use only the power required to
reach the network. In general, the closer you are to a wireless base station antenna,
the lower the power output. Before a phone model is available for sale to the public,
it must be tested and certified to the FCC that it does not exceed the limit
established by the government adopted requirement for safe exposure. The tests are
performed in positions and locations (e.g., at the ear and worn on the body) as
required by the FCC for each model. The highest SAR value for this model phone
when tested for use at the ear is 0.80 W/Kg and when worn on the body, as described
in this user guide, is 0.27 W/Kg (Body-worn measurements differ among phone models,
depending upon available accessories and FCC requirements). While there may be
differences between the SAR levels of various phones and at various positions, they all
meet the government requirement for safe exposure. The FCC has granted an Equipment
Authorization for this model phone with all reported SAR levels evaluated as in
compliance with the FCC RF exposure guidelines. SAR information on this model phone
is on file with the FCC and can be found under the Display Grant section of
http://www.fcc.gov/ oet/fccid after searching on
FCC ID: 2AHS8-KPAU02 Additional information on Specific Absorption Rates (SAR)
can be found on the Cellular Telecommunications Industry Asso-ciation (CTIA) web-site
at http://www.wow-com.com. * In the United States and Canada, the SAR limit for
mobile phones used by the public is 1.6watts/kg (W/kg) averaged over one gram of tissue.
The standard incorporates a sub-stantial margin of safety to give additional protection for
the public and to account for any variations in measurements.
Body-worn Operation
This device was tested for typical body-worn operations. To comply with RF exposure
requirements, a minimum separation distance of 10 mm must be maintained between the
user’s body and the handset, including the antenna. Third-party belt-clips, holsters, and
similar accessories used by this device should not contain any metallic components.
Body-worn accessories that do not meet these requirements may not comply with RF
exposure requirements and should be avoided.