Midland Radio 713110B Licensed Non-Broadcast Station Transmitter User Manual 1
Midland Radio Corporation Licensed Non-Broadcast Station Transmitter 1
users manual
OPERATOR'S MANUAL
BASE TECH II BASE/REPEATER STATION
8/01
Midland Radio Corp.

Base Tech II Base/Repeater Station Operator’s Manual
2
Introduction..................................................................................................................................................3
Description ..............................................................................................................................................3
Features..................................................................................................................................................3
Controls, Indicators and Connectors ......................................................................................................4
Operation......................................................................................................................................................7
Installation and Programming .................................................................................................................7
Basic Operation.......................................................................................................................................8
Front Panel Operation.............................................................................................................................9
Signaling ...............................................................................................................................................11
Scanning ...............................................................................................................................................14
Locking the Keypad ..............................................................................................................................17
Changing Tone Signaling Systems .......................................................................................................17
Displaying the Channel Information......................................................................................................18
Display of Received Tone Frequencies. ...............................................................................................18
Bar Graph Displays...............................................................................................................................19
LCD Display Back Light ........................................................................................................................19
Transmit Power Change .......................................................................................................................20
Calling Party ID Display ........................................................................................................................20
Displaying any Radio's ID Number .......................................................................................................21
Emergency Caller Display.....................................................................................................................21
Automatic Transmit in Repeater Mode .................................................................................................22
TX Test Mode........................................................................................................................................22
Keypad Test Mode ................................................................................................................................22
Frequency Band Test Mode..................................................................................................................24
Starting Message ..................................................................................................................................24
Serial Number Display ..........................................................................................................................25
EEROM Data Check Mode...................................................................................................................25
Hardware Error Detection .....................................................................................................................25
RS232C Communications Error............................................................................................................26


Base Tech II Base/Repeater Station Operator’s Manual
4
The Base Tech II Base Repeater includes 5-tone selective calling encoder/decoder with non-predictive
decoder, as well as a DTMF encoder and voice encryption option. It supports both all channel scanning
and programmed channel scanning for base use.
The Base Tech II Base Repeater is fitted with a large full dot matrix LCD that is used to display the
channel numbers and names, frequency and tone programmed information and signaling information. All
user-interface keys and knobs are conveniently located on the front of the radio. All user-entered
functions are easily activated in a logical manner via the keypad.
The Base Tech II Base Repeater is supplied with an "N" type connector for the transmitter, and a BNC
connector for the receiver to allow easy connection to the duplexer or feeder cables.
The rear panel includes a 9-way D-sub connector for the attachment of an external shared tone panel.
Also included is a 25-way D-sub connector that enables external interface to other radios or control
equipment.
The Base Tech II Base Repeater is supplied complete with the following items:
o Base Tech II Base Repeater
o DC Cable Connector
o Operators Manual
o Hand Microphone
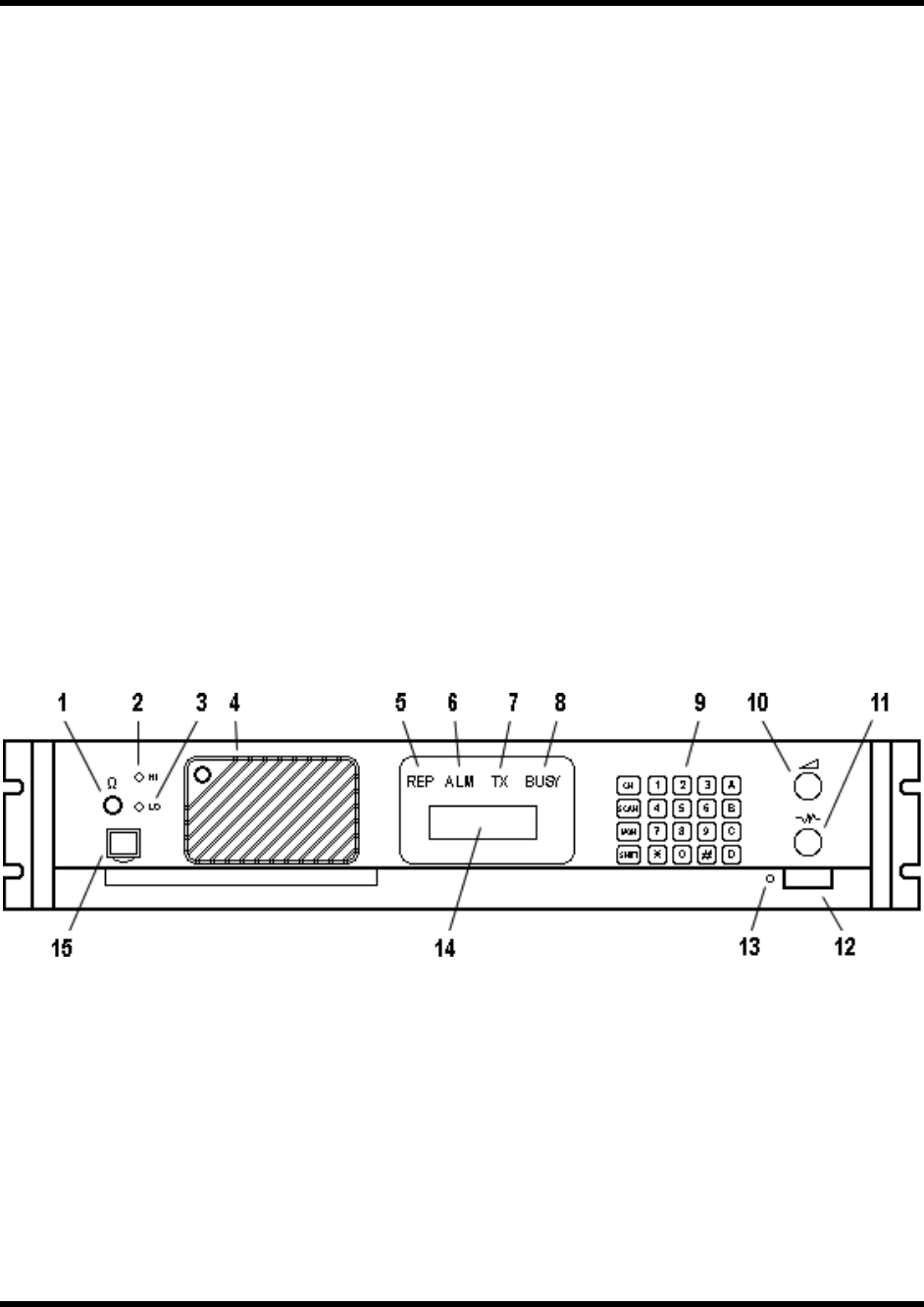
Controls, Indicators and Connectors
• Front Panel Controls
1. Headphone Socket
This socket is provided to allow users to listen to the Base Tech II Base Repeater using headphones.
Plugging a headphone into this socket will disconnect the built-In speaker. It does NOT include a
microphone input or TX PTT facility.
2. High TX Power
This is a service point and is not used by the radio operators

Base Tech II Base/Repeater Station Operator’s Manual
5
3. Low TX Power
This is a service point and is not used by the radio operators
4. Loud Speaker*
The receiver audio signals are heard from this speaker (provided that the volume setting is loud enough
and provided that the speaker has not been muted by one of the tone signaling formats).
5. Repeater Mode Indicator LED
The Repeater Mode Indicator LED will illuminate "REP" in yellow when the selected channel has been
programmed for Repeater operation. This LED is NOT illuminated on any channel that is programmed to
operate in Base mode.
6. Alarm Mode Indicator LED
The Alarm Mode Indicator LED will illuminate (Flashing) "ALM" in orange whenever the transceiver
detects a fault in the receiver module, the transmitter module, or the PA module on the selected channel.
7. Transmit Mode Indicator LED
The Transmit Mode Indicator LED will illuminate "TX" in red whenever the Base Tech II Base Repeater is
transmitting.
8. Busy Mode Indicator LED
The Busy Mode Indicator LED will illuminate "BUSY" in green whenever the Base Tech II Base Repeater
receives a carrier signal on the selected channel that is greater than the Squelch setting.
9. Keypad*
The 5 x 4 key Keypad is used to enter channel selection, tone information, and other data into the Base
Tech II Base Repeater. Specific key sequences are described fully in section 4 of this document. It
includes the following keys: CH, SCAN, MON, SHIFT, 1, 2, 3, 4, 5, 6, 7, 8, 9, 0, •, #, A, B, C, and D.
10. Volume Control*
The Volume Control is used to set the audio output level from the loudspeaker. Rotate this knob clockwise
to increase the audio level, or counter-clockwise to reduce the audio level.
11. Squelch Control*
The Squelch Control is used to set the squelch threshold. Select a channel that is not being used and
slowly rotate this knob clockwise until the annoying background noise ceases. It may be desirable to
rotate this knob clockwise, slightly past the squelch threshold, to compensate for varying background
noise levels.
12. Power ON/OFF Switch
The Power ON/OFF Switch is used to switch the Base Tech II Base Repeater "ON" or "OFF". Press this
knob to switch the Base Tech II Base Repeater "ON". Press this knob again to switch the Base Tech II
Base Repeater "OFF". This knob is slightly more depressed when in the "ON" position.
13. Power On Indicator LED
The Power ON Indicator LED will illuminate in green whenever the Power ON/OFF switch is in the "ON"

Base Tech II Base/Repeater Station Operator’s Manual
6
position.
14. Liquid Crystal Display (LCD) (not used on Single Channel Models)
The LCD comprises of four (4) lines each of which is capable of displaying twenty-one (21) characters.
The first line, under normal operating conditions, displays the strength of the signal being received on the
selected channel as a bar graph. The second line displays the strength of the transmitting power as a bar
graph. The third line displays the selected channel number (up to four characters) in the first five left hand
character spaces, and displays the channel name (up to eight characters) in the next eight character
spaces.
Any combination of the following characters may be used in the channel name:
0-9, A-Z, a-z, / + - * # ! $ % ( ) = [ ] < > ? and space
This area of the LCD is left blank when channel names are not used.
The six character spaces on the right hand side of this line are used to display status symbols as follows:
Symbol Status
The monitor status.
The key lock status.
The tone encode status.
The scan mode status.
The high power transmit status.
[SHIFT] key is depressed.
On the left hand side of the fourth line, the type of tone signaling system selected by the user is
displayed. For example, "5TON" indicates 5 Tone signaling while “DTMF” indicates Dual Tone Multi
Frequency signaling.
The right hand side of the fourth line is used to display data that the user enters (for example, 5 Tone
calling sequences). These character spaces are also used by the Base Tech II Base Repeater to display
messages and information directed to the user.
15. Microphone Input Socket
Connect the microphone into this socket.

Base Tech II Base/Repeater Station Operator’s Manual
7
• Rear Panel Connectors
16. 25 way External Options Connector
17. 9 way Programming Connector
18. DC Input Fuse Holder
19. 3 way DC Input Socket
20. TX/Antenna Connector (N type)
21. Ventilation Slots
22. RX Connector (BNC type)
OPERATION
Installation and Programming
As the Base Tech II Base Repeater can be installed to operate as either a Base Station or as a Repeater,
some of the instructions in this document may apply to one application only, some may apply in both
cases, while others may only apply if the particular function has been enabled during programming of the
Base Tech II Base Repeater.
The Base Tech II Base Repeater must be programmed before it will operate correctly. This should be
done by the equipment supplier or a qualified radio tradesman. They will require the Base Tech II Base
Repeater programming software to do this correctly.

Base Tech II Base/Repeater Station Operator’s Manual
8
It is important that the Base Tech II Base Repeater be correctly installed at its working location by a
qualified radio technician.
As a minimum, it is necessary to:
o Connect the DC Input power lead to a suitable 13.8 Volt Regulated DC Power supply that has
sufficient capacity. (Ensure that the DC Polarity is correct).
o Connect the two antenna connectors to suitable antennas (ensure that the VSWR of the
antennas is correct).
o Insert the microphone into the microphone connector on the front panel.
Basic Operation
• Switch On
Switch the Base Tech II Base Repeater "ON" by pressing the knob (12). Then check that the LED
indicator (13) is illuminated.
• Adjust the Volume Setting
Rotate the Volume Knob (10) clockwise (from the fully counterclockwise position) until the audio level
from the speaker is suitable.
• Adjust the Squelch Setting
Rotate the Squelch Knob clockwise (from the fully counter clockwise position) slowly until the background
noise can no longer be heard. It is wise to rotate the knob slightly further in the clockwise direction so that
variations in the background noise level do not "break" the squelch setting and cause annoying squelch
noises to be heard from the speaker.
• Select the Channel
Select the required channel by pressing the CH key followed by the channel number key. The channel
number keys must be selected within two seconds. For example, [CH] + [0] + [1] to select Channel 1. The
LCD Display should now display CH01 and (if programmed with a channel label) the channel name:
"CH01 NAME".
• Receiving
You should now be able to hear any radio traffic that occurs on channel #1 on the Base Tech II Base
Repeater. It may be necessary to adjust the Volume setting to suit your listening requirements.
• Transmitting
Depending on the legal requirements in your country, and the operating requirements within your
organization, it may be necessary to announce your Call Sign. In addition, it will probably be necessary to
announce the Call Sign of the party you are calling at the start of your transmission.
When transmitting, it is necessary to hold the microphone about 3 inches from your mouth and speak
clearly into the front of the microphone.
It is also necessary to press and hold the “Press To Talk” (PTT) bar on the side of the microphone while
speaking into the microphone.

Base Tech II Base/Repeater Station Operator’s Manual
9
Front Panel Operation
This section describes most signaling and other advanced features that are available on the Base Tech II
Base Repeater. The availability of some features is dependent on the programming of the transceiver and
installed options. You may find it worthwhile to discuss these features in detail with your radio supplier to
obtain a full understanding of their benefits.
• Keypad Operation
The Keypad is the interface between the user and the Base Tech II Base Repeater. It is used to enable or
disable various functions and to enter the required data for signaling purposes.
The word (5-Tone) or (DTMF) shown after the described feature indicates that the described feature
applies to the particular signaling format.
The following keys are used for the purposes described:
[0] - [9] Entering new channel numbers
Entering the "KILL" password
Entering signaling encoding numbers (5-Tone) (DTMF)
Entering DTMF numbers (DTMF)
[A] Advancing the Base Tech II Base Repeater to the next higher channel
Entering the signaling "A" tone (5-Tone) (DTMF)
Encodes the "A" Tone (DTMF)
[B] Advancing the Base Tech II Base Repeater to the next lower channel
Entering the signaling "B" tone (5-Tone) (DTMF)
Encodes the "B" Tone (DTMF)
[C] Entering the signaling "C" tone (5-Tone) (DTMF)
Encodes the "C" Tone (DTMF)
[D] Entering the signaling "D" tone (5-Tone) (DTMF)
Encodes the "D" Tone (DTMF)
[•] Displays the previously entered encode numbers (5-Tone) (DTMF)
Encodes the "•" -Tone (DTMF)
[#] Encodes the signaling numbers that are displayed in the LCD display (5-Tone) (DTMF)
Encodes the "#"-Tone (DTMF)
[CH] Used with two channel numbers [0] - [9] to change the active channel on the Base
Tech II Base Repeater. E.g. [CH]+[9]+[0] will change the active channel to Channel 90
(provided Ch 90 has been programmed into the Base Tech II Base Repeater.
[SCN] Used to place the Base Tech II Base Repeater into the "All-Scan" mode where the
Base Tech II Base Repeater will scan all programmed channels. Pressing the [SCN]
key again will cause the Base Tech II Base Repeater to exit from the "All-Scan" mode.
[MON] Switches the Base Tech II Base Repeater between "Monitor ON" mode and "Monitor
OFF" mode and is used to "Un-mute" the radio when using selective calling
(depending on the programming of the Base Tech II Base Repeater).

Base Tech II Base/Repeater Station Operator’s Manual
10
• Keypad Operation using the [SHIFT] Key
Some of the Base Tech II Base Repeater's features and related functions can be changed by using the
[SHIFT] key. To make these changes, it is necessary to first press the [SHIFT] key followed by the other
keys within a two second timeframe.
The following key sequences are used for the purposes described:
[SHIFT]+[0] Toggles the tone system between 5-Tone signaling and DTMF signaling
[SHIFT]+[1] Switches the LCD back-light to the ON or OFF position
[SHIFT]+[2] Toggles the transmitting power between High power and Low power
[SHIFT]+[3] Invalid Key
[SHIFT]+[4] Toggles between "Single Tone Encoding" mode and "5-Tone" or "DTMF"
signaling mode
[SHIFT]+[5] Invalid Key
[SHIFT]+[6] Enters the KILL mode to allow entry of the KILL password
[SHIFT]+[7] Displays the programmed information for the selected (active) channel in the
LCD display
[SHIFT]+[8] Locks or Unlocks the Base Tech II Base Repeater's Keypad
[SHIFT]+[9] Toggles the Base Tech II Base Repeater between "Normal Channel
Scanning" mode and "Priority Channel Scanning" mode
[SHIFT]+[A] Restores a channel to the Channel Scanning List. (The user must first select
the channel to be restored as the active channel)
[SHIFT]+[B] Invalid Key
[SHIFT]+[C] Indicates to the Base Tech II Base Repeater that you have entered the last
number of a DTMF encoding sequence
[SHIFT]+[D] Invalid Key
[SHIFT]+[•] Deletes the active channel from the Channel Scanning List
[SHIFT]+[#] Will attach the "R-Number" data to the active encode number and transmit
the whole sequence
[SHIFT]+[CH] Will start or stop the display of the TX and RX bar graphs in the LCD display
[SHIFT]+[SCN] Will place the Base Tech II Base Repeater in the Program Scan mode or exit
from the Program Scan mode
[SHIFT]+[MON] Invalid Key

Base Tech II Base/Repeater Station Operator’s Manual
11
• Changing Channels
To change to another channel, simply press the [CH] key followed by the number of the required channel
within two seconds.
For example: To select Channel 8, press [CH] [0] [8]
To select Channel 99, press [CH] [9] [9]
Note that it is always necessary to enter two digits for the Channel Number. The channel # location
displayed in the LCD will become blank as soon as the [CH] key is pressed. The cursor will blink at the
location of the channel number, and display the new numbers as they are entered.
It is also possible to change channels by using the [CH], [A] and [B] keys instead of entering the channel
numbers. Pressing the[CH] then the [A] key will advance the channel to the next higher programmed
channel, while pressing [B] will advance the channel to the next lower programmed channel.
Note that this action will ignore channels that have not been programmed into the Base Tech II Base
Repeater. Accordingly, the LCD display may appear to advance more than one channel if the missed
channel is not programmed into the Base Tech II Base Repeater.
Signaling
The Base Tech II Base Repeater includes some very sophisticated signaling capabilities. We suggest that
you have your radio supplier conduct some training on the use of these capabilities prior to using them.
While it is possible to use these signaling capabilities in both repeater mode, and in base station mode,
many will only be useful in practice when the Base Tech II Base Repeater is used in base station
configuration.
The Base Tech II Base Repeater supports the 5-Tone sequential, and/or the DTMF, and the Single Tone
signaling formats. The required signaling format(s) must be enabled when the Base Tech II Base
Repeater is programmed.
• 5-Tone Signaling
Available Tones
5-Tone signaling is commonly referred to as “Selective Calling” (or Selcall) and usually comprises of a
series of 5 tones sequentially transmitted or received in accordance with certain international standards. It
is possible to use longer sequences to enhance the signaling capabilities and to provide additional
functions.
Accordingly, the Base Tech II Base Repeater will encode up to sixteen (16) tones and decode up to eight
(8) tones.
These tones can be any of the following letter/number combinations:
[0] - [9], and [A] - [D]
The most recently entered tone can be recalled and deleted by pressing the [•] key repeatedly.
Entering a 5-Tone Encode Sequence
When switched "ON", the Base Tech II Base Repeater carries out its self-test routine, then waits ready to

Base Tech II Base/Repeater Station Operator’s Manual
12
accept 5-Tone encode numbers. Accordingly, it is necessary to enter the required 5-Tone digits directly
using the keypad, then pressing the [#] key to transmit the 5-Tone sequence. (Up to sixteen digits can be
entered).
If it is necessary to enter the "R" number sequence to activate the repeater, the [SHIFT] key must be
pressed before pressing the [#] key.
If a 5-Tone number is NOT displayed in the LCD, and the [#] key is pressed, then the Base Tech II Base
Repeater will recall the most recent 5-Tone number and transmit it.
Recalling the last encoded sequence
Pressing the [•] will recall the most recent 5-Tone encode sequence and display the sequence in the LCD
display. Continuing to press the [•] key will delete the last digit of the sequence until all digits are deleted.
In practice, users will usually delete the last one or two digits before entering the new digits.
• DTMF Signaling
Available Tones
The following DTMF tones can be used in any number/letter combination:
[0] - [9], [A] - [D], [•], and [#]
NOTE: Tone [B] is NOT available if the "Attach Decode No" field in the DTMF Encode Menu has been set
to "ON".
Up to sixteen (16) DTMF digits can be encoded in one calling sequence.
DTMF Tone Entry
There are two methods of entering DTMF tones. The specific tone encoding format is selected during the
programming of the Base Tech II Base Repeater in the <Main Menu><Encode Set><DTMF
Encode><Attach Decode No.> field.
Attach Decode No. "OFF" format
Pressing the PTT lever first automatically selects the DTMF encoding format and allows direct entry of
DTMF tones.
Hold the PTT lever on the microphone while pressing the required DTMF tones. The tones will be
transmitted as the keys are being pressed.
Attach Decode No. "ON" format
Attach Decode No. "ON" automatically encodes the user’s DTMF decode number after the encode
number. This can be used for any purpose.
Enter the required DTMF tones (up to sixteen tones, except "B" tone) and then transmit the total tone
sequence (including the users decode number) by pressing the [#] key. All tones will be transmitted in one
continuous sequence after pressing the [#] key.
Pressing the [•] key will delete the last number entered.
Always confirm that the LCD is clear before proceeding, as it may take up to 5 seconds for the tones to
be sent.

Base Tech II Base/Repeater Station Operator’s Manual
13
For example, assume that your decode number is 12345, and that you wish to encode number 12346.
You will input 12346, and then press the [#] key. The Base Tech II Base Repeater will encode
"12346B12345". The called radio will display “12345” in their LCD indicating the calling party's number is
"12345".
NOTE: The "B" tone is used as the delimiter in this encoding format and therefore CANNOT be used as a
DTMF tone.
Pressing the [SHIFT] key and then the [#] will encode ONLY the encode number (and not the decode
number).
Redialing with DTMF
If, during the programming of the Base Tech II Base Repeater, the <Attach Decode No> field has been
set to "OFF", the redialing function operates as follows:
Press [SHIFT], then press [#] and the Base Tech II Base Repeater will redial the last encoded DTMF
number.
If, during the programming of the Base Tech II Base Repeater, the <Attach Decode No> field has been
set to "ON", the redialling function operates as follows:
Press [#] and the Base Tech II Base Repeater will redial the last encoded DTMF number with the Base
Tech II Base Repeater's programmed decode number.
Press [SHIFT], then press [#] and the Base Tech II Base Repeater will redial the last encoded DTMF
number without the Base Tech II Base Repeater's programmed decode number.
Restoring the last DTMF number to the LCD Display
It is possible to restore the last encoded DTMF number to the LCD display, provided the <Attach Decode
No> field has been set to "ON" during the programming of the Base Tech II Base Repeater. First, confirm
that the LCD is NOT displaying any DTMF numbers. Then press [V] and the last encoded DTMF number
will be displayed in the LCD display. It is possible to edit this number at this time by pressing the [V] key
(which will erase the last number) or by pressing the required keys to add additional numbers.
Encoding DTMF numbers with the 5-Tone system enabled
It is possible to enter DTMF numbers even with the 5-Tone system enabled. This function must be
enabled during the programming of the Base Tech II Base Repeater by setting the <DTMF Encode> field
in the <5Tone Encode Menu> to "ENABLE".
To enter a DTMF number (with 5-Tone signaling enabled), the user must press the PTT lever while
entering the first DTMF number. Second and subsequent numbers do NOT require the PTT lever to be
pressed, provided all numbers are entered within a few seconds (before the display reverts to 5-Tone
mode and displays "5TON" in the LCD display).
• Single Tone Encoding
The Base Tech II Base Repeater has the ability to encode one of six single tone frequencies for 1, 2, 3, or
4 seconds. This function is enabled during programming of the Base Tech II Base Repeater by selecting
the <Single Tone ON> field in the <Encode Menu>, and setting the encode period.
Press the [SHIFT] and the [4] keys to put the Base Tech II Base Repeater into Single Tone Encoding
mode. "S1" and the tone frequency ("xxxxHz") will be displayed in the tone area of the LCD display for
about 4 seconds until the Base Tech II Base Repeater reverts back to the normal signaling mode.

Base Tech II Base/Repeater Station Operator’s Manual
14
While the Base Tech II Base Repeater is in Single Tone Encoding mode, it is possible to advance to the
next tone frequency by pressing the [A] key, or to return to the previous tone by pressing the [B] key.
Pressing the [#] key will encode the displayed tone (for the programmed time period). It also automatically
exits the Single Tone Encoding mode and returns the Base Tech II Base Repeater to the normal signaling
mode.
Scanning
The Base Tech II Base Repeater is supplied with two scanning modes. These are All Channel Scan mode
in which the Base Tech II Base Repeater will scan all channels that are programmed into the Base Tech II
Base Repeater, and the Program Channel Scan mode in which the Base Tech II Base Repeater will scan
only the channels that have been designated during the programming of the Base Tech II Base Repeater.
One HIGH priority and one LOW priority scan channel can be set for each scan mode during the
programming of the radio.
• All Channel Scan Operation
Pressing the [SCAN] key places the Base Tech II Base Repeater into All Channel Scan mode. The Scan
mode symbol "•" is displayed in the LCD display. Also the LCD will also display "All Scan Mode-in"
for two seconds as shown below:
RX====
TX
CH01 ∞
All Scan Mode
In
• Program Channel Scan Operation
Pressing the [SHIFT] and then the [SCAN] key places the Base Tech II Base Repeater into Program
Channel Scan mode. The Scan mode symbol "•" is displayed in the LCD display. The LCD will also
display "PRG Scan Mode-in" for two seconds as shown below:
RX====
TX
CH01 ∞
PRG Scan Mode
In
• Exiting All Channel Scan and Program Channel Scan modes
Pressing the [SCAN] key will take the Base Tech II Base Repeater out of either scanning mode and return
the Base Tech II Base Repeater to normal mode. The scan symbol "•" will be removed from the LCD
display. The LCD will display "Scan Mode-out" for two seconds as shown below:

Base Tech II Base/Repeater Station Operator’s Manual
15
RX====
TX
CH01
Scan Mode Out

Base Tech II Base/Repeater Station Operator’s Manual
16
• Priority Scanning
The Base Tech II Base Repeater allows users to enter the required scanning mode first, then enable
Priority Scanning for the particular scanning mode chosen.
Pressing the [SHIFT] key then the [9] key places the Base Tech II Base Repeater into Priority Scanning
mode as shown below:
RX====
TX
CH01
Priority Scan
Pressing the [SHIFT] and the [9] key again will take the Base Tech II Base Repeater out of Priority Scan
mode and return it to the Normal Scan mode as shown below:
RX====
TX
CH01 ∞
Normal Scan
• Removing an Active Channel from the Scan List
It is possible to temporarily delete an active channel from the scan list by pressing [SHIFT] and the [•] key
and holding them down for more than one second. Multiple channels can be deleted from the Scan list,
provided that at least one channel remains in the Scan List.
A "beep" sound from the radio confirms correct deletion of the channel from the scan list. This function
CANNOT be used in the Priority Scan mode. The Base Tech II Base Repeater automatically restores all
channels to their respective scanning list as soon as the Base Tech II Base Repeater exits from the scan
mode.
• Restoring Channels to the Scan List
Channels can be restored to the scanning list without exiting from the scan mode by pressing the [SHIFT]
key and pressing and holding the [A] key for more than one second. This action will restore all channels
to the scan list. This action CANNOT be used in the Priority Scan mode.

Base Tech II Base/Repeater Station Operator’s Manual
17
Locking the Keypad
Pressing the [SHIFT] key and then the [8] key will lock all keys (except the [SHIFT] and [MON] keys) on
the Base Tech II Base Repeater's keypad to prevent accidental or inadvertent data entry. After pressing
the [SHIFT] and [8] keys, the keypad becomes locked and the Key-Lock symbol “•” is displayed in the
LCD display. The display also shows "Key-Lock" for two seconds as shown below:
RX====
TX
CH01
Key Lock
Pressing [SHIFT] and [8] again will Unlock the keypad, remove the Key-Lock symbol from the LCD
display, and display "Key-Unlock" in the LCD display for two seconds as shown below:
RX====
TX
CH01
Key Unlock
Changing Tone Signaling Systems
It is possible to switch the Base Tech II Base Repeater's tone signaling system among 5-Tone sequential
signaling, DTMF signaling and Non (No-Tone), providing the <Miscellaneous Menu> <Tone System
Change> field was set to "ENABLE" during the programming of the Base Tech II Base Repeater.
Press [SHIFT] and hold down the [0] key for more than one second to change among the 5-Tone system,
DTMF system and Non system. The new signaling system will show up on the LCD display as follows:
RX====
TX
CH01
System is DTMF
Pressing [SHIFT] and holding down the [0] key for more than one second again will change the Base
Tech II Base Repeater to the next signaling system. The new signaling system will show up on the LCD
display as shown below:
RX====
TX
CH01
System is Non

Base Tech II Base/Repeater Station Operator’s Manual
18
Displaying the Channel Information
The Base Tech II Base Repeater can display information pertaining to the selected channel (provided that
the <Miscellaneous Menu> <Information Display> field was set to "ENABLE" during the programming of
the radio).
This information includes:
o The RX frequency of the selected channel.
o The TX frequency of the selected channel.
o The channel spacing for the selected channel (Wide or Narrow).
o The operating mode for the selected channel (Base, Repeater, Simplex, Duplex)
o The RX CTCSS/DCS tone for the selected channel (provided CTCSS/DCS has been
programmed for use on the selected channel).
o The TX CTCSS/DCS tone for the selected channel (provided CTCSS/DCS has been
programmed for use on the selected channel).
o The tone encoding format (providing 5-Tone signaling was selected during programming of the
Base Tech II Base Repeater).
o The tone set (providing 5-Tone signaling was selected during programming of the Base Tech II
Base Repeater).
o The ANI mode.
o The tone decoding set (provided 5-Tone or DTMF signaling was selected during programming of
the Base Tech II Base Repeater).
o The decode number (provided 5-Tone or DTMF signaling was selected during programming of
the Base Tech II Base Repeater).
To view this information in the LCD display, first select the required channel. Then press the [SHIFT] key,
then the [7] key. You will need to keep the [7] key pressed until the Base Tech II Base Repeater has
cycled through the information steps.
This function is NOT available if the <Miscellaneous Menu> <Information Display> field has been set to
"DISABLE" during the programming of the Base Tech II Base Repeater.
Display of Received Tone Frequencies.
It is possible to set the Base Tech II Base Repeater to display the received tone frequencies in the LCD
display. They will appear in the area normally used to display the strength of the received signals.
Press [SHIFT] and then press [D] to enable this function.
Once enabled, the LCD will show "RCV" in the area of the LCD display that normally shows the strength
of the received signal, as well as, "Tone Display on" for two seconds as shown below:
RCV
TX
CH01
Tone Display On

Base Tech II Base/Repeater Station Operator’s Manual
19
Whenever a tone frequency is decoded, the frequency number will be displayed in the LCD display to the
right of "RCV" as shown below:
RCV 12345
TX
CH01
5TON
Pressing the [SHIFT] key, then the [D] key once again will disable this function and return the LCD display
to normal as shown below:
RX
TX
CH01
Tone Display
Off
Bar Graph Displays
The Base Tech II Base Repeater will normally show the strength of the received signal to the right of "RX"
in the LCD display and the strength of the transmitted signal to the right of "TX" in the LCD display. Both
will be displayed in the form of a bar graph.
This function can be disabled by pressing the [SHIFT] key, then the [CH] key. The LCD display will
indicate "RX Display Off" and "TX Display Off" as shown below:
RX Display Off
TX Display Off
CH01
Pressing the [SHIFT] key, then the [CH] key once again will return the Base Tech II Base Repeater to
normal. The LCD display will show the normal bar graph display for both the RX signal strength and TX
signal strength.
LCD Display Back Light
The LCD Display has a Back-Light to illuminate the display. It normally switches "ON" whenever any key
or the PTT lever is pressed, and will remain illuminated for five seconds. Some users may prefer the
Back-Light to remain illuminated to assist viewing the LCD display in poor viewing situations.
Press the [SHIFT] key, then press the [1] key for more than one second and the LCD Back-light will
remain illuminated.
When finished, press the [SHIFT] key and then press the [1] key for more than one second and the LCD

Base Tech II Base/Repeater Station Operator’s Manual
20
Back-light will revert to normal operation.
Transmit Power Change
It is possible to change the Base Tech II Base Repeater's transmit power from the high power setting to
the low power setting (and vice versa) from the keypad, provided that this function has been enabled
during the programming of the Base Tech II Base Repeater.
To enable this function, the <Miscellaneous Menu> <TX Power Change> field must be set to "ENABLE".
Press the [SHIFT] key, then the [2] key and the Base Tech II Base Repeater will change from the high
transmit power setting to the low transmit power setting. The "•“ symbol will be removed from the third
line of the LCD display.
Press the [SHIFT] key and the [2] key a second time, and the Base Tech II Base Repeater will change
from the low transmit power setting to the high transmit power setting. The "•" symbol will be displayed in
the third line of the LCD display.
If this function is NOT required, the <Miscellaneous Menu> <TX Power Change> field must be set to
"DISABLE".
Calling Party ID Display
The Base Tech II Base Repeater has the capability to display a calling radio's ID (ANI) number after being
called. When the Base Tech II Base Repeater is called, "CALL" will be displayed on the fourth line of the
LCD display (and continue to flash). The calling radio's ID number will be displayed to the right of "CALL"
as shown below:
RX
TX
CH01
CALL 12346
If the Base Tech II Base Repeater user presses the [#] key (when "CALL" is flashing and the caller's ID
number is displayed), the Base Tech II Base Repeater will automatically call the identified radio.
In the case of 5-Tone signaling systems, this function is enabled in the <5Tone Encode Menu> <Encode
Format> field, by selecting one of the following parameters:
"Encode + B + Decode"
"Encode + A.Pause + Decode"
"Decode + A.Pause + Encode"
"Encode + ANI"
In the case of DTMF signaling systems, this function is enabled by setting the <DTMF Encode Menu>
<Attach Decode No> field to "ON" during the programming of the Base Tech II Base Repeater.

Base Tech II Base/Repeater Station Operator’s Manual
21
Displaying any Radio's ID Number
The Base Tech II Base Repeater has the capability to display any calling radio's ID (ANI) number. When
the Base Tech II Base Repeater receives an ANI number, "DISP" will be displayed on the fourth line of
the LCD display (and continue to flash). The radio's ID number will be displayed to the right of "DISP" as
shown below:
RX
TX
CH01
DISP 1234
In the case of 5-Tone signaling systems, this function is enabled by setting the <5Tone Decode Menu>
<ANI Receive> field to "ON" during the programming of the Base Tech II Base Repeater.
In the case of DTMF signaling systems, this function is enabled by setting the <DTMF Decode Menu>
<ANI Receive> field to "ON" during the programming of the Base Tech II Base Repeater.
Emergency Caller Display
The Base Tech II Base Repeater has the ability to accept and display emergency calls from other radios
within the radio system.
This function is enabled by setting the <Emg Call Receive> field to "ON" in the <5Tone Decode Menu> or
<DTMF Decode Menu> during the programming of the radio.
The calling (Emergency) radio must encode its emergency data in the following format:
"000" + the calling radio's ID (decode number).
This format applies to both 5-Tone and DTMF signaling systems.
When the Base Tech II Base Repeater receives an emergency call, it will sound a warning tone from the
speaker. The LCD will display "EMG" (flashing) in the fourth line, and display the emergency radio's ID to
the right of "EMG" as shown below:
RX
TX
CH01
EMG 12346
Upon receipt of an emergency call, the Base Tech II Base Repeater will automatically respond to the
emergency radio by sending the emergency radio's ID number to it.
If the Base Tech II Base Repeater user presses the [#] key, the Base Tech II Base Repeater will resend
the emergency radio's ID number.
While the Base Tech II Base Repeater is in the Emergency Mode, all keys (except the [#] key) on the
keyboard become disabled.

Base Tech II Base/Repeater Station Operator’s Manual
22
Pressing the [SHIFT] key and the [•] key will return the Base Tech II Base Repeater to the normal
operating mode.
Automatic Transmit in Repeater Mode
The Base Tech II Base Repeater can be programmed to automatically repeat valid incoming messages.
First, the active channel of the Base Tech II Base Repeater must be programmed to operate as a
repeater. It must then receive a carrier frequency on the designated channel. If the Base Tech II Base
Repeater has been programmed for CTCSS or DCS operation, it must also receive a valid CTCSS or
DCS tone. It will then automatically retransmit any received signals.
When the Base Tech II Base Repeater ceases to receive a carrier frequency, or a valid CTCSS or DCS
tone, it activates the <Auto TX Reset Time> timer. This will keep the Base Tech II Base Repeater
repeating (for up to 9.9 seconds depending on the programming of the Base Tech II Base Repeater), and
allow other users with a valid CTCSS or DCS tone to access the repeater.
TX Test Mode
The Base Tech II Base Repeater comes equipped with a TX (Transmit) Test Mode. When the Base Tech
II Base Repeater is placed in the TX Test Mode, it will transmit a carrier frequency modulated with a 1kHz
tone on the selected active channel. It is possible to change channels while in TX Test Mode.
Pressing the [SHIFT] key, then the [B] key places the Base Tech II Base Repeater in TX Test Mode and
displays the message in the LCD as shown below:
RX
TX
CH01
TXT TX Test Mode-in
Pressing the [SHIFT] key and the [B] key a second time will return the Base Tech II Base Repeater to
normal mode and displays the message in the LCD as shown below:
RX
TX
CH01
TXT TX Test Mode-
out
Keypad Test Mode
The Base Tech II Base Repeater comes equipped with a Keypad Test Mode that allows the user to
electrically test all keypad keys as well as the PTT Key.
Holding the [C] key while switching the POWER SWITCH "ON" places the Base Tech II Base Repeater in
Keypad Test Mode and displays the message in the LCD Display as shown below:
KEY TEST
Please Key-in

Base Tech II Base/Repeater Station Operator’s Manual
23

Base Tech II Base/Repeater Station Operator’s Manual
24
Then press the keys to be tested one at a time. The respective key will be displayed in the LCD when the
key is operating correctly. For example, if you press the [CH] key, the LCD Display will indicate correct
operation as shown below:
KEY TEST
CH Key
Switch the Base Tech II Base Repeater "OFF" to exit the Keypad Test Mode.
Frequency Band Test Mode
It is possible to display the Base Tech II Base Repeater's operating Frequency Band in the LCD display
when in Frequency Band Test Mode.
Holding the [B] key while switching the POWER SWITCH "ON" places the Base Tech II Base Repeater in
Frequency Band Test Mode and displays the operating Frequency Band in the LCD Display as shown
below:
<PLL Band Check>>
40D OK
"40D" indicates the frequency band for a particular Base Tech II Base Repeater radio.
Switch the Base Tech II Base Repeater "OFF" to exit the Frequency Band Test Mode.
Starting Message
When the Base Tech II Base Repeater is Switched "ON", it will display a Starting Message in the LCD
display for two seconds. The default Starting Message (using all dots) is shown below:
!!!!!!!!!!!!
!!!!!!!!!!!!
!<51BS V095 510>!
!!!!!!!!!!!
A personalized message for your business may be shown as the Starting Message. If you require a
personalized message, then it should be entered in the <Miscellaneous Menu> <Starting Message> field
during the programming of the radio. Such a message is shown below:
Securicor Wireless
<51BS V095 510>

Base Tech II Base/Repeater Station Operator’s Manual
25
Serial Number Display
It is possible to display the Base Tech II Base Repeater's Serial Number in the LCD Display. To do so, the
serial number must be entered into the <Configuration Menu> <Serial No.> field during the programming
of the radio. The serial number can be up to eight characters long and can comprise of any of these
characters:
"A - Z" & "0 - 9".
Holding the [D] key while switching the POWER SWITCH "ON" places the Base Tech II Base Repeater in
Serial Number Display Mode and displays the Base Tech II Base Repeater's Serial Number in the LCD
Display as shown below:
Serial KY000727
Switch the Base Tech II Base Repeater "OFF" to exit from the Serial Number Display Mode.
EEROM Data Check Mode
As soon as the Base Tech II Base Repeater is switched "ON", it will automatically read and check all the
data in the EEROM. If this check finds damaged or corrupted data, the Base Tech II Base Repeater will
automatically enter the Programming Mode and display the following message in the LCD Display:
EROM Data Error
Should this happen, it is necessary to return the Base Tech II Base Repeater to your radio supplier or to a
qualified radio trades-person who has the facilities to re-program the Base Tech II Base Repeater.
Hardware Error Detection
The Base Tech II Base Repeater automatically tests for certain hardware faults or failures, and when a
fault is found, it will blink the "ALM" LED display above the LCD Display and indicate the nature of the fault
in the LCD Display as shown below:
RX
TX
CH01
RX PLL Error

Base Tech II Base/Repeater Station Operator’s Manual
26
This figure indicates an RX PLL error.
RX
TX
CH01
TX PLL Error
This figure indicates a TX PLL error.
RX
TX
CH01
PA Error
This figure indicates a PA error.
Should the Base Tech II Base Repeater indicate any of these errors, it is necessary to return the Base
Tech II Base Repeater to your radio supplier or to a qualified radio trades-person to have the fault
corrected.
RS232C Communications Error
If a fault is encountered during programming of the Base Tech II Base Repeater, one of the following
messages may be displayed in the LCD Display:
o Over Run Error
o Framing Error
o Parity Error
o Unknown Command
o Data Unmatch
o Send Error
o Answer Timeout
o Receive Timeout
Please switch the Base Tech II Base Repeater "OFF", and then back "ON", and try re-programming the
Base Tech II Base Repeater.