Mikasa Automobile Parts Mtx 60 Users Manual MTX60 Rev 3 043010
2015-02-09
: Mikasa Mikasa-Mikasa-Automobile-Parts-Mtx-60-Users-Manual-556078 mikasa-mikasa-automobile-parts-mtx-60-users-manual-556078 mikasa pdf
Open the PDF directly: View PDF
.
Page Count: 66

THIS MANUAL MUST ACCOMPANY THE EQUIPMENT AT ALL TIMES.
To find the latest revision of this
publication, visit our website at:
www.multiquip.com
OPERATION AND PARTS MANUAL
SERIES
MODEL MTX-60
TAMPING RAMMER
(HONDA
GX100UKRBF
GASOLINE ENGINE)
Revision #6 (08/23/11)

PAGE 2 — MTX-60 RAMMER • OPERATION AND PARTS MANUAL — REV. #6 (08/23/11)
PROPOSITION 65 WARNING

MTX-60 RAMMER • OPERATION AND PARTS MANUAL — REV. #6 (08/23/11) — PAGE 3
NOTES

PAGE 4 — MTX-60 RAMMER • OPERATION AND PARTS MANUAL — REV. #6 (08/23/11)
TABLE OF CONTENTS
MTX-60 Rammer
Proposition 65 Warning ........................................... 2
Table Of Contents ................................................... 4
Parts Ordering Procedures ..................................... 5
Safety Information ................................................ 6-9
General Information .............................................. 10
Specifications ........................................................ 11
Controls And Components .................................... 12
Basic Engine ......................................................... 13
Operation ......................................................... 14-16
Maintenance ......................................................... 17
Troubleshooting ............................................... 18-19
Explanation Of Code In Remarks Column ............ 20
Suggested Spare Parts ......................................... 21
Component Drawings
Nameplate And Decals..................................... 22-23
Crankcase And Engine Assembly..................... 24-25
Crankcase And Engine Assembly..................... 26-27
Guide Cylinder Assembly. ................................ 28-29
Foot Assembly. ................................................. 30-31
Fuel Tank And Handle Assembly. ..................... 32-33
Combination Lever Assembly. .......................... 34-35
Specification and part number are
subject to change without notice.
Honda GX100KRBF Engine
Cylinder Barrel Assembly. ................................ 36-37
Crankcase Cover Assembly. ............................ 38-39
Crankshaft Assembly. ....................................... 40-41
Piston/Connecting Rod Assembly. .................... 42-43
Camshaft Assembly. ......................................... 44-45
Recoil Starter Assembly. .................................. 46-47
Fan Cover Assembly. ........................................ 48-49
Carburetor Assy (S/N T-3423 and Below) ........ 50-51
Carburetor Assy (S/N T-3424 and Above) ........ 52-53
Air Cleaner Assembly. ...................................... 54-55
Muffler Assembly. ............................................. 56-57
Flywheel Ignition Assembly. ............................. 58-59
Control Assembly. ............................................. 60-61
Labels Assembly. .............................................. 62-63
Terms And Conditions Of Sale — Parts ................ 64

MTX-60 RAMMER • OPERATION AND PARTS MANUAL — REV. #6 (08/23/11) — PAGE 5
PARTS ORDERING PROCEDURES
www.multiquip.com
Ordering parts has never been easier!
Choose from three easy options:
WE ACCEPT ALL MAJOR CREDIT CARDS!
When ordering parts, please supply:
R Dealer Account Number
R Dealer Name and Address
R Shipping Address (if different than billing address)
R Return Fax Number
R Applicable Model Number
R Quantity, Part Number and Description of Each Part
R Specify Preferred Method of Shipment:
UPS/Fed Ex DHL
N Priority One Tr uck
N Ground
N Next Day
N Second/Third Day
If you have an MQ Account, to obtain a Username
and Password, E-mail us at: parts@multiquip.
com.
To obtain an MQ Account, contact you
r
District Sales Manager for more information.
Order via Internet (Dealers Only):
Order parts on-line using Multiquip’s SmartEquip website!
N View Parts Diagrams
N Order Parts
N Print Specification Information
Note: Discounts Are Subject To Change
Goto www.multiquip.com and click on
Order Parts to log in and save!
Use the internet and qualify for a 5% Discount
on Standard orders for all orders which include
complete part numbers.*
Order via Fax (Dealers Only):
All customers are welcome to order parts via Fax.
Domestic (US) Customers dial:
1-800-6-PARTS-7 (800-672-7877)
Fax your order in and qualify for a 2% Discount
on Standard orders for all orders which include
complete part numbers.*
Order via Phone: Domestic (US) Dealers Call:
1-800-427-1244
Best Deal!
International Customers should contact
their local Multiquip Representatives for
Parts Ordering information.
Non-Dealer Customers:
Contact your local Multiquip Dealer for
parts or call 800-427-1244 for help in
locating a dealer near you.
Note: Discounts Are Subject To Change
Effective:
January 1st, 2006
NOTICE
All orders are treated as Standard Orders and will
ship the same day if received prior to 3PM PST.

PAGE 6 — MTX-60 RAMMER • OPERATION AND PARTS MANUAL — REV. #6 (08/23/11)
SAFETY INFORMATION
Do not operate or service the equipment before reading
the entire manual. Safety precautions should be followed
at all times when operating this equipment.
Failure to read and understand the safety
messages and operating instructions could
result in injury to yourself and others.
SAFETY MESSAGES
The four safety messages shown below will inform you
about potential hazards that could injure you or others. The
safety messages specifically address the level of exposure
to the operator and are preceded by one of four words:
DANGER, WARNING, CAUTION or NOTICE.
SAFETY SYMBOLS
DANGER
Indicates a hazardous situation which, if not avoided,
WILL result in DEATH or SERIOUS INJURY.
WARNING
Indicates a hazardous situation which, if not avoided,
COULD result in DEATH or SERIOUS INJURY.
CAUTION
Indicates a hazardous situation which, if not avoided,
COULD result in MINOR or MODERATE INJURY.
NOTICE
Addresses practices not related to personal injury.
Potential hazards associated with the operation of this
equipment will be referenced with hazard symbols which
may appear throughout this manual in conjunction with
safety messages.

MTX-60 RAMMER • OPERATION AND PARTS MANUAL — REV. #6 (08/23/11) — PAGE 7
SAFETY INFORMATION
GENERAL SAFETY
CAUTION
NEVER operate this equipment without proper protective
clothing, shatterproof glasses, respiratory protection,
hearing protection, steel-toed boots and other protective
devices required by the job or city and state regulations.
NEVER operate this equipment when not
feeling well due to fatigue, illness or when
under medication.
NEVER operate this equipment under the influence of
drugs or alcohol.
ALWAYS check the equipment for loosened threads or
bolts before starting.
DO NOT use the equipment for any purpose other than
its intended purposes or applications.
NOTICE
This equipment should only be operated by trained and
qualified personnel 18 years of age and older.
Whenever necessary, replace nameplate, operation and
safety decals when they become difficult read.
Manufacturer does not assume responsibility for any
accident due to equipment modifications. Unauthorized
equipment modification will void all warranties.
NEVER use accessories or attachments that are not
recommended by Multiquip for this equipment. Damage
to the equipment and/or injury to user may result.
ALWAYS know the location of the nearest
fire extinguisher.
ALWAYS know the location of the nearest
first aid kit.
ALWAYS know the location of the nearest phone or keep a
phone on the job site. Also, know the phone numbers of
the nearest ambulance, doctor and fire department. This
information will be invaluable in the case of an emergency.
RAMMER SAFETY
DANGER
NEVER operate the equipment in an explosive
atmosphere or near combustible materials. An
explosion or fire could result causing severe
bodily harm or even death.
WARNING
NEVER disconnect any emergency or safety devices.
These devices are intended for operator safety
.
Disconnection of these devices can cause severe injury,
bodily harm or even death. Disconnection of any of these
devices will void all warranties.
DO NOT use this machine on ground that is harder than
the machine can handle, or for driving pilings or tamping
rock beds. Furthermore, use of the machine on sloping
ground, such as the side of an embankment, may make
the machine unstable and can cause an accident. It can
also result in premature machine wear due to uneven
loads on the machine.
Use the machine with confidence for tamping earth and
sand, soil, gravel, and asphalt. DO NOT use the machine
for other types of jobs.
CAUTION
NEVER lubricate components or attempt service on a
running machine.
NOTICE
ALWAYS keep the machine in proper running condition.
Fix damage to machine and replace any broken parts
immediately.
ALWAYS store equipment properly when it is not being
used. Equipment should be stored in a clean, dry location
out of the reach of children and unauthorized personnel.

PAGE 8 — MTX-60 RAMMER • OPERATION AND PARTS MANUAL — REV. #6 (08/23/11)
SAFETY INFORMATION
ENGINE SAFETY
DANGER
The engine fuel exhaust gases contain poisonous carbon
monoxide. This gas is colorless and odorless, and can
cause death if inhaled.
The engine of this equipment
requires an adequate free flow
of cooling air. NEVER operate
this equipment in any enclosed
or narrow area where free flow
of the air is restricted. If the air
flow is restricted it will cause
injury to people and property
and serious damage to the
equipment or engine.
WARNING
DO NOT place hands or fingers inside engine
compartment when engine is running.
NEVER operate the engine with heat shields or
guards removed.
DO NOT remove the engine oil drain plug
while the engine is hot. Hot oil will gush
out of the oil tank and severely scald any
persons in the general area of the rammer.
CAUTION
NEVER touch the hot exhaust manifold,
muffler or cylinder. Allow these parts to cool
before servicing equipment.
NOTICE
NEVER run engine without an air filter or with a dirty air
filter. Severe engine damage may occur. Service air filter
frequently to prevent engine malfunction.
NEVER tamper with the factory settings
of the engine or engine governor. Damage
to the engine or equipment can result
if operating in speed ranges above the
maximum allowable.
FUEL SAFETY
DANGER
DO NOT add fuel to equipment if it is placed inside truc
k
bed with plastic liner. Possibility exists of explosion or
fire due to static electricity.
DO NOT start the engine near spilled fuel or combustible
fluids. Fuel is extremely flammable and its vapors can
cause an explosion if ignited.
ALWAYS refuel in a well-ventilated area, away from
sparks and open flames.
ALWAYS use extreme caution when working with
flammable liquids.
DO NOT fill the fuel tank while the engine is running
or hot.
DO NOT overfill tank, since spilled fuel could ignite if it
comes into contact with hot engine parts or sparks from
the ignition system.
Store fuel in appropriate containers, in well-ventilated
areas and away from sparks and flames.
NEVER use fuel as a cleaning agent.
DO NOT smoke around or near the
equipment. Fire or explosion could result
from fuel vapors or if fuel is spilled on a
hot engine.

MTX-60 RAMMER • OPERATION AND PARTS MANUAL — REV. #6 (08/23/11) — PAGE 9
SAFETY INFORMATION
TRANSPORTING SAFETY
CAUTION
NEVER allow any person or animal to stand underneath
the equipment while lifting.
NOTICE
Before lifting, make sure that the equipment parts (hook
and vibration insulator) are not damaged and screws are
not loose or missing.
Always make sure crane or lifting device has been
properly secured to the lifting bail (hook) of the
equipment.
ALWAYS shutdown engine before transporting.
NEVER lift the equipment while the engine is running.
Tighten fuel tank cap securely and close fuel cock to
prevent fuel from spilling.
Use adequate lifting cable (wire or rope) of sufficient
strength.
Use one point suspension hook and lift straight
upwards.
DO NOT lift machine to unnecessary heights.
ALWAYS tie down equipment during transport by
securing the equipment with rope.
Never allow any person or animal to stand underneath the
equipment while lifting.
ENVIRONMENTAL SAFETY
NOTICE
Dispose of hazardous waste properly.
Examples of potentially hazardous waste
are used motor oil, fuel and fuel filters.
DO NOT use food or plastic containers to dispose of
hazardous waste.
DO NOT pour waste, oil or fuel directly onto the ground,
down a drain or into any water source.

PAGE 10 — MTX-60 RAMMER • OPERATION AND PARTS MANUAL — REV. #6 (08/23/11)
DEFINITION OF TAMPING RAMMER
The Mikasa MTX-60 tamping rammer is a powerful
compacting tool capable of applying a tremendous force
in consecutive impacts to a soil surface. Its applications
include soil compacting for road, embankments and
reservoirs as well as backfilling for gas pipelines, water
pipelines and cable installation work.
The impact force of the MTX-60 levels and uniformly
compacts voids between soil particles to increase dry
density.
Circular motion is converted to create impact force. The
MTX-60 tamping rammer develops a powerful compacting
force at the foot of the rammer. To maintain optimum
performance, proper operation and service are essential.
CONSTRUCTION OF TAMPING RAMMER
The Mikasa MTX-60 is equipped with an air cooled, four-
cycle gasoline engine. Transmission of the power takes
place by increasing the engine speed to engage the
centrifugal clutch.
RAMMER GEARBOX AND SPRING CYLINDER
The Mikasa MTX-60 uses an oil bath lubrication system.
Always check the oil level through the oil level sight glass
at the rear of the tamper foot.
CONTROLS
Before starting the MTX-60 Tamping Rammer identify and
understand the function of the controls.
GENERAL INFORMATION
CAUTION — Handle Operation
Before starting operation check the
lifting handle to:
1. Make sure that there is no damage on the bolts.
2. Make sure that there is no crack or breakage on
handle.
3. Make sure that there is no fissure on the surface. If
there is any abnormality or damage, replace with
new one.
For operation:
This handle is to be used to lift up the shoe part of the
machine with the body laid down on the ground or truck
bed.
1. Use proper lifting techniques to avoid back injury.
This handle is for manual lifting only.
2. Do not use this handle as a rammer lift point. Use
the lifting point on the top of the machine.
3. Do not move the rammer with the lifting handle and
the front rollers more than 16 feet (5 meters).

MTX-60 RAMMER • OPERATION AND PARTS MANUAL — REV. #6 (08/23/11) — PAGE 11
SPECIFICATIONS
Table 1. MTX-60 Rammer Specifications
Overall Height 38.8 in. (985 mm)
Overall Width 13.8 in. (350 mm)
Over Length 28.1 in. (713 mm)
Shoe Size (Wx L) 10.4 x 13.4 in. (265 x 340 mm)
Fuel Tank Capacity 2.1 qt. (2 liters)
Lubrication Oil Capacity 0.69 qt. (0.65 liter)
No. of Blows 644 - 695 vpm (10.7 - 11.6 Hz)
Impact Force 3,060 lbf (13.6 kN)
Impact Plate Stroke2 - 3.2 in. (50 - 80 mm)
Operating Weight 141 lbs. (64 kg)
Measured Sound Power Level103 dB
Guaranteed Sound Power Level107 dB
Max. Sound Pressure Level92 dB
snoitacificepSenignE.2elbaT
ledoMenignEFBRKU001XGadnoH
epyT ,tfahsmacdaehrevO,ekortS4delooC-riA
enigneenil
osagrednilycelgnis
tnemecalpsiDnotsiP)cc89(.ni.uc0.6
tuptuO.xaM)WK2.2(mpr006,3/ph0.3
daoLoN,deepSdenrevoG.
xaMmpr001,4-008,3
metsySgnilooCdelooC-riA
yticapaCliOenignE)sretil82.0(.tq3.0
leuFenilosagdedaelnU
enignEroftnacirbuL rehgihroESssalC;liOelibomotuA
metsySgnitratSretratSlioceR
epyTgulPkrapSBSH5RCKGN

PAGE 12 — MTX-60 RAMMER • OPERATION AND PARTS MANUAL — REV. #6 (08/23/11)
Figure 1 shows the location of the controls and compo-
nents for the MTX-60 Tamping Rammer. The functions of
each control is described below:
1. Combination (Throttle) Lever – Used to adjust
engine speed (rpm). Move lever forward
(SLOW)
to
reduce engine speed, move lever back toward operator
(FAST
) to increase speed. Always operate the rammer
at full speed (rpm).
2. Handle – To operate rammer,
GRIP
handle assembly
firmly on both sides.
3. Fuel Tank Cap – Remove this cap to add unleaded
gasoline to the fuel tank. Make sure cap is tightened
securely. DO NOT over fill.
4. Hook – Used to lift rammer for transporting.
5. Air Cleaner Cover – Protects the air cleaner which
prevents dirt and other debris from entering the engine.
6. Roller – Allows rammer to be moved around easily by
rolling the unit.
7. Bellows – Reservoir for oil bath.
8. Foot – Laminated wood with tempered steel plate for
superior shock absorption.
2
1
9
3
4
5
6
7
10
11
12
13
8
CONTROLS AND COMPONENTS
9. Fuel Tank – Holds the fuel for the unit (up to 3.2 quarts)
10. Muffler – reduces the noise of the engine when run-
ning.
11. Engine – this unit uses a Honda GX100UKRBF
gasoline engine.
12. Oil Gauge (Sight Glass) – Indicates the level of oil in the
oil bath reservoir.
13. Drain Valve – Open this valve to remove oil from the
bellows.
WARNING — Fuel Hazard
Adding fuel to the tank should be
accomplished only when the
engine is stopped and has had an
opportunity to
cool down.
In the
event of a fuel spill, DO NOT
attempt to start the engine until the
fuel residue has been completely
wiped up, and the area surrounding
the engine is dry.
Figure 1. MTX-60 Rammer

MTX-60 RAMMER • OPERATION AND PARTS MANUAL — REV. #6 (08/23/11) — PAGE 13
Figure 2. Engine Controls and Components
(Honda GX100)
The engine (Figure 2) must be checked for proper lubrica-
tion and filled with fuel prior to operation. Refer to the
engine manufacturer's manual for detailed operation and
service information.
1. Choke Lever – Normally used in starting the engine
in cold weather conditions. In cold weather, turn the
choke lever to the fully closed position. In warm
weather, set the choke lever halfway or completely
open.
2. Spark Plug – Provides spark to the ignition system.
Set spark plug gap to 0.024 - 0.028 inch (0.6 - 0.7 mm).
Clean spark plug once a week.
3. Recoil Starter (pull rope) – Manual-starting method.
Pull the starter grip until resistance is felt, then pull
briskly and smoothly.
BASIC ENGINE
4. Muffler – Used to reduce noise and emissions.
5. Dipstick/Oil Filler Cap – Remove this cap to
determine if the engine oil is low. Add oil through this
filler port as recommended in Table 3.
6. Oil Drain Plug – Remove this plug to remove oil from
the engine's crankcase.
WARNING — Hot Engine
Engine components can generate
extreme heat. To prevent burns, DO
NOT touch these areas while the
engine is running or immediately
after operating. NEVER operate the
engine with the muffler removed.
Operating the engine without an air
filter, with a damaged air filter, or a
filter in need of replacement will allow
dirt to enter the engine, causing rapid
engine wear.

PAGE 14 — MTX-60 RAMMER • OPERATION AND PARTS MANUAL — REV. #6 (08/23/11)
OPERATION
RAMMER CRANKCASE AND SPRING CYLINDER
OIL BATH
This unit uses an oil bath lubrication system. Perform the
following:
1. Check the oil level through the oil level sight glass
(Figure 2) at the rear of the tamper foot.
2. If oil is not visible, add 10W-30 SE, SF or higher grade
motor oil into the oil fill plug opening (Figure 2). The
bath contains approximately 1.7 pints (800 cc.)
This section is intended to assist the operator with the ini-
tial start-up of the MTX-60 Tamping Rammer. It is extremely
important that this section be read carefully before attempt-
ing to operate the rammer.
DO NOT use your rammer until this section is thoroughly
understood.
The oil level should be kept at the half
way point of the sight glass.
Figure 4. Engine Oil Dipstick
Figure 2. Foot Housing Sight Glass
Figure 3. Fuel Tank
ENGINE
1. Fill the fuel tank (Figure 3) with unleaded gasoline. At
the same time, check the engine oil and make it a habit
to replenish it often (Figure 4).
2. Low levels of oil may result in engine seizure due to
high levels of consumption during operations.
3. Check the engine oil level and if the engine oil level is
low, it should be refilled. Use the proper motor oil as
suggested in the Table 3 below.
SIGHT GLASS
OIL DRAIN PLUG
OIL FILL PLUG
FUEL
TANK
OIL LEVEL
DIPSTICK
edarGliOrotoM.3elbaT
erutarepmeTronosaeS liorotomfoedarG
)ssalcSMnahtrehgih(
nmutuAroremmuS,gnirpS
F°51+ot
F°021+ 03EAS
retniW
F°51+otF°04+ 03EAS
F°51+woleB03-W01EAS
CAUTION — Understand Operation
Failure to understand the operation of the Tamping
Rammer could result in severe damage to the unit or
personal injury.

MTX-60 RAMMER • OPERATION AND PARTS MANUAL — REV. #6 (08/23/11) — PAGE 15
OPERATION
INSPECTION
1. Check all nuts, bolts fasteners for tightness. Retighten
as necessary.
2. Clean any dirt from the recoil starter and foot pedestal.
Wipe the entire unit clean before operating.
3. Replace any missing or damaged Safety Operation
decals.
4. Adjust height of handle. Adjust handle by loosening
nuts and moving handle to suit operation. Retighten
nuts.
INITIAL START-UP
When starting the MTX-60 Tamping Rammer perform the
following:
1. Slide the throttle lever from the stop to the idle position
() (Figure 5). This opens the fuel cock and the engine
electrical circuit is turned on automatically. 4. Grip the starter rope handle (Figure 7) and pull it until
you feel a slight resistance. Then pull sharply and
quickly. Return the handle to the starter case before
releasing.
5. If engine fails to start, move the choke lever (Figure
6) to the half open position to avoid flooding.
6. Repeat steps 1 thru 5.
7. If the engine does not start after repeated attempts,do
the following:
a. Check fuel delivery from fuel tank to carburetor.
b. Check for restrictions to fuel flow at in-tank filter.
c. Check for restrictions to fuel flow at in-line filter.
d. Inspect spark plug for contamination and proper gap.
Clean, adjust or replace spark plug as required.
Figure 5-A. Throttle Lever (Idle Position)
THROTTLE LEVER
(IDLE POSITION)
2. Units with Carburetor Primer System: Push the
primer pump bulb four (4) times to deliver fuel to the
carburetor (Figure 5-B).
DO NOT press the primer pump bulb
more than four (4) times, as this will cause
fuel to flood the carburetor.
3. Place the choke lever to the closed position. When the
weather is cold, close the choke all the way. When it is
hot, or if the engine is hot, open the choke a little or
leave it fully open.
Figure 6. Choke Lever
CHOKE LEVER
(CLOSED POSITION)
Figure 7. Recoil Starter
STARTER
ROPE
Figure 5-B. Primer Pump

PAGE 16 — MTX-60 RAMMER • OPERATION AND PARTS MANUAL — REV. #6 (08/23/11)
OPERATION
OPERATION
1. To start the rammer tamping action, move the throttle
lever (Figure 8)
quickly
from IDLE to the START
( ) position. DO NOT move the throttle lever slowly
as this may cause damage to the clutch or spring.
Figure 8. Throttle Lever (Start Position)
THROTTLE LEVER
(START POSITION)
Figure 9. Throttle Lever (Idle Position)
THROTTLE LEVER
(IDLE POSITION)
CAUTION — Operate at Full Speed
Make sure that the throttle lever is moved to the FULL
START position. Operating the rammer at less than full
speed can result in damage to the clutch springs or
foot.
2. The MTX-60 tamping rammer is designed to run at 3,800
to 4,100 rpm. At optimum rpm the foot hits at the rate
between 644 ~ 695 impacts per minute. Increasing
throttle speed past factory set rpm does not increase
impacts and may damage unit. The MTX-60 is designed
to advance while tamping. For faster advance, pull back
slightly on the handle so that rear of foot contacts soil first.
3. To stop the tamping action, move throttle lever quickly
from START to IDLE position (Figure 9).
STOPPING THE ENGINE
1. Move throttle lever quickly from the START to IDLE
position (Figure 9) and run the engine for three minutes
at low speed. After the engine
cools
, move the throttle
lever to the STOP position (Figure 10). The engine will
stop and the fuel cock is automatically closed.
2. If the engine does not stop due to a problem with the
switch or the like, move the machine to a safe location
and hold the throttle lever in the stop position. Let the
machine run on idle and the machine will stop after a
few minutes.
Figure 10. Throttle Lever (Stop Position)
THROTTLE LEVER
(STOP POSITION)

MTX-60 RAMMER • OPERATION AND PARTS MANUAL — REV. #6 (08/23/11) — PAGE 17
MAINTENANCE
Perform the scheduled maintenance procedures as indicated:
DAILY
Thoroughly remove dirt and oil from the engine and
control area.
Clean or replace the air cleaner elements as necessary.
Check and retighten all fasteners as necessary.
Check the spring box and bellows for oil leaks. Repair or
replace as needed.
EVERY 50 HOURS
Remove the fuel filter cap and clean the inside of the
fuel tank (Figure 11).
Remove and clean the spark plug, then adjust the spark
gap to 0.024~0.028 inch (0.6~0.7 mm).
EVERY 80 TO 100 HOURS
Remove the air cleaner cover. Loosen and remove the 2
screws that hold the cover to the air cleaner assembly. If
the primary element (Figure 12) is dirty, wash it with
gasoline or kerosene. Then dip it in engine oil (SAE10W-
30) and wring the element so that 25 to 30 cc of engine
oil remains on the element.
Figure 12. Air Cleaner Primary Element
Figure 11. Fuel Filter
FUEL FILTER
PRIMARY
ELEMENT
EVERY 200 HOURS
Remove the oil drain plug on foot housing (Figure 13)
and drain the oil. Refill with approximately 0.69 qt. (0.65
liter) of 10W-30 SE, SF or higher grade motor oil. Oil
should be midway in sight glass. Break in oil should be
changed after first 50 hours.
EVERY 2 YEARS
Replace the fuel line every 2 years even if there is no
visible damage.
LONG TERM STORAGE
Slide the throttle lever to the STOP position.
Drain any fuel including in the fuel hose.
Replace lubrication oil and apply grease to lubrication
points.
Cover the air intake on the air cleaner and the exhaust
outlet on the muffler.
Store unit indoors covered with plastic sheet in moisture
free and dust free location out of direct sunlight.
SIGHT GLASS
OIL DRAIN PLUG
OIL FILL PLUG
Figure 13. Oil Drain Plug

PAGE 18 — MTX-60 RAMMER • OPERATION AND PARTS MANUAL — REV. #6 (08/23/11)
TROUBLESHOOTING
gnitoohselbuorTenignE.4ELBAT
motpmyS melborPelbissoP noituloS
tratsottluciffiD
krapstubelbaliavasileuF
rewoP(.etingitonlliwgulp
noisnethgihtaelbaliava
.)elbac
?degdirbgniebgulpnoitingI .metsysnoitingikcehC
?noitingitatisopednobraC .noitingiecalperronaelC
evitcefedoteudtiucrictrohS
?srotalusni
.srotalusniecalpeR
?pagkrapsreporpmI .pagtcerrocehtotpaggulpkrapsteS
krapstubelbaliavasileuF
rewoP(.etingitonlliwgulp
TON hgihtaelbaliava
.)elbacnoisnet
?hctiwspotstatiucrictrohS fihctiwspotsecalpeR.tiucrichctiwspotskcehC
.evitcefed
?evitcefedliocnoitingI .liocnoitingiecalpeR
krapsdnaelbaliavasileuF
noisserpmoc(setingigulp
)lamron .
nobrachtiwdeggolcrelffuM
?stisoped
.relffumecalperronaelC
etauqedaniesunileuF
?)tsud,retaw(
.leufhserfhtiwecalperdnametsysleufhsulF
?deggolcrenaelCriA .renaelcriaecalperronaelC
krapsdnaelbaliavasileuF
noisserpmoc(setingigulp
wol .)
?nrowrednilyC .rednilycecalpeR
?esoolgulpkrapS .gulpkrapsnethgiT
.noisserpmocwoL ?tnemtsujdaevlavtcerrocnI .sevlavtsujdadnakcehC
yrotcafsitastonnoitarepO
rewophguonetoN
noisserpmoc(elbaliava
.)gnirifsimon,lamron
?deggolcrenaelcriA .renaelcriaecalperronaelC
?enilleufniriA .enilleufmorf)riaevomer(deelB
?rednilycnistisopednobraC .rednilycecalperronaelC
rewophguonetoN
noisserpmoc(elbaliava
.)gnirifsim,lamron
?evitcefedliocnoitingI .leufhserfhtiwecalperdnametsysleufhsulF
?strohsnetfogulpnoitingI .noitinginaelc,seriwnoitingiecalpeR
etauqedaniesunileuF
?)tsud,retaw(
.leufhserfhtiwecalperdnametsysleufhsulF

MTX-60 RAMMER • OPERATION AND PARTS MANUAL — REV. #6 (08/23/11) — PAGE 19
gnitoohselbuorTremmaR.5ELBAT
motpmyS melborPelbissoP noituloS
remmartubsnurenignE
tonroyllacitarrespmuj
.llata
elttorhtfodeepsgnitarepO
?tesyltcerrocnisirevel .noitisoptcerrocotrevelelttorhtteS
?ssecxeniliO .leveltcerrocotgnirB.liossecxeniarD
?spilshctulC .hctulctsujdaroecalpeR
?eruliaFgnirpS .gnirpslaripsecalpeR
?reporpmienignefodeepS .gnittesMPRgnitarepotcerrocotdeepsenignetsujdA
?detcapmoc-revolioS .liostsetdnaenihcamnwodtuhS
)deunitnoc(gnitoohselbuorTenignE.4ELBAT
motpmyS melborPelbissoP noituloS
yrotcafsitastonnoitarepO
deepslanoitatoR
.setautculf
?reporpmitnemtsujdaronrevoG .leveltcerrocotronrevogtsujdA
?evitcefedgnirpsronrevoG .noitingiecalperronaelC
?citarrewolfleuF .enilleufkcehC
?enilnoitcushguorhtninekatriA .enilnoitcuskcehC
tonretratslioceR
.ylreporpgnikrow
?trapgnitatornitsuD .ylbmessaretratsliocernaelC
?eruliafgnirpS .gnirpslaripsecalpeR
.staehrevoenignE
?etauqedanisiytilauqleufdexIM .erutximliootleufkcehC
nistisopednobracevissecxE
?rebmahcnoitsubmoc
.esacknarcecalperronaelC
htiwdeggolcrelffumrotsuahxE
?nobrac
.relffumecalperronaelC
?tcerrocnieulavtaehgulpkrapS .gulpkrapsepyttcerrochtiwgulpkrapsecalpeR
TROUBLESHOOTING

PAGE 20 — MTX-60 RAMMER • OPERATION AND PARTS MANUAL — REV. #6 (08/23/11)
EXPLANATION OF CODE IN REMARKS COLUMN
The following section explains the different symbols and
remarks used in the Parts section of this manual. Use the
help numbers found on the back page of the manual if there
are any questions.
SAMPLE PARTS LIST
NO. PART NO. PART NAME QTY. REMARKS
1 12345 BOLT ......................1 .....INCLUDES ITEMS W/%
2% WASHER, 1/4 IN. ...........NOT SOLD SEPARATELY
2% 12347 WASHER, 3/8 IN. ...1 .....MQ-45T ONLY
3 12348 HOSE ..................A/R ...MAKE LOCALLY
4 12349 BEARING ..............1 .....S/N 2345B AND ABOVE
NO. Column
Unique Symbols — All items with same unique
symbol
(@, #, +, %, or >) in the number column belong to the
same assembly or kit, which is indicated by a note in the
“Remarks” column.
Duplicate Item Numbers — Duplicate numbers indicate
multiple part numbers, which are in effect for the same
general item, such as different size saw blade guards in
use or a part that has been updated on newer versions
of the same machine.
PART NO. Column
Numbers Used — Part numbers can be indicated by a
number, a blank entry, or TBD.
TBD (To Be Determined) is generally used to show a
part that has not been assigned a formal part number
at the time of publication.
A blank entry generally indicates that the item is not sold
separately or is not sold by Multiquip. Other entries will
be clarified in the “Remarks” Column.
NOTICE
The contents and part numbers listed in the parts
section are subject to change without notice. Multiquip
does not guarantee the availability of the parts listed.
NOTICE
When ordering a part that has more than one item
number listed, check the remarks column for help in
determining the proper part to order.
QTY. Column
Numbers Used — Item quantity can be indicated by a
number, a blank entry, or A/R.
A/R (As Required) is generally used for hoses or other
parts that are sold in bulk and cut to length.
A blank entry generally indicates that the item is not sold
separately. Other entries will be clarified in the “Remarks”
Column.
REMARKS Column
Some of the most common notes found in the “Remarks
”
Column are listed below. Other additional notes needed
to describe the item can also be shown.
Assembly/Kit — All items on the parts list with the
same unique symbol will be included when this item is
purchased.
Indicated by:
“INCLUDES ITEMS W/(unique symbol)”
Serial Number Break — Used to list an effective serial
number range where a particular part is used.
Indicated by:
“S/N XXXXX AND BELOW”
“S/N XXXX AND ABOVE”
“S/N XXXX TO S/N XXX”
Specific Model Number Use — Indicates that the part
is used only with the specific model number or model
number variant listed. It can also be used to show a
part is NOT used on a specific model or model number
variant.
Indicated by:
“XXXXX ONLY”
“NOT USED ON XXXX”
“Make/Obtain Locally” — Indicates that the part can
be purchased at any hardware shop or made out of
available items. Examples include battery cables, shims,
and certain washers and nuts.
“Not Sold Separately” — Indicates that an item cannot
be purchased as a separate item and is either part of an
assembly/kit that can be purchased, or is not available
for sale through Multiquip.

MTX-60 RAMMER • OPERATION AND PARTS MANUAL — REV. #6 (08/23/11) — PAGE 21
SUGGESTED SPARE PARTS
MTX-60 RAMMER 1 TO 3 UNITS WITH HONDA
GX100UKRBF ENGINE
Qty. P/N Description
1 ......... 956100062 ............. THROTTLE WIRE
3 ......... 366010070 ............. PRIMARY ELEMENT, AIR CLEANER
3 ......... 366010080 ............. SECONDARY ELEMENT, AIR CLEANER
1 ......... 366345570 ............. CAP, FUEL TANK W/ STRAP
2 ......... 16910Z4ES21 ........ FILTER, IN-LINE FUEL
3 ......... 9805655757 ........... SPARK PLUG
1 ......... 959300770 ............. STRAINER, FUEL TANK
1 ......... 28462Z0DV02 ........ ROPE, RECOIL STARTER
Part numbers on this Suggested Spare
Parts List may supersede/replace the P/N
shown in the text pages of this book.

PAGE 22 — MTX-60 RAMMER • OPERATION AND PARTS MANUAL — REV. #6 (08/23/11)
NAMEPLATE AND DECALS
NAME PLATE AND DECALS ASSY.
0 2 #
STOP
02#
11
8
2
0 2 #
,
1
7
5
6
3
4
20
0 2 #
b ‡ ‘ ’ ‡ € “ ’ ƒ ‚ > € — > k s j r g o s g n > g l a L
a ‘ Œ J a Š „ Œ ‡ J s L q L _ L
k g i _ q _ > q _ l e w m > a m L J j r b
O K R K Q J q “ … ‰ “ K † J a † ‡ — ‚ K ‰ “ J r ‰ — J h Ž Œ
Made in Japan
/ 1 & ' .
5 ' 4 + # . 0 1
9 ' + ) * 6 M I N D U
1 7 6 2 7 6 M Y R U
NPA-0000
Engine Oil
Use SAE 10W/30,SE or higher grade motor oil
RAMMING CYLINDER OIL
Use SAE 10W/30,SF or higher grade moter oil
Fuel
Use normal quality gasoline
series
quick manual

MTX-60 RAMMER • OPERATION AND PARTS MANUAL — REV. #6 (08/23/11) — PAGE 23
NAMEPLATE AND DECALS
NAME PLATE AND DECALS ASSY.
NO. PART NO. PART NAME QTY.REMARKS
1 920212910 OPERATION DECAL 1
2 920212460 AIR CLEANER DECAL ................................................ 1 ........ NPA-1246
3 920212470 LEVER OPERATION DECAL 1
4 920212490 MAX SPEED DECAL 4100 1
5 920212480 MACHINE STOP DECAL 1
6 920210310 EC NOISE REQ. DECAL LWA107 1
7 920212840 CHOKE OPERATION DECAL 1
8 920212540 QUICK MANUAL 1
11 SERIAL PLATE NO. ..................................................... 1 ........ CONTACT MQ PARTS DEPT.
20 920212520 ANTI- VIB. HANDLE DECAL 1

PAGE 24 — MTX-60 RAMMER • OPERATION AND PARTS MANUAL — REV. #6 (08/23/11)
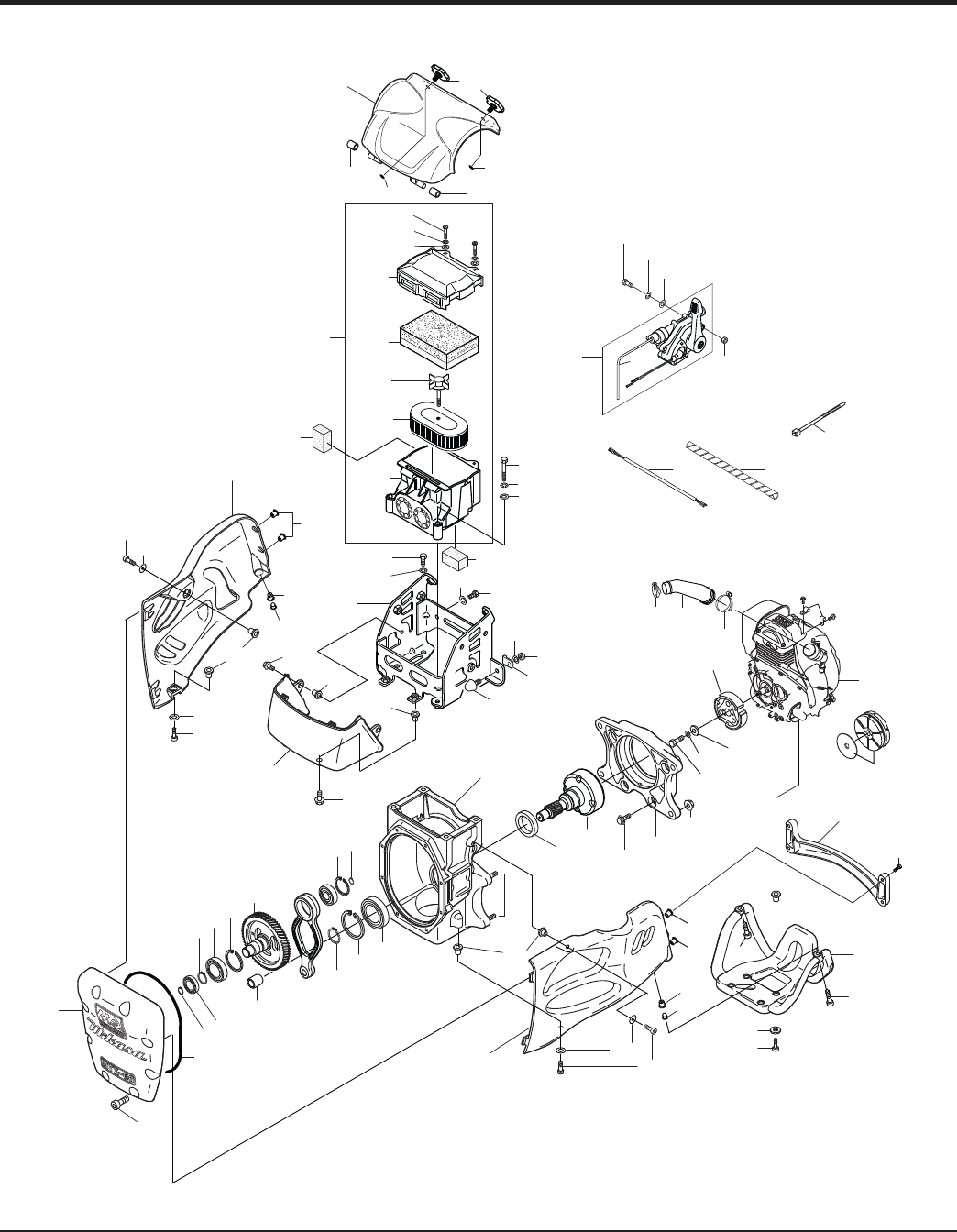
CRANKCASE AND ENGINE ASSY.
CRANKCASE AND ENGINE ASSY.
32-1
64
63
58
58
57
61
55
3
5
6
7
9
10
11
12
13
14
15
17
16
19
20
90
101
21
52
77
54-2
50
56
54-1
54-2
54-1
54-2
54-1
4
23
23
24
25-2
29
37
39
38
75
121
26
28
25-1
55
73
46
45
46
47
48
48
36
40
42-3
42-2
42-1
41
36-5
36-7
36-9
36-8
52
62
62
62
51
53
49
53
32-1
2
1
33
31
35
34
43-2 43-1
36-1
36-2
36-3
36-4
7674
44
49
62
62
71-1
71-3
71-2
66 122 72
OLD
STYLE
CLUTCH
NEW
STYLE
CLUTCH

MTX-60 RAMMER • OPERATION AND PARTS MANUAL — REV. #6 (08/23/11) — PAGE 25
CRANKCASE AND ENGINE ASSY.
CRANKCASE AND ENGINE ASSY.
NO. PART NO. PART NAME QTY.REMARKS
1 368119170 CRANKCASE CP......................................................... 1 ........ INCLUDES ITEM W/ *
2*009120204 STUD BOLT 10X50X21T/21S 4
3 041006007 BEARING 6007Z 1
4 368347410 PINION DRUM 1
5 060404010 OIL SEAL TC - 40528 1
6 080200350 STOP RING S-35 1
7 080100620 STOP RING R-62 1
9 040006203 BEARING 6203 1
10 040006305 BEARING 6305 1
11 080100620 STOP RING R62 1
12 080200170 STOP RING S-17 1
13 080200250 STOP RING R-62 1
14 368347250 CONNECTING ROD 1
15 040006304 BEARING 6304 1
16 080100520 STOP RING R- 52 1
17 080200200 STOP RING S- 20 1
19 047940060 NEEDLE BEARING FJ- 1816 1
20 050710100 O- RING AS568- 267 1
21 001520825 SOCKET HEAD BOLT 8X25 T 8
23 366346210 CLUTCH ASSY ............................................................ 1 ........ S/N S-1880 AND BELOW
23 366348550 CLUTCH ASSY ............................................................ 1 ........ S/N S-1881 AND ABOVE
24 952401450 WASHER 8.5X22X3 1
25-1 001220825 BOLT 8X25 T 1
25-2 030208200 WASHER, LOCK M8 1
26 368217640 ENGINE FLANGE 1
28 001710840 SOCKET HEAD BOLT 8X40 T 4
29 022611010 FLANGE NUT M10 H 4
31 368347490 SHOCK ABSORBER BRACKET 60 1
32-1 001211030 BOLT 10X30 H 4
32-2 030210250 WASHER, LOCK M10 4
33 939010270 STOPPER RUBBER (70) 1
34 030208200 WASHER, LOCK M8 1
35 020308060 NUT M8 1
36 366118640 AIR CLEANER ASSY .................................................. 1 ........ INCLUDES ITEMS W/ #
36-1# 366010010 AIR CLEANER COVER 1
36-2# 366010020 WASHER, FLAT M6 (6.5X18X1.5) 2
36-3# 030206150 WASHER, LOCK M6 2
36-4# 366010040 COIN BOLT M6 2
36-5# 366010050 AIR CLEANER BASE CP 1
36-7# 366010070 PRIMARY ELEMENT CP 1
36-8# 366010080 SECONDARY ELEMENT 1
36-9# 366030040 GRIP BPLT CP 1
37 366345470 INTAKE PIPE 1
38 954407681 CYCLONE CLAMP (CY- 1) 45 1
39 954407682 CYCLONE CLAMP (CY- 1) 38 1
40 366460160 UNDER SEALING FORM 1

PAGE 26 — MTX-60 RAMMER • OPERATION AND PARTS MANUAL — REV. #6 (08/23/11)
CRANKCASE AND ENGINE ASSY.
CRANKCASE AND ENGINE ASSY.
32-1
64
63
58
58
57
61
55
3
5
6
7
9
10
11
12
13
14
15
17
16
19
20
90
101
21
52
77
54-2
50
56
54-1
54-2
54-1
54-2
54-1
4
23
23
24
25-2
29
37
39
38
75
121
26
28
25-1
55
73
46
45
46
47
48
48
36
40
42-3
42-2
42-1
41
36-5
36-7
36-9
36-8
52
62
62
62
51
53
49
53
32-1
2
1
33
31
35
34
43-2 43-1
36-1
36-2
36-3
36-4
7674
44
49
62
62
71-1
71-3
71-2
66 122 72
OLD
STYLE
CLUTCH
NEW
STYLE
CLUTCH

MTX-60 RAMMER • OPERATION AND PARTS MANUAL — REV. #6 (08/23/11) — PAGE 27
CRANKCASE AND ENGINE ASSY.
CRANKCASE AND ENGINE ASSY. (continued)
NO. PART NO. PART NAME QTY.REMARKS
41 366460150 SIDE SEALING FORM 1
42-1 001220851 BOLT 8X55 T 2
42-2 030208200 WASHER, LOCK M8 2
42-3 031108160 WASHER, FLAT M8 2
43-1 001210815 BOLT 8X15 H 2
43-2 030208200 WASHER, LOCK M8 2
44 368217760 BOTTOM CLEANER COVER 60 1
45 368217750 TOP CLEANER COVER 60 1
46 366460140 RUBBER BUSH 10X16X17 2
47 366345980 CLEANER COVER KNOB 2
48 050200060 O- RING P6 2
49 009110040 FLANGE BOLT 8X20 4
50 368119470 LINK GUARD 1
51 368119480 MUFFLER GUARD 1
52 022910260 WELL NUT M8 2
53 366460170 FLANGE COLLAR 8 2
54-1 001520820 SOCKET HEAD BOLT 8X20 T 4
54-2 031108160 WASHER, FLAT M8 4
55 009110038 SOCKET HEAD BOLT 8X30 ZN 2
56 368217770 EX BAR 1
57 009110039 SOCKET HEAD BOLT 6X25 ZN 4
58 022910250 WELL NUT M6 4
61 368119490 ENGINE GUARD 1
62 366461050 COLLAR / GUARD 12
63 033910220 WASHER 8.4X15.5X1.6 4
64 009110038 SOCKET HEAD BOLT 8X30 ZN 4
66 366900032 LEVER ASSY W/ T. WIRE ............................................ 1 ........ INCLUDES ITEMS W/@
71-1 001220620 BOLT 6X20 T 2
71-2 030206150 WASHER, LOCK M6 2
71-3 031106100 WASHER, FLAT M6 2
72 020306050 NUT M6 2
73 959006120 CLIP (TCP2 - 10509B) 1
74 368461280 WIRE HARNESS 1
75 2067550101 CLAMP COMPL 2
76 959021810 SPIRAL TUBE KEP6 / L=500 1
77 454010020 CLAMP TC- 100 3
90 368347270 CRANK GEAR 1
101 368010010 FRONT COVER 1
121 912210012 ENGINE ASSY, GX100UKRBF 1
122@ 956100062 THROTTLE WIRE 1

PAGE 28 — MTX-60 RAMMER • OPERATION AND PARTS MANUAL — REV. #6 (08/23/11)
GUIDE CYLINDER ASSY.
GUIDE CYLINDER ASSY.
17
18
8
9
15 16
14
13
4
5-1
5-2
6
7
9
12
3
1
2
21
20
23
24
22
25
27
29
30
36
29
30
37
35
33 34
31
32
26
28

MTX-60 RAMMER • OPERATION AND PARTS MANUAL — REV. #6 (08/23/11) — PAGE 29
GUIDE CYLINDER ASSY.
GUIDE CYLINDER ASSY.
NO. PART NO. PART NAME QTY.REMARKS
1 368461210 PISTON PIN 1
2 368459920 PISTON PIN PLUG 2
3 368347290 PISTON ROD 1
4 368461160 PISTON END 1
5-1 001121230 BOLT 12X30 T 1
5-2 030212300 WASHER, LOCK M12 1
6 952404790 WASHER 13306 1
7 368461260 LOWER STOPPER 1
8 368461200 BOTTOM STOPPER 1
9 368461270 MAIN SPRING 2
12 368347281 SPRING CYLINDER ............................................ 1 ................ REPLACES P/N 368347280
13 368217710 FOOT PLATE 1
14 050100800 O- RING G- 80 1
15 001521020 SOCKET HEAD BOLT 15X20 T 4
16 001520835 SOCKET HEAD BOLT 8X25 T 4
17 953405270 PLUG 1/4X14 13L 1
18 953405260 PACKING 1/4 (CU) 1
20 368217720 CYLINDER GUIDE 1
21 050100850 O- RING G-85 1
22 050101150 O- RING G-115 1
23 002211035 BOLT 10X35 H, SW4 4
24 368346180 ORANGE BELLOWS 1
25 368347520 BELLOWS CLAMP131D 1
26 368461400 BAND GUIDE 131D 1
27 368347530 BELLOWS CLAMP 149D 1
28 368461410 BAND GUIDE 149D 1
29 001220840 BOLT 8X40 T 2
30 020308060 NUT M8 2
31 953405270 PLUG 1/4X14 13L 1
32 953405260 PACKING 1/4 (CU) 1
33 368118970 PROTECTION SLEEVE 1
34 366460300 OIL GAUGE ASSY 1
35 953404670 COPPER PACKING 17X25.5X1 1
36 050200800 O- RING P- 80 1
37 050101300 O- RING G-130 1

PAGE 30 — MTX-60 RAMMER • OPERATION AND PARTS MANUAL — REV. #6 (08/23/11)
FOOT ASSY.
FOOT ASSY.
2
3
2
3
7
8
1
54

MTX-60 RAMMER • OPERATION AND PARTS MANUAL — REV. #6 (08/23/11) — PAGE 31
FOOT ASSY.
FOOT ASSY.
NO. PART NO. PART NAME QTY.REMARKS
1 362910150 FOOT ASSY 265W M4B 1
2 022711214 NYLON NUT M12 4
3 030212300 WASHER, LOCK M12 4
4 009110034 SQUARE NECK BOLT 12X65 2
5 009110035 SQUARE NECK BOLT 12X95 2
7 368347460 FOOT COVER 1
8 363343390 HANDLEBAR GRIP (FOOT) 1

PAGE 32 — MTX-60 RAMMER • OPERATION AND PARTS MANUAL — REV. #6 (08/23/11)
FUEL TANK AND HANDLE ASSY.
FUEL TANK AND HANDLE ASSY.
3
1
4-24-1
7
6
5
41
41
43
43
42
42
98
11
201
10
54
51
23
19
15
18
16
53
A
56
2-1
2-2
12-2
12-1
12-2
12-1
55
4-2
4-1
13
13
12-2
12-1
14
40
B
21
A20
21
101
101
101
102
103
101
104
106
112
113
112
111
B
110 1
1
1
110
17
17
A
FOR CARBURETORS
WITHOUT PRIMING BULBS
FOR CARBURETORS
WITH PRIMING BULBS
ITEM 110, PRIMER PUMP KIT,
FOR USE ON UNITS WITH
S/N T-3424 AND ABOVE
NOTES

MTX-60 RAMMER • OPERATION AND PARTS MANUAL — REV. #6 (08/23/11) — PAGE 33
FUEL TANK AND HANDLE ASSY.
FUEL TANK AND HANDLE ASSY.
NO. PART NO. PART NAME QTY.REMARKS
1 368347630 SHOCK ABSORBER W/ PIN 2
2-1 001521020 SOCKET HEAD BOLT 10X20 T 4
2-2 033121009 TOOTHED LOCK WASHER B M10 4
3 368119570 HANDLE 1
4-1 001211020 BOLT 10X20 H 4
4-2 030210250 WASHER, LOCK M10 4
5 939010270 RUBBER STOPPER (70) 1
6 030208200 WASHER, LOCK M8 1
7 020308060 NUT M8 1
8*366010060 TANK CAP STRAP 1
9 366345570 FUEL TANK CAP ASSY ............................................... 1 ........ INCLUDES ITEM W/ *
10 368119460 FUEL TANK 2L 1
11 094010053 PAN HEAD SCREW 4X8 4
12-1 001210815 BOLT 8X15 H 3
12-2 030208200 WASHER, LOCK M8 3
13 952401450 WASHER 8.5X22X3 2
14 031108160 WASHER, FLAT M8 1
15 959300770 STRAINER #508 1
16 366459790 FUEL TANK PACKING 1
17 366345280 FILTER HOLDER .......................................................... 1 ........ S/N T-3423 AND BELOW
17% 366349420 FILTER HOLDER W/V .................................................. 1 ........ S/N T-3424 AND ABOVE
18 020305040 NUT M5 3
19 030205130 WASHER, LOCK M5 3
20 959026122 FUEL HOSE L=70 1
21 954406420 HOSE BAND 10.5 2
23 009110037 TAPPING SCREW 5X20 2
40 366910030 ROLLER ASSY W/ SCREW .........................................1 ........ INCLUDES ITEM W/ #
41# 366217170 ROLLER 2
42# 091005020 SCREW 5X20 4
43# 022610505 FLANGE NUT M5 H 4
51 980010330 TACHO & HOUR METER 1
53 955010305 CURL CORD TP-22 1
54 366345620 METER FINISHER 1
55 454010020 CLAMP TC-100 5
56 954010270 CLIP AB-3N 1
101 954406420 HOSE BAND 10.5 4
102 16910Z4ES21 FUEL STRAINER 1
103 959026103 FUEL HOSE 5.5X11.5X80 1
104 950014500150M FUEL HOSE 1M 1
106 950033606020 VINYL TUBE L260 1
110 366900060 PRIMER PUMP KIT/ NO CARB .................................. 1 ........ INCLUDES ITEMS W/%
................................................................................................. S/N T-3424 AND ABOVE
111% 959028301 RETURN HOSE 3X6X600 ............................................ 1 ........ S/N T-3424 AND ABOVE
112% 954408170 HOSE CLIP 5 ............................................................... 2 ........ S/N T-3424 AND ABOVE
113% 959021814 SPIRAL TUBE 6D-200L ............................................... 1 ........ S/N T-3424 AND ABOVE
201 920212910 OPERATION DECAL 1

PAGE 34 — MTX-60 RAMMER • OPERATION AND PARTS MANUAL — REV. #6 (08/23/11)
COMBINATION LEVER ASSY.
COMBINATION LEVER ASSY.
11
12
13
14
2
4
6
9
7
7
8
5
A
1
11
10
3
NOTES
OLD STYLE LEVER BODY NO LONGER
AVAILABLE. NEW STYLE ITEMS 1, 2, AND 9
ARE NOT COMPATIBLE WITH OLD STYLE
BODY. IF REPLACEMENT OF ITEMS 1, 2
OR 9 IS REQUIRED, ORDER KIT “A”.
TO DETERMINE IF COMBINATION LEVER
ASSY IS OLD STYLE OR NEW STYLE, SEE
ITEM 2, LEVER. NEW STYLE LEVER HAS
MOLDED TAB AT BOTTOM.
BODY
OLD
STYLE
LEVER
MOLDED
TAB
NEW
STYLE
LEVER

MTX-60 RAMMER • OPERATION AND PARTS MANUAL — REV. #6 (08/23/11) — PAGE 35
COMBINATION LEVER ASSY.
COMBINATION LEVER ASSY.
NO. PART NO. PART NAME QTY.REMARKS
A 366900032 COMB. LEVER ASSY W/ THROTTLE WIRE ... 1 ...... INCLUDES ITEMS W/ #
..................................................................................REPLACES 366900030
A 956200110 COMB. LEVER ASSY ..................................... 1 ...... INCLUDES ITEMS W/@
1 366346260 FUEL COCK .................................................... 1 ...... SEE NOTE ON DRAWING
1#@ 366349430 FUEL COCK .................................................... 1 ...... NEW STYLE, SEE NOTE ON DRAWING
2 366010180 LEVER ............................................................ 1 ...... SEE NOTE ON DRAWING
2#@ 366010310 LEVER ............................................................ 1 ...... NEW STYLE, SEE NOTE ON DRAWING
3#@ 366010190 SLIDER 1
4#@ 366010200 END CAP 1
5#@ 366010210 WIRE CAP 1
6#@ 366010220 BOLT AND WASHER SET 1
7#@ 020408050 NUT M8, H=5 2
8#@ 959407650 SOCKET HEAD SCREW/TH.WIRE 1
9 366010260 STOP SWITCH ................................................ 1 ..... SEE NOTE ON DRAWING
9#@ 366010320 STOP SWITCH ................................................ 1 ..... NEW STYLE, SEE NOTE ON DRAWING
10# 956100062 THROTTLE WIRE 1
11#@ 094010051 TAPPING SCREW B1 4X12 4
12#@ 094010052 TAPPING SCREW B1 4X30 1
13#@ 050200150 O-RING, P15 1
14#@ 050200110 O-RING, P11 1

PAGE 36 — MTX-60 RAMMER • OPERATION AND PARTS MANUAL — REV. #6 (08/23/11)
HONDA GX100KRBF ENGINE — CYLINDER BARREL ASSY.
CYLINDER BARREL ASSY.

MTX-60 RAMMER • OPERATION AND PARTS MANUAL — REV. #6 (08/23/11) — PAGE 37
HONDA GX100KRBF ENGINE — CYLINDER BARREL ASSY.
CYLINDER BARREL ASSY.
NO. PART NO. PART NAME QTY.REMARKS
1 12000Z0DV00 BARREL ASSY., CYLINDER ....................................... 1 ........ INCLUDES ITEMS W/ *
2*12201Z0D305 GUIDE ASSY., EX VALVE (O.S.) 1
3*12204Z0D305 GUIDE, INLET VALVE (O.S) 1
5 12311Z0D000 COVER, HEAD T 1
6 12355Z0D000 COVER COMP A, BREATHER 1
7 12365Z0D000 COVER COMP B, BREATHER 1
8 15571Z0DV71 VALVE, OIL OUTLET 1
9 15572ZM7000 PLATE, STOPPER 1
10 15721Z0DV70 TUBE, BREATHER 1
11 90014952000 VOLT, FLANGE 6X14 (CT200) 6
12*91202KJ9003 OIL SEAL 20X32X6 1
13 93500030050A SCREW 3X5 1
14 9805655757 PLUG, SPARK (U16FSR-UB) 1
15 15171Z0DV00 PIPE, BREATHER 1
16 90008ZM7000 BOLT 4X10 1

PAGE 38 — MTX-60 RAMMER • OPERATION AND PARTS MANUAL — REV. #6 (08/23/11)
HONDA GX100KRBF ENGINE — CRANKCASE COVER ASSY.
CRANKCASE COVER ASSY.

MTX-60 RAMMER • OPERATION AND PARTS MANUAL — REV. #6 (08/23/11) — PAGE 39
CRANKCASE COVER ASSY.
NO. PART NO. PART NAME QTY.REMARKS
1 11300Z0D409 COVER ASSY., CRANK CASE .................................... 1 ........ INCLUDES ITEMS W/ *
3 15600ZM7003 OIL FILLER CAP ASSY ............................................... 2 ........INCLUDES ITEMS W/#
4# 15625ZE1003 PACKING, OIL FILLER CAP 2
5*16510ZL8000 GOVERNOR ASSY. 1
9*16531ZE1000 SLIDER, GOVERNOR 1
10 16541Z0D000 SHAFT, GOVERNOR ARM 1
11 90121952000 FLANGE BOLT 6x25 8
12 90131ZE1000 BOLT, DRAIN PLUG 1
13*90451ZE1000 THRUST WASHER 6 MM 1
14 90601ZE1000 WASHER, DRAIN PLUG 1
15*90602ZE1000 CLIP, GOVERNOR HOLDER 1
16*91202KJ9003 OIL SEAL 20x3x6 1
17*9410106800 PLAIN WASHER 6 MM 2
18 9425108000 LOCK PIN 1
19 9430108200 KNOCK PIN 2
21*91001Z0DV01 BEARING, RADIAL BALL 6204 1
23 11511Z0DV10 FLANGE JOINT PTO 1
24 91231891003 OIL SEAL 6x11x4 1
26 9430306100 KNOCK PIN 6x10 2
27 957010804500 FLANGE BOLT 8x40 4
28 934021004000 BOLT WASHER 10x40 2
HONDA GX100KRBF ENGINE — CRANKCASE COVER ASSY.

PAGE 40 — MTX-60 RAMMER • OPERATION AND PARTS MANUAL — REV. #6 (08/23/11)
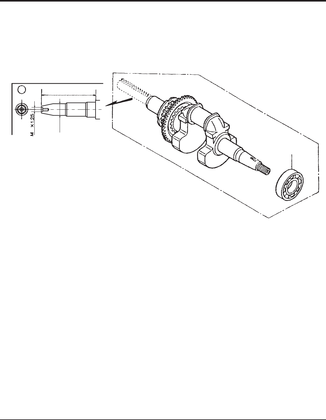
HONDA GX100KRBF ENGINE — CRANKSHAFT ASSY.
CRANKSHAFT ASSY.
385.3
8
f16.8
6

MTX-60 RAMMER • OPERATION AND PARTS MANUAL — REV. #6 (08/23/11) — PAGE 41
HONDA GX100KRBF ENGINE — CRANKSHAFT ASSY.
CRANKSHAFT ASSY.
NO. PART NO. PART NAME QTY.REMARKS
3 13310Z0DV70 CRANK SHAFT COMP. ............................................... 1 ........ INCLUDES ITEM W/ *
6*91001Z0DV01 BEARING, RADIAL BALL 2

PAGE 42 — MTX-60 RAMMER • OPERATION AND PARTS MANUAL — REV. #6 (08/23/11)
HONDA GX100KRBF ENGINE — PISTON/CONN. ROD ASSY.
PISTON AND CONNECTING ROD ASSY.

MTX-60 RAMMER • OPERATION AND PARTS MANUAL — REV. #6 (08/23/11) — PAGE 43
HONDA GX100KRBF ENGINE — PISTON/CONN. ROD ASSY.
PISTON AND CONNECTING ROD ASSY.
NO. PART NO. PART NAME QTY.REMARKS
1 13010Z0D003 RING SET, PISTON 1
2 13101Z0D000 PISTON 1
3 13111ZE0000 PISTON PIN 1
4 13200Z0D000 CONNECTING ROD ASSY. ........................ 1 ............INCLUDES ITEM W/ *
4 13200Z0D305 CONNECTING ROD ASSY. ........................ 1 ............UNDERSIZE, INCLUDES ITEM W/ *
5*90001ZM7000 CONNECTING ROD BOLT 2
6 90551ZE0000 CLIP, PISTON PIN 13MM 2

PAGE 44 — MTX-60 RAMMER • OPERATION AND PARTS MANUAL — REV. #6 (08/23/11)
HONDA GX100KRBF ENGINE — CAMSHAFT ASSY.
CAMSHAFT ASSY.

MTX-60 RAMMER • OPERATION AND PARTS MANUAL — REV. #6 (08/23/11) — PAGE 45
HONDA GX100KRBF ENGINE — CAMSHAFT ASSY.
CAMSHAFT ASSY.
NO. PART NO. PART NAME QTY.REMARKS
1 14320Z0D010 PULLEY, COMP., CAMSHAFT 1
2 14324Z0D000 SHAFT, CAM PULLEY 1
3 14400Z0D003 TIMING BELT (61YU7 G-200) 1
4 14431Z0D000 ROCKER ARM, INTAKE VALVE 1
5 14441Z0D000 ROCKER ARM, EXHAUST VALVE 1
6 14461ZL8000 SHAFT, ROCKER ARM 2
7 14711Z0D000 INLET VALVE 1
8 14721Z0D000 EXHAUST VALVE 1
9 14751Z0D000 SPRING, VALVE 2
10 14771ZM3010 RETAINER, VALVE SPRING 2
11 90012333000 SCREW, TAPPET ADJUSTING 2
12 90206001000 NUT, TAPPET ADJUSTING 2
13 91301ZM0V31 O RING 6.8X1.9 1
14 12209KT7013 SEAL, VALVE STEM 1

PAGE 46 — MTX-60 RAMMER • OPERATION AND PARTS MANUAL — REV. #6 (08/23/11)
HONDA GX100KRBF ENGINE — RECOIL STARTER ASSY.
RECOIL STARTER ASSY.

MTX-60 RAMMER • OPERATION AND PARTS MANUAL — REV. #6 (08/23/11) — PAGE 47
HONDA GX100KRBF ENGINE — RECOIL STARTER ASSY.
RECOIL STARTER ASSY.
NO. PART NO. PART NAME QTY.REMARKS
1 28400Z0DV03ZA RECOIL STARTER ASSY ............................... 1 ........ INCLUDES ITEMS W/ *
2*28410Z0DV02ZA CASE COMP., RECOIL *5-3-5 1
3*28421Z0DV02 REEL, RECOIL STARTER 1
4*28422ZG0W02 RATCHET, STARTER 1
5*28433ZG0W02 GUIDE, RATCHET 1
6*28441ZW6003 SPRING, FRICTION 1
7*28442ZH8003 SPRING, RECOIL STARTER 1
8*28461ZH8003 STARTER KNOB 1
9*28462Z0DV02 ROPE, RECOIL STARTER 1
10*28467Z0DV02 PLATE, SIDE 1
11*28468Z0DV02 PLATE, SLIDE 1
12*90003ZH8003 SET SCREW 1
13 957010600800 BOLT, FLANGE 6X8 1

PAGE 48 — MTX-60 RAMMER • OPERATION AND PARTS MANUAL — REV. #6 (08/23/11)
HONDA GX100KRBF ENGINE — FAN COVER ASSY.
FAN COVER ASSY.

MTX-60 RAMMER • OPERATION AND PARTS MANUAL — REV. #6 (08/23/11) — PAGE 49
HONDA GX100KRBF ENGINE — FAN COVER ASSY.
FAN COVER ASSY.
NO. PART NO. PART NAME QTY.REMARKS
1 19610Z0DV00ZB FAN COVER CP. 1
3 90014952000 BOLT, FLANGE 6X14 (CT200) 4

PAGE 50 — MTX-60 RAMMER • OPERATION AND PARTS MANUAL — REV. #6 (08/23/11)
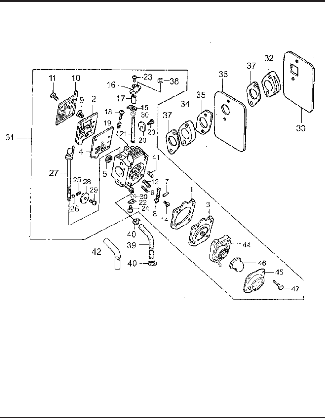
HONDA GX100KRBF ENGINE — CARBURETOR ASSY. (S/N T-3423 AND BELOW)
CARBURETOR ASSY. (S/N T-3423 AND BELOW)
34
33
38
37
36
35
38
17
16
18
2
9
10
11
32
28
4
27
5
40
39
40
26
30
29
6
12
19
20
31
23
25
15
31
24
21
7
814
25
13
3
1
42

MTX-60 RAMMER • OPERATION AND PARTS MANUAL — REV. #6 (08/23/11) — PAGE 51
HONDA GX100KRBF ENGINE — CARBURETOR ASSY. (S/N T-3423 AND BELOW)
CARBURETOR ASSY. (S/N T-3423 AND BELOW)
NO. PART NO. PART NAME QTY.REMARKS
1*16010Z0DV02 GASKET, METALING DIAPHRAGM 1
2*16011Z0DV02 GASKET, PUMP 1
3*16013Z0DV02 DIAPHRAGM ASSY, METALING 1
4*16014Z0DV02 DIAPHRAGM, PUMP 1
5*16018ZM3004 SCREEN, INLET 1
6*16019ZM3004 VALVE, INLET NEEDLE 1
7*16022ZM3014 PIN, METALING LEVER 1
8*16023Z0DV02 LEVER, METALING 1
9*16030ZM3004 SPRING, PUMP 1
10*16040Z0DV02 COVER, PUMP 1
11*16041Z0DV02 SCREW 1
12*16042Z0EV92 SPRING 1
13*16043Z0DV02 COVER, METALING DIAPHRAGM 1
14*16044Z0DV02 SCREW 1
15*16045Z0DV02 STOPPER, THROTTLE LEVER 1
16*16046Z0DV73 LEVER, THROTTLE 1
17*16054Z0DV02 SCREW, VALVE 1
18*16048Z0DV02 SPACER, THROTTLE LEVER 1
19*16049Z4ES12 SCREW, IDLE ADJUSTING 1
20*16050Z0DV02 SPRING 1
21*16051Z0DV02 VALVE, THROTTLE 1
22*16052Z0DV02 SHAFT, THROTTLE 1
23*16053Z0DV02 CLIP, THROTTLE SHAFT 1
24*16054Z0DV02 SCREW, VALVE 1
25*16055Z0DV02 SCREW ASSY 5
26*16056Z0DV02 SPRING 1
27*16057Z0DV02 BALL 1
28*16058Z0DV72 SHAFT ASSY, CHOKE 1
29*16059Z0DV03 VALVE, CHOKE 1
30*16060Z0DV02 SCREW 1
31*16061Z0DV02 SEAL, DUST 2
32 16100Z4ES13 CARBURETOR ASSY. (HAD 201C)............................ 1 ........INCLUDES ITEMS W/ *
33 16211Z0DV00 INSULATOR, CARBURETOR 1
34 16212Z0DV00 PACKING, INSULATOR 1
35 16213Z4ES10 INSULATOR B, CARBURETOR 1
36 16214Z0DV00 PACKING B, INSULATOR 1
37 16215Z0DV00 PLATE, INSULATOR 1
38 16221Z0DV00 PACKING, CARBURETOR 2
39 950014527050 HOSE, FUEL 4.5 X 270 1
40 950024085008 CLAMP, TUBE 2
42 16552896650 COLLAR, LEVER 1

PAGE 52 — MTX-60 RAMMER • OPERATION AND PARTS MANUAL — REV. #6 (08/23/11)
HONDA GX100KRBF ENGINE — CARBURETOR ASSY. (S/N T-3424 AND ABOVE)
CARBURETOR ASSY. (S/N T-3424 AND ABOVE)

MTX-60 RAMMER • OPERATION AND PARTS MANUAL — REV. #6 (08/23/11) — PAGE 53
HONDA GX100KRBF ENGINE — CARBURETOR ASSY. (S/N T-3424 AND ABOVE)
CARBURETOR ASSY. (S/N T-3424 AND ABOVE)
NO. PART NO. PART NAME QTY.REMARKS
1*16010Z0DV02 GASKET, METERING DIAPHRAGM 1
2*16011Z0DV02 GASKET, PUMP 1
3*16013Z4ES32 DIAPHRAGM ASSY, METERING 1
4*16014Z0DV02 DIAPHRAGM, PUMP 1
5*16018ZM3004 SCREEN, INLET 1
6*16019ZM3004 VALVE, INLET NEEDLE 1
7*16022ZM3014 PIN, METERING LEVER 1
8*16023Z0DV02 LEVER, METERING 1
9*16030ZM3004 SPRING, PUMP 1
10*16040Z4E802 COVER, PUMP 1
11*16041Z0DV02 SCREW 1
12*16042Z0DV02 SPRING 1
14*16044Z4E802 SCREW 1
15*16045Z0DV02 STOP, THROTTLE 1
16*16046Z0DV73 LEVER, THROTTLE 1
17*16048Z0DV02 SPACER, THROTTLE LEVER 1
18*16049Z4ES12 SCREW, IDLE ADJUSTING 1
19*16050Z0DV02 SPRING 1
20*16051Z0DV02 VALVE, THROTTLE 1
21*16052Z0DV02 SHAFT, THROTTLE 1
22*16053Z0DV02 CLIP, THROTTLE SHAFT 1
23*16054Z0DV02 SCREW, VALVE 2
24*16055Z0DV02 SCREW ASSY 1
25*16056Z0DV02 SPRING 1
26*16057Z0DV02 BALL 1
27*16058Z0DV02 SHAFT ASSY, CHOKE 1
28*16059Z0DV03 VALVE, CHOKE 1
29*16060Z0DV02 SCREW 1
30*16061Z0DV02 SEAL, DUST 2
31 16100Z4ES43 CARBURETOR ASSY (W/PRIMER) .................................. 1 .........INCLUDES ITEMS W/*
32 16211Z0DV00 INSULATOR, CARBURETOR 1
33 16212Z0DV00 PACKING, INSULATOR 1
34 16213Z4ES10 INSULATOR B, CARBURETOR 1
35 16214Z0DV00 PACKING B, INSULATOR 1
36 16215Z0DV00 PLATE, INSULATOR 1
37 16221Z0DV00 PACKING, CARBURETOR 2
38*16552896650 COLLAR, LEVER 1
39 950014527050 HOSE, FUEL 4.5 X 270 1
40 950024085008 CLAMP, TUBE 2
41*99101Z0D048 JET (#48) 1
41*99101Z0D050 JET (#50) 1
41*99101Z0D052 JET (#52) 1
41*99101Z0D054 JET (#54) 1
42 950033602620 TUBE, VINYL. 11 X 13 X 260 1
44*16017Z4ES32 BODY ASSY, AIRPURGE 1
45*16026Z4ES32 COVER, PRIMER PUMP 1
46*16032Z4ES32 PUMP, PRIMER 1
47*16055Z4ES32 SCREW ASSY 4

PAGE 54 — MTX-60 RAMMER • OPERATION AND PARTS MANUAL — REV. #6 (08/23/11)
HONDA GX100KRBF ENGINE — AIR CLEANER ASSY.
AIR CLEANER ASSY.
14
8
10
11

MTX-60 RAMMER • OPERATION AND PARTS MANUAL — REV. #6 (08/23/11) — PAGE 55
HONDA GX100KRBF ENGINE — AIR CLEANER ASSY.
AIR CLEANER ASSY.
NO. PART NO. PART NAME QTY.REMARKS
8 17228Z0DV01 PACKING, AIR CLEANER 1
10 90042Z4ES30 STUD BOLT 5X95 2
11 9405005000 FLANGE NUT 5MM 2
14 17410Z4ES30 ELBOW, AIR CLEANER 1

PAGE 56 — MTX-60 RAMMER • OPERATION AND PARTS MANUAL — REV. #6 (08/23/11)
HONDA GX100KRBF ENGINE — MUFFLER ASSY.
MUFFLER ASSY.

MTX-60 RAMMER • OPERATION AND PARTS MANUAL — REV. #6 (08/23/11) — PAGE 57
HONDA GX100KRBF ENGINE — MUFFLER ASSY.
MUFFLER ASSY.
NO. PART NO. PART NAME QTY.REMARKS
1 18310Z0DV20 MUFFLER COMP. 1
2 18321Z0DV20 MUFFLER PROTECTOR 1
3 18381Z0D000 GASKET, MUFFLER 1
4 90014952000 VOLT, FLANGE 6X14 (CT200) 3
5 90048Z0DV00 STUD BOLT 5X78 2
6 90343ZE6000 NUT, SELF-LOCK 6MM 2

PAGE 58 — MTX-60 RAMMER • OPERATION AND PARTS MANUAL — REV. #6 (08/23/11)
HONDA GX100KRBF ENGINE — FLYWHEEL IGNITION ASSY.
11
12
3
7
7
4
1
10
9
FLYWHEEL IGNITION ASSY.

MTX-60 RAMMER • OPERATION AND PARTS MANUAL — REV. #6 (08/23/11) — PAGE 59
HONDA GX100KRBF ENGINE — FLYWHEEL IGNITION ASSY.
FLYWHEEL IGNITION ASSY.
NO. PART NO. PART NAME QTY.REMARKS
1 13331ZM7000 WOODRUFF KEY 25X18 1
3 30564ZA5000 GROMMET, CORD 1
4 31110Z0D003 FLYWHEEL COMP. 1
7 90022888010 FLANGE BOLT 6X20 2
9 9405012000 FLANGE NUT M12 1
10 28451Z0DV02 STARTER PULLEY 1
11 30500Z0DV02 IGNITION COIL ASSY ................................................. 1 ........ INCLUDES ITEMS W/ *
12*30700Z0DV01 TERMINAL ASSY. 1

PAGE 60 — MTX-60 RAMMER • OPERATION AND PARTS MANUAL — REV. #6 (08/23/11)
HONDA GX100KRBF ENGINE — CONTROL ASSY.
15
9
419
17
3
5
8
8
20
20
10
11
11
12
6
CONTROL ASSY.

MTX-60 RAMMER • OPERATION AND PARTS MANUAL — REV. #6 (08/23/11) — PAGE 61
HONDA GX100KRBF ENGINE — CONTROL ASSY.
CONTROL ASSY.
NO. PART NO. PART NAME QTY.REMARKS
3 16555Z0DV00 GOVERNOR ROD 1
4 16561Z0DV00 GOVERNOR SPRING 1
5 16562Z0DV00 SPRING, THROTTLE RETURN 1
6*16594883010 HOLDER, WIRE 1
8 90014952000 VOLT, FLANGE 6X14 (CT200) 2
9 90015ZE5010 BOLT, GOVERNOR ARM 1
10*90605230000 CIR CLIP 1
11*92301050200A BOLT 5X20 1
12*93500040060H SCREW 4X6 1
15 9405006000 FLANGE NUT 6MM 1
17 16550Z0DV01 GOVERNOR ARM 1
19 16500Z4ES30 CONTROL ASSY ......................................................... 1 ........ INCLUDES ITEMS W/ *
20*9400105000 NUT M5 2

PAGE 62 — MTX-60 RAMMER • OPERATION AND PARTS MANUAL — REV. #6 (08/23/11)
HONDA GX100KRBF ENGINE — LABELS ASSY.
LABELS ASSY.

MTX-60 RAMMER • OPERATION AND PARTS MANUAL — REV. #6 (08/23/11) — PAGE 63
HONDA GX100KRBF ENGINE — LABELS ASSY.
LABELS ASSY.
NO. PART NO. PART NAME QTY.REMARKS
2 87521Z0DV01 LABEL, TRADE MARK 1
4 87528Z0D000 MARK, CHOKE 1
6 87601Z4ES30 MARK, TYPE (KRBF) 1
14 89216130690 WRENCH, SPARK PLUG 1

PAGE 64 — MTX-60 RAMMER • OPERATION AND PARTS MANUAL — REV. #6 (08/23/11)
TERMS AND CONDITIONS OF SALE — PARTS
PAYMENT TERMS
Terms of payment for parts are net 30 days.
FREIGHT POLICY
All parts orders will be shipped collect or
prepaid with the charges added to the invoice.
All shipments are F.O.B. point of origin.
Multiquip’s responsibility ceases when a
signed manifest has been obtained from the
carrier, and any claim for shortage or damage
must be settled between the consignee and
the carrier.
MINIMUM ORDER
The minimum charge for orders from Multiquip
is $15.00 net. Customers will be asked for
instructions regarding handling of orders not
meeting this requirement.
RETURNED GOODS POLICY
Return shipments will be accepted and
credit will be allowed, subject to the following
provisions:
A Returned Material Authorization 1.
must be approved by Multiquip prior to
shipment.
To obtain a Return Material Authorization, 2.
a list must be provided to Multiquip
Parts Sales that defines item numbers,
quantities, and descriptions of the items
to be returned.
The parts numbers and descriptions a.
must match the current parts price
list.
The list must be typed or computer b.
generated.
The list must state the reason(s) c.
for the return.
The list must reference the sales d.
order(s) or invoice(s) under
which the items were originally
purchased.
The list must include the name e.
and phone number of the person
requesting the RMA.
A copy of the Return Material Authorization 3.
must accompany the return shipment.
Freight is at the sender’s expense. All 4.
parts must be returned freight prepaid to
Multiquip’s designated receiving point.
Parts must be in new and resalable 5.
condition, in the original Multiquip
package (if any), and with Multiquip part
numbers clearly marked.
The following items are not returnable:6.
Obsolete parts. (If an item is in the a.
price book and shows as being
replaced by another item, it is
obsolete.)
Any parts with a limited shelf life b.
(such as gaskets, seals, “O” rings,
and other rubber parts) that were
purchased more than six months
prior to the return date.
Any line item with an extended c.
dealer net price of less than
$5.00.
Special order items.d.
Electrical components.e.
Paint, chemicals, and lubricants.f.
Decals and paper products.g.
Items purchased in kits.h.
The sender will be notified of any material 7.
received that is not acceptable.
Such material will be held for five 8.
working days from notification, pending
instructions. If a reply is not received
within five days, the material will be
returned to the sender at his expense.
Credit on returned parts will be issued 9.
at dealer net price at time of the original
purchase, less a 15% restocking
charge.
In cases where an item is accepted, for 10.
which the original purchase document
can not be determined, the price will be
based on the list price that was effective
twelve months prior to the RMA date.
Credit issued will be applied to future 11.
purchases only.
PRICING AND REBATES
Prices are subject to change without prior
notice. Price changes are effective on a
specific date and all orders received on or
after that date will be billed at the revised price.
Rebates for price declines and added charges
for price increases will not be made for stock
on hand at the time of any price change.
Multiquip reserves the right to quote and
sell direct to Government agencies, and to
Original Equipment Manufacturer accounts
who use our products as integral parts of their
own products.
SPECIAL EXPEDITING SERVICE
A $35.00 surcharge will be added to the
invoice for special handling including bus
shipments, insured parcel post or in cases
where Multiquip must personally deliver the
parts to the carrier.
LIMITATIONS OF SELLER’S LIABILITY
Multiquip shall not be liable hereunder for
damages in excess of the purchase price of
the item with respect to which damages are
claimed, and in no event shall Multiquip be
liable for loss of profit or good will or for any
other special, consequential or incidental
damages.
LIMITATION OF WARRANTIES
No warranties, express or implied, are
made in connection with the sale of parts or
trade accessories nor as to any engine not
manufactured by Multiquip. Such warranties
made in connection with the sale of new,
complete units are made exclusively by a
statement of warranty packaged with such
units, and Multiquip neither assumes nor
authorizes any person to assume for it
any other obligation or liability whatever in
connection with the sale of its products. Apart
from such written statement of warranty,
there are no warranties, express, implied or
statutory, which extend beyond the description
of the products on the face hereof.
Effective: February 22, 2006

MTX-60 RAMMER • OPERATION AND PARTS MANUAL — REV. #6 (08/23/11) — PAGE 65
NOTES

OPERATION AND PARTS MANUAL
Your Local Dealer is:
HERE’S HOW TO GET HELP
PLEASE HAVE THE MODEL AND SERIAL
NUMBER ON-HAND WHEN CALLING
©
COPYRIGHT 2010, MULTIQUIP INC.
Multiquip Inc, the MQ logo and the Mikasa logo are registered trademarks of Multiquip Inc. and may not be used, reproduced, or altered without written permission. All other trademarks
are the property of their respective owners and used with permission.
This manual MUST accompany the equipment at all times. This manual is considered a permanent part of the equipment and should remain with the unit if resold.
The information and specifications included in this publication were in effect at the time of approval for printing. Illustrations, descriptions, references and technical data contained in
this manual are for guidance only and may not be considered as binding. Multiquip Inc. reserves the right to discontinue or change specifications, design or the information published
in this publication at any time without notice and without incurring any obligations.
UNITED STATES
Multiquip Corporate Office MQ Parts Department
18910 Wilmington Ave.
Carson, CA 90746
Contact: mq@multiquip.com
Tel. (800) 421-1244
Fax (800) 537-3927
800-427-1244
310-537-3700
Fax: 800-672-7877
Fax: 310-637-3284
Mayco Parts Warranty Department
800-306-2926
310-537-3700
Fax: 800-672-7877
Fax: 310-637-3284
800-421-1244, Ext. 279
310-537-3700, Ext. 279
Fax: 310-537-1173
Service Department Technical Assistance
800-421-1244
310-537-3700
Fax: 310-537-4259 800-478-1244 Fax: 310-631-5032
MEXICO UNITED KINGDOM
MQ Cipsa Multiquip (UK) Limited Head Office
Carr. Fed. Mexico-Puebla KM 126.5
Momoxpan, Cholula, Puebla 72760 Mexico
Contact: pmastretta@cipsa.com.mx
Tel: (52) 222-225-9900
Fax: (52) 222-285-0420
Unit 2, Northpoint Industrial Estate,
Global Lane,
Dukinfield, Cheshire SK16 4UJ
Contact: sales@multiquip.co.uk
Tel: 0161 339 2223
Fax: 0161 339 3226
CANADA
Multiquip
4110 Industriel Boul.
Laval, Quebec, Canada H7L 6V3
Contact: jmartin@multiquip.com
Tel: (450) 625-2244
Tel: (877) 963-4411
Fax: (450) 625-8664