Murata Electronics North America DNT900 900 MHz Spread Spectrum Wireless Transceiver User Manual Manual

Murata Electronics North America 900 MHz Spread Spectrum Wireless Transceiver Manual

Contents

Manual

    5015 B.U. Bowman Drive  Buford, GA 30518 USA Voice: 770-831-8048 Fax: 770-831-8598   Certification Exhibit     FCC ID:  HSW-DNT900 IC: 4492A-DNT900  FCC Rule Part: 15.247 IC Radio Standards Specification: RSS-210  ACS Report Number:  08-0361 - 15C   Manufacturer: Cirronet Inc. Model: DNT900C, DNT900P     Manual
 www.RFM.com  Technical support +1.800.704.6079  Page 1 of 58 ©2008 by RF Monolithics, Inc.  E-mail: tech sup@rfm.com  DNT900 - 11/05/08  DNT900 Series 900 MHz Spread Spectrum Wireless Industrial Transceivers  Integration Guide
 www.RFM.com  Technical support +1.800.704.6079  Page 2 of 58 ©2008 by RF Monolithics, Inc.  E-mail: tech sup@rfm.com  DNT900 - 11/05/08 Important Regulatory Information  FCC ID: HSW-DNT900  IC: 4492A-DNT900  THIS DEVICE COMPLIES WITH PART 15 OF THE FCC RULES. OPERATION IS SUBJECT TO THE FOLLOWING TWO CONDITIONS.  (1) THIS DEVICE MAY NOT CAUSE HARMFUL INTERFERENCE, AND (2) THIS DEVICE MUST ACCEPT ANY INTERFERENCE RECEIVED, INCLUDING INTERFERENCE THAT MAY CAUSE UNDESIRED OPERATION.  This Class B digital apparatus complies with Canadian ICES-003.  Cet appareil numérique de la classe B est conforme à la norme NMB-003 du Canada.  FCC User Information  “NOTE: This equipment has been tested and found to comply with the limits for a Class B digital device, pursuant to Part 15 of the FCC Rules. These limits are designed to provide reasonable protection against harmful interference in a residential installation. This equipment generates, uses, and can radiate radio frequency energy and, if not installed and used in accordance with the instructions, may cause harmful interference to radio communications. However, there is no guarantee that interference will not occur in a particular installation. If this equipment does cause harmful interference to radio or television reception, which can be determined by turning the equipment off and on, the user is encouraged to try to correct the interference by one or more of the following measures:  • Reorient or relocate the receiving antenna. • Increase the separation between the equipment and receiver. • Connect equipment to an outlet on a circuit different in which the receiver is connected. • Consult the dealer or an experienced radio/TV technician for help.”  Warning: Changes or modifications to this device not expressly approved by RFM Inc. could void the user’s authority to operate the equipment.  RF Exposure  In accordance with FCC requirements of human exposure to radiofrequency fields, the radiating element shall be installed such that a minimum separation distance of 23cm shall be maintained from the user and/or general population.  Industry Canada  This Class B digital apparatus meets all requirements of the Canadian Interference Causing Equipment Regulations. Operation is subject to the following two conditions: (1) this device may not cause harmful interference, and (2) this device must accept any interference received, including interference that may cause undesired operation.   Cet appareillage numérique de la classe B répond à toutes les exigences de l'interférence canadienne causant des règlements d'équipement. L'opération est sujette aux deux conditions suivantes: (1) ce dispositif peut ne pas causer l'interférence nocive, et (2) ce dispositif doit accepter n'importe quelle interférence reçue, y compris l'interférence qui peut causer l'opération peu désirée.
 www.RFM.com  Technical support +1.800.704.6079  Page 3 of 58 ©2008 by RF Monolithics, Inc.  E-mail: tech sup@rfm.com  DNT900 - 11/05/08 “To reduce potential radio interference to other users, the antenna type and its gain should be so chosen that the equivalent isotropically radiated power (e.i.r.p.) is not more than that permitted for successful communication.”  “This device has been designed to operate with the antennas listed below, and having a maximum gain of 6 dBi. Antennas not included in this list or having a gain greater than 6 dBi are strictly prohibited for use with this device. The required antenna impedance is 50 ohms.”   Cushcraft          S8963B             5 dBi gain          dipole    Astron               918-2                6 dBi gain          yagi   OEM Installation and Compliance Labeling  The DNT900 module is labeled with its own FCC ID number, and, if the FCC ID is not visible when the module is installed inside another device, then the outside of the device into which the module is installed must also display a label referring to the enclosed transmitter module.    This exterior label can use wording such as the following:  “Contains Transmitter Module FCC ID: HSW-DNT900” or   “Contains FCC ID: HSW-DNT900”   Any similar wording that expresses the same meaning may be used.  The Grantee may either provide such a label, an example of which must be included in the application for equipment authorization, or, must provide adequate instructions along with the module which explain this requirement.  In the latter case, a copy of these instructions must be included in the application for equipment authorization.  The antenna connections from the module to the certain antennas approved with this device are not unique and require Professional installation.   See section 3.8 of this manual for regulatory notices and labeling requirements. Changes or modifications to a DNT900 not expressly approved by RFM may void the user’s authority to operate the module.
 www.RFM.com  Technical support +1.800.704.6079  Page 4 of 58 ©2008 by RF Monolithics, Inc.  E-mail: tech sup@rfm.com  DNT900 - 11/05/08 Table of Contents 1.0  Introduction  ...........................................................................................................................................  5 1.1  Why Spread Spectrum?.................................................................................................................................... 5 1.2  Frequency Hopping versus Direct Sequence..........................................................................................6 2.0 DNT900 Radio Operation  .........................................................................................................  7 2.1  Network Synchronization and Registration........................................................................................  7 2.2  Transparent and Protocol Serial Port Modes..........................................................................................8 2.3  RF Data Communications........................................................................................................................ 8 2.4  RF Transmission Error Control .........................................................................................................  9 2.5  Network Configurations  ....................................................................................................................  9 2.5.1  Point-to-Point Network Operation..................................................................................................  9 2.5.2  Point-to-Multipoint Network Operation ....................................................................................... 10 2.6  Full-Duplex Serial Data Communications ...................................................................................... 10 2.7  Channel Access ................................................................................................................................ 10 2.7.1  CSMA Modes..................................................................................................................... 11 2.7.2  TDMA Modes ...........................................................................................................................12 2.8  Network Configuration Planning ..................................................................................................... 13 2.9  Serial Port Operation  ......................................................................................................................  15 2.10  Sleep Modes...................................................................................................................................... 16 2.11  Encryption................................................................................................................................................  18 3.0 DNT900 Hardware............................................................................................................. 19 3.1  Specifications ............................................................................................................................................20 3.2  Module Interface.......................................................................................................................................21 3.3  Input Voltages ...........................................................................................................................................22 3.4  ESD and Transient Protection .................................................................................................................22 3.5  Interfacing to 5 V Logic Systems .............................................................................................................23 3.6  Power-On Reset Requirements ..............................................................................................................23 3.7  Mounting and Enclosures ...............................................................................................................................23 3.8  Connecting Antennas......................................................................................................................................23 3.9  Labeling and Notices .......................................................................................................................................24 4.0 Protocol Messages........................................................................................................................25 4.1  Protocol Message Formats.............................................................................................................................25 4.1.1  Message Types ....................................................................................................................................25 4.1.2  Message Format Details..............................................................................................................  26 4.1.2  Escape Sequence ..................................................................................................................................27 4.1.3  CFG Select Pin .......................................................................................................................................27 4.1.4  Flow Control .................................................................................................................................... 27 4.1.5  Protocol Mode Data Message Example .............................................................................................28 4.2  Configuration Registers ............................................................................................................................28 4.2.1  Bank 0 - Transceiver Setup..................................................................................................................28 4.2.2  Bank 1 - System Settings.............................................................................................................  30 4.2.3  Bank 2 - Status Registers ............................................................................................................  31 4.2.4  Bank 3 - Serial.......................................................................................................................................33 4.2.5  Bank 4 - Host Protocol Settings  ................................................................................................. 34 4.2.6  Bank 5 - I/O Peripheral Registers ........................................................................................................35 4.2.7  Bank 6 - I/O Setup........................................................................................................................................36 4.2.8  Bank FF - Special Functions ................................................................................................................38 4.2.9  Protocol Mode Configuration/Sensor Message Example.................................................................38 4.2.10  Protocol Mode Event Message Example............................................................................................39
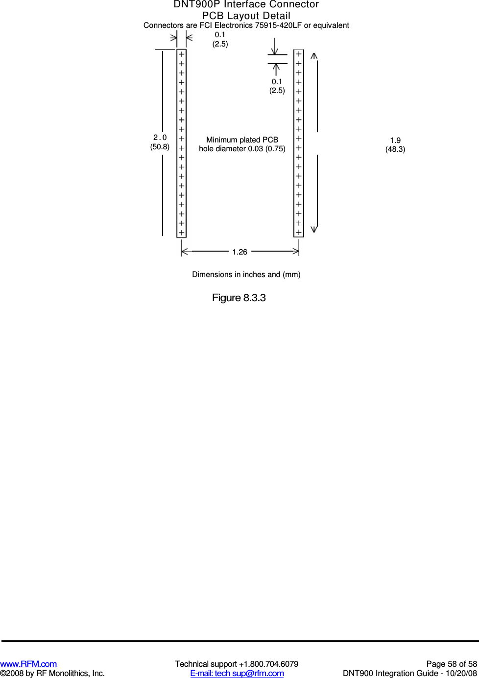
 www.RFM.com  Technical support +1.800.704.6079  Page 5 of 58 ©2008 by RF Monolithics, Inc.  E-mail: tech sup@rfm.com  DNT900 - 11/05/08 5.0 DNT900DK Developer’s Kit ................................................................................................................ 40 5.1 DNT900DK Kit Contents................................................................................................................ 40 5.2 Additional Items Needed ............................................................................................................... 40 5.3 Developer’s Kit Default Operating Configuration .......................................................................... 41 5.4 Development Kit Hardware Assembly........................................................................................... 41 5.5 DNT900 Wizard Utility Program .................................................................................................... 43 5.6 DNT900 Interface Board Features ................................................................................................ 50 6.0 Demonstration Procedure ................................................................................................................... 53 7.0 Troubleshooting .................................................................................................................................. 54 8.0 Appendices ......................................................................................................................................... 55 8.1 Ordering Information...................................................................................................................... 55 8.2 Technical Support.......................................................................................................................... 55 8.3 DNT900 Mechanical Specifications............................................................................................... 56 9.0 Warranty.............................................................................................................................................. 58
 www.RFM.com  Technical support +1.800.704.6079  Page 6 of 58 ©2008 by RF Monolithics, Inc.  E-mail: tech sup@rfm.com  DNT900 - 11/05/08 1.0 Introduction The DNT900 series transceivers provide highly reliable wireless connectivity for either point-to-point or point-to-multipoint applications. Frequency hopping spread spectrum (FHSS) technology ensures maxi-mum resistance to multipath fading and robustness in the presence of interfering signals, while operation in the 900 MHz ISM band allows license-free use in the US, Canada, Australia and New Zealand. The DNT900 supports all standard serial data rates for host communications from 1.2 to 460.8 kb/s. On-board data buffering and an error-correcting air protocol provide smooth data flow and simplify the task of inte-gration with existing applications. Key DNT900 features include: •  Multipath  fading  resistant frequency  hop-ping  technology  with  up  to  50  frequency channels (902 to 928 MHz). •  Support for point-to-point or point-to-multipoint applications. •  FCC 15.247 certified for license-free operation. •  40 mile plus range with omni-directional antennas (antenna height dependent). •  Transparent ARQ protocol with data buffering ensures data integrity 1.1 Why Spread Spectrum? •  Selectable 1, 10, 100, 250, 500 or 1000 mW transmit power with a firmware interlock of 85 mW maximum for 500 kb/s operation. •  Optional AES encryption provides protection to eavesdropping •  Nonvolatile memory stores DNT900 configu-ration when powered off •  Dynamic TDMA slot assignment that maxi-mizes throughput. •  Simple serial interface handles both data and control at up to 460.8 kb/s  A radio channel can be very hostile, corrupted by noise, path loss and interfering transmissions from other radios. Even in an interference-free environment, radio performance faces serious degradation through a phenomenon known as multipath fading. Multipath fading results when two or more reflected rays of the transmitted signal arrive at the receiving antenna with opposing phases, thereby partially or completely canceling the signal. This problem is particularly prevalent in indoor installations. In the fre-quency domain, a multipath fade can be described as a frequency-selective notch that shifts in location and intensity over time as reflections change due to motion of the radio or objects within its range. At any given time, multipath fades will typically occupy 1% - 2% of the band. From a probabilistic viewpoint, a conventional radio system faces a 1% - 2% chance of signal impairment at any given time due to multi- path fading. Spread spectrum reduces the vulnerability of a radio system to interference from both multipath fading and  jammers by  distributing  the transmitted signal over a larger region  of  the frequency band  than would otherwise be necessary to send the information. This allows the signal to be reconstructed even though part of it may be lost or corrupted in transmission.
 www.RFM.com  Technical support +1.800.704.6079  Page 7 of 58 ©2008 by RF Monolithics, Inc.  E-mail: tech sup@rfm.com  DNT900 - 11/05/08    Narrow-band versus spread-spectrum transmission Figure 1.1.1 1.2 Frequency Hopping versus Direct Sequence The two primary approaches to spread spectrum are direct sequence spread spectrum (DSSS) and frequency hopping spread spectrum (FHSS), either of which can generally be adapted to a given applica-tion. Direct sequence spread spectrum is produced by multiplying the transmitted data stream by a much faster, noise-like repeating pattern. The ratio by which this modulating pattern exceeds the bit rate of the base-band data is called the processing gain, and is equal to the amount of rejection the system affords against narrow-band interference from multipath and jammers. Transmitting the data signal as usual, but varying the carrier frequency rapidly according to a pseudo-random pattern over a broad range of chan-nels produces a frequency hopping spectrum system.   Forms of spread spectrum - direct sequence and frequency hopping Figure 1.1.2
 www.RFM.com  Technical support +1.800.704.6079  Page 8 of 58 ©2008 by RF Monolithics, Inc.  E-mail: tech sup@rfm.com  DNT900 - 11/05/08 One disadvantage of direct sequence systems is that due to spectrum constraints and the design difficul-ties of broadband receivers, they generally employ only a minimal amount of spreading, typically no more than the minimum required by the regulating agencies. For this reason, the ability of DSSS systems to overcome fading and in-band jammers is relatively weak. By contrast, FHSS systems are capable of probing the entire band as necessary to find a channel free of interference. This means that a FHSS system will degrade gracefully as the channel gets noisier, while a DSSS system may exhibit uneven coverage or work well until a certain point and then give out completely. Because it offers greater immunity to interfering signals, FHSS is often the preferred choice for co-located systems. Since direct sequence signals are very wide, they tend to offer few non-overlapping channels, whereas multiple hoppers may interleave with less interference. Frequency hopping does carry some disadvantage in that as the transmitter cycles through the hopping pattern it is nearly certain to visit a few blocked channels where no data can be sent. If these channels are the same from trip to trip, they can be memorized and avoided. Unfortunately, this is generally not the case, as it may take several seconds to completely cover the hop sequence during which time the multipath delay profile may have changed substantially. To ensure seamless operation throughout these outages, a hopping radio must be capable of buffering its data until a clear channel can be found. A second consideration of frequency hopping systems is that they require an initial acquisition period during which the receiver must lock on to the moving carrier of the transmitter before any data can be sent, which typically takes several seconds. In summary, frequency hopping systems generally feature greater coverage and channel utilization than comparable direct sequence systems. Of course, other implementation factors such as size, cost, power consumption and ease of implementation must also be considered before a final radio design choice can be made. DNT900 series modules achieve regulatory certification under FHSS rules at air data rates of 38.4, 115.2 and 200 kb/s. At 500 kb/s, the DNT900 series modules achieve regulatory certification under “digital modulation” or DTS rules. At 500 kb/s DNT900 series modules still employ frequency hopping to mitigate the effects of interference and multipath fading, but hop on fewer, more widely spaced frequencies than at lower data rates. 2.0 DNT900 Radio Operation 2.1 Network Synchronization and Registration As discussed above, frequency hopping radios such as the DNT900 periodically change the frequency at which they transmit. In order for the other radios in the network to receive the transmission, they must be listening to the frequency on which the current transmission is being sent. To do this, all the radios in the network must be synchronized to the same hopping pattern. In point-to-point or point-to-multipoint networks, one radio module is designated as the base station. All other  radios are  designated as  remotes. One of the responsibilities of the  base station is  to transmit a synchronization signal to the remotes to allow them to synchronize with the base station. Since the re-motes know the  hopping  pattern,  once  they are  synchronized  with the base station, they know which frequency to hop to  and when. Every time the base station hops to a different frequency, it immediately transmits a synchronizing signal. When a remote is powered on, it rapidly scans the frequency band for the synchronizing signal. Since the base station is transmitting on up to 50 frequencies and the remote is scanning up to 50 frequencies, it can take several seconds for a remote to synchronize with the base station.
 www.RFM.com  Technical support +1.800.704.6079  Page 9 of 58 ©2008 by RF Monolithics, Inc.  E-mail: tech sup@rfm.com  DNT900 - 11/05/08 Once a remote has synchronized with the base station, it will request registration information to allow it to join the network. Registration can be handled automatically by the base station, or it can be controlled by allowing the base station host application to authenticate the remote for registration. When a remote is registered, it receives several network parameters from the base station, including HopDuration, InitialN-wkID, FrequencyBand and Nwk_Key (see Section 4.2 for parameter details). Note that if a registration parameter is changed at the base station, it will update the parameter in the remotes over the air. Among other things, registration allows the tracking of remotes entering and leaving a network, up to a limit of 254 remotes. The base station builds a table of serial numbers of registered remotes using their three-byte serial numbers (MAC addresses). To detect if a remote has gone offline or out of range, the registration is “leased” must be “renewed” once every 250 hops. Any transmission from a remote running on a leased registration will renew its lease with the base station. 2.2 Transparent and Protocol Serial Port Modes DNT900 radios can work in two serial port data modes: transparent and packet protocol. Transparent mode formatting is simply the raw user data. Protocol mode formatting includes a start of packet framing character, length byte, addressing, command bytes, etc. Transparent mode operation is especially useful in point-to-point systems that act as simple cable replacements. In point-to-multipoint systems where the base station needs to send data specifically to each remote, protocol formatting must be used. Protocol formatting is also required for configuration commands and responses, and sensor I/O commands and responses. Protocol formatting details are covered in Section 4. The DNT900 provides two ways to switch between transparent and protocol modes. If CFG input Pin 18 on the DNT900 is switched from logic high to low, protocol mode is invoked. Or if the ASCII escape sequence “DNT900” is sent (without quotation marks) to the primary serial input following at least a 20 ms pause in data flow, the DNT900 will switch to the protocol mode. When input Pin 18 is switched from logic low to high, or an ExitProtocolMode command is sent to the primary serial input, the DNT900 will switch to transparent operation. Note that if the escape sequence is used to switch to protocol mode, the se-quence will be transmitted before protocol mode is invoked. When operating in transparent mode, two configuration parameters control when a DNT900 radio will send the data in its transmit buffer. The MinPacketLength parameter sets the minimum number of bytes that must be present in the transmit buffer to trigger a transmission. The TxTimeout parameter sets the maximum time data in the transmit buffer will be held before transmitting it, even if the number of data bytes is less than MinPacketLength. The default value for both the MinPacketLength and the TxTimeout parameters is zero, so that any bytes that arrive in the DNT900 transmit buffer will be sent on the next hop. As discussed in Section 2.5.2, it is useful to set these parameters to non-zero values in point-to-multipoint systems where some or all the remotes are in transparent mode. 2.3 RF Data Communications At the beginning of each hop, the base station transmits a synchronizing signal. After the synchronizing signal is  sent,  the  base  will  transmit  any  user  data  in  its  transmit buffer,  unless in  transparent mode the MinPacketLength and/or TxTimeout parameters have been set to non-zero. The maximum amount of data that the base station  can transmit per hop is limited by the  BaseSlotSize parameter, which has a maximum value of 233 bytes. If there is no user data or reception acknowledgements (ACKs) to be sent on a hop, the base station will only transmit the synchronization signal.
 www.RFM.com  Technical support +1.800.704.6079  Page 10 of 58 ©2008 by RF Monolithics, Inc.  E-mail: tech sup@rfm.com  DNT900 - 11/05/08 The operation for remotes is similar to the base station, but without the synchronizing signal. The Re-moteSlotSize parameter sets the maximum number of bytes a remote can transmit on one hop, up to a limit of 243 bytes per hop. The RemoteSlotSize must be coordinated with the HopDuration and BaseSlot-Size parameters and the number of registered remotes. The MinPacketLength and TxTimeout parame-ters operate in a remote in the same manner as in the base station. 2.4 RF Transmission Error Control The DNT900 supports two error control modes: automatic transmission repeats (ARQ), and redundant transmissions for broadcast packets from the base station. In both modes, the radio will detect and dis-card any duplicates of messages it receives so that the host application will only receive one copy of a given packet. In the redundant transmission mode, broadcast packets are repeated a fixed number of times based on the value of the ARQ_AttemptLimit parameter. In ARQ mode, a packet is sent and an acknowledgement is expected on the next hop. If an acknowledgement is not received, the packet is transmitted again on the next available hop until either an ACK is received or the maximum number of attempts is exhausted. If the ARQ_AttemptLimit parameter is set to its maximum value, a packet trans-mission will be retried without limit until the packet is acknowledged. This is useful in some point-to-point cable replacement applications where it is important that data truly be 100% error-free, even if the desti-nation remote goes out of range temporarily. 2.5 Network Configurations The DNT900 supports two network configurations: point-to-point and point-to-multipoint. In a point-to- point network, one radio is set up as the base station and the other radio is set up as a remote. In a point-to-multipoint network, a star topology is used with the radio set up as a base station acting as the central communications point and all other radios in the network set up as remotes. In this configuration, each communication takes place between the base station and one of the remotes. Remotes cannot communi-cate directly with each other. It should be noted that point-to-point operation is a subset of the point-to-multipoint operation, so there is no need to specify one or the other. 2.5.1 Point-to-Point Network Operation Most point-to-point networks act as serial cable replacements and both the base station and the remote use transparent mode. Unless the MinPacketLength and TxTimeout parameters have been set to non-zero, the base station will send the data in its transmit buffer on each hop, up to a limit controlled by the BaseSlotSize parameter. In transparent mode, if the base station is buffering more data than can be sent on one hop, the remaining data will be sent on subsequent hops. The base station adds the address of the remote, a packet sequence number and error checking bytes to the data when it is transmitted. These additional bytes are not output at the remote in transparent mode. The sequence number is used in acknowledging successful transmissions and in retransmitting corrupted transmissions. A two-byte CRC and a one-byte checksum allows a received transmission to be checked for errors. When a transmission is received by the remote, it will be acknowledged if it checks error free. If no acknowledgment is re-ceived, the base station will retransmit the same data on the next hop. Note that acknowledgements from remotes are suppressed on broadcast packets from the base station. In point-to-point operation, by default a remote will send the data in its transmit buffer on each hop, up to the limit controlled by its RemoteSlotSize parameter. If desired, the MinPacketLength and TxTimeout parameters can be set to non-zero values, which configures the remote to wait until the specified amount of data is available or the specified delay had expired before transmitting. In transparent mode, if the
 www.RFM.com  Technical support +1.800.704.6079  Page 11 of 58 ©2008 by RF Monolithics, Inc.  E-mail: tech sup@rfm.com  DNT900 - 11/05/08 remote is buffering more data than can be sent on one hop, it will send the remaining data in subsequent hops. The remote adds its own address, a packet sequence number and error checking bytes to the data when it is transmitted. These additional bytes are not output at the base station if the base is in transpar-ent mode. When a transmission is received by the base station, it will be acknowledged if it checks error free. If no acknowledgment is received, the remote will retransmit the same data on the next hop. 2.5.2 Point-to-Mu ltipoint Network Operation In  a  point-to-multipoint  network,  the  base  station  is  usually  configured  for  protocol  formatting,  unless  the applications running  on each  remote  can  determine  the  data’s  destination from  the  data  itself.  Protocol formatting adds the address of the destination (remote) and other overhead bytes to the user data. If the addressed remote is using transparent formatting, the destination address and the other overhead bytes are removed. If the remote is using protocol formatting, the destination address and the other overhead bytes are output with the user data. A remote can operate in a point-to-multipoint network using either transparent or protocol formatting, as the base is always the destination. In transparent operation, a remote adds addressing, a packet se-quence number and error checking bytes as in a point-to-point network. When the base receives the transmission, it will format the data to its host according to its formatting configuration. A remote running in transparent mode in a point-to-multipoint network will often have the MinPacketLength and TxTimeout parameters set to non-zero values to reduce the chance of transmission collisions. 2.6 Full-Duplex Serial Data Communications From an  host application’s perspective, DNT900 serial communications appear full duplex. Both the base station host application and each remote host application can send and receive serial data at the same time. At the radio level, the base station and remotes do not actually transmit at the same time. If they did, the transmissions would collide. As discussed earlier, the base station transmits a synchronization signal at the beginning of each hop followed by its user data. After the base station transmission, the remotes can transmit. Each base station and remote transmission may contain all or part of a complete message from its host application. From an application’s perspective, the radios are communicating in full duplex since the base station can receive data from a remote before it completes the transmission of a message to the remote and visa versa. 2.7 Channel Access The DNT900 provides two methods of channel access: CSMA or TDMA. Each method supports several options as shown in the table below. The channel access setting is distributed to all remotes in the base station status packet, so changing it at the base station sets the entire network. Carrier Sense Multiple Access (CSMA) is very effective at handling packets with varying amounts of data and/or packets sent at random times from a large number of remotes. The DNT900 includes a CSMA polling mode for coordi-nated remotes and a CSMA contention mode for uncoordinated and/or reporting remotes. Time Division Multiple Access (TDMA) provides a scheduled time slot for each remote to transmit on each hop. The default DNT900 access mode is TDMA dynamic mode.
 www.RFM.com  Technical support +1.800.704.6079  Page 12 of 58 ©2008 by RF Monolithics, Inc.  E-mail: tech sup@rfm.com  DNT900 - 11/05/08  Access Mode Description Max Number of Remotes Slot Size 0  CSMA polling  1024  manual 1  CSMA contention  1024  manual 2  TDMA dynamic slots  up to 16  automatic 3  TDMA fixed slots  up to 16  automatic 4  TDMA with PTT  up to 16  automatic  Table 2.7.1 2.7.1 CSMA Modes When using CSMA, each remote with data to send listens to see if the channel is clear and then trans-mits. If the channel is not clear, a remote will wait a random period of time and listen again. CSMA works best when a large or variable number of remotes transmit infrequent bursts of data. There is no absolute to the number of remote radios that can be supported in this mode. For a DNT900 network, a maximum of 254 remotes can be supported if base station join-leave tracking is required, or a maximum of 1024 remotes is suggested if base station join-leave tracking is not required. Figure 2.7.1 .1 below compares TDMA to CSMA operation. TDMA and CSMA operation Figure 2.7.1.1 There are two important parameters related to CSMA operation. The CSMA _MaxBackoff parameter defines the maximum time that a remote will wait after a collision before attempting to send the packet again (back-off interval). The CSMA_ Predelay parameter controls the maximum time that a remote will randomly backoff when it finds the channel available before transmitting. CSMA polling (Mode 0) - is used for point-to-point systems and point-to-multipoint systems where only one remote at a time can receive data to transmit (ModBus, etc.). Since only one remote will attempt to transmits at a time, the CSMA_Predelay parameter is ignored on the first transmission attempt and no predelay is used for minimum latency. This mode provides maximum throughput since there is no conten-tion between remotes and the entire portion of the hop frame following the base station transmission is available for a remote to transmit. The user can set CSMA_MaxBackoff, BaseSlotSize and RemoteSlot-Size parameters when using this mode. Note that a CSMA_Delay parameter setting of 0x00 would lead to collisions if more than one remote tried to transmit. Applications where more than one remote can receive
 www.RFM.com  Technical support +1.800.704.6079  Page 13 of 58 ©2008 by RF Monolithics, Inc.  E-mail: tech sup@rfm.com  DNT900 - 11/05/08 serial data to transmit at a time, or where periodic reporting and/or event reporting are enabled should not use this mode. CSMA Contention (Mode 1) - provides classical CSMA channel access, and gives the user control over both the CSMA_MaxBackoff and CSMA_Predelay parameters. This mode is well-suited for large num-bers of uncoordinated remotes, and/or where periodic/event reporting is used. In addition to CSMA_ MaxBackoff and CSMA_Predelay, the user can set the BaseSlotSize and RemoteSlotSize parameters when using this mode. The following guidelines are suggested for setting CSMA_Predelay:   For lightly loaded CSMA contention networks, decrease CSMA_Predelay to 0x20 or less to reduce latency.   For heavily loaded CSMA contention networks, increase CSMA_Predelay to 0x80 or more for better throughput. As an option, the CSMA modes allow the base station to directly track remotes entering and leaving the network for up to 254 remotes. The base station is operated in protocol mode and is configured to gener-ate a CONNECT message for its host when a remote registers, and a DISCONNECT message when the remote’s registration lease expires. The base station in a CSMA network can generate CONNECT messages for more than 254 remotes. This allows the host application to track remotes entering and leaving a large CSMA network by creating a table of MAC addresses and periodically sending a GetRemoteRegister command to each remote in the table. Failure to answer a GetRemoteRegister command indicates the remote is no longer active in the network. CSMA modes work well in many applications, but CSMA has some limitations, as summarized below:   Bandwidth is not guaranteed to any remote.   Marginal RF links to some remotes can create a relatively high chance of collisions in heavily loaded networks. 2.7.2 TDMA Modes The TDMA modes provide guaranteed bandwidth to some or all of the remotes in the network. Remotes that register with the base station receive several special parameters, including ranging information and a specific channel access slot assignment. TDMA registrations are always leased and must be renewed every 250 hops. The DNT900 provides three different modes of TDMA access, as discussed below. TDMA Dynamic Slots (Mode 2) - is used for general-purpose TDMA applications where scaling the capacity per slot to the number of active remotes is automatic. Each remote that registers with the base receives an equal time slice. As new remotes join, the size of the TDMA slots shrink accordingly. The number of slots, individual slot start times, and the RemoteSlotSize are computed automatically by the DNT900 network in this mode. The user should note that the bandwidth to each remote will change immediately as remotes join and leave the network. When running in protocol mode, care must be taken not to format packets too long to be sent in a single hop due to automatic RemoteSlotSize reduction. TDMA Fixed Slots (Mode 3) - is used for applications that have fixed data throughput requirements, such as isochronous voice or streaming telemetry. The slot start time and the RemoteSlotSize are computed automatically by the DNT900 network in this mode. The user must set the number of slots.
 www.RFM.com  Technical support +1.800.704.6079  Page 14 of 58 ©2008 by RF Monolithics, Inc.  E-mail: tech sup@rfm.com  DNT900 - 11/05/08 TDMA with PTT (Mode 4) supports remotes with a "push-to-talk" feature, also referred to as "listen- mostly" remotes. This mode uses fixed slot allocations. Remotes can be registered for all but the last slot. The last slot is reserved for the group of remotes that are usually listening, but occasionally need to transmit. In essence, the last slot is a shared channel for this group of remotes. When one of them has data to send it keys its transmitter much like a walkie-talkie, hence the name push-to-talk (PTT). The slot start time and the RemoteSlotSize are computed automatically by the DNT900 network in this mode. The user must specify the number of slots. The last slot is reserved for the PTT remotes. The user must configure PTT remotes individually to select Mode 4 operation. The network makes no guarantee that PTT remote transmissions will not collide in the shared slot. The user's application must ensure that no more than one PTT remote at a time is using the slot. 2.8 Network Configuration Planning Some planning is necessary for a DNT900 network to coordinate the RF_DataRate, HopDuration, Bas-eSlotSize, RemoteSlotSize, MinPacketLength, TxTimeout and TDMA_MaxNumSlots parameters to achieve a practical configuration. This is true even for modes that automatically compute some of these parameters. Each parameter has a limited range of usable values, as shown in the Table 2.8.1 below: Parameter  Useable Range  Value RF_DataRate  0..3  500, 200, 115.2 and 38.4 kb/s HopDuration  40..4095  2. .204.75 ms (0.05 ms/count) TDMA_MaxNumSlots  1 ..16  max number of TDMA slots (MNS) for remotes BaseSlotSize  6..233  max number of user data bytes transmitted per hop RemoteSlotSize  3..243  max number of user data bytes transmitted per hop MinPacketLength  0..255  0. .255 bytes Tx Timeout  0..255  0. .255 ms (1 ms/count)  Table 2.8.1 The highest RF data rate, 500 kb/s, provides the highest throughput and the most flexibility with respect to the other parameters. The maximum RF power that can be used at 500 kb/s is 85 mW. The three lower data rates can run up to 1 W of RF power, and the receiver becomes progressively more sensitive as the data rate is lowered. So for greatest range, one of the three lower RF data rates should be used. The maximum DNT900 HopDuration setting is about 200 ms regardless of the RF data rate chosen. For a given data rate, FHSS operation tends to become more robust as hop duration is reduced. However, running with a shorter hop duration may require setting the BaseSlotSize and RemoteSlotSize parame-ters well below their maximum values at the lower RF data rates. The equation below calculates the minimum hop duration needed at a given RF data rate for a specific number of remote slots and Base-SlotSize and RemoteSlotSize parameter settings. Support for optimizing a DNT900 configuration for a specific application is also available from RFM’s Technical Support Group. See Section 10.3. for technical support contact information.
 www.RFM.com  Technical support +1.800.704.6079  Page 15 of 58 ©2008 by RF Monolithics, Inc.  E-mail: tech sup@rfm.com  DNT900 - 11/05/08 The minimum required hop duration for a DNT900 configuration is: THD = TBRO + NRS*TRO + TRFB*(BBSS + NRS*BRSS) Where: THD  is the minimum required hop duration in milliseconds TBRO  is the base and registration request overhead time for each hop (RF data rate dependent) NRS  is the number of remote slots TRO  is the remote overhead time for each hop (RF data rate dependent) TRFB  is the transmission time for one user byte (RF data rate dependent) BBSS  is the BaseSlotSize parameter in bytes BRSS  is the RemoteSlotSize parameter in bytes The constants in the equation for each RF data rate are given in the following table: RF Data Rate kb/s  TBRO ms  TRO ms  TRFB ms 38.40  11.620  4.817  0.2080 115.2  4.953  2.039  0.0694 200  3.540  1.450  0.0400 500  2.388  0.970  0.0160  Table 2.8.2 For example, consider a point-to-point CSMA Mode 0 system operating at 38.4 kb/s with the BaseSlot-Size parameter set to 133 bytes and the RemoteSlotSize parameter set to 128 bytes. The minimum hop duration needed to support one-hop transmissions of full slot size messages in both directions for this configuration is: = 11.620 + 1*4.817 + 0.2080*(133 + 1*128) = 16.437 + 0.2080*261 = 70.725 ms The closest programmable hop duration is 70.750 ms. It should be noted that the base station operating system will commandeer 5 bytes from the BaseSlotSize allocation in Mode 0 and up to 13 bytes in Mode 1 to send reception acknowledgements (ACKs) back to the remotes. The BaseSlotSize should be sized accordingly. In the above example, the BaseSlotSize parameter is set five bytes larger than the RemoteSlotSize parameter to accommodate the ACK bytes. When running a point-to-multipoint network with uncoordinated remotes using CSMA Mode 1, it is useful to set NRS to a value of 3 or higher in the equation. Although CSMA does not create reserved time slots for remotes, extending the hop duration this way allows several uncoordinated transmissions of user data and/or periodic/event reports to arrive in the same slot with a relatively few collisions. The performance of a CSMA Mode 1 system can often be helped by setting the MinPacketLength and TxTimeout parameters on any remotes running transparent mode to non-zero values, especially if host messages only contain a few bytes each and transmission latency is not critical. For starting point values, set the MinPacketLength equal to one-half the RemoteSlotSize and TxTimeout to at least three times the hop duration. This will help avoid excessive transmission collisions due to having many packets transmit-ted, each carrying only a small amount of user data on top of the relatively large packet overhead
 www.RFM.com  Technical support +1.800.704.6079  Page 16 of 58 ©2008 by RF Monolithics, Inc.  E-mail: tech sup@rfm.com  DNT900 - 11/05/08 structure. As an example, consider a TDMA Mode 2 or 3 system operating at 500 kb/s. Up to 10 regis-tered remotes need to be accommodated. A BaseSlotSize of 138 bytes is needed, and each remote needs enough slot time to support a RemoteSlotSize of 64 bytes. The minimum hop duration needed to support this configuration is: = 2.388 + 10*0.970 + 0.0160*(138 + 10*64) = 12.088 + 0.0160*778 = 24.536 ms The closest programmable hop duration is 24.550 ms. In all TDMA modes, the base station operating system will commandeer one byte from the BaseSlotSize allocation for each registered remote to send ACKs to the remotes. The BaseSlotSize and MinPacket-Length should be sized accordingly. 2.9 Serial Port Operation DNT900 networks are often used for wireless communication of serial data. The DNT900 supports serial baud rates from 1.2 to 460.8 kb/s. Listed in the table below are the supported data rates and their related byte data rates and byte transmission times for an 8N1 serial port configuration: Baud Rate kb/s  Byte Data Rate kB/s  Byte Transmission Time ms 1.2  0.12  8.3333 2.4  0.24  4.1667 4.8  0.48  2.0833 9.6  0.96  1.0417 19.2  1.92  0.5208 38.4  3.84  0.2604 115.2  11.52  0.0868 230.4  23.04  0.0434 460.8  46.08  0.0217  Table 2.9.1 To support continuous full-duplex serial port data flow, an RF data rate much higher than the serial port baud rate is required for FHSS. Radios transmissions are half duplex, and there are overheads related to hopping frequencies, assembling packets from the serial port data stream, transmitting them, sending ACK’s to confirm error-free reception, and occasional transmission retries when errors occur. For example, consider a CSMA Mode 0 transparent data system operating at 500 kb/s with the Bas-eSlotSize parameter set to 133 bytes (128 bytes net after the five byte allocation for sending ACKs) and the RemoteSlotSize parameters set to 128 bytes. The minimum hop duration needed to efficiently support this configuration is: = 2.388 + 1*0.970 + 0.0160*(133 +1*128) = 3.358 + 0.01 60*261 = 7.534 ms
 www.RFM.com  Technical support +1.800.704.6079  Page 17 of 58 ©2008 by RF Monolithics, Inc.  E-mail: tech sup@rfm.com  DNT900 - 11/05/08 Setting the hop duration to 7.55 ms, the average full-duplex serial port byte rate that can be supported under error free conditions is: 128 Bytes /7.55 ms = 16.942 kB/s, or 169.42 kb/s for 8N1 Continuous full-duplex serial port data streams at a baud rate of 115.2 k/bs can be supported by this configuration, provided only occasional RF transmission errors occur. Plan on an average serial port data flow of 75% of the calculated error-free capacity for general-purpose applications, and 50% of the calcu-lated error-free capacity for RF challenging applications such as vehicle telemetry and heavy industrial process environments. Most applications do not require continuous serial port data flow. The DNT900 transmit and receive buffers hold at least 1024 bytes and will accept brief bursts of data at high baud rates, provided the aver-age serial port data flow such as shown in the example above is not exceeded. It is strongly recom-mended that the DNT900 host use hardware flow control. The host must send no more than 32 bytes additional bytes to the DNT900 when the DNT900 de-asserts the host’s CTS line. In turn, the DNT900 will send no more than one byte following the host de-asserting its RTS line. Three-wire serial port operation is allowed by connecting the DNT900 CTS output to its RTS input. However, three-wire operation should be limited to applications that send small bursts of data occasionally at an average serial port data flow less than 50% of the calculated error-free capacity. Data loss is possible under adverse RF channel conditions when using three-wire serial operation. 2.10 Sleep Modes To save power in applications where a remote transmits infrequently, the DNT900 supports a hardware sleep mode. Hardware sleep mode is entered by switching DTR Pin 11 on the DNT900 from logic low to high. While in hardware sleep mode, the DNT900 consumes less than 0.5 mA. This mode allows a DNT900 to be powered off while its host device remains powered. After leaving hardware sleep mode (Pin 11 low to high), the radio must re-synchronize with the base station and re-register. In addition to the sleep mode controlled by the DTR pin, in CSMA mode the DNT900 remotes support an additional sleep mode to support battery-powered applications. When this mode is enabled, the DNT900 is in a low-power state and only wakes up in response to the I/O report triggers. The following list explains the rules that sleeping remotes follow:   The DNT900 will wake up when any of the enabled I/O report trigger conditions fire. When any of the ADC triggers are enabled, the radio will also wake up every ADC_SampleIntvl long enough to sample the ADCs, and then go back to sleep.   When a sleeping radio wakes up, it must acquire and synchronize to its base before it can send or receive any data. To prevent excessive battery use, if the remote is unable to acquire before the WakeLinkTimeout elapses, it will cancel any pending event trigger(s) and go back to sleep.   If a remote is linking for the first time or if its last attempt to acquire and synchronize was unsuc-cessful, it will scan and record the entire broadcast system parameter list before it goes back to sleep. Otherwise, in order to conserve battery life, a sleeping remote will update any values that it may hear while it is awake, but is not required to listen to the entire list.
 www.RFM.com  Technical support +1.800.704.6079  Page 18 of 58 ©2008 by RF Monolithics, Inc.  E-mail: tech sup@rfm.com  DNT900 - 11/05/08 •  If a remote is linking for the first time or if its last attempt to acquire and synchronize was unsuc- cessful, it will send a registration request to the base, allowing it to announce its presence to the host. Otherwise, in  order  to  conserve  battery  life,  a  sleeping remote  will  not  register  each time it reacquires link with its base on successive wakeups. •  After a remote has received an acknowledgement for its I/O report (assuming it is successful), a WakeResponse Time timer is started before the remote goes back to sleep. This allows the base host time to send a message to the remote. Note that the only notification that the base host ap-plication has that a remote is awake is its report packet. In order to send it data, the base host must ensure that the message is transmitted and received before the remote's WakeRespon-seTime window elapses. If this function is not needed, the WakeResponse Time can be set to zero to disabled it. The lease renewal mechanism is not supported for sleeping remotes. In order to successfully use sleep-ing remotes, the user must ensure that the system is configured for CSMA mode and that leases are disabled. If these settings are not used, there is no guarantee that the remotes will be able to communi-cate reliably. Because leases are not supported, there is no built-in mechanism for the base to detect or announce to its host if a remote stops making its I/O reports, is powered down, or otherwise leaves the network. To summarize, while a remote is awake, the following list of condition checks are used to determine if and when it is allowed to go back to sleep: •  If the remote is linking for the first time or was unsuccessful linking on its last attempt, it will re-main awake to record the beacon system parameter list. •  At wakeup, the WakeLinkTimeout timer is started. If the remote is unable to acquire link before this elapses, it goes back to sleep. •  If the remote receives an acknowledgement for a data packet it has sent (typically an Event packet, but in theory could be any other type of message), it starts or resets the WakeRespon-seTime timer to remain awake. •  So long as a GPIO for which edge triggered I/O reporting is enabled remains in its asserted state, the remote will remain awake. •  The remote will remain awake while it still has any ARQ attempts left for a queued transmit packet of any type. •  The remote will remain awake while it is has serial characters in its buffer left to transmit to its lo- cal host, plus whatever time is required for the last transmitted character to clear the RXD pin. Sleep functions are controlled by the following registers (see Section 4.2):   SleepMode - enables/disables sleep mode.   WakeResponse Time - sets the amount of time that a remote will wait for a response after sending an I/O report.   WakeLinkTimeout - sets the maximum time that a remote will spend trying to acquire it base before giving up.
 www.RFM.com  Technical support +1.800.704.6079  Page 19 of 58 ©2008 by RF Monolithics, Inc.  E-mail: tech sup@rfm.com  DNT900 - 11/05/08 Sleep is also affected by the following registers associated with I/O reporting: IO_ReportTrigger, IO_ReportInterval, ADC_SampleIntvl, and GPIO_Edge Trigger. The following table indicates how the status and control pins function on sleeping remotes: Pin  Awake  Sleep RTS  Normal operation  Hi-Z CTS  Normal operation  0 V DCD  Normal operation  0 V ACTIVITY  3 V  0 V EXT_SYNC  Not supported  Not supported DIVERSITY  Normal operation  0 V TXD  Normal operation  Hi-Z RXD  Normal operation  0 V  Table 2.10.1 Note that the Activity pin may be used by a local host to detect when a sleeping remote is awake. The behavior of the GPIOs during sleep is governed by the GPIO_ SleepMode, GPIO_SleepDir, and GPIO_SleepState configuration registers. Refer to the register definitions in Section 4.2. 2.11 Encryption The DNT900 supports optional 128-bit AES encryption of data and configuration packets. Encryption is enabled by setting the EncryptionKey register to a value other than all zeros (all zeros is a flag that en-cryption is disabled). A remote without encryption enabled cannot link to an encrypted base, and an encrypted remote will not attempt to link to an unencrypted base. If a remote's encryption key does not match that of the base, it can link but not exchange data. The EncryptionKey register can be set over-the air so it can be changed periodically if desired.
 www.RFM.com  Technical support +1.800.704.6079  Page 20 of 58 ©2008 by RF Monolithics, Inc.  E-mail: tech sup@rfm.com  DNT900 - 11/05/08  3.0 DNT900 Hardware DNT900 Block Diagram The major components of the DNT900 include a 900 MHz FHSS transceiver and a low current 32-bit microcontroller. The DNT900 operates in the 902 to 928 MHz ISM band. There are 32 selectable hopping patterns including patterns compatible with frequency allocations in the US, Canadian, Australian and New Zealand. The DNT900 has six selectable RF output power levels: 1, 10, 100, 250, and 500 mW plus 1 W. Also, there are four selectable RF transmission rates: 38.4, 115.2, 200 and 500 kb/s. The power level is firmware interlocked to a maximum of 85 mW at 500 kb/s to assure regulatory compliance. The DNT900 includes a low-noise preamplifier protected by two SAW filters, providing an excellent blend of receiver sensitivity  and out-of-band interference rejection that is especially important in outdoor appli-cations. The DNT900 provides a variety of hardware interfaces. There are two UART serial ports, one for data and a second for diagnostics. The data port supports baud rates from 1.2 to 460.8 kb/s and the diagnostic port is fixed  at 115.2 kb/s. Also included are three  10-bit  ADC inputs, two 8-bit PWM outputs,  and six general purpose  digital  I/O  ports.  Four  of  the  digital  I/O  ports  support  an  optional  interrupt-from-sleep  mode  when configured as inputs. The radio is available in two mounting configurations. The DNT900C is designed for solder reflow mounting. The DNT900P is designed for plug-in connector mounting.  Figure 3.0.1  RSVD RSVD ADC_REF RSSI DTR ADCO ADC1 ADC2 E X _SYNC UART1_RXD UART1_TXD CFG V GP100 GP101 GPIO2 GP103 PWMO PWM1 GND 3 V .3 3 . 8V Reg Reg 10 11 12 13 14 15 18 17 18 18 20 2 3 4 5 8 7 8 ~ 1Filter Filter 21 22 23 24 25 28 27 28 20 30 31 Microcontroller 32 33 34 35 38 37 38 30 40 PWR 43 T/R T/R Filter 42 RF10 41 PRE RF Transceiver LK PKT DET INT SI SO Sn
 www.RFM.com  Technical support +1.800.704.6079  Page 21 of 58 ©2008 by RF Monolithics, Inc.  E-mail: tech sup@rfm.com  DNT900 - 11/05/08 3.1 DNT900 Specifications Characteristic Sym Minimum Typical Maximum Units Operating Frequency Range  902.75  927.25  MHz Number of Hopping Patterns   32   Hop Dwell Time  5  200  ms Number of RF Channels    50  Modulation  FSK  RF Data Transmission Rates  38.4, 115.2, 200 and 500  kb/s Receiver Sensitivity      10-5 BER @ 38.4 kb/s   -108  dBm 10-5 BER @ 500 kb/s   -94  dBm Transmitter RF Output Power Levels  1, 10, 100, 250, 500, 1000 at 38.4 to 200 kb/s 1, 10, 85 at 500 kb/s  mW Optimum Antenna Impedance  50 Ω RF Connection  DNT900P - U.FL Connector DNT900C U.FL Connector or PCB Pad  Network Topologies  Point-to-Point, Point-to-Multipoint  Access Schemes  TDMA and CSMA  Number of Network Nodes      TDMA    16  CSMA    1024  ADC Input Range  0  3.3  V ADC Input Resolution   10  bits Signal Source Impedance for ADC Reading    10  KΩ PWM (DAC) Output Range  0  3.3  V PWM (DAC) Output Resolution    7  bits PWM Output Period   20  µs Primary Serial Port Baud Rates  1.2, 2.4, 4.8, 9.6, 19.2, 38.4, 115.2, 230.4, 460.8 kb/s Diagnostic Serial Port Baud Rates  115.2  kb/s Digital I/O:      Logic Low Input Level  -0.5  0.8  V Logic High Input Level  2  3.3  V Logic Input Internal Pull-up Resistor  50  200  KΩ Logic Input Internal Pull-down Resistor  50  180  KΩ Power Supply Voltage Range  VCC +3.3  +5.5  Vdc Power Supply Voltage Ripple    10  mVP-P Peak Transmit Mode Current    900  mA Average Operating Current:      Base   105  mA Remote, No Data Transmission   35  mA Remote, 9.6 kb/s Continuous Data Stream    40  mA Remote, 115.2 kb/s Continuous Data Stream    53  mA Sleep Current    50  µA Operating Temperature Range  -40  85 oC Operating Relative Humidity Range  10  90  %  Table 3.1.1
 www.RFM.com  Technical support +1.800.704.6079  Page 22 of 58 ©2008 by RF Monolithics, Inc.  E-mail: tech sup@rfm.com  DNT900 - 11/05/08 3.2 Module Interface Electrical connections to the DNT900C are made through the I/O pads and through the I/O pins on the DNT900P. The hardware I/O functions are detailed in the table below: Pad Name Description 1  RSVD  Reserved pad. Leave unconnected. 2  RSVD  Reserved pad. Leave unconnected. 3  ADC_REF ADC supply and external full scale reference voltage input. Voltage range is 2.4 to 3.3 Vdc. Connect pad 34 to this input to reference the ADC full scale reading to the module’s 3.3 V regulated supply. 4  RSVD  Reserved pad. Leave unconnected. 5  GPIO0 Configurable digital I/O port 0. When configured as an input, an internal pull-up resistor can be selected and interrupt from sleep can be invoked. When configured as an output, the power-on state is also configurable. 6  GPIO1  Configurable digital I/O port 1. Same configuration options as GPIO0. 7  GPIO2  Configurable digital I/O port 2. Same configuration options as GPIO0. 8  GPIO3  Configurable digital I/O port 3. Same configuration options as GPIO0. 9  PWM0  Pulse-width modulated output 0 with internal low-pass filter. Filter is 1st order, 159 Hz 3 dB BW. 10  PWM1  Pulse-width modulated output 1 with internal low-pass filter. Filter is 1st order, 159 Hz 3 dB BW. 11  SLEEP  Default functionality is active high module sleep input. When switched low after sleep, the module executes a power-on reset. 12  ADC0  10-bit ADC input 0. Full scale reading is referenced to the ADC_REF input. 13  ADC1  10-bit ADC input 1. Full scale reading is referenced to the ADC_REF input. 14  ADC2  10-bit ADC input 2. Full scale reading is referenced to the ADC_REF input. 15  RSVD  Reserved pad. Leave unconnected. 16  DIAG_TX  Diagnostic output (for factory use). 17  DIAG_RX  Diagnostic input (for factory use). 18  /CFG Protocol selection input. Leave unconnected when using software commands to select trans- parent/protocol mode (default is transparent mode). Logic low selects protocol mode, logic high selects transparent mode. 19  VCC  Power supply input, +3.3 to +5.5 Vdc. 20  GND  Power supply and signal ground. Connect to the host circuit board ground. 21  GND  Power supply and signal ground. Connect to the host circuit board ground. 22  GPIO4  Configurable digital I/O port 4. When configured as an input, an internal pull-up resistor can be selected. When configured as an output, the power-on state is configurable. 23  GPIO5  Configurable digital I/O port 5. Same configuration options as GPIO4. 24  RSVD  Reserved pad. Leave unconnected. 25  ACT  Data activity output, logic high when data is being transmitted or received. 26  /DCD Default functionality is data carrier detect output, which provides a logic low on a remote when the module is locked to FHSS hopping pattern and logic low on a base station when at least one remote is connected to it.
 www.RFM.com  Technical support +1.800.704.6079  Page 23 of 58 ©2008 by RF Monolithics, Inc.  E-mail: tech sup@rfm.com  DNT900 - 11/05/08  Pad Name Description 27  RSVD  Reserved pad. Leave unconnected. 28  RSVD  Reserved pad. Leave unconnected. 29  RSVD  Reserved pad. Leave unconnected. 30  /UART0 _ RTS  Default functionality is UART flow control input for the module’s host. A logic low allows data flow from the module to the host; a logic high blocks data flow from the module to the host. 31  UART0_RXD  UART received data output to host from module. 32  UART0_TXD  UART host data input to be transmitted by module. 33  /UART0 _ CTS  UART flow control output from the module to the host. A logic low should allow data flow from the host; a logic high should block data flow from the host. 34  VMOD  Module’s +3.3 V regulated supply output. Connect to pad 3 to support 3.3 V full scale and/or ratiometric ADC readings, etc. Current drain on this output should be no greater than 5 mA. 35  RSVD  Reserved pad. Leave unconnected. 36  RSVD  Reserved pad. Leave unconnected. 37  RSVD  Reserved pad. Leave unconnected. 38  RSVD  Reserved pad. Leave unconnected. 39  /RESET  Active low module hardware reset. 40  RSVD  Reserved pad. Leave unconnected. 41  GND  RF ground (DNT900CC only). Connect to the host circuit board ground plane. 42  RFIO Alternate RF port to the U.FL connector (DNT900C only). The antenna can be connected to this port  with  a  50  ohm  stripline  or  coaxial  cable.  Leave  unconnected  when  using  the  U.FL connector. 43  GND  RF ground (DNT900C only). Connect to the host circuit board ground plane.  Table 3.2.1 3.3 Input Voltages DNT900 radio modules can operated from an unregulated DC input (Pad/Pin 19) in the range of 3.3 (trough) to 5.5 V (peak) with a maximum ripple of 5% over the temperature range of -40 to 85 oC. Apply-ing AC, reverse DC, or a DC voltage outside the range given above can cause damage and/or create a fire and safety hazard. Further, care must be taken so logic inputs applied to the radio stay within the voltage range of 0 to 3.3 V. Signals applied to the analog inputs must be in the range of 0 to ADC_REF (Pad/Pin 3). Applying a voltage to a logic or analog input outside of its operating range can damage the DNT900 module. 3.4 ESD and Transient Protection The DNT900C and DNT900P circuit boards are electrostatic discharge (ESD) sensitive. ESD precautions must be observed when handling and installing these components. Installations must be protected from electrical transients on the power supply and I/O lines. This is especially important in outdoor installations, and/or where connections are made to sensors with long leads. Inadequate transient protection can result in damage and/or create a fire and safety hazard.
 www.RFM.com  Technical support +1.800.704.6079  Page 24 of 58 ©2008 by RF Monolithics, Inc.  E-mail: tech sup@rfm.com  DNT900 - 11/05/08 3.5 Interfacing to 5 V Logic Systems All logic signals including the serial ports on the DNT900 are 3.3 V signals. To interface to 5 V signals, the resistor divider network shown below must be placed between the 5 V signal outputs and the DNT900 signal inputs. The output voltage swing of the DNT900 3.3 V signals is sufficient to drive 5 V logic inputs. 5V Logic DNT500 2.2K 4.3K  Figure 3.5.1 3.6 Power-On Reset Requirements The DNT900 has an internal reset circuit that generates and maintains the DNT900 in a reset state until the power supply voltage reaches 3.3 volts for 100 milliseconds. This reset circuit protects the radio and non-volatile  memory from brown-out  voltage  conditions.  If devices  that communicate  with  the DNT900 have shorter reset periods, an allowance must be made to allow the DNT900 to come out of reset. Com-mands and data sent before the DNT900 is out of reset will be ignored. 3.7 Mounting and Enclosures DNT900C radio modules are mounted by reflow soldering them to a host circuit board. DNT900P mod-ules are mounted by plugging their pins into a set of mating connectors on the host circuit board. Refer to the DNT900 Data Sheet for DNT900P connector details. DNT900 radio module enclosures must be made of plastics or other materials with low RF attenuation to avoid  compromising  antenna  performance.  Metal  enclosures  are  not  suitable  as  they  will  block  antenna radiation and reception. Outdoor enclosures must be water tight, such as a NEMA 4X enclosure. 3.8 Connecting Antennas A U.FL miniature coaxial connector is provided on both DNT900 configurations for connection to the RFIO port. A short U.FL coaxial cable can be used to connect the RFIO port directly to an antenna. In this case the antenna should be mounted firmly to avoid stressing the U.FL coaxial cable due to antenna mounting flexure. Alternately, a U.FL coaxial jumper cable can be used to connect the DNT900 module to a U.FL connector on the host circuit board. The connection between the host circuit board U.FL connector and the antenna or antenna connector on the host circuit board should be implemented as a 50 ohm stripline. The design details of the stripline are covered in the DNT900 Data Sheet.
 www.RFM.com  Technical support +1.800.704.6079  Page 25 of 58 ©2008 by RF Monolithics, Inc.  E-mail: tech sup@rfm.com  DNT900 - 11/05/08 3.9 Labeling and Notices DNT900 FCC Certification - The DNT900 hardware has been certified for operation under FCC Part 15 Rules, Section 15.247. The antenna(s) used for this transmitter must be installed  to provide a separation distance of at least 20 cm from all persons and must not be co-located or operating in conjunction with any other antenna or transmitter. DNT900 FCC Notices and Labels - This device complies with Part 15 of the FCC rules. Operation is subject to the following two conditions: (1) this device may not cause harmful interference, and (2) this device must accept any interference received, including interference that may cause undesired operation. A clearly  visible  label is required  on the outside of the user’s (OEM)  enclosure stating that this product contains  a  DNT900  transceiver  assembly,  FCC  ID:  HSW-DNT900.  WARNING:  This  device  operates under Part 15 of the FCC rules. Any modification to this device, not expressly authorized by RFM, Inc., may void the user’s authority to operate this device. Canadian Department of Communications Industry Notice - IC: 4492A-DNT900 This apparatus complies with Health Canada’s Safety Code 6 / IC RSS 210. ICES-003 This digital apparatus does not exceed the Class B limits for radio noise emissions from digital apparatus as set out in the radio interference regulations of Industry Canada. Le present appareil numerique n’emet pas de bruits radioelectriques depassant les limites applicables aux appareils numeriques de Classe B prescrites dans le reglement sur le brouillage radioelectrique edicte par Industrie Canada.
 www.RFM.com  Technical support +1.800.704.6079  Page 26 of 58 ©2008 by RF Monolithics, Inc.  E-mail: tech sup@rfm.com  DNT900 - 11/05/08 4.0 Protocol Messages 4.1 Protocol Message Formats The DNT900 is configured and controlled through a series of protocol mode messages. All protocol mode messages have a common header format: 0  1  2  3 ... SOP Length PktType variable number of arguments ...  Figure 4.1.1 The scale above is in bytes. The Start-of-Packet (SOP) character, 0xFB, is used to distinguish the beginning of a message and to assure synchronization in the event of a glitch on the serial port at startup. The Length byte is defined as the length of the remainder of the message following the length byte itself (or the length of the entire message - 2). The Packet Type (PktType) byte specifies the type of message. It is a bitfield-oriented specifier, decoded as follows: Bits 7-6 Reserved for future use Bit 5  Event - set to indicate this message is an event Bit 4  Reply - set to indicates this message is a reply Bits 3-0  Type - indicates the message type/command As indicated, the lower 4 bits (3-0) specify a message type. Bit 4 is a modifier indicating that the message is a command or a reply. A reply message has the original command type in bits 3:0, with bit 4 set to one. Arguments vary in size and number depending on the type of message and whether it is a message sent from the host or is a reply from the radio; see Table 4.1 .2.1 below for reference. Messages that are gen-erated on the serial interface by the user are referred to as host messages. Messages that are generated by the radio are referred to as reply messages. For many message types, there is a reply message that corresponds to a host message. For example, when the host sends a TxData message, the radio will reply to indicate the status of the transmission, whether it succeeded or failed. Some message types are host-only or reply-only; refer to Table 4.1.2.1 for specifics. 4.1.1 Message Types Each message generally has two forms, a command from the host and a reply from the radio. Depending on the direction, they have different arguments as shown in Table 4.1.2.1. Event messages from the radio such as receive data packets or status announcements make up a third category of messages. To assist in interpreting the command-reply data flow, the direction is indicated by the high nibble in the message type. For  example, an  EnterProtocolMode  command  from  the host  is  message  type  0x00,  and the  Enter-ProtocolModeReply from the radio is message type 0x10. Event messages, including RxData, RxEvent and Announce packets are indicated by 0x20 in the high nibble of the type byte. If multiple arguments are to be provided, they are to be concatenated in the order shown. Little-Endian byte format is used for all
 www.RFM.com  Technical support +1.800.704.6079  Page 27 of 58 ©2008 by RF Monolithics, Inc.  E-mail: tech sup@rfm.com  DNT900 - 11/05/08 multi-byte arguments, where the lowest order byte is the left byte of the argument and the highest order byte in the right-most byte of the argument. 4.1.2 Message Format Details Com- mand  Reply  Event  Description  Direction  Arguments 0x00  -  -  EnterProtocolMode from Host DNT900 (ASCII characters) -  0x10  -  EnterProtocolModeReply from Radio  none 0x01  -  -  ExitProtocol Mode from Host  none -  0x1 1  -  ExitProtocolModeReply from Radio  none 0x02  -  -  SoftwareReset from Host BootSelect -  0x1 2  -  SoftwareResetReply from Radio none 0x03  -  -  GetRegister from Host Reg, Bank, Span -  0x1 3  -  GetRegisterReply from Radio Reg, Bank, Span,Val 0x04  -  -  SetRegister from Host Reg, Bank, Span, Val -  0x14  -  SetRegisterReply from Radio none 0x05  -  -  TxData from Host Addr, Data -  0x1 5  -  TxDataReply from Radio TxStatus, Addr, RSSI -  -  0x26  RxData from Radio Addr, RSSI, Data -  -  0x27  Announce from Radio AnnStatus, additional fields -  -  0x28  RxEvent from Radio Addr, RSSI, Reg, Bank, Span,Val 0x0A  -  -  GetRemoteRegister from Host Addr, Reg, Bank, Span -  0x1A  -  GetRemoteRegisterReply from Radio If command successful: TxStatus,  Addr,  RSSI, Reg, Bank, Span, Val If command failed: TxStatus, Addr 0x0B  -  -  SetRemoteRegister from Host Addr, Reg, Bank, Span, Val -  0x1 B  -  SetRemoteRegisterReply from Radio TxStatus, Addr, RSSI -  -  0x2F  Instrumentation from Radio DiagInfo  Table 4.1.2.1 Arguments:  Reg = Register location (1 byte) Bank = Register bank, which provides logical isolation from other data regions (1 byte) Span = Number of bytes of register data to get or set; must align to a parameter boundary (1 byte) Val = Value to read/write to/from register (see table 4.1.2.1 for size and acceptable range. Data = User data (variable size, 0 to 232 bytes) MacAddr = MAC address of the sender for reply, or event or recipient for a command (3 bytes) Addr = same as MAC address NwkAddr = Network address (1 byte) TxStatus = Result of last TxData operation (1 byte) 0 = Acknowledgement received 1 = No acknowledgement received 2 = Not linked (remote) 3 = No ACK due to recipient holding for flow control
 www.RFM.com  Technical support +1.800.704.6079  Page 28 of 58 ©2008 by RF Monolithics, Inc.  E-mail: tech sup@rfm.com  DNT900 - 11/05/08 RSSI = 2’s complement value in dBm, with a range of -128 (0x80) to +125 (0x7D) dBm (1 byte); large positive RSSI values will not occur under ordinary circumstances. RSSI values 126 (0x7E) and 127 (0x7F) have special meaning: 0x7F = No RSSI measured because no ACK was received 0x7E = reserved for future use NwkID = Network identifier of network joined (1 byte). BaseMacAddr = MAC address of base that the remote joined (3 bytes). AnnStatus = Status announcement (1 byte). Additional fields are also reported depending on the status code: Status code  Additional fields A0 = Radio has completed startup initialization  none A2 = Base: a remote has joined me  MacAddr (0xFF if none) A3 = Remote: joined a network, ready for data.  NwkID, BaseMacAddr, Range A4 = Remote: exited network (base is out of range)  NwkID A7 = Base: remote has left the network.  Addr Status codes for error conditions  Additional fields E0 = Protocol error -- invalid message type  none E1 = Protocol error -- invalid argument  none E2 = Protocol error -- general error  none E3 = Protocol error -- parser timeout  none E4 = Protocol error -- register is read-only  none E8 = UART receive buffer overflow  none E9 = UART receive overrun  none EA = UART framing error  none Range = Range measurement of radio joining. (1 byte). BootSelect = Code indicating whether to do a normal reset or a reset to the bootloader (1 byte) (0 = normal reset, 1 = reset to bootloader, 2 = activate OTA bootloader) 4.1.3 Escape Sequence The escape sequence is a series of bytes that the user can input in transparent mode to switch the radio to configuration mode. In the DNT900, we define the EnterProtocolMode command as the ASCII escape sequence “DNT900” (quotation marks are not part of the sequence). A radio that is already in protocol mode will respond to this command the same way as a radio that is in transparent mode. For the escape sequence to be recognized, byte flow must pause at least 20 ms before the escape sequence is sent. 4.1.4 CFG Select Pin A falling edge on the CFG pin is the equivalent of entering the escape sequence to invoke the protocol mode. A rising edge on the CFG pin is the equivalent to sending the exit protocol command. The input to the CFG pin is de-bounced to make it compatible with a mechanical switch or jumper. 4.1.5 Flow Control There are two flow control signals between the radio and the host, RTS and CTS. See Section 2.9 for flow control details.
 www.RFM.com  Technical support +1.800.704.6079  Page 29 of 58 ©2008 by RF Monolithics, Inc.  E-mail: tech sup@rfm.com  DNT900 - 11/05/08 4.1.6 Protocol Mode Data Message Example In this example, ASCII text Hello World is sent from the base station to a remote using a TxData com-mand. The MAC address of the remote is 0x0001 02. The protocol formatting for the host message is: 0xFB 0x0F 0x05 0x02 0x01 0x00 0x48 0x65 0x6C 0x6C 0x6F 0x20 0x57 0x6F 0x72 0x6C 0x64 There are 15 bytes following the length byte, so the length byte is set to 0x0F. Note that the 0x000102 MAC address is entered in Little-Endian byte order 0x02 0x01 0x00. When an ACK to this message is received from the remote, the base station outputs a TxDataReply message to its host: 0xFB 0x06 0x15 0x00 0x02 0x01 0x00 0xC4 The 0x00 TxStatus byte value indicates the ACK reception from the remote. The RSSI value is 0xC4 (-60 dBm). If the remote is in protocol mode, the message is output in the following format: 0xFB 0x1 0 0x26 0x02 0x01 0x00 0xC4 0x48 0x65 0x6C 0x6C 0x6F 0x20 0x57 0x6F 0x72 0x6C 0x64 The message is output as an 0x26 event. Note that the RSSI value 0xC4 is inserted between the re-mote’s MAC address and the Hello World user data. 4.2 Configuration Registers The configuration registers supported by the DNT900 are described below. Registers are sorted into banks according to similar functions. Default register values are in bold. 4.2.1 Bank 0 - Transceiver Setup  00  00  DeviceMode R/W 1  0..2 0 = Remote, 1= Base, 2 = PTT Remote 00  01  RF_DataRate R/W 1  0..4  0 = 500, 1 = 200, 2 = 115.2, 3 = 38.4 kb/s, 0XFF = auto 00  02  HopDuration R/W 2  4..4000 10 ms (0x00C8) 00  04  InitialNwkID R/W 1  0..255 0xFF = broadcast 00  05  SecurityKey R/W 16 0..2128 0 = security disabled 00  15  SleepMode R/W 1  0..1 0 = off, 1 = timer, 2 = interrupt 00  16  WakeResponseTime R/W 1  0..255 1 = 50 ms, 0 to disable 00  17  WakeLinkTimeout R/W 1  0..255 5 s 00  18  TxPower R/W 1  0..5 0 = 1 mW; 1 = 10 mW, 2 = 100 mW       3 = 250 mW, 4 = 500 mW, 5 = 1000 mW 00  19  Reserved     00  1A  Reserved     00  1B  JoinPermit  R/W  1  0..1  0 = no join, 1 = remotes (default), 2 =any 00  1C  UserTag R/W 16  "DNT900"  Note: These settings are individual to each module. DeviceMode - selects the operating mode for the radio: remote, base, or PTT remote (listen mostly remote). Note that the setting takes effect immediately. Size in Bank Loc'n Nam e  R/W bytes Range Default, Options
 www.RFM.com  Technical support +1.800.704.6079  Page 30 of 58 ©2008 by RF Monolithics, Inc.  E-mail: tech sup@rfm.com  DNT900 - 11/05/08 RF_DataRate - this sets the over-the-air RF data rate. DNT900’s with different RF data rates cannot intercommunicate. The following codes are defined: 0x00  =  500  kb/s 0x01  =  200  kb/s 0x02  =  115.2  kb/s 0x03  =  38.4  kb/s 0xff = auto (default) A setting of "auto" will cause a remote to scan all 4 possible RF rates for a network to join. A base set to "auto" will run at the maximum rate of 500 kb/s. A change to this setting on the base will trigger a reboot of the network. HopDuration - this sets the duration of the hop frame. The duration is set as a 12-bit value, 0.05 ms/count. InitialNwkID - selects the initial network ID that the radio will start (if a base) or join (if a remote). A value of 0xFF instructs a remote to operate in 'promiscuous mode' and join any network it finds (if set for a base, this will select the default network of 0x00.) The network ID also sets the base frequency at which the hopping pattern starts, as illustrated by the following equation: FrequencyIndex[n] = HoppingPattern[n + 2*NetworkID mod 32] This allows the user to coordinate frequency spacing of co-located networks to maintain a constant sepa-ration as they hop. SecurityKey - this sets the 128-bit AES encryption key that will be used. The intent is for this to act like a password that all radios in the network are configured with. To protect the key, this is a write-only parame-ter for the user (always reads back as 0x2A). Refer to the Section 2.11 for further information. SleepMode - this parameter enables sleep mode, which may be used in conjunction with the automatic I/O reporting feature to wake up on specified triggers. Sleep mode is only available for remotes, and the channel access mode for the network must be one of the CSMA modes. WakeResponse Time - this parameter sets the length of time that a remote in sleep mode will wait for a response after sending an I/O report before going back to sleep, from a minimum of 10 ms to a maximum of 2.5 seconds in 10 ms units. This time interval is set to allow the base host application to respond to a remote with a packet before the remote returns to sleep. If this parameter is set to 0, the remote will stay awake indefinitely after sending an I/O report. WakeLinkTimeout - this parameter sets the maximum length of time that a remote in sleep mode will spend trying to acquire a link to its base station before going back to sleep, from a minimum of 100 ms to 25.5 s in 100 ms units. If this value is set to 0, the remote will stay awake and continue trying to link to its base station indefinitely. TxPower - Sets the transmit power level: 0 = 0 dBm or 1 mW (default) 1 = 10 dBm or 10 mW 2 = 20 dBm or 100 mW 3 = 24 dBm or 250 mW 4 = 27 dBm or 500 mW 5 = 30 dBm or 1000 mW (1 W)
 www.RFM.com  Technical support +1.800.704.6079  Page 31 of 58 ©2008 by RF Monolithics, Inc.  E-mail: tech sup@rfm.com  DNT900 - 11/05/08 When the data rate is set to 500 kb/s, the firmware interlocks the transmit power level to 19 dBm (85 mW) or less to comply with FCC regulations. JoinPremit - valid parameter on a base only. Controls whether remote nodes are permitted to join the base. Parameter values are 0 = no joining permitted, 1 = remotes only may join, 2 = remotes or routers may join (future function). UserTag - this is a user definable field intended for use as a location description or other identifying tag such as a “friendly name”. 4.2.2 Bank 1 - System Settings  01  00  FrequencyBand R/W 1  0.. 1 01  01  AccessMode R/W 1  0..4 01  02  BaseSlotSize R/W 1  6..233 01  03  LeasePeriod R/W 1  0..250 01  04  ARQ_Mode R/W 1  0.. 1 01  05  ARQ_AttemptLimit R/W 1  0..63 01  06  TDMA_MaxSlots R/W 1  0..15 01  07  CSMA_Predelaty R/W  1  0..255 01  08  CSMA_MaxBackoff R/W 1  0..255 01  09  MaxPropDelay R/W 1  0..255 01  0A  EpochMode R/W 1  0..2 01  0B  CSMA_RemtSlotSize R/W  1  1 ..255 01  0C  CSMA_BusyThreshold R/W  1  1..255 01  0D  RangingInterval R/W  1  0..255  FrequencyBand - this parameter sets the range of frequencies over which the radio will operate. Two settings are defined: North America (902-928 MHz) and Australia-New Zealand (915-928 MHz). AccessMode - this sets the channel access mode that remotes will use to communicate with the base: Access Mode  Description  Max # of Remotes  Remote Slot Size 0  CSMA polling  1024  manual 1  CSMA contention  1024  manual 2 (default)  TDMA dynamic slots  up to 16  automatic 3  TDMA fixed slots  up to 16  automatic 4  TDMA with PTT  1024  automatic BaseSlotSize - This parameter set the maximum number of bytes allocated to user messages and their RF headers. This value must be set by the user for all access modes (default value is 20 bytes). LeasePeriod - this sets the duration in seconds for network address leases that remotes may receive from the base. If a period of zero is specified, then lease and network address functions are disabled. The minimum valid lease period is two seconds. Remotes will attempt to renew their leases at an interval equal to half the lease period. For example, if the lease period is set to four seconds, remotes will renew their leases every two seconds. ARQ_Mode - this sets the ARQ mode for delivery of application messages. In ARQ mode, an ACK is expected from the receiving radio for each message addressed and sent to it. If no ACK is received, up to ARQ_AttemptLimit, efforts to send the data will be made, after which the message is discarded. In redun-dant broadcast mode, each broadcast message is sent exactly ARQ_AttemptLimit times. No ACKS are sent or expected. The following bit options control this function: Size in Bank Loc'n  Name  R/W  bytes Range Default; Options   0x00 = North America; 0x01 = Australia, 0xFF = auto 2 = TDMA Dynamic Slots 20 bytes 5 s (0 to disable) 0 = ARQ, 1 = redundant broadcast 5 attempts 8 slots 0x03 0x0A 0x0D (3.8 mi, 6 km) 0 = use previous; 1 = increment 2 = random 50 20 0 (disable)
 www.RFM.com  Technical support +1.800.704.6079  Page 32 of 58 ©2008 by RF Monolithics, Inc.  E-mail: tech sup@rfm.com  DNT900 - 11/05/08 bits 7..2  Not used bit 1  If set to 0, the base can pass a new ARQ_AttemptLimit to the remotes If set to 1, the remotes use the existing ARQ_AttemptLimit in Bank 1 bit 0    If set to 1, the base will send broadcast packets ARQ_AttemptLimit times instead of once. ARQ_AttemptLimit - this sets the maximum number of attempts that will be made to send a data packet on the RF link. Setting this parameter to the maximum value of 63 is a flag value indicating that there should be no limit to the number of attempts to send each packet (infinite number of attempts). This mode is intended for point-to-point networks in serial data cable replacement applications where absolutely no packets can be lost. TDMA_MaxNumSlots - in TDMA access modes, this sets the number of slots that are allowed. In fixed slot mode, this allocates the number of slots directly. In dynamic slot mode, this sets the maximum num-ber of slots that may be allocated according to the number of remotes that are registered. CSMA_Predelay - in CSMA mode, this parameter sets the maximum delay between the time a remote senses a clear channel and it starts a transmission. Refer to Section 2.7.1 for more information. CSMA_MaxBackoff - in CSMA mode, this sets the maximum length of time that a remote will back off for after a failed transmit attempt. Refer to Section 2.7.1 for more information. MaxPropDelay - this is the maximum propagation delay that remotes and base will use in their slot timing calculations, in units of 3.1 µs. This is used to pad the amount of time dedicated to the signup slot. In-creasing this value will subtract slightly from the overall slot time available to remotes for sending data. Note that the free-space round trip propagation delay for one mile is 10.72 µs. Each increment of Max-PropDelay thus corresponds to a maximum radius from the remote to the base of 0.29 mi (0.46 km). EpochMode - this is a base-only parameter that governs how the base will select an epoch number at startup when it creates a network. In mode 0, the base will read the epoch number from NVRAM. In mode 1, it reads the value from NVRAM and increments it (and stores the result). In mode 2, it will generate a random epoch number at every startup. 4.2.3 Bank 2 - Status Registers     Size in  Bank Loc'n  Name  R/W  bytes  Range 02  00  MacAddress R 3  0..224 02  03  CurrNwkAddress R 1  0..255 02  04  CurrNwkID R 1  0..255 02  05  CurrRF_DataRate R 1  0..4 02  06  CurrFreqBand R 1  0.. 1 02  07  LinkStatus R 1  0.. 1 02  08  RemoteSlotSize R 1  0..243 02  09  TDMA_NumSlots R 1  0..16 02  0A  Reserved R 1  0..255 02  0B  TDMA_CurrSlot R 1  0..16 02  0C  HardwareVersion R 1  0..255 02 0D FirmwareVersion R 1 0..255 02  0E  FirmwareBuildNum R 2  0..216 02  10  Epoch R 1  0..255 02  11  SuperframeCount R 1  0..255 02  12  RSSI_Idle R 1  0..255 02  13  RSSI_Last R 1  0..255 02  14  CurrTxPower R  1  0..255 02  15  CurrAttemptLimit R  1  0..255 02  16  CurrRangeDelay R  1  0..255 Default fixed value as  set  as  set as  set  as  set current status as  set as  set reserved current slot 0x00 = DNT900 rev A current firmware load current firmware load as set current value as  set as  set as  set as  set as set
 www.RFM.com  Technical support +1.800.704.6079  Page 33 of 58 ©2008 by RF Monolithics, Inc.  E-mail: tech sup@rfm.com  DNT900 - 11/05/08 MacAddress - returns the radio's unique 24-bit MAC address. CurrNwkAddress - returns the radio's current network address, if any. Some special values should be noted. The base always reports 0x00. If a remote does not have a network address, either because lease mode is not enabled or it has not yet received one, it reports 0xFF. CurrNwkID - This returns the network ID of the network that the radio is currently assigned to or con-nected to. A value of 0xFF means the radio is scanning for a network but has not yet joined one. CurrRF_DataRate - this returns the RF data rate of the network that the radio is currently assigned to or connected to. A value of 0xFF means the radio is scanning for a network but has not yet joined one. CurrFreqBand - this returns the frequency band of the network that the radio is currently assigned to or connected to. A value of 0xFF means the radio is scanning for a network but has not yet joined one. LinkStatus - this returns the radio's current connection status to the network. The following codes are defined: LinkStatus  Remote Status  Base Status 0  initializing  initializing 1  unlinked, scanning for network  not used 2  linked, acquiring network parameters  not used 3  linked, registering with base  not used 4  linked and registered  ready for data transfer RemoteSlotSize - returns the current remote slot size, defined as the maximum number of bytes allocated to user messages and their RF headers. In the three user selectable TDMA modes the slot size is auto-matically computed, this value is read-only. In the CSMA modes, this value must be set by the user. TDMA_NumSlots - in TDMA access modes, this returns the number of slots currently allocated. TDMA_CurrSlot - returns the current TDMA slot number in modes where the slot position is automatically computed. In modes where this number is not applicable, the value is read as 0xFF. Hardware Version - returns an identifier indicating the type of radio. A value of 0x00 is defined for the DNT900 Rev A hardware. Firmware Version - returns the firmware version of the radio in 2-digit BCD format. FirmwareBuildNum - returns the firmware build number, in binary format. Epoch - returns the current epoch number. SuperframeCount - returns the current superframe count. The count increments every 64 hops.
 www.RFM.com  Technical support +1.800.704.6079  Page 34 of 58 ©2008 by RF Monolithics, Inc.  E-mail: tech sup@rfm.com  DNT900 - 11/05/08 RSSI_Idle - returns the last measurement of RSSI made during a time when the RF channel was idle. May be used to detect interferers. RSSI_Last - returns the last measurement of RSSI made during receipt of an RF packet with a valid CRC. Used for network commissioning and diagnostic purposes. CurrTxPower - returns the current transmitter power setting, allowing the automatic transmitter power setting to be tracked. This parameter is the nominal output power setting in dBm, and is a 2’s complement value. CurrAttemptLimit - this returns the value of ARQ_AttemptLimit currently in use (depending on the selected ARQ_Mode, it may not always match the local EEPROM value). CurrRangeDelay - returns the current propagation delay for this remote as measured from the base (applies to remote nodes only). 4.2.4 Bank 3 - Serial  03  00  SerialRate R/W 2  0..216  115.2 kb/s (0x0004) 03  01  SerialParams R/W 1  0..7  8N1 03  03  SerialControls R/W  1  0..7  0X07  SerialRate - sets the serial rate divisor according to the following formula: Serial rate in b/s = 460800/SerialRate Serial rate division setting for commonly used baud rates are: Setting  Serial rate  0x0000  460.8 kb/s 0x0001  460.8 kb/s 0x0002  230.4 kb/s 0x0004  115.2 kb/s (default) 0x0006  76.8 kb/s 0x0008  57.6 kb/s 0x000C  38.4 kb/s 0x0010  28.8 kb/s 0x0018  19.2 kb/s 0x0030  9.6 kb/s 0x0060  4.8 kb/s 0x00C0  2.4 kb/s 0x0180  1.2 kb/s Note that if a value of 0x0000 is specified, the maximum data rate of 460.8 kb/s will be selected. SerialParams - sets the serial mode options for parity and stop bits: Setting  Mode 0x00  No parity, 8 data bits, 1 stop bit 0x01  No parity, 8 data bits, 2 stop bits 0x02  Reserved 0x03  Reserved 0x04  Even parity, 8 data bits, 1 stop bit 0x05  Even parity, 8 data bits, 2 stop bits 0x06  Odd parity, 8 data bits, 1 stop bit 0x07  Odd parity, 8 data bits, 2 stop bits Size in Bank Loc'n  Name  R/W  byt es  Ra ng e  D efa ult
 www.RFM.com  Technical support +1.800.704.6079  Page 35 of 58 ©2008 by RF Monolithics, Inc.  E-mail: tech sup@rfm.com  DNT900 - 11/05/08 Note that 8-bit data with no parity is capable of carrying 7-bit data with parity for compatibility without loss of generality for legacy applications that may require it. SerialControls - this parameter affects the way the radio responds to the various serial control lines. Enabling or disabling response to some serial control signals can facilitate communicating with devices that support only a reduced serial interface. The parameter is defined as a bitmask, with the following options: bits 7..3 Reserved bit 2  Base DCD mode: 1 = The base will only assert DCD when at least one remote is registered (default). 0 = The base always asserts DCD, regardless of whether any remotes are attached. bit 1  RTS enable: 1 = Radio will respond to changes on the RTS control line (default). 0 = Radio ignores the RTS pin and assumes flow control is always asserted. bit 0  DTR/SLEEP enable. 1 = Radio will respond to changes on the SLEEP (DTR) control line (default) 0 = Radio ignores the SLEEP (DTR) pin and is always in the awake state. 4.2.5 Bank 4 - Host Protocol Settings  04  00  ProtocolMode R/W 1  0.. 1 04  01  ProtocolOptions R/W 1  0..255 04  02  TxTimeout R/W 1  0..255 04  03  MinPacketLength R/W 1  0..255 04  04  AnnounceOptions R/W 1  0..7 04  05  TransLinkAnnEn R/W 1  0..1 04  06  EscapeSequenceEn R/W 1  0..2 04  07  TransPtToPtMode R/W  1  0.. 1  ProtocolMode - this parameter selects the host protocol mode. The default is 0, which is transparent mode, meaning the radio conveys whatever characters that are sent to it transparently, without requiring the host to understand or conform to the DNT900's built-in protocol. This setting is recommended for point-to-point applications for legacy applications such as wire replacements where another serial proto-col may already exist. Setting this parameter to 1 enables the DNT900 host protocol, which is recom-mended for point-to-multipoint applications and is preferred for new designs. It is not necessary to define the same protocol mode for all radios in a network. For example, it is frequently useful to configure all the remotes for transparent mode and the base for protocol mode. Note that it is possible for the host to switch the radio from transparent mode to protocol mode and back if desired by transmitting a special "escape sequence" code. ProtocolOptions - this is a bitmask that selects various options for the protocol mode. The default is 0x05. bit 7  Enable output of Instrumentation packets bits 6..3 Reserved bit 2  Enable output of TxReply packets bit 1  Reserved bit 0  Enable output of Announce packets AnnounceOptions - this is a bitmask that enables/disables different types of Announce packets: bit 7..3 Reserved bit 2  Enable bit for Announce types E0-EA (error notification) bit 1  Enable bit for Announce types A1 -A7 (<LINK> notifications) bit 0  Enable bit for Announce types A0 (initialization) Size in Bank Loc'n  Name  R/W  bytes Range Default; Options   0 = transparent; 1 = protocol 0x05 5 ms 1 byte 0x07 all enabled 0 = disabled; 1 = <LINK> announce 0 = enabled; 1 = startup, 2 = anytime 0 = multipoint, 1 = point-to-point
 www.RFM.com  Technical support +1.800.704.6079  Page 36 of 58 ©2008 by RF Monolithics, Inc.  E-mail: tech sup@rfm.com  DNT900 - 11/05/08 Tx Timeout - this parameter sets the transmit timeout used for determining message boundaries in trans-parent data mode. Units are in milliseconds. The default is that a message boundary is determined whenever there is more than a 5 ms gap detected between consecutive characters. MinPacketLength - sets the minimum message length used for determining packet boundaries in trans-parent data mode. The default is one byte. TransLinkAnnEn - enables a link announcement function for transparent mode. Whenever link is acquired or dropped, the strings "<LINK>" or "<DROP>" are sent to the host. EscapeSequenceEn - enables or disables the escape sequence which can be used to switch from trans-parent mode to protocol mode. Enabled by default. Valid settings are 0 = disabled, 1 = one chance at startup, 2 = enabled at any time. TransPtToPtMode- controls the behavior for addressing packets in transparent mode. When this setting is zero (default), in transparent mode the base will direct packets to the broadcast address. This is useful for point-to-multipoint where the base is sending data to multiple remotes, for instance in applications where a wireless link is replacing an RS-485 serial bus. When this setting is one, in transparent mode the base will direct packets to the last remote that registered with it. This is useful for point-to-point networks where there are only two endpoints, for instance in applications where a simple serial cable is being replaced. 4.2.6 Bank 5 - I/O Peripheral Registers Bank  Loc'n  Name  R/W  Size in bytes Range in bits  Default 05  00  GPIO0  R/W  1  1  0 05  01  GPIO1  R/W  1  1  0 05  02  GPIO2  R/W  1  1  0 05  03  GPIO3  R/W  1  1  0 05  04  GPIO4  R/W  1  1  0 05 05 GPIO5 R/W 1 1 0 05  06  ADC0  R  2  10  N/A 05  08  ADC1  R  2  10  N/A 05  0A  ADC2  R  2  10  N/A 05  0C  Event Flags  R  2  10  N/A 05  0E  PWM0  R/W  2  9  0 05  10  PWM1  R/W  2  9  0  GPIO0. .5 - writing to these registers sets the corresponding driver for pins that are enabled outputs. Writing to pins that are enabled as inputs enables or disables the internal pull-up. Reading these registers returns the current level detected on the corresponding pins. ADC0. .2 - read-only, returns the current 10-bit ADC reading for the selected register. See the discussion of the ADC_SampleIntvl parameter below. EventFlags - used with the automatic I/O reporting feature, this parameter indicates which I/O events have been triggered since the last report message: bits 15..8 Reserved bit 7  ADC2 high/low threshold violation bit 6  ADC1 high/low threshold violation bit 5  ADC0 high/low threshold violation bit 4  Periodic timer report bit 3  GPIO3 edge transition bit 2  GPIO2 edge transition bit 1  GPIO1 edge transition bit 0  GPIO0 edge transition
 www.RFM.com  Technical support +1.800.704.6079  Page 37 of 58 ©2008 by RF Monolithics, Inc.  E-mail: tech sup@rfm.com  DNT900 - 11/05/08 PWM0.. 1 - sets the PWM (DAC) outputs. The DC voltage derived from the integrated low-pass filters on the PWM output provides an effective DAC resolution of 7 bits (8 bits achievable with external filtering). The range of this parameter is 0x0000 to 0x00FF. 4.2.7 Bank 6 - I/O setup  06  00  GPIO_Dir R/W 1  4 06  01  GPIO_Init R/W 1  4 06  02  GPIO_Alt R/W 1  4 06  03  GPIO_Edge Trigger R/W 1  8 06  04  GPIO_SleepMode R/W 1  1 06  05  GPIO_SleepDir R/W 1  6 06  06  GPIO_SleepState R/W 1  6 06  07  PWM0_Init R/W 2  10 06  09  PWM1_Init R/W 2  10 06  0B  ADC_SampleIntvl R/W 2  16 06  0D  ADC0 ThresholdLo R/W 2  10 06  0F  ADC0_ThresholdHi R/W 2  10 06  11  ADC1_ThresholdLo R/W 2  10 06  13  ADC1_ThresholdHi R/W 2  10 06  15  ADC2_ThresholdLo R/W 2  10 06  17  ADC2_ThresholdHi R/W 2  10 06  19  IO_ReportTrigger R/W 1  0..1 06  1A  IO_ReportInterval R/W 4  32  GPIO_Dir - this parameter is a bitmask that sets whether the GPIOs are inputs (0) or outputs (1). The default is all inputs. GPIO_Init - this parameter is a bitmask that sets the initial value for any GPIOs which are enabled as outputs. For GPIOs enabled as inputs, this sets the initial pull-up setting. GPIO_Alt - provides and alternate function for GPIO3 as an RS-485 driver enable. GPIO_Edge Trigger - when GPIO triggers are enabled for automatic I/O reporting, this function controls the trigger behavior: bits 7.. 6 GPIO3 edge function bits 5..4 GPIO2 edge function bits 3..2 GPIO1 edge function bits 1.. 0 GPIO0 edge function The bit values for each GPIO map to the following settings: Value  GPIO edge behavior 11  Rising edge trigger, neither level keeps remote awake 10  Bidirectional edge trigger, neither level keeps remote awake 01  Rising edge trigger, holding high keeps remote awake 00  Falling edge trigger, holding low keeps remote awake  GPIO_SleepMode - when set to 1, this parameter enables setting of GPIOs to the designated direction and state whenever a device is asleep. Size in Range Bank Loc'n Nam e  R/W bytes in bits Default; Options  0 (all inputs) 0 (all zeros) 0x08 = use GPIO3 for RS485 enable 0x00 0 = off; 1 = use sleep I/O states 0 (all inputs) 0 (all zeros) 0x0000 0x0000 0x0001 (10 ms) 0x0000 0x03FF 0x0000 0x03FF 0x0000 0x03FF 0x00 = off 0x00000BB8 (every 30 seconds)
 www.RFM.com  Technical support +1.800.704.6079  Page 38 of 58 ©2008 by RF Monolithics, Inc.  E-mail: tech sup@rfm.com  DNT900 - 11/05/08 GPIO_SleepDir - when GPIO_SleepMode is enabled, this parameter functions as a secondary GPIO_Dir to set the direction of the GPIOs during a device’s sleep period. This enables the user to provide alternate configurations during sleep that will help minimize current consumption. Bits 0. .5 correspond to GPIO0..GPIO5. GPIO_SleepState - when GPIO_SleepMode is enabled, this parameter functions as a bitmask to set the output state of the GPIOs during a device’s sleep period. This enables the user to provide alternate configurations during sleep that will help minimize current consumption. Bits 0. .5 correspond to GPIO0. .GPIO5 respecively. PWM0_Init - this parameter sets the initial value for PWM0 at startup. PWM1_Init - this parameter sets the initial value for PWM1 at startup. ADC_SampleIntvl - this parameter sets the interval between the beginning of one ADC read cycle and the next ADC read cycle. The three ADC inputs are read on each ADC read cycle. An ADC_SampleIntvl count equals 10 ms. ADC0. .2_ThresholdLo/Hi - these values define thresholds to trigger an I/O report based on  ADC meas-urements. If I/O reporting is enabled, a single EVENT report containing the contents of the I/O bank is generated when a threshold is crossed. Reporting is "edge-triggered" with respect to threshold bounda-ries, not "level-triggered"; i.e., if the measurement remains there, additional reports are not triggered until the value crosses the threshold again. The thresholds are met whenever one of the following inequalities are satisfied: ADCx < ADCx_ThresholdLo ADCx > ADCx_ThresholdHi IO_Report Trigger - when a selected trigger source is enabled, a trigger event will cause the remote to send an EVENT message to its base containing the entire current values of the I/O Register Bank from GPIO0 up to and including the EventFlags, but not the PWM settings which are output-only. bit 7  ADC2 high/low thresholds bit 6  ADC1 high/low thresholds bit 5  ADC0 high/low thresholds bit 4  Periodic report timer bit 3  GPIO3 edge bit 2  GPIO2 edge bit 1  GPIO1 edge bit 0  GPIO0 edge I/O reporting is supported for remotes only, not the base. IO_ReportInterval - when periodic I/O reporting is enabled, this parameter sets the interval between reports. Units are 10 ms increments, and the default report interval is every 30 seconds.
 www.RFM.com  Technical support +1.800.704.6079  Page 39 of 58 ©2008 by RF Monolithics, Inc.  E-mail: tech sup@rfm.com  DNT900 - 11/05/08 4.2.8 Bank FF - Special Functions This bank contains two user functions, UcReset and MemorySave: Bank  Loc'n  Name  R/W bytes Range  Description FF  00  UcReset W 1  0..90  00 = reset, 1 = clear status/address and reset, 0x5A = reset with factory defaults FF  FF  MemorySave W 1  0.. 1  0 = load factory defaults, 1 = save settings to EEPROM  UcReset - writing a value of 0x00 to this location forces a software reset of the microcontroller. Writing a value of 0x02 activates the OTA bootloader. To upgrade a remote remotely, set this register value and then  begin  the  OTA  firmware  download  process.  Writing  any  other  value  to  this  register  returns  an error.  A  reply  packet,  either  local  or  over-the-air,  may  not  be  received  when  writing  a  value  to  this register. MemorySave - writing a zero to this location clears all registers back to factory defaults. Writing a one to this location commits the current register settings to EEPROM. When programming registers, all changes are considered temporary until this command is executed. 4.2.9 Protocol Mode Configuration/Sensor Message Example In this example, the host configures the base station to transmit 24  dBm (250  mW) of RF power using the SetRegister command,  0x04.  The  TxPower parameter is stored in bank  0x00, register  0x1  8.  A  one-byte parameter value of 0x03 selects the 24 dBm (250 mW) power level. The protocol formatting for the com-mand is: 0xFB 0x05 0x04 0x18 0x00 0x01 0x03 Note the order of the bytes in the command argument: register, bank, span, parameter value. When the base station receives the command it updates the parameter setting and return a SetRegisterReply message as follows: 0xFB 0x01 0x14 In order for this new RF power setting to persist through a base station power down, MemorySave must be invoked. This is done by setting a one-byte parameter in register 0xFF of bank 0xFF to 0x01 with another SetRegister command: 0xFB 0x05 0x04 0xFF 0xFF 0x01 0x01 The base station will write the current parameter values to EEPROM and return a SetRegisterReply message: 0xFB 0x01 0x14 In this example, the base station host requests an ADC1 reading from a remote using the GetRe-moteRegister command, 0x0A. The MAC address of the remote is 0x000102. The current ADC1 meas-urement is read from register 0x08 in bank 0x05. The ADC reading spans two bytes. The protocol format-ting for this command is: 0xFB 0x07 0x0A 0x02 0x01 0x00 0x08 0x05 0x02
 www.RFM.com  Technical support +1.800.704.6079  Page 40 of 58 ©2008 by RF Monolithics, Inc.  E-mail: tech sup@rfm.com  DNT900 - 11/05/08 Note the remote MAC address 0x0001 02 is entered in Little-Endian byte order, 0x02 0x01 0x00. The ADC reading is returned in a GetRemoteRegisterReply message: 0xFB 0x0B 0x1A 0x00 0x02 0x01 0x00 0xC4 0x08 0x05 0x02 0xFF 0x02 Substantial information is returned in the message. The last two byes of the message give the ADC reading in Little-Endian format, 0xFF 0x02. The ADC reading is thus 0x02FF. The RSSI value is the byte following the address, 0xC4 (-60 dBm). The TxStatus byte to the right of the GetRemoteRegisterReply Packet Type is 0x00, showing the packet was acknowledged on the RF channel. 4.2.10 Protocol Mode Event Message Example In this example, the IO_ReportInterval set to 10 seconds and the periodic report timer bit in the IO_Report Trigger parameter is set on the remote with MAC address 0x1 23456. This causes event mes-sages to be sent from this remote every 10 seconds. The IO_ReportInterval and the IO_Report Trigger parameters are loaded using SetRemoteRegister commands. The command to set the IO_ReportInterval to 10 seconds is: 0xFB 0x0B 0x0B 0x56 0x34 0x12 0x1A 0x06 0x04 0xE8 0x03 0x00 0x00 The IO_ReportInterval parameter starts in location 0x1A of bank 0x06. The report interval is set in 10 ms units, so a 10 second report interval is 1000 units or 0x000003E8 (Little-Endian format  E8 03 00 00). The IO_ReportInterval parameter is updated and SetRemoteRegisterReply is returned: 0xFB 0x06 0x1 B 0x00 0x56 0x34 0x1 2 0xC4 The command to set the periodic report timer bit in IO_Report Trigger to is: 0xFB 0x08 0x0B 0x56 0x34 0x12 0x19 0x06 0x01 0x10 The periodic report timer bit in IO_Report Trigger is located in bit position four (0001 0000b) or 0x1 0. The IO_Report Trigger parameter is updated and SetRemoteRegisterReply is returned: 0xFB 0x06 0x1 B 0x00 0x56 0x34 0x1 2 0xC4 The remote will start sending event messages on 10 second intervals as shown in the log records below: 11:20:30.328: RX: FB 16 28 56 34 12 CB 00 05 0E 01 00 00 00 01 01 F9 01 DF 01 C9 01 10 00 11:20:40.328: RX: FB 16 28 56 34 12 B6 00 05 0E 01 00 00 00 01 01 F8 01 DF 01 CC 01 10 00 11:20:50.328: RX: FB 16 28 56 34 12 B3 00 05 0E 01 00 00 00 01 01 F8 01 E0 01 CC 01 10 00 11:21:00.343: RX: FB 16 28 56 34 12 B1 00 05 0E 01 00 00 00 01 01 F9 01 DF 01 C9 01 10 00 11:21:10.406: RX: FB 16 28 56 34 12 AE 00 05 0E 01 00 00 00 01 01 F9 01 DF 01 C8 01 10 00 11:21:20.328: RX: FB 16 28 56 34 12 AD 00 05 0E 01 00 00 00 01 01 F9 01 E1 01 CF 01 10 00  IO_Report Trigger generates RxEvent messages (Pkt Type 0x28). The message payload consists of the first 14 bytes in Bank 5, including the state of GPIO0 through GPIO5, the input voltages measured by ADC0 through ADC2, and the state of the event flags. Note the ADC readings and the event flags are presented in Little-Endian order.
 www.RFM.com  Technical support +1.800.704.6079  Page 41 of 58 ©2008 by RF Monolithics, Inc.  E-mail: tech sup@rfm.com  DNT900 - 11/05/08 5.0 DNT900DK Developer’s Kit Figure 5.0.1 shows the main contents of a DNT900DK Developer’s kit:  Figure 5.0.1 5.1 DNT900DK Kit Contents The kit contains the following items: •  Two DNT900P Radios •  Two DNT900 Interface Boards •  Two 9 V Wall Plug Power Suppliers, 120/240 VAC •  Two U.FL RF Jumper Cables •  Two RJ-45 to DB-9F Cable Assemblies •  Two A/B USB Cables •  One RJ-1 1 to DB-9F Cable Assembly •  Two 900 MHz Dipole Antennas •  One DNT900 Documentation and Software CD 5.2 Additional Items Needed To operate the kit, the following additional items are needed: •  Two PCs with Microsoft WindowsXP or Vista Operating Systems To fully test the kit’s functionality, the PCs should be equipped with high-speed serial ports capable of operation at 460.8 kb/s.
 www.RFM.com  Technical support +1.800.704.6079  Page 42 of 58 ©2008 by RF Monolithics, Inc.  E-mail: tech sup@rfm.com  DNT900 - 11/05/08 5.3 Developer’s Kit Default Operating Configuration The default operating configuration of the DNT900DK developer’s kit is TDMA Mode 2, point-to-point, with transparent serial data at 115.2 kb/s, 8N 1. One DNT900P is preconfigured as a base station and the other as a remote. The defaults can be overridden to test other operating configurations using the DNT Wizard utility discussed in Section 5.5. The default RF power setting is 0 dBm (1 mW), which is suitable for side-by-side operation. The RF power level should be set higher as needed for longer range opera-tion. Note that setting the RF power to a high level when doing side-by-side testing will overload the DNT900P receiver and cause erratic operation. 5.4 Development Kit Hardware Assembly Observe ESD precautions when handling the kit circuit boards. Referring to Figure 5.4.1, confirm each DNT900P is correctly plugged into an interface board, with the radio oriented so that its U.FL connector is next to the U.FL connector on the interface board. Check each radio’s alignment in the socket on the interface board. No pins should be hanging out over the ends of the connector. Next, install the U.FL jumper cables between the U.FL connectors on the radios and the interface boards. Then install the dipole antennas. As shown in Figure 5.4.2, confirm there is a jumper on pins J14. The interface boards can now be powered by the 9 V wall plug transformer power supplies (the interface boards can also be run for a short time from the 9 V batteries for range testing, etc.).  Figure 5.4.1
 www.RFM.com  Technical support +1.800.704.6079  Page 43 of 58 ©2008 by RF Monolithics, Inc.  E-mail: tech sup@rfm.com  DNT900 - 11/05/08   Figure 5.4.2 There are three serial connectors on the interface boards, as shown in Figure 5.4.3. The RJ-45 connector provides a high-speed RS232 interface to the DNT900P’s main serial port. The USB connector provides an optional interface to the radio’s main serial port. The RJ-1 1 connector provides a high-speed RS232 interface to the radio’s diagnostic port. The DNT Wizard utility program runs on the radio’s main port.  Figure 5.4.3
 www.RFM.com  Technical support +1.800.704.6079  Page 44 of 58 ©2008 by RF Monolithics, Inc.  E-mail: tech sup@rfm.com  DNT900 - 11/05/08  The preferred PC interface is a serial port card capable of operating up to 460.8 kb/s. Many desktop PCs have a built-in serial port capable of operation at 115.2 kb/s. The kit can be run satisfactorily at the 115.2 kb/s data rate, but not at its fastest throughput. Use the RJ-45 to DB-9F cable assemblies for serial port operation. Optionally, the kit can be run from the USB port. Plugging in the USB cable automatically switches opera-tion from the RJ-45 connector. The USB interface is based on an FT232RL serial-to-USB converter IC manufactured by FTDI. The driver files for the FT232RL are located in the USB Driver folder on the kit CD, and the latest version of the driver can downloaded from the FTDI website, www.ftdichip.com. The driver creates a virtual COM port on the PC. Power up an interface board with an installed DNT900P using one of the supplied wall plug power supplies. Next connect the interface board to the PC with a USB cable. The PC will find the new USB hardware and open up a driver installation dialog box. Click on the Browse button in the dialog box and point to the folder with the FT232R driver files. The driver instal-lation dialog will run twice to complete the FT232R driver installation. 5.5 DNT Wizard Utility Program The DNT Wizard utility program is located in the PC Programs folder on the kit CD. The Wizard requires no installation and can simply be copied to the PC and run. The Wizard start-up window is shown in Figure 5.5.1.  Figure 5.5.1
 www.RFM.com  Technical support +1.800.704.6079  Page 45 of 58 ©2008 by RF Monolithics, Inc.  E-mail: tech sup@rfm.com  DNT900 - 11/05/08 Press the Connect button to open the serial port dialog box, as shown in Figure 5.5.2. Set the data rate to 115.2 kb/s (DNT900 default), select the COM port for the DNT900 interface board and press OK.  Figure 5.5.2 At this point the Wizard will collect configuration parameters from the DNT900. This data is organized under the first seven tabs, each corresponding to a Bank of register parameters as discussed in Section 4.2. The Transceiver Setup Tab is shown in Figure 5.5.3, and corresponds to Bank 0. The current values of each Bank 0 parameter are displayed and can be updated by selecting from the drop down menus or entering data from the keyboard, and then pressing the Apply button. Note that data is displayed and entered into the Wizard in Big-Endian order. The Wizard automatically reorders multi-byte data to and from Little-Endian order when building or interpreting messages.  Figure 5.5.3 In addition to conventional mouse and keyboard inputs, the Wizard supports two special function keys, F1 and F2. F1 toggles the serial port DTR line off and on. Pressing F1 the first time after the Wizard is
 www.RFM.com  Technical support +1.800.704.6079  Page 46 of 58 ©2008 by RF Monolithics, Inc.  E-mail: tech sup@rfm.com  DNT900 - 11/05/08 started will place the DNT900 in power down mode. Pressing the F1 key again will reboot and restart the DNT900. The current status of the DTR line is seen in the lower left corner of the Wizard window. F2 toggles the RTS line. Pressing F2 the first time after the Wizard is started will halt the flow of data from the DNT900. Pressing the F2 key again will re-enable data flow. The current status of the RTS line is also seen in the lower left corner of the Wizard window. Figure 5.5.4 shows the DNT Wizard System tab contents, corresponding to parameter Bank 1. The default parameters under this tab have been modified to change from CDMA to TDMA operation.  Figure 5.5.4
 www.RFM.com  Technical support +1.800.704.6079  Page 47 of 58 ©2008 by RF Monolithics, Inc.  E-mail: tech sup@rfm.com  DNT900 - 11/05/08 Figure 5.5.5 shows the DNT Wizard Status tab contents, corresponding to parameter Bank 2. Note the Status tab contains read-only parameters.  Figure 5.5.5 Figure 5.5.6 shows the DNT Wizard Serial tab contents corresponding to parameter Bank 3. The values shown below are the defaults for serial port operation.  Figure 5.5.6
 www.RFM.com  Technical support +1.800.704.6079  Page 48 of 58 ©2008 by RF Monolithics, Inc.  E-mail: tech sup@rfm.com  DNT900 - 11/05/08 Figure 5.5.7 shows the DNT Wizard Protocol tab contents, corresponding to parameter Bank 4. Trans-parent data serial communication is currently chosen.  Figure 5.5.7 Figure 5.5.8 shows the DNT Wizard I/O Peripherals tab contents, corresponding to parameter Bank 5. GPIO ports 0 - 2 are logic high, GPIO port 3 is logic low. The 10-bit ADC inputs and PWM outputs are given in Big-Endian byte order.  Figure 5.5.8
 www.RFM.com  Technical support +1.800.704.6079  Page 49 of 58 ©2008 by RF Monolithics, Inc.  E-mail: tech sup@rfm.com  DNT900 - 11/05/08 Figure 5.5.9 shows the DNT Wizard I/O Setup tab contents, corresponding to parameter Bank 6. This tab allows the direction of the GPIO ports to be set both for active and sleep mode. The power-up initial values of the GPIO outputs can also be specified, and whether an input can generate a wake-up interrupt. GPIO event messaging and/or periodic reporting and reporting interval can also be specified under this tab. The ADC sampling interval and the high and low thresholds for event reporting on each ADC channel can be set, along with the start-up output values for each PWM (DAC) channel.  Figure 5.5.9 Figure 5.5.10 shows the DNT Wizard RF Tests tab contents. A message placed in the Transmit Window is sent to the specified MAC address each time the Apply button is pressed. Messages received are displayed in the lower text box. The receive message text box can be cleared with the Clear button. Note that a base station will accept a message from a remote with the MAC address 0x000000 regardless of the base station’s actual MAC address.
 www.RFM.com  Technical support +1.800.704.6079  Page 50 of 58 ©2008 by RF Monolithics, Inc.  E-mail: tech sup@rfm.com  DNT900 - 11/05/08   Figure 5.5.10
 www.RFM.com  Technical support +1.800.704.6079  Page 51 of 58 ©2008 by RF Monolithics, Inc.  E-mail: tech sup@rfm.com  DNT900 - 11/05/08 5.6 DNT900 Interface Board Features The location of LEDs D1 through D4 and jumper pin sets J14 and J17 are shown in Figure 5.6.1.  Figure 5.6.1 Amber DCD LED D4 illuminates on a remote to indicate it is registered with the base station and can participate in RF communications. LED D4 illuminates on the base station when one or more remotes are registered to it. Green Activity LED D1 illuminates on a remote when transmitting data, and illuminates on a base when receiving data. Red Receive LED D3 illuminates when sending received data through the serial port to the PC. Green Transmit LED D2 illuminates when the PC sends data through the serial port to be transmitted. Jumper pin set J14 is provided to allow measurement of the DNT900P current. For normal operation J14 has a shorting plug installed. Jumper pin set J17 allows the DNT900P CFG pin to be grounded by install-ing a shorting plug. This places the DNT900P in protocol mode.
 www.RFM.com  Technical support +1.800.704.6079  Page 52 of 58 ©2008 by RF Monolithics, Inc.  E-mail: tech sup@rfm.com  DNT900 - 11/05/08  Figure 5.6.2  Figure 5.6.2 shows the connectors to the right of the DNT900P mounting socket. Jumper pin set J9 allow the DNT900P reset line to be routed to JTAG interface connector J10. J18 allows the DNT900P reset line to be grounded. Note that the JTAG operation is usually limited to factory testing. For normal operation pin sets J9 and J18 should not have a shorting block installed. Jumper pin sets J12 and J13 normally have shorting plugs installed as shown in Figure 5.6.2, which connects the DNT900P UART0_TXD and UART0_RXD pins to the respective serial data lines on the evaluation board. It is possible to connect directly to UART0_TXD and UART0_RXD by moving the jumpers over. In this case, J1 1-1 is the input for transmitted data and J1 1-2 is the output for received data. Note this a 3 V logic interface. Placing a short-ing plug on jumper pin set J6 allows the DNT900P to be powered up in boot loader mode. This is used for factory code loads and functional testing. The DNT900 has its own boot loader utility that allows the protocol firmware to be installed with a terminal program that supports YMODEM. Pin strip J7 provides access to various DNT900 pins as shown on the silkscreen. Pressing switch SW2 will reset the DNT900P.
 www.RFM.com  Technical support +1.800.704.6079  Page 53 of 58 ©2008 by RF Monolithics, Inc.  E-mail: tech sup@rfm.com  DNT900 - 11/05/08  Figure 5.6.3 Figure 5.6.3 shows the connectors to the left of the DNT900P mounting socket. Pressing switch SW2 switches GPIO0 from logic high to logic low. Pin strip J8 provides access to various DNT900 pins as shown on the silkscreen. The wiper of pot R10 drives the input of ADC1. Clockwise rotation of the pot wiper increases the voltage. Thermistor RT1 is part of a voltage divider that drives ADC0. LED D5 illumi-nates when GPIO1 is set as a logic high output. LED D10 illuminates when GPIO3 is set as a logic high. The DNT900P interface board includes a 5 V regulator to regulate the input from the 9 V wall transformer power supply. Note: do not attempt to use the 9 V wall transformer power supply to power the DNT900P directly. The maximum allowed voltage input to the DNT900P is 5.5 V.
 www.RFM.com  Technical support +1.800.704.6079  Page 54 of 58 ©2008 by RF Monolithics, Inc.  E-mail: tech sup@rfm.com  DNT900 - 11/05/08 6.0 Demonstration Procedure The procedure below provides a quick demonstration of the DNT900 using a DNT900DK development kit: 1.  Confirm that each DNT900P is installed correctly in an interface board, and that the U.FL jumpers between the DNT900P radios and the interface boards are installed. Also confirm that a dipole antenna is installed on each interface board, and that J14 has a jumper block installed on each interface board. See Figures 5.4.1, 5.4.2 and 5.4.3 above. 2.  Attach each transceiver/interface board to a computer with the DNT Wizard program installed. 3.  Place the transceivers at least 3 feet (one meter) apart. 4.  Start the DNT Wizard program on both computers. 5.  On each computer, press the Connect button on the Wizard window. This will open a serial port setup dialog box. Set the baud rate to 115.2 kb/s and select the COM port the DNT900 is con-nected to. Parameter values on the left of the Wizard main window and on the Transceiver Setup tab will fill in. 6.  Select the RF Test tab on the Wizard. A message placed in the Transmit Window is sent to the specified MAC address each time the Apply button is pressed. Messages received are displayed in the lower text box. The receive message text box can be cleared with the Clear button.
 www.RFM.com  Technical support +1.800.704.6079  Page 55 of 58 ©2008 by RF Monolithics, Inc.  E-mail: tech sup@rfm.com  DNT900 - 11/05/08 7.0 Troubleshooting DNT900 not responding - make sure DTR is asserted (logic low) to bring the radio out of sleep mode. Can not enter protocol mode - make sure the host data rate is correct. The DNT900 defaults to 115.2 kb/s. If using the escape sequence command, make sure a pause of at least 20 ms precedes the escape sequence. A remote never detects carrier (DCD) - check that the base station is running, and that the remote Ini-tialNwkID parameter is the same as the base station, or is set to 0xFF. Also check that remote is receiv-ing an adequate signal from the base station. Carrier is detected, but no data appears to be received - make sure that RTS is asserted to enable re-ceive character flow. Make sure the RF transmit power is not on a high settings if the nodes are close together. The DNT900 is interfering with other nearby circuits - It is possible for the RF energy from the DNT900 to be rectified by nearby circuits that are not shielded for RF, manifesting as a lower frequency pulse noise signal. If possible, place the antenna at least 1 foot away from the transceiver module, and 3 feet from other system circuit boards. Place sensitive circuits in a grounded metal casing to keep out RFI. Range is extremely limited - this is usually a sign of a poor antenna connection or the wrong antenna. Check that the antenna is firmly connected. If possible, remove any obstructions in the near field of the antenna (nominal 3 ft radius). Transmitting terminal flashes (drops) CTS  occasionally - this indicates that the  transmitter  is unable to reliably  get its data  across. This may be  the result of an  interfering signal, but most often  is  caused by overloading of the network. Adjusting the protocol parameters may increase the network efficiency. Receiving terminal drops characters periodically - set the number of retries to a high number and send a few characters. Check that the transmitted data can get through under these conditions. Sometimes this symptom is caused by an application that is explicitly dependent on the timing of the received data stream. The nature of an RF channel imposes a degree of uncertainty in end-to-end transmission delay.
 www.RFM.com  Technical support +1.800.704.6079  Page 56 of 58 ©2008 by RF Monolithics, Inc.  E-mail: tech sup@rfm.com  DNT900 - 11/05/08 8.0 Appendices 8.1 Ordering Information DNT900C: transceiver module for solder pad mounting DNT900P: transceiver module for pin-socket mounting 8.2 Technical Support For DNT900 technical support call RFM at (678) 684-2000 between the hours of 8:30 AM and 5:30 PM Eastern Time.
 www.RFM.com  Technical support +1.800.704.6079  Page 57 of 58 ©2008 by RF Monolithics, Inc.  E-mail: tech sup@rfm.com  DNT900 Integration Guide - 10/20/08      8.3 DNT900 Mechanical Specifications DNT900C Outline and Mounting Dimensions DNT900P Outline and Mounting Dimensions Dimensions in inches Figure 8.3.2 2.010 0.040 0.040 0.100 1__ 1.260 0.595 40 0.180 Dimensions in inches Figure 8.3.1 2.050 0.040 0.100 1.360 140 0.050 0.285 0.333
 www.RFM.com  Technical support +1.800.704.6079  Page 58 of 58 ©2008 by RF Monolithics, Inc.  E-mail: tech sup@rfm.com  DNT900 Integration Guide - 10/20/08  DNT900P Interface Connector PCB Layout Detail Connectors are FCI Electronics 75915-420LF or equivalent Dimensions in inches and (mm) Figure 8.3.3  0.1 (2.5)  0.1 (2.5) Minimum plated PCB hole diameter 0.03 (0.75) 1.26   1.9 (48.3)  2 . 0 (50.8)
 www.RFM.com  Technical support +1.800.704.6079  Page 59 of 58 ©2008 by RF Monolithics, Inc.  E-mail: tech sup@rfm.com  DNT900 Integration Guide - 10/20/08 9.0 Warranty Seller warrants solely to Buyer that the goods delivered hereunder shall be free from defects in materials and workmanship, when given normal, proper and intended usage, for twelve (12) months from the date of delivery to Buyer. Seller agrees to repair or replace at its option and without cost to Buyer all defective goods sold hereunder, provided that Buyer has given Seller written notice of such warranty claim within such warranty period. All goods returned to Seller for repair or replacement must be sent freight prepaid to Seller’s plant, provided that Buyer first obtain from Seller a Return Goods Authorization before any such return. Seller shall have no obligation to make repairs or replacements which are required by normal wear and tear, or which result, in whole or in part, from catastrophe, fault or negligence of Buyer, or from improper or unauthorized use of the goods, or use of the goods in a manner for which they are not de-signed, or by causes external to the goods such as, but not limited to, power failure. No suit or action shall be brought against Seller more than twelve (12) months after the related cause of action has oc-curred. Buyer has not relied and shall not rely on any oral representation regarding the goods sold here-under, and any oral representation shall not bind Seller and shall not be a part of any warranty. THE PROVISIONS OF THE FOREGOING WARRANTY ARE IN LIEU OF ANY OTHER WARRANTY, WHETHER EXPRESS OR IMPLIED, WRITTEN OR ORAL (INCLUDING ANY WARRANTY OR MERCHANT ABILITY OR FITNESS FOR A PARTICULAR PURPOSE). SELLER’S LIABILITY ARISING OUT OF THE MANUFACTURE, SALE OR SUPPLYING OF THE GOODS OR THEIR USE OR DISPOSITION, WHETHER BASED UPON WARRANTY, CONTRACT, TORT OR OTHERWISE, SHALL NOT EXCEED THE ACTUAL PURCHASE PRICE PAID BY BUYER FOR THE GOODS. IN NO EVENT SHALL SELLER BE LIABLE TO BUYER OR ANY OTHER PERSON OR ENTITY FOR SPECIAL, INCIDENTAL OR CONSEQUENTIAL DAMAGES, INCLUDING, BUT NOT LIMITED TO, LOSS OF PROFITS, LOSS OF DATA OR LOSS OF USE DAMAGES ARISING OUT OF THE MANUFACTURE, SALE OR SUPPLYING OF THE GOODS. THE FOREGOING WARRANTY EXTENDS TO BUYER ONLY AND SHALL NOT BE APPLICABLE TO ANY OTHER PERSON OR ENTITY INCLUDING, WITHOUT LIMITATION, CUSTOMERS OF BUYERS.

Navigation menu