OTC Wireless AZY2405SWG User Manual manual
OTC Wireless Inc manual
manual

AirEZY2405-SWGTM
Multi-Channel wireless Ethernet LAN
by
OTC Telecom, Inc.
user’s manual
Copyright

© 1996 OTC Telecom Inc., San Jose, CA. All rights reserved. This manual is copyrighted with all
rights reserved. No part of this publication may be reproduced, transmitted, transcribed, stored in a
retrieval system or translated into any language in any form by any means without the written
permission of OTC Telecom, Incorporated.
Trademarks
AirEZY2405-SWG, the AirEZY logo, OTC Telecom Inc., and the OTC Telecom logo are trademarks of
OTC Telecom, Inc. NetWare and Personal NetWare are trademarks of Novell, Inc. Windows,
Windows 95, and Windows NT are trademarks of Microsoft Corporation, Apple, AppleTalk,
Macintosh, PowerBook, Power PC are trademarks of Apple, and Pentium is a trademark of Intel. All
other trademarks are the property of their respective owners.
Limited Warranty, Disclaimer, Limitation of Liability
For a period of one (1) year from the date of purchase by the retail customer, OTC Telecom Inc.,
warrants the AirEZY2405-SWG wireless LAN against defects in materials and workmanship. OTC
Telecom will not honor this warranty if there has been any attempt to tamper with or remove the unit’s
chassis.
This warranty does not cover and OTC Telecom will not be liable for any damage or failure caused by
misuse, abuse, acts of God, accidents, or other causes beyond OTC Telecom’s control, or claim by
other than the original purchaser.
If, after inspection, OTC Telecom determines there is a defect, OTC Telecom will repair or replace the
AirEZY2405-SWG unit at no cost to you. To return defective merchandise to OTC Telecom please
call OTC Telecom Customer Service at (408) 245-6888 to obtain a Return Merchandise Authorization
(RMA) Number.
In no event shall OTC Telecom, Incorporated be responsible or liable for any damages arising:
• From the use of the product
• From the loss of use, revenue or profit of the product; or
• As a result of any event, circumstance, action, or abuse beyond the control of OTC Telecom,
Incorporated.;
Whether such damages be direct, indirect, consequential, special or otherwise and whether such
damages are incurred by the person to whom this warranty extends or a third party.
Warranty Return Policy
If you have a problem with your AirEZY2405-SWG product, please call OTC Telecom Technical
Support at (408) 245-6888. OTC Telecom Technical Support will assist with resolving any technical
difficulties you may have with your OTC Telecom product.
After calling OTC Telecom Technical Support, if your product is found to be defective, you may return
the product to OTC Telecom after obtaining an RMA number from OTC Telecom Customer Service.
The product must me returned in its original packaging. The RMA number should be clearly marked
on the outside of the box. OTC Telecom cannot be held responsible for any product returned without
an RMA number, and no product will be accepted without an RMA number.
When calling OTC Telecom, please provide the following information to expedite service:

• Customer account number
• Invoice number
• Date of Sale
• Model number of product
• Serial number of product
FCC Identification
MKZAZY2405SWG
FCC Warning
This equipment has been tested and found to comply with the limits for a Class B digital device,
pursuant to Part 15 of the FCC Rules. These limits are designed to provide reasonable protection
against harmful interference when the equipment is operated in a residential installation. This
equipment generates, uses, and can radiate radio frequency energy and, if not installed and used in
accordance with the instruction manual, may cause harmful interference to radio communications.
However, there is no guarantee that interference will not occur in a particular installation. If this
equipment does cause harmful interference to radio or television reception, which can be determined
by turning the equipment off and on, the user is encouraged to try to correct the interference by one or
more of the following measures:
-- Reorient or relocate the receiving antenna.
-- Increase the separation between the equipment and receiver.
-- Connect the equipment into an outlet on a circuit different from that to which the receiver is
connected.
-- Consult the dealer or an experienced radio/TV technician for help.

DECLARATION OF CONFORMITY
We OTC Telecom Inc.,
602 Chartcot Ave.
San Jose, CA, 95131
Telephone: (408)245-6888
Declare under our sole responsibility that the product
AirEZY2405-SWG
Complies with part 15 of FCC Rules. Operation
is subject to the following two conditions: (1) this device
may not cause harmful interference, and (2) this device must
accept any interference received, including interference that may
cause undesired operation.
CONTENTS
1.0 INTRODUCTION

1.1 SPECIFICATIONS
2.0 SYSTEM REQUIREMENTS
3.0 PRODUCT PACKAGE
4.0 AirEZY2405-SWG PLACEMENT
4.1 AirEZY2405-SWG INSTALLATION OVERVIEW
4.1.1 AirEZY2405-SWG: RJ-45 / 10 BASE T INSTALLATION AT THE FILE SERVER, HUB, OR
ROUTER
4.1.2 AirEZY2405-SWG: RJ-45 / 10 BASE T INSTALLATION AT THE CLIENT
1.0 Introduction
Congratulations on your purchase of OTC Telecom’s AirEZY2405-SWG. AirEZY2405-SWG is a “plug
and play” wireless Ethernet LAN network device that is user friendly while providing wireless
connectivity and high performance.

AirEZY2405-SWG offers the user easy installation and use. Simply connect AirEZY2405-SWG
directly to the Ethernet bus or network interface card (NIC) through the RJ-45 connectors. Your
AirEZY2405-SWG wireless LAN device will appear as a standard “wired” node to the network
operating system.
Another built in feature with your AirEZY2405-SWG is platform independence. AirEZY supports all
major network operating systems without the need of installing complex and time consuming software
drivers.
1.1 Specifications
Frequency: 2.400-2483.5 MHz
Modulation: Spread Spectrum QPSK
Data Rate: 2.0 Mbps
Channel Number: 5 Channels*
Channel #1 2422.0 MHz
#2 2432.0 MHz
#3 2442.5 MHz
#4 2452.0 MHz
#5 2462.0 MHz
*Channels are pre-set by the manufacturer.
2.0 System Requirements
To begin using your AirEZY2405-SWG wireless LAN, your system will need to meet the following
requirements for your file server and your client computer nodes:
» Server: Hardware--486 or Pentium PC, Apple Macintosh & PowerPC, UNIX Host (SUN,
DEC,...), IBM AS-400, and IBM Mainframe with an Ethernet Interface
Adapter.
» Hub / Router: Hardware--3Com, Cisco, Ascend, BayNetworks, etc....
NOS/Protocol--Novell NetWare, AppleTalk, LAN Manager, Windows 95, Windows NT
Server, TCP/IP, and SNA
» Client: Hardware--IBM PC/AT or compatible, Apple Macintosh & PowerPC, or any
workstation with an Ethernet Interface Adapter.
Driver/Protocol--ODI, NDIS, NETBIOS, AppleTalk, and Packet drivers.
» Peer to Peer: Hardware--486 or Pentium based desktop or laptop PC, Apple PowerBook,
with an Ethernet Interface Adapter. {Laptop computers requires the
user to have a Type II PC card (PCMCIA) LAN connection.} Must
have Peer to Peer software such as (Windows 95, Novell Personal
NetWare, AppleTalk, or any peer to peer Network Operating System)
» You will also need to run a minimum of two AirEZY2405-SWG units on your LAN.
3.0 Product Package
» AirEZY2405-SWG 1 unit AirEZY2405-SWG wireless LAN
1 each AirEZY2405-SWG users manual
1 each 5v DC power adapter
1 cable 3 ft White or Light BlueTX/RX twisted pair cable

1 cable 7 ft Dark Blue Cross over cable for Hub connection
1 each Plastic Retaining Plate
1 each Adhesive Pad
1 each Software Diagnostic Disk
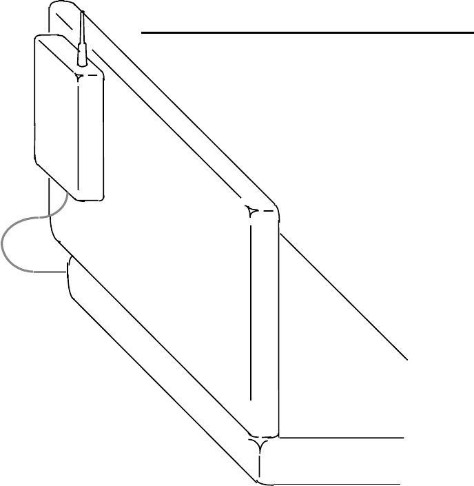
4.0 AirEZY2405-SWG Placement
After removing AirEZY2405-SWG from the shipping box, be sure to lay out all the contents to ensure
that all necessary components are accounted for before you begin the installation process. Refer to
Section 3.0 of this manual for a complete list of provided components. AirEZY2405-SWG is a spread
spectrum direct sequence transceiver unit. In order to maximize AirEZY2405-SWG’s full wireless
LAN capabilities, the proper placement of your AirEZY2405-SWG unit is crucial to its overall
performance.(See Appendix A) Place the AirEZY2405-SWG unit on top of your file server unit,
desktop PC, or lap top PC. AirEZY2405-SWG will perform the best when it is placed at a higher
location adjacent to your system. If possible, place the AirEZY2405-SWG unit in a location so that the
antenna extends above the top of your file server or computer.
4.1 AirEZY2405-SWG Installation Overview
AirEZY2405-SWG is designed to be easy and quick to install. The AirEZY2405-SWG has built in
auto-detection features that will auto-detect which application environment it is operating under, this
feature facilitates quick and easy installation.
In order to use your AirEZY2405-SWG wireless LAN, you must have purchased at least two units.
For optimum performance, AirEZY2405-SWG supports up to 6 units within a small work group
configuration (including the unit placed at the file server). (NOTE: If you intend to use the
AirEZY2405-SWG in a network configuration that requires more than 6 wireless nodes, we
highly recommend that you install the AirEZY2405-SWG-Access Point onto your wireless LAN
segment. Please call your OTC Telecom, Inc. sales representative or your authorized reseller
for additional access point information).
The following section describes three (3) standard installation scenarios for your AirEZY2405-SWG
wireless LAN installation:
CASE 1: Client / Server Installation without AirEZY2405-SWG-AP(Access Point)
In order to set up your wireless LAN, one AirEZY2405-SWG unit must be designated as an AirEZY-
Server. This unit automatically configures to become the “access point” on your wireless LAN
segment. The AirEZY-Server unit must be connected directly to a file server, hub , switch, or router on
your LAN segment for the client/server configuration to work properly. The other corresponding units
to be located at your remote PC, laptop, notebook, or printer device, will be configured as AirEZY-
Clients. In a typical office environment, place all the AirEZY2405-SWG units within a 350- 500 feet
radius of the AirEZY-Server unit. When installing your wireless network, be sure to connect and
power on the AirEZY-Server unit first! This step is crucial in allowing the auto-detection features to
be activated properly.
Diagram 1 Using AirEZY2405-SWG-SWG in Client/Server without AirEZY2405-SWG-AP

A
irEZY2460
-SWG
A
irEZY2460
-SWG
Serve
r
Hub
/
Switch
/
Route
r
A
irEZY2460SWG
CASE 2: Client / Server Installation using AirEZY2405-SWG-AP(Access Point) For additional
information refer to AirEZY2405-SWG-AP installation manual (included with AirEZY2405-SWG -
AP)
• When using AirEZY2405-SWG with more than six(6) wireless nodes, the AirEZY2405-SWG-
Access Point unit is highly recommended. Install the AirEZY2405-SWG-AP unit adjacent to your
file server or directly onto your hub. Be sure to use the proper UTP cables when connecting the
Access Point to your LAN segment. See Installation Manual for AirEZY2405-SWG-AP for
diagrams
• When using the AirEZY2405-SWG Access Point, be sure to connect and power on the access
point and the AirEZY2405-SWG RF transceiver unit before turning on any other AirEZY2405-
SWG-SWG wireless client units on your remote stations.
NOTE: The yellow LED on your AirEZY2405-SWG RF transceiver unit will exhibit a slow
steady flash pattern.
• Once the Access Point and the RF transceiver units are powered on, you are ready to turn on the
other remote stations. Once you power up the remote stations, the Yellow LED of the RF
transceiver unit and the wireless remote nodes of AirEZY2405-SWG-SWG will exhibit a very rapid
flash pattern.
Diagram 2 Using AirEZY2405-SWG-SWG in conjunction with AirEZY2405-SWG-AP
(Access Point) in Client/Server Configuration tethered to your wired LAN
Ethernet Back-bone
Server
Hub/Switch/Router
A
irEZY2460AP
A
ccess Point
AirEZY2460SWG
A
irEZY2460-SWG
AirEZY2460SWG

Diagram 3 Using AirEZY2405-SWG-SWG in conjunction with AirEZY2405-SWG-AP
(Access Point) in Client/Server Configuration in a stand-alone network
Server
A
irEZY2460AP
A
ccess Point
A
irEZY2460-SWG
AirEZY2460-SWG
CASE 3: Peer to Peer Installation
If you are planning to set up a peer to peer work group, instead of placing one AirEZY2405-SWG unit
at the file server, you will need to set it up at your lap top / note book PC, workstation or desktop PC.
For peer to peer application, place one AirEZY2405-SWG unit at your peer desktop or peer laptop PC,
place other AirEZY units at the other designated peer stations. In addition, peer to peer wireless LAN
applications requires Windows 95, Windows NT, Novell Personal NetWare, AppleTalk, or any network
operating system that supports peer to peer connectivity to be properly installed on your system in
advance.
Diagram 4 Using AirEZY2405-SWG-SWG in a Peer to Peer Configuration
A
irEZY2460
-SWG
A
irEZY2460
-SWG
A
irEZY2460
-SWG
4.1.1 AirEZY2405-SWG: RJ-45 / 10Base T Installation instructions at your file server:
1) Attach the provided gray RJ-45 / 10 base T cable to the AirEZY2405-SWG unit. NOTE: This
connection port is similar to a standard telephone jack connection. (Perform this procedure when
installing on the file server.)
2) Attach the other end of the gray cable to the server. This will connect the AirEZY2405-SWG to the
Network Interface Card (NIC) in your server. (Perform this procedure when installing on the file
server.)
3) Another option available is to connect the AirEZY2405-SWG to an open or free port on your
10Base T hub, router, or switch with the RED cross over twisted pair cable.
4) At this stage of the installation process, check that the AirEZY2405-SWG unit is properly
orientated, be sure that the unit’s antenna extends beyond the chassis of the file server or hub. Also,
ensure that all RJ-45 / 10Base T connections are in place on the network and on your AirEZY2405-
SWG unit.

5) At this point, insert the power adapter plug into the AirEZY2405-SWG unit. Find a convenient plug
location adjacent to your file server and plug in the power adapter.
6) After being plugged in, the AirEZY2405-SWG unit will begin a series of self diagnostic tests. This
series of tests will last for approximately a few brief seconds as it begins the Auto Detection Mode.
(Do not power on any other AirEZY units at this time!)
6) Once the power is on, the LEDs on the front panel will flash in the following pattern:
LED color Pattern Duration Indication
Step1 Yellow (Link) series of 1 sec Power on diagnostic /
short flashes 10BaseT Detection /
Auto Detection Mode
Step 2 yellow (Link) series of 1 long continuous Poor UTP cable connection
and 1 short -or-No UTP cable detected
flash
Step 3 yellow (Link) constant slow continuous Security function invoked
until other UTP cable connection
unit is linked detected and condition “OK”
Red (TX) on and off short
Step 4 yellow (link) constant rapid flash continuous when client unit is “ON”
LED Display when network is properly configured:
LED color Pattern Duration Indication
Yellow (Link) constant rapid continuous Normal server/client
flash activity ( After client
installation is completed!)
green (RX) constant on continuous Receive/RX
red (TX) variable variable Transmit/TX
red (On) constant on continuous Power indicator
Note:……………….(OK)
7) If the LED’s are exhibiting the proper……characteristics, you have successfully installed the WL-
2000………..(OK)
8) At this point, …………(OK)
9) Note: If the yellow LED on both units is exhibiting a constant slow flash pattern after being
powered on. Please use Security and Diagnostics Program to make sure that both units are
setting up with the same channel and RF security code. If channel setting and security code are
correct, this signifies that the radio signal is weak and RF link…….(OK)
10) Note: If all four LEDs are “ON” when powered the unit, it indicates the program is not loaded into
the system and reset the system until it works normally. If the problem persists, call for an RMA
number and send the unit back for repair.

4.1.2 AirEZY2405-SWG: RJ-45 / 10Base T Installation instructions for your client sites:
This section of the manual will provide you with the instructions for installing the AirEZY2405-SWG
client portion of your wireless LAN.
1) Attach the AirEZY2405-SWG to one RJ-45 cable just as you would install a standard Ethernet
station node when using a standard twisted pair cable. NOTE: This connection port is similar to a
standard telephone jack connection.
2) Attach one end of the cable to your desktop or portable computer and the other end of the cable to
the AirEZY2405-SWG.
NOTE: Be sure to have a Ethernet network card or PC card(PCMCIA Ethernet card) installed on your
desktop PC or portable PC.
3) At this stage of the installation process, check the orientation of AirEZY2405-SWG unit * .
Ensure that all RJ-45 10 Base T connections are in place on the network and on your AirEZY2405-
SWG unit.
4) Before plugging in the first AirEZY2405-SWG client unit at your desktop PC or workstation, be sure
that your AirEZY2405-SWG unit at your file server is ready to be linked. (Refer to the table in either
Section 4.1.1 for standard AirEZY2405-SWG operating conditions at the file server). At this point,
insert the power adapter plug into the AirEZY2405-SWG unit. Find a convenient plug location
adjacent to your desktop PC or portable PC.
•
••
• See Appendix A
5) After being plugged in, the AirEZY2405-SWG unit will begin a series of self diagnostic tests. This
series of tests will last for a few brief seconds as it begins the auto detection mode.
6) Once the power is on, the LEDs on the front panel will flash in the following pattern:
LED color Pattern Duration Indication
yellow long flash 2 secs. Power on diagnostic
and auto-detection
yellow series of 1 long continuous Poor UTP cable connection
and 1 short flash -or-No UTP cable detected
constant rapid continuous Normal client/peer
flash activity
yellow series of 1 long continuous Security check denied by
and 2 short flashes server
green constant on continuous Receive/RX
red variable variable Transmit/TX
red constant on continuous Power Indicator
6) Once the power is on, the LEDs on the front panel will flash in the following pattern:
LED color Pattern Duration Indication

Step1 Yellow (Link) series of 1 sec Power on diagnostic /
short flashes 10BaseT Detection
Step 2 yellow (Link) series of 1 long continuous Poor UTP cable connection
and 2 short -or-No UTP cable detected
flash
Step 3 yellow (Link) constant slow continuous Security function invoked
until other UTP cable connection
unit is linked detected and condition “OK”
Red (TX) on and off short
Step 4 yellow (link) constant rapid flash continuous when remote unit is “ON”
LED Display when network is properly configured:
LED color Pattern Duration Indication
Yellow (Link) constant rapid continuous Normal activity ( After
Remote installation is
completed!)
green (RX) constant on continuous Receive/RX
red (TX) variable variable Transmit/TX
red (On) constant on continuous Power indicator
Note:……………….(OK)
7) If the LED’s are exhibiting the proper……characteristics, you have successfully installed the WL-
2000………..(OK)
8) At this point, …………(OK)
9) Note: If the yellow LED on both units is exhibiting a constant slow flash pattern after being
powered on. Please use Security and Diagnostics Program to make sure that both units are
setting up with the same channel and RF security code. If channel setting and security code are
correct, this signifies that the radio signal is weak and RF link…….(OK)
10) Note: If all four LEDs are “ON” when powered the unit, it indicates the program is not loaded into
the system and reset the system until it works normally. If the problem persists, call for an RMA
number and send the unit back for repair.

Appendix A

Orientation of AirEZY2405-SWG