PHI Precision Reliant 5000 Exit Device & Trim Illustrated Parts Catalog Series Guide T83704a
User Manual: PHI Reliant 5000 Series Exit Device Illustrated Parts Guide Literature
Open the PDF directly: View PDF
.
Page Count: 56

CREDITS/COPYRIGHT
Copyright © 2010 Stanley Security Solutions, Inc. All rights reserved. Printed in the United
States of America.
Information in this document is subject to change without notice and does not represent a
commitment on the part of Stanley Security Solutions, Inc. The software described in this
document are furnished under a license agreement or nondisclosure agreement.
This publication is intended to be an accurate description and set of instructions pertaining
to its subject matter. However, as with any publication of this complexity, errors or omissions
are possible. Please call Stanley Security Solutions, Inc. at (317) 849-2250 if you see any
errors or have any questions. No part of this manual and/or databases may be reproduced or
transmitted in any form or by any means, electronic or mechanical, including photocopying,
recording, or information storage and retrieval systems, for any purpose, without the express
written permission of Stanley Security Solutions, Inc.
This document is distributed as is, without warranty of any kind, either express or implied,
respecting the contents of this book, including but not limited to implied warranties for the
publication’s quality, performance, merchantability, or fitness for any particular purpose.
Neither Stanley Security Solutions, Inc., nor its dealers or distributors shall be liable to the
user or any other person or entity with respect to any liability, loss, or damage caused or
alleged to be caused directly or indirectly by this publication.
TORX is a registered trademark of the Camcar Division of Textron.
T83704 Rev A – April 2010

PHI Reliant Illustrated Parts Catalog, Rev A iii
CONTENTS
CONTENTS 1–III
FIGURES 1–V
GETTING STARTED 1–1
Introduction 1–1
Overview 1–2
Before looking up the part 1–2
Models 1–2
ANSI Functions 1–2
Style 1–4
Finishes 1–5
Other options 1–5
Web Addresses 1–5
EXIT DEVICE OVERVIEW 2–1
5100 Reliant Rim Series 2–2
5100 Series parts guide 2–2
5200 Reliant Surface Vertical Rod Series 2–3
5200 Series parts guide 2–3

CONTENTS
iv PHI Reliant Illustrated Parts Catalog, Rev A
TRIM 3–1
Trim Components 3–1
Basic Styles 3–2
501, 602, 603 Trim 3–2
700 Trim with Pulls 3–3
800 Trim 3–4
Lever Assembly 3–5
FINISHED PARTS 4–1
Finished Parts 4–1
Common Finished Parts 4–2
Endcaps 4–3
Hinge Fillers 4–4
Alarm Hinge Fillers 4–5
TOUCHBAR COMPONENTS 5–1
Spring Touchbar Components 5–2
Sub-Bracket Assembly 5–3
ACTIVE CASE PARTS 6–1
5100 Active Case Parts 6–2
5200 Active Case Parts 6–3
STRIKES AND VERTICAL ROD COMPONENTS 7–1
Reliant Strikes 7–2
5200 SVR Bottom Latch 7–3
5200 SVR Top Latch 7–4
OTHER COMPONENTS 8–1
Mullions 8–2
Touchbar Switches 8–2
Exit Alarm Kits 8–3
Shims and Brackets 8–3
Screw Packs 8–3
GLOSSARY 9–1
INDEX I–1
Index by part number I–1
Index by part type I–3
Index by part description I–4

PHI Reliant Illustrated Parts Catalog, Rev A v
FIGURES
EXIT DEVICE OVERVIEW
5100 Reliant Rim Exit Device 2–2
5200 Reliant Surface Vertical Rod (SVR) Exit Device 2–3
TRIM
501, 602 and 603 Trim 3–2
700 Series Pulls 3–3
800 Series Trim 3–4
800 Lever 3–5
FINISHED PARTS
Overview of common finished parts 4–2
Endcap for all devices 4–3
Basic hinge filler styles 4–4
Alarm hinge filler parts 4–5
TOUCHBAR COMPONENTS
Spring type mechanism 5–2
Sub-bracket assembly for hex and cylinder dogging units only. 5–3
ACTIVE CASE PARTS
5100 Active Case 6–2
5200 Active Case parts 6–3

PHI Reliant Illustrated Parts Catalog, Rev A 1–1
1
GETTING STARTED
INTRODUCTION
The Stanley PHI Reliant 5000 Series Touchbar Style Exit Device is the
Exit Device of choice when an economical and reliable exit device is
required. All Reliant 5000 Series Exit Devices are UL listed for panic and
fire hardware and are certified to ANSI A156.3 Grade 1. The Reliant Series
is available in durable powder coat finishes with a variety of trim styles
and functions. The chassis is constructed of stainless steel and covers the
standard type 161 door preparation.

Getting Started
1–2 PHI Reliant Illustrated Parts Catalog, Rev A
OVERVIEW
Before
looking up
the part
Before looking up the part, know the model of the exit device, the
function it performs, which style lever, knob, or grip you presently have,
and what type of finish is on it. All these parameters are important to
ordering the proper parts for your device.
Please read any footnotes, as they may contain important information
concerning options for your unit or your parts.
Models 5100 Rim Devices
5200 Surface Vertical Rod Exit Devices
ANSI
Functions
The following illustrations show how the outside lever/knob/thumbpiece,
the inside touchbar, and the latchbolt operate. The illustrations show a
5100 series exit device, but the functionality is the same for all models of
exit device. Functionality is described in the Reliant Exit Device product
catalog.
Figure 1.1 Understanding function diagrams
Lever/Knob/Pull/Thumbpiece Key
Cylinder
Latch
Active case Touchbar
Touchpad
Door
Strike
Outside
Inside
Overhead view

Getting Started
PHI Reliant Illustrated Parts Catalog, Rev A 1–3
ANSI function 01 -- Exit only
ANSI function 02 -- Dummy trim
ANSI function 03 -- Key retracts latchbolt
Figure 1.2 Function 01
Figure 1.3 Function 02
Figure 1.4 Function 03
Latchbolt operated by:
inside touchbar
Outside lever locked/unlocked by:
N/A
Inside touchbar is always active.
Latchbolt operated by:
inside touchbar
Outside lever is:
always rigid
Inside touchbar is always active.
Latchbolt operated by:
outside key
inside touchbar
Outside lever is:
always rigid
Inside touchbar is always active

Getting Started
1–4 PHI Reliant Illustrated Parts Catalog, Rev A
ANSI function 08 -- Key locks/unlocks lever/knob
ANSI function 14 -- No lock
Style • Know which of the many styles of trim and levers your unit requires.
• Know which options your unit has.
• Know if your unit has a fire (FL) rating, it requires special ordering of
the parts.
Figure 1.5 Function 08
Figure 1.6 Function 14
ANSI
Function Description
01 Exit only (cover plate) - Uses a push plate trim with no lever, grip or knob
02 Dummy trim - Uses a lever, grip or knob that does not engage any
mechanism
03 Key retracts latchbolt - Uses a cylinder to retract the latch
08 Key locks/unlocks lever/knob - Uses a cylinder to lock/unlock the lever or
knob
14 No cylinder - lever/knob always active - Lever or knob always retracts the
latch
Latchbolt operated by:
outside lever when not locked
inside touchbar
Outside lever locked/unlocked by:
outside key
Inside touchbar is always active
Latchbolt operated by:
outside lever
inside touchbar
Outside lever is:
always active
Inside touchbar is always active

Getting Started
PHI Reliant Illustrated Parts Catalog, Rev A 1–5
Finishes
Other options
If you are unsure of which part you need, please contact your Stanley
Security Solution dealer or call direct to 1-800-392-5209.
Web
Addresses
Precision Hardware -- www.precisionhardware.com.
Stanley Securtity Solutions -- www.stanleysecuritysolutions.com.
ANSI/BHMA Description
600 Primed for Paint (Mullions only)
689 Aluminum Paint
695 Dark Bronze Paint
Abbreviation Description
ALK Exit Alarm: battery operated
ALW Exit Alarm: remote power
CD Cylinder Dogging
FL Fire Exit Hardware
LD Less Dogging
SNB Sex Nut and Bolt
TDS Touchbar Monitoring Double Switch
TS Touchbar Monitoring Switch

Getting Started
1–6 PHI Reliant Illustrated Parts Catalog, Rev A

PHI Reliant Illustrated Parts Catalog, Rev A 2–1
2
EXIT DEVICE OVERVIEW
This chapter provides top level diagrams for various Reliant 5000
models of Exit Devices. It gives direction as to where in this manual
more detailed information on the separate components of that model
may be found.
The diagrams show a basic model. Details of usage and options are
listed in the component chapters. If you do not find the optional or
specialized part, see Chapter 8 "Other Components."

Exit Device Overview
2–2 PHI Reliant Illustrated Parts Catalog, Rev A
5100 RELIANT RIM SERIES
5100 Series
parts guide
Refer to Figure 2.1 and the table below to find the basic chapter you
need.
Complete touchbar mechanisms and active cases are sold as one unit.
Internal parts are shown separately.
Figure 2.1 5100 Reliant Rim Exit Device
Item Description Chapter
1 End Cap See Chapter 4
2 Finished Parts See Chapter 4
3 Touchbar Mechanisms See Chapter 5
4 Active Case Cover See Chapter 4
5 Active Case Assembly See Chapter 6
6 Trim See Chapter 3
7 Strike/Latch/Rods See Chapter 7

Exit Device Overview
PHI Reliant Illustrated Parts Catalog, Rev A 2–3
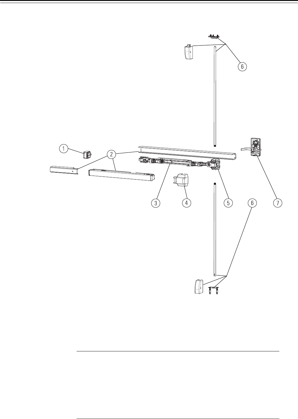
5200 RELIANT SURFACE VERTICAL ROD SERIES
5200 Series
parts guide
Refer to Figure 2.2 and the table below to find the chapter you need.
Figure 2.2 5200 Reliant Surface Vertical Rod (SVR) Exit Device
Item Description Chapter
1 End Cap See Chapter 4
2 Finished Parts See Chapter 4
3 Touchbar Mechanisms See Chapter 5
4 Active Case Cover See Chapter 4
5 Active Case Assembly See Chapter 6
6 Strike/Latch/Rods See Chapter 7
7 Trim See Chapter 3

Exit Device Overview
2–4 PHI Reliant Illustrated Parts Catalog, Rev A

PHI Reliant Illustrated Parts Catalog, Rev A 3–1
3
TRIM
Trim
Components
To order replacement trim components, please note which function
your exit device performs and what type of finish is on it. For a detailed
list of functionality, see ANSI Functions on page 1–2.
All trim is field reversible. See installation instructions for further details.
ANSI
Function Description
01 Exit only (cover plate)
02 Dummy trim
03 Key retracts latchbolt
08 Key locks/unlocks lever/knob
14 No cylinder - lever/knob always active
ANSI/BHMA Description
689 Aluminum Paint
695 Dark Bronze Paint

Trim
3–2 PHI Reliant Illustrated Parts Catalog, Rev A
BASIC STYLES
The Reliant 5000 trim comes in a variety of styles. When ordering
replacement parts, insure you have the correct style, function and finish.
501, 602, 603 TRIM
* Specify finish when ordering these parts.
Trim Series Lever Grip Plate
500
600
700
800
Figure 3.1 501, 602 and 603 Trim
Item Part Number Description Qty
1 00199-04 * 501 Trim Assembly 1
2 00200-04 * 602 Trim Plate Assembly 1
3 00201-04 * 603 Trim Plate Assembly 1
4 02122-09 Cylinder Sleeve Kit 1

Trim
PHI Reliant Illustrated Parts Catalog, Rev A 3–3
700 TRIM WITH PULLS
* Specify finish when ordering these parts.
Figure 3.2 700 Series Pulls
Item Part Number Description Qty
1 00206-04 * 702 Trim Plate Sub Assembly 1
2 03152-04 * 700 Trim Grip Kit (includes items 3, 4, and 5) 1
3 00233-54 Trim Stud 1
4 00222-50 Stud, Reliant Trim 1
5 00323-54 * A Grip 1
6 02122-09 Cylinder Sleeve Kit 1
7 00207-04 * 703 Trim Plate Sub Assembly 1

Trim
3–4 PHI Reliant Illustrated Parts Catalog, Rev A
800 TRIM
* Specify finish when ordering these parts.
Figure 3.3 800 Series Trim
Item Part Number Description Qty
1 00222-50 Stud, Reliant Trim 2
2 00191-50 Backplate, Reliant Rim 1
3 00203-50 * Escutcheon, 14 Trim, Reliant 1
4 02123-09 Cylinder Attachment, Reliant Lever Trim 1
5 00615-04 Backplate Assembly, 800 Trim 1
6 00202-50 * Escutcheon, 08 Trim, Reliant 1
808A ESCUTCHEON
814A ESCUTCHEON

Trim
PHI Reliant Illustrated Parts Catalog, Rev A 3–5
LEVER ASSEMBLY
* Specify finish when ordering these parts.
All levers are field reversible. See installation instructions for further
details.
Figure 3.4 800 Lever
Item Part Number Description Qty
02760-04 * Complete A Lever Kit RHRB Reliant Trim
(includes all parts shown)
02761-04 * Complete A Lever Kit LHRB Reliant Trim
(includes all parts shown)
1 00214-50 Spindle Hub, Reliant Trim 1
2 00192-50 Tail Piece, Reliant Trim 1
3 00617-91 Retaining Ring,.375 dia Shaft 1
4 00213-50 Hub, Reliant Trim 1
5 00223-89 Spring, Torsion, Reliant Trim 1
6 00616-04 * A Lever Assembly Reliant 1

Trim
3–6 PHI Reliant Illustrated Parts Catalog, Rev A

PHI Reliant Illustrated Parts Catalog, Rev A 4–1
4
FINISHED PARTS
Finished Parts To order replacement trim components, please note which function
your exit device performs, and what type of finish is on it. For a detailed
list of functionality, see ANSI Functions on page 1–2.
If you need replacements for units rated for fire (FL), contact your
Stanley Security Solution dealer or call direct to 1-800-392-5209.
ANSI
Function Description
01 Exit only (cover plate)
02 Dummy trim
03 Key retracts latchbolt
08 Key locks/unlocks lever/knob
14 No cylinder - lever/knob always active
ANSI/BHMA Description
689 Aluminum Paint
695 Dark Bronze Paint

Finished Parts
4–2 PHI Reliant Illustrated Parts Catalog, Rev A
COMMON FINISHED PARTS
If you need replacements for units rated for fire (FL), contact your Stanley
Security Solution dealer or call direct to 1-800-392-5209.
Specify finish when ordering these parts.
Figure 4.1 Overview of common finished parts
Item Part Number Description Qty 3 ft 4 ft
1 See page 4–3. Endcap 1
2 00120-52 Device Channel 1
00122-52 1
3 See page 4–4. Hinge Filler 1
4 00160-02 Touchpad Sub-assembly 1
00162-02 1

Finished Parts
PHI Reliant Illustrated Parts Catalog, Rev A 4–3
ENDCAPS
Figure 4.2 Endcap for all devices
Used on
Item Part Number Description Qty Standard Electric
00778-02 Endcap Device (includes cover, bracket and hardware) 1
03306-02 1
1 02104-09 Screw Pack, Endcap Screws (2 screws) 1
2 00133-52 Endcap Cover 1
3 00305-02 Endcap Mounting Bracket 1
4 01723-56 Grommet (Electric only) 1

Finished Parts
4–4 PHI Reliant Illustrated Parts Catalog, Rev A
HINGE FILLERS
* Specify finish when ordering these parts.
Figure 4.3 Basic hinge filler styles
Item Part Number Description Qty 3 ft 4 ft
1 00236-52 * Plain Hinge Filler 1
00237-52 * 1
2 00240-52 * Hex Hinge Filler 1
00241-52 * 1
3 00489-02 * CD Hinge Filler (includes hardware) 1
00490-02 * 1
4 00491-06 * Alarm- ALK Filler (includes hardware and
chassis)
1
00492-06 * 1
00493-06 * Alarm - ALW Filler (includes hardware
and chassis)
1
00494-06 * 1
Not
shown
00220-93 Dogging Key (optional) 1
02105-09 Cylinder Attachment Kit (includes collar,
cylinder locating washer, and lock nut)

Finished Parts
PHI Reliant Illustrated Parts Catalog, Rev A 4–5
ALARM HINGE FILLERS
* Specify finish when ordering these parts.
Figure 4.4 Alarm hinge filler parts
Item Part Number Description Qty ALK ALW
1 00248-52 * Hinge Filler for 00491-06 1
00249-52 * Hinge Filler for 00492-06 1
00248-52 * Hinge Filler for 00493-06 1
00249-52 * Hinge Filler for 00494-06 1
2 01460-56 Lens, LED 1
3 00699-06 * Alarm Chassis Assembly 1
00899-06 * Alarm Chassis Assembly 1
4 02310-09 * ALK Hardware Pack 1
5 02309-09 * ALW Hardware Pack 1
Item Part Number Description Qty
1 00872-92 “Emergency Exit Only” Label 1
2 00672-92 “Arm/Disarm” Label 1

Finished Parts
4–6 PHI Reliant Illustrated Parts Catalog, Rev A

PHI Reliant Illustrated Parts Catalog, Rev A 5–1
5
TOUCHBAR COMPONENTS
This chapter provides diagrams and part numbers for the components
of the touchbar mechanism associated with Reliant 5000 Exit Devices.
Please read through all the options to ensure you select the proper part
for your unit.

Touchbar components
5–2 PHI Reliant Illustrated Parts Catalog, Rev A
SPRING TOUCHBAR COMPONENTS
NOTE: Fire rated equipment may never be dogged.
Figure 5.1 Spring type mechanism
Door width Dogging Type
Item Part Number Description Qty 3 ft 4 ft Hex CD FL
1 02130-52 Touchbar Guide 2
2 00110-52 Bumper 2
3 00108-52 Bracket, Touchbar 2
4 00228-91 Retaining Ring 8
5 00449-90 Pin, Pivot 8
6 00111-52 Beam 2
7 00131-89 Spring, Touchbar 1
8 00702-02 Dogging Channel Assembly 1
00701-02 1
9 Not sold
separately
Consolidated Mounting Bracket

Touchbar components
PHI Reliant Illustrated Parts Catalog, Rev A 5–3
SUB-BRACKET ASSEMBLY
NOTE: Fire rated equipment may never be dogged.
Figure 5.2 Sub-bracket assembly for hex and cylinder dogging units only.
Dogging Type
Item Part Number Description Qty Hex CD
100115-52 Bracket, Hex Key 1
200254-91 E-clip, .250 dia Shaft 1
300253-91 1/4 Curved Spring Washer 1
400252-52 Dogging Fastener 2
500253-91 1/4 Curved Spring Washer 2
600116-52 Dogging Cam 1
700114-52 Dogging Hook 1
8Not sold
separately
Consolidated Mounting
Bracket
900254-91 E-clip, .250dia Shaft 2
10 00220-93 Dogging Key 1

Touchbar components
5–4 PHI Reliant Illustrated Parts Catalog, Rev A

PHI Reliant Illustrated Parts Catalog, Rev A 6–1
6
ACTIVE CASE PARTS
This chapter provides diagrams and part numbers for the Active Case
(chassis) used on the PHI Reliant 5100 and 5200 Exit Devices.

Active Case Parts
6–2 PHI Reliant Illustrated Parts Catalog, Rev A
5100 ACTIVE CASE PARTS
RHRB and LHRB are mirror images of each other.
If you need replacements for units rated for fire (FL), contact your Stanley
Security Solution dealer or call direct to 1-800-392-5209.
Figure 6.1 5100 Active Case
Item Part Number Description Qty
1 00228-91 Retaining Ring, .188 dia Shaft 3
2 00279-51 Touch Bar Lever 1
3 00287-90 Pin, Pivot, Latchbolt 2
4 00147-51 Deadlock Lever 1
5 Not sold separarately Case Chassis 1
6 00412-91 Retaining Ring, .438 Shaft 1
7 00146-89 Spring, Deadlock Release 1
8 00284-51 Deadlock Release 1
9 00385-89 Spring, Latchbolt 1
10 00226-51 Latchbolt 1
11 00626-51 Touchbar Lever Guard, Reliant 1
12 00229-90 Pin, Pivot, Touchbar Lever 1
13 00328-89 Spring, Torsion 1
14 02474-01 Active Case Cover 1
15 00282-51 Cam, Reliant Rim, 21 Device 1

Active Case Parts
PHI Reliant Illustrated Parts Catalog, Rev A 6–3
5200 ACTIVE CASE PARTS
RHRB and LHRB are mirror images of each other.
If you need replacements for units rated for fire (FL), contact your
Stanley Security Solution dealer or call direct to 1-800-392-5209.
Figure 6.2 5200 Active Case parts
Item Part Number Description Qty
1 00229-90 Pin, Pivot, Touchbar Lever 1
2 00279-51 Touch Bar Lever 1
3 00626-51 Touchbar Lever Guard, Reliant 1
4 00228-91 Retaining Ring, .188dia Shaft 3
5 00156-90 Pin, Pivot, Reliant SVR 2
6 00282-51 Cam, Reliant Rim 1
7 02476-01 SVR Cover Kit (includes hardware) 1
8 Not sold separarately Case Chassis
9 00412-91 Retaining Ring, .438 Shaft 1
10 00280-51 Rod Carriage Lever, Reliant 1
11 00278-51 Rod Carriage, Reliant 1

Active Case Parts
6–4 PHI Reliant Illustrated Parts Catalog, Rev A

PHI Reliant Illustrated Parts Catalog, Rev A 7–1
7
STRIKES AND VERTICAL ROD
COMPONENTS
This chapter provides diagrams and part numbers for the strikes and the
components of the 5200 Surface Vertical Rod assemblies.

Strikes and Vertical Rod Components
7–2 PHI Reliant Illustrated Parts Catalog, Rev A
RELIANT STRIKES
Figure 7.1 Strikes
Item Part Number Description Qty
1 00300-08 Strike Kit, S300 1
2 00301-08 Strike Kit, Roller, S301 1
3 00458-08 Strike Kit, Roller, Narrow S458 1
4 00988-08 Strike Kit, Roller, Aluminum Door S988 1
5 00459-08 Strike Kit, Blade S459 1
6 00460-08 Strike Kit, Bottom S460 1
7 00232-58 Shim, Strike 1

Strikes and Vertical Rod Components
PHI Reliant Illustrated Parts Catalog, Rev A 7–3
5200 SVR BOTTOM LATCH
* Specify finish when ordering these parts.
If you need replacements for units rated for fire (FL), contact your
Stanley Security Solution dealer or call direct to 1-800-392-5209.
Figure 7.2 2200 SVR bottom latch
Item Part Number Description Qty
1 01008-03 Bottom Latch Kit, SVR (includes items 2, 3, 5, 6, and 7)
2 01012-03 Latch Cover Kit, Reliant 1
3 00540-53 Bottom Bolt, SVR 1
4 00787-53 * Bottom Rod, SVR (sold separately) 1
5 02356-03 Bottom Latch Channel Assembly, SVR 1
6 00460-08 Strike Kit, Bottom S460 1
7 02845-09-000 Screw Pack, Surface Latch, 1/4-20 1
8 00398-90 Rod Pin 1
9 01237-53 Spring Clip 1
Not
shown
01864-03 * Bottom Rod Kit (includes rod and screwpack 02112-09-
000)
1
05248-09 * Bottom Rod Kit Longer 5200 (includes rod and
screwpack 02845-09-000)
1

Strikes and Vertical Rod Components
7–4 PHI Reliant Illustrated Parts Catalog, Rev A
5200 SVR TOP LATCH
* Specify finish when ordering these parts.
If you need replacements for units rated for fire (FL), contact your Stanley
Security Solution dealer or call direct to 1-800-392-5209.
Figure 7.3 2200 SVR top latch
Door Height
Item Part Number Description Qty 7ft 8ft 10ft
1 01002-03 Top Latch Kit, SVR (includes items 2, 3, 4, and 5) 1
2 00300-08 Strike Kit, Standard, S300 1
3 01012-03 Latch Cover Kit (includes hardware) 1
4 00296-03 Top Latch Assembly, SVR 1
5 02845-09-000 Screw Pack, Surface Latch, 1/4-20 1
6 00398-90 Rod Pin 1
7 01237-53 Spring Clip
8 00546-53 * Top Rod, SVR (sold separately) 1
00547-53 *
00549-53 *
Not
shown
01860-03 * Top Rod SVR Kit (includes rod and screwpack
02112-09-000)
1
01861-03 * 1
01863-03 * 1

Strikes and Vertical Rod Components
PHI Reliant Illustrated Parts Catalog, Rev A 7–5

Strikes and Vertical Rod Components
7–6 PHI Reliant Illustrated Parts Catalog, Rev A

PHI Reliant Illustrated Parts Catalog, Rev A 8–1
8
OTHER COMPONENTS
This chapter covers mullions, conversion kits, and miscellaneous
hardware that may not be covered in other chapters.

Other Components
8–2 PHI Reliant Illustrated Parts Catalog, Rev A
MULLIONS
If you need replacements for units rated for fire (FL), contact your Stanley
Security Solution dealer or call direct to 1-800-392-5209.
TOUCHBAR SWITCHES
These switches can be added to the electrical Exit Devices listed in the
chart.
Model
Part Number Description 811 822 KR822
KRC822 Mullion Head Cap Assembly
MC811 Mullion Headcap
MC822 Mullion Headcap
MB811 Mullion Sill Base
MB822 Mullion Sill Base
02856-07 Screw Pack, 811 Mullion Assembly
02857-07 Screw Pack, 822 Mullion Head Cap & Sill Base
ST989 Mullion Stabilizer Kit (includes hardware)
MCS822 Spacer, Mullion
S1447 Interlock Kit
Part
Number Description Used on
00309-06 TS - Touchbar Switch Monitoring Assembly TSK309 All
00310-06 TDS - Touchbar Double Switch Monitor TDS310 All
TDS Switch
Tubes not
sold separately
811 Mullion

Other Components
PHI Reliant Illustrated Parts Catalog, Rev A 8–3
EXIT ALARM KITS
The ALK models come with batteries included. .
* Specify finish when ordering these parts.
SHIMS AND BRACKETS
SCREW PACKS
Length Power
Part Number Description 3ft 4ft ALK ALW
00491-06 * Exit Alarm
00492-06 *
00493-06 *
00494-06 *
Part Number Description Used on
00232-58 Shim, Strike Strike S300, S301, and S458
00453-53 Transom Bracket for S300 Strike Top Latches
Part Number Description Contents
02102-09 * Screw Pack, 4 Cover
Screws
(4) Screw, #8-32 X 3/8 PUFHMS
02103-09-000 Screw Pack, Endcap
Bracket
(2) Washer, #10 External Tooth
(2) Screw, #10-24 X 1/2
(2) Screw, #10-16 X 1
02104-09 * Screw Pack, Endcap
Screws
(2) Screw, #8-32 X 3/8 PUFHMS
Frame
Door
Bracket
Top
Top Latch
Strike
Transom
* Specify finish when ordering these parts.

Other Components
8–4 PHI Reliant Illustrated Parts Catalog, Rev A
02105-09 * Screw Pack, Cylinder
Dogging
Nut, Cylinder Locking
Washer, Cylinder Locating
3/16 Cylinder Collar
02106-09 * Screw Pack, 2 Cover
Screws
(2) Screw, #8-32 X 3/8 PUFHMS
02107-09-000 Screw Pack, 2400,
5100, 5200
(2) Screw, #10-24 X 1-1/2 POHMS
(2) Screw, #10-16 X 1 POHSMS
(2) Washer, #10 External Tooth
(2) Screw, #10-24 X 1/2 PPHMS
(2) Screw, #10-16 X 1 PPHSMS TYPE AB
02109-09 * Screw Pack, Latchbolt
Cover
Latch Opening Cover
02110-09 * Screw Pack, 1/2in
Blocking Ring, Narrow
w/o Trim
1/2 Cylinder Collar
02112-09-000 Screw Pack, Surface
Latch
(2) Screw, #10 X 1-3/4" POHSMS
Rod Guide
(2) Screw, #10-24 X 1-1/2" POHMS,
(2) Screw, #10-16 X 1 PPHSMS
Spring Clip, Vertical Rod
Pin, Rod, .188 X 1.296
(2) Screw, #10-24 X 1/2 PPHMS
02113-09 * Screw Pack, Guide
Strap
Rod Guide Strap
02120-09 * Screw Pack, A And C
Grip Bottom Screw
Screw, #1/4-20 x 2 POHMS
Washer, Finish, 1/4
Part Number Description Contents
* Specify finish when ordering these parts.

Other Components
PHI Reliant Illustrated Parts Catalog, Rev A 8–5
02845-09-000 Screw Pack, Surface
Latch, 1/4-20
(2) Screw, #10 X 1-3/4" POHSMS (A)
Rod Guide
(2) Screw, #10-24 X 1-1/2" POHMS
(2) Screw, 1/4-14 X 1 PPHSMS
Spring Clip, Vertical Rod
Pin, Rod, .188 X 1.296
(2) Screw, 1/4-14 X 1 PPHSMS
02985-04 * Screw Pack For
Dummy Trim
(4) Washer, Finish, #10
(4) Screw, #10-24 X 1-1/2 POHMS
03240-09-SST Screw Pack, 2400,
5100, 5200
(2) Screw, #10-24 X 1-1/2 POHMS
(2) Screw, #10-16 X 1 PPHSMS
(2) Screw, #10-24 X 1/2 PPHMS
(2) Screw, #10-16 X 1 POHSMS
(2) Washer, #10 External Tooth
Hex Dogging Key
Part Number Description Contents
* Specify finish when ordering these parts.

Other Components
8–6 PHI Reliant Illustrated Parts Catalog, Rev A

PHI Reliant Illustrated Parts Catalog, Rev A 9–1
9
GLOSSARY
ALK Exit alarm, battery operated.
ALW Exit alarm, remote powered.
Cam See Cylinder cam.
Core See Interchangeable core.
Cylinder cam A rotating part of a keyed cylinder that drives the deadbolt or latchbolt.
CD Cylinder dogging.
Cylinder ring A metal ring that fits around the cylinder and protects it from
tampering. The cylinder ring also spaces the cylinder out to the right
position.
Door bevel The angle on the edge of a door.
EElectric device.
Escutcheon A surface-mounted plate that covers holes that were made in the door
for levers and cylinders.
Figure-8 The basic shape of the interchangeable core and its housing (door lever,
cylinder, padlock, and so forth.). See also Interchangeable core.
FL Fire exit hardware.
Hand of door The swing direction of the door as viewed from the outside of the door.
A right-handed (RH) door is hinged on the right and swings inward. A
left-handed (LH) door is hinged on the left and swings inward. If either
of these doors swings outward, it becomes a right-hand reverse bevel
(RHRB) door, or a left-hand reverse bevel (LHRB) door respectively.
Interchangeable
core
A figure-8 shaped device that contains all mechanical parts for a
masterkeyed system. The interchangeable core can be removed by a
special control key and can be recombinated without disassembling the
lock. See also Figure-8.

Glossary
9–2 PHI Reliant Illustrated Parts Catalog, Rev A
Lock function An ANSI code number describing the way a lock operates.
Removable core See Interchangeable core.
SNB Sex nuts and bolts.
SVR Surface vertical rod.
Tailpiece A part that extends from the back of the cylinder and engages an exit
device mechanism.
TDS Touchbar monitoring double switch. See also Request-to-exit switch.
Template A precise, detailed hole pattern that serves as a guide for the mortising and
drilling of doors and frames.
TS Touchbar monitoring switch. See also Request-to-exit switch.
Wire harness A group of wires bundled together with connectors at either end.

PHI Reliant Illustrated Parts Catalog, Rev A I–1
I
INDEX
INDEX BY PART NUMBER
00108-52, Bracket, Touchbar .................... 5-2
00110-52, Bumper ..................................... 5-2
00111-52, Beam ......................................... 5-2
00114-52, Dogging Hook........................... 5-3
00115-52, Bracket, Hex Key...................... 5-3
00116-52, Dogging Cam ............................ 5-3
00120-52, Device Channel ........................ 4-2
00122-52, Device Channel ........................ 4-2
00131-89, Spring, Touchbar ...................... 5-2
00133-52, Endcap Cover ........................... 4-3
00146-89, Spring, Deadlock Release ......... 6-2
00147-51, Deadlock Lever......................... 6-2
00156-90, Pin, Pivot, Reliant SVR .............. 6-3
00160-02, Touchpad Sub-assembly ........... 4-2
00162-02, Touchpad Sub-assembly ........... 4-2
00191-50, Backplate, Reliant Rim.............. 3-4
00192-50, Tail Piece, Reliant Trim............. 3-5
00199-04, 501 Trim Assembly ................... 3-2
00200-04, 602 Trim Plate Assembly .......... 3-2
00201-04, 603 Trim Plate Assembly .......... 3-2
00202-50, Escutcheon, 08 Trim, Reliant ... 3-4
00203-50, Escutcheon, 14 Trim, Reliant ... 3-4
00206-04, 702 Trim Plate Sub Assembly ... 3-3
00207-04, 703 Trim Plate Sub Assembly ... 3-3
00213-50, Hub, Reliant Trim ..................... 3-5
00214-50, Spindle Hub, Reliant Trim ........ 3-5
00220-93, Dogging Key ............................. 5-3
00220-93, Dogging Key ............................ 4-4
00222-50, Stud, Reliant Trim ..................... 3-3, 3-4
00223-89, Spring, Torsion, Reliant Trim ... 3-5
00226-51, Latchbolt................................... 6-2
00228-91, Retaining Ring .......................... 5-2
00228-91, Retaining Ring, .188 dia Shaft... 6-2
00228-91, Retaining Ring, .188 dia Shaft... 6-3
00229-90, Pin, Pivot, Touchbar Lever ....... 6-2, 6-3

Part Number Page Part Number Page
PHI Reliant Illustrated Parts Catalog, Rev A I–2
Index
00232-58, Shim, Strike ............................... 7-2, 8-3
00233-54, Trim Stud................................... 3-3
00236-52, Plain Hinge Filler ....................... 4-4
00237-52, Plain Hinge Filler ....................... 4-4
00240-52, Hex Hinge Filler ........................ 4-4
00241-52, Hex Hinge Filler ........................ 4-4
00248-52, Hinge Filler for 00491-06 .......... 4-5
00248-52, Hinge Filler for 00493-06 .......... 4-5
00249-52, Hinge Filler for 00492-06 .......... 4-5
00249-52, Hinge Filler for 00494-06 .......... 4-5
00252-52, Dogging Fastener ...................... 5-3
00253-91, 1/4 Curved Spring Washer ........ 5-3
00254-91, E-clip, .250 dia Shaft .................. 5-3
00254-91, E-clip, .250dia Shaft ................... 5-3
00278-51, Rod Carriage, Reliant................. 6-3
00279-51, Touch Bar Lever ........................ 6-2, 6-3
00280-51, Rod Carriage Lever, Reliant....... 6-3
00282-51, Cam, Reliant Rim....................... 6-3
00282-51, Cam, Reliant Rim, 21 Device..... 6-2
00284-51, Deadlock Release ...................... 6-2
00287-90, Pin, Pivot, Latchbolt .................. 6-2
00296-03, Top Latch Assembly, SVR.......... 7-4
00300-08, Strike Kit, S300.......................... 7-2
00300-08, Strike Kit, Standard, S300.......... 7-4
00301-08, Strike Kit, Roller, S301 .............. 7-2
00305-02, Endcap Mounting Bracket ......... 4-3
00309-06, TS - Monitoring Assembly......... 8-2
00310-06, TDS - Double Switch Monitor 8-2
00323-54, A Grip........................................ 3-3
00328-89, Spring, Torsion.......................... 6-2
00385-89, Spring, Latchbolt ....................... 6-2
00398-90, Rod Pin ...................................... 7-3, 7-4
00412-91, Retaining Ring, .438 Shaft ......... 6-2, 6-3
00449-90, Pin, Pivot ................................... 5-2
00453-53, Transom Bracket for S300 Strike8-3
00458-08, Strike Kit, Roller, Narrow S458 . 7-2
00459-08, Strike Kit, Blade S459 ................ 7-2
00460-08, Strike Kit, Bottom S460 ............. 7-2, 7-3
00489-02, CD Hinge Filler ......................... 4-4
00490-02, CD Hinge Filler ......................... 4-4
00491-06, Alarm- ALK Filler ...................... 4-4
00491-06, Exit Alarm.................................. 8-3
00492-06, Alarm- ALK Filler ...................... 4-4
00492-06, Exit Alarm.................................. 8-3
00493-06, Alarm - ALW Filler .................... 4-4
00493-06, Exit Alarm.................................. 8-3
00494-06, Alarm - ALW Filler .................... 4-4
00494-06, Exit Alarm.................................. 8-3
00540-53, Bottom Bolt, SVR....................... 7-3
00546-53, Top Rod, SVR ........................... 7-4
00547-53, Top Rod, SVR ........................... 7-4
00549-53, Top Rod, SVR ........................... 7-4
00615-04, Backplate Assembly, 800 Trim .. 3-4
00616-04, A Lever Assembly Reliant .......... 3-5
00617-91, Retaining Ring,.375 dia Shaft .....3-5
00626-51, Touchbar Lever Guard, ..............6-2, 6-3
00672-92, “Arm/Disarm” Label ...................4-5
00699-06, Alarm Chassis Assembly .............4-5
00701-02, Dogging Channel Assembly .......5-2
00702-02, Dogging Channel Assembly .......5-2
00778-02, Endcap Device ..........................4-3
00787-53, Bottom Rod, SVR .......................7-3
00872-92, “Emergency Exit Only” Label.....4-5
00899-06, Alarm Chassis Assembly .............4-5
00988-08, Strike Kit, Roller, Al Door .........7-2
01002-03, Top Latch Kit, SVR ....................7-4
01008-03, Bottom Latch Kit, SVR ...............7-3
01012-03, Latch Cover Kit .........................7-4
01012-03, Latch Cover Kit, Reliant .............7-3
01237-53, Spring Clip..................................7-3, 7-4
01460-56, Lens, LED....................................4-5
01723-56, Grommet ...................................4-3
01860-03, Top Rod SVR Kit .......................7-4
01861-03, Top Rod SVR Kit .......................7-4
01863-03, Top Rod SVR Kit .......................7-4
01864-03, Bottom Rod Kit .........................7-3
02102-09, Screw Pack, 4 Cover Screws ......8-3
02103-09-000, Screw Pack, Endcap Bracket8-3
02104-09, Screw Pack, Endcap Screws.......8-3
02104-09, Screw Pack, Endcap Screws ......4-3
02105-09, Screw Pack, Cylinder Dogging...8-4
02105-09, Cylinder Attachment Kit ...........4-4
02106-09, Screw Pack, 2 Cover Screws ......8-4
02107-09-000, Screw Pack, 5100, 5200 ......8-4
02109-09, Screw Pack, Latchbolt Cover .....8-4
02110-09, Screw Pack, 1/2in Blocking ......8-4
02112-09-000, Screw Pack, Surface Latch...8-4
02113-09, Screw Pack, Guide Strap ............8-4
02120-09, Screw Pack, Bottom Screw ........8-4
02122-09, Cylinder Sleeve Kit.....................3-2, 3-3
02123-09, Cylinder Attachment, Lever Trim3-4
02130-52, Touchbar Guide .........................5-2
02309-09, ALW Hardware Pack ..................4-5
02310-09, ALK Hardware Pack ...................4-5
02356-03, Bottom Latch Channel ...............7-3
02474-01, Active Case Cover ......................6-2
02476-01, SVR Cover Kit ............................6-3
02760-04, Complete A Lever Kit RHRB Trim 3-5
02761-04, Complete A Lever Kit LHRB Trim 3-5
02845-09-000, Screw Pack, Surface Latch...7-3, 7-4,
8-5
02856-07, Screw Pack, 811 Mullion............8-2
02857-07, Screw Pack, 822 Mullion ...........8-2
02985-04, Screw Pack For Dummy Trim ....8-5
03152-04, 700 Trim Grip Kit ......................3-3
03240-09-SST, Screw Pack, 5100, 5200 ......8-5
03306-02, Endcap Device ..........................4-3
05248-09, Bottom Rod Kit Longer 5200 ....7-3

Part Number Page Part Number Page
I–3 PHI Reliant Illustrated Parts Catalog, Rev A
Index
K
KRC822, Mullion Head Cap Assembly ....... 8-2
M
MB811, Mullion Sill Base ............................ 8-2
MB822, Mullion Sill Base ............................ 8-2
MC811, Mullion Headcap........................... 8-2
MC822, Mullion Headcap........................... 8-2
MCS822, Spacer, Mullion ............................8-2
S
S1447, Interlock Kit ....................................8-2
ST989, Mullion Stabilizer Kit ......................8-2
INDEX BY PART TYPE
Mullions
KRC822, Mullion Head Cap Assembly .............. 8-2
MB811, Mullion Sill Base ...................................8-2
MB822, Mullion Sill Base ...................................8-2
MC811, Mullion Headcap.................................. 8-2
MC822, Mullion Headcap.................................. 8-2
MCS822, Spacer, Mullion .................................. 8-2
S1447, Interlock Kit .......................................... 8-2
ST989, Mullion Stabilizer Kit............................. 8-2
02856-07, Screw Pack, 811 Mullion ................. 8-2
02857-07, Screw Pack, 822 Mullion ................. 8-2
Active case
02474-01, Active Case Cover ............................ 6-2
02476-01, SVR Cover Kit................................... 6-3
Touchbar
00160-02, Touchpad Sub-assembly ................... 4-2
00162-02, Touchpad Sub-assembly ................... 4-2
00305-02, Endcap Mounting Bracket ................4-3
00489-02, CD Hinge Filler................................. 4-4
00490-02, CD Hinge Filler................................. 4-4
00701-02, Dogging Channel Assembly ............. 5-2
00702-02, Dogging Channel Assembly ............. 5-2
00778-02, Endcap Device.................................. 4-3
03306-02, Endcap Device.................................. 4-3
Vertical rod latch
00296-03, Top Latch Assembly, SVR................. 7-4
01002-03, Top Latch Kit, SVR ........................... 7-4
01008-03, Bottom Latch Kit, SVR...................... 7-3
01012-03, Latch Cover Kit ................................ 7-4
01012-03, Latch Cover Kit, Reliant ...................7-3
01860-03, Top Rod SVR Kit .............................. 7-4
01861-03, Top Rod SVR Kit .............................. 7-4
01863-03, Top Rod SVR Kit ............................. 7-4
01864-03, Bottom Rod Kit ............................... 7-3
02356-03, Bottom Latch Channel, SVR ............ 7-3
Trim
00199-04, 501 Trim Assembly.......................... 3-2
00200-04, 602 Trim Plate Assembly.......... 3-2
00201-04, 603 Trim Plate Assembly.......... 3-2
00206-04, 702 Trim Plate Sub Assembly... 3-3
00207-04, 703 Trim Plate Sub Assembly... 3-3
00615-04, Backplate Assembly, 800 Trim . 3-4
00616-04, A Lever Assembly Reliant ......... 3-5
02760-04, A Lever Kit RHRB Trim ........... 3-5
02761-04, A Lever Kit LHRB Trim............ 3-5
02985-04, Screw Pack For Dummy Trim .. 8-5
03152-04, 700 Trim Grip Kit..................... 3-3
Electrical
00309-06, TS -Monitoring Assembly.......... 8-2
00310-06, TDS -Double Switch Monitor .. 8-2
00491-06, Alarm- ALK Filler ...................... 4-4
00491-06, Exit Alarm................................. 8-3
00492-06, Alarm- ALK Filler ...................... 4-4
00492-06, Exit Alarm................................. 8-3
00493-06, Alarm - ALW Filler .................... 4-4
00493-06, Exit Alarm................................. 8-3
00494-06, Alarm - ALW Filler .................... 4-4
00494-06, Exit Alarm................................. 8-3
00699-06, Alarm Chassis Assembly ........... 4-5
00899-06, Alarm Chassis Assembly ........... 4-5
Strike
00300-08, Strike Kit, S300......................... 7-2
00300-08, Strike Kit, Standard, S300......... 7-4
00301-08, Strike Kit, Roller, S301 ............. 7-2
00458-08, Strike Kit, Roller, Narrow S458 7-2
00459-08, Strike Kit, Blade S459 ............... 7-2
00460-08, Strike Kit, Bottom S460............ 7-2, 7-3
00988-08, Strike Kit, Roller, Al Door S988 7-2
Hardware kits
02102-09, Screw Pack, 4 Cover Screws .... 8-3
02103-09-000, Screw Pack, Endcap Bracket8-3
02104-09, Screw Pack, Endcap Screws..... 8-3
02104-09, Screw Pack, Endcap Screws..... 4-3
02105-09, Screw Pack, Cylinder Dogging. 8-4
02105-09, Cylinder Attachment Kit .......... 4-4
02106-09, Screw Pack, 2 Cover Screws .... 8-4
02107-09-000, Screw Pack, 5100, 5200 .... 8-4

02109-09, Screw Pack, Latchbolt Cover ... 8-4
02110-09, Screw Pack, 1/2in Blocking Ring,8-4
02112-09-000, Screw Pack, Surface Latch. 8-4
02113-09, Screw Pack, Guide Strap .......... 8-4
02120-09, Screw Pack, Bottom Screw ...... 8-4
02122-09, Cylinder Sleeve Kit................... 3-2, 3-3
02123-09, Cylinder Attachment, Lever Trim3-4
02309-09, ALW Hardware Pack ................ 4-5
02310-09, ALK Hardware Pack ................. 4-5
02845-09-000, Screw Pack, Surface Latch, 1/4-20
7-3, 7-4, 8-5
03240-09-SST, Screw Pack, 5100, 5200..... 8-5
05248-09, Bottom Rod Kit Longer 5200 ... 7-3
Individual trim parts
00191-50, Backplate, Reliant Rim ............. 3-4
00192-50, Tail Piece, Reliant Trim ............ 3-5
00202-50, Escutcheon, 08 Trim ................ 3-4
00203-50, Escutcheon, 14 Trim ................ 3-4
00213-50, Hub, Reliant Trim..................... 3-5
00214-50, Spindle Hub, Trim ................... 3-5
00222-50, Stud, Reliant Trim..................... 3-3, 3-4
Individual active case parts
00147-51, Deadlock Lever......................... 6-2
00226-51, Latchbolt .................................. 6-2
00278-51, Rod Carriage, Reliant................ 6-3
00279-51, Touch Bar Lever ....................... 6-2, 6-3
00280-51, Rod Carriage Lever ................... 6-3
00282-51, Cam, Reliant Rim...................... 6-3
00282-51, Cam, Reliant Rim, .................... 6-2
00284-51, Deadlock Release ..................... 6-2
00626-51, Touchbar Lever Guard ............. 6-2, 6-3
00108-52, Bracket, Touchbar.................... 5-2
00110-52, Bumper..................................... 5-2
00111-52, Beam......................................... 5-2
00114-52, Dogging Hook .......................... 5-3
00115-52, Bracket, Hex Key ..................... 5-3
00116-52, Dogging Cam............................ 5-3
00120-52, Device Channel ........................ 4-2
00122-52, Device Channel ........................ 4-2
00133-52, Endcap Cover ........................... 4-3
00236-52, Plain Hinge Filler ...................... 4-4
00237-52, Plain Hinge Filler ...................... 4-4
00240-52, Hex Hinge Filler ....................... 4-4
00241-52, Hex Hinge Filler ....................... 4-4
00248-52, Hinge Filler for 00491-06 ......... 4-5
00248-52, Hinge Filler for 00493-06 ......... 4-5
00249-52, Hinge Filler for 00492-06 ......... 4-5
00249-52, Hinge Filler for 00494-06 ......... 4-5
00252-52, Dogging Fastener ..................... 5-3
02130-52, Touchbar Guide ....................... 5-2
Individual vertical rod parts
00453-53, Transom Bracket ...................... 8-3
00540-53, Bottom Bolt, SVR...................... 7-3
00546-53, Top Rod, SVR ........................... 7-4
00547-53, Top Rod, SVR ........................... 7-4
00549-53, Top Rod, SVR ........................... 7-4
00787-53, Bottom Rod, SVR...................... 7-3
01237-53, Spring Clip................................ 7-3, 7-4
Miscellaneous individual parts
00233-54, Trim Stud.................................. 3-3
00323-54, A Grip....................................... 3-3
01460-56, Lens, LED.................................. 4-5
01723-56, Grommet .................................. 4-3
00232-58, Shim, Strike .............................. 7-2, 8-3
00131-89, Spring, Touchbar...................... 5-2
00146-89, Spring, Deadlock Release ......... 6-2
00223-89, Spring, Torsion, Reliant Trim ... 3-5
00328-89, Spring, Torsion......................... 6-2
00385-89, Spring, Latchbolt ...................... 6-2
Individual hardware
00156-90, Pin, Pivot, Reliant SVR.............. 6-3
00229-90, Pin, Pivot, Touchbar Lever....... 6-2, 6-3
00287-90, Pin, Pivot, Latchbolt ................. 6-2
00398-90, Rod Pin..................................... 7-3, 7-4
00449-90, Pin, Pivot .................................. 5-2
00228-91, Retaining Ring .......................... 5-2
00228-91, Retaining Ring, .188 dia Shaft .. 6-2
00228-91, Retaining Ring, .188 dia Shaft .. 6-3
00253-91, 1/4 Curved Spring Washer ....... 5-3
00254-91, E-clip, .250 dia Shaft................. 5-3
00254-91, E-clip, .250dia Shaft.................. 5-3
00412-91, Retaining Ring, .438 Shaft ........ 6-2, 6-3
00617-91, Retaining Ring,.375 dia Shaft ... 3-5
00672-92, “Arm/Disarm” Label ................. 4-5
00872-92, “Emergency Exit Only” Label... 4-5
00220-93, Dogging Key............................. 4-4, 5-3
INDEX BY PART DESCRIPTION
1/4 Curved Spring Washer, 00253-91 ........ 5-3
501 Trim Assembly, 00199-04 .................... 3-2
602 Trim Plate Assembly, 00200-04 ........... 3-2
603 Trim Plate Assembly, 00201-04 ........... 3-2
700 Trim Grip Kit, 03152-04 ...................... 3-3
702 Trim Plate Sub Assembly, 00206-04 .... 3-3
703 Trim Plate Sub Assembly, 00207-04 .... 3-3
Part Number Page Part Number Page
PHI Reliant Illustrated Parts Catalog, Rev A I–4
Index

Part Descritpion Page Part Description Page
I–5 PHI Reliant Illustrated Parts Catalog, Rev A
Index
A
A Grip, 00323-54 ........................................ 3-3
A Lever Assembly Reliant, 00616-04 .......... 3-5
Active Case Cover, 02474-01 ..................... 6-2
Alarm - ALW Filler, 00493-06 ..................... 4-4
Alarm - ALW Filler, 00494-06 ..................... 4-4
Alarm- ALK Filler, 00491-06 ....................... 4-4
Alarm- ALK Filler, 00492-06 ....................... 4-4
Alarm Chassis Assembly, 00699-06 ............ 4-5
Alarm Chassis Assembly, 00899-06 ............ 4-5
ALK Hardware Pack, 02310-09 .................. 4-5
ALW Hardware Pack, 02309-09 ................. 4-5
“Arm/Disarm” Label, 00672-92 .................. 4-5
B
Backplate Assembly, 800 Trim, 00615-04 .. 3-4
Backplate, Reliant Rim, 00191-50 .............. 3-4
Beam, 00111-52 .......................................... 5-2
Bottom Bolt, SVR, 00540-53 ....................... 7-3
Bottom Latch Channel, SVR, 02356-03 ...... 7-3
Bottom Latch Kit, SVR, 01008-03 ............... 7-3
Bottom Rod Kit, 01864-03 ......................... 7-3
Bottom Rod Kit Longer 5200, 05248-09 .... 7-3
Bottom Rod, SVR, 00787-53 ....................... 7-3
Bracket, Hex Key, 00115-52 ...................... 5-3
Bracket, Touchbar, 00108-52 ..................... 5-2
Bumper, 00110-52 ...................................... 5-2
C
Cam, Reliant Rim, 00282-51 ....................... 6-3
Cam, Reliant Rim, 21 Device, 00282-51 ..... 6-2
Case Chassis, Not sold separarately ........... 6-2, 6-3
CD Hinge Filler, 00489-02 .......................... 4-4
CD Hinge Filler, 00490-02 .......................... 4-4
Complete A Lever Kit LHRB Trim, 02761-04 3-5
Complete A Lever Kit RHRB Trim, 02760-04 3-5
Consolidated Mounting Bracket, ............... 5-2, 5-3
Cylinder Attachment Kit, 02105-09 ........... 4-4
Cylinder Attachment, Lever Trim, 02123-09 3-4
Cylinder Sleeve Kit, 02122-09 ....................3-2, 3-3
D
Deadlock Lever, 00147-51 .......................... 6-2
Deadlock Release, 00284-51 ...................... 6-2
Description, Number ................................. 8-2
Description, Part Number .......................... 4-3, 5-2,
5-3, 7-4, 8-2, 8-3
Device Channel, 00120-52 ......................... 4-2
Device Channel, 00122-52 ......................... 4-2
Dogging Cam, 00116-52 ............................. 5-3
Dogging Channel Assembly, 00701-02 ...... 5-2
Dogging Channel Assembly, 00702-02 ...... 5-2
Dogging Fastener, 00252-52 ...................... 5-3
Dogging Hook, 00114-52 ........................... 5-3
Dogging Key, 00220-93 .............................. 4-4
Dogging Key, 00220-93 .............................. 5-3
E
E-clip, .250 dia Shaft, 00254-91 .................. 5-3
E-clip, .250 dia Shaft, 00254-91 .................. 5-3
“Emergency Exit Only” Label, 00872-92 .... 4-5
Endcap Cover, 00133-52 ............................ 4-3
Endcap Device, 00778-02 .......................... 4-3
Endcap Device, 03306-02 .......................... 4-3
Endcap Mounting Bracket, 00305-02 ......... 4-3
Endcap, See page 4 3. ................................ 4-2
Escutcheon, 08 Trim, Reliant, 00202-50 .... 3-4
Escutcheon, 14 Trim, Reliant, 00203-50 .... 3-4
Exit Alarm, 00491-06 .................................. 8-3
Exit Alarm, 00492-06 .................................. 8-3
Exit Alarm, 00493-06 .................................. 8-3
Exit Alarm, 00494-06 .................................. 8-3
G
Grommet, 01723-56 ................................... 4-3
H
Hex Hinge Filler, 00240-52 ........................ 4-4
Hex Hinge Filler, 00241-52 ........................ 4-4
Hinge Filler for 00491-06, 00248-52 .......... 4-5
Hinge Filler for 00492-06, 00249-52 .......... 4-5
Hinge Filler for 00493-06, 00248-52 .......... 4-5
Hinge Filler for 00494-06, 00249-52 .......... 4-5
Hinge Filler, See page 4 4. .......................... 4-2
Hub, Reliant Trim, 00213-50 ...................... 3-5
I
Interlock Kit, S1447 ................................... 8-2
L
Latch Cover Kit, 01012-03 ......................... 7-4
Latch Cover Kit, Reliant, 01012-03 ............ 7-3
Latchbolt, 00226-51 ................................... 6-2
Lens, LED, 01460-56 ................................... 4-5
M
Mullion Head Cap Assembly, KRC822 ....... 8-2
Mullion Headcap, MC811 ........................... 8-2
Mullion Headcap, MC822 ........................... 8-2
Mullion Sill Base, MB811 ............................ 8-2
Mullion Sill Base, MB822 ............................ 8-2
Mullion Stabilizer Kit, ST989 ...................... 8-2
P
Pin, Pivot, 00449-90 ................................... 5-2
Pin, Pivot, Latchbolt, 00287-90 .................. 6-2
Pin, Pivot, Reliant SVR, 00156-90 ............... 6-3
Pin, Pivot, Touchbar Lever, 00229-90 ........ 6-2, 6-3
Plain Hinge Filler, 00236-52 ....................... 4-4
Plain Hinge Filler, 00237-52 ....................... 4-4

Part Description Page Part Description Page
PHI Reliant Illustrated Parts Catalog, Rev A I–6
Index
R
Retaining Ring, .188 dia Shaft, 00228-91 ... 6-2
Retaining Ring, .188dia Shaft, 00228-91 .... 6-3
Retaining Ring, .438 Shaft, 00412-91 ......... 6-2, 6-3
Retaining Ring, 00228-91 ........................... 5-2
Retaining Ring,.375 dia Shaft, 00617-91 .... 3-5
Rod Carriage Lever, Reliant, 00280-51 ....... 6-3
Rod Carriage, Reliant, 00278-51 ................. 6-3
Rod Pin, 00398-90 ...................................... 7-3, 7-4
S
Screw Pack For Dummy Trim, 02985-04 ... 8-5
Screw Pack, 1/2in Blocking Ring, 02110-09 8-4
Screw Pack, 2 Cover Screws, 02106-09 ..... 8-4
Screw Pack, 2400, 5100, 5200, 02107-09-000 8-4
Screw Pack, 2400, 5100, 5200, 03240-09-SST 8-5
Screw Pack, 4 Cover Screws, 02102-09 ..... 8-3
Screw Pack, 811 Mullion Assembly, 02856-07 8-2
Screw Pack, 822 Mullion, 02857-07 ........... 8-2
Screw Pack, Grip Bottom Screw, 02120-09 8-4
Screw Pack, Cylinder Dogging, 02105-09 .. 8-4
Screw Pack, Endcap Bracket, 02103-09-000 8-3
Screw Pack, Endcap Screws, 02104-09 ...... 4-3, 8-3
Screw Pack, Guide Strap, 02113-09 ........... 8-4
Screw Pack, Latchbolt Cover, 02109-09 .... 8-4
Screw Pack, Surface Latch, 02112-09-000 .. 8-4
Screw Pack, Surface Latch, 1/4-20, 02845-09 8-5
Screw Pack, Surface Latch, 1/4-20, 02845-09 7-3,
7-4
Shim, Strike, 00232-58 ............................... 7-2, 8-3
Spacer, Mullion, MCS822 ........................... 8-2
Spindle Hub, Reliant Trim, 00214-50 ......... 3-5
Spring Clip, 01237-53 ................................. 7-3, 7-4
Spring, Deadlock Release, 00146-89 .......... 6-2
Spring, Latchbolt, 00385-89 ....................... 6-2
Spring, Torsion, 00328-89 .......................... 6-2
Spring, Torsion, Reliant Trim, 00223-89 .... 3-5
Spring, Touchbar, 00131-89 ....................... 5-2
Strike Kit, Blade S459, 00459-08 ................ 7-2
Strike Kit, Bottom S460, 00460-08 ............. 7-2, 7-3
Strike Kit, Roller, Al Door S988, 00988-08 . 7-2
Strike Kit, Roller, Narrow S458, 00458-08 . 7-2
Strike Kit, Roller, S301, 00301-08 .............. 7-2
Strike Kit, S300, 00300-08 .......................... 7-2
Strike Kit, Standard, S300, 00300-08 .......... 7-4
Stud, Reliant Trim, 00222-50 ...................... 3-3, 3-4
SVR Cover Kit, 02476-01 ............................ 6-3
T
Tail Piece, Reliant Trim, 00192-50 ............. 3-5
TDS - Double Switch Monitor, 00310-06 ... 8-2
Top Latch Assembly, SVR, 00296-03 .......... 7-4
Top Latch Kit, SVR, 01002-03 .................... 7-4
Top Rod SVR Kit, 01860-03 ....................... 7-4
Top Rod SVR Kit, 01861-03 ....................... 7-4
Top Rod SVR Kit, 01863-03 ....................... 7-4
Top Rod, SVR, 00546-53 ............................ 7-4
Top Rod, SVR, 00547-53 ............................ 7-4
Top Rod, SVR, 00549-53 ............................ 7-4
Touch Bar Lever, 00279-51 ........................ 6-2, 6-3
Touchbar Guide, 02130-52 ........................ 5-2
Touchbar Lever Guard, 00626-51 .............. 6-2, 6-3
Touchpad Sub-assembly, 00160-02 ............ 4-2
Touchpad Sub-assembly, 00162-02 ............ 4-2
Transom Bracket for S300 Strike, 00453-53 8-3
Trim Stud, 00233-54 ................................... 3-3
TS - Monitoring Assembly, 00309-06 ......... 8-2
