Panasonic of North America 96NKX-TGP600 DECT 6.0 Cordless Telephone System Base Station for SIP server or PBX User Manual Operating Instructions English
Panasonic Corporation of North America DECT 6.0 Cordless Telephone System Base Station for SIP server or PBX Operating Instructions English
Users Manual

KX-TGP600 KX-TPA60
Operating Instructions
SIP Cordless Phone
SIP Cordless Handset
KX-TGP600
KX-TPA60
Model No.
Model No.
Thank you for purchasing this Panasonic product.
Please read this manual carefully before using this product and save this manual for future
use.
Please use only the batteries provided and charge the batteries for about 6 hours before using
the handset for the first time. For details, see "Charging the Batteries" in this manual.
Note
RIn this manual, the suffix of each model number is omitted unless necessary.
Document Version: 2014-05

Outline
This manual describes information about the installation and operation of KX-TGP600/KX-TPA60.
Related Documentation
RQuick Start Guide
Describes basic information about the installation and safety precautions to prevent personal injury
and/or damage to property.
RAdministrator Guide
Describes detailed information on the configuration and management of this unit.
Manuals and supporting information are provided on the Panasonic Web site at:
http://panasonic.net/pcc/support/sipphone
Note
RThe contents and design of the software are subject to change without notice.
For Future Reference
Record the information in the space below for future reference.
Note
RThe serial number of this product may be found on the labels affixed to the following places:
– base unit: the back of the unit.
– handset: the inside of the battery compartment on the back of the handset.
– charger: the bottom of the charger.
You should note the serial numbers of these units in the space provided and retain this manual as a
permanent record of your purchase to aid in identification in the event of theft.
MODEL NO.
SERIAL NO.
DATE OF PURCHASE
NAME OF DEALER
DEALER’S ADDRESS
DEALER’S TEL. NO.
2
Introduction

Important Information
Data Security ......................................................4
Additional Information .........................................5
For Best Performance .........................................9
Battery Information ...........................................10
Before Operating the Telephone
Accessory Information ......................................12
Location of Controls ..........................................14
Handset Functions ............................................16
Soft Keys ..........................................................17
Other Icons .......................................................17
Feature Operations
Making Calls .....................................................18
Receiving Calls .................................................18
During a Conversation ......................................18
Useful Features ................................................18
Customizing the Telephone
Using the Handset Phonebook .........................19
Entering Characters ..........................................19
Changing Handset Settings ..............................19
Installation and Setup
Installation and Setup .......................................20
Appendix
Appendix ...........................................................23
Troubleshooting ................................................23
Error Messages ................................................23
Index
Index..................................................................24
3
Table of Contents

Data Security
RThis telephone communicates using digital signals that are difficult to intercept. However, it is possible
that the signals could be intercepted by a third party.
RTo avoid unauthorized access to this product:
– Keep the password (e.g., PIN for registration) secret.
– Change the default password.
– Set a password that is random and cannot be easily guessed.
– Change the password regularly.
RThis product can store your private/confidential information. To protect your privacy/confidentiality, we
recommend that you erase the information such as the phonebook or call log from the memory before
you dispose of, transfer or return the product, or have the product repaired.
RSet the password when you register the handset to the base unit.
RIt is recommended that you lock the phonebook to prevent stored information from being leaked when
you carry the handset or if the handset is lost.
4
Important Information

Additional Information
Information for Users on Collection and Disposal of Old Equipment and used Batteries
These symbols on the products, packaging, and/or accompanying documents mean
that used electrical and electronic products and batteries should not be mixed with
general household waste.
For proper treatment, recovery and recycling of old products and used batteries, please
take them to applicable collection points, in accordance with your national legislation
and the Directives 2002/96/EC and 2006/66/EC.
By disposing of these products and batteries correctly, you will help to save valuable
resources and prevent any potential negative effects on human health and the
environment which could otherwise arise from inappropriate waste handling.
For more information about collection and recycling of old products and batteries,
please contact your local municipality, your waste disposal service or the point of sale
where you purchased the items.
Penalties may be applicable for incorrect disposal of this waste, in accordance with
national legislation.
For business users in the European Union
If you wish to discard electrical and electronic equipment, please contact your dealer or
supplier for further information.
Information on Disposal in other Countries outside the European Union
These symbols are only valid in the European Union. If you wish to discard these
items, please contact your local authorities or dealer and ask for the correct method of
disposal.
Note for the battery symbol (bottom two symbol examples):
This symbol might be used in combination with a chemical symbol. In this case it
complies with the requirement set by the Directive for the chemical involved.
The following declaration is applicable to KX-TGP600/KX-TPA60 only
This device is a DECT Portable station operating in the frequency band of 1880 MHz to 1900 MHz.
The usage of this device is generally allowed in all EU countries.
Panasonic System Networks Co., Ltd. declares that this equipment is in compliance with the essential
requirements and other relevant provisions of Radio & Telecommunications Terminal Equipment
(R&TTE) Directive 1999/5/EC.
Declarations of Conformity for the relevant Panasonic products described in this manual are available for
download by visiting:
http://www.ptc.panasonic.eu
Contact to Authorized Representative:
Panasonic Testing Center
Panasonic Marketing Europe GmbH
Winsbergring 15, 22525 Hamburg, Germany
5
Important Information

For Users in New Zealand
RThis equipment shall not be set to make automatic calls to the Telecom ‘111’ Emergency Service.
PTC General Warning
RThe grant of a Telepermit for any item of terminal equipment indicates only that Telecom has accepted
that the item complies with minimum conditions for connection to its network. It indicates no
endorsement of the product by Telecom, nor does it provide any sort of warranty. Above all, it provides
no assurance that any item will work correctly in all respects with another item of Telepermitted
equipment of a different make or model, nor does it imply that any product is compatible with all of
Telecom’s network services.
The Use of IP Networks through the PSTN
RInternet Protocol (IP) by its nature introduces delay into speech signals as each data packet is
formulated and addressed. Telecom Access Standards recommends that suppliers, designers and
installers using this technology for calls to or from the PSTN refer to ITU E Model requirements in the
design of their networks. The overall aim is to minimize delay, distortion and other transmission
impairments, particularly for those calls involving cellular and international networks, which already
suffer extensive delay.
Echo cancellation
REcho cancelers are not normally required in the Telecom PSTN because geographic delays are
acceptable where CPE return loss is maintained within Telepermit limits. However, those private
networks making use of Voice over IP technology are required to provide echo cancellation for all
voice calls. The combined effect of audio / VoIP conversion delay and IP routing delay can cause the
echo cancellation time of ³ 64 ms to be required.
PTC200 6.11.1 (3) All Customer Equipment (fail safe requirements)
RUnder power failure conditions this appliance may not operate. Please ensure that a separate
telephone, not dependent on local power, is available for emergency use.
For Users in Australia and the United Kingdom
RThis unit is capable of being used in conjunction with hearing aids fitted with inductive coil
pick-ups. The handset should be held as for normal conversation. For operation, the hearing aid
should be set to its "T" position or as directed in the operating instructions for the hearing aid.
RThis unit is designed to aid the visually handicapped to locate dial keys and buttons.
For Users in the United Kingdom
RThis unit is designed to be installed under controlled conditions of ambient temperature and a relative humidity.
RAvoid installing the unit in damp or humid environments, such as bathrooms or swimming pools.
R999 and 112 can be dialed on the product after accessing the outside line for the purpose of making outgoing calls to
the BT emergency (999) and (112) services.
For Users in the United States Only
FCC and Other Information
Privacy of communications may not be ensured when using this phone.
FCC RF Exposure Warning:
RThis product complies with FCC radiation exposure limits set forth for an uncontrolled environment.
RTo comply with FCC RF exposure requirements, the base unit must be installed and operated 20 cm
(8 inches) or more between the product and all person’s body.
RThis product may not be collocated or operated in conjunction with any other antenna or transmitter.
RThe handset may be carried and operated with only the specific provided belt-clip. Other non-tested
belt-clips or similar body-worn accessories may not comply and must be avoided.
6
Important Information

FCC ID can be found inside the battery compartment or on the bottom of the units.
Note
RThis equipment has been tested and found to comply with the limits for a Class B digital device,
pursuant to Part 15 of the FCC Rules. These limits are designed to provide reasonable protection
against harmful interference in a residential installation. This equipment generates, uses, and can
radiate radio frequency energy and, if not installed and used in accordance with the instructions, may
cause harmful interference to radio communications. However, there is no guarantee that interference
will not occur in a particular installation. If this equipment does cause harmful interference to radio or
television reception, which can be determined by turning the equipment off and on, the user is
encouraged to try to correct the interference by one or more of the following measures:
– Reorient or relocate the receiving antenna.
– Increase the separation between the equipment and receiver.
– Connect the equipment to an outlet on a circuit different from that to which the receiver is connected.
– Consult the dealer or an experienced radio/TV technician for help.
This device complies with Part 15 of the FCC Rules. Operation is subject to the following two
conditions:
(1) this device may not cause harmful interference, and (2) this device must accept any interference
received, including interference that may cause undesired operation.
WHEN PROGRAMMING EMERGENCY NUMBERS AND/OR MAKING TEST CALLS TO EMERGENCY
NUMBERS:
1. Remain on the line and briefly explain to the dispatcher the reason for the call before hanging up.
2. Perform such activities during off-peak hours, such as early morning or late evening.
CAUTION
Any changes or modifications not expressly approved by the party responsible for compliance could void
the user’s authority to operate this product.
Hearing Aid Compatibility
This telephone provides magnetic coupling for hearing aids as defined by the FCC in 47 CFR Section
68.316. Use only handsets or other acoustic devices with this equipment that are compliant with the
hearing aid compatibility requirements of FCC Part 68.
When you hold the phone to your ear, noise might be heard in your Hearing Aid. Some Hearing Aids are
not adequately shielded from external RF (radio frequency) energy. If noise occurs, use an optional
headset accessory or the speakerphone option (if applicable) when using this phone. Consult your
audiologist or Hearing Aid manufacturer about the availability of Hearing Aids which provide adequate
shielding to RF energy commonly emitted by digital devices.
Compliance with TIA-1083 standard:
T
Compatible with
Hearing Aid T-Coil
TIA-1083
Telephone handsets identified with
this logo have reduced noise and
interference when used with T-Coil
equipped hearing aids and cochlear
implants.
7
Important Information

For Product Service
RCall 1-800-211-PANA (7262) for the location of your nearest authorized service center.
RPanasonic’s e-mail address for customer inquiries:
consumerproducts@panasonic.com
For customers in the USA and Puerto Rico ONLY.
For Users in Canada Only
Industry Canada Notices and Other Information
This product meets the applicable Industry Canada technical specifications.
Note
RThis device complies with Industry Canada licence-exempt RSS standard(s). Operation is subject to
the following two conditions: (1) this device may not cause interference, and (2) this device must
accept any interference, including interference that may cause undesired operation of the device.
RPrivacy of communications may not be ensured when using this phone.
RSome wireless telephones operate at frequencies that may cause interference to nearby TVs and
VCRs. To minimize or prevent such interference, the wireless telephone should not be placed near, or
on top of, a TV or VCR. If interference is experienced, move the wireless telephone farther away from
the TV or VCR. This will often reduce, or eliminate, interference.
RThis transmitter must not be co-located or operated in conjunction with any other antenna or
transmitter.
RThis Class B digital apparatus complies with Canadian ICES-003.
CAUTION
Any changes or modifications not expressly approved by the party responsible for compliance could void
the user’s authority to operate this product.
RF Exposure Warning:
RThis product complies with IC radiation exposure limits set forth for an uncontrolled environment.
RTo comply with IC RF exposure requirements, the base unit must be installed and operated 20 cm
(8 inches) or more between the product and all person’s body.
RThis product may not be collocated or operated in conjunction with any other antenna or transmitter.
RThe handset may be carried and operated with only the specific provided belt-clip. Other non-tested
belt-clips or similar body-worn accessories may not comply and must be avoided.
8
Important Information

For Best Performance
Operating Range
RThe range of operation depends on the topography of your office, weather, or usage conditions,
because signals are transmitted between the base unit and the handset by radio waves.
RNormally, you get greater range outdoors than indoors. If there are obstacles such as walls, noise may
interfere with your telephone calls. In particular, high metal shelves or reinforced concrete walls will
restrict your operating range.
RA handset may not work when it is too far from the base unit depending on the structure of the building.
RWe strongly suggest you hold the bottom half of the handset to ensure better call quality. Because, the
antenna is located in the upper half of the handset.
Noise
Occasional noise or interference may occur due to electromagnetic radiation from objects such as
refrigerators, microwave ovens, faxes, TVs, radios, or personal computers. If noise disturbs your
telephone calls, keep the handset away from these electrical appliances.
Environment
RKeep the product away from heating appliances and devices that generate electrical noise, such as
fluorescent lamps and motors. These noise sources can interfere with performance of the product.
RDo not place the product in rooms where the temperature is less than 0 °C (32 °F) or greater than
40 °C (104 °F).
RAllow 10 cm (3-15/16 in) clearance around the product for proper ventilation.
RAvoid environments with excessive smoke, dust, moisture, mechanical vibration, shock, or direct
sunlight.
RThe apparatus is designed to be installed and operated under controlled conditions of ambient
temperature and a relative humidity.
Routine Care
RUnplug the AC adaptor from the AC outlet and disconnect the LAN cable before cleaning.
RWipe the product with a soft cloth.
RDo not clean the product with abrasive powder or with chemical agents such as benzine or thinner.
RDo not use liquid cleaners or aerosol cleaners.
RClean the terminal of the charger periodically.
Placement
RDo not place heavy objects on top of the product.
RCare should be taken so that objects do not fall onto, and liquids are not spilled into, the product.
RPlace the charger on a flat surface.
9
Important Information

Battery Information
After batteries are fully charged (at 25 °C [77 °F]):
Operation Operating Time
While Talking
(Backlight off ) Up to about 10 H
While not in use (Standby) Up to about 168 H
ROperating time may be shorter than listed above depending on usage conditions and ambient
temperature.
RBatteries will drain slowly even while the handset is turned off.
RThe handset can receive calls while charging.
RBattery consumption increases when the handset is out of range (if " " flashes, turn the handset off).
RClean the handset and the charger contacts with a soft, dry cloth once a month. Clean more
often if the unit is subject to grease, dust or high humidity. Otherwise batteries may not charge
properly.
Low Battery Warning
Batteries needs to be charged in the following situations:
RThe battery level indicator displays as empty (" ") and the alarm sounds*1.
R"Charge Battery" is displayed. In this situation, the handset cannot be operated.
*1 If the low battery warning occurs during a conversation, the handset will turn off in one minute.
Replacing the Batteries
If the battery level indicator displays as empty (" ") after using the phone for a short time, even when
the batteries have been fully charged, the batteries should be replaced.
Before replacing the batteries, make sure the low battery warning is displayed, then turn off the power to
prevent memory loss. Replace the batteries and charge the new batteries for about 6 hours.
If you replace the batteries before the low battery warning appears, the battery strength icon may display
an incorrect reading. In this case, use the handset as normal with the new batteries installed.
When the low battery warning is displayed, charge the batteries for about 6 hours. The battery strength
icon will then display the correct reading.
RPlease use AAA Ni-MH 1.2 V, 630 mAh batteries only. (Contact your phone system dealer/service
provider.)
RThere is a danger of explosion if the batteries are incorrectly replaced.
Nickel metal hydride batteries that
are recyclable power the product you
have purchased. Please call
1-800-8-BATTERY for information on
how to recycle these batteries.
Important Notice Concerning the Correct Use and Charging of Ni-MH Batteries
Batteries, due to their construction, undergo some wear and tear. The lifetime of batteries also depends
on correct maintenance. Charging and discharging are the most important factors. You should take
notice of the following to maintain the life of the batteries as long as possible.
Ni-MH batteries have a kind of memory, the "memory effect". If fully charged batteries are used several
times only for 15 minutes in the handset and then recharged, the capacity of the batteries will be reduced
10
Important Information

to 15 minutes due to the memory effect. Therefore you should discharge the batteries completely, i.e. use
them in the handset until the battery level indicator displays as empty (" "). Then recharge them as
described in the manual. After the memory effect has occurred, it is possible to achieve almost complete
capacity of the Ni-MH batteries by charging and discharging several times one after another.
Ni-MH batteries can also self-discharge. This self-discharge depends on the ambient temperature. At
temperatures under 0 °C (32 °F), the self-discharge will be the lowest. High humidity and high
temperatures support the self-discharge. Also long-term storage will lead to self-discharge.
CAUTION
RISK OF EXPLOSION IF BATTERY IS REPLACED BY AN INCORRECT TYPE. DISPOSE OF USED
BATTERIES ACCORDING TO THE INSTRUCTIONS.
11
Important Information

Accessory Information
Included Accessories
AC adaptor for Base unit: 1
Model No. Part No.
KX-TGP600B PQLV219
KX-TGP600UKB PQLV219E
KX-TGP600CEB PQLV219CE
KX-TGP600RUB PQLV219CE
KX-TGP600ALB PQLV219AL
KX-TGP600LCB PQLV219BX
KX-TGP600LAB PQLV219
AC adaptor for Charger: 1
Model No. Part No.
KX-TPA60B PNLV226
KX-TPA60UKB PNLV226E
KX-TPA60CEB PNLV226CE
KX-TPA60RUB PNLV226CE
KX-TPA60ALB PNLV226AL
KX-TPA60LCB PNLV226BX
KX-TPA60LAB PNLV226
Charger: 1 Batteries*1: 2 Battery Cover*2: 1
Belt Clip: 1 Ethernet Cable: 1
*1 Rechargeable AAA Ni-MH 1.2 V, 630 mAh batteries
*2 The battery cover comes attached to the handset.
12
Before Operating the Telephone

Optional Accessories
Note
RThe actual product may differ slightly from the images below.
Item Model No.
Additional
Handset*1
KX-TPA60 KX-UDT121 KX-UDT131
(Basic) (Slim Bluetooth) (Tough Bluetooth)
DECT
Repeater
KX-A406
Headset KX-TCA400 KX-TCA430
*1 You can expand your phone system by registering optional handsets (8 max.) to a single base unit.
13
Before Operating the Telephone

Location of Controls
Handset
The headset is an optional
accessory.
Open the cover.
[Back View]
Ringer/Charge Indicator
Headset Jack
TALK/SP-PHONE (Speakerphone) Key
Navigator Key
The Navigator Key includes four arrow keys and a center key. The arrow keys are used to adjust the
ringer/receiver volume or move the cursor to select an item. The center key is used to confirm a
selection. If in standby mode, pressing the keys perform the following functions:
ALEFT ® Used to display the Incoming call log.
BUP ® Used to adjust the ringer volume.
CRIGHT ® Used to open the phonebook.
DDOWN ® Used to display the Outgoing call log.
ECENTER ® Used to display the Menu.
HOLD/Voice Message Key
Silent Mode Key
14
Before Operating the Telephone

Line Key
Used to confirm the line status of VoIP server.
Receiver
Display
Soft Keys
POWER/CANCEL Key
TRANSFER/CLEAR Key
Function Key
Microphone
Charge Contacts
Strap Holes
Speaker
Base unit
Status Indicator
Handset locator button
15
Before Operating the Telephone

Handset Functions
Display
1
2
3
4
5
6
Pictograph
Signal Strength Indicator Battery Indicator
Strong Full
Medium Medium
Weak Low
Very weak Needs to be charged.
Out of range Incoming Call Log
Off-hook Status Outgoing Call Log
Intercom Indicator
Voice Message
Navigation Key Guidance
Handset Status Information
Ringer Off
Fwd
Call Forwarding
(For the United States Only)
Silent Mode Call Forwarding
(For all Countries except the United States)
Auto Answer
DND
Do Not Disturb
(For the United States Only)
Registration number of
handset
Do Not Disturb
(For all Countries except the United States)
16
Before Operating the Telephone

Time Display
Date or Missed Call Display
Handset number and Name
Soft Keys
Soft Keys
Other Icons
17
Before Operating the Telephone

Making Calls
Receiving Calls
During a Conversation
Useful Features
18
Feature Operations

Using the Handset Phonebook
Entering Characters
Changing Handset Settings
19
Customizing the Telephone

Installation and Setup
Connections
WARNING
RTo reduce the risk of fire or electric shock, do not overload AC outlets and extension cords.
RDo not bundle the AC adaptor cord with the power cords of machines located nearby.
RCompletely insert the AC adaptor/power plug into the AC outlet. Failure to do so may cause electric
shock and/or excessive heat resulting in a fire.
RRegularly remove any dust, etc. from the AC adaptor/power plug by pulling it from the power outlet,
then wiping with a dry cloth. Accumulated dust may cause an insulation defect from moisture, etc.
resulting in a fire.
Base unit
Connect the AC adaptor and the Ethernet cable to the base unit.
To AC outlet
Hook
Correct Wrong
Charger
Connect the AC adaptor to the charger.
To AC outlet
Hooks
20
Installation and Setup

RThe AC adaptor should be connected to a vertically oriented or floor-mounted AC outlet. Do not
connect the AC adaptor to a ceiling-mounted AC outlet, as the weight of the adaptor may cause it to
become disconnected.
RFasten the AC adaptor cord to the cord holder.
RUse only the included Panasonic AC adaptor.
Battery Installation
Open the battery cover, insert the batteries, and close the cover as indicated below.
Charging the Batteries
At the time of shipment, the batteries are not charged. Please charge the batteries for about 6 hours
before using the handset for the first time.
RThe charge indicator will turn off when the batteries are fully charged.
For more information about charging batteries, see “Battery Information”,
Page 10.
RIt is normal for the handset and charger to feel warm while the batteries are
charging.
RKeep devices sensitive to magnetic fields away from the charger.
RUse only the included charger.
21
Installation and Setup

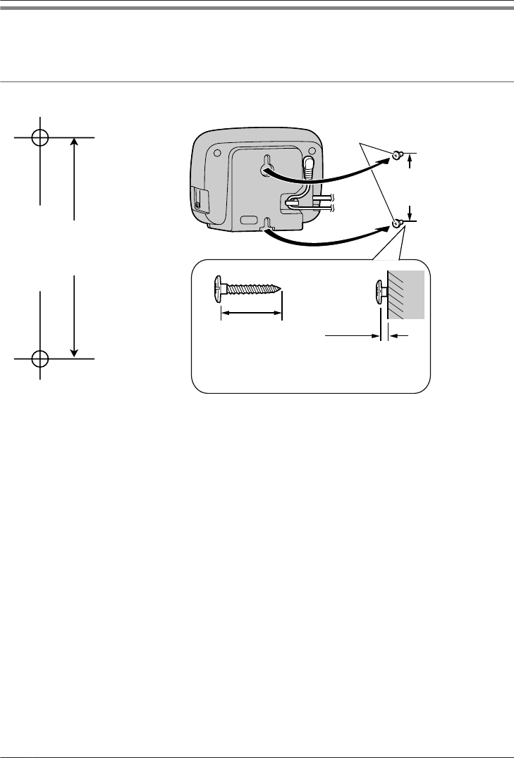
Wall Mounting
Note
RMake sure that the wall and the fixing method are strong enough to support the weight of the unit.
Base unit
55 mm
for base unit
(2-5/32 in)
Screws
(Not supplied)
55 mm
(2-5/32
in)
20 mm (3/4 in)
or longer
Space
(2 mm
[1/16 in])
• Recommended screw size is
M4 x 20.
RPlease copy this page and use as a reference for wall mounting. Make sure to set the print size to
correspond with the size of this page. If the dimension of the paper output still deviates slightly from the
measurement indicated here, use the measurement indicated here.
RWhen inserting screws, avoid pipes and electrical cables, etc, that may be present/buried.
RThe screw heads should not be flush to the wall.
RCertain types of wall may require plugs to be anchored in the wall before the screws are inserted.
22
Installation and Setup

Appendix
Specifications
Item Specifications
Standard DECT 6.0
DECT
Frequency Band DECT 6.0:
1920 MHz to 1930 MHz
DECT (Latin America):
1910 MHz to 1920 MHz
DECT (Other countries/areas):
1880 MHz to 1900 MHz
RF Transmission Power DECT 6.0: Peak 115 mW
DECT: Peak 250 mW
Power Supply AC adaptor / PoE (IEEE 802.3af)
Maximum Power Consumption Base unit: 3.0 W
Charger: 2.0 W
Operating Environment 0 °C (32 °F) to 40 °C (104 °F)
Ethernet Port (LAN) 1 (RJ45)
Ethernet Interface 10Base-T/100Base-TX
(Auto / 100MB-FULL / 100MB-HALF / 10MB-FULL / 10MB-HALF)
CAT-iq 2.0
Wideband Codec G.722 / G.722.2 (WB-AMR)
Narrowband Codec G.711a-law / G.711-law / G.729a / G.729b
Multiple Line 8
Multiple Handset 8
Simultaneous Voice Calls
(Narrowband Mode)
Talk 8 + Conference 2
Simultaneous Voice Calls
(Wideband Mode)
Talk 4 + Conference 2
(WB-AMR : Talk 2)
Troubleshooting
Error Messages
23
Appendix

Index
AAC adaptor: 12
Accessories: 12
BBase unit: 15
Connection: 20
Wall mounting: 22
Batteries: 12
Charging: 21
Installation: 21
Battery cover: 12
Battery information: 10
Belt clip: 12
CCharacters
Entering: 19
Charger: 12
Connection: 20
Controls
Locations of: 14
DDisplay: 16
EError messages: 23
Ethernet cable: 12
HHandset: 14
OOptional accessories: 13
SSoft Keys: 17
Specifications: 23
TText
Entering: 19
Troubleshooting: 23
24
Index

25
Notes

26
Notes

27
Notes

1-62, 4-chome, Minoshima, Hakata-ku, Fukuoka 812-8531, Japan
http://panasonic.net/pcc/support/sipphone
Two Riverfront Plaza, Newark, NJ 07102-5490
http://www.panasonic.com/sip
5770 Ambler Drive, Mississauga, Ontario, L4W 2T3
http://www.panasonic.ca
Copyright:
This material is copyrighted by Panasonic System Networks Co., Ltd., and may be reproduced for
internal use only. All other reproduction, in whole or in part, is prohibited without the written consent of
Panasonic System Networks Co., Ltd.
© Panasonic System Networks Co., Ltd. 2014 PNQX6905ZA DD0514MK0