Panasonic of North America 9TGCF-082 Panasonic Toughbook with WLAN and Bluetooth User Manual CF 08
Panasonic Corporation of North America Panasonic Toughbook with WLAN and Bluetooth CF 08
Draft Users Manual

Read Me First
Please read these instructions carefully before using this product and save this
manual for future use.
E
D
F
Wireless Display
Model No. CF-08
Read Me First ..................................................................................2
ENGLISH OPERATING INSTRUCTIONS
Contents ........................................................................................13
DEUTSCH BEDIENUNGSANLEITUNG
Inhalt ..............................................................................................61
FRANÇAIS INSTRUCTIONS D’UTILISATION
Sommaire.....................................................................................110

2
Read Me First
Read Me First
Federal Communications Commis-
sion Radio Frequency Interference
Statement
Note: This equipment has been tested
and found to comply with the limits for a
Class B digital device, pursuant to Part
15 of the FCC Rules. These limits are
designed to provide reasonable protec-
tion against harmful interference in a
residential installation. This equipment
generates, uses and can radiate radio
frequency energy and, if not installed
and used in accordance with the
instructions, may cause harmful interfer-
ence to radio communications. How-
ever, there is no guarantee that
interference will not occur in a particular
installation. If this equipment does
cause harmful interference to radio or
television reception, which can be deter-
mined by turning the equipment off and
on, the user is encouraged to try to cor-
rect the interference by one or more of
the following measures:
zReorient or relocate the receiving
antenna.
zIncrease the separation between the
equipment and receiver.
zConnect the equipment into an outlet
on a circuit different from that to
which the receiver is connected.
zConsult the Panasonic Service Cen-
ter or an experienced radio/TV tech-
nician for help.
Warning
To assure continued compliance, use
only shielded interface cables when
connecting to a wireless display or
peripheral. Also, any changes or modi-
fications not expressly approved by the
party responsible for compliance could
void the user’s authority to operate this
equipment.
This device complies with Part 15 of the
FCC Rules. Operation is subject to the
following two conditions:
(1) This device may not cause harmful
interference, and
(2) This device must accept any interfer-
ence received,
including interference
that may cause undesired operation.
Responsible Party:
Panasonic Corporation of North America
One Panasonic Way
Secaucus, NJ 07094
Tel No:
1-800-LAPTOP5 (1-800-527-8675)
FCC RF Exposure Warning:
zThis equipment complies with FCC
radiation exposure limits set forth for
an uncontrolled environment.
zThis equipment must be installed
and operated in accordance with
provided instructions and minimum
1.5 cm spacing must be provided
between antenna and all person’s
body (excluding extremities of
hands, wrist and feet) during wire-
less modes of operation.
z
This transmitter must not be co-
located or operated in conjunction
with any other antenna or transmitter.
Models for U.S.A.

3
Read Me First
Notice for the products using LCD
This product uses one or more fluores-
cent lamps containing a small amount of
mercury. It also contains lead in some
components. Disposal of these materi-
als may be regulated in your community
due to environmental considerations.
For disposal or recycling information
please contact your local authorities, or
the Electronics Industries Alliance:
<http://www.eiae.org/>
For Use in Motor Vehicle
Warning: Wireless display may be
installed in a motor vehicle and visible to
the driver only if used to support vehicle
related functions such as vehicle infor-
mation, system control, rear or side
observation and navigation. If used for
entertainment purpose, such as televi-
sion reception or video play, it must be
installed to the rear of the driver’s seat
where it will not be visible, directly or
indirectly, to the operator of the motor
vehicle.
Check with individual state/provincial
laws to determine lawful use of this
product while operating within a motor
vehicle.
Pour L’utilisation Dans Un Véhicule
Motorisé
Avertissement : L’ordinateur bloc-notes
peut être installé dans un véhicule
motorisé et dans le champ de vision du
conducteur uniquement en tant que dis-
positif d’aide aux fonctions du véhicule,
comme par exemple pour fournir des
informations sur le véhicule, comme dis-
positif de contrôle de système, pour
l’observation à l’arrière ou sur les côtés
du véhicule, ainsi que pour fournir de
l’information routière. Pour toute utilisa-
tion à fin de divertissement, comme par
exemple pour regarder la télévision ou
jouer à des jeux vidéo, il doit être
installé à l’arrière du siège du conduc-
teur, en un emplacement où il ne sera
pas visible, ni directement ni indirecte-
ment, pour le conducteur du véhicule
motorisé. Vérifiez les lois fédérales et
nationales qui régissent l’utilisation
légale de cet appareil à l’intérieur d’un
véhicule motorisé.
Models for U.S.A./Canada
Models for Canada
Industry Canada
This product complies with RSS210 Industry Canada.
Operation is subject to the following two conditions;
(1) this device may not cause interference, and
(2) this device must accept any interference, including interference that may
cause undesired operation of the device.

4
Read Me First
Read Me First
Warning
This apparatus must be earthed for
your safety.
To ensure safe operation the three-pin
plug must be inserted only into a stan-
dard three-pin power point which is
effectively earthed through the normal
household wiring.
Extension cords used with the equip-
ment must be threecore and be cor-
rectly wired to provide connection to
earth. Wrongly wired extension cords
are a major cause of fatalities.
The fact that the equipment operates
satisfactorily does not imply that the
power point is earthed and that the
installation is completely safe.
For your safety, if you have any doubt
about the effective earthing of the power
point, consult a qualified electrician.
FOR YOUR SAFETY PLEASE READ
THE FOLLOWING TEXT CAREFULLY
This appliance is supplied with a moul-
ded three pin mains plug for your safety
and convenience.
A 3 amp fuse is fitted in this plug.
Should the fuse need to be replaced
please ensure that the replacement fuse
has a rating of 3 amps and that it is
approved by ASTA or BSI to BS 1362.
Check for the ASTA mark or the BSI
mark on the body of the fuse.
If the plug contains a removable fuse
cover you must ensure that it is refitted
when the fuse is replaced.
If you lose the fuse cover the plug must
not be used until a replacement cover is
obtained.
A replacement fuse cover can be pur-
chased from your local Panasonic
Dealer.
IF THE FITTED MOULDED PLUG IS
UNSUITABLE FOR THE SOCKET
OUTLET IN YOUR HOME THEN THE
FUSE SHOULD BE REMOVED AND
THE PLUG CUT OFF AND DISPOSED
OF SAFELY.
THERE IS A DANGER OF SEVERE
ELECTRICAL SHOCK IF THE CUT
OFF PLUG IS INSERTED INTO ANY
13 AMP SOCKET.
If a new plug is to be fitted please
observe the wiring code as shown
below.
If in any doubt please consult a qualified
electrician.
Warning: THIS APPLIANCE MUST BE
EARTHED.
Important
The wires in this mains lead are
coloured in accordance with the follow-
ing code:
Green-and-yellow: Earth
Blue: Neutral
Brown: Live
As the colours of the wires in the mains
lead of this apparatus may not corre-
spond with the coloured markings iden-
tifying the terminals in your plug,
proceed as follows:
The wire which is coloured GREEN-
and-YELLOW must be connected to the
Models for U.K.
A S A

5
Read Me First
terminal in the plug which is marked by
the letter E or by the safety earth sym-
bol coloured GREEN or GREEN-
and-YELLOW.
The wire which is coloured Blue must be
connected to the terminal which is
marked with the letter N or coloured
BLACK.
The wire which is coloured Brown must
be connected to the terminal which is
marked with the letter L or coloured
RED.
The mains plug on this equipment must
be used to disconnect the mains power.
Please ensure that a socket outlet is
available near the equipment and shall
be easily accessible.
How to replace the fuse
Open the fuse compart-
ment with a screwdriver
and replace the fuse.
Warnings
zThis equipment is not designed for
connection to an IT power system.
(An IT system is a system having no
direct connections between live parts
and Earth; the exposed-conducive-
parts of the electrical installation are
earthed. An IT system is not permit-
ted where the wireless display is
directly connected to public supply
systems in the U.K.)
zDisconnect the mains plug from the
supply socket when the wireless dis-
play is not in use.
This equipment is produced to BS800/
1983.
For Use in Motor Vehicle
Warning: Check the following Commis-
sion Recommendation to determine
proper installation and usage of this
product while operating within a motor
vehicle. "Commission Recommenda-
tion on safe and efficient in-vehicle infor-
mation and communication systems: A
European statement of principles on
human machine interface."
Commission Recommendation is avail-
able from Official Journal of the Euro-
pean Communities.

6
Read Me First
Read Me First
Zur Verwendung in Fahrzeugen
Warnung: Überprüfen Sie die folgende Empfehlung der EUKommission, um die
richtige Installation und Verwendung dieses Produktes zu ermitteln, wenn Sie das
Gerät in einem Fahrzeug betreiben möchten.
“Empfehlung der Kommission an die Mitgliedsstaaten und die Industrie über
sichere und effiziente On-board-Informations- und -Kommunikationssysteme:
Europäischer Grundsatzkatalog zur Mensch-Maschine-Schnittstelle.”
Die Empfehlung der EU-Kommission steht im offiziellen Journal der EU zur Verfü-
gung.
Bande de fréquences restreinte: Lors de l’utilisation de cet appareil sur le territoire
français, vous ne pouvez le faire qu’en utilisant les bandes de fréquences 10 et 11
(respectivement 2.457 MHz et 2.462 MHz). L’utilisation de cet appareil sur une
autre bande prise en charge par celui-ci est interdite. Une utilisation à l’extérieur
n’est pas autorisée.
L’utilisation de Bluetooth est interdite pour les communications extérieures.
N’utilisez pas la technologie Bluetooth à l’extérieur.
Utilisation dans un véhicule automobile
Danger: Vérifiez les recommandations de la Commission Européenne suivantes
pour une installation et une utilisation adéquates de ce produit dans un véhicule
automobile.
“Recommandation de la Commission sur les systèmes efficaces d’information et
de communication embarqués dans les véhicules et garantissant une séurité opti-
male: délaration de principes européenne concernant l’interface homme/machine.”
Les recommandations de la Commission Européenne sont disponibles dans le
Journal Officiel des Communautés Européennes.
A S A
This product and your Health
This product, like other radio devices, emits radio frequency electromagnetic
energy. The level of energy emitted by this product however is far much less than
the electromagnetic energy emitted by wireless devices like for example mobile
phones.
Für Deutschland
Pour la France
Information to the User

7
Read Me First
Because this product operates within the guidelines found in radio frequency
safety standards and recommendations, we believe this product is safe for use by
consumers. These standards and recommendations reflect the consensus of the
scientific community and result from deliberations of panels and committees of sci-
entists who continually review and interpret the extensive research literature.
In some situations or environments, the use of this product may be restricted by
the proprietor of the building or responsible representatives of the organization.
These situations may for example include:
zUsing this product on board of airplanes, or
zIn any other environment where the risk of interference to other devices or ser-
vices is perceived or identified as harmful.
If you are uncertain of the policy that applies on the use of wireless devices in a
specific organization or environment (e.g. airports), you are encouraged to ask for
authorization to use this product prior to turning on the product.
Regulatory Information
We are not responsible for any radio or television interference caused by unautho-
rized modification of this product. The correction of interference caused by such
unauthorized modification will be the responsibility of the user. We and its autho-
rized resellers or distributors are not liable for damage or violation of government
regulations that may arise from failing to comply with these guidelines.
Declaration of Conformity (DoC)
“Hereby, we declare that this wireless display is in compliance with
the essential requirements and other relevant provisions of the
Directive 1999/5/EC.”
Hint:
If you want to get a copy of the original DoC of our products which relates to the
R&TTE, please contact to our web address: http://www.doc.panasonic.de
Contact:
Panasonic Services Europe
A Division of Panasonic Marketing Europe GmbH
Panasonic Testing Centre
-------------------------------------------------------------------------------------------------------------
Compliance Notice - CE Mark
This equipment is in conformance with the requirements of the European Council
Directive listed below:
73/23/EEC Low Voltage Directive with amendment 93/68/EEC
89/336/EEC EMC Directive with amendments 92/31/EEC and 93/68/EEC
1999/5/EC R&TTE
-------------------------------------------------------------------------------------------------------------

8
Read Me First
Read Me First
Information on Disposal for Users of Waste Electrical & Electronic Equip-
ment (private households)
This symbol on the products and/or accompanying documents
means that used electrical and electronic products should not be
mixed with general household waste.
Please dispose of this item only in designated national waste elec-
tronic collection schemes, and not in the ordinary dust bin.
For business users in the European Union
If you wish to discard electrical and electronic equipment, please contact your
dealer or supplier for further information.
Information on Disposal in other Countries outside the European Union
This symbol is only valid in the European Union.
If you wish to discard this product, please contact your local authorities or dealer
and ask for the correct method of disposal.

9
Read Me First
-
Dieses Produkt und Ihre Gesundheit
Wie andere Funkgeräte strahlt auch dieses Produkt elektromagnetische Funkfre-
quenzenergie ab. Die Strahlung ist allerdings weit weniger stark als bei drahtlosen
Geräten wie beispielsweise einem Handy.
Da sich dieses Produkt im Rahmen der Richtlinien bewegt, die für Funkfrequenz-
Sicherheitsstandards und Empfehlungen Geltung haben, gehen wir davon aus,
dass es gefahrlos von Verbrauchern eingesetzt werden kann.
Diese Standards und Empfehlungen spiegeln den Konsensus der wissenschaftli-
chen Gemeinschaft wider und sind das Ergebnis der Arbeit von Sachverständigen
und wissenschaftlichen Ausschüssen, welche sich laufend mit der einschlägigen
Fachliteratur und den Forschungsresultaten auseinandersetzen.
Es kann Fälle geben, in denen der Eigentümer eines Gebäudes oder der Zustän-
dige einer Organisation den Einsatz dieses Produkts in einer bestimmten Situation
oder Umgebung einschränkt oder untersagt. Dazu können zählen:
zBenutzung dieses Produktes in Flugzeugen oder
zIn jeder anderen Umgebung, in der die Gefahr von Störungen anderer Geräte
oder Dienste vermutet oder erkannt wurde.
Sollten Sie nicht sicher sein, welche Richtlinien und Vorschriften für den Gebrauch von
drahtlosen Geräten innerhalb einer bestimmten Organisation oder Umgebung (z. B. in
Flughäfen) gelten, empfehlen wir Ihnen, sich vor dem Einschalten des Gerätes
entsprechend zu informieren und gegebenenfalls eine Genehmigung einzuholen.
Regulierungsinformation
Wir sind in keiner Weise verantwortlich für Störungen des Funkverkehrs oder von
Fernsehgeräten, die durch eigenmächtige Änderungen an diesem Produkt
verursacht werden. Die Beseitigung solcher, durch unbefugte Änderungen
verursachten, Störungen obliegt der alleinigen Verantwortlichkeit des Benutzers.
Weder wir noch unsere autorisierten Händler und Verkäufer können für Schäden
oder für die Verletzung von gesetzlichen Vorschriften haftbar gemacht werden, die
durch die Zuwiderhandlung gegen diese Richtlinien entstehen.
Herstellererklärungen (DoC)
“Wir erklären hiermit, daß dieser Personalcomputer mit den not-
wendigen Anforderungen und anderen relevanten Bedingungen
der Direktive 1999/5/EC übereinstimmt.”
Hinweis:
Falls Sie einen Kopie der ursprünglichen Herstellererklärungen unserer Produkte
erhalten möchten, die sich auf R&TTE bezieht, besuchen Sie bitte unsere Web-
Adresse: http://www.doc.panasonic.de
Kontakt:
Anwenderinformation

10
Read Me First
Read Me First
Panasonic Services Europe
A Division of Panasonic Marketing Europe GmbH
Panasonic Testing Centre
-------------------------------------------------------------------------------------------------------------
Übereinstimmungserklärung - CE-Marke
Diese Ausrüstung erfüllt die Anforderungen der unten angegebenen EC-Direktive:
73/23/EEC Niederspannungsdirektive mit Abänderung 93/68/EEC
89/336/EEC EMC-Direktive mit Abänderungen 92/31/EEC und 93/68/EEC
1999/5/EC R&TTE
-------------------------------------------------------------------------------------------------------------
Benutzerinformationen zur Entsorgung von elektrischen und elektronischen
Geräten (private Haushalte)
Entsprechend der grundlegenden Firmengrundsätzen der Pana-
sonic-Gruppe wurde ihr Produkt aus hochwertigen Materialien und
Komponenten entwickelt und hergestellt, die recycelbar und wieder
verwendbar sind.
Dieses Symbol auf Produkten und/oder begleitenden Dokumenten
bedeutet, dass elektrische und elektronische Produkte am Ende ihrer
Lebensdauer vom Hausmüll getrennt entsorgt werden müssen.
Bringen Sie bitte diese Produkte für die Behandlung, Rohstoffrückgewinnung und
Recycling zu den eingerichteten kommunalen Sammelstellen bzw.
Wertstoffsammelhöfen, die diese Geräte kostenlos entgegennehmen.
Die ordnungsgemäße Entsorgung dieses Produkts dient dem Umweltschutz und
verhindert mögliche schädliche Auswirkungen auf Mensch und Umwelt, die sich
aus einer unsachgemäßen Handhabung der Geräte am Ende Ihrer Lebensdauer
ergeben könnten.
Genauere Informationen zur nächstgelegenen Sammelstelle bzw. Recyclinghof
erhalten Sie bei Ihrer Gemeindeverwaltung.
Für Geschäftskunden in der Europäischen Union
Bitte treten Sie mit Ihrem Händler oder Lieferanten in Kontakt, wenn Sie elek-
trische und elektronische Geräte entsorgen möchten. Er hält weitere Informa-
tionen für sie bereit.
Informationen zur Entsorgung in Ländern außerhalb der Europäischen
Union
Dieses Symbol ist nur in der Europäischen Union gültig.

11
Read Me First
Ce produit et votre santé
Ce produit, comme tout autre appareil radio, émet de l’énergie radioélectrique.
Toutefois, la quantité d’énergie émise par ce produit est beaucoup moins impor-
tante que l’énergie radioélectrique émise par des appareils sans fil tels que les
téléphones portables.
L’utilisation de ce produit ne comporte aucun risque pour le consommateur du fait
que cet appareil opère dans les limites des directives concernant les normes et les
recommandations de sécurité sur les fréquences radio. Ces normes et recomman-
dations reflètent le consensus de la communauté scientifique et résultent de
délibérations de jurys et comités de scientifiques qui examinent et interprètent con-
tinuellement les nouveautés de la vaste littérature sur les recherches effectuées.
Dans certaines situations ou environnements, l’utilisation de ce produit peut être
restreinte par le propriétaire du bâtiment ou par les représentants responsables de
l’organisation. Ces situations peuvent être les suivantes par exemple :
zÀ bord d’un avion, ou
zDans tout autre environnement où les risques d’interférence sur d’autres appa-
reils ou services sont perçus ou identifiables comme dangereux.
Si vous n’êtes pas sûr de la réglementation applicable à l’utilisation d’appareils
sans fil dans une organisation ou un environnement spécifiques (par exemple
dans un aéroport), nous vous invitons à demander l’autorisation d’utiliser ce pro-
duit avant sa mise en marche.
Informations concernant la réglementation
Nous déclinons toute responsabilité pour toute interférence radio ou télévision
causée par des modifications non autorisées apportées à ce produit. La correction
d’interférences causées par de telles modifications non autorisées sera la seule
responsabilité de son utilisateur. Nous-mêmes, les revendeurs officiels et les dis-
tributeurs ne sommes pas responsable de tout dégât ou de toute violation des
règlements de l’État pouvant découler du non-respect de ces directives.
Déclaration de conformité (DoC)
Par présent document nous déclarons que cet ordinateur est con-
forme aux conditions fondamentales et aux autres dispositions
applicables de la Directive 1999/5/EC.
Suggestion:
Si vous voulez obtenir une copie de la DoC d’origine de nos produits qui concerne
le R&TTE, veuillez contacter notre site Internet à l’adresse:
http://www.doc.panasonic.de
Informations destinées aux utilisateurs

12
Read Me First
Read Me First
Contact:
Panasonic Services Europe
A Division of Panasonic Marketing Europe GmbH
Panasonic Testing Centre
-------------------------------------------------------------------------------------------------------------
Avis de comformité - Marque CE
Cet équipement est conforme aux conditions des Directives de la Commission
européenne mentionnées ci-dessous:
73/23/EEC Directive sur la basse tension y compris la modification 93/68/EEC
89/336/EEC Directive CEM y compris les modifications 92/31/EEC et 93/68/EEC
1999/5/EC R&TTE
-------------------------------------------------------------------------------------------------------------
Informations relatives à l’évacuation des déchets, destinées aux utilisateurs
d’appareils électriques et électroniques (appareils ménagers domestiques)
Lorsque ce symbole figure sur les produits et/ou les documents qui
les accompagnent, cela signifie que les appareils électriques et
électroniques ne doivent pas être jetés avec les ordures
ménagères.
Pour que ces produits subissent un traitement, une récupération et
un recyclage appropriés, envoyez-les dans les points de collecte
désignés, où ils peuvent être déposés gratuitement.
Dans certains pays, il est possible de renvoyer les produits au revendeur local en
cas d’achat d’un produit équivalent.
En éliminant correctement ce produit, vous contribuerez à la conservation des res-
sources vitales et à la prévention des éventuels effets négatifs sur l’environnement
et la santé humaine qui pourraient survenir dans le cas contraire.
Afin de connaître le point de collecte le plus proche, veuillez contacter vos
autorités locales.
Des sanctions peuvent être appliquées en cas d’élimination incorrecte de ces
déchets, conformément à la législation nationale.
Utilisateurs professionnels de l’Union européenne
Pour en savoir plus sur l’élimination des appareils électriques et électroniques,
contactez votre revendeur ou fournisseur.
Informations sur l’évacuation des déchets dans les pays ne faisant pas par-
tie de l’Union européenne
Ce symbole n’est reconnu que dans l’Union européenne.
Pour supprimer ce produit, contactez les autorités locales ou votre revendeur afin
de connaître la procédure d’élimination à suivre.

13
E
Contents
Introduction .....................................................................................14
Precautions.....................................................................................15
Description of Parts.........................................................................19
First-time Operation ........................................................................21
LCD (Touchscreen) .........................................................................25
Control Panel ..................................................................................27
Backing Up/Deleting/Copying Data.................................................31
ROM Update ...................................................................................33
Buttons............................................................................................34
Quick Menu.....................................................................................35
Software Keyboard .........................................................................37
Signature Capture...........................................................................42
Security Measures ..........................................................................43
SD Memory Card ............................................................................47
Battery Power .................................................................................48
Connecting to a Computer/Server ..................................................50
Bluetooth.........................................................................................54
For Effective Use ............................................................................55
LIMITED USE LICENSE AGREEMENT .........................................56
Troubleshooting ..............................................................................58
Specifications..................................................................................59

14
E
Introduction
Thank you for purchasing this Panasonic wireless display. For optimum perfor-
mance and safety, please read these instructions carefully.
Terms and illustrations in these instructions
zSome illustrations are simplified to help your understanding and may look dif-
ferent from the actual unit.
zRefer to the catalogs, etc. for the latest information about optional products.
Copyright
This manual is copyrighted by Matsushita Electric Industrial Co., Ltd. with all rights
reserved. No part of this manual may be reproduced in any form without the prior
written permission of Matsushita Electric Industrial Co., Ltd.
No patent liability is assumed with respect to the use of the information contained
herein.
© 2006 Matsushita Electric Industrial Co., Ltd. All Rights Reserved.
Disclaimer
Wireless display specifications and manuals are subject to change without notice.
Matsushita Electric Industrial Co., Ltd. assumes no liability for damage incurred
directly or indirectly from errors, omissions or discrepancies between the wireless
display and the manuals.
Trademarks
Microsoft®, Windows® and the Windows logo are registered trademarks of
Microsoft Corporation of the United States and/or other countries.
SD Logo is a trademark.
Citrix® and ICA® protocol are registered trademarks of Citrix Systems, Inc.
Bluetooth™ is a trademark owned by Bluetooth SIG, Inc., U.S.A. and licensed to
Matsushita Electric Industrial Co., Ltd.
Panasonic® is a registered trademark of Matsushita Electric Industrial Co., Ltd.
Names of products, brands, etc., appearing in this manual are trademarks or regis-
tered trademarks of their respective own companies.
: Conditions that may result in minor or moderate injury.
: Useful and helpful information.
Î : Page in these Operating Instructions.
CAUTION
NOTE

15
E
Precautions
Usage
Wireless Display
Avoid Extreme Heat
and Cold
Do not store or use the
wireless display in loca-
tions exposed to heat,
direct sunlight, or
extreme cold.
Avoid moving the wire-
less display between
locations with large tem-
perature difference.
Operation: 5 °C to 35 °C
{41 °F to 95 °F}
Storage: -20 °C to 60 °C
{-4 °F to 140 °F}
Avoid Direct Sunlight
on the LCD Panel
The LCD panel should
not be exposed to direct
sunlight or ultraviolet
light.
Avoid Humidity, Liquids
and Dust
Do not store or use the
wireless display in loca-
tions exposed to high
humidity, liquids (includ-
ing rain) or dust.
Prevent Shock
Avoid subjecting the wire-
less display to severe
vibrations or impact. Do
not place the wireless
display inside a car trunk.
Avoid Radio Fre-
quency Interference
Do not place the wireless
display near a television
or radio receiver.
Avoiding Low-tempera-
ture Burns
Avoid more than casual
contact with any heat
producing area of the
wireless display, AC
adaptor, and any option
or accessory you use
with it. Even low heat, if
warmer than body tem-
perature, can cause a
burn, if the skin is
exposed to the heat
source for a long enough
period of time.
If the LAN port is con-
nected to a network such
as the ones listed below,
a fire or electric shock
may result.
• Networks other than
100BASE-TX or
10BASE-T.
• Phone lines [Tele-
phone lines, inter-
nal phone lines (on-
premise switches),
digital public
phones, etc.]

16
Precautions
E
Handling
zCare should be exercised with
regard to the following in order to
avoid the possibility of overheating,
fire or damage.
.
Keep SD Memory Cards
Away From Infants and
Small Children
Accidental swallowing
will result in bodily injury.
In the event of accidental
swallowing, see a doctor
immediately.
Avoid Magnetic Fields
Keep the wireless dis-
play away from magnets.
Data stored on the hard
disk may be lost.
Avoid Stacking
Do not place heavy
objects on top of the wire-
less display.
Keep Small Objects
Away
Do not insert paper clips
or other small objects into
the wireless display.
Do Not Disassemble the
Wireless Display
Do not attempt to disas-
semble your wireless dis-
play.
Avoid Excessive Force
on the Display
Do not apply excessive
downward force on the
display, especially when
plugs and/or cables are
connected to the rear of
the wireless display.
Battery Pack
Avoid Heat
Do not throw the battery
pack into a fire or expose
it to excessive heat.
Keep Articles Away
Do not place the battery
pack together with arti-
cles such as necklaces
or hairpins when carry-
ing or storing.
Do Not Disassemble
Do not insert sharp
objects into the battery
pack, expose it to bumps
or shocks, deform, disas-
semble, or modify it.
Do Not Short
Do not short the positive
(+) and negative (-) con-
tacts.

17
E
zDo not touch the terminals on the
battery pack. The battery pack may
no longer function properly if the
contacts are dirty or damaged.
zDo not expose the battery pack to
water, or allow it to become wet.
zIf the battery pack will not be used
for a long period of time (a month or
more), charge or discharge (use) the
battery pack until the remaining bat-
tery level becomes 30% to 40% and
store it in a cool, dry place.
zThis wireless display prevents over-
charging of the battery by recharging
only when the remaining power is
less than approx. 95% of capacity.
zThe battery pack is not charged
when the wireless display is first pur-
chased. Be sure to charge it before
using it for the first time. When the
AC adaptor is connected to the wire-
less display, charging begins auto-
matically.
zShould the battery leak and the fluid
get into your eyes, do not rub your
eyes. Immediately flush your eyes
with clear water and see a doctor for
medical treatment as soon as possi-
ble.
Avoid Extreme Heat,
Cold and Direct Sun-
light
Do not charge, use or
leave the battery pack for
extended periods where
it will be exposed to
direct sunlight, in a hot
place (in a car on a
sunny day, for example),
or in a cold place.
Do Not Use With Any
Other Equipment
The battery pack is
rechargeable and was
intended for the speci-
fied equipment. Do not
use it with any equipment
other than the one for
which it was designed.
Do Not Use This Wire-
less Display with a Bat-
tery Pack Other Than
the One Specified
Use only the specified
Panasonic battery pack
(CF-VZSU44/CF-VZSU44U)
with your CF-08. Use of
batteries other than those
manufactured and sup-
plied by Panasonic may
represent a safety haz-
ard.
Do Not Put into a Micro-
wave
Do not put the battery
pack into a microwave
oven or a pressurized
chamber.
Stop Using
Should the battery emit
an abnormal odor,
become hot to the touch,
become discolored,
change shape, or
become in any way dif-
ferent from normal,
remove it from the wire-
less display and stop
using it.

18
Precautions
E
NOTENOTE
zThe battery pack may become warm
during recharging or normal use.
This is completely normal.
zRecharging will not commence if
internal temperature of the battery
pack is outside of the allowable tem-
perature range (0 °C to 45 °C {32°F
to 122°F}). Once the allowable range
requirement is satisfied, charging
begins automatically. Note that the
recharging time varies based on the
usage conditions. (Recharging takes
longer than usual when the tempera-
ture is 10 °C {50°F} or below.)
zIf the temperature is low, the operat-
ing time is shortened. Only use the
equipment within the allowable tem-
perature range.
zThe battery pack is a consumable
item. If the amount of time the equip-
ment can be run by using a particular
battery pack becomes dramatically
shorter and repeated recharging
does not restore its performance, the
battery pack should be replaced with
a new one.
zWhen transporting a spare battery
inside a package, briefcase, etc., it is
recommended that it be placed in a
plastic bag so that its contacts are
protected.
zAlways power off the equipment
when it is not in use. Leaving the
equipment on when the AC adaptor
is not connected will exhaust the
remaining battery capacity.

19
E
Description of Parts
A. LCD (Touchscreen)
B. Wireless LAN antenna
C. Bluetooth antenna
D. Power status
E. Power button
F. Battery status
G. DC-IN jack
H. LAN port
I. Cursor key
J. Keyboard button
K. USB port
L. USER button
M. SD Card slot
N. SD memory card status
CAUTION
zDuring a thunderstorm, disconnect the AC plug.

20
Description of Parts
E
<Models for U.S.A/
Canada>
A lithium ion battery
that is recyclable
powers the product
you have pur-
chased.
Please call 1-800-8-
BATTERY for infor-
mation on how to
recycle this battery.
L’appareil que vous
vous êtes procuré est
alimenté par une bat-
terie au lithium-ion.
Pour des renseigne-
ments sur le recy-
clage de la batterie,
veuillez composer le
1-800-8-BATTERY.
A. Battery cover latch
B. Hand strap
Adjust the length of the belt so that
the wireless display does not fall
by mistake, and firmly hold the
wireless display when using it.
C. Battery pack
D. Microphone jack
You can use a stereo condenser
microphone. Connecting another
type of microphone may interrupt
audio input or may cause a mal-
function.
E. Headphone jack
You can connect headphones or
amplified speakers. When they are
connected, audio from the internal
speakers is not heard.
F. Stylus pen holder
G. Security lock
H. Speaker
I. Expansion bus connector
CAUTION
zDo not put metallic objects or magnetic media close to the speakers.
zDo not touch the expansion bus connector. The wireless display may no longer
function properly if the connector is dirty or damaged.

21
E
First-time Operation
Preparation
ACheck and identify the supplied accessories.
If you do not find the described accessories, contact Panasonic Technical
Support.
BRead the LIMITED USE LICENSE AGREEMENT before breaking the seal
on the wireless display’s packaging (Îpage 56).
1 Insert the battery pack.
• AC adaptor..................... 1
Model No.: CF-AA1623AM
• AC Cord .......................1• Battery Pack..............1
Model No.: CF-VZSU44U
• Stylus.............................. 1• Operating Instructions (This book)....................1

22
First-time Operation
E
ATurn the wireless display over, and open the hand strap cover.
BRemove the hand strap.
CSlide the battery latch.
DOpen the battery cover.
EFirmly attach the battery pack to the connector.
FClose the battery cover.
GSlide the battery latch.
HAttach the hand strap.
IAttach the hand strap cover.
To remove the battery pack
ASlide the battery latch as in step C.
BOpen the battery cover as in step D.
CPull the tab of the battery pack and remove it from the wireless display.
CAUTION
zBe careful not to catch the tab when you close the battery cover.
zMake sure the cover is securely attached. Otherwise the battery pack may fall
when you carry the wireless display.
zDo not touch the terminals of the battery pack and the wireless display. Doing
so can make the terminals dirty or damaged, and may cause malfunction of the
battery pack and the wireless display.
zUse only the specified battery pack (CF-VZSU44) with your wireless display.

23
E
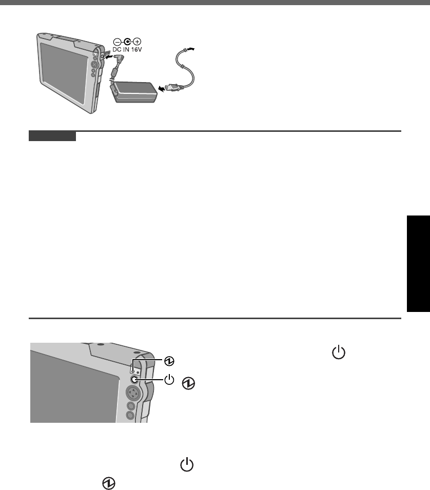
2 Connect your wireless display to a power outlet.
The battery charging starts automatically.
CAUTION
zWhen using the wireless display for the first time, do not connect any peripheral
device except the battery pack and AC adaptor.
zHandling the AC adaptor
• Do not twist or pull the AC power cord forcefully. Doing so may damage the
connections.
• Use only the specified AC adaptor with your wireless display. Using an AC
adaptor other than the one supplied might damage the battery and/or the
wireless display.
• When the DC plug is not connected to the wireless display, disconnect the AC
cord from your AC wall outlet.
• Problems such as sudden voltage drops may arise during periods of thunder
and lightning. Since this could adversely affect your wireless display, an unin-
terruptible power source (UPS) is highly recommended unless running from
the battery pack alone.
3 Turn on the wireless display.
Press and hold the power button for approxi-
mately 1 - 2 seconds until the power indicator
lights.
To turn off the wireless display
Press and hold the power button for approximately 1 - 2 seconds until the
power indicator disappears.
The message “Preparing to Power off…” will be displayed.

24
First-time Operation
E
4 Calibrate the touchscreen.
Touch the “+” mark on the calibration screen with
the stylus (included) for about one second.
After the calibration procedure is executed (e.g.,
after the twelve “+” marks are touched), the pro-
cedure ends when the center of the cursor key
(A) is pressed.
5 Make the date and time setting.
The [Date/Time Properties] screen will
appear automatically.
Set the current time and time zone, and then
tap .
zYou can use the software keyboard when you set the time.
For information about how to use the Software Keyboard: Îpage 37
If the [Date/Time Properties] screen does not appear automatically
Double-tap on the desktop, and double-tap [Date/Time].
The [Date/Time Properties] screen will appear.
CAUTION
zTo take effect this setting when you start the wireless display next time, you
have to perform Flash Backup to save this setting. (Îpage 31)

25
E
LCD (Touchscreen)
Using the Stylus
Use the stylus provided to perform operations on the
touchscreen. The stylus is located in the stylus holder
(A), and can be held like a pen or pencil. The following
operations are possible on the touchscreen.
Tapping
You can select an item on the screen by tapping it with
the stylus. This operation is called a “tap”.
Dragging
You can drag on item on the screen by holding the sty-
lus down over the item and then moving the stylus. This
operation is called a “drag”.
Tapping and Holding
You can tap and hold the stylus on an item to see a list
of actions available for that item. On the pop-up menu
that appears, tap the action you want to perform.
Handling the Stylus
zClean the stylus tip and screen prior to operation. Foreign particles can scratch
the screen and impede the operation of the stylus.
zUse the provided stylus only on the screen. Using it for any other purpose may
damage the stylus and scratch the screen.

26
LCD (Touchscreen)
E
Handling the Touchscreen
zUse the provided stylus with CF-08. Do not use an implement other than the
stylus that comes with the wireless display.
zDo not place any object on the surface or press down forcefully with sharp-
pointed objects (e.g., nails), or hard objects that can leave marks (e.g., pencils
and ball point pens).
zDo not operate the wireless display when such things as dust are on the LCD.
Do not allow substances such as oil to contact the LCD. The cursor may not
work properly in such cases.
Aligning the touchscreen
Align the touchscreen if the cursor does not correctly move to the position where
the stylus touches the touchscreen of the wireless display.
ADouble-tap on the desktop, and double-tap [Stylus].
BTap [Calibration] tab, and tap [Recalibrate].

27
E
Control Panel
If you double-tap on the desktop, you can see much of the list of functions
that can be used on this wireless display. If you double-tap the icon (or the name),
the screen will start up.
Here, we will introduce the name of the function and provide a brief explanation of
each.
CAUTION
zAfter changing settings, if you do not tap , some settings after the changes
will take effect.
Accessibility Allows you to change settings to make
the keyboard, sound, screen, mouse, and
other devices easier to use.
Backlight Allows you to change the brightness of
the screen’s backlight. Move the slider to
the left to make the backlight darker, and
to the right to make it brighter.
Bluetooth Device
Properties
Controls Bluetooth connections. (Îpage
54)
Buttons Assigns applications to be launched
when the keyboard button and USER
button are pressed. (Îpage 34)
Certificates Allows you to see a list of certificates
installed in the wireless display.
CF-08 Manage-
ment
Controls the start/termination of the CF-
08 device management function.
Date/Time Sets the current date, time, and time
zone.

28
Control Panel
E
Device Manage-
ment
Sets the connection to the device man-
agement server.
Dialing Sets dialing properties.
Display Sets the wallpaper and window color
schemes.
Error Reporting Reports software errors to Microsoft.
Flash Backup Îpage 31
Flash Copy Îpage 31
Flash Delete Îpage 31
Input Panel Sets Input Panel properties for the soft-
ware keyboard, etc.
Internet Options Sets Internet Explorer properties.
Keyboard Sets the key repeat intervals when a USB
keyboard is connected.
Mouse Sets the double click interval when an
external mouse is connected.

29
E
Network and Dial-
up Connections
Sets properties for installed network
adaptors (LAN, wireless LAN).
Network Informa-
tion
Confirms network status when the wire-
less display is connected to a server.
Power Displays remaining power in the main
battery, and sets power conservation
properties.
Printers Sets properties for the local printer con-
nected to the wireless display.
Quick Menu Sets the applications allocated to Quick
Menu. (Îpage 35)
Remove Programs Allows you to uninstall programs that
were installed earlier.
ROM Update Îpage 33
Rotate Allows you to rotate the screen. Using [0
degrees (landscape)] as the standard,
you can rotate the screen [90 degrees],
[180 degrees] or [270 degrees] either
clockwise or counterclockwise. To take
effect the screen rotation, tap [Rotate].
Security (Supervi-
sor/User)
Îpage 43
Stylus Sets the intervals for double taps and cal-
ibrates the stylus pad.

30
Control Panel
E
System Sets device names and displays the Win-
dows CE version, memory usage vol-
ume, copyrights for internal software, and
information unique to this wireless dis-
play.
Terminal Service
Client Licenses
Displays Terminal Service Client
Licenses that have been acquired.
Volume & Sounds Adjusts volume, sets system sounds, and
adjusts microphone gain.
Wireless LAN Controls Wireless LAN connections.

31
E
Backing up / Deleting / Copying Data
To back up data from CF-08 RAM to Flash ROM, perform Flash Backup by follow-
ing the instructions below.
ADouble-tap on the desktop and double-tap [Flash Backup].
BConnect your wireless display to a power outlet. (Îpage 23)
CTap [Start Backup].
Backing up data will start.
DWhen the message “Backup successful.” appears, tap .
To delete backup data, perform Flash Delete by following the instructions below.
ADouble-tap on the desktop and double-tap [Flash Delete].
BConnect your wireless display to a power outlet. (Îpage 23)
CTap [Delete Backup].
When the confirmation message appears, tap [Yes].
Deleting data will start.
DWhen the message “Backup data has been deleted.” appears, tap .
CAUTION
zWhen you turn on the wireless display for the first time after deleting data, cali-
brate the touchscreen (Îpage 24).
To copy data from CF-08 RAM to the media (SD Memory Card, etc.), perform
Flash Copy by following the instructions below.
ADouble-tap on the desktop and double-tap [Flash Copy].
BConnect your wireless display to a power outlet. (Îpage 23)
CInsert the copy destination media, and select the media in “Copy To.”
Backing up data
Deleting data
Copying data

32
Backing up / Deleting / Copying Data
E
DEnter the file name and tap [Copy Backup].
Copying data will start.
zThe file that has already existed cannot be overwritten.
In this case, tap , change the file name, and tap [Copy Backup].
EWhen the message “Copy successful.” appears, tap .
How to update data: Îpage 33
To return the wireless display to the default condition
Perform the following procedure.
zWhen turning on the wireless display, turn it off.
AConnect your wireless display to a power outlet. (Îpage 23)
BTurn on the wireless display. (Îpage 23)
CPress and hold the keyboard button and USER button (Îpage 34) until the
message “Reset to device to factory default...” appears.
DSelect [Yes].

33
E
ROM Update
To update the copied data, perform “ROM Update” by following the instructions
below.
ADouble-tap on the desktop and then double-tap [ROM Update].
BConnect your wireless display to a power outlet. (Îpage 23)
CInsert the media with “.pkg” file copied, and then tap [Brouse].
DSelect the file and tap .
ETap [Next].
FTap [Update Start].
GWhen the confirmation message appears, tap [Yes].
ROM Update will start.
When ROM Update terminates, the wireless display will restart and the
[Date/Time Properties] screen will appear automatically. (Îpage 24)

34
E
Buttons
You can display screens for frequently used
functions and applications by pressing specified
keyboard button or USER button on
this wireless display.
Two functions can be assigned to each button;
one that starts up with a short push (less than 2
seconds) and one that starts up with a long
push (more than 2 seconds).
At the time of purchase, this wireless display is set so that the screens for the fol-
lowing functions are displayed.
Settings can be changed using the following procedure.
ADouble-tap on the desktop and then double-tap [Buttons].
BWhen the [Buttons] screen appears, tap and select the function name
in accordance with the button positions and short/long push that you want to
set.
CTap .
*1 To execute the right click operation:
ATap [Buttons] in [Control Panel], and set [Right Click] according to the position and
push length (long/short) for the button that you want to use.
BPress the button that you set in A.
You can use the right click once.
Each time after this, before using the right click once, execute operation B above.
You can also execute the right click operation using Quick Menu (Îpage 35).
Button short push long push
Keyboard button Input Panel Input Panel Selector
USER button Quick Menu (Îpage 35)Right Click*1

35
E
Quick Menu
Quick Menu is used to display information about the wireless display, or to enable
frequently used applications and functions to be launched quickly without going
through Control Panel.
At the time of purchase, Quick Menu can be
launched with a short push of the USER button
.
How to change Quick Menu launching method:
Îpage 34
A.Display remaining battery level
([Power] in Control Panel Îpage
29)
B.Display status of wireless LAN
C.Set and change sound volumes
([Volume & Sounds] in Control
Panel Îpage 30)
D.Set and change display backlight
brightness ([Backlight] in Control
Panel Îpage 27)
E.Start up frequently used applica-
tions and functions
At the time of purchase, [Right
Click]*1, [Input Panel Selector],
[Control Panel] and [Stylus Calibla-
tion] are set in Quick Menu.
You can change these settings
using the following procedure.
ADouble-tap on the desktop and double-tap [Quick Menu].
The [QuickMenu Application Assignment] screen will appear.
BTap the button for the application/function you want to change, and
then tap the application/function you want to assign to that button
location.
CTap .

36
Quick Menu
E
*1 To execute the right click operation:
ASet [Right Click] in the [QuickMenu Application Assignment] screen.
BLaunch Quick Menu and tap [Right Click].
You can use the right click once.
Each time after this, before using the right click once, execute operation B above.
You can also execute the right click operation by pressing the keyboard button or USER
button. (Îpage 34)

37
E
Software Keyboard
To show or hide the Software Keyboard
zPress and hold the keyboard button or
USER button . (Îpage 34)
There are five input methods. “Numeric keyboard” and “Full keyboard” can be
selected as either large or small panels.
To change the input method, use any of the following methods.
zPress and hold the keyboard button or USER button
(Îpage 34) or tap [Input Panel Selector] in the [Quick
Menu] screen (Îpage 35), and select the input method
that you want to use on the [Input Panel Selector] screen.
zDouble-tap [Input Panel] in [Control Panel], select [Key-
board] or [Transcriber] in “Current Input Method” and tap
.
• If you select [Keyboard], tap [Options] to change the
input method or panel size.
• To use Transcriber Îpage 39

38
Software Keyboard
E

39
E
Transcriber
Transcriber is a function that enables you to input letters, characters or symbols by
writing directly on the touchscreen using the stylus.
To display the [Transcriber: Options] screen, tap .
Tap on the various tabs to set the following functions.
[Quick Settings] Tab
Recognition: Change the language of the
recognition engine.
Writing Direction: Change the handwriting
input direction.
Intro screen: If the check mark is added,
the Help screen will be displayed when the
Transcriber starts up.
Sound: If the check mark is added, you will hear a
sound when the Transcriber starts up. The volume of this sound will be the same
as the volume set in Quick Menu (Îpage 35) or in [Volume & Sounds] (Îpage
30).
A. Option settings
Displays the [Transcriber: Options]
screen of Transcriber option set-
tings. (Î below)
B. Change recognition mode
Running hand/block letter (charac-
ter (Alphabet/symbol/numeric)).
C. Display symbol input panel
Displays the screen for symbol
input.
D. Change Upper/Lower/symbol mode
Changes input mode to Upper/Lower/
symbol mode.
E. Space
Inputs space.
F. Re turn
Inputs return code.
G. Left move
Moves cursor to left.
H. Right move
Moves cursor to right.
I. BS
Backspace (delete one character)
J. Help
Displays help screen.

40
Software Keyboard
E
[Inking] Tab
Recognition Delay: Slide the bar to set the time
for recognition of handwritten characters.
Add space after: If the check mark is added,
when handwritten characters are recognized
and displayed on the screen, a single space
will also be displayed at the end of each
character.
Pen: Tap to set the width and color of the ink.
[Advanced] Tab
Shorthand: Register shorthand
The following functions can be assigned
for handwriting input.
zText expansion
Allows you to display words, phrases, or
sentences by inputting handwritten
abbreviations.
e.g.: Input “xyz” in handwriting J Displays “I am a
student.”
zFunction
Allows you to display dates, names, or other information by inputting handwrit-
ten abbreviations.
e.g.: Input “ABC” in handwriting J Displays company name.
zRun program
Allows you to start up a program by inputting handwritten characters.
e.g.: Input “abc” in handwriting J Starts up [Control Panel].
Functions can be registered using the following procedure.
1Tap [Settings] to the right of “Shorthand.”
2 Tap [Add].
After you tap [Finish] in step 4, the screen will return to step 2. To register
two or more functions in succession, repeat step 2 and 3.
3 Select the function that you want to register ([Text expan-
sion], [Function] or [Run program]) and tap [Next].
4 To register shorthand in [Text expansion]:

41
E
AInput “xyz” in handwriting on the screen.
“xyz" will be displayed in the “Shorthand” box.
BTap the “Text expansion” box once, and then input “I am a student”
in handwriting on the screen.
“I am a student” will be displayed in the “Text expansion” box.
CTap [Finish].
The screen will automatically return to step 2.
To register shorthand in [Function]:
AInput “ABC” in handwriting on the screen.
“ABC” will be displayed in the “Shorthand” box.
BTap in the “Function” box, and a list of information will appear;
select one of these, and tap [Finish].
The screen will automatically return to step 2.
To register shorthand in [Run program]:
AInput “abc” in handwriting on the screen.
“abc” will be displayed in the “Shorthand” box.
BTap in the “Run program” box, and a list of bootable programs
will appear; select one of these, and tap [Finish].
The screen will automatically return to step 2.
5Tap .
Dictionaries: Select a dictionary.

42
E
Signature Capture
Signature Capture operates on CF-08, supporting input of signatures in applica-
tions running on the connection destination server.
How to launch Signature capture:
ADouble-tap , and double-tap [Windows].
BDouble-tap [Programs], and tap [Signature Capture].
You can set the wireless display to launch Signature Capture using the Quick
Menu (Îpage 35), keyboard button or USER button (Îpage 34).
You can set the thickness of the writing or
the size of the bitmap data to be saved by
tapping and then tapping [Setting].
Tap [Capture] to temporarily save the
handwritten image on the server computer
clipboard.
To view the handwritten image while connected to the server:
ATap [start] - [Run].
BInput [Clipbrd.exe] and tap [OK].
The [CLIP BOOK] screen will appear.

43
E
Security Measures
You can set the password and/or enable/disable some functions for security pur-
pose.
You can set two types of users with different operating authorities.
Supervisor: Changes settings related to the wireless display operations, and con-
trols the operations of regular users. Set the Supervisor Password in advance
using the [Supervisor] tab in Security Settings (Supervisor) (Î below).
User: Executes only operations that have been limited by the Supervisor.
ADouble-tap on the desktop.
BDouble-tap [Security (Supervisor)].
CTap the [Supervisor], [User] or [Device Permission] tab.
zFor information on the tab:
[Supervisor] tab Îpage 44
[User] tab Îpage 44
[Device Permission] tab Îpage 45
<When you tap [Supervisor] or [User] tab>
DEnter your password in [New Password].
zWhen the password has been set, you need to enter your password in
[Current Password].
zTo disable the password, leave the input field empty.
EEnter your password again in [Confirm Password] and tap .
FAt the confirmation message, tap [Yes].
When the message that recommends executing Flash Backup appears, tap
.
CAUTION
zDo not forget your password. If you forget your Supervisor Password, you will
not be able to use your wireless display. Contact Panasonic Technical Support.
zSoon after you create or change the setting, perform Flash Backup (Îpage
31). If you do not do so, the setting will not be reflected next time when you turn
on the power for the wireless display.
NOTENOTE
zThe password will not be displayed on the screen.
zYou can use up to 40 alphanumeric characters (excluding spaces).
zDisabling the Supervisor Password also disables the User Password.

44
Security Measures
E
Security Settings (Supervisor)
The Supervisor can make security settings using the following procedure after log-
ging on with the Supervisor Password, or when no password has been set.
zWhen you log on as a Supervisor, press and hold the power button with the
USER button pressed, and enter the password when the [Enter Password]
screen appears. If you do not do so, even when you enter the Supervisor Pass-
word, the wireless display will run in the User operating environment.
[Supervisor] tab
[User] tab
(Set when Supervisor and User log on separately. Supervisor can make settings
for Users after the Supervisor password is set in the [Supervisor] tab.)
Item After the check mark is added
Auto Launch When you select an application, that application will
automatically start up when the wireless display is
started. For example, if the connection settings for
Remote Desktop Connection or ICA Client have
been made in advance (Îpage 50), you can set
these applications to start up automatically.
Wait Network Connec-
tion
An application set in [Auto Launch] will launch after
the network connection is built up.
Item After the check mark is added
Skip Password Dialog Allows Users to log on without entering a password.
The password input screen is not displayed.
(If you press and hold the power button with the
USER button pressed, the [Enter Password] screen
will be displayed, and the User can log on with the
User Password.)
Allow Connection Con-
figuration
Allows creation and changes of connection settings
after logging on.
Double-tap or on the desktop to
display the connection setting screen.

45
E
[Device Permission] tab
(Same settings for Supervisor and User.)
Allow Application
Assignment
Allocates applications to the keyboard button or
USER button (Îpage 34) or Quick Menu (Îpage
35).
File Explorer Enables viewing of files via Windows Explorer after
logging on.
Double-tap on the desktop.
Internet Explorer Allows access to the Web browser, and enables cre-
ation of/changes to connection settings after logging
on.
Double-tap on the desktop.
Control Panel When the User is using the wireless display, items
displayed in the Control Panel can be selected
using the following procedure.
ATap [Permission] to display the [Permission]
screen.
BAdd the check mark for only the items to be
displayed in the [Control Panel] screen, and
tap .
Allow Change Auto
Launch
Allows users to change Auto Launch setting.
Allow Launch Îpage 44
Wait Network Connec-
tion
Îpage 44
Explanation
Of the following devices, only those with a check mark can be used.
•Ethernet • Wireless LAN • Bluetooth • SD Memory • USB Memory

46
Security Measures
E
Security Settings (User)
Users can make security settings in the following cases.
zAfter logging on with a User Password.
zWhen you add the check mark for [Skip Password Dialog].
zWhen the User Password has not been set, and the User has logged on with-
out entering a password.
How to start up the [Security Setting] screen:
ADouble-tap on the desktop.
BDouble-tap [Security (User)].
The following screen will be displayed.
[User] tab
zIf a User Password has not been set in the [User] tab of Security Settings
(Supervisor) (Îpage 44), a password cannot be changed, deleted or newly
created here.
Item After the check mark is added
Auto Launch Îpage 44
Wait Network Connec-
tion
Îpage 44

47
E
SD Memory Card
About SD Memory Card
An SD Memory Card can be used for the following purposes.
zThe exchange of data with various devices equipped with an SD Memory Card
slot, audio storage, and so on.
zUse as a memory card (e.g., use as a storage unit on which files can be written).
Inserting/Removing a Card
1 Open the SD Memory Card slot cover.
2 Insert/Remove a Card.
To insert the card
Insert the SD Memory Card with the label side facing up and with the cut corner in
front.
To remove the card
APress the card so it comes out of the slot.
BDraw it straight out.
3 Close the SD card slot cover.
To insert the card To remove the card

48
E
Battery Power
NOTENOTE
zOnce the battery is fully charged, the wireless display performs recharging only
when the battery level becomes less than approximately 95%, so overcharging is
avoided.
You can check the remaining battery charge using any of the following methods.
zDouble-tap on the desktop, double-tap [Power] and tap [Battery] tab.
zPress and hold the keyboard button or USER button (Îpage 34) and run
Quick Menu (Îpage 35).
Battery Indicator
Battery indicator Battery status
Not lit The battery pack is not inserted or not being charged.
Pulsing orange Charging is in progress.
Green The battery is fully-charged.
Red The remaining battery is approximately 9% or less.
Blinking red The battery pack or the charging circuit is not operating
normally.
Blinking orange The battery cannot be charged temporarily due to the fol-
lowing reasons:
zIts internal temperature is out of the acceptable range.
zThe power supply is not enough because software
applications or peripheral devices are consuming a
large amount of power.
Checking the Remaining Battery Charge

49
E
You can reduce power consumption using the following method.
When using the battery, the wireless display can be used for a longer period of
time.
Power conservation effects can be achieved even when the AC adaptor is connected.
zDouble-tap on the desktop, dou-
ble-tap [Power] and tap [Schemes] tab.
Power consumption can also be mini-
mized with detailed settings; for exam-
ple, by reducing the time setting for
[Turn off LCD].
The battery pack is a consumable item so the replacement (CF-VZSU44) will be
necessary. If the battery operation time becomes noticeably short, replace with a
new battery.
How to remove/insert the battery pack:Îpage 21
Replacing the Battery Pack

50
E
Connecting to a Computer / Server
Either a LAN or wireless LAN can be used for connection.
Before making connection settings, perform the following procedure.
zAfter completing the computer/server settings (IP address, subnet mask, etc.),
perform wireless display settings.
ADouble-tap on the desktop, and then double-tap [Network and Dial-
up Connections].
B<When making connection with a LAN>
Double-tap [ETHERNET1].
<When making connection with a wireless LAN>
Double-tap [WIRELESS LAN1].
CTap the [IP Address] tab, select [Specify an IP address], and enter the IP
Address, Subnet Mask, and Default Gateway to match with the computer/
server connected.
DTap .
1-1 Connections
When connecting to Microsoft® Windows® XP Professional
Follow the instructions below to connect using Remote Desktop Connection.
zAfter completing the computer settings (IP address, subnet mask, etc.), per-
form wireless display settings.
1 Connect the necessary devices, and turn the power on for
the computer.
2 Turn on the power for the wireless display.
(Perform step A-C only when making connections with a wireless LAN.)
ADouble-tap on the desktop, and then tap [Wireless LAN].
BTap the [Wireless Information] tab, and then tap the access point from the list.
Now, select settings as follows according to your own network environment.
CTap [Connect].

51
E
3 Double-tap on the desktop.
4 Tap [Options].
Enter the Computer (IP address or computer/server name for the connec-
tion destination), User name (account name for the computer/server to be
connected), and Password (the password required to log on to the com-
puter/server to be connected).
zTap [Save As], enter the file name, select the save destination, and tap
. An “rdp.” file will be created, and the data entered in the above pro-
cedure will be saved. In this way, the next time you want to use the
Remote Desktop (and any time after that), you can display the server
desktop screen by double-tapping the “rdp.” file.
5 Tap [Connect].
The server desktop screen will be displayed.
Connecting multiple clients
When connecting to a Microsoft® Windows® 2000 Server / Microsoft®
Windows® 2003 Server
For information on how to connect using Remote Desktop Connection, refer to
step 1-5 of “1-1 Connections” (Îpage 50).
When connecting to a server computer running Citrix® MetaFrame® Pre-
sentation Server
Follow the instructions below to connect using Citrix® ICA® Client.
zFor information on Citrix® server, refer to the manual of the server.
1 Turn on the power for the wireless display.
2 Double-tap on the desktop, and tap [Accept].
3 Connect the necessary devices, and turn the power on for
the server.
(Perform step A-C only when making connections with a wireless LAN.)

52
Connecting to a Computer / Server
E
ADouble-tap on the desktop, and then double-tap [Wireless LAN].
BTap the [Wireless Information] tab, and then tap the access point from the
list.
Now, select settings as follows according to your own network environment.
CTap [Connect].
4 Double-tap on the desktop, and tap [Create New
Connection].
5 Enter the IP address or server name for the connection
destination in “Server or Published Application”, and tap
[Save].
The name entered above will be displayed in the Main screen of the ICA Cli-
ent.
6 Select the name entered in step 5, and tap [Edit].
7 Tap [Edit Logon Information], enter Username and Pass-
word (and Domain, if required), and tap [Save].
8 Tap [Main] at the top of the screen.
9 Select the name entered in step 5 and tap [Edit].
10 Tap [Edit Title], add the check mark for [Create a Desktop
shortcut], and tap [Save], then tap .
*1
will appear on the desktop.
11 Double-tap *1 the desktop.
The server desktop screen will be displayed.
*1 The name entered in step 5 will be displayed.
Perform the following operations.
zTap [start] - [Log Off] - [log Off].
Terminating the connection

53
E
z<Only when using Remote Desktop Connection>
Tap , then tap .
If you tap [start] - [Shut Down], the power for the server itself will be turned off.

54
E
Bluetooth
To launch the [Bluetooth] screen
ADouble-tap on the desktop.
BDouble-tap [Bluetooth Device Properties].
To turn the power on/off Bluetooth
Tap [General] tab, and add the check mark for [Enable Bluetooth].
A. Set the device name for Bluetooth
B. Set the passkey used when connecting to
the opposing Bluetooth device.
C. Set the Bluetooth power status when the
CF-08 starts up.
D. Set whether the opposing Bluetooth
device is able to detect the CF-08 when
the Bluetooth device is detected.
To set operations in Serial Port Profile
Tap [Serial Port] tab.
To set operations in DialUp Network Profile
Tap [DialUp Network] tab.
To show information about Bluetooth
Tap [About] tab.

55
E
For Effective Use
Maintenance
LCD
Do not use water when cleaning the panel. Ingredients included in water may
leave residue and reduce readability of the screen.
<When cleaning dust/dirt>
Avoid rubbing off dust/dirt with cloth since it may leave scratch on the screen.
Sweep dust/dirt with fine brush, then wipe it with "dry" soft cloth used for cleaning
glasses.
<When cleaning oily surface>
Apply camera lens cleaner on a soft gauze and clean it with gentle force. Then,
wipe with dry soft cloth used for cleaning glasses.
Areas excluding the LCD
Wipe these areas with a soft cloth, after applying water or detergent diluted with
water to the soft cloth and firmly wringing out excess water.
CAUTION
zDo not use benzene, thinner, or rubbing alcohol. Doing so may adversely affect
the surface, e.g., discoloration. In addition, do not use commercially-available
household cleaners and cosmetics, as they may contain components harmful
to the surface.
zDo not directly add or spray water or detergent. If liquid enters the inside of the
computer, it may cause the computer to work improperly or be damaged.

56
E
LIMITED USE LICENSE AGREEMENT
THE SOFTWARE PROGRAM(S) (“PROGRAMS”) FURNISHED WITH THIS
PANASONIC® PRODUCT (“PRODUCT”) ARE LICENSED ONLY TO THE END-
USER (“YOU”), AND MAY BE USED BY YOU ONLY IN ACCORDANCE WITH
THE LICENSE TERMS DESCRIBED BELOW. YOUR USE OF THE PROGRAMS
SHALL BE CONCLUSIVELY DEEMED TO CONSTITUTE YOUR ACCEPTANCE
OF THE TERMS OF THIS LICENSE.
Matsushita Electric Industrial Co., Ltd. (“MEI”) has developed or otherwise
obtained the Programs and hereby licenses their use to you. You assume sole
responsibility for the selection of the Product (including the associated Programs)
to achieve your intended results, and for the installation, use and results obtained
therefrom.
LICENSE
A. MEI hereby grants you a personal, non-transferable and non-exclusive right
and license to use the Programs in accordance with the terms and conditions
stated in this Agreement. You acknowledge that you are receiving only a LIM-
ITED LICENSE TO USE the Programs and related documentation and that you
shall obtain no title, ownership nor any other rights in or to the Programs and
related documentation nor in or to the algorithms, concepts, designs and ideas
represented by or incorporated in the Programs and related documentation, all
of which title, ownership and rights shall remain with MEI or its suppliers.
B. You may use the Programs only on the single Product which was accompanied
by the Programs.
C. You and your employees and agents are required to protect the confidentiality
of the Programs. You may not distribute or otherwise make the Programs or
related documentation available to any third party, by time-sharing or otherwise,
without the prior written consent of MEI.
D. You may not copy or reproduce, or permit to be copied or reproduced, the Pro-
grams or related documentation for any purpose, except that you may make
one (1) copy of the Programs for backup purposes only in support of your use
of the Programs on the single Product which was accompanied by the Pro-
grams. You shall not modify, or attempt to modify, the Programs.
E. You may transfer the Programs and license them to another party only in con-
nection with your transfer of the single Product which was accompanied by the
Programs to such other party. At the time of such a transfer, you must also
transfer all copies, whether in printed or machine readable form, of every Pro-
gram, and the related documentation, to the same party or destroy any such
copies not so transferred.

57
E
F. You may not remove any copyright, trademark or other notice or product identi-
fication from the Programs and you must reproduce and include any such
notice or product identification on any copy of any Program.
YOU MAY NOT REVERSE ASSEMBLE, REVERSE COMPILE, OR MECHANI-
CALLY OR ELECTRONICALLY TRACE THE PROGRAMS, OR ANY COPY
THEREOF, IN WHOLE OR IN PART.
YOU MAY NOT USE, COPY, MODIFY, ALTER, OR TRANSFER THE PRO-
GRAMS OR ANY COPY THEREOF, IN WHOLE OR IN PART, EXCEPT AS
EXPRESSLY PROVIDED IN THE LICENSE.
IF YOU TRANSFER POSSESSION OF ANY COPY OF ANY PROGRAM TO
ANOTHER PARTY, EXCEPT AS PERMITTED IN PARAGRAPH E ABOVE, YOUR
LICENSE IS AUTOMATICALLY TERMINATED.
TERM
This license is effective only for so long as you own or lease the Product, unless
earlier terminated. You may terminate this license at any time by destroying, at
your expense, the Programs and related documentation together with all copies
thereof in any form. This license will also terminate effective immediately upon
occurrence of the conditions thereof set forth elsewhere in this Agreement, or if
you fail to comply with any term or condition contained herein. Upon any such ter-
mination, you agree to destroy, at your expense, the Programs and related docu-
mentation together with all copies thereof in any form.
YOU ACKNOWLEDGE THAT YOU HAVE READ THIS AGREEMENT, UNDER-
STAND IT AND AGREE TO BE BOUND BY ITS TERMS AND CONDITIONS.
YOU FURTHER AGREE THAT IT IS THE COMPLETE AND EXCLUSIVE STATE-
MENT OF THE AGREEMENT BETWEEN US, WHICH SUPERSEDES ANY PRO-
POSAL OR PRIOR AGREEMENT, ORAL OR WRITTEN, AND ANY OTHER
COMMUNICATIONS BETWEEN US, RELATING TO THE SUBJECT MATTER OF
THIS AGREEMENT.
About Intel® software products
The enclosed software products and documentation were developed at private
expense, and are provided with “RESTRICTED RIGHTS.” Use, duplication or
disclosure by the government is subject to restrictions as set forth in FAR
52.227-14 and DFARS 252.227-7013 et. seq. or its successor. The use of this
product by the government constitutes acknowledgment of Intel’s proprietary
rights in the product.

58
E
Troubleshooting
Follow the instructions below when a problem has occurred. For a software prob-
lem, refer to the software’s instruction manual. If the problem persists, contact
Panasonic Technical Support.
No display after
powering on
zHas the computer or wireless display been set to the
power-saving mode?
To resume operation of your computer from the condition
where the power of the display is off (for energy conser-
vation purposes), touch the screen.
An afterimage
appears (i.e.,
green, red, and blue
dots remain on the
display) or there are
dots not displaying
the correct colors
zHigh-precision and advanced technologies are neces-
sary in the production of color liquid crystal displays
(color LCDs). Therefore, if 0.002% or less of the picture
elements either fail to light or remain constantly lit (that
is, more than 99.998% of elements are functioning prop-
erly), no defect is considered to exist.

60
Specifications
E
*1 <Only for North America>
The AC adaptor is compatible with power sources up to 240 V AC adaptor. The wireless
display is supplied with a 125 V AC compatible AC cord.
*2 Varies depending on the usage conditions.
*3 Approx. 0.9 W when the battery pack is fully charged (or not being charged) and the
wireless display is OFF.
*4 Rated power consumption

© 2006 Matsushita Electric Industrial Co., Ltd. All Rights Reserved.
Printed in Japan FJ0306-0
DFQX5591ZA