Panasonic KX TD612E User Manual To The 25c20d0d 8945 4f93 B2c1 B80717f867bd
User Manual: Panasonic KX-TD612E to the manual
Open the PDF directly: View PDF
.
Page Count: 1
- Note
- IMPORTANT
- Important Information
- Attention
- Table of Contents
- Section1
- Section2
- Operation
- 2.1Before Operating the Telephones
- 2.2Making Calls
- 2.2.1Basic Calling
- 2.2.2Easy Dialling
- 2.2.3Redial
- 2.2.4When the Dialled Line is Busy or There is No Answer
- Reserving a busy line (Automatic Callback Busy)
- Completing a call to a busy party on an ISDN line (Completion of Calls to Busy Subscriber [CCBS])
- Sending a call waiting tone (Busy Station Signalling [BSS])
- Leaving a message waiting indication (Message Waiting)
- Joining an existing call (Executive Busy Override)
- 2.2.5Calling without Restrictions
- 2.2.6Alternating the Calling Method (Alternate Calling — Ring/Voice)
- 2.2.7Integrated Services Digital Network (ISDN) Service Access
- 2.2.8To Access Another Party Directly from Outside (Direct Inward System Access [DISA])
- 2.3Receiving Calls
- 2.4During a Conversation
- 2.4.1Call Duration
- 2.4.2Holding a Call
- 2.4.3Retrieving a Call on a Telephone Answering Machine (TAM)
- 2.4.4Terminal Portability (TP) for ISDN Extension
- 2.4.5Talking to Two Parties Alternately (Call Splitting)
- 2.4.6Transferring a Call
- 2.4.7Answering a Call Waiting
- 2.4.8Three-party Conversation
- 2.4.9Saving a Number (Notebook Function)
- 2.4.10Mute
- 2.4.11Letting Other People Listen to the Conversation (Off- Hook Monitor)
- 2.5Before Leaving Your Desk
- 2.5.1Built-in Voice Message
- Note
- To record the extension Outgoing Message (OGM)/Timed Reminder OGM
- To replay OGM/Timed Reminder OGM
- To delete OGM/Timed Reminder OGM
- To set the voice message function
- To cancel the voice message function
- To leave a message using the Direct Message function
- To replay the message which is not yet heard
- To replay the message
- To replay all messages
- To replay/delete the messages from the outside
- To delete a message
- To delete all messages of a personal message box at once
- 2.5.2Forwarding Your Calls (Call Forwarding)
- 2.5.3Forwarding Calls from a Hunting Group
- 2.5.4Showing an Absent Message on the Caller's Telephone Display (Absent Message Capability)
- Message no.
- Default Message
- 2.5.1Built-in Voice Message
- 2.6Making/Answering an Announcement
- 2.7Setting the Telephone According to Your Needs
- 2.7.1Setting the Alarm (Timed Reminder)
- 2.7.2Refusing Incoming Calls (Do Not Disturb [DND])
- 2.7.3Receiving a Call Waiting (Call Waiting/Off-Hook Call Announcement [OHCA]/Whisper OHCA)
- 2.7.4Denying the Paged Announcement (Paging — DENY)
- 2.7.5Automatic Selection of Calling/Connected Line Identification Presentation (CLIP/COLP)
- 2.7.6Preventing Your Number Being Displayed on the Called Party's Telephone (Calling Line Identi...
- 2.7.7Preventing Your Number Being Displayed on the Calling Party's Telephone (Connected Line Ide...
- 2.7.8Denying Other People the Possibility of Picking up Your Calls (Call Pickup Deny)
- 2.7.9Denying Other People the Possibility of Joining Your Conversation (Executive Busy Override ...
- 2.7.10Turning on the Background Music
- 2.7.11Day/Night Service
- 2.7.12Checking the Day/Night Service Status
- 2.7.13Setting the Parallel Connected Telephone Ringer (Parallelled Telephone)
- 2.7.14Clearing the Feature Settings at Your Extension (Station Programme Clear)
- 2.8Using User-supplied Equipment
- 2.8.1If a Doorphone/Door Opener is Connected
- 2.8.2If a Voice Processing System is Connected
- 2.8.3If an External Relay is Connected
- 2.8.4If a Second Ringer is Connected
- 2.9Using the Display Proprietary Telephone
- Section3
- Operator Operation
- 3.1Extension Control
- 3.2System Control
- Section4
- Customising Your Phone & System
- 4.1Customising Your Phone (Station Programming)
- 4.2Customising Your System
- Section5
- Section6

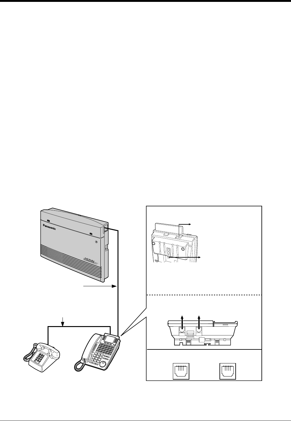
Thank you for purchasing a Panasonic Digital Super Hybrid System, Model KX-TD612.
Please read this manual before connecting the Digital Super Hybrid System.
Model No.
KX-TD612E
Digital Super Hybrid System
User Manual

2
Thank you for purchasing a Panasonic Digital Super Hybrid System.
1.3.1 Connection Example 1.4.1 Adding Another Telephone in Parallel
Page 31 Consult your dealer
2.7.5 Automatic Selection of Calling/Connected
Line Identification Presentation (CLIP/COLP) 2.5.1 Built-in Voice Message
Telephones
This system can connect digital Panasonic
digital proprietary telephones. Single line
devices such as a single line
telephone, facsimile, cordless
telephone, voice processing
system, etc. can also be
connected.
EXtra Device Port (XDP)
This system can double the extension capacity
by connecting a digital proprietary telephone
and a single line telephone. The digital
proprietary telephone can share the extension
with another single line telephone.
Furthermore, you can connect
a Panasonic digital proprietary
telephone and a single line
telephone to one jack and use
them as individual extensions.
This system chooses the most cost-effective
carrier based on the outside number dialled
and the time called.
Saves on telephone charges
(Least Cost Routing)
B
A
This system can record or print out call
information: date, time, extension no., dialled
no., duration, etc.
Date
24/06/00
24/06/00
Time
10:03
11:07
Ext
123
223
• • • • • • •
• • • • • • •
• • • • • • •
Call Record
(Station Message Detail Recording)
This system provides you to let the calling/
called party know your CO line number or
the extension number assigned by the system
programming.
Automatic Selection
of CLIP/COLP
You can forward incoming calls to your
personal message box to let callers leave their
voice message when you cannot answer the
phone.
Built-in Voice Message
Hello, this
is 204. Please
leave your
message.

3
Note
• This product is designed to interwork with the pan-European Integrated Services Digital Network
(ISDN) using ISDN basic access.
• In this manual, the two-letter suffix of each model number is omitted.
IMPORTANT
If there is something unclear in this manual, please consult your dealer.

4Important Information
Important Information
WARNING
THIS UNIT MAY ONLY BE INSTALLED AND SERVICED BY QUALIFIED SERVICE PERSONNEL.
WHEN A FAILURE OCCURS WHICH RESULTS IN THE INTERNAL PARTS BECOMING
ACCESSIBLE, DISCONNECT THE POWER SUPPLY CORD IMMEDIATELY AND RETURN THIS
UNIT TO YOUR DEALER.
DISCONNECT THE TELECOM CONNECTION BEFORE DISCONNECTING THE POWER
CONNECTION PRIOR TO RELOCATING THE EQUIPMENT, AND RECONNECT THE POWER
FIRST.
THIS UNIT IS EQUIPPED WITH AN EARTHING CONTACT PLUG. FOR SAFETY REASONS THIS
PLUG MUST ONLY BE CONNECTED TO AN EARTHING CONTACT SOCKET WHICH HAS BEEN
INSTALLED ACCORDING TO REGULATIONS.
THE POWER SUPPLY CORD IS USED AS THE MAIN DISCONNECT DEVICE. ENSURE THAT
THE SOCKET-OUTLET IS LOCATED/INSTALLED NEAR THE EQUIPMENT AND IS EASILY
ACCESSIBLE.
TO PREVENT FIRE OR SHOCK HAZARD, DO NOT EXPOSE THIS PRODUCT TO RAIN OR
MOISTURE.
The following icons are used frequently in this manual.
Notice
• The Digital Proprietary Telephone is abbreviated as "DPT".
• The Single Line Telephone is abbreviated as "SLT".
• "Console" is a generic designation for Digital DSS Console (KX-T7240/KX-T7440) and Digital
Attendant Console (KX-T7441).
WARNING
Static sensitive devices are used. To protect
printed circuit boards from static electricity, do
not touch connectors indicated to the right. To
discharge body static, touch ground or wear a
grounding strap.
Warning: Static sensitive connectors
ConditionsHints
!!
!!

Important Information 5
Safety Instructions
When using your telephone equipment, basic safety precautions should always be followed to reduce
the risk of fire, electric shock and injury to persons, including the following:
1. Do not use this product near water, for example, near a bathtub, washbowl, kitchen sink or laundry
tub, in a wet basement or near a swimming pool.
2. Avoid using a telephone (other than a cordless type) during an electric storm. There may be a
remote risk of electric shock from lightning.
3. Do not use the telephone to report a gas leak in the vicinity of the leak.
4. Use only the power cord and batteries indicated in this manual. Do not dispose of batteries in a
fire. They may explode. Check with local codes for possible special disposal instructions.
SAVE THESE INSTRUCTIONS

6Attention
Attention
• Keep the unit away from heating appliances and electrical noise generating devices such as
fluorescent lamps, motors and televisions. These noise sources can interfere with the
performance of the unit.
• This unit should be kept free of dust, moisture, high temperature (more than 40°C) and vibration,
and should not be exposed to direct sunlight.
• Never attempt to insert wires, pins, etc., into the vents or holes of this unit.
• Do not use benzine, thinner, or any abrasive powder to clean the cabinet. Wipe it with a soft cloth.
The serial number of this product may be found on the label affixed to the unit. You
should note the model number and the serial number of this unit in the space provided
and retain this manual as a permanent record of your purchase, to aid in identification in
the event of theft.
MODEL NO.:
SERIAL NO.:
DATE OF PURCHASE
NAME OF DEALER
DEALER’S ADDRESS
For future reference

Table of Contents 7
Table of Contents
1Overview
1.1 Capacity....................................................................................................................12
1.1.1 Capacity ............................................................................................................................... 12
1.2 Names and Locations..............................................................................................13
1.2.1 Names and Locations .......................................................................................................... 13
1.3 Connection Example...............................................................................................16
1.3.1 Connection Example............................................................................................................ 16
1.4 Adding Another Telephone in Parallel (EXtra Device Port [XDP] )......................17
1.4.1 Adding Another Telephone in Parallel .................................................................................. 17
1.5 Restarting the System.............................................................................................19
1.5.1 Restarting the System.......................................................................................................... 19
2 Operation
2.1 Before Operating the Telephones ..........................................................................22
2.1.1 Before Operating the Telephones......................................................................................... 22
2.1.2 For ISDN Extension Users ...................................................................................................28
2.2 Making Calls.............................................................................................................29
2.2.1 Basic Calling ........................................................................................................................ 29
2.2.2 Easy Dialling ........................................................................................................................ 32
2.2.3 Redial................................................................................................................................... 37
2.2.4 When the Dialled Line is Busy or There is No Answer......................................................... 39
2.2.5 Calling without Restrictions.................................................................................................. 47
2.2.6 Alternating the Calling Method (Alternate Calling — Ring/Voice) ........................................ 49
2.2.7 Integrated Services Digital Network (ISDN) Service Access ............................................... 50
2.2.8 To Access Another Party Directly from Outside (Direct Inward System Access [DISA])...... 51
2.3 Receiving Calls........................................................................................................54
2.3.1 Answering Calls ................................................................................................................... 54
2.3.2 Answering Hands-free (Hands-free Answerback) ................................................................ 55
2.3.3 Answering a Call Ringing at Another Telephone (Call Pickup)............................................. 56
2.3.4 Answering a Call via an External Speaker (Trunk Answer From Any Station [TAFAS])........ 58
2.4 During a Conversation ............................................................................................60
2.4.1 Call Duration ........................................................................................................................ 60
2.4.2 Holding a Call....................................................................................................................... 61
2.4.3 Retrieving a Call on a Telephone Answering Machine (TAM)............................................... 68
2.4.4 Terminal Portability (TP) for ISDN Extension ....................................................................... 69
2.4.5 Talking to Two Parties Alternately (Call Splitting) ................................................................. 70
2.4.6 Transferring a Call ................................................................................................................ 71
2.4.7 Answering a Call Waiting ..................................................................................................... 73
2.4.8 Three-party Conversation .................................................................................................... 74
2.4.9 Saving a Number (Notebook Function)................................................................................ 76
2.4.10 Mute ................................................................................................................................... 77
2.4.11 Letting Other People Listen to the Conversation (Off-Hook Monitor)................................. 78

8Table of Contents
2.5 Before Leaving Your Desk...................................................................................... 79
2.5.1 Built-in Voice Message......................................................................................................... 79
2.5.2 Forwarding Your Calls (Call Forwarding) .............................................................................. 88
2.5.3 Forwarding Calls from a Hunting Group............................................................................... 93
2.5.4 Showing an Absent Message on the Caller's Telephone Display (Absent Message Capability)
95
2.5.5 Preventing Other People from Using Your Telephone (Electronic Station Lockout).............. 98
2.5.6 Leaving a Hunting Group (Log-In/Log-Out).......................................................................... 99
2.6 Making/Answering an Announcement ................................................................100
2.6.1 Paging ................................................................................................................................ 100
2.6.2 Paging a Person and Transferring a Call ............................................................................ 104
2.6.3 Answering a Paged Announcement ................................................................................... 106
2.7 Setting the Telephone According to Your Needs ...............................................108
2.7.1 Setting the Alarm (Timed Reminder).................................................................................. 108
2.7.2 Refusing Incoming Calls (Do Not Disturb [DND])............................................................... 110
2.7.3 Receiving a Call Waiting (Call Waiting/Off-Hook Call Announcement [OHCA]/Whisper OHCA)
112
2.7.4 Denying the Paged Announcement (Paging — DENY)...................................................... 113
2.7.5 Automatic Selection of Calling/Connected Line Identification Presentation (CLIP/COLP). 114
2.7.6 Preventing Your Number Being Displayed on the Called Party's Telephone (Calling Line
Identification Restriction [CLIR])....................................................................................... 115
2.7.7 Preventing Your Number Being Displayed on the Calling Party's Telephone (Connected Line
Identification Restriction [COLR]) ..................................................................................... 116
2.7.8 Denying Other People the Possibility of Picking up Your Calls (Call Pickup Deny) ............ 117
2.7.9 Denying Other People the Possibility of Joining Your Conversation (Executive Busy Override
Deny) ................................................................................................................................ 118
2.7.10 Turning on the Background Music.................................................................................... 119
2.7.11 Day/Night Service ............................................................................................................ 120
2.7.12 Checking the Day/Night Service Status ........................................................................... 122
2.7.13 Setting the Parallel Connected Telephone Ringer (Parallelled Telephone) ...................... 123
2.7.14 Clearing the Feature Settings at Your Extension (Station Programme Clear).................. 125
2.8 Using User-supplied Equipment..........................................................................126
2.8.1 If a Doorphone/Door Opener is Connected........................................................................ 126
2.8.2 If a Voice Processing System is Connected....................................................................... 129
2.8.3 If an External Relay is Connected...................................................................................... 135
2.8.4 If a Second Ringer is Connected ....................................................................................... 136
2.9 Using the Display Proprietary Telephone ...........................................................137
2.9.1 Calling Using the Call Log (Incoming Call Log) [KX-T7433, KX-T7436, KX-T7230, KX-T7235
only].................................................................................................................................. 137
2.9.2 Recording a Call Log [KX-T7433, KX-T7436, KX-T7230, KX-T7235 only] ........................ 140
2.9.3 Using the KX-T7431, KX-T7433, KX-T7436 or KX-T7235 ................................................. 141
3 Operator Operation
3.1 Extension Control .................................................................................................156
3.1.1 Switching Level of Service .................................................................................................156
3.1.2 Changing the Settings........................................................................................................ 158
3.2 System Control...................................................................................................... 159
3.2.1 Forwarding a Waiting Call (Automatic Overflow/Hurry-up Transfer) ................................... 159
3.2.2 Turning on the External Background Music........................................................................ 160

Table of Contents 9
3.2.3 Recording Company Greeting Outgoing Messages........................................................... 161
3.2.4 Using the ANSWER/RELEASE Button [KX-T7441 only] ................................................... 164
3.2.5 Printing the System Working Report.................................................................................. 165
4 Customising Your Phone & System
4.1 Customising Your Phone (Station Programming) ..............................................168
4.1.1 Customising Your Phone (Station Programming)............................................................... 168
4.1.2 Initial Settings..................................................................................................................... 169
4.1.3 Customising the Buttons .................................................................................................... 172
4.1.4 Charge Fee Management [Pre-assigned extension only] .................................................. 176
4.2 Customising Your System ....................................................................................178
4.2.1 Customising Your System .................................................................................................. 178
4.2.2 Date and Time Set (000).................................................................................................... 185
4.2.3 System Speed Dialling and Intelligent Call Handling Number Set (001)............................ 186
4.2.4 System Speed Dialling and Intelligent Call Handling Name Set (002)............................... 188
4.2.5 Extension Number Set (003).............................................................................................. 189
4.2.6 Extension Name Set (004)................................................................................................. 190
5 Appendix
5.1 Troubleshooting.....................................................................................................192
5.1.1 Troubleshooting.................................................................................................................. 192
5.2 Feature Number List..............................................................................................195
5.2.1 Feature Number List .......................................................................................................... 195
5.3 Directory.................................................................................................................199
5.3.1 Directory............................................................................................................................. 199
5.4 What is This Tone? ................................................................................................208
5.4.1 What is This Tone?............................................................................................................. 208
5.5 Specifications ........................................................................................................212
5.5.1 Specifications..................................................................................................................... 212
6Index
6.1 INDEX......................................................................................................................216

10 Table of Contents

Overview 11
Section 1
Overview
This section briefly outlines your system.

1.1 Capacity
12 Overview
1.1 Capacity
1.1.1 Capacity
You can connect the following number of extensions and outside lines to your system.
* ISDN (BRI) port 2 and ISDN (BRI) port 3 can be selected to be used for a CO line or ISDN extension
line (Default : port 2 — CO line/port 3 — Extension). The maximum capacity of the system depends
on the line selection. See below.
Basic
System Module
Expansion Maximum
Capacity
KX-TD612
CO line
(ISDN (BRI) line)
Extension line
4
(2)
12
2
(1)
—
6
(3)*
12
Line Selection CO Line ISDN
Extension
Line
Extension
Line
3 ISDN (BRI) ports are selected for CO line 6 0 12
2 ISDN (BRI) ports are selected for CO line 4 8 12
1 ISDN (BRI) port is selected for CO line 2 16 12

1.2 Names and Locations
Overview 13
1.2 Names and Locations
1.2.1 Names and Locations
KX-TD612
AC Inlet
Power Switch
Power Indicator
Extension Connectors
External Music Jack
ISDN (BRI) Line Modular Jacks
Serial Interface
(RS-232C)
Paging Jack
Battery Interface
Ground
Terminal
External Equipment Connector
Serial Number
KX-TD612XX
ABC1234567

1.2 Names and Locations
14 Overview
A Digital Proprietary Telephone (Example: KX-T7436)
AUTO DIAL / STORE
AUTO ANSWER / MUTE
FLASH
Jog Dial
REDIAL
HOLD
SP-PHONE Microphone
Function
PROGRAM
FWD/DND
CONF
INTERCOM
MESSAGE
PAUSE
TRANSFER
Soft
Function
SHIFT
Display

1.2 Names and Locations
Overview 15
To open the front cover
1. Loosen the screw on the top front cover of the main unit.
The screw is attached to the front cover with springs so that it will not be lost.
2. Open the top front cover in the direction of arrow .
3. Loosen the 2 screws of the both sides of the unit.
4. Open the front cover.
To close the front cover
1. Reverse the steps above.
Top Front Cover
Screw
A
Screws
Front Cover

1.3 Connection Example
16 Overview
1.3 Connection Example
1.3.1 Connection Example
This diagram shows you a connection example including optional equipment.
To ISDN (BRI) port 1 and 2 (initial)
To ISDN (BRI) port 3 (additional)
(Lightning Protectors)
3 ISDN (BRI) Lines
12 Extension lines
Door Openers
External Music Source
Amplifier Speaker
Printer or Computer
Single Line Telephone
Cordless Phone
Facsimile
Doorphones
KX-T30865
Panasonic
Car Batteries
Panasonic
Second Ringer Relay
External Relay
: needs optional card.
KX-T7436
KX-T7433
KX-T7431 KX-T7440
Voice Processing System

1.4 Adding Another Telephone in Parallel (EXtra Device Port [XDP] )
Overview 17
1.4 Adding Another Telephone in Parallel (EXtra
Device Port [XDP] )
1.4.1 Adding Another Telephone in Parallel
A Panasonic digital proprietary telephone and a single line telephone, including a facsimile, cordless
telephone, etc., can be connected to 1 extension jack in parallel. There are 2 types of parallel
connections.
•EXtra Device Port (XDP)
A digital proprietary telephone and a single line telephone
Each telephone has a different extension number and can work individually. For more information,
contact your dealer.
•Parallelled Telephone Connection
Any digital proprietary telephone and a single line telephone
These telephones share the same extension number.
To ring the single line telephone, set to ring (on) if necessary. (Refer to 2.7.13 Setting the Parallel
Connected Telephone Ringer (Parallelled Telephone) in this manual.)
Three examples of the parallel connections are shown below. System programming is required to
determine the type of connection. Consult your dealer.
Method 1
2-conductor wiring cord
Connect pins “T” and “R”.
Digital Proprietary Telephone Single Line Telephone
4-conductor wiring cord
Connect pins “T”, “R”, “H” and “L”.
<Back of the KX-T7400 Series DPTs>
<Back of the KX-T7200 Series DPTs>
Connectors of the DPT outlets (RJ11)
To system To single line telephone
HTRL T
R
To single line telephone
To system
Note: Ensure the cords are inserted in the
grooves to prevent damage to the
connectors, for both wall mounting and
desktop positioning.

1.4 Adding Another Telephone in Parallel (EXtra Device Port [XDP] )
18 Overview
Method 2
Method 3
Modular
Socket
2-conductor wiring cord
Connect pins “T” and “R”.
Digital Proprietary Telephone Single Line Telephone
4-conductor wiring cord
Connect pins “H” and “L” only.
(“T” and “R” are not required.)
Modular
Socket
Double Modular Socket
2-conductor wiring cord
Connect pins “T” and “R”.
Digital Proprietary Telephone Single Line Telephone
4-conductor wiring cord
For a digital proprietary telephone:
Connect pins “H” and “L” only.
(“T” and “R” are not required.)
Distribution
Frame

1.5 Restarting the System
Overview 19
1.5 Restarting the System
1.5.1 Restarting the System
After starting the system, if it does not operate properly, restart. Only the following will be cleared.
If your system does not operate properly, consult your dealer.
• Automatic Callback Busy (Camp-On) is cleared.
• Calls in system parking zones are cleared.
• Calls on Hold are terminated.
• Calls in progress are terminated.
• Calls on Exclusive Hold are cleared.
Using the Power Switch
1. Turn the power switch "OFF" once, and then turn it "ON".
Power Switch

1.5 Restarting the System
20 Overview

Operation 21
Section 2
Operation
This chapter shows you how to operate each feature
step by step. Read this chapter to become familiar with
the many useful features of this system.

2.1 Before Operating the Telephones
22 Operation
2.1 Before Operating the Telephones
2.1.1 Before Operating the Telephones
What kind of telephone can be used?
You can use a single line telephone (SLT), such as a rotary pulse telephone or a Panasonic digital
proprietary telephone (DPT) such as the KX-T7436. Operate the feature depending on the telephone
you are using. If you are using a Panasonic digital proprietary telephone with a special function button
such as and/or has a display, you can follow the operation with the button or display messages for
easy programming.
If you use a large display telephone (e.g. KX-T7436), you can follow the displayed messages to
operate the features.
If your telephone does not have function buttons and/or a display, you may operate the unit by
entering a feature number instead. Follow the available operation with your telephone. If you use a
console, you can use the buttons on the console as the buttons on the connected digital proprietary
telephone.
Feature Numbers
To operate certain features, you need to enter specified feature numbers (and an additional
parameter, if required).
There are two types of feature numbers as follows :
• Flexible feature number
• Fixed feature number
Fixed feature numbers cannot be changed. However, you can change the flexible numbers to other
numbers for easier use. If you want to change the numbers, consult your dealer. In this manual, the
default numbers (factory installed) are used for operations.
A flexible number is shown as (half-shaded key). Use the new programmed number if you have
changed the feature number. Write the new number in the "Feature Number List" (Appendix).
Tones
You will hear various tones, during or after an operation, for confirmation. Refer to "5.4.1 What is
This Tone?" (Appendix).
• If you use a Panasonic digital
proprietary telephone which does not
have function buttons, you may change
one of the unused flexible buttons to a
function button. Refer to "Customising
the Buttons" (Customising Your Phone
& System).
If you use a single line telephone which does not have the or # keys;
it is not possible to access features that have or # in their feature numbers.

2.1 Before Operating the Telephones
Operation 23
Display
In this manual, you will see "the display ...". This refers to the display of a Panasonic digital proprietary
telephone. If your telephone is not a Panasonic digital proprietary telephone with a display, the
message will not be displayed.
If you use a Panasonic digital proprietary telephone with display, the display helps you confirm the
settings. For example, when you set the Do Not Disturb feature, the display shows "Do Not Disturb".
Some digital proprietary telephones also give you easy access to operations. A message is displayed
depending on the operation. By pressing the corresponding button on the side or bottom of the
display, or rotating a jog dial, you can access the desired feature. For example, if turning background
music on becomes available, "BGM" will be shown on the display. Follow the instructions in each
operation.
Your Extension Number
If you use a Panasonic digital proprietary telephone with display, you can check your own extension
number on the display. Refer to 4.2.1 Customising Your System.
Restrictions
Some features may be restricted at your extension under system programming. Consult your
manager or dealer.
Furthermore, depending on the digital proprietary
telephone with display, you can operate features or make
calls using the display message. Refer to "Using the
Digital Proprietary Telephone with Display".
RING BGM
CONT
WED JAN01 03:00P WED JAN01 03:00P
Extension STA SpeedExtension STA Speed
Features SYS SpeedFeatures SYS Speed
Call Log Call Log

2.1 Before Operating the Telephones
24 Operation
Icon Descriptions
The following icons show you the feature availability, notes and action to operate the features.
While operating the unit, you can easily refer to the Icons noted on the inside back cover of this
manual.
When You Use a Panasonic Digital Proprietary Telephone
If you use a Panasonic digital proprietary telephone and the DSS Console, they may have some of
the useful function buttons listed below. These buttons make operations simple. The illustrations may
differ from the buttons on your telephone.
This feature cannot be operated
with a single line telephone. Seize an external line (one of the
following).
• Press the CO button.
• Dial automatic line access
number 9.
• Dial outside line number 81 to
83.
Related Programming Title
See "Programming", if necessary.
Off-hook (one of the following).
• Lift the handset.
• Press the SP-PHONE button.
• Press the MONITOR button. (To
start talking, lift the handset.)
Press the Call button on the
Doorphone.
On-hook (one of the following).
• Hang up.
• Press the SP-PHONE button.
• Press the MONITOR button.
Press the Recall button on a single
line telephone.
Press the corresponding function
button on the digital proprietary
telephone. (See to "When You Use
a Panasonic Digital Proprietary
Telephone".)
Wait for an answer.
Enter the required number.
<Example>
Enter the account code.
Talk.
Dial an extension number. You will hear a confirmation, dial,
ring or ringback tone.
C. Tone: confirmation tone
D. Tone: dial tone
R. Tone: ring tone
R. B. Tone: ringback tone
Dial the telephone number. One short beep
OR
to
OR
8
9
1
8 3
(CO)
(Recall)
desired no.
account code
extension no.
phone no.

2.1 Before Operating the Telephones
Operation 25
ANSWER: Used to answer an
incoming call. INTERCOM: Used to make or receive
an intercom call.
AUTO ANSWER/MUTE: Used to
receive an incoming intercom call in
the hands-free mode or mute the
microphone during a conversation.
MESSAGE: Used to leave a message
waiting indication or call back the party
who left the message waiting indication
/used to replay voice messages.
AUTO DIAL/STORE: Used for System
Speed Dialling or storing programme
changes.
MODE: Used to shift the display to
access various features.
CO: Used to make or receive an
outside call. A Loop-CO button
supports all lines. Pressing this button
seizes an idle line automatically.
(Button assignment is required.)
(Only the CO "number" (e.g. 1, 2) may
be shown on some telephones.)
PAUSE: Used to insert a pause during
dialling.
PROGRAM: Used to enter and exit the
Station Programming mode.
Conference: Used to establish a three-
party conversation. Programmable Feature: Located on
the upper part of the CO button or on
the Console. Assigns the desired
button and used to access the stored
function. Mostly used as a one-touch
dialling button.
(Only the "F and number" may be
shown on some telephones.)
DSS: Used to access the extension.
(Only the "S" may be shown on some
telephones.)
R (FLASH): Sends a flash signal to the
Central Office or a host PBX to access
their features (External Feature
Access). This button is applicable
when the PBX has CO lines, not when
it only has ISDN lines.
REDIAL: Used to redial.
Function: Located beside the display.
Used to perform the displayed function
or operation.
RELEASE: Used to disconnect the
line.
Call Forwarding/Do Not Disturb:
Used to perform Call Forwarding or Do
Not Disturb.
SELECT: Used to select the displayed
function or to call the displayed phone
number.
Jog Dial: Used to adjust the volume
and the display contrast or select
desired items for each function.
SHIFT: Used to access the second
level of Soft Button functions.
ANSWER
INTERCOM
MUTE
AUTO ANSWER MESSAGE
AUTO DIAL
STORE
MODE
(CO)
PAUSE
PROGRAM
CONF
(PF)
(DSS)
(DSS)
FLASH REDIAL
RELEASE
FWD/DND
SELECT
SHIFT

2.1 Before Operating the Telephones
26 Operation
Using a Jog Dial
The Jog Dial can be used for the display contrast and the volume control or you can search for desired
items on the display. Rotate the Jog Dial in the either direction as desired. The contrast or the volume
level and the items will change as follows:
HOLD: Used to place a call on hold. Soft: Used to perform a function or
operation appearing on the bottom line
of the display.
Speakerphone: Used for the hands-
free operation. If the term is in parentheses like (Account) in this
section, it means a flexible button has been made
into an "Account" button.
TRANSFER: Used to transfer a call to
another party.
HOLD
SP-PHONE
TRANSFER
Left
(counter-clockwise)
Level decreases
To the previous item
Right
(clockwise)
Level increases
To the next item

2.1 Before Operating the Telephones
Operation 27
How to Follow the Steps
A sample operation is shown below.
An Account Code gives information about outside calls for accounting and billing purposes. You may
not be able to make an outside call without an account code entry. A mode is assigned to each user.
Ask your manager for your mode.
Using an account code To an extension refusing the call
Feature title
Operation steps
The description of the
icons are explained
in "2.1.1 Before
Operating the
Telephones — Icon
Descriptions."
Press # or dial 99.
Off-hook.
phone no.
Enter phone number.
account code
Enter account code
(max. 10 digits).
Press “ACCNT”,
Account or dial 49.
OR
OR
Press CO or enter
line access number
(9 or 81-83).
OR
OR
line access
no.
DPT/SLT
C.Tone
ACCNT
(CO)
(Account)
4 9
#
9 9
Using an account code (Account Code Entry)
2.2.5 Calling without Restrictions
Description
Sub feature title
•
A Panasonic digital proprietary telephone user can enter an account code during a
conversation or when hearing a reorder tone after the other party hangs up.
• If you enter the wrong code, press the “ ” key while entering the account code and then
re-enter the code.
• To cancel the entry, press the Account button while entering the code.
• For your convenience, you can store the code with the phone number in memory (e.g.
Speed dialling).
• If you hear a reorder tone, the entered account code is wrong. Enter the correct code.
Conditions
• You may give a specified account cord to extension users and check their telephone usage.
You can specify an account cord to each client and check the call duration.
Customising Your Phone
• 4.1.3 Customising the Buttons
Create or re-arrange an Account button.
Programming References: The related or required programming is noted.
To program, see “Customising Your Phone & System”.
Hints

2.1 Before Operating the Telephones
28 Operation
2.1.2 For ISDN Extension Users
ISDN extensions include ISDN terminal equipment such as telephones, facsimiles or personal
computers connected to the ISDN (BRI) port (port 2 and port 3) on the main unit KX-TD612. A
maximum of 8 ISDN extensions can be connected to each ISDN (BRI) port with point-to-multipoint
configuration. However, only 2 units can be used simultaneously. Terminal equipment can be
addressed individually with Multiple Subscriber Numbers (MSN). The MSN consists of the ISDN
extension number and an additional digit, 00 through 99. If MSN is not assigned, all equipment on the
same ISDN (BRI) Extension bus are called simultaneously.
• A primary and a secondary Class of Service (COS) can be assigned per port.
To Central Office
ISDN Extensions
Network
Termination

2.2 Making Calls
Operation 29
2.2 Making Calls
2.2.1 Basic Calling
Calling another extension
To another extension (Intercom Call)
<Example>
When you call Mr. Thomas....
Mr. Thomas's extension number is 123.
• The DSS button light shows the current status as follows:
Off: The extension is idle.
Red on: You or another extension is using the line.
•Hands-free operation
You can have a conversation in the hands-free mode using the SP-PHONE button. You can
then perform other tasks at the same time.
•Do you have an extension directory?
Complete the directory in 5.3 Directory and make a photo copy for your reference.
•For quick operation
If you are an operator or dial some extensions frequently, the DSS button is useful.
•Confirming the dialled number before connecting
You can go off-hook after confirming the number you dialled. If you misdial, press " " to
clear each number from the right or press the R (FLASH) button to clear all numbers.
Off-hook. Talk.
OR
Enter extension
number or press DSS.
extension no.
DPT/SLT
(DSS)
Off-hook. Talk.Dial 123.
DPT/SLT
1 32

2.2 Making Calls
30 Operation
To an operator (Operator Call)
Calling an external party
You have to seize an outside line before dialling an outside phone number because external calls are
made via your system.
Select one of the following methods:
• Press an idle button.
• Dial automatic line access number .
An idle line is selected automatically.
• Dial outside line number to .
A specific line is selected.
Customising Your Phone
• 4.1.3 Customising the Buttons
Create or re-arrange a DSS button.
Customising Your System
• 4.2.3 System Speed Dialling and Intelligent Call Handling Number Set (001)
• 4.2.4 System Speed Dialling and Intelligent Call Handling Name Set (002)
DPT/SLT
Off-hook. Dial 0, 61 or 62 as you
desire.
OR
OR
6 1
0
6 2
Idle operator
Operator 1
Operator 2
(CO)
9
13
Off-hook. Talk.Enter phone number.
Seize an external line
(CO, 9 or 81-83).
OR
phone no.
to
OR
DPT/SLT
8
9
1
8 3
(CO)

2.2 Making Calls
Operation 31
• The CO button light shows the current status as follows:
Off: The line is idle.
Green on: You are using the line.
Red on: The line is in use.
• CO1 to CO6 correspond to outside line numbers 81 to 83 respectively.
CO 1,2 : 81
CO 3,4 : 82
CO 5,6 : 83
•Emergency call
You can dial pre-programmed emergency numbers without any restrictions.
•Hands-free operation
You can have a conversation in the hands-free mode using the SP-PHONE button. You can
then perform other tasks at the same time.
Helpful hints for hands-free operation
Use your telephone in a quiet room for best performance.
If the other party has difficulty hearing you, decrease the volume.
If you and the other party talk at the same time, parts of your conversation will be lost. To
avoid this, talk alternately.
•To select the less expensive line automatically, dial "9" or press the Loop-CO button to
seize a line. (Least Cost Routing)
•Confirming the dialled number before connecting
You can go off-hook after confirming the number you dialled. If you misdial, press " " to
clear each number from the right or press the R (FLASH) button to clear all numbers.
•Call information
The following information can be referred to by repeatedly pressing the CO button in use.
Phone number (outgoing call) or call duration (incoming call)
Meter
Call charge
•To call another party without hanging up, just press the terminate button or "TRM" button
on the display, re-access an outside line and dial the new phone number.
Customising Your Phone
• 4.1.2 Initial Settings — Preferred Line Assignment — Outgoing
Select the seized line when going off-hook.
• 4.1.3 Customising the Buttons
Create or re-arrange the terminate button.
• 4.1.4 Charge Fee Management [Pre-assigned extension only]

2.2 Making Calls
32 Operation
2.2.2 Easy Dialling
This is convenient for frequently dialled phone numbers.
With one touch button (One-Touch Dialling)
Using numbers stored at your extension (Station Speed Dialling)
You can store up to 10 numbers at your extension for your personal use.
To store a phone number
— With one touch button
— Using numbers stored at your extension
— Using numbers stored in the system
— To a pre-set party by going off-hook
— Using a quick dialling number
— To a phantom extension
Customising Your Phone
• 4.1.2 Initial Settings—Full One-Touch Dialling Assignment
Allow or cancel the one-touch operation while on-hook. (Default: Allow)
• 4.1.3 Customising the Buttons
Create or re-arrange the One-Touch Dialling button and store the desired number, phone
number, feature number, etc.
•To dial to a third party with holding the present call, refer to 2.4.2 Holding a Call —
One-touch dialling with automatic hold.
Press One-Touch
Dialling.
Off-hook.
DPT
(One-Touch
Dialling)
Off-hook. Dial 60. Enter station speed
dial number (0-9).
Dial #.
desired no.
station speed
dial no.
Enter the desired
number (max. 24 digits).
Enter a line access number (9 or 81 to 83) as
the first digit before an external party number.
DPT/SLT
On-hook.
C.Tone
6#
0

2.2 Making Calls
Operation 33
To dial
Using numbers stored in the system (System Speed Dialling)
Up to 500 parties can be stored in the system. Refer to the directory in 5.3.1 Directory.
To dial
•"", "#", PAUSE, SECRET and HYPHEN can also be stored as digits.
• 2.9.3 Using the KX-T7431, KX-T7433, KX-T7436 or KX-T7235 — storing the names
and numbers for station speed dialling.
• More than one speed dial number can be used for long telephone numbers, if the number
is divided when stored.
<Dialling Example>
If the number is divided and stored in system speed dial numbers 001 and 002:
•To store a phone number, refer to 4.2.3 System Speed Dialling and Intelligent Call
Handling Number Set (001).
Customising Your System
• 4.2.3 System Speed Dialling and Intelligent Call Handling Number Set (001)
• 4.2.4 System Speed Dialling and Intelligent Call Handling Name Set (002)
Dial 6 .Enter station speed
dial number (0-9).
station speed
dial no.
Off-hook.
DPT/SLT
6
Off-hook. Press AUTO DIAL
or dial . Enter system speed dial
number (000-499).
OR
system speed
dial no.
DPT/SLT
AUTO DIAL
STORE
2
00
1
00
AUTO DIAL
STORE
AUTO DIAL
STORE

2.2 Making Calls
34 Operation
To a pre-set party by going off-hook (Pickup Dialling)
You can make an outside call simply by going off-hook if you pre-assigned a telephone number.
To store a phone number
To set/cancel
To dial
• You can set or cancel this feature by simply pressing the Pickup Dialling button. If set, the
button light turns red.
•To call another party, dial the desired party's phone number before the pre-set line is
connected.
(Default: 1 second)
• " " can also be stored as a digit.
• If there is a new message which is not yet replayed, the Pickup Dialling feature does not
work.
Dial #.On-hook.
Off-hook. Dial
742
.Enter the desired
party’s number
(max. 24 digits).
desired
party’s no.
Enter a line access number (9 or 81 to 83) as
the first digit before an external party number.
DPT/SLT
C.Tone
7 4 #
2
Off-hook. Dial 74. On-hook.
Dial 1 to set
or 0 to cancel.
Set
Cancel
OR
DPT/SLT
C.Tone
7
1
0
4
Off-hook.
DPT/SLT

2.2 Making Calls
Operation 35
Using a quick dialling number (Quick Dialling)
To a Phantom extension
To call to a phantom extension
Customising Your Phone
• 4.1.3 Customising the Buttons
Create or re-arrange a Pickup Dialling button.
• The quick dialling number is determined by system programming. Consult your dealer.
• Make use of "Quick Dialling" in 5.3.1 Directory.
You can call extensions associated with a
Phantom extension. The call arrives at all
extensions who have the corresponding
Phantom extension button.
Off-hook. Enter quick dialling
number.
quick dialling no.
DPT/SLT
123 123
123
123
Press Phantom or enter
phantom extenison number.
OR
phantom
extension no.
DPT/SLT
(Phantom)

2.2 Making Calls
36 Operation
To answer
• The Phantom extension button light shows the current status as follows:
Off: Idle
Red on: You are calling a phantom extension.
Flashing green: Incoming call
• To set ringing or not, refer to "Customising Your Phone".
Customising Your Phone
• 4.1.3 Customising the Buttons
Create or re-arrange a Phantom extension button.
DPT
Off-hook or
press Phantom.
OR
(Phantom)

2.2 Making Calls
Operation 37
2.2.3 Redial
This is convenient when calling the same external party again.
— Redialling the last number you dialled
— Saving the number and redialling
Redialling the last number you dialled (Last Number Redial)
To dial
To dial automatically (Automatic Redial)
• Up to 24 digits can be programmed and redialled. The line access number is not counted
as a digit.
•Automatic Redial:
This is a special feature for the digital proprietary telephones, that provides automatic
redialling of the last dialled, saved number or outgoing call log, if the called party is busy. If
the Last Number Redial, Saved Number Redial, Outgoing Call Log operation or Notebook
function is performed handsfree, the telephone set will hang up and try again after a pre-
determined period of time. Detailed operations for redialling the last deialled or saved
number are shown below. To redial using the Outgoing Call Log, refer to 2.9.3 Using the
KX-T7431, KX-T7433, KX-T7436 or KX-T7235 — Using the KX-T7436/Using the KX-
T7235.
Customising Your Phone
• 4.1.2 Initial Settings—Full One-Touch Dialling Assignment
Allow or cancel the one-touch operation while on-hook. (Default: Allow)
Off-hook. Press REDIAL or dial #.
OR
DPT/SLT
#
REDIAL
Press SP-PHONE.
DPT
Press REDIAL or dial #.
OR
#
REDIAL
SP-PHONE

2.2 Making Calls
38 Operation
Saving the number and redialling (Saved Number Redial)
The saved number is programmed until another number is stored.
To save
To dial
To dial automatically (Automatic Redial)
•To cancel the Automatic Redial, go off-hook or press CO, INTERCOM, 0 through 9, ,
or # button.
•To cancel the Automatic Redial, go off-hook or press CO, INTERCOM, 0 through 9, ,
or # button.
Customising Your Phone
• 4.1.3 Customising the Buttons
Create or re-arrange a SAVE button.
Press STORE.
PT
Press SAVE.
During a conversation or while hearing a busy tone
DPT
(Save)
AUTO DIAL
STORE
Off-hook. Press SAVE.
DPT
(Save)
Press SP-PHONE.
DPT
Press SAVE.
(Save)
SP-PHONE

2.2 Making Calls
Operation 39
2.2.4 When the Dialled Line is Busy or There is No Answer
Reserving a busy line (Automatic Callback Busy)
You can set the telephone to receive callback ringing when a dialled line becomes idle.
When you answer the callback ringing:
For an outside call: The line is seized.
For an intercom call: The called extension starts ringing automatically.
To answer a callback ringing and call
To cancel
— Reserving a busy line
— Completing a call to a busy party on an
ISDN line
— Sending a call waiting tone
— Leaving a message waiting indication
— Joining an existing call
Press “C.BCK” or dial 6.On-hook.
OR C.Tone
DPT/SLT
C.BCK
6
While hearing a busy tone
Off-hook. Enter phone number.Off-hook.
phone no.
DPT/SLT
Outside call Intercom call
Off-hook. Dial 46. On-hook.
DPT/SLT
C.Tone
4 6

2.2 Making Calls
40 Operation
Completing a call to a busy party on an ISDN line (Completion of Calls to
Busy Subscriber [CCBS])
You can set the telephone to receive call-back ringing when a busy called party on an ISDN line
becomes free. When you answer the call-back ringing, the called party's telephone number is
automatically dialled.
To answer and call
To cancel
• If you do not answer a callback ringing during 4 callback rings, this feature will be cancelled.
• If you connect to an ISDN line, the busy party will automatically be dialled.
"CCBS" will be displayed instead of "C.BCK". Refer to "Completing a call to a busy party on
an ISDN line" right below.
Press “CCBS” or dial 6.On-hook.
OR C.Tone
DPT/SLT
CCBS
6
While hearing an indication tone*
Off-hook.
DPT/SLT
Off-hook. Dial 713. On-hook.
DPT/SLT
C.Tone
7 1 3

2.2 Making Calls
Operation 41
Sending a call waiting tone (Busy Station Signalling [BSS])
The party will know your call is waiting.
• If you do not answer a callback ringing during 4 callback rings, this feature will be cancelled.
• Indication tone
• Availability of this feature depends on your telephone company.
• The CCBS feature is in accordance with the ETS 300 359. (ETS: European
Telecommunication Standard)
•If "BSS" is not displayed or you hear a reorder tone, this feature has not been set at the
other party's phone. This feature is only available if the called extension has set the "Call
Waiting" feature.
•Depending on the other party's telephone, the "Off-Hook Call Announcement (OHCA)"
and the "Whisper OHCA" functions can be applied. You can talk to the other party through
the speaker and the microphone (OHCA) or you can send a call announcement through the
handset (Whisper OHCA), while they are having another conversation using the handset.
1 s
Press “BSS” or dial 2.
OR
DPT/SLT
BSS
2
While hearing a busy tone

2.2 Making Calls
42 Operation
Leaving a message waiting indication (Message Waiting)
To leave a message waiting indication
To leave/cancel a message waiting indication
The called extension receives a message waiting
indication (MESSAGE button light turns on and/or
indication tone is emitted when going off-hook) to call you
back.
Press MESSAGE
or dial 4.On-hook.
When the called extension is busy or does not answer
DPT/SLT
C.Tone
OR
4
MESSAGE
Off-hook. Dial 70. Dial 1 to leave or
0 to cancel.
Leave
Cancel
On-hook.
extension no.
Enter extension
number.
extension no.
OR
PT and SLTDPT/SLT
C.Tone
7
1
0
0
Rotate Jog Dial
until “MSG Off”
or “MSG On”
is displayed.
Press MODE until
“Feature Access”
is displayed.
T7431
extension no.extension no.
Enter
extension number.On-hook.
C.Tone
Press SELECT.
“MSG On”: Leave
“MSG Off”: Cancel.
→
MSG Off ext
SELECT MODE
MODE

2.2 Making Calls
Operation 43
To check and select the party
Rotate Jog Dial until
“MSG Off” or “MSG On”
is at the arrow.
Press SHIFT until
“FEAT” is displayed.
Press
“
FEAT
”
.
T7433
extension no.extension no.
Enter
extension number.
FEAT
On-hook.
C.Tone
Press “SEL”.
“MSG On”: Leave
“MSG Off”: Cancel
SEL
SHIFT
MSG Off ext
MSG On ext
MENU
→
SEL
T7436/T7235
Rotate Jog Dial or
press “NEXT” until the
following is displayed.
Press “Message On” to leave
or “Message Off” to cancel.
Cancel
Features
Leave
Message Off
(
ext)
Message On
(
ext)
NEXT
OR
C.Tone
On-hook.
extension no.extension no.
Enter
extension number.
Press “Features”.
DPT
Press MESSAGE
until the desired extension appears.
While on-hook
MESSAGE

2.2 Making Calls
44 Operation
To call back
• The extension number and name are shown in the received order.
• You can also select the party who left the voice message in your mail box of a voice
processing system. Refer to 2.8.2 If a Voice Processing System is Connected.
• Single line telephone users will hear ring tone 5 as message waiting indication while on-
hook.
• If the indication for the Built-in Voice Message is left at the same time, "Voice Message"
will be displayed (for DPT with display user only). Refer to 2.5.1 Built-in Voice Message.
5 s
Off-hook. Off-hook.
Press MESSAGE or dial 702.
DPT/SLT SLT
OR
7 20
MESSAGE

2.2 Making Calls
Operation 45
To clear all message waiting indications
Joining an existing call (Executive Busy Override)
You can call the party who is talking with another on the telephone or add a third party to your existing
conversation.
• SLT users can change the call back operation style by system programming (default: off-
hook). Consult your dealer.
• Dial tone 4 will be heard when going off-hook.
• If the indication for the Built-in Voice Message is left at the same time, you will hear dial tone
5 when going off-hook. Pressing the MESSAGE button enables you to replay newly stored
voice messages in the order of arrival. Refer to 2.5.1 Built-in Voice Message.
• If the rest of recording time for the Built-in Voice Message feature becomes less than 5
minutes, dial tone 6 will be heard when going off-hook.
Customising Your Phone
• 4.1.3 Customising the Buttons
Create or rearrange a MESSAGE button.
1 s
1 s
1 s
Off-hook. Dial 700.Enter your
extension number.
your extension
no.
DPT/SLT
7 00
On-hook.
C.Tone

2.2 Making Calls
46 Operation
To join
To disconnect one party and talk with another when one of these parties is an outside
call
• You can also deny others the possibility of joining your conversation (Default: Allow). Refer
to "2.7.9 Denying Other People the Possibility of Joining Your Conversation (Executive
Busy Override Deny)".
Off-hook. Press
corresponding CO.Press “Over” or dial 3.
OR
DPT DPT/SLT
Talk.
C.Tone
Talk.
C.Tone
Over
3
Outside call Intercom call
(CO)
Press other party's
CO or INTERCOM.
PT
OR
DPT
Talk.
C.Tone
(CO)
INTERCOM

2.2 Making Calls
Operation 47
2.2.5 Calling without Restrictions
Using an account code (Account Code Entry)
An Account Code gives information about outside calls for accounting and billing purposes. You may
not be able to make an outside call without an account code entry. A mode is assigned to each user.
Ask your manager for your mode.
— Using an account code — To an extension refusing the call
•A Panasonic digital proprietary telephone user can enter an account code during a
conversation or when hearing a reorder tone after the other party hangs up.
•If you enter the wrong code, press the " " key while entering the account code and then
re-enter the code.
•To cancel the entry, press the Account button while entering the code.
•For your convenience, you can store the code with the phone number in memory (e.g.
Speed dialling).
•If you hear a reorder tone, the entered account code is wrong. Enter the correct code.
• You may give a specified account code to extension users and check their telephone usage.
You can specify an account code to each client and check the call duration.
Customising Your Phone
• 4.1.3 Customising the Buttons
Create or re-arrange an Account button.
Press # or dial 99.
Off-hook.
phone no.
Enter phone number.
account code
Enter account code
(max. 10 digits).
Press “ACCNT”,
Account or dial 49.
OR
OR
Press CO or enter
line access number
(9 or 81-83).
OR
OR
line access
no.
DPT/SLT
C.Tone
ACCNT
4
#
9 9
9
(Account)
(CO)

2.2 Making Calls
48 Operation
To an extension refusing the call (DND Override)
Press “Over” or dial 2.
OR
DPT/SLT
Over
2
While hearing the DND tone

2.2 Making Calls
Operation 49
2.2.6 Alternating the Calling Method (Alternate Calling —
Ring/Voice)
For voice-calling
For ring-calling
The calling method, either ring or voice, is set by the
called extension when an intercom call is received.
However, you can change the method temporarily.
Ring-calling (Default):
You can call the other party with a ring.
Voice-calling:
You can talk to the other party immediately after a
confirmation tone.
• If the called party uses a single line telephone, only Ring-Calling is available.
• You can switch the desired calling method only once during a call.
Customising Your Phone
• 4.1.2 Initial Settings—Intercom Alert Assignment
Which way do you prefer to receive an intercom call?
Ring
Ring Hello
OR
OR
Press “Voice” or .
DPT/SLT
Talk.
C.Tone
Voice
After dialling
OR
Press “Tone” or .
DPT/SLT
Tone
After dialling

2.2 Making Calls
50 Operation
2.2.7 Integrated Services Digital Network (ISDN) Service
Access
You can reach the ISDN Key Pad Protocol Service from your extension. The service depends on the
contract with your telephone company.
If your telephone has an ISDN SERVICE button.
If your telephone does not have an ISDN SERVICE button.
• At the end of the procedure, a voice prompt tells you that the acceptance of the service is
completed depending on each Integrated Digital Services Network.
Off-hook.
DPT
Seize an external line
(CO, 9 or 81-83).
OR
to
OR
8
9
1
8 3
Press “ISDN SERVICE” button.
(ISDN SERVICE)
(CO)
DPT
Off-hook. Seize an external line
(CO, 9 or 81-83).
OR
to
OR
8
9
1
83
Press FWD/DND
button.
ISDN Service no.
Enter ISDN Service
number (max. 32 digits). Press FWD/DND
button.
(CO)
FWD/DND FWD/DND
DPT/SLT
Off-hook.
7 2 9
Dial 729 .
ISDN Port no.
Enter ISDN Port
number (1, 2 or 3). Wait for
5 seconds.
ISDN Service no.
Enter ISDN Service
number (max. 32 digits).

2.2 Making Calls
Operation 51
2.2.8 To Access Another Party Directly from Outside (Direct
Inward System Access [DISA])
WARNING
When you enable the Outside-Outside Line Call feature of DISA function, if a third party discovers the
password (a DISA User Code) of the system, you have a risk that they will make illegal phone calls
using your telephone line, and the cost may be charged to your account.
To prevent this problem from occurring, we strongly recommend the following points:
1: Carefully maintain the secrecy of the password.
2: Specify a complicated password with several digits.
3: Change the password frequently (at least once per month).
This feature is possible if an optional card KX-
TD61291 is installed in the main unit. This feature
allows an outside caller to access specific system
features as if the caller is an extension in the
system. The caller can have direct access to
feature such as:
• Placing an incoming call to an extension or
operator. The caller also has the option of
dialling the route for an extension using 1
digit number (DISA Automated Attendant
(AA) number) via DISA calls.
• Calling an external party.
An outgoing message greets the caller and gives
information about how to access an extension. You
do not need the operator's assistance.
You may not be able to access the features without
a DISA user code depending on the security mode.
Non Security Mode: Any caller can make outside
or intercom calls.
Trunk Security Mode (Default): A pre-assigned
DISA security code must be entered to make
outside calls.
All Security Mode: A pre-assigned DISA security
code must be entered to make both outside and
intercom calls.
This prevents the caller from making unauthorised
calls. However, when making an outside call by
Call Forwarding – to Outside (CO) Line, the call is
allowed (exception). Ask your manager for the
mode assigned to your system.
• An optional voice message card KX-TD 61291 is required to enable DISA function.
• This feature is available only for DTMF (Touch Tone) telephone user.

2.2 Making Calls
52 Operation
Note
• Be sure to assign Intelligent Call Handling table beforehand. Otherwise, outside callers cannot
access DISA. (Refer to 4.2.3 System Speed Dialling and Intelligent Call Handling Number Set
(001)) Consult your manager for a detailed assignment.
• You can set either the Built-in Voice Message (BV) feature or the Voice Mail (VM) feature at a time,
but not both. If you set VM, the functions of an optional voice message card KX-TD61291 cannot
be used. In other words, BV, OGM and Direct Inward System Access (DISA) cannot work when
VM is used. Before setting VM, be sure to listen to voice messages of BV and then delete call log
entries if stored. Otherwise, you can do nothing with it after setting VM.
To call an extension
Enter DISA
phone number.
DISA
phone no.
Enter the desired
extension number.
extension no.
Enter the desired
extension number.
extension no.
Any Outside Telephone
DISA OGM
Enter DISA
phone number.
DISA
phone no.
DISA OGM
DISA user
code
Enter pre-assigned
DISA user code
(4-10 digits).
1
D.Tone
In Non Security Mode or Trunk Security Mode
In All Security Mode

2.2 Making Calls
Operation 53
To call an external party
To start a new conversation
• *1: If you dial a wrong DISA user code, dial and try again from this point.
• If you enter a wrong DISA user code 3 times, the line will be disconnected automatically.
• In case a destination of Intercept Routing is not assigned, the call which was made by DISA
function will be disconnected automatically when it is over a programmed time period.
• Digital proprietary telephones or single line telephones enables the DISA Automated
Attendant (AA) feature. Other extensions such as ISDN telephones cannot set this feature.
•If Built-in Automated Attendant service is set, you can access the desired extension
simply by pressing 1 digit number (0-9) according to the outgoing message.
In Non Security Mode
Any Outside Telephone
Enter line
access number
(9 or 81-83).
line access
no.
Enter DISA
phone number.
DISA
phone no. phone no.
Enter phone
number of the
external party.
DISA outgoing
message D.Tone
Enter line
access
number
(9 or 81-83).
line access
no. DISA user
code
Enter DISA
phone number.
DISA
phone no. phone no.
In Trunk Security Mode
Enter phone
number of the
external party.
Enter pre-assigned
DISA user code
(4-10 digits).
DISA outgoing
message D.Tone
Enter DISA
phone number.
DISA
phone no. phone no.
In All Security Mode
Enter phone
number of the
external party.
DISA outgoing
message D.Tone
DISA user
code
Enter pre-assigned
DISA user code
(4-10 digits).
Enter line
access
number
(9 or 81-83).
line access
no.
1
1
D.Tone
D.Tone
Enter desired number.
To dial a different number during a conversation with an outside party or
while hearing the ringback, reorder, or busy tone
Dial .
desired no.
Enter a line access number (9 or 81 to 83)
as the first digit when calling an external party.
D.Tone
Any Outside Telephone

2.3 Receiving Calls
54 Operation
2.3 Receiving Calls
2.3.1 Answering Calls
•Hands-free operation
You can have a conversation in the hands-free mode with the SP-PHONE button. You can
perform other tasks at the same time.
Helpful hints for the hands-free operation
Use your telephone in a quiet room for best performance.
If the other party has difficulty hearing you, decrease the volume.
If you and the other party talk at the same time, parts of your conversation will be lost. To
avoid this, talk alternately.
•If the Incoming Call Log feature is available, you may confirm the caller's phone number
and name before answering an outside call.
Pressing the SHIFT button displays the outside line number and name.
<Example>
The caller's information from your telephone company will only be sent to the pre-assigned
extension.
Customising Your Phone
• 4.1.2 Initial Settings —
Preferred Line Assignment — Incoming
Select the seized line when going off hook.
Intercom Alert Assignment
Select the Calling method, either ring or the other party's voice.
• 4.1.3 Customising the Buttons
Re-arrange the CO button and change the ringing tone for each CO button.
Talk.
Off-hook.
Select one of the following methods:
· Lift the handset to receive the preferred line.
(Default: Ringing line is selected.)
· Press the SP-PHONE button.
· Press the flashing red CO or green INTERCOM button directly.
DPT/SLT
0111111111
John Thomas
Extension STA Speed
Features SYS Speed
Call Log
SHIFT
CO1 Panasonic
Extension STA Speed
Features SYS Speed
Call Log
SHIFT

2.3 Receiving Calls
Operation 55
2.3.2 Answering Hands-free (Hands-free Answerback)
To set/cancel
You can answer an intercom call without going off-hook as soon as the line is
connected. You will hear the caller talking without the phone ringing.
• The AUTO ANSWER button light shows the current status as follows:
On: Set.
Off: Not set.
Press AUTO
ANSWER.
DPT
While on-hook
AUTO ANSWER
MUTE

2.3 Receiving Calls
56 Operation
2.3.3 Answering a Call Ringing at Another Telephone (Call
Pickup)
You can answer an incoming call that is ringing at another extension from your phone without leaving
your desk.
Extension Group
An extension group is used for group paging and group pickup features. An extension can belong to
several extension groups.
The following types are available:
Outside (CO) Call Pickup: Picks up an outside call.
Group Call Pickup: Picks up a call within your extension group.
Directed Call Pickup: Picks up a specified extension's call.
Off-hook.
Enter extension
number.
extension no.
DPT/SLT
C.Tone
C.Tone
Talk.
Outside call
Group
Dial 4 for an outside call
or 40 for group.
OR
4
4 0
Dial 41 for directed call.
Directed
4 1
CO or Group
Directed
Call
Rotate Jog Dial
until “C.Pickup GRP”
is displayed.
T7431
Talk.
C.Tone
Press SELECT.
C.Pickup GRP
→
SELECT MODE
Press MODE until
“Feature Access”
is displayed.
MODE
Group Call Pickup only
C.Pickup GRP
Call Park 0-9
MENU
→
SEL
Rotate Jog Dial until
“C.Pickup GRP” is
at the arrow.
Press
“
FEAT
”
.
T7433
FEAT
Press SHIFT until
“FEAT” is displayed. Talk.
C.Tone
Press “SEL”.
SHIFT
Group Call Pickup only

2.3 Receiving Calls
Operation 57
•If you receive a call waiting tone, you can ask a third party to pick up your second call
with Directed Call Pickup.
• You can also deny other people the possibility of picking up your calls. Refer to "Setting the
Telephone According to Your Needs".
T7436/T7235
Rotate Jog Dial or
press “NEXT” until the
following is displayed.
Features
NEXT
OR
Press “Features”. Press “C.Pickup Group”.
C.Pickup Group
Talk.
C.Tone
●
Group Call Pickup only

2.3 Receiving Calls
58 Operation
2.3.4 Answering a Call via an External Speaker (Trunk
Answer From Any Station [TAFAS])
You can answer an incoming outside call paged through an external speaker from any extension.
Off-hook. Dial 44.
DPT/SLT
Talk.
C.Tone
4 4
Rotate Jog Dial
until “Page-E ANS
is displayed.”
Press MODE until
“Feature Access”
is displayed.
T7431
On-hook.
C.Tone
Press SELECT.
Page-E ANS
→
SELECT MODE
MODE
Press SHIFT until
“FEAT” is displayed.
Press “FEAT
”
.
T7433
Rotate Jog Dial
until “Page-E ANS”
is at the arrow.
C.Tone
Talk.
FEAT
Page-E ANS
Page-GRP ANS
MENU
Press “SEL”.
→
SEL
SHIFT
T7436/T7235
Rotate Jog Dial or
press “PREV” until the
following is displayed.
Features
PREV
OR
Press “Features”. Press “Page-Ext Answer”.
C.Tone
Talk.
Page-Ext Answer

2.3 Receiving Calls
Operation 59
• You can also receive a paged announcement via a speaker with this operation.

2.4 During a Conversation
60 Operation
2.4 During a Conversation
2.4.1 Call Duration
You can see the call duration during the conversation.
To view the call duration*
• * A digital proprietary telephone users may change the displayed message as follows by
pressing the CO button.
Press CO.
DPT
<Display example>
LOG
CO02 00:03'30
Extension STA Speed
Features SYS Speed
Call Log
During a conversation
(CO)
<KX-T7230>
<KX-T7433/KX-T7436/KX-T7235>

2.4 During a Conversation
Operation 61
2.4.2 Holding a Call
— Holding
— One-touch dialling with automatic hold
— Denying other people the possibility of retrieving your held calls
— Holding in a system parking zone
Holding (regular)
To hold
• If a call is not retrieved within a specified time, you will hear an alarm as a reminder.
• If a call is not retrieved within fifteen minutes, it is automatically disconnected.
• If you hold a call at your ISDN extension, this can be cancelled at other ISDN extensions
connected to the same ISDN extension port.
DPT
On-hook.Dial 50.Press Recall.
C.Tone
SLT
5 0
(Recall)
During a conversation
Press HOLD.. On-hook.
C.Tone
During a conversation
HOLD
ISDN Extn.
On-hook.
C.Tone
During a conversation
Press R key.
Off-hook. Dial 50.
5 0

2.4 During a Conversation
62 Operation
To retrieve a call
Off-hook.
Off-hook. Dial 51.Enter holding
extension number.
holding ext no.
Off-hook. Press CO.
DPT
Talk.
Talk.
C.Tone
Talk.
C.Tone
5 1
Press CO or
INTERCOM.
OR
At the holding extension
For an outside call from another extension
For an intercom call from another extension
(CO)
(CO)
INTERCOM
Off-hook. Dial 51.Enter holding
extension number.
holding ext no.
SLT
Talk.
C.Tone
5 1
Off-hook. Dial 53.Enter held line
number (1-6).
held line no.
Talk.
C.Tone
5 3
For an outside call from another extension
For an intercom call from another extension
Off-hook. Dial 50.Talk.
5 0
At the holding extension

2.4 During a Conversation
Operation 63
One-touch dialling with automatic hold
You can dial to a third party with holing the present call.
• The CO or INTERCOM button light shows the current status as follows:
Flashing green: Your held call
Flashing red: Another extension's held call
• A single line telephone user can hold either an intercom call or an outside call at one time.
• A digital proprietary telephone user can hold an intercom call and multiple outside calls.
•To hold multiple intercom calls, use the "Call Park" feature.
Customising Your Phone
• 4.1.3 Customising the Buttons
Create or re-arrange a One-Touch Dialling with Auto Hold button.
Off-hook. Dial 51.Enter holding
extension number.
holding ext no.
Talk.
C.Tone
5 1
For an intercom call from another extension
Off-hook. Dial 50.Talk.
5 0
At the holding extension
ISDN Extn.
Off-hook. Dial 53.Enter held line
number (1-6).
held line no.
Talk.
C.Tone
5 3
For an outside call from another extension
Press One-Touch Dialling
with Auto Hold.
DPT
(
One-Touch Dialling
with Auto Hold
)

2.4 During a Conversation
64 Operation
Denying other people the possibility of retrieving your held calls (Exclusive
Call Hold)
To hold
To retrieve a call
Holding in a system parking zone (Call Park)
You can park a call and perform other operations. The parked call can be retrieved by any extension.
Up to 10 calls can be parked.
To set
Only the held extension can retrieve the call.
• If you hold a call at your ISDN extension, this can be cancelled at other ISDN extensions
connected to the same ISDN extension port.
DPT
Press HOLD. Press HOLD
again. On-hook.
C.Tone
During a conversation
HOLD HOLD
Off-hook. Press CO or
INTERCOM.
DPT
OR
Talk.
(CO)
INTERCOM
Dial 52.Press TRANSFER. Enter parking
zone number (0-9).
parking zone no.
DPT
On-hook.
C.Tone
5 2
During a conversation
TRANSFER

2.4 During a Conversation
Operation 65
Dial 52.Press Recall. Enter parking
zone number (0-9).
parking zone no.
SLT
On-hook.
C.Tone
5 2
(Recall)
During a conversation
Rotate Jog Dial
until “Call Park”
is displayed.
Press MODE until
“Feature Access”
is displayed.
Press
TRANSFER
.
T7431
extension no.
parking zone no.
Enter parking
zone number (0-9). On-hook.
C.Tone
Press SELECT.
0-9
→
SELECT MODE
MODE
During a conversation
Call Park
TRANSFER
Rotate Jog Dial until
“Call Park” is at the arrow.
Press SHIFT until
“FEAT” is displayed.
Press
“
FEAT
”
.Press
TRANSFER
.
T7433
extension no.
parking zone no.
Enter parking
zone number (0-9).
FEAT
On-hook.
C.Tone
Call Park 0-9
MENU
Press “SEL”.
→
SEL
SHIFT
During a conversation
CM OGM PLAY 1-9
TRANSFER

2.4 During a Conversation
66 Operation
To retrieve
Rotate Jog Dial or press “NEXT”
until the following is displayed.
NEXT
OR
Press “Features”.
Press “Call Park”.
Features
Call Park (O-9)
T7436/T7235
extension no.
parking zone no.
Enter parking
zone number (0-9). On-hook.
C.Tone
During a conversation
Press
TRANSFER
.
TRANSFER
ISDN Extn.
During a conversation
Press R key.Dial 52.Enter parking
zone number (0-9).
parking zone no.
On-hook.
C.Tone
5 2
Off-hook. Dial 52. Enter stored parking
zone number.
stored parking
zone no.
DPT/SLT/ISDN Extn.
Talk.
C.Tone
5 2
Rotate Jog Dial
until “Call Park”
is displayed.
Press MODE until
“Feature Access”
is displayed.
T7431
Talk.
C.Tone
Press SELECT.
Call Park 0-9
→
SELECT MODE
Enter stored parking
zone number (0-9).
stored parking
zone no.
MODE

2.4 During a Conversation
Operation 67
•If you hear a busy tone when entering the zone number, the zone is in use. Enter
another number.
Rotate Jog Dial until
“Call Park” is at the arrow.
Press SHIFT until
“FEAT” is displayed.
Press
“
FEAT
”
.
T7433
FEAT
Talk.
C.Tone
Call Park 0-9
CM OGM PLAY 1-9
MENU
Press “SEL”.
→
SEL
Enter stored parking
zone number (0-9).
stored parking
zone no.
SHIFT
T7436/T7235
Rotate Jog Dial or
press “NEXT” until the
following is displayed.
Features
NEXT
OR
C.Tone
Press “Features”. Talk.
Call Park (O-9)
Press “Call Park”. Enter stored parking
zone number (0-9).
stored parking
zone no.

2.4 During a Conversation
68 Operation
2.4.3 Retrieving a Call on a Telephone Answering Machine
(TAM)
Retrieves a call on Telephone Answering Machine (TAM) regardless of the extension group.
Dial 728.
7 8
2
Off-hook. Talk.
C.Tone
DPT/SLT

2.4 During a Conversation
Operation 69
2.4.4 Terminal Portability (TP) for ISDN Extension
The ISDN extension users can move to anywhere on the same ISDN (BRI) line with holding a call. If
your ISDN extension is on the ISDN (BRI) line connected to the port 2, you cannot move to the ISDN
(BRI) line connected to the port 3.
To move with holding a call
Set the PARK feature
depending on your
ISDN equipment.
PARK
Set the PARK feature
again.
PARK
ISDN Extn.
Talk.
During a conversation
Disconnect the ISDN equipment
from the ISDN (BRI) line. Connect the ISDN equipment
to the same ISDN (BRI) line.

2.4 During a Conversation
70 Operation
2.4.5 Talking to Two Parties Alternately (Call Splitting)
When talking to 1 party while the other party is on hold, you can swap the calls back and forth
(alternately).
DPT
Press HOLD.Press CO or INTERCOM.
OR
During a conversation with a held call
when either party is an outside party During a conversation with a held call
when both parties are an extension party
(CO)
INTERCOM
HOLD
SLT
Press Recall.
During a conversation
with a held call
(Recall)
ISDN Extn.
Press R key.
During a conversation
with a held call

2.4 During a Conversation
Operation 71
2.4.6 Transferring a Call
Transferring to an extension
Transferring to an external party
Some extensions may be restricted from performing this function.
— Transferring to an extension — Transferring to an external party
Enter extension
number or press DSS.On-hook.
Talk.
extension no.
OR
The destination is confirmed before
sending. This can be disregarded.
DPT
Press TRANSFER.
C.Tone
During a conversation
TRANSFER
(DSS)
Enter extension
number.On-hook.
Talk.
extension no.
The destination is confirmed before
sending. This can be disregarded.
SLT
C.Tone
Press Recall.
During a conversation
(Recall)
Enter extension
number.Press TRANSFER On-hook.
Talk.
extension no. TRANSFER
The destination is confirmed before
sending. This can be disregarded.
ISDN Extn.
C.Tone R.B.Tone
Press R key.
During a conversation
OR

2.4 During a Conversation
72 Operation
•If you misdial, press the R (FLASH) button (digital proprietary telephone only), and re-
enter the number.
•To return to the held call before the destination answers, press the TRANSFER button,
corresponding CO, INTERCOM button, or the Recall (SLT only).
•To return to the conversation after completing the transfer to an external party, press
the corresponding CO button.
•If you hear an alert tone, the destination extension did not answer the call. Answer the call.
•If you transfer a call with the DSS button or One-Touch Dialling with Auto Hold button,
you do not have to press the Transfer button (One-Touch Transfer).
• 4.1.3 Customising the Buttons
Create or re-arrange a DSS and One-Touch Dialling with Auto Hold button.
Press CO or enter
line access number
(9 or 81-83).
On-hook.
Enter phone number.Press TRANSFER. Talk.
phone no.
OR
line access
no.
DPT
C.Tone
During a conversation
(CO)
TRANSFER
On-hook.
Enter phone number.Press Recall. Enter line access
number (9 or 81-83). Talk.
phone no.
line access
no.
SLT
C.Tone
During a conversation
(Recall)
On-hook.
Enter phone number
.
Press R key.Enter line access
number (9 or 81-83). Talk.
phone no.
line access
no.
ISDN Extn.
C.Tone R.B.Tone
During a conversation
OR
Press TRANSFER
TRANSFER

2.4 During a Conversation
Operation 73
2.4.7 Answering a Call Waiting
During a conversation, a call waiting tone or voice announcement through the speaker or the handset
occurs when an outside call is received or another extension is letting you know another call is
waiting. To activate this feature, refer to 2.7.3 Receiving a Call Waiting (Call Waiting/Off-Hook Call
Announcement [OHCA]/Whisper OHCA). (Default: No tone) You can answer the second call by
disconnecting the current call or placing it on hold.
To talk to the new party
•Depending on the other party's telephone, the "Off-Hook Call Announcement (OHCA)"
and the "Whisper OHCA" functions can be applied. You can talk to the other party through
the speaker and the microphone (OHCA) or you only receive a call announcement through
the handset (Whisper OHCA), while they are having another conversation using the
handset.
• The calling extension's name or number is displayed for 5 seconds in 10 second intervals
before answering a call.
Customising Your Phone
• 4.1.2 Initial Settings—Call Waiting Tone Type Selection
Determine the tone depending on the second party, either an outside call or an
extension.
Press CO or INTERCOM.Press HOLD.
While hearing a tone
Disregard this step if both
parties are extensions.
Disregard this step if you
terminate the current call.
Disregard this step if you
terminate the current call.
DPT
While hearing a tone
SLT
OR 5 0
Press Recall and dial 50. On-hook. Off-hook.
(Recall)
HOLD
(CO)
INTERCOM
Default
Special Tones
Outside
Extension
15 s
5 s

2.4 During a Conversation
74 Operation
2.4.8 Three-party Conversation
— Adding a third party during a conversation
— Leaving a conference
Adding a third party during a conversation (Conference)
Enter desired
party’s number.
desired
party’s no.
Press a CO button or enter a line access number
(9 or 81-83) before an external phone number.
DPT
Talk.Press CONF.Press CONF.
C.Tone
CONF CONF
desired
party’s no.
Enter a line access number (9 or 81-83)
before an external phone number.
SLT
Talk.
C.Tone
3
Dial 3.Enter desired
party’s number.
Press
(Recall)
Press Recall. Press
(Recall)
Press Recall.
desired
party’s no.
Enter a line access number (9 or 81-83)
before an external phone number.
ISDN Extn.
Talk.Talk to a
third party.
C.Tone
Enter desired
party’s number.
Press
Press R key. Press CONFERENCE
during the conversation.
C.Tone
CONFERENCE

2.4 During a Conversation
Operation 75
To talk to one party by disconnecting the other when one of these parties is an
outside call
Leaving a conference
The other two parties can continue their conversation.
To return
Customising Your Phone
• 4.1.3 Customising the Buttons
Create or re-arrange a Conference button.
Press CO or
INTERCOM.
DPT
Talk.
C.Tone
OR
INTERCOM
(CO)
DPT/SLT/ISDN Extn. DPT
On-hook. Press CONF.
Some extensions may be restricted
from performing this function.
When you are talking with two extensions or
one extension party and one external party When you are talking with two external parties
(Unattended Conference)
CONF
Press CO.
DPT
While the others are talking
(CO)

2.4 During a Conversation
76 Operation
2.4.9 Saving a Number (Notebook Function)
To store
To dial
To dial automatically (Saved Number Redial)
You can store a desired outside phone number in memory during a conversation
or while on-hook. You can dial the stored number easily.
• You do not have to store a line access number before the phone number. An outside line is
automatically accessed.
• " " and "#" can also be stored as a digit.
Customising Your Phone
• 4.1.3 Customising the Buttons
Create or re-arrange a SAVE button.
Press STORE.
PT
DPT
Press STORE. Enter phone number.
(max. 24 digits)
phone no.
Press SAVE.
During a conversation with an outside party or on-hook status
AUTO DIAL
STORE
AUTO DIAL
STORE
(Save)
Off-hook. Press SAVE.
DPT
(Save)
Press SAVE.
DPT
Press SP-PHONE.
(Save)
SP-PHONE

2.4 During a Conversation
Operation 77
2.4.10 Mute
To set/cancel
You can disable the microphone or the handset to consult privately with others
in the room while listening to the other party on the phone through the speaker
or the handset.
There are 2 types of mute as follows:
Handset Mute:
During a conversation using the handset. This function is available for the KX-
T7400 series telephone users only.
Microphone Mute:
During a conversation using the microphone.
• The AUTO ANSWER/MUTE button light shows the current status as follows:
Flashing red: Mute
Off: Normal
Press MUTE.
DPT
AUTO ANSWER
MUTE

2.4 During a Conversation
78 Operation
2.4.11 Letting Other People Listen to the Conversation (Off-
Hook Monitor)
To set/cancel
You can let other people in the room listen to the conversation through the
speaker while continuing the conversation using the handset.
• This feature is only available during a conversation using the handset.
• The SP-PHONE button light shows the current status as follows:
On: The voice is heard through the speaker.
Off: The voice is heard through the handset.
Press SP-PHONE.
DPT
SP-PHONE

2.5 Before Leaving Your Desk
Operation 79
2.5 Before Leaving Your Desk
2.5.1 Built-in Voice Message
This function is only available if an optional card KX-TD61291 is installed in the main unit KX-TD612.
Installing this optional card enables you to use these features.
• Internal/External (Intelligent Call Handling 1:1) callers forwarded to your message box can
leave their messages in it.
• External callers guided by company outgoing messages can leave their messages in the
company (operator) message box. (Refer to 3.2.3 Recording Company Greeting Outgoing
Messages.)
• Replay or delete the recorded messages from your extension. A password is necessary for
remote replaying or deleting through CO lines.
•The Direct Message function:
Allows you to leave a voice message in other extension's personal voice message box, even if
the extension has not been set to forward an incoming call to its personal message box, or has
not recorded any OGM.
Extension/Company OGM:
Used for the greeting message or guidance when you cannot answer the incoming calls. (Refer to
3.2.3 Recording Company Greeting Outgoing Messages)
Timed Reminder OGM:
Often used as a wake-up call which is played when answering the Timed Reminder alarm. Each
extension can record 1 Timed Reminder OGM. (Refer to 2.7.1 Setting the Alarm (Timed Reminder))
You can also play back the recorded message for confirmation.
Call Log
You can refer the call log. Up to 128 call information can be logged. This is owned jointly with the Call
Log – Incoming. As for the call information of the Built-in Voice Message, the call information will be
logged per calling even when the several calls from the same telephone number. However, the oldest
call information will be overwritten by the 129th call regardless of the ordinary call log or that of the
Built-in Voice Message. (Refer to 2.9.1 Calling Using the Call Log (Incoming Call Log) [KX-T7433,
KX-T7436, KX-T7230, KX-T7235 only])
Note
• Be sure to assign the Intelligent Call Handling table beforehand. Otherwise, outside caller cannot
access the company message box. (Refer to 4.2.3 System Speed Dialling and Intelligent Call
Handling Number Set (001)) Consult your dealer for detailed assignment.
• When the call information of the Built-in Voice Message is overwritten, the voice message itself is
deleted at the same time.
• You can set either the Built-in Voice Message (BV) feature or the Voice Mail (VM) feature at a time,
but not both. If you set VM, the functions of an optional voice message card KX-TD61291 cannot
be used. In other words, BV, OGM and Direct Inward System Access (DISA) cannot work when
VM is used. Before setting VM, be sure to listen to voice messages of BV and then delete call log
entries if stored. Otherwise, you can do nothing with it after setting VM.

2.5 Before Leaving Your Desk
80 Operation
To record the extension Outgoing Message (OGM)/Timed Reminder OGM
• Only the operator is possible to replay/delete the voice messages stored in the company
message box. (Default: Operator=Jack 1-1)
• Only 1 call can have access to 1 voice message resource. When someone is recording a
message or OGM with the same resource, your access will be rejected and you will hear a
reorder tone/warning tone (when using SOFT key on digital proprietary telephone).
• The LED indicator of the MESSAGE button is lit red, if there are any voice messages not
yet heard.
• If a call fails to have access to the voice message box, with an internal call, the extension
will ring, with an external call, the extension assigned in system programming will ring. Ask
your manager.
• You can choose the total recording time for the Built-in Voice Message feature (including
OGM such as OGM for Built-in Voice Message, UCD message and Timed Reminder
message) out of 60 minutes/30 minutes/20 minutes. (Default : 30 minutes) Ask your dealer.
• When the rest of recording time becomes less than 5 minutes, Voice Msg Full will be
displayed, and you will hear dial tone 6 when going off-hook.
• The callback of Automatic Callback Busy (Camp-On) and Hold Recall cannot be forwarded.
1 s
Rotate Jog Dial until “EXT
OGM REC” is at the arrow.
Press SHIFT until
“FEAT” is displayed.
Press
“
FEAT
”
.
DPT
On-hook.
C.Tone C.Tone
Press “SEL”.
SHIFT
Record a
message. Press STORE.
Make your selection.
2
OR
1
Extension OGM
Timed Reminder OGM
EL
<
Display Example: KX-T7433
>
Confirm the
message.
FEAT
SEL
MENU
EXT OGM REC 1/2
→
EXT OGM DEL 1/2
AUTO DIAL
STORE

2.5 Before Leaving Your Desk
Operation 81
To replay OGM/Timed Reminder OGM
• If you set the Timed Reminder feature without recording an OGM, you will hear dial tone 3
at a pre-set time. (Refer to 2.7.1 Setting the Alarm (Timed Reminder))
DPT/SLT
On-hook.
C.Tone
Record a
message.
Off-hook. Make your selection.
OR
Extension OGM
Timed Reminder OGM
7 2 2 1 1
7 2 2 1 2
7 2 2
7 2 2
7 2 2
1 s
Rotate Jog Dial until
“EXT OGM PLAY ” is at the arrow.
Press SHIFT until
“FEAT” is displayed.
Press
“
FEAT
”
.
DPT
On-hook.
C.Tone C.Tone
Press “SEL”.
SHIFT
2
OR
1
Extension OGM
Timed Reminder OGM
Make your selection.
Confirm the message.
SL
<Display Example: KX-T7433>
EXT OGM PLAY 1/2
EXT OGM REC 1/2
MENU SEL
FEAT
→

2.5 Before Leaving Your Desk
82 Operation
To delete OGM/Timed Reminder OGM
DPT/SLT
On-hook.
C.Tone C.Tone
Off-hook.
Make your selection.
OR
Extension OGM
Timed Riminder OGM
7 2 22 2 2 22 1
7 2 2 2 2
Confirm the message.
7 2 2
7 2 2
7 2 2
7 2 2
Press SHIFT until
“FEAT” is displayed.
Press
“
FEAT
”
.
DPT
FEAT
On-hook.
C.Tone
SHIFT
Make your selection.
2
OR
1Extension OGM
Timed Reminder OGM
Press “SEL”.
SEL
→
<Display Example: KX-T7433>
Rotate Jog Dial until “EXT
OGM DEL” is at the arrow.
EXT OGM DEL 1/2
Ext-BGM On/Off
MENU
SEL
DPT/SLT
On-hook.
C.Tone
Off-hook. Make your selection.
OR
Extension OGM
Timed Reminder OGM
7 2 2 3 1
7 2 2 3 2
7 2 2
7 2 2
7 2 2
7 2 2

2.5 Before Leaving Your Desk
Operation 83
To set the voice message function
To cancel the voice message function
• You can record or delete an OGM only when no one else is using this feature such as
replaying/recording/deleting a voice message or an OGM. If you try to record an OGM when
someone else is using this feature, you will hear a reorder tone, and OGM BUSY will be
indicated on the display (for Digital Proprietary Telephone user only).
• If an OGM is not stored for your personal message box, an incoming call cannot be
forwarded. Your extension will ring.
• If you set this feature, dial tone 2 will sound when you go off-hook.
• This feature cancels other types of Call Forwarding, Do Not Disturb (DND) and Do Not
Disturb (DND) for Intelligent Call Handling 1:1 Call.
Off-hook.
DPT/SLT
On-hook.
C.Tone
Press FWD/DND button
or dial 710.
OR 4
3
2
5
All Calls
Busy
No Answer
Busy/No Answer
Make your selection.
7 52
Dial 725.
7 01
7 1 0 7 2 5
FWD/DND
1 s
Off-hook.
DPT/SLT
On-hook.
C.Tone
0
Dial 0.
Press FWD/DND button
or dial 710.
OR
7 01
7 1 0
FWD/DND

2.5 Before Leaving Your Desk
84 Operation
To leave a message using the Direct Message function
To replay the message which is not yet heard
•"NOW RECORDING" will be displayed when recording a message (DPT only).
• You can end the recording by pressing the STORE button. In this case, "REC Complete"
will be displayed (DPT only).
• If you go off-hook, dial tone 5 will be heard.
• If you press the MESSAGE button while on-hook, "Voice Message" will be displayed (for
DPT with display user only).
DPT/SLT
On-hook.
C.Tone
Record a
message.
Off-hook. Enter the desired
extension number.
extension no.
7
71
20
5
Dial 725.
Press MESSAGE.
When the MESSAGE button is lit.
DPT
Off-hook.
MESSAGE
1 s

2.5 Before Leaving Your Desk
Operation 85
To replay the message
To replay all messages
• You can stop replaying a message by pressing the "MENU" key during the replay.
• If you press the MESSAGE button while on-hook, "Voice Message" will be displayed (for
DPT with display user only).
• In call log function, if the call log entry of the voice message is overwritten, the voice
message itself is deleted at the same time.
• Pressing the PLAY key during replay enables you to replay the same message again.
Customising Your Phone
• 4.1.3 Customising the Buttons
Create or re-arrange a MESSAGE button.
DPT
On-hook.
SHIFT
Confirm the message.
Press
“
NEW
” or
“
OLD
”.
NEW
OLD
OR
Rotate Jog Dial until the
desired message is displayed.
Press “PLAY”.
EL
001:
INFO PLAY
0123456789012
DEL
Press SHIFT until
NEW ” or
““”
OLD
is displayed.
<Display Example: KX-T7433>
7 2 3
PTDPT/SLT
On-hook.Off-hook.
Dial 723.Listen to the
messages.
C.Tone

2.5 Before Leaving Your Desk
86 Operation
To replay/delete the messages from the outside
To delete a message
• You can enter a Voice Message Access code while you are hearing OGM for company
message box or one for personal message box.
• If you enter a wrong Voice Message Access code, the line will be disconnected immediately.
• If a voice message is not recorded, the line will be disconnected automatically.
• When the replay ends, the line is disconnected automatically.
• Even though you delete a voice message from the outside, the call log entry cannot be
deleted.
• If you did not enter a Voice Message Access code while hearing an OGM and the rest of
recording time of the BV resource is 0, after the OGM was replayed to the end an outside
calls rings at the extension in the order of priority described below:
Operator 1 > Operator 2 > Manager > Jack 1-1
• Pressing the "DEL" key during replay stops the replay and deletes the message.
PT
Any Outside Telephone
Dial the system. Enter the Voice Message
Access Code during OGM. Confirm the
messages.
Voice MSG Access Code
1
2To go to the next MSG
To delete the MSG
OGM Voice
Message
Dial 1-3 or 9 while
confirming the message.
9
3
To go back to the previous MSG
To replay the MSG from
the beginning
C.Tone
DPT
On-hook.
SHIFT
Press
“
NEW
” or
“
OLD
”.
NEW
OLD
OR
Rotate Jog Dial until the
desired message is displayed.
Press “DEL”.
Press SHIFT until
NEW ” or
““”
OLD
is displayed.
EL
001:
INFO PLAY
0123456789012
DEL
C.Tone
<Display Example: KX-T7433>

2.5 Before Leaving Your Desk
Operation 87
To delete all messages of a personal message box at once
PTDPT/SLT
On-hook.Off-hook.
Dial 724.
C.Tone
7 2 4

2.5 Before Leaving Your Desk
88 Operation
2.5.2 Forwarding Your Calls (Call Forwarding)
You can have your incoming calls forwarded to a
specific destination. An internal destination may be an
extension or a hunting group.
All Calls:
All calls are forwarded to another internal
destination.
Busy:
All calls are forwarded to another internal
destination when your extension is busy.
No Answer:
All calls are forwarded to another internal
destination when you do not answer the call.
Busy/No Answer (BSY N/A):
All calls are forwarded to another internal
destination when you do not answer or when your
extension is busy.
To Outside Line (CO Line):
All calls are forwarded to an external party. Some
extensions may be restricted.
Follow Me (From):
If you forget to set "All Calls" to be forwarded before
you leave your desk, you can set the same
functions from the destination extension.
By ISDN Line:
All calls are forwarded to an external party by ISDN
line in one of the following conditions
— Unconditionally (Call Forwarding unconditional
[CFU])
— When you do not answer (Call Fowarding No
Replay [CFNR])
— When you extension is busy (Call Forwarding
Busy [CFB])
Some extensions may be restricted.
• You can set your mailbox (VPS) or mobile telephone as the forwarding destination.

2.5 Before Leaving Your Desk
Operation 89
To set (except "Call Forwarding by ISDN Line")
Off-hook. Press FWD/DND
or dial 710.Enter required number.
OR
Dial 6 to select
ìTo Outside Lineî.
Dial #.
Enter extension
number or
FENOH
To
Outside line
All Calls
Busy
No Answer
Busy/No Answer
Follow Me
For ìFollow Meî, dial
your extension number.
phone no.
Enter phone
number.
(Max. 24 digits)
Enter line access
number (9 or 81-83).
line access
no.
DPT/SLT
On-hook.
C.Tone
On-hook.
C.Tone
7 1 0
2
3
4
5
7
6
#
extension no. or
FENOH
FENOH: Floating Extension Number of Hunting Group
FWD/DND
Off-hook.
extension no.
Enter extension
number.
extension no.
MENU PREV NEXT
MENU PREV NEXT
NEXT
OR
Press
FWD/DND.
On-hook.
On-hook.
FWD-CO
Line
(→dial)
phone no.
Enter phone
number.
Dial #.
(Max. 24 digits)
Press desired button. Enter line access
number (9 or 81-83).
line access
no.
For ìFWD-Fromî (Follow Me),
dial your extension number
T7436/T7235
C.Tone
C.Tone
#
FWD-BSY N/A
FWD-CO Line
FWD-From
FWD-
From Cancel
(
→
ext)
(
→
dial)
(
→
ext)
(
→
ext)
FWD/DND Cancel
DND
FWD-All Calls
FWD-Busy
FWD-No Answer
(
→
0/
*
/ext)
(
→
ext)
(
→
ext)
(
→
ext)
FWD/DND

2.5 Before Leaving Your Desk
90 Operation
To cancel
Off-hook. Press FWD/DND
or dial 710.
On-hook.
From destination
OR
Dial 0.
Dial 8. Enter your
extension number.
your
extension no.
DPT/SLT
C.Tone
C.Tone
7 1 0 0
8
FWD/DND
Off-hook. Press
FWD/DND.
FWD/DND
Cancel
FWD-From Cancel (
→
ext)
On-hook.
From destination
Press FWD-From Cancel.
Press FWD/DND Cancel.
Enter your
extension number.
your
extension no.
T7436/T7235
C.Tone
C.Tone
FWD/DND

2.5 Before Leaving Your Desk
Operation 91
To set "Call Forwarding by ISDN Line"
To cancel "Call Forwarding by ISDN Line"
Off-hook.
Dial #.On-hook.
DPT/SLT
C.Tone
Press FWD/DND
or dial 710.Enter your multiple
subscriber number
(MSN).
OR
7 1 0
Enter required number.
CFU
CFB
OR
CFNR
OR
9
9
9
3
2
4
1
1
1
#
your MSN
Dial #.Enter phone
number.
#
phone no.
FWD/DND
Off-hook.
Dial #.On-hook.
DPT/SLT
C.Tone
Press FWD/DND
or dial 710.Enter your multiple
subscriber number
(MSN).
OR
7 1 0
Enter required number.
CFU
CFB
OR
CFNR
OR
9
9
9
3
2
4
0
0
All
OR
9 0
0
#
your MSN
FWD/DND

2.5 Before Leaving Your Desk
92 Operation
• Each call can be forwarded up to 4 times. The fifth time will be disregarded.
• The calls can be forwarded to the built-in voice message box. To ensure calls are directed
to the desired extension, forwarding to another extension's personal message box is not
possible.
• Call forwarding to the forwarding extension is not possible.
• The extension which is set as the destination can call the original extension.
• The FWD/DND button light flashes red when the Call Forwarding feature is set.
•Boss-secretary function
The extension which has been set as the destination can call the forwarding extension.
Also, any extension in the hunting group which has been set as the forwarded destination
can call the forwarding extension.
<Example>
Customising Your Phone
• 4.1.3 Customising the Buttons
Create or re-arrange a FWD/DND button.
once
Original
destination
Incoming
call
twice
A B
three times four times
C
five times
DEF
Original
destination
Incoming
call
AB
Personal
message box
forward
Forwarding
extension
Incoming
call
A B
Forward
set
Call
Forwarding
extension
Hunting group 1
BOSS SECRETARY

2.5 Before Leaving Your Desk
Operation 93
2.5.3 Forwarding Calls from a Hunting Group
Pre-assigned extension users can forward calls arriving at any hunting group or calls arriving just at
your own hunting group. The destination can be another hunting group or a specific extension. Some
extensions may be restricted.
Hunting Group
A hunting group is a group of extensions organised in such a way that if the first destination is busy,
the next destination is hunted until an idle destination is found. The order (hunting type) is assigned
in a system programming. Consult your manager.
Extension Group (for your reference)
An extension group is used for group paging and group pickup features. An extension can belong to
several extension groups.
To set
To cancel
Enter destination
FENOH or extension
number.
Off-hook. Dial 7141.On-hook.
forwarding
FENOH
DPT/SLT
C.Tone
7 1 4 1
Enter forwarding
FENOH.
FENOH: Floating Extension Number of Hunting Group
or extension no.
FENOH
destination
Enter forwarding
FENOH.
Off-hook. Dial 7140.On-hook.
forwarding
FENOH
DPT/SLT
C.Tone
7 1 4 0
FENOH: Floating Extension Number of Hunting Group

2.5 Before Leaving Your Desk
94 Operation
• You can set or cancel this feature by simply pressing the Call Forwarding from Hunting
Group button. If set, the button light turns red.
• Each call can be forwarded up to 4 times. The fifth time will be disregarded.
•Boss-secretary function
The destination extension can call the forwarding group.
<Example>
• The "Forwarding Calls from a Hunting Group" button toggles this feature, and shows the
current status as follows:
off: Forwarding off
Red on: Forwarding on
Customising Your Phone
• 4.1.3 Customising the Buttons
Create or re-arrange a Call Forwarding from Hunting Group button.
once
Original
destination
Incoming
call
twice
A B
three times four times
C
five times
DEF
Forward
set
Call
Forwarding
extension
Hunting group 1
BOSS SECRETARY

2.5 Before Leaving Your Desk
Operation 95
2.5.4 Showing an Absent Message on the Caller's Telephone
Display (Absent Message Capability)
You can show the reason for your absence, if the calling extension uses a Panasonic digital
proprietary telephone with a display. This way the caller will know when you will be available. You can
choose 1 of 9 messages.
To Set
Message no. Default Message
1 Will Return Soon
2 Gone Home
3 At Ext %%% (Extension number)
4 Back at %%:%% (Hour:Minute)
5 Out Until %%/%% (Date)
6 In a Meeting
7
8
9
• Enter the desired value in the "%" space.
You must make your message in all of the "%"s using 0 to 9, #, or .
• The messages can be changed. Consult your dealer.
Off-hook. Dial 750. On-hook.
Gone Home
At Ext %%% +
Back at %%:%% +
Out Until %%/%% +
Will Return Soon
In a Meeting
Extension no.
Hour : Minute
Date
Enter required number.
DPT/SLT
C.Tone
7 5 0
1
2
3
4
5
6
7
8
9

2.5 Before Leaving Your Desk
96 Operation
On-hook.
C.Tone
Gone Home
At Ext %%% +
Back at %%:%% +
Out Until %%/%% +
Will Return Soon
In a Meeting
Extension no.
Hour : Minute
Date
Enter required number.
1
2
3
4
5
6
7
8
9
Rotate Jog Dial
until “ABST MSG On”
is displayed.
T7431
Press MODE until
“Feature Access”
is displayed.
Press SELECT.
MODE
ABST MSG On 1-9
→
SELECT MODE
Rotate Jog Dial until
“ABST MSG On” is
at the arrow.
Press
“
FEAT
”
.
T7433
FEAT
Press SHIFT until
“FEAT” is displayed.
On-hook.
Gone Home
At Ext %%% +
Back at %%:%% +
Out Until %%/%% +
Will Return Soon
In a Meeting
Extension no.
Hour : Minute
Date
Enter required number.
C.Tone
ABST MSG On 1-9
C.Pickup GRP
MENU
Press “SEL”.
→
SEL
SHIFT
1
2
3
4
5
6
7
8
9
T7436/T7235
Rotate Jog Dial or
press “NEXT” until the
following is displayed.
Features
NEXT
OR
C.Tone
On-hook.
Press “Features”.
Gone Home
At Ext %%% +
Back at %%:%% +
Out Until %%/%% +
Will Return Soon
In a Meeting
Extension no.
Hour : Minute
Date
Enter required number.
Absent MSG On (1-9)
Press “Absent MSG On”.
1
2
3
4
5
6
7
8
9

2.5 Before Leaving Your Desk
Operation 97
To cancel
•To confirm the message, go off-hook. It will be displayed. However, if "Voice Msg Full"
is displayed because the total recording time of your Built-in Voice Message resource
becomes less than 5 minutes, none of the absent messages will be displayed on the calling
extension when going off-hook, even if you have set an absent message.
Off-hook. Dial 7500. On-hook.
DPT/SLT
C.Tone
7 5 00
Rotate Jog Dial
until “ABST MSG
Off” is displayed.
T7431
On-hook.
C.Tone
Press SELECT.
ABST MSG Off
→
SELECT MODE
Press MODE until
“Feature Access”
is displayed.
MODE
Rotate Jog Dial until
“ABST MSG Off” is
at the arrow.
Press
“
FEAT
”
.
T7433
FEAT
On-hook.
C.Tone
Press SHIFT until
“FEAT” is displayed.
ABST MSG Off
ABST MSG On 1-9
MENU
Press “SEL”.
→
SEL
SHIFT
T7436/T7235
Rotate Jog Dial or
press “NEXT” until the
following is displayed.
Features
NEXT
OR
C.Tone
On-hook.
Press “Features”.
Absent MSG Off
Press “Absent MSG Off”.

2.5 Before Leaving Your Desk
98 Operation
2.5.5 Preventing Other People from Using Your Telephone
(Electronic Station Lockout)
To lock/unlock
•If you forget the code or cannot unlock your phone, consult your operator. He can
unlock your extension (Remote Station Lock Control).
Off-hook. On-hook.
Dial 77.
DPT/SLT
C.Tone
7 7
Enter code (3 digits) twice or once.
Lock
Unlock
OR
desired code same code
stored code

2.5 Before Leaving Your Desk
Operation 99
2.5.6 Leaving a Hunting Group (Log-In/Log-Out)
You can set your status in a hunting group. Set Log-
Out when you leave the office so that incoming calls
will temporarily skip your extension in the hunting
type. When you return, set Log-In so that calls will
reach your extension. (Default: Log-In)
Hunting Group
A hunting group is a group of extensions organised in
such a way that if the first destination is busy, the next
destination is hunted until an idle destination is found.
The order (hunting type) is assigned in a system
programming. Consult your manager.
• The Log-In/Log-Out button alternates the setting between Log-In and Log-Out modes. The
button light shows the current status as follows:
Off: Log-In mode
Red on: Log-Out/Other use
Flashing red: a call waiting
Customising Your Phone
4.1.3 Customising the Buttons
Create or re-arrange a Log-In/Log-Out button.
log in log out
Off-hook. On-hook.
Dial 0 to log-out
or 1 to log-in.
Log-Out
Log-In
Log-Out
Log-In
Specific
All
Dial 45.
OR
DPT/SLT
C.Tone
4 5
0
1
Enter the FENOH
or dial for all.
FENOH
OR
FENOH: Floating Extension Number of Hunting Group

2.6 Making/Answering an Announcement
100 Operation
2.6 Making/Answering an Announcement
2.6.1 Paging
All
External
You can make a voice announcement to
several people at the same time. Your
message is sent over the digital proprietary
telephone speakers and/or external
speaker. The paged person can answer
your paging from any telephone.
Extension Group
An extension group is used for group paging
and group pickup features. An extension can
belong to several extension groups.
There are 3 types as shown below:
All:
Paging through both the telephone
speakers and external speaker.
External:
Paging through the external speaker.
Group :
Paging to a particular extension group or
all groups (all extensions) through the
telephone speakers.
Off-hook. Talk.Announce.
Dial 63 .
DPT/SLT
C.Tone
6 3
Off-hook. Talk.Announce.
Dial 64.
DPT/SLT
C.Tone
6 4

2.6 Making/Answering an Announcement
Operation 101
Rotate Jog Dial
until “Page Extrn”
is displayed.
T7431
Press MODE until
“Feature Access”
is displayed.
Press SELECT.
Talk.
Announce.
C.Tone
Page Extrn
→
SELECT MODE
MODE
Rotate Jog Dial
until “Page Extrn”
is at the arrow.
Press
“
FEAT
”
.
T7433
FEAT
Press SHIFT until
“FEAT” is displayed.
Talk.Announce.
C.Tone
Page Extrn
Page GRP 0-8
MENU
Press “SEL”.
→
SEL
SHIFT
T7436/T7235
Rotate Jog Dial or
press “PREV” until the
following is displayed.
Features
PREV
OR
Press “Features”.
Talk.
Announce.
C.Tone
Paging External
Press “Paging External”.

2.6 Making/Answering an Announcement
102 Operation
Group
Off-hook. Talk.Announce.
Dial 63.
DPT/SLT
C.Tone
6 3
Enter specific group number
(1-8) or 0 for all.
group no.
OR
0
Specific
All
Rotate Jog Dial
until “Page GRP”
is displayed.
T7431
Press MODE until
“Feature Access”
is displayed.
Press SELECT. Enter specific group number
(1-8) or 0 for all.
Talk.
Announce.
C.Tone
MODE
Page GRP 0-8
→
SELECT MODE
group no.
OR
0
Specific
All
Rotate Jog Dial
until “Page GRP”
is at the arrow.
Press
“
FEAT
”
.
T7433
FEAT
Press SHIFT until
“FEAT” is displayed.
Talk.Announce.Announce.
C.Tone
Page GRP 0-8
Paral ell /01
MENU
Press “SEL”.
→
SEL
Enter specific group number
(1-8) or 0 for all.
group no.
OR
0
Specific
All
SHIFT

2.6 Making/Answering an Announcement
Operation 103
• A ringing, busy, or a single line telephone cannot receive a paged announcement.
• The digital proprietary telephone user can deny a paged announcement. For more details,
refer to 2.7.4 Denying the Paged Announcement (Paging — DENY) (Paging–Deny).
T7436/T7235
Rotate Jog Dial or
press “PREV” until the
following is displayed.
Features
PREV
OR
Press “Features”.
Talk.Announce.
C.Tone
Paging Group (0-8)
Press “Paging Group”. Enter specific group number
(1-8) or 0 for all.
group no.
OR
0
Specific
All

2.6 Making/Answering an Announcement
104 Operation
2.6.2 Paging a Person and Transferring a Call
Through a speaker and telephones
Through a speaker
Dial 63 . Announce.
Talk. On-hook.
Wait for an answer.
DPT
C.Tone
C.Tone
6 3
Press TRANSFER.
During a conversation
TRANSFER
Dial 63 . Announce.
Talk. On-hook.
Wait for an answer.
SLT
C.Tone
C.Tone
6 3
Press Recall.
(Recall)
During a conversation
Announce. Wait for an answer.
Talk. On-hook.
Dial 64.Press TRANSFER.
DPT
C.Tone
C.Tone
6 4
During a conversation
TRANSFER

2.6 Making/Answering an Announcement
Operation 105
Through the telephones of a particular extension group
Announce. Wait for an answer.
Talk. On-hook.
Dial 64.
SLT
C.Tone
C.Tone
6 4
Press Recall.
(Recall)
During a conversation
Announce.
Wait for an answer. Talk. On-hook.
Dial 63.Press TRANSFER.
DPT
C.Tone
C.Tone
6 3
Enter specific group number
(1-8) or 0 for all.
group no.
OR
0
Specific
All
During a conversation
TRANSFER
Announce.Enter specific group number
(1-8) or 0 for all.
Wait for an answer. Talk. On-hook.
Dial 63.Press Recall.
SLT
C.Tone
C.Tone
6 3
group no.
OR
0
Specific
All
During a conversation
(Recall)

2.6 Making/Answering an Announcement
106 Operation
2.6.3 Answering a Paged Announcement
Through a speaker
Talk.
Off-hook. Dial 44.
DPT/SLT
C.Tone
4 4
Rotate Jog Dial
until “Page-E ANS”
is displayed.
Press MODE until
“Feature Access”
is displayed.
T7431
Talk.
C.Tone
Press SELECT.
Page-E ANS
→
SELECT MODE
MODE
Rotate Jog Dial until
“Page-E ANS” is
at the arrow.
Press
“
FEAT
”
.
T7433
FEAT
Press SHIFT until
“FEAT” is displayed.
Talk.
C.Tone
Page-E ANS
Page-GRP ANS
MENU
Press “SEL”.
→
SEL
SHIFT
T7436/T7235
Rotate Jog Dial or
press “PREV” until the
following is displayed.
Features
PREV
OR
Features
Press “Features”. Press “Page-Ext Answer”. Talk.
C.Tone
Page-Ext Answer

2.6 Making/Answering an Announcement
Operation 107
Through the telephones
Talk.
Off-hook. Dial 43.
DPT/SLT
C.Tone
4 3
Rotate Jog Dial until
“Page-GRP ANS” is
displayed.
Press MODE until
“Feature Access”
is displayed.
T7431
Talk.
C.Tone
Press SELECT.
Page-GRP ANS
→
SELECT MODE
MODE
Rotate Jog Dial until
“Page-GRP ANS” is
at the arrow.
Press
“
FEAT
”
.
T7433
FEAT
Press SHIFT until
“FEAT” is displayed. Talk.
C.Tone
Page-GRP ANS
Page Extrn
MENU
Press “SEL”.
→
SEL
SHIFT
T7436/T7235
Rotate Jog Dial or
press “PREV”until the
following is displayed.
Features
PREV
OR
Press “Features”. Press “Page-GRP Answer”.
Page-GRP Answer
Talk.
C.Tone

2.7 Setting the Telephone According to Your Needs
108 Operation
2.7 Setting the Telephone According to Your
Needs
2.7.1 Setting the Alarm (Timed Reminder)
You can receive a ringing alarm at your telephone to remind you of a meeting, appointment or as a
wake-up call. The setting can be for either one time or daily (every day until cancelled) at a pre-set
time. You can record Timed Reminder outgoing messages (OGM). Refer to 2.5.1 Built-in Voice
Message.
To set
To cancel
To view the setting
On-hook.
Dial 0 for one time
or 1 for daily.
One Time
Daily
Enter hour (00-23)
and minute (00-59).
hour/minute
Dial 761.
Off-hook.
OR
DPT/SLT
C.Tone
7 16 1
0
Off-hook. On-hook.
Dial 760.
DPT/SLT
C.Tone
7 06
Off-hook. On-hook.
Dial 762.
DPT
7 26

2.7 Setting the Telephone According to Your Needs
Operation 109
To stop or answer the ringing
•If you are having a telephone conversation during the pre-set time, the ringing will start
after going on-hook.
• If you go off-hook to answer, you can hear the recorded message. (Timed Reminder OGM)
• If you set this function without recording an OGM, you will hear dial tone 3 at a pre-set time,
if you go off-hook to answer the ringing.
When the daily alarm is set, the display shows " " in the corner.
Press any key or
off-hook and on-hook.
any key
OR
DPT/SLT
1 s
Alarm 10:10*

2.7 Setting the Telephone According to Your Needs
110 Operation
2.7.2 Refusing Incoming Calls (Do Not Disturb [DND])
Refusing all calls
You may set this feature during a meeting or when you are busy. Outside calls can be forwarded to a
backup station (pre-assigned extension or the operator).
To set
To cancel
— Refusing all calls — Refusing direct outside calls
Off-hook. Press FWD/DND
or dial 710.
OR
On-hook.
DPT/SLT
C.Tone
Dial 1.
7 1 0 1
Extension
Operator
OR
No backup station
OR
0
extension no.
Enter extension number, dial 0
or dial as you desire.
FWD/DND
Off-hook. Press
FWD/DND.On-hook.
Press “DND”.
T7436/T7235
C.Tone
DND (→0/*/ext)
Extension
Operator
OR
No backup station
OR
0
extension no.
Enter extension number, dial 0
or dial as you desire.
FWD/DND
Off-hook. Press FWD/DND
or dial 710.
OR
On-hook.
Dial 0.
DPT/SLT
C.Tone
7 1 0 0
FWD/DND

2.7 Setting the Telephone According to Your Needs
Operation 111
Refusing direct outside calls (DND for Intelligent Call Handling 1:1 Call)
You can set your extension to refuse direct outside calls and have them forwarded to the operator.
The operator cannot set this feature.
To set/cancel
• A flashing CO button tells you an outside call is received. You can answer the call by
pressing the CO button.
• The following button lights turn red when the DND feature is set.
Your FWD/DND button.
The DSS button on other extensions where your extension number has been assigned.
• The following features cannot be set at the same time.
Forwarding your calls (Call Forwarding)
Refusing all calls (Do Not Disturb [DND])
Refusing direct outside calls (DND for Intelligent Call Handling 1:1 Call)
The most recent feature set overrides the previous setting.
• You can set or cancel the DND for Intelligent Call Handling 1:1 Call feature by simply
pressing the DND for Intelligent Call Handling 1:1 Call button. If set, the button light turns
red.
Customising Your Phone
• 4.1.3 Customising the Buttons
Create or re-arrange a FWD/DND button.
Off-hook. Press FWD/DND.On-hook.
Press “FWD/DND Cancel”.
T7436/T7235
C.Tone
FWD/DND Cancel
FWD/DND
C.Tone
Off-hook. On-hook.
Dial 1 to set or
0 to cancel.
Set
Cancel
Dial 56.
DPT/SLT
56OR
1
0

2.7 Setting the Telephone According to Your Needs
112 Operation
2.7.3 Receiving a Call Waiting (Call Waiting/Off-Hook Call
Announcement [OHCA]/Whisper OHCA)
During a conversation, you can be informed a call waiting with a tone or voice announcement through
your speaker or handset. (Default: No tone)
Call waiting tone:
a waiting tone through the handset You can change the tone, refer to "Customising Your phone".
OHCA:
a voice announcement through the speaker without pre-information (KX-T7436 and KX-T7235
telephone users only)
Whisper OHCA:
a voice announcement through the handset without pre-information (KX-T7400 series telephone
users only)
To set/cancel
• You can set or cancel the Call Waiting features by simply pressing the Call Waiting button.
Pressing this button changes the features as follows:
If the Call Waiting tone, OHCA or Whisper OHCA is selected, the button light turns red.
• To answer a Call Wating, refer to 2.4.7 Answering a Call Waiting.
Customising Your Phone
• 4.1.3 Customising the Buttons
Create or re-arrange a Call Waiting button.
Off-hook.
Dial 0 to 3 as you desire.
On-hook.Dial 731.
No tone
Tone
OHCA
Whisper OHCA
OR
OR
OR
DPT/SLT
C.Tone
7 3 1
0
1
2
3
Tone OHCA Whisper OHCA No tone

2.7 Setting the Telephone According to Your Needs
Operation 113
2.7.4 Denying the Paged Announcement (Paging — DENY)
You can refuse any paged announcement sent through your speaker.
• You can deny or allow this feature by simply pressing the Paging Deny button. If denied, the
button light turns red.
Customising Your Phone
• 4.1.3 Customising the Buttons
Create or re-arrange a Paging Deny button.
Off-hook. On-hook.
Dial 721. Dial 1 to deny
or 0 to allow.
Deny
Allow
OR
DPT
C.Tone
7 2 1 0
1

2.7 Setting the Telephone According to Your Needs
114 Operation
2.7.5 Automatic Selection of Calling/Connected Line
Identification Presentation (CLIP/COLP)
Automatically selects the pre-assigned CLIP/COLP number on the called party's display. You can
assign 2 CLIP numbers and 2 COLP numbers per a group of CLIP/COLP assignment table. One
number is for business and other is for private. One group consists of 100 System Speed Dialling
(SSD) or 100 DDI/MSN numbers and Intelligent Call Handling (ICH) numbers. (Group 0: SSD & ICH
000-099, Group 1: SSD & ICH 100-199..., Group 4: SSD & ICH 400-499, Group 5: DDI/MSN & ICH
500-599, Group 6: DDI/MSN & ICH 600-699) In total there are 7 groups (0-6). SSD & ICH number
consists of 500 CLIP numbers (000-499) and 200 DDI/MSN numbers (500-699).
CLIP :
When making a call, you can let the other party see your pre-assigned identification number.
COLP :
When receiving a call, you can let the party calling you see your pre-assigned identification number.
To select an identification number to be displayed
• The number displayed on the called party's telephone is assigned by system programming.
Please ask your manager about this number.
• If you make an outside call without using SSD feature, the first CLIP assigned at Group 0
will be displayed on the called party's telephone.
• Please make a combination referring to the information below.
[726] is a station programming number for setting CLIP.
[727] is a station programming number for setting COLP.
The 4th number is a group number of CLIP/COLP assignment table.
The last number is to select the number to be displayed out of 2 on each assigned table.
For example, if you want to select Business CLIP 1 in Group 6, dial [726] [6] [1], the Private
COLP 2 in Group 3, dial [727] [3] [2].
Off-hook. On-hook.Make your selection.
DPT/SLT
C.Tone
1
1
2
2
1
2
1
2
Group 1/Business CLIP
Group 1/Private CLIP
Group 2/Business COLP
Group 2/Private COLP
7
72
22
6
7
72
22
6
7
72
22
7
7
72
22
7

2.7 Setting the Telephone According to Your Needs
Operation 115
2.7.6 Preventing Your Number Being Displayed on the Called
Party's Telephone (Calling Line Identification
Restriction [CLIR])
When making an outside call, you can prevent the other party from seeing your identification number.
You can change the setting at any time for a particular call.
Availability of this feature depends on the ISDN service of your telephone company.
To set/cancel
To change the setting at any time for a particular call
• You can set or cancel this feature by simply pressing the CLIR button. If set, the button light
turns red.
Customising Your Phone
• 4.1.3 Customising the Buttons
Create or rearrange a Calling Line Identification Restriction (CLIR) button.
Off-hook. On-hook.
Dial 2 to set or
0 to cancel.
Set
Cancel
Dial 57.
DPT/SLT
57OR
2
0C.Tone
Off-hook. Dial 571.
DPT/SLT
Talk.
57 1
phone no.
Enter phone number.
Press CO or enter the
line access number
(9 or 81-83).
OR
line access
no.
(CO)

2.7 Setting the Telephone According to Your Needs
116 Operation
2.7.7 Preventing Your Number Being Displayed on the
Calling Party's Telephone (Connected Line
Identification Restriction [COLR])
When receiving an outside call, you can prevent the party calling you from seeing your identification
number. Availability of this feature depends on the ISDN service of your telephone company.
To set/cancel
• You can set or cancel this feature by simply pressing the COLR button. If set, the button light
turns red.
Customising Your Phone
• 4.1.3 Customising the Buttons
Create or re-arrange a Connected Line Identification Restriction (COLR) button.
Off-hook. On-hook.
Dial 1 to set or
0 to cancel.
Set
Cancel
Dial 58.
DPT/SLT
58OR
1
0C.Tone

2.7 Setting the Telephone According to Your Needs
Operation 117
2.7.8 Denying Other People the Possibility of Picking up Your
Calls (Call Pickup Deny)
• You can deny or allow this feature by simply pressing the Call Pickup Deny button. If it is
denied, the button light turns red.
Customising Your Phone
• 4.1.3 Customising the Buttons
Create or re-arrange a Call Pickup Deny button.
Off-hook. On-hook.
Dial 720. Dial 1 to deny
or 0 to allow.
Deny
Allow
OR
DPT/SLT
C.Tone
70
1
2 0

2.7 Setting the Telephone According to Your Needs
118 Operation
2.7.9 Denying Other People the Possibility of Joining Your
Conversation (Executive Busy Override Deny)
• You can deny or allow this feature by simply pressing the Executive Busy Override Deny
button. If denied, the button light turns red.
Customising Your Phone
• 4.1.3 Customising the Buttons
Create or re-arrange a Executive Busy Override Deny button.
Off-hook. On-hook.
Dial 733. Dial 1 to deny
or 0 to allow.
Deny
Allow
OR
DPT/SLT
C.Tone
70
1
3 3

2.7 Setting the Telephone According to Your Needs
Operation 119
2.7.10 Turning on the Background Music
To set/cancel
You can listen to background music through your telephone speaker while on-
hook. An external music source, such as a radio, must be connected.
Press “BGM” or HOLD.
OR
While on-hook
DPT
BGM
HOLD

2.7 Setting the Telephone According to Your Needs
120 Operation
2.7.11 Day/Night Service
Automatic Night Service:
Your system will change the Day/Night mode at the pre-programmed time each day.
Manual Night Service:
You can change the Day/Night mode at any time.
Off-hook. Dial 0 to 2 as you desire.
Automatic
Manual Day
Dial 78.On-hook.
OR
Manual Night
OR
DPT/SLT
C.Tone
71
0
2
8
On-hook.
C.Tone
Rotate Jog Dial
until “Night Mode”
is displayed.
T7431
Press MODE until
“Feature Access”
is displayed.
Press SELECT.
Night Mode 0-2
→
SELECT MODE
Dial 0 to 2 as you desire.
Automatic
Manual Day
OR
Manual Night
OR
1
0
2
MODE
Rotate Jog Dial until
“Night Mode” is at the arrow.
Press SHIFT until
“FEAT” is displayed.
Press
“
FEAT
”
.
T7433
FEAT
Night Mode 0-2
Page-E ANS
MENU
Press “SEL”.
→
SEL
On-hook.
C.Tone
SHIFT
Dial 0 to 2 as you desire.
Automatic
Manual Day
OR
Manual Night
OR
1
0
2

2.7 Setting the Telephone According to Your Needs
Operation 121
• The Night button alternates the setting between Day and Night modes. If pressed, it also
changes automatic mode to manual mode, but not vice versa.
•To confirm the current mode, press the # key while on-hook.
• The Night button light shows the current status as follows:
Off: Day mode
Red: Night mode
• Pre-assigned extension user can also change the mode.
• This feature can be disabled by Class of Service programming. (However, the feature
cannot be disabled for the operator.)
Customising Your Phone
• 4.1.3 Customising the Buttons
Create or re-arrange a Night button.
T7436/T7235
Rotate Jog Dial or
press “NEXT” until the
following is displayed.
Features
NEXT
OR
C.Tone
On-hook.
Press “Features”. Press “Night Auto/On/Off”.
Night Auto/On/Off (0-2)
Dial 0 to 2 as you desire.
Automatic
Manual Day
OR
Manual Night
OR
1
0
2

2.7 Setting the Telephone According to Your Needs
122 Operation
2.7.12 Checking the Day/Night Service Status
You can see if the system is in the Day Mode (business hours)
or the Night Mode (after business hours).
• Any extension user can check the status.
• The Night button light shows the current status as follows:
Off: Day mode
Red: Night mode
Customising Your Phone
• 4.1.3 Customising the Buttons
Create or re-arrange a Night button.
Dial #.
While on-hook
DPT
#
EL
CONT RING
<Display Example: KX-T7433>
BGM
Day Mode

2.7 Setting the Telephone According to Your Needs
Operation 123
2.7.13 Setting the Parallel Connected Telephone Ringer
(Parallelled Telephone)
A digital proprietary telephone user can choose whether the single line
telephone connected in parallel will ring or not, when an incoming call is
received.
(Default: No ring)
Off-hook. Dial 69.On-hook.
DPT
C.Tone
Dial 1 to ring
or 0 to no ring.
Ring
No ring
OR
60
1
9
On-hook.
C.Tone
Ring
No ring
OR
1
0
Rotate Jog Dial
until “Parallel”
is displayed.
T7431
Press MODE until
“Feature Access”
is displayed.
Dial 1 to ring
or 0 to no ring.
Press SELECT.
MODE
Parallel 1/0
→
SELECT MODE
Rotate Jog Dial until
“Parallel” is at the arrow.
Press SHIFT until
“FEAT” is displayed.
Press
“
FEAT
”
.
T7433
FEAT
Parallel 1/0
ABST MSG Off
MENU
Press “SEL”.
→
SEL
On-hook.
Dial 1 to ring
or 0 to no ring.
Ring
No ring
OR
C.Tone
SHIFT
0
1

2.7 Setting the Telephone According to Your Needs
124 Operation
• You can select "Ring" or "No ring" by simply pressing the Parallelled Telephone Connection
button. If "Ring" is selected, the button light turns red.
•Even if "No ring" is selected, the call can be answered with the single line telephone by
lifting the handset.
• If you go off-hook while your parallelled telephone is in use, the call will switch over to your
telephone, and vice versa.
• If "Ring" is set, the single line telephone will ring when the Timed Reminder reaches the set
time.
Customising Your Phone
• 4.1.3 Customising the Buttons
Create or re-arrange a Parallelled Telephone Connection button.
T7436/T7235
Rotate Jog Dial or
press “PREV” until the
following is displayed.
Features
PREV
OR
Press “Features”. On-hook.
Dial 1 to ring
or 0 to no ring.
Ring
No ring
OR
C.Tone C.Tone
Press “Parallel On/Off”.
Parallel On/Off
(
1/0)
0
1

2.7 Setting the Telephone According to Your Needs
Operation 125
2.7.14 Clearing the Feature Settings at Your Extension
(Station Programme Clear)
You can clear the following features which have been set on your phone. If you change desks, and
notice settings which a previous owner left on the line, you can clear these features.
• Calling to a Pre-set Party by Going Off-Hook (Pickup Dialling): The stored number will be
cleared.
• Reserving a Busy Line (Automatic Callback Busy)
• Leaving a Message Waiting Indication (Message Waiting): All messages will be removed.
• Forwarding Your Calls (Call Forwarding)
• Showing an Absent Message on the Caller's Telephone Display (Absent Message Capability)
• Leaving a Hunting Group (Log-In/Log-out)
• Calling Using the Call Log (Incoming Call Log)
• Setting the Alarm (Timed Reminder)
• Refusing Incoming Calls (Do Not Disturb [DND])
• Receiving a Call Waiting (Call Waiting/Off-Hook Call Announcement [OHCA]/Whisper OHCA)
• Denying the Paged Announcement (Paging — Deny)
• Denying Other People the Possibility of Picking up Your Calls (Call Pickup Deny)
• Denying Other People the Possibility of Joining Your Conversation (Executive Busy Override
Deny)
• Turning on the Background Music
• Setting the Parallel Connected Telephone Ringer (Parallelled Telephone): The single line
telephone will not ring.
• If a Second Ringer is set to Ring: The setting will be cancelled.
• Preventing Your Number Being Displayed on the Called Party's Telephone (CLIR)
• Preventing Your Number Being Displayed on the Calling Party's Telephone (COLR)
Off-hook. On-hook.
Dial 790.
DPT/SLT
C.Tone
7 9 0

2.8 Using User-supplied Equipment
126 Operation
2.8 Using User-supplied Equipment
2.8.1 If a Doorphone/Door Opener is Connected
Doorphone call
To call from the doorphone
To call the doorphone
— Doorphone call — Opening the door
— Forwarding doorphone calls to outside parties
Press the doorphone
button.
Doorphone
Off-hook. Dial 68. Enter doorphone
number (1-3).
doorphone no.
DPT/SLT/ISDN Extn.
C.Tone
Talk.
6 8

2.8 Using User-supplied Equipment
Operation 127
Forwarding Doorphone Calls to Outside Parties (Doorphone Call Forwarding
to Outside Line)
You can have incoming doorphone calls forwarded to outside parties using ISDN lines.
You can choose a different destination for Day mode and Night mode.
Some extensions may be restricted.
To set/cancel (at the extension receiving doorphone calls)
To store a phone number
To clear the phone number
Off-hook. Dial 716.
DPT/SLT
On-hook.
C.Tone
7 1 6
Dial 1 to set
or 0 to cancel.
Set
Cancel
OR
1
0
Specific
All
doorphone no.
OR
Enter specific doorphone
number (1-3) or dial for all.
Off-hook. Dial 715.
Dial #.
phone no.
Enter phone
number.
(Max. 24 digits)
Enter line access
number (9 or 81-83).
line access
no.
DPT/SLT
On-hook.
C.Tone
7 1 5
#
Dial 0 for Day mode
or 1 for Night mode.
Day
Night
OR
0
1
Specific
All
doorphone no.
OR
Enter specific doorphone
number (1–3) or dial for all.
Off-hook. Dial 715.
Dial #.
DPT/SLT
On-hook.
C.Tone
7 1 5
#
Dial 0 for Day mode
or 1 for Night mode.
Day
Night
OR
0
1
Specific
All
doorphone no.
OR
Enter specific doorphone
number (1–3) or dial for all.

2.8 Using User-supplied Equipment
128 Operation
Opening the door
Some extensions may be restricted from performing this function.
From a specified extension
From any extension while talking to the doorphone
• You can set or cancel this feature by simply pressing the Doorphone Call Forwarding to
Outside Line button.
If set, the button light turns red.
•Time limit
A call between a party at a doorphone and an outside party is restricted by the system timer
(Default: 0 sec. [no limit] ).
The call is disconnected when the time runs out.
• If at least 1 feature has been changed from the default setting, you normally hear dial tone
2 when going off-hook. However even if you set this feature, dial tone 2 will not be heard.
(Refer to 5.4.1 What is This Tone? — when going off-hook.)
The Doorphone Call Forwarding to Outside Line button light shows the current status as
follows:
Off: This feature has not been set.
Red on: This feature has been set.
Customising Your Phone
• 4.1.3 Customising the Buttons
Create or rearrange a Doorphone Call Forwarding to Outside Line button.
• The door will be left open for 5 seconds.
•To keep the door open for another 5 seconds while talking to the doorphone, dial 5
again using a Panasonic digital proprietary telephone.
•If no one answers the doorphone call within 30 seconds, the call is cancelled.
Off-hook. On-hook.Dial 55. Enter door opener
number (1-3).
door opener
no.
DPT/SLT
C.Tone
5 5
DPT SLT
On-hook.
C.Tone
On-hook.Dial 5. Dial 5.Press Recall.
C.Tone
55
(Recall)

2.8 Using User-supplied Equipment
Operation 129
2.8.2 If a Voice Processing System is Connected
If your system is connected to a Panasonic Voice Processing System which can be used with a digital
proprietary telephone, the following functions are available:
Note
You can set either the Voice Mail (VM) feature or the Built-in Voice Message (BV) feature at a time,
but not both. If you set VM, the function of an optional voice message card KX-TD61291 cannot be
used. In other words, BV, Outgoing Message (OGM) and Direct Inward Access System (DISA) cannot
work when VM is used. Before setting VM, be sure to listen to voice messages of BV and then delete
call log entries if stored. Otherwise, you can do nothing with it after setting VM.
DPT Integration
If you cannot answer calls, you can forward them to your mailbox. If your telephone has a MESSAGE
button, the button light turns on and lets you know you have messages. Even if a MESSAGE button
is not provided, you will hear an indication tone* when going off-hook.
You can also transfer received outside calls to a certain mailbox so that callers can leave messages.
If you create a Voice Mail Transfer button on your phone, the transfer is done easily without confirming
the voice mail extension number (Voice Mail Transfer).
To forward your calls to your mailbox
— Voice mail integration for digital
proprietary telephone (DPT Integration)
— Screening calls — Recording a conversation
OR
Enter voice mail
extension number.
Off-hook. Press FWD/DND
or dial 710.Enter
required number.
On-hook.
All Calls
Busy
No Answer
Busy/No Answer
voice mail
extension no.
DPT/SLT
C.Tone
7 1 0
2
3
4
5
FWD/DND

2.8 Using User-supplied Equipment
130 Operation
Transferring calls
To check and select the message
You can also select the party who left the message waiting indication. Refer to 2.2.4 When
the Dialled Line is Busy or There is No Answer — Leaving a Message waiting indication
(Message Waiting)
Off-hook.
Press desired button.
Enter voice mail
extension number.
Press
FWD/DND.On-hook.
MENU PREV NEXT
MENU PREV NEXT
NEXT
OR
FWD/DND Cancel
DND
FWD All Calls
FWD Busy
FWD No Answer
(
→
0/
*
/ext)
FWD BSY N/A
FWD CO Line
FWD From
FWD
From Cancel
(
→
ext)
(
→
dial)
(
→
ext)
(
→
ext)
voice mail
extension no.
T7436/T7235
C.Tone
(
→
ext)
(
→
ext)
(
→
ext)
FWD/DND
Enter extension
number or press DSS.
Press VM Transfer.
DPT
extension no.
OR
(DSS)
(VM Transfer)
DPT
Press MESSAGE
until the desired extension appears.
While on-hook
MESSAGE

2.8 Using User-supplied Equipment
Operation 131
To listen to a stored message
Screening calls (Live Call Screening [LCS])
Before operating
• Create a Live Call Screening (LCS) button (Station Programming).
• Select the mode, either Hands-free or Private (Station Programming).
• Set the Password.
• Set the Live Call Screening feature.
*Indication tone
Customising Your Phone
• 4.1.3 Customising the Buttons
Create or re-arrange a MESSAGE button and Voice Mail (VM) Transfer button.
While a caller is leaving a message in your mailbox, you can monitor the call. If
desired, you can answer the call while monitoring. There are 2 methods
available (Default: Hands-free mode). In both modes, if you are currently having
a conversation, you will hear a call waiting tone.
Hands-free mode:
You can monitor the message automatically through the telephone speaker
at the same time.
Private mode:
You will hear an alert tone while the caller is leaving a message.
Press MESSAGE or
voice mail extension number.
OR
Off-hook.
voice mail
extension no.
DPT/SLT
MESSAGE
1 s

2.8 Using User-supplied Equipment
132 Operation
To set/cancel the password
To set Live Call Screening
To cancel Live Call Screening
Operation Flowchart
The operations in the shaded areas can be hands-free operations.
Off-hook. On-hook.Dial 799.
desired
password
stored
password
same
password
DPT
C.Tone
7 9 9
Enter password (3 digits) twice or once.
Set
Cancel
OR
Press Live Call
Screening.Enter password.
password
DPT
(Live Call
Screening)
Press Live Call
Screening.
DPT
(Live Call
Screening)

2.8 Using User-supplied Equipment
Operation 133
• The Live Call Screening (LCS) button light shows the feature status as follows:
Red on: LCS is on.
Off: LCS is off.
Flashing green rapidly: Alert ringing in the Private mode*
Flashing green slowly: Live Call Screening is in use.*
* The DSS button light is red while Live Call Screening is in use.
• The operator can clear the password at any extension.
Customising Your Phone
• 4.1.2 Initial Settings — Live Call Screening Mode Set
Select the mode, either monitoring the message automatically or receiving alert ringing,
when the caller leaves a message.
• 4.1.3 Customising the Buttons
Create or re-arrange a Live Call Screening button and Live Call Screening Cancel
button.
Hands-free Mode Private Mode
During a conversation
Stop monitoring Answering the call
(Call Waiting Tone) (Alert Tone)
No operation
*
*
On-hook.
To hold the current call, press the HOLD button.
Off-hook.
On-hook.
OR
OR
OR
Off-hook.
Press
R (FLASH) or
LCS Cancel
.
OR
Press
R (FLASH) or
LCS Cancel
.
OR
Press
Live Call
Screening
or
SP-PHONE.
Press
SP-PHONE
MONITOR,
or Live Call
Screening.
Off-hook. Press
Live Call
Screening.
OR
Press
Live Call
Screening
or
SP-PHONE.
DPT
OR
Monitoring Monitoring Stopping the alert tone
Stop
monitoring Answering
(LCS Cancel)
(LCS Cancel)
(Live Call
Screening)
(Live Call
Screening) (Live Call
Screening)
(Live Call
Screening)
(LCS Cancel)
1
1
Press
R (FLASH) or
LCS Cancel
.
SP-PHONE
SP-PHONE
FLASH
SP-PHONE
FLASH
FLASH

2.8 Using User-supplied Equipment
134 Operation
Recording a conversation (Two-Way Recording)
To record into your mailbox
To record into another mailbox
You can record a conversation into a mailbox while talking on the phone.
• The Two-Way Record button light shows the current status as follows:
On: Recording the conversation.
Off: Not recording.
• When you record Two-Way telephone conversations, you should inform the other party that
the conversation is being recorded.
Customising Your Phone
• 4.1.3 Customising the Buttons
Create or re-arrange a Two-Way Record button and Two-Way Transfer button.
Press Two-Way
Record.
To stop recording,
press this button again.
DPT
During a conversation
(Two-Way
Record)
Press Two-Way
Transfer.Enter extension
number or press DSS.
extension no.
OR
To stop recording,
press this button again.
DPT
(DSS)
During a conversation
(Two-Way
Transfer)

2.8 Using User-supplied Equipment
Operation 135
2.8.3 If an External Relay is Connected
Pre-assigned extension users can switch on a relay connected to the system.
To switch on
• You can select by system programming the time the relay is activated.
If you assign zero, the relay is on while you are off-hook. Consult your dealer.
Off-hook. Dial 67.
DPT/SLT
On-hook.
67

2.8 Using User-supplied Equipment
136 Operation
2.8.4 If a Second Ringer is Connected
You can set (as described below) the second ringer to ring when an intercom or outside call comes
in. Both your extension and the second ringer will ring; and both will not ring if you set Do Not Disturb
(DND). You can answer the ringer from any extension.
To set
To cancel
To answer (available only when the second ringer is ringing.)
• System programming overrides the setting described above; if the Second Ringer is
enabled, you cannot cancel it at a telephone. Ask your manager.
Off-hook. On-hook.
Dial 730.
DPT/SLT
C.Tone
7 0
31
Dial 1.
C.Tone
Off-hook. On-hook.
Dial 7300.
DPT/SLT
7 0 0
3
Off-hook. Dial 47.
DPT/SLT
47
Talk.

2.9 Using the Display Proprietary Telephone
Operation 137
2.9 Using the Display Proprietary Telephone
2.9.1 Calling Using the Call Log (Incoming Call Log) [KX-
T7433, KX-T7436, KX-T7230, KX-T7235 only]
If you do not answer an outside call, the caller's information is recorded automatically in the call log.
When a new call information is stored, the SHIFT button turns red. However, if the call is received at
several extensions (1:N reception), then only the button of the lowest extension will light.You can also
store call information during a conversation. (See "2.9.2 Recording a Call Log [KX-T7433, KX-
T7436, KX-T7230, KX-T7235 only]".) Up to 128 differently identified calls can be logged per
extension. This is owned jointly with the call log of the built-in voice message. (However, in the event
a voice message is recorded, the MESSAGE button will also turn red.) As for the call log of the Built-
in Voice Message, the call information will be logged per calling even when the several calls from the
same telephone number. The 129th call overwrites the oldest call regardless of the ordinary call log
or that of the Built-in Voice Message.
You can modify and call back using the logged numbers.
CAUTION
When the call information of the Built-in Voice Message is overwritten, the voice message itself is
deleted at the same time. (Refer to 2.5.1 Built-in Voice Message)
To confirm
• With the KX-T7433 and the KX-T7230, press the "INFO" key to scroll through information.
• To modify the phone no, press the " " key to erase and then enter the number. The
numbers are erased from the left. The new number is entered into memory after
modification.
• To return to the initial display, press "MENU" or go off-hook and on-hook.
DPT
While on-hook
CO02:Panasonic01
01234567890123
Nina Thomas
21 Aug 00 6:20
Page001 10Calls
MENU CLR NEXT
Outside line no. & name
<Information sample>
Phone no.
Caller’s name
Receipt date & time
Logged Page no. (max. 128) & calling time
OR
Press “OLD” or “NEW”. OLD:Information you have already confirmed.
NEW:Information you have not yet confirmed.
OLD
NEW
Page number
and caller's
CLIP number Caller's name Date, time and
number of
times called
CO line number
and CO line name

2.9 Using the Display Proprietary Telephone
138 Operation
To lock the log
To unlock the log
To clear one log entry
To call back
Off-hook. On-hook.
Dial 59. Enter the lock code
(000-999).
DPT
C.Tone
5 9
lock code
Enter the lock code
(000-999) again.
lock code
Off-hook. On-hook.
DPT
C.Tone
Dial 59.
5 9
Enter the lock code
(000-999).
lock code
Press “CLR”.
DPT
CLR
Off-hook. Press “CALL”.
DPT
CALL
When the desired number is displayed

2.9 Using the Display Proprietary Telephone
Operation 139
• LCR can be applied to a call using call log. Consult your dealer.

2.9 Using the Display Proprietary Telephone
140 Operation
2.9.2 Recording a Call Log [KX-T7433, KX-T7436, KX-T7230,
KX-T7235 only]
You can record the caller's information in the call log to call them back. If you do not answer the call,
the log is recorded automatically.
To record a call log
• A digital proprietary telephone users may change the displayed message as follows by
pressing the CO button. However, if you assign a wild card number at 4.2.3 System Speed
Dialling and Intelligent Call Handling Number Set (001), the name assigned at
4.2.4 System Speed Dialling and Intelligent Call Handling Name Set (002) will not be
displayed.
Press "LOG".
DPT
LOG
During a conversation
<KX-T7230>
<KX-T7433/KX-T7436/KX-T7235>

2.9 Using the Display Proprietary Telephone
Operation 141
2.9.3 Using the KX-T7431, KX-T7433, KX-T7436 or KX-T7235
Using the KX-T7431
A KX-T7431 Panasonic digital proprietary telephone with a 1-line display allows you to make calls and
operate the features using the display message. You do not have to memorise the phone numbers or
feature numbers.
Operation
1. Press the MODE button repeatedly to show the desired display.
2. Rotate the Jog Dial until the desired message is shown.
(Refer to "Display feature list" in 2.9.3 Using the KX-T7431, KX-T7433, KX-T7436 or KX-T7235
for the feature messages.)
3. Press the SELECT button to call the displayed party or to select the desired feature.
4. Enter parameters if required.
— Using the KX-T7431 — Using the KX-T7235
— Using the KX-T7433 — Storing the names and numbers for
station speed dialling
— Using the KX-T7436 — Display feature list

2.9 Using the Display Proprietary Telephone
142 Operation
Using the KX-T7433
A KX-T7433 Panasonic digital proprietary telephone with a 3-line display allows you to make calls and
operate the features using the display message. You do not have to memorise the phone numbers or
feature numbers.
Operation
1. Press the SHIFT button repeatedly to show the third display.
2. Press the desired button, if required.
* The names and phone numbers should be stored beforehand. Refer to "Storing the names
and numbers for station speed dialling" in 2.9.3 Using the KX-T7431, KX-T7433, KX-T7436
or KX-T7235.
→Tom Jones →ABST MSG On 1-9
If a parameter is required,
the feature name and
parameter will flash.
1 Jan 10:10
System Speed Station Speed Extension Feature Access
Ringer: 3Contrast: 3
parameter
Calling using names
and numbers stored
at your extension
(Station Speed
Dialling)*
Calling an intercom
call using the
directory
(Extension Dialling)
Operating the
various features
(System Feature
Access)
Calling using
names stored in
the system
(System Speed
Dialling)
< Initial Display >
< Second Display > < Third Display > < Fourth Display > < Fifth Display >
< Sixth Display >< Seventh Display >
MODE
MODE MODE MODE
MODE
MODEMODE
SELECT MODE SELECT MODE

2.9 Using the Display Proprietary Telephone
Operation 143
3. Rotate the Jog Dial until the desired message is at the arrow.
(Refer to "Display feature list" in 2.9.3 Using the KX-T7431, KX-T7433, KX-T7436 or KX-T7235
for the feature messages.)
4. Press the CALL button to call the party or the SEL button to select the desired feature.
5. Enter parameters if required.
Bob Jones
Carol
MENU CALL
→
Ann Parker
Alice
MENU CALL
→
NEW1
OLD1
RING BGMCONT
1 Jan 15:00
EXT FEATSTA
ABST MSG On 1-9
C.Pickup GRP
MENU SEL
→
If a parameter is required,
the feature name and
parameter will flash.
parameter
Calling using names
and numbers stored
at your extension
(Station Speed
Dialling)*
Calling an intercom
call using the
directory
(Extension Dialling)
Operating the
various features
(System Feature
Access)
Calling using
names stored in
the system
(System Speed
Dialling)
SHIFT
SHIFT
< Initial Display >
< Second Display >
SHIFT
< Third Display >

2.9 Using the Display Proprietary Telephone
144 Operation
Using the KX-T7436
A KX-T7436 Panasonic digital proprietary telephone with a 6-line display allows you to make calls and
operate the features using the display message. You do not have to memorise the phone numbers or
feature numbers.
Operation using the function buttons
1. Press the desired function button on the initial display.
2. Rotate the Jog Dial until the desired message is at the arrow.
(Refer to "Display feature list" in 2.9.3 Using the KX-T7431, KX-T7433, KX-T7436 or KX-T7235
for the feature messages.)
3. Press the CALL button or the function button to call the party. Or press the SEL button to select
the desired feature at the arrow or press the function button next to the desired feature.
4. Enter parameters if required.
* The names and phone numbers should be stored beforehand. Refer to "Storing the names
and numbers for station speed dialling" in 2.9.3 Using the KX-T7431, KX-T7433, KX-T7436
or KX-T7235.

2.9 Using the Display Proprietary Telephone
Operation 145
Operation using the soft buttons
1. Press the SHIFT button repeatedly to show the third display.
2. Press the desired button, if required.
* The names and phone numbers should be stored beforehand. Refer to "Storing the names
and numbers for station speed dialling" in 2.9.3 Using the KX-T7431, KX-T7433, KX-T7436
or KX-T7235.
<Example>
To select 111
1234567890
111
0987654321
000111222333
100200300400500
MENU CLR
Calling using names
and numbers stored
at your extension
(Station Speed
Dialling)*
Redialling using
one of the last 5
outside call
numbers
(Outgoing Call Log)
Calling an intercom
call using the
directory
(Extension Dialling)
Operating the various
features
(System Feature Access)
Calling using names
stored in the system
(System Speed Dialling)
If a parameter is required,
the parameter will flash.
: By pressing the corresponding function button,
you can perform the Automatic Redial.
SHIFT
RING BGM
CONT
1 Jan 15:00
Extension STA Speed
Features SYS Speed
Call Log
NEXT
MENU
Ronald
Zaydel
Adam
Alice
Ann Parker
MENU CALL
→
NEXT
MENU
Ann Parker
Beth
Bob Jones
Carol
Chris
MENU CALL
→
NEXT
MENU
Absent MSG Off
Absent MSG On (1-9)
C.Pickup Group
Call Park (0-9)
CM OGM PLAY (1-9)
MENU SEL
→
parameter
< Initial Display >

2.9 Using the Display Proprietary Telephone
146 Operation
3. Rotate the Jog Dial until the desired message is at the arrow.
(Refer to "Display feature list" in 2.9.3 Using the KX-T7431, KX-T7433, KX-T7436 or KX-T7235
for the feature messages.)
4. Press the CALL button to call the party or the SEL button to select the desired feature.
5. Enter parameters if required.
If a parameter is required,
the parameter will flash.
RING BGM
CONT
1 Jan 15:00
Extension STA Speed
Features SYS Speed
Call Log
NEXT
MENU
Ronald
Zaydel
Adam
Alice
Ann Parker
MENU CALL
→
NEXT
MENU
Ann Parker
Beth
Bob Jones
Carol
Chris
MENU CALL
→
NEXT
MENU
Absent MSG Off
Absent MSG On (1-9)
C.Pickup Group
Call Park (0-9)
CM OGM PLAY (1-9)
MENU SEL
→
parameter
NEW1
OLD1
EXT FEAT
STA
Calling using names
and numbers stored
at your extension
(Station Speed
Dialling)*
Calling an intercom
call using the
directory
(Extension Dialling)
Operating the
various features
(System Feature
Access)
Calling using
names stored in
the system
(System Speed
Dialling)
SHIFT
< Initial Display >
SHIFT
< Second Display >
SHIFT
< Third Display >

2.9 Using the Display Proprietary Telephone
Operation 147
Using the KX-T7235
A KX-T7235 Panasonic digital proprietary telephone with a 6-line display allows you to make calls and
operate the features using the display message. You do not have to memorise the phone numbers or
feature numbers.
Operation
1. Press the desired function button on the initial display.
2. Press the desired function button or NEXT button until the desired message is displayed.
(See refer to "Display feature list" in 2.9.3 Using the KX-T7431, KX-T7433, KX-T7436 or KX-
T7235 for the feature messages.)
3. Press the function button next to the desired party or the feature.
4. Enter parameters if required.
* The names and phone numbers should be stored beforehand. See refer to "Storing the
names and numbers for station speed dialling" in 2.9.3 Using the KX-T7431, KX-T7433, KX-
T7436 or KX-T7235.

2.9 Using the Display Proprietary Telephone
148 Operation
* The names and phone numbers should be stored beforehand. See refer to "Storing the
names and numbers for station speed dialling" in 2.9.3 Using the KX-T7431, KX-T7433, KX-
T7436 or KX-T7235.
RING BGM
CONT
1 Jan 15:00
Extension STA Speed
Features SYS Speed
Call Log
Adam Bob
Alice Carol
Ann Parker Casey
Ben Johns Ched Ely
Beth Chris
MENU NEXTPREV
AB KL
C MN
DE OPQR
FG S
HIJ T-Z
MENU
CM OGM REC (1-9)
CM OGM DEL (1-9)
COS Primary (ext)
COS Secondary (ext)
Ext OGM PLAY (1/2)
MENU PREV NEXT
Absent MSG Off
Absent MSG On (1-9)
C.Pickup Group
Call Park (0-9)
CM OGM PLAY (1-9)
MENU NEXT
parameter
If a parameter is required,
the parameter will flash.
<Example>
To select Beth
Adam Bob
Alice Carol
Ann Parker Casey
Ben Johns Ched Ely
Beth Chris
MENU NEXTPREV
AB KL
C MN
DE OPQR
FG S
HIJ T-Z
MENU
<Example>
To select Beth
<Example>
To select 111
Ann Parker KME
Beth Panasonic
Bob Jones Police
Carol Ronald
Chris Home
MENU NEXT
0-123-4567 0-987-6543
01111111 0-5555555
033333333 0-999
077777777 0-4444444
10 0-1000000
MENU NEXT
<Example>
To select Panasonic
1234567890
111
0987654321
000111222333
100200300400500
MENU CLR
Calling using names
and numbers stored
at your extension
(Station Speed
Dialling)*
Redialling using
one of the last 5
outside call
numbers
(Outgoing Call Log)
Calling an intercom
call using the
directory
(Extension Dialling)
Operating the various
features
(System Feature Access)
Calling using names
stored in the system
(System Speed Dialling)
< Initial Display >
PREV
: By pressing the corresponding function button,
you can perform the Automatic Redial.

2.9 Using the Display Proprietary Telephone
Operation 149
Storing the names and numbers for station speed dialling
To continue
Press
PROGRAM.Press
PROGRAM.
Press STORE.
To exit
To program
To enter the programme mode
T7431/T7433
Dial 99 .Enter station speed
dial number (0-9).
station speed
dial no.
9 9
For the desired no. *
1
For the name *
2
Enter desired number
(max. 24 digits).
Enter name
(max. 16 characters).
Press MODE
or “NEXT”.
desired no.
name
NEXT
input
OR
MODE
PROGRAM PROGRAM
AUTO DIAL
STORE

2.9 Using the Display Proprietary Telephone
150 Operation
Display feature list
You can access the following features. These displays can be shown by rotating the Jog Dial or
pressing the NEXT or PREV button after selecting "Features". For their operation, see the respective
operating instructions in the list below.
•*1 "", "#", FLASH, PAUSE, SECRET (INTERCOM) and — (CONF) can also be stored.
• *2 To enter characters, Refer to "Character Entry" in 4.2.1 Customising Your System.
• The function buttons F1 through F10 correspond to station speed dialling numbers as
follows:
F1 — 0 F2 — 1 F3 — 2 F4 — 3 F5 — 4
F6 — 5 F7 — 6 F8 — 7 F9 — 8 F10 — 9
Display
(KX-T7436/KX-T7235) Display
(KX-T7431/KX-T7433) Feature Description
Absent MSG Off ABST MSG Off Cancel the absent message. refer to
2.5.4 Showing an Absent Message
on the Caller's Telephone Display
(Absent Message Capability).
Absent MSG On (1-9) ABST MSG On 1-9 Set an absent message. refer to
2.5.4 Showing an Absent Message
on the Caller's Telephone Display
(Absent Message Capability).
99
For the desired no. *1
For the name *2
To continue
input
Enter desired number
(max. 24 digits).
Enter name
(max. 16 characters).
Press
PROGRAM.Dial 99.Press function.
Press “NEXT”.
Press STORE. Press PROGRAM.
To exit
To programme
To enter the programme mode
desired no.
name
AUTO DIAL
STORE
(function)
PROGRAMPROGRAM
NEXT
T7436 / T7235

2.9 Using the Display Proprietary Telephone
Operation 151
C.Pickup Group C.Pickup GRP Pick up a call within your extension
group. refer to 2.3.3 Answering a
Call Ringing at Another Telephone
(Call Pickup).
Call Park (0-9) Call Park 0-9 Place a call on hold in a system
parking area. refer to 2.4.2 Holding
a Call.
CM OGM PLAY (1-9) CM OGM PLAY 1-9 Replay an outgoing message (OGM)
for the company voice message
box.* Refer to 2.5.1 Built-in Voice
Message.
CM OGM REC (1-9) CM OGM REC 1-9 Record an outgoing message (OGM)
for the company voice message
box.* Refer to 2.5.1 Built-in Voice
Message.
CM OGM DEL (1-9) CM OGM DEL 1-9 Delete an outgoing message (OGM)
for the company voice message
box.* Refer to 2.5.1 Built-in Voice
Message.
COS Primary (ext) COS Primary ext Select the primary Class of Service
(COS) mode for an extension*. Refer
to 2.7.11 Day/Night Service.
COS Secondary (ext) COS Second ext Select the secondary Class of
Service (COS) mode for an
extension*. Refer to 2.7.11 Day/
Night Service.
EXT OGM PLAY (1/2) EXT OGM PLAY1/2 Replay an outgoing message (OGM)
for the personal voice message box.
Refer to 2.5.1 Built-in Voice
Message.
EXT OGM REC (1/2) EXT OGM REC 1/2 Record an outgoing message (OGM)
for the personal voice message box.
Refer to 2.5.1 Built-in Voice
Message.
EXT OGM DEL (1/2) EXT OGM DEL 1/2 Delete an outgoing message (OGM)
for the personal voice message box.
Refer to 2.5.1 Built-in Voice
Message.
Extrn BGM On/Off Ext-BGM On/Off Turn on/off the background music.*
Refer to 3.2.2 Turning on the
External Background Music.
Message Off (ext) MSG Off ext Cancel a notification. Refer to
2.2.4 When the Dialled Line is Busy
or There is No Answer.
Display
(KX-T7436/KX-T7235) Display
(KX-T7431/KX-T7433) Feature Description

2.9 Using the Display Proprietary Telephone
152 Operation
Call Forwarding/Do Not Disturb feature:
You can also access the Call Forwarding and Do Not Disturb features. Go off-hook and press the
FWD/DND button. You will see the following displays. For their operation, see the respective operating
instructions. The KX-T7436 and the KX-T7235 users only use this display operation.
Message On (ext) MSG On ext Leave a notification so that the called
party may call you back. Refer to
2.2.4 When the Dialled Line is Busy
or There is No Answer.
Night Auto/On/
Off
(0-2) Night Mode 0-2 Change the night service mode;
auto, night (On) or day (Off).
(Pre-assigned extension can also
change the mode.) Refer to
3.2.1 Forwarding a Waiting Call
(Automatic Overflow/Hurry-up
Transfer) and 2.7.11 Day/Night
Service.
Page-Ext Answer Page-E ANS Answer the paged announcement
through a speaker. Refer to
2.3.4 Answering a Call via an
External Speaker (Trunk Answer
From Any Station [TAFAS]) and
2.6.3 Answering a Paged
Announcement.
Page-GRP Answer Page-GRP ANS Answer the paged announcement
through a telephone in the same
extension group. Refer to
2.6.3 Answering a Paged
Announcement.
Paging External Page Extrn Page through the speaker. Refer to
2.6.1 Paging.
Paging Group (0-8) Page GRP 0-8 Page to all or a particular extension
group.
Refer to 2.6.1 Paging.
Parallel On/Off (1/0) Parallel 1/0 Set whether a single line telephone
connected in parallel will ring (On) or
not (Off) when receiving a call. Refer
to 2.7.13 Setting the Parallel
Connected Telephone Ringer
(Parallelled Telephone).
* The message is shown for the operators only.
Display
(KX-T7436/KX-T7235) Display
(KX-T7431/KX-T7433) Feature Description

2.9 Using the Display Proprietary Telephone
Operation 153
MENU PREV NEXT
FWD/DND Cancel
DND
(
→
0/
*
/
ext)
FWD-All Calls (
→
ext)
FWD-Busy (
→
ext)
FWD-No Answer (
→
ext)
MENU PREV NEXT
FWD-BSY/NA (
→
ext)
FWD-CO Line (
→
dial)
FWD-From (
→
ext)
FWD-From Cancel (
→
ext)

2.9 Using the Display Proprietary Telephone
154 Operation

Operator Operation 155
Section 3
Operator Operation
This chapter shows the operators how to control the
extensions or the system. Your system supports up to 2
operators.

3.1 Extension Control
156 Operator Operation
3.1 Extension Control
3.1.1 Switching Level of Service
You can switch either primary or secondary level of service for each extension.
Off-hook. Dial 79. Dial 1 for primary
or 3 for secondary.
Primary
Secondary
On-hook.
extension no.
Enter extension
number.
extension no.
OR
PT and SLTDPT/SLT
C.Tone
7
1
3
9
Rotate Jog Dial
until “COS Primary”
or “COS Second”
is displayed.
Press MODE until
“Feature Access”
is displayed.
T7431
extension no.extension no.
Enter
extension number.On-hook.
C.Tone
Press SELECT.
COS Primary ext
→
SELECT MODE
MODE
Rotate Jog Dial until
“COS Primary” or
“COS Second” is
at the arrow.
Press SHIFT until
“FEAT” is displayed.
Press
“FEAT”
.
T7433
extension no.extension no.
Enter
extension number.
FEAT
On-hook.
C.Tone
Press “SEL”.
SEL
COS Primary ext
COS Second ext
MENU
→
SEL
SHIFT

3.1 Extension Control
Operator Operation 157
T7436/T7235
Rotate Jog Dial or
press “NEXT” until the
following is displayed.
Press “COS Primary” or
“COS Secondary”.
Features
COS Primary (ext)
COS Secondary (ext)
NEXT
OR
C.Tone
On-hook.
extension no.extension no.
Enter
extension number.
Press “Features”.

3.1 Extension Control
158 Operator Operation
3.1.2 Changing the Settings
* To assign all extensions, press the " " key.
Programming Input
Unlocking or locking any
extension (Remote Station
Lock Control) X=1 : Unlock
2 : Lock
X
extension no.*
1
0
extension no.*
2
0
extension no.*
3
0
Item
Unlocking the call log
(Incoming Call Log Lock
Control)
Clearing the Live Call
Screening Password (Live
Call Screening Password
Control)
To continue
To exit
To program
To enter the program mode
programming
input
9 9
Dial 99. Enter programming
input.Press STORE.
Press PROGRAM. Press PROGRAM.
AUTO DIAL
STORE
PROGRAM PROGRAM

3.2 System Control
Operator Operation 159
3.2 System Control
3.2.1 Forwarding a Waiting Call (Automatic Overflow/Hurry-
up Transfer)
To forward
When you (operator 1) are busy and an outside call comes to you directly, that
call is put in a waiting queue. When the number of calls in the queue exceeds
the assigned limit, calls will automatically be forwarded to operator 2.
You can check the condition of the queue with the Hurry-Up button light, and
forward the first call in the queue to a pre-assigned extension.
• The Hurry-Up button light shows the current status as follows:
Off: No waiting call
Red: At least 1 call is waiting.
Flashing red: Number of calls exceeds assigned limit.
Customising Your Phone
• 4.1.3 Customising the Buttons
Create or re-arrange a Hurry-Up button.
Press Hurry-up.
DPT
(Hurry-up)

3.2 System Control
160 Operator Operation
3.2.2 Turning on the External Background Music
You can broadcast background music in your office through external speakers.
To start/stop background music
Off-hook. Dial 65. On-hook.
DPT/SLT
C.Tone
6 5
Rotate Jog Dial until
“Ext-BGM On/Off” is
displayed.
Press MODE until
“Feature Access”
is displayed.
T7431
On-hook.
C.Tone
MODE
Press SELECT.
Ext-BGM On/Off
→
SELECT MODE
Rotate Jog Dial until
“Ext-BGM On/Off”
is at the arrow.
Press SHIFT until
“FEAT” is displayed.
Press
“
FEAT
”
.
T7433
FEAT
On-hook.
C.Tone
Ext-BGM On/Off
MSG Off ext
MENU
Press “SEL”.
→
SEL
SHIFT
T7436/T7235
Rotate Jog Dial or
press “NEXT” until the
following is displayed.
Features
NEXT
OR
C.Tone
On-hook.
Press “Features”.
Extrn BGM On/Off
Press “Extrn BGM On/Off”.

3.2 System Control
Operator Operation 161
3.2.3 Recording Company Greeting Outgoing Messages
This function is only available an optional card KX-TD61291 is installed in the main unit KX-TD612.
The operator can record/replay/delete the outgoing messages (OGM) for the company message box.
The maximum time for one OGM is programmable from 1 minute to 15 minutes. (Default : 3 minutes)
Ask your dealer.
Note
You can set either the Built-in Voice Message (BV) feature or the Voice Mail (VM) feature at a time,
but not both. If you set VM, the functions of an optional voice message card KX-TD61291 cannot be
used. In other words, BV, OGM and Direct Inward System Access (DISA) cannot work when VM is
used. Before setting VM, be sure to listen to voice messages of BV and then delete call log entries if
stored. Otherwise, you can do nothing with it after setting VM.
To record OGM for outside incoming call
On-hook.Record message.
Enter OGM
number (1-9).
OGM no.
DPT
C.Tone
SHIFT
Press SHIFT until
FEAT” is displayed.
“
FEAT
FEAT”. “
Press Rotate Jog Dial
“CM OGM REC
” is
until
at the arrow. Press “SEL”.
MENU
→
SEL
CM OGM 1-9
CM OGM DEL
REC 1-9
Off-hook. On-hook.
Dial 712. Enter OGM
number (1-9).
OGM no.
DPT/SLT
C.Tone
1
Dial 1.
Record.
7
72
12
2

3.2 System Control
162 Operator Operation
To replay OGM for outside incoming calls
On-hook.
Enter OGM
number (1-9).
OGM no.
DPT
C.Tone
SHIFT
Press SHIFT until
"FEAT" is displayed.
FEAT
Press "FEAT". Press "SEL".
Confirm the message.
Rotate Jog Dial until "CM
OGM PLAY" is at the arrow.
SEL
MENU
→
CM OGM 1-9
CM OGM PLA 1-9RECY
DPT/SLT
On-hook.
C.Tone
Off-hook.
2
Dial 2.
Confirm a message.
Dial 712.
7
72
12
2
Enter OGM
number (1-9).
OGM no.

3.2 System Control
Operator Operation 163
To delete OGM for outside incoming calls
• You can record or delete an OGM only when no one else is using this feature such as
replaying/recording/deleting a voice message or an OGM. If you try to record an OGM when
someone else is using this feature, you will hear a reorder tone, and OGM BUSY will be
indicated on the display (for Digital Proprietary Telephone user only).
On-hook.
Enter OGM
number (1-9).
OGM no.
DPT
C.Tone
SHIFT
Press SHIFT until
"FEAT" is displayed.
FEAT
Press "FEAT". Rotate Jog Dial until "CM
OGM DEL"is at the arrow. Press "SEL".
MENU
→
SEL
1-9
ext
CM OGM DEL
COS Primary
DPT/SLT
On-hook.
Off-hook.
C.Tone
Dial 3.
3
Dial 712.Enter OGM
number (1-9).
OGM no.
2
2
7 1

3.2 System Control
164 Operator Operation
3.2.4 Using the ANSWER/RELEASE Button [KX-T7441 only]
The ANSWER and RELEASE buttons on the Console are convenient for operators using headsets.
With the ANSWER button, you can answer all incoming calls to the paired telephone.
With the RELEASE button, you can disconnect the line during or after a conversation, or complete
transferring a call.
To answer
To transfer a call
To transfer an outside call to an extension with one-touch
Press ANSWER.Talk.
DPT & T7441
ANSWER
Press TRANSFER. Press RELEASE.
DPT & T7441
Enter desired
number or press DSS.
desired no.
OR The party
answers.
During a conversation with the headset or hands-free mode
(DSS)
TRANSFER
RELEASE
Press DSS. Press RELEASE.
DPT & T7441
The party
answers.
The other party is placed on hold and the
destination extension is called immediately.
During a conversation with the headset or hands-free mode
(DSS)
RELEASE

3.2 System Control
Operator Operation 165
3.2.5 Printing the System Working Report
The system working report contains the following:
• The number of incoming calls and answered calls
• The percentage of answered calls versus all incoming calls
• The number of accesses requested and successful calls
• The percentage of successful calls versus tries
• The average call duration
This report can also be printed out by the manager.
• This is not available for a SLT which is in the XDP connection.
Off-hook. On-hook.Dial 794. Dial 1 to print
or 0 to clear.
Print
Clear
OR
DPT/SLT
C.Tone
7
1
0
9 4
*****************************************************
*
System working report
*
*****************************************************
[1] Date of record
End : 1. JAN. 2000 12:00
Start : 1. JAN. 2000 7:23
[ 2] Incoming calls
CO 01 02 03
Incoming calls 44 38 47
Answered calls 39 37 44

3.2 System Control
166 Operator Operation

Customising Your Phone & System 167
Section 4
Customising Your Phone
& System
This chapter shows you how to customise your
individual telephone or system according to your needs.
Find the desired setting and programme as necessary.

4.1 Customising Your Phone (Station Programming)
168 Customising Your Phone & System
4.1 Customising Your Phone (Station
Programming)
4.1.1 Customising Your Phone (Station Programming)
If you use a Panasonic digital proprietary telephone (e.g. KX-T7436), you can customise your
telephone functions. For example, you can change the initial settings or button functions according to
your needs.
• If you change your desks and the extension line, clear all settings first. The old settings will
remain in the previous extension user's memory.

4.1 Customising Your Phone (Station Programming)
Customising Your Phone & System 169
4.1.2 Initial Settings
The original settings are shown in bold letters in the shaded boxes. Find and mark your desired
selections for programming.
• If nothing is entered within 1 minute in the programming mode, the mode returns to the
normal status.
• To exit the mode at any time, lift the handset.
Pressing the One-Touch
Dialling button.
Which line do you prefer to
seize when you go off-hook
to make calls?
(Preferred Line Assignment
– Outgoing)
To continue
To exit
To program
To enter the programme mode
programming
input
9 9
Dial 99. Press STORE.Follow programming
input.
Press PROGRAM. Press PROGRAM.
Item Selection Programming Input
1 1
12
13
1
No line
An idle outside line
A pre-assigned outside line
21
2 2
23
No line
Which line do you prefer to
seize when you go off-hook
to receive calls?
(Preferred Line Assignment
– Incoming) A pre-assigned outside line
A ringing line
The Intercom line
31
32
Which way do you prefer to
dial the One-Touch Dialling
feature?
(Full One-Touch Dialling
Assignment)
Going Off-hook and then pressing
the One-Touch Dialling button.
(1–3)
Outside line no.
(1–3)
Outside line no.
AUTO DIAL
STORE
PROGRAM PROGRAM
INTERCOM

4.1 Customising Your Phone (Station Programming)
170 Customising Your Phone & System
To confirm the current setting
• * Even though you set the Key Click Tone assignment "on", the Key Click Tone will not be
heard when the Background Music feature has been set "off".
Item Selection Programming Input
41
42
Ringing
Which way do you prefer to
receive an intercom call?
(Intercom Alert Assignment) Directly – the party’s voice is
heard without ringing.
51
5 2
No. Use the same tone.
Do you prefer to distinguish the
Call Waiting tone from an outside
line and an intercom call?
(Call Waiting Tone Type Selection)
Yes. Use a different tone.
71
72
No
Do you prefer to hear the
key tone? *
(Key Click Tone On/Off
Assignment) Yes
81
8 2
Handset
Which equipment will you
use as a receiver?
(Handset/Headset Selection) Headset
1
1
You can monitor the message
through the telephone speaker.
(Hands-free mode)
Which voice mail service do
you prefer when a caller is
recording a message in your
mailbox?
(Live Call Screening Mode Set)
Only an alert tone is heard.
(Private mode)
1
2
(Outside=Intercom=Tone1)
(Outside=Tone2, Intercom=Tone3)
programming input,
except for suffix no.
To continue
Dial 99. Enter programming input,
except for suffix number. Press HOLD.
9 9
Press PROGRAM. Press PROGRAM.
PROGRAM
PROGRAM
HOLD

4.1 Customising Your Phone (Station Programming)
Customising Your Phone & System 171
To clear all settings
9 9 #
Dial 99#. Press STORE.
Press PROGRAM. Press PROGRAM.
PROGRAM PROGRAM
AUTO DIAL
STORE

4.1 Customising Your Phone (Station Programming)
172 Customising Your Phone & System
4.1.3 Customising the Buttons
You can change the flexible CO buttons, DSS buttons and programmable function (PF) buttons to the
following function buttons. For example, if your telephone has more CO buttons than available CO
lines, you may change an unused CO button to a one-touch dialling button.
programming
input
To exit
To program
To enter the programme mode
To continue
9 9
Dial 99. Press CO,
DSS or PF.Follow programming
input.Press STORE.
(
CO, DSS, PF
)
Press PROGRAM.Press PROGRAM.
Button
Programmable Button
Programming Input
CO
Loop-CO
1
Direct Station Selection (DSS)
2
One-Touch Dialling
30
3 1
MESSAGE
DDI/CLIP
4
FWD/DND (Forward/Do Not Disturb)
5
SAVE
6
Account
7
CONF (Conference)
8 0
Log-In/Log-Out*2
DSS PF
(max. 24 digits)
0
Single-CO (1-6)
8
Voice Mail Transfer *3
8 3
Two-Way Record*3
2
8 1
Hurry-Up
Outside line no.
Extension no.
Desired no.*1
Voice mail extension no.
Extension no.
FENOH
Voice mail extension no.
System Speed Dialling 000-699
*5
AUTO DIAL
STORE
PROGRAM PROGRAM

4.1 Customising Your Phone (Station Programming)
Customising Your Phone & System 173
Button
Programmable Button
Programming Input
8
8 9
0 0
801
802
803
804
805
806
807
808
80 9
8 1 0
81 1
8 #
9
CO
NightNight
ISDN Service KeyISDN Service Key
Phantom Extension
Live Call Screening Cancel
Live Call Screening
Two Way Transfer *
*2
Call Pickup Deny*2
Calling Line Identification Restriction (CLIR)
*2
Connected Line Identification Restriction (COLR)
*2
Do Not Disturb for Intelligent Call Handling 1:1 Call
Executive Busy Override Deny
*2
Paging Deny*2
Paralleled Telephone Connection
*2
Pickup Dialling*2
Call Forwarding to Hunting Group
*2
DSS PF
(max. 24 digits)
Call Waiting*4
(1-3)
One-Touch Dialling with Auto Hold
Terminate
Doorphone Call Forwarding to Outside Line
*2
Forwarding FENOH
Desired no.*1
Doorphone no.
ISDN Service no.
Voice mail extension no.
8 8
8 6
8 5
8 4
Phantom extension no.
(max. 24 digits)
3
*3
*3
*5

4.1 Customising Your Phone (Station Programming)
174 Customising Your Phone & System
To make the ringing tone of each CO button distinctive
To change the ringing tone for intercom calls
•*1 , #, FLASH, PAUSE, SECRET (INTERCOM) and — (CONF) can also be stored.
If you do not want to display the stored number, press the SECRET (INTERCOM) button
before and after the numbers you wish to conceal.
If you store an external party's number, you should first store a line access number (0, 81
to 83).
If you need to enter an account code, you can enter the specified account code before the
line access number.
<Example>
• *2 Pressing this button while on-hook or hearing a dial tone changes the setting (on or off)
of the corresponding feature.
• *3 These buttons are used for the voice mail integration feature.
• *4 Pressing this button changes the settings as follows.
• *5 FENOH: Floating Extension Number of Hunting Group.
•To exit the mode at any time, lift the handset.
Account code feature no.
49
Account code
1234
Account code delimiter
#
Automatic line
access number
9
Phone number
SECRET
[ 123 4567 ]
Tone OHCA Whisper OHCA No tone
Dial 99. Press CO. Press CO. Press STORE.Enter tone type
number (1–8).
tone type no.
To continue
R.Tone
9 9
Press PROGRAM. Press PROGRAM.
PROGRAM
PROGRAM
(CO) (CO)
AUTO DIAL
STORE
Dial 99.Press
INTERCOM.Press STORE.Enter tone type
number (1–8).
tone type no.
R.Tone
Press
INTERCOM.
9 9
Press PROGRAM. Press PROGRAM.
AUTO DIAL
STORE
PROGRAM
PROGRAM INTERCOM INTERCOM

4.1 Customising Your Phone (Station Programming)
Customising Your Phone & System 175
To set a phantom ringing on or off at an extension.
To clear the button data
Press STORE.
Dial 1 to ringer off
or 2 to ringer on.
Off
On
OR
Press
Phantom.Press
Phantom.
Dial 99.
9 9
1
2
Press PROGRAM.Press PROGRAM.
(Phantom) (Phantom)
PROGRAM PROGRAM
AUTO DIAL
STORE
To continue
Dial 99. Press CO,
DSS or PF.Dial 2. Press STORE.
9 9
(
CO, DSS, PF
)
Press PROGRAM. Press PROGRAM.
2
AUTO DIAL
STORE
PROGRAM
PROGRAM

4.1 Customising Your Phone (Station Programming)
176 Customising Your Phone & System
4.1.4 Charge Fee Management [Pre-assigned extension only]
Item Programming Input
Viewing each extension charge.
Dial 9.Follow
programming
input.
programming
input
To exit
To program
To enter the programme mode
To continue
Enter ID code
(4 digits).
ID code
Press
REDIAL.
9 9 9
Dial 99.
Press
PROGRAM.
Press
PROGRAM.
1SEL
Extension no.
Clearing each extension charge. 1CLR
Extension no.
Viewing each outside line charge. 2SEL
Outside line no.
Viewing the total charge. 3SEL
Viewing each account code charge. 4SEL
Account table no.
Clearing each account code charge. 4
Clearing all outside line, account
code and department code charges.
Clearing all extension charges.
6CLR
Printing the total telephone charge
(each outside line, account code and
department code charge), all
extension charges or each extension
charge by SMDR.
71
7 2
73Extension no.
Assigning an account code. 8CLR
Account table no.
Viewing each department code charge.
9SEL
Department code
Clearing each department code charge.
9CLR
Department code
(1-6)
(01-64)
(01-64)
New account code
(10 digits max.)
CLR
Account table no. (01-64)
Displays the last
clearing date and time.
[]
6NEXT CLR
Displays the last
clearing date and time.
total telephone charge
all extension charges
each extension charge
[]
Press
HOLD.
*
*
*
*
*
AUTO DIAL
STORE
AUTO DIAL
STORE
AUTO DIAL
STORE
AUTO DIAL
STORE
AUTO DIAL
STORE
AUTO DIAL
STORE
PROGRAM
PROGRAM
HOLD
REDIAL

4.1 Customising Your Phone (Station Programming)
Customising Your Phone & System 177
• * Press SEL to alternate between raw-meter display and converted-currency display.
• When you use an account number whose table number is 01, the dialled number does not
show up on the SMDR. The account code and charge are printed out, however.

4.2 Customising Your System
178 Customising Your Phone & System
4.2 Customising Your System
4.2.1 Customising Your System
You can customise your system according to your application. You can control telephone conditions
for each extension, extension group, Class of Service, etc.. For example, you can restrict some
extensions from calling external parties. Furthermore, the programmed data, such as system speed
dialling, can be used by all extensions.
Your system already has default settings (factory installed). Most of the programming is done by your
dealer. Consult your dealer about system applications and re-programming according to your needs.
Only frequently changed programming items are shown in this manual. If you would like to change
the following features, extensions which meet certain conditions can re-program them at any time.
The available programming is shown below. (Programme number)
• The date and time (000)
• System speed dialling/Intelligent call handing numbers and names (001/002)
• Extension number and name (003/004)
Required Telephone
A Panasonic Digital Proprietary Telephone with display (e.g. KX-T7433, KX-T7436)
User Password
To enter the programming mode, a user password (4-7digits) is required. It should be programmed
through system programming beforehand. Check your password (Default:1234).
Conditions
Only 1 extension, which is on-hook and holding no calls, is available at a time. If another extension is
programming, "Another Use" is displayed.
List
Before programming, decide your selections and write them down in the list for each programming
item. These are useful for easy programming and future reference. Your dealer also has programming
tables which contain all of the assignments. You may ask for photo copies of these tables to be aware
of the features/conditions available.
Overlay/Button Function
The overlay is a paper sheet which is included with the telephone.
In the programming mode, the button functions are different. The overlay shows the functions in the
programming mode. Place the overlay on the telephone properly.
If your telephone display shows the necessary functions, the overlay may be not required.

4.2 Customising Your System
Customising Your Phone & System 179
Display
The display gives you useful messages about programming. The multiple-line display also shows the
available functions. Follow the message at each step. This is a display sample in the initial
programming mode.
The message line guides you through programming and lets you confirm your selection. For example,
when "Jack No? " is displayed, enter the jack number. The display shows up to 16 characters at
a time. To scroll the display, press or . The function line shows you the function of the Soft button
located below it. When the SHIFT button light beside the display is on, subtitles are available.
Press the SHIFT button to confirm the available functions.
Jack Number
Certain programming is assigned to each jack number. The jack number is where your telephone
connects to the system. If two telephones share one jack and have their own extension number (eXtra
Device Port [XDP]), the jack number is determined as Jack XX-1 for a digital proprietary telephone
and Jack XX-2 for a single line telephone. The display may show XX-2, even if an extension has not
set XDP.
If you do not know the jack no., confirm it as shown below.
KX-T7436 with the overlay
FLASH
AUTO DIAL
STORE
AUTO ANSWER
MUTE
MESSAGE
SP-PHONE
HOLD
REDIAL
123456
7 8 9 10 11 12
13 14 15 16 17 18
19 20 21 22 23 24
PROGRAM TRANSFERPAUSEFWD/DNDINTERCOM CONF
ABC DEF
JKL MNOGHI
TUV WXYZPQRS
SHIFT
MIC
5
8
0
2
2ABC
5JKL
8TUV
0
., :;
3DEF
6MNO
9WXYZ
#$%&@( )
6
9
3
,
SECRET
PROGRAM
PAUSE CLEAR
1
4
7
1QZ!?
4GHI
7PQRS
/+–P=< >
ENDPREV NEXT
SELECTFLASH
STORE
Message Line
Function Line
Multiple line type
(The last two lines)
Soft buttons
One line type
MNG-PGM NO?→MNG-PGM NO?→
CLR NEXT
SHIFT

4.2 Customising Your System
180 Customising Your Phone & System
Confirmation
To confirm your entry after storing data;
• The STORE button light: Lights red.
• Confirmation Tone:
— 1 beep: Your entry is accepted.
— 3 beeps: Your entry is rejected.
Icon Descriptions
Icons are given to guide you through programming. The following is an example of how the icons may
be used:
Procedure
The basic steps are shown below.
Enter the programme number. (xxx= the specified number)
Press the corresponding button on the telephone or the Soft button which
corresponds to the display.
<Example>
: "NEXT" is displayed.
In this case, both of the following methods are available:
• Press the NEXT ( ) button.
• Press the Soft button which corresponds to "NEXT" shown on the display.
()
The display messages "SEL+, SEL- and SEL" mean "SELECT".
"CLR" means "CLEAR".
Press the button until the desired entry appears.
Enter your selection.
<Example>
: "Jack no." is displayed. Enter the jack number.
9 69
Dial 996. Press END.Press PROGRAM. Press PROGRAM.
After confirmingIf you do not know the jack/extension number
END
PROGRAM PROGRAM
X X X
NEXT
NEXT
NEXT
jack no.

4.2 Customising Your System
Customising Your Phone & System 181
1. Entering the programming mode (The default of user password is 1234. Ask your dealer.)
2. Programming
3. Exiting the mode
•To delete or change an entry, press CLEAR (TRANSFER).
•To confirm your entry after storing data:
—The STORE button light: Lights red.
—Confirmation Tone:
1 beep: Your entry is accepted.
3 beeps: Your entry is rejected.
•To exit the programming mode at any time, lift the handset.
Enter user password.Dial .
user password
Press PROGRAM.
PROGRAM
END
NEXT STORE
SELECT
PREV
your entry
programme no.
Enter programme
number (3 digits). Press NEXT. Enter your entry Press STORE. Press END.
Press SKP+. Press SKP-.
NEXT
SKP+SKP–
Press SELECT.
Press NEXT. Press PREV.
OR
OR
To continue programming
To continue entering selections
To end
To go to the next/previous programme or entry
To enter the desired programme or entry

4.2 Customising Your System
182 Customising Your Phone & System
Character Entry
Entering characters
• Press the desired character key.
• Press the matching Soft button, press the SELECT* (AUTO ANSWER) button or rotate the Jog
Dial as needed.
• Repeat the appropriate steps for the remaining characters.
When storing a name or message, enter the characters as follows. The
tables below and on the next page show you the characters available for
each key. You can enter letters by pressing the alphanumeric keys on your
telephone. Example: Key 2 can enter A, a, B, b, C or c.
•To erase the last letter, press the (CONF) button.
•To erase all letters, press the CLEAR (TRANSFER) button.
•To alternate between capital and lower case letters, press the SHIFT button. Once this
button is pressed, the mode remains until the SHIFT button is pressed again.
* If your telephone is a KX-T7431, do not use the provided SELECT button. Use the AUTO
ANSWER button which becomes the SELECT button when using the overlay.
Press PROGRAM.
PROGRAM
ABC
A,a
B,b
C,c
2

4.2 Customising Your System
Customising Your Phone & System 183
Combination Table 1
1 1 Q q R r S s T t ···
2 2 A a B b C c D d ···
3 3 D d E e F f G g ···
4 4 G g H h I i J j ···
5 5 J j K k L l M m ···
6 6 M m N n O o P p ···
7 7 P p Q q R r S s ···
8 8 T t U u V v W w ···
9 9 W w X x Y y Z z ···
0 0 (space) ! ? . , ’ : ; ···
* / + – = < > # $ ···
# # $ % & @ ( ) A a ···
keys
Jog Dial
Display sequence by rotating the Jog Dial

4.2 Customising Your System
184 Customising Your Phone & System
Combination Table 2
<Example> To enter "Ann",
01234567 8
11QqZz!?
2 2AaBbCc
3 3DdEeF f
44GgHhIi
55JjKkLl
66MmNnOo
7 7PpQqRrS s
88TtUuVv
9 9WwXxYyZ z
0 0 (space) . , ’ : ;
*/ +–=<>
##$%&@()
Soft button
keys
S1
SHIFT+S1
S2
SHIFT+S2
S3
SHIFT+S3 SHIFT+
SHIFT+S1
SHIFT+
SHIFT+S2
SELECT button
pressing
times
An n
– Using a soft button.
–
Using the SELECT button.
2
SELECT SELECT SELECT SELECT SELECT SELECT SELECT SELECT SELECT
6 6
2CBA onm onm
6
SHIFT
6
6
– Using the Jog Dial
26
until “A” is
displayed. until “n” is displayed. until “n” is displayed.

4.2 Customising Your System
Customising Your Phone & System 185
4.2.2 Date and Time Set (000)
After setting the current date and time, the digital proprietary telephone displays the current date and
time while on-hook.
Default : 1 Jan '00 SAT 00:00
•After changing the desired entries, you can press the STORE button. You do not have to
perform the rest of the steps.
• The clock starts immediately after the STORE button is pressed.
• You cannot leave an entry empty.
Dial 000. Press NEXT.
NEXT
Enter day
(1-31).
day
Press ➡. Press ➡.Select month
(JAN.-DEC.).
SELECT
Enter year
(00-99).
year
Press STORE.
STORE
Press END.
END
Select day
of the week
(SUN-SAT).
SELECT
Press NEXT.
NEXT
Enter hour
(00-23).
hour
Enter minute
(00-59).
minute
Press ➡.Press ➡.
To end
Press STORE.
STORE
0 00

4.2 Customising Your System
186 Customising Your Phone & System
4.2.3 System Speed Dialling and Intelligent Call Handling
Number Set (001)
You can store the phone number of up to 700 for 2 functions Default : No entry
System Speed Dialling Number (000 – 499): You can store the phone numbers of up to 500
frequently dialled numbers (max. 32 digits).
Intelligent Call Handling Number (000 – 699): Intelligent Call Handling distributes an incoming
outside call to a specific extension/group in accordance with DDI/MSN number provided by Integrated
Service Digital Network (ISDN) or caller's number (CLIP). Up to 500 CLIP numbers (000 – 499) and
200 DDI/MSN numbers (500 – 699) can be stored. CLIP number of a caller is analysed prior to DDI/
MSN number. Searching order is from the lowest to the highest among 000 – 699. Consult your
manager.
• Make use of "System Speed Dialling" in 5.3.1 Directory.
• If the desired number is more than 32 digits, divide the number and store it into 2 or more
speed dial numbers.
•, #, FLASH, PAUSE, SECRET (INTERCOM) and — (CONF) can also be stored.
If you do not want to display the stored number, press the SECRET (INTERCOM) button
before and after the numbers you wish to conceal.
If you store an external party's number, you should first store a line access number (9, 81
to 83).
If you need to enter an account code, you can enter the specified account code before the
line access number.
<Example>
Press NEXT.Dial 001.
NEXT
Press STORE.Enter speed dial
number (000-499). Enter phone number
(max. 32 digits).
STORE
Press END.
END
speed dial no. phone no.
SELECT
PREVNEXT
Press SELECT.
Press NEXT. Press PREV.
OR
To continue
To end
0 10
Account code feature no.
49
Account code
1234
Account code delimiter
#
Automatic line
access number
9
Phone number
SECRET
[ 123 4567 ]

4.2 Customising Your System
Customising Your Phone & System 187
• You can assign CLIP and DDI/MSN numbers at System Speed Dialling locations 000-699.
CLIP numbers can be assigned at the location 000-499. DDI/MSN numbers can be
assigned at locations 500-699. We recommend that wild card numbers for CLIP be stored
starting at location 499, and then 498, 497, etc. That is, go backwards numbers starting
from 499.
We recommend the preceding because if you assign the wild card number "9-
012 " at location 000, then all calls that start with "012" will be processed
according to that routing — even though you assign "9-0123456789" at another location.
This is because the CLIP or your DDI/MSN number is analysed sequentially from 000 to
699.
• When you assign a wild card, be sure to enter the whole number. For example, when the
telephone number has 10 digits and you want to assign an area code as the wild card,
assign "9-012 ". ("012" is an example of an area code.)
• If you assign a wild card number at the locations 000-499, the name assigned in
4.2.4 System Speed Dialling and Intelligent Call Handling Name Set (002) will not be
displayed when receiving the call. (Refer to 2.9.2 Recording a Call Log [KX-T7433, KX-
T7436, KX-T7230, KX-T7235 only]. )
• Up to 60 handling table numbers of Day/Night mode can be assigned for each 700 System
Speed Dialling and Intelligent Call Handling number. The receiving pattern can be assigned
for each handling table number. Intelligent Call Handling table number 61 and 62 are
reserved to handle calls which the system cannot analyse. Be sure 61 (for day mode) is
assigned to at least 1 extension and 62 (for night mode) is assigned to at least 1 extension.
The destinations of 61 and 62 cannot be a floating extension, a phantom extension, or a
voice mail extension.
• The System Speed Dialling/Intelligent Call Handling numbers are used for the call
identification. For proper operation, a hyphen must be inserted after the line access number.
Additionally, the area code must be stored always (even for local numbers in the same
area).
• Up to 24 DDI/CLIP keys can be located at a CO button on a digital proprietary telephone.
DDI/CLIP key is provided in accordance with CLIP and DDI/MSN call handling. The LED
indicator of the DDI/CLIP key flashes green when receiving a call from the CLIP number, or
with the DDI/MSN number, you assigned at SSD & ICH table. You can answer the call by
pressing the flashing DDI/CLIP Key. (Refer to 4.1.3 Customising the Buttons)
Customising Your Phone
• 4.1.3 Customising the Buttons
Create or re-arrange a DDI/CLIP key.
Account code feature no.
49
Account code
1234
Account code delimiter
#
Automatic line access number
9
Phone number
SECRET
[ 1 201 123 4567 ]

4.2 Customising Your System
188 Customising Your Phone & System
4.2.4 System Speed Dialling and Intelligent Call Handling
Name Set (002)
You can store the corresponding name of the speed dialling number. These names are displayed
when making call with the display operation. (See "How to Use the Display"(Operation) To enter
characters, refer to "Character Entry" in 4.2.1 Customising Your System.
Default : No entry
• Make use of "System Speed Dialling" in 5.3.1 Directory.
• If you assign a wild card number at the locations 000-499, name assigned in this
programming will not be displayed when receiving the call. (Refer to 2.9.2 Recording a
Call Log [KX-T7433, KX-T7436, KX-T7230, KX-T7235 only]. )
Press NEXT.Dial 002.
NEXT
Press STORE.Enter speed dial
number (000-499). Enter name
(max. 16 characters).
STORE
Press END.
END
speed dial no. name
SELECT
PREVNEXT
Press SELECT.
Press NEXT. Press PREV.
OR
To continue
To end
0 20

4.2 Customising Your System
Customising Your Phone & System 189
4.2.5 Extension Number Set (003)
You can assign an extension number to each jack.
Default : Jack 1-1=201
Jack 2-1=202
Jack 3-1=203
Jack 4-1=204
Jack 5-1=205
Jack 6-1=206
Jack 7-1=207
Jack 8-1=208
Jack 1-2=301
Jack 2-2=302
Jack 3-2=303
Jack 4-2=304
• The leading number(s) should be the same as the assigned number(s) for Flexible
Numbering. Consult your dealer.
• A double entry is invalid.
Press NEXT.Dial 003.
NEXT
Press STORE.Enter jack
number.
STORE
Press END.
END
jack no.
Enter extension
number (2-4 digits).
extension no.
SELECT
PREVNEXT
Press SELECT.
Press NEXT. Press PREV.
OR
To continue
To select the jack number
XX-2, press NEXT.
To end
0 30

4.2 Customising Your System
190 Customising Your Phone & System
4.2.6 Extension Name Set (004)
You can store the name of an extension user. This is useful if you want to know who is calling, or who
you are calling when making an intercom call using the directory.
To enter characters, refer to "Character Entry" in 4.2.1 Customising Your System.
Default : No entry
• The directory is on 5.3.1 Directory.
Press NEXT.Dial 004.
NEXT
Press STORE.Enter name
(max. 16 characters).
STORE
Press END.
END
name
SELECT
PREVNEXT
Press SELECT.
Press NEXT. Press PREV.
OR
To continue
Enter jack
number.
jack no.
To end
To select the jack number
XX-2, press NEXT.
0 40

Appendix 191
Section 5
Appendix
This chapter provides the Troubleshooting, Feature
Number List, Directory, Tone List and Specifications.
Check the Troubleshooting before consulting your
dealer.

5.1 Troubleshooting
192 Appendix
5.1 Troubleshooting
5.1.1 Troubleshooting
Problem Remedy
The telephone does not work
properly. •The wiring is wrong.
Check the wiring.
•The system does not work properly.
Restart the system. ( 1.4.1 Adding Another
Telephone in Parallel)
I cannot use the telephone. •The telephone is locked.
Unlock your telephone. ( 2.5.5 Preventing Other
People from Using Your Telephone (Electronic Station
Lockout), 3.1.2 Changing the Settings)
•Your telephone is connected to an eXtra Device Port.
System programming is required. Consult your dealer.
Some features do not work. •System management may restrict certain features.
Consult your manager.
•The feature numbers have changed.
Confirm the revised number and try again.
Even though following the manual
instructions, none of the operations
work when using a digital proprietary
telephone.
•The Intercom line was not seized. The seized line,
when going off-hook, was changed by personal setting.
( 4.1.2 Initial Settings)
In the manual, going off-hook means an Intercom line
is seized.
If the setting has been changed, press the INTERCOM
button after going off-hook and follow the instructions.
The parallelled single line telephones
do not ring. •This is the default setting.
Change the setting to ring. ( 2.7.13 Setting the
Parallel Connected Telephone Ringer (Parallelled
Telephone))
The telephone does not work using
the personal settings or with other
settings. (One-touch dialling,
forwarding destination, etc.)
•The extension line has been changed. The previous
telephone's settings have not be cleared.
Clear the settings and then program your desired
settings again. ( 2.7.14 Clearing the Feature Settings
at Your Extension (Station Programme Clear),
4.1.2 Initial Settings, 4.1.3 Customising the Buttons)
My digital proprietary telephone does
not have a function button. •Some models do not have the function button.
Change a flexible button to the desired button. (
4.1.3 Customising the Buttons)
Enter the specified feature number instead of the
function button. ( 2.1.1 Before Operating the
Telephones)

5.1 Troubleshooting
Appendix 193
I cannot make an outside call. •The telephone is locked.
Unlock your telephone. ( 2.5.5 Preventing Other
People from Using Your Telephone (Electronic Station
Lockout), 3.1.2 Changing the Settings)
•Toll restriction is activated.
Consult your manager or dealer.
•An account code is required. ( 2.2.5 Calling
without Restrictions, 4.1.4 Charge Fee Management
[Pre-assigned extension only])
•Nothing was dialled within 10 seconds after going
off-hook.
Hang up, off-hook and re-dial again.
A reorder tone is audible or
"Restricted" is displayed. •The telephone is locked.
Unlock your telephone. ( 2.5.5 Preventing Other
People from Using Your Telephone (Electronic Station
Lockout), 3.1.2 Changing the Settings)
•Toll restriction is activated.
Consult your manager or dealer.
•An account code is required. ( 2.2.5 Calling
without Restrictions, 4.1.4 Charge Fee Management
[Pre-assigned extension only])
I cannot make an outside call using
the One-Touch Dialling button or
speed dialling.
•A line access number was not stored.
A line access number is required for outside calls. (
2.2.1 Basic Calling, Refer to "Storing the names and
numbers for station speed dialling" in 2.9.3 Using the
KX-T7431, KX-T7433, KX-T7436 or KX-T7235,
4.1.3 Customising the Buttons)
I cannot remember the feature
numbers. Ask your dealer to change the feature numbers for
easier use.
Store the feature numbers into the One-Touch Dialling
buttons. ( 4.1.3 Customising the Buttons)
Redialling does not function. •The stored number was more than 24 digits or an
extension number. ( 2.2.3 Redial)
I do not want to show my
identification number to the calling or
called party's telephone.
• ( 2.7.6 Preventing Your Number Being Displayed on
the Called Party's Telephone (Calling Line Identification
Restriction [CLIR]), 2.7.7 Preventing Your Number
Being Displayed on the Calling Party's Telephone
(Connected Line Identification Restriction [COLR]))
I want to show my identification
number to the calling or called party's
telephone.
• ( 2.7.5 Automatic Selection of Calling/Connected
Line Identification Presentation (CLIP/COLP))
Problem Remedy

5.1 Troubleshooting
194 Appendix
I cannot send a call waiting tone to the
dialled extension. •The other party has not set the Call Waiting feature.
( 2.2.4 When the Dialled Line is Busy or There is No
Answer, 2.4.7 Answering a Call Waiting,
2.7.3 Receiving a Call Waiting (Call Waiting/Off-Hook
Call Announcement [OHCA]/Whisper OHCA))
•The other party has set Data Line Security.
consult your dealer.
I forgot the lock code/Live Call
Screening Password. Ask the Operator or manager to assist you. (
3.1.2 Changing the Settings)
The background music started
suddenly. Turn off the music. ( 2.7.10 Turning on the
Background Music, 3.2.2 Turning on the External
Background Music)
I do not want to display a number
which is stored in memory. Conceal the number. ( Refer to "Storing the names
and numbers for station speed dialling" in 2.9.3 Using the
KX-T7431, KX-T7433, KX-T7436 or KX-T7235,
4.1.3 Customising the Buttons)
The display does not show the
message described in the manual. •The telephone is not a Panasonic digital proprietary
telephone.
This manual shows messages which appear only on
Panasonic digital proprietary telephones (e.g. KX-
T7436).( 2.1.1 Before Operating the Telephones)
I want to confirm my extension
number and jack number. ( 4.2.1 Customising Your System)
The date and time are not correct. •Set the date and time by customising your system.
( 4.2.2 Date and Time Set (000))
The display is abnormal. •The lithium battery for memory back-up needs to be
replaced.
Consult your dealer.
I want to make distinctive the ringing
tones. ( 4.1.2 Initial Settings, 4.1.3 Customising the
Buttons)
The MESSAGE button light is lit. •There are three scenarios: (1) Someone left you a
message waiting indication, or (2) someone left you a
BV message, or (3) someone left you a voice mail
message. Press the button to call back or receive the
message.
"System Data Err 1" is displayed at
the operator 1's telephone. •There is a wrong system data with back up RAM for
master system.
Consult your dealer.
"Check Printer" is displayed at the
operator 1's telephone. •The printer is out of paper or is out-of-service.
Consult your manager or dealer.
"Voice Msg Full" is displayed. •Delete the voice messages stored in the company
and/or a personal message box. ( 2.5.1 Built-in
Voice Message)
Problem Remedy

5.2 Feature Number List
Appendix 195
5.2 Feature Number List
5.2.1 Feature Number List
Numbers listed below are the default settings. There are flexible feature numbers and fixed feature
numbers. If you change the flexible feature numbers, fill in your assigned numbers in the list for future
reference.
Note
FENOH: Floating Extension Number of Hunting Group
Feature Default Assigned no. Additional digits
Calling the operator 0
61
62
Automatic line access number/LCR 9
Outside line number 8 1-3
Calling a pre-set party by going off-hook/
cancelling/storing 74 1/0/
2+phone no.+#
Calling using the number stored at your extension
Storing the numbers 6
60
0-9
[0-9]+phone no.+#
Calling using the number stored in the system 000-499
Redialling the last phone number you dialled #
Reserving a busy line/Completing a call to a busy
party on an ISDN line 6Fixed
Cancel the reserving of a busy line 46
Sending a call waiting tone 2 Fixed
Leaving a message waiting indication/cancelling/
calling back/clearing a received indication 70 1+ext. no./0+ext. no./
2/0+your ext.no.
Joining an existing call 3 Fixed
Accessing the ISDN Key Pad Protocol service 729 Fixed
Picking up a call for someone else
— outside call
— group
— direct
4
40
41 ext. no.
Holding or retrieving a call 50
Retrieving from another extension
— outside call
— intercom call 53
51 1-6
ext. no.
Holding in a system parking zone or retrieving 52 0-9

5.2 Feature Number List
196 Appendix
Retrieving a call from a Telephone Answering
Machine 728
The extension Outgoing Message (OGM)/Timed
Reminder OGM
— recording
— replaying
— deleting
722
11/12
21/22
31/32
Replaying/deleting all voice messages
— replaying
— deleting 723
724
Leaving a voice message using the Direct
Message function 725 ext. no.
Paging, or paging then transferring
— all devices/all extensions/group
— external speaker 63
64 /0/1-8
Answering a paged announcement or an
incoming call through the speaker 44
Answering the paged announcement through
telephones 43
Receiving or refusing a call waiting tone or voice
no tone/tone/OHCA/whisper OHCA 731 0/1/2/3
Forwarding your call
— All calls/Busy/No answer/Busy, No answer
— to an external party
— cancel
— Follow Me/cancel
710 [2/3/4/5]+ ext. no.
6+line access
no.+phone no.+#
0
[7/8]+your ext. no.0
Refusing all calls (DND)
— forwarding to extension/operator/
no backup station
— cancelling
710
1+[ext. no./0/ ]
0
Forwarding calls from a hunting group/cancelling 714 1+forwarding
FENOH+destination
FENOH or ext.no./
0+forwarding FENOH
Refusing direct outside calls (DND for Intelligent
Call Handling 1:1 Call)/cancelling 56 1/0
Showing a message to the caller/cancelling 750 [1-9]+(parameter)/0
Joining the call hunting group/leaving 45 [1/0]+FENOH
Conference 3 Fixed
Calling with account codes 49 code+[# or 99]
Feature Default Assigned no. Additional digits

5.2 Feature Number List
Appendix 197
Temporary tone dialling #Fixed
Dialling a DND extension 2 Fixed
Setting the alarm/cancelling/viewing 76 1+time+
[0 (once)/1 (daily)]/
0/2
Selects the pre-assigned CLIP/COLP number on
the called/calling party's display
— CLIP
— COLP 726
727 group no.+[1/2]
Preventing your number being displayed on the
called party's telephone/showing/changing the
setting when making a particular call
57 2/0/1
Preventing your number being displayed on the
calling party's telephone/showing 58 1/0
Denying other people the possibility of
— seeing your call logs/Allowing
— using your telephone/Allowing
— picking up your calls/Allowing
— paging through the speaker/Allowing
— joining your conversation/Allowing
59
77
720
721
733
3 digit code twice/
stored code
3 digit code twice/
stored code
1/0
1/0
1/0
Day/Night service confirmation #Fixed
Switching the display — day, month, time/day,
month, year, day of the week Fixed
Parallelled telephones ring/do not ring 69 1/0
Switching the calling method (Ring/Voice) Fixed
Cancelling the feature settings 790
Calling the doorphone 68 1-3
Opening the door from a specified phone
from any extension while talking 55
5Fixed 1-3
Forwarding doorphone calls to outside parties
— setting/cancelling
— storing the phone number 716
715 [1-3/ ]+[1/0]
[0/1]+[1-3/ ]+line
access no.+phone
no.+#
Switching on an external relay 67
Setting to use the second ringer/cancelling 730 1/0
*Assigning level of service — primary/secondary 79 [1/3]+ext. no.
*Setting the Live Call Screening password/
cancelling 799 3 digit code twice/
stored code
Feature Default Assigned no. Additional digits

5.2 Feature Number List
198 Appendix
* Operator only
*Turning on/off the background music 65
Switching the Day/Night service
— automatic/to day/to night 78 0/1/2
*Recording an outgoing message/playing back 712 [1/2]+OGM no.
*Printing out the system working report/clearing 794 1/0
Feature Default Assigned no. Additional digits

5.3 Directory
Appendix 199
5.3 Directory
5.3.1 Directory
Extension
Jack
no.
1-1
1-2
2-1
2-2
3-1
3-2
4-1
4-2
5-1
6-1
7-1
8-1
Extension no. Name Jack
no. Extension no. Name

5.3 Directory
200 Appendix
System Speed Dialling
Speed
dial no.
000
001
002
003
004
005
006
007
008
009
010
011
012
013
014
015
016
017
018
019
020
021
022
023
024
025
026
027
028
029
030
031
032
033
034
035
036
037
038
039
040
041
042
043
044
045
Name Phone no.
Speed
dial no.
Name Phone no.
046
047
048
049
050
051
052
053
054
055
056
057
058
059
060
061
062
063
064
065
066
067
068
069
070
071
072
073
074
075
076
077
078
079
080
081
082
083
084
085
086
087
088
089
090
091

5.3 Directory
Appendix 201
Speed
dial no.
092
093
094
095
096
097
098
099
100
101
102
103
104
105
106
107
108
109
110
111
112
113
114
115
116
117
118
119
120
121
122
123
124
125
126
127
128
129
130
131
132
133
134
135
136
137
Name Phone no.
Speed
dial no.
Name Phone no.
138
139
140
141
142
143
144
145
146
147
148
149
150
151
152
153
154
155
156
157
158
159
160
161
162
163
164
165
166
167
168
169
170
171
172
173
174
175
176
177
178
179
180
181
182
183

5.3 Directory
202 Appendix
Speed
dial no.
184
185
186
187
188
189
190
191
192
193
194
195
196
197
198
199
200
201
202
203
204
205
206
207
208
209
210
211
212
213
214
215
216
217
218
219
220
221
222
223
224
225
226
227
228
229
Name Phone no.
Speed
dial no.
Name Phone no.
230
231
232
233
234
235
236
237
238
239
240
241
242
243
244
245
246
247
248
249
250
251
252
253
254
255
256
257
258
259
260
261
262
263
264
265
266
267
268
269
270
271
272
273
274
275

5.3 Directory
Appendix 203
Speed
dial no.
276
277
278
279
280
281
282
283
284
285
286
287
288
289
290
291
292
293
294
295
296
297
298
299
300
301
302
303
304
305
306
307
308
309
310
311
312
313
314
315
316
317
318
319
320
321
Name Phone no.
Speed
dial no.
Name Phone no.
322
323
324
325
326
327
328
329
330
331
332
333
334
335
336
337
338
339
340
341
342
343
344
345
346
347
348
349
350
351
352
353
354
355
356
357
358
359
360
361
362
363
364
365
366
367

5.3 Directory
204 Appendix
Speed
dial no.
368
369
370
371
372
373
374
375
376
377
378
379
380
381
382
383
384
385
386
387
388
389
390
391
392
393
394
395
396
397
398
399
400
401
402
403
404
405
406
407
408
409
410
411
412
413
Name Phone no.
Speed
dial no.
Name Phone no.
414
415
416
417
418
419
420
421
422
423
424
425
426
427
428
429
430
431
432
433
434
435
436
437
438
439
440
441
442
443
444
445
446
447
448
449
450
451
452
453
454
455
456
457
458
459

5.3 Directory
Appendix 205
Speed
dial no.
460
461
462
463
464
465
466
467
468
469
470
471
472
473
474
475
476
477
478
479
480
481
482
483
484
485
486
487
488
489
490
491
492
493
494
495
496
497
498
499
Name Phone no.

5.3 Directory
206 Appendix
Station Speed Dialling
NameNo.
0
1
2
3
4
5
6
7
8
9
NameNo.

5.3 Directory
Appendix 207
Quick Dialling
Quick dial no. Quick dial no.
Feature no. Feature no.
01
02
03
04
05
06
07
08
09
10
12
13
14
15
16
17
18
19
20
21
22
23
24
25
26
27
28
29
30
31
32
33
34
35
36
37
38
39
40
no.
11
41
42
43
44
45
46
47
48
49
50
52
53
54
55
56
57
58
59
60
61
62
63
64
65
66
67
68
69
70
71
72
73
74
75
76
77
78
79
80
no.
51

5.4 What is This Tone?
208 Appendix
5.4 What is This Tone?
5.4.1 What is This Tone?
While on-hook
When going off-hook
Ring Tones
Tone 1
• Incoming call from an
extension
• An outside call is held for
more than a specified time
(default: 60 seconds).
Tone 2
• Incoming call from an
external party
• An intercom call is held for
more than a specified time
(default: 60 seconds).
Tone 3
• Incoming call from a
doorphone
• The pre-set alarm time has
arrived.
Tone 4
• A reserved outside line or
extension became idle.
• A caller is leaving a
message in your mailbox
(Live Call Screening —
Private mode).
Tone 5
• Message Waiting tone for
Single Line Telephone
(SLT).
Dial Tones
Tone 1
Normal
1 s
1 s
1 s
1 s
5 s
1 s

5.4 What is This Tone?
Appendix 209
When you make calls
Tone 2
At least one feature has been
changed from the default
setting at your extension
(except for the Doorphone Call
Forwarding to CO Line
feature).
Tone 3
• The alarm is being
answered.
• Enter an account code to
turn off the tone.
Tone 4
Message Waiting is on.
Tone 5
A Voice Message was
received.
Tone 6
The rest of recording time
becomes less than 5 minutes.
Busy Tone
CCBS Tone
• The called party on an
ISDN line is busy
Reorder Tone
• The outside line you tried
to seize is not assigned or
denied.
• The wrong account code
was entered.
1 s
1 s
1 s
1 s
1 s
1 s
1 s
1 s

5.4 What is This Tone?
210 Appendix
During a conversation
When setting the features programming
Ringback Tone
Do Not Disturb Tone
The dialled extension is
denying incoming calls.
Indication Tones
Tone 1
Call waiting tone (default)
Tone 2
Call waiting tone from outside
Tone 3
Call waiting tone from another
extension
Tone 4
A call is held for more than a
specified time (default: 60
seconds)
Tone 5
Call hold tone
Confirmation Tones
1 s
1 s
15 s
5 s
5 s
15 s
1 s

5.4 What is This Tone?
Appendix 211
Tone 1
• Set/cancel to deny other
people the possibility of
using your phone.
• The new setting differs from
the previous setting by
personal programming.
• Completing the system
programming.
Tone 2
• The feature setting was
completed successfully.
• Before paging through an
external speaker
• The new setting is same as
the previous setting by
personal programming.
Tone 3
Before performing the following
features:
• Retrieving a held call
• Picking up another call
• Paging/Answering a
paged announcement
• Answering the call
through a speaker
Tone 4
Establishing or leaving a three-
party conversation
Warning Tone
• Your access to the voice
message resource by
using SOFT key is
rejected.
• An invalid entry was
made when you are
programmming and so
on.
1 s
1 s
1 s
1 s

5.5 Specifications
212 Appendix
5.5 Specifications
5.5.1 Specifications
General Description
Item Description
System Capacity Initial Maximum Connections*
Outside lines
Extension lines
DSS Console
Doorphone
Door Opener
External Relay
External Pager
External hold Music
Second Ringer Relay
RS-232C Port
2 ISDN (BRI)
(1 ISDN CO + 1 ISDN
CO/Extension, 4B
Channel)
12
(8DPT+4SLT)
4
1
(KX-T30865)
1
1
1
1
1
1
3 ISDN (BRI)
(1 ISDN CO + 2 ISDN
CO/Extension, 6B
Channel)
12
(8DPT+4SLT)
4
3
3
1
1
1
1
1
Control Method Stored Programme
Control ROM
Control RAM
MC68302 CPU 16 bit, 14.7 MHz
40 Mbit (Flash memory)
8 Mbit (SRAM)
Switching Non Blocking PCM Time Sharing Switch
Power Supplies Primary
Secondary 110 V AC-240 V AC, 50 Hz/60 Hz
Circuit Volt (+5 V, +26 V, -15 V)
Internal Dialling Pulse (10 pps, 20 pps), Tone (DTMF)
Connector ISDN (BRI) lines
Extension
Doorphone
RJ45 Modular Connector (8-pin)
Terminal Block
Terminal Block
Extension Cable Initial 2 Pair Wire (L, T, R,H) (Extension Port 1-4)
1 Pair Wire (L, H) (Extension Port 5-8)
SMDR (Station
Message Detail
Recording)
Interface
Interface
Output Equipment
Detail Recording
EIA (RS-232C) (D-SUB, 9-pin)
Printer
Date, Time, Extension Number, Call Duration,
Account Code
Station Loop Limit KX-T7431/KX-T7433/KX-T7436/KX-T7230/ KX-
T7235/KX-T7250
Single Line Telephones KX-T7310/KX-T7315
Doorphones
40
600 including set
20
Minimum Leakage
Resistance 15,000

5.5 Specifications
Appendix 213
System Data
Maximum Number
of Station
Instruments Per
Line
1 for a KX-T7431/KX-T7433/KX-T7436/KX-T7230/KX-T7235/KX-T7250 or a
single line telephone.
2 for by parallel connection of a digital proprietary telephone and a single line
telephone.
Ring Voltage 80 Vrms at 25 Hz depending on the Ringing Load
Primary Power 110 V AC-240 V AC, 50 Hz/60 Hz, 58 W (max.)
(When power is off by the power switch: 1.2 W)
Backup Batteries Total voltage: 24 V DC
Maximum current: 2.3 A
Central Office Loop
Limit 1,600 max.
Environmental
Requirements 0 °C-40 °C, 10 %-90 % relative humidity (no condensation)
Door Opener 60 V DC, 1 A (max.)/40 V AC, 1 A (max.)
Second Ringer
Relay 60 V DC, 1 A (max.)/40 V AC, 1 A (max.)
External Relay 60 V DC, 1 A (max.)/40 V AC, 1 A (max.)
* Install the KX-TD61280 for expansion of CO lines and the KX-TD61260/KX-TD61261 for expansion
of doorphones.
Item Maximum Quantity
Operator 2
System Speed Dialling 500
Station Speed Dialling 10 per extension
Call Park Areas 10
Toll Restriction Classes 8
Extension Groups 8
Class of Service 8
Hunting Group 32
Item Description

5.5 Specifications
214 Appendix

Index 215
Section 6
Index

6.1 INDEX
216 Index
6.1 INDEX
INDEX

Index
1
A
Absent Message 95
ABST MSG Off/Absent MSG Off 97
ABST MSG On 1-9/Absent MSG On (1-9) 96
ACCNT 47
Account 47, 172, 209
Alarm 108, 208
Alert 172
Alternate Calling - Ring/Voice 49
ANSWER 25, 164
At Ext %%% (extension no.) 95
AUTO ANSWER 25
AUTO DIAL 25
Automatic Callback Busy 39
Automatic Redial 37, 38
Automatic-Log 137
Automatic-Night Service 120
Automatic-Route Selection 2, 31
B
Back at %%:%% (Hour:Minute) 95
Background Music (BGM) 119, 160
BGM 119
BSS (Busy Station Signalling)/BSS 41
Built-in Voice Message 79
Busy 38, 39, 40, 41, 88
Busy Station Signalling (BSS) 41
Busy tone 209
Button 25, 172
By ISDN Line 88
C
C.BCK 39
C.Pickup GRP / C.Pickup Group 57
Call Forwarding 88, 152
Call Log 145, 148
Call Park 63
Call Park 0-9/Call Park (0-9) 66
Call Pickup 56
Call Pickup Deny 117, 173
Call Splitting 70
Call Waiting 41, 73, 112, 173
Call Waiting-Tone 73, 170, 210
Call-Duration 31, 60
Call-Information 31, 54, 137, 140
Calling Line Identification Presentation (CLIP)
114
Calling Line Identification Restriction (CLIR)
115, 173
Calling method 49
Call-Record 2, 140
Capacity 12, 212
CCBS Tone 209
Character 182
Charge Fee Management 176
Clearing-(Flexible) button data 175
Clearing-Initial setting 169
Clearing-Programmes 125
CLR 138, 176, 179
CO 24, 25, 31, 172
Completion of Calls to Busy Subscriber
(CCBS) 40
CONF 172
Conference 74
Confirmation 22, 180, 210
Connected Line Identification Presentation
(COLP) 114
Connected Line Identification Restriction
(COLR) 116, 173
Connection 17
COS Primary ext/COS Primary (ext) 157
COS Second ext/COS Second (ext) 157
D
Date 185
Day/Night 120, 122
DDI/CLIP key 172
Denying-Joining your conversation 118
Denying-Paged announcement 113
Denying-Picking up your calls 117
Denying-Retrieving your held calls 64
Denying-Using your telephone 98
Department code 176
Dial Tone 208
Digital Proprietary Telephone 22, 168
Direct Inward System Access (DISA) 51
Direct Message 79
Direct Outside Calls 111
Directed Call Pickup-Directory 199
Display 22, 23, 137, 141, 179
Display feature list 150
DND ( 0/*/ext) 110, 153
DND for Intelligent Call Handling 1:1 111, 173
Do Not Disturb (DND) 25, 110, 210
Door Open 128
Door Opener 126
Doorphone 16, 126, 208
Doorphone Call Forwarding to Outside Line
127, 173
DSS 25, 29, 172
E
Easy Dialling 32
Electronic Station Lockout 98
Emergency call 31
Exclusive Call Hold 64
Executive Busy Override 45
Executive Busy Override Deny 118, 173
EXT 143, 146
Ext-BGM On/Off / Extrn BGM On/Off 160
Extension 142, 145
Extension Group 56, 93, 100

Index
2
Extension-Customise 168
Extension-Dialling 141, 142, 144, 145, 146,
147, 148
Extension-Directory 199
Extension-Group 56, 100
Extension-Lock 98, 158
External Party 30
External Relay 135
eXtra Device Port (XDP) 17
F
FEAT 143, 146
Feature Access 142
Feature Number 22, 195
Features 145, 148
FENOH 89, 93, 99, 172, 173, 174, 196
Flash (FLASH) 25
Flexible CO 172
Follow Me 88
Forwarding Calls 93
Full One-Touch Dialling 169
Function 25
FWD/DND 152, 172
FWD/DND Cancel 110
FWD-All Calls (ext) 130
FWD-BSY N/A (ext) 130
FWD-Busy (ext) 130
FWD-No Answer (ext) 130
G
Gone Home 95
Group Call Pickup 56
H
Handset 170
Handset Mute 77
Hands-free Answerback 55
Hands-free mode 131, 170
Hands-free operation 29, 31, 54
Headset 170
Hold (HOLD) 26
Hunting Group 93, 99
Hurry-Up/Hurry-Up Transfer 159, 172
I
Icon 4, 24, 180
Identification number 114, 115, 116
In a Meeting 95
Incoming Call Log 54, 137, 158
Indication Tone 131, 210
Initial Display 137
Initial Settings 169
Intelligent Call Handling 186
INTERCOM 25
Intercom Alert 170
Intercom Call 29, 142, 170, 208
ISDN Extension 28
J
Jack number 179
Joining-An existing call 45
K
Key Click Tone 170
L
Leaving-Conference 75
Leaving-Message waiting indication 42
Line-Access number 30
Line-Name 54, 137
Line-Outside line 12, 30
Live Call Screening (LCS) 131, 158, 170, 172,
208
Location 13
Lock 98, 158
Log 140
Log-In/Log-Out 99, 172
Loop-CO 25, 31, 172
M
Mailbox 129
Making Calls 141, 142, 144, 147
Making Calls-Account Codes 47
Making Calls-Call log 137, 145, 148
Making Calls-Doorphone 126
Making Calls-From the Outside 51
Manager 165
Manual Night Service 120
MESSAGE 25, 172
Message 42, 79, 95, 131
Message Waiting 39
Microphone 77
Microphone Mute 77
MODE 25
Monitoring 131
MSG Off ext / Message Off (ext) 42, 43
MSG On ext / Message On (ext) 42, 43
Mute (MUTE) 25, 77
N
Name 13
Name-Extension 189
Name-Outside line 54, 137
Name-Station Speed Dialling 149
New 137
Night 173
Night Mode 0-2 /Night Auto/On/Off (0-2) 120
No Answer 39, 88, 129
Notebook Function 76

Index
3
O
Off-Hook Call Announcement (OHCA) 41, 73,
112
Off-Hook Monitor 78
OLD 137
One-Touch Dialling 32, 169, 172
One-Touch Transfer 72
Opening the door 128
Out until %%/%% (Month/Day) 95
Outgoing message (OGM) 51, 79, 161
Outside 30, 51, 56, 70, 73, 88, 110
Outside (CO) Call Pickup 56
Over 46, 48
Overlay 178
P
Page E-ANS 1-4 /Page-Ext Answer (1-4) 58,
106
Page Extrn 0-4 /Paging External (0-4) 100
Page-GRP ANS/Page-GRP Answer 107
Paging 100, 211
Parallel 1/0 /Parallel On/Off (1/0) 124
Parallelled telephone 17, 123, 173
Password 132, 158
PAUSE 25
Personal Computer 16
PF 172
Phantom 32, 172, 175
Picking up 57, 211
Pickup Dialling 34, 173
Power Failure 212
Preferred Line 169
Print out 2, 165
Private mode 131, 170, 208
PROGRAM 25
Q
Quick Dialling 35
Quick Dialling(Directory) 207
R
RECALL (for DPT) 25
Recall (for SLT) 24
Receiving calls-Hands-free 54, 55
Receiving calls-Mailbox 129, 131
Recording-Call log 140
Recording-Conversation 134
Recording-Outgoing message 161
Redial (REDIAL) 25, 37, 145, 148
Redial, Automatic 37
Redial, Last Number 37
Redial, Saved Number 38
RELEASE 25, 164
Remote Station Lock Control 158
Reorder Tone 209
Restarting 19
Restriction 23, 47, 115, 116
Ring 49, 170, 208
S
SAVE 172
Saving a number 76
Second Ringer 136
SECRET 174, 186
SEL 176
SELECT 25, 182
SHIFT 25
Single line telephone 16, 17
Soft 26
Speaker 16, 58, 100
Specifications 212
STA 143, 145
STA Speed 145, 148
Station Message Detail Recording (SMDR) 2,
176
Station Speed 142
Station speed dialling 32, 141, 143, 145, 146,
148, 149
Station speed dialling(Directory) 206
STORE 25
SYS Speed 145, 148
System Feature Access 142, 143, 145, 146,
148
System Speed 142
System speed dialling 33, 142, 143, 145, 146,
148
System speed dialling(Directory) 200
System speed dialling/Intelligent Call Handling
186
System speed dialling/Intellingent Call Han-
dling 188
System Working Report 165
T
Telephone 2, 16, 17, 24
Terminate 173
terminate 31
Three-party Conversation 211
Time 137, 185
Timed Reminder 108
Tone 49, 208
TRANSFER 26
Transferring 71, 104, 130
Troubleshooting 192
Trunk Answer From Any Station (TAFAS) 58
Two-Way Recording 134, 172
Two-Way Transfer 134, 172
U
Unlock 98, 158

Printed in Japan PSQX2065ZA KK1100EB0
Copyright:
This manual is copyrighted by Kyushu Matsushita Electric Co., Ltd. (KME).
You may print out this manual solely for internal use with this model.
Except above, you may not reproduce in any form, in whole or part,
without the prior written consent of KME and its licensee.
2000 Kyushu Matsushita Electric Co., Ltd. All Rights Reserved.
This Equipment complies with the essential requirementsof the Directive 1999/05/EC Radio
and telecommunicationsterminal equipment directive.
Panasonic Business Systems U.K.
Panasonic House, Willoughby Road, Bracknell,
Berkshire RG12 8FP
