Paradyne Dc Power Entry Module 8820 S1 906 Users Manual Replacement For The Broadband Access Concentrator S S2 903 And Installation Ins
8820-A2-GZ45-20 8820-A2-GZ45-20
8820-A2-GZ45-20 8820-A2-GZ45-20
8820-S1-906 to the manual 25656b18-3970-4653-b953-9a14bd76d5dd
2015-02-06
: Paradyne Paradyne-Dc-Power-Entry-Module-8820-S1-906-Users-Manual-516495 paradyne-dc-power-entry-module-8820-s1-906-users-manual-516495 paradyne pdf
Open the PDF directly: View PDF
.
Page Count: 4

8820-A2-GZ45-20 October 2004 1
Replacement DC Power Entry Module
for the 8820 Broadband Access Concentrator
Models 8820-S2-903 and 8820-S1-906
Installation Instructions
Document Number 8820-A2-GZ45-20
October 2004
DC Power Entry Module for the 8820 BAC
The plug-in Power Entry Module (PEM) is used in the 8820 Broadband Access
Concentrator (BAC), model 8820-A2-5xx, to provide 48 V or 60 V power isolation
and distribution, overcurrent protection, and power filtering and monitoring. The
Model 8820-S2-903 PEM accepts –48 VDC, and the Model 8820-S1-906 PEM
accepts –48 VDC or –60 VDC.
Figure 1. 8820 Broadband Access Concentrator
The 8820 BAC is shipped with two PEMs installed.
The PEM consists of a printed wiring board (PWB) attached to an L–shaped
faceplate. The PWB holds the electronic circuitry, including a faceplate–mounted
circuit breaker and power input connectors. The PEMs mate with connectors on
the backplane of the BAC. The L–shaped faceplate provides a shelf for dressing
and protecting the wiring and serves as a handle for insertion and removal.
Two PEMs (with separately fused power sources) are always required to provide
power redundancy. When installed in the chassis:
The module on the left is identified as PEM A and handles the A power source.
The module on the right is identified as PEM B and handles the B power
source.
00-16543-01
Power
Entry
Modules
ALARMS
MajorMinor
Fan
BA
POWER
SERIAL
SMCM
CLOCK
A
ALARM
24681012141618
135
7911131517
LAN/WAN SLOT
B
CLOCK
B
A
SERIAL
MCC
AC
ALARM
48V RTN
48V NEG
POWER ENTRY MODULE
LEFT UNIT: LINE A
RIGHT UNIT: LINE B
WARNING!
POWER MUST BE DISCONNECTED AT THE SOURCE
BEFORE REMOVING OR INSTALLING THIS PWR ENTRY MODULE
48V RTN
48V NEG
POWER ENTRY MODULE
LEFT UNIT: LINE A
RIGHT UNIT: LINE B
WARNING!
POWER MUST BE DISCONNECTED AT THE SOURCE
BEFORE REMOVING OR INSTALLING THIS PWR ENTRY MODULE
DSL
SYSTEM
OK
Alm
Test
ETHERNET
TX
RX
Coll
DSL PORT
1
2
3
4
MCP
SYSTEM
OK
Alm
Test
ETHERNET
TX
RX
Coll

2 October 2004 8820-A2-GZ45-20
Wiring the PEM
HANDLING PRECAUTIONS FOR
STATIC-SENSITIVE DEVICES
This product is designed to protect sensitive components from damage
due to electrostatic discharge (ESD) during normal operation. When
performing installation procedures, however, take proper static control
precautions to prevent damage to equipment. If you are not sure of the
proper static control precautions, contact your nearest sales or service
representative.
Each PEM is equipped with an internal 35 amp (Model 8820-S2-903) or 40 amp
(Model 8820-S1-906) circuit breaker. Two separate, unswitched, individually fused
power sources, each capable of safely handling this load, are required for power
redundancy.
The PEMs require 8 AWG wire for their power connections. If stranded wire is
used, do not solder–coat the ends of the wires as this could weaken the
connections.
Although power may be connected to the front of the PEMs, it is recommended
that these connections be made at the rear of the chassis. Either way will work, but
all power inputs must be made either to the front or to the rear of the chassis, not
both.
NOTE:
Both PWR A and PWR B must be powered, else the management card alarm
will be activated.
Figure 2. PEM with Internal Power Terminals
!
SERIAL
SMCM
CLOCK
A
ALARM
24681012141618
135
7911131517
LAN/WAN SLOT
B
CLOCK
B
A
SERIAL
MCC
AC
ALARM
48V RTN
48V NEG
POWER ENTRY MODULE
LEFT UNIT: LINE A
RIGHT UNIT: LINE B
WARNING!
POWER MUST BE DISCONNECTED AT THE SOURCE
BEFORE REMOVING OR INSTALLING THIS PWR ENTRY MODULE
48V RTN
48V NEG
POWER ENTRY MODULE
LEFT UNIT: LINE A
RIGHT UNIT: LINE B
WARNING!
POWER MUST BE DISCONNECTED AT THE SOURCE
BEFORE REMOVING OR INSTALLING THIS PWR ENTRY MODULE
00-15326a-02
PEM
Circuit
Breaker
48V RTN
48V NEG
POWER ENTRY MODULE
LEFT UNIT: LINE A
RIGHT UNIT: LINE B
WARNING!
POWER MUST BE DISCONNECTED AT THE SOURCE
BEFORE REMOVING OR INSTALLING THIS PWR ENTRY MODULE
O
PEM
APEM
B

8820-A2-GZ45-20 October 2004 3
WA R N IN G S:
It is recommended that the following procedure be performed by a
qualified electrician.
The 48 VDC or 60 VDC power must be disconnected at its source before
attempting to connect wiring to the PEM. Do not remove wired PEMs
without first disconnecting the power at its source.
You need a Phillips screwdriver to remove the PEM from the BAC.
Removing the PEM from the BAC
Procedure
1. Ensure that the power is disconnected at the source.
2. Open the PEM circuit breaker (power off).
3. Remove the PEM to be wired from the chassis by unfastening the two screws
from the PEM faceplate. Save these screws since they will be needed when
the wired PEM is reinstalled into the chassis.
4. Grasp the flange on the extended shelf at the bottom of the PEM faceplate.
5. Pull the module toward you until it is disengaged from the backplane, and then
carefully slide the PEM out of the chassis.
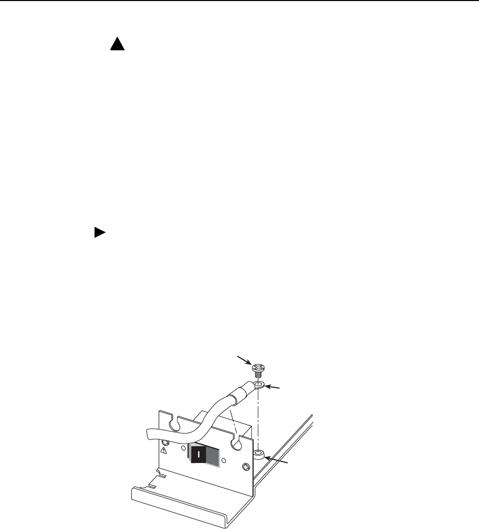
6. Remove the two M4 Phillips–head screws installed in the power taps located
on the left and right side of the PEM wiring board. Also remove the two split
cable bushings from the PEM faceplate if they are installed.
!
00-16713
48V RTN
48V NEG
POWER ENTRY MODULE
LEFT UNIT: LINE A
RIGHT UNIT: LINE B
WARNING!
POWER MUST BE DISCONNECTED AT THE SOURCE
BEFORE REMOVING OR INSTALLING THIS PWR ENTRY MODULE
O
Ring Tongue
Terminal
M4 Phillips-head
Screw
Power Tap

4 October 2004 8820-A2-GZ45-20
Installing the Replacement Power Entry Module in the 8820 BAC
Procedure
1. Apply the supplied compression–type ring tongue terminals to the #8 AWG
power wires. Use the Molex Magna Crimp Hand Tool (Part No. MCT–8200).
2. Fasten the #8 AWG wires, with their ring tongue terminals properly installed, to
the power taps using the M4 Phillips-head screws.
— Connect the negative wire to the power tap on the right (48V NEG is
printed on the front of the PEM’s faceplate).
— Connect the return or positive wire to the power tap on the left
(48V RTN is printed on the front of the faceplate).
Tighten the M4 screws securely to the power taps while keeping the ring
tongue terminals and their wires dressed parallel to the board and
perpendicular to the faceplate.
3. Feed and dress the power wires through the notched holes at the top of the
PEM’s faceplate.
4. Slightly spread open the split cable bushings and slip them over each wire and
into the holes at the top of the faceplate. Press on the cable bushing to snap it
into the faceplate.
5. Slide the PEM into the chassis using the nylon card guides.
6. Secure the PEM to the chassis using the mounting screws removed from the
PEM.
Warranty, Sales, Service, and Training Information
Contact your local sales representative, service representative, or distributor
directly for any help needed. For additional information concerning warranty, sales,
service, repair, installation, documentation, training, distributor locations, or
Paradyne worldwide office locations, use one of the following methods:
Internet: Visit the Paradyne World Wide Web site at www.paradyne.com.
(Be sure to register your warranty at www.paradyne.com/warranty.)
Telephone: Call our automated system to receive current information by fax
or to speak with a company representative.
— Within the U.S.A., call 1–800–870–2221
— Outside the U.S.A., call 1–727–530–2340
.
*8820-A2-GZ45-20*
Copyright © 2004 Paradyne Corporation. Printed in U.S.A.