HY GAIN HDR 300AX ROTATOR
User Manual: Pdf HY-GAIN--HDR-300AX-ROTATOR
Open the PDF directly: View PDF
.
Page Count: 37

HDR-300A
Heavy Duty Rotator System
Instruction Manual
TABLE OF CONTENTS
Page
CHAPTER 1 - INSTALLATION AND OPERATION .........................................................1-1
Section I. Components of the HDR-300/A Rotator System ..................................................1-1
Gear Motor Assembly..............................................................................…........................... l-1
Control Console.......................................................................................…............................1-1
Tower Compatibility ..............................................................................…........................... 1-2
Antenna Compatibility............................................................................…............................1-2
Section II. Specifications ........................................................................................................1-3
Section III. Pre-Installation Instructions................................................................................. l-4
Pre-Installation Check...........................................................................….............................1-4
Section IV Voltage Conversion.............................................................................................. l-9
Section V Calibration and Installation Procedures..............................................................1-12
Calibration........................................................................................…................................1-12
Installation........................................................................................…................................1-12
Section VI. Operations and Maintenance.............................................................................1-15
Operations .......................................................................................….................................1-15
Use the Digital Readout System......................................................…................................1-16
Maintenance .....................................................................................…................................1-16
CHAPTER 2 - TROUBLESHOOTING AND SERVICE INFORMATION.......................... 2-1
Section 1. Troubleshooting .................................................................................................... 2-1
Section II. Voltage and Resistance Measurements..................................................................2-5
Voltage and Resistance Charts............................................................................................2-5
Section III. How to Get Factory Service................................................................................ 2-6
Service Information ........................................................................................................... 2-6
CHAPTER 3 - HDR-300/A PARTS LIST AND SCHEMATICS.......................................... 3-1
LIST OF ILLUSTRATIONS
Fi
g
ure Pa
g
e
1 Control Console Rear Panel ...................................................................................1-4
2 Socket Contact Application ....................................................................................1-5
3 Control Cable Connector Attachments...................................................................1-7
4 Control Cable - Rotator Wirin
g
Guide................................................................... l-8
Detail A-Actuator Shown in the "000" Position ................................................1-8
5 Solenoid and Potentiometer Wiring Guide.............................................................1-9
6 Wiring for 115 VAC .............................................................................................1-10
7 Wiring for 230 VAC ............................................................................................. 1-11
8 HDR-300/A Rotator Mounting Hardware............................................................1-13
9 Top View of HDR-300/A and Tower Mounting Plate fo
r
Hy-Gain Crank-Up Towers HG-54HD and HG-70HD.................................... 1-14
10 T
yp
ical Installation of Rotator Mounted Below Plate .......................................... 1-14
11 Gear Motor Assembly with Cover ......................................................................... 3-4
12 Output Gear and Shaft Assembly........................................................................... 3-4
13 Gear Motor Assembly - Side View ........................................................................ 3-5
14 Gear Motor Assembly - Top View ......................................................................... 3-5
15 Gear Motor Schematic............................................................................................3-6
16 Steel and Fiber Gears.............................................................................................. 3-6
17 Exterior View - Control Console............................................................................ 3-7
18 Interior View of Control Console........................................................................... 3-7
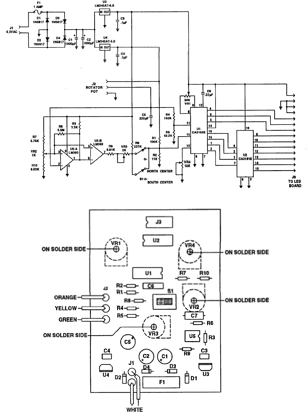
19 Schematic Main P.C. Board .................................................................................... 3-8
20 Main P .C. Board...................................................................................................... 3-8
21 Components and Wiring of Main PC. Board ........................................................ 3-9
22 Schematic of Display PC. Board ......................................................................... 3-10
23 Display P.C. Board ................................................................................................ 3-10
24 Components of Display PC. Board - PN 871166-1 ........................................... 3-11
25 Rear Mounted Components - Front Panel of Control Console ........................... 3-11
PLEASE RECORD THE FOLLOWING INFORMATION FOR YOUR RECORDS:
Date of Purchase:_______________________________________________
Purchased From:________________________________________________
Price Paid:____________________________________________________
Serial Number (on Gear Motor):___________________________________
CHAPTER 1
INSTALLATION AND OPERATION
Section I. Com
p
onents of the HDR-300/A Rotator S
y
stem
General Description
Gear Motor Assembl
y
The HDR 300/A Rotator is a compact, high torque
antenna rotator that can be used for positioning
large antenna systems. The gear train is
constructed of heavy steel-spur gears for maximum
strength and reliability. To provide for quiet,
vibration free operation, a fiber drive gear from the
motor is used. An aluminum housing reduces
weight and helps prevent corrosion. The gears are
lubricated with a low temperature grease that is
stable from -60°F to 280°F The HDR-300/A also
features a new 17-4 PH stainless steel heattreated
output shaft for increased corrosion resistance and
increased wear resistance.
Azimuth indication is provided by a 3-turn, 1000
ohm wire wound potentiometer that is geared to
the rotator output shaft. An analog output is ob-
tained by a varying DC voltage as the rotator is
turned. Because a 3-turn potentiometer is used,
the amount of over-travel can be as great as 180°
without damage to the potentiometer. However,
the over-travel is limited to approximately 20° by
the limit switches. This gives a maximum travel
of 400°. Ferrite beads have been added to the
wires on the potentiometer to reduce susceptabil-
ity to high-power RF
General Descri
p
tion
The gear train is driven by a 1/10 HP permanent
magnet split capacitor motor. The motor is sup-
plied with 24 VAC, 50/60 Hz, single phase power
through one of two limit switches. Gear motor
stall torque at 70°F typically exceeds 5000
inch/pounds. Full load torque exceeds 2300
inch/pounds. The motor contains a thermal over-
load circuit breaker which will not allow the mo-
tor to operate if it is too hot. The breaker will
automatically reset after the motor cools down.
This usually takes 5 to 15 minutes depending
upon ambient temperature. The gear motor will
operate reliably from -30°F to +120°F
The HDR-300/A Rotator has a low voltage sole-
noid brake/clutch assembly. This assembly is in-
stalled on the motor shaft and prevents gear
damage by slipping when the braking torque or
brake-holding torque exceeds 7500 inch/pounds.
This value may drop if the clutch is allowed to
slip several times. The braking torque and brake-
holding torque will always be greater than 5000
inch/pounds unless the rotator system is subjected
to misuse, neglect or incorrect wiring.
Control Console
The Control Console actually consists of two
separate systems. The first system supplies 24
VAC to the motor. The second system supplies 5
VDC to the azimuth potentiometer and receives
the analog signal from the potentiometer which is
converted into seven segment LED's digital form
and displayed on the front panel.
The 24 VAC transformer comes wired for 115
VAC, although it can be easily rewired for 230
VAC operation. Power is supplied to the rotation
control switch through the brake control switch.
Before the antenna can be turned the brake must
be in the "FREE" position. This also permits the
operator to allow the antenna to coast to a stop
before locking the brake. This will prevent the
brake/clutch assembly from slipping under high
torque conditions. The brake switch has a re-
minder light to tell you that the antenna is free to
rotate.

When the power switch is turned on, 5 VDC is
supplied to the potentiometer in the rotator. As the
rotator is turned from 0° to 360°, output voltage
from the potentiometer is varied from .833 to
2.500 VDC. This analog voltage is compared to a
reference voltage and finally converted into a
digital format for display purposes. The display
system is capable of displaying -99° to +999°,
although the limit switches on the rotator limit the
rotation from -20° to +380°. Potentiometers are
available through the back plate for zero and gain
calibration.
A new main PC Board, P/N 871165-2, and a
small adjustment to the position of the 3-turn po-
tentiometer allows the HDR-300/A to operate as a
North-centered or South-centered antenna rotator.
Tower Com
p
atibilit
y
The HDR-300/A is a large, heavy-duty antenna
rotator; therefore it is meant to be installed in
towers capable of withstanding near the maxi-
mum wind loading capacity of this rotator, which
is 25 square feet (2.3 sq. meters). The HDR300/A
may be installed in smaller and mediumduty
tower structures, but the installation will be more
difficult and in some cases will degrade the
operation of some features of the tower.
We recommend that you install this rotator in a
tower that is rated for at least 15 square feet of
wind area. For towers with wind loading capaci-
ties of less than 15 square feet, either the T2X
"Tailtwister" or Ham IV may be installed easily
and operated safely.
This new main PC Board has (4) four trim pots
and one 2 position slide switch. The two new trim
pots affect how the rotator switches from 359
degrees to 000 degrees while in the Northcentered
mode of operation. The slide switch selects either
North-center or the original South-center
operation. Choose whether you wish to use the
rotator in North or South-centered operation. If
you want South-centered operation, place the
switch in the right (open) position. If you want
North-centered operation, place the switch in the
left (closed) position.
Antenna Com
p
atibilit
y
As stated earlier, the HDR-300/A is a large,
heavy-duty antenna rotator, and as such, should
be used primarily in systems that require this ca-
pacity. For antenna systems that exhibit less than
15 square feet of wind area, the HDR-300/A is
NOT required. The Ham IV may be used to turn
wind areas up to 15 square feet and the T2X
"Tailtwister" may be used to turn wind areas up to
20 s
q
uare feet.
Alternatively, do not exceed the maximum wind
area capacity of this rotator (25 square feet).
Also, the wind area ratings of antennas with
boom lengths longer than 30 feet are not valid to
use when selecting a rotator. Long-boom yagi or
logperiodic antennas require more braking and
turning torque than shorter antennas with the
same wind area.
NOTE: The maximum antenna area of 25 square
feet is only valid if no antenna boom is more than
30 feet long and all elements are less than 50 feet
lon
g
.

Section II. Specifications
Control Cable Requirements:
Recommended
Length of Run Minimum for Maximum Torque
0-100 Feet: two #18 and six #22 AWG two #16 and six #18 AWG
Bertek 6308-18 or Belden Belden 9405
8448
100-200 Feet: two #16 and six #18 Belden seven #14 Belden 8628
9405
200-300 Feet: seven #14 Belden 8628 Itwelve #14 Belden 8629
CAUTION:
Before purchase of the control cable is made, consideration
should be taken to the wire size and O.D. of the cable in
comparison to the connectors being used.

Belden 9495 (3-#14 AWG) and Belden 8489 (4-
#18 AWG) can be used in place of Belden 8628.
Also, Belden 8620 (4-#16 AWG) and 3-#12
hook-up wire can be used in place of Belden
8629.
Use the Effective Moment rating of the anten-
nas to determine com
p
atibilit
y
.
The three large wires are used on pins 1, 2, and
3. The four smaller wires are used on pins 4, 8,
9, and 10. The maximum resistance in the three
large wires should not exceed 0.5 ohms each.
Section III. Pre-Installation Instructions
Pre-Installation Check
It is required that a preliminary operational check
be made on the rotator system prior to actual in-
stallation. First, check each item against the Parts
List. If any of these items are missing or
damaged, follow the instructions on our warranty
label.
Next, set up the control unit and the rotator as-
sembly for an operational check using the
following procedure:
STEP l: Determine if you wish to operate this
unit on 115 VAC or 230 VAC. The
HDR-300/A comes prewired for 115
VAC, but can be easily modified for
230 VAC operation. If 230 VAC
operation is desired, go to Section IV
before returning to Step 2.
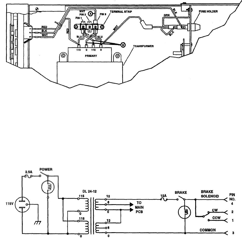
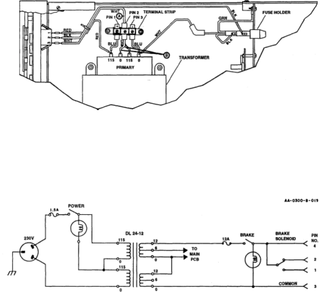
Figure 1
Control Console Rear Panel

STEP 2: Referring to Figure 1, Control Console
Rear Panel, install a 2.5A fuse (1.5A
for 230 VAC) and a 12A fuse in the
a
pp
ro
p
riate fuse holders.
STEP 3: With the Control Console setting on a
suitable workbench, plug the power
cord into the a
pp
ro
p
riate wall socket.
STEP 4: Turn the power switch on. The switch
light should come on and stay lit until
turned off. The LED digital readout
should also come on. You will notice
that the digits will change for a
second or two until the system has
stabilized. Once stabilized, the display
should read between "-85" and "-99"
or "---". All of these are under-range
indicators showing that the control
cable has not been plugged in. The
over-range indicator is "EEE". This
will occasionally appear during
stabilization, but should not stay on
unless there is a wiring mistake. Turn
the
p
ower switch off.
Moisten the sheath with isopropyl al-
cohol. Align the contact with the back
of the cavity and insert it straight into
the appropriate cavity until bottomed.
Remove the sheath from the front of
the recetpacle and use on the other
contacts.
Repeat for each contact. pull back
lightly on each conductor to be sure
each contact is locked in each cavity.
Once locked in place, the contacts may
only be safely removed with an extrac-
tion tool. This tool consists of a tube
with an OD of 0.129 and an ID of
0.115. When inserted over the contact
from the front side, this tool compres-
ses the locking tabs, permitting easy
removal.
STEP 6: Plug the 8 pin connector into the rotator
rece
p
tacle.
STEP 5: Measure out the control cable required
for your installation. (See Specifica-
tions.) Stretch the cable out to its full
length when testing. Strip the wires on
both ends as shown in Figure 2.
Attach one end to the 10 pin
connector and the other end to the 8
Attach the other wire ends to the AMP
socket contacts, Figure 2. The maxi-
mum wire size that should be used
with these is 14 AWG, with a maxi-
mum insulation diameter of 0.135
inch. Crimp and solder these socket
contacts securely to each wire.
Before inserting a socket contact into
the receptacle, install the AMP seal
protector (sheath) (PN 650294) in the
socket portion of the contact as shown
in Fi
g
ure 2. Figure 2
Socket Contact A
pp
lication

STEP 7: Plug the 10 pin connector into the con-
trol console. Turn on the control con-
sole power switch. The digital readout
should show a heading between -10
and 010 degrees. If it doesn't, refer to
Chapter 2, Section I, Troubleshooting
guide. Final calibration will take place
in Section V
STEP 8: Set the rotator so that the cover is facing
you. Move the brake switch on the
control console to the "FREE" posi-
tion. The switch should light up, indi-
cating that the antenna is free to turn.
You should also hear the solenoid re-
lease the brake and the solenoid will
make a humming noise which is nor-
mal.
STEP 9: Set the rotator so that the output shaft is
facing you. Move the rotate switch on
the control console to the ri
g
ht.
NOTE: The brake must be in the "FREE" position
b
efore the rotate switch will o
p
erate.
The output shaft should rotate clockwise. If not,
refer to Chapter 2, Troubleshooting. Move the ro-
tate switch back to the center position. The output
shaft should coast to a sto
p
.
Move the rotate switch to the left. The output
shaft should rotate counterclockwise.
North-Center Calibration:
Place the gearmotor assembly ( P/N 871159) on
your bench, and attach your control cable to both
the control unit and the gearmotor unit. Turn on
the control unit and rotate the gearmotor fully
CCW If South-centered, the display should read
a
pp
rox. -15 de
g
rees.
If North-centered, the display should read approx.
165 degrees. If not, adjust the ZERO pot for this
value. Once you have the correct display, rotate
the gearmotor fully CW. If South-centered, the
display should read approx. 375 degrees. If
North-centered, the display should read approx.
195 degrees. If not, adjust the GAIN pot for this
value. If you are using South-centered operation,
this completes the adjustments on the bench.
If you are using North-centered operation, rotate
CCW until you reach a display of `000'. As you
rotate further CCW the display should change to
`359','358', etc. You can expect some ambiguity
near the switchover from `359' to `000'. Try ro-
tating both directions near this point, and watch
the display. If there is a large jump (e.g. from
`355' to `002') or an overlap (e.g. from `359' to `-
007'), you will need to adjust the two lower pots
marked "-01/3XX" and "3XX". Rotate to where "-
O1" is displayed. If "-O1" can not be obtained,
rotate to the closest positive heading (e.g. "00" or
"O1"). This may require quick reflexes on the
brake switch. Adjust the new pot marked "-
01/3XX" until "-O1" is replaced by "3XX", where
"X" may be any digit. Adjust the new pot marked
"3XX", so that "359" is displayed.
You may now rotate plus and minus a few de-
grees to check the operation of the 359/000
switchover. You may notice that the operation is
slightly different between CW and CCW (hyster-
esis). Occasionally you will see either "360" or "-
O1". This is normal! This completes the bench
adjustments for North-centered operation.
Leave your gearmotor at the center of rotation,
and install it within your tower.

Figure 3
Control Cable Connector Attachments

DETAIL A
Actuator Shown in the "000" position.
Figure 4
Control Cable-Rotator Wiring Guide

Figure 5
Solenoid and Potentiometer Wirin
g
Guide
Section IV Volta
g
e Conversion
CAUTION:
Dangerous and lethal voltage exist inside
this unit. Remove the power cord from the
socket before servicing this unit.
To convert the voltage of this unit, follow the
procedure below and Figure 5 for 115 VAC, or
Fi
g
ure 6 for 230 VAC.
Refer to Figure 1 and install the fuse indicated for
the volta
g
e that will be used.
Replace the power cord's plug with the appropri-
ate one for the power system requirements in your
area.
Arrange the three white wires indicated with A
and B to the configuration shown for the desired
volta
g
e.

115
Figure 6 Wiring for
115 VAC

AA-0300-9-011
230
Figure 7 Wiring for
230 VAC
Section V Calibration and Installation Procedures
Calibration Installation
The HDR-300/A is shipped from the factory
with two calibration steps completed. The 3-turn
potentiometer is matched to the rotator assembly
and the di
g
ital dis
p
la
y
is calibrated to zero.
It these items are replaced or become un-
calibrated, refer to Chapter 2, Section III for
calibration procedures.
Only one calibration step should normally have
to be performed. This is a gain adjustment to the
digital voltmeter incorporated into the display
circuitry. This adjustment can be made either
with the rotator installed or on the bench. The
best method is to adjust it on the bench first, then
check it again on the tower!
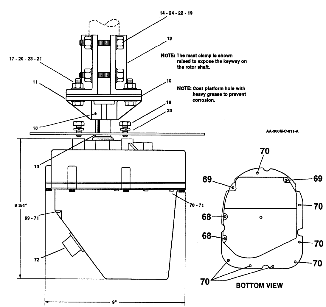
Set the rotator on the bench with the output shaft
parallel to the bench top. Assemble the mast
clamps and platform as shown in Figure 7. Insert
the key into the keyway in the platform, and
slide the mast clamp assembly onto the output
shaft. This may unbalance the rotator, so you
may wish to tip it back on the plastic housing.
Turn on the control console and turn the rotator
so the display reads "00". Line up the mast
clamp assembly on a distant object, so that after
turning the rotator through 360°, the mast clamp
assembly is again lined up on the same object.
Turn the rotator clockwise until this alignment is
obtained. Using a small screwdriver, adjust the
gain potentiometer so that the display reads
"360", See Figure 1.
Remove the mast clamp assembly from the out-
put shaft. At this time, coat the platform hole
with heavy grease to prevent corrosion. If your
rotator mounting plate is not permanently
attached to the tower, it should be removed at
this time. Assemble the rotator to the rotator
mounting plate. (For Hy-Gain towers see Figures
7 and 8.) The rotator requires four (4) mounting
holes, each 3/8 inch in diameter, four (4) inches
apart on a 5.656 inch (5 21/32") diameter circle.
Refer to the template for mounting hole locations
on the mounting plate which is furnished in this
manual. For small towers, the mounting holes
must be arranged on the mounting plate so that
the output shaft is centered within the tower ant
that the gear housing doesn't interfere with a
tower leg or bracing.
Turn the rotator back to "000" to check the align-
ment again. If "360" cannot be obtained by ad-
justing the gain potentiometer, refer to Chapter 2,
Troubleshooting. Turn the rotator both
counterclockwise and clockwise until each limit
switch is found. The counterclockwise limit
switch should be between -10 and -25 degrees.
The clockwise limit switch should be between
370 and 385 degrees. Return the rotator to "000".
If everything checks out, the HDR-300/A is now
read
y
for installation.

Figure 8
HDR-300 Rotator Mountin
g
Hardware
Item Item
No. Description No. Description
10 Platfor
m
Plate 20
N
ut, hex, 5/16", stainless steel
11 Platform 21 Flatwasher, 5/16", stainless steel
12 Mast Clamp 22 Lockwasher, split, 3/8", stainless steel
13 Key, 1/4 sq. x 15/8", plated 23 Lockwasher, split, 5/16", stainless steel
14 Bolt, hex head, 3/8"-16 x 3 1/2", stainless steel 24 Flatwasher, 3/8", stainless steel
16 Bolt, hex head, 5/16"-18 x 1", stainless steel 68 Screw, pan head, #10-24 x 6"
17 Bolt, hex head, 5/16"-18 x 1 1/2", stainless steel 69 Screw, pan head, #10-24 x 13/4"
18 Setscrew Allen, 1/4"-20 x 3/8", stainless steel 70 Screw, pan head, #10-24 x 3/8", stainless steel
19 Nut, 3/8"-16, stainless steel 71 Flatwasher, #10
72 Receptacle, 8 pin

Figure 9
Top View of HDR-300/A and Tower Mounting Plate for
Hy-Gain Crank-Up Towers HG-54HD and HG-70HD
Figure 10
Typical Installation of Rotator Mounted Below Plate
For towers that must be climbed for installation,
follow these instructions:
Make sure that the rotator will match the holes
in your mounting plate per previous informa-
tion. Under NO circumstances should the
rotator be lifted by the mast clamp assembly.
The rotator may be pulled up the tower by
first attaching the mounting plate to the
rotator. The rope can ben be attached to
mounting plate. Another method is to secure a
5/16"-18 eyebolt into one of the mounting
holes and attach the rope to it for lifting. A
rope cradle may also be used. Once the rotator
is mounted securely within the tower, the mast
clamp assembly can be installed and the
control cable ta
p
ed to the tower.
Tighten the setscrew into the platform. Lower
the mast into the mast clamp. Tighten the four
(4) 3/8 inch bolts so that the mast is held
securely. Center the mast above the output shaft
and tighten the four (4) 5/16 inch bolts on the
platform. The antenna should be oriented so that
it is pointing north when the readout shows
"000".
Route the control cable down the tower using
appropriate strain relief. Route the control cable
to the control console and plug it in. Using the
same calibration steps as before, line the antenna
up with a distant object. Rotate the antenna until
the antenna is again lined up with the same
object. Check the digital readout and adjust if
necessary.
CAUTION:
If using a crank-up tower, do not
completely nest the tower with the HDR-
300/A installed. Because of the shape of
the gear box, a portion of the rotator
extends out of the tower.
Section VI. O
p
erations and Maintenance
O
p
erations
The HDR-300/A brake release feature is
designed to decrease the effects of torsional
forces caused by rapid deceleration and instant
stopping of large antennas and beams. By
releasing the rotate switch slightly before the
point of intended antenna position, letting the
unit coast to a full stop, then locking the brake,
the torque on both the tower and rotator is held
to a minimum. This will prolong the life of your
rotator system and will maintain the maximum
CAUTION:
Although operation of the HDR-300/A at
its rated capacity of 25 square feet in
strong winds (50 mph plus) is not recom-
mended, it is possible as long as certain
precautions are taken.
Always allow the antenna to coast to a stop
b
efore lockin
g
the brake.
NOTE: When the rotator is not in use, the brake
switch should be set in the "lock" position. The
brake switch incorporates a light to remind you
that the antenna is free to turn.
The brake switch must be in the "FREE"
position before the rotator will turn.
2
3
Always keep the brake locked when the
rotator is not bein
g
turned.
Avoid rotating near the ends of rotation. Do
not depend on the limit switches to stop
rotation of a large antenna in strong winds.
These precautions should also be followed when
rotating medium size antenna (7 to 15 square
feet) in light winds. When followed, the life of
the rotator system will be prolonged.
Use the Digital Readout System
The HDR-300/A incorporates a very accurate
digital display of azimuth bearing information.
This display will always indicate the exact direc-
tion of the antenna once calibrated. A readout of
"000" degrees indicates that the antenna is point-
ing due North. A readout of "090" indicates East,
"180" indicates South, "270" indicates West, and
"360" indicates North again.
Because of the type of digital readout system
used, overtravel in the clockwise direction is
indicated by 360 to 385 which would correspond
the 000 to 025 degrees. Overtravel in the
counterclockwise direction is indicated by nega-
tive numbers such as -01 to 125 degrees.
The HDR-300/A has numerous features to
prevent water entry. The output shaft uses a spe-
cial V -shaped )-ring to prevent water entry at
this point. The mast clamp assembly uses an
aluminum plate to keep the platform from
damaging the O-ring and to prevent water from
runnin
g
throu
g
h the mast clam
p
assembl
y
.
Also, a new plastic housing is provided to keep
the motor, capacitor, limit switches, and poten-
tiometer dry. A drain hole is provided to
eliminate condensation water. Periodically check
the O-ring and the plastic housing to insure
moisture resistance.
During normal rotation, the display will incre-
ment in steps of approximately 4 degrees. This is
because the rotation is faster than the display
system. Once the rotator is allowed to coast, the
increments will be in steps of 1 degree. The
conversion rate of the digital display system is 4
Hz. This prevents a rapid flickering of the
dis
p
la
y
durin
g
rotation.
The digital display system also incorporates two
filters that eliminate both 50/60 Hz and RF
modulation of the dis
p
la
y
.
Maintenance
Rotator Assembly: The gears are lubricated with
a special low temperature grease that is stable
from -60°F to +280°R After three to five years of
service, the gears should be checked to insure
adequate lubricant. This grease can be obtained
through Hy-Gains's Customer Service Depart-
ment for a nominal charge.
The output shaft of the rotator is stainless steel to
prevent corrosion; however, after many years of
service, some rusting may occur in the platform
hole. You should coat this hole with grease
b
efore installation to
p
revent corrosion.

CHAPTER 2
TROUBLESHOOTING AND SERVICE
Section L Troubleshooting
Troubleshooting
Symptom Possible Causes
Power Switch has no effect Fuse not installed.
Fuse Blown.
Power Switch lights but LED's do not 14 wire jumper cable disconnected.
light.
Digital readout not zeroed.
Digital display still reads "-85" and "-99" or Control cable not plugged in.
"---" (Step 7, Chapter l, Section III). Potentiometer wired incorrectly.
10 pin connector wired incorrectly.
8 pin connector wired incorrectly.
Potentiometer not installed correctly.
Digital display reads between "-99" and "- Potentiometer not installed correctly.
10" (Step 7, Chapter 1, Section III).
Digital readout not zeroed.
Potentiometer wired incorrectly.
10 pin connector wired incorrectly.
8 pin connector wired incorrectly

Troubleshooting Continued
Symptom Possible Causes
Digital display reacis greater than "10" (Step Pontentiometer not installed correctly.
7, Chapter 1, Section III).
Digital readout not zeroed.
Potentiometer wired incorrectly.
10 pin connector wired incorrectly.
8 pin connector wired incorrectly
Brake switch has no effect when switched to Solenoid wired incorrectly.
"FREE" position.
10 pin connector wired incorrectly.
8 pin connector wired incorrectly.
Control cable not plugged in.
12 Amp fuse not installed.
Brake solenoid buzzes but doesn't release Too much voltage drop in control cable.
brake.
Use a heavier cable.
Rotate switch has no effect. Brake still in lock position.
Control cable not plugged in.
10 pin connector wired incorrectly.
8 pin connector wired incorrectly.
Limit switch stuck.
End of rotation - Switch direction.

Troubleshooting Continued
Symptom Possible Causes
Rotate Switch has no effect. (cont.) Limit switch wired incorrectly.
Not pushing hard enough on rotate switch.
12 Amp fuse not installed or blown out
Motor is too hot - wait 10 minutes.
Motor hums when rotate switch is pressed Motor output shaft is binding within the motor.
b
ut motor won't turn. Loosen the two lon
g
screws holdin
g
the moto
r
housing and recenter it.
Rotator able to go less than -50 or greater Rotator has coasted past one of the limit
than 450 degrees. switches.
Output shaft runs opposite the direction in- Limit switches wired incorrectly.
dicated b
y
the rotate switch.
10 pin connector wired incorrectly.
8 pin connector wired incorrectly.
Digital display runs opposite the direction in- Potentiometer wired incorrectly.
dicated by the output shaft.
10 pin connector wired incorrectly.
8 pin connector wired incorrectly
"360" can not be obtained by adjusting the Potentiometer not installed correctly
g
ain
p
otentiometer
(
Cha
p
ter 1, Section V
)
.
Digital readout not zeroed.

Troubleshooting Continued
Symptom Possible Causes
Digital readout is changing more than t 1 High winds causing antenna to rock.
degree with brake switch locked.
High RF field near control cable.
Brake system failed.
250 gF capacitor not working.
Digital readout is changing more than t5 Extremely high winds causing antenna to rock.
degrees with brake switch locked.
Brake system failed.
Very high RF field near control cable.
250 j.tF capacitor not working.
Rotator able to go less than -25 degrees Limit switches) broken.
and/or greater than 385 degrees.
Limit switch actuator loose or misadjusted.
Gain control not calibrated.
Digital readout not zeroed.
Rotator will turn with no load but will not Mast is binding in tower.
turn a large antenna.
Control cable is too small.
Winds are too strong.
Antenna is too large.
Thrust bearing is not used.

Section II. Voltage and Resistance Measurements
Volta
g
e and Resistance Charts
Control Unit, 10 pin socket:
Between Pin Numbers Voltage or 1hlerance
Resistance
1-3 (with rotate switch to the right) 24 VAC f 10%
2-3 (with rotate switch to the left) 24 VAC t 10%
4-3 (with brake "Free") 24 VAC ± 10%
8-10 +5 VDC t %
9-10 180KL2 t 20%
10-chassis zero ohms
Rotator Unit, 8 Pin Socket:
Between Pins Resistance
Excluding Control Cable
1-3 1.0 ohm
2-3 1.0 ohm
1-2 2.0 ohms
3-4 32 ohms
5-7 1000 ohms
6-7 150-550 ohms
5-6 450-850 ohms

Section III. How to Get Factor
y
Service/Calibration
Service Information
Do not ship equipment to the manufacturer with-
out prior authorization. We prefer to send special
shipping labels which will avoid the delay of an
unex
p
ected shi
p
ment.
If time is extremely important, wire or call for
approval and we will rush labels to you. When a
shipment is expected, even the time of sending
the labels is less than that lost when an unex-
p
ected shipment is received.
It is very important that the shipment be well
packed and fully insured. Damage claims must be
settled between you and the carrier and will
greatly delay any returns. Proper packing nor-
mall
y
avoids this trouble.
NOTE: we will not ship by means of a carrier that
will not fully insure the shipment. Some carriers
have a $200.00 limit. The exception to this is
when there is no other means (APO-FPO-etc.) of
shipment than parcel post, then we will ship by
this means with your written agreement that you
assume any loss over that which the carrier will
insure. C.O.D. shipments cannot be made to
APO-FPO addresses.
All replacement parts orders must be prepaid or
C.O.D. only. Replacement part price quotes will
be furnished on request for those who desire pre-
paid shipment or cannot accept C.O.D. shipments.
Calibration
ALL SHIPMENTS MUST BE SENT TO US
PREPAID. We do not accept collect shipments.
All returns should be made in our standard car-
tons only - so save our carton when unpacking the
unit. When a shipment is returned, it will be
handled in one of three wa
y
s:
1. Where all service is in warranty, the ship-
ment will be returned prepaid by a carrier of
our choice. Warranty claims must be accom-
panied by a copy of the bill-of-sale.
2. If there are any charges not covered by war-
ranty, we will hold the shipment and advise
y
ou of costs
,
which
y
ou can then send.
3. Or, upon your written authorization, we
will ship C.O.D. for any charges not
covered by warranty, then the carrier will
collect these charges and the transportation
costs on arrival. Unclaimed or refused
C.O.D. shipments will not be reshipped
until payment of service and transportation
charges is received. Shipment will then be
made collect for reshipment transportation
charges.
Most replacement parts do not need adjustment or
calibration. The two exceptions are the 3-turn po-
tentiometer and the main P .C. board.
To Recalibrate The Pot Within The Gearmoto
r
Assembl
y
:
Place the gearmotor assembly (P/N 871159) on
your bench, and remove the black plastic cover.
Attach your control cable to both the control unit
and the gearmotor unit. Place a voltmeter across.
pins 9 and 10 (A digital VOM is best to use). Turn
on the control unit and rotate the gearmotor to it's
center of rotation. (Watch the plastic limit switch
actuator while turning the rotator) With the
gearmotor at the mechanical center of rotation,
loosen the screws which hold the pot assembly to
the gearmotor. It is easier to remove one screw,
then pivot this assembly so that the plastic gears
unmesh. When loose enough so that the pot's
plastic gear turns freely, adjust the position of this
gear until the voltmeter reads 3.07 volts. Carefully
re-mesh the plastic gears and tighten the two
screws. The voltmeter should read within the
range of 3.05 to 3.10. If not, repeat this
adjustment.

Rotate the gearmotor CCW until the limit-switch
actuator is approximately 1/8" from the limit-
switch arm, and has not opened the circuit. The
actuator should "point" to the pivot-post of the
limit switch arm. (The voltage should read ap-
prox. 2.25 volts) Adjust the "Zero" potentiometer
so that the digital display reads "000". Mark this
position with a pen or pencil on the gearmotor.
Rotate the gearmotor a full revolution CW until
your mark is reached again. (The voltage should
read approx. 3.89 volts) Adjust the "Gain" pot
until "360" is shown on the digital display. The
rotator is now calibrated for South-centered op-
eration.
To calibrate for North-centered operation, adjust
the slide switch to the left (closed) position. Ro-
tate CCW to where "-O1" is displayed. If "-O1"
can not be obtained, rotate to the closest positive
heading (e.g. "00" or "01"). This may require
quick reflexes on the brake switch. Adjust the
new pot directly under the "Gain" pot until "-O1"
is replaced by "3XX", where "X" may be any
digit. Adjust the new pot centered between the
"Zero" and "Gain" pots and two inches lower, so
that "359" is displayed. You may now rotate plus
and minus a few degrees to check the operation of
the 359/000 switchover. You may notice that the
operation is slightly different between CW and
CCW (hysteresis). Occasionally you will see
either "360" or "-O1". This is normal!
New PCB 871165-2
Switch South-Center
right (open) North-Center
left closed
Voltage at Center of Rotation 3.07 3.07
Voltage at full CCW 2.25 2.25
Voltage at full CW 3.89 3.89
Service Information
If you are encounter technical problems and need
assistance, you should contact Hy-Gain Customer
Service De
p
artment.
All requests, inquires, warranty claims, or
for orderin
g
re
p
lacement
p
arts
,
contact:
Hy-Gain
308 Industrial Park Road Starkville,
Mississippi 39759 USA Phone: 662-
323
-
9538
CHAPTER 3
HDR-300/A PARTS LIST AND SCHEMATICS
PARTS
NOTE: Item numbers ma
y
not necessaril
y
be in numerical order.
It
e
m
No. Part No. Description Qty
1 870511 Gear Motor Assembly..............................................................................1
2 250117 Gear, 1T2-32038..................................................................................1
3 470643 Cover, black plastic..............................................................................1
4 (Not Used)
5 722958 Potentiometer, 3-turn
(
1 K ohm
)
.........................................................1
6 *740200-2 Gear Motor, VW47..............................................................................1
64 500350 Screw,
p
anhead, #4-40 x 5/8"..............................................................4
65 559612 Nut, hex, #4-40....................................................................................4
66 561166 Flatwasher, #6......................................................................................4
67 569613 Lockwasher, internal, #4......................................................................4
68 500346 Screw, pan head, #10-24 x 6"..............................................................2
69 500347 Screw, pan head, #10-24 x 13/4 ".......................................................2
70 500348 Screw, pan head, #10-24 x 3/8" ..........................................................7
71 561165 Flatwasher, #10..................................................................................11
72 650290 Connector, AMP 208677-1..................................................................1
650291 Contact, AMP 66602-1........................................................................7
450581 Wire seal foryin contact, AMP 207565-2.................................................. 1
871161 Parts Pack, Fuses .....................................................................................1
7 710043 Fuse, 1.5A/3AG slo-blow....................................................................2
8 710044 Fuse, 2.5A/3AG slo-blow....................................................................2
9 710045 Fuse, 12A/3AG slo-blow.....................................................................2
871532 Parts Pack Box, HDR-300.......................................................................1
10,170429 Platform Plate ......................................................................................1
11 375917 Platform................................................................................................1
12 375918 Clamp, mast .........................................................................................2
870512 Parts Pack, AMP Plug..............................................................................1
652292 AMP plug, 208678-1...........................................................................1
650293 AMP socket, 66601-1..........................................................................8
650294 AMP sheath, 208338-1........................................................................3
871533 Parts Pack, Hardware...............................................................................1
13 385928 Key, plated, 1/4" sq. x 15/8 "..............................................................1
14 500155 Bolt, hex head, 3/8"-16 x 3 1/2", stainless steel .................................4
15 (Not Used)
16 505842 Bolt, hex head, 5/16"-18 x 1", stainless steel ...................................... 4
17 509712 Bolt, hex head, 5/16"-18 x 1 1/2", stainless steel ...............................4
18 536395 Setscrew, Allen, 1/4"-20 x 3/8" ss, with nyloc patch .......................... 2
19 555694 Nut, hex, 3/8"-16 stainless steel .......................................................... 4
20 555747 Nut, hex, 5/16"-18 stainless steel ........................................................4
21 560024 Flatwasher, medium, 5/16", stainless steel .......................................... 4
22 561016 Lockwasher, split, 3/8", stainless steel ................................................ 4
HDR-300
/
A PART
S
LI
S
T
(co
nt
.)
Item
No. Part No. Description Qt
y
23 564792 Lockwasher, split, 5/16", stainless steel .............................................. 8
24 567180 Flatwasher, 3/8", stainless steel...........................................................4
25 640024 Plug, 10 pin..........................................................................................1
26
(
Not Used
)
27 871869 Control Console Assembly ......................................................................1
28 51845039 Screw, Philips, #4-40 x 3/8".............................................................. 2
29 250105 S
p
acer
,
hex head
,
#8-32 x 3/8"............................................................4
30 179808 Cover, console......................................................................................1
31 451623 Strain Relief .....................................................................……………1
32 460293 Front Panel...........................................................................................1
33 350834-1 Back Plate ............................................................................................1
34 450375 Front Panel Label.................................................................................1
35 506460 Screw
,
Rround head
,
#10-24 x 3/4" ....................................................4
36 506650 Screw, round head, #6-32 x 1/2...........................................................4
37 506665 Screw, round head, #6-32 x 1/4" .........................................................2
38 506800 Screw
,
round head
,
#8-32 x 3/4" .........................................................6
39 509234 Screw, round head, #8-32 x 1/2" .........................................................6
40 511577 Screw, Type A, pan head, #6 x 5/16" ..................................................4
41 556970 Nut, hex, #10-24..................................................................................4
42 556990 Nut, hex,#8-32 ...................................................................................12
43 557000 Nut, hex, #6-32....................................................................................2
44 557010 Nut, hex, #4-40....................................................................................2
45 567125 Lockwasher, internal, #10.................................................................. 4
46 567135 Lockwasher, internal,#8.......................................................................8
47 600221 Power Cord ..........................................................................................1
48 640026 10 Pin Receptacle ................................................................................1
49 660020 Terminal Strip ......................................................................................1
50 700088 Power Switch .......................................................................................1
51 700092 Brake Switch............................................................................…………….1
52 700089 Rotate Switch.......................................................................................1
53 710044 Fuse, 2.5A/3AG slo-blow....................................................................1
54 710045 Fuse, 12A/3AG slo-blow.....................................................................1
55 718105 Fuse holder, 3AG.................................................................................2
56 52158025 Capacitor, disc, ceramic, .lpf..............................................................2
57 730063 Transformer, 24 VAC...........................................................................1
58 870994 Jumper Cable Assembly ......................................................................1
59 871165-2 Main PC. Board Assembl
y
(Refer to Figures 18, 19, & 20)...........................................................1
60 871166-1 Display PC. Board Assembly
(
Refer to Fi
g
ures 21, 22, and 23
)
........................................................1
61 871275 Bezel and Lens Assembly....................................................................1
62 871870 Main Chassis w/feet.............................................................................1
63 04890 Cable Tie 4" .........................................................................................6
64 59000111 Screw, M4-.7 x 10, pan head, Philips .................................................4
65 51845039 Screw, #4-40 x 3/8" pan head............................................................ 2
GEAR MOTOR PARTS
Item
No. Part No. Description Qty
6 740200-2 Gear Motor, VW47..................................................................................1
6A 740200-A Gear Housing, aluminum casting (upper) ...........................................1
6B -B Gear Housing aluminum casting (lower) ............................................1
6C -C Solid Output- Gear Shaft Output Assembly (358810)........................1
6D -D Machined Steel Gear #2 ......................................................................1
6E -E Machined Steel Gear #3 ......................................................................1
6F -F Steel and Fiber Combo Gear #4..........................................................1
6G -G Motor Assembly, 24 VAC, including end plate and
mounting hardware ..............................................................................1
6H -H Solenoid, 24 VAC, and mounting bracket and screws ........................ 1
61 -I Solenoid Plunger..................................................................................1
6J -J Brake Lockin
g
Arm, S
p
rin
g
, Mountin
g
Screws, and Washers ...........1
6K -K Clutch/Brake Assembly 2/Allen setscrew ...........................................1
6L -L Motor Capacitor...................................................................................1
6M -M Limit Switch and Insulator and hardware ...........................................2
6N -N Jumper Wire.........................................................................................1
60 -0 Jumper Wire.........................................................................................1
6P -P Plastic Paddle Arm and Push-Out .......................................................1
6Q -Q Plastic Limit Switch Actuator w/Allen setscrew................................. 1
6R -R Plastic Gear (knurled shaft) .................................................................1
6S -S (Not Used)
6T -T Potentiometer Mountin
g
Bracket and mountin
g
hardware .................1
6U -U Output Shaft Bearing and Washers ...................................................... 1
6V -VG Ear Housing Hardware ........................................................................1
6W -W Low Temperature Grease.....................................................................1
6X -X V-Ring Seal..........................................................................................1

COMPLETE ASSEMBLY
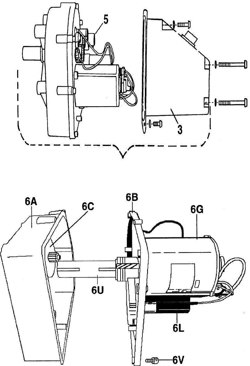
Figure 11
Gear Motor Assembl
y
with Cove
r
Figure 12
Output Gear and Shaft Assembly
It
em
It
em
N
o. Descriptio
n
N
o. Descri
p
tion
3 Cover, black plastic 6C Solid Output Gear and Shaft Assembly #1
5 Potentiometer, 3-turn 6G Motor Assembly, 24 VAC, including end plate
6 Gear Motor mounting hardware
6A Gear housing, aluminum casting (upper) 6L Motor Capacitor
613 Gear Housing, aluminum casting (lower) 6U Output Shaft (PN 358810)
6V Gear Housing Hardware

Figure 13
Gear Motor Assembl
y
-Side
Figure 14
Gear Motor Assembl
y
-To
p
View
Ite
m
Ite
m
No. Description No. Description
5 Potentiometer, 3-turn (1K ohm) 6L Motor Capacitor
6 Gear Motor 6M Limit Switch and Insulator and Hardware
6G Motor Assembly, 24 VAC, including end plate and 6N Jumper Wire
mountin
g
hardware 60 Jum
p
er W iere
6H Solenoid, 24 VAC, and mounting bracket and screws 6P Plastic Paddle Arm and Push-Out
61 Solenoid Plunger 6Q Plastic Limit Switch Actuator w/Allen setscrew
6J Brake Locking Ann, Spring, Mounting Screws 6R Plastic Gear (knurled shaft)
and Washers 6T Potentiometer Mountin
g
Bracket and mountin
g
hardware
6K Clutch/Brake Assembly w/Allen setscrew 6V Gear Housng Hardware

Figure 15
Gear Motor Schematic
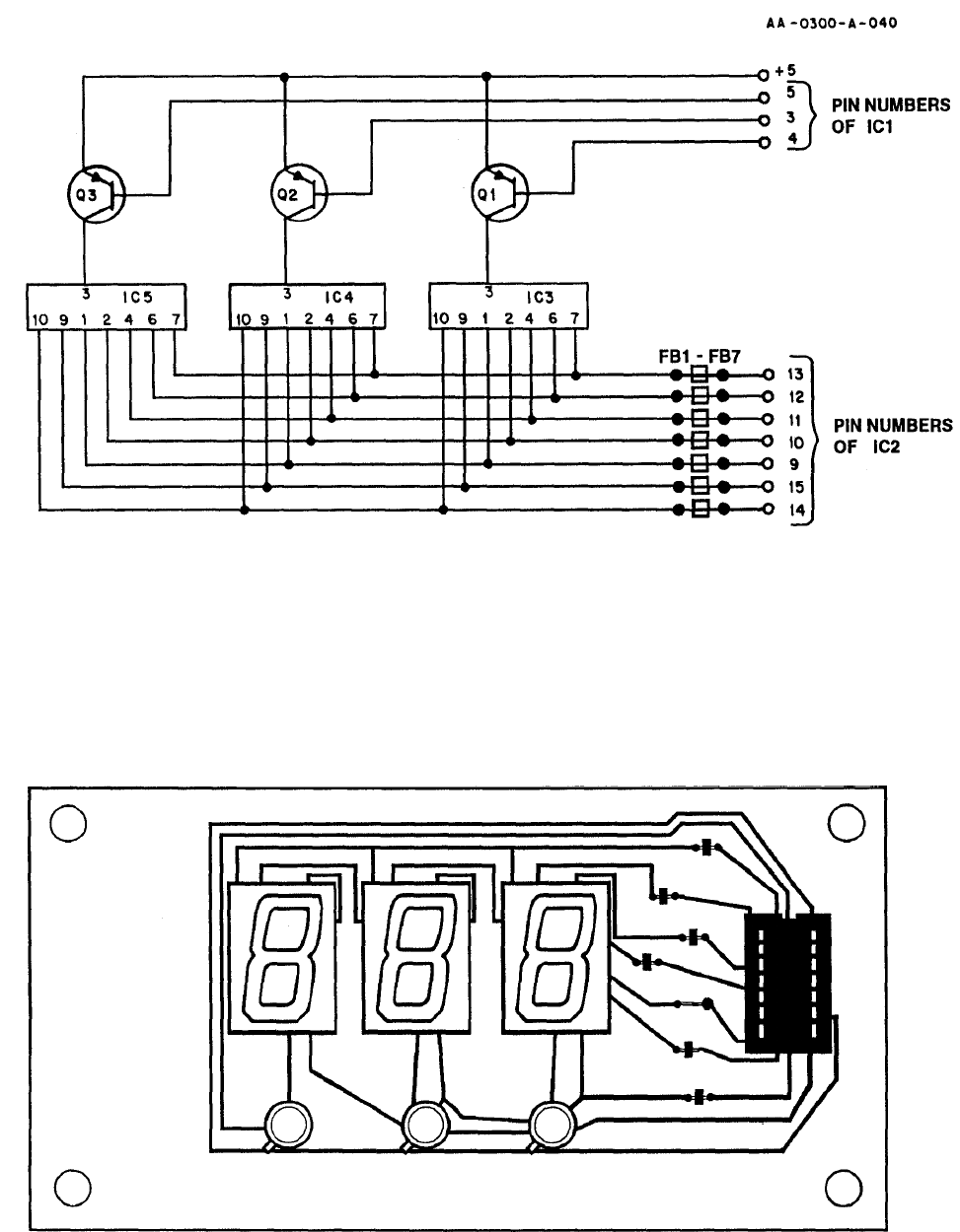
Figure 16
Steel and Fiber Gears

Figure 18
Interior View of Control Console

Figure 19
Schematic Main P .C. Board
Figure 20
Main PC. Boar
d

Main P .C. Board - PN 871165-2
Parts List for Main P.C. Board
(
871165-2
)
Part
Designator Part Number Description
C101 and C102 52158025 Ca
p
acitor, dis c, ceramic, .1
p
F, 25V
Cl and C2 722463 Capacitor, electrolytic, l000pF, 16VDC
C3 and C4 52158025 Capacitor, disc, ceramic, .1pF, 25V
C5 51821016 Capacitor, electrolytic, 220pF
C6 722465 Ca
p
acitor, .22
p
F 12VDC, disc,
R1 54046100 Resistor, 100K, 1/4W 1%
R2 54045110 Resistor, 11 K, 1/4W 1 %
R3 52154269 Resistor, 3.3K, 1/4W 1%
R4 722469 Resistor, 150K, 1/4W 1 %
R5 722975 Resistor, 42.2K, 1/4W 1 %
R6 52154195 Resistor, 3.9M, 1/4W, 1%
R7 54044576 Resistor, 5.76K, 1/4W 1 %
R8 54046237 Resistor, 237K, 1/4W, 1 %
R9 54044681 Resistor, 6.81K, 1/4W 1%
RIO 54044953 Resistor, 9.53K, 1/4W 1%
VRl 722467 Variable Resistor, 50K
VR2 723441 Variable Resistor, 1 K
VR3 723421 Variable Resistor, 2.5K
VR4 722468 Variable Resistor, IO
K
D1-D4 58678000 Diode, IN5817, low voltage turn on
U1 760098 A/D IC CA3161E
U2 760099 Driver IC, CA 3161E
U3 and U4 760097 LM348AT 5.0
U5 53284000 LM393
S1 70000 Switch, 2-position
F1 710076 Fuse, 1 amp, 3AG, Fast acting
NOTE: All designators correspond with Figures
Com
p
onents and Wirin
g
of Main PC.

Figure 22
Schematic of Dis
p
la
y
P .C. Board
Figure 23
Dis
p
la
y
PC. Board

Figure 24
Ite
No. Description
40 Screw, Type A, pan head, #6
x 5/16" 50 Power Switch
51 Brake Switch
52 Rotate switch
60 Display PC. Board Assembly Figure 25
Rear Mounted Com
p
onents-Front Panel of Control Console