Philips Electronics Singapore RC140 RF Remote Control User Manual
Philips Electronics Singapore Pte Ltd RF Remote Control
UserManual.wiki
>
Philips Electronics Singapore
>
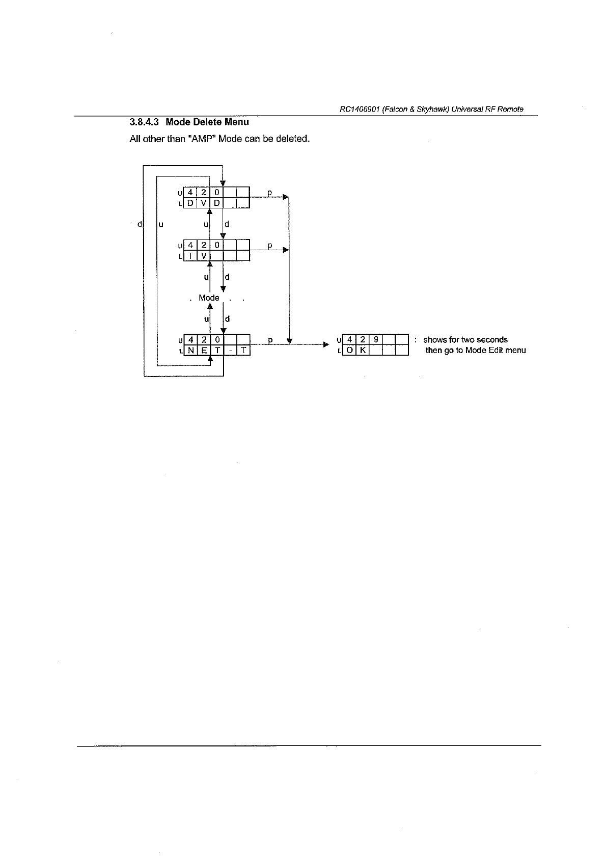
RC140 User Manual HTML Version
User Manual
Navigation menu
Upload a User Manual
Namespaces
Wiki Guide
HTML
PDF
Info
Views
User Manual
Discussion / Help
Navigation