Philips Electronics Singapore RC1704701A INRARED/RF REMOTE CONTROL User Manual DIRECTV Universal Remote Control User s Guide
Philips Electronics Singapore Pte Ltd INRARED/RF REMOTE CONTROL DIRECTV Universal Remote Control User s Guide
USERS MANUAL

DIRECTV® Universal
Remote Control
User’s Guide
Remote Control UG-Philips.indd 1Remote Control UG-Philips.indd 1 7/26/05 11:10:44 AM7/26/05 11:10:44 AM

2
CONTENTS
Introduction ............................................................ 3
Features and Functions .......................................... 4
Key Charts ........................................................ 4
Installing Batteries ................................................... 8
Controlling Your DIRECTV Receiver ........................ 9
Setting Up Your DIRECTV Remote ................... 9
Onscreen Remote Setup ................................... 9
Controlling Your TV ............................................... 10
Setting Up the TV Input Key.................................. 10
Deactive the TV Input Select Key ..................... 11
Controlling Other Components ............................. 11
Searching for TV, AV1 or AV2 Codes ..................... 12
Verifying the Codes ......................................... 12
Changing Volume Lock ........................................ 13
To Lock Volume to AV1, AV2 or TV ................. 13
Restore Factory Default Settings ........................... 13
Troubleshooting .................................................... 15
DIRECTV Setup Codes ......................................... 16
Setup Codes for DIRECTV Receivers ............. 16
Setup Codes for DIRECTV HD Receivers ....... 16
Setup Codes for DIRECTV DVRs .................... 17
Other Manufacturer Codes ................................... 18
Setup Codes for TVs ....................................... 18
Setup Codes for VCRs .................................... 21
Setup Codes for DVD Players ......................... 24
Setup Codes for Stereo Receivers .................. 25
Setup Codes for Stereo Amplifi ers ................... 27
Repair or Replacement Policy ............................... 28
Additional Information ........................................... 29
Compliance With FCC Rules and Regulations ..... 30
FCC Authorization Label ................................. 30
R1.0a - DURC.050503
Remote Control UG-Philips.indd 2Remote Control UG-Philips.indd 2 7/26/05 11:10:46 AM7/26/05 11:10:46 AM

3
INTRODUCTION
Congratulations! You now have an exclusive DIRECTV®
Universal Remote Control that will control four com-
ponents, including a DIRECTV Receiver, TV, and two
stereo or video components (for example, a DVD, stereo,
or second TV). Moreover, its sophisticated technology
allows you to consolidate the clutter of your original
remote controls into one easy-to-use unit that’s packed
with features such as:
• Four-position MODE slide switch for easy component
selection
• Code library for popular video and stereo components
• Code search to help program control of older or dis-
continued components
• Memory protection to ensure you will not have to re-
program the remote when the batteries are replaced
Before using your DIRECTV Universal Remote Control,
you may need to program it to operate with your particu-
lar component. Please follow the instructions detailed in
this guide to set up your DIRECTV Universal Remote
Control so you can start enjoying its features.
Remote Control UG-Philips.indd 3Remote Control UG-Philips.indd 3 7/26/05 11:10:46 AM7/26/05 11:10:46 AM

4
FEATURES AND FUNCTIONS
Key Charts
Slide the MODE switch to
the DIRECTV, AV1, AV2 or
TV positions to select the
component you want to con-
trol. A green LED under each
switch position indicates the
component being controlled.
Press TV INPUT to select
the available inputs on your
TV. (Note: Additional setup
is required to activate the
TV INPUT
key. See instruc-
tions on page 10.)
Press FORMAT to cycle
through the resolution and
screen formats. Each press
of the key cycles to the next
available format and /or reso-
lution. (Not available on all
DIRECTV Receivers.)
Press PWR to turn the select-
ed component on or off.
Press TV POWER ON/OFF
to turn the TV and DIRECTV
Receiver on or off. (Note:
These keys are only active af-
ter the remote has been setup
for your TV. See page 10.)
continued on next page…
AV1 AV2 TV
TV
INPUT
FORMAT
TV
POWER
OFF
ON
PWR
Remote Control UG-Philips.indd 4Remote Control UG-Philips.indd 4 7/26/05 11:10:46 AM7/26/05 11:10:46 AM

5
FEATURES AND FUNCTIONS
Key Charts (continued)
Use these keys to control
your DVR, VCR, DVD,
or CD/DVD player. To re-
cord a program, press the
RECORD key.
REPLAY jumps back 6 sec-
onds and plays video from
that location.
ADVANCE jumps ahead in
a recording.
Use GUIDE to display the
DIRECTV program guide.
Press ACTIVE to access
special features, services,
DIRECTV NEWS™ and
info.
Press LIST to display your
TO DO list of programs. (Not
available on all DIRECTV
Receivers.)
Press EXIT to exit menu
screens and the program
guide and return to live TV.
Press the ARROW keys to
move around in the program
guide and menu screens.
Press SELECT to choose
highlighted items in menu
screens or the program guide.
continued next page…
GUIDE
ACTIVE
LIST
EXIT
SELECT
Remote Control UG-Philips.indd 5Remote Control UG-Philips.indd 5 7/26/05 11:10:48 AM7/26/05 11:10:48 AM

6
FEATURES AND FUNCTIONS
Key Charts (continued)
Press BACK to return to the
previously displayed screen.
Press MENU to display the
Quick Menu.
Press INFO to display current
channel and program infor-
mation when watching live
TV or in the Guide.
Press YELLOW in full-
screen TV to cycle through
alternate audio tracks.
Press BLUE in full-screen
TV to display the Mini-
Guide.
Press RED in the Guide to
jump 1.5 hours back.
Press GREEN in the Guide
to jump 1.5 hours forward.
Other functions vary—look
for onscreen hints or refer to
your DIRECTV Receiver’s
user guide. (Not available on
all DIRECTV Receivers.)
Press VOL to raise or lower
the sound volume. The vol-
ume key is only active when
the remote is setup for your
TV.
While watching TV, press
CHAN p (or q) to select
the next higher (or lower)
channel.
While in the DIRECTV pro-
gram guide or menu, press
PAGE p (or q) to page up
(or down) through available
channels in the Guide.
continued next page…
BACK
MENU
INFO
VOL
PAG E
CHAN
Remote Control UG-Philips.indd 6Remote Control UG-Philips.indd 6 7/26/05 11:10:49 AM7/26/05 11:10:49 AM

7
FEATURES AND FUNCTIONS
Key Charts (continued)
Press MUTE to turn the
sound off or back on.
Press PREV to return to the
last channel viewed.
Press the number keys to di-
rectly enter a channel number
(e.g. 207) while watching TV
or in the Guide.
Press DASH to separate main
and sub-channel numbers.
Press ENTER to activate
number entries quickly.
MUTE
PREV
ABC
21
DEF
3
JKL
5
GHI
4
MNO
6
TUV
8
PQRD
7
WXYZ
9
0
DASH ENTER
Remote Control UG-Philips.indd 7Remote Control UG-Philips.indd 7 7/26/05 11:10:50 AM7/26/05 11:10:50 AM

8
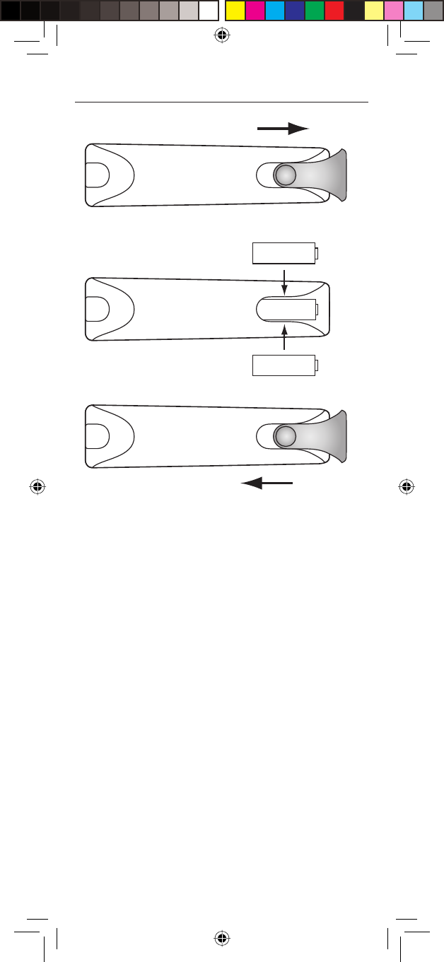
INSTALLING BATTERIES
1. On the back of the remote control, push down on the
door (as shown), slide the battery cover off, and re-
move the used batteries.
2. Obtain two (2) new AA alkaline batteries. Match their
+ and - marks to the + and - marks in the battery case,
then insert them.
3. Slide the cover back on until battery door clicks into
place.
–+
–+
Remote Control UG-Philips.indd 8Remote Control UG-Philips.indd 8 7/26/05 11:10:51 AM7/26/05 11:10:51 AM

9
CONTROLLING YOUR DIRECTV RECEIVER
The DIRECTV Universal Remote Control is designed
to give you access to features and functions found on
your original remote control. To use it with your brand of
DIRECTV Receiver, you will need to setup the remote
control by performing the following steps.
Setting Up Your DIRECTV Remote
1. Locate the DIRECTV Receiver’s brand and model
number (on the back or bottom panel) and write it in
the spaces below.
BRAND: _________________________
MODEL: _________________________
2. Locate the 5-digit code for your DIRECTV Receiver.
(See pages 16-17.)
3. Power on the DIRECTV Receiver.
4. Slide the MODE switch to the DIRECTV position.
5. Press and hold the MUTE and SELECT keys until the
green light under the DIRECTV position fl ashes twice,
then release both keys.
6. Using the number keys, enter the 5-digit code. If per-
formed correctly, the green light under the DIRECTV
position fl ashes twice.
7. Aim the remote at your DIRECTV Receiver and press
the PWR key once. The DIRECTV Receiver should
turn off; if it does not, repeat steps 3 and 4, trying each
code for your brand until you fi nd the correct code.
8. For future reference, write down the working code for
your DIRECTV Receiver in the blocks below:
Onscreen Remote Setup
Once your remote is setup to work with your DIRECTV
Receiver, you can set it up for your other equipment us-
ing the steps detailed on the following pages, or you can
set it up it onscreen by pressing MENU, then SELECT
on Settings, Setup in the Quick Menu, then selecting
Remote from the left menu.
Remote Control UG-Philips.indd 9Remote Control UG-Philips.indd 9 7/26/05 11:10:51 AM7/26/05 11:10:51 AM

10
CONTROLLING YOUR TV
Once you have successfully setup your DIRECTV Re-
mote to operate your DIRECTV Receiver, you can set it
up to control your TV. We recommend you use the on-
screen steps described on page 9, but you can also use
the manual method below:
1. Turn on the TV.
NOTE: Please read steps 2-5 completely before pro-
ceeding. Highlight or write down the codes and com-
ponent you wish to setup before moving on to step 2.
2. Locate the 5-digit code for your TV. (See pages 18-
21.)
3. Slide the MODE switch to the TV position.
4. Press and hold the MUTE and SELECT keys at the
same time until the green light under the TV position
fl ashes twice, then release both keys.
5. Using the number keys enter the 5-digit code for your
brand of TV. If performed correctly, the green light
under TV fl ashed twice.
6. Aim the remote at your TV and press the PWR key
once. Your TV should turn off. If it does not turn off,
repeat steps 3 and 4, trying each code for your brand
until you fi nd the correct code.
7. Slide the MODE switch to the DIRECTV position.
Press TV POWER. Your TV should turn on.
8. For future reference, write down the working code for
your TV in the blocks below:
SETTING UP THE TV INPUT KEY
Once you have setup the DIRECTV Remote control for
your TV, you can activate the TV INPUT key so you can
change the “source”— the piece of equipment whose
signal is displayed on your TV:
1. Slide the MODE switch to the TV position.
2. Press and hold the MUTE and SELECT keys until the
green light under the TV position fl ashes twice, then
release both keys.
3. Using the number keys, enter 9-6-0. (The green light
under the TV position fl ashes twice.)
You can now change the input for your TV.
Remote Control UG-Philips.indd 10Remote Control UG-Philips.indd 10 7/26/05 11:10:51 AM7/26/05 11:10:51 AM

11
Deactive the TV Input Select Key
If you want to deactivate the TV INPUT key, repeat
steps 1 through 3 from the previous section; the green
light will blink 4 times. Pressing the TV INPUT key will
now do nothing.
CONTROLLING OTHER COMPONENTS
The AV1 and AV 2 switch positions can be setup to con-
trol a VCR, DVD, STEREO, second DIRECTV Receiver
or second TV. We recommend you use the onscreen
steps described on page 9, but you can also use the
manual method below:
1. Turn on the component you wish to control (e.g., your
DVD Player).
2. Locate the 5-digit code for your component. (See
pages 16-27.)
3. Slide the MODE switch to the AV1 (or AV2) position.
4. Press and hold the MUTE and SELECT keys at the
same time until the green light under AV1 (or AV2)
fl ashes twice, then release both keys.
5. Using the NUMBER keys, enter the 5-digit code for
the brand of component being setup. If performed
correctly, the green light under the selected position
fl ashes twice.
6. Aim the remote at your component and press the
PWR key once. The component should turn off; if it
does not, repeat steps 3 and 4, trying each code for
your brand until you fi nd the correct code.
7. Repeat steps 1 through 6 to setup a new component
under AV2 (or AV1).
8. For future reference write down the working code for
the component(s) setup under AV1 and AV2 below:
AV1:
COMPONENT: _______________________
AV2:
COMPONENT: _______________________
Remote Control UG-Philips.indd 11Remote Control UG-Philips.indd 11 7/26/05 11:10:51 AM7/26/05 11:10:51 AM

12
SEARCHING FOR TV, AV1 OR AV2 CODES
If you were unable to fi nd the code for your brand of TV
or component, you can try a code search. This process
may take up to 30 minutes.
1. Turn on the TV or component.
2. Slide the MODE switch to the TV, AV1 or AV2 posi-
tion, as desired.
3. Press and hold the MUTE and SELECT keys at the
same time until the green light under the selected
switch position fl ashes twice, then release both keys.
4. Enter 9-9-1 followed by one of the following 4-digits:
COMPONENT TYPE COMPONENT ID #
Satellite 0
TV 1
VCR/DVD/PVR 2
STEREO 3
5. Press PWR, or other functions (e.g. PLAY for VCR)
you want to use.
6. Point the remote at the TV or component and press
CHAN p. Repeatedly press CHAN p until the TV or
component turns off.
Note: Every time
CHAN
p is pressed the remote ad-
vances to the next code and power is transmitted to the
component.
7. When the TV or component turns off, stop press-
ing the CHAN p key. Then, press and release the
SELECT key.
NOTE: If the light fl ashes 3 times before the TV or
component responds, you’ve cycled through all codes
and the code you need is not available. You must use
the remote that came with your TV or component.
Verifying the Codes
Once you have setup the DIRECTV Universal Remote
Control using the above steps, use the following instruc-
tions to fi nd out the 5-digit code to which your compo-
nent responded:
1. Slide the MODE switch to the appropriate position.
2. Press and hold the MUTE and SELECT keys at the
same time until the green light under the selected
switch position fl ashes twice, then release both keys.
3. Enter 9-9-0. (The green light under the selected
switch position fl ashes twice.)
Remote Control UG-Philips.indd 12Remote Control UG-Philips.indd 12 7/26/05 11:10:51 AM7/26/05 11:10:51 AM

13
4. To view the fi rst digit in the code, Press and release
the number 1 key. Wait three seconds, and count the
number of times the green light fl ashes. Write this
number down in the leftmost TV, AV1 or AV2 code
box found on pages 11.
Note: If this part of the code is “0” the light will not
fl ash.
5. Repeat step 4 four more times for the remaining digits;
i.e., press number 2 for the second digit, 3 for the third
digit, 4 for the fourth digit and 5 for the fi nal digit.
CHANGING VOLUME LOCK
Depending on how you set up your remote, the VOL and
MUTE may control the volume only on your TV, regard-
less of the position of the MODE switch. This remote
can be setup so that the VOL and MUTE keys work only
with the component selected by the MODE switch. To
enable this feature, perform the following steps:
1. Press and hold the MUTE and SELECT keys until the
green light under the DIRECTV position fl ashes twice,
then release both keys.
2. Using the number keys, enter 9-9-3. (The green light
fl ashes twice after the 3.)
3. Press and release the VOL p key. (The green light
fl ashes 4 times.)
Now the VOL and MUTE keys will work only for the
component selected by the MODE switch position.
To Lock Volume to AV1, AV2 or TV
1. Slide the MODE switch to the AV1, AV2 or TV posi-
tion to lock the volume.
2. Press and hold the MUTE and SELECT keys until the
green light under the selected switch fl ashes twice and
release both keys.
3. Using the number keys, enter 9-9-3. (The green light
fl ashes twice.)
4. Press and release the SELECT key. (The green light
fl ashes twice.)
Remote Control UG-Philips.indd 13Remote Control UG-Philips.indd 13 7/26/05 11:10:52 AM7/26/05 11:10:52 AM

14
RESTORE FACTORY DEFAULT SETTINGS
To reset all the functions of the remote control to the
factory defaults (the original, out-of-the-box settings),
follow these steps:
1. Press and hold the MUTE and SELECT keys at the
same time until the green light fl ashes twice, then re-
lease both keys.
2. Using the number keys, enter 9-8-1. (The green light
fl ashes 4 times.)
Remote Control UG-Philips.indd 14Remote Control UG-Philips.indd 14 7/26/05 11:10:52 AM7/26/05 11:10:52 AM

15
TROUBLESHOOTING
PROBLEM: Light at the top of the remote blinks when you
press a key, but the component does not respond.
SOLUTION 1: Try replacing the batteries (see page 8).
SOLUTION 2: Make sure you are aiming the DIRECTV® Uni-
versal Remote Control at your home entertain-
ment component and that you are within 15 feet
of the component you are trying to control.
PROBLEM: The DIRECTV Universal Remote Control does
not control component or commands are not
recognized properly.
SOLUTION: Try all listed codes for the device brand being
set up. Make sure all components can be oper-
ated with an infrared remote control.
PROBLEM: TV/VCR combo does not respond properly.
SOLUTION: Use the VCR codes for your brand. Some com-
bo units may require both a TV code and a VCR
code for full operation (see page 12).
PROBLEM: CHAN p, CHAN q, and PREV do not work
for your RCA TV.
SOLUTION: Due to RCA design for certain models (1983-
1987), only the original remote control will
operate these functions.
PROBLEM: Changing channels does not work properly.
SOLUTION: If original remote control required pressing
ENTER to change channels, press ENTER on
the DIRECTV Universal remote control after
entering a channel number.
PROBLEM: Remote control does not turn on Sony or Sharp
TV/VCR Combo.
SOLUTION: For power on, these products require setting up
TV codes on the remote control. For Sony, use
TV code 0000 and VCR code 0032. For Sharp,
use TV code 0093 and VCR code 0048.
Remote Control UG-Philips.indd 15Remote Control UG-Philips.indd 15 7/26/05 11:10:52 AM7/26/05 11:10:52 AM

16
DIRECTV SETUP CODES
Setup Codes for DIRECTV Receivers
DIRECTV Model D-10 00001, 00002
Hughes Network Systems (most models) 00749
Hughes Network Systems models GAEB0, GAEB0A,
GCEB0, GCEB0A, HBH-SA, and HAH-SA 01749
GE models GRD33G2A and GRD33G3A,
GRD122GW 00566
Hitachi model HDS210R 00819
Mitsubishi HD models SRHD400 and SRHD500 00749
Panasonic models TZ-DBS01 and TZ-DRD100 00247
Panasonic models TUIRD10 and TUIRD20 00701
Philips models DSX5150R,DSX525R/I, DSX5350R,
DSX5353R, DSX5353X, and DSX5375R 01076
Philips models DSX5500 and DSX5400 00099
Proscan models PRD8630A and PRD8650B 00566
RCA models DRD102RW, DRD203RW,
DRD301RA, DRD302RA, DRD303RA,
DRD403RA, DRD703RA, DRD502RB, DRD
503RB, DRD505RB, DRD515RB, DRD523RB, and
DRD705RB 00566
RCA models DRD202RD, DRD221RD, DRD222RD,
DRD223RD, DRD225RD, DRD420RE, DRD440RE,
DRD460RE, DRD480RE, DRD430RG, DRD431RG,
DRD450RG, DRD451RG, DRD485RG, DRD486RG,
DRD430RGA, DRD450RGA, DRD485RGA,
DRD435RH, DRD455RH, and DRD486RH 00392
Samsung model SIR-S60W 01109
Samsung models SIR-S70, SIR-S75, SIR-S300W,
and SIR-S310W 01108 Sony models (All models
except TiVo and Ultimate TV) 01639
Toshiba model TSR101DSS 00790
Uniden model UDS100 00724
Setup Codes for DIRECTV HD Receivers
DIRECTV Model H-10 00001, 00002
Hitachi model 61HDX98B 00819
HNS models HIRD-E8, HTL-HD 01750
LG model LSS-3200A, HTL-HD 01750
Mitsubishi model SR-HD5 01749, 00749
Philips model DSHD800R 01749
Proscan model PSHD105 00392
RCA models DTC-100, DTC-210 00392
Samsung model SIR-TS360 01609
Samsung models SIR-TS160 01276
Sony models SAT-HD100, 200,300 01639
Toshiba models DST-3000, DST-3100, DW65X91 01749, 01285
Zenith models DTV1080, HD-SAT520 01856
Remote Control UG-Philips.indd 16Remote Control UG-Philips.indd 16 7/26/05 11:10:52 AM7/26/05 11:10:52 AM

17
Setup Codes for DIRECTV DVRs
HNS models SD-DVR80, SD-DV40, SD-DVR120,
HDVR2, GXCEBOT, GXCEBOTD 01442
Philips models DSR704, DSR708, DSR6000, DSR600R,
DRS700/17
01142,
01442
RCA models DWD490RE, DWD496RG 01392
RCA models DVR39, 40, 80, 120 01442
Sony model SAT-T60 00639
Sony model SAT-W60 01640
Samsung models SIR-S4040R, SIR-S4080R, SIR-S4120R 01442
Remote Control UG-Philips.indd 17Remote Control UG-Philips.indd 17 7/26/05 11:10:52 AM7/26/05 11:10:52 AM

18
OTHER MANUFACTURER CODES
Setup Codes for TVs
Admiral 10093, 10463
Advent 10761, 10817, 10815, 10783, 10842
Aiko 10092
Akai 10812, 10702, 10030, 10672
Alaron 10179
Albatron 10843, 10700
Ambassador 10177
America Action 10180
Ampro 10751
Anam 10180
AOC 10030, 10019
Apex Digital 10748, 10765, 10767
Audiovox 10451, 10180, 10092, 10623
Belcor 10019
Bell & Howell 10154, 10016
Bradford 10180
Brockwood 10019
Broksonic 10236, 10463
Candle 10030, 10056
Carnivale 10030
Carver 10054
Celebrity 10000
Celera 10765
Changhong 10765
Citizen 10060, 10030, 10056, 10092
Clarion 10180
Concerto 10056
Contec 10180
Craig 10180
Crosley 10054
Crown 10180
Curtis Mathes 10047, 10054, 10154, 10451, 10093, 10060, 10702,
10030, 10145, 10166, 10056, 11147, 10016, 10466,
11347
CXC 10180
Daewoo 10451, 11661, 10092, 10672, 10019, 10623
Daytron 10019
Denon 10145
Dumont 10017, 10019
Durabrand 10463, 10180, 10178, 10171
Dwin 10774, 10720
Electroband 10000
Elektra 10017, 11661
Emerson 10154, 10236, 10463, 10180, 10178, 10171, 10019,
10177, 10623, 10179
Envision 10030
Fisher 10154
Remote Control UG-Philips.indd 18Remote Control UG-Philips.indd 18 7/26/05 11:10:52 AM7/26/05 11:10:52 AM

19
Fujitsu 10809, 10683, 10179, 10853
Funai 10180, 10171, 10179
Futuretech 10180
Gateway 11755, 11756
GE 11447, 10047, 10051, 10451, 10178, 10021, 11347,
11147
Harley Davidson 10179
Harman/Kardon 10054
Harvard 10180
Havermy 10093
Hello Kitty 10451
Himitsu 10180
Hisense 10748
Hitachi 11145, 10145, 10016, 10151, 10056
Hyundai 10849
Infi nity 10054
Inteq 10017
JBL 10054
JCB 10000
Jensen 10761, 10817, 10815
JVC 10053
KEC 10180
Kenwood 10030, 10019
KLH 10765, 10767
KTV 10180, 10030
LG 10856
Logik 10016
Luxman 10056
LXI 10047, 10054, 10154, 10156, 10178
Magnavox 11454, 10054, 10030, 10706, 10179, 11254
Majestic 10016
Marantz 10054, 10030, 10704
Matsushita 10250, 10650
Megapower 10700
Megatron 10178, 10145
Memorex 10154, 10463, 10150, 10178, 10179, 10016
MGA 10150, 10030, 10178, 10019
Midland 10047, 10017, 10051
Minutz 10021
Mitsubishi 10093, 11250, 10150, 10178, 10836, 10019
Monivision 10700, 10843
Motorola 10093
MTC 10060, 10030, 10019, 10056
Multitech 10180
NAD 10156, 10178, 10866
NEC 10030, 11704, 10019, 10497, 10056
Nikko 10030, 10178, 10092
Norcent 10748, 10824
NTC 10092
Onwa 10180
Optimus 10154, 10250, 10166, 10650
Remote Control UG-Philips.indd 19Remote Control UG-Philips.indd 19 7/26/05 11:10:53 AM7/26/05 11:10:53 AM

20
Optonica 10093 Orion 10236, 10463, 10179
Panasonic 10250, 10051, 10650
Penney 10047, 10156, 10051, 10060, 10030, 10178, 10021,
10019, 11347
Prima 10761, 10783, 10817, 10815
Princeton 10700, 10717
Prism 10051
Proscan 11447, 10047, 11347
Proton 10178, 10466
Pulsar 10017, 10019
Quasar 10250, 10051, 10650
RadioShack 10047, 10154, 10180, 10030, 10178, 10019, 10056
RCA 11447, 10047, 10019, 10679, 11247, 11547, 10090,
11147, 11047, 11347
Realistic 10154, 10180, 10030, 10178, 10056, 10019
Runco 10017, 10030, 10603, 10497
Sampo 10030, 11755
Samsung 10060, 10812, 10702, 10030, 10178, 10019, 10766,
11060, 10056, 10814
Sansui 10463
Sanyo 10154
Scimitsu 10019
Scotch 10178
Scott 10236, 10180, 10178, 10179, 10019
Sears 10047, 10054, 10154, 10156, 10178, 10171, 10179,
10056
Sharp 10093, 10689, 10688, 10851, 10818
Sheng Chia 10093
Shogun 10019
Signature 10016
Sony 11100, 10000, 10834
Soundesign 10180, 10178, 10179
Squareview 10171
SSS 10180, 10019
Starlite 10180
Studio Experience 10843
Supreme 10000
SVA 10748
Sylvania 10054, 10030, 10171
Symphonic 10180, 10171
Tandy 10093
Tatung 11756
Technics 10250, 10051
Technol Ace 10179
Techwood 10051, 10056
Teknika 10054, 10180, 10150, 10060, 10019, 10179, 10016,
10056, 10092
Telefunken 10702, 10056
TMK 10178, 10177, 10056
TNCi 10017
Toshiba 10154, 11256, 10156, 10060, 11704, 10845, 11656,
10650, 11356
Remote Control UG-Philips.indd 20Remote Control UG-Philips.indd 20 7/26/05 11:10:53 AM7/26/05 11:10:53 AM

21
TVS 10463
Wards 10054, 10030, 10178, 10019, 10179, 10016, 10021,
10056, 10866
Waycon 10156
White Westinghouse 10463, 10623
Yamaha 10030, 10019
Zenith 10017, 10463, 10178, 10016, 10092
Setup Codes for VCRs
ABS 21972
Admiral 20048, 20209
Adventura 20000
Aiko 20278
Aiwa 20037, 20000
Akai 20041
Alienware 21972
America Action 20278
American High 20035
Asha 20240
Audiovox 20037, 20278
Beaumark 20240
Bell & Howell 20104
Broksonic 20184, 20121, 20209, 20002, 21479, 20479
Calix 20037
Canon 20035
Carver 20081
CCE 20072, 20278
Citizen 20037, 20278, 21278
Colt 20072
Craig 20037, 20047, 20240, 20072
Curtis Mathes 20060, 20035, 20162, 20041, 21035
Cybernex 20240
CyberPower 21972
Daewoo 20045, 20278, 21278
Dell 21972
Denon 20042
Durabrand 20039, 20038
Dynatech 20000
Electrohome 20037
Electrophonic 20037
Emerex 20032
Emerson 20037, 20184, 20000, 20121, 20043, 20209,
20002, 20278, 21278, 20479, 21479
Fisher 20047, 20104
Fuji 20035, 20033
Funai 20000
Garrard 20000
Gateway 21972
GE 20060, 20035, 20240, 21035, 20807, 21060
Go Video 20432
Remote Control UG-Philips.indd 21Remote Control UG-Philips.indd 21 7/26/05 11:10:53 AM7/26/05 11:10:53 AM

22
GoldStar 20037, 20038, 21237
Gradiente 20000
Harley Davidson 20000
Harman/Kardon 20081, 20038
Harwood 20072
HI-Q 20047
Hitachi 20000, 20042, 20041
Howard Computers 21972
HP 21972
Hughes Network
Systems
20042
iBUYPOWER 21972
Jensen 20041
JVC 20067, 20041
KEC 20037, 20278
Kenwood 20067, 20041, 20038
KLH 20072
Kodak 20035, 20037
Lloyd’s 20000
Logik 20072
LXI 20037
Magnasonic 1278
Magnavox 20035, 20039, 20081, 20000, 20149, 21781
Magnin 20240
Marantz 20035, 20081
Marta 20037
Matsushita 20035, 20162
Media Center PC 21972
MEI 20035
Memorex 20035, 20162, 20037, 20048, 20039, 20047,
20240, 20000, 20104, 20209, 21237, 20479
MGA 20240, 20043
MGN Technology 20240
Microsoft 21972
Mind 21972
Minolta 20042
Mitsubishi 20067, 20043, 20807
Motorola 20035, 20048
MTC 20240, 20000
Multitech 20000, 20072
NEC 20104, 20067, 20041, 20038
Nikko 20037
Noblex 20240
Northgate 21972
Olympus 20035
Optimus 21062, 20162, 20037, 20048, 20104, 20432
Orion 20184, 20209, 20002, 20479, 21479
Panasonic 21062, 20035, 20162, 21035, 20616, 20225
Penney 20035, 20037, 20240, 20042, 20038, 21035, 21237
Pentax 20042
Philco 20035, 20479
Remote Control UG-Philips.indd 22Remote Control UG-Philips.indd 22 7/26/05 11:10:53 AM7/26/05 11:10:53 AM

23
Philips 20035, 20081, 20618 Pilot 20037
Pioneer 20067
RadioShack 20000
Radix 20037
Randex 20037
RCA 20060, 20240, 20042, 20149, 21035, 20880,
20807, 21060
Realistic 20035, 20037, 20048, 20047, 20000, 20104
ReplayTV 20616, 20614
Runco 20039
Samsung 20240, 20045, 21014
Sanky 20048, 20039
Sansui 20000, 20067, 20209, 20041, 20479, 21479
Sanyo 20047, 20240, 20104
Scott 20184, 20045, 20121, 20043
Sears 20035, 20037, 20047, 20000, 20042, 20104, 21237
Sharp 20048, 20807
Shogun 20240
Singer 20072
Sonic Blue 20616, 20614
Sony 20035, 20032, 20033, 20000, 21232, 20636, 21972
STS 20042
Sylvania 20035, 20081, 20000, 20043, 21781
Symphonic 20000
Systemax 21972
Tagar Systems 21972
Tatung 20041
Teac 20000, 20041
Technics 20035, 20162
Teknika 20035, 20037, 20000
Thomas 20000
Tivo 20618, 20636
TMK 20240
Toshiba 20045, 20043, 21145, 20845, 21972
Totevision 20037, 20240
Touch 21972
Unitech 20240
Vector 20045
Vector Research 20038
Video Concepts 20045
Videomagic 20037
Videosonic 20240
Viewsonic 21972
Villain 20000
Wards 20060, 20035, 20048, 20047, 20081, 20240,
20000, 20042, 20072, 20149
White Westinghouse 20209, 20072
XR-1000 20035, 20000, 20072
Yamaha 20038
Zenith 20039, 20033, 20000, 20209, 21479, 20479
ZT Group 21972
Remote Control UG-Philips.indd 23Remote Control UG-Philips.indd 23 7/26/05 11:10:53 AM7/26/05 11:10:53 AM

24
Setup Codes for DVD Players
Advent 21016
Akai 20899
Allegro 20869
Apex Digital 20672, 20717, 20794, 20830, 21061, 20755,
20797, 21056, 20796, 21020, 21100
Audiovox 21072, 21071
Axion 21072, 21071
Blaupunkt 20717
Blue Parade 20571
Broksonic 20868, 20695
CineVision 20876, 20869
Coby 21086
Curtis Mathes 21087
CyberHome 21024, 21023, 20816
Daewoo 20784, 20869, 20833
Denon 20490
Dual 21085, 21068
DVD2000 20521
Emerson 20591, 20821, 20675
Enterprise 20591
Fisher 20670
Funai 20675
GE 20522, 20815, 20717
Go Video 20744, 20783, 21075, 20869, 20715, 20833
GPX 20699
Greenhill 20717
Hitachi 20573, 20664
Hiteker 20672
Initial 20717
Jensen 21016
JVC 20558, 20623, 20867
Kenwood 20490, 20534
KLH 20717, 21020
Koss 20651
Lasonic 20798
Magnavox 20503, 20821, 20675
Marantz 20539
Memorex 20695
Microsoft 20522
Mintek 20839, 20717
Mitsubishi 21521, 20521
Nesa 20717
Norcent 21003
Onkyo 20503
Oritron 20651
Panasonic 20490, 21762, 20632, 21490, 21462, 21362
Philips 20503, 20539, 20646, 20885, 20854
Pioneer 20525, 20571, 20632
Polaroid 21061, 21086
Remote Control UG-Philips.indd 24Remote Control UG-Philips.indd 24 7/26/05 11:10:54 AM7/26/05 11:10:54 AM

25
Polk Audio 20539
Prima 21016
Proscan 20522
Qwestar 20651
RCA 20522, 20571, 20717, 21022, 20822
Rio 20869
Rowa 20823
Samsung 20490, 20573, 20820, 21075, 20899
Sansui 20695
Sanyo 20873, 20695, 20670
Sharp 20630
Shinsonic 20533, 20839
Sonic Blue 20869
Sony 20533, 20864, 21033, 22043, 22020
Superscan 20821
Sylvania 20821, 20675
Symphonic 20675
Technics 20490
Theta Digital 20571
Toshiba 20503, 20695, 21045
Tredex 20799
Urban Concepts 20503
US Logic 20839
Xbox 20522
Yamaha 20490, 20539, 20545
Zenith 20503, 20591, 20869
Setup Codes for Stereo Receivers
ADC 30531
Aiwa 31405, 30158, 30189, 31388, 30121, 30405, 31641
Akai 31512
Alco 31390
Amphion Media
Works 31615, 31563
AMW 31615, 31563
Anam 31609, 31074
Apex Digital 31430, 31257
Arcam 31120
Audiotronic 31189
Audiovox 31390
Bose 31229, 30639
Brix 31602
Cambridge Sound-
works Capetronic
Carver 31370 30531 31189, 30189, 30042
Casio 30195
Clarinette 30195
Classic 31352
Coby 31389
Criterion 31420
Remote Control UG-Philips.indd 25Remote Control UG-Philips.indd 25 7/26/05 11:10:54 AM7/26/05 11:10:54 AM

26
Curtis Mathes 30080
Daewoo 31250
Dell 31383
Harman/Kardon 30110, 30189, 30891
Hewlett Packard 31181
Hitachi 31801
Initial 31426
Integra 31298, 30135
JBL 30110, 31306
JVC 30074, 31495, 31374
Kenwood 31313, 31570, 31569, 30027, 30186, 30042, 30239
KLH 31412, 31390, 31428
Koss 31366
Lasonic 31798
Lenoxx 31437
Linn 30189
Liquid Video 31497
Lloyd’s 30195
LXI 30181
Magnavox 31189, 31269, 30189, 30195, 30531, 31514, 30391
Marantz 31189, 31269, 30039, 30189, 31289
MCS 30039
Mitsubishi 31393
Modulaire 30195
Nakamichi 30097
Norcent 31389
Onkyo 30135, 31531, 31298, 30842
Optimus 31023, 30738, 31074, 30181, 30670, 30080,
30531, 30801, 30042, 30186
Oritron 31497, 31366
Panasonic 31518, 30039, 31288, 31763, 30367, 30309,
31316, 31764
Penney 30195
Philco 31390
Philips 31189, 31269, 30189, 31120, 30391, 31266
Pioneer 31023, 30014, 30244, 30150, 30630, 30080,
30531, 31384
Polaroid 31508
Polk Audio 30189, 31289
Proscan 31254
Quasar 30039
RCA 31023, 31609, 31254, 30080, 31074, 31511,
31390, 30531
Realistic 30195, 30181
Regent 31437
Rio 31869, 31383
Saba 31519
Samsung 31500, 31295
Sansui 30189
Sanyo 31469, 31251, 30801
Sharp 31286, 30186
Remote Control UG-Philips.indd 26Remote Control UG-Philips.indd 26 7/26/05 11:10:54 AM7/26/05 11:10:54 AM

27
Sharper Image 31556
Sherwood 31653, 30502, 30491
Soundesign 30670
Stereophonics 31023
Sunfi re 31313
Teac 30463, 31528, 31390, 31074
Technics 31308, 31518, 30039, 30309
Thorens 31189
Venturer 31390
Victor 30074
Wards 30158, 30189, 30080, 30014
Yamaha 30176, 30186, 31375, 31331, 31176
Yorx 30195
Zenith 31293, 30857, 31869
Setup Codes for Stereo Amplifi ers
Aiwa 30406
Bose 30674
Carver 30269
Curtis Mathes 30300
Denon 30160
Durabrand 31561
GE 30078
Harman/Kardon 30892
JVC 30331
Left Coast 30892
Lenoxx 31561
Linn 30269
Luxman 30165
Magnavox 30269
Marantz 30892, 30321, 30269
Nakamichi 30321
NEC 30264
Optimus 30395, 30300
Panasonic 30308, 30521
Parasound 30246
Philips 30892, 30269
Pioneer 30300, 30013
Polk Audio 30892, 30269
RCA 30300
Realistic 30395
Sansui 30321
Shure 30264
Sony 30689, 30815, 30220
Soundesign 30078, 30211
Technics 30521, 30308
Victor 30331
Wards 30078, 30013, 30211
Yamaha 30354, 30143, 30133
Remote Control UG-Philips.indd 27Remote Control UG-Philips.indd 27 7/26/05 11:10:54 AM7/26/05 11:10:54 AM

28
REPAIR OR REPLACEMENT POLICY
If the DIRECTV Universal Remote Control does not function
properly, DIRECTV will, at our sole discretion, repair or replace
the DIRECTV Universal Remote Control, provided that:
a. You are a customer of DIRECTV and your account is in good
standing; and
b. The problem with the DIRECTV Universal Remote Control
was not caused by abuse, mishandling, alteration, accident,
failure to follow operating, maintenance or environmental
instructions set forth in this User Guide, or service performed
by someone other than DIRECTV.
THE DIRECTV UNIVERSAL REMOTE CONTROL IS PRO-
VIDED ON AN AS IS, AS AVAILABLE BASIS, SOLELY
FOR YOUR NON-COMMERCIAL, RESIDENTIAL USE.
DIRECTV DOES NOT MAKE ANY REPRESENTA-
TIONS OR WARRANTIES OF ANY KIND, WHETHER
STATUTORY, EXPRESS OR IMPLIED, REGARDING THE
DIRECTV UNIVERSAL REMOTE CONTROL, INCLUDING
ANY IMPLIED WARRANTY OF MERCHANTABILITY,
NONINFRINGEMENT OR FITNESS FOR A PARTICULAR
PURPOSE OR IMPLIED WARRANTIES ARISING FROM A
COURSE OF DEALING OR COURSE OF PERFORMANCE.
DIRECTV EXPRESSLY DISCLAIMS ANY REPRESENTA-
TION OR WARRANTY THAT THE DIRECTV UNIVER-
SAL REMOTE CONTROL WILL BE ERROR FREE. NO
ORAL ADVICE OR WRITTEN INFORMATION GIVEN
BY DIRECTV, ITS EMPLOYEES, AND LICENSORS OR
THE LIKE SHALL CREATE A WARRANTY; NOR SHALL
CUSTOMER RELY ON ANY SUCH INFORMATION OR
ADVICE.
UNDER NO CIRCUMSTANCES, INCLUDING NEGLI-
GENCE, SHALL DIRECTV OR ANYONE ELSE INVOLVED
IN ADMINISTERING, DISTRIBUTING, OR PROVIDING
THE DIRECTV UNIVERSAL REMOTE CONTROL BE LI-
ABLE FOR ANY INDIRECT, INCIDENTAL, SPECIAL OR
CONSEQUENTIAL DAMAGES, INCLUDING, WITHOUT
LIMITATION, LOSS OF REVENUES OR INABILITY TO
USE THE DIRECTV UNIVERSAL REMOTE CONTROL,
MISTAKES, OMISSIONS, INTERRUPTIONS, DEFECTS,
FAILURE OF PERFORMANCE, EVEN IF DIRECTV HAS
BEEN ADVISED OF THE POSSIBILITY OF SUCH LOSSES.
Because some states do not allow the exclusion or limitation of
liability for consequential or incidental damages, in such states,
DIRECTV’s liability is limited to the greatest extent permitted
by law.
Remote Control UG-Philips.indd 28Remote Control UG-Philips.indd 28 7/26/05 11:10:55 AM7/26/05 11:10:55 AM

29
ADDITIONAL INFORMATION
This product does not have any user-serviceable parts.
Opening the case, except for the battery cover, may
cause permanent damage to your DIRECTV Universal
Remote Control.
For help via the Internet, visit us at: DIRECTV.com
Or ask for technical support at: 1-800-531-5000
Copyright 2005 by DIRECTV, Inc. No part of this pub-
lication may be reproduced, transmitted, transcribed,
stored in any retrieval system, or translated to any lan-
guage, in any form or by any means, electronic, mechan-
ical, magnetic, optical, manual, or otherwise, without
prior written permission of DIRECTV, Inc.
DIRECTV, the Cyclone Design logo and DIRECTV
NEWS are trademarks of DIRECTV, Inc.
M2081B for use with the URC2081/2082, DIRECTV
Universal Remote Control.
06/05
Remote Control UG-Philips.indd 29Remote Control UG-Philips.indd 29 7/26/05 11:10:55 AM7/26/05 11:10:55 AM

30
COMPLIANCE WITH FCC RULES AND
REGULATIONS
This equipment has been tested and found to comply
with the limits for a Class B digital device, pursuant to
part 15 of the FCC Rules. These limits are designed to
provide reasonable protection against harmful interfer-
ence in a residential installation. This equipment gener-
ates, uses and can radiate radio frequency energy and if
not used in accordance with the instructions, may cause
harmful interference to radio communications.
However, there is no guarantee that interference will not
occur in a particular installation. If this equipment does
cause harmful interference to radio or television recep-
tion, the user is encouraged to try to correct the interfer-
ence by one or more of the following measures:
• Increase or decrease the separation between the equip-
ment and receiver.
• Consult the dealer or an experienced remote control/
TV technician for help.
This equipment has been veri? ed to comply with the
limits for a Class B computing device, pursuant to FCC
Rules. The user is cautioned that changes and modi? ca-
tions made to the equipment without the approval of
manufacturer could void the user’s authority to operate
this equipment.
FCC Authorization Label
This device complies with part 15 of the FCC Rules.
Operation is subject to the following two conditions:
1. This device may not cause harmful interference.
2. This device must accept any interference received,
including interference that may cause undesired opera-
tion.
Responsible Party:
DIRECTV, Inc.
2230 E. Imperial Hwy.
El Segundo, CA 90245
1-800-531-5000
FCC ID #: RCSRC1704701A
Remote Control UG-Philips.indd 30Remote Control UG-Philips.indd 30 7/26/05 11:10:55 AM7/26/05 11:10:55 AM