Proform 294030 Crosswalk 345S Treadmill Users Manual
Proform-294030-Owner-S-Manual proform-294030-owner-s-manual
2015-04-13
: Proform Proform-294030-Crosswalk-345S-Treadmill-Users-Manual-697360 proform-294030-crosswalk-345s-treadmill-users-manual-697360 proform pdf
Open the PDF directly: View PDF
.
Page Count: 22

Serial
Number
Decal
Model No. 831.294030
Serial No.
CAUTION
Read all precautions and instruc-
tions in this manual before using
this equipment. Save this manual
for future reference. Sears, Roebuck and Co., Hoffman Estates, IL 60179
TREADMILL EXERCISER
User’s Manual
• Assembly
• Operation
• Maintenance
• Part List and Drawing

TABLE OF CONTENTS
IMPORTANT PRECAUTIONS . . . . . . . . . . . . . . . . . . . . . . . . . . . . . . . . . . . . . . . . . . . . . . . . . . . . . . . . . . . . . . . .3
BEFORE YOU BEGIN . . . . . . . . . . . . . . . . . . . . . . . . . . . . . . . . . . . . . . . . . . . . . . . . . . . . . . . . . . . . . . . . . . . . . .5
ASSEMBLY . . . . . . . . . . . . . . . . . . . . . . . . . . . . . . . . . . . . . . . . . . . . . . . . . . . . . . . . . . . . . . . . . . . . . . . . . . . . . . .6
OPERATION AND ADJUSTMENT . . . . . . . . . . . . . . . . . . . . . . . . . . . . . . . . . . . . . . . . . . . . . . . . . . . . . . . . . . . .10
HOW TO FOLD AND MOVE THE TREADMILL . . . . . . . . . . . . . . . . . . . . . . . . . . . . . . . . . . . . . . . . . . . . . . . . . .14
TROUBLESHOOTING . . . . . . . . . . . . . . . . . . . . . . . . . . . . . . . . . . . . . . . . . . . . . . . . . . . . . . . . . . . . . . . . . . . . .16
CONDITIONING GUIDELINES . . . . . . . . . . . . . . . . . . . . . . . . . . . . . . . . . . . . . . . . . . . . . . . . . . . . . . . . . . . . . . .18
ORDERING REPLACEMENT PARTS . . . . . . . . . . . . . . . . . . . . . . . . . . . . . . . . . . . . . . . . . . . . . . . . . .Back Cover
FULL 90 DAY WARRANTY . . . . . . . . . . . . . . . . . . . . . . . . . . . . . . . . . . . . . . . . . . . . . . . . . . . . . . . . . .Back Cover
Note: An EXPLODED DRAWING and a PART LIST are attached in the center of this manual.
2

3
1. It is the responsibility of the owner to ensure
that all users of this treadmill are adequately
informed of all warnings and precautions.
2. Use the treadmill only as described.
3. Place the treadmill on a level surface, with at
least eight feet of clearance behind it and two
feet on each side. Do not place the treadmill
on any surface that blocks air openings. To
protect the floor or carpet from damage, place
a mat under the treadmill.
4. Keep the treadmill indoors, away from mois-
ture and dust. Do not put the treadmill in a
garage or covered patio, or near water.
5. Do not operate the treadmill where aerosol
products are used or where oxygen is being
administered.
6. Keep children under the age of 12 and pets
away from the treadmill at all times.
7. The treadmill should be used only by persons
weighing 250 pounds or less.
8. Never allow more than one person on the
treadmill at a time.
9. Wear appropriate exercise clothes when
using the treadmill. Do not wear loose clothes
that could become caught in the treadmill.
Athletic support clothes are recommended for
both men and women. Always wear athletic
shoes. Never use the treadmill with bare feet,
wearing only stockings, or in sandals.
10. When connecting the power cord (see page 10),
plug the power cord into a surge suppressor
(not included) and plug the surge suppressor
into a grounded circuit capable of carrying 15
or more amps. No other appliance should be on
the same circuit. Do not use an extension cord.
11. Use only a single-outlet surge suppressor that
meets all of the specifications described on
page 10. To purchase a surge suppressor, see
your local Sears or call 1-800-366-7278 and
order part number 146148.
12. Failure to use a properly functioning surge
suppressor could result in damage to the con-
trol system of the treadmill. If the control sys-
tem is damaged, the walking belt may change
speed or stop unexpectedly, which may result
in a fall and serious injury.
13. Keep the power cord and the surge suppres-
sor away from heated surfaces.
14. Never move the walking belt while the power
is turned off. Do not operate the treadmill if
the power cord or plug is damaged, or if the
treadmill is not working properly. (See BE-
FORE YOU BEGIN on page 5 if the treadmill is
not working properly.)
15. Never start the treadmill while you are stand-
ing on the walking belt. Always hold the
handrails or upper body arms while using the
treadmill.
16. The treadmill is capable of high speeds.
Adjust the speed in small increments to avoid
sudden jumps in speed.
17. The pulse sensor is not a medical device.
Various factors, including your movement,
may affect the accuracy of heart rate readings.
The sensor is intended only as an exercise aid
in determining heart rate trends in general.
18. Never leave the treadmill unattended while it
is running. Always remove the key and unplug
the power cord when the treadmill is not in
use.
19. Do not attempt to raise, lower, or move the
treadmill until it is properly assembled. (See
ASSEMBLY on page 6, and HOW TO FOLD
AND MOVE THE TREADMILL on page 14.)
You must be able to safely lift 45 pounds (20
kg) to raise, lower, or move the treadmill.
20. When folding or moving the treadmill, make
sure that the storage latch is fully closed.
21. Inspect and properly tighten all parts of the
treadmill regularly.
WARNING: To reduce the risk of burns, fire, electric shock, or injury to persons, read the
following important precautions and information before operating the treadmill.
IMPORTANT PRECAUTIONS

4
The decals shown have been placed on your treadmill. If a decal is missing, or if it
is not legible, please call toll-free 1-800-999-3756 to order a free replacement decal
(see the front cover of this manual). Apply the decal in the location shown. Note:
The decals are not shown at actual size.
22. Never insert any object into any opening.
23. DANGER: Always unplug the power
cord immediately after use, before cleaning
the treadmill, and before performing the
maintenance and adjustment procedures de-
scribed in this manual. Never remove the
motor hood unless instructed to do so by an
authorized service representative. Servicing
other than the procedures in this manual
should be performed by an authorized ser-
vice representative only.
24. This treadmill is intended for in-home use
only. Do not use this treadmill in a commer-
cial, rental, or institutional setting.
WARNING: Before beginning this or any exercise program, consult your physician. This
is especially important for persons over the age of 35 or persons with pre-existing health problems.
Read all instructions before using. Sears assumes no responsibility for personal injury or property
damage sustained by or through the use of this product.
SAVE THESE INSTRUCTIONS

5
Thank you for selecting the revolutionary PROFORM®
CROSSWALK 345s treadmill. The CROSSWALK 345s
treadmill combines advanced technology with innova-
tive design to help you get the most from your exercise
program in the convenience and privacy of your home.
And when you’re not exercising, the unique CROSS-
WALK 345s treadmill can be folded up, requiring less
than half the floor space of other treadmills.
For your benefit, read this manual carefully before
using the treadmill. If you have questions after reading
this manual, call 1-800-4-MY-HOME®(1-800-469-
4663).To help us assist you, please note the product
model number and serial number before calling. The
model number of the treadmill is 831.294030. The serial
number can be found on a decal attached to the tread-
mill (see the front cover of this manual for the location).
Before reading further, please review the drawing
below and familiarize yourself with the labeled parts.
BEFORE YOU BEGIN
Handrail Upright
Storage Latch
Key/Clip
Circuit Breaker
Walking Belt
Cushioned Walking Platform
for maximum exercise comfort
Foot Rail
Power Cord
RIGHT SIDE
Rear Roller
Adjustment Bolts
Console
Bookrack
Water Bottle Holder
(Bottle is not included)
BACK
Upper Body Arms

6
ASSEMBLY
Assembly requires two persons. Set the treadmill in a cleared area and remove all packing materials. Do not
dispose of the packing materials until assembly is completed.
Note: The underside of the treadmill walking belt is coated with high-performance lubricant. During shipping, a
small amount of lubricant may be transferred to the top of the walking belt or the shipping carton. This is a normal
condition and does not affect treadmill performance. If there is lubricant on top of the walking belt, simply wipe off
the lubricant with a soft cloth and a mild, non-abrasive cleaner.
Assembly requires the included allen wrenches and your own phillips screwdriver ,
rubber mallet , wire cutters , and needlenose pliers .
For help identifying the assembly hardware, see the drawings below. Note: The assembly hardware and
other small parts are packaged in separate part bags. Do not open the part bags until instructed to do so.
If a part is not in the parts bag, first check to see if it has been pre-assembled. If a part is missing, call toll-free
1-800-999-3756.
1. Make sure that the power cord is unplugged.
With the help of another person, carefully raise the
Uprights (69) to the vertical position. Insert one of the
Extension Legs (63) into the treadmill as shown. (Note: It
may be helpful to tip the Uprights as you insert the
Extension Leg.) Make sure that the Warning Decal (62)
is in the position shown.
Insert the other Extension Leg (63) in the same way.
1/2” Silver Screw
(48)–1
3/4” Screw (2)–6
Wheel Nut (32)–2
Washer (38)–6
3/4” Tek Screw (58)–81” Screw (99)–21/2” Ground Screw
(75)–1
3 1/2” Bolt (64)–2
3/4” Bolt (37)–6
69
63
62
1

7
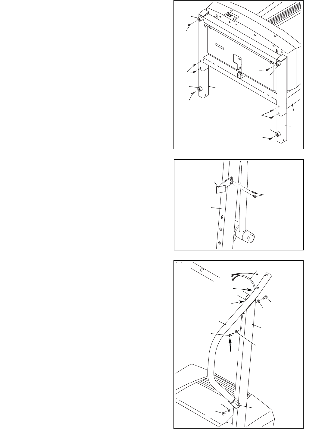
3. Attach the Storage Latch (29) to the left Upright (69) with
two 1” Screws (99). Do not overtighten the Screws.
99
29
69
3
2. With the help of another person, carefully lower the
Uprights (69) as shown. (Note: It may be helpful to place
your foot on one of the Extension Legs [63] as you tip
the Uprights.) Make sure that the Extension Legs re-
main in the Uprights.
Attach each Extension Leg (63) with two 3/4” Tek
Screws (58).
Attach four Base Pads (57) with four 3/4” Tek Screws
(58) as shown. Note: One replacement Base Pad may
be included. If a Base Pad becomes worn and needs to
be replaced, use the replacement Base Pad.
With the help of another person, carefully raise the
Uprights (69) to the vertical position. 58
58
58
58
58
58
63
69
57
57
63
57
57
2
4. Identify the Right Handrail (72), which has a large hole in
the left side. Remove any ties from the bracket on the
Right Handrail and from the Wire Harness (42). Feed the
Wire Harness up into the bracket on the Right Handrail
and out of the large hole in the left side. (Note: It may be
helpful to use needlenose pliers to pull the Wire Harness
out of the large hole.) Press a Handrail Cap (76) onto the
lower end of the Right Handrail as shown.
Insert the bracket on the Right Handrail (72) into the top
of the Right Upright (69) so that the Handrail Cap (76) is
resting against the Right Upright. Attach the Right
Handrail and the Handrail Cap with three 3/4” Bolts (37)
and three Washers (38) as shown. Firmly tighten the
indicated Bolt, but do not tighten the other Bolts yet.
Attach the Left Handrail (not shown) as described above.
Note: There is not a wire harness on the left side.
Bracket
Tighten
76
72
69
42
38
38
38
37
37
37
Large
Hole
4

8
47
42
44
7. Insert the excess Wire Harness (42) into the large hole in
the side of the Right Handrail (72). Securely tighten the
plastic ties on the bottom of the Console Base (47) to
prevent the Wire Harness from slipping. Then, cut off
the ends of the plastic ties.
Route the Wire Harness (42) through the indicated open-
ing in the Console Base (47). Attach the Wire Cover to the
Console Base (47) with a 1/2” Silver Screw (48). Note: Do
not overtightn the 1/2” Silver Screw.
Attach the Console Base (47) to the Crossbar (40) with two
3/4” Screws (2). Tighten the two Crossbar Screws (39)
(only one Crossbar Screw is shown).
7
2
72
48
40
Ties
47
Ties
72
6
6. Loosen the two Crossbar Screws (39) two turns (only
one Crossbar Screw is shown). Place the Console Base
(47) on the Right Handrail (72) and the Left Handrail (not
shown). Attach the Console Base with four 3/4” Screws
(2) (only two Screws are shown). Do not overtighten
the Screws.
Insert the Wire Harness (42) through the two indicated
plastic ties on the Console Base (47). Next, touch the
Right Handrail (72) to discharge any static. See the
inset drawing. Find the 5-pin connector on the end of the
Wire Harness. Insert the connector into the red socket be-
neath the console. The connector should slide easily
into the socket and snap into place. If the connector
does not slide easily and snap into place, turn the connec-
tor and then insert it. Insert the 6-pin connector into the
black socket beneath the console in the same way.
Make sure that the connectors and wires appear as
shown in the inset drawing. IF THE CONNECTORS ARE
NOT INSERTED PROPERLY, THE CONSOLE MAY BE
DAMAGED WHEN THE POWER IS TURNED ON.
42
43
2
Opening
6-pin
42
5-pin
5. Attach the end of the ground wire to the small hole in the
side of the Right Handrail (72) with a Silver Ground
Screw (75).
Ground
Wire
72
75
5
39
39

9
9. Make sure that all parts are properly tightened before you use the treadmill. Note: Extra hardware may
be included. Keep the included allen wrenches in a secure place. The large allen wrench is used to adjust the
walking belt (see page 17). To protect the floor or carpet, place a mat under the treadmill.
8. Attach a Wheel (66) to the inner side of each Extension
Leg (63) with a Wheel Bolt (64) and a Wheel Nut (32) as
shown. Do not overtighten the Wheel Bolt. The Wheel
should be able to spin freely.
Lift the treadmill frame (see HOW TO FOLD THE
TREADMILL FOR STORAGE on page 11), but do not
latch it. Make sure that the frame is centered between
the Handrails (not shown). Firmly tighten the 3/4” Bolts
(not shown) used in assembly step 4. Then, lower the
frame to the floor.
63
64
66
32
8

10
OPERATION AND ADJUSTMENT
THE PERFORMANT LUBETM WALKING BELT
Your treadmill features a walking belt coated with
PERFORMANT LUBETM, a high-performance lubricant.
IMPORTANT: Never apply silicone spray or other
substances to the walking belt or the walking plat-
form. Such substances will deteriorate the walking
belt and cause excessive wear.
HOW TO PLUG IN THE POWER CORD
Your treadmill, like any other type of sophisticated
electronic equipment, can be seriously damaged by
sudden voltage changes in your home’s power.
Voltage surges, spikes, and noise interference can
result from weather conditions or from other appliances
being turned on or off. To decrease the possibility of
your treadmill being damaged, always use a surge
suppressor with your treadmill (see drawing 1 at
the right). To purchase a surge suppressor, see
your local Sears or call 1-800-366-7278 and order
part number 146148.
Use only a single-outlet surge suppressor that is
UL 1449 listed as a transient voltage surge sup-
pressor (TVSS). The surge suppressor must have a
UL suppressed voltage rating of 400 volts or less
and a minimum surge dissipation of 450 joules.
The surge suppressor must be electrically rated
for 120 volts AC and 15 amps. There must be a
monitoring light on the surge suppressor to indi-
cate whether it is functioning properly. Failure to
use a properly functioning surge suppressor could
result in damage to the control system of the
treadmill. If the control system is damaged, the
walking belt may change speed or stop unexpect-
edly, which may result in a fall and serious injury.
This product must be grounded. If it should malfunc-
tion or break down, grounding provides a path of least
resistance for electric current to reduce the risk of elec-
tric shock. This product is equipped with a cord having
an equipment-grounding conductor and a grounding
plug. Plug the power cord into a surge suppressor,
and plug the surge suppressor into an appropriate
outlet that is properly installed and grounded in
accordance with all local codes and ordinances.
Important: The treadmill is not compatible with
GFCI-equipped outlets.
This product is for use on a nominal 120-volt circuit,
and has a grounding plug that looks like the plug illus-
trated in drawing 1 below. A temporary adapter that
looks like the adapter illustrated in drawing 2 may be
used to connect the surge suppressor to a 2-pole
receptacle as shown in drawing 2 if a properly
grounded outlet is not available.
The temporary adapter should be used only until a
properly grounded outlet (drawing 1) can be installed
by a qualified electrician.
The green-colored rigid ear, lug, or the like extending
from the adapter must be connected to a permanent
ground such as a properly grounded outlet box cover.
Whenever the adapter is used it must be held in place
by a metal screw. Some 2-pole receptacle outlet box
covers are not grounded. Contact a qualified elec-
trician to determine if the outlet box cover is
grounded before using an adapter.
DANGER: Improper connection
of the equipment-grounding conductor can
result in an increased risk of electric shock.
Check with a qualified electrician or service-
man if you are in doubt as to whether the
product is properly grounded. Do not modify
the plug provided with the product—if it will
not fit the outlet, have a proper outlet
installed by a qualified electrician.
1
2
Grounded Outlet Box
Grounded Outlet Box
Grounding Plug
Surge Suppressor
Surge Suppressor
Grounding Pin
Adapter
Lug
Metal Screw
Grounded Outlet
Grounding Pin

11
STEP-BY-STEP CONSOLE OPERATION
Before operating the console, make sure that the
power cord is properly plugged in (see page 10). The
reset/off circuit breaker, located on the treadmill frame
near the power cord, should be in the reset position
(see page 16).
Next, stand on the foot rails of the treadmill. Find the
clip attached to the key (see the drawing above), and
slide the clip onto the waistband of your clothes.
Insert the key fully into the console. After a moment,
the displays will light. Test the clip by carefully tak-
ing a few steps backward until the key is pulled
from the console. If the key is not pulled from the
console, adjust the position of the clip.
Follow the steps below to operate the console.
Insert the key fully into the console.
A few seconds after the key is inserted, the dis-
plays will light.
Press the Start button or the Speed increase
button to start the walking belt.
A moment after the button is pressed, the walking
belt will begin to move. Hold the handrails and
begin walking.
As you exercise, change the speed of the walking
belt as desired by pressing the Speed buttons.
Each time a button is pressed, the speed setting
will change by 0.1 mph; if a button is held down,
the speed setting will change in increments of 0.5
mph. Note: The console can display speed and
distance in either miles or kilometers (see
SPEED DISPLAY on page 12). For simplicity, all
instructions in this section refer to miles.
2
1
CAUTION:Before operating the
console, read the following precautions.
•Do not stand on the walking belt when turn-
ing on the power.
•Always wear the clip (see the drawing
above) while operating the treadmill.
•Adjust the speed in small increments to
avoid sudden jumps in speed.
•To reduce the possibility of electric shock,
keep the console dry. Avoid spilling liquids
on the console and place only a sealed
water bottle in the water bottle holder.
Pulse Sensor
CONSOLE DIAGRAM
Note: If there is a thin sheet of
plastic on the console, remove it.
Displays
Key
Clip

12
To stop the walking belt, press the Stop button.
The elapsed time will begin to flash in the
Time/Distance display.
Note: During the first few minutes that the treadmill
is used, inspect the alignment of the walking belt,
and align it if necessary (see page 16).
Change the incline of the treadmill as desired.
To change the incline of the treadmill, press either
of the Incline buttons until the desired incline level
is reached.
Follow your progress with the three displays.
Time/Distance
display—This display
shows the elapsed time
and the distance that
you have walked or run.
The display will change
from one number to the
other every few seconds, as shown by the mode
indicators. When the Stop button is pressed, the
elapsed time will flash.
Fat Calories/Calories/
Pulse display—This
display shows the ap-
proximate numbers of
fat calories and calories
you have burned (see
FAT BURNING on page 18). The display will
change from one number to the other every few
seconds, as shown by the mode indicators. The
display will also show your heart rate when you
use the pulse sensor (see step 5).
Speed display—This
display shows the speed
of the walking belt
Note: The console can
display speed and dis-
tance in either miles or
kilometers. To change
the unit of measure-
ment, hold down the
Stop button, insert the key into the console, and
continue to hold the Stop button for a moment. An
“E” for English miles or an “M” for metric kilometers
will appear in the Fat Calories/Calories/Pulse dis-
play. Press the Speed increase button to change
the unit of measurement. When the desired unit of
measurement is selected, remove the key and
then reinsert it.
To reset the displays, press the Stop button, re-
move the key, and then reinsert the key.
Measure your heart rate if desired.
To measure your
heart rate, stand on
the foot rails and
place your thumb
on the pulse sensor.
Do not press too
hard, or the circu-
lation in your
thumb will be restricted and your pulse will not
be detected. After a few seconds, the heart-
shaped indicator in the Fat Calories/Calories/
Pulse display will begin to flash, one or two dashes
(– –) will appear, and then your heart rate will be
shown. Hold your thumb on the pulse sensor for
about 15 seconds for the most accurate reading.
If the displayed heart rate appears to be too high
or too low, or if your heart rate is not displayed, lift
your thumb off the pulse sensor for a few seconds.
Then, place your thumb on the pulse sensor as de-
scribed above. Remember to stand still while mea-
suring your heart rate.
When you are finished exercising, remove the
key.
Step onto the foot rails, press the Stop button, and
remove the key from the console. Keep the key in a
secure place. Move the reset/off circuit breaker to
the off position and unplug the power cord.
6
5
4
3
Mode Indicator

13
HOW TO USE THE UPPER BODY ARMS
As you walk on the treadmill, you can either hold the handrails
or use the upper body arms. To exercise your arms, shoulders,
and back for a total body workout, move the upper body arms
forward and back as you walk on the treadmill.
To vary the intensity of your upper body exercise, the resistance
of the upper body arms can be adjusted. To increase the resis-
tance, turn the resistance knobs clockwise; to decrease the re-
sistance, turn the knobs counterclockwise.
Resistance
Knobs
Upper
Body
Arms

HOW TO FOLD AND MOVE THE TREADMILL
HOW TO FOLD THE TREADMILL FOR STORAGE
Before folding the treadmill, adjust the incline to the
lowest position. If this is not done, the treadmill may be per-
manently damaged. Next, unplug the power cord. CAUTION:
You must be able to safely lift 45 pounds (20 kg) to raise,
lower, or move the treadmill.
1. Hold the treadmill with your hands in the locations shown at
the right. To decrease the possibility of injury, bend your
legs and keep your back straight. As you raise the tread-
mill, make sure to lift with your legs rather than your
back. Raise the treadmill about halfway to the vertical posi-
tion.
2. Move your right hand to the position shown and hold the
treadmill firmly. Using your left thumb, press the storage
latch to the left. Raise the treadmill until the storage latch
closes over the catch. Make sure that the storage latch is
fully engaged over the catch.
To protect the floor or carpet from damage, place a mat
under the treadmill. Keep the treadmill out of direct sun-
light. Do not leave the treadmill in the storage position in
temperatures above 85°Fahrenheit.
HOW TO MOVE THE TREADMILL
Before moving the treadmill, convert the treadmill to the storage
position as described above. Make sure that the frame is se-
curely held by the storage latch.
1. Hold the upper ends of the handrails. Place one foot on the
base as shown.
2. Tilt the treadmill back until it rolls freely on the front wheels.
Carefully move the treadmill to the desired location. To re-
duce the risk of injury, use extreme caution while mov-
ing the treadmill. Do not move the treadmill over an un-
even surface.
3. Place one foot on the base, and carefully lower the treadmill
until it is resting in the storage position.
14
Base
Front Wheels
Engaged
Catch
Storage
Latch

15
HOW TO LOWER THE TREADMILL FOR USE
1. Hold the upper end of the treadmill with your right hand.
Press the storage latch to the left. Pivot the treadmill down
until the frame and foot rail are past the storage latch.
2. Hold the treadmill firmly with both hands, and lower the tread-
mill to the floor. Do not drop the treadmill frame to the
floor. To decrease the possibility of injury, bend your
legs and keep your back straight.
Catch
Storage
Latch

16
TROUBLESHOOTING
Most treadmill problems can be solved by following the simple steps below. Find the symptom that
applies, and follow the steps listed. If further assistance is needed, call toll-free 1-800-4-MY-HOME®
(1-800-469-4663).
PROBLEM: The power does not turn on
SOLUTION: a. Make sure that the power cord is plugged into a surge suppressor, and that the surge suppressor
is plugged into a properly grounded outlet (see page 10). Use only a single-outlet surge suppres-
sor that meets all of the specifications described on page 10. Important: The treadmill is not com-
patible with GFCI-equipped outlets.
b. After the power cord has been plugged in, make sure that the key is fully inserted into the console.
c. Check the reset/off circuit breaker located on the
treadmill frame near the power cord. If the switch
protrudes as shown, the circuit breaker has tripped.
To reset the circuit breaker, wait for five minutes
and then press the switch back in.
PROBLEM: The power turns off during use
SOLUTION: a. Check the circuit breaker located on the treadmill frame near the power cord (see the drawing
above). If the circuit breaker has tripped, wait for five minutes and then press the switch back in.
b. Make sure that the power cord is plugged in. If the power cord is plugged in, unplug it, wait for
five minutes, and then plug it back in.
c. Remove the key from the console. Reinsert the key fully into the console.
d. If the treadmill still will not run, please call toll-free 1-800-4-MY-HOME®(1-800-469-4663).
PROBLEM: The displays of the console do not function properly
SOLUTION: a. Remove the key from the console and UNPLUG THE
POWER CORD. Remove the two 3/4” Screws (2)
from the Hood (1), and carefully pivot the Hood off.
Locate the Reed Switch (10) and the Magnet (18) on
the left side of the Pulley (17). Turn the Pulley until the
Magnet is aligned with the Reed Switch. Make sure
that the gap between the Magnet and the Reed
Switch is about 1/8”.If necessary, loosen the Screw
(56) and move the Reed Switch slightly. Retighten the
Screw. Re-attach the Hood, and run the treadmill for a
few minutes to check for a correct speed reading.
Tripped Reset
c
2
1
a
18
10
56
Top
View
1/8”17

17
PROBLEM: The walking belt slows when walked on
SOLUTION: a. Use only a single-outlet surge suppressor that meets all of the specifications described on page 10.
b. If the walking belt is overtightened, treadmill perfor-
mance may decrease and the walking belt may be-
come damaged. Remove the key and UNPLUG THE
POWER CORD. Using the allen wrench, turn both
rear roller adjustment bolts counterclockwise, 1/4 of a
turn. When the walking belt is properly tightened, you
should be able to lift each side of the walking belt 2 to
3 inches off the walking platform. Be careful to keep
the walking belt centered. Plug in the power cord, in-
sert the key, and run the treadmill for a few minutes.
Repeat until the walking belt is properly tightened.
c. If the walking belt still slows when walked on, please call toll-free 1-800-4-MY-HOME®(1-800-
469-4663).
PROBLEM: The walking belt is off-center or slips when walked on
SOLUTION: a. If the walking belt is off-center, first remove the key
and UNPLUG THE POWER CORD. If the walking
belt has shifted to the left, use the allen wrench to
turn the left rear roller bolt clockwise 1/2 of a turn; if
the walking belt has shifted to the right, turn the
bolt counterclockwise 1/2 of a turn. Be careful not to
overtighten the walking belt. Plug in the power cord,
insert the key, and run the treadmill for a few minutes.
Repeat until the walking belt is centered.
b. If the walking belt slips when walked on, first remove
the key and UNPLUG THE POWER CORD. Using
the allen wrench, turn both rear roller bolts clockwise,
1/4 of a turn. When the walking belt is correctly tight-
ened, you should be able to lift each side of the walk-
ing belt 2 to 3 inches off the walking platform. Be
careful to keep the walking belt centered. Plug in the
power cord, insert the key, and carefully walk on the
treadmill for a few minutes. Repeat until the walking
belt is properly tightened.
PROBLEM: ONE OF THE UPPER BODY ARMS SQUEAKS DURING USE
SOLUTION: a. Correcting this problem requires a small amount of
white marine grease, available at most hardware
stores. Turn the Resistance Knob (109) counterclock-
wise until it can be removed. Remove the Resistance
Cone (108) and the Upper Body Arm (117), along
with the 3/8” Washers (5), Spring Washer (111),
Thrust Washers (112), and Thrust Bearing (113).
(Note: If the Resistance Sleeve [107] or Resistance
Plate [27] comes out of the Resistance Bracket [105]
or Resistance Cone, press it back in.) Apply a thin
layer of white marine grease to the outer surface of
the Resistance Cone (108). Reattach all parts in the
order shown at the right.
107
105 24
109
112 111
27 113
a
5
108
Rear Roller Adjustment Bolts
2”–3”
b
a
b

18
CONDITIONING GUIDELINES
The following guidelines will help you to plan your ex-
ercise program. For more detailed exercise informa-
tion, obtain a reputable book or consult your physician.
EXERCISE INTENSITY
Whether your goal is to burn fat or to strengthen your
cardiovascular system, the key to achieving the
desired results is to exercise with the proper intensity.
The proper intensity level can be found by using your
heart rate as a guide. The chart below shows recom-
mended heart rates for fat burning and aerobic exercise.
To find the proper heart rate for you, first find your age
near the bottom of the chart (ages are rounded off to
the nearest ten years). Next, find the three numbers
above your age. The three numbers define your “train-
ing zone.” The lower two numbers are recommended
heart rates for fat burning; the higher number is the
recommended heart rate for aerobic exercise.
To measure your heart rate during exercise, use the
pulse sensor. If your heart rate is too high or too low,
adjust the speed and incline of the treadmill.
Fat Burning
To burn fat effectively, you must exercise at a relatively
low intensity level for a sustained period of time.
During the first few minutes of exercise, your body
uses easily accessible carbohydrate calories for en-
ergy. Only after the first few minutes does your body
begin to use stored fat calories for energy. If your goal
is to burn fat, adjust the speed and incline of the tread-
mill until your heart rate is near the lowest number in
your training zone.
For maximum fat burning, adjust the speed and incline
of the treadmill until your heart rate is near the middle
number in your training zone.
Aerobic Exercise
If your goal is to strengthen your cardiovascular sys-
tem, your exercise must be “aerobic.” Aerobic exercise
is activity that requires large amounts of oxygen for
prolonged periods of time. This increases the demand
on the heart to pump blood to the muscles, and on the
lungs to oxygenate the blood. For aerobic exercise,
adjust the speed and incline of the treadmill until your
heart rate is near the highest number in your training
zone.
WORKOUT GUIDELINES
Each workout should include the following three parts:
A Warm-up—Start each workout with 5 to 10 minutes
of stretching and light exercise. A proper warm-up in-
creases your body temperature, heart rate and circula-
tion in preparation for exercise.
Training Zone Exercise—After warming up, increase
the intensity of your exercise until your pulse is in your
training zone for 20 to 60 minutes. (During the first few
weeks of your exercise program, do not keep your
pulse in your training zone for longer than 20 minutes.)
Breathe regularly and deeply as you exercise—never
hold your breath.
A Cool-down—Finish each workout with 5 to 10 min-
utes of stretching to cool down. This will increase the
flexibility of your muscles and will help prevent post-
exercise problems.
EXERCISE FREQUENCY
To maintain or improve your condition, complete three
workouts each week, with at least one day of rest be-
tween workouts. After a few months, you may com-
plete up to five workouts each week if desired. The key
to success is to make exercise a regular and enjoyable
part of your everyday life.
WARNING: Before beginning this
or any exercise program, consult your physi-
cian. This is especially important for individu-
als over the age of 35 or individuals with pre-
existing health problems.
The pulse sensor is not a medical device.
Various factors, including your movement,
may affect the accuracy of heart rate readings.
The sensor is intended only as an exercise aid
in determining heart rate trends in general.

19
SUGGESTED STRETCHES
The correct form for several basic stretches is shown at the right. Move slowly as you stretch—never bounce.
1. Toe Touch Stretch
Stand with your knees bent slightly and slowly bend forward from
your hips. Allow your back and shoulders to relax as you reach
down toward your toes as far as possible. Hold for 15 counts, then
relax. Repeat 3 times. Stretches: Hamstrings, back of knees and
back.
2. Hamstring Stretch
Sit with one leg extended. Bring the sole of the opposite foot to-
ward you and rest it against the inner thigh of your extended leg.
Reach toward your toes as far as possible. Hold for 15 counts, then
relax. Repeat 3 times for each leg. Stretches: Hamstrings, lower
back and groin.
3. Calf/Achilles Stretch
With one leg in front of the other, reach forward and place your
hands against a wall. Keep your back leg straight and your back
foot flat on the floor. Bend your front leg, lean forward and move
your hips toward the wall. Hold for 15 counts, then relax. Repeat 3
times for each leg. To cause further stretching of the achilles ten-
dons, bend your back leg as well. Stretches: Calves, achilles ten-
dons and ankles.
4. Quadriceps Stretch
With one hand against a wall for balance, reach back and grasp
one foot with your other hand. Bring your heel as close to your but-
tocks as possible. Hold for 15 counts, then relax. Repeat 3 times
for each leg. Stretches: Quadriceps and hip muscles.
5. Inner Thigh Stretch
Sit with the soles of your feet together and your knees outward.
Pull your feet toward your groin area as far as possible. Hold for 15
counts, then relax. Repeat 3 times. Stretches: Quadriceps and hip
muscles.
1
2
3
4
5

PART LIST—Model No. 831.294030 R1003C
Key
No. Qty. Description Key
No. Qty. Description Key
No. Qty. Description
1 1 Hood
2 15 3/4” Screw
3 1 Motor Belt
4 1 Motor Tension Bolt
5 9 3/8” Washer
6 1 Motor Star Washer
7 1 Flywheel
8 1 Motor
9* 1 Motor Assembly
10 1 Reed Switch
11 1 Latch Warning Decal
12 2 Frame Spacer
13 5 Frame Pivot
Nut/Motor Nut
14 2 Frame Pivot Bolt
15 4 Walking Platform
Screw
16 1 Left Foot Rail
17 1 Front Roller/Pulley
18 1 Magnet
19 1 Motor Pivot Bolt
20 2 Motor Bracket Bolt
21 1 Right Foot Rail
Endcap
22 2 Belly Pan Clip
23 1 Front Roller
Adjustment Bolt
24 1 Left Upper Body Arm
w/Foam Grip
25 1 Right Upper Body
Arm w/Foam Grip
26 6 Ground Screw
27 2 Resistance Plate
28 1 Motor Tension Nut
29 1 Storage Latch
30 1 Latch Catch
31 1 Right Rear
Endcap Pad
32 2 Wheel Nut
33 1 Static Decal
34 1 Choke
35 1 Electronic Bracket
36 4 Plastic Stand-off
37 6 3/4” Bolt
38 12 Washer
39 2 Crossbar Screw
40 1 Crossbar
41 1 5/32” Allen Wrench
42 1 Wire Harness
43 1 Console
44 1 Wire Cover
45 4 Resistance Bracket
Bolt
46 1 Bookrack
47 1 Console Base
48 1 1/2” Silver Screw
49 2 1/2” Console Screw
50 1 Key/Clip
51 1 Incline Motor
52 1 Incline Bracket
53 2 Incline Motor Bolt
54 2 Clevis Pin
55 2 Cotter Pin
56 1 Motor Controller Wire
57 4 Base Pad
58 12 3/4” Tek Screw
59 1 Controller
60 1 Lift Frame
61* 2 Extension Leg
Assembly
62 2 Warning Decal
63 2 Extension Leg
64 2 3 1/2” Bolt
65 4 Base Endcap
66 2 Wheel
67 1 Console Warning
Decal
68 4 8” Cable Tie
69 1 Base
70 1 Grommet
71 1 Left Handrail
72 1 Right Handrail
73 4 Cage Nut
74 1 Left Foot Rail Endcap
75 1 1/2” Silver Ground
Screw
76 2 Handrail Cap
77 4 Belly Pan Screw
78 1 Reset/Off
Circuit Breaker
79 1 Power Cord
80 1 Power Cord Grommet
81 1 Belly Pan
82 2 Belt Guide
83 4 Belt Guide Screw
84 2 Plastic Fastener
85 2 Isolator Cushion
86 1 Frame
87 4 Releasable Tie
88 1 Incline Motor Wire
89 2 Cable Tie Clamp
90 1 Ground Wire
91 1 Left Rear Endcap Pad
92 2 Rear Roller
Adjustable Bolt
93 1 Right Rear Endcap
94 1 Allen Wrench
95 1 Left Rear Endcap
96 1 Walking Belt
97 1 Walking Platform
98 1 Right Foot Rail
99 2 Latch Screw
100 1 Rear Roller
101 2 Plastic Tie
102 6 Rear Endcap Screw
103 1 Motor Mount Bracket
104 2 Resistance Bolt
105 2 Resistance Bracket
106 4 Star Washer
107 2 Resistance Sleeve
108 2 Resistance Cone
109 2 Resistance Knob
110 2 Upright Insert
111 2 Spring Washer
112 4 Thrust Washer
113 2 Thrust Bearing
114 2 Foam Grip
115 1 Power Board w/Clips
#18” Blue Wire, 2F
#14” Blue Wire, 2F
#14” Blue Wire, M/F
#14” White Wire, M/F
#18” White Wire, 2F
#18” Green Wire, 2 Ring
#18” Red Wire, M/F
# 1 User’s Manual
*Includes all parts shown in the box
#These parts are not illustrated
If a part is missing, call toll-free
1-800-999-3756.

59
26
26
106 105
104
107
108
1
2
2
76
76
47
2
46
2
48
49
43
28
10
56
12
19
13 13
60
23
213
12
14
21
16
18
17
14
15
2
74
98 82
83
97
15
96
86
15
95
92 38
92
38
93
31 81
77
83
82
77
79
80
61*
58
63
64
66
57
58
65
61*
62
32
69
58
55
54
55
54
13
53
57
58
72
37
73
58
57
51
53
13
37
38
39
37
38
37 38
39
37
38
40
2
57
58
62
63
64
32
66
50
26
90
58
89
87
68
100
65
42
26
70
42
15
48
65
65
2
94
41
91
101
67
11
102
102
102
22
22
5
5
5
88
56
52
75
102
106
114
24
109
25
114
109
71
73
2
37
108
107
105
104 111
27
113
112
5
45 38
78
34
26
26
35
36
115
110
110
33
345
6
7
8
9*
103 20
2
2
85
84
84
85
27
112
113
111
5
99
29
36
30
44
45
38
38
38
EXPLODED DRAWING—Model No. 831.294030 R1003C

Part No. 204148 R1003C Printed in USA © 2003 Sears, Roebuck and Co.
FULL 90 DAY WARRANTY
For 90 days from the date of purchase, if failure occurs due to defect in material or workmanship in this
Sears Treadmill Exerciser, contact the nearest Sears Service Center throughout the United States and
Sears will repair or replace the Treadmill Exerciser, free of charge.
This warranty does not apply when the Treadmill Exerciser is used commercially or for rental purposes.
This warranty gives you specific legal rights, and you may also have other rights which vary from state to
state.
Sears, Roebuck and Co., Dept. 817WA, Hoffman Estates, IL 60179