Proform Petl147131 Performance 1650 Treadmill Users Manual
2015-04-13
: Proform Proform-Petl147131-Performance-1650-Treadmill-Users-Manual-698165 proform-petl147131-performance-1650-treadmill-users-manual-698165 proform pdf
Open the PDF directly: View PDF
.
Page Count: 36
- COLOCACIÓN DE LAS CALCOMANÍAS DE ADVERTENCIA
- PRECAUCIONES IMPORTANTES
- ANTES DE COMENZAR
- TABLA DE IDENTIFICACIÓN DE PIEZAS
- MONTAJE
- EL MONITOR DE FRECUENCIA CARDÍACA
- FUNCIONAMIENTO Y AJUSTES
- CÓMO PLEGAR Y MOVER LA MÁQUINA PARA CORRER
- SOLUCIÓN DE PROBLEMAS
- GUÍA DE EJERCICIOS
- LISTA DE LAS PIEZAS
- DIBUJO DE LAS PIEZAS A
- CÓMO ORDENAR PIEZAS DE REPUESTO
- INFORMACIÓN SOBRE EL RECICLAJE

MANUAL DEL USUARIO
PRECAUCIÓN
Antes de usar el equipo, lea
cuidadosamente todas las adver-
tencias e instrucciones de este
manual. Guarde el manual para
futuras referencias.
SERVICIO AL CLIENTE
Si tiene preguntas, si faltan pie-
zas, o están dañadas, por favor
comuníquese con el Servicio al
Cliente (vea la información abajo) o
comuníquese con la tienda donde
compró este producto.
901 900 131
Lunes–Viernes 9:00–21:00 CET
Fax: 912 726 261
Página de Internet:
www.iconsupport.eu
Correo Electrónico:
cspi@iconeurope.com
Calcomanía
con el Número
de Serie
Nº de Modelo PETL14713.1
Nº de Serie
Escriba el número de serie en el
espacio de arriba para referencia.
www.iconeurope.com

2
COLOCACIÓN DE LAS CALCOMANÍAS DE ADVERTENCIA. . . . . . . . . . . . . . . . . . . . . . . . . . . . . . . . . . . . . . . . .2
PRECAUCIONES IMPORTANTES ..............................................................3
ANTES DE COMENZAR ......................................................................5
TABLA DE IDENTIFICACIÓN DE PIEZAS ........................................................6
MONTAJE .................................................................................7
EL MONITOR DE FRECUENCIA CARDÍACA .....................................................15
FUNCIONAMIENTO Y AJUSTES ..............................................................16
CÓMO PLEGAR Y MOVER LA MÁQUINA PARA CORRER. . . . . . . . . . . . . . . . . . . . . . . . . . . . . . . . . . . . . . . . . .25
SOLUCIÓN DE PROBLEMAS ................................................................26
GUÍA DE EJERCICIOS . . . . . . . . . . . . . . . . . . . . . . . . . . . . . . . . . . . . . . . . . . . . . . . . . . . . . . . . . . . . . . . . . . . . . .29
LISTA DE LAS PIEZAS . . . . . . . . . . . . . . . . . . . . . . . . . . . . . . . . . . . . . . . . . . . . . . . . . . . . . . . . . . . . . . . . . . . . . .30
DIBUJO DE LAS PIEZAS ....................................................................32
CÓMO ORDENAR PIEZAS DE REPUESTO ...........................................Contraportada
INFORMACIÓN SOBRE EL RECICLAJE . . . . . . . . . . . . . . . . . . . . . . . . . . . . . . . . . . . . . . . . . . . . . . Contraportada
Las calcomanías de advertencia que se muestran
aquí están incluidas con este producto. Aplique las
calcomanías de advertencia sobre las advertencias
en Inglés en los lugares que se muestran. Este
dibujo muestra las ubicaciones de las calcomanías
de advertencia. Si falta una calcomanía o ésta es
ilegible, vea la portada de este manual y solicite
una nueva calcomanía de reemplazo gratuita.
Péguela en el lugar indicado. Nota: Las calco-
manías pueden no mostrarse en su tamaño real.
252913
English Translation:
COLOCACIÓN DE LAS CALCOMANÍAS DE ADVERTENCIA
French Spanish Italian German Dutch
PROFORM es una marca registrada de ICON Health & Fitness, Inc.
CONTENIDO

3
1. Es responsabilidad del propietario ase-
gurarse de que todos los usuarios de la
máquina para correr estén adecuada-
mente informados sobre todos los avisos y
precauciones.
2. Antes de comenzar éste o cualquier pro-
grama de ejercicios, consulte a su médico.
Esto es particularmente importante para
individuos mayores de 35 años o individuos
con problemas de salud preexistentes.
3. Use la máquina para correr solamente como
se describe en este manual.
4. La máquina para correr está diseñada única-
mente para uso dentro del hogar. No use esta
máquina para correr en ningún lugar comer-
cial, de alquiler o institucional.
5. Guarde la máquina para correr en un lugar
cerrado, lejos del polvo y la humedad. No
guarde la máquina para correr en el garaje o
en un patio cubierto o cerca de agua.
6. Coloque la máquina para correr en una
superficie plana, con al menos 2,4 m de
espacio libre en la parte trasera y 0,6 m de
espacio libre en cada lado. No coloque la
máquina para correr sobre una superficie
que pueda bloquear cualquier entrada de
aire. Para proteger el suelo o la alfombra de
algún daño, coloque un tapete debajo de la
máquina para correr.
7. No utilice la máquina para correr en lugares
donde se usen aerosoles o donde se admi-
nistre oxígeno.
8. Mantenga a los niños menores de 12 años y
animales domésticos alejados de la máquina
para correr en todo momento.
9. La máquina para correr sólo deben utilizarla
personas que pesen 159 kg o menos.
10. Nunca permita que más de una persona use
la máquina para correr al mismo tiempo.
11. Vista ropa deportiva apropiada cuando use
la máquina para correr. No use ropa suelta
que pueda engancharse en la máquina
para correr. Se recomienda ropa deportiva
ajustada para hombres y mujeres. Utilice
siempre calzado deportivo. Nunca use la
máquina para correr descalzo, en calcetines
o sandalias.
12. Cuando conecte el cable eléctrico (vea
página 17), enchúfelo en un circuito conec-
tado a tierra. No conecte ningún otro aparato
eléctrico en el mismo circuito.
13. Si necesita un cable de extensión, use un
cable de solamente tres conductores, 14 cali-
bres (1 mm2) que no sea más largo que 1,5 m.
14. Mantenga el cable eléctrico alejado de super-
ficies calientes.
15. Nunca mueva la banda para caminar mien-
tras el aparato esté apagado. No ponga a
funcionar su máquina para correr si el cable
eléctrico o el enchufe están dañados o si la
máquina para correr no está funcionando
correctamente. (Vea la sección SOLUCIÓN
DE PROBLEMAS en la página 26 si la
máquina para correr no está funcionando
correctamente.)
16. Lea, entienda y pruebe el procedimiento
de parada de emergencia antes de usar la
máquina para correr (vea CÓMO ENCENDER
LA CORRIENTE en la página 18).
17. Nunca ponga en funcionamiento la máquina
para correr mientras esté parado en la banda
para caminar. Sujete siempre las barandas
cuando haga ejercicios en la máquina para
correr.
ADVERTENCIA: Para reducir el riesgo de lesiones, quemaduras, incendio o des-
carga eléctrica lea todas las precauciones e instrucciones importantes de este manual y todas los
advertencias que se observan en su máquina para correr, antes de utilizarla. ICON no asume nin-
guna responsabilidad por lesiones personales o daños a la propiedad que ocurran por el uso de
este producto o a través del mismo.
PRECAUCIONES IMPORTANTES

4
18. La máquina para correr es capaz de alcanzar
altas velocidades. Ajuste la velocidad gra-
dualmente para evitar cambios repentinos de
velocidad.
19. El monitor de ritmo cardíaco no es un dis-
positivo médico. Existen varios factores,
incluido el propio movimiento de la persona
al hacer ejercicio, que pueden afectar la
precisión de las lecturas del ritmo cardíaco.
El monitor de ritmo cardíaco está diseñado
únicamente como ayuda para el ejercicio,
determinando las tendencias del ritmo car-
díaco en general.
20. Nunca deje la máquina para correr des-
atendida mientras esté en funcionamiento.
Siempre retire la llave, coloque el interruptor
en la posición de apagado (ver el dibujo de
la página 5 para la ubicación del interruptor)
y desenchufe el cable eléctrico cuando la
máquina para correr no esté en uso.
21. No intente mover la máquina para correr
hasta que no esté ensamblada correcta-
mente. (Vea MONTAJE en la página 7, y
CÓMO PLEGAR Y MOVER LA MÁQUINA
PARA CORRER en la página 25.) Usted debe
poder levantar cómodamente 20 kg para
mover la máquina para correr.
22. Cuando pliegue o mueva la máquina para
correr, asegúrese de que el pasador de
almacenamiento esté sosteniendo la arma-
dura con seguridad en la posición de
almacenamiento.
23. No cambie la inclinación de la máquina para
correr colocando objetos debajo de ésta.
24. Nunca deje caer objetos dentro de ninguna
abertura en la máquina para correr.
25. Inspeccione y apriete bien todas las piezas
de la máquina para correr regularmente.
26. PELIGRO: Desconecte siempre el
cable eléctrico después de usar, antes de
limpiar la máquina para correr, y antes de
realizar las operaciones de mantenimiento y
de ajuste descritos en este manual. Nunca
retire la cubierta del motor a menos que
sea bajo la dirección de un representante
de servicio autorizado. Otros servicios,
que no estén incluidos en los procedimien-
tos de este manual, se deben llevar a cabo
solamente por un representante de servicio
autorizado.
27. El ejercitar de más puede causar lesiones
serias o incluso la muerte. Si experimenta
mareos o siente dolor mientras hace ejerci-
cios, deténgase inmediatamente y descanse.
GUARDE ESTAS INSTRUCCIONES

5
Gracias por seleccionar la máquina para correr
PROFORM® PERFORMANCE 1650. La máquina para
correr PERFORMANCE 1650 ofrece una variedad
impresionante de funciones diseñadas para hacer sus
entrenamientos en casa más agradables y eficaces. Y
cuando no está entrenando, la singular máquina para
correr puede plegarse, ocupando menos de la mitad
del espacio de suelo que ocupan otras máquinas para
correr.
Para su beneficio, lea el manual cuidadosamente
antes de usar la máquina para correr. Si tiene
preguntas después de leer este manual, por favor vea
la portada de este manual. Para ayudarnos a asistirlos,
anote el número de modelo y el número de serie del
producto antes de contactarnos. El número del modelo
y la ubicación del número de serie se muestran en la
portada de éste manual.
Antes de seguir leyendo, por favor estudie el dibujo de
abajo y familiarícese con las piezas y sus nombres.
Baranda
Montante Vertical
Charola
Llave/Sujetador
Interruptor
Banda para Caminar
Amortiguador de la Plataforma
Riel para los Pies
Rodillo Estable
Tornillos de Ajuste
Consola
Monitor del Ritmo
Cardíaco
Largo: 211 cm
Ancho: 94 cm
Peso: 102 kg
ANTES DE COMENZAR

6
Tornillo #8 x 3/4"
(2)—4
Tornillo
5/16" x 1/2"
(8)—4
3/8" x 1 3/4" Bolt (4)—1
Perno 3/8" x 2" (3)—2
Tornillo 3/8" x 2 3/4" (5)—4
Arandela Estrella
5/16" (11)—8 Arandela Estrella
3/8" (13)—4
Tuerca 3/8" (12)—2
Arandela
Estrella #10
(14)—4
Tornillo #10 x 3/4"
(7)—4
Tornillo #8 x 1/2"
(1)—18
Tornillo 3/8" x 1 1/4"
(6)—4
Tornillo Plateado
#8 x 1/2" (9)—1
Tornillo 5/16" x 2 1/2"
(10)—4
TABLA DE IDENTIFICACIÓN DE PIEZAS
Consulte los dibujos que aparecen abajo para identificar las piezas pequeñas en el montaje. El número entre
paréntesis que hay cerca de cada dibujo es el número de la pieza en la LISTA DE LAS PIEZAS hacia el final de
este manual. El número que aparece después del paréntesis es la cantidad necesaria para el montaje. Nota: Si
no encuentra alguna de las piezas en la bolsa de piezas, compruebe si ha sido previamente conectada.
Pueden incluirse piezas adicionales.

7
2. Asegúrese de que el cable eléctrico esté
desenchufado.
Fije la Tapa de la Rueda Izquierda (94) a la Base
(95) con dos Tornillos #8 x 3/4" (2).
Fije la Tapa de la Rueda Derecha (no se
muestra) a la Base (95) de la misma manera.
2
94
95
2
• El montaje requiere dos personas.
• Coloque todas las piezas en un área despejada y
quite el material de empaque. No se deshaga de
los materiales de empaque hasta que el montaje
esté terminado.
• Tras el envío, podría haber una sustancia acei-
tosa en el exterior de la máquina para correr. Se
trata de algo normal. Si observa una sustancia
aceitosa en la máquina para correr, límpiela con
un paño suave y un limpiador leve no abrasivo.
• Las partes del lado izquierdo están marcadas
con “L” o “Left” y las partes del lado derecho
están marcadas con “R” o “Right.”
• Para identicar las piezas pequeñas, vea la
página 6.
• El montaje necesitará las siguientes
herramientas:
las llaves hexagonales incluidas
una llave ajustable
un destornillador Phillips
tijeras
No use herramientas eléctricas ya que éstas
podrían dañar las piezas.
1. Visite la web www.iconsupport.eu en su orde-
nador y registre su producto.
• activa su garantía
• le ahorra tiempo si alguna vez necesita contac-
tar al Servicio al Cliente
• nos permiten avisarle si hay nuevas actualiza-
ciones y ofertas
Nota: Si no dispone de acceso a Internet, llame
al Servicio al Cliente (vea la portada de este
manual) para registrar su producto.
1
MONTAJE

8
4. Identifique el Montante Vertical Izquierdo (79).
Con la ayuda de otra persona, sostenga el
Montante Vertical Izquierdo cerca de la Base
(95).
Vea el diagrama incluido. Ate firmemente
la atadura de cables del Montante Vertical
Izquierdo (79) al extremo del Cable del Montante
Vertical (78). Luego tire del otro extremo de la
atadura hasta que el Cable del Montante Vertical
pase por completo a través del Montante Vertical
Izquierdo.
78
4
78
79
Atadura
de Cables
Atadura
de
Cables
79
95
78
3. Tire del Cable del Montante Vertical (78) y del
cable de tierra (A) a través del orificio indicado
en la Base (95).
Si hay un tornillo (B) preinstalado en un lado
de la Base (95), retírelo y deséchelo. Conecte
el cable de tierra (A) a la Base con un Tornillo
Plateado #8 x 1/2" (9).
Presione el Ojal Reforzado (90) en el orificio
cuadrado de la Base (95). 78
3
95
90
Cuadrado
9
A
B

9
6. Identifique la Cubierta de la Base Izquierda (81)
y la Cubierta de la Base Derecha (89). Deslice
la Cubierta de la Base Izquierda por el Montante
Vertical Izquierdo (79). Deslice la Cubierta de la
Base Derecha por el Montante Vertical Derecho
(88). Todavía no presione las Cubiertas de la
Base para fijarlas en su sitio.
Identifique la Cubierta Inferior de la Baranda
Izquierda (84) y la Cubierta Inferior de la
Baranda Derecha (87). Deslice la Cubierta
Inferior de la Baranda Izquierda por el Montante
Vertical Izquierdo (79). Deslice la Cubierta
Inferior de la Baranda Derecha por el Montante
Vertical Derecho (88).
79
81
87
88
84 89
6
5. Sujete el Montante Vertical Izquierdo (79) contra
la Base (95). Tenga cuidado de no pellizcar el
Cable del Montante Vertical (78). Introduzca
dos Tornillos 3/8" x 1 1/4" (6) con dos Arandelas
Estrella 3/8" (13) y dos Tornillos 3/8" x 2 3/4" (5)
en el Montante Vertical Izquierdo.
Apriete parcialmente los Tornillos 3/8" x 2 3/4"
(5) y los Tornillos 3/8" x 1 1/4" (6) hasta que las
cabezas de los Tornillos toquen el Montante
Vertical Izquierdo (79); no apriete por com-
pleto los Tornillos todavía. Nota: Puede utilizar
la llave hexagonal corta con el Tornillo que se
muestra.
Conecte el Montante Vertical Derecho (no se
muestra aquí) de la misma manera. Nota: No
hay cables en el lado derecho.
79
95
5
Llave
Hexagonal
78
6
5
13
13

10
7. Conecte la Baranda Izquierda (83) al Montante
Vertical Izquierdo (79) con dos Tornillos 5/16" x
2 1/2" (10) y dos Arandelas Estrella 5/16" (11).
Asegúrese de que el Cable del Montante
Vertical (78) esté apoyado sobre un lado
como se indica y no esté pellizcado. Apriete
firmemente los Tornillos.
Conecte la Baranda Derecha (86) con dos
Tornillos 5/16" x 2 1/2" (10) y dos Arandelas
Estrella 5/16" (11); apriete firmemente los
Tornillos.
Quite la atadura de cables del Cable del
Montante Vertical (78).
88
7
86
83
79
78
11
10
11
10
8. Si hay cuatro tornillos (C) en las ubicaciones que
se muestran, retírelos y deséchelos. 8
C
C
Cable
Atadura

11
9. Coloque el montaje de la consola mirando hacia
abajo sobre una superficie suave para evitar
raspar el montaje de la consola.
Retire y deseche los tres tornillos (D). Luego
levante la Cubierta de la Consola (100).
100
Montaje de
la Consola
D
9
10. Coloque el montaje de la consola en las
Barandas Izquierda y Derecha (83, 86).
Asegúrese de no pellizcar ningún cable
(E, 78).
Fije el montaje de la consola con cuatro Tornillos
5/16" x 1/2" (8) y cuatro Arandelas Estrella 5/16"
(11). No apriete aún los Tornillos.
10 Montaje de
la Consola
83
86
8
11
D
8
E
11
78

12
12. Conecte el Cable del Montante Vertical (78)
al cable de la consola (E). Vea el diagrama
incluido. Los conectores deben deslizarse
juntos fácilmente y encajar en su lugar. Si
no lo hacen, gire un conector y vuelva a inten-
tarlo. SI NO CONECTA LOS CONECTORES
ADECUADAMENTE, LA CONSOLA PUEDE
DAÑARSE CUANDO ENCIENDA EL EQUIPO.
Introduzca el cable sobrante (E, 78) en el mon-
taje de la consola.
Ajuste con firmeza los cuatro Tornillos 5/16" x
1/2" (8) (solo se muestran dos).
Montaje de
la Consola
78
78
Cable
de la
Consola
12
11. Fije el montaje de la consola a las Barandas
(83, 86) empleando cuatro Tornillos #10 x 3/4"
(7) y cuatro Arandelas Estrella #10 (14) como
se muestra. Apriete parcialmente los cuatro
Tornillos y luego apriete completamente cada
uno de ellos.
14
11
14
7
86
83
7
Montaje de
la Consola
E
8

13
13. Conecte la Cubierta de la Baranda Izquierda
(82) y la Cubierta de la Baranda Derecha (85) a
las Barandas (83, 86) con tres Tornillos #8 x 1/2"
(1). No apriete demasiado los Tornillos. 1
85
82 1
83
14. Deslice la Cubierta Inferior de la Baranda
Izquierda (84) hacia arriba contra la Cubierta de
la Baranda Izquierda (82) y conecte la Cubierta
Inferior de la Baranda Izquierda con dos Tornillos
#8 x 1/2" (1). No apriete demasiado los
Tornillos.
Fije la Cubierta Inferior de la Baranda Derecha
(87) como se describe arriba.
14
82 1
1
87
84
15. Fije la Cubierta de la Consola (100) con ocho
Tornillos #8 x 1/2" (1). Apriete parcialmente los
ocho Tornillos y luego apriételos completa-
mente. No apriete demasiado los Tornillos.
Asegúrese de que no queden cables
pellizcados.
15
1
1
1
1
86
1
1
1
1
100
13

14
18. Asegúrese que todas las piezas estén apropiadamente apretadas antes de utilizar la máquina para
correr. Si quedan láminas de plástico sobre las calcomanías de la máquina para correr, retire el plástico.
Para proteger el piso o alfombra, coloque un tapete debajo de la máquina para correr. Nota: Puede que se
incluya componentes adicionales. Guarde las llaves hexagonales en un lugar seguro; una de las llaves hexa-
gonales se utiliza para ajustar la banda para caminar (ver páginas 27 y 28).
17. Levante la Armadura (63) hasta la posición que
se muestra. Pida a otra persona que sostenga
la Armadura hasta que se haya completado
este paso.
Oriente el Pasador de Almacenamiento (57)
hasta que el barril grande y la perilla del pasa-
dor se encuentren orientados en la posición
mostrada.
Conecte el extremo inferior del Pasador de
Almacenamiento (57) a la Base (95) con un
Perno 3/8" x 2" (3) y una Tuerca 3/8" (12).
Conecte el extremo superior del Pasador de
Almacenamiento (57) al soporte de la Armadura
(63) con un Perno 3/8" x 2" (3) y una Tuerca 3/8"
(12).
Baje la Armadura (63) (vea CÓMO BAJAR LA
MÁQUINA PARA CORRER PARA EL USO en la
página 25).
17
57
12
Cilindro
Grande
63
3
Perilla del
Pasador
12 3
95
16. Apriete firmemente los cuatro Tornillos 3/8" x 2
3/4" (5) y luego los cuatro Tornillos 3/8" x 1 1/4"
(6) (sólo se muestra un lado).
Presione la Cubierta de la Base Izquierda (81)
y la Cubierta de la Base Derecha (89) contra la
Base (95) hasta que encajen en su lugar.
16
89
6
81
95
5

15
CÓMO COLOCARSE EL MONITOR DE
FRECUENCIA CARDÍACA
El monitor de fre-
cuencia cardíaca
consiste del tirante
para el pecho y
el sensor. Inserte
la lengüeta en un
extremo del tirante
para el pecho dentro
de un extremo de
la unidad, como se
muestra. Luego,
presione el extremo
del sensor debajo de
la hebilla del tirante
para el pecho. La
lengüeta debe estar
nivelada con el
frente del sensor.
El monitor de fre-
cuencia cardiaca se
debe colocar debajo
de su ropa, apre-
tadamente contra
su piel. Envuelva el
monitor de frecuen-
cia cardíaca alrededor de su pecho en el lugar que
se muestra. Asegúrese de que el logotipo en el sen-
sor esté mirando hacia arriba. Luego, conecte el otro
extremo del tirante para el pecho al sensor. Ajuste lo
largo del tirante para el pecho, si es necesario.
Jale el sensor algunas centímetros de su cuerpo y
localice las dos áreas electrónicas que están cubiertas
con ranuras poco hondas. Usando una solución salina
como saliva o solución para los lentes de contacto,
moje las dos áreas electrónicas. Regrese el sensor a
una posición contra su pecho.
CUIDADO Y MANTENIMIENTO
• Seque el sensor completamente con una toalla
suave después de cada uso. La humedad puede
mantener el sensor activado, acortando la vida de la
pila.
• Guarde el monitor de frecuencia cardíaca en un
lugar tibio y seco. No guarde el monitor de frecuen-
cia cardíaca en una bolsa plástica o en ningún otro
lugar que pueda guardar humedad.
• No exponga el monitor de frecuencia cardíaca a los
rayos directos del sol por períodos de tiempo exten-
didos; no lo exponga a temperaturas arriba de 50° C
o bajo -10° C.
• No doble o estire excesivamente el sensor cuando
use o guarde el monitor de frecuencia cardíaca.
• Para limpiar el sensor, use una toalla mojada y una
cantidad pequeña de agua jabonosa. Luego, limpie
el sensor con una toalla humeda y séquelo comple-
tamente con una toalla suave. Nunca use alcohol,
abrasivos, o quimicos para limpiar el sensor. Lave y
seque el tirante para el pecho a mano.
PROBLEMAS
Si el monitor de frecuencia cardíaca no funciona apro-
piadamente, intente los pasos de abajo.
• Asegúrese que usted esté portando el monitor de
frecuencia cardíaca como se describe a la izquierda.
Si el monitor de frecuencia cardíaca no funciona
cuando se coloca como se describe, muévalo un
poco más abajo o más arriba en su pecho.
• Si las lecturas de frecuencia cardíaca no se mues-
tran hasta que usted comience a sudar, vuelva a
mojar las áreas electrónicas.
• Para que la consola muestre las lecturas de frecuen-
cia cardíaca, usted debe estar a distancia de brazos
extendidos de la consola.
• Si el sensor tiene una cubierta de pilas en la parte
de atrás, reemplazca la pila con una pila nueva del
mismo tipo.
• El monitor de frecuencia cardíaca está diseñado
para personas que tienen ritmos normales del cora-
zón. Las condiciones médicas como contracciones
ventriculares prematuras (cvps), arritmia, y taquicar-
dia le pueden causar problemas a la lectura de la
frecuencia cardíaca.
• La interferencia magnética, causada por cables de
alto voltage u otras fuentes, puede afectar la ope-
ración del monitor de frecuencia cardíaca. Si se
sospecha que esto sea un problema, trate de reloca-
lizar la máquina.
EL MONITOR DE FRECUENCIA CARDÍACA
Lengüeta
Sensor Hebilla
Tirante
Lengüetas
Sensor

16
INSTRUCCIONES PARA CONECTAR EL CABLE
ELÉCTRICO
Este aparato debe estar conectado a un polo de
tierra. Si llegara a fallar o estropearse, la salida a
tierra ofrece un camino de menor resistencia a la cor-
riente eléctrica reduciendo el riesgo de una descarga
eléctrica. Este producto está equipado con un cable
que tiene un conductor de tierra y un enchufe de tierra.
IMPORTANTE: Si el cable eléctrico está dañado, se
debe reemplazar con un cable eléctrico recomen-
dado por el fabricante.
Siga los pasos que se indican abajo para enchufar
el cable eléctrico.
1. Enchufe el extremo indicado del cable eléctrico den-
tro de la tomacorriente en la máquina para correr.
2. Conecte el cable eléctrico en el tomacorriente
apropiado que esté adecuadamente instalado y
conectado a tierra de acuerdo con los códigos y
ordenanzas locales.
PELIGRO: La conexión inadec-
uada del conductor a tierra puede resultar en
alto riesgo de descarga eléctrica. Verifique
con un electricista o técnico calificado si
tiene dudas acerca de si el producto se
encuentra adecuadamente conectado a tierra.
No modifique el enchufe suministrado con el
producto—si es que no encaja en el tomacor-
riente, haga instalar un nuevo tomacorriente
por un electricista calificado.
FUNCIONAMIENTO Y AJUSTES
UK
GR
FR/SP
IT
AUS
AUS
Tomacorriente en la
Máquina para Correr
Cable Eléctrico
UK
GR
FR/SP
IT
AUS
AUS
Tomacorriente

17
ETPE14713
(PETL14713)
COLOCACIÓN DE LA CALCOMANÍA DE
ADVERTENCIA
Ubique las advertencias de la consola que están en
inglés. Las mismas advertencias en otros idiomas pue-
den encontrarse en la hoja de calcomanías incluida.
Coloque la calcomanía de advertencia en español en la
consola.
CARACTERÍSTICAS DE LA CONSOLA
La consola cuenta con una gran selección de fun-
ciones diseñadas para lograr un entrenamiento más
efectivo y agradable. Cuando se utilice la función
manual se podrá cambiar la velocidad y la inclinación
de la máquina para correr con sólo tocar un botón. A
medida que ejercita, la consola proveerá información
continua del ejercicio. Puede incluso medir su ritmo
cardíaco usando el monitor del ritmo cardíaco del
mango o el monitor de ritmo cardíaco para el pecho.
Además, la consola presenta treinta entrenamientos
a bordo—ocho entrenamientos de velocidad, siete
entrenamientos de inclinación, siete entrenamientos de
intensidad y ocho entrenamientos de calorías. Cada
entrenamiento controla automáticamente la velocidad y
la inclinación de la máquina para correr a medida que
le guía a través de una efectiva sesión de ejercicios.
La consola también ofrece una función iFit que permite
que la máquina para correr se comunique con su red
inalámbrica a través de un módulo opcional de iFit.
Con la función iFit puede descargar entrenamientos
personalizados, crear sus propios entrenamientos,
realizar un seguimiento de los resultados de su entre-
namiento, competir contra otros usuarios iFit y tener
acceso a otras muchas funciones. Para comprar un
módulo iFit en cualquier momento, visite la web
www.iFit.com o llame al número de teléfono que
está en la portada de este manual.
Usted puede incluso escuchar su música favorita de
entrenamiento o audiolibros con el sistema de sonido
estereofónico de la consola, mientras realiza los
ejercicios.
Para encender la corriente, vea la página 18. Para
usar la función manual, vea la página 18. Para uti-
lizar un entrenamiento a bordo, vea la página 21.
Para utilizar un entrenamiento con jación de meta,
vea la página 22. Para utilizar un entrenamiento iFit,
vea la página 22. Para usar el sistema de sonido
estéreo, vea la página 23. Para usar la función de
información, vea la página 24.
IMPORTANTE: Si quedan láminas de plástico sobre
la consola, retírelas. Para evitar que se produzcan
daños en la plataforma para caminar, póngase
calzado deportivo limpio al usar la máquina para
correr. La primera vez que use la máquina para co-
rrer, observe la alineación de la banda para cami-
nar y céntrela en caso necesario (vea la página 28).
DIAGRAMA DE LA CONSOLA

18
CÓMO ENCENDER LA CORRIENTE
IMPORTANTE: Si la máquina para correr ha sido
expuesta a bajas temperaturas, deje que alcance la
temperatura ambiente antes de encenderla. De lo
contrario las pantallas de la consola u otros com-
ponentes eléctricos pueden resultar dañados.
Enchufe el cable eléc-
trico (vea la página 16). A
continuación, localice el
interruptor en la máquina
para correr, cerca del cable
eléctrico. Pulse el interrup-
tor para colocarlo en la
posición Reset (reajustar).
IMPORTANTE: La consola presenta una función
de demostración en pantalla diseñada para ser
usada si la máquina para correr está siendo exhi-
bida en algún establecimiento comercial. Si los
monitores se iluminan cuando usted enchufa
el cable eléctrico y coloca el interruptor en la
posición de reinicio, se activa la función de demos-
tración. Para apagar la función de demostración,
mantenga pulsado el botón Stop (parar) durante
algunos segundos. Si los monitores permanecen
encendidos, vea LA FUNCIÓN DE INFORMACIÓN
en la página 24 para desactivar la función de
demostración.
Luego párese en los
rieles para los pies
de la máquina para
correr. Identifique el
soporte conectado
a la llave y deslícelo
por el cinturón de su
ropa. Luego, inserte
la llave en la consola.
Tras unos instan-
tes, las pantallas se
encenderán. IMPORTANTE: En caso de emergen-
cia, es posible sacar la llave de la consola, lo que
provoca que la banda para caminar disminuya
la velocidad hasta detenerse. Pruebe el gancho
cuidadosamente dando unos pasos hacia atrás; si
la llave no sale de la consola, ajuste la posición del
gancho.
CÓMO USAR LA FUNCIÓN MANUAL
1. Inserte la llave en la consola.
Vea CÓMO ENCENDER LA CORRIENTE, a la
izquierda.
2. Seleccione la función manual.
Pulse el botón Manual en la consola. Si no está
conectado a iFit, la función manual se seleccionará
automáticamente.
3. Inicie la banda para caminar.
Para que la banda para caminar comience a
moverse, pulse el botón Start (comenzar), el
botón para aumentar Speed (velocidad), o uno de
los botones numerados Quick Speed (velocidad
rápida).
Si pulsa el botón Start o el botón Speed para
aumentar la velocidad, la banda para caminar
comenzará a moverse a 2 Km/h. A medida que
realiza el ejercicio, cambie la velocidad de la banda
para caminar, según lo desee, pulsando los boto-
nes Speed para aumentar o disminuir la velocidad.
Cada vez que pulse uno de estos botones, la
configuración de velocidad cambiará en 0,1 km/h;
si mantiene pulsado el botón, la configuración de
velocidad cambiará en aumentos de 0,5 km/h.
Nota: Tras pulsar el botón, puede que la banda
para caminar tarde un tiempo para alcanzar el
ajuste de velocidad seleccionado.
Si pulsa uno de los botones numerados Quick
Speed, la banda para caminar cambiará gradual-
mente su velocidad hasta alcanzar la configuración
de velocidad seleccionada.
Para detener la banda para caminar, pulse el
botón Stop (parar). La hora comenzará a destellar
intermitentemente en la pantalla. Para reiniciar la
banda para caminar, pulse el botón Start o el botón
para aumentar Speed.
Reajuste
ETPE14713
(PETL14713)
Llave
Soporte

19
4. Cambie la inclinación de la máquina para correr
como lo desee.
Para cambiar la inclinación de la máquina para
correr, pulse los botones para aumentar y dismi-
nuir la inclinación o uno de los botones numerados
Quick Incline (inclinación rápida). Cada vez que
pulsa uno de los botones, la máquina para correr
se ajustará gradualmente a la configuración de
inclinación seleccionada.
5. Siga su progreso en las pantallas.
Matriz: Cuando
seleccione la función
manual, la matriz
mostrará una pista que
representa 400 m (1/4
de milla). Mientras hace
ejercicios, los indicadores alrededor de la pista
aparecerán en sucesión hasta que aparezca la
pista completa. A continuación, la pista desapare-
cerá y los indicadores comenzarán nuevamente a
aparecer de manera sucesiva.
Pantalla Calories/
Incline (calorías/incli-
nación): Esta pantalla
muestra el número
aproximado de calorías
que se han quemado.
La pantalla mostrará también la inclinación de la
máquina para correr durante unos segundos cada
vez que ésta cambia.
Pantalla Time
(tiempo): Esta panta-
lla mostrará el tiempo
transcurrido. Nota:
Cuando se selec-
ciona un programa de
entrenamiento preajustado, la pantalla mostrará
el tiempo restante del programa en vez del tiempo
transcurrido.
Pantalla Distance
(distancia): En esta
pantalla aparece la dis-
tancia que ha recorrido
caminando o corriendo.
Pantalla Speed/Pulse
(velocidad/
pulso): Esta pantalla
mostrará la velocidad
de la banda para cami-
nar. La pantalla también
muestra su ritmo cardíaco cuando está usando el
monitor de ritmo cardíaco del mango o el monitor
del ritmo cardíaco para el pecho (vea el paso 6 en
la página 20).
Pantalla central: Esta pantalla mostrará las ins-
trucciones del entrenamiento.
Pulse el botón Home (inicio) para regresar
a la función de inicio (vea LA FUNCIÓN DE
INFORMACIÓN en la página 24 para iniciar la fun-
ción de inicio). Si es necesario, pulse nuevamente
el botón Home.
Cuando hay un módulo
iFit conectado a
www.iFit.com, se ilumi-
nará el símbolo iFit que
está situado cerca de
la parte superior de la
pantalla.
Para ajustar las pantallas, pulse el botón Stop
(parar), saque la llave y vuelva a introducirla.

20
6. Si lo desea, mida su ritmo cardíaco.
Nota: Si usa el monitor de ritmo cardíaco del
mango y el monitor de ritmo cardíaco para el
pecho a la misma vez, la consola no mostrará
su ritmo cardíaco de manera precisa. Para infor-
mación sobre el monitor del ritmo cardíaco para el
pecho, vea la página 15.
Antes de usar
el monitor de
ritmo cardíaco
del mango,
saque las
láminas de
plástico trans-
parente de
los contactos
metálicos
de la barra
de pulso. Además, asegúrese de que sus manos
estén limpias.
Para medir su ritmo cardíaco, párese sobre los
rieles para los pies y sujete la barra de pulso de
modo que las palmas de las manos hagan con-
tacto con los contactos de metal, evite mover
las manos. Cuando se detecta su pulso, uno o
dos guiones aparecerán y después se mostrará
su ritmo cardíaco. Para lograr una lectura de su
ritmo cardíaco lo más precisa posible, continúe
sujetando los contactos durante unos 15 se-
gundos.
7. Si lo desea, puede encender el ventilador.
El ventilador tiene varias
velocidades. Pulse el
botón para aumentar y
disminuir Fan (ventila-
dor), para seleccionar
una velocidad en parti-
cular o para apagar el
ventilador. Nota: Si el
ventilador está encen-
dido cuando la banda para caminar está detenida,
el ventilador se apagará automáticamente cuando
hayan transcurrido algunos minutos.
8. Cuando usted termine de hacer ejercicios,
retire la llave de la consola.
Párese en los rieles para los pies, pulse el botón
de Stop (parar) y ajuste la inclinación de la
máquina para correr a la posición más baja. El
nivel de inclinación deberá estar en el mínimo
ajuste para evitar que la máquina para correr
sufra daños cuando se pliegue en la posición
de almacenamiento. A continuación, extraiga la
llave de la consola y guarde la llave en un lugar
seguro.
Cuando termine de utilizar la máquina para correr,
coloque el interruptor en posición de apagado y
desenchufe el cable eléctrico. IMPORTANTE: Si
no lo hace, los componentes eléctricos de la
máquina pueden desgastarse antes de tiempo.
Contactos
Disminuir
Aumentar

21
CÓMO USAR UN ENTRENAMIENTO DE A BORDO
1. Inserte la llave en la consola.
Vea CÓMO ENCENDER LA CORRIENTE en la
página 18.
2. Seleccione un entrenamiento a bordo.
Para seleccionar un entrenamiento a bordo, pulse
repetidamente el botón Speed (velocidad), el botón
Incline (inclinación), el botón Intensity (intensidad)
o el botón Calorie (calorías) hasta que se muestre
el entrenamiento deseado en la pantalla.
Cuando seleccione un entrenamiento de a bordo,
las pantallas mostrarán la inclinación máxima, la
duración, la distancia, la velocidad máxima y el
nombre del entrenamiento. Además, el perl de
la conguración de velocidad del entrenamiento
aparecerá en la matriz. Si selecciona un entrena-
miento de calorías, el número aproximado de ca-
lorías que usted quemará aparecerá en el nombre
del entrenamiento.
3. Empiece el entrenamiento.
Para comenzar el entrenamiento, pulse el botón
Start (comenzar) o el botón Speed (velocidad) para
aumentar la velocidad. Un momento tras pulsar el
botón, la máquina para correr automáticamente se
ajustará a la primera configuración de velocidad e
inclinación del entrenamiento. Sosténgase de las
barandas y comience a caminar.
Cada entrenamiento está dividido en varios seg-
mentos. Cada segmento viene programado con
una conguración de velocidad y una conguración
de inclinación. Nota: Para segmentos consecutivos
se podrá programar el mismo ajuste de velocidad
y/o inclinación.
Durante el entrena-
miento, el perl mos-
trará su progreso. El
segmento del perl que
se ilumina intermiten-
temente corresponde
al segmento actual del
entrenamiento. La altura del segmento intermitente
indica la conguración de velocidad para dicho
segmento. Al nal de cada segmento se escuchará
una serie de tonos y el próximo segmento del perl
comenzará a iluminarse intermitentemente. Si se
ha programado otra conguración de velocidad y/o
inclinación para el segmento siguiente, la nueva
conguración de velocidad y/o inclinación deste-
llará en la pantalla durante unos segundos, y la
máquina para correr se ajustará automáticamente
a la nueva conguración de velocidad e inclinación.
El entrenamiento continuará de esta manera hasta
que el último segmento del perl se ilumine inter-
mitentemente en la pantalla y el último segmento
nalice. La banda para caminar comenzará a dete-
nerse poco a poco.
Nota: La meta calórica es un estimado del
número de calorías que quemará durante el
entrenamiento. El número real de calorías que
quemará dependerá de varios factores como,
por ejemplo, su peso. Además, si cambia ma-
nualmente la velocidad o la inclinación de la
máquina para correr durante el entrenamiento,
el número de calorías que quemará se verá
afectado.
Si la conguración de velocidad o inclinación es
demasiado alta o demasiado baja en algún mo-
mento del entrenamiento, usted puede anularla
manualmente pulsando los botones Speed o
Incline (inclinación); sin embargo, cuando se ini-
cie el siguiente segmento del entrenamiento,
la máquina para correr se ajustará automáti-
camente a las conguraciones de velocidad e
inclinación para ese segmento.
Para parar el entrenamiento en cualquier
momento, oprima el botón Stop (parar). La hora
comenzará a destellar intermitentemente en la
pantalla. Para comenzar nuevamente el entre-
namiento pulse el botón Start o el botón para
aumentar Speed. La banda para caminar comen-
zará a moverse a 2 Km/H. Al comenzar el siguiente
segmento del entrenamiento, la máquina para
correr se ajustará automáticamente a la velocidad
e inclinación del próximo segmento.
4. Siga su progreso en las pantallas.
Vea el paso 5 en el página 19.
5. Si lo desea, mida su ritmo cardíaco.
Vea el paso 6 en la página 20.
6. Si lo desea, puede encender el ventilador.
Consulte el paso 7 en la página 20.
7. Cuando usted termine de hacer ejercicios,
retire la llave de la consola.
Vea el paso 8 en el página 20.
Segmento Actual

22
CÓMO USAR UN ENTRENAMIENTO CON FIJACIÓN
DE META
1. Inserte la llave dentro de la consola.
Vea CÓMO ENCENDER LA CORRIENTE en la
página 18.
2. Seleccione un entrenamiento con fijación de
meta.
Para seleccionar un entrenamiento con fijación de
meta, pulse el botón Set A Goal (fijar una meta) en
la consola.
Use los botones para aumentar y disminuir que se
encuentran al lado del botón Enter (registrar) para
establecer una meta de calorías, de tiempo o de
distancia, y luego pulse el botón Enter. A continua-
ción pulse los botones para aumentar y disminuir
que están al lado del botón Enter para seleccionar
una meta. Pulse los botones Speed (velocidad) e
Incline (inclinación) para seleccionar la velocidad y
la inclinación del entrenamiento. La pantalla mos-
trará la duración y la distancia del entrenamiento,
y el número aproximado de calorías que quemará
durante el mismo.
3. Empiece el entrenamiento.
Pulse el botón Start (comenzar) para comenzar el
entrenamiento. Unos instantes tras pulsar el botón,
la banda para caminar comenzará a moverse.
Sosténgase de las barandas y comience a caminar.
El entrenamiento funcionará de la misma forma que
en la función manual (vea las páginas 18 al 20).
El entrenamiento continuará hasta que alcance la
meta que ha jado. La banda para caminar comen-
zará a detenerse poco a poco.
Nota: La meta calórica es un estimado del
número de calorías que quemará durante el
entrenamiento. El número real de calorías que
quemará dependerá de varios factores como,
por ejemplo, su peso.
4. Siga su progreso en las pantallas.
Consulte el paso 5 en la página 19.
5. Si lo desea, mida su ritmo cardíaco.
Consulte el paso 6 en la página 20.
6. Si lo desea, puede encender el ventilador.
Consulte el paso 7 en la página 20.
7. Cuando usted termine de hacer ejercicios, retire
la llave de la consola.
Vea el paso 8 en el página 20.
CÓMO USAR UN ENTRENAMIENTO IFIT
Nota: Para utilizar un entrenamiento iFit debe tener un
módulo opcional iFit. Para comprar un módulo iFit en
cualquier momento, visite la web www.iFit.com o
llame al número de teléfono que está en la portada
de este manual. También debe tener acceso a un orde-
nador con un puerto USB y una conexión a Internet.
También deberá tener acceso a una red inalámbrica,
incluyendo un router 802.11b/g/n con la transmisión
SSID habilitada (no se admiten redes ocultas). También
es necesario ser usuario de iFit.com.
1. Inserte la llave en la consola.
Vea CÓMO ENCENDER LA CORRIENTE en la
página 18.
2. Inserte el módulo iFit en la consola.
Para introducir el módulo iFit vea las instrucciones
incluidas con el módulo iFit.
IMPORTANTE: Para satisfacer los requisitos de
conformidad con la exposición, la antena y el
transmisor del módulo iFit deben estar aleja-
dos al menos 20 cm de todas las personas y no
deben estar cerca de otra antena o transmisor,
ni conectados a estos.
3. Seleccione un usuario.
Si hay más de un usuario registrado, podrá cambiar
de usuario en la pantalla principal de iFit. Pulse los
botones de incremento o disminución que están al
lado del botón Enter (registrar) para seleccionar un
usuario.
4. Seleccione un entrenamiento iFit.
Para seleccionar un entrenamiento iFit pulse uno
de los botones iFit. Antes de que se descarguen
entrenamientos, deberá añadirlos a su programa en
www.iFit.com.
Para descargar un entrenamiento iFit en su pro-
grama, presione el botón Map (mapa), Train
(entrenar), Video (vídeo) o Lose Wt. (perder peso)
para descargar en su programa el siguiente entre-
namiento del tipo correspondiente. Para competir en
una carrera que ha programado previamente, pulse
el botón Compete (competir).

23
Para ejecutar de nuevo un entrenamiento iFit re-
ciente de su programa, pulse primero el botón
Track (seguimiento). Luego, pulse los botones para
aumentar y disminuir, para seleccionar el entre-
namiento deseado. A continuación, pulse el botón
Enter (registrar) para seleccionar el entrenamiento.
Nota: Antes de que se descarguen entrenamientos,
deberá añadirlos a su programa en www.iFit.com.
Para obtener más información sobre los entre-
namientos iFit, visite la web www.iFit.com.
Cuando seleccione un entrenamiento iFit, la pantalla
mostrará la duración del entrenamiento, la distancia
que caminará o correrá y el número aproximado
de las calorías que quemará. La pantalla también
puede mostrar el nombre del entrenamiento. Si
selecciona un entrenamiento de competencia, la
pantalla puede hacer una cuenta regresiva hasta el
comienzo de la carrera.
Nota: Cada botón iFit puede ejecutar también dos
entrenamientos de demostración. Para usar los en-
trenamientos de demostración, retire el módulo iFit
de la consola y pulse uno de los botones iFit.
5. Empiece el entrenamiento.
Vea el paso 3 en el página 21.
Durante algunos de los entrenamientos, la voz
de un entrenador personal le guiará durante los
ejercicios. Usted puede seleccionar un ajuste
de audio para su entrenador (vea LA FUNCIÓN
INFORMACIÓN en la página 24).
Para parar el entrenamiento en cualquier momento,
oprima el botón Stop (parar). La hora comenzará
a destellar intermitentemente en la pantalla. Para
comenzar nuevamente el entrenamiento pulse el
botón Start (comenzar) o el botón para aumentar
Speed (velocidad). La banda para caminar em-
pezará a moverse a la velocidad ajustada para el
primer segmento del entrenamiento. Al comenzar el
siguiente segmento del entrenamiento, la máquina
para correr se ajustará automáticamente a la veloci-
dad e inclinación del próximo segmento.
6. Siga su progreso en las pantallas.
Vea el paso 5 en el página 19.
Durante un entrenamiento de competencia, la
pestaña de Compete (Competencia) mostrará su
progreso en la carrera. Mientras compite, la línea
superior de la matriz mostrará qué porción de la
carrera ha completado. Las otras líneas mostrarán
sus cuatro mejores competidores. El nal de la
matriz representa el nal de la carrera.
7. Si lo desea, mida su ritmo cardíaco.
Vea el paso 6 en la página 20.
8. Si lo desea, puede encender el ventilador.
Consulte el paso 7 en la página 20.
9. Cuando usted termine de hacer ejercicios, retire
la llave de la consola.
Vea el paso 8 en el página 20.
Para más información sobre la función de entrena-
miento iFit, visite la web www.iFit.com.
CÓMO USAR EL SISTEMA DE SONIDO ESTÉREO
Para reproducir música o un audiolibro por los alta-
voces estereofónicos de la consola, deberá conectar
su reproductor de MP3, lector de CD o cualquier otro
reproductor personal de audio a la consola a través de
la toma para audio.
Para usar la toma para MP3, enchufe el cable de audio
en la toma para MP3 situada en la parte superior de
la consola. Luego conecte su cable de audio en la
salida de audio de su reproductor de MP3, reproductor
de CD u otro tipo de reproductor personal de audio.
Asegúrese de que el conector de su cable de audio
esté totalmente insertado.
A continuación, pulse el
botón de reproducción de su
reproductor de MP3, lector
de CD, u otro reproductor
personal de audio. Ajuste el
volumen de su reproductor
personal de audio o pulse
los botones para aumentar
o disminuir el volumen de la
consola.
Si está usando un lector personal de CD y el CD se
salta, ponga el lector de CD en el piso u otra supercie
plana en lugar de en la consola.
Disminuir
Aumentar

24
LA FUNCIÓN DE INFORMACIÓN
La consola presenta una función de información que
registra la información de la máquina para correr y le
permite personalizar los ajustes de la consola.
1. Seleccione la función de información.
Para seleccionar la función de información, man-
tenga pulsado el botón Stop (parar) mientras
introduce la llave en la consola. A continuación,
suelte el botón Stop. Cuando se selecciona la
función de información, se mostrará la información
siguiente:
La pantalla Time
(tiempo) mostrará el
número total de horas
que la máquina para
correr ha estado en
uso.
La pantalla Distance
(distancia) mostrará el
número total de kiló-
metros (o millas) que la
banda para caminar se
ha deslizado.
2. Seleccione las pantallas opcionales.
Mientras está seleccionada la función de informa-
ción, la matriz mostrará varias pantallas opciona-
les. Pulse el botón para disminuir que está al lado
del botón Enter (registrar) para seleccionar cada
una de las pantallas siguientes:
UNITS (unidades): Para cambiar la unidad de
medida pulse el botón Enter. Para visualizar la
distancia en millas, seleccione ENGLISH. Para
visualizar la distancia en kilómetros, seleccione
METRIC.
DEMO (demostración): La consola presenta una
función de demostración en pantalla diseñada para
ser usada si la máquina para correr está siendo
exhibida en algún establecimiento comercial.
Mientras la función de demostración esté activada,
la consola funcionará normalmente cuando se
enchufe el cable de alimentación; coloque el inte-
rruptor de encendido en la posición de reiniciar e
introduzca la llave en la consola. Sin embargo, al
extraer la llave, las pantallas permanecerán en-
cendidas aunque los botones no funcionen. Si la
función de demostración está activada, la palabra
ON aparecerá en la pantalla central. Para activar
o desactivar la función de demostración, pulse el
botón Enter o el botón para disminuir Speed (velo-
cidad).
CONTRAST LVL (niv. contraste): Para ajustar
el nivel de contraste de la pantalla, pulse el botón
para aumentar y disminuir Incline (inclinación). A
continuación, pulse el botón Enter.
Si hay un módulo conectado puede seleccionar
también las pantallas siguientes:
MODULE (módulo): Si el módulo iFit está conec-
tado, la pantalla mostrará la palabra WIFI. Si un
módulo USB está conectado, la pantalla mostrará
el texto USB/SD.
AUDIO COACH (entrenador de audio): Para ac-
tivar o desactivar el entrenador de audio, pulse el
botón Enter.
Si hay un módulo iFit conectado puede seleccionar
también las pantallas siguientes:
FUNCIÓN START (inicio): El menú por defecto
aparecerá cuando introduzca la llave en la consola
o cuando pulse el botón Home (inicio). Pulse repe-
tidamente el botón Enter para seleccionar la fun-
ción manual o la función iFit como menú de inicio.
CHECK WIFI (comprobar wi): Pulse el botón
Enter. La pantalla central mostrará el número de
la versión del software, la SSID de la red, el tipo
de cifrado de la red, la intensidad de la señal ina-
lámbrica, la dirección IP del módulo, el número de
usuarios registrados y sus nombres y los resulta-
dos de la búsqueda de DNS.
SEND/OBTAIN DATA (enviar/obtener datos):
Para enviar y recibir entrenamientos, registros de
entrenamientos y actualizaciones, pulse el botón
Enter. Cuando el proceso haya terminado, el texto
TRANSFER DONE (transferencia nalizada) apa-
recerá en la pantalla.
3. Salir del modo de información.
Para salir de la función de información, retire la
llave de la consola.

25
CÓMO PLEGAR LA MÁQUINA PARA CORRER
Para evitar que se dañe la máquina para correr,
ajuste la inclinación a la posición inferior antes de
plegarla. A continuación, extraiga la llave y desen-
chufe el cable eléctrico. PRECAUCIÓN: Usted debe
poder levantar cómodamente 20 kg para elevar,
bajar o mover la máquina para correr.
1. Sostenga la armadura de metal firmemente en
el sitio que se muestra con la flecha hacia abajo.
PRECAUCIÓN: No sujete la armadura por los
rieles plásticos para los pies. Doble las rodillas
y mantenga derecha la espalda.
2. Levante la armadura hasta que la perilla del
pasador quede bloqueada en la posición de alma-
cenamiento. PRECAUCIÓN: Asegúrese de que
la perilla del pasador quede bloqueada.
Para proteger el piso o alfombra, coloque un
tapete debajo de la máquina para correr. Guarde
su máquina para correr lejos de la luz directa del
sol. No deje su máquina para correr en la posición
de almacenamiento a temperaturas de más de
30° C.
COMO MOVER LA MÁQUINA PARA CORRER
Antes de mover la máquina para correr, pliéguela
como se describe a la izquierda. PRECAUCIÓN:
Asegúrese de que la perilla del pasador quede
bloqueada en la posición de almacenamiento. Para
mover la máquina para correr puede que se necesi-
ten dos personas.
1. Sujete la armadura y una de las barandas y colo-
que un pie contra una de las ruedas.
2. Tire de la baranda hacia atrás hasta que la
máquina para correr se deslice sobre las ruedas
y muévala con cuidado a la ubicación deseada.
PRECAUCIÓN: No mueva la máquina para
correr sin inclinarla hacia atrás, no tire de la
armadura y no mueva la máquina para correr
sobre una superficie irregular.
3. Coloque un pie contra una de las ruedas y baje
con cuidado la máquina para correr.
CÓMO BAJAR LA MÁQUINA PARA CORRER PARA
EL USO
1. Vea el dibujo 2. Sostenga el extremo superior
de la armadura de la máquina para correr con
su mano derecha como se muestra. Luego,
tire de la perilla del pasador hacia la izquierda.
IMPORTANTE: No gire la perilla del pasador. De
ser necesario, empuje la armadura hacia delante
levemente. Incline la armadura unas pulgadas
hacia abajo y suelte la perilla del pasador.
2. Vea el dibujo 1 a la izquierda. Sostenga la arma-
dura de metal firmemente con las dos manos y
bájela hacia el piso. PRECAUCIÓN: No sujete la
armadura por los rieles plásticos para los pies
y no la deje caer. Doble las rodillas y mantenga
derecha la espalda.
Baranda
Armadura
Rueda
Armadura
1
Perilla del
Pasador
2
Armadura
1
CÓMO PLEGAR Y MOVER LA MÁQUINA PARA CORRER

26
La mayoría de los problemas con su máquina para
correr se pueden solucionar siguiendo estos pasos
de abajo. Busque el síntoma correspondiente y
siga los pasos que se listan. Si necesita asistencia
adicional, véase la portada de este manual.
SÍNTOMA: La máquina no se enciende
a. Asegúrese de que el cable eléctrico está enchufado
a una toma debidamente conectada a tierra (vea la
página 14). Si es necesario utilizar un cable alarga-
dor, use sólo un cable de 3 conductores de 1 mm2
(calibre 14), no mayor de 1,5 m.
b. Después de enchufar el cable eléctrico, asegúrese
de que la llave está introducida en la consola.
c. Verique el interruptor en la máquina para correr,
cerca del cable eléctrico. Si el interruptor está hacia
fuera como se indica, el interruptor ha saltado. Para
reactivar el interruptor, espere unos cinco minutos y
luego pulse el interruptor hacia adentro.
SÍNTOMA: La máquina se apaga mientras está en
uso
a. Verique el interruptor (vea el diagrama de arriba).
Si el interruptor saltó, espere cinco minutos y a
continuación pulse el interruptor nuevamente.
b. Asegúrese de que el cable eléctrico esté conec-
tado. Si el cable eléctrico está enchufado,
desconéctelo, espere cinco minutos y vuelva a
conectarlo.
c. Extraiga la llave de la consola y luego vuelva a
insertarla.
d. Si la máquina para correr todavía no funciona, vea
la portada de este manual.
SÍNTOMA: Las pantallas de la consola se man-
tienen todavía encendidas cuando usted retira la
llave de la consola
a. La consola presenta una función de demostración
en pantalla diseñada para ser usada si la máquina
para correr está siendo exhibida en algún estable-
cimiento comercial. Si las pantallas permanecen
encendidas cuando usted retira la llave, la función
de demostración está activada. Para apagar la
función de demostración, mantenga pulsado el
botón Stop (parar) durante algunos segundos. Si
las pantallas todavía permanecen encendidas, vea
LA FUNCIÓN DE INFORMACIÓN en la página 24
para apagar la función de demostración.
SÍNTOMA: Las pantallas de la consola no funcio-
nan correctamente
a. Quite la llave de la consola y desenchufe el cable
eléctrico. Retire los siete Tornillos de Cabeza
Segmentada #8 x 3/4" (16). Levante con cuidado la
Cubierta del Motor (64).
Reajuste
Disparado
c
64
16
16
a16 16
SOLUCIÓN DE PROBLEMAS

27
Localice el Interruptor de Lengüeta (52) y el Imán
(53) en el lado izquierdo de la Polea (54). Gire
la polea hasta que el imán quede alineado con
el Interruptor de Lengüeta. Asegúrese de que
el espacio entre el Imán y el Interruptor de
Lengüeta sea de aproximadamente 3 mm. Si
es necesario, afloje el Tornillo Punta Broca #8
x 3/4" (15), mueva ligeramente el Interruptor de
Lengüeta y vuelva a ajustar el Tornillo. Vuelva a
fijar la Cubierta del Motor (no se muestra), y ponga
a funcionar la máquina para correr durante unos
minutos para comprobar que la lectura de la veloci-
dad es correcta.
SÍNTOMA: La inclinación de la máquina para correr
no cambia correctamente
a. Pulse el botón Stop (parar) y el botón para
aumentar Speed (velocidad), inserte la llave en la
consola, y luego suelte ambos botones. Pulse el
botón Stop y luego el botón para aumentar o dis-
minuir Incline (inclinación). La máquina para correr
automáticamente subirá al nivel de inclinación
máximo y luego regresará al nivel mínimo. Esto
calibrará el sistema de inclinación. Si la inclinación
no se calibra, pulse el botón Stop y luego vuelva
a pulsar el botón para aumentar o disminuir la
inclinación. Cuando se calibre la inclinación, retire
la llave de la consola.
SÍNTOMA: La banda para caminar disminuye de
velocidad cuando se camina sobre ella
a. Si necesita un cable de extensión, use un cable
de solamente tres conductores, calibre 14 (1 mm2)
que no sea más largo que 1,5 m.
b. Si la banda para caminar se aprieta demasiado, el
buen funcionamiento de su máquina para correr
puede disminuir y la banda para caminar puede
quedar dañada. Extraiga la llave y DESCONECTE
EL CABLE ELÉCTRICO. Usando la llave hexa-
gonal, gire los dos tornillos de ajuste del rodillo
estable en sentido contrario a las agujas del
reloj, dando 1/4 de vuelta. Cuando la banda para
caminar esté tensionada correctamente, deberá
poder levantar cada lado de ésta entre 5 y 7 cm
de la plataforma para caminar. Mantenga siempre
la banda para caminar centrada. Luego enchufe el
cable eléctrico, inserte la llave y ponga en funcio-
namiento la máquina para correr durante algunos
minutos. Repita esta operación hasta que la banda
para caminar esté debidamente tensionada.
c. Su máquina para correr presenta una banda para
caminar cubierta con lubricante de alto rendi-
miento. IMPORTANTE: Nunca aplique aerosol
de silicona ni otras sustancias a la banda
para caminar ni a la plataforma para caminar
a menos que un representante de servicio
autorizado se lo indique. Esto puede deterio-
rar la banda para caminar y causar desgaste
excesivo. Si sospecha que la banda para caminar
necesita más lubricante, consulte la portada de
este manual.
d. Si la banda para caminar continúa perdiendo velo-
cidad cuando se camina sobre ella, por favor vea
la portada de este manual.
53
15
52
3 mm
54
Tornillos del Rodillo Estable
5–7 cm
b
Parte
superior
Frontal

28
SÍNTOMA: La banda para caminar no está centrada
entre los rieles para los pies. IMPORTANTE: Si la
banda para caminar fricciona contra los rieles para
los pies, ésta puede quedar dañada.
a. Primero, extraiga la llave y DESCONECTE EL
CABLE ELÉCTRICO. Si la banda para caminar
se ha movido a la izquierda, use la llave hexa-
gonal para girar el tornillo izquierdo del rodillo
estable 1/2 vuelta en sentido horario. Si la banda
para caminar se ha movido a la derecha, gire
el tornillo del rodillo estable izquierdo en sentido
antihorario 1/2 vuelta. Tenga cuidado de no ajustar
de más la banda para caminar. Luego enchufe el
cable eléctrico, inserte la llave y ponga en funcio-
namiento la máquina para correr durante algunos
minutos. Repita esta operación hasta que la banda
para caminar esté centrada.
SÍNTOMA: La banda para caminar resbala cuando
se camina sobre ella
a. Primero, retire la llave y DESENCHUFE EL
CABLE ELÉCTRICO. Usando la llave hexagonal,
gire 1/4 de vuelta ambos tornillos del rodillo estable
en sentido horario. Cuando la banda para caminar
esté apretada correctamente, usted debe poder
levantar cada lado de la banda para caminar de 5
a 7 cm de la plataforma para caminar. Mantenga
siempre la banda para caminar centrada. A conti-
nuación, enchufe el cable eléctrico, inserte la llave
y camine con cuidado sobre la máquina para correr
durante algunos minutos. Repita esta operación
hasta que la banda para caminar esté debida-
mente tensionada.
a
a
Rieles para
los Pies

29
Estas indicaciones le ayudarán a planificar su pro-
grama de ejercicios. Para información detallada sobre
los ejercicios consiga un libro acreditado o consulte
con su médico. Recuerde que una nutrición y un
descanso adecuados son esenciales para obtener
resultados satisfactorios.
INTENSIDAD DE LOS EJERCICIOS
Lo mismo si su objetivo es quemar grasa que si lo
es fortalecer su sistema cardiovascular, la clave para
alcanzar los resultados es hacer ejercicios con la
intensidad adecuada. Usted puede basarse en su
ritmo cardíaco para encontrar el nivel de intensidad
adecuado. El esquema que se presenta más abajo
muestra los ritmos cardíacos recomendados para que-
mar grasa y hacer ejercicios aeróbicos.
Para encontrar el nivel de intensidad adecuado,
busque su edad en la parte inferior del esquema (las
edades se redondean al múltiplo de 10 más cercano).
Los tres números que se listan encima de su edad
definen su “zona de entrenamiento.” El número más
pequeño es el ritmo cardíaco cuando se queme grasa,
el número intermedio es el ritmo cardíaco cuando se
quema la máxima cantidad de grasa y el número más
grande es el ritmo cardíaco cuando se realizan ejerci-
cios aeróbicos.
Quemar Grasa—Para quemar grasa eficientemente,
debe hacer ejercicios a un nivel de intensidad bajo
durante un periodo de tiempo mantenido. Durante
los primeros minutos de ejercicio su cuerpo utiliza las
calorías de los carbohidratos para obtener energía.
Sólo tras los primeros minutos de ejercicio su cuerpo
comienza a utilizar las calorías de grasa almacenada
para obtener energía. Si su objetivo es quemar grasa,
ajuste la intensidad de sus ejercicios hasta que el
ritmo cardíaco esté próximo al número más bajo de
su zona de entrenamiento. Para quemar la máxima
cantidad de grasa, realice los ejercicios con su ritmo
cardíaco cerca del número intermedio de su zona de
entrenamiento.
Ejercicios Aeróbicos—Si su objetivo es fortalecer su
sistema cardiovascular, debe realizar ejercicios aeróbi-
cos, una actividad que requiere grandes cantidades de
oxígeno durante periodos de tiempo prolongados. Para
realizar ejercicios aeróbicos ajuste la intensidad de sus
ejercicios hasta que su ritmo cardíaco esté próximo al
número más alto de su zona de entrenamiento.
GUÍAS DE ENTRENAMIENTO
Calentamiento—Comience estirando y ejercitando
ligeramente los músculos entre 5 y 10 minutos. El
calentamiento aumenta su temperatura corporal, su
frecuencia cardiaca y su circulación, preparándole
para los ejercicios.
Ejercicio en la Zona de Entrenamiento—Realice
ejercicios durante 20 a 30 minutos con su ritmo
cardíaco en su zona de entrenamiento. (Durante
las primeras semanas de su programa de ejerci-
cios no mantenga su ritmo cardíaco en su zona de
entrenamiento durante más de 20 minutos.) Respire
regularmente y profundamente mientras hace ejerci-
cios; nunca contenga la respiración.
Relajación—Termine con estiramientos entre 5 y 10
minutos. El estiramiento aumenta la flexibilidad de sus
músculos y le ayuda a evitar problemas posteriores al
ejercicio.
FRECUENCIA DE EJERCICIOS
Para mantener o mejorar su forma física, complete
tres sesiones de entrenamiento cada semana, con al
menos un día de descanso entre sesiones. Tras algu-
nos meses de ejercicio regular, puede completar hasta
cinco sesiones de entrenamiento cada semana si lo
desea. Recuerde, la clave para el éxito es hacer de los
ejercicios una parte regular y agradable de su vida
diaria.
GUÍA DE EJERCICIOS
PRECAUCIÓN: Antes de ini-
ciar éste o cualquier programa de ejercicios
consulte con su médico. Esto es especial-
mente importante para personas de edades
superiores a 35 años, o para aquellos que
hayan presentado problemas de salud.
El sensor de pulso no es un dispositivo
médico. Varios factores pueden afectar la
precisión de las lecturas del ritmo cardíaco.
El sensor de pulso está previsto sólo como
ayuda para los ejercicios, determinando las
tendencias generales de su ritmo cardíaco.

30
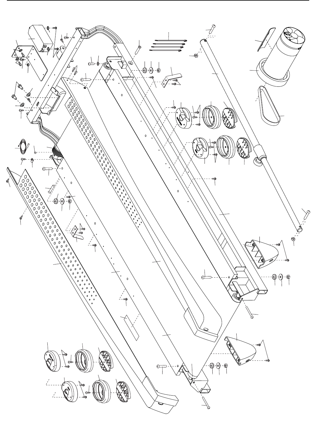
1 50 Tornillo #8 x 1/2"
2 38 Tornillo #8 x 3/4"
3 2 Perno 3/8" x 2"
4 1 Sensor
5 4 Tornillo 3/8" x 2 3/4"
6 4 Tornillo 3/8" x 1 1/4"
7 4 Tornillo #10 x 3/4"
8 4 Tornillo 5/16" x 1/2"
9 1 Tornillo Plateado #8 x 1/2"
10 4 Tornillo 5/16" x 2 1/2"
11 10 Arandela Estrella 5/16"
12 2 Tuerca 3/8"
13 4 Arandela Estrella 3/8"
14 4 Arandela Estrella #10
15 13 Tornillo Punta Broca #8 x 3/4"
16 7 Tornillo de Cabeza Segmentada
#8 x 3/4"
17 12 Tornillo Punta Broca con Cabeza
Alomada #8 x 3/4"
18 6 Tornillo #10 x 1/2"
19 2 Tornillo 1/4" x 2 1/2"
20 2 Tornillo 3/8" x 1 3/4"
21 12 Tornillo para Máquina #8 x 1/2"
22 1 Perno 3/8" x 1 1/2"
23 1 Perno 3/8" x 2"
24 1 Receptáculo
25 2 Tornillo #8 x 1 3/4"
26 4 Tornillo de la Guía de la Correa #8
27 2 Tornillo del Motor 5/16"
28 2 Perno 1/2" x 2 1/4"
29 2 Perno 3/8" x 1"
30 4 Perno 5/16" x 1 3/4"
31 1 Tornillo 1/4" x 1"
32 1 Arandela Estrella 1/4"
33 4 Arandela Plana 5/16"
34 2 Tuerca 1/2"
35 6 Tuerca de Bloqueo 3/8"
36 4 Tuerca 5/16"
37 5 Gancho de la Cubierta
38 4 Ojal Reforzado de Goma
39 6 Tornillo #8 x 5/8"
40 2 Tornillo 5/16" x 1 1/2"
41 4 Tornillo del Ventilador #4
42 1 Parte Superior del Aislador
Delantero Izquierdo
43 2 Parte Superior del Aislador Trasero
44 4 Aislador
45 4 Parte Inferior del Aislador
46 1 Banda para Caminar
47 1 Calcomanía de Advertencia
48 1 Plataforma para Caminar
49 2 Guía de la Banda
50 1 Riel de la Pata Izquierda
51 1 Gancho del Interruptor de Lengüeta
52 1 Interruptor de Lengüeta
53 1 Imán
54 1 Polea/Rodillo del Brazo Estable
55 4 Atadura de Cables
56 1 Parte Superior del Aislador
Delantero Derecho
57 1 Pasador de Almacenamiento
58 1 Motor de Manejo
59 1 Correa del Motor
60 2 Pata Trasera
61 1 Rodillo del Brazo Estable
62 1 Riel de la Pata Derecha
63 1 Armadura
64 1 Cubierta del Motor
65 1 Acento de la Cubierta
66 2 Espaciador de la Armadura
67 2 Espaciador de la Armadura de
Inclinación
68 1 Soporte Atajador
69 1 Motor de Inclinación
70 1 Pata de Inclinación
71 1 Controlador
72 1 Soporte del Controlador
73 2 Poste de la Charola Ventral
74 1 Interruptor
75 1 Charola Ventral
76 1 Cubierta de la Tapa de Extremo
Trasera
77 1 Tapa de Extremo
78 1 Cable del Montante Vertical
79 1 Montante Vertical Izquierdo
80 2 Calcomanía de Precaución
81 1 Cubierta de la Base Izquierda
82 1 Cubierta de la Baranda Izquierda
83 1 Baranda Izquierda
84 1 Cubierta Inferior de la Baranda
Izquierda
85 1 Cubierta de la Baranda Derecha
86 1 Baranda Derecha
87 1 Cubierta Inferior de la Baranda
Derecha
88 1 Montante Vertical Derecho
89 1 Cubierta de la Base Derecha
90 2 Ojal Reforzado
91 4 Almohadilla de la Base
92 2 Rueda
N° Ctd. Descripción N° Ctd. Descripción
LISTA DE LAS PIEZAS Nº de Modelo PETL14713.1 R0814A

31
93 1 Tapa de la Rueda Derecha
94 1 Tapa de la Rueda Izquierda
95 1 Base
96 1 Armadura de la Consola
97 2 Soporte de la Consola
98 2 Cable de Tierra de la Consola
99 1 Llave/Gancho
100 1 Cubierta de la Consola
101 1 Consola
102 1 Charola Izquierda
103 1 Charola Derecha
104 2 Atadura
105 1 Base de la Consola
106 1 Cubierta Decorativa de la Consola
107 1 Barra de Pulso
108 1 Parte Inferior de la Barra de Pulso
109 1 Cubierta del Ventilador
110 1 Parrilla del Ventilador
111 1 Ventilador
112 2 Espaciador del Motor de Inclinación
113 1 Cable Eléctrico RU
114 1 Cable Eléctrico
115 6 Arandela Estrella #8
116 1 Soporte de lo Electrónico
117 1 Tornillo para Máquina #8 x 3/4"
118 1 Tuerca #8
119 1 Filtro
120 1 Aislador del Motor
121 2 Buje del Motor
122 1 Soporte de Conexión a Tierra
123 1 Tirante para el Pecho
* – Manual del Usuario
N° Ctd. Descripción N° Ctd. Descripción
Nota: Las especificaciones están sujetas a cambios sin previo aviso. Para información de cómo solicitar piezas
de repuesto, vea la contraportada de este manual. *Estas piezas no están ilustradas.

32
26
3
45
44
2
15
56 12
57
49
36
33
38 28
32
31
30
16
25
21
55
25
52
53
54
15
51
30
28
38
16
33
36
26
49
46
47
50
45
44 45
44
15
2
43
15
2
42
43
30
61
19
36
33
38
60
17 19
30
62
36
33
38
3
12
17
60
58
59
15
45
44
2
63
39
39
39
39
39
39
48
16
21
27 116
119
121
121
117
118
21
21 115
115
115
120
DIBUJO DE LAS PIEZAS A Nº de Modelo PETL14713.1 R0814A

33
17
17
37
2
17
75
37
74
2
73
73
2
37
2
72
18
21
17
22
77
18
18
76
18
18
2
17
2
2
71
34
21
66
67
37
29
70
34
66
35
22
29
67
69
23
35
68
65
64
16
16
16
112
37
113
114
24
122
21
115
DIBUJO DE LAS PIEZAS B Nº de Modelo PETL14713.1 R0814A

34
91
93
35
92
20
92
20
94
35
15
91
95
88
80
89
15
91
2
78
90
9
35
13
6
5
81
80
79
78
1
11
85
86
11
8
82
83
1
1
1
1
5
5
13
6
35
91 15
5
15
1
1
1
1
8
11
10
11
10
2
87
84
90
1
DIBUJO DE LAS PIEZAS C Nº de Modelo PETL14713.1 R0814A

35
40
1
1
2
2
96
97
97
21
98
1
1
1
2
1
21
41
41
14
7
11
1
14
11
1
1
1
1
1
105
2
104
1
100
1
1
1
1
1
1
1
1
101
102
103
1
1
106
107
108
7
110
109
99
1
2
2
111
4
123
DIBUJO DE LAS PIEZAS D Nº de Modelo PETL14713.1 R0814A

Nº de Pieza 360846 R0814A Impreso en EE.UU. © 2014 ICON Health & Fitness, Inc.
Este producto electrónico no deberá arrojarse en ningún caso a los cubos
de basura municipales. Con el fin de preservar el medio ambiente, este pro-
ducto deberá reciclarse, una vez concluida su vida útil, según lo estipulado
en la legislación vigente.
Por favor utilice las instalaciones de reciclaje autorizadas para recopilar este tipo
de residuos en su zona. Al hacerlo, estará ayudando a conservar los recursos
naturales y a mejorar los estándares europeos de protección medioambiental. Si
desea obtener más información sobre métodos seguros y correctos para deshac-
erse de este tipo de productos, póngase en contacto con la oficina municipal o
con el establecimiento en el que adquirió este producto.
Para ordenar piezas de repuesto, por favor vea la portada de este manual. Para ayudarnos a proporcionarle asis-
tencia, por favor esté listo para proporcionar la siguiente información cuando nos contacte:
• el número de modelo y el número de serie del producto (vea la portada de este manual)
• el nombre del producto (vea la portada de este manual)
• el número de la pieza y descripción de la (de las) pieza(s) de reemplazo (vea la LISTA DE LAS PIEZAS y el
DIBUJO DE LAS PIEZAS hacia el final de este manual)
CÓMO ORDENAR PIEZAS DE REPUESTO
INFORMACIÓN SOBRE EL RECICLAJE