Quectel Wireless Solutions 201408UG95 UMTS/HSPA Module User Manual
Quectel Wireless Solutions Company Limited UMTS/HSPA Module
User manual

UMTS/HSPA Module Series
UG95 Hardware Design
UG95_Hardware_Design Confidential / Released 1 / 67
Our aim is to provide customers with timely and comprehensive service. For any
assistance, please contact our company headquarters:
Quectel Wireless Solutions Co., Ltd.
Office 501, Building 13, No.99, Tianzhou Road, Shanghai, China, 200233
Tel: +86 21 5108 6236
Mail: info@quectel.com
Or our local office, for more information, please visit:
http://www.quectel.com/support/salesupport.aspx
For technical support, to report documentation errors, please visit:
http://www.quectel.com/support/techsupport.aspx
GENERAL NOTES
QUECTEL OFFERS THIS INFORMATION AS A SERVICE TO ITS CUSTOMERS. THE INFORMATION
PROVIDED IS BASED UPON CUSTOMERS’ REQUIREMENTS. QUECTEL MAKES EVERY EFFORT
TO ENSURE THE QUALITY OF THE INFORMATION IT MAKES AVAILABLE. QUECTEL DOES NOT
MAKE ANY WARRANTY AS TO THE INFORMATION CONTAINED HEREIN, AND DOES NOT ACCEPT
ANY LIABILITY FOR ANY INJURY, LOSS OR DAMAGE OF ANY KIND INCURRED BY USE OF OR
RELIANCE UPON THE INFORMATION. THE INFORMATION SUPPLIED HEREIN IS SUBJECT TO
CHANGE WITHOUT PRIOR NOTICE.
COPYRIGHT
THIS INFORMATION CONTAINED HERE IS PROPRIETARY TECHNICAL INFORMATION OF
QUECTEL CO., LTD. TRANSMITTABLE, REPRODUCTION, DISSEMINATION AND EDITING OF THIS
DOCUMENT AS WELL AS UTILIZATION OF THIS CONTENTS ARE FORBIDDEN WITHOUT
PERMISSION. OFFENDERS WILL BE HELD LIABLE FOR PAYMENT OF DAMAGES. ALL RIGHTS
ARE RESERVED IN THE EVENT OF A PATENT GRANT OR REGISTRATION OF A UTILITY MODEL
OR DESIGN.
Copyright © Quectel Wireless Solutions Co., Ltd. 2014. All rights reserved.

UMTS/HSPA Module Series
UG95 Hardware Design
UG95_Hardware_Design Confidential / Released 2 / 67
About the Document
History
Revision
Date
Author
Description
1.0
2014-06-20
Yeoman CHEN
Initial
1.1
2014-08-21
Yeoman CHEN
1. Updated transmitting power information.
2. Added reference design for power supply in
Chapter 3.6.3.
3. Updated timing of turning on module in Figure 9.
4. Added definition for the backup capacitor value
in Chapter 3.9.
5. Added reference design of 5V level match circuit
in Figure 18.
6. Updated RS232 level match circuit in Figure 19.
7. Updated frequency range in Table 23.
8. Updated reference circuit of USB interface in
Figure 24.
9. Added diagram for USB upgrade test points.
10. Updated RF output power in Table 28.
11. Updated recommended footprint in Figure 36.

UMTS/HSPA Module Series
UG95 Hardware Design
UG95_Hardware_Design Confidential / Released 3 / 67
Contents
About the Document ................................................................................................................................... 2
Contents ....................................................................................................................................................... 3
Table Index ................................................................................................................................................... 5
Figure Index ................................................................................................................................................. 6
1 Introduction .......................................................................................................................................... 7
1.1. Safety Information...................................................................................................................... 8
2 Product Concept .................................................................................................................................. 9
2.1. General Description ................................................................................................................... 9
2.2. Directives and Standards ........................................................................................................... 9
2.2.1. FCC Statement ............................................................................................................... 10
2.2.2. FCC Radiation Exposure Statement .............................................................................. 10
2.3. Key Features ........................................................................................................................... 10
2.4. Functional Diagram ................................................................................................................. 12
2.5. Evaluation Board ..................................................................................................................... 13
3 Application Interface ......................................................................................................................... 14
3.1. General Description ................................................................................................................. 14
3.2. Pin Assignment ........................................................................................................................ 15
3.3. Pin Description ......................................................................................................................... 16
3.4. Operating Modes ..................................................................................................................... 21
3.5. Power Saving ........................................................................................................................... 21
3.5.1. Sleep Mode .................................................................................................................... 21
3.5.1.1. UART Application ................................................................................................. 21
3.5.1.2. USB Application with Suspend Function ............................................................. 22
3.5.1.3. USB Application without Suspend Function ........................................................ 22
3.5.2. Minimum Functionality Mode ......................................................................................... 23
3.6. Power Supply ........................................................................................................................... 24
3.6.1. Power Supply Pins ......................................................................................................... 24
3.6.2. Decrease Voltage Drop .................................................................................................. 24
3.6.3. Reference Design for Power Supply .............................................................................. 25
3.6.4. Monitor the Power Supply .............................................................................................. 26
3.7. Turn on and off Scenarios ....................................................................................................... 26
3.7.1. Turn on Module .............................................................................................................. 26
3.7.2. Turn off Module .............................................................................................................. 28
3.7.2.1. Turn off Module Using the PWRDWN_N Pin ...................................................... 28
3.7.2.2. Turn off Module Using AT Command ................................................................... 30
3.7.2.3. Automatic Shutdown ............................................................................................ 30
3.8. Reset the Module..................................................................................................................... 31
3.9. RTC Interface .......................................................................................................................... 33
3.10. UART Interface ........................................................................................................................ 34
3.11. USIM Card Interface ................................................................................................................ 37

UMTS/HSPA Module Series
UG95 Hardware Design
UG95_Hardware_Design Confidential / Released 4 / 67
3.11.1. USIM Card Application ................................................................................................... 37
3.11.2. Design Considerations for USIM Card Holder ............................................................... 39
3.12. USB Interface .......................................................................................................................... 41
3.13. PCM and I2C Interface ............................................................................................................ 43
3.14. Network Status Indication ........................................................................................................ 45
3.15. Operating Status Indication ..................................................................................................... 46
4 Antenna Interface ............................................................................................................................... 47
4.1. UMTS Antenna Interface ......................................................................................................... 47
4.1.1. Pin Definition .................................................................................................................. 47
4.1.2. Operating Frequency ..................................................................................................... 47
4.1.3. Reference Design .......................................................................................................... 47
4.2. Antenna Installation ................................................................................................................. 48
4.2.1. Antenna Requirement .................................................................................................... 48
4.2.2. Install the Antenna with RF Connector .......................................................................... 49
5 Electrical, Reliability and Radio Characteristics ............................................................................ 51
5.1. Absolute Maximum Ratings ..................................................................................................... 51
5.2. Power Supply Ratings ............................................................................................................. 51
5.3. Operating Temperature ............................................................................................................ 52
5.4. Current Consumption .............................................................................................................. 52
5.5. RF Output Power ..................................................................................................................... 53
5.6. RF Receiving Sensitivity .......................................................................................................... 53
5.7. Electrostatic Discharge ............................................................................................................ 54
6 Mechanical Dimensions .................................................................................................................... 55
6.1. Mechanical Dimensions of the Module.................................................................................... 55
6.2. Footprint of Recommendation ................................................................................................. 57
6.3. Top View of the Module ........................................................................................................... 58
6.4. Bottom View of the Module ...................................................................................................... 58
7 Storage and Manufacturing .............................................................................................................. 59
7.1. Storage..................................................................................................................................... 59
7.2. Manufacturing and Welding ..................................................................................................... 59
7.3. Packaging ................................................................................................................................ 60
8 Appendix A Reference ....................................................................................................................... 61
9 Appendix B GPRS Coding Scheme ................................................................................................. 65
10 Appendix C GPRS Multi-slot Class .................................................................................................. 66
11 Appendix D EDGE Modulation and Coding Scheme ................................................................... 67

UMTS/HSPA Module Series
UG95 Hardware Design
UG95_Hardware_Design Confidential / Released 5 / 67
Table Index
TABLE 1: UG95 SERIES FREQUENCY BANDS ................................................................................................ 9
TABLE 2: UG95 KEY FEATURES ..................................................................................................................... 10
TABLE 3: IO PARAMETERS DEFINITION ........................................................................................................ 16
TABLE 4: PIN DESCRIPTION ........................................................................................................................... 16
TABLE 5: OVERVIEW OF OPERATING MODES ............................................................................................. 21
TABLE 6: VBAT AND GND PINS ....................................................................................................................... 24
TABLE 7: PWRKEY PIN DESCRIPTION .......................................................................................................... 26
TABLE 8: PWRDWN_N PIN DESCRIPTION .................................................................................................... 29
TABLE 9: RESET_N PIN DESCRIPTION ......................................................................................................... 31
TABLE 10: PIN DEFINITION OF THE MAIN UART INTERFACE ..................................................................... 34
TABLE 11: LOGIC LEVELS OF DIGITAL I/O .................................................................................................... 35
TABLE 12: PIN DEFINITION OF THE USIM INTERFACE ............................................................................... 37
TABLE 13: PIN DESCRIPTION OF MOLEX USIM CARD HOLDER ................................................................ 40
TABLE 14: PIN DESCRIPTION OF AMPHENOL USIM CARD HOLDER ........................................................ 41
TABLE 15: USB PIN DESCRIPTION ................................................................................................................ 41
TABLE 16: PIN DEFINITION OF PCM AND I2C INTERFACE .......................................................................... 43
TABLE 17: PIN DEFINITION OF NETWORK INDICATOR ............................................................................... 45
TABLE 18: WORKING STATE OF THE NETWORK INDICATOR..................................................................... 45
TABLE 19: PIN DEFINITION OF STATUS ........................................................................................................ 46
TABLE 20: PIN DEFINITION OF THE RF ANTENNA ....................................................................................... 47
TABLE 21: THE MODULE OPERATING FREQUENCIES ................................................................................ 47
TABLE 22: ANTENNA CABLE REQUIREMENTS ............................................................................................. 48
TABLE 23: ANTENNA REQUIREMENTS .......................................................................................................... 48
TABLE 24: ABSOLUTE MAXIMUM RATINGS .................................................................................................. 51
TABLE 25: THE MODULE POWER SUPPLY RATINGS .................................................................................. 51
TABLE 26: OPERATING TEMPERATURE ........................................................................................................ 52
TABLE 27: THE MODULE CURRENT CONSUMPTION .................................................................................. 52
TABLE 28: CONDUCTED RF OUTPUT POWER ............................................................................................. 53
TABLE 29: CONDUCTED RF RECEIVING SENSITIVITY ................................................................................ 53
TABLE 30: RELATED DOCUMENTS ................................................................................................................ 61
TABLE 31: TERMS AND ABBREVIATIONS ...................................................................................................... 61
TABLE 32: DESCRIPTION OF DIFFERENT CODING SCHEMES .................................................................. 65
TABLE 33: GPRS MULTI-SLOT CLASSES ...................................................................................................... 66
TABLE 34: EDGE MODULATION AND CODING SCHEME ............................................................................. 67

UMTS/HSPA Module Series
UG95 Hardware Design
UG95_Hardware_Design Confidential / Released 6 / 67
Figure Index
FIGURE 1: FUNCTIONAL DIAGRAM ............................................................................................................... 13
FIGURE 2: PIN ASSIGNMENT (TOP VIEW) .................................................................................................... 15
FIGURE 3: UART SLEEP APPLICATION ......................................................................................................... 22
FIGURE 4: USB SLEEP APPLICATION WITHOUT SUSPEND FUNCTION .................................................... 23
FIGURE 5: STAR STRUCTURE OF THE POWER SUPPLY............................................................................ 25
FIGURE 6: REFERENCE CIRCUIT OF POWER SUPPLY .............................................................................. 26
FIGURE 7: TURN ON THE MODULE USING DRIVING CIRCUIT ................................................................... 27
FIGURE 8: TURN ON THE MODULE USING KEYSTROKE ........................................................................... 27
FIGURE 9: TIMING OF TURNING ON MODULE ............................................................................................. 28
FIGURE 10: TURN OFF THE MODULE USING DRIVING CIRCUIT ............................................................... 29
FIGURE 11: TURN OFF THE MODULE USING KEYSTROKE ........................................................................ 29
FIGURE 12: TIMING OF TURNING OFF MODULE ......................................................................................... 30
FIGURE 13: REFERENCE CIRCUIT OF RESET_N BY USING DRIVING CIRCUIT ...................................... 32
FIGURE 14: REFERENCE CIRCUIT OF RESET_N BY USING BUTTON ...................................................... 32
FIGURE 15: TIMING OF RESETTING MODULE ............................................................................................. 32
FIGURE 16: RTC SUPPLY FROM CAPACITOR .............................................................................................. 33
FIGURE 17: REFERENCE CIRCUIT OF LOGIC LEVEL TRANSLATOR ......................................................... 35
FIGURE 18: REFERENCE CIRCUIT WITH TRANSISTOR CIRCUIT .............................................................. 36
FIGURE 19: RS232 LEVEL MATCH CIRCUIT .................................................................................................. 36
FIGURE 20: REFERENCE CIRCUIT OF THE 8-PIN USIM CARD .................................................................. 38
FIGURE 21: REFERENCE CIRCUIT OF THE 6-PIN USIM CARD .................................................................. 38
FIGURE 22: MOLEX 91228 USIM CARD HOLDER ......................................................................................... 39
FIGURE 23: AMPHENOL C707 10M006 512 2 USIM CARD HOLDER ........................................................... 40
FIGURE 24: REFERENCE CIRCUIT OF USB APPLICATION ......................................................................... 42
FIGURE 25: TEST POINTS OF FIRMWARE UPGRADE ................................................................................. 42
FIGURE 26: PCM MASTER MODE TIMING ..................................................................................................... 44
FIGURE 27: REFERENCE CIRCUIT OF PCM APPLICATION WITH AUDIO CODEC .................................... 44
FIGURE 28: REFERENCE CIRCUIT OF THE NETLIGHT ............................................................................... 45
FIGURE 29: REFERENCE CIRCUIT OF THE STATUS ................................................................................... 46
FIGURE 30: REFERENCE CIRCUIT OF ANTENNA INTERFACE ................................................................... 48
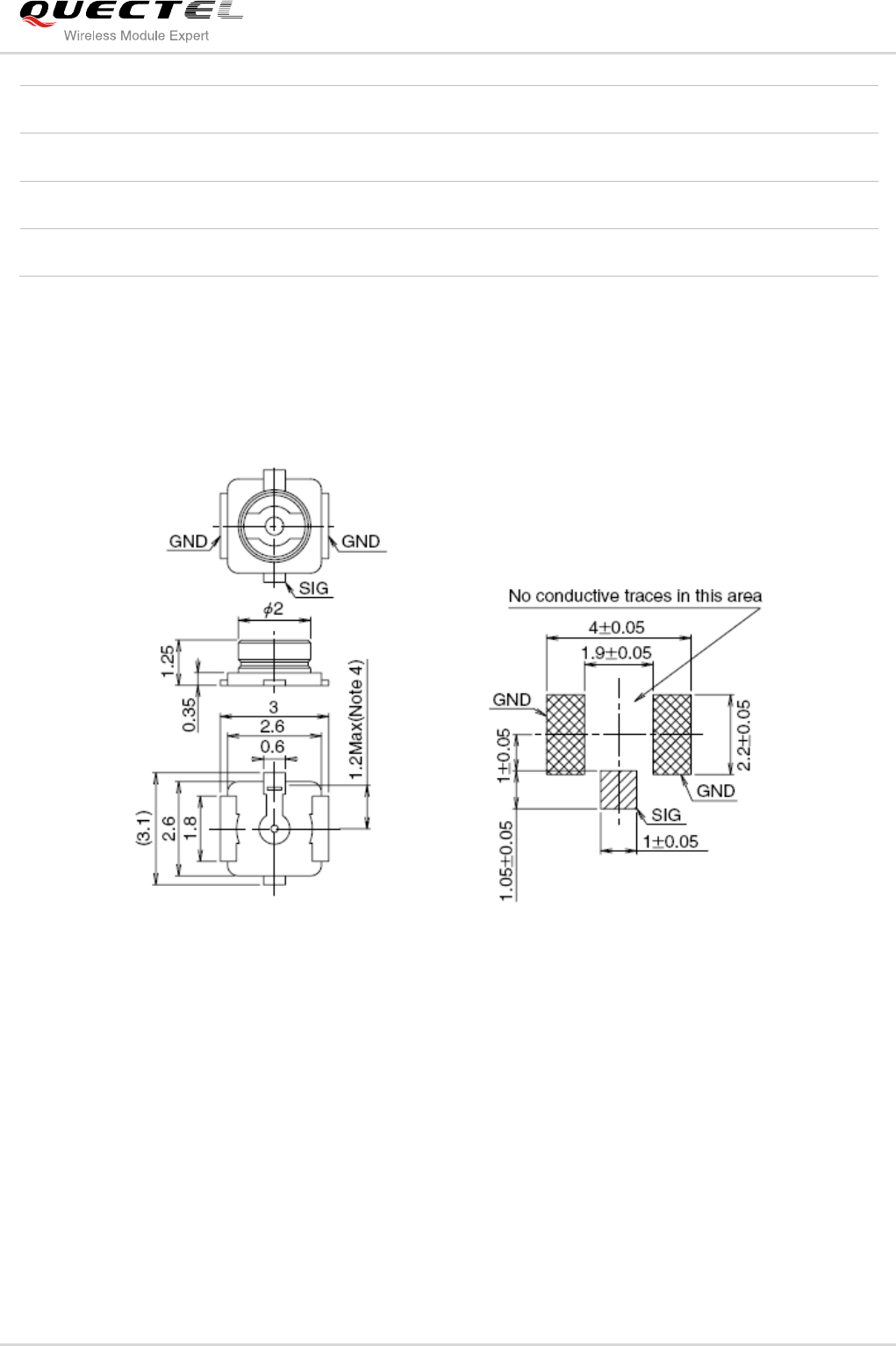
FIGURE 31: DIMENSIONS OF THE UF.L-R-SMT CONNECTOR (UNIT: MM) ................................................ 49
FIGURE 32: MECHANICALS OF UF.L-LP CONNECTORS (UNIT: MM) .......................................................... 50
FIGURE 33: SPACE FACTOR OF MATED CONNECTOR (UNIT: MM) ........................................................... 50
FIGURE 34: UG95 TOP AND SIDE DIMENSIONS ........................................................................................... 55
FIGURE 35: UG95 BOTTOM DIMENSION (TOP VIEW) .................................................................................. 56
FIGURE 36: RECOMMENDED FOOTPRINT (TOP VIEW) .............................................................................. 57
FIGURE 37: TOP VIEW OF THE MODULE ...................................................................................................... 58
FIGURE 38: BOTTOM VIEW OF THE MODULE .............................................................................................. 58
FIGURE 39: REFLOW SOLDERING PROFILE ................................................................................................ 60

UMTS/HSPA Module Series
UG95 Hardware Design
UG95_Hardware_Design Confidential / Released 7 / 67
1 Introduction
This document defines the UG95 module and describes its hardware interface which are connected with
your application and the air interface.
This document can help you quickly understand module interface specifications, electrical and
mechanical details. Associated with application notes and user guide, you can use UG95 module to
design and set up mobile applications easily.

UMTS/HSPA Module Series
UG95 Hardware Design
UG95_Hardware_Design Confidential / Released 8 / 67
1.1. Safety Information
The following safety precautions must be observed during all phases of the operation, such as usage,
service or repair of any cellular terminal or mobile incorporating UG95 module. Manufacturers of the cellular
terminal should send the following safety information to users and operating personnel and to incorporate
these guidelines into all manuals supplied with the product. If not so, Quectel does not take on any liability
for customer failure to comply with these precautions.
Full attention must be given to driving at all times in order to reduce the risk of an
accident. Using a mobile while driving (even with a handsfree kit) cause distraction
and can lead to an accident. You must comply with laws and regulations restricting
the use of wireless devices while driving.
Switch off the cellular terminal or mobile before boarding an aircraft. Make sure it
switched off. The operation of wireless appliances in an aircraft is forbidden to
prevent interference with communication systems. Consult the airline staff about
the use of wireless devices on boarding the aircraft, if your device offers a Airplane
Mode which must be enabled prior to boarding an aircraft.
Switch off your wireless device when in hospitals or clinics or other health care
facilities. These requests are desinged to prevent possible interference with
sentitive medical equipment.
UMTS cellular terminals or mobiles operate over radio frequency signal and
cellular network and cannot be guaranteed to connect in all conditions, for example
no mobile fee or an invalid SIM card. While you are in this condition and need
emergent help, please remember using emergency call. In order to make or
receive call, the cellular terminal or mobile must be switched on and in a service
area with adequate cellular signal strength.
Your cellular terminal or mobile contains a transmitter and receiver. When it is ON ,
it receives and transmits radio frequency energy. RF interference can occur if it is
used close to TV set, radio, computer or other electric equipment.
In locations with potencially explosive atmospheres, obey all posted signs to turn
off wireless devices such as your phone or other cellular terminals. Areas with
potencially exposive atmospheres including fuelling areas, below decks on boats,
fuel or chemical transfer or storage facilities, areas where the air contains
chemicals or particles such as grain, dust or metal powders.

UMTS/HSPA Module Series
UG95 Hardware Design
UG95_Hardware_Design Confidential / Released 9 / 67
2 Product Concept
2.1. General Description
UG95 serials are embedded 3G wireless communication modules, support UTMS/HSDPA/HSUPA
networks. It can also provide voice functionality1) for your specific application. UG95 offers a maximum
data rate of 7.2Mbps on downlink and 5.76Mbps on uplink in HSPA mode.
Table 1: UG95 Series Frequency Bands
Module
GSM
850
EGSM
900
DCS
1800
PCS
1900
UMTS
850
UMTS
900
UMTS
1900
UMTS
2100
UG95
1) UG95 indicates Data-only and Telematics versions. Data-only version does not support voice function,
Telematics version supports it.
More details about GPRS/EDGE multi-slot configuration and coding schemes, please refer to Appendix
B, C and D.
With a tiny profile of 23.6mm × 19.9mm × 2.2mm, UG95 can meet almost all requirements for M2M
application such as automotive, metering, tracking system, security solutions, routers, wireless POS,
mobile computing devices, PDA phone and tablet PC, etc..
UG95 is an SMD type module, which can be embedded in application through its 102 LGA pads.
UG95 is integrated with internet service protocols like TCP/UDP and PPP. Extended AT commands have
been developed for you to use these internet service protocols easily.
2.2. Directives and Standards
The UG95 module is designed to comply with the FCC statements. FCC ID: XMR201408UG95
NOTE

UMTS/HSPA Module Series
UG95 Hardware Design
UG95_Hardware_Design Confidential / Released 10 / 67
The Host system using UG95 should have label “contains FCC ID: XMR201408UG95”.
2.2.1. FCC Statement
Changes or modifications not expressly approved by the party responsible for compliance could
void the user’s authority to operate the equipment.
2.2.2. FCC Radiation Exposure Statement
This equipment complies with FCC radiation exposure limits set forth for an uncontrolled environment.
This equipment should be installed and operated with minimum distance 20cm between the radiator and
your body as well as kept minimum 20cm from radio antenna depending on the Mobile status of this
module usage. This module should NOT be installed and operating simultaneously with other radio.
The manual of the host system, which uses UG95, must include RF exposure warning statement to
advice user should keep minimum 20cm from the radio antenna of UG95 module depending on the
Mobile status.
Note: If a portable device (such as PDA) uses UG95 module, the device needs to do permissive change
and SAR testing.
The following list indicates the performance of antenna gain in certificate testing.
Part
Number
Frequency Range (MHz)
Peak Gain
(XZ-V)
Average Gain
(XZ-V)
VSWR
Impedance
3R007
UMTS850: 824~894MHz
UMTS1900: 1850~1990MHz
1 dBi typ.
1 dBi typ.
2 max
50Ω
2.3. Key Features
The following table describes the detailed features of UG95 module.
Table 2: UG95 Key Features
Feature
Details
Power Supply
Supply voltage: 3.4V~4.3V.
Typical supply voltage: 3.8V.
Frequency Bands
UG95
UMTS Dual-band: 850/1900MHz.
Transmission Data
HSPA R6: Max 7.2Mbps (DL)/Max 5.76Mbps (UL).
UMTS R4: Max 384kbps (DL)/Max 384kbps (UL).

UMTS/HSPA Module Series
UG95 Hardware Design
UG95_Hardware_Design Confidential / Released 11 / 67
Transmitting Power
Class 3 (22.25Bm+1/-1dB) for UMTS 850/1900.
HSPA/UMTS Features
HSPA data rate is corresponded with 3GPP release 6 7.2Mbps on
downlink and 5.76Mbps on uplink.
WCDMA data rate is corresponded with 3GPP R4. 384kbps on
downlink and 384kbps on uplink.
Support both QPSK and 16-QAM modulations.
Internet Protocol Features
Support TCP/UDP/PPP protocols.
Support the protocols PAP (Password Authentication Protocol) and
CHAP (Challenge Handshake Authentication Protocol) usually used
for PPP connections.
SMS
Text and PDU mode.
Point to point MO and MT.
SMS cell broadcast.
SMS storage: SM by default.
USIM Interface
Support USIM card: 1.8V, 3.0V.
Support USIM and SIM.
PCM Interface
Used for audio function with external codec.
Supports 8, 16, 32 bit mode with short frame synchronization.
Support master mode.
UART Interface
Support one UART interface.
7-wire on UART interface, without DSR.
Support RTS and CTS hardware flow control.
Baud rate can reach up to 921600bps, auto baud rate by default.
Used for AT command, data transmission or firmware upgrade.
Multiplexing function.
USB Interface
Compliant with USB 2.0 specification (slave only), the data transfer
rate can reach up to 480Mbps.
Used for AT command communication, data transmission, software
debug and firmware upgrade.
USB Driver: Support Windows XP, Windows Vista, Windows 7,
Windows 8, Windows CE5.0/6.0*, Linux 2.6/3.0, Android 2.3/4.0/4.2.
AT Commands
Compliant with 3GPP TS 27.007, 27.005 and Quectel enhanced AT
commands.
Real Time Clock
Implemented.
Network Indication
One pin NETLIGHT to indicate network connectivity status.
Antenna Interface
UMTS antenna, 50Ω.
Physical Characteristics
Size: 19.9±0.15 × 23.6±0.15 × 2.2±0.2mm.
Interface: LGA.
Weight: 2.5g.
Temperature Range
Normal operation: -35°C ~ +70°C.

UMTS/HSPA Module Series
UG95 Hardware Design
UG95_Hardware_Design Confidential / Released 12 / 67
Restricted operation: -40°C ~ -35°C and +70°C ~ +85°C 1).
Storage temperature: -45°C ~ +90°C.
Firmware Upgrade
USB interface or UART interface.
RoHS
All hardware components are fully compliant with EU RoHS directive.
1. 1) means when the module works within this temperature range, RF performance might degrade. For
example, the frequency error or the phase error would increase.
2. * means this feature is under development.
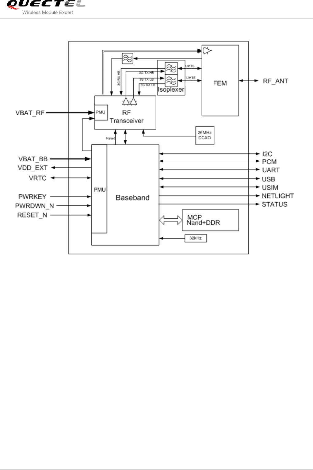
2.4. Functional Diagram
The following figure shows a block diagram of UG95 and illustrates the major functional parts.
RF transceiver
Baseband
DDR+NAND flash
Radio frequency
Peripheral interface
--UART interface
--USIM card interface
--USB interface
--PCM interface
--I2C interface
--Status indication
--Control interface
NOTES

UMTS/HSPA Module Series
UG95 Hardware Design
UG95_Hardware_Design Confidential / Released 13 / 67
Figure 1: Functional Diagram
2.5. Evaluation Board
In order to help you to develop applications with UG95, Quectel supplies an evaluation board
(UC20-EVB), RS-232 to USB cable, USB data cable, power adapter, earphone, antenna and other
peripherals to control or test the module. For details, please refer to document [2].

UMTS/HSPA Module Series
UG95 Hardware Design
UG95_Hardware_Design Confidential / Released 14 / 67
3 Application Interface
3.1. General Description
UG95 is equipped with a 62-pin 1.1mm pitch SMT pads plus 40-pin ground pads and reserved pads that
connect to customer’s cellular application platform. Sub-interfaces included in these pads are described in
detail in the following chapters:
Power supply
RTC interface
UART interface
USIM interface
USB interface
PCM interface
Status indication

UMTS/HSPA Module Series
UG95 Hardware Design
UG95_Hardware_Design Confidential / Released 15 / 67
3.2. Pin Assignment
The following figure shows the pin assignment of the UG95 module.
RESERVED
PCM_SYNC
PCM_CLK
PCM_DIN
PCM_DOUT
RESERVED
RESERVED
PWRKEY
PWRDWN_N
RESET_N
RESERVED
1
2
3
4
5
6
7
11
12
13
14
15
16
17
18
50
51
52
53
54
55
58
59
60
61
62
USB_DM
AP_READY
STATUS
NETLIGHT
RESERVED
RESERVED
RESERVED
RESERVED
RESERVED
RESERVED
RESERVED
VDD_EXT
DTR
GND
USIM_CLK
USIM_DATA
USIM_RST
USIM_VDD
RI
DCD
CTS
TXD
RXD
VBAT_BB
VBAT_BB
USIM_GND
GND
RESERVED
31
30
29
28
27
26
23
22
21
20
19
10
9
USB_DP
USB_VBUS
RESERVED
GND
RESERVED
RESERVED
RTS
I2C_SCL
I2C_SDA
8
49
48
47
46
45
44
43
40
41
42
39
38
37
36
35
34
33
32
24
25
57
56
GND
GND
RF_ANT
GND
GND
RESERVED
VBAT_RF
VBAT_RF
GND
GND
RESERVED
VRTC
GND
USIM_PRESENCE
63
64
65
66
67
68
83
84
85
86
87
88
98
97
96
95
94
93
78
77
76
75
74
73
91 92
89 90
71 72
69 70
80 79
82 81
100 99
102 101
POWER USB UART USIM OTHERSGND RESERVED
PCM ANT
Figure 2: Pin Assignment (Top View)
1. Keep all RESERVED pins and unused pins unconnected.
2. GND pads should be connected to ground in the design.
NOTES

UMTS/HSPA Module Series
UG95 Hardware Design
UG95_Hardware_Design Confidential / Released 16 / 67
3.3. Pin Description
The following tables show the UG95’s pin definition.
Table 3: IO Parameters Definition
Type
Description
IO
Bidirectional input/output
DI
Digital input
DO
Digital output
PI
Power input
PO
Power output
AI
Analog input
AO
Analog output
OD
Open drain
Table 4: Pin Description
Power Supply
Pin Name
Pin No.
I/O
Description
DC Characteristics
Comment
VBAT_BB
32,33
PI
Power supply for
module baseband
part.
Vmax = 4.3V
Vmin = 3.4V
Vnorm = 3.8V
It must be able to
provide sufficient
current up to 0.8A.
VBAT_RF
52,53
PI
Power supply for
module RF part.
Vmax = 4.3V
Vmin = 3.4V
Vnorm = 3.8V
It must be able to
provide sufficient
current in a transmitting
burst which typically
rises to 2.0A.
VRTC
51
PI/
PO
Power supply for
internal RTC circuit.
VOmax = 1.9V
when VBAT ≥ 3.4V.
VI = 1V~1.9V at
IIN max = 2uA when
VBAT is not applied.
Keep this pin
unconnected if unused.

UMTS/HSPA Module Series
UG95 Hardware Design
UG95_Hardware_Design Confidential / Released 17 / 67
VDD_EXT
29
PO
Provide 1.8V for
external circuit.
Vnorm = 1.8V
IOmax = 20mA
Power supply for
external GPIO’s pull up
circuits.
GND
3,31,48,
50,54,55,
58,59,61,
62,67~74,
79~82,
89~91,
100~102
Ground.
Turn On/Off
Pin Name
Pin No.
I/O
Description
DC Characteristics
Comment
PWRKEY
15
DI
Turn on the module.
RPU ≈ 200kΩ
VIHmax = 2.1V
VIHmin = 1.3V
VILmax= 0.5V
Pull-up to 1.8V
internally.
Active low.
PWRDWN_N
16
DI
Turn off the module.
RPU ≈ 4.7kΩ
VIHmax = 2.1V
VIHmin = 1.3V
VILmax = 0.5V
Pull-up to 1.8V
internally.
Active low.
RESET_N
17
DI
Reset the module.
RPU ≈ 200kΩ
VIHmax = 2.1V
VIHmin = 1.3V
VILmax = 0.5V
Pull-up to 1.8V
internally.
Active low.
Status Indication
Pin Name
Pin No.
I/O
Description
DC Characteristics
Comment
STATUS
20
DO
Indicate the module
operating status.
VOHmin =1.3V
VOLmax = 0.5V
1.8V power domain.
NETLIGHT
21
DO
Indicate the module
network status.
VOHmin = 1.3V
VOLmax = 0.5V
1.8V power domain.
USB Interface
Pin Name
Pin No.
I/O
Description
DC Characteristics
Comment
USB_VBUS
8
PI
USB insert
detection.
Vmax = 5.25V
Vmin = 2.5V
Vnorm = 5.0V
USB insert detection.
USB_DP
9
IO
USB differential data
bus.
Compliant with USB
2.0 standard
specification.
Require differential
impedance of 90Ω.

UMTS/HSPA Module Series
UG95 Hardware Design
UG95_Hardware_Design Confidential / Released 18 / 67
USB_DM
10
IO
USB differential data
bus.
Compliant with USB
2.0 standard
specification.
Require differential
impedance of 90Ω.
USIM Interface
Pin Name
Pin No.
I/O
Description
DC Characteristics
Comment
USIM_GND
47
Specified ground for
USIM card.
USIM_VDD
43
PO
Power supply for
USIM card.
For 1.8V USIM:
Vmax = 1.85V
Vmin = 1.75V
For 3.0V USIM:
Vmax = 2.9V
Vmin = 2.8V
Either 1.8V or 3.0V is
supported by the
module automatically.
USIM_DATA
45
IO
Data signal of USIM
card.
For 1.8V USIM:
VILmax = 0.35V
VIHmin = 1.25V
VOLmax = 0.25V
VOHmin = 1.25V
For 3.0V USIM:
VILmax = 0.5V
VIHmin = 2.05V
VOLmax = 0.25V
VOHmin = 2.05V
Pull-up to USIM_VDD
with 4.7k resistor
internally.
USIM_CLK
46
DO
Clock signal of USIM
card.
For 1.8V USIM:
VOLmax = 0.25V
VOHmin = 1.25V
For 3.0V USIM:
VOLmax = 0.25V
VOHmin = 2.05V
USIM_RST
44
DO
Reset signal of
USIM card.
For 1.8V USIM:
VOLmax = 0.25V
VOHmin = 1.25V
For 3.0V USIM:
VOLmax = 0.3V
VOHmin = 2.05V
USIM_PRES
ENCE
42
DI
USIM card input
detection.
VILmax = 0.35V
VIHmin = 1.3V
VIHmax = 1.85V
1.8V power domain.
External pull-up
resistor is required.

UMTS/HSPA Module Series
UG95 Hardware Design
UG95_Hardware_Design Confidential / Released 19 / 67
Main UART Interface
Pin Name
Pin No.
I/O
Description
DC Characteristics
Comment
RI
39
DO
Ring indicator.
VOLmax = 0.25V
VOHmin = 1.55V
1.8V power domain.
DCD
38
DO
Data carrier
detection.
VOLmax = 0.25V
VOHmin = 1.55V
1.8V power domain.
CTS
36
DO
Clear to send.
VOLmax = 0.25V
VOHmin = 1.55V
1.8V power domain.
RTS
37
DI
Request to send.
VILmax = 0.35V
VIHmin = 1.3V
VIHmax = 1.85V
1.8V power domain.
DTR
30
DI
Data terminal ready.
VILmax = 0.35V
VIHmin = 1.3V
VIHmax = 1.85V
1.8V power domain.
TXD
35
DO
Transmit data.
VOLmax = 0.25V
VOHmin = 1.55V
1.8V power domain.
RXD
34
DI
Receive data.
VILmax = 0.35V
VIHmin = 1.3V
VIHmax = 1.85V
1.8V power domain.
RF Interface
Pin Name
Pin No.
I/O
Description
DC Characteristics
Comment
RF_ANT
60
IO
RF antenna.
50Ω impedance
PCM Interface
Pin Name
Pin No.
I/O
Description
DC Characteristics
Comment
PCM_IN
6
DI
PCM data input.
VILmin = -0.3V
VILmax = 0.35V
VIHmin = 1.3V
VIHmax = 1.85V
1.8V power domain.
PCM_OUT
7
DO
PCM data output.
VOLmax = 0.25V
VOHmin = 1.55V
1.8V power domain.
PCM_SYNC
5
IO
PCM data frame
sync signal.
VOLmax = 0.25V
VOHmin = 1.55V
VILmin = -0.3V
VILmax = 0.35V
VIHmin = 1.3V
VIHmax = 1.85V
1.8V power domain.
In master mode, it is
an output signal.

UMTS/HSPA Module Series
UG95 Hardware Design
UG95_Hardware_Design Confidential / Released 20 / 67
PCM_CLK
4
IO
PCM data bit clock.
VOLmax = 0.25V
VOHmin = 1.55V
VILmin = -0.3V
VILmax = 0.35V
VIHmin = 1.3V
VIHmax = 1.85V
1.8V power domain.
In master mode, it’s
an output signal.
I2C Interface
Pin Name
Pin No.
I/O
Description
DC Characteristics
Comment
I2C_SCL
40
DO
I2C serial clock.
VOLmax = 0.25V
VOHmin = 1.55V
1.8V power domain.
External pull-up
resistor is required.
I2C_SDA
41
IO
I2C serial data.
VOLmax = 0.25V
VOHmin = 1.55V
VILmin = -0.3V
VILmax = 0.35V
VIHmin = 1.3V
VIHmax = 1.85V
1.8V power domain.
External pull-up
resistor is required.
Other Pins
Pin Name
Pin No.
I/O
Description
DC Characteristics
Comment
AP_READY
19
DI
Application
processor sleep
state detection.
VILmin = -0.3V
VILmax = 0.35V
VIHmin = 1.3V
VIHmax = 1.85V
1.8V power domain.
RESERVED Pins
Pin Name
Pin No.
I/O
Description
DC Characteristics
Comment
RESERV
ED
1,2,
11~14,18
22~28,
49,56,57,
63~66,
75~78,
83~88,
92~99.
Reserved
Keep these pins
unconnected.
AP_READY is under development.
NOTE

UMTS/HSPA Module Series
UG95 Hardware Design
UG95_Hardware_Design Confidential / Released 21 / 67
3.4. Operating Modes
The table below briefly summarizes the various operating modes referred in the following chapters.
Table 5: Overview of Operating Modes
Mode
Details
Normal Operation
UMTS Idle
Software is active. The module has registered to the UMTS
network and the module is ready to send and receive data.
UMTS
Talk/Data
UMTS connection is ongoing. In this mode, the power
consumption is decided by network setting (e.g. TPC pattern) and
data transfer rate.
HSPA Idle
Software is active. The module has registered to the HSPA
network and the module is ready to send and receive data.
HSPA Data
HSPA data transfer is ongoing. In this mode, the power
consumption is decided by network setting (e.g. TPC pattern) and
data transfer rate.
Minimum
Functionality
Mode
AT+CFUN command can set the module entering into a minimum functionality mode
without removing the power supply. In this case, both RF function and USIM card will
be invalid.
Sleep Mode
In this mode, the current consumption of the module will be reduced to the minimal
level. During this mode, the module can still receive paging message, SMS and voice
call from the network normally.
Power Down
Mode
In this mode, the power management unit shuts down the power supply for the
baseband part and RF part. Only the power supply for RTC remains. Software is not
active. The serial interface is not accessible. Operating voltage (connected to
VBAT_RF and VBAT_BB) remains applied.
3.5. Power Saving
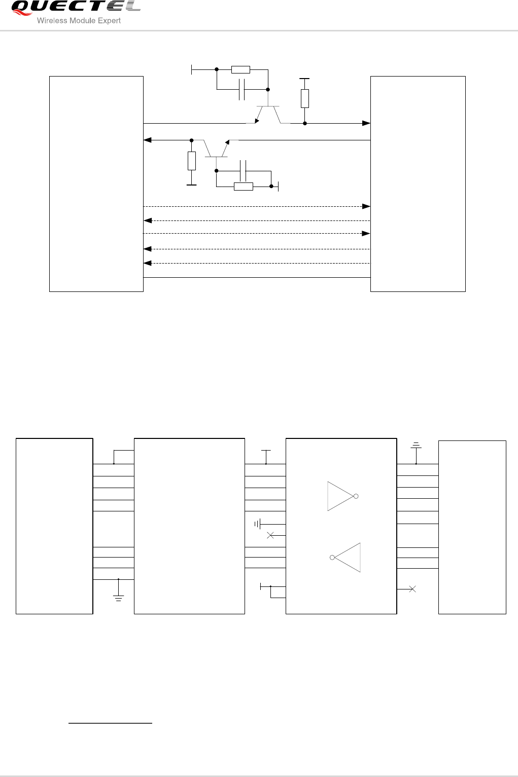
3.5.1. Sleep Mode
UG95 is able to reduce its current consumption to a minimum value during the sleep mode. The following
section describes power saving procedure of UG95.
3.5.1.1. UART Application
If application processor communicates with module via UART interface, the following preconditions can

UMTS/HSPA Module Series
UG95 Hardware Design
UG95_Hardware_Design Confidential / Released 22 / 67
let the module enter into the sleep mode.
Execute AT command AT+QSCLK=1 to enable the sleep mode.
Drive DTR to high level.
The following figure shows the connection between the module and application processor.
RXD
TXD
RI
DTR
AP_READY
TXD
RXD
EINT
GPIO
GPIO
Module Processor
GND GND
Figure 3: UART Sleep Application
The RI of module is used to wake up the processor, and AP_READY will detect the sleep state of
processor (can be configured to high level or low level detection). You should pay attention to the level
match shown in dotted line between module and processor. Drive DTR to low level will wake up the
module.
In sleep mode, the module can still receive paging message, SMS, voice call and TCP/UDP data from the
network normally, but the UART port is not accessible
3.5.1.2. USB Application with Suspend Function
TBD
3.5.1.3. USB Application without Suspend Function
If application processor communicates with module via USB interface, and processor does not support
USB suspend function, you should disconnect USB_VBUS with additional control circuit to let the module
enter into sleep mode.
Execute AT command AT+QSCLK=1 to enable the sleep mode.
Disconnect USB_VBUS.

UMTS/HSPA Module Series
UG95 Hardware Design
UG95_Hardware_Design Confidential / Released 23 / 67
Supply power to USB_VBUS will wake up the module.
The following figure shows the connection between the module and application processor.
USB_VBUS
USB_DP
USB_DM
AP_READY
VDD
USB_DP
USB_DM
GPIO
Module Processor
RI EINT
Power
Switch
GPIO
GND GND
Figure 4: USB Sleep Application without Suspend Function
In sleep mode, the module can still receive paging message, SMS, voice call and TCP/UDP data from the
network normally.
AP_READY is under development.
3.5.2. Minimum Functionality Mode
Minimum functionality mode reduces the functionality of the module to minimum level, thus minimizes the
current consumption at the same time. This mode can be set as below:
Command AT+CFUN provides the choice of the functionality levels: <fun>=0, 1, 4.
AT+CFUN=0: Minimum functionality, RF part and USIM card will be closed.
AT+CFUN=1: Full functionality (by default).
AT+CFUN=4: Disable RF function (airplane mode). All AT commands related to RF function are not
accessible.
For detailed information about command AT+CFUN, please refer to document [1].
NOTE

UMTS/HSPA Module Series
UG95 Hardware Design
UG95_Hardware_Design Confidential / Released 24 / 67
3.6. Power Supply
3.6.1. Power Supply Pins
UG95 provides four VBAT pins dedicated to connect with the external power supply. There are two
separate voltage domains for VBAT.
VBAT_RF with two pads for module RF.
VBAT_BB with two pads for module baseband.
The following table shows the VBAT pins and ground pins.
Table 6: VBAT and GND Pins
Pin Name
Pin No.
Description
Min.
Typ.
Max.
Unit
VBAT_RF
52,53
Power supply for module RF
part.
3.4
3.8
4.3
V
VBAT_BB
32,33
Power supply for module
baseband part.
3.4
3.8
4.3
V
GND
3,31,48,50
54,55,58,
59,61,62,
67~74,
79~82,
89~91,
100~102
Ground
-
-
-
-
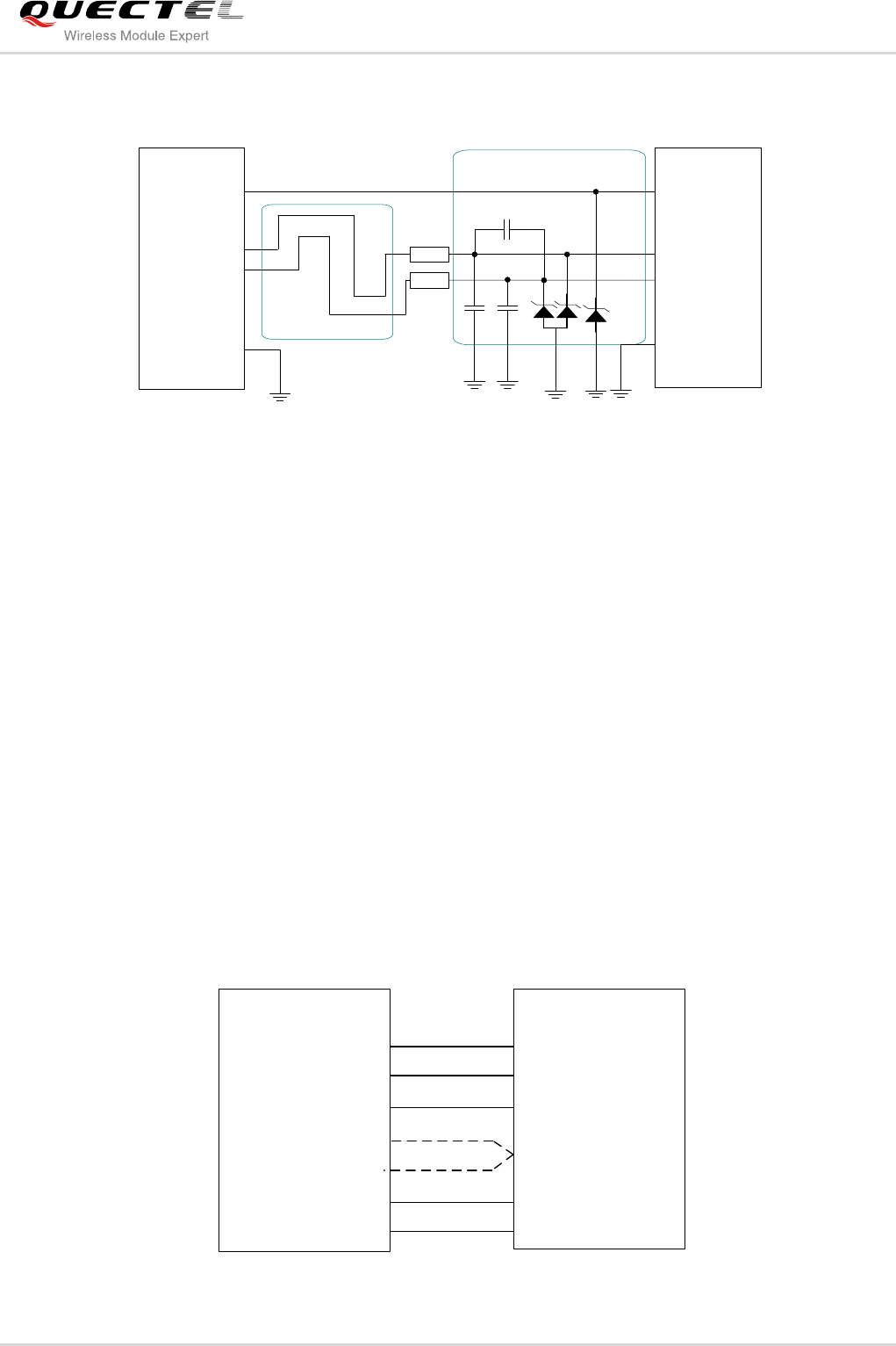
3.6.2. Decrease Voltage Drop
The power supply range of the module is 3.4V~ 4.3V. Because of the voltage drop during the transmitting
time, a bypass capacitor of about 100µF with low ESR should be used. Multi-layer ceramic chip (MLCC)
capacitor can provide the best combination of low ESR. Three ceramic capacitors (100nF, 33pF, 10pF)
are recommended to be applied to the VBAT pins. The capacitors should be placed close to the UG95’s
VBAT pins. The following figure shows star structure of the power supply.
The main power supply from an external application has to be a single voltage source and has to be
expanded to two sub paths with star structure. In addition, in order to get a stable power source, it is
suggested to use a zener diode of whose reverse zener voltage is 5.1V and dissipation power is more
than 0.5W.

UMTS/HSPA Module Series
UG95 Hardware Design
UG95_Hardware_Design Confidential / Released 25 / 67
Module
VBAT_RF
VBAT_BB
VBAT
C1
100uF
C6
100nF
C7
33pF
C8
10pF
+
+
C2
100nF
C5
100uF
C3
33pF
C4
10pF
D1
5.1V
Figure 5: Star Structure of the Power Supply
Please pay special attention to the power supply design for applications. Make sure the input voltage will
never drop below 3.4V. If the voltage drops below 3.4V, the module will turn off automatically. The PCB
traces from the VBAT pins to the power source must be wide enough to ensure that there isn’t too much
voltage drop occurs in the transmitting procedure. The width of VBAT_BB trace should be no less than
1mm, and the width of VBAT_RF trace should be no less than 2mm, and the principle of the VBAT trace is
the longer, the wider.
3.6.3. Reference Design for Power Supply
The power design for the module is very important, since the performance of power supply for the module
largely depends on the power source. The power supply is capable of providing the sufficient current up to
2A at least. If the voltage drop between the input and output is not too high, it is suggested to use a LDO
to supply power for module. If there is a big voltage difference between the input source and the desired
output (VBAT), a buck converter is preferred to be used as a power supply.
The following figure shows a reference design for +5V input power source. The designed output for the
power supply is 3.88V and the maximum load current is 3A.

UMTS/HSPA Module Series
UG95 Hardware Design
UG95_Hardware_Design Confidential / Released 26 / 67
DC_IN
C1 C2
MIC29302WU U1
IN OUT
EN
GND
ADJ
2 4
1
3
5
VBAT
100nF C3
470uF
C4
100nF
R2
100K
47K
R3
470uF
470R
51K R4
R1
1%
1%
MCU_POWER
_ON/OFF 47K
4.7K
R5
R6
Figure 6: Reference Circuit of Power Supply
It is suggested to disconnect power supply to turn off the module when the module is in abnormal state.
3.6.4. Monitor the Power Supply
You can use the AT+CBC command to monitor the VBAT_BB voltage value. For more details, please
refer to document [1].
3.7. Turn on and off Scenarios
3.7.1. Turn on Module
Turn on the module using the PWRKEY. The following table shows the pin definition of PWRKEY.
Table 7: PWRKEY Pin Description
Pin Name
Pin No.
Description
DC Characteristics
Comment
PWRKEY
15
Turn on the module.
VIHmax = 2.1V
VIHmin = 1.3V
VILmax = 0.5V
Pull-up to 1.8V internally
with 200kΩ resistor.
NOTE

UMTS/HSPA Module Series
UG95 Hardware Design
UG95_Hardware_Design Confidential / Released 27 / 67
When UG95 is in power down mode, it can be turned on to normal mode by driving the PWRKEY pin to a
low level at least 100ms. It is recommended to use an open drain/collector driver to control the PWRKEY.
You can monitor the level of the STATUS pin to judge whether the module is turned on or not. The
STATUS pin output a high level, after UG95 is turned on. A simple reference circuit is illustrated in the
following figure.
Turn on pulse
PWRKEY
4.7K
47K
≥ 100ms
Figure 7: Turn on the Module Using Driving Circuit
The other way to control the PWRKEY is using a button directly. A TVS component is indispensable to be
placed nearby the button for ESD protection. When pressing the key, electrostatic strike may generate
from finger. A reference circuit is showed in the following figure.
PWRKEY
S1
Close to S1
TVS
Figure 8: Turn on the Module Using Keystroke
The turn on scenarios is illustrated as the following figure.

UMTS/HSPA Module Series
UG95 Hardware Design
UG95_Hardware_Design Confidential / Released 28 / 67
VIL ≤ 0.5V
VIH ≥ 1.3V
VBAT
PWRKEY
(Input)
≥ 100ms
OFF BOOTING
Module
Status RUNNING
1
≥ 3.5s
RESET_N
STATUS
>2.3s
Figure 9: Timing of Turning on Module
① Make sure that VBAT is stable before pulling down PWRKEY pin. It is suggested to pull down
PWRKEY pin after VBAT is stable 30ms at a voltage of 3.8V. It is not suggested to pull down
PWRKEY pin always.
3.7.2. Turn off Module
The following procedures can be used to turn off the module:
Normal power down procedure: Turn off the module using the PWRDWN_N pin.
Normal power down procedure: Turn off the module using command AT+QPOWD.
Automatic shutdown: Turn off the module automatically if under-voltage or over-voltage is detected.
3.7.2.1. Turn off Module Using the PWRDWN_N Pin
The following table shows the pin definition of PWRDWN_N.
NOTE

UMTS/HSPA Module Series
UG95 Hardware Design
UG95_Hardware_Design Confidential / Released 29 / 67
Table 8: PWRDWN_N Pin Description
Pin Name
Pin No.
Description
DC Characteristics
Comment
PWRDWN_N
16
Turn off the module.
VIHmax = 2.1V
VIHmin = 1.3V
VILmax = 0.5V
Pull-up to 1.8V internally
with 4.7kΩ resistor.
Driving the PWRDWN_N to a low level voltage at least 100ms, the module will execute power-down
procedure after PWRDWN_N is released. It is recommended to use an open drain/collector driver to
control the PWRDWN_N. You can monitor the level of the STATUS pin to judge whether the module is
turned off or not. The level of STATUS pin is low, after UG95 is turned off. A simple reference circuit is
illustrated in the following figure.
Turn off pulse
PWRDWN_N
4.7K
47K
≥ 100ms
Figure 10: Turn off the Module Using Driving Circuit
The other way to control the PWRDWN_N is using a button directly. A TVS component is indispensable to
be placed nearby the button for ESD protection. When pressing the key, electrostatic strike may generate
from finger. A reference circuit is showed in the following figure.
PWRDWN_N
S2
Close to S2
TVS
Figure 11: Turn off the Module Using Keystroke

UMTS/HSPA Module Series
UG95 Hardware Design
UG95_Hardware_Design Confidential / Released 30 / 67
The power-down scenario is illustrated as the following figure.
VBAT
PWRDWN_N
(Input)
Log off network about 1s to 60s
≥ 100ms
RUNNING Power-down procedure OFF
Module
Status
STATUS
Figure 12: Timing of Turning off Module
During power-down procedure, module will log off network and save important data. After logging off,
module sends out “OK”, and then sends out “POWERED DOWN” and shut down the internal power
supply. The power on VBAT pins is not allowed to turn off before the URC “POWERED DOWN” is output
to avoid data loss. If logging off is not done within 60s, module will shut down internal power supply
forcibly.
After that moment, the module enters the power down mode, no other AT commands can be executed
and only the RTC is still active. The power down mode can also be indicated by the STATUS pin.
3.7.2.2. Turn off Module Using AT Command
It is also a safe way to use AT command AT+QPOWD to turn off the module, which is similar to turning off
the module via PWRDWN_N Pin.
Please refer to document [1] for details about the AT command of AT+QPOWD.
3.7.2.3. Automatic Shutdown
The module will constantly monitor the voltage applied on the VBAT, if the voltage ≤ 3.5V, the following
URC will be presented:
+QIND: “vbatt”,-1

UMTS/HSPA Module Series
UG95 Hardware Design
UG95_Hardware_Design Confidential / Released 31 / 67
If the voltage ≥ 4.21V, the following URC will be presented:
+QIND: “vbatt”,1
The uncritical voltage is 3.4V to 4.3V, If the voltage > 4.3V or < 3.4V the module would automatically shut
down itself.
If the voltage < 3.4V, the following URC will be presented:
+QIND: “vbatt”,-2
If the voltage > 4.3V, the following URC will be presented:
+QIND: “vbatt”,2
1. The value of voltage threshold can be revised by AT command, refer to document [1] for details.
2. Automatic shutdown is under development.
3.8. Reset the Module
The RESET_N can be used to reset the module.
Table 9: RESET_N Pin Description
Pin Name
Pin No.
Description
DC Characteristics
Comment
RESET_N
17
Reset the module.
VIHmax = 2.1V
VIHmin = 1.3V
VILmax = 0.5V
Pull-up to 1.8V internally
with 200kΩ resistor.
Active low.
You can reset the module by driving the RESET_N to a low level voltage for more than 100ms and then
releasing.
The recommended circuit is similar to the PWRKEY control circuit. You can use open drain/collector
driver or button to control the RESET_N.
NOTES

UMTS/HSPA Module Series
UG95 Hardware Design
UG95_Hardware_Design Confidential / Released 32 / 67
Reset pulse
RESET_N
4.7K
47K
≥ 100ms
Figure 13: Reference Circuit of RESET_N by Using Driving Circuit
RESET_N
S3
Close to S3
TVS
Figure 14: Reference Circuit of RESET_N by Using Button
The reset scenario is illustrated as the following figure.
VIL ≤ 0.5V
VIH ≥ 1.3V
VBAT
≥ 100ms
RESTARTING
Module
Status
RESET_N
RUNNING
> 5s
STATUS
> 3s
RUNNING OFF
Figure 15: Timing of Resetting Module

UMTS/HSPA Module Series
UG95 Hardware Design
UG95_Hardware_Design Confidential / Released 33 / 67
Use the RESET_N only when turning off the module by the command AT+QPOWD and the PWRDWN_N
pin failed.
3.9. RTC Interface
The RTC (Real Time Clock) can be powered by an external capacitor through the pin VRTC when the
module is powered down and there is no power supply for the VBAT. If the voltage supply at VBAT is
disconnected, the RTC can be powered by the capacitor. The capacitance determines the duration of
buffering when no voltage is applied to UG95.
The capacitor is charged from the internal LDO of UG95 when there is power supply for the VBAT. A
serial 1KΩ resistor had been placed on the application inside the module. It limits the input current of the
capacitor.
The following figure shows the reference circuit for VRTC backup.
Large
Capacitance
Capacitor
Module
RTC
Core
1K
VRTC
C
Figure 16: RTC Supply from Capacitor
In order to evaluate the capacitance of capacitor according to the backup time, we have to consider the
following parameters:
VRTC - The starting voltage of the capacitor. ( Volt)
VRTCMIN - The minimum voltage acceptable for the RTC circuit.( Volt)
I - The current consumption of the RTC circuitry when VBAT = 0.(Ampere)
B Time - Backup Time.(Second)
C - The backup capacitance. (Farad)
NOTE

UMTS/HSPA Module Series
UG95 Hardware Design
UG95_Hardware_Design Confidential / Released 34 / 67
When the power is off and only VRTC is running, the way of calculating the backup capacitor as follows:
C= B Time *I/( VRTC-VRTCMIN)
For example, when the capacitor is 1000uF:
VRTC = 1.8V
VRTCMIN = 1.0V
I = 2uA
C = 1000uF
The backup time is about 400s.
3.10. UART Interface
The module provides 7 lines UART interface.
UART interface supports 4800, 9600, 19200, 38400, 57600, 115200, 230400, 460800 and 921600bps
baud rate, and the default is auto-baud rate. This interface can be used for data transmission, AT
communication or firmware upgrade.
The module is designed as the DCE (Data Communication Equipment), following the traditional
DCE-DTE (Data Terminal Equipment) connection. The following tables show the pin definition of UART
interface.
Table 10: Pin Definition of the Main UART Interface
Pin Name
Pin No. I/O
Description
Comment
DTR
30
DI
Data terminal ready.
1.8V power domain.
RXD
34
DI
Receive data.
1.8V power domain.
TXD
35
DO
Transmit data.
1.8V power domain.
CTS
36
DO
Clear to send.
1.8V power domain.
RTS
37
DI
Request to send.
1.8V power domain.
DCD
38
DO
Data carrier detection.
1.8V power domain.
RI
39
DO
Ring indicator.
1.8V power domain.

UMTS/HSPA Module Series
UG95 Hardware Design
UG95_Hardware_Design Confidential / Released 35 / 67
The logic levels are described in the following table.
Table 11: Logic Levels of Digital I/O
Parameter
Min.
Max.
Unit
VIL
-0.3
0.35
V
VIH
1.3
1.85
V
VOL
0
0.25
V
VOH
1.55
1.8
V
UG95 provides one 1.8V UART interface. A level shifter should be used if your application is equipped
with a 3.3V UART interface. A level shifter TXS0108EPWR provided by Texas Instruments is
recommended. The following figure shows the reference design of the TXS0108EPWR.
VCCA VCCB
OE
A1
A2
A3
A4
A5
A6
A7
A8
GND
B1
B2
B3
B4
B5
B6
B7
B8
VDD_EXT
RI
DCD
RTS
RXD
DTR
CTS
TXD
51K 51K
0.1uF 0.1uF
RI_3.3V
DCD_3.3V
RTS_3.3V
RXD_3.3V
DTR_3.3V
CTS_3.3V
TXD_3.3V
VDD_3.3V
TXS0108EPWR
Figure 17: Reference Circuit of Logic Level Translator
The reference design of 5V level match is shown as below. The construction of dotted line can refer to the
construction of solid line. Please pay attention to direction of connection. Input dotted line of module
should refer to input solid line of the module. Output dotted line of module should refer to output solid line
of the module.

UMTS/HSPA Module Series
UG95 Hardware Design
UG95_Hardware_Design Confidential / Released 36 / 67
MCU/ARM
/TXD
/RXD
VDD_EXT
4.7K
VCC_MCU 4.7K
4.7K
VDD_EXT
TXD
RXD
RTS
CTS
DTR
RI
/RTS
/CTS
GND
GPIO DCD
Module
GPIO
EINT
VDD_EXT
Voltage level: 5V
4.7K
GND
1nF
1nF
Figure 18: Reference Circuit with Transistor Circuit
The following figure is an example of connection between UG95 and PC. A voltage level translator and a
RS-232 level translator chip must be inserted between module and PC, since the UART interface does
not support the RS-232 level, while support the 1.8V CMOS level only.
TXS0108EPWR
DCD_3.3V
RTS_3.3V
DTR_3.3V
RXD_3.3V
RI_3.3V
CTS_3.3V
TXD_3.3V
DCD
RTS
DTR
RXD
RI
CTS
TXD
DCD_1.8V
RTS_1.8V
DTR_1.8V
RXD_1.8V
RI_1.8V
CTS_1.8V
TXD_1.8V
VCCA
Module
GND GND
VDD_EXT VCCB
3.3V
DIN1
ROUT3
ROUT2
ROUT1
DIN4
DIN3
DIN2
DIN5
R1OUTB
FORCEON
/FORCEOFF /INVALID
3.3V
DOUT1
DOUT2
DOUT3
DOUT4
DOUT5
RIN3
RIN2
RIN1
VCC GND
OE
SN65C3238 DB9M
PC side
DCD
RTS
DTR
TXD
RI
CTS
RXD
DSR
GND
1
2
3
4
5
6
7
8
9
Figure 19: RS232 Level Match Circuit
Please visit http://www.ti.com for more information.

UMTS/HSPA Module Series
UG95 Hardware Design
UG95_Hardware_Design Confidential / Released 37 / 67
1. The module disables the hardware flow control by default. When hardware flow control is required,
RTS and CTS should be connected to the host. AT command AT+IFC=2,2 is used to enable
hardware flow control. AT command AT+IFC=0,0 is used to disable the hardware flow control. For
more details, please refer to document [1].
2. Rising edge on DTR will let the module exit from the data mode by default. It can be disabled by AT
commands. Refer to document [1] for details.
3. DCD is used as data mode indication. Refer to document [1] for details.
4. It is suggested to set USB_DP, USB_DM and USB_VBUS pins as test points and then place these
test points on the DTE for debug.
3.11. USIM Card Interface
3.11.1. USIM Card Application
The USIM card interface circuitry meets ETSI and IMT-2000 SIM interface requirements. Both 1.8V and
3.0V USIM cards are supported.
Table 12: Pin Definition of the USIM Interface
Pin Name
Pin No. I/O
Description
Comment
USIM_PRES
ENCE
42
DI
USIM card detection input.
1.8V power domain.
USIM_VDD
43
PO
Power supply for USIM card.
Either 1.8V or 3.0V is supported
by the module automatically.
USIM_RST
44
DO
Reset signal of USIM card.
USIM_DATA
45
IO
Data signal of USIM card.
Pull-up to USIM_VDD with 4.7k
resistor internally.
USIM_CLK
46
DO
Clock signal of USIM card.
USIM_GND
47
Specified ground for USIM
card.
NOTES

UMTS/HSPA Module Series
UG95 Hardware Design
UG95_Hardware_Design Confidential / Released 38 / 67
The following figure shows the reference design of the 8-pin USIM card.
USIM_VDD
USIM_GND/GND
USIM_RST
USIM_CLK
USIM_DATA
USIM_PRESENCE
22R
22R
22R
VDD_EXT
51K
100nF USIM holder
GND
GND
ESDA6V8AV6
33pF 33pF 33pF
VCC
RST
CLK IO
VPP
GND
GND
USIM_VDD
15K
Module
Figure 20: Reference Circuit of the 8-Pin USIM Card
UG95 supports USIM card hot-plugging via the USIM_PRESENCE pin. If you do not need the USIM card
detection function, keep USIM_PRESENCE unconnected. The reference circuit for using a 6-pin USIM
card socket is illustrated as the following figure.
Module
USIM_VDD
USIM_GND
USIM_RST
USIM_CLK
USIM_DATA 22R
22R
22R
100nF USIM holder
GND
ESDA6V8AV6
33pF 33pF 33pF
VCC
RST
CLK IO
VPP
GND
GND
15K
USIM_VDD
Figure 21: Reference Circuit of the 6-Pin USIM Card

UMTS/HSPA Module Series
UG95 Hardware Design
UG95_Hardware_Design Confidential / Released 39 / 67
In order to enhance the reliability and availability of the USIM card in customer’s application, please follow
the following criterion in the USIM circuit design:
Keep layout of USIM card as close as possible to the module. Assure the possibility of the length of
the trace is less than 200mm.
Keep USIM card signal away from RF and VBAT alignment.
Assure the ground between module and USIM holder short and wide. Keep the width of ground and
USIM_VDD no less than 0.5mm to maintain the same electric potential. The decouple capacitor of
USIM_VDD should be less than 1uF and must be near to USIM holder.
To avoid cross-talk between USIM_DATA and USIM_CLK, keep them away with each other and
shield them with surrounded ground.
In order to offer good ESD protection, it is recommended to add TVS such as WILL
(http://www.willsemi.com) ESDA6V8AV6. The 22Ω resistors should be added in series between the
module and the USIM card so as to suppress the EMI spurious transmission and enhance the ESD
protection.
3.11.2. Design Considerations for USIM Card Holder
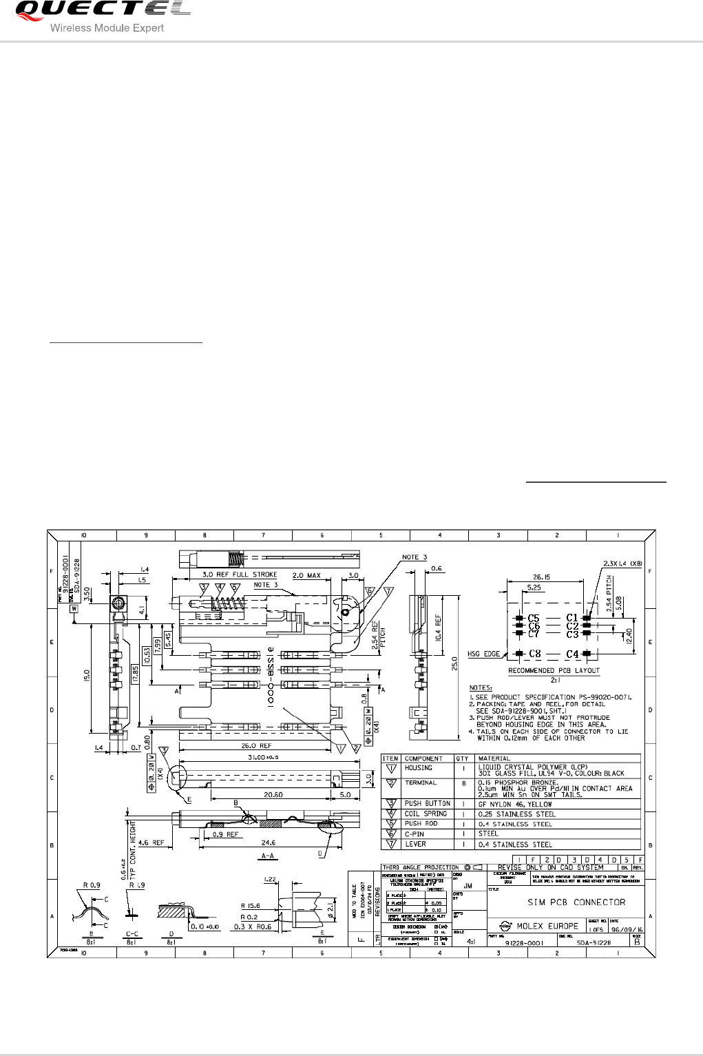
For 8-pin USIM card holder, it is recommended to use Molex 91228. Please visit http://www.molex.com for
more information.
Figure 22: Molex 91228 USIM Card Holder

UMTS/HSPA Module Series
UG95 Hardware Design
UG95_Hardware_Design Confidential / Released 40 / 67
Table 13: Pin Description of Molex USIM Card Holder
Name
Pin
Function
VDD
C1
USIM card power supply.
RST
C2
USIM card reset.
CLK
C3
USIM card clock.
/
C4
Not defined.
GND
C5
Ground.
VPP
C6
Not connected.
DATA I/O
C7
USIM card data.
/
C8
Pull-down GND with external circuit. When the tray is present, C4
is connected to C8.
For 6-pin USIM card holder, it is recommended to use Amphenol C707 10M006 512 2. Please visit
http://www.amphenol.com for more information.
Figure 23: Amphenol C707 10M006 512 2 USIM Card Holder

UMTS/HSPA Module Series
UG95 Hardware Design
UG95_Hardware_Design Confidential / Released 41 / 67
Table 14: Pin Description of Amphenol USIM Card Holder
Name
Pin
Function
VDD
C1
USIM card power supply.
RST
C2
USIM card reset.
CLK
C3
USIM card clock.
GND
C5
Ground.
VPP
C6
Not connected.
DATA I/O
C7
USIM card data.
3.12. USB Interface
UG95 contains one integrated Universal Serial Bus (USB) transceiver which complies with the USB 2.0
specification and supports high speed (480 Mbps), full speed (12 Mbps) and low speed (1.5 Mbps) mode.
The USB interface is primarily used for AT command, data transmission, software debug and firmware
upgrade. The following table shows the pin definition of USB interface.
Table 15: USB Pin Description
Pin Name
Pin No. I/O
Description
Comment
USB_DP
9
IO
USB differential data bus (positive).
Require differential
impedance of 90Ω.
USB_DM
10
IO
USB differential data bus (minus).
Require differential
impedance of 90Ω.
USB_VBUS
8
PI
Used for detecting the USB interface
connected.
2.5~5.25V.
Typical 5.0V.
More details about the USB 2.0 specifications, please visit http://www.usb.org/home.

UMTS/HSPA Module Series
UG95 Hardware Design
UG95_Hardware_Design Confidential / Released 42 / 67
The following figure shows the reference circuit of USB interface.
Module
USB_VBUS
USB_DP
USB_DM
GND
USB connector
Close to USB connector
Differential layout
USB_VBUS
USB_DP
USB_DM
GND
NM_2pF
ESD
ESD9L5.0ST5G
SD12
0R
0R
NM NM
Figure 24: Reference Circuit of USB Application
In order to ensure the USB interface design corresponding with the USB 2.0 specification, please comply
with the following principles:
It is important to route the USB signal traces as differential pairs with total grounding. The impedance
of USB differential trace is 90ohm.
Pay attention to the influence of junction capacitance of ESD component on USB data lines. Typically,
the capacitance value should be less than 2pF such as ESD9L5.0ST5G.
Do not route signal traces under crystals, oscillators, magnetic devices and RF signal traces. It is
important to route the USB differential traces in inner-layer with ground shielding not only upper and
lower layer but also right and left side.
Keep the ESD components as closer to the USB connector as possible.
It is suggested to reserve RC circuit near USB connector for debug.
The USB interface is recommended to be reserved for firmware upgrade in your design. The following
figure shows the recommended test points.
Module
USB_DM
USB_DP
VBAT_BB
USB_VBUS
PWRKEY
GND
VBAT_RF
USB_DM
USB_DP
VBAT
USB_VBUS
PWRKEY
GND
Connector
Figure 25: Test Points of Firmware Upgrade

UMTS/HSPA Module Series
UG95 Hardware Design
UG95_Hardware_Design Confidential / Released 43 / 67
1. UG95 module can only be used as a slave device.
2. It is suggested to set USB_DP, USB_DM and USB_VBUS pins as test points and then place these
test points on the DTE for debug.
3. USB interface supports software debug and firmware upgrade by default.
3.13. PCM and I2C Interface
UG95 provides one Pulse Code Modulation (PCM) digital interface for audio design, which supports the
following features:
Supports 8, 16, 32 bit mode with short frame synchronization, the PCM support 8 bit mode by default
since the PCM codec default configuration is AT+QDAI=1. Refer to document [1] for more details.
Supports master mode.
Supports audio sample rate 8 kHz.
The following table shows the pin definition of PCM and I2C interface which can be applied on audio
codec design.
Table 16: Pin Definition of PCM and I2C Interface
Pin Name
Pin No. I/O
Description
Comment
PCM_CLK
4
IO
PCM data bit clock.
1.8V power domain.
PCM_SYNC
5
IO
PCM data frame sync signal.
1.8V power domain.
PCM_IN
6
DI
PCM data input.
1.8V power domain.
PCM_OUT
7
DO
PCM data output.
1.8V power domain.
I2C_SCL
40
DO
I2C serial clock.
Require external pull-up resistor.
I2C_SDA
41
IO
I2C serial data.
Require external pull-up resistor.
In PCM audio format the MSB of the channel included in the frame (PCM_SYNC) is clocked on the
second CLK falling edge after the PCM_SYNC pulse rising edge. The period of the PCM_SYNC signal
(frame) lasts for Data word bit +1 clock pulses.
UG95’s firmware has integrated the configuration on ALC5616 application with I2C interface. You can
execute command AT+QDAI=3 to configure the ALC5616 codec, and refer to document [1] for more
NOTE

UMTS/HSPA Module Series
UG95 Hardware Design
UG95_Hardware_Design Confidential / Released 44 / 67
details. Data bit is 32 bit and the sampling rate is 8 KHz. The following figure shows the timing of the
application with ALC5616 codec.
PCM_CLK
PCM_SYNC
PCM_IN/OUT
32 1 0
31
Sampling freq. = 8 KHz
32-bit data word
BCLK = 264 KHz
33
MSB
Figure 26: PCM Master Mode Timing
In general, the BitClockFrequency (CLK) is furnished by the following expression:
BitClockFrequency = (DataWordBit +1) × SamplingFrequency
The following figure shows the reference design of PCM interface with external codec IC.
PCM_IN
PCM_OUT
PCM_SYNC
PCM_CLK
I2C_SCL
I2C_SDA
CODEC
Module
1.8V
1K
1K
BCLK
LRCLK
DACDAT
ADCDAT
SCL
SDA
BIAS
MICBIAS
MIC+
MIC-
SPK+
SPK-
Figure 27: Reference Circuit of PCM Application with Audio Codec
It is recommended to reserved RC (R=22Ω, C=22pF) circuit on the PCM lines, especially for PCM_CLK.
NOTE

UMTS/HSPA Module Series
UG95 Hardware Design
UG95_Hardware_Design Confidential / Released 45 / 67
3.14. Network Status Indication
The NETLIGHT signal can be used to drive a network status indication LED. The following tables describe
pin definition and logic level changes in different network status.
Table 17: Pin Definition of Network Indicator
Pin Name
Pin No. I/O
Description
Comment
NETLIGHT
21
DO
Indicate the module network activity
status.
1.8V power domain.
Table 18: Working State of the Network Indicator
Pin Name
Status
Description
NETLIGHT
Flicker slowly (200ms High/1800ms Low)
Networks searching.
Flicker slowly (1800ms High/200ms Low)
Idle.
Always High
Voice&CSD calling.
A reference circuit is shown in the following figure.
4.7K
47K
VBAT
2.2K
Module
NETLIGHT
Figure 28: Reference Circuit of the NETLIGHT

UMTS/HSPA Module Series
UG95 Hardware Design
UG95_Hardware_Design Confidential / Released 46 / 67
3.15. Operating Status Indication
The STATUS pin is set as an output pin and can be used to judge whether module is power-on. In
customer’s design, this pin can be used to drive an LED in order to judge the module’s operation status.
The following table describes pin definition of STATUS.
Table 19: Pin Definition of STATUS
Pin Name
Pin No. I/O
Description
Comment
STATUS
20
DO
Indicate the module operation status.
1.8V power domain.
A reference circuit is shown as below.
4.7K
47K
VBAT
2.2K
Module
STATUS
Figure 29: Reference Circuit of the STATUS

UMTS/HSPA Module Series
UG95 Hardware Design
UG95_Hardware_Design Confidential / Released 47 / 67
4 Antenna Interface
The Pin 60 is the RF antenna pad. The RF interface has an impedance of 50Ω.
4.1. UMTS Antenna Interface
4.1.1. Pin Definition
Table 20: Pin Definition of the RF Antenna
Pin Name
Pin No.
I/O
Description
Comment
GND
58
ground
GND
59
ground
RF_ANT
60
IO
RF antenna pad
50Ω impedance
GND
61
ground
GND
62
ground
4.1.2. Operating Frequency
Table 21: The Module Operating Frequencies
Band
Receive
Transmit
Unit
UMTS1900
1930 ~ 1990
1850 ~ 1910
MHz
UMTS850
869 ~ 894
824 ~ 849
MHz
4.1.3. Reference Design
The RF external circuit is recommended as below. It should reserve a π-type matching circuit for better
RF performance. The capacitors are not mounted by default.

UMTS/HSPA Module Series
UG95 Hardware Design
UG95_Hardware_Design Confidential / Released 48 / 67
RF_ANT
R1 0R
C1
NM
C2
NM
Module
Figure 30: Reference Circuit of Antenna Interface
UG95 provides an RF antenna PAD for customer’s antenna connection. The RF trace in host PCB
connected to the module RF antenna pad should be micro-strip line or other types of RF trace, whose
characteristic impendence should be close to 50Ω. UG95 comes with grounding pads which are next to
the antenna pad in order to give a better grounding.
4.2. Antenna Installation
4.2.1. Antenna Requirement
The following table shows the requirement on UMTS antenna.
Table 22: Antenna Cable Requirements
Type
Requirements
UMTS 850
Cable insertion loss <1dB
UMTS 1900/2100
Cable insertion loss <1.5dB
Table 23: Antenna Requirements
Type
Requirements
Frequency Range
UG95
UMTS Dual-band: 850/1900MHz.
VSWR
≤ 2

UMTS/HSPA Module Series
UG95 Hardware Design
UG95_Hardware_Design Confidential / Released 49 / 67
Gain (dBi)
1
Max Input Power (W)
50
Input Impedance (Ω)
50
Polarization Type
Vertical
4.2.2. Install the Antenna with RF Connector
The following is the antenna installation with RF connector provided by HIROSE. The recommended RF
connector is UF.L-R-SMT.
Figure 31: Dimensions of the UF.L-R-SMT Connector (Unit: mm)
You can use U.FL-LP serial connector listed in the following figure to match the UF.L-R-SMT.

UMTS/HSPA Module Series
UG95 Hardware Design
UG95_Hardware_Design Confidential / Released 50 / 67
Figure 32: Mechanicals of UF.L-LP Connectors (Unit: mm)
The following figure describes the space factor of mated connector
Figure 33: Space Factor of Mated Connector (Unit: mm)
For more details, please visit http://www.hirose.com.

UMTS/HSPA Module Series
UG95 Hardware Design
UG95_Hardware_Design Confidential / Released 51 / 67
5 Electrical, Reliability and Radio
Characteristics
5.1. Absolute Maximum Ratings
Absolute maximum ratings for power supply and voltage on digital and analog pins of module are listed in
the following table.
Table 24: Absolute Maximum Ratings
Parameter
Min.
Max.
Unit
VBAT_RF/VBAT_BB
-0.3
4.7
V
USB_VBUS
-0.3
5.5
V
Peak Current of VBAT_BB
0
0.8
A
Peak Current of VBAT_RF
0
2
A
Voltage at Digital Pins
-0.3
2.3
V
5.2. Power Supply Ratings
Table 25: The Module Power Supply Ratings
Parameter
Description
Conditions
Min.
Typ.
Max.
Unit
VBAT
VBAT_BB and
VBAT_RF
Voltage must stay within the
min/max values, including voltage
drop, ripple, and spikes.
3.4
3.8
4.3
V
USB_VBUS
USB insert
detection
2.5
5.0
5.25
V

UMTS/HSPA Module Series
UG95 Hardware Design
UG95_Hardware_Design Confidential / Released 52 / 67
5.3. Operating Temperature
The operating temperature is listed in the following table.
Table 26: Operating Temperature
Parameter
Min.
Typ.
Max.
Unit
Normal Temperature
-35
25
70
ºC
Restricted Operation1)
-40~ -35
70 ~ 85
ºC
Storage Temperature
-45
90
ºC
1) When the module works within the temperature range, the deviations from the RF specification may
occur. For example, the frequency error or the phase error would increase.
5.4. Current Consumption
The values of current consumption are shown below.
Table 27: The Module Current Consumption
Parameter
Description
Conditions
Min.
Typ.
Max.
Unit
IVBAT
OFF state
supply current
Power down
70
uA
WCDMA
supply current
Sleep (USB disconnected)
@DRX=6
1.98
mA
Sleep (USB disconnected)
@DRX=7
1.46
mA
Sleep (USB disconnected)
@DRX=8
1.24
mA
Sleep (USB disconnected)
@DRX=9
1.15
mA
Idle (USB disconnected) @DRX=6
12
mA
NOTE

UMTS/HSPA Module Series
UG95 Hardware Design
UG95_Hardware_Design Confidential / Released 53 / 67
Parameter
Description
Conditions
Min.
Typ.
Max.
Unit
Idle (USB connected) @DRX=6
31.7
mA
WCDMA data
transfer
UMTS2100 HSDPA @max power
524
mA
UMTS2100 HSUPA @max power
536
mA
UMTS1900 HSDPA @max power
522
mA
UMTS1900 HSUPA @max power
563
mA
UMTS850 HSDPA @max power
490
mA
UMTS850 HSUPA @max power
520
mA
UMTS900 HSDPA @max power
510
mA
UMTS900 HSUPA @max power
512
mA
5.5. RF Output Power
The following table shows the RF output power of UG95 module.
Table 28: Conducted RF Output Power
Frequency
Max.
Min.
UMTS1900
22.25dBm+1/-1dB
<-50dBm
UMTS850
22.25dBm+1/-1dB
<-50dBm
5.6. RF Receiving Sensitivity
The following table shows the conducted RF receiving sensitivity of UG95 module.
Table 29: Conducted RF Receiving Sensitivity
Frequency
Receive Sensitivity (Typ.)
UMTS1900
-110.5dBm

UMTS/HSPA Module Series
UG95 Hardware Design
UG95_Hardware_Design Confidential / Released 54 / 67
UMTS850
-110.5dBm
5.7. Electrostatic Discharge
The module is not protected against electrostatics discharge (ESD) in general. Consequently, it is subject
to ESD handling precautions that typically apply to ESD sensitive components. Proper ESD handling and
packaging procedures must be applied throughout the processing, handling and operation of any
application that incorporates the module.

UMTS/HSPA Module Series
UG95 Hardware Design
UG95_Hardware_Design Confidential / Released 55 / 67
6 Mechanical Dimensions
This chapter describes the mechanical dimensions of the module. All dimensions are measured in mm.
6.1. Mechanical Dimensions of the Module
0.8+/-0.1
2.2+/-0.2
19.9+/-0.15
23.6+/-0.15
Figure 34: UG95 Top and Side Dimensions

UMTS/HSPA Module Series
UG95 Hardware Design
UG95_Hardware_Design Confidential / Released 56 / 67
0.775
1.00
19.90
23.60
1.10
1.15
1.70
1.70 1.00
0.85
0.55
0.70
1.70
Figure 35: UG95 Bottom Dimension (Top View)

UMTS/HSPA Module Series
UG95 Hardware Design
UG95_Hardware_Design Confidential / Released 57 / 67
6.2. Footprint of Recommendation
19.90
23.60
0.85
0.85
1.70
1.70
1.00
1.00
1.95 0.55
2.35
0.70
1.10
0.20
1.90
1.00
Figure 36: Recommended Footprint (Top View)
1. In order to maintain the module, keep about 3mm between the module and other components in the
host PCB.
2. All RESERVED pins must not be connected to GND.
NOTES

UMTS/HSPA Module Series
UG95 Hardware Design
UG95_Hardware_Design Confidential / Released 58 / 67
6.3. Top View of the Module
Figure 37: Top View of the Module
6.4. Bottom View of the Module
Figure 38: Bottom View of the Module

UMTS/HSPA Module Series
UG95 Hardware Design
UG95_Hardware_Design Confidential / Released 59 / 67
7 Storage and Manufacturing
7.1. Storage
UG95 is stored in the vacuum-sealed bag. The restriction of storage condition is shown as below.
Shelf life in sealed bag is 12 months at < 40ºC/90%RH.
After this bag is opened, devices that will be subjected to reflow solder or other high temperature process
must be:
Mounted within 72 hours at factory conditions of ≤ 30ºC/60%RH.
Stored at <10% RH.
Devices require bake, before mounting, if:
Humidity indicator card is >10% when read 23ºC±5ºC.
Mounted for more than 72 hours at factory conditions of ≤ 30ºC/60% RH.
If baking is required, devices may be baked for 48 hours at 125ºC±5ºC.
As plastic container cannot be subjected to high temperature, module needs to be taken out from
container to high temperature (125ºC) bake. If shorter bake times are desired, please refer to
IPC/JEDECJ-STD-033 for bake procedure.
7.2. Manufacturing and Welding
The squeegee should push the paste on the surface of the stencil that makes the paste fill the stencil
openings and penetrate to the PCB. The force on the squeegee should be adjusted so as to produce a
clean stencil surface on a single pass. To ensure the module soldering quality, the thickness of stencil at
the hole of the module pads should be 0.13mm. For details, please refer to document [6].
NOTE

UMTS/HSPA Module Series
UG95 Hardware Design
UG95_Hardware_Design Confidential / Released 60 / 67
It is suggested that peak reflow temperature is 235 ~ 245ºC (for SnAg3.0Cu0.5 alloy). Absolute max
reflow temperature is 260ºC. To avoid damage to the module when it was repeatedly heated, it is
suggested that the module should be mounted after the first panel has been reflowed. The following
picture is the actual diagram which we have operated.
Time
50 100 150 200 250 300
50
100
150
200
250
160 ºC
200 ºC
217
0
70s~120s
40s~60s
Between 1~3 ºC/s
Preheat Heating Cooling
ºC
s
Liquids Temperature
Figure 39: Reflow Soldering Profile
7.3. Packaging
TBD

UMTS/HSPA Module Series
UG95 Hardware Design
UG95_Hardware_Design Confidential / Released 61 / 67
8 Appendix A Reference
Table 30: Related Documents
SN
Document Name
Remark
[1]
Quectel_UG95_AT_Commands_Manual
UG95 AT Commands Manual
[2]
Quectel_UC20_EVB_User_Guide
UC20 EVB User Guide
[3]
Quectel_UG95_Reference_Design
UG95 Reference Design
[4]
Quectel_UG95&M95_Reference_Design
UG95 and M95 Compatible Reference Design
[5]
Quectel_UG95&M95_Compatible_Design
UG95 and M95 Compatibility Design Specification
[6]
Quectel_Module_Secondary_SMT_User_
Guide
Module Secondary SMT User Guide
Table 31: Terms and Abbreviations
Abbreviation
Description
AMR
Adaptive Multi-rate
ARP
Antenna Reference Point
bps
Bits Per Second
CHAP
Challenge Handshake Authentication Protocol
CS
Coding Scheme
CSD
Circuit Switched Data
CTS
Clear To Send
DRX
Discontinuous Reception
DCE
Data Communications Equipment (typically module)
DTE
Data Terminal Equipment (typically computer, external controller)

UMTS/HSPA Module Series
UG95 Hardware Design
UG95_Hardware_Design Confidential / Released 62 / 67
DTR
Data Terminal Ready
DTX
Discontinuous Transmission
EFR
Enhanced Full Rate
EGSM
Extended GSM900 band (includes standard GSM900 band)
ESD
Electrostatic Discharge
FR
Full Rate
GMSK
Gaussian Minimum Shift Keying
GPS
Global Positioning System
GSM
Global System for Mobile Communications
HR
Half Rate
HSPA
High Speed Packet Access
I/O
Input/Output
IMEI
International Mobile Equipment Identity
Imax
Maximum Load Current
Inorm
Normal Current
LED
Light Emitting Diode
LNA
Low Noise Amplifier
MO
Mobile Originated
MS
Mobile Station (GSM engine)
MT
Mobile Terminated
PAP
Password Authentication Protocol
PBCCH
Packet Broadcast Control Channel
PCB
Printed Circuit Board
PDU
Protocol Data Unit
PPP
Point-to-Point Protocol

UMTS/HSPA Module Series
UG95 Hardware Design
UG95_Hardware_Design Confidential / Released 63 / 67
PSK
Phase Shift Keying
QAM
Quadrature Amplitude Modulation
QPSK
Quadrature Phase Shift Keying
RF
Radio Frequency
RHCP
Right Hand Circularly Polarized
RMS
Root Mean Square (value)
RTC
Real Time Clock
Rx
Receive
SIM
Subscriber Identification Module
SMS
Short Message Service
TDMA
Time Division Multiple Access
TE
Terminal Equipment
TX
Transmitting Direction
UART
Universal Asynchronous Receiver & Transmitter
UMTS
Universal Mobile Telecommunications System
URC
Unsolicited Result Code
USIM
Universal Subscriber Identity Module
USSD
Unstructured Supplementary Service Data
Vmax
Maximum Voltage Value
Vnorm
Normal Voltage Value
Vmin
Minimum Voltage Value
VIHmax
Maximum Input High Level Voltage Value
VIHmin
Minimum Input High Level Voltage Value
VILmax
Maximum Input Low Level Voltage Value
VILmin
Minimum Input Low Level Voltage Value

UMTS/HSPA Module Series
UG95 Hardware Design
UG95_Hardware_Design Confidential / Released 64 / 67
VImax
Absolute Maximum Input Voltage Value
VImin
Absolute Minimum Input Voltage Value
VOHmax
Maximum Output High Level Voltage Value
VOHmin
Minimum Output High Level Voltage Value
VOLmax
Maximum Output Low Level Voltage Value
VOLmin
Minimum Output Low Level Voltage Value
VSWR
Voltage Standing Wave Ratio
WCDMA
Wideband Code Division Multiple Access

UMTS/HSPA Module Series
UG95 Hardware Design
UG95_Hardware_Design Confidential / Released 65 / 67
9 Appendix B GPRS Coding Scheme
Table 32: Description of Different Coding Schemes
Scheme
CS-1
CS-2
CS-3
C4-4
Code Rate
1/2
2/3
3/4
1
USF
3
3
3
3
Pre-coded USF
3
6
6
12
Radio Block excl.USF and BCS
181
268
312
428
BCS
40
16
16
16
Tail
4
4
4
-
Coded Bits
456
588
676
456
Punctured Bits
0
132
220
-
Data Rate Kb/s
9.05
13.4
15.6
21.4

UMTS/HSPA Module Series
UG95 Hardware Design
UG95_Hardware_Design Confidential / Released 66 / 67
10 Appendix C GPRS Multi-slot Class
Twenty-nine classes of GPRS multi-slot modes are defined for MS in GPRS specification. Multi-slot
classes are product dependant, and determine the maximum achievable data rates in both the uplink and
downlink directions. Written as 3+1 or 2+2, the first number indicates the amount of downlink timeslots,
while the second number indicates the amount of uplink timeslots. The active slots determine the total
number of slots the GPRS device can use simultaneously for both uplink and downlink communications.
The description of different multi-slot classes is shown in the following table.
Table 33: GPRS Multi-slot Classes
Multislot Class
Downlink Slots
Uplink Slots
Active Slots
1
1
1
2
2
2
1
3
3
2
2
3
4
3
1
4
5
2
2
4
6
3
2
4
7
3
3
4
8
4
1
5
9
3
2
5
10
4
2
5
11
4
3
5
12
4
4
5

UMTS/HSPA Module Series
UG95 Hardware Design
UG95_Hardware_Design Confidential / Released 67 / 67
11 Appendix D EDGE Modulation and
Coding Scheme
Table 34: EDGE Modulation and Coding Scheme
Coding Scheme
Modulation
Coding Family
1 Timeslot
2 Timeslot
4 Timeslot
CS-1:
GMSK
/
9.05kbps
18.1kbps
36.2kbps
CS-2:
GMSK
/
13.4kbps
26.8kbps
53.6kbps
CS-3:
GMSK
/
15.6kbps
31.2kbps
62.4kbps
CS-4:
GMSK
/
21.4kbps
42.8kbps
85.6kbps
MCS-1
GMSK
C
8.80kbps
17.60kbps
35.20kbps
MCS-2
GMSK
B
11.2kbps
22.4kbps
44.8kbps
MCS-3
GMSK
A
14.8kbps
29.6kbps
59.2kbps
MCS-4
GMSK
C
17.6kbps
35.2kbps
70.4kbps
MCS-5
8-PSK
B
22.4kbps
44.8kbps
89.6kbps
MCS-6
8-PSK
A
29.6kbps
59.2kbps
118.4kbps
MCS-7
8-PSK
B
44.8kbps
89.6kbps
179.2kbps
MCS-8
8-PSK
A
54.4kbps
108.8kbps
217.6kbps
MCS-9
8-PSK
A
59.2kbps
118.4kbps
236.8kbps
