R tron SNCDMA37C Wireless Booster (CDMA) User Manual

R-tron Inc. Wireless Booster (CDMA)

User Manual

  System Manual                                           RSN-CDMA-37-C   Proprietary & Confidential                                                     Page 1                                                                               Issue: 1.0     RSN-CDMA-37-C Manual  R-tron Inc.
  System Manual                                           RSN-CDMA-37-C   Proprietary & Confidential                                                     Page 2                                                                               Issue: 1.0     CAUTION This equipment is indoor use and all the communication
  System Manual                                           RSN-CDMA-37-C   Proprietary & Confidential                                                     Page 3                                                                               Issue: 1.0     Abbreviations Abbreviations used in this manual, in RSN-CDMA-37-C.  AC           Alternating Current ANT          Antenna CDMA    Code Division Multiple Access DC           Direct Current  GND          Grounding GUI          Graphic User Interface LED          Light Emitting Diode PSU          Power Supply Unit MCU         Main Control Unit UDC         Up Down Converter RF           Radio Frequency TEMP   Temperature VSWR    Voltage Standing Wave Ratio
  System Manual                                           RSN-CDMA-37-C   Proprietary & Confidential                                                     Page 4                                                                               Issue: 1.0     1. Introduction   RSN-CDMA-37-C is used to fill out areas in CDMA mobile systems, such as base station fringe areas, business and industrial buildings, etc. RSN-CDMA-37-C receives signals from a base station, amplifies and retransmits the signals to mobile stations. Also it receives, amplifies and retransmits signals in the opposite direction. Both directions are served simultaneously with the following features:  65MHz bandwidth service    Band Selection (5MHz , 10MHz , 15MHz , 20MHz , 5MHz+5MHz , 10MHz+5MHz, 15MHz+5MHz, 20MHz+5MHz, 5MHz+5MHz+5MHz) service  Roll Offs: 50dBc at 1 MHz outside pass-band  The RSN-CDMA-37-C is controlled by powerful microprocessors. Operational status LEDs are visible on the bottom of the repeater. The repeater works with convection cooling without fan because it has a radiator behind the body of RSN-CDMA-37-C. Alarm LEDs Local port Remote port Server antenna port UL and DL output monitoring port AC in and SwitchDonor antenna portGround contact DC Outlet for external device
  System Manual                                           RSN-CDMA-37-C   Proprietary & Confidential                                                     Page 5                                                                               Issue: 1.0     Operational parameters, such as gain, power levels, alarm condition, Automatic Gain Control condition, etc. are set using a desktop or notebook and the remote access is capable of control the RSN-CDMA-37-C.
  System Manual                                           RSN-CDMA-37-C   Proprietary & Confidential                                                     Page 6                                                                               Issue: 1.0     2. Description 2.1 System Specifications 2.1.1 Electrical Specifications Parameter  Down Link  Up Link Operating Frequency  1930MHz~1995MHz 1850MHz~1915MHz Gain  45dB to 95dB Roll off  ≤50dBc @Fedge+/-1MHz Gain ripple  ±1.5dB   Delay 5.0uS Max VSWR 1.5Max Input Range  -45dBm ~ -58dBm Power supply  85V~264V, 50/60Hz typ. Operating temperature  -10℃~-50℃ Storage temperature  -20℃~ 60℃ Consumption power  ≤100W  Band Selection 5MHz , 10MHz , 15MHz , 20MHz 5+5MHz , 10+5MHz , 15+5MHz , 20+5MHz 5+5+5MHz
  System Manual                                           RSN-CDMA-37-C   Proprietary & Confidential                                                     Page 7                                                                               Issue: 1.0     2.1.2 Mechanical Specifications Parameter  Specification RF connectors  N-female x 2, SMA-female x 2 Size  14.49 X17.52 X 9.33(Inch), 368 X 445 X 237(mm) Weight 27kg (59.5lbs)  AC IN DANGERRISK OF ELECTRIC SHOCK110 -125Vac Noteexternal devices  onlyPower outlet  for compatible MAX 2ADC OUT+12Vdc or -12VdcUL Output-30dB CPL. DL Output-30dB CPL.DONORANTENNALOCALhttp://192.168.0. 1:83REMOTESERVERANTENNAALARMR-tron lnc.MAKER      :MADE IN KOREA:  STESNCDMA37C110 -125Vac , 60Hz , 4ARSN-CDMA-37-CSERIAL NO.  /  DATE  :  FCC REG. NO. :POWER    PRODUCT PART NUMBER :COMPLIES WITH PART 24, FCC RULES.I.T.E31CYE258109
  System Manual                                           RSN-CDMA-37-C   Proprietary & Confidential                                                     Page 8                                                                               Issue: 1.0    2.2 Sub Unit Overview RSN-CDMA-37-C is composed of the following sub units:  UDC(Up Down Converter)   HPAs(High Power Amplifiers)  Duplexers    Main Control Unit (MCU)   Power Supply Unit (PSU)  EMI Filter PSU MCU UDC UL HPA  DL HPA EMI Filter Duplexer Duplexer
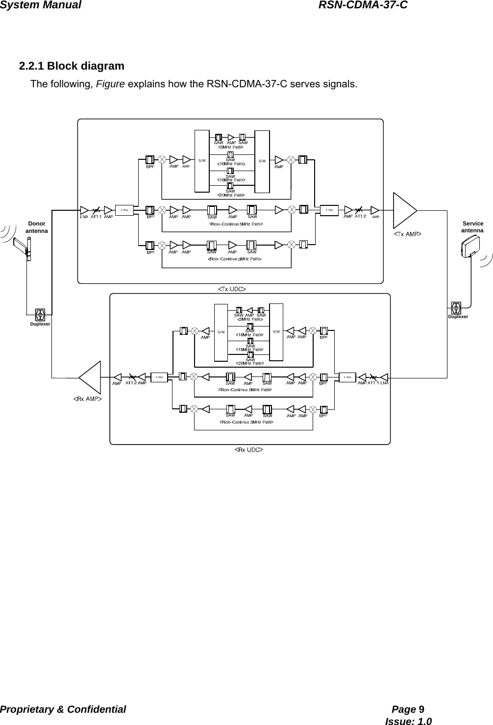
  System Manual                                           RSN-CDMA-37-C   Proprietary & Confidential                                                     Page 9                                                                               Issue: 1.0     2.2.1 Block diagram The following, Figure explains how the RSN-CDMA-37-C serves signals.  3-WayS/WAMP S/W3-WayAMPDonor antennaDuplexerDuplexer Service antenna3-WayS/WS/W3-Way
  System Manual                                           RSN-CDMA-37-C   Proprietary & Confidential                                                     Page 10                                                                               Issue: 1.0     2.2.2 UDCs The UDC Module is basically a bi-directional amplifier that sharply filters out   unwanted noise.  <DL UDC>  <UL UDC>
  System Manual                                           RSN-CDMA-37-C   Proprietary & Confidential                                                     Page 11                                                                               Issue: 1.0     2.2.3 Duplexers A multiplexer is a device that combines two or more signals onto a common   channel or medium to increase its transmission efficiency.
  System Manual                                           RSN-CDMA-37-C   Proprietary & Confidential                                                     Page 12                                                                               Issue: 1.0     2.2.4 Main Control Unit (MCU) MCU is the control unit of RSN-CDMA-37-C. It controls and monitors operational parameters.  It also generates alarms, an event log and many other functions of the RSN-CDMA-37-C.  *Pin Map* Port   Connected to   J6 MCU Vcc(+12V) J7  CDMA DL,UL Control Pin J8  PSU Alarms / Status LEDs P1 Local P2 Remote
  System Manual                                           RSN-CDMA-37-C   Proprietary & Confidential                                                     Page 13                                                                               Issue: 1.0     2.2.5 Power Supply The Power Supply Unit (PSU) supplies a steady DC power to RSN-CDMA-37-C by drawing power from the general in-wall AC outlets    *Specification* Item   Specifications   Environmental  Operating Temp  -10℃~50℃  Humidity   20%~90%RH  Cooling method  Natural air   Voltage   AC115V  Rated Output(DC)    6V, 5A / 12V, 5A / -12V, 5A / 27V, 10A DC   Frequency    60Hz typ  Leakage Current    0.5mA max.@110V AC
  System Manual                                           RSN-CDMA-37-C   Proprietary & Confidential                                                     Page 14                                                                               Issue: 1.0     2.2.6 High Power Amplifier (HPA) The High Power Amplifiers the transmitted signal from a base station at the final   stage of the repeater and vice versa.  <DL HPA>  <UL HPA>
  System Manual                                           RSN-CDMA-37-C   Proprietary & Confidential                                                     Page 15                                                                               Issue: 1.0     2.2.7 Noise(EMI) Filter   2.2.8 Communication & LED Board

Navigation menu