RadioFrame Networks BSERIESGSMNA10 B-Series GSM 1.0 User Manual 998 4002 00
RadioFrame Networks, Inc B-Series GSM 1.0 998 4002 00
Contents
- 1. Users Manual 1 of 2
- 2. Users Manual 2 of 2
Users Manual 1 of 2

RadioFrame Networks
RadioFrame System
Method of Procedure
GSM/802.11b
April 25, 2005
998-4002-00 Rev C

RadioFrame System Method of Procedure GSM/802.11b
ii RadioFrame Networks, Inc.
Service Information
This equipment complies with part 15 of the FCC Rules. Operation is subject to the two following conditions:
This device may not cause harmful interference, and this device must accept any interference received,
including interference that may cause undesired operation. This equipment has been tested and found to
comply with the limits pursuant to part 90.691 of the FCC Rules. These limits are designed to provide
reasonable protection against harmful interference when the equipment is operated in a commercial
environment.
Notices
These installation standards have been prepared to provide RadioFrame Networks Customers with general
standards necessary to ensure that installed RadioFrame Networks equipment operates in accordance with
the design parameters in the owned or leased buildings of RadioFrame Networks Customers and their
customers, and to make certain equipment is installed safely and efficiently.
RadioFrame Networks reserves the right to revise this document for any reason, including, but not limited to,
conformity with standards promulgated by various governmental or regulatory agencies, utilization of
advances in the state of the technical arts, or to reflect changes in the design of equipment, techniques, or
procedures described or referred to herein.
Liability to anyone arising out of use or reliance upon any information set forth herein is expressly
disclaimed, and no representation or warranties, expressed or implied, are made with respect to the
accuracy or utility of any information set forth herein.
Revision History
Software Release Date
Pre-release July 2004
To Obtain Copies
Contact RadioFrame Networks at:
• RadioFrame Networks, Inc.
1120 112
th
Avenue NE, Suite 600
Bellevue, WA 98004
• Telephone (425) 278-2780
• FAX (425) 278-2781
• E-mail USinfo@radioframenetworks.com
Final copies of this document are also posted as .pdf files on the RadioFrame Networks web site at:
http//www.radioframenetworks.com.
Your Comments are Valued
The information in this document is subject to change. Please do not hesitate to point out discrepancies,
express your concerns and make suggestions.
Copyrights and Trademarks
RadioFrame is a registered trademark; RadioFrame Networks and RadioBlade are trademarks of
RadioFrame Networks, Inc. You may not use these or any other RadioFrame Networks trademarks or
service marks without the written permission of RadioFrame Networks, Inc. All other trademarks and trade
names are the property of their respective owners.
Throughout this publication, the terms RadioFrame Networks, RadioFrame and RFN signify RadioFrame
Networks, Inc.
RadioFrame System GSM/802.11b/g Method of Procedure
© Copyright 2005 RadioFrame Networks, Inc. All Rights Reserved.

GSM/802.11b RadioFrame System Method of Procedure
RadioFrame Networks, Inc. iii
Contents
1
Introduction ...............................................................................................................1
1.1
Scope of the Manual........................................................................................ 1
1.2
Repair and Technical Support ......................................................................... 3
1.3
Safety Precautions .......................................................................................... 4
2
System Description...................................................................................................8
2.1
Base Chassis Unit (BCU) ................................................................................ 9
2.2
Airlink Chassis Unit (ACU)............................................................................. 10
2.3
RadioFrame Unit (RFU)................................................................................. 10
2.4
GSM RadioBlade (RadioBlade or RB)........................................................... 11
2.5
802.11b/g integrated RadioFrame Access Point (RAP) ................................ 11
2.6
Local Area Network (LAN)............................................................................. 12
2.7
Physical Relationships................................................................................... 13
3
Pre-Installation ........................................................................................................18
3.1
Receipt of Equipment .................................................................................... 18
3.2
Site Planning ................................................................................................. 19
3.3
Main Rack and Supporting Hardware............................................................ 20
3.4
Remote ACUs................................................................................................ 30
3.5
RFUs ............................................................................................................. 32
3.6
GSM RadioBlades ......................................................................................... 34
3.7
RAPs ............................................................................................................. 36
3.8
Interconnecting Cabling................................................................................. 37
3.9
Main Rack Configuration ............................................................................... 44
3.10
RF Planning................................................................................................... 45
3.11
Site Survey .................................................................................................... 45
3.12
Tools Required ..............................................................................................45
4
Installation ...............................................................................................................47
4.1
Main Rack and Supporting Hardware............................................................ 47
4.2
Remote ACUs................................................................................................ 49
4.3
RFU ............................................................................................................... 51
4.4
Interconnecting Cabling................................................................................. 55
5
Final Checkout.........................................................................................................57
5.1
Start System Manager................................................................................... 57
5.2
Configure the System Components............................................................... 63
5.3
Configure the RFS GSM Services................................................................. 66
5.4
Coverage Validation ......................................................................................67

RadioFrame System Method of Procedure GSM/802.11b
iv RadioFrame Networks, Inc.
5.5
Site Acceptance Guidelines........................................................................... 67
5.6
RadioFrame System Functionality Test......................................................... 70
6
Connecting the RFS to the Customer LAN...........................................................71
6.1
Connect the BCU to the Customer LAN ........................................................ 71
6.2
802.11 Global Configuration.......................................................................... 72
6.3
Configuring an Individual iRAP...................................................................... 80
6.4
Viewing WLAN User/iRAP Associations........................................................ 81
6.5
Verifying the Wireless LAN (802.11b) Installation ......................................... 83
7
Operations and Maintenance .................................................................................84
7.1
Upgrading System Software.......................................................................... 84
7.2
Preventive Maintenance ................................................................................ 86
7.3
Corrective Maintenance................................................................................. 86
7.4
Field Replaceable Units................................................................................. 91
7.5
Alarm Resolution Procedures........................................................................ 92
Appendix A
Glossary .................................................................................................97
Appendix B
Site Survey .............................................................................................99
Appendix C
BCU and ACU Main Rack Installation................................................105
Appendix D
RFS Default IP Addresses...................................................................108
Appendix E
Connecting to the RFS........................................................................112

GSM/802.11b RadioFrame System Method of Procedure
RadioFrame Networks, Inc. v
List of Figures
Figure 1
The RadioFrame System uses a ‘tree’-style architecture............................. 8
Figure 2
BCU functional diagram................................................................................ 9
Figure 3
ACU functional diagram.............................................................................. 10
Figure 4
GSM RadioBlade functional diagram. ........................................................ 11
Figure 5
integrated RadioFrame Access Point (RAP) functional diagram................ 11
Figure 6
RFS and customer LAN functional diagram. .............................................. 12
Figure 7
A typical high capacity (12 BR) RFS installed in a four-story office
building. ..................................................................................................... 14
Figure 8
A typical low capacity (4 BR) RadioFrame System installed in a four-
story office building..................................................................................... 15
Figure 9
RFUs are located throughout the building to provide coverage.................. 16
Figure 10
RadioBlades and iRAPs are inserted into the RFU so that the antennas
point straight down to the ground. .............................................................. 17
Figure 11
Telco (T1/E1) interface with the GSM/802.11b/g RFS. .............................. 28
Figure 12
T568B standard. ......................................................................................... 41
Figure 13
Mount the ACU only in an EIA-standard compliant 19” rack. ..................... 50
Figure 14
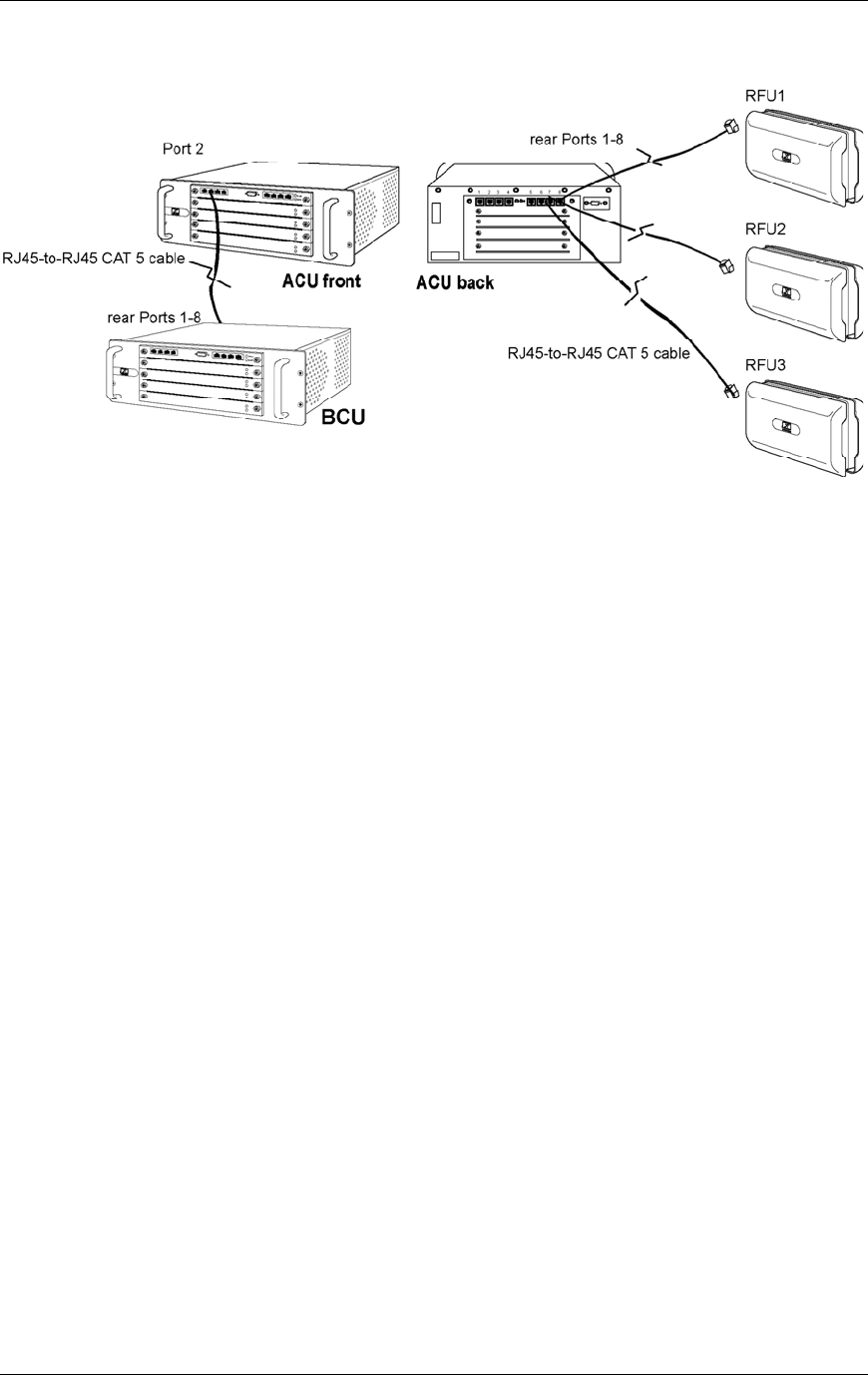
Connect Port 2 on the front of the ACU to the specified port (1-8) on the
back of the BCU, and connect RFUs to ports 1-8 on the back of the
ACU. ..................................................................................................... 51
Figure 15
A wall mount requires two screws to anchor the RFU................................ 52
Figure 16
Use the provided bracket when mounting an RFU on the ceiling,
ensuring that all bolts or screws penetrate wood........................................53
Figure 17
Connect the RFU to the ACU, then ensure that the RFU is receiving
power and connectivity from the ACU. ....................................................... 54
Figure 18
Slide each GSM RadioBlade into the specified slot in the RFU. ................ 55
Figure 19
T1/E1 interface cable configuration ............................................................ 56
Figure 20
Connect the specified port on the front of the BCU (port 2 through 7) to
the customer’s LAN. ................................................................................... 71
Figure 21
Replacing a board in a BCU or an ACU. .................................................... 91
Figure 22
Alarms are listed up to 400 at time and continue to scroll as events
occur. ..................................................................................................... 93
Figure 23
Mount the BCU only in an EIA-standard compliant 19” rack. ................... 106
Figure 24
Mount the ACU only in an EIA-standard compliant 19” rack. ................... 107

RadioFrame System Method of Procedure GSM/802.11b
vi RadioFrame Networks, Inc.
Figure 25
Connect the RJ45-to-RJ45 CAT-5 cable from Port 2 on the front of the
ACU to the specified RJ45 port on the back of the BCU. ......................... 107

GSM/802.11b RadioFrame System Method of Procedure
Introduction
RadioFrame Networks, Inc. 1
1 Introduction
1.1 Scope of the Manual
This manual describes standards for installing, modifying and maintaining RadioFrame
Networks’ equipment at RadioFrame Networks customer sites. All specifications and
requirements pertain to the RadioFrame Networks equipment required in Global System
for Mobile communications (GSM)/802.11b/g installations. RadioFrame Networks
recommends reading the entire manual before attempting to install or operate
RadioFrame Networks equipment.
1.1.1 Prerequisites and Responsibilities
All installers are required to be trained and certified to install RadioFrame Networks
equipment as follows:
• Installers shall be trained for specific equipment or the warranty on that equipment
may be invalidated.
• All installers shall be able to use required tools and test equipment properly.
• Installers shall clean up and properly store tools at the end of each day’s work.
The installation Project Manager shall be responsible for, but not limited to:
• Ensuring that all detailed engineering specifications, job drawings, technical
information, and documentation required to successfully complete an installation are
on site.
• Identifying any physical damage, defects, or problems that may prevent the proper
installation, maintenance, or operation of equipment and reporting this information to
the proper parties involved.
• Making an inventory and conducting a visual inspection of all equipment shipped to
the job site prior to the installation.
• Ensuring that all installation job activities are completed in a safe and professional
manner whether or not the specific activity is mentioned in this manual.
• Ensuring that all locations where painted surfaces have been marred are touched up.
The touch-up paint shall be the same quality and shade as the paint used on the item
being touched up.
• Using this RadioFrame System GSM/802.11b/g Method of Procedure manual to
ensure that each specific job has been performed.
• Ensuring that the site is cleaned up after installation.
Preparation of a site and installation of equipment requires close coordination between
RadioFrame and its customers, and designated third-party RadioFrame Certified
Integration Partner(s). Domains of responsibilities are shown in the following table.

RadioFrame System Method of Procedure GSM/802.11b
Introduction
2 RadioFrame Networks, Inc.
Task Responsible Party
Prepares system design and quotes Customer
Provides Project Management, including site survey Customer
Constructs site, including racks, ironwork (ceiling support,
ladder racks, etc.), AC power, DC power, and battery
backup systems.
Customer
Lays conduit and cable, installs new fiber raceways, and fire
stopping after cables have been laid.
RFN Certified Integration Partner
Installs, tests, and commissions RadioFrame Networks
equipment, including site acceptance.
RFN Certified Integration Partner
Maintains RadioFrame Networks equipment, including
logbook.
Customer
1.1.2 Site Documentation
The following documents are required for installing, commissioning, testing, and
maintaining RadioFrame Networks equipment. Some or all of this documentation will be
left on site. In addition, a logbook will be stored on site that will be used for tracking all
changes, updates, and maintenance work done on RadioFrame System equipment.
Document
Site Survey
Pre-Installation Checklist
Equipment Inventory
Site Acceptance Test
Equipment Functionality Acceptance Test
Site As-built
Alarms
Alarm Procedures
1.1.3 Reference Documents
The following documents are intended to supplement the information contained in this
manual.
• RadioFrame System Field Guide, RadioFrame Networks, 998-1000-00
• RF Planning Guidelines, RadioFrame Networks, 990-1001-00
• Customer Release Notes, RadioFrame Networks, 991-1000-00
• National Electrical Code (NEC), current edition

GSM/802.11b RadioFrame System Method of Procedure
Introduction
RadioFrame Networks, Inc. 3
1.2 Repair and Technical Support
RadioFrame Networks provides technical support services to its customers for the
installation and maintenance of RadioFrame Networks equipment.
1.2.1 Before calling...
To minimize downtime, have the following information available prior to contacting the
RadioFrame Networks Technical Assistance Center (TAC):
• Location of the RadioFrame System
• Date the RadioFrame System was put into service
• System Manager software version
• Symptoms of the problem
• If an alarm was generated, the alarm information including the information from the
Alarm Data and DebugFlag fields on the Alarms page in System Manager
• Date the problem was first noticed
• If the problem can be reproduced
• What causes the problem to occur
• Any unusual circumstances contributing to the problem (i.e., dropped calls)
1.2.2 Technical Assistance Center
For support of RadioFrame Networks equipment, contact the RadioFrame Networks
Technical Assistance Center at:
(US) (800) 328-0847
1.2.3 Repair Procedure
RadioFrame Networks boards are not field repairable. Do not attempt to repair RFN
boards in the field. If RFN equipment should require service or repair, note the following
information, then contact the RFN Technical Assistance Center at (800) 328-0847:
NOTE: Always use a static grounding wrist strap before handling any board or
RadioBlade.
• Include the warranty and serial numbers of the affected equipment.
• Give a clear return address, including:
- contact person,
- phone number
- alternate contact person and phone number (if possible)
• Securely package the board in the original shipping carton, if available. Otherwise,
package in a static protection bag in a well padded carton.

RadioFrame System Method of Procedure GSM/802.11b
Introduction
4 RadioFrame Networks, Inc.
1.3 Safety Precautions
Read all the notices in this section prior to installing or using the RadioFrame System or
any of its components.
1.3.1 Static Sensitive Precautions
Electrostatic discharge (ESD) can damage equipment and impair electrical circuitry. It
occurs when electronic printed circuit cards are improperly handled and can result in
complete or intermittent failures.
Extreme care must be taken while handling, shipping, and servicing boards and
RadioBlades. To avoid static damage, observe the following precautions:
• Prior to handling, shipping, and servicing equipment, always put on a conductive
wrist strap connected to a grounding device. This discharges any accumulated static
charges. All RFN RadioBlades and Field Replaceable Units (FRUs), including BPCs
and APCs, are shipped with a disposable anti-static wrist strap
(RFN P/N 110-0610-00).
Warning!
Use extreme caution when wearing a conductive wrist strap near sources of high
voltage. The low impedance provided by the wrist strap also increases the danger
of lethal shock should accidental contact with high voltage sources occur.
• Handle boards by the edges and avoid touching any conductive parts of the board
with your hands.
• Never remove a board with power applied to the unit (hot-pull) unless you have
verified it is safe to do so. Make sure the unit will not be damaged by removing the
board.
• Avoid carpeted areas, dry environments, and certain types of clothing (silk, nylon,
etc.) during service or repair due to the possibility of static buildup.
• Apply power to the circuit under test before connecting low impedance test
equipment (such as pulse generators, etc.). When testing is complete, disconnect the
test equipment before power is removed from the circuit under test.
• Be sure to ground all electrically powered test equipment. Connect a ground lead (-)
from the test equipment to the board or module before connecting the test probe (+).
When testing is complete, remove the test probe first, and then remove the ground
lead.
• Place all boards and RadioBlades on a conductive surface (such as a sheet of
aluminum foil) when removed from the system. The conductive surface must be
connected to ground through 100kΩ.
• Never use non-conductive material for packaging boards or RadioBlades for
shipment or storage. All units should be wrapped with anti-static (conductive)
material. Replacement units shipped from the factory are packaged in a conductive
material.
• If possible, retain all original packing material for future use.

GSM/802.11b RadioFrame System Method of Procedure
Introduction
RadioFrame Networks, Inc. 5
1.3.2 Safety Warnings
Warning!
Only trained and qualified personnel should be allowed to install, replace, or
service this equipment.
Warning!
This product relies on the building’s installation for short-circuit (over current)
protection. Ensure that a fuse or circuit breaker no larger than 120VAC, 15A U.S.
(240VAC, 10A international) is used on the phase conductors (all current-carrying
conductors).
Warning!
To comply with FCC RF exposure requirements, RadioBlade antennas must be
installed to provide at least 8 inches (20 cm) separation from all persons, with
antenna gain not exceeding zero (0) dBi.
Warning!
Never defeat the ground conductor or operate the equipment in the absence of a
suitably installed ground conductor. Contact the appropriate electrical inspection
authority or an electrician if you are uncertain that suitable grounding is available.
Warning!
The plug-socket combination must be accessible at all times because it serves as
the main disconnecting device.
Warning!
Please read the RFU mounting instructions carefully before beginning the
installation. Failure to use the correct hardware or to follow the correct procedures
could result in a hazardous situation to people and damage to the system.
Warning!
Ultimate disposal of this product should be handled according to all national laws
and regulations.
Warning!
To ensure FCC compliance of this equipment, it is the user’s responsibility to
obtain and use only shielded and grounded interface cables.
Warning!
FCC RF Exposure Compliance: FCC RF exposure compliance must be
addressed at the time of licensing, as required by the responsible FCC
Bureau(s), including antenna co-location requirements of 1.1307(b)(3). The
applicable exposure limits, to demonstrate compliance, are specified in FCC Part
1.1310. Additionally, to comply with FCC RF exposure compliance requirements,
the antenna(s) used for this transmitter must be fixed-mounted with at least
20 cm separation distance from any person. The installer of the antenna to be
used with this transmitter may be required to perform an MPE evaluation and an
Environmental Assessment (EA) of the location at the time of licensing per CFR
47 Part 1.1307. Fixed mounted antenna(s) that are co-located with other
antenna(s) must satisfy the co-location requirements of Part 1.1307 for satisfying
RF exposure compliance

RadioFrame System Method of Procedure GSM/802.11b
Introduction
6 RadioFrame Networks, Inc.
1.3.3 Safety with Electricity
Warning!
To avoid electric shock, do not connect safety extra-low voltage (SELV) circuits to
telephone-network voltage (TNV) circuits. LAN ports contain SELV circuits, and
WAN ports contain TNV circuits. Some LAN and WAN ports both use RJ45
connectors; incorrect interconnection can cause equipment damage. Use caution
when connecting cables.
Warning!
Before working on equipment that is connected to power lines, remove jewelry
(including rings, necklaces, and watches). Metal objects will heat up when
connected to power and ground and can cause serious burns or weld the metal
object to the terminals.
Warning!
Hazardous network voltages are present in WAN ports regardless of whether
power to the attached equipment is OFF or ON. To avoid electric shock, use
caution when working near WAN ports. When detaching cables, detach the end
away from the router first.
Warning!
Do not touch the power supply when the power cord is connected. For systems
with a power switch, line voltages are present within the power supply even when
the power switch is off and the power cord is connected. For systems without a
power switch, line voltages are present within the power supply when the power
cord is connected.
1.3.4 Recommendations
1.3.4.1 Safety Recommendations
• Keep tools away from walk areas where you and others could fall over them.
• Wear safety glasses if you are working under any conditions that might be hazardous
to your eyes.
• Do not perform any action that creates a potential hazard to people or makes the
equipment unsafe.
1.3.4.2 Guidelines for Working on Equipment Powered by Electricity
• Locate the emergency power off switch for the room in which you are working. Then,
if an electrical accident occurs, you can act quickly to turn off the power.
• Before installing, removing, or repairing a BCU or ACU, unplug the power cord.
• Disconnect all power before working near power supplies.
• Do not work alone if potentially hazardous conditions exist.
• Never assume that power is disconnected from a circuit. Always check.
• Look carefully for possible hazards in your work area, such as moist floors,
ungrounded extension cables, frayed power cords, and missing safety grounds.

GSM/802.11b RadioFrame System Method of Procedure
Introduction
RadioFrame Networks, Inc. 7
1.3.4.3 In the Event of an Electrical Accident
• Use caution; do not become a victim yourself.
• Turn off power to the system.
• If possible, send another person to get medical aid. Otherwise, assess the condition
of the victim and then call for help.
• Determine if the victim needs rescue breathing or external cardiac compressions,
then take appropriate action.

RadioFrame System Method of Procedure GSM/802.11b
System Description
8 RadioFrame Networks, Inc.
2 System Description
The RadioFrame Networks GSM/802.11b/g solution generates RF within the building
using low-power transceivers that are placed as needed to meet coverage and capacity
requirements. The low-power nature of the transceivers minimizes interference with the
surrounding macrocell system so that the macrocell system views the RFN
GSM/802.11b/g solution as a peer. The RFN GSM/802.11b/g solution is remotely
monitored down to the component level, including alarms and system performance, using
a web-based interface, and over the Abis interface. The RadioFrame System is
comprised of several components, which are connected in a ‘tree’-style architecture:
• The Base Chassis Unit (BCU) acts as the sole connection point (i.e. the ‘root’) to all
ACUs (and RFUs) which ‘branch’ off this ‘root’ chassis. The BCU also connects to the
customer LAN.
• Up to eight Airlink Chassis Units (ACUs) connect from the BCU and send traffic,
power and timing to the RFUs over standard CAT-5 wiring.
• Up to 64 RadioFrame Units (RFUs), 8 per ACU, which house the RadioBlades are
mounted on walls and ceilings.
• Up to six GSM RadioBlades (RBs) can be installed per RFU, or a combination of four
GSM RBs and one 802.11b/g integrated RadioFrame Access Point (RAP) per RFU.
Figure 1 The RadioFrame System uses a ‘tree’-style architecture.

GSM/802.11b RadioFrame System Method of Procedure
System Description
RadioFrame Networks, Inc. 9
2.1 Base Chassis Unit (BCU)
The Base Chassis Unit (BCU) is the main controller of the RFS and provides:
• The central processing function of the GSM RFS,
• The Abis interface towards the BCU (with TRAU remotely located within the BCU),
• Most of the data link layer and layer 3 functions of the BTS, and
• Network management
The main purpose of the BCU is to accommodate the need for simulcasting and to
provide a single Abis interface to the BSC for each BTS function, therefore the partition of
different BTS functions between BCU and ACU shall be designed with the consideration
of processing load, traffic throughput and delay, user capacity, as well as supporting both
simulcasting and non-simulcasting configurations.
Figure 2 BCU functional diagram.
DLC
BPC
BLIC
BPC
BPC
T1/E1
T1/E1
T1/E1
T1/E1
ERTM
BPC
BCU
Internal
Interface

RadioFrame System Method of Procedure GSM/802.11b
System Description
10 RadioFrame Networks, Inc.
2.2 Airlink Chassis Unit (ACU)
The Airlink Chassis Unit provides the baseband airlink processing for up to 8 RadioFrame
Units. The ACU is the interface between the RFUs and the Base Chassis Unit, and
provides power, signals, and timing to the RFUs.
Figure 3 ACU functional diagram.
2.3 RadioFrame Unit (RFU)
The RadioFrame Unit serves as the access interface between signals received from
mobile terminals and the airlink processing performed in the ACU. The RFU connects to
the ACU via a single CAT-5 connection, and receives its power, signals, and timing from
the ACU. Each RFU holds up to 6 RadioBlades in combination of: a maximum of 6 GSM
RadioBlades, or 4 GSM RadioBlades and one 802.11 integrated RadioFrame Access
Point (RAP).
A
C
-
DC
Powe
WLAN data,
Clock, Control &
Power
CPU
RIC
RFU (1)
. .
.
RFN
LAN/WAN/
BCU
RFU (8)
WLAN Data,
Encoded Voice,
Layer 3
Messaging
WLAN
Data, Sys
Config, RF
Control
APC
DSP Plug
-
In
DSP Plug
-
In
A
C
-
DC
Powe
r

GSM/802.11b RadioFrame System Method of Procedure
System Description
RadioFrame Networks, Inc. 11
2.4 GSM RadioBlade (RadioBlade or RB)
Each GSM RadioBlade provides a single RF channel transceiver supporting the GSM
voice standard. Each RadioBlade contains an onboard omnidirectional antenna and
inserts into a slot in the RFU.
Figure 4 GSM RadioBlade functional diagram.
2.5 802.11b/g integrated RadioFrame Access Point (RAP)
The 802.11b/g integrated RadioFrame Access Point (RAP) is a dual-band transceiver
supporting the 802.11b/g (WLAN) standards for wireless data. Each iRAP contains two
Ethernet ports and inserts into a slot in the RFU.
Figure 5 integrated RadioFrame Access Point (RAP) functional diagram.
Air Interface
RF
Section
Digital
Processing
Power
Timing
Ethernet
RFU Backplane
Air Interface
RF
Section
Digital
Processing
Power
Timing
Ethernet
RFU Backplane

RadioFrame System Method of Procedure GSM/802.11b
System Description
12 RadioFrame Networks, Inc.
2.6 Local Area Network (LAN)
The RadioFrame System plugs into the customer’s local area network (LAN) using a
standard Ethernet connection over CAT-5 wiring. The customer’s LAN may include a
variety of equipment, including switches, routers, and gateways. The RFS connects to
the LAN via Ports 2-7 on the front of the BCU. The iRAPs installed in the RFUs support
the LAN.
Figure 6 RFS and customer LAN functional diagram.
An optional “gateway” device may be used between the customer LAN and the RFS to
provide a point of control, thus isolating the RFS from the customer’s LAN. The gateway
may be used to perform inter-network routing and access control, permitting only
authorized users access to the customer LAN via the RFS. It may also perform service
accounting and user mobility functions.
NOTE: Though not required, the use of a gateway device is strongly recommended,
particularly for use as an access control mechanism to prevent unauthorized access to
the customer LAN. In addition, while a router between the RFS and the customer LAN is
not required, it is highly recommended that a combination router and security gateway be
used.
The RFN implementation of 802.11b/g provides a transparent MAC layer bridging
function between the RFS and the customer’s LAN. No layer 3 (IP) protocol routing is
required for operation.
RFU
A
CU
ACU
BCU BSC MSC
PLMN
SS7
A
bis
Customer
’
Network
RadioFrame
System
Components
RFU
RFU
RFU

GSM/802.11b RadioFrame System Method of Procedure
System Description
RadioFrame Networks, Inc. 13
2.7 Physical Relationships
The RadioFrame System is laid out as follows:
• Main rack: Located in a Telco closet, the main rack typically houses the BCU and
one ACU.
• Remote ACUs: Up to seven additional ACUs can be connected to the BCU. The
remote ACUs are installed in closets or Telco rooms throughout the building to
support additional RFUs.
• RFUs: Up to 8 RFUs per ACU are installed on walls or on or above ceilings
throughout the building to provide coverage for the GSM/802.11b/g RFS; RFUs
house the GSM RadioBlades and iRAPs.
• LAN: Customer equipment located in a customer-defined area.
The two following illustrations show an example of a high-capacity and a low- capacity
configuration of the RadioFrame Networks GSM/802.11 system. Both examples show a
four story-building configuration depicting the difference in capacity provided by
sectorization and the corresponding hardware changes. To gain three times the capacity
(three times the number of BRs), no additional RadioBlades are required.
Remote ACUs are located on Floors 1, 2 and 3, with each ACU supporting up to eight
RFUs. The ACU located on Floor 1 also supports RFUs in the parking level.

RadioFrame System Method of Procedure GSM/802.11b
System Description
14 RadioFrame Networks, Inc.
Figure 7 A typical high capacity (12 BR) RFS installed in a four-story office
building.
A
CU
A
PC
A
PC
BPC
BPC
BPC
A
CU
A
PC
A
CU
A
PC
A
PC
T1/E1 to BSC
to 3 ACUs
Floor 4
Floor 3
Floor 2
Floor 1
Parking
Level
BCU RFU
slots 4 3 2 1
RFU
RFU
RFU
RFU
RFU
RFU
RFU
RFU
RFU
RFU
RFU
RFU
RFU
RFU
RFU
RFU
RFU RFU
RFU

GSM/802.11b RadioFrame System Method of Procedure
System Description
RadioFrame Networks, Inc. 15
Figure 8 A typical low capacity (4 BR) RadioFrame System installed in a four-
story office building.
A
CU
A
PC
A
PC
BPC
A
CU
A
PC
A
CU
A
PC
A
PC
T1/E1 to BSC
to 3 ACUs
Floor 4
Floor 3
Floor 2
Floor 1
Parking
Level
BCU RFU
slots 4 3 2 1
RFU
RFU
RFU
RFU
RFU
RFU
RFU
RFU
RFU
RFU
RFU
RFU
RFU
RFU
RFU
RFU
RFU RFU
RFU

RadioFrame System Method of Procedure GSM/802.11b
System Description
16 RadioFrame Networks, Inc.
2.7.1 Main Rack
The main rack is a 19” EIA standard rack and that is typically used to house the BCU and
one ACU.
2.7.2 Remote ACUs
Remote ACUs are located in Telco rooms or other closets throughout the building
mounted in 19” EIA-standard compliant racks or equivalent. The racks for remote ACUs
may be either floor or wall-mounted racks. Any other method used to mount the remote
ACU is not approved, and could void the warranty on the product and other components
in the RFS.
2.7.3 RFUs
RFUs are located throughout the building to provide coverage for specific areas. RFUs
are typically mounted on or above the ceiling, or on a wall. The following illustration
depicts typical RFU locations using a simple floor plan. Three RFUs, denoted by
triangles, are located along the central hallway providing coverage to each portion of the
floor.
Figure 9 RFUs are located throughout the building to provide coverage.
2.7.3.1 RadioBlades and iRAPS
The number and combination of RadioBlades and iRAPs to be installed in each RFU is
driven by the coverage and capacity requirements of that particular portion of the
building. A maximum of six GSM RadioBlades can be installed in each RFU. A maximum
of two iRAPs can be installed in each RFU. Each RadioBlade is supplied with an antenna
that must be installed vertically and pointed down towards the ground.

GSM/802.11b RadioFrame System Method of Procedure
System Description
RadioFrame Networks, Inc. 17
GSM RB 802.11b/g iRAP RFU
Figure 10 RadioBlades and iRAPs are inserted into the RFU so that the antennas
point straight down to the ground.
2.7.4 LAN
The customer LAN equipment can be located anywhere within the building. An Ethernet
cable connection must available from the LAN to the main rack for connection to the
BCU.
Tx Rx

RadioFrame System Method of Procedure GSM/802.11b
Pre-Installation
18 RadioFrame Networks, Inc.
3 Pre-Installation
This section provides pre-installation information for a RadioFrame System at a customer
site. A pre-installation site review and evaluation helps prevent potential equipment
installation problems. Consider every subject discussed in this section before installing
the GSM/802.11b/g RFS.
3.1 Receipt of Equipment
RadioFrame Networks equipment is shipped as follows: the BCU, and each ACU and
RFU are each shipped in its own box. The GSM RadioBlades and iRAPs are shipped
several to a box and individually wrapped in antistatic packaging. Unpack each unit only
at the time of installation—leave items in their shipping containers until ready for use.
3.1.1 Equipment Inspection
Inspect the RadioFrame Networks equipment immediately upon receipt. If obvious
damage has occurred to shipping containers before unpacking, contact the shipping
agent. Ask that a representative of the shipping company be present while the equipment
is unpacked. Observe guidelines for safe handling of electrostatic sensitive devices or
equipment to prevent damage due to electrostatic discharge. A conductive wrist strap is
provided with each RFU and should always be worn when handling any electrical
component, including GSM RadioBlades.
Check for the following:
• loose or damaged equipment in the pre-installed main rack
• dents, scratches, or other damage on all sides of each component
• physical damage to GSM RadioBlade or iRAP antennas or connectors
If any equipment is damaged, contact the shipping company immediately, then your
customer representative.
3.1.2 Equipment Inventory
Check all the RadioFrame System equipment against the itemized packing list to ensure
receipt of all equipment. If available, check the sales order with the packing list to account
for all equipment ordered. Contact your customer representative to report missing items
and for additional information.
3.1.3 RadioFrame Networks Documents Shipped with the RFS
The following RadioFrame Networks documents are shipped with the RadioFrame
System.

GSM/802.11b RadioFrame System Method of Procedure
Pre-Installation
RadioFrame Networks, Inc. 19
Document Title RFN Part Number
Product Specification: Chassis Unit 981-0500-00
Product Specification: 802.11b/g integrated RadioFrame
Access Point
981-0532-00
Product Specification: NA GSM Dual Band RadioBlade 981-0631-00
Product Specification: RFU 981-1025-00
RadioFrame System Method of Procedure 998-4000-00
3.2 Site Planning
Licensing and the availability of space help to determine a site selection. Planning helps
prevent potential on-site and off-site interference from other RF systems. Site layouts
should always be planned to minimize inter-cabling lengths between RF equipment.
3.2.1 Site Considerations
3.2.1.1 Main Rack
The site for the main rack should not contain windows and must be able to resist extreme
weather conditions. It should be designed to meet the requirements of the American
National Standards, Building Code Requirements for Minimum Design Loads in Buildings
and Other Structures. RFN recommends the following considerations when selecting a
site:
• A minimum floor space of at least 42 square feet is recommended to allow enough
space for front and rear access to the main rack.
• The minimum ceiling height of at least 8’6” above a finished floor is required to allow
enough space for the height of the main rack and cable access at the top of the
cabinet.
• The ceiling structure should be able to support a cable tray assembly for routing the
inter-cabinet cabling and other site cabling. The cable tray assembly is mounted to
the site ceiling and walls per site plan and should be at least 7’6” from the site floor to
allow for the height of the main rack.
• The minimum door dimensions should be at least 3’ wide and 6’8” high.
• All exterior doors should have tamper proof locks installed for security purposes.
• The interior site environment should be maintained at a constant 78° F
(25.6° C). The site should be capable of maintaining this temperature in an outside
ambient temperature range of -10 to +105° F (-23.4 to +40.6° C). RadioFrame
Networks GSM solution equipment is not approved or recommended for outdoor use.
• Proper surge protection is required for all power inputs to prevent potential damage
to site equipment.
• The site floor should be level to within 1/8” and able to support the weight of site
equipment.

RadioFrame System Method of Procedure GSM/802.11b
Pre-Installation
20 RadioFrame Networks, Inc.
3.2.1.2 Remote ACUs
Remote ACUs are located in Telco rooms or other closets throughout the building. Any
such location must be free of dust, wind, salt and liquids. All other operating environment
specifications that apply to an ACU in the main rack also apply to a remote ACU.
Remote ACUs must be mounted in a 19” EIA-standard compliant rack or equivalent. The
racks for remote ACUs must be either floor or wall mounted. Any other mounting method
is not approved, and could void the warranty on the product and other components in the
RFS.
The number of RFUs required to provide coverage for the GSM/802.11b/g RFS
determines the number and location of remote ACUs.
3.2.1.3 RFUs
The RadioFrame System is designed to simplify site planning. The capacity requirements
of the site determine the number of GSM RadioBlades and 802.11b/g iRAPs that will be
required. RFUs are mounted so that the antennas of the installed GSM RadioBlades and
802.11b/g iRAPs point to the ground. This orientation of the antennas must not be
changed.
The number and exact location of RFUs is determined by capacity and coverage
requirements, as well as site considerations, such as mounting considerations, interior
structures, and interference from macro systems.
3.2.1.4 LAN
Connecting the RFS to the customer LAN requires only a single Ethernet cable from the
BCU in the main rack to the customer’s LAN equipment (gateway, switch, router etc.). No
other site considerations are required.
3.3 Main Rack and Supporting Hardware
Most communications equipment is mounted into standard 19” EIA racks or enclosed
cabinets. Follow the rack and/or equipment manufacturer's instructions when installing
equipment into racks or cabinets.
For example:
• All supplied bracing hardware shall be properly utilized.
• Proper hardware shall be used to secure equipment.
• Convected heat transfer from one piece of equipment rack to another shall be
considered. Heat baffles may be required.
3.3.1 Mounting
The front panels of the BCU and ACUs are 19” wide to allow for installation into 19” wide
cabinets. For rack installation instructions for the BCU and ACU, see Appendix C BCU
and ACU Main Rack Installation.

GSM/802.11b RadioFrame System Method of Procedure
Pre-Installation
RadioFrame Networks, Inc. 21
3.3.1.1 Plumb and Squareness
Equipment shall be level and plumb. Equipment level shall be tested on a known flat
surface in at least two directions to verify accuracy.
Equipment shall be parallel or perpendicular to the surrounding walls and adjacent
installed equipment.
3.3.1.2 Anchoring
Anchoring is the mechanical fastening of the communications equipment to suitable
locations using hardware acceptable for the application.
Although every installation is unique, certain methods for anchoring shall be adhered to
for all installations. Typically, at least four anchor points shall be used on each item of
equipment mounted to the floor. The only exception is when the equipment manufacturer
supplies other than four mounting points.
3.3.1.3 Mounting on Concrete Floors
Equipment racks or cabinets should be positioned and anchored to the floor using
preferred mounting methods. In general, observe the following:
• An anchor specifically designed for concrete shall be used. The preferred method for
anchoring racks, or other ancillary equipment to concrete floors is to use flush-mount
expansion anchors properly sized for the application. Flush mount expansion anchors
do not extend above the surface of the floor and provide an easy bolt down. They
also provide the required pullout and shear strength. If at a later time equipment
needs to be moved, flush mount expansion anchors do not get in the way.
NOTE:
Unless an isolating mounting scheme is used (refer to section 3.3.1.4 Isolated
Mounting, next in this section), ensure that no anchors come in contact with
reinforcing rods or wire mesh buried in the concrete; the rack shall be electrically
isolated from any other equipment or materials at the site.
• In applications where flush-mount expansion anchors are not preferred or
acceptable, then wedge-type stud anchors may be used.
• All concrete anchors shall be zinc-plated carbon steel for standard applications,
galvanized steel for mildly humid or corrosive environments, and yellow zinc or
stainless steel for humid, highly corrosive, or acidic environments. Minimum bolt
diameter shall be 10 mm (0.375 in.) with 12 mm (0.5 in.) preferred. Anchor
embedment depth should be at least 76 mm (3 in.) to provide good tensile and shear
strength. Follow manufacturer's instructions for depth reduction when rebar is
encountered. A heavy-duty washer should be part of the anchor assembly to ensure
the equipment is secure.
3.3.1.4 Isolated Mounting
Isolated mounting is recommended to prevent a second electrical path to ground through
the concrete floor, and is required for the installation of certain equipment. In these cases
expansion anchors are inserted into the concrete floor. However, isolation of the

RadioFrame System Method of Procedure GSM/802.11b
Pre-Installation
22 RadioFrame Networks, Inc.
equipment rack is ensured using an insulating plate and hardware. If the installation is in
an earthquake zone, additional anchors are used.
3.3.1.5 Mounting on Wood or Fiberglass Floors
Appropriately sized lag bolts shall be used for mounting on wood or fiberglass floors. If
the underside is accessible and the floor stability is questionable, then thru-bolting may
be desirable.
RFN recommends mounting non-racked ancillary equipment on a "C-channel" type of
mounting track where possible. This provides for easy cleaning and some isolation in the
case of standing water. Another benefit of installing non-rack mounted equipment off the
floor is that the weight is distributed across the floor. In these cases, C-channel type
mounting provides multiple floor anchor points where the equipment provides only four to
six anchor points.
When mounting racks to raised computer floors, 0.5 in. (13 mm) minimum diameter
allthread rod and flush-mount expansion anchors shall be used to anchor to the concrete
subfloor. When mounting consoles to a raised floor,
0.375 in. (10 mm) minimum allthread rod and hardware shall be used for anchoring.
Mounting arrangement shall be in accordance with mounting kit manufacturer's
instructions.
3.3.1.6 Anchoring Equipment to Raised Floors
The anchoring of overhead and wall-mounted devices present a number of
considerations. Placement is very important; if equipment is bolted to a wall that is on an
aisle, the aisle may be unacceptably narrowed with the danger of injury to personnel.
Also, the serviceability of the equipment being mounted to adjacent equipment may be
inhibited.
Overhead applications generally include coax cabling, cable runways, and mounts for
earthquake bracing. All overhead applications should keep in mind loading of overhead
surfaces. Care must be exercised when deciding how much can be held by the ceiling
without some sort of building foundation support. In the case of earthquake bracing
equipment, cable runways can be secured overhead then affixed to the equipment racks
providing acceptable foundation support.
When anchoring cable runways to ceilings or walls, the manufacturer-supplied support
hardware shall be used.
Anchors used in overhead applications vary depending on the ceiling structure as follows:
• For concrete and wood ceilings, the same principles discussed in floor anchoring
apply.
• For an exposed steel l-Beam ceiling, many cable runway manufacturers make beam
clamps for C-channel or threaded drop rods.
• For corrugated steel ceilings, C-channel tracks can be affixed to the ceiling using
properly sized lag bolts. The C-channel will span the corrugated steel and provide
multiple anchor points.
For drywall or plasterboard ceilings, special considerations are required:

GSM/802.11b RadioFrame System Method of Procedure
Pre-Installation
RadioFrame Networks, Inc. 23
• If the drywall is on steel or wooden roof joists, locate and tap into the roof joist with
lag bolts.
• C-channel mounting can be used.
• An alternative to C-channel mounting is using large toggle or molly wings with hex
head tap bolts.
NOTE: Make certain joists are properly located before drilling into drywall.
3.3.1.7 Seismic Anchoring
Seismic anchors are designed, tested, and specified for seismic zones 3 and 4. Seismic
anchors enhance the stability of equipment due to the special characteristics specifically
suited to the dynamic and cyclic
loading effects experienced during earthquake events.
As such, anchors shall be used that are manufactured to particular specifications that
make them the most resistant to the effects of dynamic and cyclic loading effects.
Selected anchors shall meet standards set forth in NESS (Network Equipment Building
Systems) TR-64 and ASTM (American Society For Testing and Materials) 488-90 for
earthquake compliance. This testing evaluates anchors for bolt failure from shearing and
from pullout or slippage. Compliance with these standards requires that the anchor not
allow a standard top heavy 7 ft. (2.2 m) rack to have a deflection greater than 3 in. (7.6
cm) at the top of the frame. This compliance will also adhere to Bellcore Technical
Specifications AU-434 for earthquake concrete expansion anchors.
Anchor selection criteria shall comply with all general requirements for standard concrete
anchors plus meet the above seismic requirements. All seismic anchoring shall be
enhanced with top cabinet or rack bracing.
Seismic Considerations
All RadioFrame Networks equipment is seismically rated to withstand vibrations of a
Level 3 earthquake. The property owner is responsible for any damage to RFN
equipment due to building or rack structures that are not rated to withstand vibrations of a
Level 3 earthquake, or not secured to withstand vibrations of a Zone 4 earthquake.
Site protection from earthquakes may be required in certain areas. Typically, this would
be an area having historical data indicating a Moment Magnitude rating of 3 or 4. Note
that areas other than historically prone areas may need consideration. Obviously,
addressing such concerns results in increased costs of equipment installation.
A certified architect specializing in earthquake-resistant installation shall be consulted for
seismic designs and recommendations in areas where the potential loss of the site may
outweigh associated costs of earthquake-resistant design. In the United States, it is
recommended to consult the US Geological Survey for more information regarding
earthquake probability and historical data for various areas. In other areas, similar
consultation should be done.
• The US Geological Survey information can be accessed at:
http://geohazards.cr.usgs.gov
• Seismic maps are available at:
http: //www.neic.cr.usgs.gov

RadioFrame System Method of Procedure GSM/802.11b
Pre-Installation
24 RadioFrame Networks, Inc.
Earthquake-resistant design should be contracted to a firm specializing in such work.
However, the following general considerations need to be observed and factored into a
seismic design program:
• Equipment shall not be secured to both the shelter walls and floors, since dissimilar
movement between these surfaces is likely in an earthquake.
• Mounting should provide for some "sway" in the overall equipment mounting, thereby
absorbing the energy of an earthquake. This is typically accomplished by rigid
mounting of racked equipment or cabinets at the base, while semi-rigidly attaching
the rack top using 1/8 in (3.2 cm) diameter steel braided wire rope. Wire rope
anchors are then secured to ceilings joists. The benefit of this type of installation is
that racks are allowed to sway within limits but can't fall over.
• Cabinet designs with wide footprints can be used to help prevent cabinets from
tipping over.
• Columns of cabinets stacked and bolted back-to-back present a very stable and wide
footprint. The bottom cabinets shall still, however, be bolted to the floor for complete
security.
• Some cabinets can be outfitted with outrigger-type support legs to prevent tip-over.
These outriggers alone do not provide adequate earthquake protection, but are
typically adequate if the cabinet is bolted to the floor.
NOTE: If a rack is seismic rated, any add-on aftermarket equipment or equipment
that is not seismic rated will render the overall package as not being seismic tested
and certified as a unit. Therefore, the unit would no longer be considered as seismic
rated.
• When bolting down to computer floor, be sure to anchor all the way to the subfloor.
• Columns of cabinets must be supported, though not rigidly. Rigid mounting will result
in extreme vibration and resultant mechanical failure during an earthquake. Semi-
rigid mounting is preferred. Semi-rigid
bracing is defined as bracing which allows a
measurable amount of movement.
• Some computer floors lose mechanical integrity if several panels are simultaneously
removed. This could lead to equipment floor collapse during at earthquake. The
flooring manufacturer shall be consulted for floor removal procedures.
• Equipment shall be stabilized by a top support. This is critical in preventing a column
of equipment from toppling, causing injury to personnel. The footings cabinet
columns and racks shall be bolted to the floor as appropriate, using concrete
anchors. Sometimes the cabinet columns are placed on C-channel tract or wooden
pedestals.
• Cables and transmission lines should not be installed rigidly, and without strain relief.
Make broad service loops.
• Lighting fixtures should be prevented from swaying by the addition of one or more
guy wires. A fluorescent lighting fixture in particular, can be very dangerous if allowed
to swing against a wall or equipment racks, shattering and spraying broken glass
below. Fluorescent lighting fixtures shall have protective lenses or protective plastic
sleeves that cover the fluorescent tube, preventing broken glass from falling on
occupants.

GSM/802.11b RadioFrame System Method of Procedure
Pre-Installation
RadioFrame Networks, Inc. 25
• Storage cabinets shall be secured to the wall to prevent upset. Storage cabinets shall
also have closable, secured doors to prevent contents from spilling during an
earthquake.
• Ladders and other large objects shall be secured to a wall or removed from the
equipment room when not in use. These items have been known to fall into “live”
equipment during earthquakes.
3.3.2 Clearances
Proper spacing of equipment is essential for efficient use of the room area, ease of
maintenance, and safety of personnel. The following specifications have been
established to meet the National Fire Protection Associations (NFPA) Code, and the
American Society of Heating, Refrigerating, and Air Conditioning Engineers (ASHRAE)
standards. Any local regulations, as applicable, shall also be adhered to.
• To provide adequate working space, a 576 sq. in. (0.37 m
2
) footprint (as measured
from facing equipment surfaces) shall be used for combining equipment.
NOTE: Local codes may require additional clearance. In such cases, the local code
shall prevail.
• 36 in. (91 cm) front and side aisles shall be maintained around electrical panel
boards (NPPA 70, Article 110-26).
• 36 to 48 in. (91 to 123 cm) front, side, and (where applicable) rear aisles are required
for servicing equipment.
• 36 in. (91 cm) aisle shall be maintained in front of all equipment.
• 36 in. (91 cm) aisle shall be maintained between at least one end of an equipment
row and building wall or other obstruction; longer aisles may require additional
access breaks. Larger aisles and additional access breaks in a row may be require
as the row becomes longer, such that a fire in the aisle does not prevent egress.
Comply with any codes regarding fire egress specifications.
• Ingress and egress to equipment rooms shall conform to NFPA 70, Article 111 and
local building and fire codes.
• In US installations where a facility is to be normally occupied, American with
Disabilities Act (ADA) shall be complied with. Some general requirements of ADA are
91.5 cm (36 in.) wide doors, ramps and safety rails, 36 in. (91.5 cm) can turn around
clearance for wheelchairs, and specific placement of telephones, fire extinguishers,
light switches, etc.
NOTE: ADA compliance in architectural plans may be required in obtaining a
construction permit in some localities.
Main Rack Clearances
BACK 36”
FRONT 36”
SIDES 36”
ABOVE 36”

RadioFrame System Method of Procedure GSM/802.11b
Pre-Installation
26 RadioFrame Networks, Inc.
Equipment Dimensions System Unit
Width Depth Height
RadioFrame System BCU 19” 13” 7”
ACU 19” 13” 7”
3.3.2.1 Back
System Unit Back Clearance
RadioFrame System BCU 7”
ACU 7”
3.3.2.2 Front
System Unit Front Clearance
RadioFrame System BCU 12”
ACU 12”
3.3.2.3 Sides
System Unit Side Clearance
RadioFrame System BCU right side facing 2”; left side 0”
ACU right side facing 2”; left side 0”
3.3.2.4 Above
System Unit Above Clearance
RadioFrame System BCU 0”
ACU 0”
3.3.3 Weight
System Unit Weight
RadioFrame System BCU 27 lbs max.
ACU 27 lbs max.

GSM/802.11b RadioFrame System Method of Procedure
Pre-Installation
RadioFrame Networks, Inc. 27
3.3.4 Power
System Unit Power
RadioFrame System BCU 100-240 Volts AC, 47-63 Hz, 8A max. or
Negative 52.5 ±.5 Volts DC, 10A max.
ACU
100-240 Volts AC, 47-63 Hz, 8A max. or
Negative 52.5 ±.5 Volts DC, 10A max.
3.3.5 Grounding
System Unit Grounding
Main Rack #2 AWG green-insulated copper wire between the main
rack and the master ground bar
do not daisy-chain multiple equipment cabinet grounds
using a single ground wire
RadioFrame System BCU internal grounding (UL and CE safety certified)
bonding point provided for protective earth grounding;
#8 screw with internal sems washer
ACU
internal grounding (UL and CE safety certified)
bonding point provided for protective earth grounding;
#8 screw with internal sems washer
3.3.6 Environment
Operating Ambient Temperature System Unit Storage Temp
MIN MAX
RadioFrame System BCU* -40ºF to +158ºF
(-40ºC to +70ºC)
+32ºF (0ºC) +104ºF (+40ºC)
ACU* -40ºF to +158ºF
(-40ºC to +70ºC)
+32ºF (0ºC) +104ºF (+40ºC)
* Altitude: -200 to +8,000 feet above mean sea level; above 8000’ reduce maximum operating ambient
temperature by 2ºC per 1000’ to a maximum of 13,000’.
System Unit Relative Humidity
RadioFrame System BCU 10-90% non condensing
ACU 10-90% non condensing
3.3.7 Heat Load
System Unit BTUs per Hour
RadioFrame System BCU 700
ACU 700

RadioFrame System Method of Procedure GSM/802.11b
Pre-Installation
28 RadioFrame Networks, Inc.
3.3.8 Surge Arrestors
The local telephone company installs the T1/E1 line, which terminates in an 8-pin
modular plug. This demarcation (demarc) point connects to the T1/E1 through a surge
arrestor. The following illustration shows the T1/E1 interface with the GSM/802.11b/g
RFS.
Figure 11 Telco (T1/E1) interface with the GSM/802.11b/g RFS.
The surge arrestor must be adequately grounded. The surge arrestor usually mounts
near the demarcation (demarc) point. The cable connecting the surge arrestor to the
Telco SmartJack should be locally procured, or should be provided with the surge
arrestor. The following table lists RFN-approved surge suppression equipment.
AC Data Part # Application Clamp Voltage
TJ1010B T1/E1 Surge Suppression, SAD + Gas Tube Hardwire
and/or RJ connection
10 V
TJ3010B T1/E1 Surge Suppression, SAD + Gas Tube Hardwire 7 V
3.3.9 Cable Support
This section describes requirements for cabling within equipment cabinets and racks.
Cabling within racks and cabinets shall conform to the requirements of NFPA 70, Article
300, Article 800, Article 810, and Article 820. (Refer to ANSI/TIA/EIA-568(a) and 569(a)
for additional information.)
All cables shall be installed and routed so that personal safety and equipment
functionality is not compromised and that all equipment is accessible for servicing. The
following requirements apply to cabling installed in racks or cabinets.
3.3.9.1 Securing cabling within racks or cabinets
To help prevent damage or accidental disconnection, cables and conductors shall be
secured at intervals of no more than 3 ft (91 cm). Attachment shall be accomplished in a
manner that does not restrict access to the equipment in the rack or cabinet.

GSM/802.11b RadioFrame System Method of Procedure
Pre-Installation
RadioFrame Networks, Inc. 29
Insulated standoffs are recommended for use in racks or cabinets. The standoffs should
be of sufficient length to maintain the proper cable separation.
Nonmetallic cable ties shall be used to secure cables and conductors. Attachment shall
be tight enough to secure cables without crushing them.
Cables that span a gap greater than 2 ft (61 cm) shall be supported.
3.3.9.2 Routing cables within racks and cabinets
Grounding conductors within racks or cabinets shall be routed toward the RGB, MGB,
SSGB, or ground bus conductor. Connections to the RGB or ground bus conductor shall
always be made with the equipment grounding or tap conductors being routed toward the
MGB, SSGB, or RGB.
At points where grounding conductors must pass through a hole in a metallic surface and
the hole is slightly larger than the conductor, the conductor shall be bonded to the
metallic surface through which it passes. If the hole or opening is much larger than the
conductor, and it is intended to accommodate several conductors, the conductor is not
required to be bonded.
Cables in racks or cabinets shall be sized to length, and shall be installed and routed
neatly and in a professional manner.
Excess cable shall not be coiled on top of cabinets or racks.
AC power cords longer than necessary may be looped down and back up a rack or
cabinet. Excess lengths of AC power cord shall not be coiled on top of racks or cabinets.
3.3.9.3 Protecting cables within racks and cabinets
Grounding conductor tap joints shall be installed in order to prevent the conductor or
connection device from coming in contact with metallic surfaces.
Where cables or conductors are routed through holes in metallic surfaces or near sharp
edges, the sharp surfaces shall be suitably protected with a grommet or similar material
to help protect the cable or conductor from damage caused by sharp edges.
3.3.9.4 Cable bending radius within racks and cabinets
Grounding conductors of all sizes shall maintain a minimum bending radius of 8 in. (20
cm). The angle of any bend shall be not less than 90°.
The bending radius of CAT-5 cables shall be not less than 10 times the outside diameter
of the cable. Follow the cable manufacturer's recommendation and refer to
ANSI/TIA/EIA-568 and CSA-T529 for additional information.
All other cables shall not have sharp bends that will damage or degrade the performance
of the cable. The cable manufacturer's specifications shall be followed.
3.3.9.5 Cable separation and grouping within racks or cabinets
Cabling in racks or cabinets shall be grouped according to function.

RadioFrame System Method of Procedure GSM/802.11b
Pre-Installation
30 RadioFrame Networks, Inc.
Cable groups within racks and cabinets shall be separated by a minimum of
2 in. (5.1 cm) from other cable groups. Refer to ANSI/TIA/EIA-568a and -569; and NFPA
70, Articles 800-52, 810-18, and 820-52 for more information.
3.4 Remote ACUs
Up to seven remote ACUs may be installed for a total of 8 ACUs per BCU.
3.4.1 Mounting
Remote ACUs are located in Telco rooms or other closets throughout the building,
mounted in 19” EIA-standard compliant racks or equivalent. Any other method used to
mount the remote ACU is not approved, and could void the warranty on the product and
other components in the RFS.
NOTE: The ACU may be placed on a flat surface only if the front and back of the unit are
accessible and if the side vents are not blocked. In this case, the ACU is not secured
and, therefore, is not rated to withstand any level of earthquake, and the warranty may be
voided.
Currently, the remote ACU does not include a Universal Power Supply (future
enhancement). Grounding of the remote ACU is not required by RadioFrame Networks
and is the responsibility of the customer. A bonding ground point for protective earth
grounding is provided; #6 screw with internal sems washer.
3.4.2 Clearances
• Dimensions: 19" wide x 7" high x 13" deep (approx.)
3.4.2.1 Back
• 7”
3.4.2.2 Front
• 12”
3.4.2.3 Sides
• Left side (facing unit): 0”; right side: 2”
3.4.2.4 Above
• Above: 0”

GSM/802.11b RadioFrame System Method of Procedure
Pre-Installation
RadioFrame Networks, Inc. 31
3.4.3 Weight
• 27 lbs (fully loaded)
3.4.4 Power
• 100-240 Volts AC, 47-63 Hz, 8-3.5A , or
• Negative 48-56 Volts DC, 11A
3.4.5 Grounding
The ACU is internally grounded by connecting the appliance inlet earthing ground to the
power supply ground terminal.
The chassis unit is also internally bonded by connecting the appliance inlet earthing
ground directly to the chassis (#6 AWG screw with internal sems washer).
3.4.6 Environment
• Operating Ambient Temperature: 0
o
C to +40
o
C (+32
o
F to +104
o
F)
• Altitude: -200 to +8000 feet above mean sea level; above 8000', reduce maximum
operating ambient temperature by 2
o
C per 1000' to a maximum of 13000'
• Storage Temperature: -40
o
C to +70
o
C (-40
o
F to +158
o
F)
• Relative Humidity: 10-90% non condensing
• Shock: 40 g’s
• Vibration: Level 3 earthquake
• Keep product free from dust, wind, salt, liquids
3.4.7 Heat Load
• 700 BTUs
3.4.8 Cable Support
• Power cord
• CAT-5 wiring to BCU
• CAT-5 wiring to as many as 8 RFUs

RadioFrame System Method of Procedure GSM/802.11b
Pre-Installation
32 RadioFrame Networks, Inc.
3.5 RFUs
3.5.1 Location
RFU placement is determined by first choosing an approximate location for each RFU
using basic coverage requirements, then identifying the mounting configuration for each
RFU (ceiling or wall). Typically, a floor plan of each story in the building is used as an aid
to identify RFU placement.
In addition, RFU placement requires taking into consideration such factors as interior
structures, multiple-floor installations, elevators and stairwells, and neighboring macro
cell systems.
3.5.2 Mounting
Once the approximate RFU locations have been identified, determine the mounting
configuration required for each RFU—on or above the ceiling, or on a wall. Wall mounts
are ideal, provided the wall is of low density. Mounting the RFU to a structural brick or
concrete wall can alter the unit’s omni directional pattern. Also, each RadioBlade installed
in an RFU is supplied with an antenna designed to be installed vertically and pointed
down. Do not change this orientation.
Suspended ceilings are very common in commercial buildings and mounting the RFU
above the ceiling can work well, provided lower half of the RFU is kept clear of metal
objects such as water pipes, wire bundles and light fixtures. The added benefit of an
above-ceiling installation is that the RFU is hidden yet still easily accessed. Generally,
suspended ceiling panels are of low-density lightweight materials that do not attenuate
RF. The metal grid supports typically are spaced at greater than 2-foot intervals and will
not dramatically affect the RFUs’ performance if they are kept at least 1-foot away from
the antennas.
3.5.3 Clearances
• Dimensions: 13.5" wide x 8" high x 5" deep (approx.)
3.5.3.1 Back
• 0”
3.5.3.2 Front
• 0”
3.5.3.3 Sides
• 0”

GSM/802.11b RadioFrame System Method of Procedure
Pre-Installation
RadioFrame Networks, Inc. 33
3.5.3.4 Above
• Leave at least 1.25” between the top of the RFU and the ceiling or any overhead
structure.
• Leave at least 3” below the RFU.
3.5.4 Weight
• 12 lbs (fully loaded with 6 RadioBlades/RAPs)
3.5.5 Power
• Negative 36-56 Volts DC, 0.8A
3.5.6 Grounding
• No additional grounding required
3.5.7 Environment
• Operating Ambient Temperature: 0
o
C to +40
o
C (+32
o
F to +104
o
F)
• Altitude: -200 to +8000 feet above mean sea level; above 8000', reduce maximum
operating ambient temperature by 2
o
C per 1000' to a maximum of 13000'
• Storage Temperature: -40
o
C to +70
o
C (-40
o
F to +158
o
F)
• Relative Humidity: 10-90% non condensing
• Shock: 40 g’s
• Vibration: Level 3 earthquake
• Keep product free from dust, wind, salt, liquids
3.5.8 Heat Load
• 85 BTUs
3.5.9 RF Exposure
To comply with FCC RF exposure requirements, GSM antennas must be installed to
provide at least 8 inches (20 cm) separation from all persons, with antenna gain not
exceeding zero (0) dBi.
3.5.10 Cable Support
• CAT-5 wiring to ACU

RadioFrame System Method of Procedure GSM/802.11b
Pre-Installation
34 RadioFrame Networks, Inc.
3.6 GSM RadioBlades
3.6.1 Mounting
• The GSM RadioBlades are inserted into the RFU.
• RFUs must be mounted in such a way that the GSM RadioBlade antenna points
downward to the ground.
3.6.2 Clearances
• Dimensions: 3” wide x 4” high (plus antenna) x 0.5” thick (approx.)
• The GSM RadioBlade is housed in the RFU. If the RadioBlade is properly inserted
into the RFU, no additional clearances are required.
3.6.2.1 Back
• 0”
3.6.2.2 Front
• 0”
3.6.2.3 Sides
• 0”
3.6.2.4 Above
• 0”
3.6.3 Weight
• 1 lb (approx.)
3.6.4 Power
• 3.3 VDC, 720mA max
• 2.5 VDC, 50mA max
3.6.5 Grounding
• No additional grounding is required

GSM/802.11b RadioFrame System Method of Procedure
Pre-Installation
RadioFrame Networks, Inc. 35
3.6.6 Environment
• Operating Ambient Temperature: 0
o
C to +40
o
C (+32
o
F to +104
o
F)
• Altitude: -200 to +8000 feet above mean sea level; above 8000', reduce maximum
operating ambient temperature by 2
o
C per 1000' to a maximum of 13000'
• Storage Temperature: -40
o
C to +70
o
C (-40
o
F to +158
o
F)
• Relative Humidity: 10-90% non condensing
• Shock: 40 g’s
• Vibration: Level 3 earthquake
• Keep product free from dust, wind, salt, liquids
3.6.7 Heat Load
• Not applicable
3.6.8 Cable and Connector Wiring
• Connector type is RJ-45.
• If directly cabling to the GSM RB without an antenna, use female SMA connectors.
• Appropriate color-coding and jack pair assignments should be followed when wiring
modular jacks, connectors, and cables.
Pin# Name Input / Output
1 Rx Ring Input
2 Rx Tip Input
4 Tx Ring Output
5 Tx Tip Output
Warning!
Crimp all connector wiring completely. Ensure that all crimps have fully
penetrated the protective coating on the wiring. Ensure that enough of the
protective coating is left in place to fit inside the connector. Failure to follow
these instructions may cause system failures to occur.
3.6.9 Output Power Level
• Nominal (maximum): 10 dB
• Can be adjusted downward in 2 dB increments.

RadioFrame System Method of Procedure GSM/802.11b
Pre-Installation
36 RadioFrame Networks, Inc.
• Ability to turn on power control: YES
3.7 RAPs
3.7.1 Mounting
• The 802.11b/g integrated RadioFrame Access Points (RAPs) are inserted into the
RFU.
• RFUs must be mounted in such a way that the iRAP antennas point downward to the
ground.
3.7.2 Clearances
• Dimensions: 3” wide x 4” high (plus antenna) x 0.5” thick (approx.)
• The iRAP is housed in the RFU. If the iRAP is properly inserted into the RFU, no
additional clearances are required.
3.7.2.1 Back
• 0”
3.7.2.2 Front
• 0”
3.7.2.3 Sides
• 0”
3.7.2.4 Above
• 0”
3.7.3 Weight
• 1 lb (approx.)
3.7.4 Power
• 3.3 VDC, 1.5A

GSM/802.11b RadioFrame System Method of Procedure
Pre-Installation
RadioFrame Networks, Inc. 37
3.7.5 Grounding
• No additional grounding is required
3.7.6 Environment
• Operating Ambient Temperature: 0
o
C to +40
o
C (+32
o
F to +104
o
F)
• Altitude: -200 to +8000 feet above mean sea level; above 8000', reduce maximum
operating ambient temperature by 2
o
C per 1000' to a maximum of 13000'
• Storage Temperature: -40
o
C to +70
o
C (-40
o
F to +158
o
F)
• Relative Humidity: 10-90% non condensing
• Shock: 40 g’s
• Vibration: Level 3 earthquake
• Keep product free from dust, wind, salt, liquids
3.7.7 Heat Load
• Not applicable
3.8 Interconnecting Cabling
Site planning requires true single point grounding. The Telco entrance and Telco
termination board should be located as close to the transmission line entry and AC
service entrance as possible. This enables the individual
ground leads to bond to a single
point, with the least amount of distance between the ground leads.
3.8.1 T1/E1
T1/E1 lines are used to connect the RadioFrame System with the Base Station Controller
(BSC). Each GSM/802.11b/g RFS site is typically fed with a single T1/E1 line, and
subsequently protected with a surge suppressor. The suppressor is located between the
"smart jack" (maintained by the local telephone company) and the Channel Service Unit
(CSU). The suppressor should be grounded downward directly to the master ground bus
(MGB) using a #6 AWG green wire.
The Telco board and the MGB should be mounted adjacent to each other on the same
wall (the coax ground and power ground should also be at this same location to achieve
single point grounding). The Smart Jack and T1/E1 suppressor are located on the Telco
board near the T1/E1 line entrance to the site.
3.8.2 Power Cabling
All electrical wiring for the site must meet the requirements of NEC and all applicable
local codes.

RadioFrame System Method of Procedure GSM/802.11b
Pre-Installation
38 RadioFrame Networks, Inc.
3.8.2.1 AC Power Cabling
This section describes only the AC power. All grounding shall limit the exterior
connections to a single point. The transmission wire entrance for the Telco service and
board must be installed on a common wall to have true single point grounding.
Caution
Facility AC wiring within junction boxes, receptacles, and switches shall be performed by a
licensed and bonded electrical contractor. Personnel safety and liability hazards can result
from AC wiring performed by installation personnel other than an electrical contractor.
When an open equipment rack is used, hardwiring of power is not always possible.
Mounting a dedicated simplex receptacle or receptacle assembly on the rack may be the
most convenient method of supplying power, especially if multiple pieces of equipment
are mounted on the rack. This is also a convenient way to install personal protection type
3 SPD devices to the equipment.
These receptacle assemblies can be pre-manufactured and mounted to the top face of
an equipment rack. Mounting can also use a fabricated power pole mounted between
racks.
Equipment that contains its own AC power supply is typically fitted with a standard
grounded line cord. Where this equipment is used, the rack shall be equipped with a
dedicated simplex receptacle or receptacle assembly.
Use only the power cables provided by RadioFrame Networks. Use of any other cable is
strictly prohibited and may void the warranty and/or cause electrical fire and damage.
Caution
Under no circumstances shall consumer-grade power outlet strips be used In any
Installation. Extension cords of any type shall not be used for connecting line power to
communications equipment.
AC input power
Main Rack: The AC input power for the GSM/802.11b/g RFS shall be of 120 and shall be
coming off one designated 20 amp breaker.
Remote ACUs: for 120VAC power, use the power cord provided (use of a different cord
may void the warranty and/or cause electrical fire and damage).
3.8.2.2 DC Power Cabling
RFN provides a nine-foot –48VDC power cord (part number 111-0561-xx) with each -
48VDC chassis unit (BCU and ACU). The power cord is 16AWG wire terminated on one
end with a MOLEX connector wired according to the following table. This end plugs into
the power connector on the RFN chassis unit. Terminate the other end to the provided
power equipment as described below.

GSM/802.11b RadioFrame System Method of Procedure
Pre-Installation
RadioFrame Networks, Inc. 39
Wire Connection
-48 Volts DC Return (black)
-48 Volts DC (red)
Caution
The power supply cord is used as the main disconnect device for the chassis unit.
Length of run
For runs longer than nine feet, use only a UL-approved cable (the suggested standard is
UL1007), with approved connectors as shown in the following table. Wire shall be sized
to carry a minimum of 11 Amps per these recommendations:
Length of Run Minimum recommended wire gauge
Up to 6’ 16 AWG
6’ - 10’ 14 AWG
10’ - 15’ 12 AWG
15’ - 24’ 10 AWG
3.8.3 Category 5 Cabling
All components of the RFS are connected using standard CAT-5 cabling installed in
existing raceways or conduits when available. Use only RJ45 (T568B) connectors for
system components. The same is true for connecting the RFS to the Customer LAN.
If using a patch panel between RFS components, ensure the following:
• Use only a CAT-5e- or CAT-6-rated patch panel.
• Follow all TIA 568B standards.
• Total impedance, end to end, cannot exceed 8 ohms.
• Use only CAT-5e or CAT-6 wiring.
Maximum length between RFS components shall not exceed 328’ (100 meters).
The maximum DC resistance allowed cannot exceed 26.2 Ohms per 1000 feet.
Use plenum rated cable if the cable traverses through a plenum (open air) space.
The proper installation of computer network cabling is critical to the safe and reliable
operation of the computer network. It is recommended that standards developed by the

RadioFrame System Method of Procedure GSM/802.11b
Pre-Installation
40 RadioFrame Networks, Inc.
Telecommunications Industry Association/Electronic Industries Association (TIA/EIA) and
the Canadian equivalent (or equivalent standards in other countries) be followed.
Applicable NFPA codes, local electrical codes, local building codes and other standards
in this manual shall also
be conformed to when installing computer network cabling.
NOTE: It is recommended that a specialist in the installation of computer networks
perform computer network cable installations. The specialist should have the expertise,
knowledge of applicable local codes, and the test equipment required for a quality
installation.
NOTE: This section cites standards from the American National Standards Institute
(ANSI), the Electronic Industry Association (EIA), the Telecommunications Industry
Association/Electronic Industries Association (TIA/EIA), and the Canadian Standards
Association (CSA). Even in non-domestic installations, these standards should be
adhered to.
3.8.3.1 Case Type
CAT-5 Unshielded Twisted Pair (UTP), 100-ohm cable is the recommended cable type
for computer network cabling, and will be the assumed cable type throughout this section.
CAT-5 cable is preferred over CAT-3 and CAT-4 cables because of its ability to support
100Mbps (Megabits per second) systems and because of its better immunity to
Electromagnetic Interference (EMI) and Radio Frequency Interference (RFI). Refer to
ANSI/TIA/EIA-568-A, and CSA-T529 for more information.
3.8.3.2 Connecting Hardware
UTP cables shall be terminated with connecting hardware of the same category rating or
higher. This includes all connectors, punch blocks, cross-connect jumpers and patch
cords. It is recommended that hardware used to terminate cables be of the insulation
displacement (IDC) type. Modular connectors shall also be of the proper typed for the
cable used; solid conductor cable uses a different connector than stranded cable. Refer
to ANSI/TIA/EIA-568-A, and CSA-T529 for more information.
3.8.3.3 Cable and Connector Wiring
Appropriate color-coding and jack pair assignments should be followed when wiring
modular jacks, connectors, and cables. The same wiring standard shall be used
throughout the cabling system. ANSI/TIA/EIA T568B is the recommended standard. The
following illustration shows end views of an 8-pin Modular female jack for T568B with the
pairs and colors identified. Refer to ANSI/TIA/EIA-568-A, and CSA-T529 for more
information.
Warning!
Crimp all connector wiring completely. Ensure that all crimps have fully
penetrated the protective coating on the wiring. Ensure that enough of the
protective coating is left in place to fit inside the connector. Failure to follow
these instructions may cause system failures to occur.

GSM/802.11b RadioFrame System Method of Procedure
Pre-Installation
RadioFrame Networks, Inc. 41
Pin# Color Code (wires)
1 white/orange
2 orange/white
3 white/green
4 blue/white
5 white/blue
6 green/white
7 white/brown
8 brown/white
Figure 12 T568B standard.
3.8.4 Installation
Avoid any unnecessary junction points and cross-connects. Every added junction point
and cross-connect can decrease the performance of the network.
Multiple appearances of the same cable at different locations, referred to as bridge taps
shall be avoided. Each cable segment shall have only one source and one destination.
Never untwist the twisted pairs of a CAT-5 cable beyond 1.3 cm (0.5 in.) from the point of
termination. Untwisting the wires can decrease the cable's category performance rating
and degrade system performance. Refer to ANSI/TIA/EIA-568-A and CSA-T529 for more
information.
Do not make sharp bends in CAT-5 cable. The bend radius for CAT-5 cable shall not be
less than ten times the outside diameter of the cable. Bending the cable with a shorter
bend radius can affect the electrical characteristics of the cable and degrade system
performance. Refer to ANSI/TIA/EIA-568-A and CSA-T529 for more information.
Do not pull a CAT-5 cable with excessive force. CAT-5 cable should not be pulled with a
force greater than 110 Newtons (25 lbs force), or as suggested by the cable
manufacturer. Pulling a cable with too much force can change the cable's electric
characteristics and degrade its performance. Refer to ANSI/TIA/EIA-568-A and CSA-
T529 for more information.
Do not over tighten CAT-5 cable with cable ties or other supports. Over tightening cable
ties or other supports can change the electrical characteristics of the cable and degrade
the system performance. Refer to ANSI/TIA/EIA-568-A and CSA-T529 for more
information.
CAT-5 segment lengths shall not exceed 100 m (328 ft.). This includes 90 m
(295 ft.) of building cabling and up to 10 m (32.8 ft.) of equipment cords, cross-connects
and patch cords. Of the 10 m (32.8 ft.) allowed for equipment cords, cross-connects and
patch cords, a maximum of 3 m (9.8 ft.) should be used from the computer workstation to
the information outlet. Refer to ANSI/TIA/EIA-568-A and CSA-T529 for more information.

RadioFrame System Method of Procedure GSM/802.11b
Pre-Installation
42 RadioFrame Networks, Inc.
For simplifying installation and reducing cable runs, a single CAT-5 cable may be run
from the equipment room hub to an additional hub in the computer workstation area for
distribution to the individual computers. This can reduce the number of cables required
between the equipment room and the individual computers. Refer to ANSI/TIA/EIA-569-A
for more information.
3.8.4.1 NEC Compliance
All RadioFrame Networks products and equipment are NEC compliant.
3.8.4.2 Local Jurisdictions
Local jurisdiction codes shall apply and override any other requirements specified in this
document.
3.8.4.3 Routes
Consideration should be given to using some method of cable management and
containment for runs of CAT-5 cable. Such methods can be dedicated cable runs, lay-in
wireways, cable runways and conduits. Refer to ANSI/TIA/EIA-569-A and CSA-T530 for
more information.
CAT-5 cable shall not be installed in the same conduit, cable runway, outlet box, or
similar device with AC power cables, unless separated by a barrier as allowed in NFPA
70, Article 800-52. Doing so can be unsafe and is likely to cause EMI onto the CAT-5
cable, causing network errors. Refer to NFPA 70, Article 800-52, ANSI/TIA/EIA-568-A,
and CSA-T529 for more information.
Precautions should be taken to avoid routing CAT-5 cable near sources of EM/RFI. Such
noise sources may be electrical power wiring, dimmer switches, radio frequency
transmitters, motors, generators, and fluorescent lights. Precautions may include,
increasing the physical distance between the CAT-5 cable and the source of the EMI/RFI,
installing the CAT-5 cable inside of a grounded metallic conduit, or use of a CAT-5 100-
ohm screened twisted pair cable as permitted by ANSI/TIA/EIA-568-A. Routing cables
near sources of EMI/RFI can cause data errors and degraded system performance. Refer
to ANSI/TIA/EIA-568-A and CSA-T529 T530 for more information.
Cables shall be separated by at least 5.1 cm (2 in.) from AC power conductors. Refer to
NFPA 70, Article 800-52 for more information.
CAT-5 cables installed in ducts, plenums, and other air-handling spaces shall be installed
in accordance with other sections of this document and NFPA 70, Article 300-22. Also
refer to NFPA 70, Article 645.
CAT-5 cables installed in hazardous areas as defined in NFPA 70, Article 500 shall be
installed in accordance with NFPA 70, Article 500 and any other applicable electrical and
building codes.
CAT-5 cable shall not be attached by any means to the exterior of a conduit or other
raceway as a means of support. Refer to NFPA 70, Article 725-54 and NFPA 70, Article
800-52 for more information.

GSM/802.11b RadioFrame System Method of Procedure
Pre-Installation
RadioFrame Networks, Inc. 43
Suspended ceiling support rods and wires may be used as a means of support for
computer network cabling if used in conjunction with appropriate cable fasteners. Refer to
ANSI/TIA/EIA-569-A and CSA-T530 for more information.
CAT-5 cables shall not be laid directly on the tiles of a false ceiling. Refer to
ANSI/TIA/EIA-569-A and CSA-T530 for more information.
CAT-5 cables shall not be run from one building to another building. If the computer
network needs to be extended to another building, a specific cabling system shall be
engineered. Options for extending from one building to another may include the use of
fiber optic cable or a T1/E1. Computer network cabling entering and/or leaving a building
shall be properly grounded and protected from surges as required elsewhere in this
document.
3.8.4.4 Testing
Every effort should be made to ensure a quality installation of the computer network
cabling system. Even the best installation effort cannot guarantee a properly working
system. It is therefore required that a computer network cabling system be tested for
proper performance.
The procedures and specifications in the TIA/EIA Telecommunications System Bulletin
(TSB) 67 shall be used for this testing. TSB 67 has four primary parameters to test.
Below is an overview of the four test parameters needed to assure a properly working
system.
Wire map
The wire map test is used to verify wire pair to pin termination at each end of the cable
and to check for installation connectivity errors. It is recommended that 100% of cables
be tested using a testing tool such as Microtest® Microscanner™ Pro. (Be sure the tester
can check for a “split pair” configuration).
Each of the 8 conductors in the cable are tested for:
• Conductor continuity to the remote end of the cable
• Shorts between any two or more conductors in the cable
• Crossed pairs in the cable
• Reversed pairs in the cable
• Split pairs in the cable
• Any other wiring errors in the cable
Length
The length test is used to determine the maximum physical length of the cable segments.
The Microscanner™ Pro and many other models can be used to check cable length,
which are accurate within a few feet. The RFN guideline for cable length is 100 meters
(approximately 328’ for less).

RadioFrame System Method of Procedure GSM/802.11b
Pre-Installation
44 RadioFrame Networks, Inc.
Attenuation
Attenuation is the measure of signal loss in the cable segment.
Near-End Crosstalk (NEXT) loss
NEXT loss is a measure of signal coupling from one wire pair to another within a single
UTP cable segment.
3.8.4.5 Labeling
Cabling shall be identified with a standardized, double-ended system to facilitate cable
and equipment connection identification. (Refer to ANSI/TIA/EIA-606 for more
information.) The label should show the following:
• Equipment identification for each end of cable.
• Connector reference designator for each end of cable.
• Direction along the cable where terminating equipment is located.
• Floor and room of the equipment.
In general, the following considerations need to be observed in implementing a labeling
system:
• Labeling shall indicate the destination ends of the cable, in terms of equipment name
and connector reference designator or name. This applies to connectorized, lugged,
or punched-down cable terminations, regardless of the application (RF, audio, or
control).
• Labeling shall be imprinted on white opaque material (preferably plastic or plasticized
paper) using indelible black ink.
• Labeling should wrap entirely around the cable. It should be secure enough to assure
label retention if the cable is to be pulled through conduit.
• Label placement shall be between 10 and 16 cm (4 and 6 in.) from each end of the
cable (or the most logical point that would allow the label to be easily read).
• Information printed on each label should be brief but clearly understandable.
Because of limited space, abbreviations and acronyms should be used. If
abbreviations are used, they should be industry standard.
• All cables shall be properly labeled by the manufacturer as to the type, capacity, and
approval ratings of the cable.
3.9 Main Rack Configuration
The main rack typically contains the BCU and one ACU of the RadioFrame System. The
rack must be an standard 19” EIA-compliant rack, or equivalent.

GSM/802.11b RadioFrame System Method of Procedure
Pre-Installation
RadioFrame Networks, Inc. 45
3.10 RF Planning
RF planning places a minimum number of RadioFrame Units in locations that will provide
optimal coverage and voice quality. RF planning for the RadioFrame System takes into
consideration anything that might affect RF propagation, including:
• RFU locations, including coverage and mounting requirements, multi-story
installations, and elevator shafts and stairwells
• Simulcasting, including single-sector and multi-sector systems
• Interference, including out-of-building emissions and in-building interference from
macro systems
3.11 Site Survey
An informal site survey can be conducted to determine RFS equipment locations. Based
upon the RFS square footage model, preliminary site designs are relatively easy to
calculate prior to a formal site survey (refer to Appendix B “Site Survey” for an example of
site survey questions and information).
3.12 Tools Required
The RadioFrame System comes with all the parts necessary to mount each component
of the system. This section describes all of the equipment necessary to install the
RadioFrame System.
3.12.1 Hand Tools
• #2 Phillips screw driver.
• Optional: For RFU ceiling mounts, a drill with a 3/16” bit for use with provided wood
screws, or a 9/32” bit and four ¼” bolts (not provided).
3.12.2 Laptop Computer
A laptop computer is required to bring up the RFS. The laptop must be loaded with the
following fully functional equipment (or equivalent):
• Serial cable (DB9/RS232)
• Ethernet cables to connect to the BLIC:
- crossover EIA/TIA 568A
- straight through EIA/TIA 568B
• CD-ROM capability
• FTP server (WFTPD) 32- shareware
• Telnet and serial communications software (TeraTerm) - shareware
• Administration rights to change IP settings on laptop

RadioFrame System Method of Procedure GSM/802.11b
Pre-Installation
46 RadioFrame Networks, Inc.
3.12.3 RadioFrame System Software
• Up-to-date version loaded on the laptop
• Loaded on a CD ROM
• New versions can also be downloaded from RFN web site
3.12.4 Additional Materials
• Wire ties
• Straight blade screwdriver
• Spare RJ45 connectors
• Wire cutters
• RJ45 connector crimper
• CAT-5 tester

GSM/802.11b RadioFrame System Method of Procedure
Installation
RadioFrame Networks, Inc. 47
4 Installation
Following all construction work, both exterior and interior, the site and facility shall be in a
suitable condition for the installation of communications equipment. In general, the
following considerations need to be observed:
• Interior of facility shall be free of excessive dust.
• All refuse related to the installation tasks shall be removed.
Consideration should be exercised when laying out a site to allow primarily for all code
requirements for spacing, and then the most efficient use of space. Special attention shall
be given to future expansion with regard to cable runway heights, electrical outlet
placement, and equipment placement.
Prior to performing the installation procedures, prepare the site with all associated
antennas, phone lines, and other related site equipment. This information is covered in
the Pre-Installation chapter. The main rack may already be installed, depending on the
site configuration.
4.1 Main Rack and Supporting Hardware
This section provides installation instructions for a cabinet already containing the
RadioFrame Networks BCU and ACU. The procedure listed here is for permanently
mounting the equipment cabinet within a site.
The following procedures describe how to mount non-wheeled cabinets in a system site
building. Be sure to read all of the procedures carefully to ensure a quality installation.
4.1.1 Main Rack
The main rack must be secured to the floor for optimum stability. Since the main rack is
very heavy, this procedure is written so that the rack is moved only once.
Warning!
Always use two or more persons whenever moving a cabinet. A fully
configured equipment cabinet weighs approximately 800 lbs (360 kg).
Perform the following steps to properly install the main rack within the site building:
1 Measure the mounting location for the main rack within the row.
2 Carefully mark the mounting holes with a pencil, as indicated on the appropriate main
rack footprint.
3 Drill the marked mounting holes to the appropriate depth of the mounting hardware
with a hammer drill and bit.
4 Insert an anchor into the drilled hole.
If necessary, tap the anchor into place using a hammer.

RadioFrame System Method of Procedure GSM/802.11b
Installation
48 RadioFrame Networks, Inc.
5 Remove the four screws securing the bottom kick panel to the front and back of the
main rack.
Remove the kick panel and set aside during installation.
6 Carefully move the main rack into the position indicated by the holes in the floor.
Adjust and level the main rack as necessary to align the rack mounting holes with the
pre-drilled holes in the floor.
7 Secure the main rack to the site floor with the locally procured mounting hardware.
8 If required, connect adjacent cabinets to each other using ganging hardware.
4.1.2 Auxiliary Equipment
Auxiliary equipment for the main rack includes:
• Surge arrestors
• Grounding
• Cable supports
4.1.2.1 Surge Arrestors
T1/E1
The T1/E1 surge arrestor must be adequately grounded. The surge arrestor usually
mounts near the demarcation (demarc) point. The cable connecting the surge arrestor to
the Telco SmartJack should be locally procured, or should be provided with the surge
arrestor.
AC power (optional)
An RFN-approved surge arrestor must be installed adjacent to the AC power panel. Very
short wire lengths between the arrestor and the power panel are required for proper
operation of equipment.
4.1.2.2 Grounding
Within the site, ground the main rack with a single dedicated connection between the
main rack and the master ground bar. The connecting wire must be a #2 AWG green-
insulated copper wire.
Use appropriate lugs (and split ring lock washers when possible) with an anti-oxidant
grease applied for interior grounding connections and exterior secondary grounding
connections. If lock washers are used, they should be placed between the nut and the lug
to ensure the mechanical integrity of the connection. The washer must not be secured
between the lug and the surface to which it is connected. Painted connections must be
scraped clean before applying the anti-oxidant grease and lug.

GSM/802.11b RadioFrame System Method of Procedure
Installation
RadioFrame Networks, Inc. 49
The main rack (ground bus) must be connected to the site ground using a single
dedicated ground wire.
Warning!
Never use a bare or damaged wire for the connection of chassis ground or for the
electrical wiring to prevent damage to equipment or potential injury to personnel.
4.1.2.3 Cable Supports
All installations requiring cable trays shall be the responsibility of the customer. Cable
tray requirements vary from site to site and are not specific to the RadioFrame System.
All cable tray installations shall receive permits from and be inspected by the local
municipality governing tenant improvements, including mechanical and electrical
inspections. Site plans, procurement, installation, grounding/bonding, and inspecting of
the cable tray shall be the responsibility of the customer.
4.2 Remote ACUs
To install a remote ACU, first mount the unit then connect the ACU to the BCU and each
associated RFU. Repeat the following two procedures for each remote ACU.
4.2.1 Mount the remote ACU
Mount each remote Airlink Chassis Unit (ACU) as follows:
1
Find these items in the ACU shipping container: one ACU, four mounting screws, and
one 120VAC power cord.
2
Mount the ACU only in an EIA-standard compliant (19”) rack using all 4 screws
provided. Refer to the site documentation for the exact location of the ACU. For safe
operation, follow these guidelines:
• Do not mount the ACU in any orientation other than that specified in the following
illustration.
• Mount the ACU so that both the front and the back are accessible.
• If the mounting holes do not line up, adjust the ACU up or down until the
mounting holes line up.
Caution
Do not block the air vents on the sides or rear of the ACU.
3
Plug the ACU into an approved power source with the provided power cord.

RadioFrame System Method of Procedure GSM/802.11b
Installation
50 RadioFrame Networks, Inc.
Caution
The power supply cord is used as the main disconnect device; ensure that the
socket-outlet is located/installed near the equipment and is easily accessible.
4 Verify that the ACU is receiving power and that all cards installed in the ACU, front
and back, are operational.
Each card installed in the front and back of the ACU has two LEDs: Power and
Status. All LEDs should light green, except for the Status LED, which remains red
until the T1/E1 line is connected.
Figure 13 Mount the ACU only in an EIA-standard compliant 19” rack.
4.2.2 Connect the ACU to the BCU and the RFUs
1
Connect Port 2 on the front of the ACU to the specified port (1 through 8) on the back
of the BCU using an RJ45-to-RJ45 CAT-5 cable (see the following illustration).
2
Verify that the ACU is connected to the BCU.
The Link and Activity LEDs on Port 2 should both light green, and the Activity LED
should blink rapidly indicating that the connection to the BCU is operating.
3
Connect the RJ45-to-RJ45 CAT-5 cable for each RFU to the specified port
(1 through 8) on the back of the ACU.
The Link and Activity LEDs on the ports will remain unlit until each RFU has been
installed.

GSM/802.11b RadioFrame System Method of Procedure
Installation
RadioFrame Networks, Inc. 51
Figure 14 Connect Port 2 on the front of the ACU to the specified port (1-8) on the
back of the BCU, and connect RFUs to ports 1-8 on the back of the ACU.
4.3 RFU
This section describes the methods used to mount an RFU, including wall and ceiling
mounts. The RFU is shipped with mounting screws and anchors, two mounting templates
(wall and ceiling), and one ceiling bracket (optional).
First, mount an RFU, then connect it to the ACU and verify that the RFU is receiving
power from the ACU. Next, insert the RadioBlades into the RFU in the configuration
specified in the site documentation, and replace the front cover on the RFU.
4.3.1 Mounting and Anchoring
The RFU is to be installed on a wall or on or above the ceiling. The RFU is to be fix-
mounted on indoor permanent structures providing a separation distance of at least 8
inches (20 cm) from all persons during normal operation and 10 feet
(3 meters) from other RFU mounted assemblies.
The RadioFrame Unit (RFU) is not intended for mounting to drop ceilings. Mounting this
unit to a drop ceiling voids any warranty, expressed, implied, or otherwise. Mounting this
unit to a drop ceiling voids any regulatory agency approvals, including, but not limited to,
Underwriters Laboratories (UL), Canadian Standards Association (CSA), and the
European Community (CE).
NOTE: Mounting the RFU directly to a drop ceiling is expressly forbidden by the National
Electric Code (NEC), National Fire Protection Association (NFPA), and the Uniform
Building Code (UBC). RadioFrame Networks is not liable for any direct, indirect, special,
incidental, or consequential damages arising out of mounting this unit in any fashion not
recommended and approved by RadioFrame Networks. This includes, but is not limited
to, damage to, or loss of, equipment, loss of data, or loss of profit, even if RadioFrame
Networks was advised of the possibility of such damages

RadioFrame System Method of Procedure GSM/802.11b
Installation
52 RadioFrame Networks, Inc.
4.3.1.1 Wall Mount
1 Place the 11” x 17” drawing template (P/N 981-1020-00) on the wall where the
RadioFrame Unit is to be mounted.
2 Mark the two locations indicated on the template.
3 Screw the two supplied anchors into the locations as shown in the following diagram.
4 Screw the two supplied screws into the anchors, leaving approximately 1/4” of each
screw exposed.
5 Hang the RFU on the anchors and fully tighten both screws.
Figure 15 A wall mount requires two screws to anchor the RFU.
4.3.1.2 Ceiling Mount
1 Place the 8.5” x 11” drawing template (P/N 981-1010-00) on the ceiling where the
RFU is to be mounted.
2 Mark the four locations indicated on the template.
3 Drill four holes with the appropriately sized bit: 3/16” for the provided wood screws, or
9/32” for 1/4” bolts (bolts not provided).
If using the provided wood screws, ensure that all four screws penetrate wood.
Otherwise, use alternative mounting screws or bolts to secure the ceiling bracket.
4 Using four screws or bolts, attach the ceiling bracket to the ceiling as shown in the
following diagram.
5 Attach the RFU to the ceiling mount bracket and fully tighten the thumbscrew.

GSM/802.11b RadioFrame System Method of Procedure
Installation
RadioFrame Networks, Inc. 53
Figure 16 Use the provided bracket when mounting an RFU on the ceiling,
ensuring that all bolts or screws penetrate wood.
4.3.2 Connect the RFUs to the ACU
1
Connect the RJ45 port labeled MAIN on the top of the RFU to the ACU using an
RJ45-to-RJ45 CAT-5 cable (see the following illustration).
Caution
Do not remove the protective cover from or use the RFU port labeled AUX. Damage may
occur to the RFU, ACU, or both.
2
Verify that the RFU is receiving power and connectivity from the ACU.
The Link and Activity LEDs on the MAIN port should light as green, and the Activity
LED should blink rapidly indicating connectivity. If the LEDs do not light, verify that
the ACU is powered on.
3
Complete the next procedure “Insert the RadioBlades” before placing the front cover
on the RFU.

RadioFrame System Method of Procedure GSM/802.11b
Installation
54 RadioFrame Networks, Inc.
Figure 17 Connect the RFU to the ACU, then ensure that the RFU is receiving
power and connectivity from the ACU.
4.3.3 Insert the GSM RadioBlades and iRAPs into the RFU
The GSM RadioBlades and 802.11 iRAPs are shipped several to a box in individually
wrapped antistatic packaging. Each box of RadioBlades/RAPs includes a disposable
antistatic wrist strap to be used when inserting the RadioBlades/RAPs into the RFU.
Refer to the site documentation for the exact slot location of each RadioBlade/iRAP
within the RFU.
1
Unwrap 30 cm (12”) of the disposable wrist strap and wrap the adhesive side around
your wrist.
2
Unroll the rest of the band and remove the liner from the copper tape.
3
Attach the copper tape to the metal card cage inside the RFU.
4
Un-package the GSM RadioBlades to be inserted in the RFU.
5
Insert the GSM RadioBlades, one at a time, into the specified slots (1 through 7,
numbered right to left) in the RFU until the connector on each RadioBlade seats
firmly into the back of the RFU (see the following illustration).

GSM/802.11b RadioFrame System Method of Procedure
Installation
RadioFrame Networks, Inc. 55
Figure 18 Slide each GSM RadioBlade into the specified slot in the RFU.
6 Insert the 802.11b/g iRAPs, one at a time, into the specified slots in the RFU until the
connector on each iRAP seats firmly into the back of the RFU (see the following
illustration).
7 Remove the antistatic wrist strap and place the front cover on the RFU.
4.4 Interconnecting Cabling
4.4.1 T1/E1
The Telco interface should have been installed according to the Pre-installation chapter.
NOTE: The equipment can be installed and tested without the Telco T1/E1 present. The
T1/E1 must be connected for proper operation of the site.
NOTE: Some modular cables have a ridge along one side of the cable for purposes of
alignment with the connector.
NOTE: The SmartJack is capable of passing -48V Telco power through to the site
controller. For operation, GSM does not require this power. If -48V is present on the
network connection to the site controller, the SmartJack is incorrectly configured. Contact
the service provider immediately to correct this situation. The SmartJack switch should be
set so that -48V power does not pass through to the site controller.
If this cable is locally manufactured, crimp the 8-pin connectors as shown in the following
illustration. The wires should be routed straight through. Make sure that the conductor
color is the same at both ends for each conductor of the cable.

RadioFrame System Method of Procedure GSM/802.11b
Installation
56 RadioFrame Networks, Inc.
Figure 19 T1/E1 interface cable configuration
4.4.2 RFS to Customer LAN
The RFS is connected to the customer LAN only after all other connections have been
made and all other system functionality has been tested and is performing accurately.
The RFS is connected to the Customer LAN using an RJ45-to-RJ45 CAT-5 cable. For
more information, refer to Chapter 6 “Connecting the RFS to the Customer LAN”.

GSM/802.11b RadioFrame System Method of Procedure
Final Checkout
RadioFrame Networks, Inc. 57
5 Final Checkout
The procedures in this chapter describe how to conduct commissioning and system test
procedures for the GSM/802.11 RadioFrame System. Following the successful
completion of procedures described in this chapter, the RFS can be connected to the
customer LAN as described in Chapter 6 “Connecting the RFS to the Customer LAN”.
The procedures in this chapter are to be used in conjunction with troubleshooting and
repair information provided in Chapter 7 Operations and Maintenance and the RFN
document, Field Guide to the RadioFrame System. Together, these troubleshooting
solutions and commissioning procedures provide the necessary information to isolate
failures to a Field Replaceable Unit (FRU). This minimizes system downtime by quickly
returning the site to normal operation.
This chapter’s procedures check system functions and help isolate failures down to the
FRU level. If a failure cannot be isolated after performing these tests, refer to Chapter 1
“Repair and Technical Support” for technical assistance information.
5.1 Start System Manager
After installation of all RadioFrame Networks equipment, including verification that each
unit is receiving power, start System Manager to complete the installation of the
RadioFrame System. System Manager automatically downloads information about each
component in the RFS, including assigned IP addresses, sector information, port
connections, and component status, as well as specifying default information that can be
changed, or ‘configured’.
1
Using a 9-pin serial cable, connect a laptop computer to the RS232 port on the front
of the BCU.
2
Start the browser on the laptop, and enter the provided URL to start System
Manager.
The System Manager Home page appears (see the following illustration). System
Manager contains five tabs you select from to set up and monitor the RadioFrame
System:
• Home—displays a welcome banner and a link for setting up users and changing
the RFS password.
• System Configuration—displays the configuration of each RFS component, and
depicts the location and status of each component, including the BCU, ACUs,
and RFUs.
• Alarms—displays alarm information for each component of the RFS.
• Performance Monitoring—displays real-time performance information about the
RFS.
• Support—displays support information, including online help.

RadioFrame System Method of Procedure GSM/802.11b
Final Checkout
58 RadioFrame Networks, Inc.
3 To log in, select any tab except the Home tab.
The login page appears (see the following illustration).
4 For User Name, type your RFS user name.
5 For Password, type your RFS password.
6 To save the password so you don’t have to retype it the next time you log in, check
‘Save this password in your password list’ checkbox.
7 Select OK.

GSM/802.11b RadioFrame System Method of Procedure
Final Checkout
RadioFrame Networks, Inc. 59
NOTE: To change the password, select the User Provisioning link on the Home
page, and then select the User Name from the drop down menu. Type the current
password for the selected user name, and then type the new password and confirm
it. Select Save Changes.
5.1.1 Navigating the System Configuration
The System Configuration displays icons representing each component included in the
RFS starting with the BCU (see the following illustration). In the following example, ACU
192.168.200.10 is connected to the BCU rear port 1. Generally, the ACU connected to
BCU rear port 1 is the ACU located in the main rack, and the remaining are remote
ACUs. Configuration information for the BCU is displayed on the left side of the page,
including the device name and IP address.
1
To view configuration information for an ACU, select its icon.
A page similar to the BCU page appears displaying configuration information for the
selected ACU and icons for each RFU connected to the ACU. In the same way you
can view the status of each GSM RadioBlade installed in every RFU in the RFS by
selecting an RFU icon.
2
To return to a previous page, select the component pathname shown at the top of the
tab (System Configuration>BCU>ACU…).
3
To return to the BCU, select the System Configuration tab at any time.

RadioFrame System Method of Procedure GSM/802.11b
Final Checkout
60 RadioFrame Networks, Inc.

GSM/802.11b RadioFrame System Method of Procedure
Final Checkout
RadioFrame Networks, Inc. 61
5.1.2 Component Status
The colored bar displayed under each component icon on the configuration pages shows
the status of the component:
• Green—Unit installed and fully functional.
• Yellow—Unit installed but not configured.
• Gray—Unit not installed.
• Red—Alarm condition.
To display the legend of status conditions, select the legend link at the top right corner of
the configuration page.
To view the status of chassis unit components (NPCs, APCs, CRICs), select the icon (for
the ACU, you must first navigate to the ACU Configuration page, then select the ACU
icon). The BCU/ACU Components page appears,

RadioFrame System Method of Procedure GSM/802.11b
Final Checkout
62 RadioFrame Networks, Inc.
5.1.3 Software Version Information
Select the Software Version Information link on the BCU Configuration page to display
the software versions for all boards in the in the RadioFrame System. For each board,
this page displays the following:
• Hardware version
• FPGA version
• ROM version
• Selected software version (SW Version A or Software Version B)
• Loaded software version (SW Version A or Software Version B)

GSM/802.11b RadioFrame System Method of Procedure
Final Checkout
RadioFrame Networks, Inc. 63
5.1.4 System Manager Support
Select the Support tab to display resources to help you use System Manager:
• System Manager Online Help
The Help button in the top right corner of each page opens a Help window that briefly
describes the features of the current System Manager page.
• Support on the web
Get current product documentation, release notes, FAQ, and other product
documentation online at http://radioframenetworks.com/support/. (You'll need your
customer username and password to log in.)
• Contact RadioFrame Networks Technical Assistance Center
Telephone (800) 328-0847
E-mail support@radioframenetworks.com
5.2 Configure the System Components
To configure each system component, specify a device name, adding building/site
location information for each component. Anytime an RFU port connection is moved or
changed, or when a BPC or APC is moved to another slot within the same chassis unit
(BCU and ACU, respectively), System Manger incorporates the new information. For
other RFS component changes, RFN recommends validating that the port change is
reflected in System Manager. When new releases of RadioFrame System software are
provided, download the new release as described in section 7.1 Upgrading System
Software.
NOTE: During configuration, verify that the following information displayed in System
Manager matches the Equipment Inventory. If any changes are made in System
Manager, those changes must also be shown on the Equipment Inventory or site as-built
documentation.
• Physical location
• IP addresses
• Port connections
• Sector locations
5.2.1 Configuring the BCU
The BCU System Configuration page displays the BCU Device Configuration, including
the Device Name, IP Address, and Building Address for the BCU—you can change this
information at any time. This page also displays the External IP Configuration, the
information that systems outside the RFS use to recognize the RFS, the SNTP Server
Configuration, and Other Configuration Options.
1
For Device Name, enter up to 31 alphanumeric characters to uniquely identify the
BCU.

RadioFrame System Method of Procedure GSM/802.11b
Final Checkout
64 RadioFrame Networks, Inc.
2 The IP Address is assigned during the installation of the RFS. You don’t need to
change the value of this internal address.
3 For Building Address, enter up to 3,000 alphanumeric characters specifying the
location of the BCU.
You can describe the street address, mailing address, building, and other site
information, as well as the building floor, Telco closet, and rack to indicate the
location of the unit.
4 Select Save Changes.
5.2.2 Configuring the ACUs
Configure each ACU as you would the BCU. For each ACU, the System Configuration
page shows the RFUs connected to the ACU (by port) and which ACU ports are
dedicated to which sectors in the GSM installation.
1
Navigate to the page of the ACU you want to configure.
2
For Device Name, enter up to 60 alphanumeric characters to uniquely identify the
ACU.
3
For Building Address, enter up to 3,000 alphanumeric characters specifying the
location of the ACU.
You can describe the street address, mailing address, building, and other site
information, as well as the building floor, Telco closet, and rack to indicate the
location of the ACU.
4
Select Save Changes or Clear to start over.

GSM/802.11b RadioFrame System Method of Procedure
Final Checkout
RadioFrame Networks, Inc. 65
5.2.3 Configuring the RFUs
Configure an RFU as you would the BCU or ACU, by entering a device name and site
address information. For each RFU, the configuration page shows the GSM RadioBlades
and iRAPs inserted into the RFU by slot.
1
Select the icon of the RFU you want to configure.
2
For Device Name, enter up to 60 alphanumeric characters to uniquely identify the
RFU.
Use names that are meaningful to the installation.
3
For Building Address, enter up to 3,000 alphanumeric characters specifying the
location of the BCU.
You can describe the street address, mailing address, building, and other site
information, as well as the building floor to indicate the location of the unit.
4
Select Save Changes.

RadioFrame System Method of Procedure GSM/802.11b
Final Checkout
66 RadioFrame Networks, Inc.
5.3 Configure the RFS GSM Services
To set up the RFS for GSM services to match the in-building site planning requirements,
complete the following procedure.
1
Select GSM Provisioning link under Other Configuration Options on the BCU
Configuration page.
2
For BTS ID, enter a value that uniquely identifies the BTS.
3
For DLC port number represents the port number on the DLC that the customer’s
BSC is connected to.
4
For Number of TRX, enter the total number of TRXs that will be used in the RFS.
5
For Type of Connection, select T1 or E1.
6
For Band Information, select the appropriate band—NA for North America or EU for
Europe.
7
For ABIS Interface, select the ABIS that matches the customer’s BSC ABIS type.
8
For Ericsson Settings, enter the Ericsson BCF Tei.
9
Select the Save Config button to save your changes.

GSM/802.11b RadioFrame System Method of Procedure
Final Checkout
RadioFrame Networks, Inc. 67
5.4 Coverage Validation
After configuring all RFS components, use measurement software, a laptop and a GSM
handset to check for regions of low signal strength or low signal quality (RXQUAL).
5.4.1 Detailed Building Plans—RF Modeling
Testing by RFN has shown that simple Linear Attenuation Models (LAM) as discussed in
COST 231, Chapter 4 section 4.7 “Indoor Propagation Models” work well when used on a
floor-by-floor basis. An attenuation coefficient of 0.62dB/m is recommended for dense,
single-floor propagation, but this can double if concrete walls are present.
5.4.2 Measurement-based Estimate
A battery-powered test transmitter can be moved between each proposed RFU location
and a handheld signal strength meter used to monitor RSSI. This method is useful when
RF penetration is desired through suspect walls or where wall construction data is
lacking. Generally, this method provides good agreement when used to identify regions
of poor coverage rather than to establish sufficient coverage zones. This is because it is
usually inconvenient to duplicate an RFUs’ position during initial coverage surveys.
5.4.3 Floor Plan Estimate
Oftentimes, only simple floor plans are available for the building in which the RFUs are to
be installed. Without specifics about the building construction, such as interior wall, floor
and ceiling construction, propagation models are of limited value. A measurement-based
approach (discussed earlier) works well, but for simple buildings, installing RFUs at the
candidate locations and then testing the results will likely be adequate. If regions of poor
coverage are found, additional RFUs may be added.
5.5 Site Acceptance Guidelines
5.5.1 Site As-Built Documentation
As-built documentation consists of the original site development documentation with post-
installation information. On the job, installers use site development documentation for
reference, to make notes, and to document completion of each step of the installation.
Conduct an onsite walk through to verify that the following Site Development Punch List
items have been properly installed. This inspection ensures that the site installation
meets quality standards.
• Grounding
- buss bar OK (optional)
- BCU/ACU rack(s)
• T1/E1 Information, Primary and Secondary
- T1/E1 circuit ID#
- T1/E1 surge arrestor installed/grounded

RadioFrame System Method of Procedure GSM/802.11b
Final Checkout
68 RadioFrame Networks, Inc.
- T1/E1 repeater shelf / cfl cabinet location
- T1/E1 level at extended demarc (RJ48 x jack)
• Summary
- log book at site with recent entry
- outstanding issues/punch list items for site
- defective equipment found/replaced
5.5.2 Site As-Built Acceptance Test Procedures
Complete the test procedures described in this section to record the site as built.
5.5.2.1 Grounding
Record the following grounding information. For any unacceptable item, take corrective
action and record what occurred, or record the item for the next site visit.
Yes No
Buss Bar O.K. (optional)
BCU/ACU rack(s)
5.5.2.2 T1/E1 Line
Record the following information for the T1/E1line.
T1/E1 circuit ID # Primary Secondary
T1/E1 surge arrestor installed/grounded Yes No
T1/E1 repeater shelf/cfl cabinet location Inside Outside
T1/E1 level at extended demarc (RJ48x jack) +/- dbsx Voltage
5.5.3 RadioFrame System As-Built Documentation
As-built documentation for the RadioFrame Networks equipment includes the following:
• Equipment inventory
• Cabling pathways
• Floor Plan with site configuration and component locations
5.5.3.1 Equipment Inventory
The final Equipment Inventory should show the following information for the RFS
components installed:
• Part number
• Serial number

GSM/802.11b RadioFrame System Method of Procedure
Final Checkout
RadioFrame Networks, Inc. 69
• Rack position (BCUs and ACUs only)
• Card position (APCs and BPCs only)
• RFU location (including floor and sector)
• GSM RadioBlade and iRAP slot positions in RFU
• MAC Address
• IP Address
• Channel (RAPs only)
• Port connections between RFS components
5.5.3.2 Cabling Pathways
A schematic showing the route of each cable run at the site. For each cable run, list the
following:
• Cable length
• Cable type
• Connector types (both ends)
• Cable labeling completed per specs
• Port Connections
• Continuity test results
• Distance test results
5.5.3.3 Floor Plan/Site Drawing
Use a floor plan or site drawing to denote the location of the following on each floor of the
building:
• Main rack
• Remote ACUs, including power source
• RFUs
5.5.4 RadioFrame System Acceptance Test
During installation, each component of the RFS is verified for power and connectivity.
Assuming that each component (BCU, ACU, and RFU) has been properly installed and is
receiving power, double check that all Power, Status, Link and Activity LEDs throughout
the system are lit and are green. For any other condition on any system component or
connection, refer to section 7.3 Corrective Maintenance for troubleshooting procedures.

RadioFrame System Method of Procedure GSM/802.11b
Final Checkout
70 RadioFrame Networks, Inc.
5.6 RadioFrame System Functionality Test
RFS System Functionality Testing is to be co-developed with the customer.

GSM/802.11b RadioFrame System Method of Procedure
Connecting to the Customer LAN
RadioFrame Networks, Inc. 71
6 Connecting the RFS to the Customer LAN
Once the RadioFrame System has been installed, commissioned, and all GSM
Acceptance Test and System Functionality procedures have been successfully
completed, the RFS can be connected to the Customer LAN. Once the LAN has been
physically connected, the RFS must be globally configured to support the LAN. Individual
iRAPs can also be configured, overriding certain global configuration options.
6.1 Connect the BCU to the Customer LAN
In an 802.11b/g installation, iRAPs are installed in each RFU supporting the WLAN. Once
the RFS has been physically connected to the LAN, use the System Manager to
configure the RFS to support the WLAN.
1
Connect the specified port on the front of the BCU (2 through 7) to the customer’s
local area network using an RJ45-to-RJ45 CAT-5 cable.
Figure 20 Connect the specified port on the front of the BCU (port 2 through 7) to
the customer’s LAN.

RadioFrame System Method of Procedure GSM/802.11b
Connecting to the Customer LAN
72 RadioFrame Networks, Inc.
6.2 802.11 Global Configuration
This section describes how to configure the RFS global (system-wide) 802.11
configuration settings using either MAC address access control or, if your system
includes a RADIUS server, using RADIUS security and accounting.
6.2.1 MAC Address Access Control
This section describes how to configure the RFS global, or system-wide, 802.11
configuration settings, including:
• Service Set identity (mandatory)
• WEP Encryption (optional)
• Enhanced Security (optional)
• User Access Control (optional)
• Add/Remove MAC Addresses (optional)
1
Start System Manager and log in to the RFS.
2
Select the System Configuration tab.
3
Select the 802.11 Global Configuration link under Other Configure Options.
The 802.11 Global Configuration page appears.

GSM/802.11b RadioFrame System Method of Procedure
Connecting to the Customer LAN
RadioFrame Networks, Inc. 73
4 Select the SSID link, and enter up to 32 alphanumeric characters to identify the
Service Set identity for the RFS, and then select Save Changes to save your
changes.
You must enter an SSID in order for the RFS to have 802.11 capabilities. Typically,
the SSID reflects the owner of the RFS. For more information, refer to section 6.2.2
Service Set identity (SSID).
5 Select the WEP Encryption link, and enter the following information, and then select
Save Changes to save your changes.
NOTE: RFN recommends that either WEP or WPA Encryption is enabled. If WEP
Encryption is used, you must also define the four WEP keys.
To enter a WEP Key, first select the radio button next to the text box of the WEP key
you want to enter or change. Enter each WEP key in hexadecimal format consisting
of five pairs of hex digits. Five pairs of hex digits form a
40-bit binary string, which is the standard length of a WEP key. Only one WEP Key
can be selected at a time (the radio button is selected). Then, choose one of the four
keys to be used for iRAP Identification (select the radio button of the key you want to
use).
For Shared Key Authentication, RFN recommends that you leave this option
disabled, that is, do not select the option.
Refer to section 6.2.3 WEP Encryption for more information on using WEP
Encryption settings.
6 Select the Enhanced Security link, select on or off, and then select Save Changes.
NOTE: RFN recommends that you select “On” to prevent iRAPs from broadcasting
their SSIDs.
For more information, refer to section 6.2.4 Enhanced Security for more information
on using this setting.
7 Select the User Access Control link, choose Expand All, and set the following
information.
For User Access Control, RFN recommends that you select “On” to control which
devices will have access to the customer LAN via the RFS. For more information,
refer to section 6.2.5 User Access Control for more information on using this setting.
For Add MAC Address, enter the MAC address of each device that will be
authorized to the use the customer LAN. You can enter MAC addresses one at a
time, or copy them from a database or other file (Add MAC Addresses from file).
You can also remove the entire list of MAC addresses (Remove All MAC
Addresses), or save the list of MAC addresses to a file (Save MAC Addresses to
File). For more information, refer to section 6.2.6 Add/Remove MAC Addresses for
more information on using these options.
6.2.2 Service Set identity (SSID)
The only mandatory RFS 802.11b/g configuration setting is the Service Set identity
(SSID). The SSID must be configured in all installations where 802.11b/g integrated
RadioFrame Access Points are installed. If the SSID is not configured, the 802.11b/g
capability will not be available.

RadioFrame System Method of Procedure GSM/802.11b
Connecting to the Customer LAN
74 RadioFrame Networks, Inc.
The SSID is necessary because, unlike wired LANs, a device that is part of an 802.11
LAN may be within radio range of multiple “groups” of 802.11 stations. In order to isolate
stations in one group from stations in another group, the SSID was created. It is an
802.11-only construct, which does not exist for any other type of LAN. The SSID
identifies a collection of 802.11 stations for the purpose of communication as a group.
The SSID is 1 to 32 characters in length. Typically, the SSID reflects the owner of the
RFS. This way, users can distinguish their LAN from any other 802.11 LAN that might
physically overlap their area.
For example, the SSID “Customer_Marketing” could provide the Marketing department
with its own distinct wireless LAN. Other departments, such as “Customer_Operations”,
might be in close proximity to the Marketing department. The staff in the two departments
would both have 802.11 access to the company LAN, but their access would be provided
via different iRAPs, based on which SSID they use.
6.2.3 WEP Encryption
The Wired Equivalent Privacy (WEP) encryption technology is defined in the IEEE 802.11
standard, and is intended to provide the same quality of privacy and access control for an
802.11 LAN as is provided for a wired LAN. That is, a WEP-protected 802.11 should be
no easier to infiltrate or eavesdrop than would be on a wired LAN.
Any LAN (wired or wireless) can be made more secure and private by applying additional
security measures (such as encryption, centralized strong authentication, firewalling,
etc.). The difference between a wired LAN and a wireless LAN, however, is that without
including encryption of user traffic and encryption-based access control, a wireless LAN
is inherently less secure than a wired LAN, all other things being equal.
6.2.3.1 Encryption (On/Off)
WEP encryption is enabled or disabled by selecting “On” or “Off,” respectively. When
“Off” is selected, all other items related to WEP encryption are disabled (WEP Keys and
Shared Key Authentication), and need not be configured. When “On” is selected, then the
WEP keys must be entered.
6.2.3.2 Shared Key Authentication
When Shared Key Authentication is enabled, or “checked,” the iRAPs will require client
devices (such as laptop computers) to prove their authenticity by answering a challenge
from the iRAP. This challenge (authentication protocol) can be answered correctly only if
the client device “knows” the WEP keys configured into this RFS.
NOTE: RFN does not recommend the use of Shared key authentication, because the
messages used to accomplish this authentication may provide information to
eavesdroppers as an aid in cracking the WEP encryption on future messages. The ability
to enable or disable Shared Key Authentication is provided mainly for compatibility
purposes. Some client adapters may require Shared Key Authentication whenever WEP
encryption is enabled. If this is not the case with the client adapters used in your location,
then it is best to leave this setting disabled. This does not compromise security, however,
because with WEP encryption enabled, the iRAP will not accept traffic from 802.11 client
devices unless the traffic is encrypted.

GSM/802.11b RadioFrame System Method of Procedure
Connecting to the Customer LAN
RadioFrame Networks, Inc. 75
6.2.3.3 WEP Keys
When WEP Encryption is enabled, you must enter values for the four WEP keys in order
for the RFS 802.11 implementation to function. WEP Keys are used to encrypt 802.11
traffic that is transmitted by a iRAP.
Each WEP Key has a radio button. When you select the radio button, you can enter,
change, or delete information for that key only. Each WEP key consists of five pairs of
hex digits forming a 40-bit binary string, which is the standard length of a WEP key.
Only one WEP Key can be selected at a time. The selected key is used to encrypt 802.11
traffic that is transmitted by a iRAP. However, any of the four keys may be used by client
devices for their transmissions. The determination of which key is used by a client device
is performed at the client device, usually in a manner similar to the way the iRAP is
configured.
6.2.4 Enhanced Security
Enhanced Security provides another layer of protection for the RFS 802.11
implementation. When enabled, or “On”, this setting prevents iRAPs from broadcasting
their SSID information. This helps to prevent unwanted users from accessing the
customer’s WLAN. When disabled, or “Off”, any system can ‘see’ the SSID of iRAPs in
the customer WLAN.
6.2.5 User Access Control
The RFS provides the ability to restrict access to the customer LAN to certain pre-
authorized devices. If a RADIUS Server is not available for user authentication, RFN
recommends setting the User Access Control option to “On” to provide a means to
identify those devices that are authorized to communicate over the customer’s LAN via
the RFS. When this option is disabled, set to “Off”, any client device may associate with
the RFS.
Devices are Identified by a number that is programmed into the 802.11b/g network
interface installed in the device. For instance, laptop PCs typically use a PCMCIA card
plugged into the laptop’s PCMCIA bay to access an 802.11 network. Every 802.11b/g
PCMCIA card comes from the manufacturer with a unique numeric identifier. No two
devices are ever manufactured with the same identifier.
In IEEE 802 networking terminology, this identifier serial number is the MAC address
(Media Access Control address), an addressing mechanism that is present in all types of
IEEE 802 LANs. The MAC address is typically represented as six sets of hexadecimal
(base 16) numbers, with two hexadecimal digits in each set. The following is an example
of how a MAC address may be written:
00:04:16:A3:29:B7
Authorized MAC addresses/devices are listed below the User Control option. To learn
how to add and remove MAC addresses, read the following section 6.2.5 Add/Remove
MAC Addresses. When you are done adding and removing MAC addresses, you’ll select
the Save Changes button under User Access Control.

RadioFrame System Method of Procedure GSM/802.11b
Connecting to the Customer LAN
76 RadioFrame Networks, Inc.
6.2.6 Add/Remove MAC Addresses
Start by collecting a list of MAC addresses for all user devices that will be authorized to
access the customer’s LAN via the RFS 802.11. It is best to keep a permanent list (on
paper, in a spreadsheet, or other computer storage) that includes each MAC address and
a description of the device, including the name of the person who owns the device, etc.
Also refer to section 6.4 Viewing WLAN User/iRAP Associations, later in this chapter.
6.2.6.1 Adding MAC Addresses
MAC addresses are added to the list of authorized client devices in one of two ways: one,
you can enter the addresses one at a time, or two, you can enter the MAC addresses into
a text file and “upload” this list into the MAC address database.
To add an individual MAC address, enter it in the box labeled Address. Enter each MAC
address in the format described above, that is, six pairs of hexadecimal digits (for
example 00:04:16:A3:29:B7). The alphabetic values of hexadecimal digits—
A,B,C,D,E,F—may be in either upper case or lower case. For Name, enter a meaningful
device name or identifier, or the name of the person who owns the device. For VLAN,
enter the VLAN desired for that user (typically the default VLAN configured for the BCU
network connection), and then select Add Address.
To add MAC addresses from a file, either enter the file name under Import/Export File
(including drive letter and full pathname), or select the Browse… button to locate the file.
Then, select Add. This appends the MAC addresses from the file to any other MAC
addresses already entered into System Manager. The file is transferred to the BCU using
anonymous FTP. An FTP server running on the host management terminal is required.
TIP The MAC address file is stored in comma-delimited format. The format is name,
MAC address, VLAN. Here is an example:
test_user, 00:11:22:33:44:55,2
6.2.6.2 Removing MAC Addresses
To remove a MAC address, select the delete option listed next to the MAC address you
wish to remove.
To remove all MAC addresses, select the Remove All MAC Addresses button under
Remove All.
6.2.7 Network Security & Accounting
In a typical enterprise network, WEP encryption and MAC address authentication do not
provide the level of security that most users require. To help protect these networks, the
RadioFrame System offers both Wi-Fi Protected Access Support and 802.1x
authentication with dynamic WEP keys.
Wi-Fi Protected Access (WPA) provides security through data encryption and user
authentication. In order to overcome the limitations of WEP, WPA uses a Temporal Key
Integrity Protocol (TKIP) for data encryption. This provides per-packet key mixing, a
message integrity check (MIC), an extended initialization vector (IV) with sequencing
rules, and a re-keying mechanism.

GSM/802.11b RadioFrame System Method of Procedure
Connecting to the Customer LAN
RadioFrame Networks, Inc. 77
WPA offers strong user authentication through 802.1X and the Extensible Authentication
Protocol (EAP). EAP uses a RADIUS server to authenticate each user on the network
before they join it, and also employs "mutual authentication" so that the wireless user
does not accidentally join a rogue network that might steal its network credentials. If the
network is not using a RADIUS server or EAP, WPA may use a Pre-Shared Key (PSK).
With PSK, the client and access point use the same key to establish an association.
Once this key is verified, WPA then encrypts frames using TKIP to provide improved
security.
The RadioFrame System can also be configured to use 802.1x for authentication and key
management if TKIP is not supported by the WLAN clients. In this scenario, 802.1x is still
used for authentication however WEP is used for data encryption.
When an unauthenticated supplicant (wireless client) attempts to connect to an
authenticator (the iRAP), the iRAP responds by enabling a port for passing only EAP
packets from the client to the RADIUS server connected to the RFS. These EAP packets
are encrypted using a unique session key. The iRAP blocks all other traffic until the
RADIUS server indicates it has verified the client's identity. The iRAP then opens the
client's port for other types of traffic. The iRAP may then use the session key to derive a
unique WEP key for encrypting data between the client and the iRAP. These keys are
passed to the client in an EAP key message.
If your network includes a RADIUS (Remote Authentication Dial-In User Service) server
for authentication, you can also enable accounting on the RFS to send network
accounting information about wireless client devices to the RADIUS server.
Accounting information includes statistics about the data transmitted and received by the
iRAP, including account session ID, user name, client IP address, bytes received,
number of packets, and a timestamp. Enable accounting on the iRAPs to send network
accounting information about wireless client devices to a RADIUS server on your
network. (See the RADIUS server documentation for instructions on retrieving accounting
data.)
1 Start System Manager and log in to the RFS.
2 Select the System Configuration tab.
3 Select the 802.11 Global Configuration link under Other Configure Options.
The 802.11 Global Configuration page appears.

RadioFrame System Method of Procedure GSM/802.11b
Connecting to the Customer LAN
78 RadioFrame Networks, Inc.
4 Select Network Security.
The WLAN Network Security & Accounting page appears. Settings are divided into
two parts: security and accounting.
5 For Authentication in the Network Security section, choose from Disabled, 802.1x,
WPA, or WPA-PSK.

GSM/802.11b RadioFrame System Method of Procedure
Connecting to the Customer LAN
RadioFrame Networks, Inc. 79
If WPA-PSK is enabled, enter the pre-shared key in the PSK Password box. This
password must also be given to the WLAN client as described in the WLAN client’s
documentation. Setup is now complete.
If WPA or 802.1x is enabled, configure the RADIUS server as described below.
6 For Reauthentication Period, enter the amount of time before reauthentication is
forced. Note, that if the value for the System Manager differs from the value set for
the RADIUS server, the System Manager is given priority.
7 For Server Name/IP, enter the name or IP address of the RADIUS server on the
network.
Configure up to three servers for authentication services, so the network can have
backup authenticators. If you set up more than one server for the same service, the
first server in the list will be the primary server for that service, and the others are
used in the order listed when the previous server times out.
NOTE: You cannot change the Server Type (RADIUS).
8 For Port, enter the port number the RADIUS server uses for authentication.
The default setting, 1812, is the port setting for Microsoft's RADIUS server.
9 For Shared Secret, enter the shared secret used by your RADIUS server.
The shared secret on the iRAPs must match the shared secret on the RADIUS
server.
10 For Timeout, enter the number of seconds the iRAPs should wait before
authentication fails. If the server does not respond within this time, the iRAP tries to
contact the next authentication server in the list, if one is specified. Other backup
servers are used in the order listed when the previous server times out.
11 Repeat Steps 7 through 10 for each RADIUS server in the network.
12 Select the Submit button to save your changes.
13 For Accounting: select enabled to turn on accounting for your wireless network.
14 For Update Interval, enter the number of minutes between accounting update
messages that the iRAP sends for each associated client device.
15 For Server Name/IP, enter the name or IP address of the server to which the iRAPs
send accounting data.
16 For Port, enter the communication port used by the iRAP and the server.
The default setting, 1813, is the correct setting for the RadioFrame System and the
iRAPs.
17 For Timeout, enter the number of seconds the iRAPs should wait for the server to
respond. If the server does not respond within this time, the iRAP tries to contact the
next accounting server in the list if one is specified. The iRAP uses backup servers in
list order when the previous server times out.
18 Repeat Steps 15 through 17 for each RADIUS server in the network that will receive
accounting information.
19 Select the Submit button to save your changes.

RadioFrame System Method of Procedure GSM/802.11b
Connecting to the Customer LAN
80 RadioFrame Networks, Inc.
6.3 Configuring an Individual iRAP
The integrated RadioFrame Access Point (iRAP) provides the 802.11b/g wireless
interface between the RFS and the corporate local area network (LAN). Typically, all
iRAPs in the RFS are configured at one time using the 802.11 Global Configuration
options. These global settings can be overridden by changing configuration information
for individual iRAPs. Individual iRAPs can also be isolated from further global changes as
well.
NOTE: WEP Encryption and Enhanced Security settings override global 802.11 settings.
Typically, changing these settings is done to isolate the iRAP for testing.
1
Using the System Configuration tab, drill down to the RFU that contains the iRAP(s)
you want to configure, and then select the iRAP icon to display its configuration page.
2
For SSID, either leave the globally configured SSID name as it is, or enter up to 31
alphanumeric characters to change it.
The SSID you enter must be a valid SSID that is recognized by System Manager.
3
For Channel, type 1, 6, or 11 to specify the channel to be used by the iRAP.
At the time of shipment, all iRAPs are set to Channel 6 by default. Channel numbers
can only be changed at the iRAP level—channels cannot be changed using global
settings. If a 3-channel frequency plan is implemented, RFN recommends using
channels 1, 6, and 11 (in countries where these channels are permitted).
4
Select ‘Save Changes’ to save the SSID and Channel settings.

GSM/802.11b RadioFrame System Method of Procedure
Connecting to the Customer LAN
RadioFrame Networks, Inc. 81
5 When WEP Encryption is disabled or “Off”, all other items related to WEP encryption
are disabled (WEP Keys and Shared Key Authentication). When “On”, a WEP Key
other than the globally configured WEP key can be selected. Also, Shared Key
Authentication can be enabled or disabled, “checked” or “unchecked” respectively.
For more information about Shared Key Authentication, refer to section 6.2.3.2
Shared Key Authentication.
RFN recommends that iRAP WEP Encryption settings be set globally rather than
individually.
iRAP WEP Encryption changes remain until changes are made to the global 802.11
settings.
6 Statistics lists information about the functioning of the iRAP, including:
Statistic Description
Transmitted Frames Number of frames transmitted by the iRAP
Received Frames Number of frames received by the iRAP
FCS Errors Number of FCS errors
WEP Undecryptable Frames Number of frames that could not be unencrypted
Transmit Failed Number of failed transmissions
Multiple Retries Number of retries attempted
IP Address IP address of the iRAP
MAC Address MAC address of the iRAP
7 For Enhanced Security, select either “On” or “Off”, and then select Save Changes.
6.4 Viewing WLAN User/iRAP Associations
To view clients and their associated iRAP(s), select the Active MAC addresses link on the
802.11 Global Configuration page. For each iRAP, the Active MAC Addresses page lists
each user associated with the iRAP, including the user name (Description) and the IP
address of the workstation or piece of equipment. Information is sorted by the iRAP IP
address.

RadioFrame System Method of Procedure GSM/802.11b
Connecting to the Customer LAN
82 RadioFrame Networks, Inc.
To view the number of users supported by each iRAP, select the Active DataHosts and
Associations link at the top of the 802.11 Global Configuration page. The Active
DataHosts page identifies the location of each iRAP by RFU and ACU, and displays the
number of users associated to the iRAP. You can view the configuration for each iRAP,
RFU or ACU by selecting the link for that component. This information can be used to
analyze the load distribution in the WLAN RadioFrame system.

GSM/802.11b RadioFrame System Method of Procedure
Connecting to the Customer LAN
RadioFrame Networks, Inc. 83
6.5 Verifying the Wireless LAN (802.11b) Installation
Verifying the LAN installation requires a laptop that has 802.11b/g internally or a client
card that plugs into the PCMCIA port.
1
Associate with a iRAP in the RFS by matching the SSID on the client (laptop) and the
SSID that is configured in the System Manager.
2
Setup a static address on the client to communicate with the RFS (refer to Appendix
D for a list of default IP addresses for the RFS).
3
Once associated, open a command window and ping the BLIC IP addresses to
confirm that the client is properly associated with the iRAP (this also confirms
connectivity up to the BLIC).
4
Once associated, navigate to a few Internet addresses. This requires that the
Administrator correctly configure their network for this navigation.

RadioFrame System Method of Procedure GSM/802.11b
Operations and Maintenance
84 RadioFrame Networks, Inc.
7 Operations and Maintenance
A report of the RFS GSM/802.11 site should be maintained and left on site. This report
will provide metrics for possible concerns with individual components of the entire
system.
It is important that the technician performing the checks understand the equipment theory
and operation. Review the documentation (references) prior to verification and performing
service.
This chapter contains procedures for the following:
• Upgrading System Software
• Preventive maintenance
• Corrective maintenance
• Field replaceable units (FRUs)
• Alarm resolution procedures,
• Repair and technical support
7.1 Upgrading System Software
The RadioFrame System is shipped with the latest software and hardware installed. With
each new software release, RFN provides its customers with the new software (this
software can also be downloaded from the RFN FTP site) and upgrade instructions for
that release in the Customer Release Notes. The instructions describe how to upgrade to
the latest software from any prior version. To upgrade hardware, refer to section 7.4 Field
Replaceable Units—RadioFrame System.
Periodically RadioFrame System software will be updated. You can opt to upgrade your
RFS software at that time, or wait until another time. You can also revert to the previous
version of System Manager software at any time. This section includes the following
procedures:
• Downloading System Manager software updates
• Downloading other RFS applications (GSM and WLAN)
• Verifying the software downloads
• Resetting the system to install the software updates
• Reverting to the previous version of System Manager software
7.1.1 Download the System Manager software update
1
Connect to the RFS and run the FTP server software (for instructions, refer to
Appendix E “Connecting to the RFS”.
2
Open System Manager, and display the BCU System Configuration page.

GSM/802.11b RadioFrame System Method of Procedure
Operations and Maintenance
RadioFrame Networks, Inc. 85
1 Select the Software Download & System Reset link located under ‘Other
Configuration Options’ to display the Software Configuration page.
2 Select the textbox for Download to Version A or Download to Version B.
RFN highly recommends that you select the ‘Download to Version X’ that is not
selected in the System Reset section. In this example, Version B is selected under
System Reset. Therefore, you would choose the ‘Download to Version A’ textbox.
3 Select the Browse button and locate the file platform_download.txt.
4 Select the Download to Version (A or B) button to start the platform software
download.
Wait for the download to complete successfully, which may take several minutes.
7.1.2 Download other RFS applications (GSM and WLAN)
1
To download a GSM software update, browse in the Download to Version (A or B)
text box (the same one used to download the platform software) to locate the file:
\gsm\loads\gsm_download.txt.
2
Select the Download to Version (A or B) button to download the GSM upgrade file.
Wait for the download to complete successfully.
3
To download a WLAN software update, browse in Download to Version (A or B) text
box to locate the file: \wlan\loads\wlan_download.txt (complete this step only if
there are 802.11b/g datahosts (RAPs) present in the system).
4
Select the Download to Version (A or B) button to download the WLAN file.
Wait for the download to complete successfully.
7.1.3 Verify the Software Downloads
1
Select the Software Version Information link on the Software Configuration page to
display the Software Version information page.
2
Review the SW Versions A and SW Versions B for the RFS to make sure the latest
software is loaded.
3
Verify that the SW Selected and SW Loaded for each component in the RFS is
correct.
7.1.4 Reset the system
1
Display the Software Configuration page.
2
Under System Reset, select the Version A or Version B radio button (use the same
version that was used to download the software; in this example, Version A).
3
Select the Reset System button to cause a system reset.

RadioFrame System Method of Procedure GSM/802.11b
Operations and Maintenance
86 RadioFrame Networks, Inc.
CAUTION!!! Do not interrupt the reset in any way…do not power cycle any
equipment. The reset may take more than an hour to complete. Do not interrupt the
reset!
Wait for the system to come back, and then refresh the page or reopen the web
browser to force the page to update.
7.1.5 Reverting to the previous version of System Manager
software
Revert to a previous version of system software only if the upgrade fails.
1
Display the BCU Configuration page and select the Software Download & System
Reset link under ‘Other Configuration Options’.
2
Under System Reset, select the radio button that is not currently selected to revert to
the previously loaded version of RFS software.
3
Select the Reset System button.
This reboot will take several minutes to complete. Wait for the system to come back,
and then refresh the page or reopen the web browser to force the page to update.
7.2 Preventive Maintenance
Conduct the following semi-annual maintenance:
• Visually inspect all RFS components for loose or foreign items and for visible
damage.
• Confirm that each component is receiving power (refer to the troubleshooting tables
listed in 7.3 Corrective Maintenance, next in this chapter).
• Verify that all RFS components are operational (refer to section 5.1).
• Verify coverage validation by conducting spot tests described in section 5.4
Coverage Validation.
• Verify GSM functionality by conducting spot tests using the procedures described in
section 5.6 RFS Functionality Test.
7.3 Corrective Maintenance
The fault indications Identified in this section provide a guide for isolating failures to a
Field Replaceable Unit (FRU). The service technician should perform troubleshooting
whenever a failure occurs during normal operation.
Some indications list several possible failures along with corresponding corrective
actions. If a failure is isolated to the FRU level, the suspected component should be
replaced with a new one. This restores the system to normal operation as quickly as
possible. For more information, refer to section 1.3 Repair and Technical Support.
RadioFrame Networks equipment and components are not field repairable. Do not
attempt to repair RFN equipment and components in the field. RFN components are

GSM/802.11b RadioFrame System Method of Procedure
Operations and Maintenance
RadioFrame Networks, Inc. 87
individually tested prior to shipment. Should a failure occur replacement boards must be
inserted and the RFS re-booted.
This section describes troubleshooting information for each component of the
RadioFrame System: BCU, ACU, and RFU. If the provided solutions do not resolve the
problem, refer to the Field Guide to the RadioFrame System for further troubleshooting
information. If none of the provided solutions resolve the problem, contact the Customer
Assistance Center (TAC) at (800) 328-0847.
7.3.1.1 Base Chassis Unit
BLIC front ports Description
Port 1 (RJ45) Not currently used
Port 2-7 (RJ45) Ethernet LAN
Ports 8 (RJ45) for maintenance—Customer Service use only
EIA-232 9-pin serial port for maintenance—Customer Service use only
BLIC back ports
Ports 1-8 (RJ45) ACUs—up to 8 ACUs may be connected to the BCU
5MHz/1PPs IN Not currently used
5MHz/1PPs OUT Not currently used
GPS ANT Not currently used
DLC back ports
Port 1 (RJ45) T1/E1
Each card installed in the front and back of the BCU has two LEDs: Power (top) indicates
power, and Status (lower) indicates the status of the card. Each RJ45 port has two LEDs:
Link (right) indicates Ethernet connectivity, and Activity (left) blinks to indicate Ethernet
activity. All LEDs should light as green. For all other conditions, refer to the following
table.

RadioFrame System Method of Procedure GSM/802.11b
Operations and Maintenance
88 RadioFrame Networks, Inc.
Indication Possible failure Corrective action
Power and Status LEDs
for cards installed in
front or back of BCU are
not lit
no power to BCU Verify that the power cord is
installed and properly seated.
Verify that the power source is
operational (120VAC or
–48VDC).
Contact Customer Support.
Status LED is red—top
front card only
timing source not
available
Connect the timing source.
Check all connections.
failed initialization
Reboot the system: unplug the
BCU, and plug it in again. Boot
up may take several minutes.
fan is not working Verify that the fan is operational.
If the fan is not working, unplug
the BCU and contact Customer
Support.
Status LED is red—any
card
card is not operational Remove and reseat card.
Contact Customer Support.
RJ45 port Link and
Activity LEDs are not lit,
or the Activity LED is not
blinking
connection is not being
made between RFS
components
For the affected port, verify that
all cabling between components
is properly connected.

GSM/802.11b RadioFrame System Method of Procedure
Operations and Maintenance
RadioFrame Networks, Inc. 89
7.3.1.2 Airlink Chassis Unit
ACU front ports Description
RJ45 Port 1 BCU—connects the ACU to the BCU
RJ45 Ports 2-8 not currently used
EIA-232 9-pin serial port for maintenance—Customer Service use only
ACU back ports
Ports 1-8 (RJ45) RFUs—up to 8 RFUs may be connected to the ACU
5MHz/1PPs IN not currently used
5MHz/1PPs OUT not currently used
GPS ANT not currently used
Each card installed in the front and back of the ACU has two LEDs: Power (top) indicates
power, and Status (lower) indicates the status of the card. Each RJ45 port has two LEDs:
Link (right) indicates Ethernet connectivity, and Activity (left) blinks to indicate Ethernet
activity. All LEDs should light as green. For all other conditions, refer to the following
table.
Indication Possible failure Corrective action
Power or Status LEDs
for cards installed in
front or back of ACU are
not lit
no power to ACU Verify that the power cord is
installed and properly seated.
Verify that the power source is
operational (120VAC or
–48VDC).
Contact Customer Support.
Status LED is red—top
front card only
timing source not
available
Connect the timing source. In
some cases.
Check all connections.
Status LED is red—any
card
card is not operational Remove and reseat card.
Contact Customer Support.
failed initialization
Reboot the system: unplug the

RadioFrame System Method of Procedure GSM/802.11b
Operations and Maintenance
90 RadioFrame Networks, Inc.
Indication Possible failure Corrective action
ACU, and plug it in again. Boot
up may take several minutes.
fan is not working Verify that the fan is
operational.
If the fan is not working, unplug
the ACU and contact Customer
Support.
RJ45 port Link and
Activity LEDs are not lit,
or the Activity LED is not
blinking
connection is not being
made between RFS
components
For the affected port, verify that
all cabling between
components is properly
connected.
7.3.1.3 RadioFrame Unit
During installation, ensure that the RFU is receiving power and connectivity from the ACU
before inserting RadioBlades into the RFU or placing the front cover on the RFU.
Warning!
Do not remove the protective cover from or insert a connector into the AUX port. This will
cause damage to the RFU, the ACU, or both.
The MAIN RJ45 port has two LEDs: Link (right) indicates Ethernet connectivity, and
Activity (left) blinks to indicate Ethernet activity between the RFU and the ACU. For all
other conditions, refer to the following table.
Indication Possible failure Corrective action
MAIN Port LEDs do not
light
connection is not being
made between the RFU
and the ACU
Verify that all cabling between
the ACU and the RFU is
properly connected.
Verify that the ACU is powered
on.
Contact Customer Support.

GSM/802.11b RadioFrame System Method of Procedure
Operations and Maintenance
RadioFrame Networks, Inc. 91
7.4 Field Replaceable Units
In the case of chassis units, replacement boards must be inserted and the RFS re-
booted.
1
Always use a static grounding wrist strap before handling any board—do not attach
the wrist strap to any painted surface on the chassis unit.
Note
It is not necessary to unplug the BCU or the ACU prior to removing or
inserting a board.
2 Facing the chassis unit, remove the card that is to be replaced, or the blank
faceplate, following these guidelines:
· Loosen the blue knurled knobs on both sides of the board.
· Pull firmly to unseat the board from the connectors inside the chassis unit.
· Gently slide the board straight out and away from the chassis unit so as not to
damage any components contained on the board.
3 Remove the new board from its antistatic packaging and insert it into the chassis unit
as shown in the following illustration, and follow these guidelines:
· Do not jam the board in any way while inserting it.
· Do not mount the board in any orientation other than that specified in the
diagram.
· Insert the board straight into the chassis unit so as not to damage any
components contained on the board.
· Press firmly to seat the board into the connectors within the chassis unit.
· Tighten the blue knurled knobs on each end of the board finger tight only—do not
use a screwdriver to tighten the screws and do not over tighten.
Figure 21 Replacing a board in a BCU or an ACU.

RadioFrame System Method of Procedure GSM/802.11b
Operations and Maintenance
92 RadioFrame Networks, Inc.
4 Place the old board in the antistatic packaging for shipment.
5 Restart the RadioFrame System.
Select the Software Download & System Reset link located at the bottom of the BCU
configuration page, and select the “Reset System” button to cause a system reset.
The reboot may take several minutes to complete.
7.5 Alarm Resolution Procedures
The RFS provides fault alarming and isolation within System Manager for individual
components, which consists of detecting catastrophic faults that prevent an RFS
component from responding to a periodic “ping”.
This section describes:
• How to view alarms in System Manger, and
• System Manager alarms and resolution procedures.
7.5.1 Viewing System Manager Alarms
System Manager displays system-related errors.
1
To view alarms and other system-related errors in System Manager, select the
Alarms tab.
The Alarms Log displays RFS alarms, listed by Time of occurrence (including the
date), in a sequence of 400 alarms at a time—No. (see the following illustration).
Approximately 25 alarms are visible at any one time. At the bottom of the page, you
can see which alarms are currently displayed, in this case, 99 through 118 of 118
alarms.
NOTE: If the Alarms page is empty, System Manager is still loading the page.
2
To display alarms that have scrolled out of view, select first, prev, next, last or all at
the bottom of the alarm page, then enter a value in the Show text box and press
enter.
For example, to view the first 20 alarms, click first and type 20 in the text box, then
press Enter. To return to the bottom of the list of alarms, select last and type a value
in the text box.
For each Alarm, System Manager displays the alarm description and whether the alarm
is new (Set) or has been cleared (Clear). The same alarm will continue to be listed as a
set alarm until it has been cleared. If an alarm is not cleared, it will be sent to the OMC
(see “System Manager Alarm Descriptions” later in this section). Other alarms might
occur before an alarm clears, so the ‘set’ and ‘clear’ for the same alarm do not
necessarily appear in sequence.
The Alarm Tag uniquely identifies each alarm using either the actual IP address or hex
digits to represent the IP address of the affected component. In the latter case, the last
four digits of the alarm tag represent the last two sets of digits of the IP address of the

GSM/802.11b RadioFrame System Method of Procedure
Operations and Maintenance
RadioFrame Networks, Inc. 93
Figure 22 Alarms are listed up to 400 at time and continue to scroll as events
occur.
component. For example, 0xc0a80679 represents xxx.xxx.06.121. The IP address of the
board generating the alarm is shown under SrcAddress, or ‘source address’.
Board Type identifies which board within a chassis unit is affected (APC, CRIC, etc.).
For these alarms, select Click for chassis link to display the page for that component.
NOTE: When troubleshooting alarms that require assistance from RadioFrame
Networks, you’ll need to provide the data displayed in the Alarm Data and DbgFlgs
fields.
7.5.2 System Manager Alarms
The table below describes all System Manager alarms, and what action is required, if
any, to resolve the problem.
System Manager Alarm Description Action
ALARMS CLEARED Alarm Manager was cleared using the
Clear Alarms button.
No action required.
APC NO SPAM There are more BRs than the current
SPAM resources can support.
Add more SPAMs as required.

RadioFrame System Method of Procedure GSM/802.11b
Operations and Maintenance
94 RadioFrame Networks, Inc.
System Manager Alarm Description Action
COMMANDED RESET System Reset was initiated via
System Manager.
Causes a system reset.
COVERAGE HOLE One BR in a sector has fewer RBs
than other BRs in that sector.
The BR that is short of RadioBlades
has locked.
DHRB RESET A problem in the iRAP has caused it
to reset.
No action required.
DHRB TASK EXCEP Task Exceptions has occurred for
some task on the iRAP.
iRAP resets.
No action required.
DSP 1180 FLOOD The RB 1180 DSP address is
flooding all ports.
Sends a Stop Tx command to the RB
and causes a system reset.
DSP HPI ERROR Problem in accessing HPI interface
for a DSP.
If errors go beyond a threshold,
SPAM is reset.
DSP LOAD ERROR DSP software not found.
DSP was not initialized.
Check the ffs files etc.
DSP LOST PDU DSP is not sending any PDUs to the
APC.
The CPU received fewer than
threshold PDUs within a fixed period
from the DSP.
SPAM is reset.
DSP TX IQ FAIL DSP Tx counter is not incrementing
as per expectations, implying that
DSP has stopped transmitting.
SPAM is reset.
DSP TX NULL PDU DSP is transmitting too many NULL
packets because it didn’t receive
PDUs from CPU.
SPAM is reset.
EXC DSP RESET DSP SPAM has been reset more
than four times within the last 20
minutes.
Causes a system reset.
EXT BR RESET BR received a reset command from
the iSC.
Event logged to indicate that BRs
went down on iSC request.
FAN1 ALARM Chassis FAN1 is malfunctioning. Check chassis fans for proper
ti

GSM/802.11b RadioFrame System Method of Procedure
Operations and Maintenance
RadioFrame Networks, Inc. 95
System Manager Alarm Description Action
operation.
FAN2 ALARM Chassis FAN2 is malfunctioning. Check chassis fans for proper
operation.
FFS PARTITION Board booted from wrong partition.
May indicate problem with the files on
boot partition.
Verify software versions for each
partition in System Manager.
GSMRB LOSS Communication with the GSM
RadioBlade has been lost.
The corresponding BR is locked and
all associated RBs have stopped.
LAPD LINK FAIL The LAPD connection between the
BR and the iSC has been lost.
The BR will try to re-establish the
LAPD and sends a state change trap
to iSC.
Check the iSC connection.
LOST RFU All the GSM RBs and Datahosts in an
RFU have been lost.
Check the RFU connections, etc.
NET POOL ERROR The free Mblock cluster has gone
below 40 on a BPC or APC, the
threshold for
APC_NETPOOL_LOWMARK or
NPC_NETPOOL_LOWMARK.
Causes a system reset.
OVERTEMP A chassis has overheated. Check the chassis for proper
operation.
PEER LOSS Communication with a board has
been lost.
RIC has detected a PEER LOSS from
the BLIC.
Causes a system reset, unless the
cause is a iRAP, which self resets.
Check board connections. If frequent,
capture alarms and serial logs and
submit to RFN.
PLL LOCK A RIC or BLIC PLL went out of lock.
The BLIC locks and de-key all BRs,
and then sends a state change trap to
the iSC.
ROM MISMATCH Board boot version is not the same as
the BLIC.
SPAM FAILED Lost DSP PDUs have exceeded
threshold.
SPAM is reset.
SW VER MISMATCH Board software version is not the
same as the BLIC.
SYSTEM RESET Alarms that result in a system reset
cause this alarm, except for the BLIC.
All BRs and boards are locked and
reset except the BLIC.

RadioFrame System Method of Procedure GSM/802.11b
Operations and Maintenance
96 RadioFrame Networks, Inc.
System Manager Alarm Description Action
TASK STARVATION A task is using all the CPU time and
starving other tasks.
Prints a list of ready task and causes
a system reset (unless it’s a DHRB,
which resets itself).
Check board for Flash corruption or
other malfunctions at startup. Capture
alarms and serial logs and submit to
RFN.
TASK SUSPEND A task got suspended on a board.
Board is reset (unless source is
BLIC).
Check board connections. Capture
RAM and serial logs, and submit to
RFN.

GSM/802.11b RadioFrame System Method of Procedure
Appendix A: Glossary
RadioFrame Networks, Inc. 97
Appendix A Glossary
Acronym Term Description
10BaseT
10BaseT is the most common form of Ethernet cabling. The
cable is thinner and more flexible than the coaxial cable used
for the 10Base2 standard. 10BaseT is also known as
unshielded twisted-pair (UTP). 10BaseT cables support
speeds up to 10 Mbps. The maximum distance per segment is
500 meters.
ACU Airlink Chassis Unit The central baseband processing unit for the RFS. Rx/Tx
airlink traffic to/from RFUs.
APC Airlink Processing Card Interface to the RIC for the control of RFU components and the
transfer of voice I/Q samples to/from RFUs.
BCU Base Chassis Unit
The central network processing unit for the RFS. Also central
management entity for managing configuration and User
Information.
BLIC RadioFrame LAN
Interface Card
Provide the Ethernet switch fabric to route packets to/from
ACUs. Also hosts a micro-P serving as primary controller of
BPCs.
BPC Baseband Processing
Cards
Interface to the BLIC for the bi-directional transfer of voice I
and Q samples to/from RFUs.
CRIC Common RadioFrame
Interface Card
When a CRIC is installed in a chassis unit, it looks to see if
there is a PERTM. If there is a PERTM, the CRIC acts as a
RIC (see RIC). If there is not a PERTM, the CRIC acts as an
BLIC (see BLIC).
CSU Channel Service Unit The CSU provides the T-1 connection between the RFS and
the telephone company that provides the T-1 line.
DLC Digital Line Card
EIA Electronic Industries
Alliance
The EIA organization establishes electronic interface
standards.
EAS Environmental Alarm
System
The EAS provides a central location for site alarm signal
processing. The EAS monitors environmental conditions of the
site, including power, smoke alarms, and intrusion alarms.
ERTM Ethernet Rear Transition
Module Located in the BCU, provides clock and data to the ACU.
ESD Electrostatic Discharge
The dissipation of electricity, commonly known as a shock.
ESD can destroy semiconductor products, even when the
discharge is too small to be felt.
FRU Field Replaceable Unit
Any unit (module, board, or card) that can be “hot-swapped”,
that is, replaced with another unit while the power is connected
to the item housing the unit.
GSM Global System for
Mobile Communications
PERTM Powered Ethernet Rear
Transition Module
Located in the ACU, provides power, clock, and data to the
RFUs.
RB RadioBlade Provides the airlink interface for the GSM standard.
RFN RadioFrame Networks Equipment designer and manufacturer of RFS equipment.

RadioFrame System Method of Procedure GSM/802.11b
Appendix A: Glossary
98 RadioFrame Networks, Inc.
Acronym Term Description
RFS RadioFrame System
Digital Communication System for indoor wireless device
users. The RFS consists of several components: BCU, ACU,
RFUs and GSM RadioBlades.
RFU RadioFrame Unit RF front end for each of the implemented air interface to the
User equipment and connects to ACU on the other end.
RFU BP RadioFrame Unit - Back
Plane
Facilitates High speed intermodule communication between
RFU components and between RFU and ACU.
RIC RadioFrame Interface
Card
Provide the Ethernet switch fabric to route packets to/from
ACUs, RFUs and external IP networks. Also will host a micro-P
(MPC-8240) as primary controller to APCs.
RSSI Received Signal
Strength Indication Strength of the received call signal, in dBm.
SELV Safety Extra-Low
Voltage
A secondary electrical circuit designed so that under normal
and signal fault conditions, its voltages do not exceed a safe-
value.
SPAM Signal Processing Array
Module
A connectorized card which plugs into an APC or BPC and
provides the digital signal processing resources.
SQE Signal Quality Estimate An estimate of signal quality, based on the received signal
strength and quality.
T1/E1 Digital Transmission
Rate 1
A North American leased-line connection capable of carrying
1.544 megabits of data per second (Mbps). T-1 lines are
commonly used to connect networks, ISPs and others to the
Internet.
An E-1 line is the European equivalent to the North American
T-1. However, an E-1 line carries information at the rate of
2.048 Mbps instead of the 1.544 Mbps of a T-1.
T568B
Wiring standard for RadioFrame System CAT-5 cables.
Denotes a specific order of the CAT-5 wires leading into the
RJ-45 connector.

GSM/802.11b/g RadioFrame System Method of Procedure
Appendix B: Site Survey
RadioFrame Networks, Inc. 99
Appendix B Site Survey

RadioFrame System Method of Procedure GSM/802.11b
Appendix B: Site Survey
100 RadioFrame Networks, Inc.
Site Survey
REV A
Carrier Date
Customer Project #
Site Location RFN Project Engineer
Present for Site Survey Name Email Phone
Carrier representative
Customer representative
Building/Site Manager
Installation vendor
RFN Engineer
RFN Project Manager
Other
Customer Expectations
Who will provide RF measurements?
Who will install the RFS?
Who will commission the installation?
Will the RFS be shipped directly to the site or staged?
Will the RFS be assembled and tested at the customer site?
Digital photos permitted during the site survey?
© Copyright 2004 RadioFrame Networks, Inc. All rights reserved.

GSM/802.11b RadioFrame System Method of Procedure
Appendix B: Site Survey
RadioFrame Networks, Inc. 101
Customer Expectations (continued)
Troubleshooting expectations?
Other
RF Planning
Which and how many channels will be provided for indoor use?
Coverage requirements (see RF Measurements below)
Vertical coverage required?
Site WLAN
How/where does the RFS connect to the wireless LAN?
WLAN configuration?
Authentication requirements?
Encryption requirements?
Static/administration of IP?
24 X 7 point of contact
RFS Equipment Requirements
Wall mount or ceiling mount of RFUs preferred?
BCU
BCU location
Power requirements
4U 19” rack space available per BCU?
BSC to T1/E1 connectivity?
© Copyright 2004 RadioFrame Networks, Inc. All rights reserved.

RadioFrame System Method of Procedure GSM/802.11b
Appendix B: Site Survey
102 RadioFrame Networks, Inc.
RFS Equipment Requirements (continued)
ACU
ACU location
Power requirements
4U 19” rack space available per ACU?
Cable run distance from BCU
RFU
Wall mount?
Above ceiling panels available? If so, which floors?
Power Requirements
120VAC or –48VDC available?
UPS required?
Installation Requirements
Cable and Path Requirements
Plenum rated cable required?
Innerduct required?
Conduit required?
Existing vertical access between floors?
Space available for additional new cable in existing stubs and/or conduit?
Core drill required?
Dedicated CAT-5 (or higher) available?
Ceiling Type

GSM/802.11b RadioFrame System Method of Procedure
Appendix B: Site Survey
RadioFrame Networks, Inc. 103
Installation Requirements (continued)
Open
Suspended
Acoustical tile
Hard plaster
Metal
Other
Ceiling Height
Standard
Other
Wall Type
Standard drywall construction
Cement/brick
Metal
Other
Firewall
Load bearing
Other RF Barriers
identify RF blocking areas, items and locations
Local Issues
Union(s) required (identify)?
Local code requirements?
Building management standards?

RadioFrame System Method of Procedure GSM/802.11b
Appendix B: Site Survey
104 RadioFrame Networks, Inc.
Installation Requirements (continued)
Permits required?
Other
Access
When can work be conducted (regular hours, after hours, weekends)?
Special scheduling requirements
Point of contact
Access (continued)
Escort required
Between Buildings Only
Space available to mount hubs in 19” racks (fiber solution only)?
New rack space location Identified?
identify all Telecom closets for remote fiber units
Other Requirements/Comments
© Copyright 2004 RadioFrame Networks, Inc. All rights reserved.

GSM/802.11b RadioFrame System Method of Procedure
Appendix C: BCU and ACU Main Rack Installation
RadioFrame Networks, Inc. 105
Appendix C BCU and ACU Main Rack Installation
This section includes procedures for:
• Mounting the BCU in the a rack
• Mounting the ACU in the rack
• Connecting the BCU to the ACUs
Mount the BCU in a Rack
The BCU is the main controller of the RadioFrame System. The BCU is mounted in a
rack supplied with –48VDC power.
1
Find these items in the BCU shipping container: one BCU, four mounting screws, and
one set of product documentation.
2
Mount the BCU only in an EIA-standard compliant (19”) rack using all 4 screws
provided. Refer to the site documentation for the exact location of the BCU. For safe
operation, follow these guidelines:
• Do not mount the BCU in any orientation other than that specified in the following
illustration.
• Mount the BCU so that both the front and the back are accessible.
• If the mounting holes do not line up, adjust the BCU up or down until the mounting
holes line up.
•
Caution
Do not block the air vents on the sides or rear of the BCU.
3
Plug the BCU into main rack power source (rectifier or PDU).
4
Verify that the BCU is receiving power and that each BCU card is operational.
Each card installed in the front and back of the BCU has two LEDs: Power and
Status. All LEDs should light green.
Note
The Status LED on the top card in the front of the BCU will remain red until the
BCU is connected to a timing source.

RadioFrame System Method of Procedure GSM/802.11b
Appendix C: BCU and ACU Main Rack Installation
106 RadioFrame Networks, Inc.
Figure 23 Mount the BCU only in an EIA-standard compliant 19” rack.
Mount the ACU in the Main Rack
The ACU is mounted in the main rack supplied with –48VDC power.
1
Find these items in the ACU shipping container: one ACU and four mounting screws.
2
Mount the ACU only in an EIA-standard compliant (19”) rack using all 4 screws
provided. For safe operation, follow these guidelines:
• Do not mount the ACU in any orientation other than that specified in the following
illustration.
• Mount the ACU so that both the front and the back are accessible.
• If the mounting holes do not line up, adjust the ACU up or down until the mounting
holes line up.
Caution
Do not block the air vents on the sides or rear of the ACU.
3
Plug the ACU into main rack power source (rectifier or PDU).
4
Verify that the ACU is receiving power and that each BCU card is operational.
Each card installed in the front and back of the ACU has two LEDs: Power and
Status. All LEDs should light green.

GSM/802.11b RadioFrame System Method of Procedure
Appendix C: BCU and ACU Main Rack Installation
RadioFrame Networks, Inc. 107
Figure 24 Mount the ACU only in an EIA-standard compliant 19” rack.
Connect the ACUs to the BCU
After the main rack has been installed and all wiring for the RFS has been completed,
connect the main rack ACU and all remote ACUs to the BCU.
1
Connect the RJ45-to-RJ45 CAT-5 cable from Port 2 on the front of the ACUs to the
specified RJ45 port (1-8) on the back of the BCU.
Refer to the site documentation to determine which ACU connects to each port on
the BCU. The Activity and Link LEDs above the ports will remain unlit until each ACU
has been installed and plugged in.
Figure 25 Connect the RJ45-to-RJ45 CAT-5 cable from Port 2 on the front of the
ACU to the specified RJ45 port on the back of the BCU.

RadioFrame System Method of Procedure GSM/802.11b
Appendix D: RFS Default IP Addresses
108 RadioFrame Networks, Inc.
Appendix D RFS Default IP Addresses
All chassis boards, RFU backplanes, and iRAPs are issued a default IP address during
initial setup (GSM RadioBlades do not require IP addresses). The following table lists
default IP addresses for all chassis boards, RFU backplanes, and the default IP address
required for logging in to the RadioFrame System. iRAP default IP addresses are
192.168.200.154 through 192.168.200.254.
Device Card Type Chassis Slot/Port IP Address
Laptop N/A N/A 192.168.200. 4
BCU BLIC Slot 0 192.168.200. 5
BPC Slot 1 192.168.200. 6
BPC Slot 2 192.168.200. 7
BPC Slot 3 192.168.200. 8
DLC Slot 3 (rear)
ACU-1 RIC Slot 0 192.168.200. 10
APC Slot 1 192.168.200. 11
APC Slot 2 192.168.200. 12
APC Slot 3 192.168.200. 13
RFU-1 PERTM Port 1 192.168.200. 90
RFU-2 PERTM Port 2 192.168.200. 91
RFU-3 PERTM Port 3 192.168.200. 92
RFU-4 PERTM Port 4 192.168.200. 93
RFU-5 PERTM Port 5 192.168.200. 94
RFU-6 PERTM Port 6 192.168.200. 95
RFU-7 PERTM Port 7 192.168.200. 96
RFU-8 PERTM Port 8 192.168.200. 97
ACU-2 RIC Slot 0 192.168.200. 20
APC Slot 1 192.168.200. 21
APC Slot 2 192.168.200. 22
APC Slot 3 192.168.200. 23
RFU-1 PERTM Port 1 192.168.200. 98
RFU-2 PERTM Port 2 192.168.200. 99
RFU-3 PERTM Port 3 192.168.200. 100

GSM/802.11b RadioFrame System Method of Procedure
Appendix D: RFS Default IP Addresses
RadioFrame Networks, Inc. 109
Device Card Type Chassis Slot/Port IP Address
RFU-4 PERTM Port 4 192.168.200. 101
RFU-5 PERTM Port 5 192.168.200. 102
RFU-6 PERTM Port 6 192.168.200. 103
RFU-7 PERTM Port 7 192.168.200. 104
RFU-8 PERTM Port 8 192.168.200. 105
ACU-3 RIC Slot 0 192.168.200. 30
APC Slot 1 192.168.200. 31
APC Slot 2 192.168.200. 32
APC Slot 3 192.168.200. 33
RFU-1 PERTM Port 1 192.168.200. 106
RFU-2 PERTM Port 2 192.168.200. 107
RFU-3 PERTM Port 3 192.168.200. 108
RFU-4 PERTM Port 4 192.168.200. 109
RFU-5 PERTM Port 5 192.168.200. 110
RFU-6 PERTM Port 6 192.168.200. 111
RFU-7 PERTM Port 7 192.168.200. 112
RFU-8 PERTM Port 8 192.168.200. 113
ACU-4 RIC Slot 0 192.168.200. 40
APC Slot 1 192.168.200. 41
APC Slot 2 192.168.200. 42
APC Slot 3 192.168.200. 43
RFU-1 PERTM Port 1 192.168.200. 114
RFU-2 PERTM Port 2 192.168.200. 115
RFU-3 PERTM Port 3 192.168.200. 116
RFU-4 PERTM Port 4 192.168.200. 117
RFU-5 PERTM Port 5 192.168.200. 118
RFU-6 PERTM Port 6 192.168.200. 119
RFU-7 PERTM Port 7 192.168.200. 120
RFU-8 PERTM Port 8 192.168.200. 121
ACU-5 RIC Slot 0 192.168.200. 50
APC Slot 1 192.168.200. 51
APC Slot 2 192.168.200. 52

RadioFrame System Method of Procedure GSM/802.11b
Appendix D: RFS Default IP Addresses
110 RadioFrame Networks, Inc.
Device Card Type Chassis Slot/Port IP Address
APC Slot 3 192.168.200. 53
RFU-1 PERTM Port 1 192.168.200. 122
RFU-2 PERTM Port 2 192.168.200. 123
RFU-3 PERTM Port 3 192.168.200. 124
RFU-4 PERTM Port 4 192.168.200. 125
RFU-5 PERTM Port 5 192.168.200. 126
RFU-6 PERTM Port 6 192.168.200. 127
RFU-7 PERTM Port 7 192.168.200. 128
RFU-8 PERTM Port 8 192.168.200. 129
ACU-6 RIC Slot 0 192.168.200. 60
APC Slot 1 192.168.200. 61
APC Slot 2 192.168.200. 62
APC Slot 3 192.168.200. 63
RFU-1 PERTM Port 1 192.168.200. 130
RFU-2 PERTM Port 2 192.168.200. 131
RFU-3 PERTM Port 3 192.168.200. 132
RFU-4 PERTM Port 4 192.168.200. 133
RFU-5 PERTM Port 5 192.168.200. 134
RFU-6 PERTM Port 6 192.168.200. 135
RFU-7 PERTM Port 7 192.168.200. 136
RFU-8 PERTM Port 8 192.168.200. 137
ACU-7 RIC Slot 0 192.168.200. 70
APC Slot 1 192.168.200. 71
APC Slot 2 192.168.200. 72
APC Slot 3 192.168.200. 73
RFU-1 PERTM Port 1 192.168.200. 138
RFU-2 PERTM Port 2 192.168.200. 139
RFU-3 PERTM Port 3 192.168.200. 140
RFU-4 PERTM Port 4 192.168.200. 141
RFU-5 PERTM Port 5 192.168.200. 142
RFU-6 PERTM Port 6 192.168.200. 143
RFU-7 PERTM Port 7 192.168.200. 144
RFU-8 PERTM Port 8 192.168.200. 145

GSM/802.11b RadioFrame System Method of Procedure
Appendix D: RFS Default IP Addresses
RadioFrame Networks, Inc. 111
Device Card Type Chassis Slot/Port IP Address
ACU-8 RIC Slot 0 192.168.200. 80
APC Slot 1 192.168.200. 81
APC Slot 2 192.168.200. 82
APC Slot 3 192.168.200. 83
RFU-1 PERTM Port 1 192.168.200. 146
RFU-2 PERTM Port 2 192.168.200. 147
RFU-3 PERTM Port 3 192.168.200. 148
RFU-4 PERTM Port 4 192.168.200. 149
RFU-5 PERTM Port 5 192.168.200. 150
RFU-6 PERTM Port 6 192.168.200. 151
RFU-7 PERTM Port 7 192.168.200. 152
RFU-8 PERTM Port 8 192.168.200. 153
RAP-1 N/A N/A 192.168.200 154
RAP-2 N/A N/A 192.168.200 155
RAP-3 N/A N/A 192.168.200 156
.
.
RAP-100 254

RadioFrame System Method of Procedure GSM/802.11b
Appendix E: Connecting to the RFS
112 RadioFrame Networks, Inc.
Appendix E Connecting to the RFS
To connect to the RFS, you need a workstation (a PC or laptop computer). This section
describes how to configure the workstation and connect it to the RFS.
Connect the Workstation to the NCU
1
Configure the IP address of the workstation’s (PC or laptop computer) Ethernet port
as 192.168.200.4, and the subnet mask to 255.255.255.0.
2
Connect an Ethernet cable from the workstation Ethernet port to the NCU RLIC using
Ethernet port 2-7 (do not use Port 1, which is configured for iSC communications, or
Port 8, which is reserved for maintenance purposes).
3
Connect a serial cable between the PC serial port and the DB9 connector on the
NCU CRIC.
4
Start a HyperTerm session on the PC (or an equivalent terminal emulation program,
such as TeraTerm or Procomm).
5
For Name, enter a name for the connection, and then select OK (see the following
illustration).

GSM/802.11b RadioFrame System Method of Procedure
Appendix E: Connecting to the RFS
RadioFrame Networks, Inc. 113
6 For Connect using, select the COM port to which the serial cable is connected on
the PC (the default is COM1), and then select OK.
7 On the COMx Properties page, make the settings shown in the following illustration,
and then select OK.
The prompt “” appears, indicating that the serial connection setup is complete.

RadioFrame System Method of Procedure GSM/802.11b
Appendix E: Connecting to the RFS
114 RadioFrame Networks, Inc.
Configure the FTP Software
FTP (file transfer protocol) server software is required on the workstation. System
Manager uses the FTP protocol as the mechanism to transfer files from the workstation
to the RFN system. The FTP Server software can be obtained via the World Wide Web at
http://www.wftpd.com.
1
Open FTP Server (wftpd32.exe). The following configuration is for WFTPD.
2
In the HyperTerm session, type LL and press Return to verify that the FTP server is
up and running.
You should see a list of files in the C:\ directory for the user ‘board’. If the FTP server
is not running, you’ll get an error message, or ‘value =’, or both.
3
From the Security menu, select General, configure the General Security page as
shown, and then select OK.

GSM/802.11b RadioFrame System Method of Procedure
Appendix E: Connecting to the RFS
RadioFrame Networks, Inc. 115
4 From the Security menu, select User/rights, and for User Name, select
anonymous from the drop down menu.
5 Select the Rights button and verify that the settings are the same as shown below.
6 Select the New User… button, and then for User Name, type board in the text box,
and then select OK.

RadioFrame System Method of Procedure GSM/802.11b
Appendix E: Connecting to the RFS
116 RadioFrame Networks, Inc.
7 For New Password type wind, then retype wind in the Verify Password text box,
and sthen select OK.
8 The User/Rights Security dialog box reappears, and the User Name is now set to
board. Select the Rights button and verify that the settings are the same as shown
below, and then select Done.