Radiolink Electronic RL039AT10 Remote control User Manual
Radiolink Electronic Limited Remote control Users Manual
Users Manual

RADIOLINK AT10
10-CHANNEL RADIO CONTROL SYSTEM
INSTRUCTION MANUAL
Technical updates and additional programming examples available at: http://www. radiolink.com.cn
1

2
TABLE OF CONTENTS
INTRODUCTION ........................................................... 3
Additional Technical Help, Support and Service ........ 3
Safety Precautions (do not operate without reading) .. 4
Introduction to the AT10
............................................. 5
Transmitter Controls &
6ZLWFK,GHQWL¿FDWLRQ$VVLJQPHQWV ............................. 6
Stick Adjustments ..................................................... 10
Adjusting display contrast ........................................ 11
Changing mode.......................................................... 11
.
Radio Installation & Range Checking ...................... 11
Transmitter Displays and Buttons ............................. 15
AIRPLANE (ACRO) FUNCTIONS ................................ 16
Map of Functions........................................................ 17
Quick Guide to Setting up a 4-channel Airplane ...... 18
ACRO BASIC MENU FUNCTIONS ................................ 20
MODEL Submenu: MODEL SELECT,COPY,NAME .......... 20
PARAMETER Submenu: RESET, TYPE, MODUL, ATL, AILE-2,
CONTRAST,BACK-LIGHT,HOME-DISP,USER NAME
............... 23
LOGIC SW
..................................................................... 26
Servo REVERSE ........................................................... 26
END POINT .................................................................. 27
Idle Management: IDLE DOWN and THR-CUT .............. 28
'XDO7ULSOH5DWHVDQG([SRQHQWLDOD/R,EXP ).......... 30
TIMER Submenu.......................................................... 33
Auxiliary Channel assignments and CH9 reverse (AUX-CH)
. 34
TRAINER ..................................................................... 34
TRIM and SUB-TRIM ................................................... 35
SERVO Display ........................................................... 37
Fail Safe and Battery FailSafe (F/S)......................... 37
ACRO ADVANCE MENU FUNCTIONS ........................... 38
Wing types ................................................................ 39
FLAPERON ................................................................... 39
FLAP TRIM .................................................................. 40
Aileron Differential (AILE-DIFF)................................. 41
Using a 5-channel receiver: AILE-2 ............................ 42
ELEVON (see tail types) ............................................... 43
Tail types ................................................................... 43
ELEVON ....................................................................... 43
Twin Elevator Servos (AILEVATOR )............................ 44
V-TAIL ......................................................................... 45
SNAP ROLL .................................................................. 45
0L[HVGH¿QLWLRQVDQGW\SHV..................................... 47
ELEV-FLAP .................................................................... 48
AIRBRAKEBUTTERFLY (crow) ..................................... 48
THROTTLE-NEEDLE........................................................ 50
THROTTLE DELAY ......................................................... 51
THROTTLE CURVE ........................................................ 52
Linear, Prog. mixes 1-4 ............................................. 53
Curve, Prog. mixes 5-8 ............................................. 55
GYA gyro mixing (GYRO SENSE)............................... 56
GLIDER (GLID(1A+1F)(2A+1F)(2A+2F)) FUNCTIONS . 58
Table of contents........................................................ 58
Getting Started with a Basic 4-CH Glider ................ 59
GLIDER-SPECIFIC BASIC MENU FUNCTIONS ........ 61
Model type (PARAMETER submenu) ........................... 61
MOTOR CUT ................................................................ 62
GLIDER-SPECIFIC ADVANCE MENU FUNCTIONS
..... 62
AILE/RUDD .................................................................. 63
AILE-FLAP (GLID(2A+2F) only) .................................... 64
SPOILER MIX ............................................................... 64
OFFSETs$GGLWLRQDOÀLJKWFRQGLWLRQV...................... 65
START DELAY (GLID(1A+1F) only)................................. 66
CAMBER MIX ............................................................... 67
CAMBER FLAP .............................................................. 67
BUTTERFLY................................................................... 68
Channel 3’s function selection (CONDITION/FUNCTION)
69
HELICOPTER FUNCTIONS.......................................... 70
Table of contents and reference info for helicopters . 70
Getting Started with a Basic Helicopter ................... 71
HELI-SPECIFIC BASIC MENU FUNCTIONS ................ 73
MODEL TYPE (PARAMETERS submenu) ........................ 74
SWASH AFR (swashplate surface direction and travel
correction) (not in H-1 ).............................................. 75
THROTTLE MIX ............................................................ 76
Setting up the Normal Flight Condition ................... 77
THR-CUTVSHFLDOL]HGVHWWLQJVIRUKHOLFRSWHUVSHFL¿F
models)..................................................................... 78
HELI-SPECIFIC ADVANCE MENU FUNCTIONS ........... 79
THROTTLE HOLD .......................................................... 79
THR-CURVE,PIT-CURVE and REVO ............................. 80
Idle-ups................................................................... 81
7ULPVRIIVHW............................................................. 82
Delay....................................................................... 82
Hovering setups ...................................................... 83
+LJKORZSLWFK ........................................................ 84
Gyros and governors ............................................... 85
Note that in the text of this manual, beginning at this
point, any time we are using a feature’s specialized name
or abbreviation, as seen on the screen of the AT10,that
name, feature, or abbreviation will be exactly as seen on
the radio’s screen, including capitalization and shown in
aDIFFERENT TYPE STYLE for clarity. Any time we mention
a specific control on the radio itself, such as moving
SWITCH A,KNOB VR(B), or the THROTTLE STICK,
those words will be displayed as they are here.
3
INTRODUCTION
Thank you for purchasing Radiolink AT10 2.4GHz 14CH remote control system..
This system is extremely versatile and may be used by beginners and pros alike. In order for you to make the best use of
\RXUV\VWHPDQGWRÀ\VDIHO\SOHDVHUHDGWKLVPDQXDOFDUHIXOO\,I\RXKDYHDQ\GLI¿FXOWLHVZKLOHXVLQJ\RXUV\VWHPSOHDVH
consult the manual, our online Skype ,Guest book.(on the web pages referenced below), your hobby dealer, or email to our
Service Center.
Owner’s Manual and Additional Technical Help
This manual has been carefully written to be as helpful to you, the new owner, as possible. There are many pages of setup
procedures and examples. However, it need not be your sole resource of setup guidelines for your AT10. For example, pages
27-29 include setup instructions for a basic 4-channel airplane. The Frequently Asked Questions web page referenced
below includes this type of step-by-step setup instructions for a variety of other model types, including multi-engine,
complex gear installation, 7-servo aerobatic models, 140 degree CCPM, etc.
KWWSZZZradiolink.com.cn
Due to unforeseen changes in production procedures, the information contained in this manual is subject to change without
notice.
Support and Service: It is recommended to have your Radiolink equipment serviced annually during your hobby’s “off
season” to ensure safe operation.
Please feel free to contact our Service Center for assistance in operation, use and programming. Please be sure to
UHJXODUO\ YLVLW WKHAT10 )UHTXHQWO\$VNHG 4XHVWLRQV ZHE VLWH DW ZZZradiolink.com.cn 7KLV SDJH LQFOXGHV H[WHQVLYH
programming, use, set up and safety information on the AT10 radio system and is updated regularly. Any technical
XSGDWHVDQGPDQXDOFRUUHFWLRQVZLOOEHDYDLODEOHRQWKLVZHESDJH,I\RXGRQRW¿QGWKHDQVZHUVWR\RXUTXHVWLRQV
there, please see the end of our contact area for information on contacting us via email for the most rapid and convenient
response.
Don’t have Internet access? Internet access is available at no charge at most public libraries, schools, and other public
UHVRXUFHV:H¿QGLQWHUQHWVXSSRUWWREHDIDEXORXVUHIHUHQFHIRUPDQ\PRGHOHUVDVLWHPVFDQEHSULQWHGDQGVDYHGIRU
future reference, and can be accessed at any hour of the day, night, weekend or holiday. If you do not wish to access the
internet for information, however, don’t worry. Our support teams are available Monday through Friday 8-5 Central time
to assist you.
FOR SERVICE ONLY:
Please start here for
getting more service.
www.radiolink.com.cn
Phone:+86-755-88361717
Email:jenny@radiolink.com.cn
FOR SUPPORT :
(PROGRAMMING AND USER QUESTIONS)
Please start here for answers to most questions:
ZZZradiolink.com.cn
Phone:86-755-88361717
Email:sales@radiolink.com.cn

4
Note:AboatÀ\LQJ
:KLOH\RXDUHJHWWLQJUHDG\WRÀ\LI\RXSODFH\RXUWUDQVPLWWHURQWKHJURXQGEHVXUHWKDWWKHZLQGZRQW
tip it over. If it is knocked over, the throttle stick may be accidentally moved, causing the engine to speed up.
Also, damage to your transmitter may occur.
Other than 2.4GHz system:
Before taxiing, be sure to extend the transmitter antenna to its full length.
FROODSVHGDQWHQQDZLOOUHGXFH\RXUÀ\LQJUDQJHDQGFDXVHDORVV RIFRQWURO,WLVDJRRGLGHDWRDYRLGSRLQWLQJWKH
transmitter antenna directly at the model, since the signal is weakest in that direction.
In order to maintain complete control of your aircraft it is important that it remains visible at all times . Flying
behind large objects such as buildings, grain bins, etc. is not suggested. Doing so may result in the reduction of the
quality of the radio frequency link to the model.
2.4GHz system:
'R QRW JUDVS WKH WUDQVPLWWHU PRGXOHV DQWHQQD GXULQJ IOLJKW
Doing so may degrade the
quality of the radio frequency transmission.
2.4GHz system: As with all radio frequency transmissions, the strongest area of signal transmission is from the
sides of the
14CH transmitter module's antenna. As such, the antenna should not be pointed directly at the model.
,I\RXUÀ\LQJVW\OHFUHDWHVWKLVVLWXDWLRQHDVLO\PRYHWKHDQWHQQDWRFRUUHFWWKLVVLWXDWLRQ
'RQ¶W À\ LQ WKH UDLQ Water or moisture may enter the transmitter through the antenna or stick openings and
FDXVHHUUDWLFRSHUDWLRQRUORVVRIFRQWURO,I\RXPXVWÀ\LQZHWZHDWKHUGXULQJDFRQWHVWEHVXUHWRFRYHU\RXU
WUDQVPLWWHUZLWKDSODVWLFEDJRUZDWHUSURRIEDUULHU1HYHUÀ\LIOLJKWQLQJLVH[SHFWHG
WARNING:
FCC Compliance Statement This device complies with part 15 of the FCC rules. Operation is subject to the following two
Exposure to Radio Frequency Energy
AT10 is radio transmitters. When on, it sends radio frequency (RF) energy through its antenna. The Wireless antenna is
AT10 is designed and manufactured to comply with the limits for exposure to RF energy set by the Federal Communications
AT10 has been tested, and meets the FCC RF exposure guidelines for transmitting. When tested at direct body contact,
Any changes or modifications not expressly approved by the party responsible for compliance could void the user's
authority to operate the equipment.
conditions: (1) this device may not cause harmful interference, and (2) this device must accept any interference received,
including interference that may cause undesired operation.
located on the top of the device, see the EUT photo for more details. AT10 has been tested and meets the SAR(Specific
Absorption Rate) exposure requirements for transmitting.
Commission (FCC) of the United State. The exposure standard employs a unit of measurement known as the specific
absorption rate, or SAR. The SAR limit applicable to AT10 set by the FCC is 1.6 watts per kilogram (W/kg). Tests for SAR
are conducted using standard operating positions specified by these agencies, with AT10 transmitting at its highest
certified power level in all tested frequency bands. Although SAR is determined at the highest certified power level in
each frequency band.
AT10’s maximum SAR value for each frequency band is outlined below: 0.011 W/kg 1g Body SAR

5
A QUICK INTRODUCTION TO THE AT10 SYSTEM
TRANSMITTER:
• Large graphic liquid-crystal display panel with 2 buttons, a cursor lever and an easy set up turn-and-press Dial for quick,
easy setup.
• All transmitters include all 3 aircraft types with specialized programming for each, including:
• Airplane (ACRO)
•
V-TAIL • Twin Aileron Servos (FLAPERON and AIL-DIFF) • Gyro Mixing
•
ELEVON • Twin Elevator Servos (AILEVATOR)
•
AIRBRAKE • Snap Roll (4 separate directions available)
• Helicopter (8 swashplate types, including CCPM, see page 93)(HELI)
• 3 Idle Ups • Throttle and Pitch Curves per Condition
• Revo. Mixing • Gyro Mixing including Separate Settings per Condition
• Delay • Governor Mixing
6DLOSODQH*OLGHUZLQJW\SHVGLID 1AIL+1FLP2AIL+1FLP2AIL+2FLP)
•
V-TAIL • Twin Ailerons (FLAPERON and AIL-DIFF )OLJKW&RQGLWLRQV1RUPDO6WDUW
•
ELEVON • Crow (BUTTERFLY6SHHG'LVWDQFH/DQGLQJ
•
OFFSET (5 conditions)
•BASIC menu for quick, easy set up of less complex models.
•ADVANCE menu for more complex, unique setups.
• Four electronic TRIM LEVERS for rapid yet precise trim adjustment - no remembering to “store trims” between models
and no more “bumped trims” during transport.
•IDLE- DOWN (ACRO), THR-CUT (ACROHELI) (engine shut off), and MOTOR CUT (GLIDVHWXSVWRDOORZSUHFLVHHQJLQHPRWRU
control for taxi and landings.
• New stick design with improved feel, adjustable length and tension.
• Triple rates available by setting dual rates to 3-position switches.
• Eight SWITCHES, 3 DIALS and 2 SLIDERS; completely assignable in most applications.
• Trainer system includes the “functional” (FUNC) setting, which allows the student to use the AT10’s mixing, helicopter, and
other programming functions even with a 4-channel buddy box. (Optional trainer cord required.)
• R10D transmitter features airplane friendly switch layout, with the trainer switch at the left hand (Mode 2), and a notched
throttle to minimize throttle changes with rudder input. Defaults to ACRO model type.
• R10D transmitter features helicopter-friendly switch layout, with idle-up and throttle hold switches at the left hand, and a
smooth, ratchet-less (unsprung) throttle for perfect hovering. Defaults to HELI(H-1 swashplate type) model type.
• Change transmitter mode from mode 2 to modes 1, 3, or 4. (See P. 17)
Note that in the text of this manual, beginning at this point, any time we are using a feature’s specialized name or
Note that in the text of this manual, begainning at this point, any time we are using a feature's specialized name or
abbreviation as seen on the screen of the AT10, that name, feature, or abbreviation will be exactly as seen on the radio’s
screen, including capitalization and shown in a DIFFERENT TYPE STYLEIRUFODULW\$Q\WLPHZHPHQWLRQDVSHFL¿FFRQWURO
on the radio itself, such as moving SWITCH A, KNOB VR(B), or the THROTTLE STICK, those words will be displayed
as they are here.

6
7KLV¿JXUHVKRZVWKHGHIDXOWVZLWFKDVVLJQPHQWVIRUDAT100RGHV\VWHPDVVXSSOLHGE\WKHIDFWRU\
You can change many of the switch positions or functions by selecting a new position within
the setting menu for the function you wish to move. (Example: move aileron dual rates to switch C
to create triple rates. )
* Power LED blinks to indicate if any mix switches are activated.
** RF LED is green when the transmission link is solid and the radio is transmitting properly.
Logo
TRANSMITTER CONTROLS - AIRPLANE
SW(B)
VR(A)
VR(B)
SW(A)
SW(F)
SW(E)
VR(D)
VR(E)
VR(C)
SW(G)
SW(H)
SW(D)
SW(C)
CH8 Knob
This controls CH6, and if flaperon mixing
(TP-FM module)
is activated controls the flap.
Flap Trim Control
Rudder Dual Rate Switch / CH9
Elevator Dual Rate
Snap Roll or
Trainer Switch
Landing Gear
Switch
/CH5
Rudder
/Throttle
Stick
Power
LED*
Throttle
Trim Lever
Rudder
Trim Lever
LCD Panel
Power Switch
(Up position: ON)
Hook
(for optional neckstrap)
MODE Key
END Key
Cursor Lever
Aileron Trim Lever
Dial
Elevator Trim Lever
Elevator
/Aileron
Stick
Aileron Dual Rate Switch
Elevator - Flap Mixing or
Airbrake Mixing Switch
Spoiler/CH7 Control
This knob is disabled if aileron differential
is activated.
Carrying Handle
Antenna
(TM-10 2.4G module)
Antenna
LED**
RF
Switch / CH10

7
7KLV¿JXUHVKRZVWKHGHIDXOWVZLWFKDVVLJQPHQWVIRUDAT100RGHV\VWHPDVVXSSOLHGE\WKHIDFWRU\
You can change many of the switch positions or functions by selecting a new position within
the setting menu for the function you wish to move. (Example: move aileron dual rates to switch C
to create triple rates. )
* Power LED blinks to indicate if any mix switches are activated.
** RF LED is green when the transmission link is solid and the radio is transmitting properly.
Logo
TRANSMITTER CONTROLS - HELI
SW(B)
VR(A)
VR(B)
SW(A)
SW(F)
SW(E)
VR(D) VR(E)
VR(C)
SW(G)
SW(H)
SW(D)
SW(C)
CH8 Knob
Hovering - Pitch Knob
Rudder Dual Rate Switch/CH9
Elevator Dual Rate
Switch/CH10
Idle-up 3 Switch
Idle-up 1&2
Switch
Throttle/Collective
Pitch & Rudder Stick
Throttle/Collective
Trim Lever
Power
LED*
Rudder
Trim Lever
LCD Panel
Power Switch
(Up position: ON)
Hook
(for optional neckstrap)
Aileron Trim Lever
Dial
Elevator Trim Lever
Elevator
/Aileron
Stick
Aileron Dual Rate Switch
Throttle - Hold Switch
Trainer Switch
Governor Switch
Hovering - Throttle Knob/CH7
Carrying Handle
LED**
RF
(TP-FM module)
Antenna
(TM-10 2.4G module)
Antenna
MODE Key
END Key
Cursor Lever
High-pitch Lever

8
*On the AT10 Mode 2 transmitters, the TOP LEFT SWITCHES are spring-loaded and 2-position; on the AT10 Mode 1, those switches are
on the right side. For consistency, the switch position’s designation remains the same (upper left is F, etc), but the functions are moved to
match the switch type.
SWITCH ASSIGNMENT TABLE
• The factory default functions activated by the switches and knobs for a AT10 Mode 2 transmitter are shown below.
• Most AT10 functions may be reassigned to non-default positions quickly and easily.
• Basic control assignments of channels 5-10 are quickly adjustable in AUX-CH (see p. 46). For example, the channel 5
servo, which defaults to SWITCH E for retract use, can easily be unassigned (NULL) to allow for easy use as a second
rudder servo in a mix, or to a slider or dial for bomb door or other control.
• Note that most functions need to be activated in the programming to operate.
•AT10 Mode 1, transmitter functions are similar but reverse certain switch commands. Always check that you have
the desired switch assignment for each function during set up.
Switch/Knob
A or H
Airplane (ACRO) Sailplane/Glider (GLID) Helicopter (HELI)
SWITCH A elevator dual rate
ch10
elevator dual rate
GRZQ EXWWHUÀ\RQ
ch10
elevator dual rate
ch10
SWITCH B rudder dual rate
ch9
rudder dual rate
ch9
rudder dual rate
ch9
SWITCH C up = ELE-FLP on
FHQWHUGRZQ IDLE-DOWN
down = AIRBRAKE on
up = ELE-FLP on
center = Distance cond.
down = Landing cond.
governor
SWITCH D aileron dual rate aileron dual rate aileron dual rate
SWITCH E or G* ODQGLQJJHDUFK WKURWWOHKROGFK
SWITCH F or H* VQDSUROOWUDLQHU trainer WUDLQHUTHR-CUT
SWITCH G or E* none up = Speed cond.
down = Start cond.
idle-up 1 and 2
SWITCH H or F* none LGOHXSJ\UR
KNOB A ÀDSFK
ÀDSWULPLIFLAPERON on)
ÀDS
ch6
HOVERING PITCH
KNOB B ch 8 ch 8 ch 8
KNOB C VSRLOHUFK
(disabled if AIL-DIFF on)
ch 7
(disabled if AIL-DIF on)
HOVERING THROTTLE
ch7
SLIDER D none ch 5 none
SLIDER E none none HI-PIT

9
RECEIVER AND SERVO CONNECTIONS
Receiver
Output and
Channel
Aircraft (ACRO)
1DLOHURQVDLOHURQ1FRPELQHGÀDSDLOHURQ2
2 elevator
3 throttle
4 rudder
5VSDUHODQGLQJJHDUDLOHURQ1,3FRPELQHGÀDSDQGDLOHURQ2,3
6VSDUHÀDSVFRPELQHGÀDSDQGDLOHURQ2
7VSDUHDLOHURQ1
8VSDUHHOHYDWRU4PL[WXUHFRQWURO
9 spare
10 spare
1Aileron Differential mode (AILE-DIFF). (See p. 54).
2Flaperon mode. (See p. 52).
3Using Second Aileron option, second aileron servo output is sent to channels 5 and 6 to allow use
of a 5-channel receiver. ( AILE-2) (See p. 55)
4AILEVATOR (dual elevator) mode. (See p. 57).
Receiver
Output and
Channel
Sailplane/Glider (GLID)
GLID (1A+1F) GLID (2A+1F)
(AILE-DIFF)
GLID (2A+2F)
(AILE-DIFF)
ELEVON FLAPERON
1 combined elevator-2 &
aileron-1
combined flap-2 &
aileron-1
aileron-1 aileron-1
2 combined elevator-1 &
aileron-2
HOHYDWRUFRPELQHG
rudder-2 & elevator-12
HOHYDWRUFRPELQHG
rudder-2 & elevator-12
HOHYDWRUFRPELQHG
rudder-2 & elevator-12
3VSDUHPRWRU VSDUHPRWRU VSDUHPRWRU VSDUHPRWRUVSRLOHU1
4 rudder UXGGHUFRPELQHG
rudder-1 & elevator-22
UXGGHUFRPELQHG
rudder-1 & elevator-22
UXGGHUFRPELQHG
rudder-1 & elevator-22
5VSDUHVSRLOHU1VSDUHVSRLOHU1VSDUHVSRLOHU1ÀDS
6ÀDSV combined flap-1 &
aileron-2
ÀDSV ÀDS
7 spare spare aileron-2 aileron-2
8VSDUHVSRLOHUVVSRLOHU1VSDUHVSRLOHUVVSRLOHU1VSDUHVSRLOHUVVSRLOHU1VSDUHVSRLOHUVVSRLOHU1
9 spare spare spare spare
10 spare spare spare spare
12-servo spoiler mode (SPOILER). (See p. 83).
2V-tail mixing mode. (See p. 58).
ACRO
(FLAPERON)
AIL12
FLP22
(CH1)
AIL22
FLP12
(CH6)
AIL
(CH1)
AIL11
(CH1)
FLP
(CH6)
ACRO
(w/FLAP)
AIL21
(CH7)
(Wing Type)
(V-TAIL)
ELE1
RUD2
(
CH2
)
ELE2
RUD1
(CH4)
(NORMAL)
ELE
(CH2)
(AILVATOR)
ELE1
AIL3
(CH2)
ELE2
AIL4
(CH8)
(Tail Type)
AIL1
ELE2
(CH1)
GLID(1A+1F)
(ELEVON)
AIL2
ELE1
(CH2)
GLID(1A+1F)
(FLAPERON)
AIL1
FLP2
(CH1)
AIL2
FLP1
(CH6)
AIL1
(CH1)
FLP1
(CH6)
FLP2
(CH5)
AIL2
(CH7)
GLID(2A+2F)
AIL1
(CH1)
AIL2
(CH7) FLP
(CH6)
GLID(2A+1F)
(Wing Type)
(V-TAIL)
ELE1
RUD2
(
CH2
)
ELE2
RUD1
(CH4)
(NORMAL)
ELE
(CH2)
(Tail Type)

10
Receiver
Output and
Channel
Helicopter (HELI)
1 aileron (cyclic roll)
2 elevator (cyclic pitch)
3 throttle
4 rudder
5VSDUHJ\UR
6 pitch (collective pitch)
7VSDUHJRYHUQRU
8VSDUHPL[WXUHFRQWURO
9 spare
10 spare
(Swash Type)
HR3H-1 H-3
ELE ELE
ELE1
ELE2
120˚
120˚120˚
PIT
(AIL)
AIL
(PIT)
PIT
(AIL)
AIL
(PIT)
HN3
120˚
120˚
120˚
ELE
PIT
AIL
HE3
ELE
PIT
(AIL)
AIL
(PIT)
PIT
(AIL)
AIL
(PIT)
H-2
PIT
FRONT
AIL
H-4
ELE1
ELE2 AIL
PIT
H4X
(Normal linkage type)
H-1:each servo linked
to the swashplate
independently.
Adjusting the length of the non-slip control sticks
You may change the length of the control sticks to make your transmitter more
comfortable to hold and operate. To lengthen or shorten your transmitter’s
VWLFNV¿UVWXQORFNWKHVWLFNWLSE\KROGLQJORFNLQJSLHFH%DQGWXUQLQJVWLFNWLS
A counterclockwise. Next, move the locking piece B up or down (to lengthen
or shorten). When the length feels comfortable, lock the position by turning
locking piece B counterclockwise.
Stick tip A Locking piece B
Stick lever tension adjustment
Mode 2 transmitter with rear cover removed.
Aileron
Elevator
Rudder
Stick Stick
<RXPD\DGMXVWWKHWHQVLRQRI\RXUVWLFNVWRSURYLGHWKHIHHOWKDW\RXSUHIHUIRUÀ\LQJ7RDGMXVW\RXUVSULQJV\RX¶OOKDYH
to remove the rear case of the transmitter. First, remove the battery cover on the rear of the transmitter. Next, unplug the
battery wire, and remove the battery and RF module from the transmitter. While you are removing the RF module, pay
attention to the location of the pins that plug into the back of the module. Next, using a screwdriver, remove the four
screws that hold the transmitter’s rear cover in position, and put them in a safe place. Gently ease off the transmitter’s rear
FRYHU1RZ\RX¶OOVHHWKHYLHZVKRZQLQWKH¿JXUHDERYH

11
when the adjusting screw is turned clockwise.
:KHQ\RXDUHVDWLV¿HGZLWKWKHVSULQJWHQVLRQVUHDWWDFKWKHWUDQVPLWWHUVUHDUFRYHU&KHFNWKDWWKHXSSHUSULQWHGFLUFXLW
board is on its locating pins, then very carefully reinstall the rear cover being mindful to guide the RF module connector
pins through the slot in the case. When the cover is properly in place, reinstall and tighten the four screws. Reinstall the
battery, cover and module.
Adjusting Display Contrast:
To adjust the display contrast, from the home menu press and hold the END BUTTON.
Turn the DIAL while still holding the END BUTTON:
clockwise to brighten
counterclockwise to darken the display
Let go off the DIALand the BUTTON.
Using a small screwdriver, rotate the adjusting screw for each stick for the desired spring tension. The tension increases
Changing Modes (TX SETTING):
Hold down MODE and END keys while turning on the transmitter to call TX SETTING menu.
Stick Mode: The screen reads "STK-MODE". Change this to the correct mode. Note that this will
NOT change the throttle and elevator rachets, etc. Those are mechanical changes that must be
done by a service center.
Throttle Reverse:THR-REV is a special function that reverses the entire throttle control, including moving the trim
functionality to the Stick’s upper half. To use THR-REV,CURSOR DOWN to THR-REV and turn the DIAL to REV. Turn the
transmitter off and back on. This change affects all models in the radio.
Display language: can be selected the display language of the function name, etc. in each function menu. The screen reads
"LANGUAGE". Change this to the desired language.
TM-10 Area Selection (Frequency Range) (TM-10 module only):
The TM-10 transmitter module has been designed to function in many countries. If you will be utilizing this module in a
country other than France, please make sure that TM10-MODE is set to "GENERAL". If, however, this module will be utilized
in France, it must be set to "FRANCE".
[Note] While changing the above modes, the transmitter transmits in PPM mode even if the set-up mode is PCM mode.

12
RADIO INSTALLATION
Follow these guidelines to properly mount the servos, receiver and battery.
• Make certain the alignment tab on the battery, switch and servo connectors is oriented correctly and “keys” into the
corresponding notch in the receiver or connectors before plugging them in. When unplugging connectors, never pull on
the wires. Always pull on the plastic connector instead.
• Receiver Antenna (72MHz band): It is normal for the receiver antenna to be longer than the fuselage. DO NOT cut or
fold it back on itself. cutting or folding changes the electrical length of the antenna and may reduce range. Secure the
DQWHQQDWRWKHWRSRIWKHYHUWLFDO¿QDQGOHWWKHH[FHVVZLUHOHQJWKWUDLOEHKLQG<RXPD\UXQWKHDQWHQQDLQVLGHRIDQRQ
PHWDOOLFKRXVLQJZLWKLQWKHIXVHODJHEXWUDQJHPD\VXIIHULIWKHDQWHQQDLVORFDWHGQHDUPHWDORUFDUERQ¿EHUSXVKURGVRU
FDEOHV%HVXUHWRSHUIRUPDUDQJHFKHFNEHIRUHÀ\LQJ
• If your aileron servo (or others) are too far away to plug into the receiver, use an aileron extension cord to extend the
length of the servo lead. Additional Radiolink extension cords of varying lengths are available from your hobby dealer.
Always use an extension of the proper length. Avoid plugging multiple extensions together to attain your desired length.
If distance is greater than 18” or multiple or high current draw servos are being used, use Radiolink Heavy-Duty servo
extensions.
5HFHLYHU9LEUDWLRQDQG:DWHUSURR¿QJ7KHUHFHLYHUFRQWDLQVSUHFLVLRQHOHFWURQLFSDUWV%HVXUHWRDYRLGYLEUDWLRQVKRFN
and temperature extremes. For protection, wrap the receiver in foam rubber or other vibration-absorbing materials.
It is also a good idea to waterproof the receiver by placing it in a plastic bag and securing the open end of the bag with
a rubber band before wrapping it with foam rubber. If you accidentally get moisture or fuel inside the receiver, you may
experience intermittent operation or a crash. If in doubt, send the receiver for service.
Servo Rubber
grommet Servo Rubber
grommet
• Always mount the servos with the supplied rubber grommets. Do not over
tighten the screws. No part of the servo casing should contact the mounting
UDLOVVHUYRWUD\RUDQ\RWKHUSDUWRIWKHDLUSODQHKHOLFRSWHUVWUXFWXUH2WKHUZLVH
YLEUDWLRQZLOOEHWUDQVPLWWHGWRWKHVHUYRFDXVLQJSUHPDWXUHZHDUDQGRUVHUYR
failure.
• Note the small numbers (1, 2, 3, 4) molded into each arm on the 4-arm servo arms. The numbers
indicate how many degrees each arm is “off” from 90 degrees to correct for minute manufacturing
deviations from servo to servo.
• To center the servos, connect them to the receiver and turn on the transmitter
and receiver. Center the trims on the transmitter, then find the arm that will be
perpendicular to the pushrod when placed on the servo.
• After the servos are installed, operate each servo over its full travel and check that the pushrods and servo arms do not
bind or contact each other. Also make sure the controls do not require excess force to operate. If there is an objectionable
buzzing sound coming from a servo, there is probably too much resistance in the control. Find and correct the problem.
Even if there is no servo damage, excess battery drain will result.
• Use the mounting plateIURPWKHUHFHLYHURQRIIVZLWFKDVDWHPSODWHIRUWKHFXWRXWDQGVFUHZKROHV0RXQWWKHVZLWFK
on the side of the fuselage opposite the engine exhaust, and where it won’t be inadvertently turned on or off during
handling or storage. Be certain the switch moves without restriction and “snaps” from ON to OFF, and that the cutout
allows full motion of the switch in both directions.

13
• When you install the switch harness to the helicopter, please use the switch cover. Generally sandwich the frame by
switch and switch cover and securely tighten the screws. Different models might require different installations. In that
case, please follow the model instruction manual.
Fasten about 5-10cm
from the servo outlet
so that the lead wire
is neat.
Marg
in i
n the lead wire
i
7RSUHYHQWWKHVHUYROHDGZLUHVIURPEHLQJEURNHQE\YLEUDWLRQGXULQJÀLJKW
provide a margin so that the wire sticks out slightly and fasten it at suitable
points. In addition, periodically check the wire during daily maintenance.
IMPORTANT: Since the 2.4GHz have different characteristics than that of the conventional 27MHz and 72MHz
IUHTXHQFLHVSOHDVHUHDGWKLVVHFWLRQFDUHIXOO\WRHQMR\VDIHÀLJKWZLWKWKH*+]V\VWHP
5HFHLYHUV$QWHQQD,QVWDOODWLRQ5)6RQO\
• The R10D has one antennas. The antenna have a diversity
function to decrease the chance of a receiving error.
• Since the wavelength of the 2.4GHz is much shorter than that
of the conventional frequencies 27MHz and 72MHz, it is very
susceptible to loss of signal which results in a receiving error.
In order to avoid this phenomenon, the R10D adopted a
diversity antenna system.
• To obtain the best results of the diversity function, please refer to the following instructions;
1. The antenna must be kept as straight as possible. Otherwise it will reduce
the effective range.
2. The two antennas should be placed at 90 degrees to each other.
7KLVLVQRWDFULWLFDO¿JXUHEXWWKHPRVWLPSRUWDQWWKLQJLVWRNHHSWKHDQWHQQDV
away from each other as much as possible.
this case the antennas should be placed at both sides of the model. Then the best
5)VLJQDOFRQGLWLRQLVREWDLQHGDWDQ\À\LQJDWWLWXGH
3. The antennas must be kept away from conductive materials, such as metal and
carbon by at least a half inch. The coaxial part of the antennas does not need to follow these guidelines, but do not bend it
in a small radius.
4. Keep the antennas away from the motor, ESC, and other noise sources as much as possible.
end with a rubber band before wrapping it in foam. If moisture enters the receiver, intermittent operation or a failure may
• The receiver contains precision electronic parts. It is the most delicate radio component on-board the model and should
EHSURWHFWHGIURPYLEUDWLRQVKRFNDQGWHPSHUDWXUHH[WUHPHV7RSURWHFWWKHUHFHLYHUZUDSLWLQ5&IRDPUXEEHURURWKHU
vibration-absorbing material. If appropriate, waterproof the receiver by placing it in a plastic bag and closing the open
end with a rubber band before wrapping it in foam. If moisture enters the receiver, intermittent operation or a failure may
result. Wrapping the receiver in a plastic bag also protects it from fuel and exhaust residue which, in some models, can
work its way into the fuselage.

14
• The receiver contains precision electronic parts. It is the most delicate radio component on-board the model and should
EHSURWHFWHGIURPYLEUDWLRQVKRFNDQGWHPSHUDWXUHH[WUHPHV7RSURWHFWWKHUHFHLYHUZUDSLWLQ5&IRDPUXEEHURURWKHU
vibration-absorbing material. If appropriate, waterproof the receiver by placing it in a plastic bag and closing the open
end with a rubber band before wrapping it in foam. If moisture enters the receiver, intermittent operation or a failure may
result. Wrapping the receiver in a plastic bag also protects it from fuel and exhaust residue which, in some models, can
work its way into the fuselage.
Product Advisory — R10D Receiver
Whereas many previous receivers offered a signal output of 3.0 Volts, the latest generation of ICs has been
designed to operate at lower voltages in order to increase their operational speeds. The R10D receiver
utilizes such an IC and, as such, the nominal signal output voltage of the R10D receiver is 2.7 Volts.
While this variance in the output voltage will not affect most equipment in use today, it has been brought to
our attention that some manufacturers’ products are not capable of operation with the lower signal voltage.
That is, they will not operate below 3.0 Volts. Some examples of what we have had reported thus far include
sequencers, cut-off valves, older servo designs and some recent non-Radiolink digital servos.
6RPHEDWWHU\EDFNXSGHYLFHVPLJKWKDYHGLI¿FXOWLHVZLWKWKHORZHURSHUDWLRQDOYROWDJHVDVZHOODOWKRXJK
they might not appear to initially. One such device functions perfectly on the ground and during a range
check, yet when the operational temperature reaches 50°C (122°F), the device actually requires 2.8 Volts in
order to function properly. As such, the servos will cease to operate properly.
Many manufacturers are updating or refining their products to ensure compatibility with the lower
operational voltages. If you have any questions about the operation of such peripheral items we strongly
suggest that you contact the manufacturer directly.
If you have already purchased items which can not operate below 3.0 Volts, we suggest that you either
replace the item with an updated version or utilize a device to increase the voltage accordingly. There are
a number of readily available devices that may be used to increase the voltage such as ElectroDynamics’
%XIIHU$PSOL¿HU,QWHUIDFH'XUDOLWH¶V3RZHU%R[PDQXIDFWXUHGZLWKLQWKHODVWVL[PRQWKV(0FRWHF¶V'36,
products, Smart-Fly’s Power Expander and Powersystem, etc.
Link Procedure:
Each transmitter has an individually assigned, unique ID code. In order to start operation, the receiver must be linked with
the ID code of the transmitter with which it is being paired. Once the link is made, the ID code is stored in the receiver
and no further linking is necessary unless the receiver is to be used with another transmitter. When you purchase another
R6014FS, this procedure is necessary; otherwise the receiver will not work.
1. Place the transmitter and the receiver close to each other within one (1) meter.
2. Turn on the transmitter.
3. Check the LED that is placed on the front side of the transmitter to see if the RF signal is active. When the blue LED is
ON solid, the RF signal is being sent.
4. Turn on the receiver.
5. Press down the Easy Link(ID SET) switch for more than one second, and release the switch. The receiver starts the
linking operation.
:KHQWKHOLQNLQJLVFRPSOHWHWKH/('LQWKHUHFHLYHUZLOOFKDQJHWRVROLGJUHHQ3OHDVHFRQ¿UPWKDWWKHVHUYRVZLOO
now operate by your transmitter. Please refer to the table below for the LED status of the receiver's condition.
No signal reception Red : On
Receiving signals Green: On
Receiving signals, but ID is unmatched. Green: Blink
Unrecoverable failure (EEPROM, etc.) Red and Green turn on alternately.

15
7UDQVPLWWHUV$QWHQQD
1. The transmitter antenna is adjustable so please make sure that the antenna is never
SRLQWHGGLUHFWO\DWWKHPRGHOZKHQÀ\LQJDVWKLVFUHDWHVDZHDNVLJQDOIRUWKHUHFHLYHU
2. Keep the antenna perpendicular to the transmitter's face to create a better RF condition
for the receiver. Of course this depends on how you hold the transmitter, but in most
cases, adjusting the transmitter antenna so that it is perpendicular to the face will
give the best results. Please adjust the transmitter antenna to the way you hold the
transmitter.
1(9(5JULSWKHDQWHQQDZKHQÀ\LQJDVWKLVGHJUDGHV5)TXDOLW\
T
RAN
S
MITTER DI
S
PLAY
S &
BUTTON
S
:K
HQ\RX
¿
UVWWXUQRQ\RXUWUDQVP
L
WWHUDFRQ
¿
UPDW
L
RQ
G
RX
EO
H
E
HHSVRXQ
G
VDQ
G
W
K
HVFUHHQV
K
RZQ
E
H
O
RZDSSHDUV%HIRUH
À\LQJRUHYHQVWDUWLQJWKHHQJLQHEHVXUHWKDWWKHPRGHOW\SHDQGQDPHDSSHDULQJRQWKHGLVSOD\PDWFKHVWKHPRGHOWKDW
\
RXDUHD
E
RXWWR
À\
,I\RXDUH
L
QW
K
HZURQJPR
G
H
O
PHPRU\VHUYRVPD\
E
HUHYHUVH
G
DQ
G
WUDYH
O
VDQ
G
WU
L
PVZ
LOO
E
HZURQJ
l
eading to an immediate crash.
(G
L
WEXWWRQVDQG
6
WDUWXS
6
FUHHQ
DSSHDUVZKHQV\VWHP
L
V
¿
UVWWXUQHGRQ
Elevator/Throttle trim
display
Battery Voltage
Timers
Model number
and name
Dial
CURSOR lever
END
key
MODE
key
Total timer display <TIMER>
Shows the cumulated ON time. (hours:minutes)
Up/down timer display <ST1.ST2>
(minutes:seconds)
Model timer display <MDL>
Shows the cumulated ON time for each model.(hours:minutes)
Resetting timers:
Select the desired timer with CURSOR lever. The timer
display flashes. To reset the timer, press Dial for one second.
M
O
DE BUTT
O
N
:
(key)
Press and hold MODE BUTT
ON
for one second to open programming menus. Press
N
MODE BUTTON
to switch
N
be
tweenBASI
C
an
d
ADVANCE
menus.
Press
MODE BUTTON
to scroll between conditions in certain
N
functions
.
END BUTT
O
N:
(
key
)
Press END BUTTON to return to prev
i
ous screen. C
l
oses funct
i
ons
b
ac
k
to menus, c
l
oses menus to start-up screen.
CURSOR LEVER
:
C
ontro
l
C
UR
SO
R LEVER WRVFUR
OO
XS
VFUR
OO
G
RZQ
VFUR
OO
O
HIW
VFUR
OO
U
LJK
W DQ
G
VH
O
HFWW
K
HRSW
L
RQ WR H
GL
W Z
L
W
KL
Q D
function.
P
ress
C
UR
SO
R LEVERWRSDJHXS
SDJH
G
RZQZ
L
W
KL
QBASI
C
or
ADVANCE menu or a funct
io
n.
16
Tu
rn
DIAL
:
Turn DI
A
Lclockwise or counterclockwise to scroll through choices within an option of a function (for example, to
VH
O
HFWZ
KL
F
K
VZ
L
WF
K
FRQWUR
O
V
G
XD
O
WU
L
S
O
HUDWHV
P
res
s
DIAL
:
Press
DIAL
to se
l
ect t
h
e actua
l
funct
i
on you w
i
s
h
to e
di
t from t
h
e menu.
Press DIAL DQGKROGRQHVHFRQGWRFRQ¿UPPDMRUGHFLVLRQVVXFKDVWKHGHFLVLRQWRVHOHFWDGLIIHUHQWPRGHOIURP
m
emory, copy one mo
d
e
l
memory over anot
h
er, tr
i
m reset, store c
h
anne
l
pos
i
t
i
on
i
n Fa
il
Safe, c
h
ange mo
d
e
l
type,
reset entire model. System will ask if you are sure.
P
ress
DIAL
a a
i h
an e.
g n to accept c g
AIRCRAFT (ACRO) MENU FUNCTIONS
Please note that all BASIC menu functions are the same for airplanes (ACRO), sailplanes (GLID), and helicopters (HELI). The
glider BASIC menu includes MOTOR CUT that is discussed in the Glider section and does not include IDLE-DOWN or THR-
CUT; the helicopter BASICPHQXLQFOXGHVDGGLWLRQDOIHDWXUHVVZDVKSODWHDGMXVWPHQWDQGWKURWWOHSLWFKFXUYHVDQGUHYRIRU
1RUPDOÀLJKWPRGHWKDWDUHGLVFXVVHGLQWKH+HOLFRSWHUVHFWLRQ
AIRPLANE (ACRO) FUNCTIONS ................................ 16
Map of Functions........................................................17
Quick Guide to Setting up a 4-channel Airplane ...... 18
ACRO BASIC MENU FUNCTIONS ................................ 20
MODEL Submenu: MODEL SELECT,COPY,NAME .......... 20
PARAMETER Submenu: RESET,TYPE,MODUL,ATL,AILE-2,
CONTRAST,BACK-LIGHT,HOME-DISP,USER NAME,LOGIC
SW ............................................................................. 23
Servo REVERSE ........................................................... 26
END POINT .................................................................. 27
Idle Management: IDLE DOWN and THR-CUT .............. 28
'XDO7ULSOH5DWHVDQG([SRQHQWLDOD/R,EXP).......... 30
TIMER Submenu.......................................................... 33
Auxiliary Channel assignments and CH9 reverse (AUX-
CH)............................................................................. 34
TRAINER .....................................................................34
TRIM and SUB-TRIM ...................................................35
SERVO Display ...........................................................37
Fail Safe and Battery FailSafe (F/S)......................... 37
ACRO ADVANCE MENU FUNCTIONS ........................... 38
Wing types ................................................................ 38
FLAPERON ................................................................... 39
FLAP TRIM ................................................................. 40
Aileron Differential (AILE-DIFF)................................. 41
Using a 5-channel receiver: AILE-2 ........................... 42
ELEVON (see tail types) ............................................... 43
Tail types ................................................................... 43
ELEVON ....................................................................... 43
Twin Elevator Servos (AILEVATOR)............................ 44
V-TAIL ......................................................................... 45
SNAP ROLL .................................................................. 45
0L[HVGH¿QLWLRQVDQGW\SHV ..................................... 47
ELEV-FLAP .................................................................... 48
AIRBRAKEBUTTERFLY (crow) ..................................... 48
THROTTLE-NEEDLE ........................................................ 50
THROTTLE DELAY ......................................................... 51
THROTTLE CURVE ........................................................ 53
Linear, Prog. mixes 1-4 ............................................. 53
Curve, Prog. mixes 5-8 ............................................. 55
GYA gyro mixing (GYRO SENSE
Submenu..........................................................
)

17
MAP OF ACRO BASIC FUNCTIONS
ACRO Basic Menu
( for one second)
(Startup screen)
To return to the Startup screen,
press the End key.
To enter the Basic Menu,
press the Mode key for one second.
Press Mode key to toggle back and forth
between BASIC and ADVANCE menus.
Press Cursor lever to page up and down through the 1 page of screens in each menu.
Use Cursor lever to highlight function in Menu screen.
Then press the Dial to choose that function.
Mode Select
End Selection
Cursor Lever
(Down/Up/Left/Right)
Dial Right or Left
Press Dial
Switch Up
Switch at Center
Switch Down
Stick Up
Stick Right
Stick Down
Stick Left
Turn Knob Right
Turn Knob Left
Dial Left
Dial Right
Press Cursor Lever
C

18
A QUICK GUIDE: GETTING STARTED WITH A BASIC 4-CHANNEL AIRCRAFT
This guide is intended to help you get acquainted with the radio, to give you a jump start on using your new radio, and
to give you some ideas and direction in how to do even more than you may have already considered. It follows our basic
format of all programming pages: a big picture overview of what we accomplish; a “by name” description of what we're
doing to help acquaint you with the radio; then a step-by-step instruction to leave out the mystery when setting up your
model.
For additional details on each function, see that function's section in this manual. The page numbers are indicated in the
goals column as a convenience to you.
See p.17 for a legend of symbols used.
GOALS of EXAMPLE STEPS INPUTS for EXAMPLE
Prepare your aircraft. Install all servos, switches, receivers per your model's instructions. Turn on
transmitter then receiver; adjust all linkages so surfaces are nearly centered.
Mechanically adjust all linkages as close as possible to proper control throws.
Check servo direction. Make notes now of what you will need to change during
programming.
Name the model.
P. 22.
[Note that you do not need to do
anything to "save” or store this data.
Only critical changes such as a MODEL
RESET require additional keystrokes to
accept the change.]
Open the BASIC menu, then open the
MODEL submenu.
Turn on the transmitter.
for 1 second. (If ADVANCE, again.)
C
as needed to highlight MODEL.
to choose MODEL.
Go to MODEL NAME.
C
to NAME.
(First character of model's name is
highlighted.)
Input aircraft's name.
Close the MODEL submenu.
WRFKDQJH¿UVWFKDUDFWHU
When proper character is displayed,
C
to move to next character.
Repeat as needed.
to return to BASIC menu.
Reverse servos as needed for proper
control operation.
P. 26.
In the BASIC menu, open (servo)
REVERSE.
C
to REVERSE.
to choose REVERSE.
Choose desired servo and reverse its
direction of travel. (Ex: reversing rudder
servo.)
C
to CH4: RUDD.
so REV is highlighted.
Repeat as needed.
Adjust Travels as needed to match
model's recommended throws (usually
listed as high rates).
P. 27.
From BASIC menu, choose END POINT.
C
to END POINT.
to choose END POINT.
Adjust the servo's end points.
(Ex: throttle servo)
Close the function.
C
to THROTTLE.
THROTTLE STICK.
until carb barrel closes as desired.
THROTTLE STICK.
until throttle arm just opens carb
fully at full THROTTLE STICK.
Repeat for each channel as needed.

19
With digital trims you don’t shut the engine off with THROTTLE TRIM. Let's set up IDLE-DOWN and "throttle cut" (THR-CUT)
now.
GOALS of EXAMPLE STEPS INPUTS for EXAMPLE
Set up IDLE-DOWN.
P. 28
IDLE-DOWN slows the engine's idle for
landings, sitting on the runway, and
maneuvers such as spins. The normal
(higher idle) setting (when IDLE-DOWN is
off) is for engine starting, taxi, and most
ÀLJKWPDQHXYHUVWRPLQLPL]HFKDQFHRI
DÀDPHRXW
From the BASIC menu, choose IDLE-
DOWN.
C
to IDLE-DOWN.
to choose IDLE-DOWN.
Activate and adjust IDLE-DOWN.
C
to MIX. to OFF.
C to center position. Screen now
reads ON.
C
to RATE.
to increase rate until engine idles
reliably but low enough to sit still.
Optional: change switch command from
C center-and-down to any other switch.
(Not needed in this example.)
Close the Function.
THR-CUT shuts the engine off completely
ZLWKWKHÀLSRIDVZLWFK
P. 29.
(NOTE: DO NOT assign IDLE-DOWN and
THR-CUT to both positions of a 2position
switch. See IDLE-DOWN for details.)
From the BASIC menu, choose THR-CUT.
C
to THR-CUT.
to choose THR-CUT.
Activate, assign SWITCH and adjust.
Close the function.
C
to MIX. to OFF.
C
to SW. to C.
C
to POSI. to DOWN.
C
to RATE.C to down position.
THROTTLE STICK.
until throttle barrel closes
completely.
6HWXSGXDOWULSOH UDWHVDQGH[SRQHQWLDO
(D/R,EXP).
P. 30.
(Note that in the middle of the left
side of the screen is the name of the
channel AND the switch position you
are adjusting. Two or even THREE
rates may be set per channel by simply
choosing the desired switch and
programming percentages with the
switch in each of its 2 or 3 positions.)
From the BASIC menu, choose D/R,EXP.
C
to D/R,EXP.
to choose D/R,EXP.
Choose the desired control, and set
the first (Ex: high) rate throws and
exponential.
A to up position.
C
to CH:.
to choose CH>2 (elevator).
[note the screen reads ELEV (UP)]
C
to D/R.
ELEVATOR STICK.
to set desired “UP” percentage.
ELEVATOR STICK.
as needed to adjust “DOWN”
percentage (normally set the same as down.)
C
to EXP.
ELEVATOR STICK. to set.
ELEVATOR STICK. to set.

20
GOALS of EXAMPLE STEPS INPUTS for EXAMPLE
Set the second (low) rate throws and
exponential.
A to down position.
C
to D/R.
Repeat steps above to set low rate.
Optional: change dual rate switch
assignment. Ex: elevator to switch G
(AT10) or E (AT10) with 3 positions.
C
to SW. to G or E.
G or E to center position.
Repeat steps above to set 3rd rate.
Where next? (Other functions you may wish to set up for your model.)
TRAINER p. 34.
0XOWLSOHZLQJDQGRUWDLOVHUYRVVHHZLQJW\SHVDQGWDLOW\SHVS
Elevator-to-flap, Rudder-to-aileron, flap-to-elevator, and other programmable
mixes p. 53.
Retractable Gear, Flaps on a Switch, Smoke systems, kill switches, and other
auxiliary channel setups. p. 34.
$/22.$77+(5$',26)81&7,21667(3%<67(3
MODEL submenu: includes three functions that manage model memory: MODEL SELECT,MODELCOPY and MODELNAME. Since
these functions are all related, and are all basic features used with most models, they are together in the MODEL submenu of
the BASIC menu.
NOTE: When you choose a new model in the
MODEL SELECT function, if the new
model is set to the other modulation, you must cycle the transmitter power to change
PRGXODWLRQV,I\RXGRQRWF\FOHWKHSRZHUWKHPRGXODWLRQW\SHZLOOÀDVKRQWKHKRPH
screen to remind you. You are still transmitting on the other modulation until you
affect this change.
GOAL: STEPS: INPUTS:
Select Model #3.
NOTE: This is one of several
functions for which the radio requires
FRQ¿UPDWLRQWRPDNHDFKDQJH
Open BASIC
menu, then open
MODEL
submenu.
for 1 second. (If ADVANCE ,again.)
if required to MODEL
Choose Model #3. to 3.
&RQ¿UP\RXUFKDQJH for 1 second.
Are you sure? displays.
Close.
Confirm proper modulation of new
model memory.
If 2.4G DUH ÀDVKLQJ LQ WKH XSSHU ULJKW KDQG FRUQHU WKHQ WKH QHZ
PRGHOLVVHWIRUWKHRWKHUUHFHLYHUW\SH7XUQWKHWUDQVPLWWHURIIRQWRFKDQJHWKH
modulation.
Where next? NAME the model: see p. 22.
Change MODEL TYPE (aircraft, heli, glider): see p. 23.
Utilize servo REVERSE : see p. 26.
Adjust END POINTs : see p. 27.
Set up IDLE-DOWN and THR-CUT for throttle management: see p. 28, 29.
MODEL SELECT: This function selects which of the 15 model memories in the
WUDQVPLWWHU WR VHW XS RUfly.
)RUFODULW\WKHPRGHOVQDPHDQGDQLPDJHRILWVW\SHDUHLQGLFDWHGDIWHULWV
number. (Each model memory may be a different model type from the other
memories.)
38,45.

21
MODEL COPYFRSLHVWKHFXUUHQWPRGHOGDWDLQWRDQRWKHUPRGHOPHPRU\.
The name of the model memory you are copying into is displayed for clarity.
Notes:
• Any data in the model copied to will be written over and lost, including name,
type and modulation. It cannot be recovered.
• With the trainer FUNC mode it is not necessary to have the student radio contain
the setup of the aircraft. See TRAINER, p. 34
Data cannot be converted from 8U or 9Z memory types.
Examples:
• Start a new model that is similar to one you have already programmed.
• Copy the current model data into another model memory as a backup or before experimenting with new settings.
(GLWDFRS\RI\RXUPRGHO¶VGDWDWRÀ\WKHPRGHOLQGLIIHUHQWFRQGLWLRQVLH+HOLFRSWHUXVLQJKHDYLHUQLJKWEODGHVJOLGHU
in extreme wind; airplane model at extreme altitudes).
GOAL of EXAMPLE: STEPS: INPUTS:
Copy model 3 into model 5.
NOTE: This is one of several
functions for which the radio requires
FRQ¿UPDWLRQWRPDNHDFKDQJH
Open the BASIC menu, then open MODEL
submenu.
for 1 second. (If ADVANCE, again.)
C
to MODEL.
Confirm you are currently using the
proper model memory. (Ex: 3)
If SELECT does not indicate 3, use MODEL
SELECT, p. 20.
Go to MODEL COPY and choose the
model to copy into. (Ex: 5)
C
to COPY. to 5.
&RQ¿UP\RXUFKDQJH for 1 second.
Are you sure? displays. *
Close.
Where next? SELECT the copy you just made: see p. 20.
Rename it (it is currently named exactly the same as the model copied): see p. 22.
*Radio emits a repeating "beep" and shows progress on screen as the model memory is being copied. Note that if the power switch is turned off prior
to completion, the data will not be copied.

22
MODEL NAME: assigns a name to the current model memory. By giving each model a name that is immediately recognizable,
\RXFDQTXLFNO\VHOHFWWKHFRUUHFWPRGHODQGPLQLPL]HWKHFKDQFHRIÀ\LQJWKHZURQJPRGHOPHPRU\ZKLFKFRXOGOHDGWR
a crash.
Adjustability and values:
•Up to 9 characters long.
• Each character may be a letter, number, blank, or a symbol.
• The default names assigned by the factory are in MODEL-xxx format
(MODEL-001 IRU¿UVWPRGHOPHPRU\HWF
NOTE: When you COPY one model memory over another, everything is copied, including the model's name. Similarly, if
you change MODEL TYPE or do a MODEL RESET, the entire memory is reset, including MODEL NAME6RWKH¿UVWWKLQJ\RXZLOO
want to do after you COPY a model, change its type, or start from scratch, is rename the new copy to avoid confusion.
GOAL of EXAMPLE: STEPS: INPUTS:
Name model 3 “Cap-232_” (where the
underline represents a blank space.)
Open MODEL submenu. for 1 second. (If ADVANCE, again.)
C
to MODEL.
Confirm you are currently using the
proper model memory. (Ex: 3)
If SELECT does not indicate 3,
perform MODEL SELECT, p. 20.
Go to NAME and change the first
character. (Ex: M to C)
C
to Mto C.
Choose the next character to change.
C
Repeat the prior steps to complete
naming the model.
to a(note: lower case is available)
Repeat.
Close.
Where next?
Change the MODEL TYPE to glider or helicopter: see p. 23.
Utilize servo REVERSE: see p. 26.
Adjust servo travel with END POINT: see p. 27.
6HWXSGXDOWULSOHUDWHVDQGH[SRQHQWLDOD/R,EXP): see p. 30.

23
PARAMETER submenu: sets those parameters you would likely set once, and then not disturb again.
Once you have selected the correct model you wish to work with, the next step is setting up the proper parameters for this
VSHFL¿FPRGHO
First it is important to clear out any old settings in the memory from prior use, using the MODEL RESET.
MODEL RESET: completely resets all data in the individual model you have currently selected. Don't worry - there is no way
you can accidentally delete all models in your radio with this function. Only a service center can completely reset your
radio's entire memory at once. To delete each model in your radio's memory (for example when selling), you must SELECT
each model, reset that memory, then go SELECT the next memory, etc.
Note that when you COPY one model memory into another or change the model's type, you need not delete all existing data
¿UVWE\XVLQJWKLVIXQFWLRQCOPY completely overwrites anything in the existing model memory, including MODEL NAME.
The MODEL TYPE function overwrites all data except name and MODUL.
GOAL of EXAMPLE: STEPS: INPUTS:
Reset model memory 1.
NOTE: This is one of several
functions for which the radio requires
FRQ¿UPDWLRQWRPDNHDFKDQJH
Confirm you are currently using the
proper model memory. (Ex: 1)
On home screen, check model name and
number on top left. If it is not correct,
use MODEL SELECT, p. 20.
Open PARAMETER submenu. for 1 second. (If ADVANCE, again.
C
to PARAMETER.
Reset the Memory. for one second.
&RQ¿UPWKHFKDQJH Are you sure? displays. *
Close.
Where next? Now that the memory is reset, name has returned to the default (Ex:
MODEL-001).
NAME the model: p. 22.
COPY a different model into this memory: p. 21.
SELECT a different model to edit or delete: p. 20.
Change the MODEL TYPE to glider or helicopter: see p. 23.
Utilize servo REVERSE: see p. 26.
Adjust servo travel with END POINT: see p. 27.
6HWXSGXDOWULSOHUDWHVDQGH[SRQHQWLDOD/R,EXP): see p. 30.
*Radio emits a repeating “beep” and shows progress on screen as the model memory is being reset. Note that if the power switch is turned off prior to
completion, the data will not be reset.

24
MODEL TYPE: sets the type of programming used for this model.
The AT10 has 15 model memories, which can each support:
•one powered aircraft (ACRO PHPRU\ W\SH ZLWK PXOWLSOH ZLQJ DQG WDLO FRQ¿JXUDWLRQV 6HH WZLQ DLOHURQ VHUYRV WZLQ
elevator servos, ELEVON, and V-TAIL for further information.);
WKUHHJOLGHUZLQJW\SHVDJDLQZLWKPXOWLSOHWDLOFRQ¿JXUDWLRQV6HH*OLGHUMODEL TYPE for details, p. 61;
•eight helicopter swashplate types, including CCPM. See Helicopter MODEL TYPE for details, p. 73.
%HIRUHGRLQJDQ\WKLQJHOVHWRVHWXS\RXUDLUFUDIW¿UVW\RXPXVWGHFLGHZKLFKMODEL TYPEEHVW¿WVWKLVSDUWLFXODUDLUFUDIW
(Each model memory may be set to a different model type.) If your transmitter is a AT10, the default is ACRO. If it is a
AT10, the default is HELI(H1).
ACRO is the best choice for most powered airplanes, but in some circumstances, GLID(2A+1F) may be a better choice. ACRO
is usually a better choice because of functions it offers that the GLID types do not:
•ACRO adds:
•SNAP-ROLL
•AILEVATOR (twin elevator servo support)
•For fuel-powered airplanes: IDLE-DOWN,THR-CUT,THROTTLE-NEEDLE mixing and THROTTLE DELAY programming.
•But ACRO lacks:
•5 seperate conditions for optional setups (STARTSPEEDDISTANCELANDING)
If you are using a glider or heli MODEL TYPE, please go to that chapter now to select the proper model type and support
your model setup. Note that changing MODEL TYPE resets all data for the model memory, including its name.
GOAL of EXAMPLE: STEPS: INPUTS:
Select the proper MODEL TYPE for your
model. Ex: ACRO.
[NOTE: This is one of several functions
that requires confirmation to make a
change. Only critical changes require
additional keystrokes to accept the
change.]
Open the BASIC menu, then open the
PARAMETER submenu.
Turn on the transmitter.
for 1 second. (If ADVANCE, again.)
then
C
to highlight PARAMETER.
to choose PARAMETER.
Go to MODEL TYPE.
C
to TYPE.
Select proper MODEL TYPE.
Ex: ACRO.
&RQ¿UPWKHFKDQJH
Close PARAMETER.
to ACROBATIC. for 1 second.
Are you sure? displays. WRFRQ¿UP
to return to BASIC menu.
Adjustable travel limit (
ATL): makes the channel 3 TRIM LEVER (THROTTLE TRIM) effective only at low throttle,
disabling the trim at high throttle. This prevents pushrod jamming due to idling trim changes. This function defaults to ON.
If you are not using channel 3 for throttle, you may want trim operation the same as on all other channels. To do so, set ATL
to OFF. If you need the ATL to be effective at the top of the stick instead of the bottom, reverse the THR-REV setting. Note
that this affects all models in the radio, not just the model you are currently editing. See servo REVERSE, p. 26.
Second aileron (AILE-2) (ACROGLID 1A+1FGLID 2A+1F only): changes the default choice for dual aileron servos from
channels 6 (FLAPERON) to channels 5 and 6, or 7(AIL-DIF ) to channels 5 and 7. This allows you to utilize these 2 great
functions while utilizing a 5-channel receiver.
NOTE: Changing AILE-2 only tells the system which servos to utilize if FLAPERON or AIL-DIF is activated. You still must
activate that function and complete its setup. For details on twin aileron servos, including using AILE-2, see p. 42.

25
GOAL of EXAMPLE: STEPS: INPUTS:
Change ATL from ON to OFF for battling
robot, tank, airbrake and other channel
3 uses.
Open BASIC menu, then open
PARAMETER submenu.
for 1 second. (If ADVANCE, again.
C
to PARAMETER.
Go to ATL and Change. (Ex: to OFF)
C
to ATL. to OFF.
Close.
Where next? Set up ELEVONIRUWDQNVW\OHFRQWUROWKURWWOHVWHHULQJRQRQH67,&.VHHS
Set up IDLE-DOWN and THR-CUT to adjust channel 3 servo at low-stick: see p. 28.
5HDVVLJQDX[LOLDU\FKDQQHOVH[IURPGLDOWRVZLWFKVOLGHUVHHS
Utilize servo REVERSE: see p. 26.
Adjust servo travel with END POINT: see p. 27.
6HWXSGXDOWULSOHUDWHVDQGH[SRQHQWLDOD/R,EXP): see p. 30.
LCD screen backcolor adjustment
BACKCOLOR: set a LCD screen backcolor from Black to Blue, or Green. See Parameter Display Adjusting. P. 23.
Home screen display mode selection (HOME-DISP) (HELI only): selects the display item in the home screen for HELI.
ILLUST: displays the illustration of helicopter in the home screen. (default)
THR/PIT: displays the current throttle and pitch position in the home screen.
GOAL of EXAMPLE: STEPS: INPUTS:
Change the display mode from ILLUST to
THR/PIT.
Open BASIC menu, then open
PARAMETER submenu.
for 1 second. (If ADVANCE, again.)
C
to PARAMETER.
Go to HOME-DISP and change setting.
(Ex: THR/PIT)
C
to HOME-DISP.
to THR/PIT.
Close.
THR/PIT mode
ILLUST mode
USER NAME: assigns your transmitter's name which is displayed in the home screen.
Adjustability and values:
•Each character may be a letter, number, blank, or a symbol.
• The default name assigned by the factory is "Radiolink" logo.
34.
43.

26
GOAL of EXAMPLE: STEPS: INPUTS:
Name USER NAME “Radiolink”. Open BASIC menu, then open
PARAMETER submenu.
for 1 second. (If ADVANCE, again.)
C
to PARAMETER.
Go to USER NAME and select the first
character. (Ex: _ to F)
Choose the next character to change.
C
Repeat the prior steps to complete
naming the model.
to u(note: lower case is available)
Repeat.
Close.
C
to USER NAME
to F.
Logic switch selection (LOGIC SW): The various functions in the AT10 can be selected by switch. The Logic switch can be
assigned to the following functions: THR-CUT,IDLE DOWN,AUX-CH,TIMER,PROG. MIX,AIRBRAKE,ELEV-FLAP, and AILE-FLAP
functions. The logic switch can activate functions by two switches combination. The 2 types of logic, either AND or OR,
can be selected.
Adjustability:
• Three logic switches can be used.
(LSW1
,LSW2
, and
LSW3
)
• SW(1): Any SWICH A-H or THR-
STKS, SW(2): Any SWICH A-H
• Switch position (POSI)
• Logic mode: AND or OR (MODE)
Logic combination table:
SWITCH LOGIC
SW(1) SW(2) AND OR
off off off off
off on off on
on off off on
on on on on
GOAL of EXAMPLE: STEPS: INPUTS:
Ex: Switch A and B are calculated by
AND logic. (A = down, B = down)
Open BASIC menu, then open LOGIC
SW menu.
for 1 second. (If ADVANCE, again.)
C
to LOGIC SW.
Go to POSI and change setting.
(Ex: DOWN)
C
to POSI.
to DOWN.
Next, SW=B,POSI=DOWN Repeat.
Close.
Servo reversing (REVERSE): changes the direction an individual servo responds to a CONTROL STICK motion.
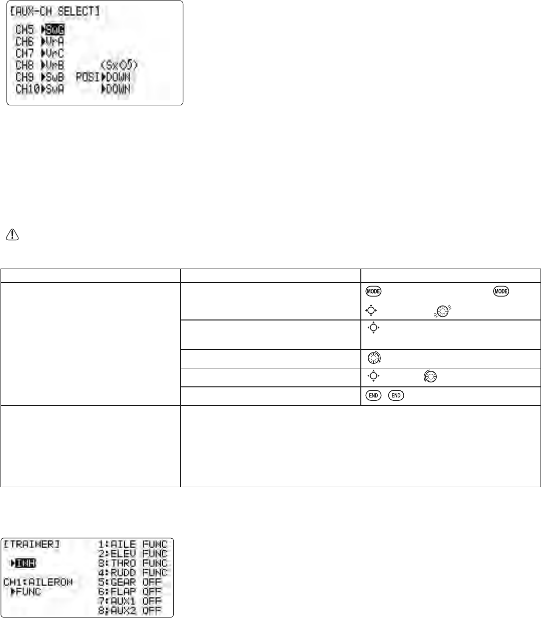
[Since channel 9 and 10 are switch only , its servo REVERSE is in the AUX-CH control screen with its switch assignment.
For CCPM helicopters, be sure to read the section on SWASH AFR (p. 75) before reversing any servos.

27
GOAL of EXAMPLE: STEPS: INPUTS:
Reverse the direction of the elevator
servo.
Open REVERSE function. for 1 second. (If ADVANCE, again.)
C
to REVERSE.
Choose proper channel and set
direction. (Ex: ELE REV)
C
to ELE.
to REV. for 1 second.
Close.
Where next? Adjust servo travel with END POINT: see p. 27.
6HWXSGXDOWULSOHUDWHVDQGH[SRQHQWLDOD/R,EXP): see p. 30.
6HWXSÀLJKWWLPHUVVHHS
Set up trainer functions: see p. 34.
Except with CCPM helicopters, always complete your servo reversing prior to
any other programming. If you use pre-built ACROGLID functions that control
multiple servos, such as FLAPERON or V-TAIL, it may be confusing to tell whether
the servo needs to be reversed or a setting in the function needs to be reversed.
See the instructions for each specialized function for further details.
Always check servo direction prior to every flight as an additional
SUHFDXWLRQWRFRQ¿UPSURSHUPRGHOPHPRU\KRRNXSVDQGUDGLRIXQFWLRQ
NOTE: THR-REV is a special function that reverses the entire throttle control, including moving the trim functionality to
the Stick’s upper half. To use THR-REV, turn off the transmitter, hold down the MODE and END keys, turn on. CURSOR
DOWN to THR-REV and turn the DIAL to REV. Turn the transmitter off and back on. This change affects all models in the
radio.
End Point of servo travel adjustment (END POINT, also called EPA): the most flexible version of travel adjustment
available. It independently adjusts each end of each individual servo’s travel, rather than one setting for the servo that
affects both directions. Again, for CCPM helicopters, be sure to see SWASH AFR (see p. 73) prior to adjusting end points.
Adjustability:
• Can set each direction independently.
• Ranges from 0% (no servo movement at all) to 140%. At a 100% setting, the
throw of the servo is approximately 40° for channels 1-4 and approximately 55
° for channels 5-8.
• Reducing the percentage settings reduces the total servo throw in that direction.
Examples:
• Adjust the throttle high end to avoid binding at the carburetor, and low end to allow for proper carburetor closure.
$GMXVWÀDSVRXSWUDYHOLVRQO\VXI¿FLHQWIRUVWUDLJKWDQGOHYHOÀLJKWWULPPLQJZLWKIXOOGRZQWUDYHO
•END POINTPD\EHDGMXVWHGWRWRNHHSDVHUYRIURPPRYLQJRQHGLUHFWLRQVXFKDVÀDSVQRWLQWHQGHGWRDOVRRSHUDWHDV
spoilers.
• Retract servos are not proportional. Changing END POINT will not adjust the servo.
END POINT adjusts only the individual servo. It will have no effect on any other servo that is operated in conjunction with
this servo via mix or preset programming such as FLAPERON,AILEVATOR, etc. This is so that each individual servo can be
FDUHIXOO\¿QHWXQHGWRDYRLGELQGLQJDQGRWKHUFRQÀLFWV7RDGMXVWWKHWRWDOWUDYHORIDIXQFWLRQVXFKDVFLAPERON, make
the adjustments in that function's controls. For CCPM helicopters, adjust the total travel of the function, such as collective
pitch, in SWASH AFR.
33.

28
Adjust the linkage or the END POINT? It is nearly always best to adjust your linkages to get as close as possible prior to
utilizing END POINT. The higher the END POINT setting, the better position accuracy and the more servo power available
at nearly any position (except if using digital servos). Higher END POINT values also mean longer travel time to reach the
desired position, as you are utilizing more of the servo's total travel. (For example, using 50% END POINT would give you
only half the steps of servo travel, meaning every click of trim has twice the effect and the servo gets there in half the
time).
• end point (and moving the linkage) = torque, accuracy, but transit time to get there.
• end point (instead of adjusting linkages) = travel time, but torque, accuracy.
GOAL of EXAMPLE: STEPS: INPUTS:
Decrease the flap servo throw in the
upward direction to 5% to allow
WULPPLQJRIOHYHOÀLJKW RQO\DQGGRZQ
travel to 85% to prevent binding.
Open END POINT function. for 1 second. (If ADVANCE, again.)
C
to END POINT.
Choose proper channel and move stick
or knob in direction you want to adjust
DQGVHWVHUYRWKURZ([ÀDSXS
C
to FLAP.
ÀDSFRQWURO>GHIDXOWLVVR(A)].
to 5%.*
VR(A). to 85%.
Close.
Where next? Go to SERVOGLVSOD\WRFRQ¿UPGHVLUHGHQGUHVXOWVHHS
0RYHDX[LOLDU\FKDQQHOVWRGLIIHUHQWGLDOVVZLWFKHVVOLGHUVVHHS
Set up IDLE-DOWN and THR-CUTWRVORZFXWWKHHQJLQHVHHS
6HWXSGXDOWULSOHUDWHVDQGH[SRQHQWLDOD/R,EXP): see p. 30.
6HWXSÀLJKWWLPHUVVHHS
Set up trainer functions: see p. 34.
Set up twin aileron servos: see p. 39.
Set up twin elevator servos: see p. 44.
Engine idle management: IDLE-DOWN and THR-CUT: functions which work with the digital THROTTLE TRIM to provide
a simple, consistent means of engine operation. No more fussing with getting trim in just the right spot for landings or take
offs! For additional engine adjustments, see THROTTLE-NEEDLE (p. 50) and THROTTLE DELAY (p. 51).
IDLE-DOWN (ACRO only): lowers the engine idle for: sitting on the runway prior to take off, stalls and spins, and landings.
7KHQRUPDOLGOHVHWWLQJLVDOLWWOHKLJKHUIRUHDVLHUVWDUWVDQGVDIHÀLJKWVZLWKOHVVULVNRIGHDGVWLFNV
Important note: The IDLE-DOWN function is not normally used when starting the
engine, and its accidental operation may keep your engine from starting. The
AT10 warns that IDLE-DOWN is on when the transmitter is turned on. Be sure to
turn off the function, or override the warning by pressing CURSOR lever if you
intended the function to be on.
7KLVPD\EHDVVLJQHGWRDQ\VZLWFKSRVLWLRQ6RPHPRGHOHUVDFFLGHQWDOO\DVVLJQIDLE-DOWN to one side of a switch
and THR-CUT to the other. There is no “normal” setting to start the engine. By default IDLE-DOWN is set to SWITCH C
center and down. This works well with THR-CUT also on SWITCH CGRZQ7KH6:,7&+XSLVQRUPDOÀLJKWVWDUWLQJ
FHQWHUIRUVORZHUPDQHXYHUVODQGLQJDQGGRZQWRFXWWKHHQJLQH,I\RXDVVLJQIDLE-DOWN or THR-CUT to the spring-
loaded TRAINER SWITCH F , then use the trainer function, you may risk loss of throttle control
or deadstick for your student.
*You can reset to the initial values by pressing the DIAL for one second.
28.
37.
33.

29
GOAL of EXAMPLE: STEPS: INPUTS:
Decrease the throttle setting at idle
with the flip of a switch for spins and
landings.
Open BASICmenu, then open IDLE-DOWN
function.
for 1 second. (If ADVANCE, again.)
C
to IDLE-DOWN.
Activate the function.
C
to MIX. to OFF.
With THROTTLE STICK at idle,
adjustthe rate until engine idles as
desired.*
THROTTLE STICK.
C
to RATE.until engine idles as
desired.
Optional: change switch assignment.
Choose desired switch and position.**
C
to SW. to desired SWITCH.
C
to POSI. to desired position.
Close.
Where next? THR-CUT: see p. 29.
*Normally a value of 10- 20%. Secure the fuselage, engine running. Set the THROTTLE STICK to idle. Adjust the IDLE-DOWNUDWHZKLOHÀLSSLQJWKH
switch ON and OFF until the desired idle is achieved. Be sure to throttle up periodically to allow the engine to “clean out” and idle reliably.
*Also LOGIC SW(Lsw1 to 3) may be assigned. Set up LOGIC SW: See p. 26.
Throttle cut (
THR-CUT) (ACROHELI SURYLGHV DQ HDV\ ZD\ WR VWRS WKH HQJLQH E\ ÀLSSLQJ D VZLWFKZLWK THROTTLE
STICK at idle). The movement is largest at idle and disappears at high throttle to avoid accidental dead sticks. In HELI,
there is an additional setting, THR-HOLD. See p. 79.
The switch's location and direction must be chosen. It defaults to NULL to avoid
accidentally assigning it to a switch, which might result in an unintentional dead
VWLFNLQÀLJKW3OHDVHVHHIRUIDLE-DOWN and THR-CUT on p. 28.
GOAL of EXAMPLE: STEPS: INPUTS:
Decrease the throttle setting (at idle)
to stop the engine with the flip of a
switch.(Note that you MUST assign
a switch. The default is NULL. We
recommend SWITCH C in the down
position, with IDLE-DOWN programmed
to SWITCH C in the center and down
positions.)
Open BASICmenu, then open THR-CUT
function.
for 1 second. (If ADVANCE, again.)
C
to THR-CUT.
Activate the function. Choose desired
switch, and the position which activates
the function.**
C
to MIX.
C
to SW. to C.
C
to POSI. to DOWN.
With THROTTLE STICK at idle, adjust
the rate until the engine consistently
shutsoff but throttle linkage is not
binding.*
C to down position.
THROTTLE STICK.
C
to RATE. until shuts off.
Close.
Where next? 6HWXSGXDOWULSOHUDWHVDQGH[SRQHQWLDOD/R,EXP): see p. 30.
Set up TRAINER functions: see p. 34.
Set up twin aileron servos: see p. 39.
Set up twin elevator servos: see p. 44.
1RUPDOO\DVHWWLQJRILVVXI¿FLHQW9LHZLQJWKHFDUEXUHWRUEDUUHOXQWLOLWIXOO\FORVHVLVDGHTXDWHWRJHWDQDSSUR[LPDWHVHWWLQJWKHQWHVWZLWK
HQJLQHUXQQLQJWRFRQ¿UP
**Also LOGIC SW(Lsw1 to 3) may be assigned. Set up LOGIC SW: See p. 26.

30
'XDOWULSOHUDWHVDQGH[SRQHQWLDOD/R,EXP): assigns adjusted rates and exponential.
Dual/Triple Rates:UHGXFHLQFUHDVHWKHVHUYRWUDYHOE\ IOLSSLQJDVZLWFK RU
(ACROGLID) they can be engaged by any stick position. Dual rates affect the
control listed, such as aileron, not just a single (ex: channel 1) servo. For
example, adjusting aileron dual rate will affect both aileron servos when using
FLAPERON or AIL-DIF, and both aileron and elevator servos’ travel when using
AILEVATOR or ELEVON or a CCPM helicopter.
Activation:
• Any SWITCH, A-H. If you choose a 3-position switch, then that dual rate instantly becomes a triple rate (see example).
• The glider programming offers you the choice of Cond. This option allows you to have a separate rate for each of
condition. (GLID)
• Stick position (ACROGLID([2QUXGGHU \RXQRUPDOO\XVH RQO\WKHFHQWHU RIWKHVWLFN PRYHPHQWH[FHSWIRU
H[WUHPH PDQHXYHUV VXFK DV VQDSVVSLQVVWDOOV$V ORQJ DV \RXU 58''(5 67,&. GRHV QRW H[FHHG RI PD[LPXP
throw, the rudder responds at your lower rate, allowing small, gentle corrections. When the stick passes 90% (ie. stall
turn), the rudder goes to high rate’s 90%, which is a MUCH higher amount of travel than your low rate at 89%.)
Ex: (At 100% = 1”) Low Rate = 50% High Rate = 100%
At 89% Low Rate = .45”
At 90% High Rate = .9”
[Note] Only if any stick is chosen by the item of "SW1", a switch can also be chosen by the item of "SW2." When operated
simultaneously, the switch operation has priority over the stick operation. (ACRO)
Adjustability:
• Range: 0 - 140% (0 setting would deactivate the control completely.) Initial
value=100%
• Adjustable for each direction (ACROGLIDLH8SGRZQOHIWULJKW([0RVW
PRGHOVÀ\XSULJKWZLWKRXWDQ\HOHYDWRUWULPEXWUHTXLUHVRPHGRZQHOHYDWRU
ZKHQLQYHUWHGMXVWWR PDLQWDLQOHYHOÀLJKW%\LQFUHDVLQJ WKHGRZQWUDYHOE\
the amount required to hold the model inverted, the model now has equal
travel available from level upright or level inverted.)
Exponential:FKDQJHVWKHUHVSRQVHFXUYHRIWKHVHUYRVUHODWLYHWRWKHVWLFNSRVLWLRQWRPDNHÀ\LQJPRUHSOHDVDQW<RXFDQ
make the servo movement less or more sensitive around neutral for rudder, aileron, elevator, and throttle (except HELI type
- use THROTTLE CURVE instead). (ACRO type—throttle EXP and THROTTLE CURVE can not be activated simultaneously.
Why use expo? Many models require a large amount of travel to perform their best tricks. However, without exponential,
WKH\DUH³WRXFK\´DURXQGQHXWUDOPDNLQJWKHPXQSOHDVDQWWRÀ\DQGPDNLQJVPDOOFRUUHFWLRQVYHU\GLI¿FXOW$GGLWLRQDOO\
by setting different exponentials for each rate, you can make the effectiveness of small corrections similar in each rate, as
in our example below.
The best way to understand exponential is to try it:
• Having made no changes yet in the D/R,EXP screen, move SWITCH D to “down” (toward the AILERON STICK).
• Cursor down to EXP and dial to +100%.
• Move SWITCH D up. Hold the AILERON STICKDWVWLFNDQGPRYHSWITCH D down.
• Notice how much less travel there is.
*RWRVWLFNDQGUHSHDW1RWLFHKRZWKHWUDYHOLVPXFKFORVHULIQRWLGHQWLFDO
High Rate
High Rate
High RateLow Rate
Low Rate
100% 100%
100%30%0%
90% 90%0%

31
Adjustability:
• More sensitive around neutral. (positive exponential, see example)
• Less sensitive around neutral. (negative exponential, see example)
• Adjustable for each direction. (ACROGLID)
For throttle, exponential is applied at the low end to help nitro and gasoline engines have a linear throttle response, so that
HDFKVWLFNLQFUHDVHVHQJLQH530RIWKHDYDLODEOHUDQJH,QPRVWHQJLQHVWKLVUDQJHVIURP
Special note for helicopters: Helicopter model types have just a single rate for each switch position rather than a rate
for each side of the servo’s travel per switch position. Additionally, setting the D/R,EXP for each switch position requires
cursoring back to the No.VHWWLQJDQGFKDQJLQJWKHVZLWFKSRVLWLRQKHUH-XVWÀLSSLQJWKHVZLWFKGRHVQRWDIIHFWWKHVFUHHQ
setting, allowing dual rates to be assigned with idle-up and other features on certain switches, and does not require putting
WKHPRGHOLQWKDWFRQGLWLRQWRPDNHPRGL¿FDWLRQV
Special note for conditions: The helicopter and glider programming offers you the choice of Cond.. This option allows
you to have a separate rate for each of the 3 controls automatically selected when changing conditions, for a total of FIVE
rates available.
Simply change the switch choice to Cond. and then:
(HELI) press the CURSOR LEVER to toggle through the 5 conditions while setting the rates.
(GLID) activate the corresponding condition to edit the rates.
GOAL of EXAMPLE: STEPS: INPUTS:
Set up dual rates and exponential in a
HELI model.
Open D/R,EXP.for 1 second. (If ADVANCE, again.)
C
to D/R,EXP.
Choose channel.
C
to desired channel.
&KRRVH¿UVWVZLWFKSRVLWLRQ
C
to No>. to UP.
Set rate and exponential (Ex: high rate
= 95%, 0% exponential.)
C
to D/R>. to 95%.
&RQ¿UP0% EXP.
Go to 2nd switch position and set rate
and exponential.
C
to No>. to DN.
Repeat above.
Optional: if using a 3 position switch,
set 3rd rate.
C
to No>. to CT.
Repeat above.
Optional: assign dual rates to have one
for each condition.
C
to SW. to COND.
Repeat steps above to adjust for each
condition.

32
GOAL of EXAMPLE: STEPS: INPUTS:
Set up aileron triple rates on SWITCH
C with travel settings of 75% (normal),
25% (slow roll) and 140% (extreme
aerobatics) and exponential settings of
0%, +15%, and -40% respectively.
NOTE: This normal rate has no
exponential so it has a very linear,
normal feel. This slow roll rate has
positive exponential (the opposite of
what most people normally use), which
makes the servos more responsive
around center. This makes the servos
feel the same around center in the
normal and low rates, but still gives a
very slow roll rate at full stick.
The 3D rate (extreme aerobatics) has
a very high distance of travel B nearly
twice that of the normal rate. Therefore,
using a very high negative exponential
setting softens how the servos respond
around center stick. This makes the
servos respond similarly around center
stick for a more comfortable feel.
Many modelers like to set up all 3 triple
rates on a single 3-position switch,
creating a “slow and pretty mode”,
a “normal mode”, and a “wild stunts
mode” all with the flip of a single
switch. To do so, simply set up rates
for all 3 controls and assign all 3 to the
same 3-position switch.
Open D/R,EXP function. for 1 second. (If ADVANCE, again.)
C
to D/R,EXP.
Choose the channel to change
(Ex: aileron is already selected)
C
to desired channel.
Optional: change switch assignment.
C
to SW1. to C.
Confirm switch is in desired position
and set rate. (Ex: up = high rate, 75%).
C
to D/R>.
C to up position.
AILERON STICK. to 75%.
AILERON STICK. to 75%.
Move SWITCH to 2nd rate position and
set this particular rate.
(Ex: center = low rate, 25%).
C to center position.
AILERON STICK. to 25%.
AILERON STICK. to 25%.
Optional: if using a 3 position SWITCH,
move SWITCH to 3rd position and set
this rate (Ex: down = 3D rate, 140%).
C to down position.
AILERON STICK. to 140%.
AILERON STICK. to 140%.
Optional: instead of using a switch,
you can set high rates to be triggered
when the stick moves past a certain
point. To test this, set aileron high rate
to 25%. Now set switch assignment to
AIL (90%). Move AILERON STICK
to the right and notice the huge jump in
travel after the stick moves 90% of its
distance.
C
to SW1. to AILE (90%).
C
to D/R>.
AILERON STICK. to 25%.
AILERON STICK. to 25%.
AILERON STICK and watch
screen graph. See the change?!
You may also change the trigger point
by holding the stick at the desired point,
then pressing and holding the DIAL.
Set each rate’s EXP.
(Ex: 0%, +15%, -40%)
C
to EXP>.
C to up position.
&RQ¿UPEXP reads 0.
C to down position.
AILERON STICK. to +15%.
AILERON STICK. to + 15%.
C to center position.
repeat to set low rate expo to -40%.
Repeat above steps for elevator and rudder.
Close.
Where next? 6HWXSÀLJKWWLPHUVVHHS
Set up TRAINER functions: see p. 34.
Adjust the sensitivity of the trims: see p. 36.
Set up twin aileron servos: see p. 39.
Set up twin elevator servos: see p. 44.
6HWXSSURJUDPPDEOHPL[HVWRPHHW\RXUVSHFL¿FQHHGVVHHS
33.
47.

33
TIMER submenu (stopwatch functions): controls three electronic clocks used to keep track of time remaining in a
FRPSHWLWLRQWLPHDOORZHGÀ\LQJWLPHRQDWDQNRIIXHODPRXQWRIWLPHRQDEDWWHU\HWF
Adjustability:
• Count down timer: starts from the chosen time, displays time remaining. If the time is exceeded, it continues to count
below 0.
• Count up timer: starts at 0 and displays the elapsed time up to 99 minutes 59 seconds.
• Count down timer (Stop type): starts from the chosen time, displays time remaining, and stops at 0.
• Model timer: cumulates ON time up to 99 hours 59 minites each model. Once Model timer function is turned off, the
cumulate time will also be reset to "0:00".
• Independent to each model, and automatically updates with model change.
• In either TIMER mode, the timer beeps once each minute. During the last twenty seconds, there's a beep each two seconds.
'XULQJWKHODVWWHQVHFRQGVWKHUHVDEHHSHDFKVHFRQG$ORQJWRQHLVHPLWWHGZKHQWKHWLPHVHOHFWHGLVUHDFKHG83
DOWN TIMER)
• To Reset, choose the desired timer with the CURSOR lever (while at the startup screen), then press and hold DIAL for 1
second.
• Activation by either direction of SWITCH A-H, by THROTTLE STICK (STK-THR) (Using the THROTTLE STICK is
convenient if you are keeping track of fuel remaining, or for an electric, how much battery is left), by LOGIC SWITCH
Lsw1-Lsw3 or by the power SWITCH (PWR SW). Set up LOGIC SW: See p. 38.
• Also the reset switch can be assigned (SWITCH A-H or LOGIC SWITCH Lsw1-Lsw3)
GOAL of EXAMPLE: STEPS: INPUTS:
6HWWLPHUWRFRXQWGRZQPLQXWHV
being controlled by THROTTLE
STICK position. This is utilized to keep
track of actual Throttle on time to better
FRUUHODWHZLWKIXHOEDWWHU\XVDJH
Open BASIC menu, then open TIMER
function.
for 1 second. (If ADVANCE, again.)
to page 2.
C
to TIMER.
Go to TIMER<2>.
C
to 10 (TIMER<2>).
Adjust time to 4 min. 30 sec., count
down.
to 4.
C
to 00 (TIMER<2>).
to 30.
Assign to THROTTLE STICK and set
trigger point.
C
to ON>SwA (TIMER<2>).
to STK THR.
C
to 50%. for 1 second to NULL.
THROTTLE STICK to desired
SRVLWLRQ([VWLFN
for 1 second to set.
Close.
Where next? Adjust END POINTsDIWHU¿UVWÀLJKWWHVWVHHS
$GMXVWDX[LOLDU\FKDQQHODVVLJQPHQWVH[PRYHÀDSVWRDVZLWFKVHHS
Set up TRAINER functions: see p. 34.
TIMER<1>
TIMER<2>
TIMER<3>
(Home screen)
27.
34.

34
Auxiliary channel function (including channel 9-10 controls)(AUX-CHGH¿QHVWKHUHODWLRQVKLSEHWZHHQWKHWUDQVPLWWHU
controls and the receiver output for channels 5-10. Also, the CH9-10 POSI are used to change the CH9-10 servo direction.
Note that the CH9-10 functions are only visible in the AUX-CH screen.
Adjustability:
• channels 5-8 may be assigned to any SWITCH (A-H),LOGIC SWITCH
(Lsw1-Lsw3), slider [VR(D) and VR(E)], or knob [VR(A-C)] (for example,
moving flaps to a switch or slider), but not the primary control sticks (use
programmable mixes to do so, p. 68);
• channel 9-10 may be assigned to any SWITCH (A-H),LOGIC SWITCH
(Lsw1-Lsw3) and the servo direction may be changed.
• multiple channels may be assigned to the same switch, slider or knob;
• channels set to "NULL" are only controlled by mixes. (Ex: utilizing 2 channels
for 2 rudder servos. See mixes, p. 68.)
•If GYRO SENSE, GOVERNOR, and THR-NEEDLE functions are activated, AUX-CH
settings of related channels become invalid automatically.
Related channels:
GYRO SENSE (ACRO): ch. 5, 7, or 8: see p. 56.
GYRO SENSE (HELI): ch. 5: see p. 85.
GOVERNOR (HELI): ch. 7, or ch. 7 and 8: see p. 86.
THR-NEEDLE (ACROHELI): ch. 8: see p. 50.
Remember that if you assign primary control of a channel to a switch which you later use for other functions (like
GXDOWULSOHUDWHVRUDLUEUDNHVHYHU\WLPH\RXXVHWKDWRWKHUIXQFWLRQ\RXZLOODOVREHPRYLQJWKHDX[LOLDU\FKDQQHO
GOAL of EXAMPLE: STEPS: INPUTS:
$VVLJQÀDSVWRWKHULJKWVOLGHU>VR(E)]
and set channel 7 to NULL in preparation
to use it as a smoke system control (the
smoke system being activated later by a
throttle-to-ch.-7 mix).
Open BASIC menu, then open AUX-CH
function.
for 1 second. (If ADVANCE, again.)
C
to AUX-CH.
Choose the channel to change. (ex: ch.
6.)
C
to Ch 7.
Change primary control. (ex: to slider.) to Vr-E.
Repeat as needed. (ex: ch. 7 to NULL.)
C
to Ch 7. to NULL.
Close.
Where next? Programmable mixes: see p. 68.
6HWXSGXDOWULSOHUDWHVDQGH[SRQHQWLDOD/R,EXP): see p. 30.
Adjust SUB-TRIM of auxiliary channel to adjust center SWITCH position:
see p. 36.
Adjust END POINTs (sets end points of travel even when using a switch):
see p. 27.
TRAINER: for training novice pilots with optional trainer cord connecting 2 transmitters. The instructor has several levels of
controllability.
Adjustability:
•NORM: When the TRAINER SWITCH is ON, the channel set to this mode can
be controlled by the student. The set channel is controlled according to any
programming set at the student's transmitter.
•FUNC: When the TRAINER SWITCH is ON, the channel set to this mode can
be controlled by the student, controlled according to any mixing set at the
instructor's transmitter.

35
•MIX: When the TRAINER SWITCH is ON, the channel set to this mode can be controlled by both the student and
the instructor, controlled according to any mixing set at the instructor's transmitter. And the student's mixing rate is
adjustable. (default 30%)
[Note] However, it becomes invalid even if it sets up the channel which is not in a student's transmitter. The channel serves
as operation by the instructor's transmitter automatically.
•OFF: The channel set to this mode cannot be controlled by the student even when the TRAINER SWITCH is ON. The set
channel is controlled by the instructor only, even when the TRAINER SWITCH is ON.
• SWITCH: controlled by spring-loaded SWITCH only. Not assignable.
• Compatibility: The AT10 may be master or student with any Radiolink transmitter compatible with the cord. Simply plug
the optional trainer cord (For AT10 series, sold separately) into the trainer connection on each transmitter, and follow the
guidelines below.
Examples:
:KHQWKURWWOHFROOHFWLYHDUHVHWWRFUNC,
5-channel helicopter practice is possible
with a 4-channel transmitter.
• Set up the model in a second transmitter,
use NORM mode to quickly and safely check
proper operation of all functions, then allow
WKHVWXGHQWUDGLRWRIXOO\À\WKHPRGHO
•Using NORM mode, set lower throws,
different exponentials, even different
auxiliary channel settings on the student
radio (if it has these features).
• To ease the learning curve, elevator and
aileron may be set to the NORM or FUNC
mode, with the other channels set to OFF
and controlled by the instructor.
GOAL of EXAMPLE: STEPS: INPUTS:
Turn on the TRAINER system and set up
so student has: fully functional control
of aileron and elevator to support
FLAPERON and AILEVATOR; normal
control of rudder to allow lowered
travel; and no throttle channel control
(with the instructor for safety).
Open BASICmenu, then open TRAINER
function.
for 1 second. (If ADVANCE, again.)
Activate TRAINER.to OFF.
Choose desired channel(s) and proper
training type(s).
C
past AIL and ELE (default OK).
C
to THR, to OFF.
C
to RUD, to NORM.
Close.
7(67VWXGHQWUDGLRIXQFWLRQIXOO\SULRUWRDWWHPSWLQJWRÀ\
Where next? 6HWXSGXDOWULSOHUDWHVDQGH[SRQHQWLDOD/R,EXP) on student AT10: see p.30.
Reset trims on student AT10: see p. 35.
Precautions:
• NEVER turn on the student transmitter power.
• ALWAYS set the student transmitter modulation mode to PPM.
• BE SURE that the student and instructor transmitters have identical trim
settings and control motions. Verify by switching back and forth while
moving the control sticks.
• FULLY extend the instructor's antenna. Collapse the student's antenna.
(except 2.4GHz)
• When the TRAINER function is active, the snap roll function is deactivated.
Other functions, such as IDLE-DOWN and THR-CUT, which have been
assigned to the same switch, are not deactivated. Always double check
your function assignments prior to utilizing the TRAINER function.
• When you select a different model, the TRAINER function is deactivated in
the current model for safety reasons.
TRIM submenu: resets and adjust effectiveness of digital trims.
The AT10 has digital trims which are different from conventional mechanical
trim sliders. Each TRIM LEVER is actually a two-direction switch. Each time
the TRIM LEVER is pressed, the trim is changed a selected amount. When you
hold the TRIM LEVER, the trim speed increases. The current trim position is
graphically displayed on the start up screen. The TRIM submenu includes two
functions that are used to manage the trim options.

36
HELI models only: OFFSET is available in the idle ups. If OFFSET is inhibited, adjustment of the TRIM LEVERS will adjust
WKHWULPVIRUDOOÀLJKWFRQGLWLRQV,IOFFSET is active, then moving the trims within any one condition will effect only that
condition. See OFFSET, p. 81.
Trim reset (RESET): electronically centers the trims to their default values. Note that the SUB-TRIM settings and the trim
STEP rate are not reset by this command.
GOAL of EXAMPLE: STEPS: INPUTS:
Reset trims to neutral after having
adjusted all linkages.
NOTE: This is one of several
functions for which the radio requires
FRQ¿UPDWLRQWRPDNHDFKDQJH
Open BASICmenu, then open TRIM
submenu.
for 1 second. (If ADVANCE, again.)
C
to TRIM.
Request DQGFRQ¿UPWKHUHVHW.for 1 second.
Beep sounds.
Close.
Where next? Adjust SUB-TRIMs: see p. 36.
Adjust trim rate (STEP): see below.
Adjust END POINTs: see p. 27.
6HWXSGXDOWULSOHUDWHVDQGH[SRQHQWLDOD/R,EXP): see p. 30.
Trim step (STEP): changes the rate at which the trim moves when the TRIM LEVER is activated. It may be set from 1 to
40 units, depending on the characteristics of the aircraft. Most ordinary aircraft do well at about 2 to 10 units. Generally
ODUJHUWULPVWHSVDUHIRUPRGHOVZLWKODUJHFRQWUROWKURZVRUIRU¿UVWÀLJKWVWRHQVXUHVXI¿FLHQWWULPWRSURSHUO\FRUUHFWWKH
PRGHO6PDOOHUWULPVWHSVDUHODWHUXVHGWRDOORZYHU\¿QHDGMXVWPHQWVLQÀLJKW
GOAL of EXAMPLE: STEPS: INPUTS:
Double the sensitivity (larger step) ofthe
AILERON TRIM LEVERS for a first
flight of an aerobatic model to ensure
sufficient range to trim the model for
OHYHOÀLJKW
Open TRIM submenu and choose the
STEP you wish to change. (Ex: aileron)
for 1 second. (If ADVANCE, again.)
C
to TRIM.
Adjust the size of the step.
(Ex: incr. to 8)
C
to AILE. to 8.
Repeat as desired for other channels.
C
to ELEV. to new setting.
Repeat as needed.
Close.
Where next? Adjust sub trims: see p. 36.
Adjust END POINTs: see p. 27.
6HWXSGXDOWULSOHUDWHVDQGH[SRQHQWLDOD/R,EXP): see p. 30.
SUB-TRIM: makes small changes or corrections to the neutral position of each servo. Range is -120 to +120, with 0 setting,
the default, being no SUB-TRIM.
We recommend that you center the digital trims before making SUB-TRIM
changes, and that you try to keep all of the SUB-TRIM values as small as
possible. Otherwise, when the SUB-TRIMs are large values, the servo's range
of travel is restricted on one side.
The recommended procedure is as follows:
• measure and record the desired surface position;
• zero out both the trims (TRIM RESET menu) and the SUB-TRIMs (this menu);
• mount servo arms and linkages so that the control surface’s neutral is as correct as possible; and
• use a small amount of SUB-TRIMWRPDNH¿QHFRUUHFWLRQV

37
GOAL of EXAMPLE: STEPS: INPUTS:
$GMXVWWKHÀDSVHUYRVSUB-TRIM untilits
center exactly matches the aileron
servo's center, as they are to work
WRJHWKHUDVÀDSHURQV
Open BASICmenu, then open SUB-TRIM.for 1 second. (If ADVANCE, again.)
C
to SUB-TRIM.
Choose the channel to adjust, andadjust
XQWLOVXUIDFHVPDWFK([ÀDS
C
to FLAP
as needed.
C
to each channel,
Repeat for other channels. as needed.
Close.
Where next? Adjust trim steps: see p. 35.
Adjust END POINTs: see p. 27.
6HWXSGXDOWULSOHUDWHVDQGH[SRQHQWLDOD/R,EXP): see p. 30.
The servo submenu includes two features:
• real-time bar-graph display to demonstrate exactly what commands the
transmitter is sending to the servos. (This can be particularly handy in setting
up models with complicated mixing functions, because the results of each
stick, lever, knob, switch input and delay circuit may be immediately seen.)
VHUYR F\FOH IXQFWLRQ WR KHOS ORFDWH VHUYR SUREOHPV SULRU WR LQÀLJKW IDLOXUHV
(channels 1-8)
GOAL of EXAMPLE: STEPS: INPUTS:
View the result of reassigning channel
6 from VR(A) knob to three-position
SWITCH C.
Cycle the channel 6 servo.
Complete desired programming
function. (Ex: in AUX-CH, move ch. 6 to
SWITCH C)
See AUX-CH for details. (p. 34.)
Open the SERVO function. for 1 second. (If ADVANCE, again.)
C
to SERVO.
Move each control to see exactly how
operating. (Ex: SWITCH C in all
positions)
C to center position.
Note change in position of ch. 6 servo.
Prepare all servos to be cycled and cycle.
Plug in servos. POWER ON.
End cycling and close.
Where next? 6HWXSGXDOWULSOHUDWHVDQGH[SRQHQWLDOD/R,EXP): see p. 30.
Set up desired programmable mixes: see p. 47.
Set up dual aileron servos: see p. 39.
Set up dual elevator servos: see p. 44.
SERVO display and cycle submenu: displays radio's output to channels 1-10.
FailSafe (loss of clean signal and low receiver battery) submenu F/S): sets responses in case of loss of signal or low Rx
FailSafe (F/SLQVWUXFWVD*UHFHLYHUZKDWWRGRLQWKHHYHQWUDGLRLQWHUIHUHQFHLVUHFHLYHG
Adjustability:
•Each channel may be set independently.
• The NOR (normal) setting holds the servo in its last commanded position.
• The F/S (FailSafe) function moves each servo to a predetermined position.
• NOTE: the setting of the throttle's F/S also applies to the Battery F/S (see
below).
(
Battery.

38
Examples:
• The F/SVHWWLQJLVXVHGLQFHUWDLQFRPSHWLWLRQVWRVSLQWKHDLUFUDIWWRWKHJURXQGSULRUWRÀ\LQJDZD\DQGGRLQJSRWHQWLDO
GDPDJHHOVHZKHUH&RQYHUVHO\PD\DOVREHXVHGWRJRWRQHXWUDORQDOOVHUYRVKRSHIXOO\NHHSLQJWKHSODQHÀ\LQJDVORQJ
as possible.
• Competition modelers often maintain the NOR function so that brief interference will not affect their model's maneuver.
• Set the throttle channel so that the engine idles when there is interference (ACRO7KLVPD\JLYHHQRXJKWLPHWRÀ\DZD\
from and recover from the radio interference and minimize damage if crashed.
• For helicopters, NOR is typically the safest choice.
•
We also recommend setting a gasoline engine's electronic kill switch to the OFF position in the F/S function for safety reasons.
Updating F/S Settings: If you specify a F/S setting, the FailSafe data is automatically transmitted once each two minutes.
(PCM) When you choose the F/S mode, check that your settings are as desired by turning off the transmitter power switch
and verifying that the servos move to the settings that you chose. Be sure to wait at least two minutes after changing the
VHWWLQJDQGWXUQLQJRQWKHUHFHLYHUSRZHUEHIRUHWXUQLQJRIIWKHWUDQVPLWWHUWRFRQ¿UP\RXUFKDQJHVKDYHEHHQWUDQVPLWWHG
GOAL of EXAMPLE: STEPS: INPUTS:
Change the receiver FailSafe command
for channel 8 (gasoline engine kill
switch) to a preset position.
NOTE: This is one of several
functions for which the radio requires
FRQ¿UPDWLRQWRPDNHDFKDQJH
Open the BASIC menu, then open F/S
function.
for 1 second. (If ADVANCE, again.)
C
to F/S.
Choose Channel to change. (ex: Ch. 8)
C
to Ch 8.
Set and FRQ¿UP fail safe command. that controls channel 8 to desired
OFF position.
for 1 second to store.
Repeat as desired.
Close.
Where next? :DLWWZRPLQXWHVDQGFRQ¿UPF/S settings as described above.
Read below for information on Battery FailSafe.
Adjust END POINTs to gain proper F/S responses if needed: see p. 27.
Adjust SUB-TRIM to gain proper F/S responses if needed: see p. 36.
Battery FailSafe (F/S): a second battery low warning feature (separate from the transmitter low voltage warning). When
WKH DLUERUQH EDWWHU\ YROWDJH GURSV EHORZ DSSUR[LPDWHO\ 9 WKH*UHFHLYHU¶VEDWWHU\F/S function moves the
throttle to a predetermined position. When the Battery F/S function is activated, your engine will move to idle (if you
haven't set a position) or a preset position. You should immediately land. You may temporarily reset the Battery F/S
function by moving the THROTTLE STICK to idle. You will have about 30 seconds of throttle control before the battery
function reactivates.
Adjustability:
•NOR F/S setting for throttle results in Battery F/S going to the servo position reached by moving THROTTLE STICK to
the bottom with TRIM LEVER centered;
•F/S position setting for throttle results in Battery F/S also going to the same throttle servo position as the regular F/S.
If using a 6V (5-cell) receiver battery, it is very likely that your battery will be rapidly running out of charge before
battery FailSafe takes over. It is not a good idea to count on battery FailSafe to protect your model at any time, but
especially when using a 5-cell battery.
ACRO ADVANCE MENU FUNCTIONS:
Aircraft wing types (ACROGLID):
There are 3 basic wing types in aircraft models:
• Simple. Model uses one aileron servo (or multiple servos on a Y-harness into a single receiver channel) and has a tail.
This is the default setup and requires no specialized wing programming.
• Twin Aileron Servos. Model uses 2 aileron servos and has a tail. see Twin Aileron Servos.
• Tail-less model (flying wing). Model uses 2 wing servos working together to create both roll and pitch control. see
ELEVON.

39
Twin Aileron Servos (with a tail) (ACROGLID): Many current generation models use two aileron servos, plugged into two
VHSDUDWHUHFHLYHUFKDQQHOV,I\RXUPRGHOLVDÀ\LQJZLQJZLWKRXWVHSDUDWHHOHYDWRUVVHHELEVON, p. 43.)
%HQH¿WV
• Ability to adjust each servo's center and end points for perfectly matched travel.
• Redundancy, for example in case of a servo failure or mid-air collision.
• Ease of assembly and more torque per surface by not requiring torque rods for a single servo to drive 2 surfaces.
+DYLQJPRUHXSDLOHURQWUDYHOWKDQGRZQWUDYHOIRUVWUDLJKWHUUROOVDLOHURQGLIIHUHQWLDOVHHJORVVDU\IRUGH¿QLWLRQ
8VLQJWKHWZRDLOHURQVQRWRQO\DVDLOHURQVEXWDOVRDVÀDSVLQZKLFKFDVHWKH\DUHFDOOHGÀDSHURQV
• Set a negative percentage to reverse the operation of one of the servos.
Options:
• 5-channel receiver. Set up AILE-2 (see p. 42) prior to continuing with FLAPERON or AIL-DIFF.
•FLAPERON:
•Uses CH6 for the second servo (see AIL-2 to use CH5.)
$OORZVÀDSDFWLRQDVZHOODVDLOHURQDFWLRQIURPWKHDLOHURQV
•Provides FLAP-TRIMIXQFWLRQWRDGMXVWWKHQHXWUDOSRLQWRIWKHÀDSHURQVIRUOHYHOÀLJKW
•Also allows aileron differential in its own programming (instead of activating AIL-DIFF).
• Aileron Differential (AIL-DIFF):
•Uses CH7 for the 2nd servo (see AIL-2 to use CH5.)
/HDYHV&+&+IUHHIRUÀDSRSHUDWLRQVXFKDVÀDSHURQDQGÀDSDFWLRQWRJHWKHULQAIRBRAKE. (see p. 48).
•Allows for more up aileron travel than down for straighter rolls.
You will need to choose which of FLAPERON or AIL-DIFF is the better choice for your model's setup. If you need the ailerons
WRDOVRRSHUDWHDVÀDSV\RXPRVWOLNHO\ZDQWWRXVHFLAPERON,I\RXUPRGHOKDVDLOHURQVHUYRVDQGÀDSVWKHQAIL-DIFF
is probably the easiest choice.
NOTE: Only one of the three wing-type functions (FLAPERON,AIL-DIFF, and ELEVON) can be used at a time. All three
IXQFWLRQVFDQQRWEHDFWLYDWHGVLPXOWDQHRXVO\7RDFWLYDWHDGLIIHUHQWZLQJW\SHWKH¿UVWPXVWEHGHDFWLYDWHG
GOAL of EXAMPLE: STEPS: INPUTS:
De-activate FLAPERON so that AIL-DIFF or
ELEVON can be activated.
Open the FLAPERON function. for 1 second. (If BASIC, again.)
C
to FLAPERON.
De-activate the function.
C
to MIX. to INH.
Close function.
Where next? Set up AILE-DIFF (see p. 41) or ELEVON (see p. 43).
Using FLAPERON (ACROGLID 1A+1F ):
(GLID 1A+1F)(ACRO)
The FLAPERONPL[LQJIXQFWLRQXVHVRQHVHUYRRQHDFKRIWKHWZRDLOHURQVDQGXVHVWKHPIRUERWKDLOHURQDQGÀDSIXQFWLRQ
)RUÀDSHIIHFWWKHDLOHURQVUDLVHORZHUVLPXOWDQHRXVO\2IFRXUVHDLOHURQIXQFWLRQPRYLQJLQRSSRVLWHGLUHFWLRQVLVDOVR
performed.
[Note] When changing the polarity of a rate, "change rate dir?" is displayed for a check. Please set up after
pressing DIAL for 1 second and canceling an alarm display. (GLID only)

40
Once FLAPERONLVDFWLYDWHGDQ\WLPH\RXSURJUDP&+RUÀDSLHELEVATOR-FLAP mixing), the radio commands both
VHUYRVWR RSHUDWHDVÀDSV7KHDPRXQW RIWUDYHO DYDLODEOHDVÀDSV LVLQGHSHQGHQWO\DGMXVWDEOH LQFLAPERON. A trimming
feature is also available (see FLAP-TRIM WR DGMXVW ERWK QHXWUDO SRVLWLRQV WRJHWKHU IRU VWUDLJKWDQGOHYHO ÀLJKW RU VOLJKW
LQFUHDVHVGHFUHDVHVRIWKHÀDSDQJOHEND POINT and SUB-TRIM both still adjust each servo individually.
Adjustability:
• Each aileron servo's up travel can be set separate from its down travel, creating aileron differential. (See example).
(DFKDLOHURQVHUYRVWUDYHOZKHQDFWXDWHGDVDÀDSLVVHSDUDWHO\DGMXVWDEOH
•AILE-2FDQEHXWLOL]HGWRXVHDFKDQQHOUHFHLYHUDQGVWLOOKDYHÀDSHURQV127(7KHAILE-2 function only commands the
FKDQQHOVHUYRWRRSHUDWHZLWKWKHDLOHURQVHUYRDVDLOHURQVDQGWRREH\WKHSULPDU\ÀDSFRQWUROWUDYHODGMXVWHGLQFLAP-
TRIM,WGRHVQRWSURYLGHIXOOÀDSPL[FDSDELOLW\DVZKHQXVLQJDFKDQQHOUHFHLYHUDQGFKDQQHO
• The separate FLAPERON settings for each condition can be set. (GLID)
127($FWLYDWLQJÀDSHURQVRQO\PDNHVWKHDLOHURQVZRUNDVDLOHURQVDQGWHOOVWKHUDGLRKRZIDU\RXZDQWWKHPWRPRYH
DVÀDSV,)\RXWKHQDFWLYDWHRWKHUSURJUDPPLQJWKDWPRYHVWKHPDVÀDSV
FLAP-TRIMLVWKHÀDSWULPPLQJIHDWXUHWKDWDOORZVWKHÀDSVWRPRYHLQUHDFWLRQWRWKHFKDQQHOFRQWURO,WLVPHDQWRQO\
IRUWULPPLQJWKHÀDSVFHQWHUEXWFDQDOVREHXVHGDVIXOOÀDSFRQWURO6HHS
AIRBRAKELVDIHDWXUHWKDWGURSVÀDSHURQVDVÀDSDQGDOVRFRPSHQVDWHVZLWKHOHYDWRULIGHVLUHG6HHS
ELEVATOR-FLAPZRXOGDGGHOHYDWRUPL[LQJLQWRWKHÀDSPRYHPHQWIURPWKHÀDSGLDODIWHUFLAP-TRIM is activated.
GOAL of EXAMPLE: STEPS: INPUTS:
Activate twin aileron servos, FLAPERON.
Input 10% less down travel than up
travel (aileron differential) within the
FLAPERON programming. (Decrease right
aileron is down travel to 90%, decrease
left aileron's down travel to 90%.)
$GMXVWWRWDOÀDSWUDYHODYDLODEOHWR
of aileron travel available.
Open the FLAPERON function. for 1 second. (If BASIC, again.)
C
to FLAPERON.
Activate the function.
C
to MIX. to ACT.
Optional: adjust the up/down travel
separately for the 2 servos.(Ex: 90%
down.)
C
to AIL1.AILERON STICK.
to 90%.
C
to AIL2.AILERON STICK.
to 90%.
Optional: adjust the aileron's travel so
WKH\PRYHDVÀDSV([HDFKVHUYRÀDS
travel to 50%.)
C
to FLP2. to +50%.
C
to FLP1. to -50%.
Close menu.
Where next? Set FLAP-TRIM: see p. 40.
Set up AIRBRAKE mix: see p. 48.
0L[ÀDSHURQVÀDSPRWLRQWRDQRWKHULQERDUGÀDSSOXJJHGLQWRDX[VHHS
Welcom to click our web for more.
* If you receive an error message that OTHER WING MIXING IS ON, you must deactivate AIL-DIFF or ELEVON. see p. 41.
Using FLAP-TRIM FDPEHUWRDGMXVWÀDSHURQV (ACROGLID )
(GLID)(ACRO)
FLAP-TRIM assigns the primary flaperon control [defaults to VR(A)] to allow trimming in flight of the flap action of
ÀDSHURQV1RWHHYHQLIFLAP-TRIM is made active with AIL-DIFF, it will not have any effect. The ONLY function that allows
FRQWURORIWKHDLOHURQVDVÀDSVLQWKHAIL-DIFFFRQ¿JXUDWLRQLVAIRBRAKE.) Most modelers use AIRBRAKE, or programmable
PL[HVWRPRYHWKHÀDSVWRDVSHFL¿HGSRVLWLRQYLDPRYHPHQWRIDVZLWFK
40.)
48.)
47.

41
FLAP-TRIMPD\DOVREHXVHGDVWKHSULPDU\ÀDSFRQWUROLQÀLJKW%\GRLQJVR\RXFDQDVVLJQ&+WRDSRVLWLRQVZLWFK
ZLWK D VSRLOHURQ QHXWUDO DQG IODSHURQ SRVLWLRQ DQG HYHQ DGMXVW WKH SHUFHQWDJH WUDYHOHG DV IODSHURQVSRLOHURQ E\
changing the Flap Trim travel. (Note that there is only one setting, not independent settings for up and down travel.)
GOAL of EXAMPLE: STEPS: INPUTS:
Add FLAP-TRIM to allow the model's
DLOHURQVWREHWULPPHGWRJHWKHUDVÀDSV
at any time during the flight,with a
maximum travel of 5%RIWKHWRWDOÀDS
travel set in FLAPERON.
Open the FLAP-TRIM function. for 1 second. (If BASIC, again.)
C
to FLAP-TRIM.
The function is automatically activated with FLAPERON; however, the default
travel is 0.
Adjust the travel available to the
flaperons when turning the CH6
DIAL.(Ex: 5%).
to 5%.
Optional: Use as total flap control.
Reassign CH6 is primary control in
AUX-CHWR\RXUGHVLUHGÀDSFRQWURO
(Ex: right slider)
to 50%.
C
to AUX-CH.
C
to CH6. to Vr-E.
Close menu.
Where next? Adjust individual servo's SUB-TRIMs: see p. 36 and END POINTs: see p. 27.
Set up AIRBRAKE mix: see p. 48 and ELEV-FLAP mix: see p. 48.
0L[ÀDSHURQVÀDSPRYHPHQWWRDQDGGLWLRQDOLQERDUGÀDSSOXJJHGLQWRDX[
see p. 47.
Using Aileron Differential (AILE-DIFF)(ACROGLID 2A+1FGLID 2A+2F):
$LOHURQGLIIHUHQWLDOLVSULPDULO\XVHGRQRUVHUYRZLQJVZLWKRQHVHUYRVRSHUDWLQJLQERDUGÀDSVRQ&+RU&+
& CH6, and AILE-DIFF controlling proper aileron operation of 2 aileron servos, plugged into CH1 and CH7. The ailerons
FDQQRWEHPRYHGOLNHÀDSVZKHQXVLQJAILE-DIFF, except if using AIRBRAKE (see p. 63.) (Note that even if you make FLAP-
TRIM active while using AILE-DIFF, it will not have any effect. ONLY AIRBRAKEFRQWUROVWKHDLOHURQVDVÀDSVLQWKHAILE-DIFF
FRQ¿JXUDWLRQ
>1RWH@ :KHQ FKDQJLQJ WKH SRODULW\ RI D UDWH LQ FDPEHUÀDS FKDQJH UDWH GLU" LV GLVSOD\HG IRU D FKHFN
Please set up after pressing DIAL for 1 second and canceling an alarm display. (GLID only)
)/$3IXQFWLRQDOORZV\RXWRVHWXSRUVHUYRVIRUÀDSDFWLRQ
• The separate AILE-DIFF settings for each condition can be set. (GLID only)
(GLID 2A+1FGLID 2A+2F)(ACRO)

42
GOAL of EXAMPLE: STEPS: INPUTS:
Activate twin aileron servos using AIL-
DIFF.
Note that the function defaults to no
difference in down travel vs. up travel.
If you want differential travel, simply
adjust each side. (Ex: 90%)
Open the AIL-DIFF function. for 1 second. (If BASIC, again.)
C
to AIL-DIFF. *
Activate the function.
C
to MIX. to ACT.
2SWLRQDODGMXVWWKHXSGRZQWUDYHO
separately for the 2 servos.
(Ex: adjust to 90%.)
C
to AIL1.AILERON STICK.
to 90%.
C
to AIL2.AILERON STICK.
to 90%.
Close menu.
Where next? Adjust individual servo's SUB-TRIMs: see p. 36 and END POINTs: see p. 27.
Set up AIRBRAKE mix: see p. 48.
Set up ELEV-FLAPPL[RQO\LIPRGHOKDVDÀDSVHUYRLQ&+VHHS
Set up SNAP-ROLL Function: see p. 45.
View additional model setups: www.radiolink.com.cn/doce/
*If you receive an error message that OTHER WING MIXING IS ON, you must deactivate ELEVON or FLAPERON. See p. 43.
Using Twin Aileron Servos with a 5-channel receiver, AILE-2 (ACROGLID ):
AILE-2 allows FLAPERON and AIL-DIFF with a 5-channel receiver. AILE-2 only tells
the radio that you are using CH5 and CH6 (FLAPERON), or CH5 and CH7 (AIL-
DIFF), not CH6 or CH7, as the second servo in FLAPERON or AILE-DIFF. You still
must activate and set up the FLAPERONAILE-DIFF function.
Note that selecting CH6&5 or CH7&5 does NOT free up CH6 or CH7 to be used for other functions when using a receiver
with more than 5 channels. Both 5 and 6 (FLAPERONAILE-DIFF) are dedicated to the FLAPERON or AILE-DIFF programming.
>7KLVLVEHQH¿FLDOZLWKIRXUDLOHURQVHUYRVWKDWQHHGWRKDYHWKHLUHQGSRLQWVRUVXEWULPVVHWVHSDUDWHO\&+&+DQG
CH6 are already fully set up to operate as ailerons. Mix CH7 or CH8 (the second aileron servo on the other side) into
ailerons to function properly.]
Aircraft tail types (ACROGLID):
GOAL of EXAMPLE: STEPS: INPUTS:
Adjust the second aileron servo output
from CH6or7 to channels CH6&5.
Allows twin aileron servo operation
with a 5-channel receiver.
Open the PARAMETER submenu. for 1 second. (If ADVANCE, again.)
C
to PARAMETER.
Select AILE-2 and change to CH6&5.
C
to AILE-2. to CH6&5.
Close menu.
Where next? Finish setting up FLAPERON or AILE-DIFF. see Twin Aileron Servos: p. 39.
View additional model setups on the internet: www.radiolink.com.cn/doce
48.

43
There are 4 basic tail types in aircraft models:
• Simple. Model uses one elevator servo and one rudder servo (or multiple servos on a Y-harness). This is the default.
• Dual Elevator servos. Model uses 2 elevator servos. see AILEVATOR (ACRO) see p. 44.
•
Tail-less model. Model uses 2 wing servos together to create roll and pitch control. see ELEVON(ACROGLID 1A+1F). see p. 43.
•
V-TAIL. Model uses 2 surfaces, at an angle, together to create yaw and pitch control. see V-TAIL (ACROGLID). see p. 45.
Note: Only one of the three tail-type functions (AILEVATOR,V-TAIL, and ELEVON) can be used at a time. The radio provides a
ZDUQLQJDQGZLOOQRWDOORZWKHDFWLYDWLRQRIDQRWKHUWDLOW\SHXQWLOWKH¿UVWLVGHDFWLYDWHG$QHUURUPHVVDJHRIOTHER WING
MIXING IS ON will display. (See the wing type example on page 38.)
Using ELEVON(ACROGLID 1A+1FXVHGZLWKGHOWDZLQJVÀ\LQJZLQJVDQGRWKHUWDLOOHVVDLUFUDIWWKDWFRPELQHDLOHURQDQG
HOHYDWRUIXQFWLRQV XVLQJ WZRVHUYRV RQHRQ HDFK HOHYRQ7KHDLOHURQHOHYDWRU UHVSRQVHVRI HDFKVHUYR FDQ EHDGMXVWHG
independently. This is also popular for ground model use, such as tanks, which drive two motors together for forward, and
RQHPRWRUIRUZDUGRQHEDFNZDUGIRUWXUQLQJ
Adjustability:
• Requires use of CH1 and CH2.
• Independently adjustable aileron travel allows aileron differential.
• Independently adjustable elevator travel allows for differences in up vs. down
travel.
• The separate ELEVON settings for each condition can be set. (GLID only)
[Note] When changing the polarity of a rate, "change rate dir?" is displayed for
a check. Please set up after pressing DIAL for 1 second and canceling an alarm
display. (GLID only)
NOTE: If ELEVON is active, you cannot activate FLAPERON, AILE-DIFF, or
AILEVATOR. An error message OTHER WING MIXING IS ON displays and you must
deactivate the last function to activate ELEVON.
127(%HVXUHWRPRYHWKHHOHYDWRUDQGDLOHURQVWLFNVWRIXOOGHÀHFWLRQGXULQJ
setup. If large travels are specified, when the AILERON and ELEVATOR
STICKS are moved at the same time the controls may bind or run out of travel.
(GLID 1A+1F)
(ACRO)
(For details on setting up a complex aerobatic plane, please contact www.radiolink
.com.cn. Many other setup examples are also available at this location. )
GOAL of EXAMPLE: STEPS: INPUTS:
Activate ELEVON.
Adjust aileron down travel to 90% of up
travel, creating aileron differential.
Open the ELEVON function. for 1 second. (If BASIC, again.)
C
to ELEVON.
Activate the function.
C
to MIX. to ACT.
Optional: adjust the up/down travel
separately for the servos as ailerons.
(Ex: down to 90%.)
C
to AIL1.AILERON STICK.
to 90%.
C
to AIL2.AILERON STICK.
to 90%.
Optional: adjust the elevator travel of
each servo. (Ex: right servo elev. travel
to 98%, left to 105%.)
C
to ELE2. to 98%.
C
to ELE1. to 105%.
Close menu.
Where next? Adjust individual servo's SUB-TRIMs: see p. 36 and END POINTs: see p. 27.
6HWXSGXDOWULSOHUDWHVDQGH[SRQHQWLDOD/R,EXP): see p. 30.
View more on the internet: www.radiolink.com.cn/doce/

44
Dual Elevator Servos (with a rudder) (AILEVATOR) (ACRO): Many models use two elevator servos, plugged in separate
receiver channels. (Flying wings without a separate aileron control use ELEVON. V-shaped tail models use V-TAIL, p. 45.
%HQH¿WV
• Ability to adjust each servo's center and end points for perfectly matched
travel.
• Ease of assembly, not requiring torque rods for a single servo to drive 2
surfaces.
(OHYDWRUVDFWLQJDOVRDVDLOHURQVIRUH[WUHPHVWXQWÀ\LQJ RUPRUHUHDOLVWLFMHW
À\LQJRSWLRQDO
• Redundancy, for example in case of a servo failure or mid-air collision.
Adjustability:
• CH2 and CH8 only. (With programmable mixing, could utilize CH5 as the 2nd elevator servo.
THROTTLE-NEEDLE uses CH8 and cannot be active simultaneously.
• Direction of each servo's travel may be reversed in REVERSE or the set percentages may be reversed here.
• Elevator travels independently adjustable (both directions and percent).
• Optional action as ailerons (defaults to 50%UHVSRQVH7KLV UHVSRQVHFDQQRWEH DFWLYDWHGGHDFWLYDWHGLQÀLJKW6HWWLQJ
AIL1 and 2 to 0GLVDEOHVWKLVIHDWXUH1RWHLI\RXZDQWWKLVEXWRQRIIZLWKDVZLWFKVHW AIL1 and 2 to 0 here, and use 2
mixes . AIL-to-ELEV and AIL-to-AUX2OLQNWULPRIIDVVLJQDVZLWFKWRJHWDLOHURQDFWLRQIURPWKHHOHYDWRUVHUYRVZKHQWKH
assigned switch is on. See p. 68.
)RUGHWDLOVRQVHWWLQJXSDFRPSOH[DHUREDWLFSODQHVXFKDVRQHZLWKZLQJVHUYRVIXOOVSDQDLOHURQVÀDSVAIRBRAKE/
crow etc, please contatct us: www.radiolnk.com.cn. Many other setups are also available.)
The AILEVATOR mixing function uses one servo on each of the two elevators, and combines the elevator function with the
aileron function (unless aileron travel is set to 0). For aileron effect, the elevators are raised and lowered opposite of one
another in conjunction with the ailerons.
Once AILEVATORLVDFWLYDWHGXQOHVV\RX]HURRXWWKHDLOHURQ¿JXUHVVHHEHORZDQ\WLPH\RXPRYH\RXUDLOHURQVRUDQ\
programming moves your ailerons (ie. RUDDER-AILERON mixing), the radio automatically commands both elevator servos
to also operate as ailerons. To deactivate this action, simply set the 2 aileron travel settings to 0 in the AILEVATOR function.
This way the elevators will work only as elevators.
,IXVLQJWKHHOHYDWRUVDVDLOHURQVDVZHOOEHVXUHWRPRYHWKHHOHYDWRUDLOHURQVWLFNZKLOHFKHFNLQJWKHVHUYRPRWLRQV,ID
ODUJHWUDYHOLVVSHFL¿HGZKHQWKHVWLFNVDUHPRYHGDWWKHVDPHWLPHFRQWUROVPD\ELQGRUUXQRXWRIWUDYHO
GOAL of EXAMPLE: STEPS: INPUTS:
Activate twin elevator servos.Deactivate
the elevator-acting-as-ailerons portion
of this function.
Note: Depending upon your model's
geometry, you may need to reverse one
servo or set a negative percentage here.
Open the AILEVATOR function. for 1 second. (If BASIC, again.)
C
to AILEVATOR.
Activate the function.
C
to MIX. to ACT.
Optional: adjust up/down travel when
operating as ailerons. (Ex: 0.)
C
to AIL3. to 0%.
C
to AIL4. to 0%.
Optional: adjust total elevator travel
of each servo. (Ex: right servo elevator
travel to 98%, left to 96%.)
C
to ELE2. to 98%.
C
to ELE1. to 96%.
Close menu.
Where next? Adjust individual servo's SUB-TRIMs: see p. 36 and END POINTs: see p. 27.
Set up Twin Aileron Servos: see p. 39.
Set up AIRBRAKE mix: see p. 48.

45
Using V-TAIL (ACROGLID):
V-TAIL mixing is used with v-tail aircraft so that both elevator and rudder
functions are combined for the two tail surfaces. Both elevator and rudder travel
can be adjusted independently on each surface.
NOTE: If V-TAIL is active, you cannot activate ELEVON or AILEVATOR functions. If one of these functions is active, an error
message will be displayed and you must deactivate the last function prior to activating ELEVON. see the wing example on
page 43.
NOTE: Be sure to move the elevator and rudder sticks regularly while checking the servo motions. If a large value of
WUDYHOLVVSHFL¿HGZKHQWKHVWLFNVDUHPRYHGDWWKHVDPHWLPHWKHFRQWUROVPD\ELQGRUUXQRXWRIWUDYHO'HFUHDVHWKH
travel until no binding occurs.
Adjustability:
• Requires use of CH2 and CH4.
• Independently adjustable travels allow for differences in servo travels.
• Rudder differential is not available. (To create rudder differential, set RUD1 and 2 to 0, then use two programmable mixes,
RUD-ELE and RUD-RUD, setting different percents for up and down. These are your new rudder travels. Trim and link off,
switch assignment null so you can’t accidentally turn off rudder. see PROG.MIX, p. 47.)
(For details on setting up a complex plane, such as one with a v-tail AND a separate steerable nosewheel, please contact
us at www.radiolink.com.cn. Many other setup examples are also available at this location.)
GOAL of EXAMPLE: STEPS: INPUTS:
Activate V-TAIL.
Adjust left elevator servo to 95% travel
to match to right servo's travel.
Open the V-TAIL function. for 1 second. (If BASIC, again.)
C
to V-TAIL.
Activate the function.
C
to MIX. to ACT.
optional: adjust the travels separately
for the 2 servos as elevators. (Ex: set
left to 95%.)
C
to ELE1.to
95%.
Repeat as necessary for other servos.
Close menu.
Where next? Adjust END POINTs: see p. 27 and SUB-TRIMs: see p. 36.
6HWXSGXDOWULSOHUDWHVDQGH[SRQHQWLDOD/R,EXP): see p. 30.
Set up ELEV-FLAP mix: see p. 48.
View more on the internet: www.radiolink.com.cn./doce/
6QDS5ROOVDWWKHÀLFNRIDVZLWFKSNAP-ROLL) (ACRO):
7KLVIXQFWLRQDOORZV \RXWRH[HFXWH VQDSUROOVE\ÀLSSLQJ DVZLWFKSURYLGLQJ
the same input every time. It also removes the need to change dual rates on the
3 channels prior to performing a snap, as SNAP-ROLL always takes the servos to
the same position, regardless of dual rates, inputs held during the snap, etc.
Note: Every aircraft snaps differently due to its C.G., control throws, moments, etc. Some models snap without aileron;
others snap on elevator alone. Most models snap most precisely with a combination of all 3 surfaces. Additionally, rate of
speed and acceleration when using the snap switch will affect how the model snaps. For information on using gyros with
airplanes for cleaner precision maneuvers, such as snaps and spins without over rotation, see p. 56.

46
Adjustability:
•Travel: Adjust the amount of elevator, aileron and rudder travel automatically applied.
•Range: -120 to +120 on all 3 channels. Default is 100% of range of all 3 channels.
•Directions:8SWRVHSDUDWHVQDSVPD\EHVHWXSRQHIRUHDFKRIWKHGLUHFWLRQFKRLFHVXSULJKWGRZQULJKWXSOHIW
GRZQOHIW(DFKVQDSLVIXOO\DGMXVWDEOHUHJDUGLQJWUDYHOVDQGGLUHFWLRQRQHDFKRIWKHFKDQQHOV
Note: for simplicity, the radio refers to snaps that use “UP” or positive elevator as “U” or “UP” snaps. This is more
commonly referred to as a positive or inside snap. “D” or “DOWN” snaps are more commonly referred to as negative or
outside snaps.
•R/U = Right positive R/D = Right negative L/U = Left positive L/D = Left negative snap roll
• Assignment of the 2 switches (DIR-SW1/2) to change snap directions is fully adjustable and optional. If you wish to have
only one snap, leave the switches as NULL. (If assigned, SW1 XSGRZQSW2 OHIWULJKW
• Caution: it is critical that you remember if you assigned switches to select the three additional snaps.
• For example, assign SWITCH A IRU 8' VQDS GLUHFWLRQ DQG WKHQ DOVR DVVLJQ SWITCH A for elevator dual rates.
:KLOHÀ\LQJRQHOHYDWRUORZUDWHSWITCH A DOWN) you pull your snap SWITCH. The model will:
•use the throws set in the snap programming (the low rate elevator has no effect); and
EHDGRZQQHJDWLYHRXWVLGHVQDSQRWDQXSSRVLWLYHLQVLGHVQDS
•Both of these may come as a great surprise and risk crashing if you are unprepared.
• Safety Switch (SAFE-MOD): a safety may be set up on your landing gear SWITCH, preventing accidental snap rolls while
the landing gear is down. The safety switch is turned on and off with the landing gear SWITCH.
•ON: the safety mechanism is activated when the landing gear SWITCH is in the same position as at the time this
feature is changed to ON. Snap rolls will not be commanded even if the snap roll SWITCH is turned on with the
gear SWITCH in this position. When the landing gear SWITCH is moved to the opposite position, snap rolls may
be commanded.
•OFF: activates the safety mechanism in the opposite position from the ON function.
•FREE: the safety mechanism is completely turned off. Snaps can be commanded regardless of the gear SWITCH
POSITION.
Note: The location of the safety switch always follows channel 5. If channel 5 is reassigned to switch C, for
example, switch C is now the safety. If channel 5 is nulled or used as the second aileron servo, the safety function
will not be available.
• Trainer Safety: SNAP-ROLL is automatically disabled when the trainer function is activated.
GOAL of EXAMPLE: STEPS: INPUTS:
Activate SNAP-ROLL. Adjust
elevatortravel to 55%, rudder travel to
120%LQWKHULJKWXSVQDS$FWLYDWH
SAFE-MOD so snaps can not be performed
when gear is down.
$GMXVWUXGGHUWUDYHOLQWKHOHIWGRZQ
snap to 105%.
(Note: using negative percents can
change any of the 4 snap directions. For
example, change snap 1 to "down" by
changing the elevator percent to -100%.)
Open the SNAP-ROLL function. for 1 second. (If BASIC, again.)
C
to SNAP-ROLL.
Activate the function.
C
to MIX. to OFF or ON.
Adjust the travels as needed. (Ex:
elevator to 55%, rudder to 120%.)
C
to ELEV. to 55%.
C
to RUDD. to 120%.
Optional: Activate SAFE-MOD. [Ex: ON
when SWITCH E (AT10) or G (AT10)
is down, meaning snap function is
deactivated when that switch is in the
down position.]
E or G up.
C
to SAFE-MODE
to ON.
snap switch.
Notice MIX reading is still OFF.
E or G down.
Notice MIX reading changes to ON.
Optional: Assign switches to up/down
and left/right. (Ex: Change to the left/
down snap and adjust rudder to 105%.)
C
to SW1. to A.
C
to SW2. to B.
A down B down.
Repeat steps above to set percentages.
Close menu.
Where next? Set up programmable mixes: see p. 47.
View more on the internet:www.radiolink.com.cn./doce/
47
MIXES: the backbone of nearly every function
Mixes are special programs within the radio that command one or more channels to act together with input from only one
source, such as a stick, slider or knob.
There are a variety of types of mixes.
Types:
•Linear: Most mixes are linear. A 100% linear mix tells the slave servo to do exactly what the master servo is doing, using
100% of the slave channel’s range to do so. An example is FLAPERONZKHQDLOHURQVWLFNLVPRYHGWKHÀDSVHUYRLVWROG
to move exactly the same amount. A 50% linear mix would tell the slave servo, for example, to move to 50% of its range
when the master’s control is moved 100%. (see p. 39.)
•Offset: An OFFSETPL[LVDVSHFLDOW\SHRIOLQHDUPL[:KHQWKHPL[LVWXUQHGRQXVXDOO\DÀLSRIDVZLWFKWKHVODYH
servo is moved a set percent of its range. An example of this is AIRBRAKEPRYLQJÀDSVÀDSHURQVDQGHOHYDWRUDOOWRD
VHWSRVLWLRQDWWKHÀLSRIDVZLWFKVHHS
•Curve: Curve mixes are mostly used in helicopters, but may also be used in airplanes and gliders. An example is
THROTTLE-NEEDLE mixing, where the in-flight needle’s servo is moved, changing the mixture, as the throttle servo is
moved. (see p. 50.)
• Delay: Delay mixes are part of a few very special functions that make the servo move to its desired range more slowly.
THROTTLE DELAY (simulates turbine engines, p. 51) and the elevator delay in AIRBRAKE are two examples of this (see p. 48).
DELAY in HELI (see p. 82) is another example that slows the servo movement to the trim settings for the other conditions.
(VVHQWLDOO\HYHU\IHDWXUHLQWKHUDGLR¶VSURJUDPPLQJLVUHDOO\DPL[ZLWKDOODVVLJQPHQWVSURJUDPPLQJVHWXSDQGUHDG\
to use. Additionally, the AT10 ACRO and GLID programs both provide 4 linear and 4 curve fully-programmable mixes ( HELI
provides 4 linear and 2 curve) that allow you to set up special mixes to resolve flight difficulties, activate additional
functions, etc.
Let’s look quickly at a few examples that are features we’ve already covered. This may help to clarify the mix types and
the importance of mixes.
Additional examples:
• Exponential is a preprogrammed curve mix that makes the servos’ response more (+) or less (-) sensitive around center
stick (works in conjunction with dual rate, a linear mix that adjusts the total range). see D/R,EXP, p. 30.
•IDLE-DOWN and THR-CUT are two OFFSET pre-programmed mixes. These tell the throttle servo, when below a certain point,
to move toward idle an additional set percentage to help close the carburetor. see p. 28.
•ELEV-TO-FLAP PL[LQJ LV D SUHSURJUDPPHG OLQHDU PL[ WR PRYH WKH ÀDSV SURSRUWLRQDOO\ WR HOHYDWRU FRQWURO KHOSLQJ WKH
model loop even tighter than it can on elevator alone. (see p. 48.)
•THROTTLE-NEEDLE mixing is a curve mix (like PROG.MIX 5 to 8IRUSURSHULQÀLJKWQHHGOHVHWXSVHHS
•THROTTLE DELAY mixing is a pre-programmed delay mix that slows down the response of the CH3 servo. (see p. 51.)
Next, we'll get an in-depth look at some pre-programmed mixes (PL[HV ZKRVH FKDQQHOV DUH SUHGH¿QHGIRU
) we’ve not covered yet, and last, look at the fully-programmable mix types.
49.)
50.)
simplicity

48
GOAL of EXAMPLE: STEPS: INPUTS:
Activate ELEV-FLAP mixing. Adjust flap
travel to 0%ÀDSVZLWKQHJDWLYHHOHYDWRU
(push) and 45% flaps with positive
elevator.
Open the ELEV-FLAP function. for 1 second. (If BASIC, again.)
C
to ELEV-FLAP.
Activate the function.
C
to MIX. to ACT.
Adjust the travels as needed.
(Ex: 0%,to 45%.)
C
to RATE.
ELEVATOR STICK. to 0%.
ELEVATOR STICK. to 45%.
Close menu.
Where next? $GMXVWÀDSHURQVÀDSWUDYHODYDLODEOHFLAPERON): see p. 39.
Set up AIRBRAKEFURZEXWWHUÀ\VHHS
Set up programmable mixes (ex: FLAP-ELEVATOR): see p. 53.
View more on the internet: www.radiolink.com.cn/doce/
ELEV-FLAP mixing (ACROGLID):
ELEV-FLAPPL[LQJLVWKH¿UVWSUHSURJUDPPHGPL[ZHOOFRYHU7KLVPL[PDNHV
WKH ÀDSV GURS RU ULVH ZKHQHYHU WKH ELEVATOR STICK is moved. It is most
commonly used to make tighter pylon turns or squarer corners in maneuvers. In
PRVWFDVHVWKHÀDSVGURRSDUHORZHUHGZKHQXSHOHYDWRULVFRPPDQGHG
Adjustability:
•Rate IXOO XS ÀDS WR IXOO GRZQ ÀDS ZLWK D GHIDXOW RI
RQHKDOIRIWKHÀDSUDQJHLVDFKLHYHG when the ELEVATOR STICK is pulled
to provide full up elevator.)
•Switch: fully assignable. Also LOGIC SW (Lsw1 to 3) may be assigned. Set up
LOGIC SW: See p. 26.
*IF you set it to NULL, the mix does not work. (ACRO)
•Range (GLID): The range that mixing does not work near neutral of an elevator
stick can be set up.
Hold the stick to the desired point (upper or lower side) , then press DIAL and
hold one second to set the range.
•Condition (GLID): The separate ELEV-FLAP settings for each condition can be set.
(ACRO)
(GLID)
AIRBRAKEBUTTERFLY (crow) mixing (ACROGLID):
(GLID)(ACRO)
Like FLAPERON and AILEVATOR,AIRBRAKE is one function that is really made up of a series of pre-programmed mixes all
done for you within the radio. AIRBRAKE(often called "crow" or BUTTERFLY - see GLID, p. 62 for details) simultaneously
PRYHVWKHÀDSVLILQVWDOOHGWZLQDLOHURQVLILQVWDOOHGDQGHOHYDWRUVDQGLVXVXDOO\XVHGWRPDNHVWHHSGHVFHQWVRUWR
limit increases in airspeed in dives.
48.

49
7KLVIXQFWLRQLVRIWHQXVHGHYHQRQPRGHOVZLWKRXWÀDSVDVDQHDV\ZD\WRXVHWKHÀDSHURQVDQGFLAP-ELEVATOR mixing
together.
Adjustability:
•Activation: Proportional by moving the THROTTLE STICKRUVHWSRVLWLRQVE\ÀLSSLQJWKHDVVLJQHGVZLWFK
•Switch: Mix SWITCH is selectable.
*Also LOGIC SW (Lsw1 to 3) may be assigned. Set up LOGIC SW: See p. 26.
•Linear(Inversely proportional to THROTTLE STICK): provides a proportional increase in amount of AIRBRAKE
action as THROTTLE STICK is lowered and assigned switch is on. Provides gradually more AIRBRAKE as you slow
the engine. Includes selectable stick position where AIRBRAKE begins, gradually increasing to the same setting as the
THROTTLE STICK is lowered. If you would like to have the airbrake be directly proportional to throttle stick, you will
need to reverse the THR-REV function. Note that this changes the throttle stick direction for all models. See page 38 for
instructions.
•Offset: Provides AIRBRAKE response immediately upon switch movement, going to a pre-set travel on each active channel
ZLWKRXWDQ\PHDQVRILQÀLJKWDGMXVWPHQW
• During Airbrake operation, the elevator travel is displayed on the elevator trim display in the Startup screen.
•Delayed reaction: You can suppress sudden changes in your model's attitude when AIRBRAKEBUTTERFLY is activated
by setting the delay (delay-ELEV LWHP WR VORZ GRZQ WKH HOHYDWRU UHVSRQVH DOORZLQJ WKH ÀDSVDLOHURQVHOHYDWRU WR DOO
reach their desired end point together. A setting of 100% slows the servo to take approximately one second to travel the
prescribed distance. (GLID:B.FLY-ELEV function)
•$GMXVWDEOHLQÀLJKWACRO): Using the aileron (when AILE-DIFF or FLAPERONLVDFWLYDWHGDQGHOHYDWRUWULPOHYHULQÀLJKW
can be set to adjust the aileron and elevator settings in your airbrake rather than adjusting the model's actual aileron and
HOHYDWRUWULP7KLVDOORZVHDV\DGMXVWPHQWIRUDQ\EDOORRQLQJZKLOHLQÀLJKW:KHQWKHDLUEUDNHVZLWFKLVPRYHGWRRII
the trims are again adjusting the normal elevator trim.
•Channels controlled(OHYDWRUVWZLQDLOHURQVDQGÀDSVPD\EHVHWLQGHSHQGHQWO\LQAIRBRAKE, including set to 0 to
have no effect.
• Twin aileron servos: If FLAPERON,ELEVON and AIL-DIFF functions are inhibited, then AIL1 and AIL2 settings will have no
effect.
•IfFLAPERON is active, the travel of the ailerons can be independently adjusted for the servos plugged into CH1 and
&+7KHÀDSFKRLFHKDVQRHIIHFWRQWKHÀDSHURQV
•IfAIL-DIFF is active, then CH1 and CH7 may be independently adjusted.
• Normally both ailerons are raised equally in AIRBRAKE, and the elevator motion is set to maintain trim when
the ailerons rise. Different amounts may be set for each aileron to correct for torque reactions and other unique
characteristics of the model.
Be sure you understand what dropping ailerons will do when in AIRBRAKEBUTTERFLY. Along with creating an
enormous amount of drag (desireble for spot landings), this also creates "wash-in", a higher angle of attack where
the ailerons are, and cncourages tip stalling. If you are using this for aerobatic performance and not "sudden stops",
FRQVLGHUUDLVLQJWKHDLOHURQVDQGGURSSLQJWKHÀDSVLQVWHDGDVVKRZQLQWKHGLDJUDPDERYH
• Twin elevator servos:
•IfAILEVATOR is active, the AIL1 and AIL2 settings still only affect FLAPERON or AIL-DIFF servos, NOT the elevator servos.
(they would have the AIL3 and AIL4 settings.)

50
GOAL of EXAMPLE: STEPS: INPUTS:
Activate AIRBRAKE on a FLAPERON.
model. Adjust the flaperon travel to
75%,with negative elevator (push) of
25%.
&RQ¿UPFLAPERON is active. see FLAPERON instructions.
Open the AIRBRAKE function. for 1 second. (If BASIC, again.)
C
to AIRBRAKE.
Activate the function. Switch C in up position.
C
to MIX. to OFF.
Adjust the travels as needed.
(Ex:Ailerons each 75%, Elevator -25%.)
C
to AIL1. to 75%.
C
to ELEV. to -25%.
C
to AIL2. to 75%.
Optional: delay how quickly the
elevator servo responds.
C
to delay-ELEV. to 25%.
Optional: change the mixing from full
amount upon switch to proportional to
the THROTTLE STICK's proximity to
idle.
C
to MODE.to
Linear (0%).
THROTTLE STICK to desired 0
point.
(display changes if new setting is different from prior
setting).
Close menu.
Where next? $GMXVWÀDSHURQVWRWDOÀDSWUDYHODYDLODEOHFLAPERON): see p. 39.
Set up ELEV-FLAP mixing: see p. 48.
Set up programmable mixes, for example, FLAP-ELEVATOR: see p. 57.
View more on the internet: www.radiolink.com.cn/doce/
THROTTLE-NEEDLE mixing (ACROHELI):
THROTTLE-NEEDLELVDSUHSURJUDPPHGPL[WKDWDXWRPDWLFDOO\PRYHVDQLQÀLJKWPL[WXUHVHUYR&+LQUHVSRQVHWRWKH
THROTTLE STICK inputs for perfect engine tuning at all throttle settings. This function is particularly popular with
FRQWHVW SLORWV ZKR À\ LQ D ODUJH YDULHW\ RI ORFDWLRQV QHHGLQJ UHJXODU HQJLQH WXQLQJ DGMXVWPHQWV DQG UHTXLULQJ SHUIHFW
HQJLQHUHVSRQVHDWDOOWLPHVDQGLQDOOPDQHXYHUV$OVRSRSXODUWRPLQLPL]HÀRRGLQJDWLGOHRILQYHUWHGHQJLQHLQVWDOODWLRQV
or installations with a high tank position. Not needed for fuel injection engines, which do this automatically.
(HELI)(ACRO)
Adjustability:
• Five-point curve allows adjustment of engine mixture at varied throttle settings.
7KHLQÀLJKWPL[WXUHVHUYRPXVWFRQQHFWWRUHFHLYHU&+
,QÀLJKWPL[WXUHVHUYRPD\DOVREHXVHGDVDVHFRQGVHUYRIRUWXQLQJDWZLQ
7KURWWOHFXWIHDWXUHDOVRPRYHVWKHLQÀLJKWQHHGOHVHUYR

51
• The CH8 knob adjusts the high throttle mixture (may be deactivated. see AUX-CH).
• Because both use CH8, this function cannot be used simultaneously with AILEVATOR.
• An acceleration (ACCE) function (ACRO only) helps the engine compensate for sudden, large amounts of throttle input by
making the mixture suddenly richer, then easing it back to the proper adjustment for that throttle setting. This function
UHTXLUHVVRPHDGMXVWPHQWWREHVW¿W\RXUHQJLQHDQG\RXUÀ\LQJVW\OH$GMXVWHQJLQH¶VUHVSRQVHXQWLOQRKHVLWDWLRQRFFXUV
on rapid throttle input.
• Separate curves are available (HELI only) for normal, idle-ups 1 and 2 combined, and idle-up 3. Immediately below MIX
the radio displays the curve you are editing; ex: >NORML; and then which condition is currently active by your switches
ex: (ID1/2). Note that you can edit the mix for a different condition without being in that condition, to allow editing
without having to shut off the helicopter’s engine every time. Be sure you are editing the proper curve by checking the
name after the > and not the one in parentheses.
GOAL of EXAMPLE: STEPS: INPUTS:
Activate THROTTLE-NEEDLE mixing.
Adjust the points as follows to resolve
a slight lean midrange problem:
1: 40%
2: 45%
3: 65%
4: 55%
5: 40%
Open the THROTTLE-NEEDLE function. for 1 second. (If BASIC, again.)
C
to THROTTLE-NEEDLE.
Activate the function.
C
to MIX. to ACT.
HELI only. Select the condition to edit.
C
to MIX. to ACT. as needed.
Adjust the travels as needed to match
your engine by slowly moving the stick
to each of the 5 points, then adjusting
the percentage at that point until the
engine is properly tuned.
C
to POINT-.
THROTTLE STICK to POINT1.
to 40%.
until POINT 2 is highlighted.
to 45%.
to POINT 3. to 65%.
to POINT 4. to 55%.
to POINT 5. to 40%
ACRO only. Optional: increase mixture
when throttle is applied rapidly-
ACCE.(see above for details.)
C
to ACCE.
THROTTLE STICK to idle.
THROTTLE STICK full open
quickly.
as needed.
HELI only: set curves for other
conditions.
C
to condition name.
to next condition to edit.
Repeat above steps as needed.
Close menu.
Throttle delay function THR-DELAY (ACRO):
The THR-DELAY function is used to slow the response of the throttle servo to
simulate the slow response of a turbine engine. A 40% delay setting corresponds
to about a one-second delay, while a 100% delay takes about eight seconds to
respond. For helicopters, see DELAYS, p. 82.

52
This function may also be used to create a “slowed servo” on a channel other than throttle. This is accomplished by
plugging the desired servo (Ex: gear doors) into CH3 (THR), throttle into an auxiliary channel such as 8, and then using
VRPHFUHDWLYHPL[HV3OHDVHcontact us DWZZZradiolink.com.cn/doce/IRUWKLVVSHFL¿FH[DPSOH
GOAL of EXAMPLE: STEPS: INPUTS:
Activate THR-DELAY for a ducted-fan
replica of a turbine-powered aircraft.
Slow the servo response byone second.
Open the THR-DELAY function. for 1 second. (If BASIC, again.)
C
to THR-DELAY.
Activate the function.
C
to MIX. to ACT.
Adjust the RATE to match the desired
servo speed. (Ex: 40%.)
C
to RATE. to 40%.
Close menu.
Where next? Set up THROTTLE-NEEDLE mixing: see p. 50.
Adjust throttle’s END POINT: see p. 27.
Adjust throttle exponential (D/R,EXP): see p. 30.
Set up AILEVATOR: see p. 44.
Set up programmable mixes, for example, RUDDER-AILERON: see p. 55.
View more on the internet: www.radiolink.com.cn/doce
Throttle curve (THR-CURVE)(ACRO):
This function adjust the throttle operation curve for optimum the engine speed
to throttle stick movement.
NOTE: If the throttle EXP function is activated, you can not use THR-CURVE
function simultaneously.
Adjustability:
• Separate curves for each switch position are available.
•Moving and deleting the curve point: The curve point (-stk-) can be moved to the left or right by turning the DIAL (up to
LQIURQWRIWKHDGMRLQLQJSRLQWDQGGHOHWHGUHWXUQHGE\SUHVVLQJWKHDIAL for one second alternately.
GOAL of EXAMPLE: STEPS: INPUTS:
Base point: Adjust base point of throttle
curve until engine idles reliably.
-out-: output, servo position.
-stk-: curve point, stick position.
Open the THR-CURVE function. for 1 second. (If BASIC, again.)
C
to THR-CURVE.
Activate the function.
C
to MIX. to ON.
$GMXVWWKH¿UVWSRLQW
C
to point 1 (-out-). to desired
throttle servo position.
Optional: Assign the switch.
C
to SW. to desired switch.
Optional: Move the curve point.
(Ex: point 3)
C
to point 3 (-stk-). to desired
curve point to move to left or right.
Optional: Delete the curve point.
And return the curve point.
(Ex: point 3)
C
to point 3 (-stk-). for one
second to delete the curve point.
C
to point 3 (-stk-). for one
second to return.
Next point: Adjust the next point. Repeat as needed.
Close.

53
LINEAR PROGRAMMABLE MIXES (PROG.MIX1-4):
Sample reasons to use linear programmable mixes:
• To correct bad tendencies of the aircraft (such as rolling in response to rudder input).
• To operate 2 or more servos for a single axis (such as two rudder servos).
7RDXWRPDWLFDOO\FRUUHFWIRUDSDUWLFXODUDFWLRQVXFKDVORZHULQJHOHYDWRUZKHQÀDSVDUHORZHUHG
7RRSHUDWHDVHFRQGFKDQQHOLQUHVSRQVHWRPRYHPHQWLQD¿UVWFKDQQHOVXFKDVLQFUHDVLQJWKHDPRXQWRIVPRNHRLOLQ
response to more throttle application, but only when the smoke switch is active).
7RWXUQRIIUHVSRQVHRIDSULPDU\FRQWUROLQFHUWDLQFLUFXPVWDQFHVVXFKDVVLPXODWLQJRQHHQJLQHÀDPLQJRXWRQDWZLQ
or throttle-assisted rudder turns, also with a twin).
Adjustability:
• Defaults: The 4 programmable mixes default to the most frequently used mixes for simplicity. If you want to use one of
these mixes, simply select that mix number so that the master and slave servos are already selected for you.
•PROG.MIX1 aileron-to-rudder for coordinated turns
•PROG.MIX2HOHYDWRUWRÀDSIRUWLJKWHUORRSVHELI mixes default to elev-to-pitch.)
•PROG.MIX3ÀDSWRHOHYDWRUWRFRPSHQVDWHSLWFKLQJZLWKÀDSVHELI mixes default to pitch-to-elev.)
•PROG.MIX4 throttle-to-rudder ground handling compensation
•Channels available to mix: All four mixes may use any combination of CH1-8. (CH9-10 are not proportional and cannot
be mixed.) Offset and dials may also be set to the master channels. (see below.)
•Master: the controlling channel. The channel whose movement is followed by the slave channel.
•Another channel: Most mixes follow a control channel. (Ex: rudder-to-ailerons, 25%, no switch, corrects roll
coupling.)
MASTER SLAVE LINK TRIM SWITCH POSITION RATE OFFSET
RUDD AILE ON OFF ANY NULL 25% 0
•Offset as master: To create an OFFSETPL[VHWWKH PDVWHUDV2)67([ PRYHÀDSHURQVDVÀDSVRIWKHLU WRWDO
throw when SWITCH C is in down position.)
MASTER SLAVE LINK TRIM SWITCH POSITION RATE OFFSET
OFST FLAP ON 1$ C DOWN 20% 0
•Dial as master: To directly effect one servo’s position by moving a dial, set the master as the desired dial.
(Ex: create a second throttle trim on left slider.)
MASTER SLAVE LINK TRIM SWITCH POSITION RATE OFFSET
VR(D) THRO OFF 1$ ANY NULL 5% 0
•Slave: the controlled channel. The channel that is moved automatically in response to the movement of the master
channel. The second channel in a mix’s name (i.e. aileron-to-rudder).
•Link: link this programmable mix with other mixes.
Ex: PMIX FLAP-ELEVATORPL[LQJWRFRUUHFWIRUEDOORRQLQJZKHQÀDSVDUHORZHUHGEXWPRGHOKDVD9WDLO:LWKRXWLINK,
Your AT10 contains four separate linear programmable mixes. (Note that mixer
#5-8’s mixing RATEs are set with a 5-point curve. HELI has mixer #5-6's mixing.
see CURVE MIXES, p. 55.)
There are a variety of reasons you might want to use these mixes. A few are
listed here. All of the adjustable parameters are listed below, but don’t let them
VFDUH\RX)RU\RXU¿UVWIHZWLPHVH[SHULPHQWLQJZLWK PL[HVMXVWWXUQRQWKH
default mixes, adjust them how you think they need to be, then use the servo
screen to check and see if you were correct. As with all functions, a sample
setup follows, step by step, to assist you.

54
WKLVPL[RQO\PRYHV&+HOHYDWRUZKHQÀDSLVFRPPDQGHGUHVXOWLQJLQDGDQJHURXVFRPELQDWLRQRI\DZDQGUROO:LWK
LINK ON, mixing is applied to both CH2 and CH4.
MASTER SLAVE LINK TRIM SWITCH POSITION RATE OFFSET
FLAP ELEV ON OFF ANY NULL 5% 0
•Trim: master’s trim affects slave. Not displayed if master is not CH 1-4, because 5-9 have no trim. Ex: two rudder servos.
With TRIM OFF, rudder trim would bind the two servos. TRIM ON resolves this.
•On/off choices:
•SWITCH: Any of the positions of any of the 8 switches may be used to activate a mix. Up&Cntr,Cntr&Dn options
allow the mix to be ON in 2 of the 3 positions of a 3-position SWITCH.
•NULL: No SWITCH can turn this mix OFF. This mix is active at all times.
•LOGIC SW (Lsw1 to 3) may be assigned. Set up LOGIC SW: See p. 26.
•STk-THR7XUQHGRQRIIE\THROTTLE STICKPRYHPHQW7ULJJHUSRLQWGLUHFWLRQDUHVHOHFWDEOH([OFST-to-(gear
doors) mix to open gear doors at idle, which is only active if throttle is below half.
MASTER SLAVE LINK TRIM SWITCH POSITION RATE OFFSET
OFST AUX2 OFF NO STK-THR Stick at 1/2,
for 1 sec.
100% 0
•Rate: the percentage of the slave’s range it will move upon maximum input from the master channel. Ex: RUDDER-
AILERONPL[$LOUDQJH ´:KHQUXGGHULVPRYHGIXOOULJKWDLOHURQVPRYH´
MASTER SLAVE LINK TRIM SWITCH POSITION RATE OFFSET
RUDD AILE OFF OFF ANY NULL 50% 0
•Offset: Offsets the slave’s center relative to the master. Ex: Smoke valve opens wider per throttle servo position when
smoke SWITCH is ON. Smoke servo’s neutral is moved down from THROTTLE STICK center to the bottom.
MASTER SLAVE LINK TRIM SWITCH POSITION RATE OFFSET
THRO AUX2 OFF OFF E DOWN 100% 100%

55
Other Examples:
•RUD-ELEV (ACROGLID) mix: Compensate for pitching up or down when rudder is applied.
•AIL-RUD mix (ACRO): Coordinate turns by applying rudder automatically with aileron input. All model types.
•ELEV-PIT (HELI) mix: compensate for the loss of lift of tilting the model.
AT10’s
ACROGLID programs contain four separate curve programmable mixes. HELI contains two. There are a variety
RIUHDVRQV\RXPLJKWZDQWFXUYHPL[HVXVXDOO\ZKHUHDOLQHDUPL[GRHVQ¶W¿W\RXUQHHGVDORQJWKHZKROHUDQJH2QHSUH
programmed curve mix is the THROTTLE-NEEDLE function. This curve is adjustable at 5 points, allowing you to adjust the
motor’s tuning at 5 points along its RPM range.
One programmable curve mix defaults to RUDDER-AILERON. A linear mix that keeps the model from rolling in knife-edge is
SUREDEO\WRRPXFKDLOHURQZKHQUXGGHULVDSSOLHGLQOHYHOÀLJKW&UHDWHDFXUYHPL[DQGVHWDOOSRLQWVWRPDWFKWKHOLQHDU
mix. Inhibit the linear mix, then adjust the curve to get the right response all along the rudder channel’s travel.
$GMXVWDELOLW\IRUGHWDLOHGGH¿QLWLRQVVHH/LQHDU3URJUDPPDEOH0L[HVDQG*ORVVDU\
•ACROGLID Defaults: The 4 programmable curve mixes default to the most frequent choices, but can be set to any channel.
•PROG.MIX5 rudder-to-aileron for roll coupling compensation (GLID mixes default to aileron-to-elev.)
•PROG.MIX6 rudder-to-aileron for roll coupling compensation (GLID mixes default to aileron-to-elev.)
•PROG.MIX7 rudder-to-elevator for pitch coupling compensation (GLID mixes default to elevator-to-airbrake.)
•PROG.MIX8 rudder-to-elevator for pitch coupling compensation (GLID mixes default to elevator-to-airbrake.)
CURVE PROGRAMMABLE MIXES (PROG.MIX5-8)(HELI:PROG.MIX5-6 ):
•HELI Defaults:
•PROG.MIX5 aileron-to-elevator for coordinated turns
•PROG.MIX6 aileron-to-elevator for coordinated turns
•Master: The controlling channel can only be a channel. Cannot be OFFSET or dial.
•Trim: not available in curve mixes.
•Offset: not available in curve mixes.

56
GOAL of EXAMPLE: STEPS: INPUTS:
Set up a RUDD-ELEV curve mix on a
model that pitches down severely at
full rudder and not at all with minimal
rudder input, and pitches worse on right
rudder than left:
Point 1: 25%
Point 2: 8%
Point 3: 0%
Point 4: 10%
Point 5: 28%
ON when SWITCH C is down.
LINK should be ON if model has twin
elevator servos. Otherwise, LINK
remains OFF.
(Note that point 3 is 0%. Otherwise,the
elevator would be retrimmed when the
mix is active and no rudder input is
given.)
Open an unused curve programmable
mix. (Ex: use PROG.MIX7 since it is
already set-up for RUDDER-ELEV.)
for 1 second. (If BASIC, again.)
C
to PROG.MIX-.
C
to 7 >.
Activate the function.
C
to MIX. to ON.
Choose master and slave channels.
(Ex: do not change MAS or SLV).
already RUDD
already ELEV
Set LINK as needed. (Ex: off)
Assign SWITCH and position.
(Ex: change from F to C,DOWN.)
C
to SW. to C.
C
to POSI. to DOWN.
Optional: set switch to STk-THR to
activate mix with THROTTLE STICK.
(See above for details.)
C
to SW. to STk-THR.
C
to POSI.
THROTTLE STICK to desired
point.
for 1 second to set.
Optional: set switch position to NULL.
Makes mix active at all times. Not
compatible with STk-THR.
C
to POSI. to NULL.
Set desired percent at the stick points.
(Ex: listed at left.)
to page 1.
C
to POINT-1. to 25%.
Repeat for points 2-5.
Close menu.
Where next? Adjust servo END POINTs: see p. 39.
Set up AILEVATOR: see p. 57.
Set up linear programmable mixes, ex: RUDDER-to-Aux2(twin rudder servos):see p.
53, or additional curve mix, ex: RUDDER-AILERON: see p. 55.
View numerous mix setups: www.radiolink.com.cn/doce
gyro mixing
Gyro operation modes:
The gyros have two operations modes: GY mode and STD mode.
•STD mode: This mode performs general proportional control operation. For instance, it controls the gyro so that
changes are countered when the attitude of the aircraft is changed by cross-wind, etc.
•GY mode: This mode performs both proportional and integrated control operation. The difference between Normal
mode and GY mode operation is that where as the Normal mode only counters changes in attitude, the GY mode
returns to the original controlled variable simultaneously with countering changes in attitude. For example, during
NQLIHHGJHÀ\LQJDLOHURQDQGHOHYDWRUPHHWLQJUXGGHULVQRUPDOO\QHFHVVDU\EXWLQWKHGYPRGHPHHWLQJUXGGHULV
performed automatically by the gyro.
Adjustability:
• Plug the gyro's sensitivity adjustment to channel 5, 7, or 8 of the receiver.
(selectable)
• Full switch assignability (SWITCH A-H)
• Each rate setting may be set from 0 to NOR100% or AVC100% gain.
NOR: GY mode gain. AVC: STD mode gain
• Larger percentages indicate more gain, or gyro responsiveness.
•MIX-1,2: Two surfaces' sensitivity can be adjusted independently.

57
Gyro gain adjustment:
• When the servo hunts, the gyro gain is too high. Lower the gain until the hunting stops.
7KH J\UR ZLOO GLVSOD\ EHVW SHUIRUPDQFH DW D JDLQ MXVW EHIRUH KXQWLQJ RFFXUV 3HUIRUP DGMXVWLQJ E\ À\LQJ WKH DLUFUDIW
repeatedly.
Precautions:
• When taking off and landing, always switch to the Normal mode. Taking off and landing in the GY mode is dangerous.
• We recommend that you use the rudder control gyro in the Normal mode. In the GY mode, rudder operation is
necessary when turning because the weathervane effect is lost. Use the gyro in the Normal mode unless you are an expert
in rudder operation.
• And we recommend that you also set to off (0%) mode for safety as follows.
GOAL of EXAMPLE: STEPS: INPUTS:
Set up a gyro setting. (Ex: MIX-1) Open and activate the GYRO SENSE
function.
for 1 second. (If BASIC, again.)
C
to GYRO SENSE.
Activate the function.
C
to MIX-1. to ON.
Optional: change switch assignment.
Ex: select E.
C
to SW
to E.
Adjust gyro rates as needed. (Ex:UP
to NOR70%,CNTR to 0% (off),DOWN to
AVC70% as starting points.)
C
to gyro rate
E up. to NOR 70%.
(0%).
E down. to AVC 70%.
Close menu.
58
GLIDER MODEL FUNCTIONS
Please note that nearly all of the BASIC menu functions are the same for airplane (ACRO setup), sailplane (GLID 1A+1F
2A+1F2A+2F setups), and helicopter (HELI setups). The features that are identical refer back to the ACRO chapter. The glider
BASIC menu includes MOTOR CUT and does not include IDLE-DOWN or THR-CUT.
Note that in all cases where ACRO programming labels channel 3 as throttle, GLID programming labels channel 3 as ARB
(airbrake), since airbrakes are normally operated on channel 3 in gliders. This includes STK-THR reading STK-ARB.
GLIDER (GLID(1A+1F)(2A+1F)(2A+2F)) FUNCTIONS . 58
Table of contents........................................................ 58
Getting Started with a Basic 4-CH Glider ................ 59
GLIDER BASIC MENU FUNCTIONS .......................... 61
MOTOR CUT ................................................................ 62
MODEL Submenu: MODEL SELECT,COPY,NAME .......... 20
PARAMETER Submenu: RESET, MODUL, ATL,
AILE-2,
CONTRAST,BACK-LIGHT,USER NAME,LOGIC SW ........ 23
Model type (PARAMETER submenu) ........................... 61
Servo REVERSE ........................................................... 26
END POINT .................................................................. 27
'XDO7ULSOH5DWHVDQG([SRQHQWLDOD/R,EXP ).......... 30
TIMER Submenu.......................................................... 33
Auxiliary Channel assignments and CH9 reverse (AUX-
CH )............................................................................. 34
TRAINER ..................................................................... 34
TRIM and SUB-TRIM ................................................... 35
SERVO Display ........................................................... 37
Fail Safe and Battery FailSafe (F/S )......................... 37
GLIDER ADVANCE MENU FUNCTIONS ..................... 62
FLAPERON ................................................................... 39
FLAP TRIM .................................................................. 40
Aileron Differential (AILE-DIFF )................................. 41
ELEVON (see tail types) ............................................... 43
ELEVON ....................................................................... 43
V-TAIL ......................................................................... 45
Linear, Prog. mixes 1-4 ............................................. 53
Curve, Prog. mixes 5-8 ............................................. 55
ELEV-FLAP .................................................................... 48
BUTTERFLY (modifyed version of AIRBRAKE )............. 48
BUTTERFLY................................................................... 48
AILE/RUDD .................................................................. 63
AILE-FLAP (GLID(2A+2F) only) .................................... 64
SPOILER MIX ............................................................... 64
OFFSETs$GGLWLRQDOÀLJKWFRQGLWLRQV...................... 65
START DELAY (GLID(1A+1F) only)................................. 66
CAMBER MIX ............................................................... 67
CAMBER FLAP .............................................................. 67
Channel 3’s function selection
(CONDITION/FUNCTION ) 69

59
GETTING STARTED WITH A BASIC 4-CHANNEL (Aileron/Flap/Rudder/Elevator) GLIDER
This guideline is intended to help you get acquainted with the radio, to give you a jump start on using your new radio,
and to give you some ideas and direction in how to do even more with this powerful system than you may have already
considered. It follows our basic format of all programming pages: a big picture overview of what we’re trying to
accomplish; a “by name” description of the steps to help acquaint you with the radio; and a step-by-step instruction to
leave out the mystery and challenge of setting up your model.
For additional details on utilizing each function, see that function’s section in this manual—the page numbers are indicated
LQWKH¿UVWFROXPQDVDFRQYHQLHQFHWR\RX
GOAL of EXAMPLE: STEPS: INPUTS:
Prepare your aircraft. Install all servos, switches, receiver per your model’s instructions. Turn on
transmitter then receiver; adjust all linkages so surfaces are nearly centered.
Mechanically adjust all linkages to get as close as possible to proper control
throws and minimize binding prior to radio set up.
Check servo direction and throws.
Make notes now of what you will need to change during programming.
Select the proper MODEL TYPE for your
model. (Ex: GLID 1A+1F.) See p. 61
[NOTE: This is one of several functions
that requires confirmation to make a
change. Only critical changes such as
aMODEL RESET require additional key
strokes to accept the change.]
In the BASIC menu, open the PARAMETER
submenu.
Turn on the transmitter.
for 1 second. (If ADVANCE, again.)
then
C
to highlight PARAMETER.
to choose PARAMETER.
Go to MODEL TYPE.
C
to MODEL TYPE.
Select proper MODEL TYPE.
Ex:GLID(1A+1F).
&RQ¿UPWKHFKDQJH
Close the PARAMETER submenu.
to GLID(1A+1F).
for 1 second.
Are you sure? Displays. WRFRQ¿UP
to return to BASIC menu.
NAME the model.
P. 32.
(Note that you do not need to do
anything to "save" or store this data.)
In the BASIC menu, open the MODEL
submenu.
C
as needed to highlight MODEL.
to choose MODEL.
Go to MODEL NAME.
C
to NAME.
(1st character of model’s name is highlighted.)
Input aircraft’s name.
Close the MODEL submenu when done.
WRFKDQJH¿UVWFKDUDFWHU
When proper character is displayed,
C
to move to next character and
repeat.
to return to BASIC menu.
REVERSE servos as needed for proper
control operation.
P. 26.
In the BASIC menu, open (servo)
REVERSE.
C
to REVERSE.
to choose REVERSE.
Choose desired servo and reverse its
direction of travel.
(Ex: reverserudder servo.)
C
to CH4:RUDD.
so REV is highlighted.
Are you sure? Displays.
for 1 second.
Repeat as needed.
to return to BASIC menu.

60
GOAL of EXAMPLE: STEPS: INPUTS:
Adjust travels as needed to match
model’s recommended throws (usually
listed as high rates).P. 27.
In the BASIC menu, choose END POINT.
C
to END POINT.
to choose END POINT.
Adjust the servos’ end points.
([ÀDSVHUYR
Close the function.
C
to FLAP.
VR(A) until travel as desired.
VR(A). Repeat as needed.
6HWXSGXDOWULSOH UDWHVDQGH[SRQHQWLDO
(D/R,EXP)
P. 42.
(Note that in the middle of the left
sideof the screen is the name of the
channel and the SWITCH position
you are adjusting. Two or even three
rates maybe set per channel by simply
choosing the desired SWITCH and
programming percentages with the
SWITCHLQHDFKRILWVSRVLWLRQV
Choose D/R,EXP.
C
to D/R,EXP.
to choose D/R,EXP.
Choose the desired control, and set
the first (Ex: high) rate throws and
exponential.
C
to CH>.
to choose CH>2 (elevator).
A to up position. [Note screen reads ELEV
(UP)]
C
to D/R.
ELEVATOR STICK. to set.
ELEVATOR STICK. to set.
(Normally the same for both directions.)
C
to EXP.
ELEVATOR STICK. to set.
ELEVATOR STICK. to set.
Set the second (low) rate throws and
exponential.
C
to D/R.A to down position.
Repeat above to set low rate.
Optional: change dual rate SWITCH
assignment. Ex: elevator to SWITCH G
with 3 positions.
C
to SW. to G.
G to center position.
Repeat steps above to set 3rd rate.
0RYHÀDSFRQWUROIURPWKH95$GLDO
to the left slider [VR(D)]. (AUX-CH)
p. 34.
In the BASICmenu, open AUX-CH.
C
to AUX-CH. to choose AUX-CH.
Choose CH6ÀDS
Change primary control to VR(D).
Change other channels as needed.
C
to CH6.
to VR(D).
Repeat as required.
Return to the home screen.
Where next? (Other functions you may wish to set up for your model.)
TRAINER p. 34.
Multiple wing or tail servos. See wing types and tail types: p. 39, 43.
OFFSETS,BUTTERFLY(AIRBRAKEFURZDQGRWKHUSURJUDPPDEOHPL[HV
Retractable Gear, Smoke systems, kill switches, and other auxiliary channel
setups: p. 46.
Adjusting SUB-TRIMs to match servo centers: p. 36.
p.47.

61
$/22.$77+(5$',26GLID-SPECIFIC FUNCTIONS STEP BY STEP.
Those functions which are identical to the ACRO setups are referred directly to those pages.
MODEL TYPE: This function of the PARAMETER submenu is used to select the type of model programming to be used.
GLIDER TYPES:
%HIRUHGRLQJDQ\WKLQJHOVHWRVHWXSDJOLGHURUVDLOSODQH¿UVW\RXPXVWGHFLGHZKLFKMODEL TYPEEHVW¿WV\RXUDLUFUDIW
•ACROIRUVRPHDHUREDWLFVORSHJOLGHUVACRO is a better choice because of functions it offers that the GLID types do not.
•ACRO provides:
•SNAP-ROLL,
•AILEVATOR (twin elevator servo support),
•AIRBRAKE (a more assignable version of BUTTERFLY).
• For nitro-powered sailplanes: IDLE-DOWN,THR-CUT,THROTTLE-NEEDLE mixing and THROTTLE DELAY programming.
• But ACRO ODFNV SURJUDPPLQJ IRU IXOOVSDQ DLOHURQV DQG VHSDUDWH 2))6(7 WULPV IRU HDFK ÀLJKW FRQGLWLRQ 1RUPDO
Start, Speed, Distance and Landing.
•GLID(1A+1F): The GLID(1A+1F) MODEL TYPE is intended for sailplanes with one or two aileron servos (or none), and a single
ÀDSVHUYR RUWZRFRQQHFWHG ZLWKD \FRQQHFWRU7KLVTYPE is meant to be a very simplistic version to set up a basic
JOLGHUZLWKRXWDORWRIDGGHGIHDWXUHV$GGLWLRQDOÀLJKWFRQGLWLRQVDYDLODEOH
•GLID(2A+1F): The GLID(2A+1F) MODEL TYPELVLQWHQGHGIRUVDLOSODQHVZLWKGXDODLOHURQVHUYRVDQGDVLQJOHÀDSVHUYRRU
WZRFRQQHFWHGZLWKD\FRQQHFWRU$GGLWLRQDOÀLJKWFRQGLWLRQVDYDLODEOH7KHVHÀLJKWFRQGLWLRQVFRQWDLQGLIIHUHQWRIIVHW
trims and aileron differentials to make the sailplane perform certain maneuvers more easily.
•GLID(2A+2F): The GLID(2A+2F) MODEL TYPE supports dual flap servos that can also act as ailerons, creating full-span
DLOHURQVDQGÀDSV$GGLWLRQDOÀLJKWFRQGLWLRQVDYDLODEOH7KHVHÀLJKWFRQGLWLRQVFRQWDLQGLIIHUHQWRIIVHWWULPVDQGDLOHURQ
differentials to make the sailplane perform certain maneuvers more easily.
GOAL of EXAMPLE: STEPS: INPUTS:
Change model1 is MODEL TYPE to
GLID(1A+1F).
NOTE: This is one of the several
functions that the radio requires
FRQ¿UPDWLRQWRPDNHDFKDQJH
Confirm you are currently using the
proper model memory. (Ex: 1)
On home screen, check model nameand
number on top left.
If it is not the correct model (Ex: 1), use
MODEL SELECT, p. 22.
Open PARAMETER submenu. for 1 second. (If ADVANCE, again.)
C
to PARAMETER.
Change the MODEL TYPE.
&RQ¿UPWKHFKDQJH
C
to TYPE. to GLID(1A+1F).
for one second.
Are you sure?&RQ¿UPDWLRQGLVSOD\V
WRFRQ¿UP
Close.
GLID(1A+1F)
(FLAPERON)
AIL1
FLP2
(CH1)
AIL2
FLP1
(CH6)
AIL1
(CH1)
AIL2
(CH7) FLP
(CH6)
GLID(2A+1F)
AIL1
(CH1)
FLP1
(CH6)
FLP2
(CH5)
AIL2
(CH7)
GLID(2A+2F)

62
Motor cut function (MOTOR CUT) (GLIDSURYLGHVDQHDV\ ZD\WRVWRS WKHPRWRUE\ ÀLSSLQJDVZLWFK UHJDUGOHVVRIWKH
AIRBRAKE STICK position. The servo movement is largest at -30%.
The switch's location and direction must be chosen. It defaults to NULL to avoid
accidentally assigning it to a switch, which might result in an unintentional dead
VWLFNLQÀLJKW
Adjustability:
•RATE range of -30 to +30. The servo movement at 0% is maximum slow position of AIRBRAKE STICK. The servo
movement is largest at -30%.
•SWITCH A-H fully assignable. Also LOGIC SW (Lsw1 to 3) may be assigned.
•POSITION fully assignable, including NULL (mix always off) and Up&Cntr and Cntr&Dn to activate the mix in 2 separate
positions of the same SWITCH.
GOAL of EXAMPLE: STEPS: INPUTS:
Decrease the rate to stop the motor
ZLWKWKHÀLSRIDVZLWFK1RWHWKDW\RX
MUST assign a switch. The default is
NULL.)
Open BASICmenu, then open THR-CUT
function.
for 1 second. (If ADVANCE, again.)
C
to THR-CUT.
Activate the function. Choose desired
switch, and the position which activates
the function.
C
to MIX. to OFF or ON.
C
to SW. to desired switch.
C
to POSI. to desired position.
C
to RATE. until turns off.
Close.
Where next? 6HWXSGXDOWULSOHUDWHVDQGH[SRQHQWLDOD/R,EXP): see p. 30.
Set up TRAINER functions: see p. 34.
*Also LOGIC SW(Lsw1 to 3) may be assigned. Set up LOGIC SW: See p. 26.
GLIDER ADVANCE MENU
Varied wing types and tail types (twin aileron servos, twin elevator servos, elevon, v-tail, etc).
•FLAPERON (GLID 1A+1FRQO\DLOHURQVHUYRVRSHUDWHLQRSSRVLWHGLUHFWLRQVDVDLOHURQVDQGVDPHGLUHFWLRQDVÀDSV
•CAMBER FLAPSURYLGHVFDPEHUPRYHPHQWRUWULPPLQJRIÀDSV
• For sailplanes, this function is also used as wing camber. The amount depends on the model, but usually a small
amount (less than 10%) is preferred, since too much camber produces excess drag. Don’t use more than about
´ WUDYHO XS RU GRZQ IRU JOLGHU FDPEHU 6RPH DLUIRLOV VXFK DV WKH 5* VKRXOG EH ÀRZQ ZLWK 12 UHÀH[
camber. Be sure to consult your model’s manual for guidelines.
• Note that even though you may make CAMBER FLAP active while using AILE-DIFF, it will not have any effect. The
21/<IXQFWLRQWKDWDOORZVFRQWURORIWKHDLOHURQVDVÀDSVLQWKHAILE-DIFFFRQ¿JXUDWLRQLVDLUEUDNHEXWWHUÀ\
•Aileron Differential (AILE-DIFF): allows twin aileron servos to provide differential down travel from up travel.
•Using a 5-channel receiver with FLAPERON and AILE-DIFF.
•ELEVONIRUÀ\LQJZLQJV
•V-TAIL: for models with 2 servos operating together to create roll and pitch control.
•AILEVATOR: not available in GLID model types.

63
Mixes:
•Linear Programmable mixes (PROG.MIX1-4): fully assignable programmable mixes with a linear response.
•Curved Programmable mixes (PROG.MIX5-8): fully assignable programmable mixes with a curved response.
•ELEV-FLAPSUHSURJUDPPHGPL[FUHDWHVHOHYDWRUPRYHPHQWIURPWKHLQERDUGÀDSVDVZHOODVHOHYDWRUV
•BUTTERFLY: Often called crow, BUTTERFLY is the glider version of AIRBRAKE. (BUTTERFLY does not have the option to
activate it solely from a switch, and its activation switch. It always provides progressively more BUTTERFLY as the
CHANNEL 3 (THROTTLE)STICK is lowered, or raised if used THR-REV) See AIRBRAKE.
Full Span Mixing: Flap-to-Aileron and Aileron-to-Flap
•CAMBER-MIXAILE-FLAP 7KLV SUHSURJUDPPHG PL[ LV XVHG WR FUHDWH IXOO VSDQ ÀDSDLOHURQ DFWLRQ RQ D JOLGHU ZLWK
ZLQJVHUYRV7KLVFKDQJHVWKHFDPEHURYHUWKHHQWLUHZLQJZKLFKSURGXFHVOHVVGUDJWKDQMXVWGURSSLQJWKHÀDSVE\
themselves.
NOTE: When you have ELEV-FLAP mixing also, the trailing edge droops with the elevators, increasing pitch response.
AILERUDD(GLID):
Adjustability:
•RATE range of -100 to +100. Negative setting would result in opposite rudder (aileron) action from aileron (rudder).
•SWITCH A-H fully assignable. Also LOGIC SW (Lsw1 to 3) may be assigned. Set up LOGIC SW: See p. 26.
•POSITION fully assignable, including NULL (mix always on) and Up&Cntr and Cntr&Dn to activate the mix in 2 separate
positions of the same SWITCH.
•Condition: The separate AILERUDDVHWWLQJVIRUHDFKÀLJKWFRQGLWLRQFDQEHVHW
You can select a pre-programed mix which is used to mix the rudders with
aileron operation or the ailerons with rudder operation.
Aileron-to-rudder mix (AILEĺRUDD): automatically creates a "coordinated turn".
Rudder -to-aileron mix (RUDDĺAILE): used to counterract undesirable roll (roll
coupling) that happens with rudder input, especially in knife-edge.
GOAL of EXAMPLE: STEPS: INPUTS:
([58''ĺ$,/(QRVZLWFK
corrects roll coupling.
Open AILERUDD mix submenu. for 1 second. (If BASIC, again.)
C
to AILERUDD.
Select the mixing mode.
C
to MODE. to RUDDĺAILE
Activate the function.
C
to MIX to ON.
Set the rate. (Ex: 100% each way)
C
to FLP1.
RUDDER STICK. to +25%.
RUDDER STICK. to +25%.
Repeat as needed.
Close.
Where next? ELEV-FLAP mixing. See p. 48.
BUTTERFLY. See p. 48.
Use a mix to OFFSETWKHÀDSVDVHWGLVWDQFHRQDVSHFL¿HGVZLWFKVHHS
View additional model setups on the internet: www.radiolink.com.cn/doce.

64
AILE-FLAP(GLID 2A+2F only):
Adjustability:
•RATEUDQJHRIWR1HJDWLYHVHWWLQJZRXOGUHVXOWLQRSSRVLWHDLOHURQDFWLRQIURPÀDSV
•SWITCH A-H fully assignable. Also LOGIC SW (Lsw1 to 3) may be assigned. Set up LOGIC SW: See p. 26.
•POSITION fully assignable, including NULL (mix always on) and Up&Cntr and Cntr&Dn to activate the mix in 2 separate
positions of the same SWITCH.
•Condition: The separate AILE-FLAPVHWWLQJVIRUHDFKÀLJKWFRQGLWLRQFDQEHVHW
GOAL of EXAMPLE: STEPS: INPUTS:
Turn on AILE-FLAP mixing. Set rate
to100% for maximum possible flap
travel with ailerons. Assign to SWITCH
C center.
Open AILE-FLAP submenu. for 1 second. (If BASIC, again.)
C
to AILE-FLAP.
Activate the function.
C
to MIX to ON.
Set the rate. (Ex: 100% each way)
C
to FLP1.
AILERON STICK. to +100%.
AILERON STICK. to +100%.
Repeat above to set FLP2.
Assign the SWITCH and position.
C
to SW. to C.
C
to POSI. to CENTER.
Close.
Where next? ELEV-FLAP mixing. See p. 48.
BUTTERFLY. See p. 48.
Use a mix to OFFSETWKHÀDSVDVHWGLVWDQFHRQDVSHFL¿HGVZLWFKVHHS
View additional model setups on the internet: www.radiolink.com.cn/doce.
This pre-programmed mix is used to create full span aileron action on a glider
with 4wing servos. This increases the roll rate and decreases induced drag.
)RUQRUPDOÀ\LQJDYDOXHRIDERXWLVRIWHQXVHG)RUVORSHUDFLQJRU)%
models in speed runs, you may wish to use a larger value approaching 100%.
SPOILER MIX (GLIDPRYHVWKHVSRLOHUVE\ÀLSSLQJWKHDVVLJQHGVZLWFKDQGLVXVHGWRPDNHVWHHSGHVFHQWV$QGSPOILER
MIX works linking with BUTTERFLY function.

65
Adjustability:
•Position: -100% to +100%, with a default of -50% (off), +50% (on)
•Channel: Spoiler 1: ch8, or 3 (ch8 or 3*), Spoiler 2: NULL, or 3 (NULL or ch3*) *GLID (2A+2F) mode
•Elevator setting: Rate: -100% to +100%, Delay: 0% to 100%
•SWITCH A-H fully assignable. Also LOGIC SW (Lsw1 to 3) may be assigned. Set up LOGIC SW: See p. 26.
GOAL of EXAMPLE: STEPS: INPUTS:
2-servo spoiler mode.
Adjust the spoiler servo position to
60%.
Open the SPOILER MIX function and
move to 2nd page.
for 1 second. (If BASIC,again.)
C
to SPOILER MIX.
Activate the function.
C
to MIX. to ON.
Assign the SPO2-CH. (Ex: CH3)
C
to SPO2-CH. to CH3.
Adjust the spoiler servo position.
(Ex: SPO1SPO2=+55% to +60%)
C
to +50%. (SPO1) to +60%.
C
to +50%. (SPO2) to +60%.
Optional: Set the elevator rate.
(EX: 10%)
C
to rate-ELE. to 10%.
Optional: Set the delay. (EX: 25%)
C
to dly-ELE. to 25%.
Close menu.
Where next? Set up BUTTERFLY mixing: see p. 68.
OFFSETsDGGLWLRQDOÀLJKWFRQGLWLRQVDYDLODEOHVSHFL¿FDOO\IRUVDLOSODQHV
Unnecessary fusulage motion is generated when there are sudden changes in the servo position and variations in the
operating time between channels can be suppressed by using the delay function (-dly-).
NOTE: The same delay amount for elevator and rudder is recommended when using V-tail function.
7KH&SURYLGHVRIIVHWWULPVWRDOORZWKHPRGHOHUDGGLWLRQDOVHWXSVDORQJZLWKWKHQRUPDOÀLJKWFRQGLWLRQNORMAL,
START,SPEED,DISTANCE and LANDING) These offset trims have same setting abilities basically except the switch and dial
assignment. For an example of trim settings, please see the following:
These additional flight conditions contain different offset trims to make the
saiplane perform certain maneuvers more easily. Aileron differential functions
may be set to provide separate rates per condition selected.
Prior to setting up OFFSET, you must active the conditions and assign the
switches in the CONDITION/FUNCTION.
Adjustability:
6HSDUDWHDGMXVWPHQWVIRUHDFKDLOHURQHOHYDWRUUXGGHUDQGÀDSVHUYRIRUHDFK
condition.
•SWITCH G (AT10) or E (AT10) is programmed for NORMAL,START, and SPEED
trims. SWITCH C is programmed for DISTANCE and LANDING trims. These
VZLWFKSRVLWLRQDVVLJQPHQWLVDGMXVWDEOHCONDITION/FUNCTION)
•TRIM item (Digital trim operation mode):

66
NORM: normal trim operation mode,
MIX: offset rate trim operation mode while mixing is on.
• Optional assignable knob (CAMBER MIX) to allow trimming in flight of the
DLOHURQDQGÀDSDFWLRQRIHDFKÀLJKWFRQGLWLRQ
*During OFFSET operation, the aileron and elevator travels are displayed on each
trim display in the Startup screen.
GOAL of EXAMPLE: STEPS: INPUTS:
Set up a START to gain maximum
possible lift on launch.
Each Aileron: 50%.
Each Flap: 100%.
Elevator: -5% to compensate.
SWITCH (AT10=G, AT10=E.)
Note: switch is assignable. (CONDITION)
KNOB(null)
Note: knob is assignable. (CAMBER MIX)
Open OFFSET function. for 1 second. (If BASIC, again.)
C
to OFFSET.
Switch to the START condition. G (AT10) or E (AT10) from
NORMAL to START.
Set the rates. (Ex: AIL1 and 2,50%,FLP1
and 2,100%,ELEV -5%.)
C
to AIL1. to +50%.
C
to AIL2. to +50%.
Repeat for, FLP1 and 2,ELEV.
Close the function.
Where next? View additional model setups on the internet: www.radiolink.com.cn/doce.
START DELAY (GLID 1A+1F only):
START DELAY automatically switch the offset trims (OFFSET) from the START
condition's trims to the normal cndition's trims after proceeding the delay time
(max.10sec.) which is set by the -dly- item when activating the START condition.
(It is convenient for hand launch glider.)
NOTE: The same delay amount for elevator and rudder is recommended when
using V-tail function.
Adjustability:
• Delay time (-dly-) range of 0 to 100%. The delay time is 10 second at 100%.
GOAL of EXAMPLE: STEPS: INPUTS:
Ex: delay time=5 second. Open ADVANCE menu, then open START
DELAY function.
for 1 second. (If ADVANCE, again.)
C
to START DELAY.
Activate the function.
C
to MIX. to OFF or ON.
Set the delay time.
(Ex: 50% each surface)
C
to ELEV. to 5O%.
C
to RUDD. to 5O%.
Repeat as needed.
Close.

67
Camber Mixing (CAMBER MIX)(GLID):
This function adjusts the mixing rate of camber operation which operates the
ZLQJ FDPEHU DLOHURQV DQG ÀDSV LQ WKH QHJDWLYH DQG SRVLWLYH GLUHFWLRQV7KH
DLOHURQÀDSDQGHOHYDWRUUDWHVFDQDOVREHDGMXVWHGLQGHSHQGHQWO\DQGDWWLWXGH
changes caused by camber operation can be corrected.
Also the operation reference point of camber control can be offset. (PRE)
NOTE: Camber control is not assigned at initial.
GOAL of EXAMPLE: STEPS: INPUTS:
Ex: Set the mixing amount for aileron
to 40%, camber control to VR(E),
reference point to desired point.
Open the CAMBER MIX function. for 1 second. (If BASIC, again.)
C
to CAMBER MIX.
Choose desired slider.
C
to VR. to VR(E).
Adjust the mixing amount for AILE.
(Ex: adjust to 40%.)
C
to AILE.VR(E). to 40%.
VR(E). to 40%.
Set the reference point.
C
to PRE. or VR(E) to
desired point. for one second.
Close menu.
Adjustability:
•Rate: -100% to +100%, with a default of +30%
•
Reference point (PRE): The operation reference point of camber control can be offset. -100% to +100%, with a default of 0%.
Flap Setting (CAMBER FLAP)(GLID):
CAMBER FLAP assigns the primary flap control [defaults to VR(A)] to allow
WULPPLQJLQÀLJKWRIWKHÀDSDFWLRQ
7KHXSGRZQWUDYHORIHDFKIODSFDPEHUIODSVFLP12) can be adjusted
LQGHSHQGHQWO\$OVRWKHFHQWHUSRVLWLRQRIÀDSVHUYRFDQEHRIIVHW
NOTE: If FLAP-TRIM is activated, you can not use CAMBER FLAP function
simultaneously.
[Note] When changing the polarity of a rate, "change rate dir?" is displayed for a check. Please set up after
pressing DIAL for 1 second and canceling an alarm display.
GOAL of EXAMPLE: STEPS: INPUTS:
Ex: Set the maximum travel of 35% of
WKHWRWDOÀDSWUDYHO
Open the CAMBER FLAP function. for 1 second. (If BASIC, again.)
C
to CAMBER FLAP.
$GMXVWWKHXSGRZQWULPDPRXQW
separately.
(Ex: adjust to 35%.)
C
to FLP1.VR(A). to 35%.
VR(A). to 35%. Repeat.
Option: Adjust the center position of
ÀDSVHUYR
C
to CENTER. to desired point.
Close menu.
Adjustability:
•Rate: -100% to +100%, with a default of +30%
•Center position (CENTER7KHRSHUDWLRQUHIHUHQFHSRLQWRIÀDSFDQEHRIIVHWWRZLWKDGHIDXOWRI

68
BUTTERFLY (crow) mixing (GLID):
BUTTERFLY (often called "crow"- see GLID SIRUGHWDLOVVLPXOWDQHRXVO\PRYHVWKHÀDSWZLQDLOHURQV DQG HOHYDWRU
and is usually used to make steep descents or to limit increases in airspeed in dives. Separate two BUTTERFLY settings are
available. (CIR1CIR2)
Adjustability:
•Activation: Proportional by moving the THROTTLE STICK.
•Switch: Mix SWITCH is selectable.
A to H:SWITCH A to H
NULL: always on.
Also LOGIC SW (Lsw1 to 3) may be assigned. Set up LOGIC SW: See p. 26.
•Inversely proportional to THROTTLE STICK: provides a proportional increase in amount of airbrake action as
THROTTLE STICK is lowered (when SWITCH A (assignable) is in down position). Includes selectable stick position
where airbrake begins. If you would like to have the airbrake be directly proportional to throttle stick, you will need
to reverse the THR-REV function. Note that this changes the throttle stick direction for all models. See page 26 for
instructions.
•Elevator settings: (adjustable in the B.FLY-ELE)
B.FLY-ELE works linking with BUTTERFLY function. Elevator rate is adjustable in a
3 point curve.
Point 1: PRESET point. (Fixed)
Point 2: MID point. Position and rate are adjustable.
Point 3: END point. Position and rate are adjustable.
•Delayed reaction: You can suppress sudden changes in your model's attitude when BUTTERFLY is activated by setting the
delay (DELAYLWHPWRVORZGRZQWKHHOHYDWRUUHVSRQVHDOORZLQJWKHÀDSVDLOHURQVHOHYDWRUWRDOOUHDFKWKHLUGHVLUHGHQG
point together. A setting of 100% slows the servo to take approximately one second to travel the prescribed distance.
•Channels controlled:7ZLQDLOHURQVÀDSDQGVSRLOHUPD\EHVHWLQGHSHQGHQWO\LQBUTTERFLY, including set to 0 to have no
effect.
•Twin aileron servos: If AIL-DIFF function is inhibited, then AIL1 and AIL2 settings will have no effect.
• If AIL-DIFF is active, then CH1 and CH7 may be independently adjusted.
• Normally both ailerons are raised equally in BUTTERFLY, and the elevator motion is set to maintain trim when the ailerons
rise. Different amounts may be set for each aileron to correct for torque reactions and other unique characteristics of the
model.
Be sure you understand what dropping ailerons will do when in BUTTERFLY. Along with creating an enormous amount
of drag (desireble for spot landings), this also creates "wash-in", a higher angle of attack where the ailerons are, and
encourages tip stalling. If you are using this for aerobatic performance and not "sudden stops", consider raising the
DLOHURQVDQGGURSSLQJWKHÀDSVLQVWHDGDVVKRZQLQWKHGLDJUDPDERYH
63

69
GOAL of EXAMPLE: STEPS: INPUTS:
Activate BUTTERFLY.
Adjust the aileron and flap travel to
75%.
Elevator settings are adjustable in the
B.FLY-ELE.
Mix switch is selectable.
Open the BUTTERFLY function. for 1 second. (If BASIC, again.)
C
to BUTTERFLY.
Activate the function. SWITCH A in up position.
C
to MIX to OFF.
Adjust the travels as needed.
(Ex: Ailerons each 75%, Flap 75%.)
C
to AIL1 to 75%.
C
to FLAP to 75%.
C
to AIL2 to 75%.
Close menu.
Where next? View additional model setups on the internet: www.radiolink.com.cn/doce.
Channel 3's function selection (CONDITION/FUNCTION):
Channnel 3's function is selectable in the ARBK-FUNC item. (Throttle stick, switches, or knobs)
By choosing except STK, channel 3's function may be separated from BUTTERFLY's function, so channel 3 can be used
for other functions.
Adjustability:
•Channel 3's function:
STK:THROTTLE STICK
Sw-A to H:SWITCH A to H
Vr-A to Vr-E:KNOB A to E
70
HELICOPTER MODEL FUNCTIONS
Please note that nearly all of the BASIC menu functions are the same for airplane (ACRO setup), sailplane (GLID setups), and
helicopter (HELI) setups. The features that are identical refer back to the ACRO chapter. The Helicopter BASIC menu includes
the normal condition's throttle and collective pitch curves and revo. mixing. (idle-ups and throttle hold are advanced
features and are in the ADVANCE menu).
HELICOPTER FUNCTIONS..........................................70
Table of contents and reference info for helicopters . 70
Getting Started with a Basic Helicopter ................... 71
HELI BASIC MENU FUNCTIONS .................................. 73
MODEL Submenu: MODEL SELECT,COPY,NAME .......... 20
PARAMETER Submenu: RESET, MODUL, ATL, AILE-2,
CONTRAST,BACK-LIGHT,HOME-DISP,USER NAME,LOGIC
SW ............................................................................. 23
MODEL TYPE (PARAMETERS submenu) ........................ 74
Servo REVERSE ........................................................... 26
SWASH AFR (swashplate surface direction and travel
correction) (not in H-1 ).............................................. 75
THROTTLE MIX ............................................................ 76
END POINT .................................................................. 27
Setting up the Normal Flight Condition ................... 77
THR-CUTVSHFLDOL]HGVHWWLQJVIRUKHOLFRSWHUVSHFL¿F
models)..................................................................... 78
'XDO7ULSOH5DWHVDQG([SRQHQWLDOD/R,EXP ).......... 30
TIMER Submenu.......................................................... 33
Auxiliary Channel assignments and CH9 reverse (AUX-
CH )............................................................................. 34
TRAINER ..................................................................... 34
TRIM and SUB-TRIM ................................................... 36
SERVO Display ........................................................... 37
Fail Safe and Battery FailSafe (F/S )......................... 38
HELI ADVANCE MENU FUNCTIONS ............................. 79
THROTTLE HOLD .......................................................... 79
THR-CURVE,PIT-CURVE and REVO ............................. 80
Idle-ups...................................................................... 81
7ULPVRIIVHW ............................................................. 81
Delay......................................................................... 83
Hovering setups ....................................................... 84
+LJKORZSLWFK ........................................................ 84
Gyros and governors ................................................. 85
0L[HVGH¿QLWLRQVDQGW\SHV..................................... 47
Linear, Prog. mixes 1-4 ............................................. 53
Curve, Prog. mixes 5-8 ............................................. 55
THROTTLE-NEEDLE........................................................ 50

71
GETTING STARTED WITH A BASIC HELICOPTER
This guideline is intended to help you set up a basic (H-1) heli, to get acquainted with the radio, to give you a jump start on
using your new radio, and to give you some ideas and direction on how to do even more with this powerful system than
you may have already considered. It follows our basic format of all programming pages—a big picture overview of what
we're trying to accomplish; a “by name” description of the steps to help acquaint you with the radio; and then a step-by-
step instruction to leave out the mystery and challenge of setting up your model.
%ULHÀ\WKHW\SLFDOKHOLFRSWHU¶VFRQWUROVDUHDVIROORZV
•Aileron: changes cyclic lateral (roll) . Rolls the helicopter. Tilts the swashplate to the left or right. CH1.
•Elevator: changes cyclic pitch. Changes the helicopter’s angle of attack (nose up or nose down). Tilts the entire
swashplate fore and aft. CH2.
•Rudder: changes the angle of the tail rotor. Yaws the helicopter left or right. CH4.
•Collective Pitch: adjusts main rotor collective [angle of the paddles], changing the main blades’ pitch. Increased
collective pitch (with throttle) causes the helicopter to rise. Moves in conjunction with throttle on the THROTTLE
STICK. CH6.
•Throttle:RSHQVFORVHVFDUEXUHWRU0RYHVLQFRQMXQFWLRQZLWKFROOHFWLYHSLWFKRQWKHTHROTTLE STICK. CH3.
•REVO: mix that adds rudder in conjunction with pitch. This helps compensate for rotation of the helicopter caused by the
LQFUHDVHGHQJLQHWRUTXH1HYHUXVHUHYRPL[LQJZLWKDKHDGLQJKROG$9&6J\URWKHJ\URDOUHDG\GRHVWKLV
)RUDGGLWLRQDOGHWDLOVVHHWKDWIXQFWLRQVVHFWLRQLQWKLVPDQXDO²WKHSDJHQXPEHUVDUHLQGLFDWHGLQWKH¿UVWFROXPQIRU\RX
GOAL of EXAMPLE: STEPS: INPUTS:
Prepare your helicopter. Install all servos, switches, receiver per your model's instructions. Set all trims,
dials and sliders to neutral.
&RQ¿UPDOOFRQWUROOLQNDJHVDUHGHJUHHVRUSHULQVWUXFWLRQVIURPWKHVHUYR
horn to the ball link for proper geometry and that no slop is present.
Mechanically adjust all linkages to get as close as possible to proper control
throws and minimize binding prior to radio set up.
Select the proper MODEL TYPE for your
model. Ex: HELI (H-1). See p. 73.
[NOTE: This is one of several
functions for which the radio requires
confirmation to make a change.
Onlycritical changes require additional
key strokes to accept the change.]
(If the correct model type was already
displayed, be sure to do a model reset to
discard any unwanted settings.)
In the BASIC menu, open the PARAMETER
submenu.
Turn on the transmitter.
for 1 second. (If ADVANCE, again.)
then
C
to highlight PARAMETER.
to choose PARAMETER.
Go to MODEL TYPE.
C
to TYPE.
Select proper MODEL TYPE.
Ex: HELI(H-1). Confirm the change.
Close PARAMETER.
to HELICOPTER. for 1 second.
Are you sure? displays. WRFRQ¿UP
C
to SWASH.
to H-1. for 1 second.
Are you sure? displays. WRFRQ¿UP
to return to BASIC menu.
Then, NAME the model. P. 22.
(You do not need to do anything to
“ save” or store this data.)
In the BASIC menu, open the MODEL
submenu.
C
as needed to highlight MODEL.
to choose MODEL.
Go to MODEL NAME.
C
to NAME.
(First character of model'sname is highlighted.)
Input aircraft's name.
Close the MODEL submenu when done.
WRFKDQJH¿UVWFKDUDFWHU
When proper character is displayed,
C
to move to next character.
Repeat. to return to BASIC menu.

72
GOAL of EXAMPLE: STEPS: INPUTS:
Reverse servos as needed for proper
control operation. Ex: LEFT RUDDER
STICK results in leading edge of tail
rotor blades moving left. Reverse to
operate properly. P. 38.
In the BASIC menu, open REVERSE.
C
to REVERSE.
to choose REVERSE.
Choose desired servo and reverse its
direction of travel. (Ex: reverse rudder
servo.)
C
to CH4:RUDD.
so REV is highlighted.
Are you sure? Displays.
for 1 second.
Repeat as needed.
to return to BASIC menu.
Adjust Travels as needed to match
model's recommended throws (usually
listed as high rates).P. 39.
In the BASIC menu, choose END POINT.
C
to END POINT.
to choose END POINT.
Adjust the servos’ end points.
(Ex: elevator servo)
Return to BASIC menu.
C
to ELEV.
ELEVATOR STICK.
until up travel is as desired.
ELEVATOR STICK.
until down travel is as desired.
Repeat as needed.
Activate THR-CUT. P. 78. Open THROTTLE-CUT function.
C
to THROTTLE-CUT.
to choose THR-CUT.
Activate the function. Choose desired
switch and position to activate.
C
to MIX to OFF.
C
to SW. to C.
C
to POSI. to DOWN.
With THROTTLE STICK at idle, adjust
the rate until the engine consistently
shuts off, but throttle linkage is not
binding.1
Close.
C to down position.
THROTTLE STICK.
C
to RATE. until shuts off.
Set up throttle curve for normal.2
(Usually changes will not need to be
PDGHSULRUWR¿UVWÀLJKW3
Open the THR-CURV/NOR function.
Adjust if needed.
Close the function.
C
to THR-CURV/NOR. .
C
to 1 >.
to 5%.
C
to next point.
Repeat.
Set up collective pitch curve for normal
as base of -4, center of +5,end of
+8 to +10 degrees of blade pitch for
aerobatics.2 (If just learning to fly, ask
your instructor.) P. 78.
Open the PIT-CURV/NOR function.
Adjust each point to match desired
FXUYH([¿UVWSRLQW8%.)
Close the function.
C
to PIT-CURV/NOR. .
C
to 1 >.
to 8%.
C
to next point.
Repeat.
Set up revo. mixing for normal. (For
heading-hold gyros, inhibit revo.) P. 78.
Open the REVO./NOR function.
Adjust to your desired starting point.
(Ex: 10%.)
Close the function.
C
to REVO./NOR. .
C
to 1 >.
to 10%.
C
to next point.
Repeat.
&RQ¿UP*\URGLUHFWLRQ
With radio on, move helicopter’s tail to the right by hand.
The gyro should give right rudder input (leading edge of the tail rotor blades
move left).
If the gyro gives the opposite input, reverse direction on the gyro unit itself.
77

73
GOAL of EXAMPLE: STEPS: INPUTS:
Learn how to operate HOVERING PITCH
and HOVERING THROTTLE
Notice at half throttle, the VR(C) dial
adjusts the throttle separately from the
pitch. VR(A) adjusts the pitch separately
from the throttle.
for 1 second. (If ADVANCE, again.)
C
to SERVO.
throttle to center
VR(C) VR(A) center dials.
%H VXUH WR IROORZ \RXU PRGHO¶V LQVWUXFWLRQV IRU SUHÀLJKW FKHFNV EODGH WUDFNLQJ HWF 1HYHU DVVXPH D VHW RI EODGHV DUH
properly balanced and will track without checking.
Check receiver battery voltage! Always check voltage with a voltmeter prior to each and every engine start.(Never
DVVXPHEHLQJSOXJJHGLQDOOQLJKWPHDQV\RXUUDGLRJHDULVUHDG\WRÀ\,QVXI¿FLHQWFKDUJHELQGLQJVHUYROLQNDJHV
and other problems can result in a dangerous crash with the possibility of injury to yourself, others and property.
&RQ¿UPWKHVZDVKSODWHLVOHYHODWWUDYHO$GMXVWDUPVLIQHHGHG
Apply full collective and check that the swashplate remained level and there is no binding. Repeat for full cyclic pitch and
roll. If not, adjust as needed to correct in END POINT: see p. 27.
Important note: prior to setting up throttle hold, idle-ups, offsets, etc, be sure to get your normal condition operating
properly.
Checking setup prior to going airborne: Check voltage! Then, with the assistance of an instructor, and having completed
all range checks, etc, gradually apply throttle until the helicopter becomes “light on the skids.” Adjust trims as needed to
correct for any roll, pitch, or yaw tendencies. If the tail “wags,” the gyro gain is too high. Decrease gyro gain.
Where next? (Other functions you may wish to set up for your model.)
THROTTLE HOLD: P. 79.
SUB-TRIM p. 36 and separate trims for conditions (OFFSETS): p. 82.
Governor setup: p. 87.
IDLE-UP p. 81.
DELAYs to ease servo response when switching idle-ups: p. 82.
Rudder-to-throttle and other programmable mixes p. 53.
1 Periodically move the throttle stick to full and back down to ensure proper servo settings.
2 It is critical that dials A and C be centered when the pitch and throttle curves are setup.
HELI-SPECIFIC BASIC MENU FUNCTIONS
MODEL TYPE: This function of the PARAMETER submenu is used to select the type of model programming to be used. Before
GRLQJDQ\WKLQJHOVHWRVHWXS\RXUPRGHO¿UVW\RXPXVWGHFLGHZKLFKMODEL TYPEEHVW¿WV\RXUDLUFUDIW,I\RXUWUDQVPLWWHU
is a AT10, the default is ACRO. If it is a 14CH, the default is HELI(H-1).
HELICOPTER SWASHPLATE TYPES:
The AT10 radios support 8 basic swashplate setups, including "single servo" (H-1-most helicopters use this type) and 7 types
of CCPM (cyclic and collective pitch mixing). A "single servo" swashplate uses one servo for each axis: aileron, elevator
(cyclic pitch), and collective pitch. CCPM helicopters utilize a combination of servos working together to achieve the
3 axes of motion. There are 7 basic CCPM types, displayed below. CCPM has several advantages, the most obvious of
which is far less mechanical complexity to properly move the swashplate of the helicopter. Additionally, several servos
working in unison (ex: HR3, all 3 servos together create elevator movement) dramatically increases the torque available as
well as the precision and centering.
Please note that some helicopters are type HR3 or HN3, except off by 180 degrees.
If your model's swashplate is off by
180 you will still use that swashplate type, but also use SWASH AFR
to adjust the functions as needed until it operates
properly. Additionally, different angles of CCPM may also be created utilizing the fully assignable programmable mixes.
(See our Frequently Asked Questions area at www.radiolink.com.cn/doce/.)

74
Not operating quite like you expected? ,QPDQ\&&30LQVWDOODWLRQV\RXQHHGWRHLWKHUUHYHUVHWKHGLUHFWLRQRIDVSHFL¿F
function (SWASH AFR) or reverse a single servo's direction (REVERSE). See SWASH AFR for details. (p.75)
Swashplate Types
HR3H-1 H-3
ELE ELE
ELE1
ELE2
120˚
120˚120˚
PIT
(AIL)
AIL
(PIT)
PIT
(AIL)
AIL
(PIT)
HN3
120˚
120˚
120˚
ELE
PIT
AIL
HE3
ELE
PIT
(AIL)
AIL
(PIT)
PIT
(AIL)
AIL
(PIT)
H-2
PIT
FRONT
AIL
H-4
ELE1
ELE2 AIL
PIT
H4X
(Normal linkage type)
H-1:each servo linked
to the swashplate
independently.
HELI-SPECIFIC BASIC MENU FUNCTIONS
MODEL TYPE: This function of the PARAMETER submenu is used to select the type of model programming to be used. Before
GRLQJDQ\WKLQJHOVHWRVHWXS\RXUPRGHO¿UVW\RXPXVWGHFLGHZKLFKMODEL TYPEEHVW¿WV\RXUDLUFUDIW,I\RXUWUDQVPLWWHU
is a AT10, the default is ACRO. If it is a 14CH, the default is HELI(H-1).
HELICOPTER SWASHPLATE TYPES:
The AT10 radios support 8 basic swashplate setups, including "single servo" (H-1-most helicopters use this type) and 7 types
of CCPM (cyclic and collective pitch mixing). A "single servo" swashplate uses one servo for each axis: aileron, elevator
(cyclic pitch), and collective pitch. CCPM helicopters utilize a combination of servos working together to achieve the
3 axes of motion. There are 7 basic CCPM types, displayed below. CCPM has several advantages, the most obvious of
which is far less mechanical complexity to properly move the swashplate of the helicopter. Additionally, several servos
working in unison (ex: HR3, all 3 servos together create elevator movement) dramatically increases the torque available as
well as the precision and centering.
Please note that some helicopters are type HR3 or HN3, except off by 180 degrees. For example, the Kyosho® Caliber is
HR3 but with the 2 parallel servos to the rear of the helicopter, not front. If your model's swashplate is off by 180 degrees,
you will still use that swashplate type, but also use SWASH AFR (p.75) to adjust the functions as needed until it operates
properly. Additionally, different angles of CCPM may also be created utilizing the fully assignable programmable mixes.
(See our Frequently Asked Questions area at www.radiolink.com.cn/doce/.)
Not operating quite like you expected? ,QPDQ\&&30LQVWDOODWLRQV\RXQHHGWRHLWKHUUHYHUVHWKHGLUHFWLRQRIDVSHFL¿F
function (SWASH AFR) or reverse a single servo's direction (REVERSE). See SWASH AFR for details. (p.75)
Swashplate Types
HR3H-1 H-3
ELE ELE
ELE1
ELE2
120˚
120˚120˚
PIT
(AIL)
AIL
(PIT)
PIT
(AIL)
AIL
(PIT)
HN3
120˚
120˚
120˚
ELE
PIT
AIL
HE3
ELE
PIT
(AIL)
AIL
(PIT)
PIT
(AIL)
AIL
(PIT)
H-2
PIT
FRONT
AIL
H-4
ELE1
ELE2 AIL
PIT
H4X
(Normal linkage type)
H-1:each servo linked
to the swashplate
independently.

75
GOAL of EXAMPLE: STEPS: INPUTS:
Change the MODEL TYPE and SWASH
TYPE of model #3 from aircraft to 120
degree CCPM with 2 servos working in
unison for collective pitch and aileron
[HELI(HR3)].
Confirm you are currently using the
proper model memory. (example: 3)
On home screen, check model name and
# on top left.
If it is not the correct model (example:3),
see MODEL SELECT, p. 20.
Open PARAMETER submenu. for 1 second. (If ADVANCE, again.)
to 2nd page of menu.
C
to PARAMETER.
Select proper MODEL TYPE.
(HELICOPTER)
&RQ¿UPWKHFKDQJH
C
to TYPE.
to HELICOPTER. for 1 second.
Are you sure? displays. WRFRQ¿UP1
Change to the desired SWASH TYPE
(example, HR3.)
&RQ¿UPWKHFKDQJH
C
to SWASH.
to HR3. for 1 second.
Are you sure? displays. WRFRQ¿UP
Close.
Where next? If a single servo is not operating properly, REVERSE: see p. 26.
If a control is operating backwards (i.e. Elevator), see SWASH AFR, p. 75.
If unsure see SWASH AFR.
1Radio emits a repeating “beep” and shows progress on screen as the model type is being changed. Note that if the power switch is turned off prior to
completion, the model type will not be changed.
SWASH AFR (not in SWH1):
Swashplate function rate settings (SWASH AFRUHGXFHLQFUHDVHUHYHUVHWKHUDWH
(travel) of the aileron, elevator (except H-2 ) and collective pitch functions,
adjusting or reversing the motion of all servos involved in that function, only
when using that function. Since these types utilize multiple servos together to
create the controls, simply adjusting a servo's REVERSE or END POINT would not
properly correct the travel of any one control. Since H-1 uses one servo for each
function, there is no need for AFR in H-1.
This is fairly hard to explain but easy to see, so let's set up Kyosho® Caliber's swashplate settings as an example. With
everything installed per factory instructions, set the model to HELI(HR3). Now let's adjust the swashplate properly.
6LQFH DLOHURQ DOZD\V XVHV QR PRUH WKDQ VHUYRV FKHFN LW ¿UVW (LWKHU ERWK RSHUDWH SURSHUO\ QR FKDQJH QHHGHG ERWK
operate backwards (reverse the whole function), or one servo operates backwards (reverse that servo alone).
Next check elevator. Remember, the aileron servo(s) operate correctly, so if elevator does not, we should only have 2
choices left—the whole function needs to be reversed, or the servo(s) not shared with aileron need to be reversed.
Last is collective. If aileron and elevator are working properly, the only thing that could be wrong is the whole direction
collective operates (reverse the whole function). In our example, HR3 is 180 degrees off from the swashplate of the Caliber.
Therefore, it is very likely that several functions will not operate properly. The collective pitch operation is backwards;
but reversing all three servos would also reverse the aileron and elevator operations. Changing the collective pitch rate,
however, from +50% to -50%, will reverse the collective pitch without affecting the aileron action.

CHECKING FOR PROPER MOTION ON AN HR3 SWASHPLATE
HR3 Swash Type PROPER MOTION WRONG MOTION HOW TO FIX
AILERON STICK. Swashplate tilts right. Swashplate tilts left. Reverse AIL setting in SWASH
to -50%.
Back of Swashplate moves
up.
Ch6 servo moves incorrectly;
REVERSE.
Back of Swashplate moves
down.
Ch1 servo moves incorrectly;
REVERSE.
ELEVATOR STICK. Front of swash plate moves
down; back of swashplate
moves up.
Swashplate moves the
opposite.
Reverse ELE setting in SWASH.
(ex: +50 to -50)
Entire swashplate moves up. Ch2 servo moves incorrectly;
REVERSE.
RUDDER STICK. The leading edges of tail
blades rotate left.
Blades rotated right. REVERSE the rudder servo.
THROTTLE STICK. Entire Swashplate lifts. Swashplate lowers. Reverse PIT setting in SWASH.
GOAL of EXAMPLE: STEPS: INPUTS:
Adjust the travel of the collective pitch
from +50% to -23%, reversing the travel
of all 3 servos and decreasing their
travel in collective pitch only, on an
HR3 SWASH TYPE.
Open SWASH AFR function. for 1 second. (If ADVANCE, again.)
C
to SWASH AFR.
Adjust PITC travel to -23%.
C
to PITC. to -23%.
Close the menu.
Where next? &RQ¿UPWKHVZDVKSODWHLVOHYHODWWUDYHO$GMXVWDUPVLIQHHGHG
Apply full collective and check that the swashplate remained level. If not,
adjustservois travels as needed to correct. END POINT: see p. 27.
Set up the normal condition: (THR-CURV/NOR, PIT-CURV/NOR, REVO./NORM):
see p. 77.
Set up D/R,EXP: see p. 30.
Throttle Mixing (THROTTLE MIX):
This function can be set for each flight condition, and is used to correct the
tendency of the model to change altitude when the rotor is tilted by aileron,
elevator, and rudder controls.
Adjustability:
0L[LQJPD\EHVHWIURPWRHDFKÀLJKWFRQGLWLRQ
GOAL of EXAMPLE: STEPS: INPUTS:
Correct the tendency of the model to
change altitude.
Open THROTTLE MIX function. for 1 second. (If BASIC, again.)
to ADVANCE menu.
C
to THROTTLE MIX.
Activate the function.
C
to MIX to ON.
Adjust the rate.
Ex: IDL1 (AIL to TH) 10%
C
to IDL1 (AIL to TH) to 10%.
Repeat as needed.
Close the menu.
Where next? HI/LOW-PIT : see p. 84.
GOVERNOR set up: see p. 87.
76

77
Setting up the Normal Flight Condition:7KH1RUPDOÀLJKWFRQGLWLRQLVW\SLFDOO\XWLOL]HGIRUKRYHULQJ7KHWKURWWOHDQG
FROOHFWLYHSLWFKFXUYHVDUHDGMXVWHGWRSURYLGHFRQVLVWHQWHQJLQH530GHVSLWHWKHLQFUHDVHGHFUHDVHLQFROOHFWLYHSLWFKRI
the blades. This keeps the engine from “bogging down” under excessive load (like trying to accelerate a car on a steep hill
LQWKJHDURUH[FHVVLYH530XQGHULQVXI¿FLHQWORDGOLNHÀRRULQJWKHWKURWWOHZKLOHLQQHXWUDOULVNLQJHQJLQHGDPDJH
$VWKHFXUYHVDQGUHYRPL[LQJDUHDOOLQWHUUHODWHGZHZLOOGLVFXVVDOOWKUHH¿UVWWKHQFRPSOHWHDVDPSOHVHWXS
Note that the normal throttle, pitch and revo curves are all available in the BASIC menu for simplicity. These may also be
updated later in the ADVANCE menu with the settings for the other 4 conditions [idle-up 1 (IDL1), idle-up 2 (IDL2) and idle-
up 3 (IDL3), plus throttle hold (HOLD)]. Note: The throttle and pitch curves for the normal condition are always on. They
cannot be inhibited. The other four conditions are activated with their throttle curves or throttle hold. For idle-ups, see p.
81. For throttle hold, see p. 79.
•THR-CURV/NOR: inputs the normal (NORM) throttle curve, which is usually not a linear response to THROTTLE STICK
motion. Adjusting point 4 of the curve adjusts the engine’s RPM at the THROTTLE STICK midpoint . the desired
position for hovering. The other 6 points are then adjusted to create the desired idle and maximum engine speed, and a
smooth transition in-between. For more on throttle curves, see p. 80.
•PIT-CURV/NOR: inputs the normal (NORM) collective pitch curve, the collective pitch curve for flight near hover. The
normal collective pitch curve is adjusted to match the throttle curve, providing the best vertical performance at a constant
engine speed, with a starting curve of .4 base, +5 neutral, and +8 to +10 degrees of blade pitch maximum*. You can
program the response over a 7-point curve for the best collective pitch angle relative to THROTTLE STICK movement.
For more on collective pitch curves, see p. 80
•REVO./NORM: mixes collective pitch commands to the rudder (a PITCH-RUDDER mix) to suppress the torque generated
by changes in the main rotor's collective pitch angle, keeping the model from yawing when throttle is applied.
NOTE: There are three revo. mixes available: normal (NORMLGOHXS
IDL1/2), and idle-up 3 (IDL3). All 3 are
adjustable in the ADVANCEPHQX1HYHUXVHUHYRPL[LQJLQFRQMXQFWLRQZLWKKHDGLQJKROG$9&6J\URV)RUGHWDLOVRQ
revo, including default points for clockwise and counterclockwise rotating rotors, see p. 80.
7KHVH GHIDXOW UHFRPPHQGDWLRQV DVVXPH \RX DUH GRLQJ IRUZDUG ÀLJKW ,I \RX DUH MXVW OHDUQLQJ SOHDVH IROORZ \RXU LQVWUXFWRU¶V JXLGDQFH 6RPH
LQVWUXFWRUVOLNHDEDVHSRLQWIRUWUDLQLQJVRWKDWWKHKHOLFRSWHUFRPHVGRZQYHU\VORZO\HYHQLI\RXULQVWLQFWVSXOOWKHWKURWWOHFROOHFWLYHVWLFNWR
the bottom in a hurry.

78
GOAL of EXAMPLE: STEPS: INPUTS:
Set up Normal Flight Condition
Throttle/Collective Pitch Curves and
Revo.
Base point: Adjust base point of throttle
curve until engine idles reliably on
ground. Adjust base point of collective
pitch curve to achieve -4 degrees of
blade pitch. Apply throttle until the
model sits ‘light’ on its skids. Adjust
base point of REVO. until model does not
rotate its nose at all.
Open the THR-CURV/NOR function.
$GMXVWWKH¿UVWSRLQW([5%.)
for 1 second. (If ADVANCE, again.)
C
to THR-CURV/NOR.
C
to POINT-1. to 5%.
Open the PIT-CURV/NOR function.
$GMXVWWKH¿UVWSRLQW([8%.)
C
to PIT-CURV/NOR.
C
to POINT-1. to 8%.
Open the REVO. /NORM function.
$GMXVWWKH¿UVWSRLQW([4%.)
C
to REVO. /NORM.
C
to MIX. to ON.
C
to POINT-1. to 4%.
Hover point: Adjust collective pitch
curve to +5 degrees. Ease heli into a
KRYHU/DQGVKXWHQJLQHRII$GMXVW
throttle curves and rudder trim. Repeat
until model hovers smoothly at half
WKURWWOH5DSLGO\DSSO\WKURWWOHIURP
WRVWLFN$GMXVWREVO. points 2 and 3
until the model does not rotate its nose
up on throttle application.
Adjust THR-CURV/NOR. Repeat above as needed.
Adjust PIT-CURV/NOR. Repeat above as needed.
Adjust REVO. /NORM. Repeat above as needed.
High point: Adjust collective pitch
curve to +8 to +10 degrees. From hover,
throttle up rapidly. If engine bogs,
increase the throttle curve. If engine
over-revs, increase the collective pitch
curve at points 6 or 7. Apply full throttle
while hovering, then descend back to
hover. Adjust REVO. until the nose does
not change heading.
Adjust THR-CURV/NOR. Repeat above as needed.
Adjust PIT-CURV/NOR. Repeat above as needed.
Adjust REVO. /NORM. Repeat above as needed.
Where next? GYRO function: see p. 85.
Adjust HOV-THR and HOV-PIT if needed: see p. 83.
Setting up Throttle Hold: see p. 79.
Setting up idle-ups 1, 2 and 3: Throttle and collective pitch curves and revo.
mixing (THR-CURVE, PIT-CURVE, REVO. MIX): see p. 80.
GOVERNOR function: see p. 87.
D/R,EXP: see p. 30.
THROTTLE CUT:
The THROTTLE-CUT function is used to kill the engine at the end of a flight.
The engine can be stopped with one touch of any switch, eliminating the need
WR PRYH WKH WULP WR NLOO WKH HQJLQH DQG WKHQ UHDGMXVW SULRU WR HDFK ÀLJKW 7KH
helicopter THROTTLE-CUTLQFOXGHVDQ212))WKURWWOHSRVLWLRQQRUPDOO\D
little above idle). You must move the THROTTLE STICK back below the set
point before the THROTTLE-CUT function can be reset, to avoid sudden engine
acceleration. For a detailed example of throttle cut setup, see ACRO p. 29.
Note: Be sure to add the step of setting a trigger point by cursoring to THRO, then putting the THROTTLE STICK in the
desired position and pressing and holding the dial for one second. Notice that this function cannot be reversed to trigger
only above the stick point.

79
HELI-SPECIFIC ADVANCE MENU FUNCTIONS
THR-HOLD: This function holds the engine in the idling position and disengages it from the THROTTLE STICK when
SWITCH AT10 is moved. It is commonly used to practice auto-rotation.
Prior to setting up THR-HOLD, hook up the throttle linkage so that the carburetor
is opened fully at high throttle, then use the digital trim to adjust the engine idle
position. To have THR- HOLD maintain idle, move the THROTTLE STICK to the
idle position, then move the hold SWITCH on and off and keep changing the
offset value until the servo does not move. To lower the engine idle speed, or if
you want to shut off, input a more negative number.
Adjustability:
•Idling position: Range of -50% to +50% centered about the throttle idle position to get the desired engine RPM.
•Switch assignment: Assigned to SWITCH E(AT10) or G (AT10) down.
Adjustable in the CONDITION (THR-HOLD item).
(2-position type switch only)
•Throttle curve: Since the throttle is moved to a single preset position, no curve
is available for THR-HOLD.
•Collective pitch curve: Independent curve, typically adjusted to create a blade
pitch range of -4% to +10% to +12%, is automatically activated with THR-
HOLD.
•Revo. mix: Since revo. mix adjusts for torque from the engine, no revo. mix is available for THR-HOLD.
•Priority: The throttle hold function has priority over idle-up. Be sure that the throttle hold and idle-up SWITCHES are
in the desired positions before trying to start the engine. (We recommend starting your engine in throttle hold for safety
reasons.)
•Gyro: Gyro programming includes an option to have a separate gyro setting for each condition, including THR-HOLD.
This avoids the potential problem of the user being in the wrong gyro setting when going to THR-HOLD, resulting in an
improper rudder offset and the model pirouetting.
GOAL of EXAMPLE: STEPS: INPUTS:
Set up throttle hold.
Determine desired throttle position by
idling engine, turn on THR-HOLD, and
adjust percentage as required to reach
the desired running point.
Open THR-HOLD function. for 1 second. (If BASIC, again.)
C
to THR-HOLD.
Activate the function.
C
to MIX. to OFF.
Set desired engine position.
C
to POSI. to desired percent.
Close.
Where next? PIT-CURVE for THR-HOLD: see p. 80.
DELAY for THR-HOLD (to ease collective pitch response): see p. 82.
GYRO setup: see p. 85.
Setting up the Idle-Ups: Throttle and Collective pitch Curves and Revo.
Mixing(TH-CURVE, PIT-CURVE, REVO. MIX) for idle-ups: see p. 80.
D/R,EXP: see p. 30.

80
THR-CURVE and PIT-CURVE: These 7-point curves are utilized to best match the blade collective pitch to the engine RPM for
consistent load on the engine. Curves are separately adjustable for normal, idle-up 1, idle-up 2, and idle-up 3. In addition,
a separate collective pitch curve is available for throttle hold. Sample curves are displayed in the appropriate setup types (ex:
QRUPDOÀLJKWFRQGLWLRQIRUFODULW\
Suggested defaults:
• Normal: Collective pitch curve that results in points 1, 4 and 7 providing .4, +5, (+8 to +10)* degrees pitch. A throttle
curve setting of 0, 25, 36, 50, 62.5, 75, 100%.
,GOHXSV,GOHXSVDQGDUHW\SLFDOO\WKHVDPHH[FHSWIRUWKHJ\URVHWWLQJVZLWKRQHEHLQJKHDGLQJKROG$9&6
and the other being normal mode. The pitch curve will likely be similar to the normal curve above.
• Idle-up 3: Collective pitch curve that results in points 1, 4 and 7 providing (.8 to .10), 0, (+8 to +10) degrees. A throttle
curve of 100, 75, 62.5, 50, 62.5, 75, 100 to provide full throttle for inverted maneuvers.
• Throttle Hold pitch curve: Start with the normal pitch curve (for inverted autos, start from the idle-up 3 pitch curve), but
LQFUHDVHWKHODVWSRLQWDSSUR[LPDWHO\LIDYDLODEOHWRHQVXUHVXI¿FLHQWSLWFKDWODQGLQJ
7KHVH GHIDXOW UHFRPPHQGDWLRQV DVVXPH \RX DUH GRLQJ IRUZDUG ÀLJKW ,I \RX DUH MXVW OHDUQLQJ SOHDVH IROORZ \RXU LQVWUXFWRU¶V JXLGDQFH 6RPH
LQVWUXFWRUVOLNHDEDVHSRLQWIRUWUDLQLQJVRWKDWWKHKHOLFRSWHUFRPHVGRZQYHU\VORZO\HYHQLI\RXULQVWLQFWVSXOOWKHWKURWWOHFROOHFWLYHVWLFNWR
the bottom in a hurry.)
Adjustability:
• Normal condition curves are editable in the BASIC menu for convenience.
• All curves may be adjusted in the ADVANCE menu.
• Automatically selected with the proper condition.
7KHLGOHXSFXUYHV DUHSURJUDPPHGWRPDLQWDLQFRQVWDQW530 HYHQZKHQWKHFROOHFWLYHSLWFK LVUHGXFHGGXULQJÀLJKW
(including inverted).
• To change which condition’s curve is being edited, cursor up to COND> and change the curve named.
• For clarity, the name of the condition currently active (switched on in the radio) is shown in parentheses behind name of
condition whose curve is being edited. (Example: see curve displays below. Note that the normal condition is active but
the idle-up 1 condition’s curves are currently being edited.
•Moving and deleting the curve point: The curve point (-stk-) can be moved to the left or right by turning the DIAL (up to
LQIURQWRIWKHDGMRLQLQJSRLQWDQGGHOHWHGUHWXUQHGE\SUHVVLQJWKHDIAL for one second alternately.
•Copying the curve: To copy the current curve onto another condition’s curve, cursor up to COND> and press the DIAL for
one second. Then select to desired condition and press the DIAL for one second.
• Idle-ups and throttle hold pitch curves may be edited even before the conditions have been made active. Activating their
throttle curves activates these conditions.
REVO. MIX: This 5-point curve mix adds opposite rudder input to counteract the changes in torque when the speed and
collective pitch of the blades is changed.
Adjustability:
• Three separate curves available: normal for hovering; idle-ups 1 and 2 combined; and idle-3.
• Normal condition curves are editable in the BASIC menu for convenience.
• All curves may be adjusted in the ADVANCE menu.
&RUUHFWPL[LVDXWRPDWLFDOO\VHOHFWHGLQÀLJKWZLWKHDFKFRQGLWLRQDQGDXWRPDWLFDOO\DFWLYDWHGZKHQWKHWKURWWOHVHWXSIRU
that condition is activated in the programming (i.e. THROTTLE HOLD or THR-CURVE.)
• To change which condition’s curve is being edited, cursor up above POINT5 and select. For clarity, the name of the
condition currently active (switched on at the radio) is shown in parentheses behind the name of the condition whose
curve is being edited.

81
Revo. curves for idle-ups are often v-shaped to provide proper rudder input with negative pitch and increased throttle
GXULQJ LQYHUWHG ÀLJKW 5XGGHU LV QHHGHG WR FRXQWHU WKH UHDFWLRQ ZKHQHYHU WKHUH LV LQFUHDVHG WRUTXH ,Q LQYHUWHG ÀLJKW
throttle stick below half has increased throttle and negative pitch, therefore increasing torque and rotating the helicopter
unless the revo. mix is also increasing appropriately.)
IDLE-UPS: DGGLWLRQDO ÀLJKW FRQGLWLRQV DYDLODEOH VSHFL¿FDOO\ IRU KHOLFRSWHUV 7KHVH DGGLWLRQDO ÀLJKW FRQGLWLRQV FRQWDLQ
different throttle curves, collective pitch curves, revo. mixing, and trims (except IDLE-3) to make the helicopter perform
certain maneuvers more easily. Lastly, the gyro and dual rate functions may be set to provide separate rates per condition
selected, including one for each idle-up.
2QHRIWKHPRVWFRPPRQÀLJKWFRQGLWLRQVFDQHDVLO\ÀLSIURPXSULJKWWRLQYHUWHGDQGEDFN7RGRVRWKHSLWFKFXUYHLVVHW
to 0 pitch at half stick, positive pitch (climb upright) above half, and negative pitch (climb when inverted) below half stick.
The throttle curve is adjusted to allow the engine to run consistently throughout the changes in pitch.
Additional idle-ups may be used to maximize the helicopter's flight characteristics in certain types of flight (i.e. fast
forward motion, backward) or maneuvers (loops, rolls, stall turns), or even the same maneuver but changing from heading-
KROG$9&6J\URPRGHWRQRUPDOJ\URPRGH7KHAT10SURYLGHVLGOHXSVWRDOORZWKHPRGHOHUDGGLWLRQDOVHWXSVDORQJ
ZLWKWKHQRUPDOÀLJKWFRQGLWLRQ1RWHWKDWIDL3 does not include governor settings.)
Adjustability:
•SWITCH G (AT10) or E (AT10) is programmed for normal (NORM), idle-up 1
(IDLE-UP1), and idle-up 2 (IDLE-UP2) curves.
Adjustable in the CONDITION SELECT (IDLE-UP1/2,IDLE-UP3 items).
(IDLE-UP1/2 3-position type switch only, IDL3 2-position type switch only)
• Activated with the throttle curve for that condition in THR-CURVE.
• Curves are adjusted to maintain constant RPM even when the collective pitch
is negative (inverted).
• Note that REVO.mixing has one curve for idle-ups 1 and 2 and a second curve just for idle-up3.
•Gyro settings may be set separately for each idle-up. (See p.
*RYHUQRU VHWWLQJV PD\ EH VHW XS WR IROORZ 1RUPDO,GOH,GOH EXW GR QRW RIIHU D VHWWLQJ WR DGMXVW IRU HDFK RI WKH
conditions like gyro. (See p. 81.)
• Activating OFFSET makes the TRIM LEVERS adjust the trim separately in each of the idle-up conditions.
For an example of throttle and pitch curves and revo, please see Normal Flight Condition Setup, p. 78.
Revo. mixing rates are 5-point curves. For a clockwise-turning rotor, the rudder is mixed in the clockwise direction
when collective pitch is increased; for counterclockwise-turning, the opposite. Change the operating direction setting by
changing the signs of the numbers in the curve from plus (+) to minus (-) and vice versa. Suggested defaults:
Clockwise rotation: -20, -10, 0, +10, +20% from low throttle to high.
Counterclockwise rotation: +20, +10, 0, -10, -20% from low throttle to high.
Adjust to the actual values that work best for your model.
OFFSET: Optional separate trims in addition to those for the normal condition. This function is used to automatically change
WKH WULP RI D KHOLFRSWHU IRU H[DPSOH ZKHQ WUDQVLWLRQHG IURP KRYHU WR À\LQJ DW KLJK VSHHG$ FORFNZLVHURWDWLRQ URWRU
helicopter tends to drift to the right at high speed, so an aileron offset may be applied to offset the helicopter to the left.
The necessary elevator offset varies with model geometry, so it must be determined by noting collective pitch changes at
high speed. The rudder offset is affected by both revo. mixing and trim lever movement while in the offset function.
81

82
Adjustability:
• Complete switch assignability, plus a CONDITION RSWLRQWKDWFUHDWHV
switches between individual trims for each of the idle-ups.
• When OFFSET is active (its switch is on), moving the TRIM LEVERS adjust
the stored offset, not the trims in the normal condition.
• When OFFSET is inactive (its switch is off), the OFFSET and any trim adjustments
WRLWKDYHQRHIIHFWPRGHOREH\VWKHWULPVHWWLQJVRIWKHFXUUHQWO\DFWLYHÀLJKW
condition.)
• When OFFSETLVLQKLELWHGWULPDGMXVWPHQWVPDGHLQDQ\ÀLJKWFRQGLWLRQDIIHFW
DOOÀLJKWFRQGLWLRQV
• Rapid jumps caused by large offsets can be slowed using the DELAY function.
*During OFFSET operation, the aileron, elevator, and rudder travels are displayed on each trim
display in the Startup screen.
NOTE: 5HPHPEHU RIIVHWV DQG UHYR PL[HV DUH QRW UHFRPPHQGHG ZKHQ XVLQJ KHDGLQJKROG$9&6 J\URV EHFDXVH WKH\
FRQÀLFWZLWKWKHDXWRPDWLFFRUUHFWLRQVWRWULPDQGWRUTXHWKDW$9&6SURYLGHV
GOAL of EXAMPLE: STEPS: INPUTS:
Set up separate trims for each of the
three idle-up conditions.
Adjust the idle-up 2 rudder trim to
correct for torque at high speeds.
Open the OFFSET function. for 1 second. (If BASIC, again.)
C
to OFFSET.
Activate the function.
C
to MIX. to OFF or ON.
Change switch setting to Cond.
(No need to change SW.)
already Cond.
Select IDL2.
C
to No. to IDL2.
Adjust trim settings as needed.
(Ex:rudder to +8%.)
C
to RUDD. to +8%.
&ORVH PHQXV DQG FRQ¿UP GLIIHUHQFH LQ
trims between normal and idle-up 2. E (AT10) or G (AT10) from
NORMAL to IDL2. Check that rudder trim
changes.
Where next? DELAY: see p. 82.
THR-HOLD: see p. 79.
Setting up the Idle-Ups: Throttle and Collective pitch Curves and Revo. Mixing
(THR-CURVE, PIT-CURVE, REVO. MIX) for idle-ups: see p. 80.
DELAY: The Delay function provides a smooth transition between the trim positions whenever OFFSET,REVO. MIXING, or
THROTTLE HOLD functions are turned on and off.
Adjustability:
• Separate delay times are available for aileron, elevator, rudder, throttle, and
pitch.
• With a 50% delay setting, the servo takes about a half-second to move to its
new position...quite a long time.
,QJHQHUDOGHOD\VRIDSSUR[LPDWHO\DUHVXI¿FLHQW

83
GOAL of EXAMPLE: STEPS: INPUTS:
Set up a delay on all channels to ease
WKH WUDQVLWLRQ IURP RQH ÀLJKW FRQGLWLRQ
to another so there are no "hard jumps."
Open the DELAY function. for 1 second. (If BASIC, again.)
C
to DELAY.
Adjust AILE response as needed. (Ex:
aileron to +8%.)
to +8%.
Repeat for other channels.
C
to ELEV. Repeat step above.
Close menus and confirm slowed
transitions. E (AT10) or G (AT10) from
NORMAL to IDL2. Check that servos
move gradually to new positions.
Where next? THR-HOLD: see p. 79.
Setting up the Idle-Ups: Throttle and Collective pitch Curves and Revo. Mixing
(THR-CURVE, PIT-CURVE, REVO. MIX) for idle-ups: see p. 80.
HOVERING ADJUSTMENTS (HOV-THR and HOV-PIT):
+RYHULQJWKURWWOHDQGKRYHULQJSLWFKDUH¿QHWXQLQJDGMXVWPHQWVIRUWKHWKURWWOHDQGFROOHFWLYHSLWFKFXUYHVLQGLYLGXDOO\
DIIHFWLQJSHUIRUPDQFHRQO\DURXQGWKHFHQWHUSRLQWDQGRQO\LQWKHQRUPDOFRQGLWLRQ7KH\DOORZLQÀLJKWWZHDNLQJRIWKH
curves for ideal setup.
Adjustability:
5RWRUVSHHGFKDQJHVFDXVHGE\WHPSKXPLGLW\DOWLWXGHRURWKHUFKDQJHVLQÀ\LQJFRQGLWLRQVDUHHDVLO\DFFRPPRGDWHG
• Both adjustments may be inhibited if not desired.
• Both adjustments may also be set to NULL, temporarily turning off the knob but maintaining the last memorized setting.
• Adjustments may be memorized and then the knobs returned to center point to use that amount of adjustment. Allows
easy use of the trimming knobs for multiple models. (Note that when memorization is repeated with the knob offset from
center, the trim value accumulates.)
• Adjustments are quickly reset to the initial value by turning the dial until the trim reads 0%, memorizing, then returning
the knob to its center position.
• Note that all functions, including these, assume the model hovers at half stick.
• Available in normal (NORMRUQRUPDOLGOHXSNORM/IDL1) condition only.

84
GOAL of EXAMPLE: STEPS: INPUTS:
Fine-tune hovering with the hovering
adjustments. Remember these affect
only the hovering (normal) condition.
Adjust throttle and collective pitch
curves until model hovers nicely. In
ÀLJKWDGMXVWFROOHFWLYHSLWFKDQGWKURWWOH
curves near hover point independently
with HOV-THR and HOV-PIT knobs.
6WRUHQHZVHWWLQJVDIWHUÀLJKW
Open the HOV-THR function. for 1 second. (If BASIC, again.)
C
to HOV-THR.
Optional: change which knob adjust
seach hovering curve. NULL locks in
curve in last stored position.
C
to VR.
to desired knob and direction.
Store the current dial settings prior to
selecting another model.
C
to RATE.
for one second to store.
or VR(C) to center.
Close.
Open the HOV-PIT function.
C
to HOV-PIT.
Store the current dial settings prior to
selecting another model.
C
to RATE.
for one second to store.
or VR(A) to center.
Close.
Where next? THR-HOLD: see p. 79.
Setting up the Idle-Ups: Throttle and Collective pitch Curves and Revo. Mixing
(TH-CURVE, PIT-CURVE, REVO. MIX) for idle-ups: see p. 80.
D/R,EXP: see p. 30.
HIGH/LOW PITCH (HI/LO-PIT):
7KLVIXQFWLRQPD\EHXVHGWRDGMXVWWKHFXUYHVKLJKDQGORZVLGHLQGLYLGXDOO\IRUHDFKÀLJKWFRQGLWLRQQRUPDOLGOHXS
idle-up 2, idle-up 3, throttle hold).
Adjustability:
<RX PD\ GH¿QH KLJK DQG ORZ VLGH UDWH WULP NQREV WKH KLJK VLGH SLWFK WULP
FRQWUROLVGH¿QHGDVWKHULJKWVLGHOHYHUDWLQLWLDOVHWWLQJ
• The conditions are activated in the CONDITION SELECT function (p.81).
• Both adjustments may be set to MANUAL, temporarily turning off the knob.
• Adjustments may be memorized and then return the knobs to center point to
use that amount of adjustment. Allows easy use of the trimming knobs for
multiple models.
*<526DQG*29(512568VLQJHOHFWURQLFVWRWDNHVRPHRIWKHFRPSOH[LW\RXWRIVHWXSVDQGÀLJKW
What is a gyro? A gyroscope is an electronic unit that senses motion and corrects for it. For example, if the wind blows
\RXUKHOLFRSWHU¶VWDLOWRWKHOHIWDJ\URZLOOVHQVHWKDWPRWLRQDQGFRQ¿UPWKDWQRLQSXWZDVJLYHQDQGZLOOFRUUHFWIRULW
How does it help in helicopter setup? A good gyro will totally eliminate the need for revo. mixing. The gyro will sense and
correct the unwanted motion for you, so you don’t have to spend time to get a complex curve operating properly.

85
Types of gyro responses:
• Normal: sense motion and dampen it (if the gyro rotates off course for 2 seconds, it corrects for 2 seconds).
+HDGLQJKROG$9&6 FDOFXODWH WKH DQJOH RI URWDWLRQ E\ WUDFNLQJ WKH WLPHUDWH RI FKDQJH DQG WKHQ SURYLGH FRUUHFWLRQ
until the same rotation is achieved.
• Stick priority: a feature on most high-end gyros. The more input given on the channel the gyro controls, the less sensitive
the gain is automatically. This way, if you give a large input for a stall turn, for example, the gyro turns itself off and
GRHVQRW¿JKWWKHVWDOOWXUQ$V\RXHDVHRIIWKHUXGGHUWKHJDLQLQFUHDVHVDJDLQPLQLPL]LQJWDLOZDJDQGNHHSLQJWKH
model straight. (If your gyro does not include stick priority, you can manually create it. Please see www.radiolink.com.cn /
doce/)
Choosing the right gyro for your skills, your helicopter, and your budget:
• Mechanical: some are still available. They are very challenging to set up and not as reliable as piezo or SMM.
• Non-Heading-Hold Piezo: these are now inexpensive gyros that are reliable and easy to set up. Some have dual rates and
UHPRWHJDLQFRQWUROWRDGMXVWVHQVLWLYLW\LQÀLJKW/DFNKHDGLQJKROGFDSDELOLWLHVIRUSUHFLVLRQÀ\LQJ
• Heading-Hold Piezo: Until recently, the cream of the crop. Expensive, and more complex to set up. Adds GPS-like
KHDGLQJUHFRJQLWLRQ([KLELWVPLQRUGLI¿FXOWLHVZLWKWHPSHUDWXUHGULIWSRVLWLRQVHWWLQJYDU\LQJZLWKXQLW¶VWHPSHUDWXUH
• Heading-Hold SMM: 21st Century gyro technology. Computer chip technology. Expensive, easier set up, higher
GXUDELOLW\6LJQL¿FDQWGHFUHDVHLQWHPSHUDWXUHVHQVLWLYLW\0DQ\LQFOXGHIUDPHUDWHVHWWLQJVWRDOORZIDVWHUUHVSRQVHZKHQ
using specialized digital servos. Examples:
GYROVLPSOL¿HVDGMXVWLQJVHOHFWLQJWKHJ\URVHQVLWLYLW\DQGFDQSURYLGHPRUHWKDQJ\URJDLQVHWWLQJV7KHKLJKHUWKH
gain, the more correction the gyro provides and the “softer” or less responsive the helicopter feels.) This function makes
WKHEHVWSRVVLEOHXVHRIWKHLQÀLJKWDGMXVWDEOHJDLQRIPRVWJ\URV
Adjustability:
• Plug the gyro’s sensitivity adjustment to channel 5 of the receiver. (not assignable)
•STDDQG$9&6+HDGLQJKROGGYVHWXSW\SHVDYDLODEOHWRVLPSOLI\DGMXVWPHQWVIRU$9&6+HDGLQJKROGJ\URV
• Full switch assignability or may select Cond. option.
•Cond. option provides separate gyro settings, one for each condition, automatically selected with the condition. Allows
FKDQJHVLQJDLQWRPHHWWKHVSHFL¿FQHHGVRIHDFKÀLJKWFRQGLWLRQ
• Each gyro setting may be set from 0 to +100 (NOR100% to AVC100%) gain, equating to ATV settings of -100% to +100%.
'XDOPRGHJ\URVKHDGLQJKROG$9&6DQGQRUPDODUHHDVLO\WULJJHUHGWRHDFKPRGHE\FKDQJLQJWKHJ\URVHWWLQJ¶VVLJQ
Negative settings trigger normal mode; positive settings are AVCS mode.
• Larger percentages indicate more gain, or gyro responsiveness.
• Tail wagging or shaking indicates excessive gain settings. Turn down gyro setting until wag stops.
Gyro sensor kinds: There are many different kinds of gyros. Early gyros were mechanical, with a spinning drum similar to
a child’s gyroscope toy. The next generation utilized a special type of crystal, called piezoelectric, which sensed the motion
DQGSURYLGHGDQHOHFWULFDOSXOVH7KH¿QHVWJ\URVDWWKHWLPHRIWKLVZULWLQJDUH600WHFKQRORJ\7KHVHVLOLFRQHPLFUR
machines, or computer chips, sense the motion. SMM is far more accurate and less susceptible to inaccuracies caused by
temperature changes, etc.
Gain Example for AVCS/Heading-hold Gyros (GY)
50%0% +100%
"Heading Hold Mode"
"Normal Mode"
CVA%001%0RON%001
GY
STD

86
GOAL of EXAMPLE: STEPS: INPUTS:
6HWXSDKHDGLQJKROG$9&6J\URZLWK
KHDGLQJKROG$9&6 VHWWLQJ LQ LGOHXSV
1 and 2 and normal mode setting in idle-
up3 and normal.
Open and activate the GYRO SENSE
function.
for 1 second. (If BASIC, again.)
C
to GYRO SENSE.
Activate the function.
C
to MIX. to ACT.
Optional: change gyro type to Heading-
hold (GY).
C
to MODE. to GY.
Optional: change switch assignment.
Ex: select Cond.
C
to SW. to Cond.
Adjust gyro rates as needed.
(Ex: NORM,IDL3 to NOR 50%.IDL1 and 2
to AVC 50% as starting points.)
C
to NORM. to NOR 50%.
C
to IDL1. to AVC 50%.
Repeat.
Close the function.
Where next? GOVERNOR: see p. 87.
D/R,EXP: see p. 30.
DELAY: see p. 82.
GOVERNORS:
What is a governor? A governor is made up of a set of sensors which read the RPM of the helicopter’s head, and a
control unit that automatically adjusts the throttle setting to maintain a constant head speed regardless of changes in pitch
of blades, weather conditions, etc. Governors are extremely popular in competition helicopters due to the consistency
provided.
How does it help in helicopter setup? The governor eliminates the need to spend large amounts of time setting up throttle
curves, as it automatically adjusts the engine’s RPM to maintain the desired head speed.
Red
Red
Red
Black
Black
Black

87
GOVERNOR: The Governor mixing function is used to adjust the Governor speed settings (rS1, rS2, rS3) from the
transmitter. (If you are using a different governor, follow the manufacturer's instructions.)
Adjustability:
2QRIIPD\EHVHSDUDWHIURPVSHHGVZLWFKLQJE\SOXJJLQJJRYHUQRURQRIILQWR
ch8 and changing CUT-CH setting.
,I XVLQJ VHSDUDWH RQRII VZLWFK DVVLJQPHQW LV WRWDOO\ DGMXVWDEOH %H FDUHIXO
not to assign governor off to a condition switch if you want the governor to
function in that condition.
6SHHGVZLWFKLQJDQGJRYHUQRU212))PD\EHWRJHWKHUXVLQJRQHVZLWFKRU
212))VZLWFKLQJPD\EHSHUIRUPHGXVLQJDQLQGHSHQGHQWVZLWFKFKDQQHO
:KHQVSHHGVHWWLQJFRQWUROXVHV&+DQGVHSDUDWH212))VZLWFKLVQRWXVHG
CH8 can be used for other functions.
,QÀLJKWDGMXVWPHQWRIWKHKHDGVSHHGIRUHDV\DGMXVWPHQWGXULQJWXQLQJPD\
be created using an additional channel and a programmable mix. See www.
radiolink.com.cn/doce for details.
The GV-1 controls throttle when it is active, so the throttle will not obey any FailSafe settings preset for throttle in the
WUDQVPLWWHU$OZD\VVHWWKH)DLO6DIHVHWWLQJIRUWKH*9¶VRQ RIIFKDQQHOWR2))7KLVZD\WKHJRYHUQRULVVKXWRII
and the throttle obeys the FailSafe throttle commands.
Expert Tip: Mounting the Governor to the counter gear instead of the fan
GUDPDWLFDOO\VLPSOL¿HVLQVWDOODWLRQLQPDQ\PRGHOV
Setting example: :KHQVSHHGDQG212))DUHXVLQJRQHVZLWFK
Governor Speed Switch Position
(Switch C or Cond.) Rate (%) Adjustment from Tx.
RS1: OFF UP or NORM 0 Use up to 0%.
(Governor speed display reads “off”.)
RS2: 1400 CNTR or IDL1 50 Speed adjusted by raising and lowering rate.
RS3: 1700 DOWN or IDL2 100 Speed adjusted by lowering rate.
*The relationship of the governor speed setting rS1~rS3 and the switch positions conforms to the table above.
*In throttle hold, always check that the governor is off.
*If the speed value rises when the cut switch is activated, reverse the “DIR” setting from UP to DOWN or vice versa.

88
GOAL of EXAMPLE: STEPS: INPUTS:
Set up a governor to use
both channels into the receiver
and switch between the governor
settings automatically when changing
conditions. Consider setting the battery
Fail Safe settings and other helpful
functions on the GV-1 itself.
Open and activate the GOVERNOR
function.
for 1 second. (If BASIC, again.)
C
to GOVERNOR.
Activate the function.
C
to MIX. to ACT.
Optional: change cut-off channel
to channel 8 and assign switch and
direction for on/off (channel 8).
C
to cut-CH to +CH8.
C
to cut-SW. to desired
SWITCH.
Optional: change switch assignment to
select governor settings.
Ex: select switch that selects the
conditions.
C
to SW.
to Cond.
Adjust governor speed settings per
switch position or condition as needed.
(Ex: defaults are fine.) Allows head
speed adjustment from transmitter.
C
to each Cond position.
or as needed.
C
to next Cond position. Repeat.
Close the function.
Where next? GYRO: see p. 85.
Adjust FailSafe (F/S) settings (p. 37).
$GMXVWLGOHXSFROOHFWLYHSLWFKFXUYHIRUVDPHUDWHVRIFOLPEXSULJKWLQYHUWHG
See p. 80.
$GMXVW HOHYDWRUDLOHURQ UHVSRQVH WR ILW \RXU IO\LQJ VW\OH VHH D/R,EXP and END
POINTSWASH AFR: p. 30, 27, 75.
functions on the Governor itself.