SOLEM TBOS2FTUS1 TBOS-II Field Transmitter User Manual Manual
SOLEM TBOS-II Field Transmitter Manual
SOLEM >
Manual

TBOS‐II™FieldTransmitter
InfraRedandRadioCommunication
868MHz(EU,SouthAfrica)
915MHz(USA,Canada,Mexico,Australia)
ENGLISH
DRAFT–FIELDTESTVERSIONJuly2011

STATEMENT
RFEXPOSURE
ThisdevicecomplieswithFCCRFandIndustryCanada
radiationexposurelimitssetforthforgeneralpopulation.
Thisdevicemustbeinstalledtoprovideaseparation
distanceofatleast20cmfromallpersonsandmustnot
beco‐locatedoroperatinginconjunctionwithanyother
antennaortransmitter.
FCCSTATEMENT
Theuser’smanualorinstructionmanualforanintentional
orunintentionalradiatorshallcautiontheuserthat
changesormodificationsnotexpresslyapprovedbythe
partyresponsibleforcompliancecouldvoidtheuser's
authoritytooperatetheequipment.
NOTE:Thisequipmenthasbeentestedandfoundto
complywiththelimitsforaClassBdigitaldevice,
pursuanttopart15oftheFCCRules.Theselimitsare
designedtoprovidereasonableprotectionagainst
harmfulinterferenceinaresidentialinstallation.
Thisequipmentgeneratesusesandcanradiateradio
frequencyenergyand,ifnotinstalledandusedin
accordancewiththeinstruction,maycauseharmful
interferencetoradiocommunications.However,thereis
noguaranteethatinterferencewillnotoccurina
particularinstallation.Ifthisequipmentdoescause
harmfulinterferencetoradioortelevisionreception
whichcanbedeterminedbyturningtheequipmentoff
andon,theuserisencouragedtotrytocorrect
interferencebyoneormoreofthefollowingmeasures:
‐Reorientorrelocatethereceivingantenna.
‐ Increasetheseparationbetweentheequipmentand
receiver.
‐Connecttheequipmentintoanoutletoncircuitdifferent
fromthattowhichthereceiverisconnected.
‐Consultthedealeroranexperiencedradio/TVtechnician
forhelp.
Labelingrequirements.
ThisdevicecomplieswithPart15oftheFCCRules.
Operationissubjecttothefollowingtwoconditions:(1)
Thisdevicemaynotcauseharmfulinterference,and(2)
thisdevicemustacceptanyinterferencereceived,
includinginterferencethatmaycauseundesired
operation.
ICSTATEMENT
RSSGen/TransmitterAntenna.
UnderIndustryCanadaregulations,thisradiotransmitter
mayonlyoperateusinganantennaofatypeand
maximum(orlesser)gainapprovedforthetransmitterby
IndustryCanada.Toreducepotentialradiointerferenceto
otherusers,theantennatypeanditsgainshouldbeso
chosenthattheequivalentisotropicallyradiatedpower
(e.i.r.p.)isnotmorethanthatnecessaryforsuccessful
communication.
Conformémentàlaréglementationd'IndustrieCanada,le
présentémetteurradiopeutfonctionneravecuneantenne
d'untypeetd'ungainmaximal(ouinférieur)approuvé
pourl'émetteurparIndustrieCanada.Danslebutde
réduirelesrisquesdebrouillageradioélectriqueà
l'intentiondesautresutilisateurs,ilfautchoisirletype
d'antenneetsongaindesortequelapuissanceisotrope
rayonnéeéquivalente(p.i.r.e.)nedépassepasl'intensité
nécessaireàl'établissementd'unecommunication
satisfaisante.
RSSGen/UserManualNoticeforLicence‐ExemptRadio
Apparatus.
ThisdevicecomplieswithIndustryCanadalicense‐exempt
RSSstandard(s).Operationissubjecttothefollowingtwo
conditions:(1)thisdevicemaynotcauseinterference,and
(2)thisdevicemustacceptanyinterference,including
interferencethatmaycauseundesiredoperationofthe
device.
LeprésentappareilestconformeauxCNRd'Industrie
Canadaapplicablesauxappareilsradioexemptsde
licence.L'exploitationestautoriséeauxdeuxconditions
suivantes:(1)l'appareilnedoitpasproduiredebrouillage,
et(2)l'utilisateurdel'appareildoitacceptertout
brouillageradioélectriquesubi,mêmesilebrouillageest
susceptibled'encompromettrelefonctionnement.
RADIO
Conformémentàlaréglementationd'IndustrieCanada,le
présentémetteurradiopeutfonctionneravecune
antenned'untypeetd'ungainmaximal(ouinférieur)
approuvépourl'émetteurparIndustrieCanada.Dansle
butderéduirelesrisquesdebrouillageradioélectriqueà
l'intentiondesautresutilisateurs,ilfautchoisirletype
d'antenneetsongaindesortequelapuissanceisotrope
rayonnéeéquivalente(p.i.r.e.)nedépassepasl'intensité
nécessaireàl'établissementd'unecommunication
satisfaisante.
NORMESCEM(radio)
CE
‐ETSI EN 300220-(V2.3.1-2010/02) and ETSI EN 300220-1
(V2.3.1-2010/02)
-EN50371(2002)
‐ETSIEN301489‐1(V1.8.1‐2008/4)etETSIEN301489‐3
(V1.4.1‐2002108)
CANADA
‐RSS‐210Issue7‐Jun2007‐RSS‐GenIssue2‐Jun2007
FCC
‐FCCPart15,SubpartC15.247
‐ANSIC63.4(2009)
DÉCLARATIONDECONFORMITÉ
FR‐ Etanchéité IP44
EN‐ IP44 sealing
ES‐Estanquiedad IP68
ConformémentàlaDirectiveEuropéenne2002/96/CEetà
lanormeEN50419:2005,cetéquipementne
doitpasêtrejetéaveclesordures
ménagères.
Ildoitfairel’objetd’unecollectesélective
appropriéeafindepermettresa
valorisation.Parcegeste,vouscontribuerez
aurespectdel’environnementetàlaprotectiondes
ressourcesnaturelles.
3
Summary
A.SystemTBOS‐IITMIntroduction........................................................................................................5
1.TheTBOS‐IITMSystem..................................................................................................................5
2.SystemDescription......................................................................................................................6
3.NewfeaturesofTBOS‐IITMSystem..............................................................................................6
4.TBOS‐IITMFieldTransmitterIntroduction....................................................................................7
B.FieldTransmitterStart‐up/Configuration......................................................................................9
1.FirstUse.......................................................................................................................................9
2.FieldTransmitterConfigurationdelaconsole(SettingsMenu).................................................9
SettingTime/Date...........................................................................................................................9
Adjustingthecontrast...................................................................................................................10
Customizethefieldtransmittername(16lettersanddigits).......................................................10
FieldTransmitterlanguageselection............................................................................................11
Settingthescreenlightingtime....................................................................................................11
Restoreinitialsettings...................................................................................................................11
Displayingfieldtransmitterdata...................................................................................................11
C.UsingtheFieldTransmitterviaInfraRedConnection(IR)............................................................12
1.ProgrammingTBOS‐IITMFieldTransmitter.................................................................................12
CreatingIrrigationSchedules–WateringDays.............................................................................12
Starttimes.....................................................................................................................................13
WateringrunTime........................................................................................................................14
Transmittingtime,dateandprogram...........................................................................................14
1.WaterBudgetProgramming.....................................................................................................14
Seasonaladjustmentperprogram................................................................................................14
Seasonaladjustmentpermonth...................................................................................................15
2.Cancelirrigationprograms........................................................................................................15
3.ReadingIrrigationPrograms......................................................................................................16
5.TransmittinganirrigationprogramtoTBOS™/TBOS‐II™ControlModule...............................16
D.Manualactions..............................................................................................................................16
1.CancelIrrigation........................................................................................................................16
6.ManualStationlaunch..............................................................................................................17
7.ManualProgramLaunch...........................................................................................................17
8.IrrigationTestonallstations.....................................................................................................17
9.ON/OFF&RainDelay................................................................................................................18
10.GeneralProgramSavinginTBOS‐II™FieldTransmitter........................................................18
11.SavingprogramintotheTBOS‐II™ControlModule..............................................................18
12.CustomizationofControlModule(s)andStation(s)names..................................................19
E.UsingTBOS‐II™FieldTransmitterviaRADIOConnection.............................................................20
1.RadioMarkingofTBOS‐II™Products........................................................................................20
2.SpecialradiomarkingofoldTBOS™RadioAdaptors................................................................21
3.ChangingtheNetworkNumberofRadiodevices.....................................................................21
4.AutomaticRadiofindingofTBOSControlModules..................................................................22
5.ReceivingaprogramfromtheControlModuleviaradio.........................................................23
6.Transmittingaprogramvialaradio..........................................................................................24
F.Sensor............................................................................................................................................24
1.OverallDescription....................................................................................................................24
4
2.StateswitchofaRainSensor....................................................................................................25
3.Stateswitchofaflowsensor.....................................................................................................25
Leakage..........................................................................................................................................25
ExcessiveConsomption(SEEF)......................................................................................................26
FloWatch.......................................................................................................................................26
G.TBOSRadioNetworkBuilding.......................................................................................................26
1.RadiorangeincreasebetweenFieldTransmitterandRadioAdaptorTBOS‐II™..........................26
OptimumRadiorangebetweenTransmitterandRadioAdaptor.................................................26
TBOSRadioRelays.........................................................................................................................27
2.TBOSCentralizationonIQV2Softawre....................................................................................27
IQ‐TBOSMasterRadioModule.....................................................................................................27
IQSoftware....................................................................................................................................28
3.TBOS‐II™FieldTransmitter‐RadioRelayCommunication.........................................................28
TBOS‐IIFieldTransmittertocommunicatewithradiorelay.........................................................28
Relayradiomarking.......................................................................................................................29
NetworknumberModificationofRadioDevices..........................................................................29
4.AutomaticRadiofindingforTBOSRadioRelays.......................................................................30
AutomaticRadiorelayfindingwiththeFieldTransmitter............................................................30
AutomaticTBOSfindingfromRadiorelay.....................................................................................31
5.Automaticfindingofsecondaryrelays......................................................................................32
6.CommunicationwithTBOS/TBOS‐IIcontrollersviaaradiorelay.............................................32
ManualCommands.......................................................................................................................33
H.DetailsofTBOS‐II™FieldTransmitterUserinterfaceMenus.......................................................34

5
Preamble
RAINBIRDthanksyouforhavingpurchasedaTBOS‐II™seriesfieldtransmitter.
ThisnewtransmitterisuniversalandiscompatiblewiththeentireTBOS™range(oldandnew
generation).
AddingaTBOS‐II™RadioAdaptorenhancestheprogrammingoftheoldgenerationTBOS™modules.
Oncetheprogramdatahasbeenenteredintothefieldtransmitter,itcouldbesentintotheControl
Modulesinoneoftwoways:
• Viaaninfraredconnection,usingthe
cordsuppliedwiththetransmitter.
• Viaaradioconnection,usingthe
TBOS‐II™RadioAdaptorpluggedonto
theControlModule.
ThenewFieldTransmitteralsoincludesnewfeaturesthatwillprovideadditionalbenefitsforthe
managementofyourTBOS™and/orTBOS‐II™ControlModules.
*exceptVRM1andFS1.Theinformationcontainedinthisdocumentispurelyindicative.Itmaybechangedwithoutnoticeanddoesnot
representacommitmentonthepartofRAINBIRD.
A. SystemTBOSIITMIntroduction
1. TheTBOSIITMSystem
Thenewgenerationsystemworkswithproductsusingthe868MHz(EU,SouthAfrica)or915MHz
(US,Canada,Mexico,Australia)freefrequencyband.
Systemcomposition:
•AuniversalFIELD
TRANSMITTER(FT)to
configureyourirrigation
programsandtransferthem
viainfraredorradio
connectiontotheTBOS™
and/orTBOS‐II™Control
Modules.
•One(ormore)
TBOS™/TBOS‐II™CONTROL
MODULE(S)installed
underground,invalvebox.
•ATBOS‐II™RADIO
ADAPTORforradio
receptionofdata.Installed
underground,invalvebox,
itsinfra‐redconnectionhas
tobeconnectedonControl
Module’sInfrared
connection.ItsRadio
antennahastobevertical,
uptothetop.

6
OldTBOSTMFieldTransmitterOTBOSTMRadioAdaptorOldTBOSTM ControlModule
2. SystemDescription
OldTBOSTMSystem
NouveauSystèmeTBOS‐IITM
RainBirdvalveshavetobeequippedwithTBOSTMpulsesolenoid.
3. NewfeaturesofTBOSIITMSystem
TBOS‐IITMFieldTransmitter
•PoweredbyrechargeableNiMHbatteries(chargerprovided)
•Backlitlargedot‐matrixdisplay
•ScrollingmenusandtouchHOMEfornavigation
•Transmitternamecustomisation
•Languageselection
•Miscellaneousdisplaysettings
•Storageof3savedprogramsintheinthefieldtransmitteronceconnectedtotheTBOS™
controller.
Newfeatures:
•RainDelay(1to14days)
•Checkirrigationprograms
•Choiceofoneirrigationcycleperprogram(A,BorC)
•WaterbudgetperprogramA/B/Corpermonth
•NewManualActions
•1stationcanbeaffectedtooneorseveralprograms
•SaveandrestoreanirrigationprogramintheControlModule
•Cancelirrigation,totalorpartial
NewTBOS‐IITM ControlModuleNewTBOS‐IITMFieldTransmitterTBOSTMorTBOS‐IITMControl
ModuleequippedwithTBOS‐IITM
RadioAdaptor.
EquipedwithTBOS‐IITMRadio
Adaptor,theoldTBOSTMControl
Moduleisupgradedwithnew
features.

7
•CustomizablenamefortheTBOSIITMControlModule
•Customizablenameforthestation
4. TBOSIITMFieldTransmitterIntroduction
•Dimension:160*70*30(mm)
•DarkgreyABShousing
•Waterproof7‐keykeypad
•UV‐resistantplastic
•Operatingtemperature:‐10°and+65°
C*
•Allowableairhumidity:95%max(de
4°Cto49°C)
•Storagetemperature:‐40°Cto+66°C
•Removableinfraredcord
•BacklitmonochromeLCDdisplay(128x
64pixel)
•Rechargeable(NiMh750 mAh2.4V).
Batterypack+charger
•InternalradioAntenna
•Sealed(ClassIP44).
*In very low temperature conditions, screens display is slow down. When temperature increases, screen operation returns to
normal.
Optionalbeltclipcomeswiththeconsole.
Ifnecessaryattachonthebackoftheconsolethroughtwoscrewsalsoprovided.
RadioAntenna
Backlitdot
matrix
7‐keykeypad
RemovableInfra
redcord
2AAArechargeable
NiMHbatteries(on
theback)
ABC
Navigationbetweenprograms
A/BandC‐Keyenabled
wheneverABCareflashingin
reversevideo.
Ö
Scrolltotherightthroughthe
menus‐Confirminput
MainMenu
Longpress(2sec)towakeup
thefieldtransmitter.
+/ON/×
Scrollupwardsthroughthe
menus‐Increasethe
numericalvalue(orhigher
value)indatainputmode‐
ConfirmwateringdayONor
stationON
‐/OFF/Ø
Scrolldownwardthroughmenus‐
Confirm"OFF"‐Decreasethe
numericalvalue
Õ
Scrolltotheleftthroughthe
menus–Return‐ValidationOK
Confirminput–Enables/
disablesinputoncertain
screens

8
Theinfraredcordisremovable.Ifyoudonotneedit,removeitandreplaceitbytheprovidedplug
byfollowingthestepsbelow:
Unscrewthefieldtransmitterback
plane.
Unscrewtheinfraredcord
security.
Pullupthecord……andunplugit.
Placetheprovidedpluginthefree
spacetoinsuresealingofthefield
transmitter.
Scewagainthesecuritydevice
beforeclosingthefield
transmitter.

9
B. FieldTransmitterStartup/Configuration
1. FirstUse
ªWhenequippedwithTBOS‐IITMRadioAdaptor,theoldTBOSTMControlModuleisfeaturedwith
newfeatures.
Beforeoperation,theFieldTransmittermustbechargedfor10hoursatleastbeforeitsfirstuse.
Batteriesreplacement:
Thebatterylifedependsonthedailyuseofthefieldtransmitterandthebacklightontimesetting.If
youhavetochangethebatteries,usebatterieswithsamecaracteristics(GPNiMHBattery–
GPHCH73N042,4V,750mAh).
WARNING:Toaccesstoprogrammingscreens,thefieldtransmitterhastobesetandconnectedtoa
TBOSTM/TBOS‐IITMControlModuleviaradioorinfrared.
Towake‐upthefieldtransmitter,pressHomeduring2seconds.
Oncethefieldtransmitterischarged,maketheinitialsettings:
2. FieldTransmitterConfigurationdelaconsole(SettingsMenu)
Proceedtothefirstsettingadjustments:
‐ Dateandtimesettings,
‐ Contrastadjustment,
‐ Settingthenameofthefieldtransmitter,
‐ Languageselection,
‐ Screenlightingtimeadjustment,
‐ DefaultssettingRestoration,
‐ Fieldtransmitterinformationdisplay.
Allofthesesettingsaremadeviathe‘‘Settings"menuthatcanbeaccessedfromthefieldterminal's
welcomescreen,byperformingthefollowingsteps:
‐ Towake‐uptheFieldTransmitter,
pressHomeduring2sec.
‐ Select"Settings"withtheOFFkeyand
confirmbypressingOK
‐ Thedifferentsettingswillthenbe
displayedonthescreen.Simplyselect
theparameteryourchoice.
SettingTime/Date
‐ Select"DateandTime"fromthe"Settings”menuandconfirmbypressingOk

10
‐ Changingthetime:
o Select"Time"+pressOK
o MovefromhourstominutesbypressingÕÖ
o IncreaseordecreasethehoursorminutesusingtheON&OFFkeysandconfirmby
pressingOK
‐ ChangingTimeFormat:
o Select«TimeFormat»+pressOK
o Select12or24hours
‐ Changingthedate:
o Select"Date"+pressOK
o MovefromDaytoMonthtoYearbypressingarrowsÕÖ
o IncreaseordecreaseeachvalueusingtheONOFFkeysandconfirmbypressingOK
‐ Changingdateformat
o Select«DateFormat»+pressOK
o SelectMont/Day/yearorDay/month/year
Adjustingthecontrast
‐ Select"Contrast",fromthe"Settings"menuandconfirmbypressingOK
‐ SetthecontrastlevelusingtheONOFFkeysandconfirmbypressingOK
Customizethefieldtransmittername(16lettersanddigits)
‐ Select"Name"fromthe"Settings"screenandconfirmbypressingOK
‐ Movebetweentheleft‐handandright‐handlettersusingarrows
‐ ScrollthroughthecharactersusingtheON&OFFkeys,andconfirmbypressingOK

11
ÅThe"Space"characterissituatedaftertheletter"Z"
FieldTransmitterlanguageselection
‐ Select"Languages"inthe"Settings"screenandconfirmbypressingOK
‐ ThenchosethedesiredlanguageusingtheON&OFFkeys,andconfirmbypressingOK
ÅProposedlanguages:French,English,Spanish,Italian,Germany,Portuguese,GreekandTurkish.
Settingthescreenlightingtime
‐ Select"Lightingtime‐out"fromthe"Settings"screenandconfirmbypressingOK
‐ SetthelengthoftimeusingtheONOFFkeysandconfirmbypressingOK
Restoreinitialsettings
‐ Select“Settings“,select“RestoreSettings“andvalidbypressingOK.
‐ ConfirmbyOK
Displayingfieldtransmitterdata
‐ Select"About"fromthe"Settings"screenandconfirmbypressingOK
‐ Thefollowinginformationwillthenappearonthescreen:
o FieldtransmitterID
o Theembeddedsoftwareversion

12
C. UsingtheFieldTransmitterviaInfraRedConnection(IR)
Thefieldtransmitterisabletocommunicateviainfraredwithalltypesofoldornewgeneration
TBOS™controlmodules.Certainexclusivefunctionsareonlyaccessiblewhenthefieldtransmitteris
connectedtoaTBOS‐II™IRcontrolmodule,i.e.:
‐ Waterbudget,
‐ Assignmentofastationtoseveralprograms,eachwithadifferenttime,
‐ Stationtest,
‐ 1to31daycyclicalirrigationschedules(1to6daysfortheTBOSmodel),
‐ CustomisationofTBOS‐IImoduleanditsstationsnames,
‐ Savingofprograminthecontrolmodule
Thefieldtransmittercanalsoaddthe"RainDelay"functiontoallTBOS™controlmodules.Ithas6
memorystorageareasthatcanstore6differentprograms:3arededicatedtooldmodelTBOS™
modulesandthe3otherstotheTBOS‐II™modules.Italsoallowstocancelallorindividualprograms
containedinanyTBOS™module(TBOS™modulereset).
1. ProgrammingTBOSIITMFieldTransmitter
Beforeprogrammingprocess,youMUSTconnectthefieldtransmitterinfraredcordonthe
TBOSTM/TBOS‐IITMControlModuleInfraredconnector.
‐ Towake‐uptheFieldTransmitter,pressHomeduring2sec.
‐ PresstheOKkey,select"TBOSIRinfrared"withÕÖandconfirmbypressingOKinorderto
readtheprogramdatacontainedinyourTBOS™ControlModule.Thereadingofprogram
datacantakebetween2and12secondsaccordingtotheTBOS™moduleversion(oldor
new).
Thefirstinfraredwelcomescreenindicatesthestatusofthevariousexternalitems(TBOS™module
sensororbattery),ON/OFFstate,oftheWaterbudgetorthewateringoperationinprogress(TBOS‐
II™only).
CreatingIrrigationSchedules–WateringDays
Thefieldtransmittercontains3independentprograms(A/BandC).Separatewateringdays,start
timesandwateringruntimescanbesetforeachprogram.
Note:astationcanbeassignedtoonlyoneprogram,eitherA,BorCinthecaseofanoldgeneration
TBOS™fieldtransmitter,buttooneormoreprogramsinthecaseoftheTBOS‐IIfieldtransmitter.

13
Then,select"Programs"intheInfraredwelcomescreen,andconfirmbypressingOK
‐ Select"Wateringdays"andconfirmbypressingOK.
Youcanthenchooseaspecificwateringcycle:
o Week(customcycle)–AlldayssettoONbydefault
o Even‐numbereddays
o Odd‐numbereddays
o Oddnumbereddays31(wateringperformedonodddaysexceptthe31)
o Cyclical(every"X"days)
‐ Ifyouselect"Customcycle"(alldayssettoONbydefault)
o SelectthedesiredprogramA,BorCintheflashingboxinthetopleft‐handcornerof
thescreenusingtheABCkey
o UsingtheON&OFFkeys,selectthewateringdaysinthecalendarperprogramand
confirmbypressingOK
‐ Ifyouchoose"Cyclical"
o Selectthewateringcycle(1to6daysfortheTBOS™/1to31daysfortheTBOS‐II™
controlleronly)usingtheONOFFkeys,andconfirmbypressingOK
o Then,enteryourwateringcyclestartdate"dd/m/year"usingtheONOFFkeys
Starttimes
‐ Select"Starttimes"andconfirmbypressingOK.
‐ SelectyourprogramA,BorCintheboxinthetopleft‐handcornerofthescreenusingthe
ABCkey
‐ Setthehoursandminutesforeachstarttime(upto8starttimesperprogram)usingtheON
OFFkeys,andconfirmbypressingOK

14
Whenyouexitthisscreen,thewateringstartswillautomaticallybesortedinchronologicalorder.
WateringrunTime
Eachstationcanbeassignedtothe3programsA,BandC,withdifferenttimesforeachprogram
(TBOS‐II™controllersonly).
‐ Thenselect"Programs"fromtheInfraredwelcomemenuandconfirmbypressingOK
‐ Select"Valveruntime"andconfirmbypressingOK.
‐ SelecttheprogramA/BorCtobeassignedtoeachvalve(1to6)usingtheONOFFkeys,then
gotohoursandminutesbypressingarrows.ConfirmbypressingOK
Transmittingtime,dateandprogram
‐ PressthecentrekeyofthefieldtransmittertoreturntotheInfraredwelcomescreen.
‐ Select"Transmit"andconfirmbypressingOK
WARNING:IfyouwishtosynchronizetimeanddateoftheTBOS™controllerwiththefield
transmitter,simplyreadthecontentsoftheTBOS™moduleandmakeatransmissionwithout
alteringtheprogram.
1. WaterBudgetProgramming
Youhavetheoptionofchangingthewateringtimeforeachoneofthe3programsA,BandCandfor
eachmonth.
Seasonaladjustmentperprogram
‐ Select"Waterbudget"andconfirmbypressingOK
‐ Thenselect"perprogram"andconfirmbypressingOK
‐ ThenchoosetowhichoftheprogramsA,BorCtoassignthewaterbudget.Modifythe
permittedwateringruntimesin1%increments(from0to300%)andconfirmbypressing
OK

15
Bydefault:
100%=nochangetowateringruntimes
>100%=increaseofwateringruntimes
<100%=decreaseofwateringruntimes.
Seasonaladjustmentpermonth
‐ Select"permonth"andconfirmbypressingOK
‐ Changethewateringruntimesforeachofthemonthsbyfractionsandconfirmbypressing
OK.ProgramsA,BandCwillbeaffected.
WARNING:Waterbudgetsperprogramandpermontharecumulative.
Exampleofwaterbudget:
‐ Avalveprogrammedwithatimeof10minutesonprogramAand20minutesonprogramB.
‐ Awaterbudgetsetat50%onprogram.Aand200%onprogramB.
‐ Unwaterbudgetsetat300%forthecurrentmonth
=>Theeffectivewateringruntimewillbe15min(10x50%x300%=15)onprogramAand120
min(20x200%x300%=120)onprogramB
Thewaterbudgetdoesnotapplytomanualactions.Themaximumwateringruntimeis24hours.
2. Cancelirrigationprograms
‐ Select"Clearprograms"fromtheTBOS™IRwelcomemenuandconfirmbypressingOK
‐ Thenselectthetypeofprogramtodelete:
o Individualprogramtodeleteonlyoneoftheprograms(A,BorC)
o Allprograms(A,BandC)
o Resetfactoryparameters(TBOSname=ID,stationnames,RainDelay,programsAB
Cempty,etc.)
‐ ConfirmyourchoicebypressingOK‐Adeletionconfirmationmessagewillbedisplayedonce
again.AnsweryesornobypressingOK.

16
3. ReadingIrrigationPrograms
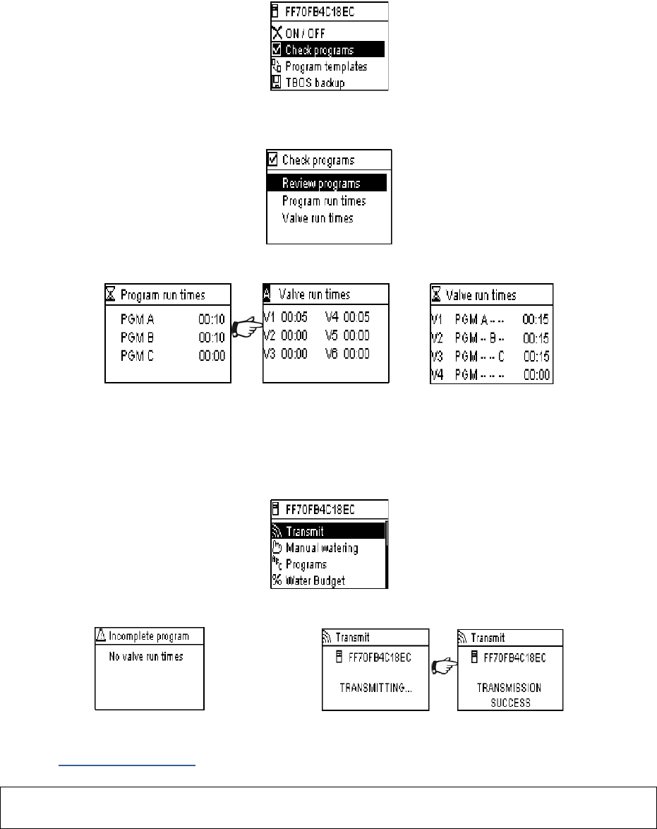
‐ Select"Checkprograms"fromtheWelcomescreenandconfirmbypressingOK
‐ ThenselectthedesireddisplayandconfirmbypressingOK:
o ReviewprogramsthatdisplaysdetailsofeachoftheprogramsA,BandC+Rain
Delay+Waterbudgetpermonth.
o Programruntimes(programsA,BandC)
o Stationruntimes(1to6)
5. TransmittinganirrigationprogramtoTBOS™/TBOSII™Control
Module
OnceprogramsA,BandChavebeenset,theycanbesentviainfraredtotheconnectedTBOS/TBOS‐
II™ControlModule.
‐ Select"Transmit"fromtheWelcomemenuandconfirmbypressingOK
‐ Theprogramtobedownloadedwillbedisplayedonthescreen.Confirmthetransmissionby
pressingOK(Iftheprogramisuncompleted,analertmaybedisplayed)
D. Manualactions
Manualactionsoverrideotheractions.Anyrunningprogramwillthereforebedeactivatedtotake
accountofthemanualfunction.
1. CancelIrrigation
‐ Select"Manualwatering"intheTBOS™IRwelcomescreenandconfirmbypressingOK

17
‐ Then,selectthetypeofmanualactiontobeperformed:
o Stopwatering
o Startastation
o StartaprogramA,BorC
o Performatestonallstations.
‐ Selectthe"Stopwatering"menuandconfirmbypressingOKtomanuallystopthewatering
operatinginprogress.
6. ManualStationlaunch
‐ Select"Startstation"andchoosethestationtobestartedwithON/OFFandconfirmby
pressingOK
‐ Then,setthemanualwateringruntimeandconfirmbypressingOK
Wateringwillstartaftera2seconddelay.
WARNING:
‐ TheoldTBOSControlModulesstartmanuallyastationfortheruntimeset‐upinitsprogram.
Foramanualstationlaunch,theassociatedvalveMUSThavearuntimeset‐up.
‐ WithTBOS‐IIControlModules,thedurationofamanualstationruniscustomizable.
7. ManualProgramLaunch
‐ Select"Startprogram"andchooseoneofthe3programsA,BorCtobestartedusingtheON
OFFkeysandconfirmbypressingOK.
Reminder:aprogramconsistsofallstationsoperatinginsequence.
L’informationestalorstransmiseauboîtierdecommandeTBOS™.
8. IrrigationTestonallstations
‐ Select"Testallstations"andconfirmbypressingOK

18
‐ Then,setthewateringtestruntime(1to10min)usingtheONOFFkeys,andconfirmby
pressingOKtotransmittheprogramdatatothecontrolmodule.
9. ON/OFF&RainDelay
TheTBOS‐IIuniversalfiledtransmitterhasan"OFF"functionthatallowsyoutodisablewatering(e.g.
whenitrains)regardlessofprogramming.Tore‐enablewatering,thedefaultpositionis"ON".
‐ Select"ON/OFF"fromtheWelcomemenuandconfirmbypressingOK
‐ Then,selectthetimeduringwhichyouwishtostoptheprogram(1to14daysorcomplete
shut‐down)andconfirmbypressingOK
ThedatawillthenbeimmediatelytransmittedtotheTBOS™andistotallyindependentofthe
programming.
Ifyouselectthe"OFF"option,wateringwillbeautomaticallystoppeduntilswitchedbackon.To
restart,performthesamestepsasaboveandselectthe"ON"option.
10. GeneralProgramSavinginTBOSII™FieldTransmitter
ThenewTBOS‐II™universalfieldtransmittercontainsaninternalmemorythatcanstoreupto3
differentprograms(irrigation+names).Youcan,forexample,create3differentprogramscovering
specificseasons(Spring/Summer/Autumn)andsavetheminthefieldtransmitter.Thisactionallows
youtosavetime,astheycanbetransmittedbyasimpleclicktootherTBO/TBOS‐II™Control
Modules.
‐ Select"Programtemplates"fromtheTBOS™IRwelcomescreenandconfirmbypressingOK
‐ Then,choosebetweentwooptions:"Save"thedatainthefieldtransmitteror"Restore"the
data.
The"Restore"functionallowsyoutodeletealldatacontainedinthefieldtransmitterexceptfor
thetimeandthedate."Restore"replacestheprogramdisplayedonthefieldtransmitter.A
transmissionmustthenbemadetothecontrolmodule.
11. SavingprogramintotheTBOSII™ControlModule
TheTBOS‐II™ControlModulehasabackupmemoryforstoringanotherprograminadditiontoits
currentprogram.

19
‐ Select"TBOSBackup"fromtheTBOS™welcomemenuandconfirmbypressingOK.The
consolecansendasaveinstructiontotheTBOS™,whichwillthenmakeacopyofitscurrent
programinitsbackupmemory.
‐ Thenchoose"Save"ifyouwishtosaveyourprogramintheinternalmemoryofthecontrol
module.ConfirmbypressingOK
‐ Choose"Manualrecall".Uponreceivingthisinstruction,theTBOS™immediatelyreplacesits
currentprogramwiththebackupprogram.
‐ Choose"Automaticrecall"ifyouwishtoprogramtheoverwritingprogramsalreadysavedin
thecontrolmoduleandreplacethemwithnewoneswithintheset‐upleadtime(between1
and90days).ConfirmbypressingOKAfterthespecifiedtimeperiod,thenewprogramwill
beautomaticallytransmittedbytheTBOS™tothecontrolmodule.
Boththe"saved"programandthe"active"programarestoredinthememoryincaseofapower
failure.
12. CustomizationofControlModule(s)andStation(s)names
Thedifferentcontrolmodulesandwateringstationscanbeindividuallynamedforeasethe
identification,andthussimplerprogrammingsystemoperation.
‐ Select"Names"fromtheTBOS™IRwelcomemenuandconfirmbypressingOK.
‐ Tonameyourcontrolmodule,select"TBOS"thenenterthecharactersusingtheONOFFand
arrowskeys
‐ Tonameyourvariousstations,selectthestationfromthelistandenterthecharactersinthe
sameway.(Ex:NORTHRABfortheNorthround‐a‐bout.)ThenconfirmbypressingOKand
movetothenextcharacter.

20
E. UsingTBOSII™FieldTransmitterviaRADIOConnection
Asindicatedintheforeword,theadditionofaTBOS‐II™RadioAdaptorenhancesprogrammingofold
generationTBOS™ControlModulesandallowsthetransferofprogramsbyradiotothecontrol
modules.ThissimplyrequirestheRadioAdaptortobepluggedontheoldornewgenerationTBOS™
controlmodule.
WARNING:ToaccedetoWorkingMenu,theFieldTransmitterhastogetinitialsettingsandhasto
beconnectedtoaTBOS™/TBOS‐II™ControlModuleviaradioorinfrared.
Towake‐uptheFieldTransmitter,pressHOMEKeyduring2seconds.
Forinformation,theradiointerfaceunitiscompatiblewiththefollowingoldmodelTBOS™control
modules:
‐ K80120,K80220,K80420,K80620(Europe)
‐ K80110,K80210,K80310,K80410(U.S)
1. RadioMarkingofTBOSII™Products
WARNING:RadiomarkingisaKEYSTEPofradiodeviceinstallation.
Radiomarkingconsistsinreceivingtheidentificationnumber(ID)ofeachradiodeviceinTBOS‐II™
Fieldtransmitter.Tocommunicate,radiodevices(TBOS‐II™FieldTransmitter,RadioRelaysorRadio
Adaptator)havetousethisID.
Radiomarkingisperformedonlyonceinthelifetimeoftheproduct(thefirsttimeitisusedafter
leavingthefactory)oriftheusermovesaRadioAdaptorunitfromonesitetoanother(E.g.site1
withnetworknumber0001,site2:0002,etc.).
‐ Towake‐uptheFieldTransmitter,pressHOMEduring2seconds.
3Steps
1/GoonRadioMarkingScreenontheFieldTransmitter.
2/InitiatetheIDemissionontheRadiodevice:
‐ ForaRadioAdaptor:Unplug/PlugtheRadioAdaptatorbattery
‐ ForaTBOSRadioRelay:Turntheinitializationtrigger
‐ ForanIQ‐TBOSMasterRadioModule:PluG/unplugthemoduleon
ESP‐LXbackplate
3/ValidatebypressingOKontheFieldTransmitterwithin20seconds.

21
‐ PressOKandselect‘’TBOSRadio“–ConfirmwithOK.
‐ Theselect"Radiomarking"fromtheTBOS™Radiomenu.Amessagewillthenappearonthe
screen.
‐ UnplugtheRadioAdaptorBatteryandplugitagain(unplug‐plugtoinitiatethemarking
process).Thenyouhave20secondstovalidateradiomarkingontheFieldTransmitterby
pressingOK.
Ifradiomarkinghasfailed,themessage"FAILURECODE1"willbedisplayedafterafewseconds(1
indicatingaradioerror).Ifmarkinghasbeenperformedcorrectly,themessage"SUCCESS"willbe
displayedonthescreen,followedbytheuniqueidentificationcodeoftheradiodevicejusttagged
(12digits).
2. SpecialradiomarkingofoldTBOS™RadioAdaptors
IftheTBOS‐II™RadioAdaptorisattachedtoanoldTBOS™controllerandtheuserperformsradio
marking,theirrigationprogramheldintheoldTBOS™isautomaticallytransferredtotheRadio
Adaptorthatthenbecomesthecontroller.AnemptyprogramissenttotheoldTBOS™Control
Moduleonlyusedtocontrolthesolenoids.
Ifanewmarkingissubsequentlyperformedagain,itisanemptyprogramthatwillbetransferred,
causingthelossoftheinterfaceunit'sprogram.Topreventthishappening,youmustremovethe
RadioAdaptorfromtheoldControlModuleifyouwhichtoperformanewmarkingofamodule
thathasalreadybeenoperated.
3. ChangingtheNetworkNumberofRadiodevices

22
Tobeabletocommunicate,tworadiodevicesmusthavethesameNetworkNumber(FT‐Radio
Adaptator,FT‐RadioRelay,Relay‐Adaptator,…)
ThedefaultNetworkNumberofTBOS‐II™FieldTransmitteris«9999».Thisnumberisautomatically
transmittedtoanyRadiodevicemarkedbythisFieldTransmitter.ThisnumberissavedinField
TransmitterandradiodevicesmemoryevenafteraOFFperiod.
YouhavethepossibilitytocustomizedthisNetworknumber
butRainBirdrecommendstostoreitcarefully.
‐ PressOK,select"TBOSRadio"usingtheOFFkeyandconfirmbypressingOK
‐ Then,select"RadioSettings"fromtheTBOS™radiomenu.
‐ Select"Networknumber".Awarningmessagewillautomaticallybedisplayedinformingyou
ofyouraction.
‐ Thedefaultnetworknumberwillbedisplayed(9999).UsetheONOFFkeystochangethe
numbersandarrowstomovefromonenumbertoanother.
4. AutomaticRadiofindingofTBOSControlModules
ThisisanessentialstepforcommunicatingbyradiowithallTBOS‐II™RadioAdaptorsmountedona
TBOS™orTBOS‐II™ControlModule.ThissearchwillautomaticallydetectallnearbyTBOS™control
modules;uptoalimitof32products(thefirst32controlmodulesdetectedwillbelisted).
‐ PressHOMEkeyfor2secondstoswitchonthefieldtransmitteranddisplaythewelcome
menu.
‐ PressOK,select"TBOSRadio"usingtheOFFkeyandconfirmbypressingOK
‐ Then,intheTBOSRadiomenu,select"TBOSfinding".
‐ The"Finding…"screenwillbedisplayedforaminimumof25to60secondsaccordingtothe
numberofTBOSmodulesdetected.

23
‐ OnceTBOS™moduledetectioniscompletedthe"TBOSlist"screenisdisplayed,withthe
characteristicsofeachmodule:
o TBOSmodulename(max.12characters)
o ThebatterychargeleveliconoftheTBOS‐IImodule(0to3bars)ortheTBOSmodule
(lowbattery‐ornoiconifthebatterychargelevelisOK);
o TBOS‐II™RadioAdaptorbatterychargelevelicon(0to3bars)
o RadioreceptionlevelbetweenTBOS‐II™FieldTransmitterandRadioAdaptor.
ThelistresultingfromaTBOSFindingcommandissavedandcanbeusedlateron,usingthe“TBOS
List”MenuontheFieldTransmitterscreen.
5. ReceivingaprogramfromtheControlModuleviaradio
‐ Select"TBOSlist"fromtheTBOS™RadiowelcomemenuandconfirmbypressingOK
‐ OncethelistofTBOS™modulesisdisplayedonthescreen,selectthechosenmoduleusing
theOFFkeyandconfirmbypressingOK
‐ Aradioreception"Receiving..."messageisdisplayed,followedbyasummaryoftheTBOS™
moduleprogram.
‐ Intheeventofaradiocommunicationproblem,areceptionfailuremessagewillbedisplayed
onthescreen.Repeattheoperation.
Failurecodes:
‐ Failurecode1:RadiocommunicationproblemChecktheRadioAdaptorbattery
‐ Failurecode2:InfraredcommunicationproblemCleantheinfraredpartoftheapparatusor
checktheTBOS™controllerbattery
‐ Failurecode3:TBOSmoduletypereadingerror.Aradioadaptorhasbeenplacedona
TBOS™controllerthenmovedontoaTBOS‐II™controller.Thiserrorwillcontinuetoappear
untiltheradiointerfaceunit'sbatteryischanged.
‐ Failurecode4:Authenticationproblem.Communicationcannotbeestablishedbetweenthe
itemsofequipment.ThisauthenticationphasebetweentheTBOS‐II™fieldtransmitterand
theradioadaptor/controllerensuresthatonlyRAINBIRDproductscancommunicatewith
oneanother.

24
Whentheradioadaptorbatteryischanged,theprogramrequirestobesentagainbyradio.This
applieswheretheradioadaptorisfittedonanoldTBOS™module.
6. Transmittingaprogramvialaradio
Thisoperationisperformedinthesamewayasforatransmissionviainfrared.Oncetheirrigation
programhasbeenchanged,itcanbetransmittedbyradiototheTBOS™controllerofyourchoice.
‐ Select"Transmit"fromtheWelcomemenuandconfirmbypressingOK
‐ Iftheprogramisincomplete,ascreenindicatesthemissingfields.
‐ Completemissingdatauntilthetransmissionsuccess.
F. Sensor
1. OverallDescription
AyellowloopisavailableoneachTBOS/TBOS‐II™ControlModuletoaccommodateadrycontact
sensor.
WARNING:TBOS™ControlModules(oldmodels)canonlyaccepttheDry‐contactSensor.Aswitch
stateofthesensoraffectsallthevalves.
TBOS‐II™ControlModulesaccept2typesofsensor:
• Bydefault,Dry‐contactsensorsas:
o RainSensor(RainBirdRSD‐Bex)
o TBOScontrollersavesstateswitch.
• Variablepulserateflowmeters/sensors
o TBOSControllercountspulses(max10pulsespersecond)
o Thiskindofsensorispolarized–Refertopolarity(+/‐)gravedonTBOS‐II™Control
Modulefortheconnectionontheyellowloop.
o ThosesensorshavetobesetupfromIQSoftware.
Eachvalveoutputcanbeaffectedornotbyastateswitchofthesensorindependently.
FlowmanagementisavailableonlywhenthecontrollersarecentralizedonIQV2Software.IQ2
withstandsupto4sensorsperTBOSNetwork.
Alarmsareautomaticallycommunicatedevery12hours.TBOS‐II™RadioAdaptorsisinchargeof
reportingtheinformationtotheIQ‐TBOSMasterRadioModule.ThentheMasterRadiomodule

25
reportsthealarmtothecentral.Youcanalsomanuallyqueryanystateswitchbysendingarequest
fromthePC.
2. StateswitchofaRainSensor
Eachsensorstateswitchcausesanalert.
ForeachRainSensorandforeachsensorstate(ON/OFF)IQSoftwareallowsdifferentautomatical
reactions:
‐ Selectionofaffectedvalvetosensorstateswitch
‐ ManualONwithprogrammableduration.(foronlyonecontrollerontheTBOSNetwork)
‐ ManualProgram(foronlyonecontrollerontheTBOSNetwork)
‐ ManualOFF(foronlyonecontrollerontheTBOSNetwork)
‐ OFForRainDelayforallcontrollersonTBOSNetwork.
‐ ONforallcontrollersonTBOSNetwork.
Whenthesensorisactivated(open–itisraining)programskeeponproceedingnormallybutvalve
outputsaredeactivated.
‐ Ifrainstartswhenirrigationisprocessing,thevalvecurrentlyworkingisstopped(but
programskeeponproceeding)
‐ Ifrainstartswhenirrigationisclosed,valveoutputsaredeactivatedanddespiteprograms
areprocessing,irrigationdoesnotstartasscheduled.
‐ Ifsensorstatecomesbacktonormalstate(closed)duringplannedirrigation,thecurrent
valvestartsfortheremainingdurationinthecurrentprogram.
3. Stateswitchofaflowsensor
AvailableonTBOS‐II™centralizedonIQV2only.
Thereactionsforthestateswitchofaflowsensorarethealertandtheselectionofnoneaffected
valves.
OnlyIQSoftwareisabletodisplayflowcount.
PleasereadtheHELPSectionofIQ™softwaretosetupyoursensor(settings,alertthresholds,K
factorandoffset,…)
Leakage
TBOS‐IImeasurestheflowwhenirrigationisclosed.
InstallationSchematicofaRSD‐BexRainSensor

26
TBOS‐IIcheckseveryhourthatconsumptiondoesnotreachthresholdsetupbyuser.Ifwater
consumptionisoverthethresholdduringtheprevioushour,anoverflowalertissentandprevent
irrigationuntilthealertclearancebytheuser.
ExcessiveConsomption(SEEF)
Theusercansetupathresholdabovewhichtheflowwillbeconsiderasexcessiveandthennot
normal.Thisthresholdisdisplayedasapercentageofthenormalflow.
Ex:130%indicatesthattherecodedflowis30%morethanflowinnormalconditions.
WARNING:Theusersets‐upasettlingtime(1to10minutes)–Correspondstothetimeduringwhich
theoverconsumptionhastobeobservedbeforetheprogramgivesthealert.
Iftheconsumptionisabovethethresholdforadurationexceedingthesettlingtimeset‐upbythe
user,thenanover‐flowalertislaunchedandpreventirrigationuntilthealertclearancebyuser.
FloWatch
TBOS‐II™manageseachstationindependently.Ifaflowalertisemittedforonevalve,thecontroller
stopsirrigationonallvalvesaffectedtothesensor.Valvesnonaffectedtotheflowsensorkeepon
proceedingtheirprogramsnormally.
Aflowsensorcanbeignored,aswellasitsflowdata.SeeFlowWatchOFFcommandinIQV2
SoftwareHELPSection.
G. TBOSRadioNetworkBuilding
1.RadiorangeincreasebetweenFieldTransmitterandRadioAdaptor
TBOSII™
OptimumRadiorangebetweenTransmitterandRadioAdaptor
TBOS™orTBOS‐II™ControlModulesinthischapterMUSTbeequippedwith
TBOS‐II™RadioAdaptors.
TheradiorangebetweenTBOS‐II™FieldTransmitterandTBOS/TBOS‐IIControlModulesequipped
withaRadioAdaptorcanreach50minopenfield.Radiorangecanbesignificantlydifferent
accordingto:
‐ Naturalbarriers(topology,trees…)
‐ Theabsorptionorreflectionofnon‐naturalbarriers(metalstructure,concretebloc…)
‐ Antennaposition(SeeTBOS‐II™RadioAdaptorInstallationManual)–Ideally,theantenna
hastobepositionedvertically,pointingup.

27
TBOSRadioRelays
ATBOS‐II™FieldTransmittercancontrolanunlimitednumberofTBOS™and/orTBOS‐II™Control
Modules,butitsradiorangeislimited.
InordertoincreaseradiorangebetweenTransmitterandControlModules,theusercaninstallone
orseveralTBOSRadioRelays.(TBOSRadioRelayscanbeusedwithoutIQSoftware.)
EachTBOSRadioRelayscanwithstand:
‐ upto32TBOS‐IIRadioAdaptor+ControlModules
‐ upto15otherTBOSRadioRelays.
Theradiorangebetween2TBOSRadioRelayscanreach1200minopen
field.TheradiorangebetweenaTBOSRadioRelayandaTBOS‐IIRadio
Adaptorcanreach300minopenfield.
Radiorangebetwenradiorelayscanbeoptimizedwheninstalled:
‐ Verticalantenna,pointingup
‐ Inopenfield
‐ Highonamast(typeelectricalpole)wheretheycanbeas“inopenfield”.
(SeeTBOSRadioRelayInstallationManual)
Allnetworkconfigurationsarepossible–fewexamples:
2. TBOSCentralizationonIQV2Softawre
IQTBOSMasterRadioModule
TBOS‐II™SeriesControllersandaccessoriesallowremotecentralcontrolandirrigationmanagement
thruIQV2CentralControlSoftware.
One(orseveral)IQ‐TBOSMasterRadioModulehastobeinstalledinanIQSatellite(ESP‐LXDorESP‐
LXME).TheESP‐LXSeriesControllerisequippedwithaNetworkCommunicationCartridge(NCC)that
allowscommunicationwithremotecentralcomputer(viawire,phone,wifi,GPRS,GSMorEthernet
communication).

28
AnIQ‐TBOSMasterRadioModuleisnecessaryONLYforIQcentralization.
ThemaximumcapacityofaIQ‐TBOSMasterRadioModuleis15TBOSRadio
Relaysand32TBOS/TBOS‐IIcontrollersequippedwithTBOS‐II™Radio
Adaptor,foratotalof512TBOS/TBOS‐IIcontrollersmax(32indirectradio
connectionand32x15viaTBOSRadioRelays)perMasterRadioModule.
TheIQSoftwarecapacityallowsthecommunicationwithupto250IQ‐TBOS
MasterRadioModule.
TheradiorangebetweenIQ‐TBOSMasterRadioModuleandanotherradiodevice(TBOSRadioRelay
orTBOS‐IIRadioAdaptator)canreach300minopenfield.
TheCentralControlofTBOS‐IIControllersupgradessystemfeatures:
‐ AdvancedfeaturesofthecontrollersthruIQSoftware
‐ Flowsensorcapability.
SeeTechnicalSpecificationsandHELPSectionofIQSoftware.
Allnetworkconfigurationsarepossible–Forexample:
Werecommendtostudypreciselyonamap,andtheninthefield,theoptimallocationoftheTBOS
RadioRelaysbeforetheirinstallation.Agoodradioreceptionlevelofeachrelaywarrantythe
optimaloperationofnetworkcommunication.PleasecontactRainBirdifyouneedhelp.
IQSoftware
IQV2Softwareallowsremotecentralcontrolof:
‐ Traditionallywiredcontrollers:ESP‐LXMESeriesControllers
‐ Decodercontrollers:ESP‐LXDSeriesControllers
‐ Batteryoperatingcontrollers:TBOSorTBOS‐IIControlModulesequippedwithTBOS‐IIRadio
Adaptors
RadiofindingcommandsofRadioRelaysorTBOS‐IIRadioAdaptorcanbemadefromField
TransmitteroffromIQ.IQbuiltitsrelaynetworktoreachthemaximumnumberofcontrollers.
3. TBOSII™FieldTransmitterRadioRelayCommunication
TBOSIIFieldTransmittertocommunicatewithradiorelay
Perdefault,allscreensrelatedtoRadioRelaysarehiddenintheFieldTransmitter.Toaccesstothis
menu:

29
‐ PressOKkey,select“TBOSRadio“withOFFkeyandconfirmbypressingOK.
‐ IntheTBOSMenu,select‘’RadioSettings“andpressOK.
‐ SelectRadioRelay,thentick‘Activate’
Relayradiomarking
Radiomarkingconsistsinreceivingtheidentificationnumber(ID)ofeachradiodeviceinTBOS‐II™
Fieldtransmitter.Tocommunicate,radiodevices(TBOS‐II™FieldTransmitter,RadioRelaysorRadio
Adaptator)havetousethisID.
Radiomarkingisperformedonlyonceinthelifetimeoftheproduct(thefirsttimeitisusedafter
leavingthefactory)oriftheusermovesaRadioAdaptorunitfromonesitetoanother(E.g.site1
withnetworknumber0001,site2:0002,etc.).
Asallradiodevices,theIQ‐TBOSMasterRadioModulehastofollowtheradiomarkingprocess.
‐ FortheIQ‐TBOSMasterRadioModule,theinitializationprocessislaunchedwhen
unplug/plugthemoduleonESP‐LXplatform.
‐ FortheTBOSRadiorelay,theinitializationislaunchedbyactivatingthetrigger.
SeeChapterE1ofthismanualfordetailedprocedure.
FromtheTBOS‐II™FieldTransmitteryouwillbeabletoremotely:
‐ Checkcontrollersandradioadaptors(batterieslevels,currentprograms…)
‐ Modifyirrigationprograms
‐ TestvalvesbyManualcommands
‐ TBOSRadioRelaysfinding
‐ FindTBOScontrollers(equippedwithTBOS‐IIRadioAdaptor)thruTBOSRadioRelayorIQ‐
TBOSMasterRadioModuleandevaluateradioreceptionlevelofeach.
‐ Findofsecondaryrelay.EachTBOSRadioRelayorIQ‐TBOSMasterRadioModuleisableto
findthenextrelayandevaluateitsradioreceptionlevel
‐ Proceedtorelayradiomarking.
NetworknumberModificationofRadioDevices
TBOS‐II™FieldTransmitterreceivedfromfactoryaNetworknumberat«9999».Thisnumberis
automaticallytransmittedtoanyradiodevicesduringRadioMarkingwiththisFieldtransmitter.Itis
savedinFieldTransmitterandradiodevicesmemoriesevenifturnoff.Tocommunicate,radiorelays
andradioadaptorsMUSThavethesamenumber.
InthespecialcaseofIQcentralization,alotofdifferentnetworkscanbeset‐up.
ANetworkisdefinedasfollow:
‐ OneIQ‐TBOSMasterRadioModule

30
‐ Upto15TBOSRadioRelays(configurationinlineorstarormix)
‐ 16x32TBOScontrollersequippedwithTBOS‐II™RadioAdaptors(32max.ontheMaster
RadioModuleand32max.perTBOSRadioRelay)
AllofthemMUSThavethesamenetworknumber,dedicatedtothisspecificnetwork.
Multiplenetworkset‐upleadstouseasmanynetworknumbersasnetworks.Itisimportantto
remindthosenumberstocommunicatewithcontrollersinthefieldthrutheFieldTransmitter.
‐ PressOKkey,select“TBOSRadio“withOFFkeyandthenvalidewithOK.
‐ IntheTBOSMenu,select“RadioSetting“.
‐ Select“NetworkNumber“.Analertappearstoinformaboutconsequences.
‐ TheNetworkNumberbydefaultisdisplayed(9999).UseON/OFFkeystochangeincremental
valuesandÕÖtochangedigit.
4. AutomaticRadiofindingforTBOSRadioRelays
AutomaticRadiorelayfindingwiththeFieldTransmitter
ThisstepallowstocommunicatewithTBOSRadioRelaysviaradio.TheRelayfindingcommand
automaticallydetectsallnearbyrelays(max.16,the1sttoanswer)
‐ Towakeupthetransmitter,press“HOME“for2seconds.
‐ PressOKkey,andselect“TBOSRadio“withOFFkey,thenvalidatebypressingOK.

31
‐ Select‘’RadioRelayList’’andvalidatewithOK.
‐ FindingScreenisdisplayedduring25to60secondsdependingonthenumberofrelays.
‐ Oncethefindingcommandending,theradiorelayslistisdisplayedwiththefollowing
information:
o Nameofeachrelay(TBOSRadioRelayorMasterRadioModule)
o RadioreceptionlevelbetweenTBOS‐II™FieldTransmitterandRadioRelay
o BatterychargelevelofallTBOSRadiorelay
TheRadiorelaylistisnotsaved.Anewfindingisnecessaryforeachconnection.
AutomaticTBOSfindingfromRadiorelay
‐ FromtheRadioRealyslist,launchanautomaticfindingcommand.Upto32TBOScontrollers
canbelocatedandlisted.
‐ Oncethefindingending,thefollowinginformationisavailableforeachControlModule‐
RadioAdaptor
o TBOS/TBOS‐IIControlModulename.
o BatterychargelevelofTBOS‐II™RadioAdaptorandbatterychargelevelofTBOS‐II™
ControlModule(ThisinformationisnotavailableforTBOS1stgeneration,only
emptysymbolappearswhenthebatterylevelislow)
o RadioreceptionlevelbetweenradiorelayandTBOS/TBOS‐IIcontroller.
‐ SelecttheTBOSyouwantinthelistandpressOKtoconnectit–Youcanwork,program,
modify…thiscontrollerandthentransmitnewinformation,fromyourfieldtransmitter,thru
therelay(see,ChapterG6ofthismanual)
Ifaprogramormanualcommandtransmissionismadewhenirrigationisrunning,thecurrent
cycleisstopped.

32
5. Automaticfindingofsecondaryrelays
TBOS‐IIFieldTransmitterisalsoatoolabletoguideinstallationofyourradionetworkinstallation
becauseitallowsevaluatingradioreceptionlevelbetweenrelays.
Aradiorelayisabletodetectothersnearbyrelays.Thisoperationisnecessarywhenyouproceedto
Radionetworksettingsandnewrelaysinstallation.
‐ FromRadioRelayslist,selectoneandpressOKtoconnect.
‐ Onceconnectedtothisrelay,launchanautomaticfindingcommandbyselecting‘’Relay
Test’’inthemenu.Upto32relayscanbediscovedandlisted.
Thefollowinginformationisavailableforeachrelay::
‐ RadioRelayname
‐ BatterychargelevelofTBOSRadioRelays.
‐ Radioreceptionlevelbetweenprimaryandsecondaryrelays.
Thosedataareinformativeetwillhelpyoutofindthebetterlocationtoinstallanewrelay.
6. CommunicationwithTBOS/TBOSIIcontrollersviaaradiorelay
TheTBOSlistresultingfromthelastAutomaticfindingcommandissavedintheRadioRealynone‐
volatilmemory(name&ID).
SelectoneofthecontrollersinthelistwithON/OFFkeysandpressOKtoconnect.
Duringtheconnectionthefollowinginformationisreceived:
‐ IrrigationProgramsA,BandC(irrigationdays,starttimes,runtimes,waterbudget,seasonal
adjustment…)

33
‐ Thenames(ofthecontrollerandofthevalves)
‐ Currentcontrollerstate(ON/OFF,irrigationinprocess…)
ThefirstscreenannouncesthesuccessofconnectionandnamesandIDsoftheTBOS/TBOS‐II
controllerequippedwithTBOS‐II™RadioAdaptor.PressOKagaintoaccedetodetails:
‐ Controllername
‐ BatterychargeleveloftheRadioAdaptorandthecontrolModule.
‐ CurrenttimefortheFieldTransmitter(Controllertimeisnotdisplayed:itwillbe
automaticallyreplacedbyFieldTransmittertime)
‐ Controllerstatus
‐ SensorAlerts
‐ Stationinprocessandremainingtime.
‐ SeasonalAdjustmentifdifferentof100%
Yousareabletomodifyeachfield.Thenthe1commandofthemenuallowstotransmittheentire
program,thedateandthecurrenttime.
ManualCommands
OnlyManualcommandscanbelaunchedindividually:
‐ Cancelirrigation
‐ Startvalve
‐ Startprogram
‐ Testallvalves
‐ ON/OFF/RainDelay

H. DetailsofTBOSII™FieldTransmitterUserinterfaceMenus

RAINBIRDCORPORATION
6991E.SouthpointRoad–Tucson,AZ85756–USA
www.rainbird.com
RAINBIRDEUROPESNC
900,rueAmpère,BP72000–13792Aix‐en‐ProvenceCEDEX3–France
www.rainbird.eu
®RegisteredtrademarkofRainBirdSprinklerMfg.Corp.
©2011RainBirdCorporation07/11RBE‐11‐TE‐35b