STI Engineering RFI450H UHF DIGITAL MOBILE RADIO User Manual Crescendo UHF Half Duplex

STI Engineering Pty Ltd UHF DIGITAL MOBILE RADIO Crescendo UHF Half Duplex

User Manual

      CRESCENDO UHF HALF-DUPLEX   USER MANUAL
   Contents  Crescendo UHF Half-Duplex User Manual  Page 2 of 78 Crescendo UHF Half-Duplex User Manual DISCLAIMER © 2013 RF Innovations Pty Ltd. All rights reserved. RF Innovations reserves the right to make improvements on the product in this manual at any time without notice. No part of this manual may be produced, copied, translated, or transmitted in any form or by any means without the written permission of RF Innovations. Information  provided  in  this  manual  is  intended  to  be  accurate  and  reliable.  However,  RF  Innovations assumes no responsibility for its use or infringements upon the rights of third parties that may result from its use. Reference No. MAN00137 Revision 2.14 November 2013 Firmware Revision 1.8
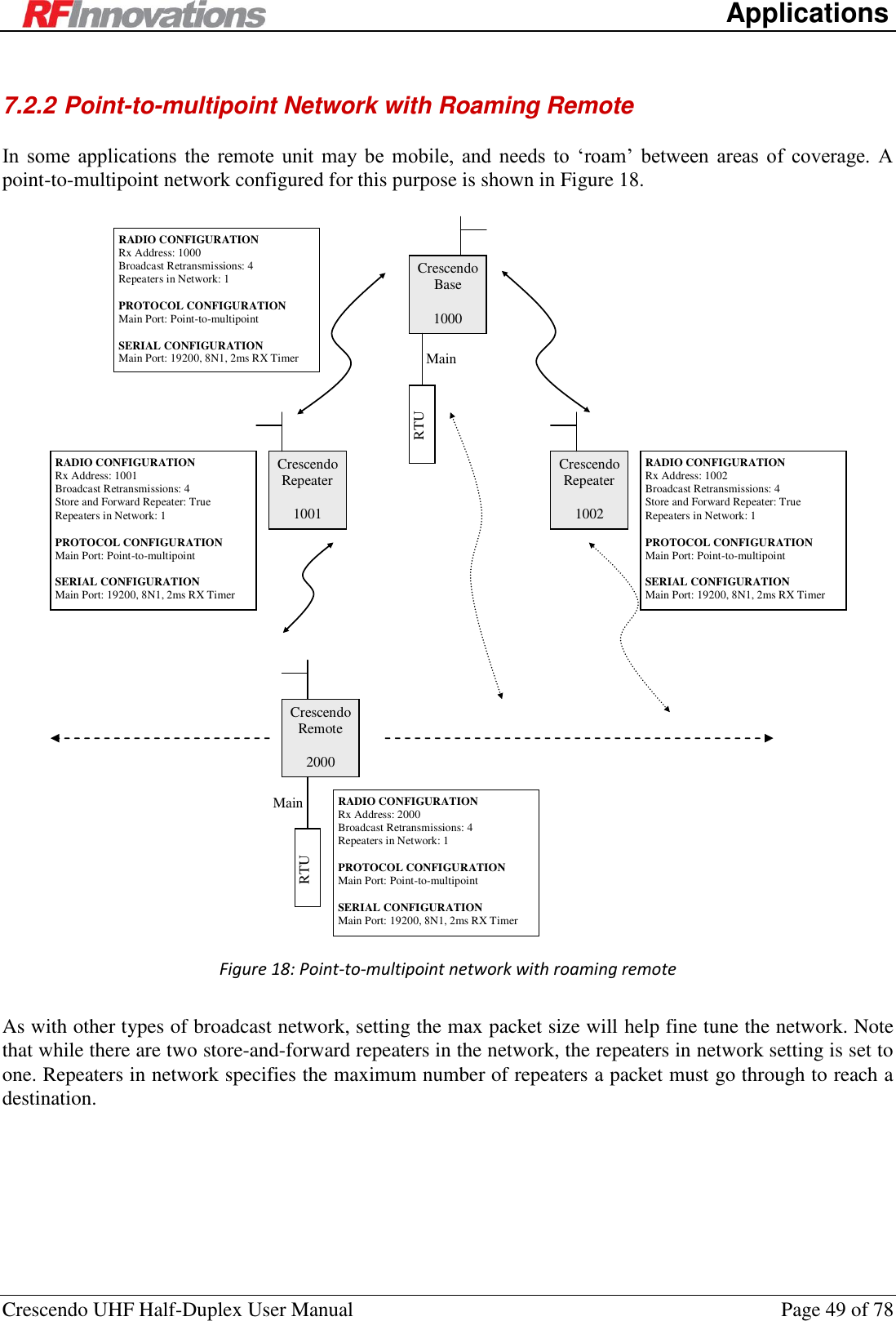
   Contents  Crescendo UHF Half-Duplex User Manual  Page 3 of 78 Contents 1. Introduction ............................................................................................................................................................................. 6 2. Installation ................................................................................................................................................................................ 7 2.1 General considerations ......................................................................................................................................................... 7 2.2 External antennas ................................................................................................................................................................. 7 2.3 Safety and Compliance.......................................................................................................................................................... 8 2.3.1 Human Exposure to Emissions .................................................................................................................................... 8 2.3.2 Modifications............................................................................................................................................................... 8 3. Configuration ........................................................................................................................................................................... 9 3.1 Overview ............................................................................................................................................................................... 9 3.2 Cruise Control .................................................................................................................................................................... 10 3.2.1 Installation ................................................................................................................................................................. 10 3.2.2 Connecting to a Local Device ................................................................................................................................... 10 3.2.3 Saving and Loading Configurations .......................................................................................................................... 11 3.3 Terminal Menu Interface .................................................................................................................................................... 11 3.4 Hayes AT Command Interface ............................................................................................................................................ 12 3.5 Front Panel Interface .......................................................................................................................................................... 13 3.5.1 Radio Status LEDs (Mode 1)..................................................................................................................................... 13 3.5.2 RSSI, Tx Power, Temperature Status (Mode 2, 3, 4) ................................................................................................ 14 3.5.3 Main Serial Port Status (Mode 5) .............................................................................................................................. 14 4. Serial Port Operation ............................................................................................................................................................ 16 4.1 Overview ............................................................................................................................................................................. 16 4.2 Configuration ...................................................................................................................................................................... 17 4.3 Advanced Features .............................................................................................................................................................. 17 4.3.1 Control Lines ............................................................................................................................................................. 17 4.3.2 Packetiser Timers ...................................................................................................................................................... 18 4.4 Statistics .............................................................................................................................................................................. 19 5. Radio Operation..................................................................................................................................................................... 21 5.1 Data-Driven Mode .............................................................................................................................................................. 21 5.2 Packet-Driven Mode ........................................................................................................................................................... 21 5.2.1 Data Path ................................................................................................................................................................... 22 5.3 Radio Parameters ............................................................................................................................................................... 23 5.3.1 Addressing ................................................................................................................................................................. 23 5.3.2 Tx Power ................................................................................................................................................................... 24 5.3.3 RSSI Trip ................................................................................................................................................................... 24 5.3.4 Channel Selection ...................................................................................................................................................... 24 5.3.5 Retries ........................................................................................................................................................................ 25 5.4 Network Architecture .......................................................................................................................................................... 26 5.4.1 Network Topology .................................................................................................................................................... 26 5.4.2 Network Address ....................................................................................................................................................... 27 5.4.3 Store-and-forward Repeater ...................................................................................................................................... 28 5.5 Routing ................................................................................................................................................................................ 29 5.5.1 Network Structure ..................................................................................................................................................... 29 5.5.2 Routing Table ............................................................................................................................................................ 30 5.6 Diagnostics ......................................................................................................................................................................... 31
   Contents  Crescendo UHF Half-Duplex User Manual  Page 4 of 78 5.6.1 Data Quality .............................................................................................................................................................. 31 5.6.2 RSSI .......................................................................................................................................................................... 31 5.6.3 Monitor RSSI ............................................................................................................................................................ 31 5.6.4 PRBS Generator ........................................................................................................................................................ 31 5.6.5 Statistics .................................................................................................................................................................... 31 6. Protocol Operation ................................................................................................................................................................ 34 6.1 Overview ............................................................................................................................................................................. 34 6.2 Data Driven Protocol.......................................................................................................................................................... 34 6.3 Point-to-point Protocol ....................................................................................................................................................... 35 6.4 Point-to-multipoint Protocol ............................................................................................................................................... 35 6.4.1 Strict and Relaxed Addressing .................................................................................................................................. 35 6.4.2 Local Mode................................................................................................................................................................ 36 6.5 Hayes Dial-up Protocol ...................................................................................................................................................... 36 6.5.1 Dialling ...................................................................................................................................................................... 36 6.5.2 Answering ................................................................................................................................................................. 37 6.5.3 Escape Sequence ....................................................................................................................................................... 37 6.5.4 Hanging Up ............................................................................................................................................................... 37 6.5.5 DTR Modes ............................................................................................................................................................... 38 6.5.6 Traceroute .................................................................................................................................................................. 38 6.6 Modbus RTU Protocol ........................................................................................................................................................ 39 6.6.1 Modbus Queries ........................................................................................................................................................ 39 6.7 Distributed Network Protocol (DNP) ................................................................................................................................. 40 6.8 Datagram Protocol ............................................................................................................................................................. 40 6.9 RF Link Status ..................................................................................................................................................................... 41 6.10 Protocol to Radio Address Mapping .............................................................................................................................. 42 6.11 Multiple Protocol Modes ................................................................................................................................................ 43 7. Applications ............................................................................................................................................................................ 44 7.1 Point-to-point Networks ...................................................................................................................................................... 44 7.1.1 Basic Point-to-point Network .................................................................................................................................... 44 7.1.2 Multiple Port Point-to-point Network ....................................................................................................................... 45 7.1.3 Multiple Destination Point-to-point Network ............................................................................................................ 46 7.1.4 Point-to-point Network with Repeater....................................................................................................................... 47 7.2 Point-to-multipoint Networks .............................................................................................................................................. 48 7.2.1 Basic Point-to-multipoint Network ........................................................................................................................... 48 7.2.2 Point-to-multipoint Network with Roaming Remote ................................................................................................ 49 7.3 Hayes Dial-up Networks ..................................................................................................................................................... 50 7.3.1 Basic Hayes Dial-up Network ................................................................................................................................... 50 7.3.2 Hayes Dial-up Network with Repeaters .................................................................................................................... 51 7.4 Modbus/DNP Networks....................................................................................................................................................... 52 7.4.1 Basic Modbus RTU Network with Repeater ............................................................................................................. 52 7.4.2 Modbus with Modbus Query Enabled ....................................................................................................................... 53 7.4.3 DNP Network with Repeater ..................................................................................................................................... 54 7.5 Datagram Networks ............................................................................................................................................................ 55 7.5.1 Basic Datagram Network .......................................................................................................................................... 55  Appendix A Technical Specifications ..................................................................................................................................... 56 A.1 Type Approvals ............................................................................................................................................................... 56 A.2 Radio Modem Specifications .......................................................................................................................................... 56
   Contents  Crescendo UHF Half-Duplex User Manual  Page 5 of 78 A.2.1 Input Current ............................................................................................................................................................. 57 A.3 Connector Pin Assignment ............................................................................................................................................. 58 A.3.1 Main Serial Port ......................................................................................................................................................... 58 A.3.2 Auxiliary Serial Port .................................................................................................................................................. 58 A.3.3 I/O Module ................................................................................................................................................................ 59 A.3.4 Mounting Plate Dimensions ...................................................................................................................................... 61 Appendix B Management Reference ...................................................................................................................................... 62 B.1 Main Configuration ........................................................................................................................................................ 62 B.2 Radio Configuration ....................................................................................................................................................... 62 B.3 Link Control Configuration and Diagnostics ................................................................................................................. 64 B.4 Serial Port Configuration and Diagnostics .................................................................................................................... 64 B.5 Protocol Mode Configuration and Diagnostics ............................................................................................................. 65 B.6 Diagnostics ..................................................................................................................................................................... 66 Appendix C Hayes Reference .................................................................................................................................................. 67 C.1 General Commands ........................................................................................................................................................ 67 C.2 Connection Management Commands ............................................................................................................................. 68 C.3 I-Registers ...................................................................................................................................................................... 68 C.4 S-Registers ..................................................................................................................................................................... 69 C.5 R-Registers ..................................................................................................................................................................... 72 Appendix D Factory Defaults .................................................................................................................................................. 73 Appendix E Product Identification Table .............................................................................................................................. 75 Appendix F Glossary ............................................................................................................................................................... 76
   Introduction  Crescendo UHF Half-Duplex User Manual  Page 6 of 78 1. Introduction Crescendo is a series of data-driven and packet-driven radio modems for high-speed data applications. This manual is specific to Crescendo UHF Half-Duplex. Some of the relevant features of this model include:  UHF band operation (390 MHz - 500 MHz), with approximately 20 MHz switching bandwidth (model specific).  5 W (+ 37 dBm) maximum transmit power  Wideband or narrowband channels, with software selectable frequency raster  Raw air rate 19.2 kbit/s (wideband) or 9.6 kbit/s (narrowband)  Half-duplex data-driven or packet-driven operation with Automatic Repeat Request (ARQ)  Windows GUI for configuration and diagnostics  (Cruise Control)  Internal configuration menu with diagnostic and statistical information  LED front panel user interface  Two RS-232 serial ports (main and auxiliary)  Operating voltage 9 to 16 VDC  Type Approvals:  AS-4295  FCC  Industry Canada  ETSI (planned)  Integrated I/O module (model specific)    Channels  Channel width (Channel spacing) Occupied bandwidth Narrowband 12.5 kHz < 7.25 kHz Wideband 25 kHz < 10.7 kHz Table 1: Channel width
   Installation  Crescendo UHF Half-Duplex User Manual  Page 7 of 78 2. Installation 2.1  General considerations There are a number of rules to observe when installing a Crescendo. Antenna selection is vital to a good RF link. Different antennas are required depending on the application. Please contact your antenna manufacturer or RF Innovations for correct antenna selection. Antenna placement has a significant impact on RF link performance. In general, higher antenna placement results in a better communication link. A vantage point should be chosen to clear the propagation ellipsoid. An unobstructed, line-of-sight link will always perform better than a cluttered or obstructed link. Obstructions, such as walls and poles, will distort the antenna radiation pattern and VSWR, resulting in less efficient transmission and reception. Antennas in close proximity are potential sources of mutual interference. A transmitter can cause overload of a  nearby  receiver,  if  due  precautions  are  not  taken  in  antenna  location.  Moreover,  transmitters  in  close proximity  may  cause  intermodulation.  Slight  adjustments  in  antenna  placement  may  help  solving interference problems. All items of radio equipment, such as antennas, are sources of RF radiation. They should thus be placed away from electrical equipment, such as computers, telephones or answering machines. Serial cable runs between radio modem and attached terminal equipment (eg RTU or PC) should be kept as small as possible. A maximum cable capacitance of 2,400 pF is recommended for transfer rates up to 19.2 kbit/s.  If  a  non-shielded,  30  pF  /  foot  cable  is  used,  the  maximum  length  should  be  limited  to  80  feet (approximately 24m). For higher interface speeds, the length of the serial cable should be shortened. Long serial cables should also be avoided in areas with frequent lightning activity or static electricity build-up. Nearby lightning strikes or high levels of static electricity may lead to interface failure.  RF Innovations supplies a range of external data interface converters for applications requiring long cable runs. 2.2  External antennas Long  antenna  feed  lines  cause  RF  loss,  both  in  transmission  and  reception  levels,  and  degrade  link performance. When long cable runs are required use a suitable low-loss cable.  As an example, RG58 (tinned-copper braid) will exhibit a loss of 7.1 dB / 30 m at 148 MHz – 174 MHz, whereas RG58 CellFoil will exhibit 3 dB less (4.2 dB / 30 m). Antennas should not be located within close reach of people, due to radiation hazard. Exposure guidelines should be followed at all times. Use  extreme  caution  when  installing  antennas  and  follow  all  instructions  provided.  Because  external antennas are subject lightning strikes, RF Innovations recommends protecting all antennas against lighting strike by using lightning surge arrestors.
   Installation  Crescendo UHF Half-Duplex User Manual  Page 8 of 78 2.3  Safety and Compliance 2.3.1 Human Exposure to Emissions To limit human exposure, the following guidelines should be observed: 1. Take  reasonable  precautions  in  any installation  to maintain  a  clearance  of  no  less  than  2  m  (two metres) from the antenna to any person. 2. Do not apply power to the device unless the clearance described in 1 above has been allowed. The guidelines above apply when transmitting at maximum power, with an antenna gain of up to 13 dB. Note: This equipment has been tested  and found  to  comply with  the  limits  for a  Class  A  digital device, pursuant to part 15 of the FCC Rules. These limits are designed to provide reasonable protection against harmful  interference  when  the  equipment  is  operated  in  a  commercial  environment.  This  equipment generates, uses, and can radiate radio frequency energy and, if not installed and used in accordance with the instruction manual, may cause harmful interference to radio communications. Operation of this equipment in a residential area is likely to cause harmful interference in which case the user will be required to correct the interference at his own expense. For further information on human RF exposure, contact your local health department. For example, Health Canada’s Safety Code 6 provides a comprehensive set of guidelines. 2.3.2 Modifications CAUTION: Changes  or  modifications  not  expressly  approved  by  RF  Innovations  may  void  the  user’s authority to operate the equipment legally, as well as any warranty provided.
   Configuration  Crescendo UHF Half-Duplex User Manual  Page 9 of 78 3. Configuration 3.1  Overview The Crescendo provides five user interfaces that allow the radio to be configured and its performance to be monitored: 1. Cruise Control management interface: All radio configuration and diagnostics parameters can be accessed using the Windows-based Cruise Control Graphical User Interface (GUI). 2. Terminal menu interface: A menu system is available on both of the Crescendo’s serial ports. This menu  interface  can  be  accessed  through  any  terminal  emulation  program,  such  as  RFI  InTerm, which can be downloaded from http://www.rfinnovations.com.au. 3. AT  command  interface:  The  AT  command  interface  can  be  used  to  configure  the  Crescendo through  ASCII  Hayes  attention  commands.  This  can  be  used  to  read  and  adjust  the  Crescendo configuration and read performance parameters. 4. Front panel interface: The front panel interface consists of six dual colour (red / green) LEDs and a push button. This panel can display the radio status, RSSI, configured transmit power, temperature, and serial port status. 5. Digital input interface: The digital input pins may be used to configure the currently active channel. See section 5.3.4.
   Configuration  Crescendo UHF Half-Duplex User Manual  Page 10 of 78 3.2  Cruise Control  The following sections briefly outline how to use Cruise Control with the Crescendo. For more information, see the Cruise Control Manual. Figure 1 below is a typical screenshot of the Cruise Control Configuration Tool.   Figure 1: Cruise Control Configuration Tool  3.2.1 Installation The requirements for using the Cruise Control application are:  Pentium III+ Windows based machine.  At least 1 available serial port. The Cruise Control application is provided on a CD, and runs with a self-installer. 3.2.2 Connecting to a Local Device In order to connect to a local device, connect the auxiliary port of the Crescendo to a serial port on the PC running Cruise Control. Configure Cruise Control with the appropriate serial port settings (19200 8N1 by default). Use the Device -> Connect to Local Device menu item to connect to the local device. Once all the settings have been downloaded from the device, the available configuration groups are displayed in a tree on the left. The items that can be configured in each group are displayed in tables on the right. The names of editable items are displayed in black. Read only items have their names in grey.
   Configuration  Crescendo UHF Half-Duplex User Manual  Page 11 of 78 Changes made to the configuration or protocol mode of the serial port which Cruise Control is using do not take effect immediately. They take effect when the disconnect button in Cruise Control is pressed, or the radio is reset. The main port of the Crescendo is typically used for data, but may also be used for Cruise Control if it is configured in Hayes protocol. It is possible to remotely connect to a device over the air by using  Device  ->  Connect  to  Remote Device and entering the remote address of the device. For best results when using a remote connection:  Do not connect to a remote device through store-and-forward repeaters.  Do not connect to a remote device while a live system is running. 3.2.3 Saving and Loading Configurations The current configuration of a device can be saved by selecting:  File  ->  Save  As...: This saves the configuration of the connected device to a selected file. The configuration can later be re-applied to a device by using the File  ->  Upload  option or viewed using Tools -> View Saved Configuration. It  is  recommended  that  only  local  devices  have  their  configuration  loaded  from  file.  Performing  this operation on a remote device updates only those items that can be edited remotely. 3.3  Terminal Menu Interface The terminal menu provides access to all configuration parameters in the radio. There are two methods to access the terminal menu:  Execute the AT? command at the Hayes AT command interface. See section  3.4 on page 12 for information on executing AT commands. The terminal menu will not be started when it is open on another  port,  or  a  Hayes  dial-up  connection  is  established.  In  either  case  the  BUSY  response  is returned.  Select mode 6 on the front panel interface. See section 3.5 on page 13 for information on selecting front panel modes. This will always result in the menu being opened on the auxiliary port, at 19200 8N1. Changes made to the configuration or protocol mode of the serial port which the terminal menu is using do not take effect immediately. They take effect when the radio is reset. A full terminal menu reference can be found in Appendix B on page 62.
   Configuration  Crescendo UHF Half-Duplex User Manual  Page 12 of 78 3.4  Hayes AT Command Interface The Crescendo radio supports Hayes ATtention commands. These are used to query radio configuration and performance parameters, set radio configuration, and establish communication links between radios over the air. For a port to accept AT commands it must be first in local command mode. See section 6.5.3 on page 37 for information on enabling and disabling local command mode. The format for the query and configuration AT command is: ATxxx<[I1, I2, … In]><=value><TERM> Where:  AT is the attention code. All AT commands must be prefixed with AT. This is case insensitive, so At, aT, or at can also be used.  xxx is the actual command. The list of valid AT commands is given in 0 on page 66.  <[I1, I2, … In]> is an optional section that allows the specification of an index. Indexes are used to access one of an array of similar items. For example, the Crescendo radio has two serial ports which can both have different configurations. The command ATS52[0]=1004 set the point-to-point destination on the main port, while the command ATS52[1]=1004 will set the point-to-point destination on the auxiliary port.  <=value> is an optional section that is used to set the value of a configuration parameter. If this section is omitted, then the value of the configuration parameter will be displayed.  <TERM>  is  the  terminator  for  the  AT  command.  A  terminator  can  consist  of  a  carriage  return (ASCII value 13D) or a carriage return followed by a line feed (ASCII value 10D). For each  AT  command that  is  issued  a  response  is  generated. The  list  of  responses to  AT commands  is shown in Table 2. Response Code Response Number Description OK 0 Returned whenever a command is entered that is executed correctly. CONNECT 1 Returned whenever a connection is established with a remote unit. RING 2 Returned whenever this unit is dialled by a remote unit. NO CARRIER 3 Returned whenever a connection fails to be established, or is dropped while it is operating. ERROR 4 Returned whenever a command is invalid or could not be executed. BUSY 7 Returned whenever an attempt is made to dial a remote unit and that unit already has a connection established, or an attempt is made to enable the menu via AT? but the menu system is already enabled on the other serial port. NO ANSWER 8 Returned whenever an attempt is made to dial a remote unit, and that unit fails to answer. Table 2: AT command response codes
   Configuration  Crescendo UHF Half-Duplex User Manual  Page 13 of 78 3.5  Front Panel Interface The front panel interface allows for real-time monitoring of radio parameters without external equipment. The  front  panel  can  also  be  used  to  enable  the  menu  on  the  Crescendo’s  auxiliary  port  regardless  of  the current serial port configuration. There are six front panel modes. To select a front panel mode, press the front panel button. The current panel mode is shown by lighting a single red LED. To select another front panel mode, continue to hold the button until the LED scrolls down to the appropriate mode, then release. The list of modes is shown in Table 3. LED Mode Function 1 Radio Status Section 3.5.1 on page 13 describes the functionality of the LEDs when in radio status mode. 2 RSSI Displays the current RSSI as a bar graph. Table 5 shows the level for each bar item. 3 Transmit Power Displays the configured transmit power as a bar graph. Table 5 shows the level for each bar item. 4 Temperature Displays the internal temperature as a bar graph. Table 5 shows the level for each bar item. 5 Serial Port Shows the main serial port status. The meaning of each individual LED is shown in Table 6. 6 Configuration Enables the terminal menu on the auxiliary port at 19200 8N1. The LED display is the same as mode 1. Table 3: Front panel modes 3.5.1 Radio Status LEDs (Mode 1) LED Description (1) Tx RF Data Flashes green when RF data is transmitted. Flashes red when an RF user or Tx Sync packet is discarded due to retries being exhausted. (2) Rx RF Data Flashes green when RF data is received. Flashes red when a received RF packet is discarded. (3) Tx Serial Data Flashes green when serial data is transmitted from the Crescendo on either serial port. Flashes red with Rx RF Data when a RF packet is discarded due to a Tx Serial buffer overrun. (4) Rx Serial Data Flashes green when serial data is received on either serial port. Flashes red when a receive error occurs on either serial port. See section 4.4 on page 19 for serial statistics. (5) Online Solid green if packets addressed to the unit has been received. The duration the LED stays green is set by the Online Timeout.
   Configuration  Crescendo UHF Half-Duplex User Manual  Page 14 of 78 Solid green when a connection is established with a remote radio. Flashes red when a point-to-point link goes from the connected to not connected state. (6) Power / Fault Flashes green when the radio is operating normally. Flashes red when a fault has occurred. Faults are displayed in Cruise Control under Main -> Diagnostics -> Faults. Faults that are detected by the radio are:  Point-to-point destination address equal to source address  Reserve section of a datagram packet not equal to 0x0000.  The last time the radio reset was due to a watchdog reset. When a fault occurs, it is latched for 15 minutes. If after 15 minutes the alarm has not re-occurred it is cleared. The fault can be cleared manually by re-powering the radio. Table 4: Mode 1 LED functions  3.5.2 RSSI, Tx Power, Temperature Status (Mode 2, 3, 4) When in mode 2, 3, or 4 the front panel is used as a bar graph, with the lowest value indicated by all LEDs off, and the highest by all LEDs on. The bar grows by lighting LED 6 up to LED 1 green. If the top LED is red, then it indicates that the current value is half way between the listed value and the previous value. Table 5 shows the levels for the bar graph display. LED RSSI Transmit Power Temperature 1 -60 dBm +37 dBm +62ºC 2 -70 dBm +36 dBm +50ºC 3 -80 dBm +30 dBm +38ºC 4 -90 dBm +27 dBm +26ºC 5 -100 dBm +20 dBm +14 ºC 6 -110 dBm +0 dBm +2 ºC All Off -120 dBm Not Used -10 ºC Table 5: Front panel RSSI, transmit power, and temperature modes 3.5.3 Main Serial Port Status (Mode 5) LED Description (1) DCD Green when the DCD output is low, red when it is high. (2) DTR Green when the DTR input is low, red when it is high.
   Configuration  Crescendo UHF Half-Duplex User Manual  Page 15 of 78 (3) Tx Serial Data Flashes green when serial data is transmitted from the Crescendo on either serial port. (4) Rx Serial Data Flashes green when serial data is received by the Crescendo on either serial port. Flashes red when a receive error occurs on either serial port. See section 4.4 on page 19 for serial statistics. (5) RTS Green when the RTS input is low, red when it is high. (6) CTS Green when the CTS output is low, red when it is high. Table 6: Mode 5 LED functions
   Serial Port Operation  Crescendo UHF Half-Duplex User Manual  Page 16 of 78 4. Serial Port Operation 4.1  Overview The Crescendo radio has two DCE RS-232 serial ports with DB9 connectors. The serial port pin outs can be found in Appendix A.3 on page 58. The main port supports:  TX, RX, and GND.  RTS and DTR inputs.  CTS and DCD outputs. While the auxiliary port supports:  TX, RX, and GND. Both serial ports support over the air data transfer. In general, due to the presence of control lines, the main port should be used as the main data port. The auxiliary port should be used for performance monitoring and configuration. Both  main  and  auxiliary  serial  ports  have  internal  byte  buffers  on  transmit  and  receive  interfaces.  This configuration is shown in Figure 2.  4096 byte output buffer TX Line (input from DTE) RX Line (output to DTE) Input to RF / internal processing Output from RF / internal processing 4096 byte input buffer  Figure 2: Buffering scheme on the Crescendo This serial port buffering scheme has a number of ramifications on the Crescendo operation:  No preamble is required to account for radio turn-on time.  If the data cannot be sent, it will be buffered until the transmitter is ready.  If the data terminal equipment (DTE) is not ready for data, the Crescendo can buffer the data until the DTE is ready.  If the buffer is full, additional data received will be discarded until space has become available.
   Serial Port Operation  Crescendo UHF Half-Duplex User Manual  Page 17 of 78 4.2  Configuration Both main and auxiliary serial ports support the following configuration options:  Baud rate: 300, 600, 1200, 2400, 4800, 9600, 19200, 38400, 57600 or 115200.  Data bits: 7 or 8  Parity: None, odd, or even  Stop bits: 1 or 2 4.3  Advanced Features 4.3.1 Control Lines The main serial port has four control lines:  Ready to Send (RTS)  Clear to Send (CTS)  Data Terminal Ready (DTR)  Data Carrier Detect (DCD) The main serial port supports hardware flow control using the RTS and CTS control lines. When hardware flow control is enabled:  The radio will only transmit data to the DTE when the RTS line is high.  The radio will raise the CTS line when its input buffer is less than three quarters full, and drop the CTS line when its input buffer is at least three quarters full. NOTE: When hardware flow control is enabled, the CTS line configuration is ignored. In addition to hardware flow control, the CTS and DCD lines can be configured to behave in one of the following ways:  Always High: The control line is always held high.  Always Low: The control line is always held low.  Mirrors DTR: The control line mirrors the state of the DTR input.  Mirrors RTS: The control line mirrors the state of the RTS input.  Follows Rx Carrier: The control line goes high when a valid carrier is detected and goes low when the carrier stops.  Follows Tx Enable: The control line goes high when the transmitter is enabled and goes low when the  transmission  is  finished.  This  includes  acknowledgements  and  retries  when  the  radio  is operating in packet driven mode.  Follows Online: The control line goes high if a packet addressed to the unit has been received. The duration  the  control  line  stays  high  is  set  by  the  Online  Timeout.  The  Online  Timeout  can  be configured  between  100  and  65535ms.  The  control  line  also  stays  high  while  a  connection  is established with a remote radio. DTR is used to control Hayes dial-up connections (see section 6.5.5 on page 38) Main -> Serial Port Main -> Serial Port -> Settings
   Serial Port Operation  Crescendo UHF Half-Duplex User Manual  Page 18 of 78 4.3.2 Packetiser Timers Many protocols delimit packets of data by silence on the communications line for a set period of time. A common example of such a protocol is Modbus. Due to the framed structure over the air when the radio is in packet driven mode, packetiser timers should be used  to  support  protocols  and  increase  the  efficiency  of  data  transmission.  Packetiser  timers  can  be  set between 0 and 10000ms. The RX packetiser timer is used to detect the end of each packet. The Crescendo will only begin transmitting data once the end of the packet has been detected. The suggested RX packetiser timer values for each serial baud rate when using the radio in packet driven mode is given in Table 7. For  protocols  such  as  ModBus,  DNP3,  and  TDE,  the  RX  packetiser  timer  should  be  set  greater  than maximum delay between characters in the same packet. Table 7 can also be used as a guide. Baud RX Timer 300 >= 35ms 600 >= 18ms 1200 >= 10ms 2400 >= 6ms 4800 >= 4ms 9600 >= 3ms 19200 >= 2ms 38400 >= 2ms 57600 >= 2ms 115200 >= 2ms Table 7: Packetisation timers for different baud rates If the packet size is greater than the RX serial buffer size (4096 bytes), then RX packetiser timers should not be used as the internal buffers will overflow, and bytes will be lost.  Tx packetiser timers should be used instead, and set to the suggested value given in Table 8. When using the data driven protocol, it is recommended to use TX packetiser timers and data timeout, rather than the RX packetiser timers, to maintain a low end-to-end latency.  Set the data timeout to the maximum delay between characters in the same packet. Suggested values are given in Table 7. See section 6.2 for more information on the data timeout setting.  Set the TX packetiser timer to the maximum delay between RF blocks. Suggested TX packetiser timer values are given in Table 8. Main -> Serial Port -> Settings
   Serial Port Operation  Crescendo UHF Half-Duplex User Manual  Page 19 of 78 Channel Width TX Timer Narrowband >= 25ms Wideband >= 13ms Table 8: TX packetisation timers for different channel widths Using packetiser timers will increase the latency induced by the radio system, as no part of the packet can be transmitted until it has been fully received. 4.4  Statistics Statistics  are maintained  for each serial port and  these  can be  used to  analyse  and debug problems.  The statistics are given in Table 9. Name Number Description Rx Total 0 The size of the input buffer. Rx Used 1 The number of bytes currently stored in the input buffer. Rx Bytes 2 The total number of bytes that have been received. Rx Errors 3 The total number of errors that have occurred during data reception. This is the sum of Rx Overflows, Rx Overruns, Rx Framing, and Rx Parity errors. Rx Overflows 4 The total number of overflow errors that have occurred. An overflow error occurs whenever data is received, but the internal buffer is already full. Rx Overruns 5 The total number of overrun errors that have occurred. An overrun error occurs whenever the internal processor is overloaded and cannot handle the incoming data. Rx Framing 6 The total number of framing errors that have occurred. Framing errors usually occur due to mismatched serial port baud rates between the DTE and DCE. Rx Parity 7 The total number of parity errors that have been detected. Tx Total 8 The size of the output buffer. Tx Used 9 The number of bytes currently stored in the output buffer. Tx Bytes 10 The total number of bytes that have been transmitted. Tx Errors 11 The total number of errors that have occurred while transmitting. This is equal to the Tx Overflows count. Tx Overflows 12 The total number of overflows that have occurred. An overflow occurs when the radio attempts to insert data into the transmit buffer internally, and the buffer is full. Table 9: Serial port statistics Main -> Serial Port -> Settings
   Serial Port Operation  Crescendo UHF Half-Duplex User Manual  Page 20 of 78 These statistics can be used to isolate a number of potential problems in a Crescendo system.  A large number of Rx framing errors indicates that the radio serial port configuration (baud, data bits, parity, and stop bits) does not match the serial port configuration of the DTE.  A large number of Rx overflow errors indicate that the DTE is supplying data faster than it can be transferred over the air.  A large number of Tx overflow errors indicate that data is arriving over the air faster than the DTE can retrieve it from the radio.
   Radio Operation  Crescendo UHF Half-Duplex User Manual  Page 21 of 78 5. Radio Operation This section describes the two modes of Crescendo operation: data and packet-driven. These modes underlie the different protocols supported, described in section 6. Regardless of the mode  used serial characters  are assembled in small  blocks for the purpose  of  Forward Error Correction (FEC).  These blocks  are  then  subject  to  error  coding /  interleaving,  and protected  by  a CRC. This operation is transparent to the user, with the advantage of added robustness in multipath fading and noisy environments. 5.1  Data-Driven Mode In data-driven mode many of the features that  are available in the  Crescendo are not utilised in order to provide a serial transfer with minimum delay. In particular data driven mode does not utilise:  Unit addressing / repeaters  Retries / routing  Complex network structures /  network address Data driven mode provides a low latency broadcast network where any data presented on the main port of a unit is immediately transmitted over the air, received by all units in range and transmitted out their main ports. Data-driven mode is used when the data driven protocol (see section 6.2) is selected on the main port. For all other protocols the packet-driven mode is used. 5.2  Packet-Driven Mode Packet-driven operation is based upon Automatic Repeat Requests (ARQ) with retries and exponential back-off. A transmission consists of a packet transmitted from source to destination, followed by an acknowledgement from destination to source. Acknowledgements are done on an end-to-end basis, so intermediate repeaters simply pass the packet and acknowledgement on. This is shown in Figure 3.  Repeater Remote Payload Packet Base Payload Packet ACK ACK  Figure 3: Packet driven with ARQ operation
   Radio Operation  Crescendo UHF Half-Duplex User Manual  Page 22 of 78 If  a  payload  packet  or  ACK  is  lost,  resulting  in  the  base  radio  not  receiving  the  ACK,  the  source  radio retransmits the payload packet. This continues until the number of retries for the packet has been exhausted. 5.2.1 Data Path Internally,  the  Crescendo  stores  a  set  of  payload  frames  that  are  waiting  to  be  transmitted,  and  a  set  of payload frames that have been received but not yet processed. Combining this with the serial port interface described in section 4 on page 16, an overall picture of the data path in the Crescendo radio can be obtained, shown in Figure 4.  4096 byte output buffer 4096 byte input buffer outgoing frame buffers incoming frame buffers Tx Packet Rx Packet  Figure 4: Overall data path in the Crescendo radio modem Due to the framed structure over the air, and the data path shown above, the Crescendo cannot be regarded as  a  direct  wire  replacement.  It  will  induce  additional  latency  in  the  communications  link,  as  well  as potentially causing changes in the timing between bytes. In addition, when the link is bad due to interference or low signal level, bytes can be lost when the number of retries are exhausted. LATENCY The Crescendo will introduce latency into the system. This latency is caused by the following factors:  Serialisation delays: Serialisation delay is the time taken for the incoming RS-232 bit stream to be converted  back  into  bytes.  The  serialisation  delay  for  each  serial  port  can  be  calculated  in milliseconds using Equation 1. baudbitstserial 1000 Equation 1: Latency induced by serialisation delay Where bits is the number of bits in a byte (including start, stop and parity bits), and baud is the baud rate of the serial port. Thus, for 9600 baud, 8N1 the serialisation delay is around 1ms per serial port.  Switching delay: When the Crescendo is presented with data to send over the air, it switches from receive to transmit mode and performs synchronisation tasks to prepare for the transmission of the data. The time taken to do this is the switching delay.
   Radio Operation  Crescendo UHF Half-Duplex User Manual  Page 23 of 78  Link  quality: The quality of a link  can have  a substantial impact on the latency induced by the radio. The Crescendo will retry packets that become corrupted due to RF interference, configurable between 0 and 20 retries. The more retries that are required to successfully transmit a packet, the greater the latency induced. This is only applicable to packet driven mode.  Multiple protocols: When multiple protocols are used (including management with Cruise Control), latency will be increased as extra protocol data is inserted into the data stream.  Repeaters: The addition of repeaters in a network will increase latency due to payload packets and acknowledgements being transmitted multiple times before reaching their destination. For systems that require low latency, the Crescendo has a data driven protocol which reduces many of the delays mention above. 5.3  Radio Parameters 5.3.1 Addressing Each radio in a Crescendo network has a unique 16-bit address. The address space is divided into sections as shown in Table 10. Address Range Usage 0 Reserved. 1 – 61439 Singlecast addresses. Each radio in a network must have a unique singlecast address. 61440 – 65534 Reserved. These addresses are reserved for use in future Crescendo releases. 65535 Broadcast address. This address is used when data transmitted is to be processed by all radios. This address can only be used in the datagram packet header Table 10: Crescendo address space The singlecast radio address is used for routing traffic between units and determining the end points in a communications link.  Only one singlecast address can be assigned to each radio, and each radio in a particular network must have a unique address. Main -> Radio
   Radio Operation  Crescendo UHF Half-Duplex User Manual  Page 24 of 78 5.3.2 Tx Power The transmit power of the Crescendo can be configured to transmit at fixed levels into a 50 load:  0dBm (1 mW)  +20dBm (100 mW)  +27dBm (500 mW)  +30dBm (1W)  +36dBm (4W)  +37dBm (5W)  A maximum power setting can be configured by the distributor to  limit the allowable power for a given combination of radio and antenna.  5.3.3 RSSI Trip  The RSSI trip setting is the lowest RF signal level for which the radio modem will attempt to acquire data. An RSSI trip can be thought of as a “receiver unsquelch”. RSSI Trip is configurable between -120 dBm and -40 dBm. 5.3.4 Channel Selection Crescendo has sixteen channels that can be configured. Each channel is comprised of an uplink / downlink (or transmit / receive) frequency pair.  The  channel  frequencies  can be  set  within  the  switching bandwidth  of the  radio.  The supported  channel frequency rasters are determined by the type approval of the unit. The active channel can be set by adjusting the current channel setting in software. In models with an I/O module, if “I/O Selects Channel” is enabled then the channel may also be set via the I/O module as follows: Channel Pin 4 Pin 3 Pin 2 Pin 1 1 Gnd Gnd Gnd Gnd 2 Gnd Gnd Gnd N/C 3 Gnd Gnd N/C Gnd 4 Gnd Gnd N/C N/C 5 Gnd N/C Gnd Gnd 6 Gnd N/C Gnd N/C 7 Gnd N/C N/C Gnd 8 Gnd N/C N/C N/C Main -> Radio Main -> Radio Main -> Radio -> Channel
   Radio Operation  Crescendo UHF Half-Duplex User Manual  Page 25 of 78 9 N/C Gnd Gnd Gnd 10 N/C Gnd Gnd N/C 11 N/C Gnd N/C Gnd 12 N/C Gnd N/C N/C 13 N/C N/C Gnd Gnd 14 N/C N/C Gnd N/C 15 N/C N/C N/C Gnd 16 N/C N/C N/C N/C Table 11: Channel selection via I/O module In the table above, “Gnd” indicates that the pin should be connected to ground, and “N/C” means that the pin should not be connected. Note that channel 16 is selected by default when no pins are connected and “I/O Selects Channel” is enabled. Also note that the order of the columns in this table matches the layout of pins on the connector. See Appendix A.3.3 for a pin-out diagram. In general, channels are numbered starting from 1. However, the Legacy Channel Numbering setting causes channels to be indexed from 0 when selecting and configuring channels using Hayes commands only. See Appendix C.4 for details. 5.3.5 Retries The maximum number of retries per packet can be configured between 0 and 20. When a low number of retries is selected, the link may become unreliable in the presence of interference or collisions. When a high number  of  retries  is  selected,  the  link  will  be  more  reliable.  However,  additional  retries  will  induce substantial latency in the presence of interference. Two parameters are used to set the number of retries to use:  Singlecast retries: The number of retries to use on data that is destined for a single receiving radio. This is applied to any transmission using the point-to-point or Hayes dialup protocols. If the remote unit is non-existent, due to a misconfigured destination address, the remote being out of range, or the remote unit being faulty, the data will be retransmitted a number of times equal to the singlecast retries setting. This can dramatically reduce the throughput of a radio network.  Broadcast  retransmissions:  The  number  of  retries  to  use  on  data  that  is  destined  for  multiple radios. This is applied to any transmission when using the point-to-multipoint protocol, or to any packet addressed to the broadcast address when using the datagram protocol. When  a  unit  is  broadcasting  data,  the  transmission  cannot  be  acknowledged,  as  collisions  would  occur between the acknowledgements. Instead, a broadcasting unit will transmit all data a fixed number of times equal  to  the  broadcast  retransmissions  parameter,  and  receiving  units  will  discard  any  duplicate  data received. Two parameters determine how long the Crescendo will wait for an acknowledgement after transmission before retrying. These parameters are: Main -> Radio -> Network
   Radio Operation  Crescendo UHF Half-Duplex User Manual  Page 26 of 78  Repeaters in Network: The maximum number of repeaters through which a packet must go before reaching its destination. Note that depending on network topology, this may be less than the total number  of  repeaters  in  the  network.  This  parameter  should  be  set  the  same  for  all  units  in  the network. The repeaters in network setting can be configured between 0 and 65535.  Max  Packet  Size:  This  is  the  maximum  number  of  bytes  of  payload  a  packet  will  have.  This parameter  should  be  set  the  same  for  all  units  in  the  network.  The  max  packet  size  can  be configured between 0 and 4096 bytes. Setting Max Packet Size too low may cause fragmentation of data transmitted over the air, negating the effect of Packetiser Timers (see section 4.3.2). However, reducing Max Packet Size may reduce latency and improve throughput in a network with repeaters. 5.4  Network Architecture 5.4.1 Network Topology The  Crescendo  has  few  restrictions  on  network  topology,  as  there  are  no  time  division  synchronisation requirements. An example of a tree network topology is given below to help illustrate network concepts. TREE NETWORK A Crescendo network consists of a set of sub-networks (subnets). Each subnet has a single base or repeater and any number of remotes. 1. Base subnet: The root of the tree, containing a unit not configured as a store-and-forward repeater. 2. Repeater subnet: A branch of the tree, containing a unit configured as a store-and-forward repeater. These two types of subnet are shown in Figure 5.    Repeater Subnet Base Subnet Store-and-forward Repeater Base Remote 2 Remote 4 Remote 3 Remote 1  Figure 5: Crescendo tree network topology
   Radio Operation  Crescendo UHF Half-Duplex User Manual  Page 27 of 78 When allocating radio addresses, a recommended convention is to reserve the first two decimal digits as the subnet  number,  and  the  last  three  digits  for  individual  radios  residing  within  the  subnet.  For  example, consider the scenario shown in Figure 5, and the address allocation given in Table 12. Subnet Subnet Address Radio Radio Address Base subnet 1 Base 1000 Remote 1 1001 Remote 2 1002 Repeater subnet 27 Store-and-forward Repeater 27000 Remote 3 27001 Remote 4 27002 Table 12: Addressing for a tree network topology Following this convention can reduce the complexity of implementing routing tables. A subnet should not  be confused with  co-located networks (see section  5.4.2). All  units  on the base and repeater subnets should have the same network address. For more on store-and-forward repeaters see section 5.4.3 on page 28. 5.4.2 Network Address The network address is a high level address used to differentiate between co-located networks.  For a unit to send to or receive from another unit, their network addresses must match. A co-located network should not be confused with a base or repeater subnet (see section 5.4.1)  Figure 6 shows an example of two co-located networks. In this example all units that are a part of network A should have the same network address, and all units in network B should share a different network address.
   Radio Operation  Crescendo UHF Half-Duplex User Manual  Page 28 of 78  Base 1B Remote 1B Remote 1A Remote 2A Remote 2B Network A Network B Base 1A  Figure 6: Co-located networks When co-locating Crescendo networks it is important to observe the following:  If the  co-located networks  operate on different  Tx  and Rx  frequencies,  RF  interference will  not occur. This is the ideal situation.  If the co-located networks share Tx or Rx frequencies, the networks must have different network addresses. If they do not, units on one network could masquerade as units on the other network, causing random errors including data loss and reception of erroneous messages.   Even with a different network address, the networks can cause interference with each other. This could  cause  retries,  resulting  in  increased  latency,  and  possible  data  loss  if  retry  counts  are exhausted. 5.4.3 Store-and-forward Repeater A Crescendo unit may be configured to operate as a store-and-forward repeater (see Appendix B.1). A store-and-forward repeater can be used to extend the range of a network. It behaves as a combination of base and remote unit in the following manner:  If  a  packet  is  received  over  the  air  which  is  addressed  to  the  repeater,  the  packet  data  will  be transmitted out the serial port.  If  a  packet  is received  over the  air  which  is  not  addressed  to  the  repeater,  but  with  a  next  hop address equal to the repeater’s address, the packet will be submitted for retransmission.  If a packet is received over the air which is addressed to the broadcast address, the packet will be submitted for retransmission, and the packet data will be transmitted out the serial port.
   Radio Operation  Crescendo UHF Half-Duplex User Manual  Page 29 of 78 When setting up a network with store-and-forward repeaters, it may be necessary to adjust the following parameters on units in the network:  Repeaters in Network.  Wait for Carrier.  Routing Tables Routing traffic to take advantage of store-and-forward repeaters is covered in section 5.5 on page 29. 5.5  Routing Routing of data operates differently depending on the protocol mode that is selected (protocol modes are covered in section 6 on page 34):  Data Driven Protocol: When operating in data driven protocol, all data inserted on the main serial port of a unit is output on the main serial port of all other units in the network. The routing table has no impact on data driven operation.  Point-to-Multipoint Protocol: When operating in point-to-multipoint protocol, all data inserted on the serial port of the base is output on the same serial port of each repeater and remote within the network. The routing table has no impact on point-to-multipoint operation.  Point-to-Point, Hayes Dial-up, and Datagram Protocols: When operating in any of these protocol modes the routing of data is governed by the network structure and routing table. 5.5.1 Network Structure  A typical Crescendo network has a base and store-and-forward repeaters forming a backbone, with a set of remotes hanging off the base and each repeater. In order for a packet to reach its destination, routing tables need to be configured on the units. Main -> Radio -> Network
   Radio Operation  Crescendo UHF Half-Duplex User Manual  Page 30 of 78 5.5.2 Routing Table Complete control can be maintained over the routing of data through a Crescendo network by configuring the routing table. The routing table consists of 16 entries on each unit which specify rules to apply for data with destination addresses within a particular range.  The destination of point-to-point data is simply the point-to-point destination address (see section 6.3 on page 35).  The destination of Hayes dial-up data is the address that was used when dialling (see section 6.5 on page 36).  The destination of a Datagram packet is set in the Datagram header (see section 6.6 on page 39). An example routing table is shown in Figure 7.    *** Routing Table Menu ***       |First Addr         |Last Addr          |Hop Addr           |     |-------------------|-------------------|-------------------| (0) |               2000|               2999|               2000| (1) |               3000|               4999|               3000| (2) |                  0|                  0|                  0| (3) |                  0|                  0|                  0| (4) |                  0|                  0|                  0| (5) |                  0|                  0|                  0| (6) |                  0|                  0|                  0| (7) |                  0|                  0|                  0| (8) |                  0|                  0|                  0| (9) |                  0|                  0|                  0| (A) |                  0|                  0|                  0| (B) |                  0|                  0|                  0| (C) |                  0|                  0|                  0| (D) |                  0|                  0|                  0| (E) |                  0|                  0|                  0| (F) |                  0|                  0|                  0| (ESC) - Previous Menu  Enter Selection:  Figure 7: Example routing table In this example, the rules applied are: 1. Any packet with destination address between 2000 and 2999 is transmitted to radio 2000 for further routing. 2. Any packet with destination address between 3000 and 4999 is transmitted to radio 3000 for further routing. 3. Any packet with a destination address that is not covered by the routing table is transmitted directly to that radio. Examples of routing tables used in real systems with store-and-forward repeaters are given in section 7. Main -> Radio -> Network -> Routing Table
   Radio Operation  Crescendo UHF Half-Duplex User Manual  Page 31 of 78 5.6  Diagnostics 5.6.1 Data Quality The  Crescendo  continually  measures  the  ‘quality’  of  the  received  signal  by  comparing  the  received waveform against an  internally generated ‘ideal’ baseband  signal.  The  result  is  a value from 0-255 that is indicative of the quality of the data. In general, a data quality of greater than 100 is good, and less then 50 is poor. The following data quality values are kept:  Data Quality: The most recent data quality measurement.  Lowest  Data  Quality: The lowest  data  quality measurement since the  radio was  powered  up, or since the baseband statistics were reset (see section 5.6.5). 5.6.2 RSSI The Crescendo provides received signal strength indication (RSSI) with a range from -40dBm to -120dBm. The following RSSI values are kept:  Average Noise: The average RSSI level while no valid carrier is present on the receive channel.  Average RSSI: The average RSSI level while data is being received.  Bad Trigger: The RSSI level for the last bad trigger while receiving.  5.6.3 Monitor RSSI The monitor RSSI function reports a weighted RSSI value. It is different from the average RSSI and average noise values provided above in that it reports a value regardless of whether a valid carrier is present. When used  with  the  terminal  interface,  the  monitor  RSSI  function  has  a  rapid  refresh  rate,  making  short transmissions easily detectable.  5.6.4 PRBS Generator When the  PRBS generator is  enabled, the  Crescendo continually transmits  a PN-9 sequence over  the RF interface. This  diagnostic  feature can  be  used  in  conjunction  with  the  Monitor  RSSI feature  to  diagnose possible RF propagation issues in a radio network. 5.6.5 Statistics The Crescendo provides three sets of radio performance statistics:  Baseband statistics relate to the performance of the lowest level of the radio data path, and are described in Table 13.  Data driven MAC statistics relate to the performance of the radio when using the data driven serial protocol, and are described in Table 14.  Packet driven MAC statistics relate to the performance of the radio when using a serial protocol other than the data driven protocol, and are described in Table 15. Main -> Link Control Main -> Link Control Main -> Diagnostics Main -> Diagnostics  Main -> Diagnostics
   Radio Operation  Crescendo UHF Half-Duplex User Manual  Page 32 of 78 BASEBAND STATISTICS Name Number Description Tx Sync 0 The total number of symbol/frame synchronisations sent for the start of a packet transmission. Tx ReSync 1 The total number symbol/frame resynchronisations. Rx Sync 2 The total number of symbol/frame synchronisations received for the start of a packet. Rx ReSync 3 The total number of symbol/frame resynchronisations received. Bad Triggers 4 The total number of times an RSSI trip is detected and a frame sync patter match cannot be found. Low Quality 5 The total number of times a data quality of less that 50 is measured. Table 13: Baseband statistics DATA DRIVEN MAC STATISTICS Name Number Description Tx Bytes 0 The number of bytes that have been transmitted. Rx Bytes 1 The number of bytes that have been received and processed. Tx Blocks 3 The total number of blocks sent. Rx Good Blocks 4 The total number blocks received. Rx Bad Blocks 5 The total number of blocks received with bad CRCs. Tx Empty Blocks 6 The total number of blocks sent with no data. Rx Empty Blocks 7 The total number of blocks received with not data. Tx Starts 8 The total number of times the transmit mode was enabled for a set of blocks.  Rx Ends 9 The total number of times a complete set of blocks was received. Rx Overruns 10 The total number of bytes discarded due to there being no room in the serial buffer. Overrun 11 The total number of times a packet received over the air is discarded because the serial side is not ready to receive. Bad Trigger 12 The total number of times an RSSI trip is detected and a frame sync patter match cannot be found. Table 14: Data driven MAC statistics
   Radio Operation  Crescendo UHF Half-Duplex User Manual  Page 33 of 78 PACKET DRIVEN MAC STATISTICS Name Number Description Tx Bytes 0 The number of bytes that have been transmitted. Rx Bytes 1 The number of bytes that have been received and processed. Tx Packets 3 The total number of packets transmitted correctly. Rx Good Packets 4 The total number packets that have been received correctly. Tx Retries 5 The total number of times a packet is retransmitted either because an ACK was not received or the packets destination is the broadcast address. Tx Discards 6 The total number of packets that have been discarded because the number of singlecast retries had been exceeded while retrying. Rx Bad Headers 7 The total number of packets that have been received where the packet header CRC did not match. Rx Bad Packets 8 The total number of packets that have been received where the packet data CRC did not match.  Rx Duplicates 9 The total number of packets that have been received and discarded because they are a duplicate of packets that have already been received and processed. Rx Overflow 10 The number of times a received packet has been discarded due to no buffer space. Overrun 11 The number of times a Tx or Rx packet has been discarded due to a baseband error. Bad Trigger 12 The number of times receiving of a packet has been stopped due to a bad trigger being detected. Table 15: Packet driven MAC statistics
   Protocol Operation  Crescendo UHF Half-Duplex User Manual  Page 34 of 78 6. Protocol Operation 6.1  Overview Both  of  the  Crescendo’s  serial  ports  can  be  independently  configured  with  different  protocol  modes. Protocol modes serve two purposes:  Provide  methods  for  configuring  the  radio  for  operation,  and  for  interrogating  it  in  order  to determine current operational status.  Allow the Crescendo radio to determine how data received on its serial ports is to be converted into RF packets. In addition to the protocol modes, each serial port can be configured with a packetiser timer, to maintain compatibility with  protocols  which  cannot  handle  the  inter-character delays introduced  by the  Crescendo block allocation scheme. The use of packetiser timers is discussed in section 4.3.2 on page 18. Section 7 on page 44 provides some example applications using these protocol modes to achieve different data communications requirements. 6.2  Data Driven Protocol The data driven protocol provides a low latency connection between the radios in a network. When data driven  protocol  is  enabled,  the  packet  driven  nature  of  the  Crescendo  is  disabled,  changing  the  radio behaviour to the following:  Addressing and routing are not used.  Retries are disabled, but error checking is still utilised.  All data presented to the main serial port is transmitted immediately over the air, and appears on the main serial port of all units in range which have data driven protocol configured. There are two configurable parameters which affect the way the data driven protocol operates:  Data Timeout: The period, in milliseconds, for which the radio will continue to transmit after all data in the serial buffer has been transmitted. The data timeout can be configured between 0 and 255ms.  Lead-in Count: The number of lead-in bytes the Crescendo will discard and not transmit over the air. Using a Lead-in Count and lead-in bytes gives the radio modems time to connect to each other before the data to be transmitted over the air arrives on the serial port. This can reduce end-to end latency. The lead-in count can be configured between 0 and 255 bytes. The following restrictions apply when using the data driven protocol:  The data driven protocol can only be configured on the main port.  While data driven is configured on the main port, Hayes dial-up protocol can be configured on the auxiliary port. The dialling capability of the Hayes dial-up protocol on the auxiliary is disabled. Main -> Protocol
   Protocol Operation  Crescendo UHF Half-Duplex User Manual  Page 35 of 78 6.3  Point-to-point Protocol The point-to-point protocol establishes a connection between two end points. Both end points must have the point-to-point protocol selected on the same serial port, and have the point-to-point destination set to the remote radio modem address. There are two operational modes configurable for the point-to-point protocol:  Connection Based: This mode of operation provides a connection oriented link. It will report the state of the connection via the RF link status parameter (either connected or not connected) and the online  LED  will  be  solid  green.  If  there  is  no  data  being  transferred  between  the  end  units background polling packets are sent to maintain the connection.  Connectionless: This mode provides a packet oriented link. It does not maintain the state of the link through background polling. When operating in point-to-point mode, the radio will send all data to a fixed destination. Data inserted at one end will appear at the other end. This is the simplest method of creating a wire replacement link. Point-to-point applications are given in section 7.1 on page 44. 6.4  Point-to-multipoint Protocol In a  point-to-multipoint  network,  data  transmitted by a  unit  is  output  by  all  the  remotes  and  intervening store-and-forward repeaters. When using point-to-multipoint  protocol,  there  are  no  acknowledgments  on  transactions.  This  is  because multiple units may be receiving the data, and if they were to all attempt to acknowledge the transmission, they would interfere with each other. Instead  of  acknowledgements,  a  unit  will  transmit  each  message  a  fixed  number  of  times  equal  to  the broadcast  retries  parameter.  For  this  reason,  the  number  of  retransmissions  used in  a  point-to-multipoint network should be configured to maintain a reasonable throughput. Point-to-multipoint applications are given in section 7.2 on page 48. 6.4.1 Strict and Relaxed Addressing  The  point-to-point  and  point-to-multipoint  protocols  can  use  strict  or  relaxed  addressing.  When  strict addressing is used:  If point-to-multipoint protocol is selected, only data transmitted by a unit that is also in point-to-multipoint protocol will be output on the serial port.  If point-to-point protocol is  selected, only data transmitted by the receiver’s  destination  will  be output on the serial port.  If  relaxed  addressing  is  used,  data  will  be  output  regardless  of  the  source  address  or  source protocol mode. Data transmitted by a unit in point-to-multipoint mode will be output on units in point-to-point and point-to-multipoint mode. Data transmitted by a unit in point-to-point mode will be output on the destination, regardless of its point-to-point destination address, as long as it is in point-to-point or point-to-multipoint mode. Main -> Protocol Main -> Protocol Main -> Protocol
   Protocol Operation  Crescendo UHF Half-Duplex User Manual  Page 36 of 78 6.4.2 Local Mode Both point-to-point and point-to-multipoint protocol modes allow local command mode to be entered using the escape sequence (section 6.5.3 on page 37), or by using the DTR line on the main port (section 6.5.5). Returning to online mode is achieved using the online command (ATO). The protocol can also be configured to start in local command mode when power is applied. For data to be transferred between two end units, both units must be online, not in local command mode. If the radio modem receives RF data while in local mode, it will be discarded. 6.5  Hayes Dial-up Protocol The  Hayes  dial-up  protocol  provides  a  connection  mechanism  that  emulates  a  PSTN  modem’s  dialling mechanism. This is a more powerful method of operating than using point-to-point or point-to-multipoint networks, as it allows dedicated communication between a base and one of many remotes. In Hayes  Dial-up  protocol,  the  state of  the  connection  will  be reported  via  the RF  link  status parameter (either connected or not connected). The online LED will be solid green while the connection is up. If there is  no  data  being  transferred  between  the  end  units,  background  polling  packets  are  sent  to  maintain  the connection. Hayes Dial-up applications are given in section 7.2.2 on page 49. 6.5.1 Dialling The AT commands may be used to initiate dialling of a remote radio. The ATD command is used to establish a connection. The syntax of the ATD command is: ATD<address><extension> Where <address> is the address of the radio that is being dialled and <extension> is the serial port or internal extension port that is being dialled. The available extension numbers are shown in Table 16. Extension Name Description 00 Main Port Establishes a connection between the current serial port and the main port on the remote unit. 01 Auxiliary Port Establishes a connection between the current serial port and the auxiliary port on the remote unit. Table 16: Hayes dial-up extension numbers If the radio receives a character on the serial port while dialling is in progress, it will immediately terminate the connection attempt and issue a NO CARRIER response message. If a connection is established then the CONNECT response message will be returned. Main -> Protocol -> Hayes Dial-up
   Protocol Operation  Crescendo UHF Half-Duplex User Manual  Page 37 of 78 6.5.2 Answering The Crescendo provides two options for answering dial-up calls:  Auto-answer: In auto-answer mode, when a connection request is made the Crescendo will output a configurable number of RING responses on the destination, then automatically connect.  Manual answer: When in manual answer mode, the Crescendo will output a RING response on the destination once per second until the ATA command is received, at which point the connection is established.  If no  ATA  command  is  received after  the  configured  number  of  RING responses  are output, the connection is not established, and the dialler receives the NO ANSWER response. The NO ANSWER message is shown after the wait for carrier timeout. 6.5.3 Escape Sequence While a protocol port is in the online state, all the data received on the port will be sent to the remote radio. AT commands are not interpreted, and are passed over the air. To force the  radio  to  return  to  local command  mode,  the  escape sequence is  used. The  escape  sequence consists of a delay greater than the escape guard time (default is one second), three escape characters (default is ‘+’) typed rapidly, and another delay greater than the escape guard time. As soon as the radio returns to local command mode, it will respond with the message OK. When a protocol port is in local command mode, the port can be returned to the online state by issuing the ATO command. The escape sequence can be entered while in point-to-point and point-to-multipoint protocol modes. This allows all AT commands except dial commands to be entered. When returning online, the point-to-point or point-to-multipoint mode is restored. 6.5.4 Hanging Up The ATH command is used to terminate a connection. After communications have finished, enter the escape sequence (+++). The radio responds with an OK message. Execute the ATH command, and the local radio will respond with NO CARRIER. The remote radio will output NO CARRIER as the communications link is lost. Hanging up can also be achieved by using DTR modes, described in section 6.5.5.
   Protocol Operation  Crescendo UHF Half-Duplex User Manual  Page 38 of 78 6.5.5 DTR Modes In addition to the AT commands that are used to control the dial-up connection, DTR may be configured to provide  similar  functionality.  Only  the  main  port  supports  DTR,  so  the  setting  for  DTR  mode  on  the auxiliary port Hayes protocol is not used. There are four available DTR modes:  Ignore DTR: DTR is not used to control the Hayes communications settings.  Hangup on DTR Low: If DTR is low then the radio will hang-up the current connection. If DTR is low  when  a  dial  attempt  is  made,  then  the  connection  will  be  severed  immediately  after  being established.  Hangup on DTR Dropped: If a falling edge (high to low transition) is detected on the DTR line, the radio will hang-up the current connection.  Local Mode on DTR Dropped: If the radio is online, and a falling edge (high to low transition) is detected on  the  DTR  line,  the  radio modem  will  return  to  local command  state  but  will  remain connected. To return to the online state, issue the ATO command. The next falling edge on the DTR line will cause the radio to enter local mode again. 6.5.6 Traceroute The  AT  commands  may  be  used  to  obtain  diagnostic  information  from  the  radio  network.  The  ATT command is used to start a traceroute diagnostic to a destination radio. The syntax of the ATT command is: ATT<address> Where <address> is the address of the destination radio. The traceroute diagnostic periodically sends a query to the destination radio  and expects a response. The traceroute response will  contain the  RSSI,  and counts of  bad headers,  bad  packets, and  retries.  It  can be stopped by sending any character to the  radio. The traceroute diagnostic will then display the number of requests and responses in the session, and return the port to local command mode. att2000 695 ms (660 ms) | 1 sent, 0 lost   1001 -> (2000,  -59 dBm,    0 BH,    0 BP,   0 RT)    2000 -> (1001,  -60 dBm,    0 BH,    0 BP,   0 RT) 1450 ms (726 ms) | 2 sent, 0 lost   1001 -> (2000,  -59 dBm,    0 BH,    0 BP,   0 RT)    2000 -> (1001,  -60 dBm,    0 BH,    0 BP,   0 RT) 2204 ms (723 ms) | 3 sent, 0 lost   1001 -> (2000,  -59 dBm,    0 BH,    0 BP,   0 RT)    2000 -> (1001,  -60 dBm,    0 BH,    0 BP,   0 RT) 2958 ms (723 ms) | 4 sent, 0 lost   1001 -> (2000,  -59 dBm,    0 BH,    0 BP,   0 RT)    2000 -> (1001,  -60 dBm,    0 BH,    0 BP,   0 RT) Tx: 4, Rx: 4, Lost: 0 (0.0%) Min: 660 ms, Max: 726 ms, Avg: 708 ms
   Protocol Operation  Crescendo UHF Half-Duplex User Manual  Page 39 of 78 6.6  Modbus RTU Protocol When using the Modbus RTU protocol, the Crescendo expects Modbus RTU packets on the serial port in the following format.  Start T1-T2-T3-T4 Address (1 byte) CRC (2 bytes) Data (0…251 bytes) Function (1 byte)  Figure 8: Datagram protocol packet format The fields of a Modbus packet are:  Start: A silent interval of at least 3.5 character times.  Address (8-bit): The address of the slave unit in the Modbus transaction. Note that the broadcast address 0 and addresses 248 to 255 are not supported.  Function  (8-bit):  The  Modbus  function  indicating  the  function  to  perform,  or  response  to  a function request.  Data: Any additional information required for the action that was specified in the function field.  CRC: A 16-bit cyclic redundancy check over the address, function, and data using the polynomial 0xA001. Note in  the Modbus standard the CRC is  in  little endian format where the  rest of  the Modbus packet is big endian. 6.6.1 Modbus Queries When Modbus Query has been enabled and a Modbus Address has been configured in the protocol settings, the Crescendo supports a limited set of Modbus queries for configuration and diagnostics. The following Modbus function codes are supported:  Read holding  registers (0x03): This function is used to read 1-125 contiguous holding registers from the device.  Write holding registers (0x06): This function is used to write a single register in the device.  It  should  be  noted  that  the  radio  address  and  Modbus  Address  are  not  the  same  configuration  setting. However, it is encouraged that the radio address and  Modbus Address are set to be the same where ever possible.   Packets  received  over  the  serial  port  or  RF  with  a  Modbus  address  that  matches  the  radios  configured Modbus Address  are processed and the response is returned over the same interface. Packets that  have  a Modbus address that does not match the configured address are routed as normal. For  a  Modbus  register  map  explaining  how  Crescendo  configuration  and  diagnostic  parameters  map  to Modbus registers please contact RF Innovations. For a more detailed explanation of Modbus function codes, please refer to the Modbus Application Protocol Specification, www.modbus.org, rev 1.1a. Main -> Protocol -> Modbus
   Protocol Operation  Crescendo UHF Half-Duplex User Manual  Page 40 of 78 6.7  Distributed Network Protocol (DNP) The  Crescendo  supports  the  Distributed  Network  Protocol  (DNP)  as  defined  by  the  DNP  Users  Group (http://www.dnp.org/). The packet structure for a DNP packet expected on the serial port is shown below.   … Start 0x0564 Destination (16) Source (16) CRC (16) Data (0…16) Len (8) Ctrl (8) CRC (16)  Figure 9: DNP packet format  Start (16-bit): A fixed start of packet marker, always 0x0564.  Len (8-bit): The length of the packet, including all fields except Start, Length, and CRC.  Ctrl (8-bit): Defines the control information for the packet.  Destination  (16-bit): The 16-bit destination address. This  can  be any  singlecast  address,  or the broadcast address.   Source (16-bit): The 16-bit source address. When sending a packet to a radio, this field does not need to be set.  Data: The fixed length header block is followed by optional data blocks of up to 16 bytes.  CRC (16-bit): A 16-bit CRC value calculated over the previous fields, excluding the CRC fields. The CRC uses the polynomial 0xA6BC. 6.8  Datagram Protocol When using the datagram protocol, packets are passed to the Crescendo to be transmitted over the air. The packet format is given in Figure 10.  Start 0xC1 Destination (16) Source (16) DP (2) CRC (32) Data (1…Slot Size) SP (2) Res. (4) Length (16)  Figure 10: Datagram protocol packet format Note that the number of data bytes in a datagram packet must be no more than max packet size. The fields of a datagram packet are:  Start (8-bit): A fixed start of packet marker, always 0xC1.  Length (16-bit): The length of the packet, including all fields except Start, Length, and CRC.  Destination  (16-bit): The  16-bit  destination  address. This  can be any  singlecast  address, or the broadcast address. The destination cannot be the same as the radios source address.  Source (16-bit): The 16-bit source address. When sending a packet to a radio, this field does not need to be set. The source will automatically be set to the radio’s local address. Main -> Protocol -> DNP Main -> Protocol -> Datagram
   Protocol Operation  Crescendo UHF Half-Duplex User Manual  Page 41 of 78  DP  (2-bit):  The  destination  serial  port.  This  can  be  either  00  for  the  main  port  or  01  for  the auxiliary port.  SP (2-bit): The source serial port. When sending a packet to a radio, this field does not need to be set. The value will automatically be set to the serial port the packet was inserted on.  Res (4-bit): Reserved for future use. This field should be set to all zeros.  Data: The data to be transmitted. The amount of data in each datagram must be equal to or less than the slot size.  CRC (32-bit): A 32-bit CRC value calculated over the entire packet, excluding the Start and CRC fields. There are two options for the CRC field. 1. Fixed: The value is fixed to 0xEDB88320. 2. CRC: The CRC value is calculated using a 32-bit CRC with  Initial Value: 0xFFFFFFFF  Polynomial: 0xEDB88320  Final XOR: 0xFFFFFFFF When  a  radio  modem  receives  a  datagram  packet  over  the  air,  the  data  will  be  output  by  the  datagram protocol in the same packet format as described in Figure 10. An example Datagram packet with a calculated CRC-32 is shown in Figure 11.  Start 0xC1 Destination 0x0001 Source 0x0000 CRC 0x9496D61C Data 0x54 0x45 0x53 0x54 DP / SP / Res 0x00 Length 0x0009  Figure 11: Example datagram protocol packet Datagram protocol applications are given in section 7.4.  6.9  RF Link Status The Crescendo provides an RF link status indication for each serial port. The RF link status depends on the protocol mode being used and the current state  of that protocol. The meaning of different RF link status values is provided in Table 17 for each protocol mode. Protocol State RF Link Status Point-to-point Connection Based Connected if a path exists between the local and remote device. Not Connected if there is no communications path. Connectionless N/A Point-to-multipoint  N/A Main -> Protocol
   Protocol Operation  Crescendo UHF Half-Duplex User Manual  Page 42 of 78 Hayes dial-up Connection established Connected if a path exists between the local and remote device. Not Connected if there is no communications path. No connection established Not Connected Datagram  N/A Table 17: RF link status for different protocol modes Whenever the protocol mode on a serial port is temporarily disabled (such as when the menu is enabled on the port, or when the Cruise Control application has been started), the RF Link Status will be displayed as N/A. 6.10  Protocol to Radio Address Mapping Protocol address mapping can be used in situations where the radio address is not the same as the protocol address, or where there is more than one protocol address for each radio address. A protocol mapping entry has each of the following fields:  First Addr: The first protocol address to apply to the protocol mapping.  Last Addr: The last protocol address to apply to the protocol mapping.  Radio Addr: The radio address to apply to the protocol mapping.  Type: A protocol mapping entry can be one of four types: o Unused: The protocol mapping entry is not used. o Single:  For  a  single  entry,  the  packet  is  sent  to  the  associated  radio  address  if  the  protocol address matches the first address. The last address is ignored. This is a “one-to-one” mapping. o Mapped: For a mapped entry, the mapping is applied if the protocol address is within the range specified by the first and last addresses. To determine the radio address, the offset from the first address is added to the associated radio address entry. This is a series of “one-to-one” mappings. o Grouped: For a grouped entry, the packet is sent to the associated radio address if the protocol address is within the range of the first and last address. This is a “many-to-one” mapping.  An example protocol mapping table is shown in Figure 12.  Main -> Protocol
   Protocol Operation  Crescendo UHF Half-Duplex User Manual  Page 43 of 78   *** Protocol Mapping Menu ***       |Type               |First Addr         |Last Addr          |Radio Addr         |     |-------------------|-------------------|-------------------|-------------------| (0) |Single             |                  1|                  0|               1001| (1) |Unused             |                  2|                  0|               1002| (2) |Single             |                  3|                  0|               1003| (3) |Mapped             |                  4|                 10|               1004| (4) |Grouped            |                 11|                 20|               1011| (5) |Unused             |                  0|                  0|                  0| (6) |Unused             |                  0|                  0|                  0| (7) |Unused             |                  0|                  0|                  0| (8) |Unused             |                  0|                  0|                  0| (9) |Unused             |                  0|                  0|                  0| (A) |Unused             |                  0|                  0|                  0| (B) |Unused             |                  0|                  0|                  0| (C) |Unused             |                  0|                  0|                  0| (D) |Unused             |                  0|                  0|                  0| (E) |Unused             |                  0|                  0|                  0| (F) |Unused             |                  0|                  0|                  0| (ESC) - Previous Menu  Enter Selection:  Figure 12: Example protocol mapping table For the example in Figure 12 the following mapping would occur: 1. A protocol packet with an address of 1 would be sent to radio address 1001. 2. A protocol packet with an address of 4 would be sent to radio address 1004. 3. A protocol packet with an address of 9 would be sent to radio address 1009. 4. A protocol packet with an address of 10 would be sent to radio address 1010. 5. A protocol packet with an address of 11 would be sent to radio address 1011. 6. A protocol packet with an address of 15 would be sent to radio address 1011. 7. A protocol packet of address 2 does not have a matching entry, note entry (1) is unused, so would be sent to radio address 2. 8. Any protocol packet with  an  address  that  does  not have  a  matching entry will  be sent to  a  radio address that matches the protocol address.  Note that only DNP and Modbus RTU protocol utilise the protocol mapping table and that the mapping is only applied to packets arriving over the serial port. 6.11  Multiple Protocol Modes The  Crescendo  is  a  dual  serial  port  radio  modem,  and  both  ports  can  be  independently  configured  with different  protocol  modes.  Using  both  ports  for  data  may  result  in  increased  latency,  owing  to  greater bandwidth requirements and increased probability of collision.
   Applications  Crescendo UHF Half-Duplex User Manual  Page 44 of 78 7. Applications This  section presents typical Crescendo  usage  scenarios. The  aim  of these scenarios is  to illustrate radio configuration. 7.1  Point-to-point Networks 7.1.1 Basic Point-to-point Network A basic point-to-point network consists of two units configured such that the point-to-point destination of one unit is the address of the other. This scenario is shown in Figure 13.  Crescendo  1000 Crescendo  1001 Main DTE Main DTE RADIO CONFIGURATION Rx Address: 1001  PROTOCOL CONFIGURATION Main Port: Point-to-point to 1000  SERIAL CONFIGURATION Main Port: 115200, 8N1, Hardware Flow RADIO CONFIGURATION Address: 1000  PROTOCOL CONFIGURATION Main: Point-to-point to 1001  SERIAL CONFIGURATION Main Port: 115200, 8N1, Hardware Flow  Figure 13: Basic point-to-point network In this network, data presented on the main port of the unit 1000 will be output on the main port of unit 1001, and vice versa. Other configuration parameters which may help in fine tuning the system operation are:  Rx packetiser timers. See page 18 for more information.  Point-to-point connection mode. See page 35 for more information.
   Applications  Crescendo UHF Half-Duplex User Manual  Page 45 of 78 7.1.2 Multiple Port Point-to-point Network Two point-to-point destinations can be used by configuring the point-to-point protocol on both serial ports of base unit, and then having two remotes each connected to a different port. This scenario is shown in Figure 15.  Crescendo Base  1000 Crescendo Remote  1001 Main DTE RADIO CONFIGURATION Address: 1000  PROTOCOL CONFIGURATION Main: Point-to-point to 1001 Aux: Point-to-point to 1002 Aux: Start in local disabled  SERIAL CONFIGURATION Main Port: 19200, 8N1, Hardware Flow Aux Port: 19200, 8N1 DTE RADIO CONFIGURATION Address: 1001  PROTOCOL CONFIGURATION Main: Point-to-point to 1000  SERIAL CONFIGURATION Main Port: 19200, 8N1, Hardware Flow Main Crescendo Remote  1002 DTE Aux DTE Aux RADIO CONFIGURATION Address: 1002  PROTOCOL CONFIGURATION Aux: Point-to-point to 1000 Aux: Start in local disabled  SERIAL CONFIGURATION Aux Port: 19200, 8N1  Figure 14: Multiple port point-to-point network Note that the main port on the base is connected to the main port on radio 1001, while the auxiliary port on the base is connected to the auxiliary port on remote 1002. Other configuration parameters which may help in fine tuning the system operation are:  Rx packetiser timers. See page 18 for more information.  Max packet size. See section 5.3.5 for more information.  Singlecast retries. See page 25 for more information.
   Applications  Crescendo UHF Half-Duplex User Manual  Page 46 of 78 7.1.3 Multiple Destination Point-to-point Network Multiple  destinations  can  be  used  by  configuring  any  number  of  remote  units  and  then  changing  the destination address of the base unit using local command mode. This scenario is shown in Figure 15.  Crescendo Base  1000 Crescendo Remote  1001 Main DTE RADIO CONFIGURATION Address: 1000  PROTOCOL CONFIGURATION Main Port: Point-to-point to 1001 or 1002  SERIAL CONFIGURATION Main Port: 19200, 8N1, Hardware Flow DTE RADIO CONFIGURATION Address: 1001  PROTOCOL CONFIGURATION Main Port: Point-to-point to 1000  SERIAL CONFIGURATION Main Port: 19200, 8N1, Hardware Flow Main Crescendo Remote  1002 RADIO CONFIGURATION Address: 1002  PROTOCOL CONFIGURATION Main Port: Point-to-point to 1000  SERIAL CONFIGURATION Main Port: 19200, 8N1, Hardware Flow DTE Main  Figure 15: Multiple destination point-to-point network The point-to-point destination address on the main port of the base unit determines which remote unit the base is connected to. To change the point-to-point destination address on main port, the follow these steps:  Enable the local command mode on the main port by transmitting the escape sequence (see section 6.5.3 on page 37).  Use the AT command to change the main port point-to-point destination (ATS52=1001).  Return the port to online state using the online command (ATO). Other configuration parameters which may help in fine tuning the system operation are:  Rx packetiser timers. See page 18 for more information.  Max packet size. See section 5.3.5 for more information.  Singlecast retries. See page 25 for more information.
   Applications  Crescendo UHF Half-Duplex User Manual  Page 47 of 78 7.1.4 Point-to-point Network with Repeater Repeaters can be used to extend the range of a point-to-point network, as shown in Figure 20.  Crescendo Base  1000 Crescendo Repeater  2000 Main DTE RADIO CONFIGURATION Rx Address: 2000 Store and Forward Repeater: True Repeaters in Network: 1  PROTOCOL CONFIGURATION Main Port: Hayes Dial-up  SERIAL CONFIGURATION Main Port: 38400, 8N1, Hardware Flow RADIO CONFIGURATION Rx Address: 1000 Repeaters in Network: 1  ROUTING TABLE Route 2000-2999 to 2000  PROTOCOL CONFIGURATION Main Port: Point-to-point to 2001  SERIAL CONFIGURATION Main Port: 38400, 8N1, Hardware Flow Crescendo Remote  2001 DTE Main RADIO CONFIGURATION Rx Address: 2001 Repeaters in Network: 1  ROUTING TABLE Route 1000-1999 to 2000  PROTOCOL CONFIGURATION Main Port: Point-to-point to 1000  SERIAL CONFIGURATION Main Port: 38400, 8N1, Hardware Flow  Figure 16: Point-to-point network with repeater The following should be noted for the point-to-point network with repeaters:  All units in the network have ‘Repeaters in network’ set to 1.  The main port protocol on the repeater is set to Hayes even though the main port is not used. This is so the unit is in packet driven mode rather than data driven mode (see section 5).  Routing tables need to be set on the base and remote radio modems. Other configuration parameters which may help in fine tuning the system operation are:  Rx packetiser timers. See page 18 for more information.  Max packet size. See section 5.3.5 for more information.  Singlecast retries. See page 25 for more information.
   Applications  Crescendo UHF Half-Duplex User Manual  Page 48 of 78 7.2  Point-to-multipoint Networks 7.2.1 Basic Point-to-multipoint Network A basic point-to-multipoint network is shown in Figure 17.  Crescendo Base  1000 Crescendo Remote  1001 Main DTE RADIO CONFIGURATION Address: 1000  PROTOCOL CONFIGURATION Main Port: Point-to-multipoint  SERIAL CONFIGURATION Main Port: 19200, 8N1, Hardware Flow DTE RADIO CONFIGURATION Address: 1001  PROTOCOL CONFIGURATION Main Port: Point-to-multipoint  SERIAL CONFIGURATION Main Port: 19200, 8N1, Hardware Flow  Main Crescendo Remote  1002 RADIO CONFIGURATION Address: 1002  PROTOCOL CONFIGURATION Main Port: Point-to-multipoint  SERIAL CONFIGURATION Main Port: 19200, 8N1, Hardware Flow  DTE Main  Figure 17: Basic point-to-multipoint network In this network, data passed to the main port on any unit will be output on the main port of both other units. Other configuration parameters which may help in fine tuning the system operation are:  Rx packetiser timers. See page 18 for more information.  Max packet size. See section 5.3.5 for more information.  Broadcast retransmissions. See page 25 for more information.
   Applications  Crescendo UHF Half-Duplex User Manual  Page 49 of 78 7.2.2 Point-to-multipoint Network with Roaming Remote In  some  applications  the  remote  unit  may  be  mobile,  and  needs  to  ‘roam’  between  areas  of  coverage.  A point-to-multipoint network configured for this purpose is shown in Figure 18.  Crescendo Base  1000 Crescendo Repeater  1002 Main RTU RADIO CONFIGURATION Rx Address: 1002 Broadcast Retransmissions: 4 Store and Forward Repeater: True Repeaters in Network: 1  PROTOCOL CONFIGURATION Main Port: Point-to-multipoint  SERIAL CONFIGURATION Main Port: 19200, 8N1, 2ms RX Timer  Crescendo Repeater  1001 RADIO CONFIGURATION Rx Address: 1001 Broadcast Retransmissions: 4 Store and Forward Repeater: True Repeaters in Network: 1  PROTOCOL CONFIGURATION Main Port: Point-to-multipoint  SERIAL CONFIGURATION Main Port: 19200, 8N1, 2ms RX Timer  Crescendo Remote  2000 RTU RADIO CONFIGURATION Rx Address: 2000 Broadcast Retransmissions: 4 Repeaters in Network: 1  PROTOCOL CONFIGURATION Main Port: Point-to-multipoint  SERIAL CONFIGURATION Main Port: 19200, 8N1, 2ms RX Timer  Main RADIO CONFIGURATION Rx Address: 1000 Broadcast Retransmissions: 4 Repeaters in Network: 1  PROTOCOL CONFIGURATION Main Port: Point-to-multipoint  SERIAL CONFIGURATION Main Port: 19200, 8N1, 2ms RX Timer  Figure 18: Point-to-multipoint network with roaming remote As with other types of broadcast network, setting the max packet size will help fine tune the network. Note that while there are two store-and-forward repeaters in the network, the repeaters in network setting is set to one. Repeaters in network specifies the maximum number of repeaters a packet must go through to reach a destination.
   Applications  Crescendo UHF Half-Duplex User Manual  Page 50 of 78 7.3  Hayes Dial-up Networks 7.3.1 Basic Hayes Dial-up Network A basic Hayes dial-up network is given in Figure 19.  Crescendo Base  1000 Crescendo Remote  1001 Main DTE RADIO CONFIGURATION Rx Address: 1000  PROTOCOL CONFIGURATION Main Port: Hayes Dial-up  SERIAL CONFIGURATION Main Port: 115200, 8N1 DTE RADIO CONFIGURATION Rx Address: 1001  PROTOCOL CONFIGURATION Main Port: Hayes Dial-up  SERIAL CONFIGURATION Main Port: 115200, 8N1 Main Crescendo Remote  1002 RADIO CONFIGURATION Rx Address: 1002  PROTOCOL CONFIGURATION Main Port: Hayes Dial-up Auxiliary Port: Start in local mode disabled SERIAL CONFIGURATION Main Port: 115200, 8N1 Aux Port: 115200, 8N1  DTE Main DTE Aux  Figure 19: Basic Hayes dial-up network In order to establish a connection from the base to the main port on remote 1001, the following dial string is used: ATD100100<CR> To establish a connection to the auxiliary port of remote 1002, the following dial string is used: ATD100201<CR> Information on hanging up a Hayes dial-up connection can be found in section 6.5.4 on page 37.
   Applications  Crescendo UHF Half-Duplex User Manual  Page 51 of 78 7.3.2 Hayes Dial-up Network with Repeaters Repeaters can be used to extend the range of a Hayes dial-up network, as shown in Figure 20.  Crescendo Base  1000 Crescendo Repeater  2000 Main DTE RADIO CONFIGURATION Rx Address: 2000 Store and Forward Repeater: True Repeaters in Network: 2  ROUTING TABLE Route 3000-3999 to 3000  PROTOCOL CONFIGURATION Main Port: Hayes Dial-up  SERIAL CONFIGURATION Main Port: 38400, 8N1, Hardware Flow RADIO CONFIGURATION Rx Address: 1000 Repeaters in Network: 2  ROUTING TABLE Route 2000-3999 to 2000  PROTOCOL CONFIGURATION Main Port: Hayes Dial-up  SERIAL CONFIGURATION Main Port: 38400, 8N1, Hardware Flow Crescendo Repeater  3000 DTE RADIO CONFIGURATION Rx Address: 3001 Repeaters in Network: 2  ROUTING TABLE Route 1000-3999 to 3000  PROTOCOL CONFIGURATION Main Port: Hayes Dial-up  SERIAL CONFIGURATION Main Port: 38400, 8N1, Hardware Flow Main DTE Main Crescendo Remote  3001 RADIO CONFIGURATION Rx Address: 3000 Store and Forward Repeater: True Repeaters in Network: 2  ROUTING TABLE Route 1000-2999 to 2000  PROTOCOL CONFIGURATION Main Port: Hayes Dial-up  SERIAL CONFIGURATION Main Port: 38400, 8N1, Hardware Flow DTE Main  Figure 20: Hayes dial-up network with repeaters The following dial string is used to dial the second main port on the second store-and-forward repeater: ATD300000<CR> To dial the main port on the remote, the following dial string is used: ATD300100<CR>
   Applications  Crescendo UHF Half-Duplex User Manual  Page 52 of 78 7.4  Modbus/DNP Networks 7.4.1 Basic Modbus RTU Network with Repeater A Modbus network with repeater is shown in Figure 21.  Crescendo Base  1000 Crescendo Remote  1001 Main RTU BASE RTU 2 RADIO CONFIGURATION Rx Address: 1001 Repeaters in Network: 1 Max Packet Size: 267  PROTOCOL CONFIGURATION Main Port: Modbus RTU  PROTOCOL MAPPING Grouped 1-247 to 1000  SERIAL CONFIGURATION Main Port: 19200, 8N1, 2ms RX Timer  Main Crescendo Repeater  2000 RADIO CONFIGURATION Rx Address: 2000 Store and Forward Repeater: True Repeaters in Network: 1 Max Packet Size: 267  PROTOCOL CONFIGURATION Main Port: Modbus RTU  PROTOCOL MAPPING Grouped 1-247 to 1000  SERIAL CONFIGURATION Main Port: 19200, 8N1, 2ms RX Timer  RTU 3 Main Crescendo Remote  2001 RTU 4 RADIO CONFIGURATION Rx Address: 2001 Repeaters in Network: 1 Max Packet Size: 267  PROTOCOL CONFIGURATION Main Port: Modbus RTU  ROUTING TABLE Route 1000-1099 to 2000  PROTOCOL MAPPING Grouped 1-247 to 1000  SERIAL CONFIGURATION Main Port: 19200, 8N1, 2ms RX Timer  Main RADIO CONFIGURATION Rx Address: 1000 Repeaters in Network: 1 Max Packet Size: 267  PROTOCOL CONFIGURATION Main Port: Modbus RTU  ROUTING TABLE Route 2000-2099 to 2000  PROTOCOL MAPPING Single 2 to 1001 Mapped 3-4 to 2000  SERIAL CONFIGURATION Main Port: 19200, 8N1, 2ms RX Timer  Figure 21: Modbus network with repeater In order to support the ModBus protocol, an RX packetiser timer of 2 ms has been used on the main port of each unit (see section 4.3.2 on page 18 for more information on packetiser timers).
   Applications  Crescendo UHF Half-Duplex User Manual  Page 53 of 78 7.4.2 Modbus with Modbus Query Enabled Crescendo Remote22Crescendo Remote21Crescendo Repeater20Crescendo Remote13Crescendo Remote12Crescendo Remote11CrescendoBase10RADIO CONFIGURATIONRadio Address: 22Repeaters in Network: 1Max packet Size: 268 BytesRouting Table: 10,29,20Main Baud Rate: 9600Main Parity: OddRx Packetiser Timer: 4 msPROTOCOL CONFIGURATIONModbus Query: EnabledModbus Address: 22Protocol Mapping: Grouped,1,247,10Main Port Mode: Modbus RTURADIO CONFIGURATIONRadio Address: 21Repeaters in Network: 1Max Packet Size: 268 BytesRouting Table: 10,29,20Main Baud Rate: 9600Main Parity: OddRx Packetiser Timer: 4 msPROTOCOL CONFIGURATIONModbus Query: EnabledModbus Address: 21Protocol Mapping: Grouped,1,247,10Main Port Mode: Modbus RTURADIO CONFIGURATIONRadio Address: 20Repeater Mode: Store and ForwardRepeaters in Network: 1Max Packet Size: 268 BytesRouting Table: 10,19,10Main Baud Rate: 9600Main Parity: OddRx Packetiser Timer: 4 msPROTOCOL CONFIGURATIONModbus Query: EnabledModbus Address: 20Protocol Mapping: Grouped,1,247,10Main Port Mode: Modbus RTURADIO CONFIGURATIONRadio Address: 13Repeaters in Network: 1Max Packet Size: 268 BytesRouting Table:10,29,10Main Baud Rate: 9600Main Parity: OddRx Packetiser Timer: 4 msPROTOCOL CONFIGURATIONModbus Query: EnabledModbus Address: 13Protocol Mapping: Grouped,1,247,10Main Port Mode: Modbus RTURADIO CONFIGURATIONRadio Address: 12Repeaters in Network: 1Max Packet Size: 268 BytesRouting Table: 10,29,10Main Baud Rate: 9600Main Parity: OddRx Packetiser Timer: 4 msPROTOCOL CONFIGURATIONModbus Query: EnabledModbus Address: 12Protocol Mapping: Grouped,1,247,10Main Port Mode: Modbus RTURADIO CONFIGURATIONRadio Address: 11Repeaters in Network: 1Max Packet Size: 268 BytesRouting Table: 10,29,10Main Baud Rate: 9600Parity: OddRx Packetiser Timer: 4 msPROTOCOL CONFIGURATIONModbus Query: EnabledModbus Address: 11Protocol Mapping: Grouped,1,247,10Main Port Mode: Modbus RTURADIO CONFIGURATIONRadio Address: 10Repeater Mode: Store and ForwardRepeaters in Network: 1Max Packet Size: 268 BytesRouting Table: 20,29,20Main Baud Rate: 9600Main Parity: OddRx Packetiser Timer: 4 msPROTOCOL CONFIGURATIONModbus Query: EnabledModbus Address: 10Protocol Mapping: Mapped 100,129,10Main Port Mode: Modbus RTUPLC 113 PLC 112PLC 111PLC 120PLC 122 PLC 121 Figure 22: Modbus with Modbus query enabled See page 39 for more information on Modbus query support.
   Applications  Crescendo UHF Half-Duplex User Manual  Page 54 of 78 7.4.3 DNP Network with Repeater A DNP network with repeater is shown in Figure 23.  Crescendo Base  1000 Crescendo Remote  1001 Main RTU BASE RTU 2 RADIO CONFIGURATION Rx Address: 1001 Repeaters in Network: 1 Max Packet Size: 304  PROTOCOL CONFIGURATION Main Port: DNP  SERIAL CONFIGURATION Main Port: 19200, 8N1, 2ms RX Timer  Main Crescendo Repeater  2000 RADIO CONFIGURATION Rx Address: 2000 Repeater Mode: Store and Forward Repeaters in Network: 1 Max Packet Size: 304  PROTOCOL CONFIGURATION Main Port: DNP  SERIAL CONFIGURATION Main Port: 19200, 8N1, 2ms RX Timer  RTU 3 Main Crescendo Remote  2001 RTU 4 RADIO CONFIGURATION Rx Address: 2001 Repeaters in Network: 1 Max Packet Size: 304  PROTOCOL CONFIGURATION Main Port: DNP  ROUTING TABLE Route 1000-1099 to 2000  SERIAL CONFIGURATION Main Port: 19200, 8N1, 2ms RX Timer  Main RADIO CONFIGURATION Rx Address: 1000 Repeaters in Network: 1 Max Packet Size: 304  PROTOCOL CONFIGURATION Main Port: DNP  ROUTING TABLE Route 2000-2099 to 2000  SERIAL CONFIGURATION Main Port: 19200, 8N1, 2ms RX Timer  Figure 23: DNP network with repeater Note that no protocol  mapping has been  utilised.  It is therefore assumed that  the mapping from protocol address to radio address is one-to-one, and the protocol address is the same as the radio address.
   Applications  Crescendo UHF Half-Duplex User Manual  Page 55 of 78 7.5  Datagram Networks 7.5.1 Basic Datagram Network A basic datagram network is shown in Figure 24.  Crescendo Base  1000 Crescendo Remote 1  1001 Main DTE RADIO CONFIGURATION Rx Address: 1000  PROTOCOL CONFIGURATION Main Port: Datagram  SERIAL CONFIGURATION Main Port: 38400, 8N1, Hardware Flow DTE RADIO CONFIGURATION Rx Address: 1001  PROTOCOL CONFIGURATION Main Port: Datagram  SERIAL CONFIGURATION Main Port: 38400, 8N1, Hardware Flow Main Crescendo Remote 2  1002 DTE Main RADIO CONFIGURATION Rx Address: 1002  PROTOCOL CONFIGURATION Main Port: Datagram  SERIAL CONFIGURATION Main Port: 38400, 8N1, Hardware Flow  Figure 24: Basic datagram network In this network, datagrams presented to the main port of the base with the destination address set to 1001 will be routed to remote 1, while those with destination address 1002 will be routed to remote 2.
   Appendix A Technical Specifications  Crescendo UHF Half-Duplex User Manual  Page 56 of 78 Appendix A Technical Specifications A.1  Type Approvals Australia/ New Zealand AS 4295 -1995 Australian Supplier ID: N161 FCC CFR 47 Part 15 and Part 90 FCC ID: P5MRFI450H Industry Canada RSS-GEN, RSS-102, RSS-119 IC: 10592A-RFI450H ETSI (planned) ETS 300 113  Table 18: Type approvals A.2  Radio Modem Specifications RF Operating Bandwidth 390 MHz – 500 MHz RF Switching Bandwidth Appoximately 20 MHz (model dependent, 16 selectable channel pairs) RF Channel Width  Model specific:  Refer to Table 1 on page 6 RF Frequency Raster Selectable: Down to 1.25 kHz depending on type approval  RF Output Selectable Carrier Power (@ 12.5VDC nominal):  0, +20, +27, +30, +36, +37 dBm Continuous duty-cycle rated Receiver Sensitivity Approximately -108 dBm (model dependent, BER of 10-6, 9600 bps) Approximately -106 dBm (model dependent, BER of 10-6 , 19200 bps) Modulation Nyquist-shaped 4-level FSK. RRC filter coefficient 0.2 Modulation deviation (max):  3.8 kHz (wideband)  1.9 kHz (narrowband) Baseband Rate Model specific:  19.2 kbit/s (wideband)  9.6 kbit/s (narrowband) Serial Ports Dual asynchronous full duplex RS-232 Data Rates:  300, 600, 1200, 2400, 4800, 9600, 19200, 38400, 57600,   115200 Data Bits: 7 or 8 Parity: None, Odd, or Even Stop Bits: 1 or 2 Flow Control (Main Port only): None, Hardware (RTS/CTS)
   Appendix A Technical Specifications  Crescendo UHF Half-Duplex User Manual  Page 57 of 78 Digital Inputs 0 - 5 V (internal 5 kiloohm pull-up) Input Voltage 9 V to 16 V DC (negative ground) Environmental Specifications Temperature: -10 ºC  to +60 ºC Humidity (max): 95% non-condensing at 50 ºC Connectors:  Power: Phoenix PH1776508 Main Serial Port: DB9 RS-232 Female Auxiliary Serial Port: DB9 RS-232 Female I/O Module Connector (where present): 5-way terminal block (35mm, screw flange, Phoenix part number 1843826) RF: BNC Female (50 ohm nominal) Table 19: Radio modem specifications A.2.1 Input Current Tx Power (dBm) Current (mA) Rx Only 100 0 390 20 450 27 650 30 830 36 1490 37 1700 Table 20: Nominal input current at 450 MHz, 100% Duty Cycle
   Appendix A Technical Specifications  Crescendo UHF Half-Duplex User Manual  Page 58 of 78 A.3  Connector Pin Assignment A.3.1 Main Serial Port Pin Function Direction 1 DCD Output 2 RxD Output 3 TxD Input 4 DTR Input 5 GND  6 N/A  7 RTS Input 8 CTS Output 9 N/A  Table 21: Main connector pin assignment A.3.2 Auxiliary Serial Port Pin Function Direction 1 N/A  2 RxD Output 3 TxD Input 4 N/A  5 GND  6 N/A  7 N/A  8 N/A  9 N/A  Table 22: Auxiliary connector pin assignment
   Appendix A Technical Specifications  Crescendo UHF Half-Duplex User Manual  Page 59 of 78 A.3.3 I/O Module Pin Function Direction 1 Input 1 Input 2 Input 2 Input 3 Input 3 Input 4 Input 4 Input 5 GND  Table 23: I/O module  pin assignment  Figure 25: I/O module pin numbering
   Appendix A Technical Specifications  Crescendo UHF Half-Duplex User Manual  Page 60 of 78 Length 188 mm Width 101.6 mm Height 45.4 mm Table 24: Dimensions Unit Weight 700 g Shipping Weight 850 g Table 25: Nominal weight
   Appendix A Technical Specifications  Crescendo UHF Half-Duplex User Manual  Page 61 of 78 A.3.4 Mounting Plate Dimensions   Figure 26: Mounting plate dimensions
   Appendix B Management Reference  Crescendo UHF Half-Duplex User Manual  Page 62 of 78 Appendix B Management Reference B.1  Main Configuration Main  Page AT Product String The product string.  I0 Manufacture Date The date of manufacture.  I5 Serial number The serial number of the unit.  I6  B.2  Radio Configuration Radio  Page AT Address Sets the radio local address, 0-61439 23 S51 Tx Power The output power. 24 S45 RSSI Trip Set the RF signal level for RF data.  24 S53 Network    Network Address The network address 27 S50 Repeater Mode Enables store-and-forward functionality 28 &L Repeaters In Network Sets the maximum number of repeaters used to reach a destination. 25 S160 Max Packet Size Sets the maximum packet payload. 25 S170 Broadcast Retransmissions Sets the number of times a broadcast packet is retransmitted 25 S38 Singlecast Retries Sets the number of times a packet is retried before it is discarded. 25 S41 Routing Table Allows routing rules to be configured 30 S151:firstaddr S152:lastaddr S153:hopaddr Channel    Tx Range Shows the range of allowable Tx frequencies. 24  Rx Range Shows the range of allowable Rx frequencies. 24  Channel Width Shows the channel width of the radio. 24 I50
   Appendix B Management Reference  Crescendo UHF Half-Duplex User Manual  Page 63 of 78 Raster Sets the raster to be used. 24 S57 Current Channel Sets the current channel and corresponding Tx/Rx frequencies to be used. 24 S54 I/O Selects Channel Determines whether active channel can be selected by digital inputs. 24 S180 Channel Tx Frequency Transmit frequency for a channel. 24 S55 Channel Rx Frequency Receiving frequency for a channel. 24 S56 Table 26: Radio configuration
   Appendix B Management Reference  Crescendo UHF Half-Duplex User Manual  Page 64 of 78 B.3  Link Control Configuration and Diagnostics Link Control  Page AT Data Quality Shows the current data quality (0-255) 31 I60 Lowest Data Quality Shows lowest data quality received so far (0-255) 31 I61 Temperature The temperature of the unit.  I9 Average Noise The average RSSI level where no valid carrier is present on the receive channel. 31 I12 Average RSSI The average RSSI level while data is being received. 31 I11 Last RSSI The RSSI level for the last valid data received. 31 I31 Bad Trigger The RSSI value for the last bad Trigger received. 31  Table 27: Link control configuration and diagnostics B.4  Serial Port Configuration and Diagnostics Serial Port  Page AT Main Flow Control The main port flow control operation. 17 S104 Main DCD Mode The rule for controlling DCD. 17 S90 Main CTS Mode The rule for controlling CTS. 17 S91 Online Timeout The timeout used by the Follows Online CTS / DCD mode. 17, 13 S43 Port Settings    Baud The serial port baud rate. 17 S100 Data Bits The serial port data bits. 17 S102 Parity The serial port parity. 17 S101 Stop Bits The serial port stop bits. 17 S103 Rx Packetiser Timer The receive packetiser timer. 18 S40 Tx Packetiser Timer The transmit packetiser timer. 18 S39 Statistics The serial port statistics. 19 I20 Table 28: Serial port configuration and diagnostics
   Appendix B Management Reference  Crescendo UHF Half-Duplex User Manual  Page 65 of 78 B.5  Protocol Mode Configuration and Diagnostics Protocol  Page AT Modbus Query Enables configuration and diagnostic parameters to be accessed by Modbus commands. 39  Modbus Address The Modbus address of the radio. 39  Lead-in Count The number of lead-in bytes the radio will discard and not transmit over the air. 34 S73 Data timeout The period of serial silence the radio will wait before it stops transmitting. 34 S74 RF Link Status The state of the RF link for the port. 41, 35, 36 I16 Mode The selected protocol mode 34 S70 Point-to-point Destination Address The point-to-point partner radio address 35 S52 Start In Local Mode Enables local command mode on the port when the radio powers up. 36 S72 Point-to-Point Mode Connection or packet driven mode. 35 S71 Point-to-[multi]point Receive Mode The receive address mode (strict or relaxed). 35 S64 Hayes Dial-up Protocol    Wait for Carrier Number of seconds to wait for a connection. 36 S7 Auto-Answer Whether to auto-answer dial requests. 37 S1 Rings Before Answer Number of rings to wait before auto-answering. 37 S0 DTR Mode Sets the action the radio takes on DTR settings. 38 &D Echo Whether to echo bytes in local command mode. 12 E Responses Enables or disables responses. 12 Q Verbal Responses Sets responses as either strings or numbers. 12 V Escape Guard Time Time to wait for the escape sequence. 36 S12 Escape Character The escape character. 36 S2 Allow Local Mode Enables usage of the escape sequence while in other protocol modes (excludes data driven). 36 S3 Datagram Protocol    Footer Mode CRC-32 or fixed. 36 S140 Table 29: Protocol mode configuration and diagnostics
   Appendix B Management Reference  Crescendo UHF Half-Duplex User Manual  Page 66 of 78 B.6  Diagnostics Diagnostics  Page AT Fault The last fault that was reported.  I15 Startup Reason Indicates if the radio started normally or due to a watchdog reset.   EEPROM Status The state of the EEPROM at start-up.  R10 Build Date The date that the firmware was built.  R9 Monitor RSSI Puts the radio in a mode when it continuously outputs the RSSI on the current channel (can only be used in menu).   Factory Reset Resets all settings to factory defaults. 72 &F1 Load Configuration Reloads all configuration from EEPROM, discarding changes made with AT commands. 66 Z Save Configuration Saves all configuration changes made with AT commands to EEPROM. 66 &W Data Driven MAC Performance statistics when using the data driven serial protocol 19  Packet Driven MAC Performance statistics when using a serial protocol other than the data driven protocol. 19  Baseband Statistics Baseband specific statistics. 19  Reset Data Driven Statistics Clears all Data Driven MAC statistics   Reset Packet Driven Statistics Clears all Packet Driven MAC statistics   Reset Baseband Statistics Clears all baseband statistics.  &C1 Event Log    Level The logging level.  S60 Clear Event Log Clears the event log   Table 30: Diagnostics
   Appendix C Hayes Reference  Crescendo UHF Half-Duplex User Manual  Page 67 of 78 Appendix C Hayes Reference C.1  General Commands Command Name Notes ATE Echo Returns 1 if Hayes echo is enabled, or 0 if echo is disabled. ATE0  Disables Hayes echo. ATE1  Enables Hayes echo. ATQ Responses Returns 1 if Hayes responses are enabled, or 0 if responses are disabled. ATQ0  Disables Hayes responses. ATQ1  Enables Hayes responses. ATV Verbal Responses Returns 1 if verbal responses are enabled, or 0 if verbal responses are disabled. ATV0  Disables verbal responses. Responses will all be numeric. ATV1  Enables verbal responses. ATZ Initialise Reloads all the configuration settings. AT&C1 Clear RF Statistics  AT&F1 Factory Reset Performs a complete factory reset. AT&D Hayes DTR Mode 0: Ignore 1: Hangup on DTR Low 2: Hangup on DTR Dropped 3: Local on DTR Low AT&D0  Sets the unit to ignore. AT&D1  Sets the unit to hangup on DTR low. AT&D2  Sets the unit to hangup on DTR dropped. AT&D3  Sets the unit to go local on DTR low. AT&L Store-and-forward Repeater Mode 0: Store and forward repeater disabled 1: Store and forward repeater enabled AT&L0  Disable store-and-forward repeater. AT&L1  Enable store-and-forward repeater. AT&T7 Soft Reset Reboot the radio. AT&T8 Watchdog Reset Trigger watchdog and cause a fault to be logged.
   Appendix C Hayes Reference  Crescendo UHF Half-Duplex User Manual  Page 68 of 78 AT&T9 Hard Reset Restart system for programming. AT&V View All Registers Outputs the value in all I and S registers. AT&V1 View All I Registers  AT&V2 View All S Registers  AT&W Save Configuration Saves the current configuration to EEPROM. AT? Enable Menu  AT%30 Enable Cruise Control Enables the Cruise Control on the serial port. Wait for 10 seconds after executing with no further data input to return to normal Hayes mode. Table 31: Hayes general commands C.2  Connection Management Commands Command Name Notes ATT Traceroute Starts a traceroute diagnostic to a destination radio. See section 6.5.6. ATD ATDT ATDP Dial  ATA Answer  ATH ATH0 Hangup  ATO ATO0 Go Online  Table 32: Hayes connection management commands C.3  I-Registers Command Name Notes ATI5 Manufacture Date  ATI6 Serial Number  ATI9 Temperature  ATI11 Average RSSI  ATI15 Fault  ATI16[0] RF Link Status Returns the RF link status for the main port.
   Appendix C Hayes Reference  Crescendo UHF Half-Duplex User Manual  Page 69 of 78 ATI16[1]  Returns the RF link status for the auxiliary port. ATI20[p, s] Serial Port Statistics  ATI25[s] Get Baseband Statistic  ATI26[s] Get Data Driven MAC Statistic  ATI27[s] Get Packet Driven MAC Statistic  ATI50 Channel Width  Table 33: Hayes I-register commands  C.4  S-Registers All serial port configuration and status commands can be executed on either the main port or auxiliary port. The parameter [p] that may be passed to each serial port AT command should be set to 0 for main, or 1 for auxiliary. Command Name Notes ATS0 Rings Before Answer Sets or returns the current number of rings before auto-answer. ATS1 Auto Answer 0: Disabled 1: Enabled ATS2 Escape Character Sets or returns the current escape character. ATS7 Wait for Carrier Sets or returns the number of seconds to wait for a carrier to be established. ATS12 Escape Guard Time Sets or returns the escape guard time in ms. ATS38 Broadcast Retransmissions  ATS39 Tx Packetiser Timer  ATS40 Rx Packetiser Timer  ATS41 Singlecast Retries  ATS45 Transmit Power 0: 0 dBm 1: +20 dBm 2: +27 dBm 3: +30 dBm 4: +36 dBm 5: +37 dBm
   Appendix C Hayes Reference  Crescendo UHF Half-Duplex User Manual  Page 70 of 78 Command Name Notes ATS50 Network Address  ATS51 Radio Address  ATS52 Point-to-point Destination Address  ATS53 RSSI Trip  ATS54 Current Channel First channel number is 1, unless Legacy Channel Numbering is enabled, in which case first channel is 0. ATS55[c] Channel Tx Frequency c is the channel number. Frequency in MHz. First channel number is 1, unless Legacy Channel Numbering is enabled, in which case first channel is 0. ATS56[c] Channel Rx Frequency c is the channel number. Frequency in MHz. First channel number is 1, unless Legacy Channel Numbering is enabled, in which case first channel is 0. ATS60 Log Filter 0: Faults 1: Warnings 2: Status 3: Information 4: Debugging ATS64 Point-to-[multi]point Receive Addressing 0: Strict 1: Relaxed ATS65 Clear Event Log  ATS70 Protocol Mode 0: Point-to-point 1: Point-to-multipoint 2: Hayes Dial-up 3: Datagram 4: Log ATS71 Point-to-point Mode 0: Connectionless 1: Connection Based ATS90 Main Port DCD Mode Note that this command cannot have a [p] port specifier. 0: Always High 1: Always Low 2: Mirrors DTR 3: Mirrors RTS 4: Follows Rx Carrier 5: Follows Tx Enable 6: Follows Online
   Appendix C Hayes Reference  Crescendo UHF Half-Duplex User Manual  Page 71 of 78 Command Name Notes ATS91 Main Port CTS Mode Note that this command cannot have a [p] port specifier.  0: Always High 1: Always Low 2: Mirrors DTR 3: Mirrors RTS 4: Follows Rx Carrier 5: Follows Tx Enable 6: Follows Online ATS92 Get Main Port DTR Note that this command cannot have a [p] port specifier.  0: Line is not asserted. 1: Line is asserted. ATS93 Get Main Port RTS Mode Note that this command cannot have a [p] port specifier.  0: Line is not asserted. 1: Line is asserted. ATS100 Baud 0: 110 1: 300 2: 600 3: 1200 4: 2400 5: 4800 6: 9600 7: 14400 8: 19200 9: 38400 10:57600 11:115200 ATS101 Parity 0: None 1: Even 2: Odd ATS102 Data Bits 0: 7 1: 8 ATS103 Stop Bits 0: 1 1: 2 ATS104 Main Port Flow Control Note that this command cannot have a [p] port specifier.
   Appendix C Hayes Reference  Crescendo UHF Half-Duplex User Manual  Page 72 of 78 Command Name Notes 0: None 2: Hardware (RTS / CTS) ATS140 Datagram Footer Mode 0: Fixed 1: CRC-32 ATS151[a] Routing Table Entry First Address  ATS152[a] Routing Table Entry Last Address  ATS153[a] Routing Table Hop Address  ATS160 Repeaters in Network  ATS170 Max RF Packet Size  ATS180 I/O Selects Channel 0: Disabled 1: Enabled Table 34: Hayes S-register commands C.5  R-Registers Command Name Notes ATR9 Firmware Build Date  ATR10 EEPROM Status  Table 35: Hayes R-register commands
   Appendix D Factory Defaults  Crescendo UHF Half-Duplex User Manual  Page 73 of 78 Appendix D Factory Defaults Group Parameter Default Value Radio Address 1000 Tx Power 30 dBm RSSI Trip -110 Network Network Address 0 Store and Forward Repeater Disabled Repeaters in Network 0 Max Packet Size 1024 bytes Broadcast Retransmissions 5 Singlecast Retries 5 Routing Table <empty> Channel Current Channel 1 Channels (Tx and Rx) 1-16: As set by factory (not reset with factory reset) I/O Selects Channel Disabled Serial Ports Main Flow Control None Main DCD Mode Always High Main CTS Mode Always High Baud 19200 Data Bits 8 Parity None Stop Bits 1 Rx Packetiser Timer 0 ms Tx Packetiser Timer 0 ms   Protocol Protocol Mapping <empty> Mode Main: Data Driven Aux: Hayes Dial-up Point-to-point destination 20
   Appendix D Factory Defaults  Crescendo UHF Half-Duplex User Manual  Page 74 of 78 Start In Local Mode Main: Disabled Aux: Enabled Point-to-point Mode Connection Based Receive Addressing Strict Datagram Footer Mode CRC-32 Hayes Dial-up Wait for Carrier 10 seconds Auto-Answer On Rings Before Answer 3 DTR Mode Ignore Echo On Response On Verbal Responses On Escape Guard Time 1000 ms Escape Guard Character + Data Driven Lead-in Count  0 Data Timeout 2 ms Event Log Level Information Table 36: Factory defaults
   Appendix E Product Identification Table  Crescendo UHF Half-Duplex User Manual  Page 75 of 78 Appendix E  Product Identification Table Table  37  shows  the  Crescendo  product  identification.  The  green  shaded  items  are  the  available configuration. This table should be used when ordering a Crescendo radio modem.  FREQUENCY BAND RF MODE CHANNEL WIDTH AIR RATE OPERATING MODE BANDWIDTH 150 VHF H Half Duplex N Narrow L 1200/2400 BD Bit-Driven 01 Custom 290 VHF S Half Duplex (Separate Tx/Rx Ports) W Wide M 9600 DD Data-Driven 02 390 – 410 MHz 450 UHF F Half Duplex (595F compatible) C Custom H 19200 PD Packet-Driven 03 400 – 420 MHz 590 UHF D Full Duplex  C Custom VF VF Only 04 410 – 430 MHz  ID Data-Driven, I/O Module 05 420 – 440 MHz CC Custom 06 430 – 450 MHz  07 440 – 460 MHz 08 450 – 470 MHz 09 460 – 480 MHz  Table 37: Crescendo product identification table For  example,  the  product  code  for  a  Crescendo  UHF,  Half  Duplex,  Wideband,  19200  bps,  Data  Driven Radio with 400 MHz - 420 MHz bandwidth is RFI-450 HWHDD03.
   Appendix F Glossary  Crescendo UHF Half-Duplex User Manual  Page 76 of 78 Appendix F Glossary ACK Acknowledgement ARQ Automatic Repeat Request BNC British Naval Connector CRC Cyclic Redundancy Check CTS Clear To Send DCD Data Carrier Detect DCE Data Communications Equipment (radio modem) DTE  Data Terminal Equipment (computer device) DTR Data Terminal Ready RF Radio Frequency RSSI Received Signal Strength Indicator RTS Request To Send Rx Receive Tx Transmit UHF Ultra High Frequency VHF Very High Frequency FER Frame Error Rate Table 38: Glossary
   Index Crescendo UHF Half-Duplex User Manual  Page 77 of 78 Index   Addressing.......................................................................... 23 Answering .......................................................................... 37 Applications ....................................................................... 44 AT Commands ................................................................... 12 Auto-answer ....................................................................... 37   Broadcast retransmissions .................................................. 25 Button ................................................................................. 13   Channel Selection ............................................................... 24 Configuration ....................................................................... 9 Connection Based ............................................................... 35 Connectionless ................................................................... 35 Cruise Control .................................................................... 10   Data timeout ....................................................................... 65 Datagram Protocol........................................................ 39, 40 Basic Network ............................................................... 55 Diagnostics ......................................................................... 66 Dialling ............................................................................... 36 DTR Modes ........................................................................ 38   Escape Sequence ................................................................ 37   Factory Defaults ................................................................. 73 Fault ................................................................................... 14 Front Panel ......................................................................... 13   Glossary.............................................................................. 76 GUI ..................................................................................... 10   Hanging Up ........................................................................ 37 Hayes AT Commands .................................................. 12, 67 Connections ................................................................... 68 General .......................................................................... 67 I-Registers ..................................................................... 68 R-Registers .................................................................... 72 S-Registers ..................................................................... 69 Hayes Dial-up Protocol ...................................................... 36 Basic Network ............................................................... 50 Repeater Network .................................................... 47, 51 Hopping Pattern ................................................................. 27   Installation ............................................................................ 7 Introduction .......................................................................... 6   Latency ............................................................................... 22 Lead-in Count ..................................................................... 65 LEDs .................................................................................. 13 Local Mode ........................................................................ 36   Main Serial Port Status ....................................................... 14 Management Reference Address .......................................................................... 62 Auto-Answer ................................................................. 65 Average Noise ............................................................... 64 Average RSSI ................................................................ 64 Bad Trigger ................................................................... 64 Baseband Statistics ........................................................ 66 Baud .............................................................................. 64 Broadcast Retransmissions ............................................ 62 Build Date ..................................................................... 66 Channel Width............................................................... 62 Clear Event Log ............................................................ 66 Current Channel ............................................................ 63 Data Bits ........................................................................ 64 Data Driven MAC ......................................................... 66 Data Quality .................................................................. 64 DTR Mode .................................................................... 65 Echo............................................................................... 65 EEPROM Status ............................................................ 66 Escape Character ........................................................... 65 Escape Guard Time ....................................................... 65 Factory Reset ................................................................. 66 Fault............................................................................... 66 Footer Mode .................................................................. 65 Level .............................................................................. 66 Load Configuration ....................................................... 66 Main CTS Mode ............................................................ 64 Main DCD Mode ........................................................... 64 Main Flow Control ........................................................ 64 Max Packet Size ............................................................ 62 Mode ............................................................................. 65 Monitor RSSI ................................................................ 66 Network Address ........................................................... 62 Online Timeout ............................................................. 64 Packet Driven MAC ...................................................... 66 Parity ............................................................................. 64 Point-to-[multi]point Receive Mode ............................. 65 Point-to-point Destination Address ............................... 65 Point-to-Point Mode ...................................................... 65 Repeaters In Network .................................................... 62 Reset Baseband Statistics .............................................. 66 Reset Data Driven Statistics .......................................... 66 Reset Packet Driven Statistics ....................................... 66 Responses ...................................................................... 65 RF Link Status ............................................................... 65 Rings Before Answer .................................................... 65 Routing Table ................................................................ 62 RSSI Trip ...................................................................... 62 Rx Packetiser Timer ...................................................... 64 Rx Range ....................................................................... 62 Save Configuration ........................................................ 66 Singlecast Retries .......................................................... 62 Start In Local Mode ....................................................... 65 Startup Reason............................................................... 66 Statistics ........................................................................ 64 Stop Bits ........................................................................ 64 Store and Forward Repeater .......................................... 62 Temperature .................................................................. 64 Tx Packetiser Timer ...................................................... 64 Tx Power ....................................................................... 62 Tx Range ....................................................................... 62 Verbal Responses .......................................................... 65
   Index Crescendo UHF Half-Duplex User Manual  Page 78 of 78 Wait for Carrier ............................................................. 65 Manual answer ................................................................... 37 Max Packet Size ................................................................. 26 Menu .................................................................................. 11 Mode 1 ............................................................................... 13 Mode 2 ............................................................................... 14 Mode 3 ............................................................................... 14 Mode 4 ............................................................................... 14 Mode 5 ............................................................................... 14 Mounting Plate Dimensions ............................................... 61   Network Address ................................................................ 27 Network Structure .............................................................. 29   Online ................................................................................. 41 Online Timeout .................................................................. 17   Packetiser Timers ............................................................... 18 Point-to-multipoint Protocol............................................... 35 Basic Network ............................................................... 48 Modbus Network ......................................... 49, 52, 53, 54 Repeater Network ........................................ 49, 52, 53, 54 Point-to-point Networks ..................................................... 44 Point-to-point Protocol ....................................................... 35 Basic Network ............................................................... 44 Multiple Destination Network ................................. 45, 46 Product Identification Table ............................................... 75   Radio Statistics ............................................................. 31, 32 Radio Status LEDs ............................................................. 13 Relaxed Addressing............................................................ 35 Repeater ............................................................................. 28 Repeaters in Network ......................................................... 26 Retransmissions ................................................................. 25 Retries ................................................................................ 25 Routing ............................................................................... 29 Table .............................................................................. 30 RSSI ............................................................................. 14, 31 RSSI Trip ........................................................................... 24 Rx Packetiser Timer ........................................................... 18   Serial Ports ......................................................................... 16 Configuration ................................................................ 17 Connectors ..................................................................... 58 Auxiliary ................................................................... 58 Main.......................................................................... 58 Control Lines ................................................................. 17 Packetiser Timers .......................................................... 18 Statistics ........................................................................ 19 Singlecast retries ................................................................ 25 Store-and-forward Repeater ............................................... 28 Strict Addressing ................................................................ 35   Technical Specifications .................................................... 56 Radio Modem ................................................................ 56 Temperature Status ............................................................ 14 Terminal Menu References ................................................ 62 Traceroute .......................................................................... 38 Transmit Power .................................................................. 24 Tx Packetiser Timer ........................................................... 18 Tx Power ............................................................................ 14

Navigation menu