Samsung Electronics Co SCH611 CDMA Cellular Telephone User Manual P1 34
Samsung Electronics Co Ltd CDMA Cellular Telephone P1 34
User manual

Printed in Korea
Code No. : GG68-xxxxxA
Basic. 5/99. Rev.1.0
PORTABLE CELLULAR
TELEPHONE
SCH-611
Owner’s Manual

2Digital Cordless Telephone 3
Digital Cordless Telephone
GETTING STARTED
Unpacking .............................................................................................. x
Phone Layout ......................................................................................... x
Key Functions ...................................................................................... x
Display ................................................................................................... x
Icons ................................................................................................... x
Installing Battery ..................................................................................... x
To Install the Battery ........................................................................... x
To Remove the Battery ........................................................................ x
Charging a Battery .................................................................................. x
Low Battery Indicator .......................................................................... x
Switching the Phone On/Off .................................................................... x
GENERAL FUNCTIONS
Making a Call ......................................................................................... x
Correcting the Number ........................................................................ x
Ending a Call ....................................................................................... x
Emergency Dialing .............................................................................. x
Prepend Dialing .................................................................................. x
Making a Call from the Phone Book .................................................... x
Voice Dialing ....................................................................................... x
Last Number Redial ................................................................................. x
Answering a Call ...................................................................................... x
Viewing Missed Calls ................................................................................ x
In-Call Options .........................................................................................x
Call Waiting ......................................................................................... x
Three-Way Calling................................................................................ x
Call Forwarding.................................................................................... x
Adjusting the Volume................................................................................ x
Quick Switching to Vibration Mode ........................................................... x
Recording Voice Memo ............................................................................. x
Table of Contents
USINGTHE MENUS
Using the Scroll Keys ............................................................................... x
Using the Index System ........................................................................... x
Menu Map ............................................................................................... x
CALLS
Outgoing (MENU 1-1) ....................................................................... x
Incoming (MENU 1-2) ....................................................................... x
Erase Logs (MENU 1-3) ..................................................................... x
Air Time (MENU 1-4) ......................................................................... x
PHONE BOOK
Find Name (MENU 2-1) ..................................................................... x
My Phone Number (MENU 2-2) ......................................................... x
Add Entry (MENU 2-3) ...................................................................... x
Storing Phone Numbers at Call End ....................................................... x
Entering a Name .................................................................................. x
Find Entry ............................................................................................... x
SOUNDS
Ring (MENU 3-1) .............................................................................. x
Ring Volume ......................................................................................... x
Ring Type ............................................................................................. x
Ring Tone ............................................................................................. x
Key Volume (MENU 3-2) ................................................................... x
Alert (MENU 3-3) .............................................................................. x
Minute Beep ....................................................................................... x
Service Area ........................................................................................ x
Remind Call (MENU 3-4) ................................................................... x
Differential Ring (MENU 3-5) ............................................................ x

4Digital Cordless Telephone 5
Digital Cordless Telephone
Safety Precautions and Important Notices
Read these simple guidelines. Failure to comply with these
guidelines may be dangerous or illegal.
For more detailed safety information, see Safety Information
on page xx.
ROAD SAFETY COMES FIRST
Do not use a hand-held phone while driving; park the vehicle
first.
SWITCH OFF IN AIRCRAFT
Mobile phones can cause interference. Using them on aircraft
is illegal.
SWITCH OFF NEAR BLASTING
Do not use the phone where a blasting operation is in
progress. Observe restrictions, and follow any regulations or
rules in force.
SWITCH OFF WHEN REFUELLING
Do not use the phone at a refuelling point or near fuels or
chemicals.
INTERFERENCE
All mobile phone may be subject to radio interference, which
may affect their performance.
DISPLAY
Backlight (MENU 4-1) ....................................................................... x
Greeting (MENU 4-2) ........................................................................ x
Version (MENU 4-3) .......................................................................... x
Language (MENU 4-4) ...................................................................... x
Contrast (MENU 4-5) ......................................................................... x
MESSAGES
Voicemail ............................................................................................... x
Page ...................................................................................................... x
Text ....................................................................................................... x
Alert ........................................................................................................ x
Erase All .................................................................................................. x
ACCESSORIES
Batteries .................................................................................................. x
Dual-Slot Desktop Charger ....................................................................... x
Cigarette Lighter Adapter ......................................................................... x
Travel Charger ......................................................................................... x
Hands-Free Car Kit ................................................................................... x
Ear-Microphone ....................................................................................... x
RS-232C Cable ......................................................................................... x
USING THE BATTERIES.......................................................................... x
SAFETY INFORMATION........................................................................ x
GLOSSARY OF TERMS .......................................................................... x
INDEX .................................................................................................... x

6Digital Cordless Telephone 7
Digital Cordless Telephone
Unpacking
Your package contains the following items.
Travel Charger
In addition, you can obtain the
accessories for your phone
from your local SAMSUNG
dealer. For information on the
accessories, see page xx.
Handset
Battery
User’s Manual
Strap
Getting Started
QUALIFIED SERVICE
Only qualified service personnel must install or repair cellular
equipment. Use only approved accessories and batteries.
USE SENSIBLY
Use only in the normal position (to ear).
Avoid unnecessary contact with the antenna when the phone
is switched on.
IMPORTANT! Use only accessories approved by the phone
manufacturer. This apparatus is intended for use when sup-
plied with power from SAMSUNG approved Travel adapter
TA12(??) and Desktop charger DTC33(??). The use of any other
types will invalidate any approval or warranty applying to the
phone, and may be dangerous.
When you disconnect the power cord of any accessory, grasp
and pull the plug, not the cord.

8Digital Cordless Telephone 9
Digital Cordless Telephone
Phone Layout
The following illustrations shows the main elements of your
phone.
Key Functions
M E N U Enters the menu facility. Also, scrolls through the menu
options.
In the menu facility, scrolls through the menu options.
In the idle mode, displays Phone Book names.
In the idle mode, enters RX Message menu.
In the menu facility, selects a menu function or stores
information that you have entered (such as a name in
the phone memory).
SEND Makes or answers call.
In the idle mode, enters Outgoing call log.
CLR Deletes characters from the display.In the menu
facility, returns to the previous menu level.
Ends a call. Also switches the phone on and off when
pressed and held. In the menu facility, returns to the
idle mode and cancels your input.
0~9 Enters numbers, letters and some special characters.
In the idle mode , enters Voice Dial mode when pressed
and held. In name input mode, moves cursor to left.
In the idle mode, quickly changes to Vibration mode
when pressed and held. In name input mode, moves
cursor to right.
(On the side of the phone)
Adjusts voice volume during conversation and key beep
volume in the idle mode. In the menu facility, scrolls
through the menu options.
Enters Voice Memo menu. Holding down the key starts
recording voice memo.
Antenna
Lamp
Earphone jack
Memo key
Volume keys
Earpiece
Display
Alphanumeric
keys
Vibration mode
key
See the opposite
page
Voice Dial key
Microphone
Flip Cover
or
Strap hole

10 Digital Cordless Telephone 11
Digital Cordless Telephone
Display
The display comprises two areas: an upper line of static icons,
and the lower text and graphic area. The following icons dis-
play at power-on:
Icons
Shows the received signal strength. The greater the
number of bars, the better the signal strength.
Indicates that the phone is outside a service area
and cannot send or receive calls.
Appears when you are out of your home area and
have registered with a different network (when
travelling in other countries, for example).
Appears when a new message has been received.
Indicates a Digital mode.
Indicates a Vibrate mode.
Shows the level of your battery. The more bars you
see, the more power you have left.
Icons
Text and
graphic area
Installing Battery
To Install the Battery
1. Hold the battery so that the metal contacts on the bottom
of the battery line up with the metal contacts on the back
of the phone.
2. Place the battery on the back of the phone with the top pf
the battery about a quarter of an inch from the latch.
3. Gently slide the battery toward the top of the phone until
snaps into place.

13
Digital Cordless Telephone
To Remove the Battery
If you want to remove the battery, do as follows:
1. If necessary, switch off the phone by holding down the
key until Bye Bye message is displayed.
2. Push and hold down the catch above the battery on the
back of the phone, and slide the battery down the phone.
Then lift the battery away.
12 Digital Cordless Telephone
Charging a Battery
Your phone is powered by a rechargeable Li-lon battery. A
travel adapter is provided with your phone. Use only approved
batteries and chargers. Ask you local SAMSUNG dealer for
further details.
The phone can be used while the battery is charging.
Note: You must fully charge the battery before using your
phone for the first time. A discharged battery is fully
recharged in approximately 180 minutes.
1. Check the lead from the travel adapter to the bottom of the
phone. Check that the arrow on the lead connector is facing
towards the front of the phone.
2. Connect the adapter to a standard AC wall outlet.

14 Digital Cordless Telephone 15
Digital Cordless Telephone
3. When charging is finished, disconnect the adapter from the
power outlet.
Disconnect the adapter from the phone by pressing the grey
tabs on either side of the connector and pulling the connec-
tor out.
Low Battery Indicator
When the battery is weak and only a few minutes of talk time
remain, a clear battery icon (no bars displayed) flashes in the
upper right corner of the screen. You will hear a warning tone
and a message will be replaced at regular intervals on the
display:
When the battery become too weak for the phone to operate,
it switches off automatically.
Switching the Phone On/Off
1. Open the flip cover.
2. Hold down key for more than one second to
switch the phone on.
The red light flashes, an alert sounds:
•When the system locates services, the greeting message
displays along with the date and time. You can now
place and receive calls.
•If the system cannot locate service, the greeting
message displays without the date and time. In this
case, you cannot place and receive calls. Power off the
phone, then try again later when service is available.
•If your phone is locked, ‘-Locked-’ displays. Press
MENU key, and enter the four-digit lock code to unlock
the phone.
3. When you wish to switch the phone off, hold down the
key for more than two seconds.
Low
Battery

16 Digital Cordless Telephone 17
Digital Cordless Telephone
Making a Call
When the idle screen is displayed, key in the area code and
phone number and press SEND key.
Note: If you have set Auto Retry option (7-1) to On (see page
xx) and the call does not connect, the phone automat-
ically retries to make the call.
Correcting the Number
To clear... Then
The last digit displayed Press CLR key.
The whole display Hold down the CLR key for
more than one seconde.
Ending a Call
When you have finished you call, briefly press the kry
or close the flip.
Emergency Dialing
You can place calls to 100 or one of the three emergency
numbers that are in your emergency number list even if your
phone is locked. For further information on emergency number
list, refer to page xx.
Prepend Dialing
The Prepend option enables you to add up to three digits,
such as area codes and network feature activation codes, to a
phone number of up to 10 digits. You can prepend an existing
entry in the Phone Book or Call Logs before dialing.
To prepend existing phone numbers in the Phone Book or Call
Logs:
1. Access the phone number entry.
2. When the desired phone number displays, press MENU
key to access Options.
3. Press 3to select Prepend option.
4. Enter the area code or feature code.
5. Press SEND key to dial the number.
General Functions

18 Digital Cordless Telephone 19
Digital Cordless Telephone
Making a Call from the Phone Book
You can store the phone numbers called regularly in memory,
called the Phone Book. You then simply recall the number to dial.
For further information on Phone Book, refer to page xx.
FINDING ENTRIES BY NAME, THEN DIAL
1. Press key in the idle mode.
The screen shows the names stored in the Phone Book in the
alphabetical order.
2. Use key to find the desired name. You can also enter the
first letter of the name by pressing the associated
alphanumeric key.
3. Press SEND key to dial the stored number with the name.
ONE-TOUCH DIALING BY MEMORY LOCATION
Memory locations 01 through 09 are special one-touch locations.
You can dial the phone numbers stored in the Phone Book memory
from 01 through 09 simply by pressing one button.
1. Press and hold the second digit of the memory location
containing the number to be dialed.
For example: Location no. 09
Press 9and hold.
The number (and name) stored is displayed, then dialed.
Voice Dialing
1. To place the call, press and hold key, or open the flip,
depending on the Set Active option (see page xx).
2. At the voice prompt, say the name into the phone.
•If the phone recognizes the name, the phone attempts a
connection.
•If the phone does not recognize the name, the screen
prompts for the name again.
•If the phone is unable to recognize the name after two
attempts, the message Cannot Recognize Name.
Please check name displays. Try the call again later, or
check the recorded name.
TWO-TOUCH DIALING BY MEMORY LOCATION
Once you have stored phone numbers in the phone book
memory, you can dial them easily whenever you want.
1. Press the first digit briefly, then hold down the second digit
of the memory cell.
For example: Location no. 23
Press 2briefly and hold down 3.
The number (and name) stored is displayed, then dialed.

21
Digital Cordless Telephone
20 Digital Cordless Telephone
The phone stores the last 10 numbers dialled. To recall any of
these numbers, proceeds follows.
1. If there are any characters on the display, clear the display
by holding down the CLR key for more than one second.
2. Press SEND key. The list of outgoing calls are displayed.
3. Use the key (or or key on the left side of the
phone) to scroll through the numbers until you select the
required number.
4. Press SEND key to dial the number displayed.
Last Number Redial
When somebody calls you, the phone rings and CALL in the
middle of the screen is displayed.
If the caller can be identified, the caller’s phone number (or
name if stored in your Phone Book) is displayed. If the caller
cannot be identified, only the CALL message appears.
1. To answer a call, open the flip cover. If the flip is already
open, press SEND key.
If the Any key Ans menu option (7-4) is set to On, you can
press any key to answer a call except for key.
2. End the call by closing the flip cover or pressing
key.
Note: You can answer a call while using the phone book
or menu features.
Answering a Call
CALL

23
Digital Cordless Telephone
22 Digital Cordless Telephone
Viewing Missed Calls
If you are unable to answer a call for any reason, you can find
out who was calling you, if this service is available. In this
way, you can call the person back, if necessary.
The number of missed calls is displayed on the idle screen
immediately after the call was missed.
To view the missed call, refer to ‘Incoming’ (1-2) under
‘CAllS’ on page xx.
In-Call Options
Call Waiting
This feature enables you to receive a second call during
conversation. When a Call Waiting call comes, the incoming
call alert sounds, when set, and a text notification displays.
Contact you service provider to activate Call Waiting call.
To answer a Call Waiting call:
1. To answer the call, Press SEND key. The phone connects
the calling party, and places the current party on hold.
2. Press SEND key again to switch between two parties.
Three-Way Calling
This feature enables you to conduct conference calls with two
separate parties at the same time. You are billed airtime for
each outgoing call separately.
Contact your service provider to activate Three-Way Calling.
To place a Three-Way call:
1. During conversation, press SEND key, enter the phone
number for the third party, and then press SEND key again.
The phone places the other party on hold.
2. When the third party answers, press SEND key again, to
connect with the original party.
Missed 001
04/29 1:45P

24 Digital Cordless Telephone 25
Digital Cordless Telephone
During a call, if you want to adjust the earpiece volume, use
the volume keys on the left side of the phone. Press to
increase and to decrease the volume.
In the idle mode, you can adjust the key tone volume using
the same keys.
Adjusting the Volume
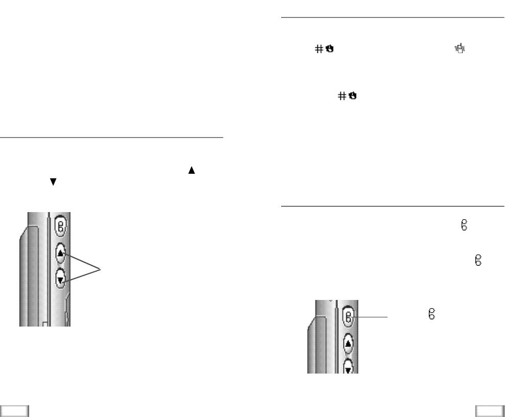
Press the keys to adjust
the volume.
Quick Switching to Vibration Mode
You can quickly switch your phone to Vibration mode with a
touch of key. Press and hold the key until icon and
-Vibrate- appears in the display. Your phone goes to the
vibration mode immediately.
Press and hold key again to resume the phone’s alert
type which was previously set through the Ring menu under
SOUND menu; see page xx for further details.
This feature is convenient when you are in a hurry to mute the
phone’s ringer in a theater for example.
You can access VOICE MEMO menu by pressing key on
the left side of the phone in the idle mode.
If you want to record voice memo, press and hold the key.
Your phone records voice up to 60 seconds while the key is
pressed and held.
For more information on VOICE MEMO menu, refer to page xx.
Recording Voice Memo
Press the when you
record a memo.
Call Forwarding
This feature provides the option of forwarding incoming calls
to another phone number, even while your phone is off.
Activating Call Forwarding does not affect outgoing calls
made from this phone. Contact your service provider to
activate Call Forwarding.

26 Digital Cordless Telephone 27
Digital Cordless Telephone
Using the Scroll Keys
The following keys are used to set menu option by scrolling
then selecting an option.
Key Purpose
MENU Enters the menu structure.
In the idle mode, moves to the next menu
in the main menu level and moves to the
next screen in the sub-menu levels.
In the menu mode, moves to the next
menu or option.
You can also use the or key on the
left side of the phone to move to the next
or previous option.
Access the menu displayed or the
highlighted option.
A three-level menu structure is available to set the various
options available on your phone. You can set the menu
options in two different ways.
Using the Menus
Example: Connecting the Record option in VOICE DIAL menu
1. Press MENU key to access the main menu.
2. Press MENU or key repeatedly until VOICE DIAL is
displayed, then press key. The VOICE DIAL menus
are displayed.
3. Press key to select Record highlighted. You are
connected to Record option.
Using the Index System
Each menu option is assigned a hierarchical number. You can
use this number to access the corresponding option directly.
Simply press MENU and key in the required number.
Example: Connecting the Record option in VOICE DIAL menu.
1. Press MENU key to access the main menu.
2. Press 5to access VOICE DIAL menu. The VOICE DIAL
menus are displayed.
3. Press 1to select Record. You are automatically connected
to Record option.
The numbers assigned to each option are indicated on the
following menu map.

29
Digital Cordless Telephone
28 Digital Cordless Telephone
Main Menu Menu Level 1 Menu Level 2
1. CALLS 1. Outgoing
2. Incoming
3. Erase Logs 1. Outgoing
2. Incoming
3. All
4. Air Time 1. Last Call
2. Total
3. Erase ToTal
2. PHONE BOOK 1. Find Name
2. My Phone #
3. Add Entry
4. Find Entry 1. Talk
2. Edit
3. Prepend
4. Erase
3. SOUNDS 1. Ring 1. Ring Vol
2. Ring Type
3. Ring Tone
2. Key Vol
3. Alert 1. MinuteBeep
2. SVC Area
4. RemindCall 1. Set
2. Release
5. Diff. Ring
4. DISPLAY 1. Backlight
2. Greeting
3. Version
4. Language
5. Contrast
Menu Map Main Menu Menu Level 1 Menu Level 2
5. VOICE DIAL 1. Record
2. REv/Erase
3. Erase All
4. Set Active
6. VOICE MEMO 1. Review 1. Replay
2. Erase
3. Next Memo
2. Record
3. Erase All
7. SETUP 1. Auto Retry
2. Auto Recv
3. AutoHyphen
4. Anykey Ans
5. ToneLength
6. Tone
7. Set Time
0. SECURITY 1. Lock
2. Restrict 1. Phone Book
2. Incoming
3. Outgoing
3. Lock Code
4. Emergency #
5. Send PIN
6. Clr Memory
7. NAM Mode 1. Manual NAM
2. Auto NAM
8. Block Own #
9. System Sel 1. FM
2. CDMA
0: ResetPhone

30 Digital Cordless Telephone 31
Digital Cordless Telephone
Outgoing
The phone stores up to nine outgoing calls you dialed. When
you access this menu, the list of outgoing calls are displayed.
To... Press...
Select an entry key
Dial the selected entry SEND key
View the date and time key
at which the call was dialed
and use option features
When you press key, you can view the date/time
stamp for the selected entry. If there is a Phone Book match,
the name displays.
Press MENU key to access Options. The following options are
available:
Talk: dials the selected number.
Show Entry (or Store if the phone number is not currently
stored in the Phone Book): shows Phone Book
entry or stores the number in the Phone Book.
Prepend:allows to add an area code or feature code to the
number before calling or saving the number.
You can use the CALLS menu to:
• View and dial the last outgoing or incoming numbers.
•Erase the numbers in the CallLog memory
• View the duration of calls.
Calls
MENU 1-1
Incoming
This option lets you view the last 9 calls received. When you
access this menu, the last of incoming calls are displayed.
To... Press...
Select entry key
Dial the selected entry SEND key
View the date and time key
at which the call was received
and use option features
When you press key, you can view the date/time
stamp for the selected entry. If there is a Phone Book match,
the name displays.
Press MENU key to access Options. The following options are
available:
Talk: dials the selected number.
Show Entry (or Store if the phone number is not currently
stored in the Phone Book): shows Phone Book
entry or stores the number in the Phone Book.
Prepend:allows to add an area code or feature code to the
number before calling or saving the number.
MENU 1-2

32 Digital Cordless Telephone 33
Digital Cordless Telephone
Find Name
The Phone book allows you to store frequently used phone
numbers and the associated names in your personal directory to
make it easy for you to make a call without having to remember
or enter the phone number. You can store up to 79 numbers.
Phone Book
Air Time
Using this option, you can view the call time of the last call,
as well as total air time for all calls since you last reset
the timer.
Last Call: length of the last call
Total Call: total length of all calls made since the timer was
last reset.
EraseTotal: resets the call timers.
Erase Logs
You can erase the numbers stored in the Call Log memory.
Outgoing: The numbers you called are erased.
Incoming: The numbers you received are erased.
All: All calls you dialled and received are erased.
MENU 1-3
MENU 2-1
MENU 1-4
This option displays the stored names in the Phone Book in
alphabetical list.
Press key to scroll to the desired name. You can also
enter the first letter of the name by pressing the associated
alphanumeric key. Using this method, the phone searches for
the names in the list beginning with that letter, and then dis-
plays the first name in that section of the list. If desired, you
can also enter the second letter in the name by pressing the
associated alphanumeric key.
When the desired entry displays, press SEND key to place a
call. If you press key, you can access the following
options:
Talk: dials the number.
Edit: allows you to edit phone number, name, or entry
number. Secret option prevents the number from being
displayed in the screen.
Prepend: prepends the number to add an area code or fea-
ture code to the number before dialing.
Erase: erases the number.
Note: You can locate Phone Book entries quickly when the
phone is in the idle mode. Press key to access
Find Name menu in one step and then press key
to scan entries.

35
Digital Cordless Telephone
34 Digital Cordless Telephone
My Phone Number
You can check your own phone number. If you have more than one
own phone number, press key to check the next number.
Note:You can block this feature by setting Block Own Number
option to ON. Refer to page xx.
MENU 2-2
Add Entry
Using this option, you can store a phone number with a name
in your Phone Book.
Enter the phone number and press key. The first
available location displays.
To accept the displayed location, press key. To select
another location, press key to scroll to the desired loca-
tion or enter the location number using number keys, then
press key.
To include a name with the phone number entry, enter the
desired name, then press key. For information on how
to enter a name, see page xx.
Storing Phone Numbers at Call End
To store a phone number following conversation:
1. Press key to end the call. The call time and the
phone number display.
2. To store the phone number, press key. The first
available location displays.
3. To finish this process, follow above mentioned instructions.
MENU 2-3
Find Entry
This option allows you to find an entry by location number.
Enter the location by pressing the number keys or press
key to scroll to the desired location, then press key to
display the selected entry.
When the desired entry displays, press SEND key to place a
call.
If you press key, you can access Options. For details
on Options, refer to Find Name menu on page xx.
MENU 2-4
Entering a Name
1. Press the key labeled with required letter.
Since each key has three or more letters, press the key
repeatedly the desired letter appears in the display.
2. Select the other letters in the same way.
Note: The cursor moves to the right when you press a
different key. When entering the same letter twice
(or a different letter on the same key), just wait for
a second for the cursor to move right automatical-
ly, and then select the next letter. You can also
move the cursor by using and keys .To
delete letters, press CLR key.

37
Digital Cordless Telephone
36 Digital Cordless Telephone
Ring
Ring Volume
This option allows you to adjust the ringing volume to one of
nine levels. You can also turn the ringer off. Use the or
key on the left side of the phone. The greater the number of
bars, the greater the volume. You will also hear a sample
tone.
Note: During an incoming call, you can mute the ringer by
pressing key.
Ring Type
This option allows you to indicate how you are to be informed
of any incoming calls. The following options are available.
Bell: The phone rings using the ring tone selected via the
menu option.
Lamp: Only the backlight is switched on; the phone neither
rings nor vibrates.
Vibrator: The phone vibrates but does not ring.
Vib + Bell: The phone both rings and vibrates.
You can use the Sounds feature to customize various sound
settings, such as the:
• Ring volume, type, and tone
• Alert sounds
Sounds
MENU 3-1
Ring Tone
This option allows you to select the required ringing tone. You
can choose between 20 different tones or melodies. Each time
you select a tone, it is played for a few seconds.
Key Volume
This option allows you to adjust the tone volume that the key-
pad generates when you press a key. You can also use or
key on the left side of the phone to adjust key volume in
the idle mode.
MENU 3-2
Alert
Minute Beep
With this menu option set to ON, the phone beeps every
minute during an outgoing call to keep you informed of the
length of your call.
Service Area
With this menu option set to ON, the phone beeps when you
are out of service area or when you return to a service area.
MENU 3-3

39
Digital Cordless Telephone
38 Digital Cordless Telephone
Remind Call
This option reminds you to call a specified number at a speci-
fied time, if you set the time and number. If the phone is
switched off at the specified time, the alert will not sound.
Set: You need to enter the number and time you want to be
reminded to call the number. The phone will sounds an
alarm at the specified time and displays the number. To
dial the number, press SEND.
Release: The option cancels the reminder.
MENU 3-4
Differential Ring
This option allows you to activate a unique ring to signal an
incoming call by a stored caller number.
You can specify up to 5 callers and select a unique ring type
for each caller from 20 different tones and melodies.
MENU 3-5
Backlight
You can select whether or not the phone uses the LCD back-
light. The following options are available.
8 SECONDS: The backlight comes on when you press a key
or receive a call and switches off 8 seconds
after the last key is pressed.
OFF: The backlight is not used.
Greeting
This option allows you to set a greeting message to be
displayed in the idle mode. It is preset to SAMSUNG. You can
change the greeting message according to your own prefer-
ence.
Enter your personal greeting up to 12 digits by using the
alphanumeric keys. For more information on entering a name,
refer to page xx.
Display
MENU 4-1
MENU 4-2

Digital Cordless Telephone
Digital Cordless Telephone 4140
Version
This option allows you to view the software version of your
phone.
Language
You can select a display language on your phone between
English and Hebrew.
MENU 4-3
MENU 4-4
Contrast
This option allows you to adjust the LCD contrast by using
or key on the left side of the phone.
MENU 4-5
Record
This option allows you to register numbers for subsequent
voice dialing. The phone provides voice prompts and screen
displays to guide you through the recording process.
Respond to the prompt by saying the name you want to save.
The phone stores the name as a first sample, and then
prompts for the name again.
Respond to the prompt by repeating the name after the beep.
The phone stores the name as a second sample, and then
requests the phone number.
Enter the phone number by pressing the digit keys.
To store the phone number, press key. The name (if
matched up to Phone Book) and number display, along with
the notification Recorded.
Tips on Recording Name
• Avoid recording similar names phonetically. If you record a
similar name to the one already in memory, the phone
requests another name.
You can call up to 20 stored entries by speaking the name into
the microphone. Before using the Voice Dialing feature, you
must record the name in your phone.
Voice Dial
MENU 5-1

Digital Cordless TelephoneDigital Cordless Telephone 4342
• Speak clearly and natural.
•The person who will use the phone should record the name.
The phone does not recognize the name if the voice sounds
differently.
• Avoid too long or too short name. It is recommended to con-
tain 2 to 5 syllables.
• Voice dial feature is available only in CDMA mode.
•If this feature does not work properly, erase the name, and
record with another name.
•It is recommended to practice several times to obtain best
result.
• You can record up to 20 names. If you record more than 20,
the phone announces ’Memory is full’.
Review/Erase
This option allows you to check or erase an individual voice
dial entry. A list of entries displays.
Press the digit key to select the desired entry, or press the
key to scan entries
When you select the desired entry, the recorded name plays
audibly.
If you want to erase the selected entry, press key
MENU 5-2
Erase All
This option allows you to delete all voice dialing entries.
Press key, when you asked to confirm. Otherwise,
press CLR or key to exit the function without delet-
ing the voice dialing entries.
MENU 5-3
Set Active
Voice Dialing is always active once you have recorded a name
and have entered the associated phone number. To place a
call using Voice Dialing, simply press and hold key in
the idle mode and then say the name into the phone after you
hear the prompt.
You can also initiate a Voice Dialing call just by opening the
flip, when you select this option.
[ ] only: Enables Voice Dialing only by pressing and holding
key.
[ ]/Flip: Enables Voice Dialing by pressing and holding
key or by opening the flip.
MENU 5-4

45
Digital Cordless Telephone
44 Digital Cordless Telephone
Review
This option allows you to play back all memos recorded, start-
ing with the most recent memo. The screen displays the label
if you have entered. If not, the screen displays the date and
time when the memo was recorded.
While the memos are playing, the following options are avail-
able.
Replay: plays the current memo once again.
Erase: erases the memo currently being played.
Next Memo: skips to the next memo.
Record
This option allows you to record a memo. You can record up
to 10 different memos.
Press and hold key on the left side of the phone. While you
hold down the key, you can record a memo for a maximum of
60 seconds.
To stop recording, just release the key. The following options
display.
Add Label:allows you to add a label for the memo you have
just recorded. Enter a proper name up to 12 digits
using the number keypad. If you do not add label,
the recorded date and time will be used to identi-
fy the memo.
Continue: allows you to continue recording the memo.
Erase:allows you to erase the memo you have just
recorded.
Erase All
This option allows you to erase all the memos. Press
key when you are asked to confirm.
You can use the Voice Memo feature to:
• Record up to 10 voice memos
• Play the recorded voice memos
• Erase one or all voice memos
Voice Memo
MENU 6-1
MENU 6-2
MENU 6-3

47
Digital Cordless Telephone
46 Digital Cordless Telephone
Auto Retry
With this menu option set to ON, when you place a call and
the call does not connect, your phone continues to place the
call to the entered phone number.
Many different features of your phone can be customized to
suit your preferences.
Setup
MENU 7-1
Auto Receive
With this menu option set to ON, the phone automatically
answers calls.
When a call comes in, your phone will answer the call auto-
matically after 2 rings. The feature does not work if you have
chosen Vibrate or Off as your ring volume.
MENU 7-2
Auto Hyphen
With this menu option set to ON, your phone automatically
hyphenates numbers as follows: 123-456-7890.
Digits following a pause are not hyphenated.
MENU 7-3
Any Key Answer
With this menu option set to ON, you can answer an incom-
ing call by pressing any key except key.
MENU 7-4
Tone Length
Some phones you call can recognize only longer tones. You
may have to change the length to LONG for some calls.
When calling a paging system, your phone should be in the
SHORT mode.
MENU 7-5
Tone
Release Tone: You can set your phone to sound the release
tone when a call is released or dropped.
Connect Tone: You can set your phone to sound the connect
tone when your call is connected to the sys-
tem.
MENU 7-6
Set Time
The option enables you to set the current date and time. Enter
the time and date.
The current time, if set, displays. The month, day, hour and
minute must be entered with 2 digits. The year requires all
four digits. If you do not input the time or you input the wrong
time, Invalid Time displays.
MENU 7-7

48 Digital Cordless Telephone 49
Digital Cordless Telephone
Lock
Locking the phone restricts outgoing calls to emergency num-
bers.
The following options are available:
OFF: the phone remains unlocked.
NOW: the phone locks immediately
ON POWER-UP:the phone locks automatically at the next
power-up.
To place an emergency call on Lock mode:
• To call an emergency number, enter the number and then
press SEND key.
• To place normal outgoing calls, press MENU key to display
the Lock Code screen, and then enter the lock code. When
the Standby screen displays, enter the phone number, and
then press SEND key.
Lock Code
This feature allows you to change your current lock code to a
new one. The lock code is preset to 0000 at factory.
Enter a new, four-digit lock code.
Restrict
This feature allows you to restrict your calls. Call Restriction
can be set up in the following ways.
Phone Book: the phone restricts the use of the Phone Book.
Incoming Call: calls cannot be received.
Outgoing Call: calls cannot be made.
Each option can be restricted or unrestricted individually.
Your phone provides many security options, including a user-
programmable lock code, and call restriction features.
To access the security menu, you must enter a four-digit lock
code.
Security
MENU 0-3
MENU 0-2
MENU 0-1
Emergency Number
This feature allows you to call to emergency numbers when
the phone is locked or when the outgoing call is restricted.
This menu provides the option of storing three emergency
numbers. Select a location and enter the desired number.
To dial emergency numbers in Lock mode; enter the
emergency number, then press SEND key.
MENU 0-4

50 Digital Cordless Telephone 51
Digital Cordless Telephone
NAM Mode
The NAM (Number Assignment Module) enables you to sub-
scribe to one or more service networks.
The following options are available:
Manual NAM: You set the phone to the network you want to
use. You can select a NAM from a maximum
of 4 NAMs. If you select a new network man-
ually, the phone shows the greeting message
and sounds the starting beep, and then
returns to the Standby mode. For details, con-
tact your service provider.
Auto NAM:The phone selects the networks automatically
based on system information for the area you are
in.
Clear Memory
This menu option allows you to erase all numbers in the
Phone Book memory.
Send PIN
This feature prevents the phone from being used by unautho-
rized persons. The feature is only available when if your sys-
tem supplier provides this service and you have a PIN
assigned by the system supplier.
These options are available:
Never: The option is not activated
Prompt:When you make a call, you are asked to send PIN.
For information in this service in detail, contact your service
provider.
MENU 0-7
MENU 0-6
MENU 0-5
Block Own Number
This feature allows you to block your own number display, and
others cannot view your phone number. If you turn this feature
on, the message Blocked for phone number displays when
the My phone # feature is accessed.
MENU 0-8

52 Digital Cordless Telephone 53
Digital Cordless Telephone
System Selection
With this menu option, you can select the system service
mode between FM (analog) and CDMA (digital). Each service
mode allows you to select a roaming option. Roaming is a
feature which is only relevant in areas where there are at
least two cellular service providers and having valid roaming
agreements.
Roaming, when available, allows you to register your phone
on one of the networks, but use the facilities of the other if
your own network is not available. This system priority
feature allows you to program your phone for optimum
operation when within your home service area or when
outside your home service area.
Contact your home cellular service provider for information on
the availability of this feature and roaming agreements they
have with other cellular service providers.
There are five different roaming options:
A Only: the phone uses A system only.
A Pref: the phone tries A system first, then tries the other.
B Only: the phone uses B system only.
B Pref: the phone tries B system first, then tries the other.
Home Only:the phone uses your home network only.
Reset Phone
With this menu option, you can easily reset your phone to its
default configuration. Also, all phone memories are cleared.
MENU 0-0
MENU 0-9
Voicemail
The screen displays Voicemail, the time, date and the num-
ber of new, unread messages.
Press MENU key to access the following options.
Listen: You can listen to the voicemail.
Reset: You can reset the counter for voicemail messages, if
desired. (The system resets the counter automatically
after you listen to all new messages.).
Your phone receives voicemail notification, text messages,
and pages. And your phone transmits text messages and
pages if your system supplier provides this service. When the
phone receives a message, an alert sounds, and a text notifi-
cation displays. The icon remains on the screen until you
read the pending text messages or until you listen to the
voicemail notification messages
Your phone can store up to 20 pages and text messages,
depending on the length of the message. If the message
memory is full, an error message is displayed and you cannot
receive any new messages. Delete obsolete messages.
Messages
1

55
Digital Cordless Telephone
54 Digital Cordless Telephone
Page
An indexed list of page messages displays. An exclamation
point next to an entry indicates an urgent message. A check
mark next to an entry indicates that you have read and stored
the message.
Select the desired message to review, then press OK key.
After reviewing the message, press MENU key to access the
following options.
Talk: To call the phone number.
Save: To store the phone number in your Phone Book.
Next: To review the next message.
Previous: To review the previous message.
2
Text
An indexed list of text messages displays. An exclamation
point next to an entry indicates an urgent message. A check
mark next to an entry indicates that you have read and stored
the message.
Select the desired message to review, then press OK key.
After reviewing the message, press MENU key to access the
following options.
Talk: To call the phone number.
Save: To store the phone number in your Phone Book.
Next: To review the next message.
Previous: To review the previous message.
3
Alert
The phone alerts you when a message is received. You can
choose how frequently this happens. The three options are :
EVERY 2 MIN,OFF,ONCE.
4
Erase All
This menu option allows you to erase all stored messages.
5

57
Digital Cordless Telephone
56 Digital Cordless Telephone
Your phone is powered by a rechargeable Li-lon 1000 mAh
standard battery.
The following batteries are also available (ask your SAM-
SUNG dealer for further details):
– SLIM battery (600 mAh)
– STANDARDbattery (1000 mAh)
– LONG-LIFE battery (1600 mAh)
Precautions When Using Batteries
•Never use any charger or battery that is damaged in any
way.
•Use the battery only for its intended purpose.
•If you use the phone near the network’s base station, it
uses less power; talk and standby times are greatly affect-
ed by the signal strength on the cellular network and the
parameters set by the network operator.
•Battery charging times depend on the remaining battery
charge and the type of battery and charger used. The bat-
tery can be charged and discharged hundreds of times, but
it will gradually wear out. When the operation time (talk
time and standby time) is noticeably shorter than normal, it
is time to buy a new battery.
•If left unused, a fully charged battery will discharge itself
over time.
Using the Batteries
Batteries
Three types of Li Ion batteries are available for use with your
phone:
• SLIM Battery
• STANDARD Battery
• EXTENDED Battery
Dual-Slot Desktop Charger
The Dual-Slot Desktop Charger Charges the battery at your
home or office.
Cigarette Lighter Adapter
The Cigarette Lighter Adapter charges your phone in a vehicle
while you drive and enables you to operate the phone from a
vehicle cigarette lighter socket.
Travel Charger
The Travel Charger plugs into a wall outlet and enables you to
charge a single battery at your home or office or while traveling.
Hands-Free Car Kit
The Hands-Free Car Kit provides safety, freedom and conve-
nience in your vehicle. (Kit includes Cradle and Microphone.)
Ear-Microphone
The Ear-Microphone includes both the earpiece and microphone
in a convenient, lightweight unit.
RS-232C Cable
????
Accessories

Road Safety
• Remember, road safety always comes first!
•Do not use a hand-held phone while driving a vehicle.
Always park the vehicle before having a conversation.
•Make sure that the phone is stored safely and will not fall
or be broken in the event of a collision or emergency stop.
•The use of an alert device to operate a vehicle’s lights or
horn on public roads is not permitted.
•Only qualified personnel should install or service the phone
in a vehicle. Faulty installation or service may be danger-
ous and may invalidate any warranty applicable to the unit.
•Electronic fuel injection, anti-skid braking, electronic cruise
control or any other electronic systems may malfunction
due to the lack of protection from radio signals. Check reg-
ularly that all cellular phone equipment in your vehicle is
mounted and operating correctly.
Operating Environment
•Remember to follow any special regulations in force in any
area and always switch off your phone whenever it is for-
bidden to use it, or when it may cause interference or dan-
ger (in a hospital for example).
Safty Informatiom
•Use only Samsung-approved batteries and recharge your
battery only with Samsung-approved chargers. When a
charger is not in use, disconnect it from the power source.
Do not leave the battery connected to a charger for more
than a week, since overcharging may shorten its life.
•Extreme temperatures will affect the charging capacity of
your battery: it may require cooling or warming first.
•Do not leave the battery in hot or cold places, such as in a
car in summer or winter conditions, as you will reduce the
capacity and life-time of the battery. Always try to keep
the battery at room temperature. A phone with a hot or
cold battery may temporarily not work, even when the bat-
tery is fully charged. Li-lon batteries are particularly
affected by temperatures below 0 °C (32 °F).
•Do not short-circuit the battery. Accidental short circuiting
can occur when a metallic object (coin, clip or pen) causes
a direct connection between the + and - terminals of the
battery (metal strips on the back of the battery), for exam-
ple when you carry a spare battery in a pocket or bag.
Short-circuiting the terminals may damage the battery or
the object causing the short-circuit.
•Dispose of used batteries in accordance with local regula-
tions. Always recycle. Do not dispose of batteries in a fire.
59
Digital Cordless Telephone
58 Digital Cordless Telephone

61
Digital Cordless Telephone
60 Digital Cordless Telephone
Care and Maintenance
Your phone is a product of superior design and craftsmanship
and should be treated with care. The suggestions below will
help you fulfill the warranty obligations and enjoy this product
for many years.
•Keep the phone and all its parts and accessories out of the
reach of small children.
• Keep the phone dry. Precipitation, humidity and liquids con-
taining minerals will corrode the electronic circuits.
•Do not use or store the phone in dusty, dirty areas as its
components may be damaged.
•Do not store the phone in hot areas. High temperatures can
shorten the life of electronic devices, damage batteries and
warp or melt certain plastics.
•Do not store the phone in cold areas. When the phone
warms up (to its normal temperature), moisture can form
inside the phone, which may damage the electronic cir-
cuits.
•Do not attempt to open the phone. Non-expert handling of
the phone may damage it.
•Do not drop or knock the phone. Rough handling may dam-
age the internal circuits.
•Operation of any radio transmitting equipment, including
cellular phones, may interfere with inadequately protected
medical devices. Consult a physician or the manufacturer
of the medical device if you have any questions. Other
electronic equipment may also be subject to interference.
•As with other mobile radio transmitting equipment, you are
advised that for satisfactory operations and personal safe-
ty, the equipment should only be used in the normal oper-
ating position.
•Always switch off the phone when at a refuelling point
(service station). You are reminded of the need to observe
restrictions on the use of radio equipment in fuel depots
(fuel storage and distribution areas), chemical plants or
where blasting operations are in progress.
•Do not store or carry flammable liquids, gases or explosive
materials in the same compartment as the phone, its parts
or accessories.
•Switch off your cellular phone when in an aircraft. The use
of cellular phones in an aircraft is illegal and may be dan-
gerous to the operation of the aircraft or disrupt the cellu-
lar network. Failure to observe these instructions may lead
to the suspension or denial of cellular telephone services
to the offender, legal action or both.

63
Digital Cordless Telephone
62 Digital Cordless Telephone
Airtime -Actual time spent talking on the wireless phone.
Most carriers bill customers based on how many
minutes of airtime they use each month.
Antenna -A device for transmitting or receiving signals. The
size and shape of antennas is determined, in part,
by the frequency of the signal they receive.
Wireless phones and the base station must have
antennas.
Base Station -The fixed radio transmitter/receiver that main-
tains communications with mobile radio tele-
phones within a given area. (Typically seen as
cell or cell site)
CDMA -(Code Division Multiple Access) A spread-spectrum
approach to digital transmission. With CDMA, each
conversion is digitized and then tagged with a code.
The mobile phone deciphers only a particular code to
pick the right conversation off the air. The transmit-
ted signal is just above noise level across the avail-
bale bandwidth.
Channel - Communications signals transmit along paths
called channels.
Codec - COmpression & DECompression.
Deactivation -The process of rendering a wireless phone
inactive.
DTMF - (Dual-tone Modulated Frequency ) You send DTMF
signals when you enter numbers by pressing the digit
keys.
Glossary of Terms
•Do not use harsh chemicals, cleaning solvents or strong
detergents to clean the phone. Wipe it with a soft cloth
slightly dampened in mild, soapy water.
•If the phone or any of its accessories are not working prop-
erly, take them to your nearest qualified service centre. The
personnel there will assist you, and if necessary, arrange
for the phone to be repaired.
Emergency Calls
Important!This phone, like any cellular phone, uses radio
signals, cellular and landline networks, as well
as user-programmed functions that cannot
guarantee connection in all conditions.
Therefore, you should never rely solely on any
cellular phone for essential communi-cations
(medical emergencies for example).
Remember, to make or receive any calls, the phone must be
switched on and in a service area with adequate cellular sig-
nal strength.
Emergency calls may not be possible on all cellular phone net-
works or when certain network services and/or phone fea-
tures are in use. Check with local cellular service providers.

65
Digital Cordless Telephone
64 Digital Cordless Telephone
EVRC -(Enhanced Variable Rate Codec) EVRC is a new global
standard for compressing and decompressing voice
signals. EVRCuses a lower bit rate (the number of bits
sent per second) than existing CDMA vocoders, while
providing significant improvements in voice quality.
This technology enables your phone to provide superb
voice quality while benefiting from the ability to
process more cellular voice calls using less bandwidth
than the voice codecs in CDMA networks today.
Frequency -A measure based on time, as one or more waves
per second, in an electrical or light wave infor-
mation signal. A signal’s frequency is stated in
cycles-per-second or Hertz (HZ).
Hands-Free -A feature that permits a driver to use a wire-
less phone without lifting or holding the hand-
set - an important safety feature for automo-
biles, tractors and most other motorized vehi-
cles.
LCD -(Liquid Crystal Display) Commonly used to refer to the
screen display on the wireless phone.
LED -(Light Emitting Diode) Commonly used to refer to a
small light on the wireless phone or on the Desktop
Charger. The LED lights on the phone to indicate an
incoming call. The lights on the charger to indicate that
battery charging is taking place.
Prepend -The addition of a prefix, such as an area code, to a
phone number.
RF - Radio Frequency
Roaming -The ability to use a wireless phone to make and
receive calls in places outside of the home service
area.
Service Charge -The amount paid each month to receive
wireless service.
Standby Time -The amount of time a fully charged wireless
portable or transportable phone can be on
and idle without being in use. (See Talk Time)
Talk Time -The length of time a person can talk on a
portable or transportable wireless phone without
recharging the battery.
Vocoder - Voice Coder. A device used to convert speech into
digital signals.
Voicemail -A computerized answering service that answers
a call, plays a greeting and records a message.
Depending on the sophistication of the service, it
can notify the subscriber, via a pager, of an
incoming call or message. (Also called voice
messaging)
Wireless -Radio-based Systems that allow transmission of
telephone or data signals through the air without
a physical connection, such as a metal wire (cop-
per) or fiber optic cable.

67
Digital Cordless Telephone
66 Digital Cordless Telephone
A
Answering a Call xx
Alert xx
Analog Call Option xx
Aircraft xx
Accessories xx
B
Battery vv
Battery Charge Indicator xx
Battery Disposal and Recycling xx
Basic Operations xx
Basic Operations of Your Phone xx
Backlight Control xx
Block Own Number xx
Blasting Areas xx
Batteries xx
C
Charging the Battery xx
Caring for the Battery xx
Call Quality xx
Correcting a Misdialed Number xx
Call Waiting xx
Call Forwarding xx
Calls Options xx
Checking Recorded Name xx
Call Restriction xx
Clear Memory xx
Choosing Alert Type for Message Receiving xx
Compliance with Safety Standards xx
Cigarette Lighter Adapter xx
Charging Times with Accessories xx
D
Description of Your Phone vv
Display Messages xx
Dual-Slot Desktop Charger xx
Differential Ring xx
Display Options xx
Displaying Your Phone Number xx
Dialing from the Phone Book xx
Dialing Emergency Numbers xx
Driving xx
Dual-Slot Desktop Charger xx
E
Emergency Dialing xx
Ending a Call xx
Erasing Call Logs xx
Editing Phone Book Entries xx
Erasing Phone Book Entries xx
Erasing Voice Dialing Entries xx
Emergency Numbers xx
Erasing Messages xx
Electronic Devices xx
Earbud Headset xx
Index

68 Digital Cordless Telephone 69
Digital Cordless Telephone
F
Features xx
Finding Entries by Location xx
Finding Entries by Name xx
G
Getting Stared vv
Glossary of Terms xx
I
Installing the Battery xx
Index xx
K
Key Functions xx
Key Beep xx
L
Lock Mode xx
Lock Code Setting xx
Locking the Phone xx
M
Menu Organization xx
Main Menu Structure xx
Memory Dialing Shortcuts xx
Message Services xx
N
NAM Selection xx
O
Overview of the PhoneBook vv
Other Options xx
Other Dangerous Areas xx
P
Pacing Calls xx
Prepend Dialing xx
Personal Greeting xx
Phone Book xx
Placing a Call (using Voice dialing) xx

71
Digital Cordless Telephone
70 Digital Cordless Telephone
R
Removing the Battery xx
Receiving Calls xx
Reviewing Airtime xx
Ring Volume xx
Ring Type xx
Ring Tone xx
Remind Call xx
Reviewing Voice Dialing Entries xx
Reset Phone xx
Reviewing Messages xx
Reviewing Voicemail Messages xx
Reviewing Page and Text Messages xx
S
Screen Display xx
Status Indicators xx
Standby Mode xx
Sounds Options xx
Selecting Display Languages xx
Setup Options xx
Setting Current Time xx
Storing Phone Numbers xx
Storing Phone Numbers at Call End xx
Storing Secret Numbers xx
Security Options xx
Security Menu xx
Short Emergency Numbers xx
Send PIN xx
Short Message Services and Voicemail xx
Safety xx
T
Turn On/Off xx
Three-Way Calling xx
The Menu xx
Tracking Calls Through Call Logs xx
Tips on Recording Name xx
Transmitting Messages xx
Transmitting Page and Text Messages xx
Transmission Using Stored Messages xx
U
Using Voice Dialing xx
V
Version Display xx
Viewing Stored Entries xx
Voice Dial xx
Voice Dialing xx