Seba Dynatronic Mess und Ortungstechnik LOGRIP Radio Interface For Communication With LOG N-3 User Manual
Seba Dynatronic Mess- und Ortungstechnik GmbH Radio Interface For Communication With LOG N-3
User manual

User Manual
GSM Transmitter
Sebalog GT-3-S
!"#! $%$&
'(!)"*
!)'+")")
*!,-,
.!!*
##*,
##"!*
/!),
0!!*
!,
!1#
+)!)
++")


&
Consultation with SebaKMT
2! 1# # ')' 2!) )' ' 3!
!3!"4#!1!5'61!2!#3'
1 1 24 . ! !3!!) # ' 1 !
""!4
') 7 #* 3 3 " ' !' !6 2!)!2
)! 4 8!!#!7 ""* !# ' "" 3 !#
66'4
'15!#!'!'1'23!,'
!6"72""
Seba Dynatronic
Mess- und Ortungstechnik GmbH
Hagenuk KMT
Kabelmesstechnik GmbH
9!4:!!!4;
9<;$="
.><<%;$?
8@><<%&
/A'!
9/'!)9!'
.><&%$$?
8@><&%$$<
B*#4"#
24*#4"#
!)!!6'42!3'*#1"2'12)!2"!!#
63!''"!'!"!)4"3'*C"")
"4 " #' 3! "" ! 2!) !!! ! !"#) 3 '*4
'"#!213!'#)!)'!"1!'!"13!#'6!172217
!3#!4

!#30!!1
Terms of Warranty
""2 !21 3! "# '! !!1 !) 3!!' 1
"#!3!2!'"'1'!!#'4
!! # 3 '6!1 2!'" ! 3! 3!#
#3"!) ! #! '3" " #) "'!1 !'" ! 6 !
14 !!1 ' 221 3 3! 22'4 9!)
2!'3!!17)!!2!312!!!2"#2!
!2!#1'32!""!')!""4
!!1'"6!!2!7#2737!'""#!4
!C"3!!"#'!!!172!"!3!#"5
'#)4 " "#2 ' 2!'" !2"' ""!'" !!1
"#2!2!134
!!1"#6!!!1#'2!'3#3!#
' 3 '6!14 " "#2 22' 1 "@ 3
!!1"6!'1!!13!!#)2!'3#3!<
'14
" #! !#'1 "# '! !!1 @"61 "!!' 1
!!,'!6"4
!!1'22113!'#)"'1@2)2!'"
"'""!'"2"3"71!)7!2!)7!)
#2!2!17!6)!6"'!'1!*2!,'14
!21 '"#' 3! '#) ' !7 3 D'7 ! ""
3!)"#24
8! '#) !) 3!# 6 3 ! '1 !2! ! !221 #7
"#'1"36!))"!4 11
3!)))"'"#'4
"#'@"!#3#2'!!1!3
"5 '#)7 # 3 1 '"!' 6 2!2 #1
22114

!#30!!1
%
Contents
Consultation with SebaKMT ........................................................................................... 3
Terms of Warranty ........................................................................................................... 4
1
Safety Instructions ........................................................................................... 7
4
D!31!"'0!)444444444444444444444444444444444444444444444444444444444
4
D!4444444444444444444444444444444444444444444444444444444444444444444444444444444444444444444444444444
2
Technical description ...................................................................................... 9
4
96"')44444444444444444444444444444444444444444444444444444444444444444444444444444444444444444444444444444<
4
8"444444444444444444444444444444444444444444444444444444444444444444444444444444444444444444444444444444444444
4&
##"444444444444444444444444444444444444444444444444444444444444444444444444444444444444444444444444
4&4
+(D/+(D/>!!3"3!"#2!444444444444444444444444444444444444
4&4
/'!&!!3"3!"#2!444444444444444444444444444444444444444444
4
.!2214444444444444444444444444444444444444444444444444444444444444444444444444444444444444444444444444444
4%
""'44444444444444444444444444444444444444444444444444444444444444444444444444444444444444444444444444&
4;
"'''6!14444444444444444444444444444444444444444444444444444444444444444444444444444444444444444444&
3
Inserting the SIM card / changing the battery ............................................. 15
4
Switching the GT-3-S on/off .......................................................................... 19
5
Preparatory work in the office ...................................................................... 21
%4
!*78.!6!7#""7"444444444444444444444444444444444444444444444
%4
!)"!'D&444444444444444444444444444444444444444444444444444444444444444444
%4&
.!2!)))!444444444444444444444444444444444444444444444444444444444444444444444444444444444444444444444
%4
")!!3".22444444444444444444444444444444444444444
%4%
6)""'3!8.!6!'#""9E&
3!444444444444444444444444444444444444444444444444444444444444444444444444444444444444444444444444444444444444
%4;
/)!)'6"9E&3!4444444444444444444444444444444444444&
%4;4
!'"4444444444444444444444444444444444444444444444444444444444444444444444444444444444444444444444444444444&
%4;4
"),!"!)44444444444444444444444444444444444444444444444444444444444&
%4;4&
!))!2''')D&444444444444444444444444444444444444444444444444444444444444
%4
.!)!##)D&444444444444444444444444444444444444444444444444444444444444444444444444444444444%
%44
="2!"'!44444444444444444444444444444444444444444444444444444444444444444444444444444444444444444444444%
%44
@23!D2'4444444444444444444444444444444444444444444444444444444444;
%4$
.!3!#)D4444444444444444444444444444444444444444444444444444444444444444444444444444444444444<
6
GT-3-S activities performed at the installation site .................................... 31
;4
!'"4444444444444444444444444444444444444444444444444444444444444444444444444444444444444444444444444444444&
;4
")!'")D&4444444444444444444444444444444444444444444444&
;44
")DD.!D&4444444444444444444444444444444444444444444444&
;44
")D&4444444444444444444444444444444444444444444444444444444444444444444444444444444444444444&
;4&
'')))!D&)!24444444444444444444444444444444444444444444444444444444444444444&
;4
)'6"3444444444444444444444444444444444444444444444444444444444444444444444444444&&

!#30!!1
;
;44
)))!4444444444444444444444444444444444444444444444444444444444444444444444444444444444444444444444&&
;44
)D&4444444444444444444444444444444444444444444444444444444444444444444444444444444444444444444444&&
;4%
.!)!##)))!+)&4444444444444444444444444444444444444444444444444444444444444&
;4;
.!)!##)2!!))!+).&.�&%
;4
')"3)!D&4444444444444444444444444444444444444444444444444444444444&;
;4$
1"!)D&D.4444444444444444444444444444444444444444444444444444444444444444&
;4<
F+*)GD&))!444444444444444444444444444444444444444444444444444444444444444444444444444444&
;4
.!3!#)D'")344444444444444444444444444444444444444444444444&$

31!"
1 Safety Instructions
1.1 General Safety Instructions and Warnings
•
9'!2'6"1#H"#2!C"#
!)#2"!#"""*4
•
#'"!''!""9#1@"''4
•
'6"1##""12!3""'3!
#!#4
1.2 General Notes
# " " !" 3! "##) ' 2! 3
'6" 1#4 8! !7 #2! ! # 1
6 !' ' !' 2!!4 : ' !' #
!)14#3"!!3!'#)#!!#'
!6"3!"'31'6"2!6''1#4
+"1221)!)6!6'I
3) ) !' ' 1# ! ' # ' 2!'"
3
Signal word /
symbol
Description
CAUTION '"2,!'"#1!#'!!#!
C!136''4
NOTICE '"2,!'"#1!#!'#)3
6''4
!6))!)'31!"4
!)2!'"''!
2,!'"66''1!')#4
!6))#2!3!#'32
2!3'6"1#48!!6#1'
#!#!4
"* " 3 2"*) 3! "#2 ' 6 '#) !) 3!
!"24"36'#)7'6"#'!"!"#"*
2!4 3 #) #) ! '#)'7 2 "" 1! "
!2!64
#2!!6)!122"!)3"!1"
'6"2!'7"!!""'2!6!)
'!"#21'!"6!*72!)'31!)4
J ) ""! ! 1# 31 ' ! 2!4 3
!2!2!#''6'!!14
/2!'#"!*"!!'1!!'!6"
2!! ) !) 2! 2! 14 !"##' 6) 1#
''#'!6""!"1!4
33!"#!!6"4.""1!!6""!3
''4
Safety precautions
Labelling of safety
instructions
Check contents
Working with products
from SebaKMT
Repair and
maintenance

31!"
$
#!3'6"!')!)'4!2!3!
6'3'6""""!C"!)'
J'/)F!2!39)!D'GD 44
. 3!# 1!3 !2! !5!# ' 3 #
22)'6"4
'6" ')' 3! '! 4 0 ' # "' "
!3!"!52#7"!'!64
!3!" 6 3!# "#2 # "!6 = 6) !7
!'6"#2#"!6 '!!""!')%%4
D6 6) ! ! 33"1 3! 1 3!# 2' ! 3 2!
'!!752#6)!#2!'4
1.3 FCC label / IC label
'6"1#"#2 .! %3 8 /' '!1 '"
@#2 / '!'4 (2! C" 3) "'
'6"1##1 "!#3 !3!"7' '6"1##""21
!3!"!"6'7"')!3!"#1"'!'2!4
+ 2!K 22! "3!# @ / 'L'! ' 22" @ 22! !'
@#2'""4+L@2!K@'@"'6L22!
' 2 2!'! ' !)7 L! ' L22! ' ""2! !)
!'K"!57#M#!)"2'L"#2!#!3"#4
)!#'3"@2!122!6'12!1!23!"#2""'
6'!L!12!52#4
(52#''3'"#21#3!=')
'6"72!2!%3 8/4#! ')'2!6'!
2!" ) !#3 !3!" !' 4 52# )!7
'"!'!'3!5"1!)1'73'''""!'"
!"7 #1 " !#3 !3!" !' "##"4 :6!7 !
)!!3!"""!2!"!4352#'"
!#3 !3!" !' ! 6 !"27 " " '!#' 1 !)
52#33'7!"!)'!1"!!"!3!"1!#!3
3)#!
N/!!!"!"6)4
N"!2!52#'!"6!4
N"52#"!"'33!3!#"
!"6!""'4
N'!!@2!"'!'E""3!24
J!3!#""48%4
Changes or modifications not expressly approved by the party responsible for compliance
could void the user's authority to operate the equipment.
.!%#""48%4</D&"444&
This device complies with Part 15 of the FCC Rules and with Industry Canada license-exempt
RSS standard(s). Operation is subject to the following two conditions: (1) this device may not
cause harmful interference, and (2) this device must accept any interference received,
including interference that may cause undesired operation.
This equipment should be installed and operated with a minimum distance of 20
centimeters between the radiator and your body.
Special transportation
requirements
Electromagnetic
radiation
GT-3-S
LOG RI+

""'"!2
<
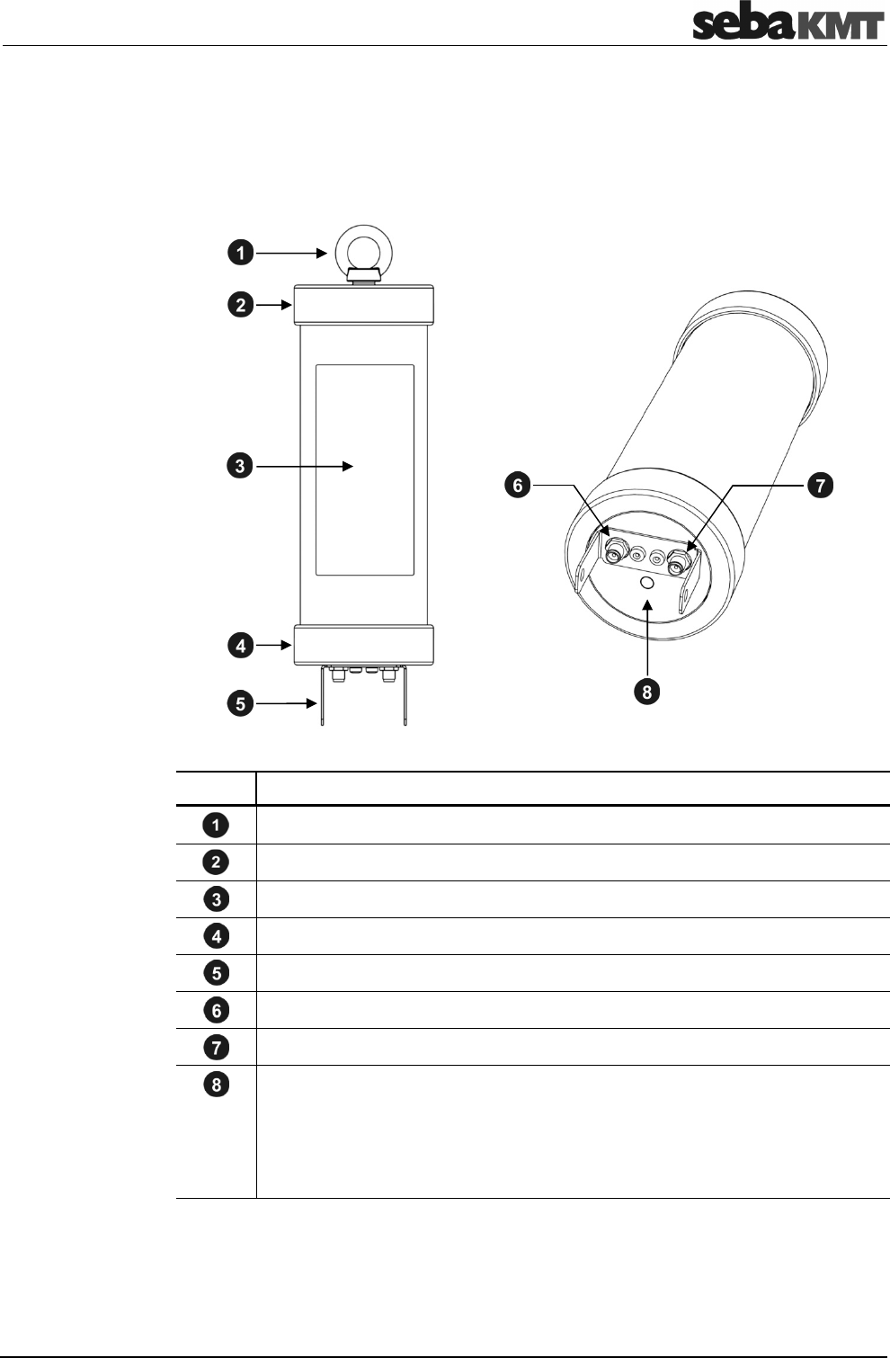
2 Technical description
2.1 Device design
D&3)"!'@!3!
Element
Description
Cover plug with suspension ring
Top cover ring
Type plate with the device identification number (ID)
Bottom cover ring
Protective bracket
GPS socket for aerial connection
GSM socket for aerial connection
On/Off contact field (magnetic switch) and status LED
@!'7&@)! 444
0"'
8 444
96""''!'13!!#
/# 444
9)!#'
O7!' 444
0)"'33
External features

""'"!2
!F"6!!)G2'#'3D&!2"614
!) ! "!' ) 1 # 3 ' !'4 1 ! '
"!"6!!3'6"7''6")14
2"6!!) #12'"""!''!14
NOTE
The bottom cover ring must NEVER be opened.
(!7"!""#2'6"#1'#)'4
3"6!!)"!'1171)!"*!
'#)'4"7'6")!6''4
2.2 Function
D& '6" "#2"7 !2!3 D #' !" 3
!)14''7'6"522'!D.!"6!4
•
D&'!3"#!*3!+(D&6
))!
•
+(D.&2!!))!
D&3)3"3!))!"""'
•
/)!2'3#!''8.!6!@'1
•
/)!!#3#!''1#
•
')!##)1#!'!@"''
•
'31)'6)D.2
J2!))!"""'D&##4
2.3 Communication
D& 3! )!' DD./ #'#7 ' )!' !
#'3!!!)!'4
!!)!''3!
•
##"D&'))!""'
•
##"D&'.22
!!3"#""'"#2!?3)
"
#!*'3!
•
!3!3'#!'1))!3!#D&8.!6!
•
')#)1#
Cover rings

""'"!2
2.3.1 LOG RI / LOG RI+ wireless interface for the computer
F+(D/G '6" "#2"7 '!' ! !3" 3! '6"
)!4
F+(D/>G ! !3" 6 ""!1 3!# 4
"!+(D/7'6"#!2!3!#'
)!!!!)4
Log RI Log RI+
+(D/+(D/>1""'"#2!)J=2!4!
#"14 '6" #"1 !")' 1 "#2! '
##'1!'12!'""4!)'#'4
+(D/+(D/>'6"522'+9'"!
•
8@!'7@)! P 0"'
•
+)2 P 9!)!'2!
•
+)2!' P 3"
0 !"##' 1 2!) '6" 3!#!4 3!#
2')'6"3!#!"3'!2"62!)#3!
!2!!))!4
2.3.2 Reader-3 as a wireless interface for the computer
F/'!&G!')'6"3!#"'!!3"4
" '6" "#2! 1 # 3 "!!2') F'"*)G
'"4'6"#"1"FJ=#'G4#"1
!")'1"#2!'##'1!'12!'""4
! ) ' #'4 O " 3' #! 3!#
/'!&2!)#4
LOG RI
LOG RI+
Handling
Status LED
Update

""'"!2
2.4 Power supply
D&22'!)11!#!14
!1"!''!2"'1!4
!1'##3)"!!
Parameter Value
12 +#!1
, 9"
Q1
/'6) &4;E
2"" #4&
'"!)"!! #4&
313!#!13D&71'!'
"!!'6""3)!4
D&#"''!!)3"#2!4
.!"'34
Step
Description
1 !*D&""!''!"!1!39E&3!4
2 "*Program#!4
3 "*Read settings#3'4
Result:"!!"3)!!'''21'1'6"4
4 "*Status#3'4
Result: '3!#"!!3'6"24
(33)#33!#"3'!
•
Battery full
•
Battery OK
•
Battery critical
Battery criteria
Querying the
battery status

""'"!2
&
2.5 Technical data
D&')'13)""2!#!
Parameter Value
921 +9
##" !!)!'
<&4:,J
$;$<;:,'2')"!1
!*<&4:,'6"
9'J:9. $%<:,
Q''DD./9D$%<$<:,
!*$;$<;:,'6"
9'J:9. <:,
Q''DD./9D$%<$<:,
.!221 &4;E#!1
(2!)
#2!!
>;R
!)#2!! >R
9# <@;<##S
0) 22!@44%*)!1
.!"" .;$
2.6 Included in delivery
'!''6!1"'3)"#2
Part Description Serial no.
+(DD& D!#!
+(DD&$;$ <$<
+(DD&<& $
+(DD&<; <<
+(DD& D.D! <&
E< ""3!+(DD& "'' <&;
"#)
'''!''6!17''""!12!!6
Part Description Serial no.
+: 2!!1 $&$
2!)3!!J <%
D.!"6!3!22 $&<%
Standard accessories
Optional accessories

""'"!2

!)"!'"))!1
%
3 Inserting the SIM card / changing the battery
3)'"!232"!!1!'!
•
!"!''6"
•
!2"!14
'6"#2'""!1'!'"!'4
NOTE
The device contains sensitive semi-conductor components.
12!"'"!31!'!'#)13"#24
93!"4
!'!2)72!"'3
Step
Description
1 '6"#"'33+9 1334
2 :'D&'4
:''6"!'#''3)7'1#"6!
!)4
3 (22"6!!) '"!33)4
NOTE
The bottom cover ring may NOT be unscrewed.
"!""#2''6""''#)'4
0"!'7)!"*!'6"!*
')!"#!##'16''4
"'@2)
Opening the housing
:'!I
9('
!I

!)"!'"))!1
;
Step
Description
4 !312"6!2)3)4
Result:O"""!1'!4
.")D&!!6!3"!"##''
24122'3"2!'4
5 :'))'4
J1!!'"!312!1'!3)7
13!!"4
92#"3!"7!''#4!
"#!!'#)'1!14
!"#1'""'3!#!1'!
"!17'!""'!'"!2
37F))!1G4)!1"!1
!2")"!'7"!1'!''
2'"#213)'4!"
33")3!"614
3!"!'#3!1'!4
."!'1"3"*2"4
!#6"!'7!12)"!')1!3!#
'!4"!' 2'3 12!)#"#7 '"
!#6'4
.!"'"!31I(!"!'#1C"'''17'#14
!'!")!172!"'3
Step
Description
1 J2)!"""!3!#!1'!4
2 /#6!1'!3!#)"#214
3 /2"'!14
Inserting the SIM card
Changing the battery

!)"!'"))!1
Step
Description
0!)!17#*!2!1"!!"4!!2'
#1#!1'!'")4
4 /""!"!1'!4
!'!"))72!"'34
Step
Description
1 !312!1'!"*)4
2!")4
•
!@"1"!!"2""#2!1'!
)732!2!1'")!!'48'24
•
9'!2"!"I
2 )))"6!2)4
•
!!)!)2)'""!3"#3!3
'!4
•
("!1'!"!!"13')7"6!
2)1!'"!1'!4'!1
'!2!62)3!#)!'7!1'!
!)24
•
9'!2"!"I
3 "!"6!!)"*)4
•
!'"6!!)')#3!3'!4
•
!31)!)1'496!)I
0 1 6 ")' !17 1 ' ! ! F!1
"!G3D&,!4
3)2!!5##
•
!!3"4)4+(D/#""'"#2!4
•
D'''9E&3!4
•
D&#"''!!)3"#2!4
.!"'34
Step
Description
1 !*D&""!''!"!1!39E&4
2 "*Program#!4
3 "*Read settings#3'4
Result:"!!"3)!!'''21'1'6"4
4 "*Status#3'4
Result: '24
5 "*Reset battery counter'4
Closing the housing
again
Resetting the battery
counter

!)"!'"))!1
$

")D&33
<
4 Switching the GT-3-S on/off
D&3!!#)"3!")'334
622'#)6!((33""3' 4+9)2
!'3!T3!#)!#6'73)!!#4 +9!)!1
3) '" '6" "' ' !'1 3! '
!"24
"33))!7'#)((33""3'3!3"'4
+93!)214 )2!'71"!#6#)4
'6""33'+9)4

")D&33

.!2!!1!*33"
5 Preparatory work in the office
5.1 Mobile network, FTP server, e-mail account, etc.
8! ' !3! ) # !*7 "!" # !6" 2!6'!
# ""''4 O !5! SIM card ' 3! ' !33" )
D./J4
O!5!3!##!1an FTP server2'#!''
4O"1!"#21H!6!6!#3!2!2!""'
"")!#"##!"2!6'!!4
O " ! !) 2" 8.!6! 2!6'' 1 4 .
""1!2!!'4
J'!"!"'72"""#21HF'#!6!G
3!#4
O!)!5!!''!!)3!8.!6!""!'4
8.!6!#"3)!'D&22!
!'!"!138.!3!)))4
3!)))7D&!"##'F09G'!"3!
'!"!1"!!2')'6"3!#!4
"!!2')!'!"!#6"!'!'!"!1
3!!2"6'6"124
31!"6!##)!#)2!#71!5!
e-mail account 3" '!4 ' 1! "#21H #
!6! 3! 4)4 ' 3!7 "47 1 " ) )
)!#"##!"2!6'!4
J'! "! "'7 2 "" "#21H F'#
""G3!#4
5.2 Inserting a SIM card in the GT-3-S
"!' # !' 6!1 D& ' 3! #!#4
O!"6'3!#1!#2!!1)'#"!"4
"!'3!"!'''6"7#3!1'!4
@"3!#2!5!'"3'"F!)
"!'))!1G4
5.3 Preparing loggers
:6))!13!#!#!'14
))!#"'334
5.4 Connecting the wireless interface to the PC / laptop
"##"D&7!!3"4)4+(D/#""'
"#2!4
GSM / GPRS / UMTS
FTP server
E-mails

.!2!!1!*33"
5.5 Saving access data for FTP server and e-mail account in the
SebaDataView-3 software
O # 6 "" ' 3! 8. !6! '7 ) ""
' 3! # "" 1 ! )7 9E& 3!
"3)!4
2"!1''#!''3!#8.!6!'
#2!9E&3!!)48!!#!7""'6'
" !' !2"6 2 #* 1 F""*) #G
2!)!##) D& '6"4 #* 2!)!##) ! ' "'!1
3!4
.!"'3
Step
Description
1 (29E&3!4
2 "*'!21# 22!33'4
3 "*Settings"@#24
4 (2FTP"3)!4
Result:3)!1"!22!'
FTP settings)#"23'3!!)""'3!
1!8.!6!4O"*1!"#21L1#'#!!!!6!
2!!3!'7!*21!8.))!#4
E-mail settings)#"23'3!!)""'3!
'!#""'#)!1#4
*1!"#21L1#'#!!!#""2!6'!3!
'4O"!1#!#!')Sender name3'7
'''31'6"'!3#)4
5 "*!2"6Use own settings""*@4
6 !""'2@4
7 "*OK"3!#''"'4
Result:""'!33!402!)!##)
'6"7""*@3!"322!7'"
'''""'6'4
Procedure

.!2!!1!*33"
&
5.6 Registering devices in the SebaDataView-3 software
5.6.1 Introduction
D&'))!!'3!2"#)#!##6
!)!'9E&3!4
O"!)!'6"33"7!''!"14
(!63)2
•
'6"!*44D&''))!#"#'
3!#!',4
•
2"3")!2#"!'3!6!1D&'3!
#!#4))!!""'D&""!'!
''')!24
•
#@##3&))!"'''D&)!24
@#2
5.6.2 Selecting a zone or creating a new one
","D&'))!""!'''''
'!"1!7!"!,4
"!,72!"'3
Step
Description
1 !*3'!",'"!'4
2 (2Directory#!4
"'@2)
Important information
!',
3!D&!*
D!2FD!2G
)'!#!F$G'
))!!
""'
D!2FD!2G
)'!#!F$G'
))!!
""'

.!2!!1!*33"
Step
Description
3 "*NewZone)#4
4 '"27)6,#'''"##4
3!#2)OK4
Result:,"!'''22!
'!"!1!4
5.6.3 Creating a group and adding a GT-3-S
!)!2'!"!1!4
Step
Description
1 !*,'!")!2'"!'4
2 "*NewGroup)#4
3 '"27)6)!2#'''"##4
3!#2)OK4
Result:)!2"!''7'22!
'!"!1!4
''D&)!24
Step
Description
4 !*1"!')!2'!"!1!4
5 (2LogGT3S#!4
6 "*NewAdministration)#4
7 /)!!5!'D&4
Manually
Automatically
9"6Automatic detection
""*@'!'3"
#!93'6"4
"6Automatic detection
""*@7"'6"4
Result: '3"#!9
3'6"!")''
'21'4
!"##'6"@27'"3!#2)
OK4
Result:D&!)!''22!'!"!1!4
8 "*Close"#22!"4D&F""'G
))!!34
Creating a new group
Adding GT-3-S
to the group

.!2!!1!*33"
%
.!##!(1D&"!)!'2!)!24 1
''''D&,71#!1"!)
)!2,4
3!D&,'6!'1!"6'"#2
"3)!3!''D&'6"!''',4
D&#"1"21"3)!'33!D&
,4"'!1!'"!*!5!'2!)!#'6"4
5.7 Programming the GT-3-S
5.7.1 Basic procedure
D& # 2!)!##' 3! #!# ! *4 66
")D"3)!''6"4
D& ""!' # "' ' ! !) 3
"#2!4
.!"'3
Step
Description
1 !*D&""!''!"!1!39E&4
2 "*Program#!4
3"!172LogGT3S3!'4
Result:'3!23"3)!'24
3 !'!5!'3!#""4O3'#!''
3!#@"4
4 !*'17'3!#"3'17
D&'!26'!#1!!)!'
Radio settings)#4
5 "*Program#3'4
Result: D)!D&1!'4
3!"#2)2!"7')'22!4O*'
!1'*"@2'!"14
6 "*No')''21'4
Requirements
Procedure

.!2!!1!*33"
;
5.7.2 Explanations for the GSM input window
3)!2#*3!D"3)!'4 2!#!"!1
3! # "" 3!# D& 3" # !' 4
'!5!'"3'1!#2"!"7!*1!#2!!
3!#4
O 3' @2 3! '6' # "3)! '
4
Segment Parameter
SIM card settings!2#!'."'3!"!')
'D&4
Internet settings 2"31!""'3!1!#2!!!
!6!''!7!#72!'7"44
31!#2!!"'''!2'Provider7
"'!5!''!'#"14
FTP settings ""'3!8.!6!"#!''
!!6!''!72!7!#72!'#
!'!4')611)
8.))!#7!1"*2!!38.
!6!3!#4
316!'1!'""'3!1!!6!
3!"3)!'1!6!7#!*
Use own server""*@4'"3)!!
""2'''22!2@4
31'#!6!7#!*
Seba Demo Mode""*@4""'!!'
#"14
.!6!#1'#2!!1'3!
'#!2!21I
GSM parameters

.!2!!1!*33"
Segment Parameter
J""*@2"31#!'''
2''
Every selected GSM dayP
92''6!1'1
#!@"16!1
FD'1G4
In case of leak P
912''3*
!'3))!@"'''!)
#!#4
3#!''!2''7'"6
""*@4
E-mail settings
91!"6!##)1#63
2"'*!2!!!)""!U
!""'3!#""''
#)!'#7!6!''!72!7!#7
2!'4')'112!!3
#""7!11!1#'#!!4
316!'1!'""'3!1!!6!
3!"3)!'1!6!7#!*
Use own server""*@4'"3)!!
""2'''22!2@4
31'#""7#!*
Seba Demo Mode""*@4""'!!'
#"14
.""#1'#2!!1'3!
'#!2!21I
Email destination 91!"6!##)'6!63
#!''1#U
!2!"2''!!4
J""*@'"'!11!"6
#63!#7!!"6#'1#!
@"16!1FD'1G4
31'!"6#7'"6
""*@4
SMS destination 91!"6!##)'6!63
#!''1U
!2!!"22#!!4
92"!2""!"!4
J""*@'"'!11!"6
63!#7!!"6'1#!@"1
6!1FD'1G4
31'!"67'"6
""*@4
Segment Parameter
GSM transmission 93'13*"D#'#
D&"6"'“GSM days”4
J2')!')#!''!3"1
2'14
“GSM days”

.!2!!1!*33"
$
Segment Parameter
Radio settings 93D&'!'6"""''
!26'!#1!!)!'4
J""*@"!5!''13*
"'F/'!#'1G4J'!2'#
"!#2!'3!"!#'14
@296"'!26'
!#1!!)!'!'""*"#
#"#!!)14"!6!)1!3
D&'))!""'7#)613
'6"'3''12!'"'F/'!#
#G!"##''4
!##'33"!#"6
'6"""'4
Segment Parameter
Miscellaneous
settings
Request audio on same day""*@
This checkbox is only relevant for work using N-3 noise loggers.
0""*@"6'7'!5!
2!"'#'17#)'3
))!!63!'')#'14
.!!5'!5!3!
V/'!##H)4
3!5!7'31
63)@!)!'2'4
0""*@'"6'7'!5
2!"'#'14'3))!
163)@!)!'2'4
0""*@"6'7!#"#!
!)1)"#'1D&'))!
""'4
Auto audio request""*@
This checkbox is only relevant for work using N-3 noise loggers.
0""*@"6'7'33!#
#!#'1!#"12''63
!#44!'@"''!
6)!54'3!2''
8.!6!1D&#'14
•
0""*@"6'7!#"#!
!)1)"#'1D&'))!
""'4
•
8!#!'""6#!#'1!#
!'7'32''6!)14
“Radio transmission
time”
Audio data

.!2!!1!*33"
<
Segment Parameters
Miscellaneous
settings
Sync to GPS""*@
""*@1'3!D.#'3!
D&"6'!'"6'3!2"#)
#!#4
0""*@"6'7!""*3D&
'))!""'"1"!'D.#
'D.23D&"'3'4
""*@#"6''
!"!''!"!!'!4
Segment Parameters
Miscellaneous
settings
Theft protection""*@
This checkbox only functions when the “Sync to GPS” checkbox is
activated at the same time.
0""*@"6'7D.23
D&"#2!'D.'3
""'1432!'33!7!#
#)!1#4
5.8 Performing a GSM test
6' "#2" 7 1 ' 2!3!# D 6!1
D& ' 3! #!# 33"4 66 ""*)
!'6""""#!*2!2!14
3)2!!5##
•
!!3"4)4+(D/#""'"#2!4
•
D&""!'#6"!'9E&3!4
•
D&""!'#623!D2!4"!'
!'7'6"2!)!##'
•
D&""!'#"''!!)3
"#2!4
2!3!#D'3"#2!72!"'3
Step
Description
1 !*D&""!''!"!1!39E&4
2 "*Check GSM#!4
3"!172LogGT3S3!'4
Result: '24
3 "*Check GSM'4
Result:D!4D&2'3"'F324"6G
8.!6!4
"'@2)
GPS function
Theft alarm
Requirements
Procedure

.!2!!1!*33"
&
Step
Description
D&'#!!"22"3'4
'6'2!''"!4""31
"#2'2!#!*'OK4 !!!#)22!3
"4
3D37""*3)#)
•
:"!'!'D&U
•
9"!'22!'!#U
"*#"!"!*#2!!
•
!D''!#"6'"!'U
*#2!!
•
!D)6#'3!"!')'U
•
!D)6#'3!D&)'U
•
0!D)D&U
•
!1"!)3D&33"U
Possible causes
of faults

D&"62!3!#'
&
6 GT-3-S activities performed at the installation site
6.1 Introduction
3!2!3!#)2*33"7!2#2!3!#''!"1
))224
3)2!!5##
•
+229E&3!
•
!!3"4)4+(D/#""'224
•
))!#"'334
•
D&'6"#522'"!'4
•
D&'6"'"'334
•
(D.D!'VE<H"""3!"'6'
D&'*2!'14
D&'))!""'#''
#34(!7!'""'6"#)
3"2!2!14
O3'@23'6'!*23)"4
6.2 Connecting the aerial and switching on GT-3-S
6.2.1 Connecting the GSM/GPS aerial to the GT-3-S
D #' ' D. #' 3! D& ! )!' '6"4
"#'DD.!76!7)!'7'#""'
D&)"""4
)"" " ! 2' ) 2 37!
'37D&!#'34
J3D&2!""'4
3)!5!'
•
@@!DD.!3!D&"'''6!1
•
@VE<H""""'''6!1
.!"'3
Step
Description
1 "3"GSM"*3!4
)"!"")1!3)!494
2 "!'3"GSM"*D&4
3 ""'"GPS"*3!4
4 "!'3"GPS"*D&4
6.2.2 Switching on GT-3-S
" D&7 ! ! "' 4 +9 3
!)!1'6""'4
Introduction
Requirements
Procedure

D&"62!3!#'
&
6.3 Adding loggers to the GT-3-S group
O6!'1"!'D&)!2'!"!1!39E&3!4
))!! ""' D&#''' )!24
#@##3!))!2!)!224
(29E&3!224
2!"'3
Step
Description
1 !*!6)!2'!"!1!4
2 31!)!&
))!72LogN3#
!4
31!)!.&2!!
))!72LogP#
!4
3 "*NewAdministration)#4
Result:'3!))!!)!24
4 "3!))!!)!'4))!'"'
#"17''3"#!94
JInsert"219'!"!1!4
!6131'"6F #"'"G""*@71"!
93))!#14
Result:))!'21''!"!1!4O3'
)!23!D&"""'!4
5 ''!))!""'D&)!2#14
6 JClose'!)!2!"4
Introduction
Procedure

D&"62!3!#'
&&
6.4 Installing devices in the shaft
6.4.1 Installing loggers
))!D&)!234
9'3!#"!!""3'2!)#3!
))!4
31&))!!,17#*!!'#!*)
))!22!'4
6.4.2 Installing GT-3-S
*!D&"'4+93!)!14
."D&34'6""2''!2'6!"1
!!,1"'4027"""*
'6"'2'!'4
2')'6"373)3)!7'4'6"
' 2'' !6" 3 ) " 7 C 3
2)4
92'D&1"4
DD.!""'D&"!"6D.)
' 37 ' 1 "" # !* '! "!
"'4
!'!3!)''337'2''4
•
9'!2""""7!'#)1!14
•
9C""""!4
•
!'!!"6D.)7!#6!"'F6G
3*14D!2"!3"!1"D.
)407")!!"#'3#!'76!7
D.!"24
3!!"!1'31!7!!'
167"!'3"#!'2)!'4
Positioning the GT-3-S
Positioning the aerial

D&"62!3!#'
&
6.5 Programming noise loggers (Log N-3)
This section is not relevant for Log P-3 / Log P-3 mini pressure loggers.
0 2!)!##) D& 33"7 1 '3' ! '6" '
'!##)63!#!4
!# & ))! ""! 6 !"!'' 1 ))!
### 6 !"' ! @"'' 2"3" !' ' 3
#!) 2!'4 !7 D& ' !# #) ! !))! !
!# #!7 '2') " !# "6 ! '3' 1
2!)!##)D&4
63!#!#!'#'3''6'13!"
&))!4O623'')"##@"))!4
#2!2!3!#*3!')"3)!
D&4
.!"'3
Step
Description
1 !*!5!'))!'!"!1!39E&4
2 "*Program#!4
Result: '24
3 !6'3!#!#!'63!))!
Leak threshold3'4E';!24
P
'3!6"#!'4
;
P
'3!)6"#!'4
4 O"6'!#!*))!'!Comment4
5 "*OK"3!#2'"'4
!!#!'6#13!!&))!)!24
3*!'3))!2!6!)3!3
#!#'171"!2!)!#D&)!2!1!#
"3)!7'#'31*!'')4
31'2"31*!'7FG*!'6
#"1'1))!4
Introduction
Procedure

D&"62!3!#'
&%
6.6 Programming pressure loggers (Log P-3 / P-3 mini)
This section is not relevant for Log N-3 noise loggers.
0 2!)!##) D& 33"7 1 !' #! 3 #!#
) " 221 3! ))! )!2 5 #!7 "
#!#'1'@"#!#2!'4
(! #!# )7 !7 # #' '6'1 3! " 2!!
))!)!27"#!)!64
#2!2!3!#*3!')"3)!
D&4
.!"'3
Step
Description
1 !*!5!'))!'!"!1!39E&4
2 "*Program#!4
Result: '24
3 #!)!63!))!4
J'!2'#'!Log interval'4
4 "#!)3!#!#!"!''4
J'!2'#'!Unit'4
5 "6Record pressure shocks""*@2!!3"
""!''1"'2!!!)'!"!'')
'!'2!!#!#4632!!!)7;"'
!"!')!4
J23'!)3""*@'31#"#!'
6#'33!3!#2!"')#!'63!2!!3"
"'!'2!!!)4
@#2363F4%G!'72!!!)!"!')!
#!'64%6!6
#!'4
JHigh resolution""*@'3"#!)!6'
2213!;"'2!!!)!"!')
•
"*@"6'#2)!6"4
•
"*@"6'#2)!64"4
!!#!)!634"4#!''!"!')3
2!!!)4
.!"!')2!!!))!#!
!)17'6)633"))!!1324
6 O"6'!#!*))!'!Comment4
7 "*OK"3!#2'"'4
Introduction
Procedure

D&"62!3!#'
&;
6.7 Sending the configuration to the GT-3-S
2 66 ') D& "3)! ' 3!# "#2!
D&4
O#16 !'12!3!#'2'!)2!2!33"4
"!1 !#""3"!42
# !2' ! "3)! ' 6
D&'))!4
.!"'3
Step
Description
1 !*D&""!''!"!1!39E&4
2 "*Program#!4
Result:'3!23"3)!'24
3 3D&!'1"!''2!)!##''!)2!2!
33"7""*''21'7'#*1")"!14
3D&1!"1"!''2!)!##'7
!!5!'"3)!'4
9)!2"'&))!!"!')!
"!!'!"!')1!))!!U
Sync to GPS""*@73'#3"3)!
'7#"6'4
4 "*Program#!)3'4
Result:"3)!'!D&1"#2!4
3!"#2)2!"7')'22!4O*'
!1'*"@2'!"14
Introduction
Procedure

D&"62!3!#'
&
6.8 Synchronising the GT-3-S with GPS
2 66 1"!) ! ""* 3 D& D. #4
D.23'6"'!#'4
231!!*)&))!#!''
!'3!"!!!4
3)2!!5##
•
Sync to GPS2#"6'D&"3)!4
•
D&'!'1'37'!"!!"1
2'4
.!"'3
Step
Description
1 !5')22!FOG!""*
Sync to GPS#!4
Result: '24
2 "*Start'4
Result:!D.#'D&"6'4'6"!
!")3!64
"!!D.#!"6'722!"#2!4
D.2'6!"6'7'')'
22!42!""*##4
O"""D.!"1#)Stop4
D.!"#"122'3!!)14
("D.!"""37""#)22!"!7
3'1')'4O*'!1
"@24
O"!22!"1#4
'7#!*D&""!''!"!1!39E&'""*
Sync to GPS#!4
6.9 “Linking” GT-3-S to loggers
266F*)GD&))!)!27#)D&
'"3)!'))!4!""*))!!
1"!'!#'1D&4
))!)!2#"'4
))!'D&'!'1'34
!5')22!FOG!""*Link to logger
#!4
Result:D&""61""))!)!21!'4
("2!""#27#)22!"!3!#)1!
F*)G 2!" ""34 #) "' '
513!'""D&'))!4
Requirement
Procedure
Requirement
Procedure

D&"62!3!#'
&$
O"!22!"1#4
'7#!*D&""!''!"!1!39E&'""*
Link to logger#!4
6.10 Performing the GSM test and closing the shaft
2!3!# D ""* ! D& " "" #
!*2!2!1)4
)33!!"##''!"!4(!7
"3"'7!#1!'"""#2!'
D&7'#)!4
!3!72!"'3
Step
Description
1 !D4
8!7#!*D&""!''!"!1!39E&7""*
Check GSM#!4
2 34
9'!2""""7!'#)1!14
3 03!!4
O3'#!''3!#D2!"4
:D""3U'6"3)!2!!'13!
2"#)#!#4
All devices ready for
measurement

D&"62!3!#'
&<
1# '*C7 W 6X!* "Y *6K ,ZY , *6'6 2Z[ [WX# '#6Y# '2'#4 \*W C'] 2!'* "'6X #,
2'**X#C*1==7,CC*6'666^CX"[!X"'6!"4.*'2^C6X!*,67!_!),"2",CY"Y
*6'"!X"*!"*X"2^Z`6Y,*6K2`a[4
91#'''2!'"#'1#6!C'!'#)!')'C*36492!'"6!'!)!*7*
'*3)6!'#)!'36"!6!'C*364 '2!'"6!C'!7)6'2'C#!'!
C))!)!))2"!''6!C'!)6'*!"#!4
1#'"2!'""#!*'1''2'3!#'4 ==2!'"7#1'2'
3"6"'2"!431'232!'"72'2!2!11*)!)2")'23'"!"52#
!14
bcdedfghcdfgigjg7iklmcnohpqp7crcdfgikflcpcdefgief7fkpmsrjgngtkedujqmvshgpcrepcjcplgnqh4bqwhgpck==lmcnohp7fkrejgngtkeduqmvsej
xmgnthelofhpcjkdgcplgnqye4zhc{kvgkpkngedjqmvepklmcnohpg7xcdgfktkpkjlofhp7tlkyegvedemgfjedujqmvsfkpcfgtpgmckvkhpmeikthccrcmonjgfk4
91#6!7'2!'*7'!!#!*!2|'#|'7**#|*!##')')33'43!#'!==2!'*7#|'!**
!*332|33))!)!4*'2!'**!7*')}!!')6'!)'~!))'!)7'!!2"!
!*33)##'1!4
•#)-''*-''6#C--#4)#==**6)7'6***C--#*-2*4
6-!676)-#6'*!'#*-#2!'6€4
--#!*--#7-*1-#!*--6!-6--6*C-4**1-1!16-*2
7 - #1A*-- 6'- *C *-1AA !* *!-124 \ -6-- -#- 7 * 11 -#2-- 6C
-*A'-6-#!*!)4
1#'552!'!53)!22M!K#K"##'K"#K)!!'!4##H)'H2!'==7222
M!'K2K''K"!#"24.!K#!"2!'7#,•H!)2K"K'HK#'H"K52#K"!52
2!"'",64
!#‚]!"!]!)']#!"]Y'‚"!"ƒ!3Y))4(!'K)!]!)')ƒ)ƒ==K7Y3K'!
K'‚"!"!'''‚"!24]#]!)''‚"!7'KKƒ)]))!Y")!'3'#Y'‚"!
3!"!)4
91#,)7'''#)*,".!'*"!#!:3!)!'49"#==D!-'7'!3
" " *## 0!33A3 )) !'4 0 ' D!- !) #A"7 !) ")#-„ , # !)! 3•!
*!)!-!!-4
…†‡ˆ‡‰Š‹Œ•‰Ž‰†•‰•‘’“”‹‘’ˆ‡’‡‰••‰–ˆ”•‰†—˜•‘’‡™ŠšŒ›”Š™›†‡š•‘”••˜•‘’”››•‰••œ•‡‘‡›’Œ›•œŒ‘‡›‰’“’›“ž›•‰••œŒ›‡›4Ÿ› ¡¢••ˆ“‘’‡›’£’›••‰–ˆ”==7•‘”
••˜•‘’”››•‰••œ•‡‘‡›’Š‘•™Œ‰‡’“žŠ™Œ‘œ››•ˆ••’¤™¢4¥ž” ˜Ž‘‡‘ ”› ›•‰••œ¤‘‡‘‡‰••‰–ˆ”›†‡ˆ7•›•›“›Ž‰‹Œ‘ˆ•¦¢”›‡‰•›•›•¡Š‘‡‘Š‘Œœ› †•™•‘Šœ›Š†ŽŽ‰£š¢
™Ž‘“‡•’“‰‹‘§‰•Ž’ŠŒ‰‹‡™¢•‘•’‰¨š¢Š›¢4
, C,K , C7 )1 , 1 C,K ] !#K* ],!] 'K*** )1• *'4 6 , 6] 3,]]‚ !#K*7 *])
,]#]! 3! 'K*)1©Cª* '4: !#K* * ,!K '7 **! 6)1 , *ƒ1K, *A, #©*A'ª7 ,] *!# !',K*
)1©CKK63)*,ƒ'K**,ª*A,2,4
Q #'" " 2!''6!#"#!# !3'#"45 2!' ==72« "!#"!'
##"'4''!#!2!'7")!!)#2",,##'22!""!!"6""4
¬-,-#!®'7*,!®'®C#7,*!®!'7'!-*,#*2®!2!##®C#"-*!##4®*®!,!®'®C#7*""#2®!''
*,¯°##7''!-*!-,#*!#®'®,)®,6°*!#6®*6°7*2!',°6°C#',-6®C#4\±6C',-)a,!®'®C#
,#*!#7'!-*C2°"*##)®'®C6®*C®6®7*!-2a'!C!6"*!*!-Z6®*a4
¬#!'7*'C2W*)#)#a#*222!²²*²4') ==6!6!2!'*7C)#'!²
*²6!*1#³#´#4\!a#a³)#³7**#7''#C³!C±²Z2",*!´³!),6#!),"C4
9 # C'* 2!' ##!* H' #' #H)µ'@ C!#µ *!!# ''C!4 µ 2!'==7 # C@ C!# *
3H¶!¶6¶)µ!!#H*!4\***@5!#'2!'7C**C)µ·*)µ#'*322µ')µ'!),,,,C35!2¶C,,3!!#H
)µ#!5'#H!*4
91#'*!!2!'*#!#!*2|'#|****#6)')634''!'!32!'*7*'!**
*6'6)#C}C4:6'}*!|*'2!'*7!'!*)#||)'!)C~!#2!!)2|*!)6
)##*!*1!4
1#,",7¸2!'*#2!,)¸1¹,121#'2'#,)2'!'#)4\2!'*12==7¸1)º"
2!,*,1¹ *# *»'* '2'ƒ4 1 »¼"1 2ƒ ½¹ 2!'*7 ¸1 2!,*,¹ ) ' C¸,C 2"ƒ* 2"C,C½"C º
!1"!,½',¾*!1",1"4
Y#'"52!'"##!"¿ÀÀ'6!''3!C#"#@'#K"!#4#!'#2!'==7#K#À
2'!''3!#"!"Y6"'!"'@45!'3,!'2!'73¿"!!"#!)'#!),¿À2",'
#¿À'52#K"!")72!ƒ@#'4
"#'"Á32"Á2!'#!"Â"3!!""Ã)#C!Ã49!""2!'==7!!""
"!'""!!49"Á6!ÄÁ!"Ä"2!'76Á!)Á#3"ÄÂ!#''"67'"Å'"#2!2Á3!#Á2",ÁÂ""!
"2#!"!",4
1#,#]7W*,ZX6X!*#*6'6_*WX*#]1'2'4ÆWC']6X!*!'1==7#*6'6_
#*X"*]'*"'2'4 *""6X!**6'6_7''CWaC!),]"7*!]a2",C*6']"!X"*!"*X",!'Y4
#2#7','*7*C,C#,Z7#,6!Z*ZC)2'C*'2'*4!C,'*7#C,'!)2!,6C"7)'6C
') 6 "! , "6 ')C '2'*64 Ç W,'* ,6!Z7 2!#7 ' ! 6 *' 2!'27 * ' ) '2C 6 WC !),"C7 * C
2",!,')C!*!Z2!#4
Y# '" 5 2!'" Y È,' ' '"! "# !' '#K" !#4 9' 5 2!'" ' "# 2!37
#2"'6!"!'!")'"6#"24''"!2!'"7])''#"''!),"ƒ',5
K2",'!#'!''2!K"!"'4
9-!1#'*!!2!'*3|!'#'!#|63 '|'-!3A!!*'4 3!#2!'*-!|*'==2!'*-!'
6''3A!2!6*#!7'3|!|'63!2|#-#CA!|!6)!'|'-!3A!!*'4(#663!'-!
2!'*2|!--7*-#'#1')!3A!)72"!'2|63!)63A!!*'*!*!)!-!#!|'4