Servis Rhino Lawn Mower 14812 Users Manual SE15 4A SE10 4A.p65
!! Servis-Rhino-21 Servis Lawn Mower Manuals - Lawn Mower Manuals – The Best Lawn Mower Manuals Collection
SE10-4A to the manual 419b6a70-1218-4b78-bff2-be0d40a64ce2
2015-02-02
: Servis-Rhino Servis-Rhino-Lawn-Mower-14812-Users-Manual-490792 servis-rhino-lawn-mower-14812-users-manual-490792 servis-rhino pdf
Open the PDF directly: View PDF
.
Page Count: 72
- COVER
- TO THE OWNER/OPERATOR/DEALER
- PARTS ORDERING GUIDE
- PART NAME INDEX
- AXLE ASSEMBLY
- BAFFLE ASSEMBLY
- BLADE PAN ASSEMBLY
- CHAINGUARD ASSEMBLY
- CYLINDER ASSEMBLY
- CYLINDER ATTACHMENT
- DEFLECTOR ASSEMBLY
- DRIVELINE ASSEMBLY
- DRIVELINE ASSEMBLY - CV 1-3/8-21 CAT 5 1000 RPM S/N 14812 - CURRENT AUG 2002 - CURRENT
- DRIVELINE ASSEMBLY - CV 1-3/4-20 CAT 5 1000 RPM S/N 14812 - CURRENT AUG 2002 - CURRENT
- DRIVELINE ASSEMBLY - INTERMEDIATE S/N 14812 - CURRENT AUG 2002 - CURRENT
- DRIVELINE ASSEMBLY - WING 1-3/4-20 CAT 4 S/N 14812 - CURRENT AUG 2002 - CURRENT
- DRIVELINE ASSEMBLY - WING 1-3/4-20 CAT 5 S/N 14812 - CURRENT AUG 2002 - CURRENT
- DRIVELINE ASSEMBLY - CV 1-3/8-6 CAT 5 540 RPM S/N 14812 - CURRENT AUG 2002 - CURRENT
- GEARBOX ASSEMBLY
- GEARBOX ASSEMBLY - CENTER & LEFT 540 RPM S/N 14812 - 17107 AUG 2002 - MAR 2005
- GEARBOX ASSEMBLY - CENTER & LEFT 540 RPM S/N 17108 - CURRENT APR 2005 - CURRENT
- GEARBOX ASSEMBLY - CENTER 1000 RPM S/N 14812 - 17107 AUG 2002 - MAR 2005
- GEARBOX ASSEMBLY - CENTER 1000 RPM S/N 17108 - CURRENT APR 2005 - CURRENT
- GEARBOX ASSEMBLY - DIVIDER 1000 RPM S/N 14812 - CURRENT AUG 2002 - CURRENT
- GEARBOX ASSEMBLY - DIVIDER 540 RPM S/N 14812 - CURRENT AUG 2002 - CURRENT
- GEARBOX ASSEMBLY - LEFT WING 1000 RPM S/N 14812 - 17107 AUG 2002 - MAR 2005
- GEARBOX ASSEMBLY - LEFT WING 1000 RPM S/N 17108 - CURRENT APR 2005 - CURRENT
- GEARBOX ASSEMBLY - RIGHT WING 1000 RPM S/N 14812 - 17107 AUG 2002 - MAR 2005
- GEARBOX ASSEMBLY - RIGHT WING 1000 RPM S/N 17108 - CURRENT APR 2005 - CURRENT
- GEARBOX ASSEMBLY - RIGHT WING 540 RPM S/N 14812 - 17107 AUG 2002 - MAR 2005
- GEARBOX ASSEMBLY - RIGHT WING 540 RPM S/N 17108 - CURRENT APR 2005 - CURRENT
- GEARBOX SHIELD ATTACHMENT
- HITCH
- HYDRAULIC CONTROL VALVE
- HYDRAULIC SCHEMATIC
- LEVEL ROD ASSEMBLY
- SKID SHOE ATTACHMENT
- SLIPCLUTCH ASSEMBLY
- SMV SIGN MOUNTING
- TIRE OPTION
- TONGUE ASSEMBLY
- WEIGHT BOX ATTACHMENT
- WHEEL HUB ASSEMBLY
- WINCH AND STAND ASSEMBLY
- WING ATTACHMENT
- LIMITED WARRANTY
- TO THE OWNER/OPERATOR/DEALER

SE10-4A/SE15-4A
FLEX-WING MECHANICAL LEVEL
LIFT ROTARY MOWER
MASTER PARTS BOOK
S/N 14812 TO CURRENT
PARTS LISTING
Rhino
An Alamo Group Company
1020 S. Sangamon Ave.
Gibson City, Il 60936
1-800-446-5158
Email: parts@servis-rhino.com
© 2006 Alamo Group Inc.
®
Published 08-06 P/N 00777391MB

TO THE OWNER/OPERATOR/DEALER
All implements with moving parts are potentially hazardous. There is no substitute for a cautious, safe-minded operator who
recognizes the potential hazards and follows reasonable safety practices. The manufacturer has designed this implement to
be used with all its safety equipment properly attached to minimize the chance of accidents.
BEFORE YOU START!! Read the safety messages on the implement and shown in your manual.
Observe the rules of safety and common sense!
WARRANTY INFORMATION:
Read and understand the complete Warranty Statement found in this Manual. Fill out the Warranty Registration Form
in full and return it within 30 Days. Make certain the Serial Number of the Machine is recorded on the Warranty Card
and on the Warranty Form that you retain. The use of "will-fit" parts will void your warranty and can cause catastrophic
failure with possible injury or death.

PARTS
SECTION
Parts Section – 1

Parts Section – 2
©2006 Alamo Group Inc.
For maximum safety and to guarantee optimum product reliability, always use
genuine Servis-Rhino Parts. The use of inferior replacement parts may cause
premature or catastrophic failure which could result in serious injury or death.
Direct any questions regarding parts to:
The following instructions are offered to help eliminate needless delay and error in processing
purchase orders for the equipment in this section.
1. The Parts Section is prepared in logical sequence and grouping of parts that belong to the
basic machine featured in this manual. Part Numbers and Descriptions are given to help
locate the parts and quantities required.
2. The Purchase Order must include the name and address of the person or organization
ordering the parts, who should be charged, and if possible, the serial number of the machine
for which the parts are ordered.
3. The Purchase Order must clearly list the quantity of each part, the complete and correct part
number (be sure to include all periods), and the basic name of the part.
4. The Manufacturer reserves the right to substitute parts where applicable.
5. Some parts are unlisted items which are special production items not normally stocked and
are subject to special handling. Request a quotation for such parts before sending a
Purchase Order.
6. The Manufacturer reserves the right to change prices without prior notice.
NOTE: Please refer to The Safety Section in the front of this Manual for the proper
Part Number when ordering Replacement Safety Decals.
PARTS ORDERING GUIDE
RHINORHINO
RHINORHINO
RHINO®
1020 S. Sangamon Ave.
Gibson City, IL 60936
800-446-5158
Email: parts@servis-rhino.com

PART NAME INDEX
AXLE ASSEMBLY S/N 14812 - CURRENT AUG 2002 - CURRENT.................................................................................... 4
AXLE ATTACHMENT S/N 14812 - CURRENT AUG 2002 - CURRENT............................................................................... 5
BAFFLE ASSEMBLY S/N 14812 - CURRENT - AUG 2002 - CURRENT............................................................................. 6
BLADE PAN ASSEMBLY S/N 14812 - CURRENT AUG 2002 - CURRENT......................................................................... 7
CHAINGUARD ASSEMBLY - FRONT S/N 14812 - CURRENT AUG 2002 - CURRENT..................................................... 8
CHAINGUARD ASSEMBLY - REAR S/N 14812 - CURRENT AUG 2002 - CURRENT ....................................................... 9
CYLINDER ASSEMBLY - CENTER S/N 14812 - CURRENT - AUG 2002 - CURRENT .................................................... 10
CYLINDER ASSEMBLY - WING S/N 14812 - CURRENT AUG 2002 - CURRENT ........................................................... 11
CYLINDER ATTACHMENT - CENTER S/N 14812 - CURRENT AUG 2002 - CURRENT ................................................. 12
CYLINDER ATTACHMENT - WING S/N 14812 - CURRENT AUG 2002 - CURRENT ...................................................... 13
DEFLECTOR ASSEMBLY - FRONT S/N 14812 - CURRENT AUG 2002 - CURRENT .................................................... 14
DEFLECTOR ASSEMBLY - REAR S/N 14812 - CURRENT AUG 2002 - CURRENT........................................................ 15
DRIVELINE ASSEMBLY - CV 1-3/4-20 CAT 5 1000 RPM S/N 14812 - CURRENT AUG 2002 - CURRENT ................... 17
DRIVELINE ASSEMBLY - CV 1-3/8-21 CAT 5 1000 RPM S/N 14812 - CURRENT AUG 2002 - CURRENT ................... 16
DRIVELINE ASSEMBLY - CV 1-3/8-6 CAT 5 540 RPM S/N 14812 - CURRENT AUG 2002 - CURRENT ....................... 21
DRIVELINE ASSEMBLY - INTERMEDIATE S/N 14812 - CURRENT AUG 2002 - CURRENT.......................................... 18
DRIVELINE ASSEMBLY - WING 1-3/4-20 CAT 4 S/N 14812 - CURRENT AUG 2002 - CURRENT................................. 19
DRIVELINE ASSEMBLY - WING 1-3/4-20 CAT 5 S/N 14812 - CURRENT AUG 2002 - CURRENT................................. 20
GEARBOX ASSEMBLY - CENTER & LEFT 540 RPM S/N 14812 - 17107 AUG 2002 - MAR 2005................................. 22
GEARBOX ASSEMBLY - CENTER & LEFT 540 RPM S/N 17108 - CURRENT APR 2005 - CURRENT ......................... 24
GEARBOX ASSEMBLY - CENTER 1000 RPM S/N 14812 - 17107 AUG 2002 - MAR 2005............................................. 26
GEARBOX ASSEMBLY - CENTER 1000 RPM S/N 17108 - CURRENT APR 2005 - CURRENT..................................... 28
GEARBOX ASSEMBLY - DIVIDER 1000 RPM S/N 14812 - CURRENT AUG 2002 - CURRENT..................................... 30
GEARBOX ASSEMBLY - DIVIDER 540 RPM S/N 14812 - CURRENT AUG 2002 - CURRENT...................................... 32
GEARBOX ASSEMBLY - LEFT WING 1000 RPM S/N 14812 - 17107 AUG 2002 - MAR 2005........................................ 34
GEARBOX ASSEMBLY - LEFT WING 1000 RPM S/N 17108 - CURRENT APR 2005 - CURRENT................................ 36
GEARBOX ASSEMBLY - RIGHT WING 1000 RPM S/N 14812 - 17107 AUG 2002 - MAR 2005 ..................................... 38
GEARBOX ASSEMBLY - RIGHT WING 1000 RPM S/N 17108 - CURRENT APR 2005 - CURRENT.............................. 40
GEARBOX ASSEMBLY - RIGHT WING 540 RPM S/N 14812 - 17107 AUG 2002 - MAR 2005 ....................................... 42
GEARBOX ASSEMBLY - RIGHT WING 540 RPM S/N 17108 - CURRENT APR 2005 - CURRENT................................ 44
GEARBOX SHIELD ATTACHMENT - DIVIDER S/N 14812 - CURRENT AUG 2002 - CURRENT.................................... 46
GEARBOX SHIELD ATTACHMENT - WING & CENTER 14812 - CURRENT AUG 2002 - CURRENT ............................ 47
HITCH - PINTLE HOOK S/N 14812 - CURRENT AUG 2002 - CURRENT......................................................................... 48
HYDRAULIC CONTROL VALVE S/N 14812 - CURRENT AUG 2002 - CURRENT ........................................................... 49
HYDRAULIC CONTROL VALVE W/MOUNTING KIT S/N 14812 - CURRENT AUG 2002 - CURRENT ........................... 50
HYDRAULIC SCHEMATIC SN 14812 - CURRENT AUG 2002 - CURRENT ..................................................................... 51
LEVEL ROD ASSEMBLY S/N 14812 - CURRENT AUG 2002 - CURRENT....................................................................... 52
SKID SHOE ATTACHMENT S/N 14812 - CURRENT AUG 2002 - CURRENT.................................................................. 53
SLIPCLUTCH ASSEMBLY - INTERMEDIATE S/N 14812 - CURRENT AUG 2002 - CURRENT ...................................... 54
SLIPCLUTCH ASSEMBLY - WING CAT 4 S/N 14812 - CURRENT AUG 2002 - CURRENT............................................ 55
SLIPCLUTCH ASSEMBLY - WING CAT 5 S/N 14812 - CURRENT AUG 2002 - CURRENT............................................ 56
SMV SIGN MOUNTING S/N 14812 - CURRENT AUG 2002 - CURRENT......................................................................... 57
TIRE OPTION - FOAM FILLED USED AIRCRAFT S/N 14812 - CURRENT AUG 2002 - CURRENT............................... 59
TIRE OPTION S/N 14812 - CURRENT AUG 2002 - CURRENT ........................................................................................ 58
TONGUE ASSEMBLY S/N 14812 - CURRENT AUG 2002 - CURRENT............................................................................ 60
WEIGHT BOX ATTACHMENT S/N 14812 - CURRENT AUG 2002 - CURRENT............................................................... 61
WHEEL HUB ASSEMBLY S/N 14812 - 16663 AUG 2002 - DEC 2004.............................................................................. 62
WHEEL HUB ASSEMBLY S/N 16664 - CURRENT JAN 2005 - CURRENT ..................................................................... 63
WINCH AND STAND ASSEMBLY S/N 14812 - CURRENT AUG 2002 - CURRENT......................................................... 64
WING ATTACHMENT S/N 14812 - CURRENT AUG 2002 - CURRENT............................................................................ 65
SE15-4A Master Parts Book (Aug-06)
©2006 Alamo Group Inc. Parts Section – 3

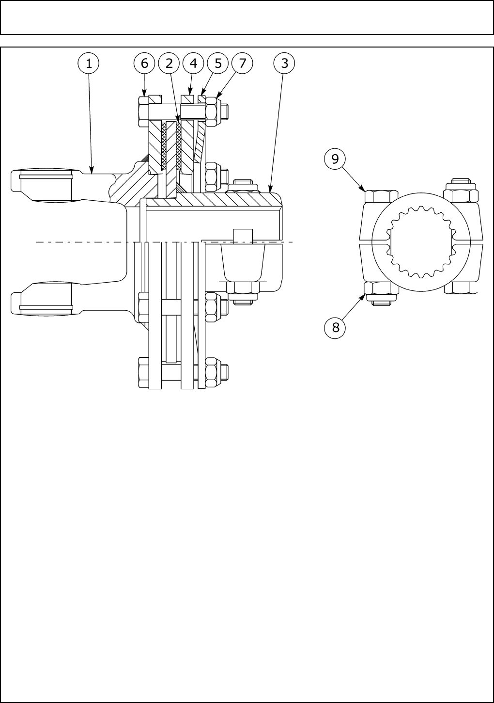
AXLE ASSEMBLY S/N 14812 - CURRENT AUG 2002 - CURRENT
ITEM PART NO. QTY. DESCRIPTION
1 00777183 1 CENTER AXLE WELDMENT
2 00777181 1 RH WING AXLE WELDMT
3 00777182 1 LH WING AXLE WELDMENT
4 00763449 2 ASSY-CONTROL-ROD
5 00764375 4or6 HHCS 1/2NC X 3-1/4 PL5
6 00001800 4or6 LOCKNUT TLM 1/2 NC PLB
7 00009500 4 BOLT-HEX 3/4 NC 4-1/2 PL5
8 00751584 4 SPACER TUBE
9 00037200 4 NUT TOPLOCK 3/4 NC PLC
10 00763447 1 TOP LINK,THREADED
11 00763962 1 WLDMT-TOP LINK
12 00763450A 1 TURNBUCKLE,1-1/8NC THRD 2 HOLE
13 02012200 1 NUT HEX 1-1/8 NC PL
14 02152800 2 HEXB 5/16 NC 2-1/2PL
15 00780848 1 FITTING, GREASE 1/8" BSP, ST
16 00750940 2 NUT TOPLOCK 5/16 NC PLB
SE15-4A Master Parts Book (Aug-06)
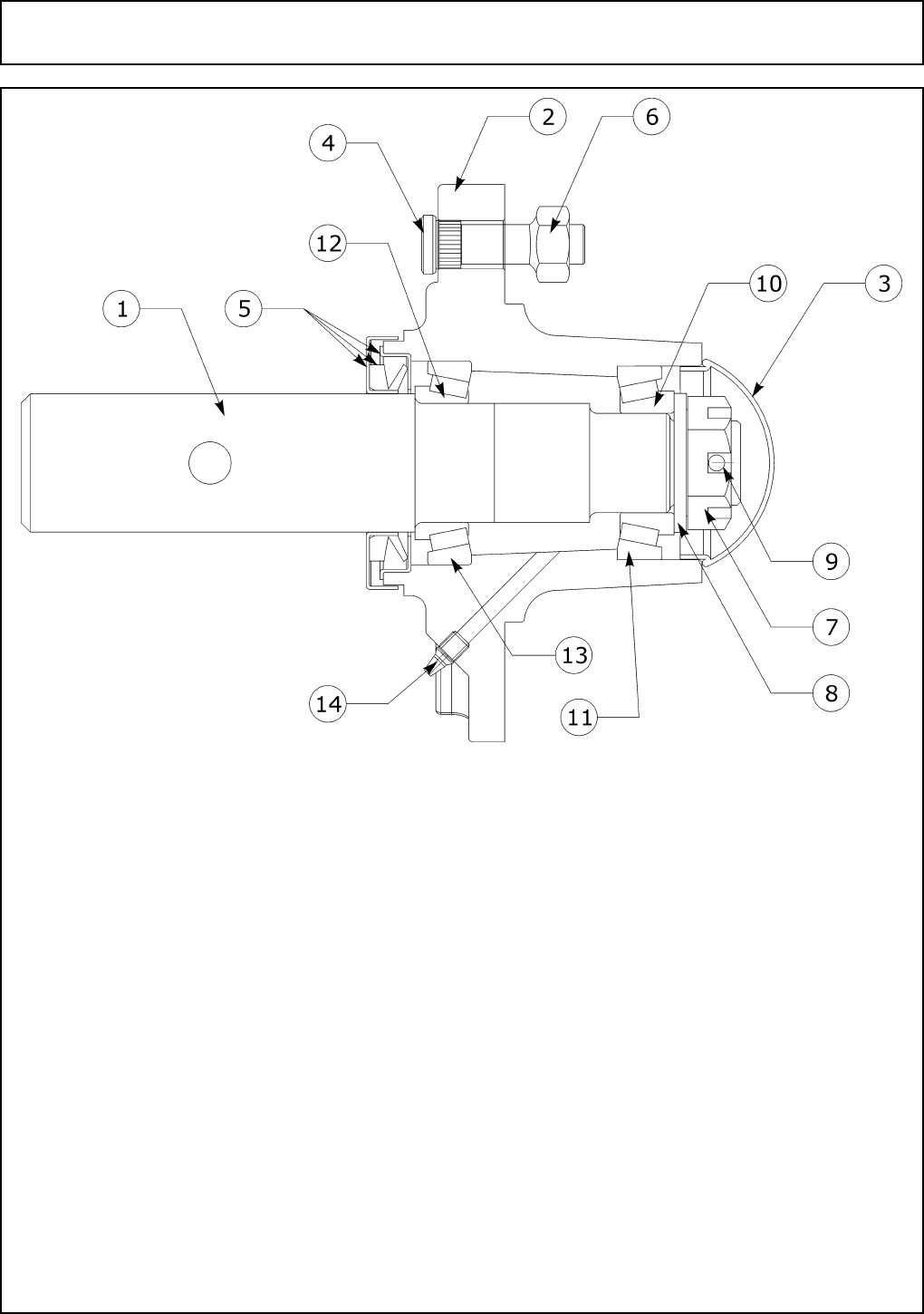
©2006 Alamo Group Inc. Parts Section – 4

AXLE ATTACHMENT S/N 14812 - CURRENT AUG 2002 - CURRENT
ITEM PART NO. QTY. DESCRIPTION
1 317918H5C 2 HEX CAP 1-8 X 7 1/2 GR.5
2 02030300 2 NUT TOPLOCK 1 NC PLB
3 7AH121022 2 HHCS 3/4-10NC 2-3/4 PL5
4 00002700 8 FLATWASHER 1/2 PL STD
5 511016 2 BUSHING
6 00037200 4 NUT TOPLOCK 3/4 NC PLC
7 00777189 2 AXLE BUSHING
8 02881000 2 HHCS 3/4 NC 3-1/2 PL5
SE15-4A Master Parts Book (Aug-06)
©2006 Alamo Group Inc. Parts Section – 5

BAFFLE ASSEMBLY S/N 14812 - CURRENT - AUG 2002 - CURRENT
ITEM PART NO. QTY. DESCRIPTION
00773850A - BAFFLE, ASY
1 00773805 1 WLDMT BAFFLE CTR WING LF SIDE
2 00773806 1 WLDMT BAFFLE CTR WING RT SIDE
3 00748823 30 HHCS 1/2-13UNC 1-1/2 PL5
4 00001800 30 LOCKNUT TLM 1/2 NC PLB
5 00773990 30 WASHER 9/16X2X1/4
6 00773802 2 WLDMT BAFFLE FOR WING
7 00773798 1 WLDMT BAFFLE WING CTR LF SIDE
8 00773799 1 WLDMT BAFFLE WING CTR RT SIDE
SE15-4A Master Parts Book (Aug-06)
©2006 Alamo Group Inc. Parts Section – 6

BLADE PAN ASSEMBLY S/N 14812 - CURRENT AUG 2002 - CURRENT
ITEM PART NO. QTY. DESCRIPTION
1 00750311 4 HEXB,5/8NC X 3-1/2,ZP,GRD5
2 00753753 2 HEXB 5/8 NC 2 PL 8
3 00756077 6 WASHER,5/8 HARDENED
4 00775240 1 BAR,BLADE FORMED
5 00775241 1 BAR,BLADE UNFORMED
6 00775242 1 PAN,BLADE
7 00775244 1 HUB BLADE
8 02956948 6 LOCKNUT 5/8 NC PLC
9 8251 2 BLADE BOLT SPECIAL
10 00758579 2 WASHER-BLADE
11 9216 2 WASHER, 1 STRUCTURAL
12 5JRC16140 2 LOCKNUT 1 -14 TLDT GC ZP
13 00775233 1 BLADE,CCW FAN 27-1/2
00775267 1 BLADE,CCW FAN 21-1/2
00776973 1 BLADE, CW FAN 22 1/2
NOTE: Items 1-8 are apart of Blade Pan Assembly (00776428)
SE15-4A Master Parts Book (Aug-06)
©2006 Alamo Group Inc. Parts Section – 7

CHAINGUARD ASSEMBLY - FRONT S/N 14812 - CURRENT AUG 2002 - CURRENT
ITEM PART NO. QTY. DESCRIPTION
1 00756986 2 WING CHAIN GUARD ASSY
2 00773024 2 CHAINGUARD, ASY, BLACK
3 00773022 1 CHAINGUARD, ASY, BLACK
4 02030700 21 HHCS 1/2-13UNC 1-1/4 PL5
5 4526 21 NUT LOCK FLG WHIZ 1/2-13 NC PL
--Service Assemblies Only--
SE15-4A Master Parts Book (Aug-06)
©2006 Alamo Group Inc. Parts Section – 8

CHAINGUARD ASSEMBLY - REAR S/N 14812 - CURRENT AUG 2002 - CURRENT
ITEM PART NO. QTY. DESCRIPTION
1 00780200 1 ASSY, REAR CENTER CHAINGUARD
2 00773018 4 CHAINGUARD, ASY, BLACK
3 02030700 14 HHCS 1/2-13UNC 1-1/4 PL5
4 4526 14 NUT LOCK FLG WHIZ 1/2-13 NC PL
--Service Assemblies Only--
SE15-4A Master Parts Book (Aug-06)
©2006 Alamo Group Inc. Parts Section – 9

CYLINDER ASSEMBLY - CENTER S/N 14812 - CURRENT - AUG 2002 - CURRENT
ITEM PART NO. QTY. DESCRIPTION
8727A - CYLINDER HYD 2-1/2 8
1 00774729 1 CLEVIS CAP 2.5-3/4 ORB-1.00
2 00774734 1 ROD CAP 2.50-1.25-3/4 ORB
3 00774730 1 PISTON 2.5-0.75-S HALL W/RING
4 00774753 1 ROD CYL 1.25-08-0.75-1.25-A
5 3047111 1 CYLINDER TUBE
6 3047112 4 TIE ROD
9 00774760 1 SEAL KIT
15 3047117 1 THREAD LOCK
16 1917140 1 ROD CLEVIS
17 00774740 1 SC SCKT SET 3/8UNCX1/2 KNUR
18 33003H5C 8 HEX NUT 3/8-16 GR.5
19 5JRC12160 1 NUT TOPLOCK 3/4 NF PLC
20 1917132 1 SCKT HD O-RNG PLUG,3/4-16 UNF,
21 2417154 1 BREATHER,CYLINDER #8 ORB
651132 2REF HOSE #6 - 8MP - 8MP - 144LG
94514 2REF ADAPTER, HYD, ELBOW SWIVEL
0652141311 2REF ADP HYD STGHT 8MB - 8FP
8354 2REF PIN-HYD. CYLINDER
00606000 2REF PIN-COTTER 3/16 X 2
--Stroke 8.00 Retracted 20.25 Extended 28.25--
SE15-4A Master Parts Book (Aug-06)
©2006 Alamo Group Inc. Parts Section – 10

CYLINDER ASSEMBLY - WING S/N 14812 - CURRENT AUG 2002 - CURRENT
ITEM PART NO. QTY. DESCRIPTION
8728A - CYLINDER HYD 2-1/2 X 14
1 00774729 1 CLEVIS CAP 2.5-3/4 ORB-1.00
2 00774734 1 ROD CAP 2.50-1.25-3/4 ORB
3 00774730 1 PISTON 2.5-0.75-S HALL W/RING
4 00775728 1 ROD CYL 1.25-14-0.75-1.12
5 00774746 1 TUBE CYL 2.00-14.00
6 00774744 4 TIE ROD 3/8-14
9 00774760 1 SEAL KIT
15 3047117 1 THREAD LOCK
16 1917140 1 ROD CLEVIS
17 00774740 1 SC SCKT SET 3/8UNCX1/2 KNUR
18 33003H5C 8 HEX NUT 3/8-16 GR.5
19 5JRC12160 1 NUT TOPLOCK 3/4 NF PLC
20 1917132 1 SCKT HD O-RNG PLUG,3/4-16 UNF,
21 2417154 1 BREATHER,CYLINDER #8 ORB
651132 2REF HOSE #6 - 8MP - 8MP - 144LG
94514 2REF ADAPTER, HYD, ELBOW SWIVEL
0652141311 2REF ADP HYD STGHT 8MB - 8FP
8354 2REF PIN-HYD. CYLINDER
00606000 2REF PIN-COTTER 3/16 X 2
--Stroke 14.00 Retracted 24.25 Extended 38.25--
SE15-4A Master Parts Book (Aug-06)
©2006 Alamo Group Inc. Parts Section – 11

CYLINDER ATTACHMENT - CENTER S/N 14812 - CURRENT AUG 2002 - CURRENT
ITEM PART NO. QTY. DESCRIPTION
1 8325 1 CYL.SPRING ARM ASSEMBLY
2 8336 1 SPRING STOP ASSEMBLY
3 00759668 1 SPRING STOP-INNER
4 8306 1 SPRING COMPRESSION
5 8326 1 SPRING ROD ASSEMBLY
6 00012300 2 NUT, 7/8 NC HEX PL
7 8349 1 PIN ASSEMBLY WELD
8 00606000 6 PIN-COTTER 3/16 X 2
9 8350 1 PIN ASSEMBLY
10 8351 1 PIN
11 9216 2 WASHER, 1 STRUCTURAL
12 103266 1 CYLINDER PIN
13 00777963 1 PLATE, TRANSPORT LOCK
SE15-4A Master Parts Book (Aug-06)
©2006 Alamo Group Inc. Parts Section – 12

CYLINDER ATTACHMENT - WING S/N 14812 - CURRENT AUG 2002 - CURRENT
ITEM PART NO. QTY. DESCRIPTION
1 8352 4 PIN ASSEMBLY
2 00606000 8 PIN-COTTER 3/16 X 2
3 9216 4 WASHER, 1 STRUCTURAL
4 00761503 4 SPACER 1-1/2 OD X1ID X 1/2LG
5 37107B13 2 CLIP-X HAIR PIN
6 8345 2 TRANSPORT BAR
SE15-4A Master Parts Book (Aug-06)
©2006 Alamo Group Inc. Parts Section – 13

DEFLECTOR ASSEMBLY - FRONT S/N 14812 - CURRENT AUG 2002 - CURRENT
ITEM PART NO. QTY. DESCRIPTION
1 00767872 1 SHIELD, FRONT DEFLECTOR
2 00772063 1 FLAT, FRONT DEFLECTOR SUPPORT
3 00767871 2 SHIELD, DEFLECTOR 19
4 00773015 2 BAR SUPPORT DEFLECTOR 19
5 02030700 21 HHCS 1/2-13UNC 1-1/4 PL5
6 00002700 21 FLATWASHER 1/2 PL STD
7 00001800 21 LOCKNUT TLM 1/2 NC PLB
8 00759859 2 SHIELD-DEBRIS DEFLECTOR FRT.
9 00773882 2 PLATE FOOT PROBE GUARD
10 00773883 2 BAR DEFLECTOR SUPPORT
SE15-4A Master Parts Book (Aug-06)
©2006 Alamo Group Inc. Parts Section – 14

DEFLECTOR ASSEMBLY - REAR S/N 14812 - CURRENT AUG 2002 - CURRENT
ITEM PART NO. QTY. DESCRIPTION
1 00772064 2 SHIELD,FRONT DEFLECTOR
2 00772063 2 FLAT, FRONT DEFLECTOR SUPPORT
3 00773014 4 SHIELD DEFLECTOR FRONT 19
4 00773015 4 BAR SUPPORT DEFLECTOR 19
5 02030700 14 HHCS 1/2-13UNC 1-1/4 PL5
6 00002700 14 FLATWASHER 1/2 PL STD
7 00001800 14 LOCKNUT TLM 1/2 NC PLB
SE15-4A Master Parts Book (Aug-06)
©2006 Alamo Group Inc. Parts Section – 15

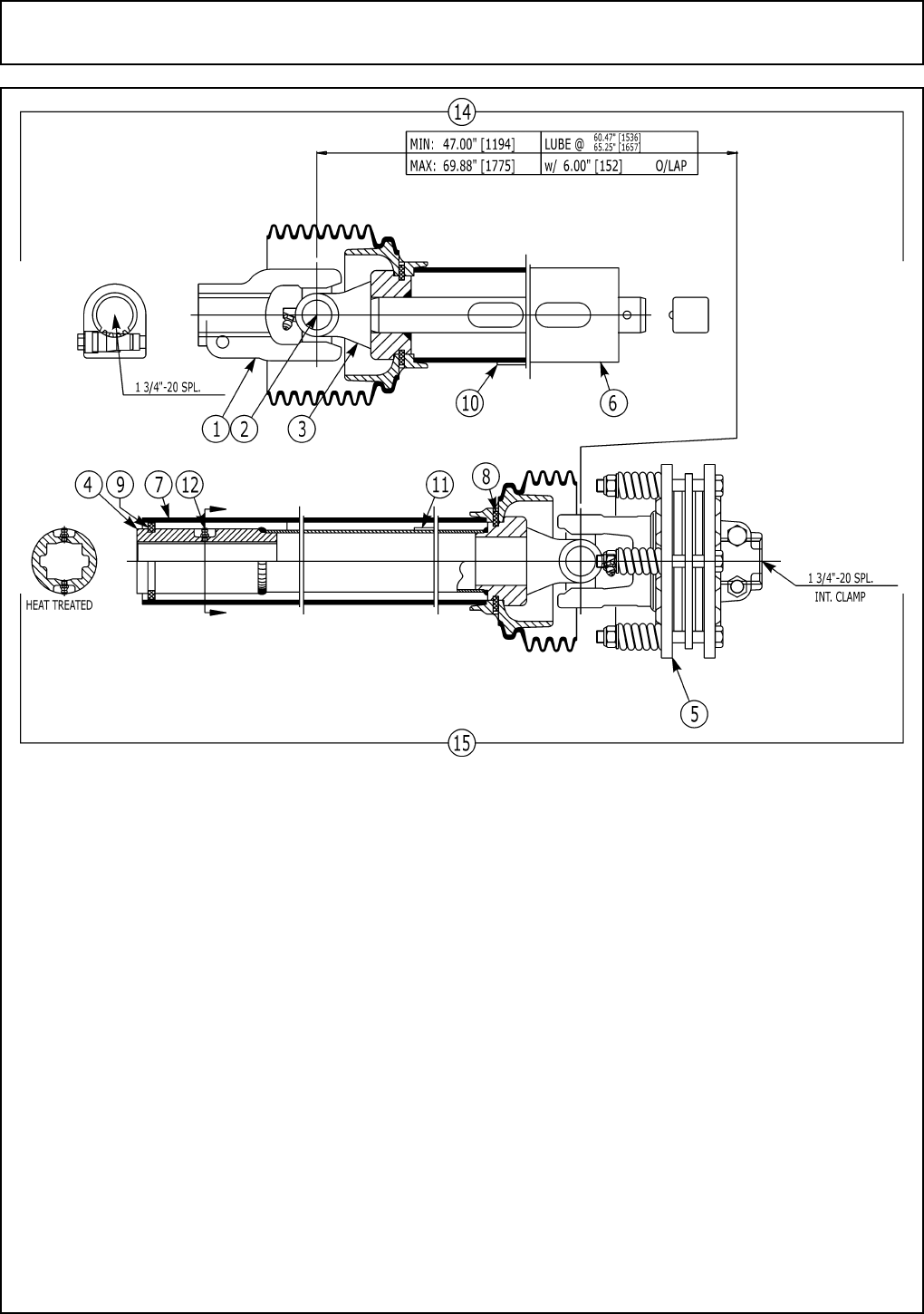
DRIVELINE ASSEMBLY - CV 1-3/8-21 CAT 5 1000 RPM S/N 14812 - CURRENT AUG 2002 - CURRENT
ITEM PART NO. QTY. DESCRIPTION
00760453 - DRIVELINE,1000 CV CAT5 1-3/8-
1 8478 1 YOKE 1-3/8 21-SP
2 8482 1 DOUBLE YOKE
3 8382 1 FITTING,GREASE M8 X 1
4 7432 1 YOKE-INBOARD
5 8484 2 CROSS & BEARING KIT
6 8384 2 SPRING PIN 10MM X 90MM
7 00760632 1 PROFILE-INNER SAGA
8 8489 1 INBOARD YOKE
9 00774207 1 YOKE 1-3/4-20 SPLINE
10 8486 1 CROSS & BEARING KIT
11 8393 1 BEARING RING
12 00760641 1 TUBE,INNER SHIELD ROUND
13 7420 1 ASSY-BEARING & CV CONE
14 8949 1 SHIELD CONE
15 00778479 1 GREASE ZERK 1/4"-28 UNF 2A THR
16 1416438 8 SCREW-SC25
17 00756005 1 DECAL-ROTATING DRIVELINE
18 00756004 1 DECAL-SHIELD MISSING
19 8974 1 SUPPORT BEARING
20 00775820 1 OUTER SHIELD HALF
21 00775821 1 INNER SHIELD HALF
22 8391 1 Q.D. COLLAR KIT
23 00774208 1 LOCK ASY CC YOKE
00760665 1 DRIVELINE-TRACTOR HALF PART OF
00760667 1 DRIVELINE IMPLEMENT HALF PART
SE15-4A Master Parts Book (Aug-06)
©2006 Alamo Group Inc. Parts Section – 16

DRIVELINE ASSEMBLY - CV 1-3/4-20 CAT 5 1000 RPM S/N 14812 - CURRENT AUG 2002 - CURRENT
ITEM PART NO. QTY. DESCRIPTION
00763554 - D/L CV 1-3/4-20 SPL (20DB)
1 00761434 1 YOKE-CV QD-1 3/4-20 SPLINE-
2 8482 1 DOUBLE YOKE
3 8382 1 FITTING,GREASE M8 X 1
4 7432 1 YOKE-INBOARD
5 8484 2 CROSS & BEARING KIT
6 8384 2 SPRING PIN 10MM X 90MM
7 00763557 1 PROFILE, STAR INNER
8 00763558 1 PROFILE,STAR OUTER
9 8489 1 INBOARD YOKE
10 00774207 1 YOKE 1-3/4-20 SPLINE
11 8486 1 CROSS & BEARING KIT
12 8393 2 BEARING RING
13 00763560 1 TUBE,OUTER SHIELD
14 00763559 1 TUBE,D/L INNER SHIELD
15 7420 1 ASSY-BEARING & CV CONE
16 8949 1 SHIELD CONE
17 00778479 1 GREASE ZERK 1/4"-28 UNF 2A THR
18 1416438 8 SCREW-SC25
19 00756005 1 DECAL-ROTATING DRIVELINE
20 00756004 1 DECAL-SHIELD MISSING
21 8974 1 SUPPORT BEARING
22 00775824 1 OUTER SHIELD HALF
23 00775825 1 INNER SHIELD HALF
24 00759556 1 KIT, SLIDE COLLAR
25 00774208 1 LOCK ASY CC YOKE
00763555 1 D/L TRACTOR HALF 1-3/4-20 CV
00763556 1 D/L IMPLEMENT HALF 1-3/4-20
SE15-4A Master Parts Book (Aug-06)
©2006 Alamo Group Inc. Parts Section – 17

DRIVELINE ASSEMBLY - INTERMEDIATE S/N 14812 - CURRENT AUG 2002 - CURRENT
ITEM PART NO. QTY. DESCRIPTION
00775340 - DRIVESHAFT INTERMEDIATE SE15
1 00775341 1 YOKE 1-3/4-20 SPLINE
2 W279R 2 CROSS REPAIR KIT, CTR
3 00775342 1 DOUBLE YOKE
4 00775333 1 FLANGE YOKE
5 00775331 1 CLUTCH FRICTION
SE15-4A Master Parts Book (Aug-06)
©2006 Alamo Group Inc. Parts Section – 18

DRIVELINE ASSEMBLY - WING 1-3/4-20 CAT 4 S/N 14812 - CURRENT AUG 2002 - CURRENT
ITEM PART NO. QTY. DESCRIPTION
1 00775316 1 YOKE 1-3/4-20 SPL I.C.
2 00189700 2 CROSSKIT
3 00756934 2 PIN,ROLL 10 X 80
4 00775317 1 YOKE INBOARD 1B
5 00775375 1 INNER PROFILE 1B
6 00775376 1 PROFILE & SLEEVE W.A.
7 00775318 1 YOKE INBOARD 2A
8 00775315 1 CLUTCH FRICTION
9 8393 2 BEARING RING
10 00756005 1 DECAL-ROTATING DRIVELINE
11 00756004 1 DECAL-SHIELD MISSING
12 00759217 2 SCREW 1/2 LG END
13 8974 1 SUPPORT BEARING
14 1416601 1 ZERK
15 00775384 2 BOLT P1.75 M12 X 60
16 00775327 1 NUT P1.75 M12
17 00775319 1 SHIELD OUTER HALF
18 00775320 1 SHIELD INNER HALF
00775313 1 DRIVELINE TRACTOR HALF CAT 4
00775314 1 DRIVELINE IMPLEMENT HALF CAT 4
SE15-4A Master Parts Book (Aug-06)
©2006 Alamo Group Inc. Parts Section – 19

DRIVELINE ASSEMBLY - WING 1-3/4-20 CAT 5 S/N 14812 - CURRENT AUG 2002 - CURRENT
ITEM PART NO. QTY. DESCRIPTION
00775343 - DRIVELINE WNG CAT5 SC 1-3/4 20
1 00775005 1 YOKE 44R 1-3/4-20 TAPER PIN
2 W840 2 CROSS REPR KIT
3 W816F 1 YOKE & SQ SHFT PAINT BLACK
4 00775344 1 YOKE, I.B. TUBE & SLEEVE W.A.
5 00775382 1 FRICTION CLUTCH
6 00775345 1 OUTER SHIELD TUBE ASSY
7 00775346 1 INNER SHIELD TUBE ASSY
8 00775347 4 SHIELD BEARING
9 00775348 1 SUPPORT BEARING
10 7387 1 DECAL, DECK U-JOINT
11 00756004 1 DECAL-SHIELD MISSING
12 00752670 2 GREASE FITTING 1/4-28 BOLT THD
13 00774208 1 LOCK ASY CC YOKE
14 00775349 1 DRIVELINE WING INNER SHAFT
15 00775350 1 DRIVELINE WING OUTER TUBE
SE15-4A Master Parts Book (Aug-06)
©2006 Alamo Group Inc. Parts Section – 20

DRIVELINE ASSEMBLY - CV 1-3/8-6 CAT 5 540 RPM S/N 14812 - CURRENT AUG 2002 - CURRENT
ITEM PART NO. QTY. DESCRIPTION
00760452 - DRIVELINE,540 CV CAT 5 1-3/8-6
1 7431 1 YOKE SLIDE COLLAR
2 8482 1 DOUBLE YOKE
3 8382 1 FITTING,GREASE M8 X 1
4 7432 1 YOKE-INBOARD
5 8484 2 CROSS & BEARING KIT
6 8384 2 SPRING PIN 10MM X 90MM
7 00760632 1 PROFILE-INNER SAGA
8 8489 1 INBOARD YOKE
9 00774207 1 YOKE 1-3/4-20 SPLINE
10 8486 1 CROSS & BEARING KIT
11 8393 2 BEARING RING
12 00760641 1 TUBE,INNER SHIELD ROUND
13 7420 1 ASSY-BEARING & CV CONE
14 8949 1 SHIELD CONE
15 00778479 1 GREASE ZERK 1/4"-28 UNF 2A THR
16 1416438 8 SCREW-SC25
17 00756005 1 DECAL-ROTATING DRIVELINE
18 00756004 1 DECAL-SHIELD MISSING
19 8974 1 SUPPORT BEARING
20 00775820 1 OUTER SHIELD HALF
21 00775821 1 INNER SHIELD HALF
22 8391 1 Q.D. COLLAR KIT
23 00774208 1 LOCK ASY CC YOKE
00760668 1 DRIVELINE TRACTOR HALF PART OF
00760667 1 DRIVELINE IMPLEMENT HALF PART
SE15-4A Master Parts Book (Aug-06)
©2006 Alamo Group Inc. Parts Section – 21

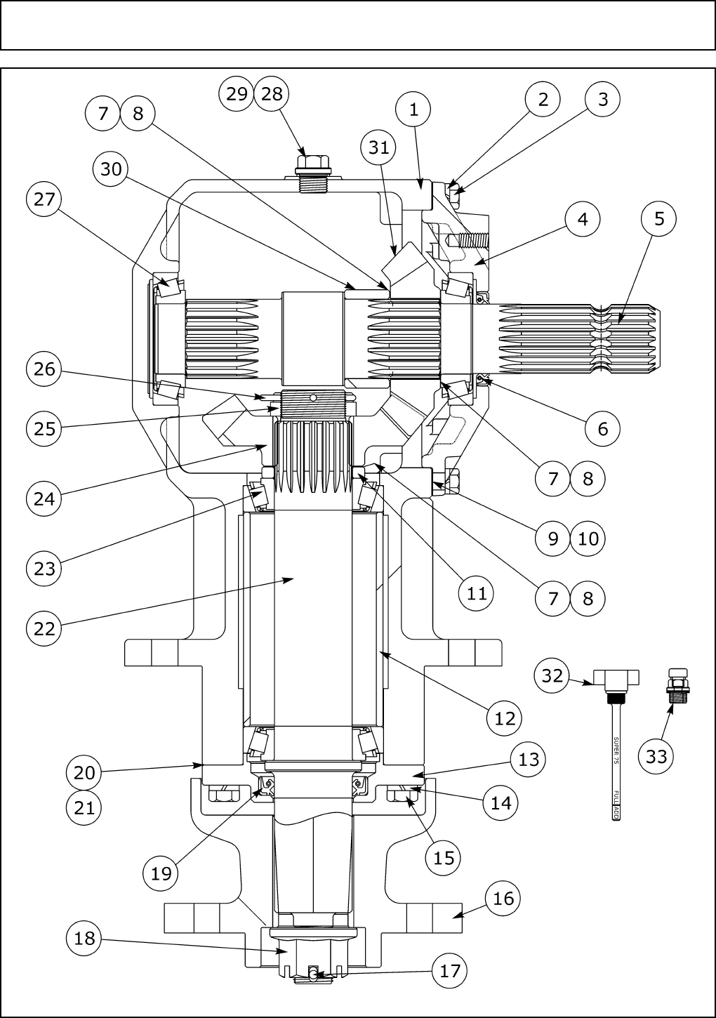
GEARBOX ASSEMBLY - CENTER & LEFT 540 RPM S/N 14812 - 17107 AUG 2002 - MAR 2005
SE15-4A Master Parts Book (Aug-06)
©2006 Alamo Group Inc. Parts Section – 22

GEARBOX ASSEMBLY - CENTER & LEFT 540 RPM S/N 14812 - 17107 AUG 2002 - MAR 2005
ITEM PART NO. QTY. DESCRIPTION
00775919 - GEARBOX SUPER 75 1:1.46 SU
1 00775921 1 G/B HOUSING SUPER 75
2 00755954 8 LOCKWASHER M10
3 00758659 8 HHCS, M10X1.5X32
4 00758664 1 CAP,INPUT
5 00758689 1 SHAFT,INPUT
6 00758653 1 SEAL, INPUT SHAFT
7 00758667 VAR SHIM .012
8 00758668 VAR SHIM,0.020
9 00758646 VAR SHIM, ADJUSTMENT .004 OR .1M
10 00758647 VAR SHIM, ADJUSTMENT .010 OR .25M
11 00759977 1 SPACER GEAR MOUNT
12 00775923 1 SPACER OUTPUT SUPER 75
13 00758663 1 CAP, OUTPUT
14 00758672 4 LOCKWASHER,M12
15 02959661 4 HEXB METRIC 12-P1.75-35MMPL8.8
16 00775244 1 HUB BLADE
17 00606000 1 PIN-COTTER 3/16 X 2
18 00758692 1 NUT,1-14 FLANGED HEX SLOTTED
19 00758674 1 SEAL, OUTPUT SHAFT 50X70X10
20 00758676 VAR GASKET, .004 OR .1M
21 00758677 VAR GASKET, .010 OR .25M
22 00775922 1 SHAFT OUTPUT SUPER 75
23 00769938 2 BEARING,TIMKEN 30210
24 00758693 1 GEAR,13 TOOTH
25 00762121 1 NUT,HEX THIN SLOTTED
26 00770421 1 PIN, COTTER 3.6MM x 65MM
27 00755615 2 BEARING
28 00770737 2 LEVEL PLUG M18 X 1.5
29 00769321 3 WASHER,SEALING,17.8MX22MX3M
30 00758657 1 SPACER,INPUT SHAFT
31 00758694 1 GEAR,19 TOOTH
32 00762114 1 PLUG,VENT W/WASHER 18M-P1.5
SE15-4A Master Parts Book (Aug-06)
©2006 Alamo Group Inc. Parts Section – 23

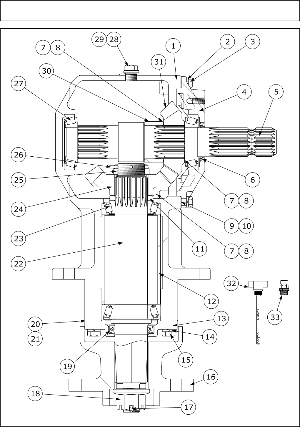
GEARBOX ASSEMBLY - CENTER & LEFT 540 RPM S/N 17108 - CURRENT APR 2005 - CURRENT
SE15-4A Master Parts Book (Aug-06)
©2006 Alamo Group Inc. Parts Section – 24

GEARBOX ASSEMBLY - CENTER & LEFT 540 RPM S/N 17108 - CURRENT APR 2005 - CURRENT
ITEM PART NO. QTY. DESCRIPTION
00775919A - SUPER AG-75S-1:1.46SU- 1 3/4"-
1 00775921 1 G/B HOUSING SUPER 75
2 00755954 8 LOCKWASHER M10
3 00758659 8 HHCS, M10X1.5X32
4 00758664 1 CAP,INPUT
5 00758689 1 SHAFT,INPUT
6 00758653 1 SEAL, INPUT SHAFT
7 00758667 VAR SHIM .012
8 00758668 VAR SHIM,0.020
9 00758646 VAR SHIM, ADJUSTMENT .004 OR .1M
10 00758647 VAR SHIM, ADJUSTMENT .010 OR .25M
11 00759977 1 SPACER GEAR MOUNT
12 00775923 1 SPACER OUTPUT SUPER 75
13 00758663 1 CAP, OUTPUT
14 00758672 4 LOCKWASHER,M12
15 02959661 4 HEXB METRIC 12-P1.75-35MMPL8.8
16 00775244 1 HUB BLADE
17 00606000 1 PIN-COTTER 3/16 X 2
18 00758674 1 SEAL, OUTPUT SHAFT 50X70X10
19 00758692 1 NUT,1-14 FLANGED HEX SLOTTED
20 00758676 VAR GASKET, .004 OR .1M
21 00758677 VAR GASKET, .010 OR .25M
22 00775922 1 SHAFT OUTPUT SUPER 75
23 00769938 2 BEARING,TIMKEN 30210
24 00758693 1 GEAR,13 TOOTH
25 00762121 1 NUT,HEX THIN SLOTTED
26 00770421 1 PIN, COTTER 3.6MM x 65MM
27 00755615 2 BEARING
28 00770737 2 LEVEL PLUG M18 X 1.5
29 00769321 2 WASHER,SEALING,17.8MX22MX3M
30 00758657 1 SPACER,INPUT SHAFT
31 00758694 1 GEAR,19 TOOTH
32 00778907 1 ASSY-DIPSTICK FOR SUPER 75 GBS
33 00762114 1 PLUG,VENT W/WASHER 18M-P1.5
SE15-4A Master Parts Book (Aug-06)
©2006 Alamo Group Inc. Parts Section – 25

GEARBOX ASSEMBLY - CENTER 1000 RPM S/N 14812 - 17107 AUG 2002 - MAR 2005
SE15-4A Master Parts Book (Aug-06)
©2006 Alamo Group Inc. Parts Section – 26

GEARBOX ASSEMBLY - CENTER 1000 RPM S/N 14812 - 17107 AUG 2002 - MAR 2005
ITEM PART NO. QTY. DESCRIPTION
00776977 - GEARBOX SUPER 75 1.21:1RD
1 00775921 1 G/B HOUSING SUPER 75
2 00755954 8 LOCKWASHER M10
3 00758659 8 HHCS, M10X1.5X32
4 00758664 1 CAP,INPUT
5 00758689 1 SHAFT,INPUT
6 00758653 1 SEAL, INPUT SHAFT
7 00758667 VAR SHIM .012
8 00758668 VAR SHIM,0.020
9 00758646 VAR SHIM, ADJUSTMENT .004 OR .1M
10 00758647 VAR SHIM, ADJUSTMENT .010 OR .25M
11 00759977 1 SPACER GEAR MOUNT
12 00775923 1 SPACER OUTPUT SUPER 75
13 00758663 1 CAP, OUTPUT
14 00758672 4 LOCKWASHER,M12
15 02959661 4 HEXB METRIC 12-P1.75-35MMPL8.8
16 00775244 1 HUB BLADE
17 00606000 1 PIN-COTTER 3/16 X 2
18 00758692 1 NUT,1-14 FLANGED HEX SLOTTED
19 00758674 1 SEAL, OUTPUT SHAFT 50X70X10
20 00758676 VAR GASKET, .004 OR .1M
21 00758677 VAR GASKET, .010 OR .25M
22 00775922 1 SHAFT OUTPUT SUPER 75
23 00769938 2 BEARING,TIMKEN 30210
24 00759488 1 GEAR, 17 TOOTH
25 00770730 1 BEARING ADJUSTING NUT
26 00770421 1 PIN, COTTER 3.6MM x 65MM
27 00755615 2 BEARING
28 00770737 2 LEVEL PLUG M18 X 1.5
29 00769321 3 WASHER,SEALING,17.8MX22MX3M
30 00758657 1 SPACER,INPUT SHAFT
31 00759487 1 GEAR, 14 TOOTH
32 00762114 1 PLUG,VENT W/WASHER 18M-P1.5
SE15-4A Master Parts Book (Aug-06)
©2006 Alamo Group Inc. Parts Section – 27

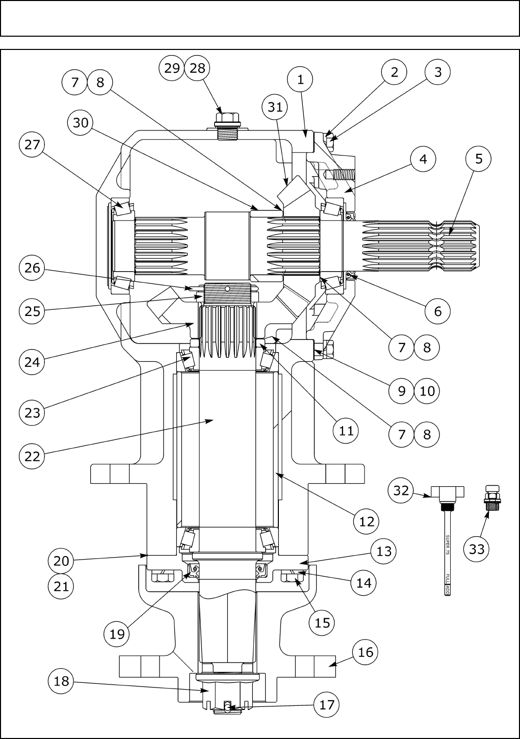
GEARBOX ASSEMBLY - CENTER 1000 RPM S/N 17108 - CURRENT APR 2005 - CURRENT
SE15-4A Master Parts Book (Aug-06)
©2006 Alamo Group Inc. Parts Section – 28

GEARBOX ASSEMBLY - CENTER 1000 RPM S/N 17108 - CURRENT APR 2005 - CURRENT
ITEM PART NO. QTY. DESCRIPTION
00776977A - SUPER AG-75S-1.21:1RD- 1 3/4"-
1 00775921 1 G/B HOUSING SUPER 75
2 00755954 8 LOCKWASHER M10
3 00758659 8 HHCS, M10X1.5X32
4 00758664 1 CAP,INPUT
5 00758689 1 SHAFT,INPUT
6 00758653 1 SEAL, INPUT SHAFT
7 00758667 VAR SHIM .012
8 00758668 VAR SHIM,0.020
9 00758646 VAR SHIM, ADJUSTMENT .004 OR .1M
10 00758647 VAR SHIM, ADJUSTMENT .010 OR .25M
11 00759977 1 SPACER GEAR MOUNT
12 00775923 1 SPACER OUTPUT SUPER 75
13 00758663 1 CAP, OUTPUT
14 00758672 4 LOCKWASHER,M12
15 02959661 4 HEXB METRIC 12-P1.75-35MMPL8.8
16 00775244 1 HUB BLADE
17 00606000 1 PIN-COTTER 3/16 X 2
18 00758692 1 NUT,1-14 FLANGED HEX SLOTTED
19 00758674 1 SEAL, OUTPUT SHAFT 50X70X10
20 00758676 VAR GASKET, .004 OR .1M
21 00758677 VAR GASKET, .010 OR .25M
22 00775922 1 SHAFT OUTPUT SUPER 75
23 00769938 2 BEARING,TIMKEN 30210
24 00759488 1 GEAR, 17 TOOTH
25 00762121 1 NUT,HEX THIN SLOTTED
26 00770421 1 PIN, COTTER 3.6MM x 65MM
27 00755615 2 BEARING
28 00770737 2 LEVEL PLUG M18 X 1.5
29 00769321 2 WASHER,SEALING,17.8MX22MX3M
30 00758657 1 SPACER,INPUT SHAFT
31 00759487 1 GEAR, 14 TOOTH
32 00778907 1 ASSY-DIPSTICK FOR SUPER 75 GBS
33 00762114 1 PLUG,VENT W/WASHER 18M-P1.5
SE15-4A Master Parts Book (Aug-06)
©2006 Alamo Group Inc. Parts Section – 29

GEARBOX ASSEMBLY - DIVIDER 1000 RPM S/N 14812 - CURRENT AUG 2002 - CURRENT
SE15-4A Master Parts Book (Aug-06)
©2006 Alamo Group Inc. Parts Section – 30

GEARBOX ASSEMBLY - DIVIDER 1000 RPM S/N 14812 - CURRENT AUG 2002 - CURRENT
ITEM PART NO. QTY. DESCRIPTION
00755698 - DIVIDER GEARBOX
1 00756643 2 SHAFT, 1-3/4-20 SPL WG OUTPUT
2 00756644 2 SEAL,OIL 45X80X10
3 00753226 2 PLUG
4 00753224 2 CIRCLIP, INTERNAL
5 00756645 2 SHIM, 69X79.9
6 00755746 2 GEAR, SIDE BEVEL 1000 T25A G/B
7 00756646 2 BEARING, BALL
8 00756647 2 SHIM, 65.3X79.7
9 00753232 1 CASING
10 00753237 2 INTERNAL CIRCLIP
11 00753238 2 OIL SEAL
12 00753235 2 SHIM
13 00753241 1 BEARING
14 00756648 1 SHAFT, 1-3/4-20 CTR SHAFT
15 00755068 1 SHOULDER RING
16 00755070 1 BEARING
17 00755745 1 GEAR, CTR BEVEL, 1000 T25A G/B
18 00753239 1 OIL FILLER PLUG
19 00753231 6 SCHNORR WASHER
20 00753230 6 HEXB METRIC 8-P1.25- 30MM PL5
21 00753240 1 COVER
22 00755069 1 GASKET
23 00753223 2 BEARING
24 00756649 2 SNAP RING 40 UNI7436 .096 THK
SE15-4A Master Parts Book (Aug-06)
©2006 Alamo Group Inc. Parts Section – 31

GEARBOX ASSEMBLY - DIVIDER 540 RPM S/N 14812 - CURRENT AUG 2002 - CURRENT
SE15-4A Master Parts Book (Aug-06)
©2006 Alamo Group Inc. Parts Section – 32

GEARBOX ASSEMBLY - DIVIDER 540 RPM S/N 14812 - CURRENT AUG 2002 - CURRENT
ITEM PART NO. QTY. DESCRIPTION
00756604 - DIVIDER GEARBOX, COMER W/1-3/4
1 00756643 2 SHAFT, 1-3/4-20 SPL WG OUTPUT
2 00756644 2 SEAL,OIL 45X80X10
3 00753226 2 PLUG
4 00773224 2 CONVERSION KIT NEW STYLE D4
5 00563700 2 BEARING, BALL
6 00772983 2 GEAR PINION Z20 20 TEETH
7 00753223 2 BEARING
8 00756645 4 SHIM, 69X79.9
9 00753232 1 CASING
10 00753237 2 INTERNAL CIRCLIP
11 00753238 2 OIL SEAL
12 2716406 2 SHIM 84.7
13 00753241 1 BEARING
14 00756648 1 SHAFT, 1-3/4-20 CTR SHAFT
15 00755068 1 SHOULDER RING
16 00753241 1 BEARING
17 00772984 1 GEAR Z24 24 TEETH
18 2716590 1 PLUG,VENT W/DIAPHRAM
19 00753231 6 SCHNORR WASHER
20 00753230 6 HEXB METRIC 8-P1.25- 30MM PL5
21 00753240 1 COVER
22 00756649 2 SNAP RING 40 UNI7436 .096 THK
SE15-4A Master Parts Book (Aug-06)
©2006 Alamo Group Inc. Parts Section – 33

GEARBOX ASSEMBLY - LEFT WING 1000 RPM S/N 14812 - 17107 AUG 2002 - MAR 2005
SE15-4A Master Parts Book (Aug-06)
©2006 Alamo Group Inc. Parts Section – 34

GEARBOX ASSEMBLY - LEFT WING 1000 RPM S/N 14812 - 17107 AUG 2002 - MAR 2005
ITEM PART NO. QTY. DESCRIPTION
00776978 - GEARBOX SUPER 75 1:1.21SU
1 00775921 1 G/B HOUSING SUPER 75
2 00755954 8 LOCKWASHER M10
3 00758659 8 HHCS, M10X1.5X32
4 00758664 1 CAP,INPUT
5 00758689 1 SHAFT,INPUT
6 00758653 1 SEAL, INPUT SHAFT
7 00758667 VAR SHIM .012
8 00758668 VAR SHIM,0.020
9 00758646 VAR SHIM, ADJUSTMENT .004 OR .1M
10 00758647 VAR SHIM, ADJUSTMENT .010 OR .25M
11 00759977 1 SPACER GEAR MOUNT
12 00775923 1 SPACER OUTPUT SUPER 75
13 00758663 1 CAP, OUTPUT
14 00758672 4 LOCKWASHER,M12
15 02959661 4 HEXB METRIC 12-P1.75-35MMPL8.8
16 00775244 1 HUB BLADE
17 00606000 1 PIN-COTTER 3/16 X 2
18 00758692 1 NUT,1-14 FLANGED HEX SLOTTED
19 00758674 1 SEAL, OUTPUT SHAFT 50X70X10
20 00758676 VAR GASKET, .004 OR .1M
21 00758677 VAR GASKET, .010 OR .25M
22 00775922 1 SHAFT OUTPUT SUPER 75
23 00769938 2 BEARING,TIMKEN 30210
24 00759488 1 GEAR, 17 TOOTH
25 00770730 1 BEARING ADJUSTING NUT
26 00770421 1 PIN, COTTER 3.6MM x 65MM
27 00755615 2 BEARING
28 00770737 2 LEVEL PLUG M18 X 1.5
29 00769321 3 WASHER,SEALING,17.8MX22MX3M
30 00758657 1 SPACER,INPUT SHAFT
31 00759487 1 GEAR, 14 TOOTH
32 00762114 1 PLUG,VENT W/WASHER 18M-P1.5
SE15-4A Master Parts Book (Aug-06)
©2006 Alamo Group Inc. Parts Section – 35

GEARBOX ASSEMBLY - LEFT WING 1000 RPM S/N 17108 - CURRENT APR 2005 - CURRENT
SE15-4A Master Parts Book (Aug-06)
©2006 Alamo Group Inc. Parts Section – 36

GEARBOX ASSEMBLY - LEFT WING 1000 RPM S/N 17108 - CURRENT APR 2005 - CURRENT
ITEM PART NO. QTY. DESCRIPTION
00776978A - SUPER AG-75S-1:1.21SU- 1 3/4"-
1 00775921 1 G/B HOUSING SUPER 75
2 00755954 8 LOCKWASHER M10
3 00758659 8 HHCS, M10X1.5X32
4 00758664 1 CAP,INPUT
5 00758689 1 SHAFT,INPUT
6 00773640 1 SEAL THRU SHAFT
7 00758667 VAR SHIM .012
8 00758668 VAR SHIM,0.020
9 00758646 VAR SHIM, ADJUSTMENT .004 OR .1M
10 00758647 VAR SHIM, ADJUSTMENT .010 OR .25M
11 00759977 1 SPACER GEAR MOUNT
12 00775923 1 SPACER OUTPUT SUPER 75
13 00758663 1 CAP, OUTPUT
14 00758672 4 LOCKWASHER,M12
15 02959661 4 HEXB METRIC 12-P1.75-35MMPL8.8
16 00775244 1 HUB BLADE
17 00606000 1 PIN-COTTER 3/16 X 2
18 00758692 1 NUT,1-14 FLANGED HEX SLOTTED
19 00758674 1 SEAL, OUTPUT SHAFT 50X70X10
20 00758676 VAR GASKET, .004 OR .1M
21 00758677 VAR GASKET, .010 OR .25M
22 00775922 1 SHAFT OUTPUT SUPER 75
23 00769938 2 BEARING,TIMKEN 30210
24 00759487 1 GEAR, 14 TOOTH
25 00762121 1 NUT,HEX THIN SLOTTED
26 00770421 1 PIN, COTTER 3.6MM x 65MM
27 00755615 2 BEARING
28 00770737 2 LEVEL PLUG M18 X 1.5
29 00769321 2 WASHER,SEALING,17.8MX22MX3M
30 00758657 1 SPACER,INPUT SHAFT
31 00759488 1 GEAR, 17 TOOTH
32 00778907 1 ASSY-DIPSTICK FOR SUPER 75 GBS
33 00762114 1 PLUG,VENT W/WASHER 18M-P1.5
SE15-4A Master Parts Book (Aug-06)
©2006 Alamo Group Inc. Parts Section – 37

GEARBOX ASSEMBLY - RIGHT WING 1000 RPM S/N 14812 - 17107 AUG 2002 - MAR 2005
SE15-4A Master Parts Book (Aug-06)
©2006 Alamo Group Inc. Parts Section – 38

GEARBOX ASSEMBLY - RIGHT WING 1000 RPM S/N 14812 - 17107 AUG 2002 - MAR 2005
ITEM PART NO. QTY. DESCRIPTION
00776979 - GEARBOX SUPER 75 1:1.21SU
1 00775921 1 G/B HOUSING SUPER 75
2 00755954 8 LOCKWASHER M10
3 00758659 8 HHCS, M10X1.5X32
4 00758664 1 CAP,INPUT
5 00758689 1 SHAFT,INPUT
6 00758653 1 SEAL, INPUT SHAFT
7 00758667 VAR SHIM .012
8 00758668 VAR SHIM,0.020
9 00758646 VAR SHIM, ADJUSTMENT .004 OR .1M
10 00758647 VAR SHIM, ADJUSTMENT .010 OR .25M
11 00759977 1 SPACER GEAR MOUNT
12 00775923 1 SPACER OUTPUT SUPER 75
13 00758663 1 CAP, OUTPUT
14 00758672 4 LOCKWASHER,M12
15 02959661 4 HEXB METRIC 12-P1.75-35MMPL8.8
16 00775244 1 HUB BLADE
17 00606000 1 PIN-COTTER 3/16 X 2
18 00758692 1 NUT,1-14 FLANGED HEX SLOTTED
19 00758674 1 SEAL, OUTPUT SHAFT 50X70X10
20 00758676 VAR GASKET, .004 OR .1M
21 00758677 VAR GASKET, .010 OR .25M
22 00775922 1 SHAFT OUTPUT SUPER 75
23 00769938 2 BEARING,TIMKEN 30210
24 00759488 1 GEAR, 17 TOOTH
25 00770730 1 BEARING ADJUSTING NUT
26 00770421 1 PIN, COTTER 3.6MM x 65MM
27 00755615 2 BEARING
28 00770737 2 LEVEL PLUG M18 X 1.5
29 00769321 3 WASHER,SEALING,17.8MX22MX3M
30 00758657 1 SPACER,INPUT SHAFT
31 00759487 1 GEAR, 14 TOOTH
32 00762114 1 PLUG,VENT W/WASHER 18M-P1.5
SE15-4A Master Parts Book (Aug-06)
©2006 Alamo Group Inc. Parts Section – 39

GEARBOX ASSEMBLY - RIGHT WING 1000 RPM S/N 17108 - CURRENT APR 2005 - CURRENT
SE15-4A Master Parts Book (Aug-06)
©2006 Alamo Group Inc. Parts Section – 40

GEARBOX ASSEMBLY - RIGHT WING 1000 RPM S/N 17108 - CURRENT APR 2005 - CURRENT
ITEM PART NO. QTY. DESCRIPTION
00776979A - SUPER AG-75R-1:1.21SU 1 3/4"-
1 00775921 1 G/B HOUSING SUPER 75
2 00755954 8 LOCKWASHER M10
3 00758659 8 HHCS, M10X1.5X32
4 00758664 1 CAP,INPUT
5 00758689 1 SHAFT,INPUT
6 00758653 1 SEAL, INPUT SHAFT
7 00758667 VAR SHIM .012
8 00758668 VAR SHIM,0.020
9 00758646 VAR SHIM, ADJUSTMENT .004 OR .1M
10 00758647 VAR SHIM, ADJUSTMENT .010 OR .25M
11 00759977 1 SPACER GEAR MOUNT
12 00775923 1 SPACER OUTPUT SUPER 75
13 00758663 1 CAP, OUTPUT
14 00758672 4 LOCKWASHER,M12
15 02959661 4 HEXB METRIC 12-P1.75-35MMPL8.8
16 00775244 1 HUB BLADE
17 00606000 1 PIN-COTTER 3/16 X 2
18 00758692 1 NUT,1-14 FLANGED HEX SLOTTED
19 00758674 1 SEAL, OUTPUT SHAFT 50X70X10
20 00758676 VAR GASKET, .004 OR .1M
21 00758677 1 GASKET, .010 OR .25M
22 00775922 2 SHAFT OUTPUT SUPER 75
23 00769938 1 BEARING,TIMKEN 30210
24 00759487 1 GEAR, 14 TOOTH
25 00762121 1 NUT,HEX THIN SLOTTED
26 00770421 2 PIN, COTTER 3.6MM x 65MM
27 00755615 2 BEARING
28 00770737 2 LEVEL PLUG M18 X 1.5
29 00769321 1 WASHER,SEALING,17.8MX22MX3M
30 00758657 1 SPACER,INPUT SHAFT
31 00759488 1 GEAR, 17 TOOTH
32 00778907 1 ASSY-DIPSTICK FOR SUPER 75 GBS
33 00762114 1 PLUG,VENT W/WASHER 18M-P1.5
SE15-4A Master Parts Book (Aug-06)
©2006 Alamo Group Inc. Parts Section – 41

GEARBOX ASSEMBLY - RIGHT WING 540 RPM S/N 14812 - 17107 AUG 2002 - MAR 2005
SE15-4A Master Parts Book (Aug-06)
©2006 Alamo Group Inc. Parts Section – 42

GEARBOX ASSEMBLY - RIGHT WING 540 RPM S/N 14812 - 17107 AUG 2002 - MAR 2005
ITEM PART NO. QTY. DESCRIPTION
00760506 - GEARBOX SPD RD CW/CCW
1 00758661 1 HOUSING,GEARBOX SINGLE INPUT
2 00755954 8 LOCKWASHER M10
3 00758659 8 HHCS, M10X1.5X32
4 00758664 1 CAP,INPUT
5 00758689 1 SHAFT,INPUT
6 00758653 1 SEAL, INPUT SHAFT
7 00758667 VAR SHIM .012
8 00758668 VAR SHIM,0.020
9 00758646 VAR SHIM, ADJUSTMENT .004 OR .1M
10 00758647 VAR SHIM, ADJUSTMENT .010 OR .25M
11 00759977 1 SPACER GEAR MOUNT
12 00760889 1 SPACER,OUTPUT BEARING
13 00758663 1 CAP, OUTPUT
14 00758672 4 LOCKWASHER,M12
15 02959661 4 HEXB METRIC 12-P1.75-35MMPL8.8
16 00758675 1 HUB,2 1/2 BLADE
17 00606000 1 PIN-COTTER 3/16 X 2
18 00758692 1 NUT,1-14 FLANGED HEX SLOTTED
19 00758674 1 SEAL, OUTPUT SHAFT 50X70X10
20 00758676 VAR GASKET, .004 OR .1M
21 00758677 VAR GASKET, .010 OR .25M
22 00760892 1 SHAFT OUTPUT W/SLOTTED NUT
23 00769938 2 BEARING,TIMKEN 30210
24 00759488 1 GEAR, 17 TOOTH
25 00762121 1 NUT,HEX THIN SLOTTED
26 00606000 1 PIN-COTTER 3/16 X 2
27 00755615 2 BEARING
28 00762114 1 PLUG,VENT W/WASHER 18M-P1.5
29 ------------- 1 PLASTIC CAP PLUG
30 00769321 2 WASHER,SEALING,17.8MX22MX3M
31 00758657 1 SPACER,INPUT SHAFT
32 00759487 1 GEAR, 14 TOOTH
33 00770737 1 LEVEL PLUG M18 X 1.5
SE15-4A Master Parts Book (Aug-06)
©2006 Alamo Group Inc. Parts Section – 43

GEARBOX ASSEMBLY - RIGHT WING 540 RPM S/N 17108 - CURRENT APR 2005 - CURRENT
SE15-4A Master Parts Book (Aug-06)
©2006 Alamo Group Inc. Parts Section – 44

GEARBOX ASSEMBLY - RIGHT WING 540 RPM S/N 17108 - CURRENT APR 2005 - CURRENT
ITEM PART NO. QTY. DESCRIPTION
00776972A - SUPER AG-75R-1:1.46SU 1 3/4"-
1 00775921 1 G/B HOUSING SUPER 75
2 00755954 8 LOCKWASHER M10
3 00758659 8 HHCS, M10X1.5X32
4 00758664 1 CAP,INPUT
5 00758689 1 SHAFT,INPUT
6 00758653 1 SEAL, INPUT SHAFT
7 00758667 VAR SHIM .012
8 00758668 VAR SHIM,0.020
9 00758646 VAR SHIM, ADJUSTMENT .004 OR .1M
10 00758647 VAR SHIM, ADJUSTMENT .010 OR .25M
11 00759977 1 SPACER GEAR MOUNT
12 00775923 1 SPACER OUTPUT SUPER 75
13 00758663 1 CAP, OUTPUT
14 00758672 4 LOCKWASHER,M12
15 02959661 4 HEXB METRIC 12-P1.75-35MMPL8.8
16 00775244 1 HUB BLADE
17 00606000 1 PIN-COTTER 3/16 X 2
18 00758692 1 NUT,1-14 FLANGED HEX SLOTTED
19 00758674 1 SEAL, OUTPUT SHAFT 50X70X10
20 00758676 VAR GASKET, .004 OR .1M
21 00758677 VAR GASKET, .010 OR .25M
22 00775922 1 SHAFT OUTPUT SUPER 75
23 00769938 2 BEARING,TIMKEN 30210
24 00758693 1 GEAR,13 TOOTH
25 00762121 1 NUT,HEX THIN SLOTTED
26 00770421 1 PIN, COTTER 3.6MM x 65MM
27 00755615 2 BEARING
28 00770737 2 LEVEL PLUG M18 X 1.5
29 00769321 2 WASHER,SEALING,17.8MX22MX3M
30 00758657 1 SPACER,INPUT SHAFT
31 00758694 1 GEAR,19 TOOTH
32 00778907 1 ASSY-DIPSTICK FOR SUPER 75 GBS
33 00762114 1 PLUG,VENT W/WASHER 18M-P1.5
SE15-4A Master Parts Book (Aug-06)
©2006 Alamo Group Inc. Parts Section – 45

GEARBOX SHIELD ATTACHMENT - DIVIDER S/N 14812 - CURRENT AUG 2002 - CURRENT
ITEM PART NO. QTY. DESCRIPTION
1 0656130100 1 SHIELD, PRIMARY GEARBOX
2 613512C8 2 M8X1.25X40 GR.8.8-FT HEX CAPSC
3 00023500 2 FLATWASHER,5/16,TYPE AW,ZP
4 7AH5101118 4 HHCS 5/8NC 2-1/4 NONPLATED 5
5 00756077 4 WASHER,5/8 HARDENED
6 00695100 4 NUT,TOPLOCK 5/8 NC PLB
7 00780201 4 WASHER, SPACER
SE15-4A Master Parts Book (Aug-06)
©2006 Alamo Group Inc. Parts Section – 46

GEARBOX SHIELD ATTACHMENT - WING & CENTER 14812 - CURRENT AUG 2002 - CURRENT
ITEM PART NO. QTY. DESCRIPTION
1 00775571 3 WLDMT SHIELD
2 00775573 3 WLDMT BRKT SHIELD
3 00002700 3 FLATWASHER 1/2 PL STD
4 5F8130 3 1/2 NC WING NUT
5 00011100 9 FLATWASHER 3/8 PL STD
6 00012101 9 LOCKWASHER 3/8 PL HVY
7 00002000 9 HEX CAP 3/8-16 X 3/4 GR.5 ZP
8 7AH5101118 12 HHCS 5/8NC 2-1/4 NONPLATED 5
9 00695100 12 NUT,TOPLOCK 5/8 NC PLB
SE15-4A Master Parts Book (Aug-06)
©2006 Alamo Group Inc. Parts Section – 47

HITCH - PINTLE HOOK S/N 14812 - CURRENT AUG 2002 - CURRENT
ITEM PART NO. QTY. DESCRIPTION
1 00773872 1 WLDMT PINTLE HOOK CLEVIS
2 00752283 1 WLDMT, PINTLE HOOK MOUNTING
3 00752279 1 PINTLE HOOK
4 02891800 1 HHCS 1/2 NC 1-3/4 PL8
5 00001800 4 LOCKNUT TLM 1/2 NC PLB
6 02712500 4 HHCS 1 NC 4 PL8 SPECIAL
7 02030300 1 NUT TOPLOCK 1 NC PLB
8 02845600 1 HEXB 5/8 NC 3 PL5
9 00695100 1 NUT,TOPLOCK 5/8 NC PLB
10 00773870 3 DWG INSTL PINTLE HOOK OPTION
11 00003300 2 HEXB 3/4 NC 4 PL5
12 00037200 1 NUT TOPLOCK 3/4 NC PLC
NOTE: Drawbar length must be modified to obtain dim. "A".use driveline length check procedure in manual, to insure
problem does not occur.
SE15-4A Master Parts Book (Aug-06)
©2006 Alamo Group Inc. Parts Section – 48

HYDRAULIC CONTROL VALVE S/N 14812 - CURRENT AUG 2002 - CURRENT
ITEM PART NO. CLOSED CENTER QTY OPEN CENTER QTY DESCRIPTION
1 003880200 1 OPEN CENTER VALVE
2 00759833 1 CLOSED CENTER VALVE
3 00751139 3 2 DETENT REPAIR KIT
4 00751140 1 HIGH PRESSURE RELIEF VALVE KIT
5 00751142 3 3 HANDLE ASSEMBLY
6 00751141 1 PLUG (OPEN CENTER)
7 00751002 1 CLOSED CENTER PLUG
8 00751358 1 REPAIR KIT-SPRING RETURN TO CENTER
9 00751556 1 1 SPOOL SEAL KIT FOR ITEM #1 OR #2 (NOT
SHOWN)
10 00752057 1 NON-RELIEF VALVE PLUG (CLOSED CENTER)
SE15-4A Master Parts Book (Aug-06)
©2006 Alamo Group Inc. Parts Section – 49

HYDRAULIC CONTROL VALVE W/MOUNTING KIT S/N 14812 - CURRENT AUG 2002 - CURRENT
ITEM PART NO. QTY. DESCRIPTION
1 000999 2 ADP.PIPE,8MP-8FPX-45 DEG
2 02048800 2 REDUCER 12MP-8FP
3 1347 2 HOSE #8 - 8MP - 8MP - 60LG
4 00275400 3 Q.D, COUPLER #8
5 02960460 3 ST.ADAPTER 8MP-8MP
6 94514 5 ADAPTER, HYD, ELBOW SWIVEL
7 00380200 1 VALVE 3 SPL OPEN CTR
00759833 1 VALVE,3SPOOL CLOSED CENTER
8 00759682 1 ASSY, VALVE CONTROL SHIELD-BLK
9 8166M 1 BRACKET,VALVE MOUNTING FENDER
10 10204000 2 HHCS 3/8 NC 4 PL5
11 7336 2 SPACER, SHIELD 3-SPOOL VALVE
12 00010600 1 HEXB 3/8 NC 2 PL5
13 00011400 4 HHCS 3/8 NC 1 PL5
14 03101646 7 LOCKWASHER,3/8,MEDIUM-ZP
15 00013901 7 NUT HEX 3/8 NC PL
SE15-4A Master Parts Book (Aug-06)
©2006 Alamo Group Inc. Parts Section – 50

HYDRAULIC SCHEMATIC SN 14812 - CURRENT AUG 2002 - CURRENT
ITEM PART NO. QTY. DESCRIPTION
1 00774832 1 HOSE #6 - 8MP - 8MB -204LG
2 00773043 2 HOSE #4 - 6MP - 6MP -240LG
3 00774574 2 ADPT, HYD, ELBOW SWVL w/ORFICE
4 94507 3 ADAPTER, HYD, REDUCER
5 ------------ 1 CENTER CYLINDER
6 ------------ 2 WING CYLINDER
SE15-4A Master Parts Book (Aug-06)
©2006 Alamo Group Inc. Parts Section – 51

LEVEL ROD ASSEMBLY S/N 14812 - CURRENT AUG 2002 - CURRENT
ITEM PART NO. QTY. DESCRIPTION
00773005A 2 CONTROL ROD, ASY, LEVEL
1 00755153 2 PIN-COTTER 3/16 X 1-1/2 PLATED
2 00770485A 1 NUT,EXTENDED ADJUSTMENT
3 00772046 1 WELDMENT LEVEL ROD ,LONG
4 00773118 1 WLDMT LEVEL ROD SHORT
5 15B1200 4 WASHER 3/4 P SAE
6 5C1490 1 HEXNUT 7/8 JAM ZP
7 651102 2 PIN-DRILLED
SE15-4A Master Parts Book (Aug-06)
©2006 Alamo Group Inc. Parts Section – 52

SKID SHOE ATTACHMENT S/N 14812 - CURRENT AUG 2002 - CURRENT
ITEM PART NO. QTY. DESCRIPTION
1 00774704 2 RUNNER, SKID SHOE
2 2A361612 6 PLW-BLT 3/8 X 1 1/2
3 4528 6 NUT, LOCK 3/8-16 FLG WHIZ
4 00763996 1 WLDMT-SKID-RH
00764020 1 WLDMT-SKID-LH
5 02030700 4 HHCS 1/2-13UNC 1-1/4 PL5
6 02716500 4 NUT TOPLOCK 1/2 NF PLB
SE15-4A Master Parts Book (Aug-06)
©2006 Alamo Group Inc. Parts Section – 53

SLIPCLUTCH ASSEMBLY - INTERMEDIATE S/N 14812 - CURRENT AUG 2002 - CURRENT
ITEM PART NO. QTY. DESCRIPTION
00775331 - CLUTCH FRICTION
1 00775333 1 FLANGE YOKE
2 8366 4 RING,CLUTCH LINING
3 00775334 1 HUB 1-3/4-20 SPLINE
4 00775335 1 DRIVE PLATE
5 00775336 1 DRIVE PLATE
6 00775337 1 THRUST PLATE
7 00775338 6 BOLT HEX M12 X P1.25 X 115M
8 00775339 6 COMPRESSION SPRING
9 00754566 6 LOCKWASHER, 12MM
10 00755881 6 NUT METRIC TLM 12MM-P1.25 PL5
11 00756164 2 NUT METRIC 12MM-P1.75 GR.8.8
12 61076C8 2 M12X1.75X65 GR.8.8 HEX CAPSCRE
SE15-4A Master Parts Book (Aug-06)
©2006 Alamo Group Inc. Parts Section – 54

SLIPCLUTCH ASSEMBLY - WING CAT 4 S/N 14812 - CURRENT AUG 2002 - CURRENT
ITEM PART NO. QTY. DESCRIPTION
00775315 - CLUTCH FRICTION
1 00775321 1 YOKE, FLANGE
2 8366 1 RING,CLUTCH LINING
3 00775322 1 HUB 1 3/4-20 I.C.
4 00775323 1 PLATE, THRUST
5 00775324 2 SPRING, BELLEVILLE
6 00775325 1 HEX BOLT M10 X 50
7 00775326 8 HEX LOCKNUT M10
8 00775327 2 NUT P1.75 M12
9 00775328 8 BOLT HEX M12 X 65
SE15-4A Master Parts Book (Aug-06)
©2006 Alamo Group Inc. Parts Section – 55

SLIPCLUTCH ASSEMBLY - WING CAT 5 S/N 14812 - CURRENT AUG 2002 - CURRENT
ITEM PART NO. QTY. DESCRIPTION
00775382 - FRICTION CLUTCH
1 00775383 1 YOKE FLANGE
2 8366 4 RING,CLUTCH LINING
3 00775334 1 HUB 1-3/4-20 SPLINE
4 00775335 1 DRIVE PLATE
5 00775336 1 DRIVE PLATE
6 00775337 1 THRUST PLATE
7 00775338 6 BOLT HEX M12 X P1.25 X 115M
8 00775339 6 COMPRESSION SPRING
9 00754566 6 LOCKWASHER, 12MM
10 00755881 6 NUT METRIC TLM 12MM-P1.25 PL5
11 00756164 2 NUT METRIC 12MM-P1.75 GR.8.8
12 61076C8 2 M12X1.75X65 GR.8.8 HEX CAPSCRE
SE15-4A Master Parts Book (Aug-06)
©2006 Alamo Group Inc. Parts Section – 56

SMV SIGN MOUNTING S/N 14812 - CURRENT AUG 2002 - CURRENT
ITEM PART NO. QTY. DESCRIPTION
1 03200347 1 EMBLEM, SMV
2 00778530 1 SMV BRACKET MOUNT PLATE
3 00021400 2 HEXB 1/4 NC 3/4 PL5
4 02959924 2 NUT TOPLOCK 1/4 NC PLB
SE15-4A Master Parts Book (Aug-06)
©2006 Alamo Group Inc. Parts Section – 57

TIRE OPTION S/N 14812 - CURRENT AUG 2002 - CURRENT
ITEM PART NO. QTY. DESCRIPTION
1 00008700 1 WHEEL, 15 X 5.00 DC (RIM ONLY)
2 00025200 1 LAMINATED PUNCTURE-PROOF TIRE & WHEEL ASSEMBLY (21" OD) 6.00 X 9
3 00771461 1 TIRE,AIRPLANE USED
4 00749698 1 ASSY, WHL/IMPLEMENT TIRE
SE15-4A Master Parts Book (Aug-06)
©2006 Alamo Group Inc. Parts Section – 58

TIRE OPTION - FOAM FILLED USED AIRCRAFT S/N 14812 - CURRENT AUG 2002 - CURRENT
ITEM PART NO. QTY. DESCRIPTION
1 00766911 - ASY,AIRCRAFT TIRE & WHEEL (CURRENT PRODUCTION)
2 00766911A - ASY, AIRCRAFT TIRE & WHEEL (OBSOLETE, NOT CURRENT PRODUCTION)
SE15-4A Master Parts Book (Aug-06)
©2006 Alamo Group Inc. Parts Section – 59

TONGUE ASSEMBLY S/N 14812 - CURRENT AUG 2002 - CURRENT
ITEM PART NO. QTY. DESCRIPTION
1 00776492 1 TONGUE WELDMENT
2 00764540A 1 WELDMENT CLEVIS
3 00755305 1 BOLT 1-8UNC-6 LG GRD 8
4 02030300 2 NUT TOPLOCK 1 NC PLB
5 02712500 1 HHCS 1 NC 4 PL8 SPECIAL
6 00759275 3 WASHER-HITCH CLEVIS
7 00760895 2 WLDMT-TONGUE PIVOT PIN
8 02030700 2 HHCS 1/2-13UNC 1-1/4 PL5
9 00001800 2 LOCKNUT TLM 1/2 NC PLB
10 00772391 1 JACK PARKING 3000LB SIDEWIND
11 00764515 1 CHAIN-SAFETY TOW-6000 LB. CAP.
12 1431565 1 IID SHAFT TRANSPORT SUPPORT
13 40010000 1 PIN COTTER 1/8 X1
14 00764537 1 WLDMT CONTROL ROD THREADED
15 00764536 1 WLDMT-CONTROL ROD, LONG
16 00037200 1 NUT TOPLOCK 3/4 NC PLC
17 03200269 1 HHCS 3/4 NC 3 PL8
18 00755153 1 PIN-COTTER 3/16 X 1-1/2 PLATED
19 00037200 1 NUT TOPLOCK 3/4 NC PLC
20 15B1200 4 WASHER 3/4 P SAE
21 651102 1 PIN-DRILLED
SE15-4A Master Parts Book (Aug-06)
©2006 Alamo Group Inc. Parts Section – 60

WEIGHT BOX ATTACHMENT S/N 14812 - CURRENT AUG 2002 - CURRENT
ITEM PART NO. QTY. DESCRIPTION
00760055 - ASSY-WEIGHT BOX
1 00760056 1 WLDMT-WEIGHT BOX
2 00774704 1 RUNNER, SKID SHOE
3 2A381312 3 BOLT,PLOW 1/2 NC X 1-1/2 GR.5
4 4528 6 NUT, LOCK 3/8-16 FLG WHIZ
5 00760072 1 ASSY-CHAIN GD WT BOX
6 02030700 2 HHCS 1/2-13UNC 1-1/4 PL5
7 00002700 2 FLATWASHER 1/2 PL STD
8 00001800 2 LOCKNUT TLM 1/2 NC PLB
9 00760995 2 PLATE, COVER- WEIGHT BOX
SE15-4A Master Parts Book (Aug-06)
©2006 Alamo Group Inc. Parts Section – 61

WHEEL HUB ASSEMBLY S/N 14812 - 16663 AUG 2002 - DEC 2004
ITEM PART NO. QTY. DESCRIPTION
00757241 - WHEEL HUB, PREASSY
1 00756489 1 HUB W/ CUPS & STUBS
2 00756528 1 WHEEL HUB ACCESS. KIT
3 00756576 1 BEARING CUP OUTSIDE
4 00750434 1 BEARING CONE INSIDE
5 00756577 1 BEARING CUP INSIDE
6 00752177 5 BOLT, STUD 1/2-20 NF X 1-7/8
7 00750614 5 NUT 1/2-20NF 90DEG.CONE LUG PL
8 00756490 1 NUT SLOTTED THIN 1 NF PLC
9 02957044 1 OIL SEAL HEAVY DUTY - TK-15
10 00756493 1 WASHER
11 00756492 1 DUST CAP
12 00026200 1 PIN-COTTER 5/32 X 1-1/2
13 00003500 1 ZERK FITTING 1/8 STRAIGHT
14 00756489 1 HUB W/ CUPS & STUBS
15 0371242102 1 BEARING CONE
Note: P/N 00756489 contains items 3, 5, 6, 13, & 14.
P/N 00756528 contains items 4, 7, 8, 9, 10, 11, 12, & 15.
SE15-4A Master Parts Book (Aug-06)
©2006 Alamo Group Inc. Parts Section – 62

WHEEL HUB ASSEMBLY S/N 16664 - CURRENT JAN 2005 - CURRENT
ITEM PART NO. QTY. DESCRIPTION
1 00774821 1 SPINDLE SINGLE WHEEL
2 00756489 1 HUB W/ CUPS & STUBS
3 00756492 1 DUST CAP
4 00752177 5 BOLT, STUD 1/2-20 NF X 1-7/8
5 00778108 1 SEAL PROTECTOR
6 00756014 5 ROTOR
7 00756490 1 NUT SLOTTED THIN 1 NF PLC
8 00756493 1 WASHER
9 00026200 1 PIN-COTTER 5/32 X 1-1/2
10 00750434 1 BEARING CONE INSIDE
11 00756576 1 BEARING CUP OUTSIDE
12 0371242102 1 BEARING CONE
13 00756577 1 BEARING CUP INSIDE
14 00003500 1 ZERK FITTING 1/8 STRAIGHT
SE15-4A Master Parts Book (Aug-06)
©2006 Alamo Group Inc. Parts Section – 63

WINCH AND STAND ASSEMBLY S/N 14812 - CURRENT AUG 2002 - CURRENT
ITEM PART NO. QTY. DESCRIPTION
1 7061 1 HOOK
2 7062 1 CLIP-1/4 WIRE ROPE
3 7063 1 CABLE
4 00011400 3 HHCS 3/8 NC 1 PL5
5 00011100 3 FLATWASHER 3/8 PL STD
6 7091 1 BRAKE WINCH
7 03101646 3 LOCKWASHER,3/8,MEDIUM-ZP
8 00013901 3 NUT HEX 3/8 NC PL
9 8422 1 WINCH TUBE ASSEMBLY
10 8421 1 WINCH STAND BRACKET
11 00010300 2 LOCKWASHER 5/8 PL STD
12 00010400 2 NUT 5/8 NC HEX PL
13 02675800 2 HHCS 5/8-11UNC 1-1/2 PL5
14 00001400 2 FLATWASHER 5/8 PL STD
SE15-4A Master Parts Book (Aug-06)
©2006 Alamo Group Inc. Parts Section – 64

WING ATTACHMENT S/N 14812 - CURRENT AUG 2002 - CURRENT
ITEM PART NO. QTY. DESCRIPTION
1 00777185 2 HINGE ROD
2 00777186 4 HINGE ROD CAP
3 00021900 4 HEXB 5/16 NC 1-3/4 PL5
4 00750940 4 NUT TOPLOCK 5/16 NC PLB
5 0656261000 2 SPACER,SHORT HINGE
6 00774173 2 SPACER LONG HINGE
7 5710121 3 COVER PLATE
8 5F5180 6 NUT 5/16 NC WING
9 00023500 6 FLATWASHER,5/16,TYPE AW,ZP
SE15-4A Master Parts Book (Aug-06)
©2006 Alamo Group Inc. Parts Section – 65

LIMITED WARRANTY
1. LIMITED WARRANTIES
1.01.Servis-Rhino warrants for one year from the purchase date to the original non-commercial, governmental, or municipal
purchaser (“Purchaser”) and warrants for six months to the original commercial or industrial purchaser (“Purchaser”)
that the goods purchased are free from defects in material or workmanship.
1.02.Manufacturer will replace for the Purchaser any part or parts found, upon examination at one of its factories, to be
defective under normal use and service due to defects in material or workmanship.
1.03.This limited warranty does not apply to any part of the goods which has been subjected to improper or abnormal use,
negligence, alteration, modification, or accident, damaged due to lack of maintenance or use of wrong fuel, oil, or
lubricants, or which has served its normal life. This limited warranty does not apply to any part of any internal
combustion engine, or expendable items such as blades, shields, guards, or pneumatic tires except as specifically found
in your Operator’s Manual.
1.04.Except as provided herein, no employee, agent, Dealer, or other person is authorized to give any warranties of any
nature on behalf of Manufacturer.
2. REMEDIES AND PROCEDURES.
2.01.This limited warranty is not effective unless the Purchaser returns the Registration and Warranty Form to Manufacturer
within 30 days of purchase.
2.02.Purchaser claims must be made in writing to the Authorized Dealer (“Dealer”) from whom Purchaser purchased the
goods or an approved Authorized Dealer (“Dealer”) within 30 days after Purchaser learns of the facts on which the
claim is based.
2.03.Purchaser is responsible for returning the goods in question to the Dealer.
2.04.If after examining the goods and/or parts in question, Manufacturer finds them to be defective under normal use and
service due to defects in material or workmanship, Manufacturer will:
(a) Repair or replace the defective goods or part(s) or
(b) Reimburse Purchaser for the cost of the part(s) and reasonable labor charges (as determined by Manufacturer)
if Purchaser paid for the repair and/or replacement prior to the final determination of applicability of the warranty
by Manufacturer.
The choice of remedy shall belong to Manufacturer.
2.05.Purchaser is responsible for any labor charges exceeding a reasonable amount as determined by Manufacturer and
for returning the goods to the Dealer, whether or not the claim is approved. Purchaser is responsible for the trans-
portation cost for the goods or part(s) from the Dealer to the designated factory.
3. LIMITATION OF LIABILITY.
3.01.MANUFACTURER DISCLAIMS ANY EXPRESS (EXCEPT AS SET FORTH HEREIN) AND IMPLIED WARRANTIES
WITH RESPECT TO THE GOODS INCLUDING, BUT NOT LIMITED TO, MERCHANTABILITY AND FITNESS
FOR A PARTICULAR PURPOSE.
3.02.MANUFACTURER MAKES NO WARRANTY AS TO THE DESIGN, CAPABILITY, CAPACITY, OR SUITABILITY FOR
USE OF THE GOODS.
3.03.EXCEPT AS PROVIDED HEREIN, MANUFACTURER SHALL HAVE NO LIABILITY OR RESPONSIBILITY TO
PURCHASER OR ANY OTHER PERSON OR ENTITY WITH RESPECT TO ANY LIABILITY, LOSS, OR DAMAGE
CAUSED OR ALLEGED TO BE CAUSED DIRECTLY OR INDIRECTLY BY THE GOODS INCLUDING, BUT NOT
LIMITED TO, ANY INDIRECT, SPECIAL, CONSEQUENTIAL, OR INCIDENTAL DAMAGES RESULTING FROM
THE USE OR OPERATION OF THE GOODS OR ANY BREACH OF THIS WARRANTY. NOT WITHSTANDING THE
ABOVE LIMITATIONS AND WARRANTIES, MANUFACTURER’S LIABILITY HEREUNDER FOR DAMAGES
INCURRED BY PURCHASER OR OTHERS SHALL NOT EXCEED THE PRICE OF THE GOODS.
3.04.NO ACTION ARISING OUT OF ANY CLAIMED BREACH OF THIS WARRANTY OR TRANSACTIONS UNDER
THIS WARRANTY MAY BE BROUGHT MORE THAN TWO (2) YEARS AFTER THE CAUSE OF ACTION HAS
OCCURRED.
4. MISCELLANEOUS.
4.01.Proper Venue for any lawsuits arising from or related to this limited warranty shall be only in Guadalupe County,
Texas.
4.02.Manufacturer may waive compliance with any of the terms of this limited warranty, but no waiver of any terms shall
be deemed to be a waiver of any other term.
4.03.If any provision of this limited warranty shall violate any applicable law and is held to be unenforceable, then the
invalidity of such provision shall not invalidate any other provisions herein.
4.04.Applicable law may provide rights and benefits to purchaser in addition to those provided herein.
KEEP FOR YOUR RECORDS
ATTENTION: Purchaser should fill in the blanks below for his reference when buying repair parts and/or for proper machine
identification when applying for warranty.
Servis-Rhino Implement Model _______________________________ Serial Number ________________________________
Date Purchased __________________________________________ Dealer ______________________________________
ATTENTION:
READ YOUR OPERATOR'S MANUAL
SERVIS-RHINO
1020 S. Sangamon Ave.
Gibson City, IL 60936
800-446-5158
Email: parts@servis-rhino.com
RHINO®

TO THE OWNER/OPERATOR/DEALER
To keep your implement running efficiently and safely, read your manual thoroughly and follow these directions and
the Safety Messages in this Manual. The Table of Contents clearly identifies each section where you can easily
find the information you need.
The OCCUPATIONAL SAFETY AND HEALTH ACT (1928.51 Subpart C) makes these minimum safety
requirements of tractor operators:
REQUIRED OF THE OWNER:
1. Provide a Roll-Over-Protective Structure that meets the requirements of this Standard; and
2. Provide Seatbelts that meet the requirements of this paragraph of this Standard and SAE J4C; and
3. Ensure that each employee uses such Seatbelt while the tractor is moving; and
4. Ensure that each employee tightens the Seatbelt sufficiently to confine the employee to the protected
area provided by the ROPS.
REQUIRED OF THE OPERATOR
1. Securely fasten seatbelt if the tractor has a ROPS.
2. Where possible, avoid operating the tractor near ditches, embankments, and holes.
3. Reduce speed when turning, crossing slopes, and on rough, slick, or muddy surfaces.
4. Stay off slopes too steep for safe operation.
5. Watch where you are going - especially at row ends, on roads, and around trees.
6. Do not permit others to ride.
7. Operate the tractor smoothly - no jerky turns, starts, or stops.
8. Hitch only to the drawbar and hitch points recommended by the tractor manufacturer.
9. When the tractor is stopped, set brakes securely and use park lock, if available.
Keep children away from danger all day, every day...
Equip tractors with rollover protection (ROPS) and keep all machinery
guards in place...
Please work, drive, play and live each day with care and concern for
your safety and that of your family and fellow citizens.

Printed U.S.A.
SE10-4A/SE15-4A PL 08-06 P/N 00777391MB