Servis Rhino Lawn Mower Accessory Flex Wing Rotary Cutter Shredder Users Manual SR15, SR10 MASTER PARTS BOOK COVER.p65
Flex-Wing Rotary CutterShredder to the manual 9eea0480-a24f-413e-8564-25a254130bd9
2015-02-02
: Servis-Rhino Servis-Rhino-Lawn-Mower-Accessory-Flex-Wing-Rotary-Cutter-Shredder-Users-Manual-490816 servis-rhino-lawn-mower-accessory-flex-wing-rotary-cutter-shredder-users-manual-490816 servis-rhino pdf
Open the PDF directly: View PDF
.
Page Count: 88
- COVER
- TO THE OWNER/OPERATOR/DEALER
- PARTS ORDERING GUIDE
- PART NAME INDEX
- PART NAME INDEX
- AXLE ASSEMBLY
- BLADE PAN ASSEMBLY
- CHAIN GUARD ASSEMBLY
- CHAIN GUARD ASSEMBLY - FRONT CENTER SECTION SN 10001 - 11270 APR 1988 - SEPT 1990
- CHAIN GUARD ASSEMBLY - FRONT WING SN 10001 - 11270 APR 1988 - SEPT 1990
- CHAIN GUARD ASSEMBLY - REAR CENTER SECTION SN 10001 - 11270 APR 1988 - SEPT 1990
- CHAIN GUARD ASSEMBLY - REAR LEFT WING SN 10001 - 11270 APR 1988 - SEPT 1990
- CHAIN GUARD ASSEMBLY - REAR RIGHT WING SN 10001 - 11270 APR 1988 - SEPT 1990
- CYLINDER ASSEMBLY
- CYLINDER ASSEMBLY - WING SECTION LIFT SN 10001 - 11270 APR 1988 - SEPT 1990
- CYLINDER ASSEMBLY - LEVEL LIFT RIGHT WING 3-1/4 x 8 SLAVE SN 10527 - 11270 MAR 1989 - SEPT
- CYLINDER ASSEMBLY - LEVEL LIFT CENTER SECTION 3-1/2 x 8 SLAVE SN 10527 - 11270 MAR 1989 -
- CYLINDER ASSEMBLY - LEVEL LIFT LEFT WING 3 x 8 SLAVE SN 10527 - 11270 MAR 1989 - SEPT 1990
- CYLINDER ASSEMBLY - LEVEL LIFT CENTER SECTION 3 x 8 SLAVE SN 10001 - 10526 APR 1988 - MAR
- CYLINDER ASSEMBLY - LEVEL LIFT RIGHT WING 2-3/4 x 8 SLAVE SN 10001 - 10526 APR 1988 - MAR
- CYLINDER ASSEMBLY - LEVEL LIFT LEFT WING 2-1/2 x 8 SLAVE SN 10001 - 10526 APR 1988 - MAR 1
- CYLINDER ASSEMBLY - CENTER SECTION LIFT SN 10001 - 11270 APR 1988 - SEPT 1990
- DEFLECTORS
- DEFLECTOR - RUBBER LH RH CENTER SN 10001 - 11270 APR 1988 - SEPT 1990
- DEFLECTOR - RUBBER FRONT WING SN 10001 - 11270 APR 1988 - SEPT 1990
- DEFLECTOR - RUBBER FRONT CENTER SN 10001 - 11270 APR 1988 - SEPT 1990
- DEFLECTOR - RUBBER CENTER SECTION REAR SN 10001 - 11270 APR 1988 - SEPT 1990
- DEFLECTOR - REAR LEFT AND RIGHT WING SN 10001 - 11270 APR 1988 - SEPT 1990
- DRIVELINE ASSEMBLY
- DRIVELINE ASSEMBLY - CAT 4 WING SN 10001 - 11209 APR 1988 - MAR 1990
- DRIVELINE ASSEMBLY - CAT 4 WING SN 11210 - 11270 APR 1988 - MAR 1990
- DRIVELINE ASSEMBLY - CAT 5 WING SN 10001 - 10979 APR 1988 - MAR 1990
- DRIVELINE ASSEMBLY - CAT 5 WING SN 10980 - 11270 MAR 1990 - SEPT 1990
- DRIVELINE ASSEMBLY - INTERMEDIATE SN 10001 - 11270 APR 1988 - SPET 1990
- DRIVELINE ASSEMBLY - MAIN 44R 540/1000 RPM SN 10001 - 11270 APR 1988 - 1990
- DRIVELINE ASSEMBLY - MAIN CV 1000 RPM SN 10001 - 11000 APR 1988 - SEPT 1990
- DRIVELINE ASSEMBLY - MAIN CV 1000 RPM SN 10001 - 11270 APR 1988 - SEPT 1990
- DRIVELINE ASSEMBLY - MAIN CV 1000 RPM SN 11001 - 11270 APR 1990 - SEPT 1990
- DRIVELINE ASSEMBLY - MAIN CV 540 RPM SN 10001 - 11000 APR 1988 - APR 1990
- DRIVELINE ASSEMBLY - MAIN CV 540 RPM SN 10001 - 11270 APR 1998 - SEPT 1990
- DRIVELINE ASSEMBLY - MAIN CV 540 RPM SN 11001 - 11270 APR 1990 - SEPT 1990
- GEARBOX ASSEMBLY
- GEARBOX ASSEMBLY - 1000 RPM SN 10001 - 11270 APR 1988 - SEPT 1990
- GEARBOX ASSEMBLY - 540 RPM SN 10001 - 11270 APR 1988 - SEPT 1990
- GEARBOX ASSEMBLY - 540 RPM SN 10001 - 11270 APR 1988 - SEPT 1990
- GEARBOX ASSEMBLY - CENTER SECTION 1000 RPM SN 10001 - 11270 APR 1988 - SEPT 1990
- GEARBOX ASSEMBLY - DIVIDER 1000 RPM SN 10001 - 11100 APR 1988 - MAR 1990
- GEARBOX ASSEMBLY - DIVIDER 1000 RPM SN 11101 - 11270 MAR 1990 - OCT 1990
- GEARBOX ASSEMBLY - DIVIDER 540 RPM SN 10001 - 11100 APR 1988 - MAR 1990
- GEARBOX ASSEMBLY - DIVIDER 540 RPM SN 11101 - 11270 MAR 1990 - OCT 1990
- GEARBOX ASSEMBLY - LEFT WING 1000 RPM SN 10001 - 11270 APR 1988 - SEPT 1990
- HOSE BRACKET
- HYDRAULIC VALVE ASSEMBLY
- HYDRAULIC VALVE ASSEMBLY - CLOSED CENTER SN 10001 - 11270 APR 1988 - SEPT 1990
- HYDRAULIC VALVE ASSEMBLY - CONVERSION PLUG SN 10001 - 11270 APR 1988 - SEPT 1990
- HYDRAULIC VALVE ASSEMBLY - DETENT W/SPRING ASSEMBLY SN 10001 - 11270 APR 1988 - SEPT 1990
- HYDRAULIC VALVE ASSEMBLY - NON-ADJUSTABLE RELIEF SN 10001 - 11270 APR 1988 - SEPT 1990
- HYDRAULIC VALVE ASSEMBLY - NON-ADJUSTABLE RELIEF SN 10001 - 11270 APR 1988 - SEPT 1990
- HYDRAULIC VALVE ASSEMBLY - OPEN/CLOSED CENTER VALVE SN 10001 - 11270 APR 1988 - SEPT 1990
- JACK ASSEMBLY
- LEVEL ROD ASSEMBLY
- LIFT SCREW
- MAINFRAME COMPONENTS
- SAFETY SHIELD ASSEMBLY
- SKID SHOES & SIDE SKIRTS
- SLIP CLUTCH ASSEMBLY
- SPRING POD ASSEMBLY
- TIRES
- TONGUE ASSEMBLY
- WEIGHT BOX
- WHEEL HUB ASSEMBLY
- WINCH & HOLD DOWN STRAP
- LIMITED WARRANTY
- TO THE OWNER/OPERATOR/DEALER

SR15/SR10
MASTER PARTS BOOK
S/N 10001 TO 11270
PARTS LISTING
Rhino
An Alamo Group Company
1020 S. Sangamon Ave.
Gibson City, Il 60936
1-800-446-5158
Email: parts@servis-rhino.com
© 2006 Alamo Group Inc.
FLEX-WING
ROTARY CUTTER/SHREDDER
®
Revision 04-06 P/N 00764578MB

TO THE OWNER/OPERATOR/DEALER
All implements with moving parts are potentially hazardous. There is no substitute for a cautious, safe-minded operator who
recognizes the potential hazards and follows reasonable safety practices. The manufacturer has designed this implement to
be used with all its safety equipment properly attached to minimize the chance of accidents.
BEFORE YOU START!! Read the safety messages on the implement and shown in your manual.
Observe the rules of safety and common sense!
WARRANTY INFORMATION:
Read and understand the complete Warranty Statement found in this Manual. Fill out the Warranty Registration Form
in full and return it within 30 Days. Make certain the Serial Number of the Machine is recorded on the Warranty Card
and on the Warranty Form that you retain. The use of "will-fit" parts will void your warranty and can cause catastrophic
failure with possible injury or death.

PARTS
SECTION
Parts Section – 1

Parts Section – 2
©2006 Alamo Group Inc.
For maximum safety and to guarantee optimum product reliability, always use
genuine Servis-Rhino Parts. The use of inferior replacement parts may cause
premature or catastrophic failure which could result in serious injury or death.
Direct any questions regarding parts to:
The following instructions are offered to help eliminate needless delay and error in processing
purchase orders for the equipment in this section.
1. The Parts Section is prepared in logical sequence and grouping of parts that belong to the
basic machine featured in this manual. Part Numbers and Descriptions are given to help
locate the parts and quantities required.
2. The Purchase Order must include the name and address of the person or organization
ordering the parts, who should be charged, and if possible, the serial number of the machine
for which the parts are ordered.
3. The Purchase Order must clearly list the quantity of each part, the complete and correct part
number (be sure to include all periods), and the basic name of the part.
4. The Manufacturer reserves the right to substitute parts where applicable.
5. Some parts are unlisted items which are special production items not normally stocked and
are subject to special handling. Request a quotation for such parts before sending a
Purchase Order.
6. The Manufacturer reserves the right to change prices without prior notice.
NOTE: Please refer to The Safety Section in the front of this Manual for the proper
Part Number when ordering Replacement Safety Decals.
PARTS ORDERING GUIDE
RHINORHINO
RHINORHINO
RHINO®
1020 S. Sangamon Ave.
Gibson City, IL 60936
800-446-5158
Email: parts@servis-rhino.com

PART NAME INDEX
AXLE ASSEMBLY SN 10001 - 11270 APR 1988 - SEPT 1990............................................................................................ 5
BLADE PAN ASSEMBLY - CENTER SN 10001 - 11270 APR 1988 - SEPT 1990 .............................................................. 6
BLADE PAN ASSEMBLY - WING SN 10001 - 11270 APR 1988 - SEPT 1990 ................................................................... 7
CHAIN GUARD ASSEMBLY - FRONT CENTER SECTION SN 10001 - 11270 APR 1988 - SEPT 1990........................... 8
CHAIN GUARD ASSEMBLY - FRONT WING SN 10001 - 11270 APR 1988 - SEPT 1990................................................. 9
CHAIN GUARD ASSEMBLY - REAR CENTER SECTION SN 10001 - 11270 APR 1988 - SEPT 1990........................... 10
CHAIN GUARD ASSEMBLY - REAR LEFT WING SN 10001 - 11270 APR 1988 - SEPT 1990 ....................................... 11
CHAIN GUARD ASSEMBLY - REAR RIGHT WING SN 10001 - 11270 APR 1988 - SEPT 1990..................................... 12
CYLINDER ASSEMBLY - CENTER SECTION LIFT SN 10001 - 11270 APR 1988 - SEPT 1990..................................... 13
CYLINDER ASSEMBLY - LEVEL LIFT CENTER SECTION 3 x 8 SLAVE SN 10001 - 10526 APR 1988 - MAR............. 16
CYLINDER ASSEMBLY - LEVEL LIFT CENTER SECTION 3-1/2 x 8 SLAVE SN 10527 - 11270 MAR 1989 - ............... 18
CYLINDER ASSEMBLY - LEVEL LIFT LEFT WING 2-1/2 x 8 SLAVE SN 10001 - 10526 APR 1988 - MAR 1................ 14
CYLINDER ASSEMBLY - LEVEL LIFT LEFT WING 3 x 8 SLAVE SN 10527 - 11270 MAR 1989 - SEPT 1990.............. 17
CYLINDER ASSEMBLY - LEVEL LIFT RIGHT WING 2-3/4 x 8 SLAVE SN 10001 - 10526 APR 1988 - MAR................. 15
CYLINDER ASSEMBLY - LEVEL LIFT RIGHT WING 3-1/4 x 8 SLAVE SN 10527 - 11270 MAR 1989 - SEPT............... 19
CYLINDER ASSEMBLY - WING SECTION LIFT SN 10001 - 11270 APR 1988 - SEPT 1990.......................................... 20
DEFLECTOR - REAR LEFT AND RIGHT WING SN 10001 - 11270 APR 1988 - SEPT 1990 .......................................... 21
DEFLECTOR - RUBBER CENTER SECTION REAR SN 10001 - 11270 APR 1988 - SEPT 1990................................... 22
DEFLECTOR - RUBBER FRONT CENTER SN 10001 - 11270 APR 1988 - SEPT 1990.................................................. 23
DEFLECTOR - RUBBER FRONT WING SN 10001 - 11270 APR 1988 - SEPT 1990....................................................... 24
DEFLECTOR - RUBBER LH RH CENTER SN 10001 - 11270 APR 1988 - SEPT 1990 ................................................... 25
DRIVELINE ASSEMBLY - CAT 4 WING SN 10001 - 11209 APR 1988 - MAR 1990......................................................... 26
DRIVELINE ASSEMBLY - CAT 4 WING SN 11210 - 11270 APR 1988 - MAR 1990......................................................... 27
DRIVELINE ASSEMBLY - CAT 5 WING SN 10001 - 10979 APR 1988 - MAR 1990......................................................... 28
DRIVELINE ASSEMBLY - CAT 5 WING SN 10980 - 11270 MAR 1990 - SEPT 1990....................................................... 29
DRIVELINE ASSEMBLY - INTERMEDIATE SN 10001 - 11270 APR 1988 - SPET 1990.................................................. 30
DRIVELINE ASSEMBLY - MAIN CV 1000 RPM SN 10001 - 11000 APR 1988 - SEPT 1990........................................... 32
DRIVELINE ASSEMBLY - MAIN CV 1000 RPM SN 10001 - 11270 APR 1988 - SEPT 1990........................................... 33
DRIVELINE ASSEMBLY - MAIN CV 1000 RPM SN 11001 - 11270 APR 1990 - SEPT 1990........................................... 34
DRIVELINE ASSEMBLY - MAIN CV 540 RPM SN 10001 - 11000 APR 1988 - APR 1990............................................... 35
DRIVELINE ASSEMBLY - MAIN CV 540 RPM SN 10001 - 11270 APR 1998 - SEPT 1990............................................. 36
DRIVELINE ASSEMBLY - MAIN CV 540 RPM SN 11001 - 11270 APR 1990 - SEPT 1990............................................. 37
DRIVELINE ASSEMBLY - MAIN 44R 540/1000 RPM SN 10001 - 11270 APR 1988 - 1990............................................. 31
GEARBOX ASSEMBLY - CENTER SECTION 1000 RPM SN 10001 - 11270 APR 1988 - SEPT 1990 ........................... 44
GEARBOX ASSEMBLY - DIVIDER 1000 RPM SN 10001 - 11100 APR 1988 - MAR 1990 .............................................. 46
GEARBOX ASSEMBLY - DIVIDER 1000 RPM SN 11101 - 11270 MAR 1990 - OCT 1990.............................................. 48
GEARBOX ASSEMBLY - DIVIDER 540 RPM SN 10001 - 11100 APR 1988 - MAR 1990 ................................................ 50
GEARBOX ASSEMBLY - DIVIDER 540 RPM SN 11101 - 11270 MAR 1990 - OCT 1990................................................ 52
GEARBOX ASSEMBLY - LEFT WING 1000 RPM SN 10001 - 11270 APR 1988 - SEPT 1990........................................ 54
GEARBOX ASSEMBLY - 1000 RPM SN 10001 - 11270 APR 1988 - SEPT 1990............................................................. 38
GEARBOX ASSEMBLY - 540 RPM SN 10001 - 11270 APR 1988 - SEPT 1990......................................................... 40, 42
HOSE BRACKET ASSEMBLY SN 10001 - 11270 APR 1988 - SEPT 1990....................................................................... 56
HYDRAULIC VALVE ASSEMBLY - CLOSED CENTER SN 10001 - 11270 APR 1988 - SEPT 1990 ............................... 57
HYDRAULIC VALVE ASSEMBLY - CONVERSION PLUG SN 10001 - 11270 APR 1988 - SEPT 1990........................... 58
HYDRAULIC VALVE ASSEMBLY - DETENT W/SPRING ASSEMBLY SN 10001 - 11270 APR 1988 - SEPT 1990........ 59
HYDRAULIC VALVE ASSEMBLY - NON-ADJUSTABLE RELIEF SN 10001 - 11270 APR 1988 - SEPT 1990.......... 60, 61
HYDRAULIC VALVE ASSEMBLY - OPEN/CLOSED CENTER VALVE SN 10001 - 11270 APR 1988 - SEPT 1990 ....... 62
JACK ASSEMBLY - TOP WIND SN 10001 - 11270 APR 1988 - SEPT 1990 .................................................................... 63
LEVEL ROD ASSEMBLY SN 10001 - 11270 APR 1988 - SEPT 1990............................................................................... 64
LIFT SCREW SN 10001 - 11270 APR 1988 - SEPT 1990.................................................................................................. 65
MAINFRAME COMPONENTS S/N 10001 - 11270 APR 1988 - SEPT 1990...................................................................... 66
SAFETY SHIELD ASSEMBLY SN 10001 - 11100 APR 1988 - MAR 1990 ........................................................................ 67
SAFETY SHIELD ASSEMBLY SN 11101 - 11270 MAR 1990 - OCT 1990........................................................................ 68
SKID SHOE & SIDE SKIRT - OFFSET MODELS SN 10001 - 11270 APR 1988 - SEPT 1990......................................... 69
SKID SHOE & SIDE SKIRT ASSEMBLY SN 10001 - 11270 APR 1988 - SEPT 1990 ...................................................... 71
SKID SHOE - CENTER SECTION SN 10001 - 11270 APR 1988 - SEPT 1990 ................................................................ 70
SLIP CLUTCH ASSEMBLY - SERIES 6 SN 10001 - 11270 APR 1988 - SEPT 1990........................................................ 72
SLIP CLUTCH ASSEMBLY - SERIES 8 SN 10001 - 11270 APR 1988 - SEPT 1990........................................................ 73
SPRING POD ASSEMBLY - CENTER AXLE SN 10001 - 11270 APR 1988 - SEPT 1990................................................ 74
SPRING POD ASSEMBLY - OUTBOARD AXLE SN 10001 - 11270 APR 1988 - SEPT 1990.......................................... 75
TIRE SN 10001 - 11270 APR 1988 - SEPT 1990 ............................................................................................................... 76
TONGUE ASSEMBLY USED ON C.V. DRIVELINE SN 10001 - 11270 APR 1988 - SEPT 1990 .................................... 78
TONGUE ASSEMBLY USED ON 44R DRIVELINE SN 10527 - 11270 MAR 1989 - SEPT 1990 ..................................... 77
SR15/SR10 Master Parts Book (Jun-05) Rev 04-06
©2006 Alamo Group Inc. Parts Section – 3

PART NAME INDEX
WEIGHT BOX SN 10001 - 11270 APR 1988 - SEPT 1990 ................................................................................................ 79
WHEEL HUB ASSEMBLY SN 10001 - 11270 APR 1988 - SEPT 1990 ............................................................................. 80
WINCH & HOLD DOWN STRAP SN 10001 - 11270 APR 1988 - SEPT 1990................................................................... 81
SR15/SR10 Master Parts Book (Jun-05) Rev 04-06
©2006 Alamo Group Inc. Parts Section – 4

AXLE ASSEMBLY SN 10001 - 11270 APR 1988 - SEPT 1990
ITEM PART NO. QTY. DESCRIPTION
1 00756981 1 CENTER AXLE ASSY SINGLE
00756976 1 CENTER AXLE ASSY DUAL
2 00756978 1 RIGHT AXLE ASSY
3 00756977 1 LEFT AXLE ASSY
4 00756686 1 WLDMT, CENTER AXLE *
5 00756975 1 OUTBOARD AXLE WLDMT RIGHT
6 00756694 1 OUTBOARD AXLE WLDMT LEFT
7 20BH5012 4 PIN-SPIRAL 5/16 X 1 1/2 *
8 15B1600 4 WASHER 1 SAE P *
9 65106A4 2 WLDMT,AXLE PIVOT PIN *
10 02782000 4 SHCS 3/4 NC 3-3/4 PL8 *
11 00037200 4 NUT TOPLOCK 3/4 NC PLC *
12 00756700 2 PIN-AXLE PIVOT WLDMT
13 00756693 2 CENTER SECTION-SINGLE SPINDLE
14 00756687 2 DOUBLE SPINDLE AXLE ARM
*Parts included in Axle Assembly w/Hubs for Center Axle PN 00756981 or PN 00756976.
SR15/SR10 Master Parts Book (Jun-05) Rev 04-06
©2006 Alamo Group Inc. Parts Section – 5

BLADE PAN ASSEMBLY - CENTER SN 10001 - 11270 APR 1988 - SEPT 1990
ITEM PART NO. QTY. DESCRIPTION
1 00756698 1 WLDMT, CTR SECTION BLADE PAN
2 0582010330 2 BLADE, CCW FAN
582013 2 BLADE, CCW/CW FLAT
3 571044 4 BOLT SHOULDER
4 0656150200 2 ORDER 70 MIN HT WASHER
5 571045 2 WASHER
6 5GL16140 2 LOCKNUT 1 -14 LH TLN PL
NOTE: Center Blades CCW Rotation
SR15/SR10 Master Parts Book (Jun-05) Rev 04-06
©2006 Alamo Group Inc. Parts Section – 6

BLADE PAN ASSEMBLY - WING SN 10001 - 11270 APR 1988 - SEPT 1990
ITEM PART NO. QTY. DESCRIPTION
1 00756699 1 WLDMT, WING BLADE PAN
2 0652010330 2 BLADE, CW FAN
0622010330 2 BLADE, CCW FAN
0652010030 4 BLADE, CCW/CW FLAT
3 571044 4 BOLT SHOULDER
4 0656150200 2 ORDER 70 MIN HT WASHER
5 571045 2 WASHER
6 5GL16140 2 LOCKNUT 1 -14 LH TLN PL
SR15/SR10 Master Parts Book (Jun-05) Rev 04-06
©2006 Alamo Group Inc. Parts Section – 7

CHAIN GUARD ASSEMBLY - FRONT CENTER SECTION SN 10001 - 11270 APR 1988 - SEPT 1990
ITEM PART NO. QTY. DESCRIPTION
00756985 - CENTER SECTION - FRONT
1 02030700 3 HHCS 1/2-13UNC 1-1/4 PL5
2 00002700 3 FLATWASHER 1/2 PL STD
3 00001800 3 LOCKNUT TLM 1/2 NC PLB
-------------- ---------------------------------------------
00756989 - CENTER SECTION RH FRONT
1 02030700 2 HHCS 1/2-13UNC 1-1/4 PL5
2 00002700 2 FLATWASHER 1/2 PL STD
3 00001800 2 LOCKNUT TLM 1/2 NC PLB
------------- ---------------------------------------------
00756987 - CENTER SECTION LH FRONT
1 02030700 2 HHCS 1/2-13UNC 1-1/4 PL5
2 00002700 2 FLATWASHER 1/2 PL STD
3 00001800 2 LOCKNUT TLM 1/2 NC PLB
SR15/SR10 Master Parts Book (Jun-05) Rev 04-06
©2006 Alamo Group Inc. Parts Section – 8

CHAIN GUARD ASSEMBLY - FRONT WING SN 10001 - 11270 APR 1988 - SEPT 1990
ITEM PART NO. QTY. DESCRIPTION
00756986 - WING CHAIN GUARD ASSY
1 00756688 1 WING CHAINGUARD BAR
2 00751126 64 CHAIN 5/16 WLD 6 LINK
3 0652100202 1 ROD CHAIN
4 02030700 7 HHCS 1/2-13UNC 1-1/4 PL5
5 00002700 7 FLATWASHER 1/2 PL STD
6 00001800 7 LOCKNUT TLM 1/2 NC PLB
SR15/SR10 Master Parts Book (Jun-05) Rev 04-06
©2006 Alamo Group Inc. Parts Section – 9

CHAIN GUARD ASSEMBLY - REAR CENTER SECTION SN 10001 - 11270 APR 1988 - SEPT 1990
ITEM PART NO. QTY. DESCRIPTION
00756988 - CENTER SECTION-REAR CHAINGUARD
1 00756892 1 CENTER SECTION CHAINGUARD BAR
2 00755090 54 CHAIN 5/16- 5 LINKS WLD
3 00757142 1 ROD, CENTER SECT. REAR C.G.
4 00002500 8 SHCS 3/8 NC 1-1/4 PL5
5 00011100 8 FLATWASHER 3/8 PL STD
6 00015800 8 NUT,TOPLOCK 3/8NC PLB
7 00751126 2 CHAIN 5/16 WLD 6 LINK
SR15/SR10 Master Parts Book (Jun-05) Rev 04-06
©2006 Alamo Group Inc. Parts Section – 10

CHAIN GUARD ASSEMBLY - REAR LEFT WING SN 10001 - 11270 APR 1988 - SEPT 1990
ITEM PART NO. QTY. DESCRIPTION
1 0652110300 1 LEFT REAR WING CHN GD
2 0652110310 1 MOUNTING BRKT, LEFT
3 00751126 110 CHAIN 5/16 WLD 6 LINK
4 0652110201 2 ROD CHAIN
5 00013300 2 HEXB 1/2 NC 2 PL5
6 00002700 10 FLATWASHER 1/2 PL STD
7 00001800 10 LOCKNUT TLM 1/2 NC PLB
8 00756876 2 WING REAR COVER
9 652053 8 SPACER
10 00752680 6 HHCS 1/2-13UNC X 4LG PL5
12 7A81336 2 C/S1/2 X 4-1/2 NC PL5
13 02030700 4 HHCS 1/2-13UNC 1-1/4 PL5
SR15/SR10 Master Parts Book (Jun-05) Rev 04-06
©2006 Alamo Group Inc. Parts Section – 11

CHAIN GUARD ASSEMBLY - REAR RIGHT WING SN 10001 - 11270 APR 1988 - SEPT 1990
ITEM PART NO. QTY. DESCRIPTION
1 0652110200 1 RT REAR CHN GD ASSY
2 0652110210 1 MOUNTING BRKT, RIGHT
3 00751126 110 CHAIN 5/16 WLD 6 LINK
4 0652110201 2 ROD CHAIN
5 00013300 2 HEXB 1/2 NC 2 PL5
6 00002700 10 FLATWASHER 1/2 PL STD
7 00001800 10 LOCKNUT TLM 1/2 NC PLB
8 00756876 2 WING REAR COVER
9 652053 8 SPACER
10 00752680 6 HHCS 1/2-13UNC X 4LG PL5
12 7A81336 2 C/S1/2 X 4-1/2 NC PL5
13 02030700 4 HHCS 1/2-13UNC 1-1/4 PL5
SR15/SR10 Master Parts Book (Jun-05) Rev 04-06
©2006 Alamo Group Inc. Parts Section – 12

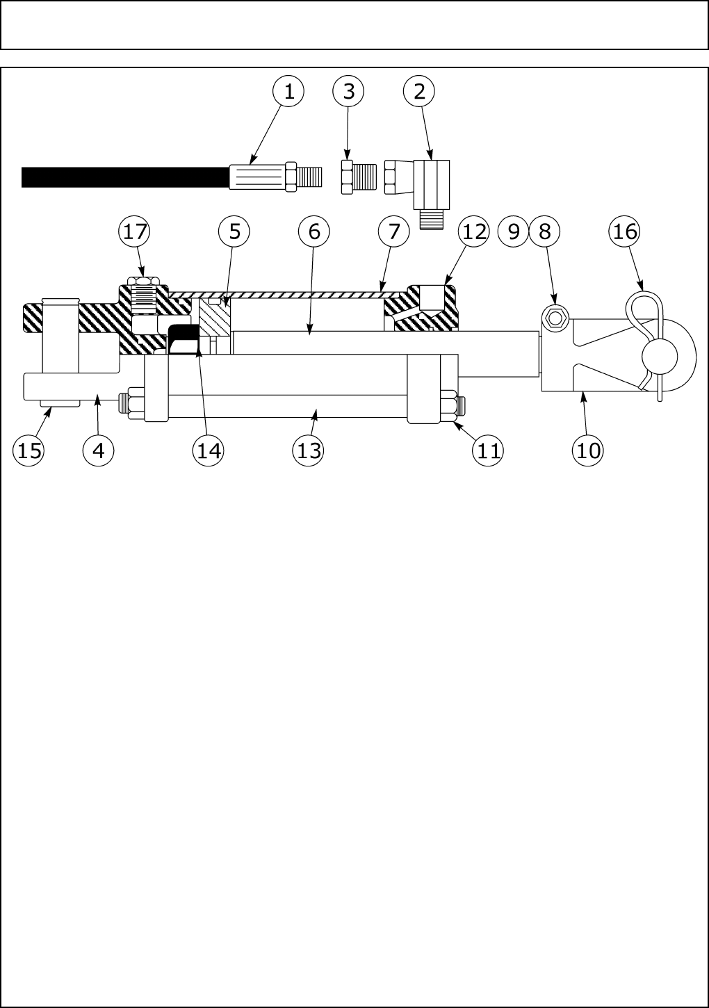
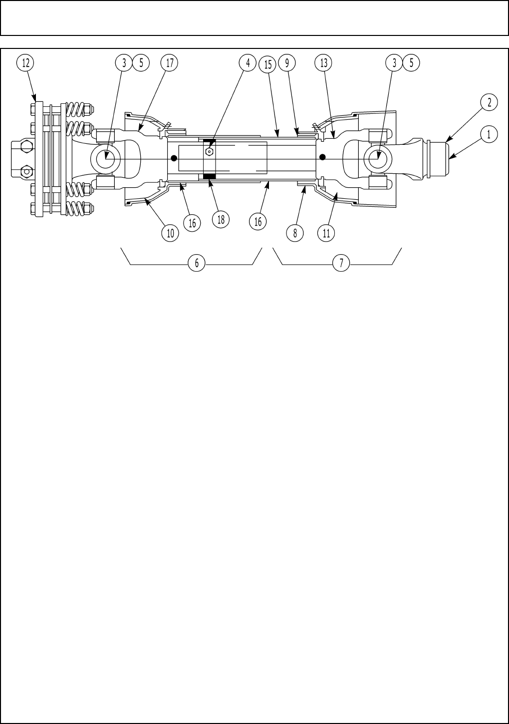
CYLINDER ASSEMBLY - CENTER SECTION LIFT SN 10001 - 11270 APR 1988 - SEPT 1990
ITEM PART NO. QTY. DESCRIPTION
8727 - HYDRAULIC CYLINDER, T
1 B651302 1 HOSE #6 - 8MP - 8MP - 180LG
2 94514 1 ADAPTER, HYD, ELBOW SWIVEL
3 7329 1 ADAPTER, HYD, STGHT RESTRICTOR
4 8755 1 CAP (HYD. CYLINDER)
5 8751 1 PISTON
6 8753 1 PISTON ROD
7 8752 1 TUBE (HYD. CYLINDER)
8 00013901 1 NUT HEX 3/8 NC PL
9 00023100 1 HHCS 3/8 -16UNC 1-1/2 PL5
10 8754 1 CLEVIS,OUTER
11 4690W 8 INSTALL SHEET-BELT TENSIONER&S
12 8757 1 HEAD
13 8756 4 TIE ROD
14 4675W 1 MANUAL-SR320 P/T HAY RAKE
15 8354 2 PIN-HYD. CYLINDER
16 162012 2 PIN,COTTER
17 6511324 1 BREATHER,1/2 SQ HD CORED
18 8763 - SEAL KIT
SR15/SR10 Master Parts Book (Jun-05) Rev 04-06
©2006 Alamo Group Inc. Parts Section – 13

CYLINDER ASSEMBLY - LEVEL LIFT LEFT WING 2-1/2 x 8 SLAVE SN 10001 - 10526 APR 1988 - MAR 1
ITEM PART NO. QTY. DESCRIPTION
0652141500 - CLY, LEVEL LIFT
1 0652141506 1 CLEVIS,BASE
2 0652141502 1 BARREL
3 0652141503 1 GLAND
4 0652140305 4 TIEROD,HYD CYL W/NUT
5 0652141404 1 PISTON
6 0652141501 1 ROD
7 0652140307 1 CLEVIS, ROD
8 0652141540 1 SEAL KIT
9 691356 2 PIN
10 163016 4 PIN, COTTER 3/16 X 2
11 0652141311 4 ADP HYD STGHT 8MB - 8FP
14 691302 1 HYD HOSE-3/8-8W/(1/2FITTING
15 B651302 1 HOSE #6 - 8MP - 8MP - 180LG
16 6513015 1 HOSE #6 - 8 MP - 8 MP 216 LG
17 B65113A2 1 HYD HOSE ONE
18 94514 6 ADAPTER, HYD, ELBOW SWIVEL
SR15/SR10 Master Parts Book (Jun-05) Rev 04-06
©2006 Alamo Group Inc. Parts Section – 14

CYLINDER ASSEMBLY - LEVEL LIFT RIGHT WING 2-3/4 x 8 SLAVE SN 10001 - 10526 APR 1988 - MAR
ITEM PART NO. QTY. DESCRIPTION
0652141400 - HYD CYL KIT
1 0652141406 1 CLEVIS,BASE
2 0652141402 1 TUBE HYD CYL
3 0652141403 1 GLAND,ROD END
4 0652140305 4 TIEROD,HYD CYL W/NUT
5 0652141404 1 PISTON
6 0652141401 1 ROD,PISTON
7 0652140307 1 CLEVIS, ROD
8 0652141440 1 SEAL KIT
9 691356 2 PIN
10 163016 4 PIN, COTTER 3/16 X 2
11 0652141311 2 ADP HYD STGHT 8MB - 8FP
14 691302 1 HYD HOSE-3/8-8W/(1/2FITTING
15 B651302 1 HOSE #6 - 8MP - 8MP - 180LG
16 6513015 1 HOSE #6 - 8 MP - 8 MP 216 LG
17 B65113A2 1 HYD HOSE ONE
18 94514 6 ADAPTER, HYD, ELBOW SWIVEL
SR15/SR10 Master Parts Book (Jun-05) Rev 04-06
©2006 Alamo Group Inc. Parts Section – 15

CYLINDER ASSEMBLY - LEVEL LIFT CENTER SECTION 3 x 8 SLAVE SN 10001 - 10526 APR 1988 - MAR
ITEM PART NO. QTY. DESCRIPTION
0652141300 - HYD CYL KIT
1 0652141306 1 BUTT
2 0652141302 1 BARREL
3 0652141303 1 GLAND
4 0652140305 4 TIEROD,HYD CYL W/NUT
5 0652141304 1 PISTON
6 0652141301 1 ROD
7 0652140307 1 CLEVIS, ROD
8 0652141340 1 SEAL KIT
9 691356 2 PIN
10 163016 4 PIN, COTTER 3/16 X 2
13 0652140320 1 STROKE CONTROL
14 691302 1 HYD HOSE-3/8-8W/(1/2FITTING
15 B651302 1 HOSE #6 - 8MP - 8MP - 180LG
16 6513015 1 HOSE #6 - 8 MP - 8 MP 216 LG
17 B65113A2 1 HYD HOSE ONE
18 94514 6 ADAPTER, HYD, ELBOW SWIVEL
SR15/SR10 Master Parts Book (Jun-05) Rev 04-06
©2006 Alamo Group Inc. Parts Section – 16

CYLINDER ASSEMBLY - LEVEL LIFT LEFT WING 3 x 8 SLAVE SN 10527 - 11270 MAR 1989 - SEPT 1990
ITEM PART NO. QTY. DESCRIPTION
8721 - CYL HYD LEVEL LIFT 3 DIA
1 8784 1 CAP (HYD. CYLINDER)
2 4675M 1 NUT PISTON
3 8780 1 PISTON
4 8781 1 TUBE
5 8753 1 PISTON ROD
6 8754 1 CLEVIS,OUTER
7 8785 4 TIE ROD
8 4376 8 NUT HEX 1/2-20 NF PL
9 8786 1 HEAD
10 8766 1 SEAL KIT
11 8354 2 PIN-HYD. CYLINDER
12 163016 4 PIN, COTTER 3/16 X 2
13 94514 1 ADAPTER, HYD, ELBOW SWIVEL
14 691302 1 HYD HOSE-3/8-8W/(1/2FITTING
15 B651302 1 HOSE #6 - 8MP - 8MP - 180LG
16 6513015 1 HOSE #6 - 8 MP - 8 MP 216 LG
17 B65113A2 1 HYD HOSE ONE
SR15/SR10 Master Parts Book (Jun-05) Rev 04-06
©2006 Alamo Group Inc. Parts Section – 17

CYLINDER ASSEMBLY - LEVEL LIFT CENTER SECTION 3-1/2 x 8 SLAVE SN 10527 - 11270 MAR 1989 -
ITEM PART NO. QTY. DESCRIPTION
8719 - HYDRAULIC CYLINDER
1 8772 1 CAP
2 4705M 1 NUT PISTON
3 8768 1 PISTON
4 8769 1 TUBE
5 4706 1 PISTON ROD
6 8754 1 CLEVIS,OUTER
7 8773 4 TIE ROD
8 4689 8 NUT HEX 9/16-18NF PL
9 8774 1 HEAD
10 8764 1 SEAL KIT
11 8354 2 PIN-HYD. CYLINDER
12 163016 4 PIN, COTTER 3/16 X 2
13 94514 1 ADAPTER, HYD, ELBOW SWIVEL
14 691302 1 HYD HOSE-3/8-8W/(1/2FITTING
15 B651302 1 HOSE #6 - 8MP - 8MP - 180LG
16 6513015 1 HOSE #6 - 8 MP - 8 MP 216 LG
17 B65113A2 1 HYD HOSE ONE
SR15/SR10 Master Parts Book (Jun-05) Rev 04-06
©2006 Alamo Group Inc. Parts Section – 18

CYLINDER ASSEMBLY - LEVEL LIFT RIGHT WING 3-1/4 x 8 SLAVE SN 10527 - 11270 MAR 1989 - SEPT
ITEM PART NO. QTY. DESCRIPTION
8720 - HYDRAULIC CYLINDER
1 8778 1 CAP
2 4705M 1 NUT PISTON
3 8775 1 PISTON
4 8776 1 TUBE
5 4706 1 PISTON ROD
6 8754 1 CLEVIS,OUTER
7 8773 4 TIE ROD
8 4689 8 NUT HEX 9/16-18NF PL
9 8779 1 HEAD
10 8765 1 SEAL KIT
11 8354 2 PIN-HYD. CYLINDER
12 163016 4 PIN, COTTER 3/16 X 2
13 94514 1 ADAPTER, HYD, ELBOW SWIVEL
14 691302 1 HYD HOSE-3/8-8W/(1/2FITTING
15 B651302 1 HOSE #6 - 8MP - 8MP - 180LG
16 6513015 1 HOSE #6 - 8 MP - 8 MP 216 LG
17 B65113A2 1 HYD HOSE ONE
SR15/SR10 Master Parts Book (Jun-05) Rev 04-06
©2006 Alamo Group Inc. Parts Section – 19

CYLINDER ASSEMBLY - WING SECTION LIFT SN 10001 - 11270 APR 1988 - SEPT 1990
ITEM PART NO. QTY. DESCRIPTION
8728 - HYDRAULIC CYLINDER
1 00756496 1 HOSE-#4-6MP-6MP-216LG
2 94517 1 ADAPTER, HYD, ELBOW SWIVEL
3 7329 1 ADAPTER, HYD, STGHT RESTRICTOR
4 94507 1 ADAPTER, HYD, REDUCER
5 8755 1 CAP (HYD. CYLINDER)
6 8751 1 PISTON
7 8759 1 PISTON ROD
8 8758 1 TUBE (HYD. CYLINDER)
9 00013901 1 NUT HEX 3/8 NC PL
10 00023100 1 HHCS 3/8 -16UNC 1-1/2 PL5
11 8754 1 CLEVIS,OUTER
12 4690W 8 INSTALL SHEET-BELT TENSIONER&S
13 8757 1 HEAD
14 8761 4 TIE ROD
15 4675W 1 MANUAL-SR320 P/T HAY RAKE
16 8354 2 PIN-HYD. CYLINDER
17 162012 2 PIN,COTTER
18 6511324 1 BREATHER,1/2 SQ HD CORED
19 8763 - SEAL KIT
20 SEAL KIT
NOTE: This cylinder is used on non-hydraulic level lift wing.
SR15/SR10 Master Parts Book (Jun-05) Rev 04-06
©2006 Alamo Group Inc. Parts Section – 20

DEFLECTOR - REAR LEFT AND RIGHT WING SN 10001 - 11270 APR 1988 - SEPT 1990
ITEM PART NO. QTY. DESCRIPTION
1 00756876 2 WING REAR COVER
2 00002700 10 FLATWASHER 1/2 PL STD
3 00001800 10 LOCKNUT TLM 1/2 NC PLB
4 02030700 4 HHCS 1/2-13UNC 1-1/4 PL5
SR15/SR10 Master Parts Book (Jun-05) Rev 04-06
©2006 Alamo Group Inc. Parts Section – 21

DEFLECTOR - RUBBER CENTER SECTION REAR SN 10001 - 11270 APR 1988 - SEPT 1990
ITEM PART NO. QTY. DESCRIPTION
00756993 - REAR RUBBER SHIELD KIT
1 00756877 1 REAR FLAP-CENTER SECTION
2 00756875 1 FLAP HOLD DOWN BAR
4 63066100 11 HHCS 3/8NCX1-1/2
5 63065400 11 FLATWASHER 3/8 PL HEAVY
6 00015800 11 NUT,TOPLOCK 3/8NC PLB
SR15/SR10 Master Parts Book (Jun-05) Rev 04-06
©2006 Alamo Group Inc. Parts Section – 22

DEFLECTOR - RUBBER FRONT CENTER SN 10001 - 11270 APR 1988 - SEPT 1990
ITEM PART NO. QTY. DESCRIPTION
1 00758261 1 BAND RUBBER GD SR15 FRT CTR
2 00758263 1 PANEL RUBBER GD SR15 FRT CTR
3 02030700 3 HHCS 1/2-13UNC 1-1/4 PL5
4 00001800 3 LOCKNUT TLM 1/2 NC PLB
SR15/SR10 Master Parts Book (Jun-05) Rev 04-06
©2006 Alamo Group Inc. Parts Section – 23

DEFLECTOR - RUBBER FRONT WING SN 10001 - 11270 APR 1988 - SEPT 1990
ITEM PART NO. QTY. DESCRIPTION
1 00758264 1 PANEL RUBBER GD SR15 WING
2 00758259 1 BAND RUBBER GD SR15 FRT WG
3 02030700 7 HHCS 1/2-13UNC 1-1/4 PL5
4 00001800 7 LOCKNUT TLM 1/2 NC PLB
SR15/SR10 Master Parts Book (Jun-05) Rev 04-06
©2006 Alamo Group Inc. Parts Section – 24

DEFLECTOR - RUBBER LH RH CENTER SN 10001 - 11270 APR 1988 - SEPT 1990
ITEM PART NO. QTY. DESCRIPTION
1 00758262 1 PANEL RUBBER GD SR15 L&R CTR
2 00758260 1 BAND, RUBBER GD SR15 LH & RH
3 02030700 2 HHCS 1/2-13UNC 1-1/4 PL5
4 00001800 2 LOCKNUT TLM 1/2 NC PLB
SR15/SR10 Master Parts Book (Jun-05) Rev 04-06
©2006 Alamo Group Inc. Parts Section – 25

DRIVELINE ASSEMBLY - CAT 4 WING SN 10001 - 11209 APR 1988 - MAR 1990
ITEM PART NO. QTY. DESCRIPTION
00756583 - DRIVESHAFT, WING
1 00757051 1 YOKE 1-3/4-20 #6 SLIDE COLLAR
2 00757052 1 KIT-SLIDE COLLAR REPAIR
3 00752896 2 CROSS BEARING SERIES 6
4 00754335 1 GREASE FITTING FOR TUBE
5 00755610 2 GREASE FTG.ELBOW 8MMP1.0 90
6 00775330 1 DRIVELINE IMPLEMENT HALF CAT 4
7 00775313 1 DRIVELINE TRACTOR HALF CAT 4
8 00759217 6 SCREW 1/2 LG END
9 8393 1 BEARING RING
10 00775319 1 SHIELD OUTER HALF
11 00775332 1 SHIELD INNER HALF
12 00756075 1 CLUTCH & YOKE SERIES 6
13 00754153 1 YOKE INNER #6
14 00754167 1 PIN-ROLL #6 10MM X 75MM OUTER
15 00755444 1 TUBE, INNER 15-IV WING DS
16 00755445 2 TUBE OUTER 15-IV WING DS
17 00754154 1 YOKE-OUTER TUBE #6
18 00761075 1 SPRING,CENTERING
NOTE: Triangle Shaped Shaft & Tube; This Driveline has yellow shields.
SR15/SR10 Master Parts Book (Jun-05) Rev 04-06
©2006 Alamo Group Inc. Parts Section – 26

DRIVELINE ASSEMBLY - CAT 4 WING SN 11210 - 11270 APR 1988 - MAR 1990
ITEM PART NO. QTY. DESCRIPTION
00759213 - DRIVELINE
1 00757051 1 YOKE 1-3/4-20 #6 SLIDE COLLAR
2 00757052 1 KIT-SLIDE COLLAR REPAIR
3 00752896 2 CROSS BEARING SERIES 6
4 00754335 1 GREASE FITTING FOR TUBE
5 00755610 2 GREASE FTG.ELBOW 8MMP1.0 90
6 00775330 1 DRIVELINE IMPLEMENT HALF CAT 4
7 00775313 1 DRIVELINE TRACTOR HALF CAT 4
8 00759217 2 SCREW 1/2 LG END
9 8393 1 BEARING RING
10 00775319 1 SHIELD OUTER HALF
11 00775332 1 SHIELD INNER HALF
12 00756075 1 CLUTCH & YOKE SERIES 6
13 00754153 1 YOKE INNER #6
14 00754167 1 PIN-ROLL #6 10MM X 75MM OUTER
15 00755444 1 TUBE, INNER 15-IV WING DS
16 00755445 2 TUBE OUTER 15-IV WING DS
17 00754154 1 YOKE-OUTER TUBE #6
18 00761075 1 SPRING,CENTERING
NOTE: Triangle Shaped Shaft & Tube; This Driveline has black shields.
SR15/SR10 Master Parts Book (Jun-05) Rev 04-06
©2006 Alamo Group Inc. Parts Section – 27

DRIVELINE ASSEMBLY - CAT 5 WING SN 10001 - 10979 APR 1988 - MAR 1990
ITEM PART NO. QTY. DESCRIPTION
00756582 - DRIVELINE,WING SERIES 80 W/SPL
1 00753908 1 YOKE, SERIES 8 1-3/4-20 SPLIN
2 00757052 1 KIT-SLIDE COLLAR REPAIR
3 00753068 2 CROSS BEARING SERIES 8
4 00754335 1 GREASE FITTING FOR TUBE
5 00755610 2 GREASE FTG.ELBOW 8MMP1.0 90
6 00756539 1 HALF DRIVESHAFT W/CLUTCH FOR
7 00757057 1 PTO MALE WITH SAFETY GUARD
8 00754330 6 BOLT, NYLON - SAFETY SHIELD
9 00754332 1 LOCKING COLLAR OUTER SHIELD
10 00754331 1 LOCKING COLLAR INNER SHIELD
11 00753892 1 SHIELD KIT OUTER
12 00753893 1 SHIELD KIT INNER
13 00754369 1 SHIELD COMPLETE
14 00756173 1 CLUTCH & YOKE SERIES 8
15 00757379 1 YOKE W/INNER SHAFT
16 00757378 1 YOKE & TUBE ASSY OUTER
NOTE: Spline Shaft and Tube are no longer available as Assembly; Replace with PN 00757375 Assembly.
SR15/SR10 Master Parts Book (Jun-05) Rev 04-06
©2006 Alamo Group Inc. Parts Section – 28

DRIVELINE ASSEMBLY - CAT 5 WING SN 10980 - 11270 MAR 1990 - SEPT 1990
ITEM PART NO. QTY. DESCRIPTION
00757375 - DRIVELINE 44R W/1-3/4X20
1 00753908 1 YOKE, SERIES 8 1-3/4-20 SPLIN
2 00757052 1 KIT-SLIDE COLLAR REPAIR
3 00753068 2 CROSS BEARING SERIES 8
4 00754335 1 GREASE FITTING FOR TUBE
5 00755610 2 GREASE FTG.ELBOW 8MMP1.0 90
6 00757376 1 PTO OUTER W/SAFETY GUARD
7 00757377 1 D/L INNER HALF W/SAFETY GUARD
8 00754330 6 BOLT, NYLON - SAFETY SHIELD]
9 00754332 1 LOCKING COLLAR OUTER SHIELD
10 00754331 1 LOCKING COLLAR INNER SHIELD
11 00753892 1 SHIELD KIT OUTER
12 00753893 1 SHIELD KIT INNER
13 00754369 1 SHIELD COMPLETE
14 00756173 1 CLUTCH & YOKE SERIES 8
15 00757379 1 YOKE W/INNER SHAFT
16 00757378 1 YOKE & TUBE ASSY OUTER
NOTE: Triangle Shaped Shaft & Tube; This Driveline has yellow shields.
SR15/SR10 Master Parts Book (Jun-05) Rev 04-06
©2006 Alamo Group Inc. Parts Section – 29

DRIVELINE ASSEMBLY - INTERMEDIATE SN 10001 - 11270 APR 1988 - SPET 1990
ITEM PART NO. QTY. DESCRIPTION
00756581 - DRIVESHAFT,INTERMEDIATE
1 00757049 1 OUTER YOKE 1-3/4-20
2 00752896 2 CROSS BEARING SERIES 6
3 00754399 1 FLANGED DOUBLE YOKE *
4 00756075 1 CLUTCH & YOKE SERIES 6
5 00755610 2 GREASE FTG.ELBOW 8MMP1.0 90
* This Flange Assembly has 8 bolts in it - Category 4 x-kits.
SR15/SR10 Master Parts Book (Jun-05) Rev 04-06
©2006 Alamo Group Inc. Parts Section – 30

DRIVELINE ASSEMBLY - MAIN 44R 540/1000 RPM SN 10001 - 11270 APR 1988 - 1990
ITEM PART NO. QTY. DESCRIPTION
1 00758814 1 D/L 44R SQ SHFT 29PAINT BLACK
2 W827A 1 YOKE,CLP,1-3/4-20SP PAINT BLK
3 W840 2 CROSS REPR KIT
4 00758815 1 DRIVELINE SHAFT & YOKE 44R 29
5 00758816 1 SHIELD OUTHE 29-1/8 LG 44R
6 00759212 4 RETAINER, NYLON BEARING
7 W802B 1 HSG,SHLD,QD YK PAINT BLACK
W802B9 1 HSG,SHLD,21T CL YK PAINT BLACK
8 W815R 1 SHLD IN ASSY PAINT BLACK
9 W825A 1 YOKE 1-3/8-21 PAINT BLACK
10 W821A 1 YOKE,Q.D. 6BSPLN PAINT BLACK
11 W812A 1 YOKE SLEEVE PAINT BLACK
12 00749960 1 KIT,Q.D. REPAIR 1801 1802 1803
0650000100 1 KIT-QD PIN, TRAILING PIN
13 8391 1 Q.D. COLLAR KIT
14 00600700 1 HEXB 5/8 NC 3-1/4 PL5
15 00010300 1 LOCKWASHER 5/8 PL STD
16 00010400 1 NUT 5/8 NC HEX PL
17 7AH882026 1 C/S 1/2 X 3 1/4 NF 8
18 00001300 1 LOCKWASHER 1/2 PL STD
19 00001200 1 NUT,HEX 1/2 NC PL
20 00760519 1 RING, BEARING
21 00752670 1 GREASE FITTING 1/4-28 BOLT THD
NOTE: Square Shaft & Round Housing.
SR15/SR10 Master Parts Book (Jun-05) Rev 04-06
©2006 Alamo Group Inc. Parts Section – 31

DRIVELINE ASSEMBLY - MAIN CV 1000 RPM SN 10001 - 11000 APR 1988 - SEPT 1990
ITEM PART NO. QTY. DESCRIPTION
00755751 - CV DRIVELINE,1000,1-3/8-21YOKE
1 00753908 1 YOKE, SERIES 8 1-3/4-20 SPLIN
2 00753286 2 CROSS & BEARING KIT #8-CV
3 00759119 1 YOKE-COLLAR & SNAP RING
4 00752881 5 GREASE FITTING
5 00753070 1 OUTER TUBE W/YOKE SERIES 8
6 00753071 1 MOWER HALF ASMBLY (1-3/4-20)
8 00753073 1 INNER TUBE W/YOKE SERIES 8
9 00755751 1 DRIVELINE,1000 CV CAT5 1-3/8-
11 00755610 1 GREASE FTG.ELBOW 8MMP1.0 90
12 00753077 1 N/A FROM VENDOR
13 00755750 1 YOKE, 1-3/8-21 SPLINE (1000RPM
14 00755075 3 PUSH PIN SET
15 00753082 1 COMPLETE SAFETY SHIELD
16 00753068 1 CROSS BEARING SERIES 8
17 00758159 1 PIN,ROLL 3-1/2 LG
18 00758160 1 PIN, ROLL 3 LG
19 00760452 1 DRIVELINE,540 CV CAT 5 1-3/8-6
20 00759112 1 YOKE,INNER TUBE
21 00757818 1 TUBE,INNER D/L
22 00757817 1 TUBE,OUTER D/L
NOTE: Part No. 00755751 is no longer available as assembly. Replace by PN 00760453. Parts WILL NOT interchange
between assemblies; Triangle Shaft and Tube. The Driveline has yellow shields.
SR15/SR10 Master Parts Book (Jun-05) Rev 04-06
©2006 Alamo Group Inc. Parts Section – 32

DRIVELINE ASSEMBLY - MAIN CV 1000 RPM SN 10001 - 11270 APR 1988 - SEPT 1990
ITEM PART NO. QTY. DESCRIPTION
00760453 - DRIVELINE,1000 CV CAT5 1-3/8-
1 8478 1 YOKE 1-3/8 21-SP
2 8482 1 DOUBLE YOKE
3 8382 1 FITTING,GREASE M8 X 1
4 7432 1 YOKE-INBOARD
5 7433 2 CROSS & BEARING KIT
6 8384 2 SPRING PIN 10MM X 90MM
7 00760632 1 PROFILE-INNER SAGA
8 00760634 1 PROFILE & SLEEVE W.A.
9 8489 1 INBOARD YOKE
10 00760636 1 YOKE 1-3/4-20 SPLINE A.S.
11 8486 1 CROSS & BEARING KIT
12 8393 2 BEARING RING
13 00760640 1 TUBE, OUTER SHIELD OVL
14 00760641 1 TUBE,INNER SHIELD ROUND
15 7420 1 ASSY-BEARING & CV CONE
16 8949 1 SHIELD CONE
17 8949 1 SHIELD CONE
18 00759217 8 SCREW 1/2 LG END
20 0921000345 1 CHAIN, SAFETY
21 00756005 1 DECAL-ROTATING DRIVELINE
22 00756004 1 DECAL-SHIELD MISSING
24 8974 1 SUPPORT BEARING
25 8391 1 Q.D. COLLAR KIT
26 00759556 1 KIT, SLIDE COLLAR
00760665 1 DRIVELINE-TRACTOR HALF PART OF
00760667 1 DRIVELINE IMPLEMENT HALF PART
NOTE: This is a replacement D/L NOT used on Production Model. Parts WILL NOT interchange with earlier driveline; Star
shaft and tube. This driveline has black shields.
SR15/SR10 Master Parts Book (Jun-05) Rev 04-06
©2006 Alamo Group Inc. Parts Section – 33

DRIVELINE ASSEMBLY - MAIN CV 1000 RPM SN 11001 - 11270 APR 1990 - SEPT 1990
ITEM PART NO. QTY. DESCRIPTION
00759242 - CV DRIVELINE,1000,1-3/8-21YOKE
1 00759232 1 SCQD YOKE 1000 RPM
2 00759233 1 BODY, ASY
3 00759234 2 KIT, CROSS & BEARING
4 00760453 1 DRIVELINE,1000 CV CAT5 1-3/8-
5 00759236 1 SHIELD, BELL
6 00759237 1 TUBE-SHIELD
7 1442 4 BEARING, NYLON OUTER SHIELD
8 00759238 1 BRG-NYLON
9 W827A 1 YOKE,CLP,1-3/4-20SP PAINT BLK
10 W840 1 CROSS REPR KIT
11 00759239 1 YOKE & SHAFT
12 00759240 1 SHIELD-INNER
13 00759241 3 SHIELD BRG
14 4571 1 SLIDE COLLAR KIT
15 00760452 1 DRIVELINE,540 CV CAT 5 1-3/8-6
16 00760452 1 DRIVELINE,540 CV CAT 5 1-3/8-6
17 02961453 2 GREASE FITTING 1/4-28 TAPER 45
NOTE: Part No. 00759242 is no longer available as assembly. Replace by PN 00760453. Parts WILL NOT interchange
between assemblies; Spline Shaft and Tube. The Driveline has black shields.
SR15/SR10 Master Parts Book (Jun-05) Rev 04-06
©2006 Alamo Group Inc. Parts Section – 34

DRIVELINE ASSEMBLY - MAIN CV 540 RPM SN 10001 - 11000 APR 1988 - APR 1990
ITEM PART NO. QTY. DESCRIPTION
00754009 - CV DRIVELINE 540,1-3/8-6 YOKE
1 00753908 1 YOKE, SERIES 8 1-3/4-20 SPLIN
2 00753286 2 CROSS & BEARING KIT #8-CV
4 00752881 5 GREASE FITTING
5 00753070 1 OUTER TUBE W/YOKE SERIES 8
6 00753071 1 MOWER HALF ASMBLY (1-3/4-20)
8 00753073 1 INNER TUBE W/YOKE SERIES 8
9 00753074 1 TRAC HALF 540 CV D/L
11 00755610 1 GREASE FTG.ELBOW 8MMP1.0 90
12 00760452 1 DRIVELINE,540 CV CAT 5 1-3/8-6
13 00753078 1 YOKE,1-3/8-6 (CV),TWIST COLLAR
14 00755075 2 PUSH PIN SET
15 00753082 1 COMPLETE SAFETY SHIELD
16 00753068 1 CROSS BEARING SERIES 8
NOTE: Part No. 00754009 is no longer available as an assembly. Replace with PN 00760452. Parts will not interchange
between assemblies; Triangle shaft and tube. This driveline has yellow shields.
SR15/SR10 Master Parts Book (Jun-05) Rev 04-06
©2006 Alamo Group Inc. Parts Section – 35

DRIVELINE ASSEMBLY - MAIN CV 540 RPM SN 10001 - 11270 APR 1998 - SEPT 1990
ITEM PART NO. QTY. DESCRIPTION
00760452 - DRIVELINE,540 CV CAT 5 1-3/8-6
1 7431 1 YOKE SLIDE COLLAR
2 8482 1 DOUBLE YOKE
3 8382 1 FITTING,GREASE M8 X 1
4 7432 1 YOKE-INBOARD
5 7433 2 CROSS & BEARING KIT
6 8384 2 SPRING PIN 10MM X 90MM
7 00760632 1 PROFILE-INNER SAGA
8 00760634 1 PROFILE & SLEEVE W.A.
9 8489 1 INBOARD YOKE
10 00760636 1 YOKE 1-3/4-20 SPLINE A.S.
11 8486 1 CROSS & BEARING KIT
12 8393 2 BEARING RING
13 00760640 1 TUBE, OUTER SHIELD OVL
14 00760641 1 TUBE,INNER SHIELD ROUND
15 7420 1 ASSY-BEARING & CV CONE
16 8949 1 SHIELD CONE
17 8949 1 SHIELD CONE
18 00759217 2 SCREW 1/2 LG END
20 0921000345 1 CHAIN, SAFETY
21 00756005 1 DECAL-ROTATING DRIVELINE
22 00756004 1 DECAL-SHIELD MISSING
24 8974 1 SUPPORT BEARING
25 8391 1 Q.D. COLLAR KIT
26 00759556 1 KIT, SLIDE COLLAR
00760668 1 DRIVELINE TRACTOR HALF PART OF
00760667 1 DRIVELINE IMPLEMENT HALF PART
NOTE: This is a replacement D/L, NOT used on Production Model. Parts WILL NOT interchange with earlier D/L; Star
Shaped Shaft & Tube. This driveline has black shields.
SR15/SR10 Master Parts Book (Jun-05) Rev 04-06
©2006 Alamo Group Inc. Parts Section – 36

DRIVELINE ASSEMBLY - MAIN CV 540 RPM SN 11001 - 11270 APR 1990 - SEPT 1990
ITEM PART NO. QTY. DESCRIPTION
00759243 - CV DRIVELINE,540 1-3/8-6 YOKE
1 00759244 1 SC QD YOKE 540 RPM
2 00759233 1 BODY, ASY
3 00759234 2 KIT, CROSS & BEARING
4 00759234 1 KIT, CROSS & BEARING
5 00759236 1 SHIELD, BELL
6 00759237 1 TUBE-SHIELD
7 1442 4 BEARING, NYLON OUTER SHIELD
8 00759238 1 BRG-NYLON
9 W827A 1 YOKE,CLP,1-3/4-20SP PAINT BLK
10 W840 1 CROSS REPR KIT
11 00759239 1 YOKE & SHAFT
12 00759240 1 SHIELD-INNER
13 00759241 3 SHIELD BRG
14 4571 1 SLIDE COLLAR KIT
15 00760452 1 DRIVELINE,540 CV CAT 5 1-3/8-6
16 00760452 1 DRIVELINE,540 CV CAT 5 1-3/8-6
17 02961453 2 GREASE FITTING 1/4-28 TAPER 45
NOTE: Part No. 00759243 no longer available as an assembly. Replace with PN 00760452 assembly. Parts will not
interchange between assembly; Splined shaft and tube. This driveline has black shields.
SR15/SR10 Master Parts Book (Jun-05) Rev 04-06
©2006 Alamo Group Inc. Parts Section – 37

GEARBOX ASSEMBLY - 1000 RPM SN 10001 - 11270 APR 1988 - SEPT 1990
SR15/SR10 Master Parts Book (Jun-05) Rev 04-06
©2006 Alamo Group Inc. Parts Section – 38

GEARBOX ASSEMBLY - 1000 RPM SN 10001 - 11270 APR 1988 - SEPT 1990
ITEM PART NO. QTY. DESCRIPTION
00756741 - GEARBOX, 00756740 WITH LUBE
1 00755613 1 CASING
2 00756900 1 PINION 20 TEETH 1.2:1
3 00755615 2 BEARING
4 00753238 1 OIL SEAL
5 00755617 1 SHAFT
6 00755618 2 INTERNAL CIRCLIP
7 00755619 2 SHIM
8 00755620 1 EXTERNAL CIRCLIP
9 00756943 1 NUT M40X1.5
10 00755622 1 SHIM
14 00755626 1 PROTECTIVE SHIELD
15 00755627 1 OIL SEAL
16 00769938 2 BEARING, 30210
17 00756945 1 SHAFT
18 00756899 1 GEAR 24 TEETH 1.2:1
19 00756946 1 PIN, COTTER 3/16 X 2-3/8
20 00755632 1 SHIM
21 00755633 1 PLUG,3/8
22 00755634 1 CAP
23 00755635 4 HEXB METRIC 8-P1.25-16MM 5
24 00757342 1 PLUG, PRESSURIZED VENT
25 00755637 1 COVER
27 02880900 6 HHCS 3/4-10UNC 2-3/4 PL5
29 00037200 6 NUT TOPLOCK 3/4 NC PLC
30 00755624 1 NUT
31 00755623 1 WASHER 2.200 OD1.218 1DX.250
32 163016 1 PIN, COTTER 3/16 X 2
NOTE: Right Wing CCW Rotation Blades.
SR15/SR10 Master Parts Book (Jun-05) Rev 04-06
©2006 Alamo Group Inc. Parts Section – 39

GEARBOX ASSEMBLY - 540 RPM SN 10001 - 11270 APR 1988 - SEPT 1990
SR15/SR10 Master Parts Book (Jun-05) Rev 04-06
©2006 Alamo Group Inc. Parts Section – 40

GEARBOX ASSEMBLY - 540 RPM SN 10001 - 11270 APR 1988 - SEPT 1990
ITEM PART NO. QTY. DESCRIPTION
00755598 - GRBX ASSY RH C/W-IN-C/CW OUT
1 00755613 1 CASING
2 00755614 1 GEAR, 24 TEETH 1:1.5
3 00755615 2 BEARING
4 00753238 1 OIL SEAL
5 00755617 1 SHAFT
6 00755618 2 INTERNAL CIRCLIP
7 00755619 2 SHIM
8 00755620 1 EXTERNAL CIRCLIP
9 00755621 1 NUT,SLOTTED CASTLE
10 00755622 1 SHIM
14 00755626 1 PROTECTIVE SHIELD
15 00755627 1 OIL SEAL
16 00769938 2 BEARING, 30210
17 00755629 1 SHAFT
18 00755630 1 PINION, 16 TEETH 1:1.5
19 00755631 1 PIN, COTTER
20 00755632 1 SHIM
21 00755633 1 PLUG,3/8
22 00755634 1 CAP
23 00755635 4 HEXB METRIC 8-P1.25-16MM 5
24 00757342 1 PLUG, PRESSURIZED VENT
25 00755637 1 COVER
26 00755638 1 SHIM
27 02880900 6 HHCS 3/4-10UNC 2-3/4 PL5
29 00037200 6 NUT TOPLOCK 3/4 NC PLC
30 00755624 1 NUT
31 00755623 1 WASHER 2.200 OD1.218 1DX.250
32 163016 1 PIN, COTTER 3/16 X 2
NOTE: Left Wing CW Blade Rotation.
Center Section CCW Blade Rotation.
SR15/SR10 Master Parts Book (Jun-05) Rev 04-06
©2006 Alamo Group Inc. Parts Section – 41

GEARBOX ASSEMBLY - 540 RPM SN 10001 - 11270 APR 1988 - SEPT 1990
SR15/SR10 Master Parts Book (Jun-05) Rev 04-06
©2006 Alamo Group Inc. Parts Section – 42

GEARBOX ASSEMBLY - 540 RPM SN 10001 - 11270 APR 1988 - SEPT 1990
ITEM PART NO. QTY. DESCRIPTION
00755566 - GRBX ASSY C/W-IN-C/W OUT
1 00755613 1 CASING
2 00755614 1 GEAR, 24 TEETH 1:1.5
3 00755615 2 BEARING
4 00753238 1 OIL SEAL
5 00755617 1 SHAFT
6 00755618 2 INTERNAL CIRCLIP
7 00755619 2 SHIM
8 00755620 1 EXTERNAL CIRCLIP
9 00755621 1 NUT,SLOTTED CASTLE
10 00755622 1 SHIM
14 00755626 1 PROTECTIVE SHIELD
15 00755627 1 OIL SEAL
16 00769938 2 BEARING, 30210
17 00755629 1 SHAFT
18 00755630 1 PINION, 16 TEETH 1:1.5
19 00755631 1 PIN, COTTER
20 00755632 1 SHIM
21 00755633 1 PLUG,3/8
22 00755634 1 CAP
23 00755635 4 HEXB METRIC 8-P1.25-16MM 5
24 00757342 1 PLUG, PRESSURIZED VENT
25 00755637 1 COVER
26 00755638 1 SHIM
27 02880900 6 HHCS 3/4-10UNC 2-3/4 PL5
29 00037200 6 NUT TOPLOCK 3/4 NC PLC
30 00755624 1 NUT
31 00755623 1 WASHER 2.200 OD1.218 1DX.250
32 163016 1 PIN, COTTER 3/16 X 2
NOTE: Right Wing CCW Rotation Blades.
SR15/SR10 Master Parts Book (Jun-05) Rev 04-06
©2006 Alamo Group Inc. Parts Section – 43

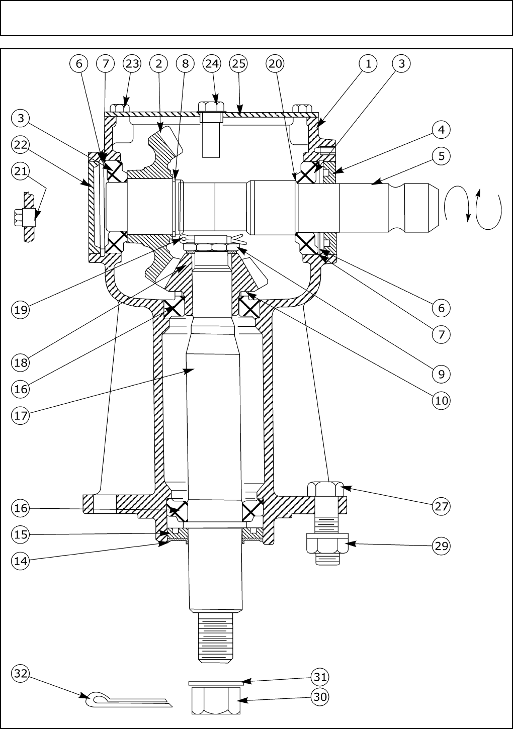
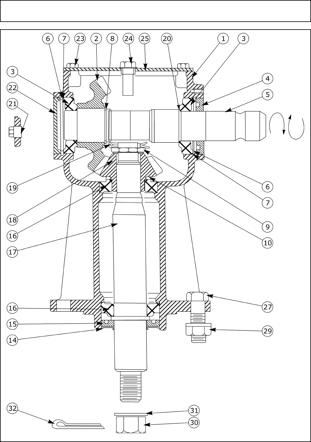
GEARBOX ASSEMBLY - CENTER SECTION 1000 RPM SN 10001 - 11270 APR 1988 - SEPT 1990
SR15/SR10 Master Parts Book (Jun-05) Rev 04-06
©2006 Alamo Group Inc. Parts Section – 44

GEARBOX ASSEMBLY - CENTER SECTION 1000 RPM SN 10001 - 11270 APR 1988 - SEPT 1990
ITEM PART NO. QTY. DESCRIPTION
00756622 - GEARBOX
1 00755613 1 CASING
2 00756900 1 PINION 20 TEETH 1.2:1
3 00755615 2 BEARING
4 00753238 1 OIL SEAL
5 00755617 1 SHAFT
6 00755618 2 INTERNAL CIRCLIP
7 00755619 2 SHIM
8 00755620 1 EXTERNAL CIRCLIP
9 00756943 1 NUT M40X1.5
10 00755622 1 SHIM
14 00755626 1 PROTECTIVE SHIELD
15 00755627 1 OIL SEAL
16 00769938 2 BEARING, 30210
17 00756945 1 SHAFT
18 00756899 1 GEAR 24 TEETH 1.2:1
19 00756946 1 PIN, COTTER 3/16 X 2-3/8
20 00755632 1 SHIM
21 00755633 1 PLUG,3/8
22 00755634 1 CAP
23 00755635 4 HEXB METRIC 8-P1.25-16MM 5
24 00757342 1 PLUG, PRESSURIZED VENT
25 00755637 1 COVER
27 02880900 6 HHCS 3/4-10UNC 2-3/4 PL5
29 00037200 6 NUT TOPLOCK 3/4 NC PLC
30 00755624 1 NUT
31 00755623 1 WASHER 2.200 OD1.218 1DX.250
32 163016 1 PIN, COTTER 3/16 X 2
NOTE: Center Section CCW Blade Rotation.
SR15/SR10 Master Parts Book (Jun-05) Rev 04-06
©2006 Alamo Group Inc. Parts Section – 45

GEARBOX ASSEMBLY - DIVIDER 1000 RPM SN 10001 - 11100 APR 1988 - MAR 1990
SR15/SR10 Master Parts Book (Jun-05) Rev 04-06
©2006 Alamo Group Inc. Parts Section – 46

GEARBOX ASSEMBLY - DIVIDER 1000 RPM SN 10001 - 11100 APR 1988 - MAR 1990
ITEM PART NO. QTY. DESCRIPTION
00755698 - DIVIDER GEARBOX
1 00756643 2 SHAFT, 1-3/4-20 SPL WG OUTPUT
2 00756649 2 SNAP RING 40 UNI7436 .096 THK
3 00753223 2 BEARING
4 00753224 2 CIRCLIP, INTERNAL
5 00756644 2 SEAL,OIL 45X80X10
6 00753226 2 PLUG
7 00756645 2 SHIM, 69X79.9
8 00755746 2 GEAR, SIDE BEVEL 1000 T25A G/B
9 00755068 1 SHOULDER RING
10 00753230 4 HEXB METRIC 8-P1.25- 30MM PL5
11 00753231 6 SCHNORR WASHER
12 00753232 1 CASING
13 00756648 1 SHAFT, 1-3/4-20 CTR SHAFT
14 00755745 1 GEAR, CTR BEVEL, 1000 T25A G/B
15 00753235 2 SHIM
16 00755070 1 BEARING
17 00753237 2 INTERNAL CIRCLIP
18 00753238 2 OIL SEAL
19 00753239 1 OIL FILLER PLUG
20 00753240 1 COVER
21 00753241 1 BEARING
22 00755069 1 GASKET
23 00756647 2 SHIM, 65.3X79.7
24 00756646 2 BEARING, BALL
25 02845500 4 HEXB 5/8 NC 2 PL5
26 00010300 4 LOCKWASHER 5/8 PL STD
27 00010400 4 NUT 5/8 NC HEX PL
28 00001400 4 FLATWASHER 5/8 PL STD
SR15/SR10 Master Parts Book (Jun-05) Rev 04-06
©2006 Alamo Group Inc. Parts Section – 47

GEARBOX ASSEMBLY - DIVIDER 1000 RPM SN 11101 - 11270 MAR 1990 - OCT 1990
SR15/SR10 Master Parts Book (Jun-05) Rev 04-06
©2006 Alamo Group Inc. Parts Section – 48

GEARBOX ASSEMBLY - DIVIDER 1000 RPM SN 11101 - 11270 MAR 1990 - OCT 1990
ITEM PART NO. QTY. DESCRIPTION
00757826 - GEARBOX 540 DIVIDER 1:1.15
1 00758644 1 HOUSING,DIVIDER GEARBOX
2 00758669 2 GEAR,20 TOOTH
3 00758646 AR SHIM, ADJUSTMENT .004 OR .1M
4 00758647 AR SHIM, ADJUSTMENT .010 OR .25M
5 00758648 AR SHIM ,ADJUSTMENT O.5
6 00758649 2 CAP,HORIZONTAL HUB
7 00769938 4 BEARING,TIMKEN 30210
9 00758651 2 NUT,M55X1.5 ADJUSTING
10 00758652 2 ADAPTER, SEAL
11 00758653 4 SEAL, INPUT SHAFT
12 00758654 1 PLUG,1/2 PRESSURIZED VENT
13 00758655 2 BEARING,INPUT SHAFT
15 00758670 1 GEAR,23 TOOTH
16 00758657 1 SPACER,INPUT SHAFT
17 00758658 1 SHAFT,HORIZONTAL OUTPUT
18 00758659 2 HHCS, M10X1.5X32
19 00755954 18 LOCKWASHER M10
20 00565000 18 PLUG, HEX HEAD PIPE 1/8-27NPT
21 00758660 1 RING,RETAINING
22 00758646 2 SHIM, ADJUSTMENT .004 OR .1M
23 00758647 1 SHIM, ADJUSTMENT .010 OR .25M
24 00758648 1 SHIM ,ADJUSTMENT O.5
25 00758664 1 CAP,INPUT
26 00758665 1 SHAFT,INPUT
27 00758667 2 SHIM .012
28 00758667 1 SHIM .012
29 00758668 1 SHIM,0.020
NOTE: 00757826 not serviced as complete unit, use 00759116
SR15/SR10 Master Parts Book (Jun-05) Rev 04-06
©2006 Alamo Group Inc. Parts Section – 49

GEARBOX ASSEMBLY - DIVIDER 540 RPM SN 10001 - 11100 APR 1988 - MAR 1990
SR15/SR10 Master Parts Book (Jun-05) Rev 04-06
©2006 Alamo Group Inc. Parts Section – 50

GEARBOX ASSEMBLY - DIVIDER 540 RPM SN 10001 - 11100 APR 1988 - MAR 1990
ITEM PART NO. QTY. DESCRIPTION
00756604 - DIVIDER GEARBOX, COMER W/1-3/4
1 00756643 2 SHAFT, 1-3/4-20 SPL WG OUTPUT
2 00756649 2 SNAP RING 40 UNI7436 .096 THK
3 00753223 2 BEARING
4 00753224 2 CIRCLIP, INTERNAL
5 00756644 2 SEAL,OIL 45X80X10
6 00753226 2 PLUG
7 00753227 2 TAKE-UP RING
8 00753228 2 BEVEL PINION
9 00755068 1 SHOULDER RING
10 00753230 4 HEXB METRIC 8-P1.25- 30MM PL5
11 00753231 6 SCHNORR WASHER
12 00753232 1 CASING
13 00756648 1 SHAFT, 1-3/4-20 CTR SHAFT
14 00753234 1 CROWNWHEEL
15 00753235 2 SHIM
16 00755070 1 BEARING
17 00753237 2 INTERNAL CIRCLIP
18 00753238 2 OIL SEAL
19 00753239 1 OIL FILLER PLUG
20 00753240 1 COVER
21 00753241 1 BEARING
22 00755069 1 GASKET
23 00756647 2 SHIM, 65.3X79.7
24 00756646 2 BEARING, BALL
25 02845500 4 HEXB 5/8 NC 2 PL5
26 00010300 4 LOCKWASHER 5/8 PL STD
27 00010400 4 NUT 5/8 NC HEX PL
28 00001400 4 FLATWASHER 5/8 PL STD
SR15/SR10 Master Parts Book (Jun-05) Rev 04-06
©2006 Alamo Group Inc. Parts Section – 51

GEARBOX ASSEMBLY - DIVIDER 540 RPM SN 11101 - 11270 MAR 1990 - OCT 1990
SR15/SR10 Master Parts Book (Jun-05) Rev 04-06
©2006 Alamo Group Inc. Parts Section – 52

GEARBOX ASSEMBLY - DIVIDER 540 RPM SN 11101 - 11270 MAR 1990 - OCT 1990
ITEM PART NO. QTY. DESCRIPTION
00757825 - GEARBOX 540 DIVIDER 1:1.15
1 00758644 1 HOUSING,DIVIDER GEARBOX
2 00758645 2 GEAR,20 TOOTH
3 00758646 AR SHIM, ADJUSTMENT .004 OR .1M
4 00758647 AR SHIM, ADJUSTMENT .010 OR .25M
5 00758648 AR SHIM ,ADJUSTMENT O.5
6 00758649 2 CAP,HORIZONTAL HUB
7 00769938 4 BEARING,TIMKEN 30210
9 00758651 2 NUT,M55X1.5 ADJUSTING
10 00758652 2 ADAPTER, SEAL
11 00758653 4 SEAL, INPUT SHAFT
12 00758654 1 PLUG,1/2 PRESSURIZED VENT
13 00758655 2 BEARING,INPUT SHAFT
15 00758656 1 GEAR,23 TOOTH
16 00758657 1 SPACER,INPUT SHAFT
17 00758658 1 SHAFT,HORIZONTAL OUTPUT
18 00758659 2 HHCS, M10X1.5X32
19 00755954 18 LOCKWASHER M10
20 00565000 18 PLUG, HEX HEAD PIPE 1/8-27NPT
21 00758660 1 RING,RETAINING
22 00758646 2 SHIM, ADJUSTMENT .004 OR .1M
23 00758647 1 SHIM, ADJUSTMENT .010 OR .25M
24 00758648 1 SHIM ,ADJUSTMENT O.5
25 00758664 1 CAP,INPUT
26 00758665 1 SHAFT,INPUT
27 00758667 2 SHIM .012
28 00758667 1 SHIM .012
29 00758668 1 SHIM,0.020
NOTE: 00757825 not serviced as complete unit, use 00769115
SR15/SR10 Master Parts Book (Jun-05) Rev 04-06
©2006 Alamo Group Inc. Parts Section – 53

GEARBOX ASSEMBLY - LEFT WING 1000 RPM SN 10001 - 11270 APR 1988 - SEPT 1990
SR15/SR10 Master Parts Book (Jun-05) Rev 04-06
©2006 Alamo Group Inc. Parts Section – 54

GEARBOX ASSEMBLY - LEFT WING 1000 RPM SN 10001 - 11270 APR 1988 - SEPT 1990
ITEM PART NO. QTY. DESCRIPTION
00756739 - GEARBOX
1 00755613 1 CASING
2 00756899 1 GEAR 24 TEETH 1.2:1
3 00755615 2 BEARING
4 00753238 1 OIL SEAL
5 00755617 1 SHAFT
6 00755618 2 INTERNAL CIRCLIP
7 00755619 2 SHIM
8 00755620 1 EXTERNAL CIRCLIP
9 00756943 1 NUT M40X1.5
10 00755622 1 SHIM
14 00755626 1 PROTECTIVE SHIELD
15 00755627 1 OIL SEAL
16 00769938 2 BEARING, 30210
17 00756945 1 SHAFT
18 00756900 1 PINION 20 TEETH 1.2:1
19 00756946 1 PIN, COTTER 3/16 X 2-3/8
20 00755632 1 SHIM
21 00755633 1 PLUG,3/8
22 00755634 1 CAP
23 00755635 4 HEXB METRIC 8-P1.25-16MM 5
24 00757342 1 PLUG, PRESSURIZED VENT
25 00755637 1 COVER
27 02880900 6 HHCS 3/4-10UNC 2-3/4 PL5
29 00037200 6 NUT TOPLOCK 3/4 NC PLC
30 00755624 1 NUT
31 00755623 1 WASHER 2.200 OD1.218 1DX.250
32 163016 1 PIN, COTTER 3/16 X 2
NOTE: Left Wing CW Blade Rotation.
SR15/SR10 Master Parts Book (Jun-05) Rev 04-06
©2006 Alamo Group Inc. Parts Section – 55

HOSE BRACKET ASSEMBLY SN 10001 - 11270 APR 1988 - SEPT 1990
ITEM PART NO. QTY. DESCRIPTION
1 0651140100 1 WLDMT, HYD. HOSE BRKT
2 0651150100 1 HYD. HOSE BRKT.
3 7A101112 2 BLT 5/8 X 1-1/2
4 5B10110 2 NUT 5/8 HEX, ZP
5 131000 2 LOCK WASHER
SR15/SR10 Master Parts Book (Jun-05) Rev 04-06
©2006 Alamo Group Inc. Parts Section – 56

HYDRAULIC VALVE ASSEMBLY - CLOSED CENTER SN 10001 - 11270 APR 1988 - SEPT 1990
ITEM PART NO. QTY. DESCRIPTION
15 6514042 1 PLUG, CLOSED CTR
38 6514041 1 SEAL
40 6514045 1 SEAL ORING 1X1-1/8X0.070
49 6514044 1 WASHER BACKUP 1-1/8X1X1/16TK
Standard on Closed Valve
SR15/SR10 Master Parts Book (Jun-05) Rev 04-06
©2006 Alamo Group Inc. Parts Section – 57

HYDRAULIC VALVE ASSEMBLY - CONVERSION PLUG SN 10001 - 11270 APR 1988 - SEPT 1990
ITEM PART NO. QTY. DESCRIPTION
16 6514039 1 PLUG
37 6514041 1 SEAL
Standard on Open Valve
SR15/SR10 Master Parts Book (Jun-05) Rev 04-06
©2006 Alamo Group Inc. Parts Section – 58

HYDRAULIC VALVE ASSEMBLY - DETENT W/SPRING ASSEMBLY SN 10001 - 11270 APR 1988 - SEPT 1990
ITEM PART NO. QTY. DESCRIPTION
18 6514016 1 HOUSING DETENT
19 6514017 1 SLEEVE
20 6514018 1 WASHER
21 6514019 1 SPRING CENTERING (25#)
22 6514020 1 COLLAR STEP
23 6514021 1 WASHER
24 7E42012 1 C/S1/4 X 1 1/2 SK HD
25 6514022 1 CAP,END
26 7D42014 4 BOLT
27 6514023 1 BALL 1/4 STEEL
28 6514024 1 SPRING
29 6514025 1 PLUG
30 65140A54 1 WASHER
Standard quantities for one Detent Assembly 3 required per hydraulic valve.
SR15/SR10 Master Parts Book (Jun-05) Rev 04-06
©2006 Alamo Group Inc. Parts Section – 59

HYDRAULIC VALVE ASSEMBLY - NON-ADJUSTABLE RELIEF SN 10001 - 11270 APR 1988 - SEPT 1990
ITEM PART NO. QTY. DESCRIPTION
14 65140A50 1 RELEIF VALVE
31 6514034 1 O-RING
32 6514035 1 WASHER
33 6514036 1 SEAL
Standard on Open Center Valve
SR15/SR10 Master Parts Book (Jun-05) Rev 04-06
©2006 Alamo Group Inc. Parts Section – 60

HYDRAULIC VALVE ASSEMBLY - NON-ADJUSTABLE RELIEF SN 10001 - 11270 APR 1988 - SEPT 1990
ITEM PART NO. QTY. DESCRIPTION
17 6514037 1 PLUG, NO-RELIEF ASSY CROSS
34 6514034 1 O-RING
35 3514035 1 N/A
36 6514036 1 SEAL
Standard on Closed Center Valve
SR15/SR10 Master Parts Book (Jun-05) Rev 04-06
©2006 Alamo Group Inc. Parts Section – 61

HYDRAULIC VALVE ASSEMBLY - OPEN/CLOSED CENTER VALVE SN 10001 - 11270 APR 1988 - SEPT 1990
ITEM PART NO. QTY. DESCRIPTION
1 19E13/41/2 2 PIPE BUSHING
2 65140A47 3 HANDLE
3 65140A48 3 KIT-PIN
4 7E4204 6 SHCS 1/4 NC 1/2
5 65140A46 3 BRKT
6 6514012 6 PLATE RETAINER
7 6514013 6 SEAL, O-RING
8 6514026 3 POPPET
9 6514027 3 SPRING,LIFT CHECK
10 6514028 3 SEAL, O-RING
11 6514029 3 PLUG
12 6514030 3 PLATE,1/16 ORIFICE
13 6514031 3 RETAINER
14 65140A50 1 NON -ADJUSTABLE RELIEF ASSEMBLY (OPEN CENTER ONLY)
15 6514042 1 CLOSED CENTER ASSEMBLY (CLOSED CENTER ONLY)
16 6514039 1 CONVERSION PLUG ASSEMBLY
17 6514037 1 NO-RELIEF ASSEMBLY (CLOSED CENTER ONLY)
SR15/SR10 Master Parts Book (Jun-05) Rev 04-06
©2006 Alamo Group Inc. Parts Section – 62

JACK ASSEMBLY - TOP WIND SN 10001 - 11270 APR 1988 - SEPT 1990
ITEM PART NO. QTY. DESCRIPTION
1 00756655 1 PARKING JACK 5000# CAPACITY
2 00749892 1 PIN-JACK RETAINING
3 00751685 1 PIN-CLIP HAIR
SR15/SR10 Master Parts Book (Jun-05) Rev 04-06
©2006 Alamo Group Inc. Parts Section – 63

LEVEL ROD ASSEMBLY SN 10001 - 11270 APR 1988 - SEPT 1990
ITEM PART NO. QTY. DESCRIPTION
1 584042 2 WLDMT-ROD CONTROL
2 00756926 2 WLDMT,CTR SEC CONTROL ROD
3 00770485A 2 NUT,EXTENDED ADJUSTMENT
4 651102 4 PIN-DRILLED
5 5C1490 2 HEXNUT 7/8 JAM ZP
6 163012 8 PINS-CTR 3/16 X 1 1/2
7 15B1200 8 WASHER 3/4 P SAE
2 Assy Per Unit Reg.
SR15/SR10 Master Parts Book (Jun-05) Rev 04-06
©2006 Alamo Group Inc. Parts Section – 64

LIFT SCREW SN 10001 - 11270 APR 1988 - SEPT 1990
ITEM PART NO. QTY. DESCRIPTION
1 0656510000 1 MANUAL-LIFT SCREW
2 651062F 2 FITTING,GREASE (DRIVE TYPE)
3 00609200 2 HEXB 1 NC 4 GR5
4 02030300 2 NUT TOPLOCK 1 NC PLB
5 00756579 1 TOP LINK THREAD LOCK
Outboard Axle - 2 Req’d
SR15/SR10 Master Parts Book (Jun-05) Rev 04-06
©2006 Alamo Group Inc. Parts Section – 65

MAINFRAME COMPONENTS S/N 10001 - 11270 APR 1988 - SEPT 1990
ITEM PART NO. QTY. DESCRIPTION
1 00756720 1 WLDMT, CENTER SECTION
2 00756719 1 WLDMT, LEFT WING
3 00756718 1 WLDMT, RIGHT WING
4 65109 1 PIN HINGE
5 7A51812 2 HHCS 5/16X1-1/2 ZP
5JRC5180 2 NUT TOPLOCK 5/16
6 5710121 3 COVER PLATE
7 5F5180 6 NUT 5/16 NC WING
8 0656270000 2 T,SPACER,LONG
9 0656261000 2 SPACER,SHORT HINGE
SR15/SR10 Master Parts Book (Jun-05) Rev 04-06
©2006 Alamo Group Inc. Parts Section – 66

SAFETY SHIELD ASSEMBLY SN 10001 - 11100 APR 1988 - MAR 1990
ITEM PART NO. QTY. DESCRIPTION
1 0656130100 1 SHIELD, PRIMARY GEARBOX **
2 00757573 1 SHIELD - GBX
3 00757742 1 WLDMT, BRKT-GB SHIELD
4 00004000 1 NUT, 1/4-20NC PL WINGNUT
5 00751693 4 HEXB METRIC 8-P1.25- 16MM PL5
6 10182000 2 HHCS 3/8-16
7 00011700 4 LOCKWASHER 5/16 PL STD
8 00011100 4 FLATWASHER 3/8 PL STD
9 00015800 2 NUT,TOPLOCK 3/8NC PLB
10 00024100 1 FLATWASHER STD 1/4 PL
11 00017000 1 LOCKWASHER 1/4 PL STD
* Use existing G/B Bolts
** Used with G/B PN 00756604 & PN 00755698
SR15/SR10 Master Parts Book (Jun-05) Rev 04-06
©2006 Alamo Group Inc. Parts Section – 67

SAFETY SHIELD ASSEMBLY SN 11101 - 11270 MAR 1990 - OCT 1990
ITEM PART NO. QTY. DESCRIPTION
1 00759781 1 SHIELD, PRIMARY GB
2 00757573 SHIELD - GBX +
3 00757742 WLDMT, BRKT-GB SHIELD +
4 00004000 NUT, 1/4-20NC PL WINGNUT +
5 00751693 HEXB METRIC 8-P1.25- 16MM PL5 +
6 10182000 HHCS 3/8-16 +
7 00011700 LOCKWASHER 5/16 PL STD +
8 00011100 FLATWASHER 3/8 PL STD +
9 00015800 NUT,TOPLOCK 3/8NC PLB +
10 00024100 FLATWASHER STD 1/4 PL +
11 00017000 1 LOCKWASHER 1/4 PL STD
12 00750959 1 HEXB,1/2NC X 1,ZP,GRD5
13 00001300 1 LOCKWASHER 1/2 PL STD
+ Three (3) Required per unit.
* NOTE: Used with G/B PN 00757825 & PN 00757826
SR15/SR10 Master Parts Book (Jun-05) Rev 04-06
©2006 Alamo Group Inc. Parts Section – 68

SKID SHOE & SIDE SKIRT - OFFSET MODELS SN 10001 - 11270 APR 1988 - SEPT 1990
ITEM PART NO. QTY. DESCRIPTION
00757071 - SKIRT LH CTR SC FOR 10 FT.
1 00757066 1 L/H CENTER SECTION SKIRT
2 00757069 1 SLIDE SHOE BAR
3 2A381312 3 BOLT,PLOW 1/2 NC X 1-1/2 GR.5
4 00001200 7 NUT,HEX 1/2 NC PL
5 00001300 7 LOCKWASHER 1/2 PL STD
6 63066100 4 HHCS 3/8NCX1-1/2
7 00748823 4 HHCS 1/2-13UNC 1-1/2 PL5
8 03101646 4 LOCKWASHER,3/8,MEDIUM-ZP
9 00013901 4 NUT HEX 3/8 NC PL
10 00011100 4 FLATWASHER 3/8 PL STD
11 00757072 1 REAR CONNECTOR
SR15/SR10 Master Parts Book (Jun-05) Rev 04-06
©2006 Alamo Group Inc. Parts Section – 69

SKID SHOE - CENTER SECTION SN 10001 - 11270 APR 1988 - SEPT 1990
ITEM PART NO. QTY. DESCRIPTION
1 00751305 2 WLDMT,SKID SHOE CS 15
2 00749171 4 HHCS 1/2-20UNF 1-1/4 PL5
3 02716500 4 NUT TOPLOCK 1/2 NF PLB
SR15/SR10 Master Parts Book (Jun-05) Rev 04-06
©2006 Alamo Group Inc. Parts Section – 70

SKID SHOE & SIDE SKIRT ASSEMBLY SN 10001 - 11270 APR 1988 - SEPT 1990
ITEM PART NO. QTY. DESCRIPTION
1 00756881 1 RIGHT WING SIDE SKIRT WLDMT
00756879 1 LEFT WING SIDE SKIRT WLDMT
2 65203R 1 SHOES SLIDE
65203L 1 SHOES SLIDE
3 00002700 14 FLATWASHER 1/2 PL STD
4 00001200 20 NUT,HEX 1/2 NC PL
5 00748823 10 HHCS 1/2-13UNC 1-1/2 PL5
6 00001300 20 LOCKWASHER 1/2 PL STD
7 2A381312 6 BOLT,PLOW 1/2 NC X 1-1/2 GR.5
8 00013300 4 HEXB 1/2 NC 2 PL5
SR15/SR10 Master Parts Book (Jun-05) Rev 04-06
©2006 Alamo Group Inc. Parts Section – 71

SLIP CLUTCH ASSEMBLY - SERIES 6 SN 10001 - 11270 APR 1988 - SEPT 1990
ITEM PART NO. QTY. DESCRIPTION
00756075 - CLUTCH & YOKE SERIES 6
1 00754199 8 BOLT & NUT M10X95 SELF LK NUT
2 00754203 1 PRESSURE PLATE
3 00754201 1 INNER PLATE
4 00754202 4 RING,CLUTCH LINING
5 00755599 1 BODY-FRICTION CLUTCH
6 00755600 2 NUT & BOLT 14X70MM
7 00754314 1 PLATE WITH HOLES
8 00754301 1 BUSHING
9 00754302 1 YOKE, FLANGED
10 00754303 8 SPRING CLUTCH
11 00754304 1 DIRT SHIELD
SR15/SR10 Master Parts Book (Jun-05) Rev 04-06
©2006 Alamo Group Inc. Parts Section – 72

SLIP CLUTCH ASSEMBLY - SERIES 8 SN 10001 - 11270 APR 1988 - SEPT 1990
ITEM PART NO. QTY. DESCRIPTION
00756173 - CLUTCH & YOKE SERIES 8
1 00754199 8 BOLT & NUT M10X95 SELF LK NUT
2 00754203 1 PRESSURE PLATE
3 00754201 1 INNER PLATE
4 00754202 4 RING,CLUTCH LINING
5 00755599 1 BODY-FRICTION CLUTCH
6 00755600 2 NUT & BOLT 14X70MM
7 00754314 1 PLATE WITH HOLES
8 00754301 1 BUSHING
9 00754083 1 YOKE, CLUTCH SERIES 8
10 00754303 8 SPRING CLUTCH
11 00754304 1 DIRT SHIELD
SR15/SR10 Master Parts Book (Jun-05) Rev 04-06
©2006 Alamo Group Inc. Parts Section – 73

SPRING POD ASSEMBLY - CENTER AXLE SN 10001 - 11270 APR 1988 - SEPT 1990
ITEM PART NO. QTY. DESCRIPTION
0656460100 - CENTER SPRING ASSY
1 0656460110 1 UPPER SPRING WLD
2 0656460120 1 LOWER SPRING WLD
3 5JRC12100 4 NUT TOPLOCK 3/4
4 371063A 4 SPRING
5 65107A4 4 GUIDE SPRING
6 00002701 4 FLATWASHER,3/4,TYPE AW,ZP
7 02023800 4 HEXB 3/4 NC 6-1/2PL
8 37107B13 2 CLIP-X HAIR PIN
9 0656460240 2 WLDMT-PIN
SR15/SR10 Master Parts Book (Jun-05) Rev 04-06
©2006 Alamo Group Inc. Parts Section – 74

SPRING POD ASSEMBLY - OUTBOARD AXLE SN 10001 - 11270 APR 1988 - SEPT 1990
ITEM PART NO. QTY. DESCRIPTION
00756999 - SPRING ASSY OUTBOARD AXLE
1 00756907 1 WLDMT, ROCKER ARM
2 163016 2 PIN, COTTER 3/16 X 2
3 00756998 1 PIN-ROCKER ARM
4 371063A 1 SPRING
SR15/SR10 Master Parts Book (Jun-05) Rev 04-06
©2006 Alamo Group Inc. Parts Section – 75

TIRE SN 10001 - 11270 APR 1988 - SEPT 1990
ITEM PART NO. QTY. DESCRIPTION
1 00008700 1 WHEEL, RIM ONLY
2 00025200 1 NOTAT TIRE & WHEEL
NOTE: 4 or 6 assemblies are needed, depending upon Axle requirement.
ALSO AVAILABLE
Recapped Airplane Tire on 5x12 rim - PN 00750016 (Not Shown)
Used 14" Airplane Tire and Wheel - PN 00749700 (Not Shown)
SR15/SR10 Master Parts Book (Jun-05) Rev 04-06
©2006 Alamo Group Inc. Parts Section – 76

TONGUE ASSEMBLY USED ON 44R DRIVELINE SN 10527 - 11270 MAR 1989 - SEPT 1990
ITEM PART NO. QTY. DESCRIPTION
1 651051 1 WLDMT, TONGUE
2 0811050020 1 WLDMT-TONGUE HITCH
3 651053 1 ROD HITCH CONTROL
4 651054 2 PIN-TONGUE PIVOT
6 7AH5121620 2 C/S 3/4 X 2 1/2 NF 5
7 7AH5121636 1 C/S 3/4 X 4 1/2 NF 5
8 5JRC12160 3 NUT TOPLOCK 3/4 NF PLC
9 163016 2 PIN, COTTER 3/16 X 2
10 D102 1 DECAL PTO SFT TO HTCH
11 999201 1 NO LONGER AVAILABLE
SR15/SR10 Master Parts Book (Jun-05) Rev 04-06
©2006 Alamo Group Inc. Parts Section – 77

TONGUE ASSEMBLY USED ON C.V. DRIVELINE SN 10001 - 11270 APR 1988 - SEPT 1990
ITEM PART NO. QTY. DESCRIPTION
1 00756667 1 WLDMT, TONGUE
2 0811050020 1 WLDMT-TONGUE HITCH
3 00755841 1 TONGUE HITCH CONTROL ROD ASSY
4 651054 2 PIN-TONGUE PIVOT
6 7AH5121620 1 C/S 3/4 X 2 1/2 NF 5 *
7 7AH5121636 3 C/S 3/4 X 4 1/2 NF 5
8 5JRC12160 2 NUT TOPLOCK 3/4 NF PLC
9 163016 1 PIN, COTTER 3/16 X 2
10 D102 1 DECAL PTO SFT TO HTCH
11 999201 1 NO LONGER AVAILABLE
12 00758643 1 ROD,CONTROL *
13 00755840 1 WLDMT, CONTROL ROD *
14 00770485A 1 NUT,EXTENDED ADJUSTMENT *
15 5C1490 1 HEXNUT 7/8 JAM ZP *
16 131400 1 LOCKWASHER 7/8
* Parts included in 00755841, Control Rod Assembly.
SR15/SR10 Master Parts Book (Jun-05) Rev 04-06
©2006 Alamo Group Inc. Parts Section – 78

WEIGHT BOX SN 10001 - 11270 APR 1988 - SEPT 1990
ITEM PART NO. QTY. DESCRIPTION
1 0656390100 1 WEIGHT BOX WELD
2 0656390300 1 COVER
3 12BF6168 6 SCREW 3/8 X 1 NC
4 00012101 6 LOCKWASHER 3/8 PL HVY
5 00757359 1 BRACE STRAP
6 7A121016 1 C/S 3/4 X 2 NC ZP
7 00003901 1 LOCKWASHER 3/4 PL HEAVY
8 00000200 1 NUT 3/4 NC HEX PL
9 15B1200 1 WASHER 3/4 P SAE
10 20A4012E 1 PIN
SR15/SR10 Master Parts Book (Jun-05) Rev 04-06
©2006 Alamo Group Inc. Parts Section – 79

WHEEL HUB ASSEMBLY SN 10001 - 11270 APR 1988 - SEPT 1990
ITEM PART NO. QTY. DESCRIPTION
00757241 - WHEEL HUB
3 00756576 1 BEARING CUP OUTSIDE
4 00750434 1 BEARING CONE INSIDE
5 00756577 1 BEARING CUP INSIDE
6 00752177 5 BOLT, STUD 1/2-20 NF X 1-7/8
7 00750614 5 NUT 1/2-20NF 90DEG.CONE LUG PL
8 00756490 1 NUT SLOTTED THIN 1 NF PLC
9 02957044 1 OIL SEAL HEAVY DUTY - TK-15
10 00756493 1 WASHER
11 00756492 1 DUST CAP
12 00026200 1 PIN-COTTER 5/32 X 1-1/2
13 00003500 1 ZERK FITTING 1/8 STRAIGHT
14 00756489 1 HUB W/ CUPS & STUBS
15 0371242102 1 BEARING CONE
16 00756001 REF SPINDLE
00756489 REF HUB W/ CUPS & STUBS
00756528 REF WHEEL HUB ACCESS. KIT (INCLUDES 3-5 & 7-12)
17 00756002 REF SPINDLE DUAL WHEEL
SR15/SR10 Master Parts Book (Jun-05) Rev 04-06
©2006 Alamo Group Inc. Parts Section – 80

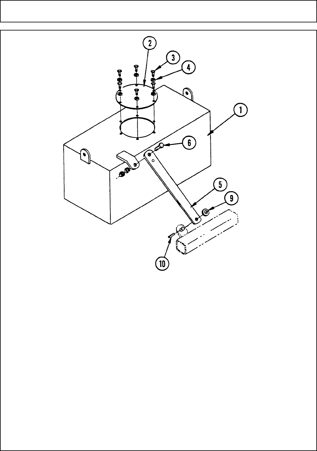
WINCH & HOLD DOWN STRAP SN 10001 - 11270 APR 1988 - SEPT 1990
ITEM PART NO. QTY. DESCRIPTION
1 0656200100 1 STAND WINCH FS15
2 7A6168 3 C/S3/8 X 1 NC
3 7A81312 2 C/S1/2 X 1 1/2 NC
4 15B600 1 WASHER 3/8 SAE P
5 00012101 3 LOCKWASHER 3/8 PL HVY
6 13800 2 LOCK WASHER
7 00013901 3 NUT HEX 3/8 NC PL
8 00001200 2 NUT,HEX 1/2 NC PL
9 B651202 1 WINCH & CABLE
651202 1 WINCH
10 651203 1 CABLE, 1/4 AIRCRAFT W/THIMBLE
11 65111 2 BAR, TRANSPORT
12 37107B13 4 CLIP-X HAIR PIN
SR15/SR10 Master Parts Book (Jun-05) Rev 04-06
©2006 Alamo Group Inc. Parts Section – 81

LIMITED WARRANTY
1. LIMITED WARRANTIES
1.01.Servis-Rhino warrants for one year from the purchase date to the original non-commercial, governmental, or municipal
purchaser (“Purchaser”) and warrants for six months to the original commercial or industrial purchaser (“Purchaser”)
that the goods purchased are free from defects in material or workmanship.
1.02.Manufacturer will replace for the Purchaser any part or parts found, upon examination at one of its factories, to be
defective under normal use and service due to defects in material or workmanship.
1.03.This limited warranty does not apply to any part of the goods which has been subjected to improper or abnormal use,
negligence, alteration, modification, or accident, damaged due to lack of maintenance or use of wrong fuel, oil, or
lubricants, or which has served its normal life. This limited warranty does not apply to any part of any internal
combustion engine, or expendable items such as blades, shields, guards, or pneumatic tires except as specifically found
in your Operator’s Manual.
1.04.Except as provided herein, no employee, agent, Dealer, or other person is authorized to give any warranties of any
nature on behalf of Manufacturer.
2. REMEDIES AND PROCEDURES.
2.01.This limited warranty is not effective unless the Purchaser returns the Registration and Warranty Form to Manufacturer
within 30 days of purchase.
2.02.Purchaser claims must be made in writing to the Authorized Dealer (“Dealer”) from whom Purchaser purchased the
goods or an approved Authorized Dealer (“Dealer”) within 30 days after Purchaser learns of the facts on which the
claim is based.
2.03.Purchaser is responsible for returning the goods in question to the Dealer.
2.04.If after examining the goods and/or parts in question, Manufacturer finds them to be defective under normal use and
service due to defects in material or workmanship, Manufacturer will:
(a) Repair or replace the defective goods or part(s) or
(b) Reimburse Purchaser for the cost of the part(s) and reasonable labor charges (as determined by Manufacturer)
if Purchaser paid for the repair and/or replacement prior to the final determination of applicability of the warranty
by Manufacturer.
The choice of remedy shall belong to Manufacturer.
2.05.Purchaser is responsible for any labor charges exceeding a reasonable amount as determined by Manufacturer and
for returning the goods to the Dealer, whether or not the claim is approved. Purchaser is responsible for the trans-
portation cost for the goods or part(s) from the Dealer to the designated factory.
3. LIMITATION OF LIABILITY.
3.01.MANUFACTURER DISCLAIMS ANY EXPRESS (EXCEPT AS SET FORTH HEREIN) AND IMPLIED WARRANTIES
WITH RESPECT TO THE GOODS INCLUDING, BUT NOT LIMITED TO, MERCHANTABILITY AND FITNESS
FOR A PARTICULAR PURPOSE.
3.02.MANUFACTURER MAKES NO WARRANTY AS TO THE DESIGN, CAPABILITY, CAPACITY, OR SUITABILITY FOR
USE OF THE GOODS.
3.03.EXCEPT AS PROVIDED HEREIN, MANUFACTURER SHALL HAVE NO LIABILITY OR RESPONSIBILITY TO
PURCHASER OR ANY OTHER PERSON OR ENTITY WITH RESPECT TO ANY LIABILITY, LOSS, OR DAMAGE
CAUSED OR ALLEGED TO BE CAUSED DIRECTLY OR INDIRECTLY BY THE GOODS INCLUDING, BUT NOT
LIMITED TO, ANY INDIRECT, SPECIAL, CONSEQUENTIAL, OR INCIDENTAL DAMAGES RESULTING FROM
THE USE OR OPERATION OF THE GOODS OR ANY BREACH OF THIS WARRANTY. NOT WITHSTANDING THE
ABOVE LIMITATIONS AND WARRANTIES, MANUFACTURER’S LIABILITY HEREUNDER FOR DAMAGES
INCURRED BY PURCHASER OR OTHERS SHALL NOT EXCEED THE PRICE OF THE GOODS.
3.04.NO ACTION ARISING OUT OF ANY CLAIMED BREACH OF THIS WARRANTY OR TRANSACTIONS UNDER
THIS WARRANTY MAY BE BROUGHT MORE THAN TWO (2) YEARS AFTER THE CAUSE OF ACTION HAS
OCCURRED.
4. MISCELLANEOUS.
4.01.Proper Venue for any lawsuits arising from or related to this limited warranty shall be only in Guadalupe County,
Texas.
4.02.Manufacturer may waive compliance with any of the terms of this limited warranty, but no waiver of any terms shall
be deemed to be a waiver of any other term.
4.03.If any provision of this limited warranty shall violate any applicable law and is held to be unenforceable, then the
invalidity of such provision shall not invalidate any other provisions herein.
4.04.Applicable law may provide rights and benefits to purchaser in addition to those provided herein.
KEEP FOR YOUR RECORDS
ATTENTION: Purchaser should fill in the blanks below for his reference when buying repair parts and/or for proper machine
identification when applying for warranty.
Servis-Rhino Implement Model _______________________________ Serial Number ________________________________
Date Purchased __________________________________________ Dealer ______________________________________
ATTENTION:
READ YOUR OPERATOR'S MANUAL
SERVIS-RHINO
1020 S. Sangamon Ave.
Gibson City, IL 60936
800-446-5158
Email: parts@servis-rhino.com
RHINO®

TO THE OWNER/OPERATOR/DEALER
To keep your implement running efficiently and safely, read your manual thoroughly and follow these directions and
the Safety Messages in this Manual. The Table of Contents clearly identifies each section where you can easily
find the information you need.
The OCCUPATIONAL SAFETY AND HEALTH ACT (1928.51 Subpart C) makes these minimum safety
requirements of tractor operators:
REQUIRED OF THE OWNER:
1. Provide a Roll-Over-Protective Structure that meets the requirements of this Standard; and
2. Provide Seatbelts that meet the requirements of this paragraph of this Standard and SAE J4C; and
3. Ensure that each employee uses such Seatbelt while the tractor is moving; and
4. Ensure that each employee tightens the Seatbelt sufficiently to confine the employee to the protected
area provided by the ROPS.
REQUIRED OF THE OPERATOR
1. Securely fasten seatbelt if the tractor has a ROPS.
2. Where possible, avoid operating the tractor near ditches, embankments, and holes.
3. Reduce speed when turning, crossing slopes, and on rough, slick, or muddy surfaces.
4. Stay off slopes too steep for safe operation.
5. Watch where you are going - especially at row ends, on roads, and around trees.
6. Do not permit others to ride.
7. Operate the tractor smoothly - no jerky turns, starts, or stops.
8. Hitch only to the drawbar and hitch points recommended by the tractor manufacturer.
9. When the tractor is stopped, set brakes securely and use park lock, if available.
Keep children away from danger all day, every day...
Equip tractors with rollover protection (ROPS) and keep all machinery
guards in place...
Please work, drive, play and live each day with care and concern for
your safety and that of your family and fellow citizens.

Printed U.S.A.
SR15/SR10 PL 06-05 P/N 00764578MB