Shandong USR IOT Technology USR-WIFI232 Serial to WIFI Module User Manual
Shandong USR IOT Technology Limited Serial to WIFI Module
User Manual

USR-WIFI232-B2 User Manual http://www.usriot.com
Jinan USR IOT Technology Limited Page 1 of 77 tec@usr.cn
USR-WIFI232-B2
Embedded WiFi Module User Manual
Version:V6.0.
Note: this article is based on the firmware version for V5.01.01 and above version of the module,
if the version is lower than this version, some function is not supported.

USR-WIFI232-B2 User Manual http://www.usriot.com
Jinan USR IOT Technology Limited Page 2 of 77 tec@usr.cn
Table Of Contents
1 Quick Start.................................................................................................................................................... 6
1.1 Hardware connect............................................................................................................................ 6
1.2 Network connection......................................................................................................................... 7
1.3 communication test.......................................................................................................................... 8
2 Product Overview........................................................................................................................................ 9
2.1 General Description......................................................................................................................... 9
2.2 Device Features............................................................................................................................... 9
2.3 Device Paremeters...........................................................................................................................9
2.4 Key Application............................................................................................................................... 10
2.5 Package Information......................................................................................................................11
2.5.1 Recommended Reflow Profile.......................................................................................... 11
2.5.2 Device Handling Instruction (Module IC SMT Preparation).........................................11
3 Hardware Introduction.............................................................................................................................. 12
3.1 Pins Definition.................................................................................................................................12
3.1.1 USR-WIFI232-B2 Pins Definition.....................................................................................12
3.2 Mechanical Size............................................................................................................................. 13
3.2.1 USR-WIFI232-B2................................................................................................................13
3.3 Antenna............................................................................................................................................14
3.3.1 External Antenna................................................................................................................ 14
3.4 Evaluation Kit..................................................................................................................................14
3.5 Hardware Reference Design........................................................................................................16
3.5.1 Hardware Typical Application........................................................................................... 16
3.5.2 10/100M Ethernet Interface.............................................................................................. 17
3.5.2.1 Ethernet Connection with Transformer................................................................17
3.5.2.2 Ethernet Connection without Transformer.......................................................... 17
3.5.3 UART Interface....................................................................................................................18
3.5.4 Power Interface...................................................................................................................19
4 Modules Function Description.................................................................................................................19
4.1 User configuration process...........................................................................................................19
4.2 Working mode.................................................................................................................................20
4.2.1 Transparent Mode.............................................................................................................. 20
4.2.2 Serial command mode.......................................................................................................21
4.2.3 GPIO mode..........................................................................................................................22
4.2.4 HTTPD Client mode........................................................................................................... 22
4.3 Wireless Networking......................................................................................................................23
4.3.1 STA........................................................................................................................................24
4.3.2 AP..........................................................................................................................................24
4.3.3 AP+STA................................................................................................................................ 25
4.4 Ethernet Interface Communication............................................................................................. 26
4.4.1 USR-WIFI232-B2 Ethernet Interface Networking (As AP).......................................... 26
4.4.2 USR-WIFI232-B2 Ethernet Interface Networking (As STA, N-Ver)........................... 27
4.4.3 USR-WIFI232-B2 Ethernet Interface Networking (As STA, Z-Ver)............................27
4.5 WI-FI parameter setting................................................................................................................ 28

USR-WIFI232-B2 User Manual http://www.usriot.com
Jinan USR IOT Technology Limited Page 3 of 77 tec@usr.cn
4.5.1 Auto- Frequency Function.................................................................................................28
4.5.2 Security.................................................................................................................................28
4.5.3 Search Function for STA................................................................................................... 28
4.5.4 Address Binding..................................................................................................................28
4.6 UART Frame Scheme................................................................................................................... 29
4.6.1 UART Free-Frame..............................................................................................................29
4.6.2 UART Auto-Frame.............................................................................................................. 29
4.7 Network Setting.............................................................................................................................. 29
4.7.1 Socket A............................................................................................................................... 30
4.7.2 Socket B............................................................................................................................... 30
4.8 New function................................................................................................................................... 30
TCP password authentication.....................................................................................................30
4.8.1 Registered Package ID/MAC............................................................................................31
4.8.2 Self-adaption Baudrate......................................................................................................31
4.8.3 WEB IO.................................................................................................................................31
4.8.4 Keepalive............................................................................................................................. 32
4.8.5 Multiple STA parameters................................................................................................... 32
4.8.6 Websocket........................................................................................................................... 32
4.8.7 Fast access Wi-Fi(usr-link)............................................................................................... 33
4.9 Palmodic Signal..............................................................................................................................34
4.10 Parameters Configuration.......................................................................................................... 35
4.11 Firmware Upgrade....................................................................................................................... 35
Web Accessing and AT command set....................................................................................................... 36
4.12 Configuration via Web Accessing............................................................................................. 36
4.12.1 Open Web Management Interface................................................................................ 36
4.12.2 Quick Configure................................................................................................................37
4.12.3 Mode Selection Page.......................................................................................................37
4.12.4 AP Interface Setting Page...............................................................................................38
4.12.5 STA Interface Setting Page.............................................................................................38
4.12.6 Application Setting Page................................................................................................. 39
4.12.7 Ethernet Setting................................................................................................................40
4.12.8 HTTPD Client Mode.........................................................................................................41
4.12.9 WEB IO.............................................................................................................................. 41
4.12.10 Advanced Page.............................................................................................................. 42
4.12.11 Device Management Page........................................................................................... 42
4.13 AT command Introduction...........................................................................................................43
4.13.1 Configuration Mode..........................................................................................................43
4.13.1.1 Switch to Configuration Mode.............................................................................44
4.13.2 AT+ Instruction Set Overview......................................................................................... 44
4.13.2.1 Instruction Syntax Format................................................................................... 46
4.13.2.2 AT+ command Set................................................................................................ 47
4.13.2.2.1 AT+E............................................................................................................ 49
4.13.2.2.2 AT+ENTM....................................................................................................49
4.13.2.2.3 AT+NETP.................................................................................................... 49

USR-WIFI232-B2 User Manual http://www.usriot.com
Jinan USR IOT Technology Limited Page 4 of 77 tec@usr.cn
4.13.2.2.4 AT+UART.................................................................................................... 50
4.13.2.2.5 AT+UARTF..................................................................................................50
4.13.2.2.6 AT+UARTFT............................................................................................... 50
4.13.2.2.7 AT+UARTFL............................................................................................... 51
4.13.2.2.8 AT+TMODE................................................................................................ 51
4.13.2.2.9 AT+WMODE............................................................................................... 51
4.13.2.2.10 AT+WSKEY.............................................................................................. 52
4.13.2.2.11 AT+WSSSID............................................................................................. 52
4.13.2.2.12 AT+ WSLK................................................................................................ 52
4.13.2.2.13 AT+WEBU.................................................................................................53
4.13.2.2.14 AT+WAP....................................................................................................53
4.13.2.2.15 AT+WAKEY.............................................................................................. 54
4.13.2.2.16 AT+HIDESSID..........................................................................................54
4.13.2.2.17 AT+MSLP..................................................................................................55
4.13.2.2.18 AT+WSCAN..............................................................................................55
4.13.2.2.19 AT+ TCPLK...............................................................................................55
4.13.2.2.20 AT + TCPDIS............................................................................................55
4.13.2.2.21 AT+ WANN................................................................................................56
4.13.2.2.22 AT+ LANN.................................................................................................56
4.13.2.2.23 AT+DHCPDEN.........................................................................................57
4.13.2.2.24 AT+ DHCPGW......................................................................................... 57
4.13.2.2.25 AT+ TCPTO.............................................................................................. 57
4.13.2.2.26 AT+ MAXSK..............................................................................................58
4.13.2.2.27 AT+TCPB.................................................................................................. 58
4.13.2.2.28 AT+TCPPTB.............................................................................................58
4.13.2.2.29 AT+TCPADDB..........................................................................................59
4.13.2.2.30 AT+TCPTOB.............................................................................................59
4.13.2.2.31 AT+TCPLKB............................................................................................. 59
4.13.2.2.32 AT+EPHY..................................................................................................59
4.13.2.2.33 AT+STTC.................................................................................................. 60
4.13.2.2.34 AT+DOMAIN.............................................................................................60
4.13.2.2.35 AT+FUDLX................................................................................................60
4.13.2.2.36 AT+MMID.................................................................................................. 61
4.13.2.2.37 AT+IDFIR.................................................................................................. 61
4.13.2.2.38 AT+IDEVE.................................................................................................61
4.13.2.2.39 AT+AABR..................................................................................................62
4.13.2.2.40 AT+RELD.................................................................................................. 62
4.13.2.2.41 AT+Z.......................................................................................................... 62
4.13.2.2.42 AT+MID..................................................................................................... 62
4.13.2.2.43 AT+VER.....................................................................................................62
4.13.2.2.44 AT+H..........................................................................................................62
4.13.2.2.45 AT+ HTTPURL......................................................................................... 63
4.13.2.2.46 AT+ HTTPTP............................................................................................63
4.13.2.2.47 AT+ HTTPPH............................................................................................63

USR-WIFI232-B2 User Manual http://www.usriot.com
Jinan USR IOT Technology Limited Page 5 of 77 tec@usr.cn
4.13.2.2.48 AT+ HTTPCN........................................................................................... 63
4.13.2.2.49 AT+ HTTPUA............................................................................................64
4.13.2.2.50 AT+WSSSIDA.......................................................................................... 64
4.13.2.2.51 AT+WSSSIDB.......................................................................................... 64
4.13.2.2.52 AT+WSSSIDC..........................................................................................65
4.13.2.2.53 AT+WSKEYA............................................................................................65
4.13.2.2.54 AT+WSKEYB............................................................................................65
4.13.2.2.55 AT+WSKEYC........................................................................................... 66
4.13.2.2.56 AT+ WSQY............................................................................................... 67
4.13.2.2.57 AT+ HTPMODE....................................................................................... 67
4.13.2.2.58 AT+ HTPSV.............................................................................................. 67
4.13.2.2.59 AT+ HTPTP.............................................................................................. 67
4.13.2.2.60 AT+ HTPURL............................................................................................68
4.13.2.2.61 AT+ HTPHEAD........................................................................................ 68
4.13.2.2.62 AT+ REGEN............................................................................................. 68
4.13.2.2.63 AT+ REGTCP...........................................................................................69
4.13.2.2.64 AT+ REGID...............................................................................................69
5 USR-WIFI232-A/B/C Usage Introduction.............................................................................................. 69
5.1 Module Debug................................................................................................................................ 69
5.1.1 Software Debug Tools........................................................................................................69
5.1.2 Network Connection...........................................................................................................70
5.1.3 Debug................................................................................................................................... 70
5.2 Use Cases.......................................................................................................................................72
5.2.1 Wireless Control Application.............................................................................................72
5.2.2 Remote Management Application....................................................................................73
5.2.3 Transparent Serial Port Application................................................................................. 73
5.2.4 Wireless Data Acquisition Card Application................................................................... 74
Appendix B: Disclaimer................................................................................................................................76
Appendix C: History......................................................................................................................................76

USR-WIFI232-B2 User Manual http://www.usriot.com
Jinan USR IOT Technology Limited Page 6 of 77 tec@usr.cn
1 Quick Start
USR-WIFI232 series product is used to transmit data between RS232 and WIFI TCPIP
transparently, user can update the product to WIFI control without knowing the WIFI and TCPIP
detail. All the convert work is done by the module. For users, the RS232 side is only as a serial
device,the WIFI side is TCPIP Socket data. User can setup the work detail by sample settings
which can setup via inside web pages or RS232 port. The setup work only need do once, then it
will save the setting forever.
This chapter is a user guide for USR-WIFI232 series products. We suggest users follow the guide
to test module at first, and will have a good understanding of the modules. Users can also choose
the chapter which you are interested in to read. For specific details and instructions, please refer
to the following chapters.
If there are problems in using the process, you can refer to the official website of our application
case:
http://www.usriot.com/Faq/cat-47.html
We can also submit the issue to our customer support center:
http://h.usriot.com
1.1 Hardware connect
In order to test WIFI module, we need connect module RS232 to PC and also WIFI to PC.
In order to test the communication between serial and WIFI network, we need to connect the
serial port to PC, and also connect WIFI networks to PC. Due to the special need both WIFI and
serial, we use PC which add USB WIFI network Card such as the following picture.
Figure 1 hardware connection diagram
About the serial connection, because the module RS232 is 3.3V TTL level, the computer can not
connect to module directly, the user needs to have a TTL to RS232 adapter cable and then
connect to the computer. in order to facilitate the test, we provide USR-WIFI232-B2 evaluation
board for users to choose.

USR-WIFI232-B2 User Manual http://www.usriot.com
Jinan USR IOT Technology Limited Page 7 of 77 tec@usr.cn
1.2 Network connection
The following is the USR-WIFI232-B2 module example,Other modules are the same.Open Wi-Fi,
search network, as shown in below, USR-WIFI232-B2_3378(B determined according to the
specific type of module, XXXX is the MAC address after the four) is the default network name
(SSID) of the module.
Figure 2 WIFI Search
Join the network, choose to automatically obtain IP, WIFI module supports DHCP Server feature
and is enabled by default.

USR-WIFI232-B2 User Manual http://www.usriot.com
Jinan USR IOT Technology Limited Page 8 of 77 tec@usr.cn
Figure 3 WIFI connection
Now, nlink led of USR-WIFI232-B2 Evaluation Board is lighting.
1.3 communication test
Module’s default setting:
SSID:USR-WIFI232-B2;
Encryption mode:open,none;
UART:57600,8,1,None;
Network parameters:TCP,Server,8899,10.10.100.254;
IP:10.10.100.254;
We just need to follow the parameters of the corresponding set of network communication
parameters, you can make serial <--> WIFI communication, the steps are as follows:
1. Open test software USR-TCP232-Test;
2. COM Settings area (left):
Choose COM port witch has connect the module, there is COM3, choose band rate to 57600, this
is the default band rate of WIFI module, Click Open COM port.
3. Net Settings area (right):
Choose TCP client mode, Server IP write 10.10.100.254, it is the WIFI default IP address, Server
port to 8899, It is the default Port the WIFI module listen, Click Connect to link to the module.
Now, you can test send data between RS232 and WIFI.
COM port to WIFI: PC RS232 -> Module RS232 -> Module WIFI -> PC WIFI.
WIFI to COM port: PC WIFI -> Module WIFI -> Module RS232 -> PC RS232.
Figure 4 serial / network transmission test

USR-WIFI232-B2 User Manual http://www.usriot.com
Jinan USR IOT Technology Limited Page 9 of 77 tec@usr.cn
2 Product Overview
2.1 General Description
USR-WIFI232-B2 module is an integration of 802.11 b/g/n wi-fi module,which provide a wireless
interface to any equipment with a Serial interface for data transfer.
The module used to MAC, baseband chip, RF transceiver unit, as well as the power
amplifier;Embedded firmware support wi-fi protocols and configuration, as well as the network
TCP/IP protocol stack.
USR-WIFI232-B2 uses the industry's highest performance embedded industrial structure, and for
the application of smart furniture, smart grid, handheld devices, personal medical, industrial
control, etc. These data fields, do a professional optimization.
USR-WIFI232-B2 as a hot spot can accommodate 32 clients simultaneously wi-fi access, but also
can accommodate 32 TCP client.
2.2 Device Features
Support IEEE802.11b/g/n Wireless Standards
Support TCP/IP/UDP Network Protocols
Support UART/GPIO/Ethernet Data Interface
Support Work As STA/AP/AP+STA Mode
Support Router/Bridge Mode Networking
Support External Antenna(max 280m)
Support Transparent Transmission Mode
Support AT+ Instruction Set for Configuration
Support Friendly Web Configuration Page
Support Palmodic Signal
Support UART Auto-Frame Function
Single +3.3V Power Supply
FCC/CE Certificated
Support customization
2.3 Device Paremeters
Table 1 USR-WIFI232-B2 Module Technical Specifications

USR-WIFI232-B2 User Manual http://www.usriot.com
Jinan USR IOT Technology Limited Page 10 of 77 tec@usr.cn
Class Item Parameters
Wireless
Parameters
Certification FCC/CE
Wireless standard 802.11 b/g/n
Frequency range 2.412GHz-2.462GHz
Transmit Power
802.11b: +20 dBm (Max.)
802.11g: +18 dBm (Max.)
802.11n: +15 dBm (Max.)
Configurable
Receiver Sensitivity
802.11b: -89 dBm
802.11g: -81dBm
802.11n: -71dBm
Antenna Option External:I-PEX Connector
Hardware
Parameters
Data Interface
UART: 300bps - 460800bps
GPIOs
Ethernet: 100Mpbs
Operating Voltage 3.3V (+/-5%)
Operating Current 170mA~300mA
Operating
Temperature -40℃- 85℃
Storage Temperature -40℃- 125℃
Dimensions and Size 25×40×8mm
Software
Parameters
Network Type Station /AP mode/STA+AP
Security Mechanisms WEP/WAP-PSK/WAP2-PSK
Encryption WEP64/WEP128/TKIP/AES
Work Mode Transparent Mode/Serial command
AT command AT+instruction set
Network Protocol TCP/UDP/ARP/ICMP/DHCP/DNS/HT
TP
Max. TCP Connection 32
User Configuration Web Server+AT command config.
2.4 Key Application
Remote equipment monitoring
Industrial sensors and controls
Asset tracking and telemetry
Home automation
Medical devices

USR-WIFI232-B2 User Manual http://www.usriot.com
Jinan USR IOT Technology Limited Page 11 of 77 tec@usr.cn
2.5 Package Information
2.5.1 Recommended Reflow Profile
Figure 5 Reflow Soldering Profile
Table 2 Reflow Soldering Parameter
Note:
1. Recommend to supply N2 for reflow oven.
2. N2 atmosphere during reflow (O2<300ppm).
2.5.2 Device Handling Instruction (Module IC SMT Preparation)
Shelf life in sealed bag: 12 months, at <30℃and <60% relative humidity (RH)
After bag is opened, devices that will be re-baked required after last baked with window time
168 hours.
Recommend to oven bake with N2 supplied.
Baked required with 24 hours at 125 ±5℃before rework process for two modules, one is
new module and two is board with module.
Recommend to store at ≦10% RH with vacuum packing.
If SMT process needs twice reflow:
(1) Top side SMT and reflow (2) Bottom side SMT and reflow
Case 1: Wifi module mounted on top side. Need to bake when bottom side process over 168
hours window time, no need to bake within 168 hours.
Case 2: Wifi module mounted on bottom side, follow normal bake rule before process.
Note:
Window time means from last bake end to next reflow start that has 168 hours space.
NO.
Item
Temperature (Degree)
Time(Sec)
1
Reflow Time
Time of above 220
35~55 sec
2
Peak-Temp
260 max

USR-WIFI232-B2 User Manual http://www.usriot.com
Jinan USR IOT Technology Limited Page 12 of 77 tec@usr.cn
3 Hardware Introduction
3.1 Pins Definition
3.1.1 USR-WIFI232-B2 Pins Definition
Figure 6 USR-WIFI232-B2
Figure 7 USR-WIFI232-B2 Pins Map
Table 3 USR-WIFI232-B2 Pins Definition
Pin
Description
Name
Directio
n
Note
1
Ground--GND
GND
Power
Ground
2
VCC 3.3V@350mA
3.3V
Power
3.3V @ 350mA power input
3
UART Data Transmit
UART_TXD
O
If not use UART function,
this 4 pins can be configured
as GPIO pins, and can
change GPIO pin status
through AT command
GPIO
GPIO3
I/O
4
UART Data Receive
UART_RXD
I
GPIO
GPIO4
I/O
5
UART sends request
of data transmission
UART_RTS
O

USR-WIFI232-B2 User Manual http://www.usriot.com
Jinan USR IOT Technology Limited Page 13 of 77 tec@usr.cn
GPIO
GPIO5
I/O
6
UART receives data
transmission
permission
UART_CTS
I
GPIO
GPIO6
I/O
7
Module reset signal
RESET
I
“Low ( 0 )” effective reset
input.
The reset duration should be
kept more than 300ms
8
WiFi status Indication
nLink
O
“0”- WIFI connection
available
“1”- No WIFI connection
Can be configured as GPIO.
GPIO
GPIO8
I/O
9
Indicate the module
status of power on
process
nReady
O
“0” or “Palmodic Signal” -
Finish module boot up
process;
“1” - Module boot up not
finish.
Can be configured as GPIO.
GPIO
GPIO9
I/O
10
Restore configuration
nReload
I
Module will Restore factory
default configuration after set
this pin “0” more than 1s,
then set “1”.
GPIO
GPIO10
I/O
11
Ethernet Input+
PHY_RX+
I
+1.8V Ethernet Data
Interface
Support transformer and
direct connection (AC
couple) mode.
12
Ethernet Input-
PHY_RX-
I
13
Ethernet Output+
PHY_TX+
O
14
Ethernet Output-
PHY_TX-
O
3.2 Mechanical Size
USR-WIFI232-B2 modules physical size (25x40mm) as follows:
3.2.1 USR-WIFI232-B2
USR-WIFI232-B2 module Mechanical Size:

USR-WIFI232-B2 User Manual http://www.usriot.com
Jinan USR IOT Technology Limited Page 14 of 77 tec@usr.cn
Figure 8 USR-WIFI232-B2 Mechanical Size
3.3 Antenna
3.3.1 External Antenna
USR-WIFI232-B2 modules support external antenna,USR-WIFI232-B2 modules must be
connected to the 2.4G antenna according to IEEE 802.11b/g/n standards.
The antenna parameters required as follows:
Table 4 USR-WIFI232-B2 External Antenna Parameters
3.4 Evaluation Kit
USR provides the evaluation kit to promote user to familiar the product and develop the detailed
application. The evaluation kit shown as below, user can connect to USR-WIFI232-B2 module
with the RS-232 UART port, 100M Eth port or Wireless port to configure the parameters, manage
the module or do the some functional tests.
Item
Parameters
Frequency range
2.4~2.5GHz
Impedance
50 Ohm
VSWR
2 (Max)
Return Loss
-10dB (Max)
Connector Type
I-PEX or populate directly

USR-WIFI232-B2 User Manual http://www.usriot.com
Jinan USR IOT Technology Limited Page 15 of 77 tec@usr.cn
Figure 9 USR-WIFI232-A/B module Evaluation Kit
Table 5 USR-WIFI232-A/B Evaluation Kit Interface Description
Function
Name
Description
External
Interface
DC jack
5V power input connector
DB9
Male serial jack of 9-pin,and used to connect to
PC
RJ-45
100M Eth Interface
Module
2x7 2mm DIP connector, connect WIFI module
LED
Power
(Red)
3.3V Power Indicator
TXD
TXD Indicator
RXD
RXD Indicator
Ready
nReady/GPIO Indicator
Link
nLink/GPIO Indicator
Button
Reset
Used to reset the module.
Reload
Module restore to factory default configuration.

USR-WIFI232-B2 User Manual http://www.usriot.com
Jinan USR IOT Technology Limited Page 16 of 77 tec@usr.cn
3.5 Hardware Reference Design
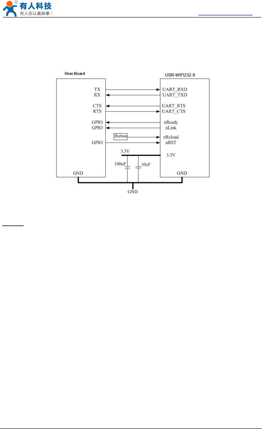
3.5.1 Hardware Typical Application
Figure 10 USR-WIFI232-B2 Hardware Typical Application
Notes:
nRST- Module hardware reset signal. Input. Logics “0” effective.
There is 100K Ohm pull-up resister internal up to 3.3V. When module power up or some issue
happened, MCU need assert nRST signal “0” at least 300ms, then set” 1” to keep module fully
reset.
nReady- Module boot up ready signal. Output. Logics “0” effective.
There is 4.7K Ohm pull-up resister internal up to 3.3V. The module will output “0” “or “Palmodic
Signal” after normal boot up. This signal used to judge if module finish boot up and ready for
application or working at normal mode.
nLink- Module WIFI connection indication. Output.
There is 4.7K Ohm pull-up resister internal up to 3.3V. When module connect to AP (STA mode)
or some WiFi STA connect to module (AP mode), the module will output “0”. This signal used to
judge if module already at WiFi connection status.
nReload-Module restore to factory default configuration.Input. Logics “0” effective.
User can assert nReload signal “0” more than 3’s through button or MCU pin, then release,
module will restore to factory default configuration and re-start boot up process. User need add
4.7K~10K Ohm pull-up resister external the module.
UART_TXD/RXD- UART port data transmit and receive signal.
There is 1K Ohm pull-down resister internal. User can’t add pull-up resister at these pins.

USR-WIFI232-B2 User Manual http://www.usriot.com
Jinan USR IOT Technology Limited Page 17 of 77 tec@usr.cn
3.5.2 10/100M Ethernet Interface
USR-WIFI232-A/B/C modules provide one 10/100M Ethernet PHY layer interface for data
transition or user configuration. This Ethernet support with transformer and without transformer
(PHY-to-PHY) 2 kinds of connection.
3.5.2.1 Ethernet Connection with Transformer
User board put Ethernet transformer and RJ-45 connector. This is a general 10/100M Ethernet
phy layer connection. The reference design as following:
(Above is for USR-WIFI232-B2 pin type module)
Figure 11 Ethernet Reference Design with Transformer
3.5.2.2 Ethernet Connection without Transformer
For this application, Ethernet will work as internal data transmition interface and save one
transformer and RJ45 connector. Ethernet PHY-to-PHY connection will use AC coupled
connection. This is a space and cost optimized solution. Hardware reference design as following:
Note: VCC signal at reference design shall base on user board PHY chipset voltage level, such
as 2.5V power supply for general Ethernet PHY chipset.
(Above is for USR-WIFI232-B2 pin type module)
Figure 12 Ethernet Reference Design without Transformer

USR-WIFI232-B2 User Manual http://www.usriot.com
Jinan USR IOT Technology Limited Page 18 of 77 tec@usr.cn
This module Ethernet interface default is for the application with transformer connection. If you
need PHY-PHY directly connection, please change the hardware as follows:
1. Weld 0 ohm resistance in red position
2. Remove the component in yellow position
BOT side component TOP side component
Figure 13 Schematic resistance changes
Specific PHY-PHY direct connection reference to user manual chapter 1.3.2.2 application of
Ethernet without transformer and AT+FEPTP command
The command:
AT+FVEW=enable<CR> to open ethernet WAN port function
Remark:
1. Only when ethernet as WAN, this command is needed. Module default LAN port.
2. After this command, make sure module WAN IP and LAN IP in different segment. (Modify the
ALN IP in AP Settings, modify the WAN IP in STA Settings)
AT+FEPTP=on<CR> Quey/set default ethernet PHY-PHY on/off
AT+FEPHY=on<CR> Open ethernet function permanently
AT+RELD<CR> Command with “F” need to be affective after AT+RELD
After module reset, command effect, then will not impact by Reload
For user’s design, pls note:
1. Cable connection should be AC coupling, your cable need be pulled up to VCC (fit with PHY
chip level)
2. Cable TX connected to RX. In PHY-PHY direct connection, PHY chip dose not support
direct/ cross self-adaption
3.Your PHY chip on board should better to be forced into 100M work mode
3.5.3 UART Interface
UART interface is the serial data transmition interface mainly used for USR-WIFI232-B2 modules.

USR-WIFI232-B2 User Manual http://www.usriot.com
Jinan USR IOT Technology Limited Page 19 of 77 tec@usr.cn
User can add RS-232 chipset on user board and convert the signal to RS-232 voltage to
communicate with outside equipment or sensors. USR-WIFI232-B2 modules UART interface
include 4 general signals: TXD/RXD/RTS/CTS. The hardware reference design with RS-232
chipset as following:
Figure 14 Figure 10 UART Interface Reference Design
Notes: TXD pin is also hardware configuration pin internal module. So this pin MUST pull-down
during module power up. USR-WIFI232-B2 modules provide internal pull-down resister, user can’t
add pull-up/pull-down resister on user board, which may cause module can’t work.
3.5.4 Power Interface
USR-WIFI232-B2 module support single +3.3V power supply. The peak current shall about
350mA and normal WiFi working current shall about 200mA. The power save (WiFi OFF) mode
will about 100mA
Decoupling at power pin suggested, At least one 100uF and one 10uF capacitor required at user
board and put near module power input pin will increase the reliability and performance.
4 Modules Function Description
4.1 User configuration process
After USR-WIFI232-B2 module electric starter, based on user pre-set parameters, automatically
connect to wireless networks and servers, and enter the working mode is set to open in
accordance with the default serial port parameters.
The parameters which need to configure include:

USR-WIFI232-B2 User Manual http://www.usriot.com
Jinan USR IOT Technology Limited Page 20 of 77 tec@usr.cn
Wireless Network Parameters
Wireless Network Name(SSID)
Security Mode
Encryption Key
TCP/UDP Linking Parameters
Protocol Type
Link Type(Server or Client)
Target Port ID Number
Target Port IP Address
Serial Port Parameters
Baud Rate
Data Bit
Parity (Check) Bit
Stop Bit
Hardware Flow Control
Work Mode Selection
Transparent mode/Serial command mode/GPIO mode
The following sections will introduce specific to each part in detail.
4.2 Working mode
4.2.1 Transparent Mode
USR-WIFI232-B2 modules support serial interface transparent transmission mode. The benefit of
this mode is achieves a plug and play serial data port, and reduces user complexity furthest. In
this mode, user should only configure the necessary parameters. After power on, module can
automatically connect to the default wireless network and server.
As in this mode, the module's serial port always work in the transparent transmission mode, so
users only need to think of it as a virtual serial cable, and send and receive data as using a
simple serial. In other words, the serial cable of users’ original serial devices is directly replaced
with the module; user devices can be easy for wireless data transmission without any changes.
The transparent transmission mode can fully compatible with user’s original software platform
and reduce the software development effort for integrate wireless data transmission.
Notes: Users also open the serial port hardware flow control (CTS/RTS) function, so that we can
make the bit error rate to a minimum.If the user doesn't need hardware flow control function of the
serial port, only need to the corresponding pin foot (CTS/RTS) hung up.

USR-WIFI232-B2 User Manual http://www.usriot.com
Jinan USR IOT Technology Limited Page 21 of 77 tec@usr.cn
4.2.2 Serial command mode
In this mode, the user can send the serial data to a different server address, this pattern can be
use udp or TCP client sends data to the server.
Customer MCU send packets according to the following format, parsing module is finished, only
the n bytes of data sent to the destination address.When data is returned, not analytical data from
serial port output directly.
Table 6 Protocol table of Serial command mode
frame
header
length
functio
n
byte
Backup
data area
Destinati
on port
Target
address
Data
Sum
check
2
2
(n+m+5)
1
2
2
m
n
1
frame header:
0x55 0xAA(Constant)
Length:
Starting from the function byte, to Sum check (does not contain the sum check) all bytes.
High byte at the front
Function byte:
Bit0:(UDP:0 ;TCP:1)
Bit1:(Short connection:0;Long connection:1)
Bit2:(IP:0;Domain name:1)
Bit7:(cut protocol:0;full protocol:1)Note: currently only supports cut protocol
Notes:
Bit1:If it is a short connection, it sends data, and then will be disconnected; if it is long
connection, it sends data, connection will remain, until the re changing the target address.
Bit2:Indicates that the target address is IP or domain name. If it is IP, the target address is 4
bytes; if the domain name, the target address length for the entire domain name string length
(the last byte address is ‘\0’, that is the end of the string).
Bit7:Under the cut protocol, reply frame contains only data; Under the full protocol, reply
frame has "failed to send", "waiting for", "UDP radio response equipment IP" frame data.
Backup data area:
First byte:If it is a short connection, this position is TCP waits for the timeout time (1-255), if
the send command is completed, did not receive a response, then wait a few seconds and
the corresponding, if 5, said to wait for the 5S to disconnect; if the sending command,
immediately receive the returned data, then immediately disconnected; if it is long connection,
this position is 0x00.
Second byte:Reserve
Destination port:
Little endian, low byte in the former,such as port 23, here are 0x17 0x00
Target address:
If it is IP, is 4 bytes, for example, 192.168.0.7 said 0x07 0x00 0xA8 0xC0; if it is a domain
name, then the address of indefinite length,ending with the’\0'.
Data:
Variable length,the maximum not exceeding 1000bytes.

USR-WIFI232-B2 User Manual http://www.usriot.com
Jinan USR IOT Technology Limited Page 22 of 77 tec@usr.cn
Sum check:
From the function word to check byte (does not contain a check byte), add Sum check.
The following is an example of a specific application:
send data:0x55 0xaa 0x00 0x0a 0x00 0x00 0x00 0x21 0x00 0x85 0x00 0xA8 0xC0 0x01 0x0f
Length:0x00 0x0a
Function byte:0x00 (UDP;Short connection;IP;cut protocol)
Destination port:0x21 0x00(33)
Target address:0x85 0x00 0xA8 0xC0 (192.168.0.133)
Data:0x01(data length :1)
Sum check:0x0f (0x00+0x00+0x00+0x21+0x00+0x85+0x00+0xA8+0xC0+0x01=0x0f)
4.2.3 GPIO mode
USR-WIFI232-B2 module support GPIO mode:At GPIO,UART (TXD/ RXD/CTS/RTS) defined as
GPIO and others (Ready/Link/) also defined as GPIO pin.
When module works at GPIO mode, PC and other equipments can setup connection (TCP/UDP)
through WiFi, then read/write GPIO information through command.
GPIO n IN, Set GPIOn as input, Response GPIO OK or GPIO NOK;
GPIO n OUT 0, Set GPIOn as output and output ‘0’, Response GPIO OK or GPIO NOK;
GPIO n OUT 1, Set GPIOn as output and output ‘1’, Response GPIO OK or GPIO NOK;
GPIO n SW, Set GPIOn as output and switch the output status, Response GPIO OK or
GPIO NOK;
GPIO n PWM m1 m2, Set GPIOn output a wave: m1 is ‘high’duration and m2 is ’low’
duration (Time unit is ‘ms’and minimal is 10ms), Response GPIO OK or GPIO NOK;
GPIO n GET, Read GPIOn status, Response I0,I1,O0,O1, means ”input low ”,”input
high”,”output low”,”output high”
Notes: n can be 3, 4, 5, 6, 8, 9 corresponding module pin. GPIO 4 can only defined as input and
GPIO 3 can only defined as output.
GPIO READ returns all current IO status, and GPIO n GET said method. Such as, I1I1I0I0I0I0O1,
I said input, O output. 0 low, 1 express high.4 pin is negated. Read the 1 actual 0 actual 1, read
the 0.
4.2.4 HTTPD Client mode
This mode is used to send data to the HTTP server.
After setting the HTTP header format by webpage or AT command, the data sent each time by
UART will add the HTTP header automatically.Convenient for the user directly submit data or
read data from the HTTP server.
Below is the specific application, for example:
The first set HTTP parameters using AT instructions.
AT+HTTPURL=192.168.1.1,80 The serveraddress and portsettings
AT+HTTPTP=POST Set the HTTP type, GET, PUT or POST
AT+HTTPPH=/set Set the path,the mostis50 bytes
AT+HTTPCN=keep-alive Set the Connection,maximum length of 20bytes
AT+HTTPUA=lwip13.2 Set the User-Agent,maximum length of 20bytes

USR-WIFI232-B2 User Manual http://www.usriot.com
Jinan USR IOT Technology Limited Page 23 of 77 tec@usr.cn
If the sending data is 1234.In the 80 port of 192.168.1.1 will receive the following data
POST /set HTTP /1.1
Connection:keep-alive
User-Agent:lwip1.3.2
Content-Length:4
Host:192.168.1.1:80
1234
If the HTTP type is GET, the 80 port 192.168.1.1 receive data
POST /set1234 HTTP /1.1
Connection:keep-alive
User-Agent:lwip1.3.2
Content-Length:0
Host:192.168.1.1:80
Data received from server will be directly sent to the serial port,without any treatment.
Note: after V5.01.14 version of the firmware it add a new method of HTTP header definition,
called the new mode, the way at above, is called the old mode.
Users can custom HTTP headers in the way of the new mode, can add, delete, modify the
contents of each HTTP header (if the HTTP request type is POST/PUT, module will automatically
add the Content - Length).Including the AT + HTPMODE, AT + HTPSV, AT + HTPTP, AT +
HTPURL, AT + HTPHEAD, specific instructions please refer to the AT command set process
section.Similarly, also has the corresponding Settings page in the web page.
Note: in the new mode, if you use the AT command set HTTP headers, Please use the
"<<CRLF>>" instead of carriage "return",in the web page,you don't need to worry about the
"return".
4.3 Wireless Networking
USR-WIFI232-B2 module can be configured as both wireless STA and AP base on network type.
Logically there are two interfaces in USR-WIFI232-B2. One is for STA, and another is for AP.
When USR-WIFI232-B2 works as AP, other STA equipments are able to connect to wireless LAN
via USR-WIFI232-B2 module. Wireless Networking with USR-WIFI232-B2 is very flexible.
Following figure shows the functional architecture of USR-WIFI232-B2 module:
Figure 15 USR-WIFI232-B2 Functional Architecture
Notes:

USR-WIFI232-B2 User Manual http://www.usriot.com
Jinan USR IOT Technology Limited Page 24 of 77 tec@usr.cn
AP: that is the wireless Access Point, the founder of a wireless network and the center of the
network nodes. The wireless router we use at home or in office may be an AP.
STA: short for Station, each terminal connects to a wireless network (such as laptops, PDA and
other networking devices) can be called with a STA device.
4.3.1 STA
Infrastructure: it’s also called basic network. It built by AP and many STAs which join in.
The characters of network of this type are that AP is the center, and all communication between
STAs is transmitted through the AP. The figure following shows such type of networking.
Figure 16 USR-WIFI232-B2 Basic Wireless Network Structure
4.3.2 AP
Because USR-WIFI232-B2 can be set to AP, can also be set to STA, so the USR-WIFI232-B2 can
be achieved easily wireless ad hoc network.
As showing in the figure below, USR-WIFI232-B2 (1) can be treat as an AP, and USR-WIFI232-
B2 (2), USR-WIFI232-B2 (3) and the laptop are STAs connected to USR-WIFI232-B2 (1).
Meanwhile, all USR-WIFI232-B2 modules can connected to user device via UART interface. All
USR-WIFI232-B2 modules can be operated and managed through the laptop. So it is convenient
to O&M all USR-WIFI232-B2 modules. Moreover, in such Adhoc network structure, the whole
coverage of a wireless network can be extended easily.

USR-WIFI232-B2 User Manual http://www.usriot.com
Jinan USR IOT Technology Limited Page 25 of 77 tec@usr.cn
Figure 17 USR-WIFI232-B2 STA Network Structure
4.3.3 AP+STA
USR-WIFI232-B2 module support AP+STA network mode, means module support one AP
interface and one STA interface at the same time, as following figure,
Figure 18 USR-WIFI232-B2 AP+STA Network Structure
When module enables AP+STA function, Module’s STA interface can connect with router and
connect to TCP server in the network. At the same time, module’s AP interface is also active and
permit phone/PAD to connect through TCPB, then phone/PAD can control user device and and
setting the module parameters,
The advantage of AP+STA mode is:
Users can easily setting and track user device through Phone/PAD and not change the
orginal network setting.
Users can easily setting module’s parameters through WiFi when module works as STA
mode.
AP+STA Mode Setting:

USR-WIFI232-B2 User Manual http://www.usriot.com
Jinan USR IOT Technology Limited Page 26 of 77 tec@usr.cn
AP+STA mode need serial AT command to enable as follows:
AT+FAPSTA=on, Enable AP+STA mode;
Then, when you configure module works as STA mode, it’s AP interface still active;
AP+STA Mode Notes:
When user enable AT+STA function,the STA port need to keep connected with other
router(AP),
or STA port will have to scan the AP frequently ,which will affect AP port function and may cause
some date loss.
So ,if user confirm STA port can't connect with AP at some time,user can disable the STA scan
through the following command:
AT+STTC=on/off,on:Scan AP;off:No Scan AP.
After re-start module,this command not saved;
AT+FSTTC=on/off;
This command is saved after re-staring the module;
4.4 Ethernet Interface Communication
USR-WIFI232-B2 module provides one 100M Ethernet interface. With this Ethernet interface,
user can easily realize the three interface (WiFi, UART, and Ethernet) intercommunication and
networking. USR-WIFI232-B2 module can configured as Bridge Mode or Router Mode base on
different networking technology.
Notes: As the Ethernet mode will increase additional consumption, so it is default closed. If you
need this function, pls use AT+FEPHY=on to open it and RELD can’t change this. For different
application, USR-WIFI232-610 need version switch via commands (such as following description
of N-ver and Z-ver). With command AT+FVER=n to switch to N-ver and with command
AT+FVER=z to switch to Z-ver.
4.4.1 USR-WIFI232-B2 Ethernet Interface Networking (As AP)
Figure 19 USR-WIFI232-A/B/C Ethernet Interface Networking (As AP)

USR-WIFI232-B2 User Manual http://www.usriot.com
Jinan USR IOT Technology Limited Page 27 of 77 tec@usr.cn
USR-WIFI232-B2 module works as AP and also the center of this network. All devices’ IP address
in this network shall use the same network segment with USR-WIFI232-B2 and they can
ntercommunication with this method.
4.4.2 USR-WIFI232-B2 Ethernet Interface Networking (As STA, N-Ver)
Figure 20 USR-WIFI232-B2 Ethernet Interface Networking (As STA, N-Ver)
USR-WIFI232-B2 module works as STA (Software is N-Version), and module set as router mode.
When module connect to AP, it will get wireless port IP address from AP (For example:
192.168.1.100). At the same time, module also form a subnet (Default 10.10.100.254) and all
devices connected to module Ethernet interface will get assigned IP address (For example:
10.10.100.101).So as shown, PC1 at internal subnet can initiate a connection to PC2 (For USR-
WIFI232-B2 works as router mode), but PC2 can’t active initiate a connection to PC1.
4.4.3 USR-WIFI232-B2 Ethernet Interface Networking (As STA, Z-Ver)
Figure 21 USR-WIFI232-B2 Ethernet Interface Networking (As STA, Z-Ver)
For above networking, USR-WIFI232-B2 module works as STA(Firmware is Z-Version ),and
module configured as bridge mode. When module connect to AP, all devices connected to
module Ethernet interface will get assigned IP address from AP (For example: 192.168.1.101).For
module works as bridge mode, it can be treated as a transparent device and PC1, PC2 can
communicate without any limit. But in this networking, USR-WIFI232-A/B/C module needs assign
a static LAN IP address (For example: 192.168.1.10) if module also needs communication with
AP or configuration through web page.

USR-WIFI232-B2 User Manual http://www.usriot.com
Jinan USR IOT Technology Limited Page 28 of 77 tec@usr.cn
4.5 WI-FI parameter setting
4.5.1 Auto- Frequency Function
When module works as STA, USR-WIFI232-B2 will adjust its wireless channel to keep the same
channel with associated AP and connect in.
When module works as AP and USR-WIFI232-B2 enable Auto-frequency function, then when
module boot up, it will select the best wireless channel based on surrounding environment.
4.5.2 Security
USR-WIFI232-B2 module supports multiple wireless encryption mechanisms, and enables to
protect the security of user’s data transmission, the mechanisms include:
WEP
WPA-PSK/TKIP
WPA-PSK/AES
WPA2-PSK/TKIP
WPA2-PSK/AES
4.5.3 Search Function for STA
When using web configuration STA Interface Setting Page, user can push “Search” button to find
surrounding AP, and find a AP to associated.
Figure 22 Search page
4.5.4 Address Binding
USR-WIFI232-B2 module supports the feature of binding the BSSID address of target network.
According to the provisions of 802.11 protocol, different wireless networks can have a same
network name (i.e. SSID / ESSID), but must correspond to a unique BSSID address (i.e. MAC
address). Illegal intruders can create a wireless network with the same SSID / ESSID, it will make
STAs in the network to join to the illegal AP, thereby and then network leakage happen.

USR-WIFI232-B2 User Manual http://www.usriot.com
Jinan USR IOT Technology Limited Page 29 of 77 tec@usr.cn
Users can prevent STA from joining to illegal network by binding the BSSID address, to improve
wireless network security.
4.6 UART Frame Scheme
4.6.1 UART Free-Frame
USR-WIFI232-B2 support UART free-frame function. If user select open this function, module will
check the intervals between any two bytes when receiving UART data. If this interval time
exceeds defined value (50ms default), USR-WIFI232-B2 will think it as the end of one frame and
transfer this free-frame to WiFi port, or USR-WIFI232-B2 will receive UART data until 4K bytes,
then transfer 4KB frame to WiFi port.
USR-WIFI232-B2 is default interval time is 50ms. User can also set this interval to fast (10ms)
through AT command. But user have to consider if user MCU can send UART data with 10ms
interval ,or the UART data may be divide as fragment.
Through AT command: AT+FUARTTE=fast/normal, user can set the interval time: fast (10ms) and
normal (50ms). This command is factory default setting command and AT+RELD can’t change its
value.
4.6.2 UART Auto-Frame
USR-WIFI232-B2 support UART auto-frame function. If user select open this function and setting
auto-frame trigger length and auto-frame trigger time parameters, then module will auto framing
the data which received from UART port and transmitting to the network as pre-defined data
structure.
Auto-frame trigger length: The fixed data length that module used to transmitting to the
network.
Auto-frame trigger time: After the trigger time, if UART port received data can’t reach auto-
frame trigger length, then module will transmitting available data to the network and bypass
the auto-frame trigger length condition.
Detailed UART auto-frame function can refer to AT+ instruction set “UARTF/UARTFT/UARTFL”
introduction.
4.7 Network Setting
USR-WIFI232-B2 module has two TCP/UDP Socket: Socket A and Socket B. Serial data written
to the module, will be sent to the Socket A and B simultaneously; TCP/UDP data that module
receives through either Socket A or B,will be sent to the serial port.

USR-WIFI232-B2 User Manual http://www.usriot.com
Jinan USR IOT Technology Limited Page 30 of 77 tec@usr.cn
Dual Socket through different settings, you can achieve a variety of network interconnect. When
the module shipped only open Socket A, Socket B default is not to connect, if the user needs to
use, please set by AT commands.
4.7.1 Socket A
Socket A has three work mode: TCP Server, TCP Client, UDP Client,UDP Server.The setting
method, please refer to the AT+NETP command instruction.
When Socket A configured as TCP Server, it supports Multi-TCP link connection, and maximum
32 TCP clients permitted to connect to Socket A.
Multi-TCP link connection will work as following structure:
Upstream: All dates from different TCP connection or client will be transmitted to the serial port as
a sequence.
Downstream: All data from serial port (user) will be duplicate and broadcast to every TCP
connection or client.
Detailed multi-TCP link data transmition structure as following figure:
Figure 23 Multi-TCP Link Data Transmition Structure
4.7.2 Socket B
Socket B has one work mode: TCP Client, please refer to the AT+TCPB/AT+TCPPTB/TCPADDB/
TCPTOB/TCPLKBcommand instruction.
With variety work mode, socket B can provide users with flexible data transfer methods.For
example, Socket B can connect to a remote server in order to achieve remote control.
4.8 New function
TCP password authentication
This feature is available only on the module as a TCP server, when the TCP client connection
module, the module will authenticate each connected tcp.
Each TCP client first data is the “password+0x0d+0x0a” (the password is Webpage
authentication password). The default password is “admin”, so the first piece of data should be
"0x61 0x64 0x6D 0x69 0x6E 0x0D 0x0A" (Hex). If the password is correct, the module returns

USR-WIFI232-B2 User Manual http://www.usriot.com
Jinan USR IOT Technology Limited Page 31 of 77 tec@usr.cn
"OK", on the other hand, return to the "NO" and disconnect.
The TCP connection of this function can be Webpage in "TCP connection password
authentication" is opened or disable. Please refer to the specific "5.1.6" section.
4.8.1 Registered Package ID/MAC
This function only applies to the module as a TCP client, in front of the data when module
connected to the server with two bytes of ID (ID the range is 0 ~ 65535, the high byte before, and
the low byte behind) plus two bytes ID radix-minus-one complement(or upload 6 bytes MAC
address).Module is the default ID is 1111(MAC:D8B04CF20000), for example, is sent to the
server when the first four bytes "0x57 0x04 0xfb 0xa8"(or "0xD8 0xB0 0x4C 0xF2 0x00 0x00").
There are two ways to upload their own id: one is to upload their own ID/MAC for connection to
the server for the first time;The other is a plus ID/MAC in front of each data.
Registered Package related parameter is set in the "serial port and other Settings" section of the
web, build joint function of ID/MAC for the first time, and each data with the function of ID/MAC
are disabled by default.
Note: the function of the upload MAC supported in V5.01.14 and above version.
4.8.2 Self-adaption Baudrate
This feature, please cooperate with our company's virtual serial port software use.
Use a serial port connected module, and use the at command "at + AABR = on" open this
function and restart.In the USR - VOCM software "synchronous baud rate (RFC2217 similar)" is
selected, the following figure.
Specific setup process, please refer to the AT command section(5.2.2.2.39).
Figure 24 RFC 2217
In this way, the module of baud rate will be as the USR-VCOM to change at any time, and don't
have to restart the module.If restart the module, baud rate and will come back to before.
4.8.3 WEB IO
This function only work for "GPIO mode".
When the module is in the "GPIO mode", enter the Webpage in "WEB IO", you can click on the
corresponding button to control module pin level. Without the need to download and install app,
any platform, any equipment, as long as you can into the built-in Webpage of module through the
browser built-you can control module pin of IO.

USR-WIFI232-B2 User Manual http://www.usriot.com
Jinan USR IOT Technology Limited Page 32 of 77 tec@usr.cn
4.8.4 Keepalive
V4.02.10. USR13 and above version of the firmware added keepalive when the TCP connection
mechanism, so when the module of network anomalies, timely diagnose abnormal to the network
and disconnect, when the network has resumed after, and just in time to connect to the server.
4.8.5 Multiple STA parameters
This function based on V4.02.10 D.U SR18 and above version of the firmware, in the sta mode, if
can network signal is too low, it will automatically switch to the other AP network (switching
network automatically restart).
This feature provides a signal threshold, when the current network signals is lower than the
critical value, the module of automatic switching network and restart.If the signal value is set to
100, the module will not switch network.Even if the current network signal is not the current
network will always search, not heavy to other networks.
The function of the specific Settings page refer to section 5.1.4.
Specific setup process, please refer to the AT command section(5.2.2.2.50-5.2.2.2.56).
4.8.6 Websocket
This module can realize the function of the websocket server, allowing serial real-time interaction
with the web module, replace the previous HTTP GET, POST, corresponding faster.This module
provides the corresponding websocket test page for user testing, specific page is as follows:(web
Page:10.10.100.254/websocketen.html)
Figure 25 Websocket Page
Click on the "connect" page and then implements a connection, so a serial port with page can
send or receive data from each other.This module websocket server support 8 client connection
at the same time.
This function for web applications, and for web users with higher response speed, if you want to
customize the corresponding web page, can connect your company.
Note:This function occupy the 8000 port of module.

USR-WIFI232-B2 User Manual http://www.usriot.com
Jinan USR IOT Technology Limited Page 33 of 77 tec@usr.cn
4.8.7 Fast access Wi-Fi(usr-link)
When one module works in AP mode, it opens a UDP port used to receive fast access Wi-Fi
commands, the port number is 49000. The phone PDA can directly connect to Wi-Fi network of
the module, send commands to search router list and set SSID and password. After the
completion of set up, module will automatically restart, connected to the router, work in the STA
mode at this time.
Protocol format
Searching command
No
Name
Num of Bytes
Description
1
head
1
fixed value:0xFF
2
length
2
Sum of data bytes from length bytes to check
byte(not contain length bytes and check byte).
3
cmd
1
Command type, 0x01
4
check
1
Sum of bytes from head (not contained) byte to
check byte (not contained).
Response for searching
No
Name
Num of Bytes
Description
1
head
1
fixed value:0xFF
2
length
2
Sum of data bytes from length bytes to check
byte(not contain length bytes and check byte).
3
cmd
1
Command type, 0x81
4
AP num
1
The number of AP what module scans
5
SSID1
Unsized
The SSID of router 1
6
separator
1
Separator of SSID1, fixed value:0x00
7
Signal
strength1
1
Signal strength of router 1,0~100:0%~100%
8
separator
2
Separator of signal strength1, fixed value:
0x0D,0x0A
…
…
…
………
M
SSID n
Unsized
The SSID of router n
M+1
separator
1
Separator of SSID n, fixed value:0x00
M+2
Signal
strength
1
Signal strength of router n,0~100:0%~100%
M+3
separator
2
fixed value:0x0D,0x0A
M+4
check
1
Sum of bytes from head (not contained) byte to
check byte (not contained).
Example:
Data from phone PDA to module (HEX): FF 00 01 01 02
Data from module to phone PDA (HEX): FF 00 14 81 02 54 45 53 54 31 00 40 0D 0A 54 45 53 54
32 00 37 0D 0A 1F
Explanation:
The phone PDA send searching command to module, the response from module is: SSID of
router1 is “TEST1”, signal strength of router1 is 64%; SSID of router2 is “TEST2”, signal strength
of router2 is 55%.
Note: The information of routers is ordered by signal strength.
Setting command
No
Name
Num of Bytes
Description
1
head
1
fixed value:0xFF
2
length
2
Sum of data bytes from length bytes to check byte

USR-WIFI232-B2 User Manual http://www.usriot.com
Jinan USR IOT Technology Limited Page 34 of 77 tec@usr.cn
(not contain length bytes and check byte).
3
cmd
1
Command type, 0x02
4
reserve
1
fixed value:0x00
5
SSID
Unsized
SSID of router
6
separator
2
fixed value:0x0D,0x0A
7
password
Unsized
Password of router
8
check
1
Sum of bytes from head (not contained) byte to
check byte (not contained).
Response for setting
No
Name
Num of Bytes
Description
1
head
1
fixed value:0xFF
2
length
2
Sum of data bytes from length bytes to check
byte(not contain length bytes and check byte).
3
cmd
1
Command type, 0x82
4
Check for
SSID
1
If the SSID set by PDA exist, check value is 0x01,
otherwise is 0x00.
5
Check for
password
1
If the form of password set by PDA is correct, check
value is 0x01, otherwise is 0x00.
6
check
1
Sum of bytes from head (not contained) byte to
check byte (not contained).
Example:
Data from phone PDA to module (HEX): FF 00 0F 02 00 54 45 53 54 31 0D 0A 31 32 33 34 35 36
CE
Data from module to phone PDA (HEX): FF 00 03 82 01 01 87
Explanation:
The phone PDA send setting command to module, SSID is set to “TEST1”, password is set to
“123456”. The response from module is that the “TEST1” Wi-Fi network exist, the form of
password is correct.
4.9 Palmodic Signal
Base on selected factory default setting, “nReady” signal can have two output statuses:
Status One: The module will output “0”after normal boot up. This signal used to judge if
module finish boot up and ready for application.
Status Two: The module will output “Palmodic Signal”after normal boot up.The palmodic
signal is 0.5Hz square wave with dutyfactor 1:1. User can query this signal to judge if
moduleis active “live”or need to re-boot. When module switches to command mode, it will
output “0”, which used to distinguish work mode and command mode.
Notes:
This function is user selected factory setting and RELD instruction will not effective for this
function. If user not requires this function, the default factory setting is Status One. Contact with
USR Technology for more detailed support.

USR-WIFI232-B2 User Manual http://www.usriot.com
Jinan USR IOT Technology Limited Page 35 of 77 tec@usr.cn
4.10 Parameters Configuration
USR-WIFI232-B2 module supports two methods to configuration parameters: Web Accessing
and AT+instruction set.
Web accessing means users can configure parameters through built-in webpage. When USR-
WIFI232-B2 module connected to wireless network, parameters configuration is done on a PC
connected to the same wireless network. AT+instruction set configuration means user configure
parameters through serial interface command. Refer to “AT+instruction set” chapter for more
detail.
Notes:
USR can customized the parameters setting as customer request and ship USR-WIFI232-A/B/C
modules with these parameters as factory default configuration. It will reduce user’s module
configuration time for mass production. Also, if user need different parameters setting for every
module, USR can provide the auto-configuration tool to speed up the module configuration
duration. Please contact USR technical interface to acquire this tool if required.
4.11 Firmware Upgrade
USR-WIFI232-B2 module supports firmware upgrade online.

USR-WIFI232-B2 User Manual http://www.usriot.com
Jinan USR IOT Technology Limited Page 36 of 77 tec@usr.cn
Web Accessing and AT command set
4.12 Configuration via Web Accessing
When first use USR-WIFI232-B2 modules, user may need some configuration. User can connect
to USR-WIFI232-B2 module’s wireless interface with following default setting information and
configure the module through laptop.
Table 7 USR-WIFI232-B2 Web Access Default Setting
Parameters
Default Setting
SSID
USR-WIFI232-B2_xxxx
IP Address
10.10.100.254
Subnet Mask
255.255.255.0
User Name
admin
Password
admin
4.12.1 Open Web Management Interface
Step 1: Connect laptop to SSID “USR-WIFI232-B2_xxxx” of USR-WIFI232-A/B/C module via
wireless LAN card;
Step 2: After wireless connection OK. Open Wen browser and access “http://10.10.100.254”;
Step 3: Then input user name and password in the page as following and click “OK” button.
Figure 26 Open Web Management page
The USR-WIFI232-B2 web management page support English and Chinese language. User can
select language environment at the top right corner and click “Apply” button.
The main menu include five pages: “Mode Selection”,” AP Interface Setting”,”STA Interface
Setting”,”Application Setting”, “WEB IO”and “Device Management”

USR-WIFI232-B2 User Manual http://www.usriot.com
Jinan USR IOT Technology Limited Page 37 of 77 tec@usr.cn
4.12.2 Quick Configure
This page provides users with a method of rapid configuration module.Users according to the
steps to configure the parameters and restart the module page, you can let the module is normal
work, reduced the configuration steps and time.Of course the options on this page is less, if some
detailed configuration, still need to the corresponding configuration page.
Figure 27 Quick Configure Page
This page has four configuration options and a restart, the corresponding instructions below:
WI-FI Setting: set the working mode of wifi, AP mode or the STA.
Ethernet Ports Setting: open/close the Ethernet ports, and set up the corresponding work
mode.
UART Setting: set serial port parameters, including baud rate, parity bit, 485 functions and so
on.
Network Setting: set network parameters, Only TCPA related parameters.
Device Management: when after completion of the above parameters are configured, click
reset module.
4.12.3 Mode Selection Page
This page use to setting the wireless networking mode (AP and STA mode).
"Data transmission mode" selection module working mode are "Transparent Mode", "Serial Command
mode", "HTTPD Client mode", "GPIO mode".
"TCP connection password authentication" can choose whether open TCP password authentication.

USR-WIFI232-B2 User Manual http://www.usriot.com
Jinan USR IOT Technology Limited Page 38 of 77 tec@usr.cn
Figure 28 Mode Selection Page
4.12.4 AP Interface Setting Page
This page use to setting the parameters when USR-WIFI232-A/B/C module works as AP.
Figure 29 AP Interface Setting Page
4.12.5 STA Interface Setting Page
This page use to setting the parameters when USR-WIFI232-B2 module works as STA.
Such as SSID of AP which module need to connected, and also select the networking type: DHCP or
static IP address.

USR-WIFI232-B2 User Manual http://www.usriot.com
Jinan USR IOT Technology Limited Page 39 of 77 tec@usr.cn
Figure 30 STA Interface Setting Page
4.12.6 Application Setting Page
This page use to setting the parameters of serial port communication, such as UART
setting,UART AutoFrame Setting,Ethernet function,Device ID setting and high layer network
protocol setting which used support serial communication.

USR-WIFI232-B2 User Manual http://www.usriot.com
Jinan USR IOT Technology Limited Page 40 of 77 tec@usr.cn
Figure 31 Application Setting Page
Notes:
Generally, Network protocols support three modes: TCP Server,TCP Client,UDP Client,UDP
Server.
Besides module working as TCP Server (IP address not required in this mode). User must set the
IP address of the device which need communicate with USR-WIFI232-B2 module.
Also the Port ID between two sides of the communication devices must keep the same.
4.12.7 Ethernet Setting
This page is used to set Ethernet front-end ports of the module, It can be open or closed.And
also can be set to the WAN port to use, this module can be used as a secondary router, making it
easy for users to network.Specific Settings page is as follows:
Figure 32 Ethernet Setting Page

USR-WIFI232-B2 User Manual http://www.usriot.com
Jinan USR IOT Technology Limited Page 41 of 77 tec@usr.cn
4.12.8 HTTPD Client Mode
This page sets the HTTP header in the HTTPD Client mode.Include: the address of the server,
the server port, request type, protocol header path, Connection, user-agent.
HTTPD Client mode support POST, PUT, GET three HTTP request types.Is a POST or PUT
request way, serial data can be added to the back of the HTTP header;When the request is a
GET, data can be added to the back of the path in the HTTP header.The specific way of sending
data can consult section 4.2.4.
Figure 33 HTTPD Client Mode Page
4.12.9 WEB IO
Figure 34 WEB IO Page

USR-WIFI232-B2 User Manual http://www.usriot.com
Jinan USR IOT Technology Limited Page 42 of 77 tec@usr.cn
4.12.10 Advanced Page
Under the advanced Settings page, the user can set the port mapping and function of DDNS,
without having to go on a router Settings, reduce the complexity of setting, the port mapping and
DDNS, can be in the public environment, by entering the peanut shell domain name and port, can
quickly and easily find the module.
Figure 35 Advanced Setting Page
4.12.11 Device Management Page
This page use to manage USR-WIFI232-A/B/C module general setting, such as administrator setting,
restart module button, restore factory default setting button, and update firmware through webpage.

USR-WIFI232-B2 User Manual http://www.usriot.com
Jinan USR IOT Technology Limited Page 43 of 77 tec@usr.cn
Figure 36 Device Management Page
Notes: Restart module button: When you setting the parameters of different web pages,
you will click “Apply” button to confirm the setting, but the setting take effect only after
user click the “Restart” button here, the module will re-boot up and refresh the memory
information with new changes.
4.13 AT command Introduction
4.13.1 Configuration Mode
When USR-WIFI232-B2 power up, it will default works as transparent transmission mode, then
user can switch to configuration mode by serial port command. USR-WIFI232-B2 UART default
parameters setting as below figure
Figure 37 USR-WIFI232-B2 Default UART Port Parameters
In configuration mode, user can setting the module through AT+ instruction set, which cover all
web page setting function.

USR-WIFI232-B2 User Manual http://www.usriot.com
Jinan USR IOT Technology Limited Page 44 of 77 tec@usr.cn
4.13.1.1 Switch to Configuration Mode
Two steps to finish switching from transparent transmission mode to configuration mode.
UART input “+++”, after module receive “+++”, and feedback “a” as confirmation.
UART input “a”, after module receive “a” and feedback “+ok” to go into AT+
instruction set configuration mode.
Figure 38 Switch to Configuration Mode
Notes:
1. When user input “+++” (No “Enter” key required), the UART port will display feedback
information “a”, and not display input information”+++” as above UART display.
2. Any other input or wro ng step to UART port will cause the module still works as original mode
(transparent transmission).
4.13.2 AT+ Instruction Set Overview
User can input AT+ Instruction through hyper terminal or other serial debug terminal, also can
program the AT+ Instruction to script. User can also input “AT+H” to list all AT+ Instruction and
description to start.

USR-WIFI232-B2 User Manual http://www.usriot.com
Jinan USR IOT Technology Limited Page 45 of 77 tec@usr.cn
Figure 39 ”AT+H” Instruction for Help
We supply software USR-WIFI232-Setup to send command easily, software setup:
Figure 40 Serial port parameter
Click “Open Com”, send “+++a”, it will reply +ok in left side, then type in and send the command
you need to send, then click “AT+RELD” to restore, then parameters saved.

USR-WIFI232-B2 User Manual http://www.usriot.com
Jinan USR IOT Technology Limited Page 46 of 77 tec@usr.cn
Figure 41 software of USR-WIFI232-Setup
Above is by COM, also you can send by WIFI:
First, connect with PC, open the software, see Net part
Figure 42 Search module
Click search, then will show module, click module then you can send command.
4.13.2.1 Instruction Syntax Format
AT+Instruction protocol is based on the instruction of ASCII command style, the description of
syntax format as follow.
Format Description
< >: Means the parts must be included
[ ]: Means the optional part
Command Message

USR-WIFI232-B2 User Manual http://www.usriot.com
Jinan USR IOT Technology Limited Page 47 of 77 tec@usr.cn
AT+<CMD>[op][para-1,para-2,para-3,para-4…]<CR>
AT+: Prefix of command message;
CMD: Command string;
[op]: Symbol of command operator,
“=” : The command requires parameters input;
“NULL”: Query the current command parameters setting;
[para-n]: Parameters input for setting if required;
<CR>: ”Enter” Key, it’s 0x0a or 0x0d in ASCII;
Notes: When input AT+Instruction, “AT+<CMD>” character will display capital letter automatic
and other parts will not change as you input.
Response Message
+<RSP>[op] [para-1,para-2,para-3,para-4…]<CR><LF><CR><LF>
+: Prefix of response message;
RSP: Response string;
“ok” : Success
“ERR”: Failure
[op] : =
[para-n]: Parameters if query command or Error code when error happened;
<CR>: ASCII 0x0d;
<LF>: ASCIII 0x0a;
Error Code
Table 8 Error Code Description USR-WIFI232-A/B/C Web Access Default Setting
Error Code
Description
-1
Invalid Command Format
-2
Invalid Command
-3
Invalid Operation Symbol
-4
Invalid Parameter
-5
Operation Not Permitted
4.13.2.2 AT+ command Set
Table 9 AT+ command Set List
Instruction
Description
<null>
NULL
E
Open/Close show back function
ENTM
Set module into transparent transmission mode
NETP
Set/Query network protocol parameters
UART
Set/Query serial port parameters
UARTF
Open/Close UART auto-frame function
UARTFT
Set/Query UART auto-frame trigger time

USR-WIFI232-B2 User Manual http://www.usriot.com
Jinan USR IOT Technology Limited Page 48 of 77 tec@usr.cn
UARTFL
Set/Query UART auto-frame trigger length
TMODE
Set/Query data transmission mode
(transparent transmission or agreement transmission)
WMODE
Set/Query WIFI work mode (AP or STA)
WSKEY
Set/Query WIFI security parameters as STA
WSSSID
Set/Query WIFI target AP SSID parameters as STA
WSLK
Query WiFi link status as STA
WEBU
Set/Query WEB page login parameters
(User Name and Password)
WAP
Set/Query WIFI parameters as AP
WAKEY
Set/Query WIFI security parameters as AP
HIDESSID
Set/Query hide AP’s SSID
MSLP
Set modules into power save mode.(Turn OFF WiFi)
WSCAN
Seek AP when module works as STA mode
TCPLK
Query if TCP link already build-up
TCPDIS
Open/Cose TCP (Only TCP Client available)
WANN
Set/Query WAN setting, only effective as STA mode
LANN
Set/Query LAN setting, only effective as AP mode
DHCPDEN
Enable/Disable LAN DHCP server function
DHCPGW
Set/Query DHCP gateway address
TCPTO
Set/Query TCP timeout
MAXSK
Set/Query maxima TCP connection
TCPB
Open/Close TCPB function
TCPPTB
Set/Query TCPB port number
TCPADDB
Set/Query TCPB server address
TCPTOB
Set/Query TCPB time out time
TCPLKB
Query TCPB link status
EPHY
Open/Close ETH interface
STTC
Enable/Disable STA port scan function
DOMAIN
Set/Query domain of module webpage
RELD
Restore to factory default setting
FUDLX
Open / close the 485 function
MMID
Device ID
IDFIR
Send an ID when module connection is established
IDEVE
Every time to send data to send ID
AABR
Open / close baud rate adaptive function
MID
Query module ID information
VER
Query module software version information
H
Help
WSSSIDA
Set/query the first AP‘s ssid of 3 sta parameters settings
WSSSIDB
Set/query the second AP‘s ssid of 3 sta parameters settings
WSSSIDC
Set/query the third AP‘s ssid of 3 sta parameters settings
WSKEYA
Set/query the first AP‘s password of 3 sta parameters settings
WSKEYB
Set/query the second AP‘s password of 3 sta parameters settings
WSKEYC
Set/query the third AP‘s password of 3 sta parameters settings
WSQY
Set/query the critiacl value of network switching
HTPMODE
The switch of new/old HTTP headers setting mode(HTTPD Client)
HTPSV
Under the new mode,Settings/query server and IP address(HTTPD
Client)
HTPTP
Under the new mode,Settings/query request type(HTTPD Client)
HTPURL
Under the new mode,setting/query request path(HTTPD Client)
HTPHEAD
Under the new mode,Settings/query the HTTP header(HTTPD

USR-WIFI232-B2 User Manual http://www.usriot.com
Jinan USR IOT Technology Limited Page 49 of 77 tec@usr.cn
Client)
REGEN
Settings/query Registered Package Type
REGTCP
Settings/query Upload Manner
REGID
Settings/query Device ID
Notes: USR-WIFI232-B2 module can works as AP or STA, user have to use different AT+ Instruction
to set WiFi parameters when module works as AP or STA mode.
4.13.2.2.1 AT+E
Function: Open/Close show back function;
Format:
AT+E<CR>
+ok<CR>< LF ><CR>< LF >
When USR-WIFI232-A/B/C module firstly switch from transparent transmission to configuration mode,
show back status is open, input “AT+E” to close show back function, input“AT+E” again to open show
back function.
4.13.2.2.2 AT+ENTM
Function: Set module into transparent transmission mode;
Format:
AT+ENTM<CR>
+ok<CR>< LF ><CR>< LF >
When operate this command, module switch from configuration mode to transparent transmission
mode.
4.13.2.2.3 AT+NETP
Function: Set/Query network protocol parameters;
Format:
Query Operation
AT+NETP<CR>
+ok=<protocol,CS,port,IP><CR>< LF ><CR>< LF >
Set Operation
AT+NETP=<protocol,CS,port,IP><CR>
+ok<CR>< LF ><CR>< LF >
Parameters:
protocol:
TCP
UDP
CS: Network mode:
SERVER
CLIENT
Port: protocol port ID: Decimal digit and less than 65535
Note: When it is Tcp and Udp Server, the Port can not be 80 (HTTP port), 8000 (websocket port),
49000 (usr - link port).

USR-WIFI232-B2 User Manual http://www.usriot.com
Jinan USR IOT Technology Limited Page 50 of 77 tec@usr.cn
IP: Server’s IP address when module set as client
After USR-WIFI232-B2 module boots up again, the setting will be effective.
4.13.2.2.4 AT+UART
Function: Set/Query serial port parameters;
Format:
Query Operation
AT+UART<CR>
+ok=<baudrate,data_bits,stop_bit,parity,flowctrl><CR>< LF ><CR>< LF >
Set Operation
AT+UART=<baudrate,data_bits,stop_bit,parity,flowctrl><CR>
+ok<CR>< LF ><CR>< LF >
Parameters:
baudrate:
300,600,1200,1800,2400,4800,9600,19200,38400,57600,115200,230400,345
600,460800
data_bits:
5,6,7,8
stop_bits:
1,2
parity:
NONE,EVEN,ODD,MARK,SPACE
flowctrl:hardware flow control (CTSRTS)
NFC: No flow control
FC: flow control
After USR-WIFI232-B2 module boots up again, the setting will be effective.
4.13.2.2.5 AT+UARTF
Function: Open/Close UART auto-frame function;
Format:
Query Operation
AT+ UARTF<CR>
+ok=<para><CR>< LF ><CR>< LF >
Set Operation
AT+ UARTF=<para ><CR>
+ok<CR>< LF ><CR>< LF >
Parameters:
para:
disable - Close auto-frame function;
enable - Open auto-frame function;
4.13.2.2.6 AT+UARTFT
Function: Set/Query UART auto-frame trigger time;
Format:
Query Operation
AT+ UARTFT<CR>

USR-WIFI232-B2 User Manual http://www.usriot.com
Jinan USR IOT Technology Limited Page 51 of 77 tec@usr.cn
+ok=<time><CR>< LF ><CR>< LF >
Set Operation
AT+ UARTFT=<time ><CR>
+ok<CR>< LF ><CR>< LF >
Parameters:
time: Range 100 ~10000; Unit: ms. Auto-frame trigger time
4.13.2.2.7 AT+UARTFL
Function: Set/Query UART auto-frame trigger length;
Format:
Query Operation
AT+ UARTFL<CR>
+ok=<len><CR>< LF ><CR>< LF >
Set Operation
AT+ UARTFL=<len ><CR>
+ok<CR>< LF ><CR>< LF >
Parameters:
len: Range 64 ~4096; Unit: byte. Auto-frame trigger length;
4.13.2.2.8 AT+TMODE
Function: Set/Query data transmission mode;
Format:
Query Operation
AT+TMODE<CR>
+ok=<tmode><CR>< LF ><CR>< LF >
Set Operation
AT+ TMODE=<tmode><CR>
+ok<CR>< LF ><CR>< LF >
Parameters:
tmode: Data transmission mode
Through: Transparent transmission
Agreement: Agreement transmission
Httpdclient:Httpd Client Mode
GPIO: GPIO Mode
After USR-WIFI232-A/B/C module boots up again, the setting will be effective.
Note: No CMD.After power on, the module will not work in the AT command mode by default.
4.13.2.2.9 AT+WMODE
Function: Set/Query WIFI work mode;
Format:
Query Operation
AT+WMODE<CR>
+ok=<mode><CR>< LF ><CR>< LF >
Set Operation
AT+ WMODE=<mode><CR>
+ok<CR>< LF ><CR>< LF >
Parameters:

USR-WIFI232-B2 User Manual http://www.usriot.com
Jinan USR IOT Technology Limited Page 52 of 77 tec@usr.cn
mode:WIFI work mode
AP
STA
After USR-WIFI232-A/B/C module boots up again, the setting will be effective.
4.13.2.2.10 AT+WSKEY
Function: Set/Query WIFI security parameters as STA;
Format:
Query Operation
AT+WSKEY<CR>
+ok=<auth,encry,key><CR>< LF ><CR>< LF >
Set Operation
AT+ WSKEY=< auth,encry,key><CR>
+ok<CR>< LF ><CR>< LF >
Parameters:
auth: Authentication mode
OPEN
SHARED
WPAPSK
WPA2PSK
encry:Encryption algorithm
NONE: When “auth=OPEN”, effective
WEP: When “auth=OPEN” or “SHARED”, effective
TKIP: When ”auth= WPAPSK”, effective or “WPA2PSK”, effective
AES: When “auth= WPAPSK”, effective or “WPA2PSK”, effective
key: password, ASCII code, shall less than 64 bit and greater than 8bit
This Instruction only effective for USR-WIFI232-A/B/C works as STA. After USR-WIFI232-A/B/C
module boots up again, the setting will be effective. But user can set this command when module
configured as AP.
4.13.2.2.11 AT+WSSSID
Function: Set/Query WIFI target AP SSID parameters as STA.
Format:
Query Operation
AT+WSSSID<CR>
+ok=<ap’s ssid><CR>< LF ><CR>< LF >
Set Operation
AT+ WSSSID=<ap’s ssid ><CR>
+ok<CR>< LF ><CR>< LF >
Parameters:
ap’s ssid: AP’s SSID
This Instruction only effective for USR-WIFI232-A/B/C works as STA. After USR-WIFI232-A/B/C
module boots up again, the setting will be effective. But user can set this command when module
configured as AP.
4.13.2.2.12 AT+ WSLK

USR-WIFI232-B2 User Manual http://www.usriot.com
Jinan USR IOT Technology Limited Page 53 of 77 tec@usr.cn
Function: Query WiFi link status as STA
Format:
Query Operation
AT+ WSLK<CR>
+ok=<ret><CR>< LF ><CR>< LF >
Parameters:
ret
”Disconnected”, if no WiFi connection;
”AP’ SSID(AP’s MAC” ), if WiFi connection available;
”RF Off”, if WiFi OFF;
This Instruction only effective for USR-WIFI232-A/B/C works as STA. After USR-WIFI232-A/B/C
module boots up again, the setting will be effective. But user can set this command when module
configured as AP.
4.13.2.2.13 AT+WEBU
Function: Set/Query WEB page login parameters;
Format:
Query Operation
AT+WEBU<CR>
+ok=<usr,password><CR>< LF ><CR>< LF >
Set Operation
AT+ WEBU=< usr,password ><CR>
+ok<CR>< LF ><CR>< LF >
Parameters:
usr: User name for WEB page access;
password:Password for WEB page access;
4.13.2.2.14 AT+WAP
Function: Set/Query WIFI parameters as AP;
Format:
Query Operation
AT+WAP<CR>
+ok=<wifi_mode,ssid,channel><CR>< LF ><CR>< LF >
Set Operation
AT+ WAP=<wifi_mode,ssid,channel><CR>
+ok<CR>< LF ><CR>< LF >
Parameters:
wifi_mode: WiFi protocols
11BG
11B
11G
11BGN
11N
ssid: SSID when module works as AP;
channel: WIFI channel selection
AUTO

USR-WIFI232-B2 User Manual http://www.usriot.com
Jinan USR IOT Technology Limited Page 54 of 77 tec@usr.cn
CH1~CH11
This Instruction only effective for USR-WIFI232-A/B/C works as AP. After USR-WIFI232-A/B/C module
boots up again, the setting will be effective. But user can set this command when module configured
as STA.
4.13.2.2.15 AT+WAKEY
Function: Set/Query WIFI security parameters as AP;
Format:
Query Operation
AT+WAKEY<CR>
+ok=<auth,encry,key><CR>< LF ><CR>< LF >
Set Operation
AT+ WAKEY=< auth,encry,key><CR>
+ok<CR>< LF ><CR>< LF >
Parameters:
auth: Authentication mode
OPEN
SHARED
WPAPSK
WPA2PSK
encry:Encryption algorithm
NONE: When “auth=OPEN”, effective;
WEP: When “auth=OPEN”, effective or “SHARED”, effective;
TKIP: When “auth=WPAPSK”, effective or “WPA2PSK”, effective;
AES:When “auth=WPAPSK”, effective or “WPA2PSK”, effective;
TKIPAES:When “auth=WPAPSK”, effective or “WPA2PSK”, effective;
key: password, ASCII code, shall less than 64 bit and greater than 8bit;
This Instruction only effective for USR-WIFI232-A/B/C works as AP. After USR-WIFI232-A/B/C module
boots up again, the setting will be effective. But user can set this command when module configured
as STA.
4.13.2.2.16 AT+HIDESSID
Function: Set/Query hide AP’s SSID;
Format:
Query Operation
AT+HIDSSID<CR>
+ok=<sta.><CR><LF><CR><LF>
Set Operation
AT+HIDSSID=<sta><CR>
+ok<CR><LF><CR><LF>
Parameters:
When Query,sta reply if module’s SSID is hide;
On-not hide SSID
Off- hide SSID

USR-WIFI232-B2 User Manual http://www.usriot.com
Jinan USR IOT Technology Limited Page 55 of 77 tec@usr.cn
When Set,
Off-hide SSID
On- not hide SSID
4.13.2.2.17 AT+MSLP
Function: Set modules into power save mode.(Turn OFF WiFi,Regardless of the AP
mode or the sta mode);
Format:
Query Operation
AT+ MSLP <CR>
+ok=<sta.><CR>< LF ><CR>< LF >
Set Operation
AT+ MSLP=<on/off><CR>
+ok<CR>< LF ><CR>< LF >
Parameters:
When Query,sta reply if the module in sleep mode;
On - Module not in sleep mode (WiFi ON);
Off - Module in sleep mode(WiFi OFF);
When Set,
Off - Set module to sleep mode (WiFi OFF);
On - Set module to normal mode (WiFi ON);
When module go into sleep mode, user can input “AT+MSLP=on” to re-start the module and module
go into transparent transmission mode.
4.13.2.2.18 AT+WSCAN
Function: Seek AP.
Format:
AT+ WSCAN<CR>
+ok=<ap_site><CR>< LF ><CR>< LF >
Parameters:
ap_site: AP searched;
The first line of the return value is "RSSI, SSID, BSSID, Channel, Encryption,Authentication", they are
the signal strength, network name, MAC address,channel, mode of authentication, encryption
algorithm.
4.13.2.2.19 AT+ TCPLK
Function: Query if TCP link already build-up;
Format:
AT+ TCPLK<CR>
+ok=<sta><CR>< LF ><CR>< LF >
Parameters:
sta.: if module already setup TCP link;
on: TCP link setup;
off: TCP link not setup;
4.13.2.2.20 AT + TCPDIS
Function: Open/Cose TCP (Only TCP Client available);

USR-WIFI232-B2 User Manual http://www.usriot.com
Jinan USR IOT Technology Limited Page 56 of 77 tec@usr.cn
Format:
Query Operation
AT+TCPDIS<CR>
+ok=<sta><CR>< LF ><CR>< LF >
Set Operation
AT+ TCPDIS=<on/off><CR>
+ok<CR>< LF ><CR>< LF >
Parameters:
sta.: set/query TCP link status;
on: TCP link available; When setting “on”, module will connect to TCP server
right away.
off: TCP link not available; when setting “off”, module will disconnect with TCP
server and not connect again.
4.13.2.2.21 AT+ WANN
Function: Set/Query WAN setting, only effective as STA mode;
Format:
Query Operation
AT+WANN<CR>
+ok=<mode,address,mask,gateway><CR>< LF ><CR>< LF >
Set Operation
AT+ WANN=< mode,address,mask,gateway ><CR>
+ok<CR>< LF ><CR>< LF >
Parameters:
mode: IP setting for WAN port
static: Static IP
DHCP: Dynamic IP
address: WAN port IP address;
mask: WAN port subnet mask;
gateway: WAN port gateway address;
This Instruction only effective for USR-WIFI232-A/B/C works as STA. After USR-WIFI232-A/B/C
module boots up again, the setting will be effective. But user can set this command when module
configured as AP.
4.13.2.2.22 AT+ LANN
Function: Set/Query LAN setting, only effective as AP mode;
Format:
Query Operation
AT+LANN<CR>
+ok=<address,mask ><CR>< LF ><CR>< LF >
Set Operation
AT+ LANN=<address,mask ><CR>
+ok<CR>< LF ><CR>< LF >
Parameters:
address: LAN port IP address;
mask: LAN port subnet mask;

USR-WIFI232-B2 User Manual http://www.usriot.com
Jinan USR IOT Technology Limited Page 57 of 77 tec@usr.cn
This Instruction only effective for USR-WIFI232-A/B/C works as AP. After USR-WIFI232-A/B/C module
boots up again, the setting will be effective. But user can set this command when module configured
as STA.
Note: AT+WANN check the wan port address of module, AT+LANN check the LAN port address of
module, and the two IP cannot be set on the same network segment,If do,Module will be abnormal.
4.13.2.2.23 AT+DHCPDEN
Function: Enable/Disable LAN DHCP server function;
Format:
Query Operation
AT+DHCPDEN<CR>
+ok=<sta><CR><LF><CR><LF>
Set Operation
AT+DHCPDEN=<sta><CR>
+ok<CR><LF><CR><LF>
Parameters:
sta. If Enable/Disable LAN DHCP server function;
on: Enable LAN DHCP function
off: Disable LAN DHCP function
4.13.2.2.24 AT+ DHCPGW
Function: Set/Query DHCP gateway address;
Format:
Query Operation
AT+ DHCPGW<CR>
+ok=<address><CR>< LF ><CR>< LF >
Set Operation
AT+ DHCPGW=<address ><CR>
+ok<CR>< LF ><CR>< LF >
Parameters:
address: DHCP gate address;
4.13.2.2.25 AT+ TCPTO
Function: Set/Query TCP timeout;
Format:
Query Operation
AT+ TCPTO<CR>
+ok=<time><CR>< LF ><CR>< LF >
Set Operation
AT+ TCPTO=<time ><CR>
+ok<CR>< LF ><CR>< LF >
Parameters:
time: TCP timeout time.
<= 600, (600s);
>=0, (0 means no timeout);
Default, 0s;

USR-WIFI232-B2 User Manual http://www.usriot.com
Jinan USR IOT Technology Limited Page 58 of 77 tec@usr.cn
TCP timeout: module began to count when TCP channel did not receive any data, receive data purge
count.If the timing time exceed TCPTO, disconnect the TCP channel.If module work in TCP Client , it
will take the initiative to rewiring the TCP Server, If module work in the TCP Server, the TCP Client
need active reconnection.
4.13.2.2.26 AT+ MAXSK
Function: Set/Query maxima TCP connection;
Format:
Query Operation
AT+ MAXSK<CR>
+ok=<num><CR>< LF ><CR>< LF >
Set Operation
AT+ MAXSK =<num ><CR>
+ok<CR>< LF ><CR>< LF >
Parameters:
num: 1~32, default 32. maxima TCP connection;
When configure as TCP/Server, USR-WIFI232-A/B/C support maxima 32 TCP connections. If not
require so much connection, user can resetting this parameters.
4.13.2.2.27 AT+TCPB
Function: Open/Close TCPB function;
Format:
Query Operation
AT+TCPB<CR>
+ok=<sta><CR>< LF ><CR>< LF >
Set Operation
AT+ TCPB=<on/off><CR>
+ok<CR>< LF ><CR>< LF >
Parameters:
sta: TCPB enable status
on, TCPB enable
off, TCPB disable
After USR-WIFI232-B2 module boots up again, the setting will be effective.
4.13.2.2.28 AT+TCPPTB
Function: Set/Query TCPB port number;
Format:
Query Operation
AT+TCPPTB<CR>
+ok=<port><CR>< LF ><CR>< LF >
Set Operation
AT+ TCPB=<port><CR>
+ok<CR>< LF ><CR>< LF >
Parameters:
port: decimal ,<65535

USR-WIFI232-B2 User Manual http://www.usriot.com
Jinan USR IOT Technology Limited Page 59 of 77 tec@usr.cn
After USR-WIFI232-B2 module boots up again, the setting will be effective.
4.13.2.2.29 AT+TCPADDB
Function: Set/Query TCPB server address;
Format:
Query Operation
AT+TCPADDB<CR>
+ok=<add><CR>< LF ><CR>< LF >
Set Operation
AT+ TCPADDB=<add><CR>
+ok<CR>< LF ><CR>< LF >
Parameters:
add: TCPB server address, can be IP address or url.
After USR-WIFI232-B2 module boots up again, the setting will be effective
4.13.2.2.30 AT+TCPTOB
Function: Set/Query TCPB time out time;
Format:
Query Operation
AT+TCPTOB<CR>
+ok=<time><CR>< LF ><CR>< LF >
Set Operation
AT+ TCPTOB=<time><CR>
+ok<CR>< LF ><CR>< LF >
Parameters:
time: TCPB time out time, <=600 (600s), >=0 (No time out), default 0
After USR-WIFI232-B2 module boots up again, the setting will be effective.
4.13.2.2.31 AT+TCPLKB
Function: Query TCPB link status;
Format:
AT+TCPCKB<CR>
+ok=<sta><CR>< LF ><CR>< LF >
Parameters:
sta: TCPB link status
on, TCPB link OK
off, TCPB link not available
4.13.2.2.32 AT+EPHY
Function: Open/Close ETH interface;
Format:
Set Operation
AT+ EPHY=<on/off><CR>
+ok<CR>< LF ><CR>< LF >
Parameters:
On/off
Off: Close Ethernet port function;

USR-WIFI232-B2 User Manual http://www.usriot.com
Jinan USR IOT Technology Limited Page 60 of 77 tec@usr.cn
On: Open Ethernet port function;
If you want to keep the Ethernet port open,please use the AT+FEPHY=on.
Close module’s Ethernet port function can reduce the power consumption. The default setting for
USR-WIFI232-A/B/C is close Ethernet port function.
Use AT + FVEW = disable/enable, so you can set the modules work in LAN port (disable) or wan port
(enable), the directive restore factory Settings to take effect.
4.13.2.2.33 AT+STTC
Function: Enable/Disable STA port scan function
Format:
Query Operation
AT+STTC<CR>
+ok=<sta><CR>< LF ><CR>< LF >
Set Operation
AT+STTC=<on/off><CR>
+ok<CR><LF><CR><LF>
Parameters:
Sta: when query, this value feedback
On: Enable STA port scan function
Off: Disable STA port scan function
4.13.2.2.34 AT+DOMAIN
Function: Set/Query domain of module webpage;
Format
Query Operation
AT+DOMAIN<CR>
+ok=<domian><CR><LF><CR><LF>
Set Operation
AT+DOMAIN=<domain><CR>
+ok<CR><LF><CR><LF>
Parameters:
domain: domain to access to module webpage
4.13.2.2.35 AT+FUDLX
Function: Enable/Disable 485 function;
Format:
Query Operation
AT+FUDLX<CR>
+ok=<on/off><CR><LF><CR><LF>
Set Operation
AT+FUDLX=<on/off><CR>
+ok<CR><LF><CR><LF>
Parameters:
On/off: Enable or Disable 485 function
On, enable 485 function;
Off, disable 485 function;

USR-WIFI232-B2 User Manual http://www.usriot.com
Jinan USR IOT Technology Limited Page 61 of 77 tec@usr.cn
Notes: AT+FUDLX is F-Setting, means restore to factory setting will not affect this command.
4.13.2.2.36 AT+MMID
Function: Set/Query Device ID;
Format:
Query Operation
AT+MMID<CR>
+ok=<time><CR>< LF ><CR>< LF >
Set Operation
AT+ MMID=<time><CR>
+ok<CR>< LF ><CR>< LF >
Parameters:
ID: device id(0~65535)
After USR-WIFI232-A/B/C module boots up again, the setting will be effective.
4.13.2.2.37 AT+IDFIR
Function: Enable/Disable “Send an ID when module connection is established” function;
Format:
Query Operation
AT+IDFIR<CR>
+ok=<on/off><CR><LF><CR><LF>
Set Operation
AT+IDFIR=<on/off><CR>
+ok<CR><LF><CR><LF>
Parameters:
On/off: Enable or Disable “Send an ID when module connection is established”
function
On, enable “Send an ID when module connection is established” function;
Off, disable “Send an ID when module connection is established” function;
4.13.2.2.38 AT+IDEVE
Function: Enable/Disable Every time to send data to send ID function;
Format:
Query Operation
AT+IDEVE<CR>
+ok=<on/off><CR><LF><CR><LF>
Set Operation
AT+IDEVE=<on/off><CR>
+ok<CR><LF><CR><LF>
Parameters:
On/off: Enable or Disable Every time to send data to send ID function
On, enable Every time to send data to send ID function;
Off, disable Every time to send data to send ID function;
Note: The ID function requires that the server carries out corresponding processing.In front of the
data when module connected to the server with two bytes of ID (ID the range is 0 ~ 65535, the
high byte before, and the low byte behind) plus two bytes ID radix-minus-one

USR-WIFI232-B2 User Manual http://www.usriot.com
Jinan USR IOT Technology Limited Page 62 of 77 tec@usr.cn
complement.Module is the default ID is 1111, for example, is sent to the server when the first four
bytes "0x57 0x04 0xfb 0xa8".
4.13.2.2.39 AT+AABR
Function: Enable/Disable Self-adaption Baudrate function;
Format:
Query Operation
AT+AABR<CR>
+ok=<on/off><CR><LF><CR><LF>
Set Operation
AT+AABR=<on/off><CR>
+ok<CR><LF><CR><LF>
Parameters:
On/off: Enable or Disable Self-adaption Baudratefunction
On, enable Self-adaption Baudrate function;
Off, disable Self-adaption Baudrate function;
4.13.2.2.40 AT+RELD
Function: Restore to factory default setting;
Format:
AT+ RELD<CR>
+ok=rebooting…<CR>< LF ><CR>< LF >
This command restores the module to factory default setting, and then re-starts the module.
4.13.2.2.41 AT+Z
Function: Re-start module;
Format:
AT+ Z<CR>
4.13.2.2.42 AT+MID
Function: Query module ID information;
Format:
Query Operation
AT+MID<CR>
+ok=<module_id><CR>< LF ><CR>< LF >
Parameters:
module_id: MID information;
A11-yymmddnnnn “yymmdd” date; “nnnn” serial number;
4.13.2.2.43 AT+VER
Function: Query module software version information;
Format:
Query Operation
AT+VER<CR>
+ok=<ver><CR>< LF ><CR>< LF >
Parameters:
ver: Module software version information;
4.13.2.2.44 AT+H
Function: Help;

USR-WIFI232-B2 User Manual http://www.usriot.com
Jinan USR IOT Technology Limited Page 63 of 77 tec@usr.cn
Format:
Query Operation
AT+H<CR>
+ok=<command help><CR>< LF ><CR>< LF >
Parameters:
command help: command introduction;
4.13.2.2.45 AT+ HTTPURL
Function:Set /Query HTTP server IP address and Port Number.
Format:
Query Operation:
AT+HTTPURL<CR>
+ok=<IP,Port><CR>< LF ><CR>< LF >
Set Operation:
AT+HTTPURL=<IP,Port><CR>
+ok<CR>< LF ><CR>< LF >
Parameters:
IP:HTTP server IP address.
Port:HTTP server Port number。
4.13.2.2.46 AT+ HTTPTP
Function:Set /Query HTTP request type.
Format:
Query Operation:
AT+HTTPTP<CR>
+ok=<Type><CR>< LF ><CR>< LF >
Set Operation:
AT+HTTPTP=<Type><CR>
+ok<CR>< LF ><CR>< LF >
Parameters:
Type:GET(default) or POST.
4.13.2.2.47 AT+ HTTPPH
Function:Set/Query HTTP protocol header path.
Format:
Query Operation:
AT+HTTPPH<CR>
+ok=<Path><CR>< LF ><CR>< LF >
Set Operation:
AT+HTTPPH=<Path><CR>
+ok<CR>< LF ><CR>< LF >
Parameters:
Path: Max length is 50 bytes.
4.13.2.2.48 AT+ HTTPCN
Function:Set/Query Connection of HTTP protocol header.
Format:
Query Operation:

USR-WIFI232-B2 User Manual http://www.usriot.com
Jinan USR IOT Technology Limited Page 64 of 77 tec@usr.cn
AT+HTTPCN<CR>
+ok=<Connection><CR>< LF ><CR>< LF >
Set Operation:
AT+HTTPCN=<Connection><CR>
+ok<CR>< LF ><CR>< LF >
Parameters:
Connection: Max length is 20 bytes.
4.13.2.2.49 AT+ HTTPUA
Function:Set/Query User-Agent of HTTP protocol header.
Format:
Query Operation:
AT+HTTPUA<CR>
+ok=<Parameter><CR>< LF ><CR>< LF >
Set Operation:
AT+HTTPUA=<Parameter><CR>
+ok<CR>< LF ><CR>< LF >
Parameters:
Parameter: Max length is 20 bytes.
4.13.2.2.50 AT+WSSSIDA
Function: Set/query the first AP‘s ssid of 3 sta parameters settings .
Format:
Query Operation
AT+WSSSIDA<CR>
+ok=<ap’s ssid><CR>< LF ><CR>< LF >
Set Operation
AT+ WSSSIDA=<ap’s ssid ><CR>
+ok<CR>< LF ><CR>< LF >
Parameters:
ap’s ssid: AP’s SSID
This Instruction only effective for USR-WIFI232-A/B/C works as STA. After USR-WIFI232-A/B/C
module boots up again, the setting will be effective. But user can set this command when module
configured as AP.
4.13.2.2.51 AT+WSSSIDB
Function: Set/query the second AP‘s ssid of 3 sta parameters settings .
Format:
Query Operation
AT+WSSSIDB<CR>
+ok=<ap’s ssid><CR>< LF ><CR>< LF >
Set Operation
AT+ WSSSIDB=<ap’s ssid ><CR>
+ok<CR>< LF ><CR>< LF >
Parameters:
ap’s ssid: AP’s SSID

USR-WIFI232-B2 User Manual http://www.usriot.com
Jinan USR IOT Technology Limited Page 65 of 77 tec@usr.cn
This Instruction only effective for USR-WIFI232-A/B/C works as STA. After USR-WIFI232-A/B/C
module boots up again, the setting will be effective. But user can set this command when module
configured as AP.
4.13.2.2.52 AT+WSSSIDC
Function: Set/query the third AP‘s ssid of 3 sta parameters settings .
Format:
Query Operation
AT+WSSSIDC<CR>
+ok=<ap’s ssid><CR>< LF ><CR>< LF >
Set Operation
AT+ WSSSIDC=<ap’s ssid ><CR>
+ok<CR>< LF ><CR>< LF >
Parameters:
ap’s ssid: AP’s SSID
This Instruction only effective for USR-WIFI232-A/B/C works as STA. After USR-WIFI232-A/B/C
module boots up again, the setting will be effective. But user can set this command when module
configured as AP.
4.13.2.2.53 AT+WSKEYA
Function: Set/query the first AP‘s password of 3 sta parameters settings .
Format:
Query Operation
AT+WSKEYA<CR>
+ok=<auth,encry,key><CR>< LF ><CR>< LF >
Set Operation
AT+ WSKEYA=< auth,encry,key><CR>
+ok<CR>< LF ><CR>< LF >
Parameters:
auth: Authentication mode
OPEN
SHARED
WPAPSK
WPA2PSK
encry:Encryption algorithm
NONE: When “auth=OPEN”, effective
WEP: When “auth=OPEN” or “SHARED”, effective
TKIP: When ”auth= WPAPSK”, effective or “WPA2PSK”, effective
AES: When “auth= WPAPSK”, effective or “WPA2PSK”, effective
key: password, ASCII code, shall less than 64 bit and greater than 8bit
This Instruction only effective for USR-WIFI232-A/B/C works as STA. After USR-WIFI232-A/B/C
module boots up again, the setting will be effective. But user can set this command when module
configured as AP.
4.13.2.2.54 AT+WSKEYB
Function: Set/query the second AP‘s password of 3 sta parameters settings .
Format:

USR-WIFI232-B2 User Manual http://www.usriot.com
Jinan USR IOT Technology Limited Page 66 of 77 tec@usr.cn
Query Operation
AT+WSKEYB<CR>
+ok=<auth,encry,key><CR>< LF ><CR>< LF >
Set Operation
AT+ WSKEYB=< auth,encry,key><CR>
+ok<CR>< LF ><CR>< LF >
Parameters:
auth: Authentication mode
OPEN
SHARED
WPAPSK
WPA2PSK
encry:Encryption algorithm
NONE: When “auth=OPEN”, effective
WEP: When “auth=OPEN” or “SHARED”, effective
TKIP: When ”auth= WPAPSK”, effective or “WPA2PSK”, effective
AES: When “auth= WPAPSK”, effective or “WPA2PSK”, effective
key: password, ASCII code, shall less than 64 bit and greater than 8bit
This Instruction only effective for USR-WIFI232-A/B/C works as STA. After USR-WIFI232-A/B/C
module boots up again, the setting will be effective. But user can set this command when module
configured as AP.
4.13.2.2.55 AT+WSKEYC
Function: Set/query the third AP‘s password of 3 sta parameters settings .
Format:
Query Operation
AT+WSKEYC<CR>
+ok=<auth,encry,key><CR>< LF ><CR>< LF >
Set Operation
AT+ WSKEYC=< auth,encry,key><CR>
+ok<CR>< LF ><CR>< LF >
Parameters:
auth: Authentication mode
OPEN
SHARED
WPAPSK
WPA2PSK
encry:Encryption algorithm
NONE: When “auth=OPEN”, effective
WEP: When “auth=OPEN” or “SHARED”, effective
TKIP: When ”auth= WPAPSK”, effective or “WPA2PSK”, effective
AES: When “auth= WPAPSK”, effective or “WPA2PSK”, effective
key: password, ASCII code, shall less than 64 bit and greater than 8bit

USR-WIFI232-B2 User Manual http://www.usriot.com
Jinan USR IOT Technology Limited Page 67 of 77 tec@usr.cn
This Instruction only effective for USR-WIFI232-A/B/C works as STA. After USR-WIFI232-A/B/C
module boots up again, the setting will be effective. But user can set this command when module
configured as AP.
4.13.2.2.56 AT+ WSQY
Function: Set/query the critiacl value of network switching.
Format:
Query Operation
AT+ WSQY<CR>
+ok=<ret><CR>< LF ><CR>< LF >
Set Operation
AT+ WSQY=< ret><CR>
+ok<CR>< LF ><CR>< LF >
Parameters:
ret:The percentage of signal intensity, such as signalstrength was 50%, setting
should be AT+WSQY=50<CR>;
Note: if set to 100, the module will not automatically switch WIFI network.If the users only one
STA parameter, please be sure to set this parameter to 100.
4.13.2.2.57 AT+ HTPMODE
Function: The switch of new/old HTTP headers setting mode(HTTPD Client).
Format:
Query Operation
AT+ HTPMODE<CR>
+ok=<type><CR>< LF ><CR>< LF >
Set Operation
AT+ HTPMODE=< type><CR>
+ok<CR>< LF ><CR>< LF >
Parameters:
type:
new: The new HTTP headers setting mode.
old:The old HTTP headers setting mode.
4.13.2.2.58 AT+ HTPSV
Function:Set /Query HTTP server IP address and Port Number.
Format:
Query Operation:
AT+HTPSV<CR>
+ok=<IP,Port><CR>< LF ><CR>< LF >
Set Operation:
AT+HTPSV=<IP,Port><CR>
+ok<CR>< LF ><CR>< LF >
Parameters:
IP:HTTP server IP address.
Port:HTTP server Port number。
4.13.2.2.59 AT+ HTPTP
Function:Set /Query HTTP request type.

USR-WIFI232-B2 User Manual http://www.usriot.com
Jinan USR IOT Technology Limited Page 68 of 77 tec@usr.cn
Format:
Query Operation:
AT+HTPTP<CR>
+ok=<Type><CR>< LF ><CR>< LF >
Set Operation:
AT+HTPTP=<Type><CR>
+ok<CR>< LF ><CR>< LF >
Parameters:
Type:GET(default) or POST.
4.13.2.2.60 AT+ HTPURL
Function:Set/Query HTTP header path.
Format:
Query Operation:
AT+HTPURL<CR>
+ok=<Path><CR>< LF ><CR>< LF >
Set Operation:
AT+HTPURL=<Path><CR>
+ok<CR>< LF ><CR>< LF >
Parameters:
Path: Max length is 50 bytes.
4.13.2.2.61 AT+ HTPHEAD
Function:Set/Query HTTP header.
Format:
Query Operation:
AT+HTPHEAD<CR>
+ok=<head><CR>< LF ><CR>< LF >
Set Operation:
AT+HTPHEAD=<head><CR>
+ok<CR>< LF ><CR>< LF >
Parameters:
head: HTTP header,Please use the "<<CRLF>>" instead of carriage
"return",Max length:200 bytes.
Note: the AT command of AT + HTPMODE, AT + HTPSV, AT + HTPTP, AT + HTPURL,AT +
HTPHEAD is supported in V5.01.14 and above version.
4.13.2.2.62 AT+ REGEN
Function: Settings/query Registered Package Type.
Format:
Query Operation
AT+ REGEN<CR>
+ok=<mode><CR>< LF ><CR>< LF >
Set Operation
AT+ REGEN=<mode><CR>
+ok<CR>< LF ><CR>< LF >
Parameters:

USR-WIFI232-B2 User Manual http://www.usriot.com
Jinan USR IOT Technology Limited Page 69 of 77 tec@usr.cn
mode:
id: Registered package of ID.
mac:Registered package of MAC.
off:disable Registered package
4.13.2.2.63 AT+ REGTCP
Function: Settings/query Upload Manner.
Format:
Query Operation
AT+ REGTCP<CR>
+ok=<type><CR>< LF ><CR>< LF >
Set Operation
AT+ REGTCP=<type><CR>
+ok<CR>< LF ><CR>< LF >
Parameters:
type:
first: Module send registration packet when connection established.
every:Send registration packet every time when module send data.
4.13.2.2.64 AT+ REGID
Function: Settings/query Device ID.
Format:
Query Operation
AT+ REGID<CR>
+ok=<ID><CR>< LF ><CR>< LF >
Set Operation
AT+ REGID=<ID><CR>
+ok<CR>< LF ><CR>< LF >
Parameters:
ID:ID number, the range is 0 to 65535
Note: the AT command of AT + REDEN, AT + REGTCP, AT + REGID is supported in V5.01.14 and
above version.
5 USR-WIFI232-B2 Usage Introduction
5.1 Module Debug
5.1.1 Software Debug Tools
In order to facilitate the use of my company, development of the serial and network debugging two-
in-one test software, USR-TCP232-Test

USR-WIFI232-B2 User Manual http://www.usriot.com
Jinan USR IOT Technology Limited Page 70 of 77 tec@usr.cn
5.1.2 Network Connection
In order to test the serial port to the WIFI network address conversion, we will module serial connected
with the computer, network and computer links to WIFI.
Due to the need to have both a WIFI and serial special requirements, only a minority of the notebook
computer can achieve, the user can use the desktop with a USB card, or use the notebook computer
with a USB to serial line way, the author uses the desktop and WIFI card form test, desktop with serial.
( Note: there USB transfer RS232 the line quality uneven, some good and some bad, in order not to
waste your valuable time, look for buying a used FT232 chip scheme suggested switching line, about
the price $10)
Figure 43 Connection diagram
On the serial connection, module pin leads to 3.3V TTL level, not directly connected with the computer,
need to bring the bottom or users are TTL to RS232 connecting line connected to the computer, in
order to facilitate the user to test the use of, we provide a variety of floor for the user to choose, here in
the case of USR-WIFI232-2.
Hardware connectivity, for module power supply, the red power indicator light, wait about 6 seconds
( internal system boot ), Ready lights, said system startup complete, can operate, entering the next
step.
5.1.3 Debug
As shown above, opened in PC program, set the COM export and open the serial port connection

USR-WIFI232-B2 User Manual http://www.usriot.com
Jinan USR IOT Technology Limited Page 71 of 77 tec@usr.cn
Figure 44 “CommTools” Serial Debug Tools
Open test software USR-TCP232-Test.exe, selection of hardware attached to the computer's serial
number, this is COM1, choose 57600 baud rate, such as the WIFI module serial default baud rate,
open the serial port.
Network settings in TCP client mode, the server IP address input 10.10.100.254, this is WIFI module
default IP address, server port number 8899, this module default monitor TCP port number, click the
link to establish TCP connection,Then click the create connection.
Figure 45 “TCP UDPDbg” Tools Create Connection

USR-WIFI232-B2 User Manual http://www.usriot.com
Jinan USR IOT Technology Limited Page 72 of 77 tec@usr.cn
Because of the USR-WIFI232-B2 module default support for transparent transmission mode, so now
you can debug tools two-way data, all data will be wholly intact transmission to the other side of
display. The testing process can be seen in module TXD and RXD indicator lights in the data through
the flashing.
Figure 46 The test results show that the network and serial port
Note: because of the RTS/CTS pin processing difference, currently available on the part of the
serial debugging software for the module of the system is not available, please be sure to want to
use USR-TCP232-Test we provide testing, or just RXD TXD GND connected the three line to the
computer, please notice.
5.2 Use Cases
5.2.1 Wireless Control Application
Figure 47 Wireless Control Application

USR-WIFI232-B2 User Manual http://www.usriot.com
Jinan USR IOT Technology Limited Page 73 of 77 tec@usr.cn
For this wireless control application, USR-WIFI232-B2 works as AP mode. Module’s serial port
connects to user device. So, control agent (Smart phone for this example) can manage and control the
user device through the wireless connection with USR-WIFI232-B2 module.
5.2.2 Remote Management Application
Figure 48 Remote Management Application
For this remote management application, USR-WIFI232-B2 works as STA mode and connects to
Internet through wireless AP. Module configured as TCP Client and communicates with remote TCP
server at Internet. Module’s serial port connects to user device.
So, user device’s data or sampling information can send to remote TCP server for storage or
processing. Also remote TCP server can send command to control and manage the user device
through the wireless network.
5.2.3 Transparent Serial Port Application
For this transparent serial port application, two USR-WIFI232-B2 modules connect as below figures to
build up a transparent serial port connection.
Figure 49 Transparent Serial Port Application

USR-WIFI232-B2 User Manual http://www.usriot.com
Jinan USR IOT Technology Limited Page 74 of 77 tec@usr.cn
For left side USR-WIFI232-B2 module, configured as AP mode and use default SSID and IP address,
network protocol configured as TCP/Server mode, and protocol port ID: 8899.
For right side USR-WIFI232-B2 module, configured as STA mode and setting the same SSID (”USR-
WIFI232-A/B_xxxx” for this example)with left side USR-WIFI232-B2 module, enable DHCP network
and network protocol configured as TCP/Client mode, protocol port ID: 8899. Target IP address part
setting the same IP address with left side USR-WIFI232-B2 module (“10.10.100.254” for this example).
When right side USR-WIFI232-B2 boot up, it will find wireless AP (SSID:USR-WIFI232-B2_xxxx for
this example) and open TCP/Client network protocol to connect with left side module’s TCP/Server. All
these operation will be automatic and after finished, the two user devices connected to USR-WIFI232-
B2 module through serial port can communicate each other and think the connection between them is
fully transparent.
Note: LAN IP address and WAN port should in different segment, as picture shown, we change
to 10.10.99.254 (the address get from left module WAN port DHCP is 10.10.100.xxx)
5.2.4 Wireless Data Acquisition Card Application
For this wireless data acquisition card application, one PC works as data server and every data
acquisition card connects with a USR-WIFI232-B2 module to support wireless connection function.
Figure 50 Wireless Data Acquisition Card Application

USR-WIFI232-B2 User Manual http://www.usriot.com
Jinan USR IOT Technology Limited Page 75 of 77 tec@usr.cn
As above figure, one USR-WIFI232-B2 configured as AP mode and all others configured as STA mode.
All USR-WIFI232-B2 which configured as STA and data server PC wireless connected to USR-
WIFI232-B2 which configured as AP to make up a wires network.
Data server PC open TCP/Server protocol and all USR-WIFI232-B2 modules open TCP/Client
protocol. All data acquisition cards’ data and sampling information can be transmitted to data server
PC for operation.

USR-WIFI232-B2 User Manual http://www.usriot.com
Jinan USR IOT Technology Limited Page 76 of 77 tec@usr.cn
Appendix A: Contact Information
------------------------------------------------------------------------------------------------------------
Contact us:
Company: Jinan USR IOT Technology Limited
Address: 1-728, Huizhan Guoji Cheng, Gaoxin Qu, Jinan, Shandong, China
Tel: 86-531-55507297, 86-531-88826739
Web: http://www.usriot.com
Support : http://h.usriot.com
Email: sales@usr.cn
-----------------------------------------------------------------------------------------------------------
Appendix B: Disclaimer
This document provides information about USR-WIFI232-A/B/C modules, this document
does not grant any license to intellectual property rights. Except the responsibility
declared in the product sale clause, USR does not assume any other responsibilities. In
addition, USR does not make any warranties for the sale and use of this product, including
the suitability of the product for a particular purpose, merchantability or fitness for any
patent, copyright or other intellectual property infringement, etc. USR may make changes
to specifications and product descriptions without notice.
Appendix C: History
Ed.V4.5 Update on 14-04
Add TCP password authentication
Add Upload ID
Add Self-adaption Baudrate
Add WEB-IO
Ed.V5.0.0 Update on 14-10
Add Httpdclient Mode
Add AT+TMODE options
Add Quick Configure and Ethernet Setting Web page
Add usr-link agreement.
Ed.V5.0.1 Update on 14-11
Modify the SSID of AP Mode
Ed.V5.0.2 Update on 14-12
Modify the problem of TCPB in the specification,The AT command related is
AT+TCPB/AT+TCPPTB etc.
Modify Self-adaption Baudrate function,default open.
Delete the AT + FRLDEN.
Ed.V5.0.4 Update on 14-12

USR-WIFI232-B2 User Manual http://www.usriot.com
Jinan USR IOT Technology Limited Page 77 of 77 tec@usr.cn
Add the AT setting of three sta parameter sets
More advanced Settings page, including the port mapping and DDNS
Ed.V5.0.5 Update on 15-01-2015
Change the AT+WSLQ to WSQY
Ed.V5.0.6 Update on 16-03-2015
Modify the registration packet types, increase the upload MAC function and modify the
corresponding instructions (based on V5.01.14 and above).
Modify the setting of the HTTP header, change to custom header, and compatible the
old way of setting (based on V5.01.14 and above version).
Ed.V5.0.7 Update on 03-05-2015
modify the minimum temperature - 40.
Modify the TCP timeout default to 0.
When tcp or udp server,Tip 80, 8000, 49000 is not available.
Ed.V5.0.8 Update on 16-06-2015
Increase customer support center link, remove WAPI encryption.
Ed.V5.0.9 Update on 29-06-2015
V5.01.19 Modify the BUG
Ed.V5.0.9 Update on 03-08-2015
Amend the company address.Modify some describe errors
END OF DOCUMENT

FCC STATEMENT :
This device complies with Part 15 of the FCC Rules. Operation is subject to the following
two conditions:
(1) This device may not cause harmful interference, and
(2) This device must accept any interference received, including interference that may
cause undesired operation.
Warning: Changes or modifications not expressly approved by the party responsible for
compliance could void the user's authority to operate the equipment.
NOTE: This equipment has been tested and found to comply with the limits for a Class B
digital device, pursuant to Part 15 of the FCC Rules. These limits are designed to provide
reasonable protection against harmful interference in a residential installation. This
equipment generates uses and can radiate radio frequency energy and, if not installed
and used in accordance with the instructions, may cause harmful interference to radio
communications. However, there is no guarantee that interference will not occur in a
particular installation. If this equipment does cause harmful interference to radio or
television reception, which can be determined by turning the equipment off and on, the
user is encouraged to try to correct the interference by one or more of the following
measures:
tenna.
receiver is connected.
FCC Radiation Exposure Statement:
This equipment complies with FCC radiation exposure limits set forth for an uncontrolled
environment. This equipment should be installed and operated with minimum distance
20cm between the radiator & your body.
FCC INFORMATION (additional)
OEM INTEGRATION INSTRUCTIONS:
This device is intended only for OEM integrators under the following conditions: The
module must be installed in the host equipment such that 20 cm is maintained between
the antenna and users, and the transmitter module may not be co-located with any other
transmitter or antenna. The module shall be only used with the internal antenna(s) that
has been originally tested and certified with this module. As long as 3 conditions above
are met, further transmitter test will not be required. However, the OEM integrator is still
responsible for testing their end-product for any additional compliance requirements
required with this module installed (for example, digital device emissions, PC peripheral
requirements, etc.).
Validity of using the module certification:
In the event that these conditions cannot be met (for example certain laptop configurations
or co-location with another transmitter), then the FCC authorization for this module in
combination with the host equipment is no longer considered valid and the FCC ID of the
module cannot be used on the final product. In these circumstances, the OEM integrator
will be responsible for re-evaluating the end product (including the transmitter) and
obtaining a separate FCC authorization.
End product labeling:
This transmitter module is authorized only for use in device where the antenna may be
installed such that 20 cm may be maintained between the antenna and users. The final
end product must be labeled in a visible area with the following: “Contains FCC ID:
2AJDAUSR-WIFI232”.
Information that must be placed in the end user manual:
The OEM integrator has to be aware not to provide information to the end user regarding
how to install or remove this RF module in the user's manual of the end product which
integrates this module. The end user manual shall include all required regulatory
information/warning as show in this manual.
This device must be kept away from all persons by 20cm or more and installations using
less distance, or installations using antennas with gain greater than that with which this
was Certified will require additional approvals.