Silvus Technologies SC42-245 MIMO Radio User Manual
Silvus Technologies, Inc. MIMO Radio
User Manual

Document Number
10017C000
Version
3.12.5
Date
10/7/2016
Silvus Technologies, Inc.
10990 Wilshire Blvd, #1500
Los Angeles, CA 90024
StreamCaster MIMO Radio
User Manual

StreamCaster MIMO Radio User Manual 10/7/16
10017C000 Silvus Technologies Confidential Page i
Notice
Silvus Technologies reserves the right to make changes to its products or discontinue any of its products or offerings
without notice.
Silvus Technologies warrants the performance of its products to the specifications applicable at the time of sale in
accordance with Silvus Technologies’ standard warranty.
Revision History
Copyright © 2016, Silvus Technologies
Version
Date
Changes
1.0
September, 2012
Original
1.1
October 9, 2012
Minor Fixes
2.0
January 9, 2012
Updated for StreamScape 2.0
2.1
March 15, 2012
Updated Sensitivity Values. Added cable pinouts
2.2
May 23, 2013
Updated cable pinouts section
2.3
June 5, 2013
Added Tri-Color LED info
3.0
July 1, 2013
Updated for StreamScape 3.0
3.1
July 23, 2013
Minor Fixes
3.2
September 3, 2013
Added Link Characteristics
3.3
January 17, 2014
Updated Throughput in Tables 6 and 7
3.4
February 24, 2014
Updated through release SS3vb9.17
3.5
April 1, 2014
Updated to include SC3822
3.6
August 18, 2014
Updated for SS3.11.2.5
3.7
August 20, 2014
Added Safety Disclaimer
3.7.1
September 13, 2014
Updated FCC Clause
3.8
October 23, 2014
Added 10MHz data, added 3822 mechanicals, etc.
3.8.1
October 28, 2014
Added EXT PA related information
3.8.2
November 24, 2014
Added EXT PA Connector Diagram
3.9
March 17, 2015
Updated for SS3.11.3.13
3.10
March 23, 2015
Added SC3822 USB/GPIO Connector Diagram
3.11
May 11, 2015
Updated 5V GPS Voltage for Newer Revs
3.11.1
June 2, 2015
Updated FCC clause to include SC3822
3.12
September 10, 2015
Updated for SS3.12 – Added VLAN, USB, and
Spectrum Scan support
3.12.1
February 17, 2016
Corrected 3822 Voltage Range in Table 5
3.12.2
April 28, 2016
Added SC4200
3.12.3
August 18, 2016
Added SC4210 to Section 11 FCC Notes
3.12.4
September 15, 2016
Added Custom Frequency Plan instructions
3.12.5
October 7, 2016
Updated Section 12 FCC Notice

StreamCaster MIMO Radio User Manual 10/7/16
10017C000 Silvus Technologies Confidential Page
1
Contents
1. General Safety Information ......................................................................................................... 6
1.1 Health & Safety ................................................................................................................ 7
1.2 Maximum RF Power Density Limits .................................................................................. 8
2. Introduction ............................................................................................................................... 9
3. StreamCaster Network ................................................................................................................ 9
4. StreamCaster Hardware Overview ............................................................................................. 10
4.1 Hardware Interfaces ........................................................................................................ 10
SC4200: ......................................................................................................................... 10
SC3822: ......................................................................................................................... 12
SC3500/SC3800: ............................................................................................................ 13
SC3500/SC3800 with EXT Connector (PA Faceplate Option): .......................................... 14
4.1 Connector Pinouts........................................................................................................... 15
4.1.1 SC4200 Pinouts .................................................................................................. 15
4.1.2 SC3822 Pinouts .................................................................................................. 19
4.1.3 SC3500/SC3800 Pinouts ..................................................................................... 22
4.2 Mechanical and Operating Specifications ......................................................................... 26
4.2.1 SC3822 Enclosure Mechanical Drawing............................................................... 29
4.2.2 SC3500/SC3800 Phase II Enclosure Mounting Pattern .......................................... 30
4.2.3 SC3500/ SC3800 Phase III Enclosure Mounting Pattern ........................................ 31
4.3 SC4200 Specifications .................................................................................................... 32
4.4 SC3822 Specifications .................................................................................................... 34
4.5 SC3500 Specifications .................................................................................................... 35
4.6 SC3800 Specifications .................................................................................................... 36
5. Web Interface........................................................................................................................... 37
5.1 Getting Started................................................................................................................ 37
5.1.1 Basic Configuration ............................................................................................ 37
5.1.2 Advanced Configuration...................................................................................... 39
5.1.3 LAN/WIFI Configuration .................................................................................... 43
5.1.4 Quality of Service (QoS) #QoS ............................................................................ 47
5.1.5 Serial/USB Setup ................................................................................................ 49
5.1.6 Node Diagnostics................................................................................................ 51

StreamCaster MIMO Radio User Manual 10/7/16
10017C000 Silvus Technologies Confidential Page
2
5.1.7 BDA Support...................................................................................................... 52
5.1.8 Build Information ............................................................................................... 53
5.1.9 Security.............................................................................................................. 54
5.1.10 PTT (SC4200 Only) ............................................................................................ 57
5.1.11 Spectrum Scan (Beta Feature – License Enabled) .................................................. 58
5.1.12 Admin Settings ................................................................................................... 62
5.2 StreamScape Network Manager ....................................................................................... 64
5.2.1 Network Topology .............................................................................................. 64
5.2.2 Network-wide Setup and Multicast ...................................................................... 70
5.2.3 Per-Node Setup................................................................................................... 72
5.2.4 Map Overlay ...................................................................................................... 73
6. Wired Backbone....................................................................................................................... 78
6.1 LAN Backbone ............................................................................................................... 78
6.1.1 Implementation................................................................................................... 78
6.1.2 Use Case ............................................................................................................ 78
6.2 WAN Backbone with Roaming........................................................................................ 80
6.2.1 Implementation................................................................................................... 80
6.2.2 Use Case ............................................................................................................ 80
7. Custom Frequency Plan ............................................................................................................ 82
7.1 Accessing and Installing CFP .......................................................................................... 82
8. Streaming Response ................................................................................................................. 83
8.1 RSSI and Noise Floor Reporting ...................................................................................... 84
8.2 Temperature Reporting.................................................................................................... 86
9. Setting up an Iperf Test............................................................................................................. 87
9.1 Required Equipment ....................................................................................................... 87
9.2 Running Iperf Test .......................................................................................................... 87
10. Precautions and Recommendations ............................................................................................ 88
10.1 Saving the Radio Configuration ....................................................................................... 88
11. Troubleshooting ....................................................................................................................... 89
11.1 LED Issues ..................................................................................................................... 89
11.2 Intermittent Link............................................................................................................. 89
12. FCC Notice (SC3500-243541, SC3822-245580 and SC4210-245-BB Only) ................................ 90

StreamCaster MIMO Radio User Manual 10/7/16
10017C000 Silvus Technologies Confidential Page
3
List of Figures
Figure 1 StreamCaster 4200 Ruggedized Enclosure....................................................................... 10
Figure 2 StreamCaster 3822 Ruggedized Enclosure....................................................................... 12
Figure 3 StreamCaster 3500/3800 Ruggedized Enclosure .............................................................. 13
Figure 4 StreamCaster 3500/3800 Ruggedized Enclosure .............................................................. 14
Figure 5 SC4200 Power (Optional)/Serial/Ethernet Pinout Diagram (Cable Side) ......................... 17
Figure 6 SC4200 USB/GPIO Pinout Diagram (Cable Side) ............................................................ 17
Figure 7 SC4200 PTT Pinout Diagram (Cable Side) ...................................................................... 18
Figure 8 SC3822 Power/Serial/Ethernet Pinout Diagram (Cable Side) .......................................... 21
Figure 9 SC3822 USB/GPIO Pinout Diagram (Cable Side) ............................................................ 21
Figure 10 SC3500/SC3800 Power/Serial Pinout Diagram (Cable Side) for GPS (Top) and RS-232
(Bottom) ........................................................................................................................ 24
Figure 11 SC3500/SC3800 Ethernet Pinout Diagram (Cable Side)................................................. 25
Figure 12 SC3500/SC3800 EXT Pinout Diagram (Cable Side) ....................................................... 25
Figure 13 SC3822 Mechanical Drawing (top) and Mounting Pattern (bottom) .............................. 29
Figure 14 SC3500/SC3800 Phase II Enclosure Mounting Pattern for Back of Enclosure (top) and
Bottom of Enclosure (bottom) ....................................................................................... 30
Figure 15 SC3500/SC3800 Phase III Enclosure Mounting Pattern for Back of Enclosure (top) and
Bottom of Enclosure (bottom) ....................................................................................... 31
Figure 16 Basic Configuration Page ............................................................................................... 37
Figure 17 Advanced Configuration Page ....................................................................................... 39
Figure 18 LAN/WIFI Configuration Page...................................................................................... 43
Figure 19 Quality of Service (QoS) Configuration Page ................................................................. 47
Figure 20 Serial/USB Setup Configuration Page ............................................................................ 49
Figure 21 Node Diagnostics Configuration Page ............................................................................ 51
Figure 22 BDA (Bi-Directional Amplifier) Support Configuration Page ........................................ 52
Figure 23 Build Information .......................................................................................................... 53
Figure 24 Security (Encryption)..................................................................................................... 54
Figure 25 Security (Admin)............................................................................................................ 54
Figure 26 Security (Upgrade)......................................................................................................... 55
Figure 27 Security (License)........................................................................................................... 55
Figure 28 Security (Factory Reset)................................................................................................. 56
Figure 29 PTT (Push-to-Talk)........................................................................................................ 57

StreamCaster MIMO Radio User Manual 10/7/16
10017C000 Silvus Technologies Confidential Page
4
Figure 30 Spectrum Scan Results................................................................................................... 58
Figure 31 Spectrum Scan Settings.................................................................................................. 59
Figure 32 Zero Span Settings ......................................................................................................... 60
Figure 33 Zero Span Results .......................................................................................................... 61
Figure 34 Admin Settings............................................................................................................... 62
Figure 35 Login.............................................................................................................................. 62
Figure 36 Reset Password .............................................................................................................. 63
Figure 37 Silvus StreamScapeNetwork Manager ........................................................................... 64
Figure 38 Example Network Topology........................................................................................... 65
Figure 39 Routing Path .................................................................................................................. 66
Figure 40 Custom Node Naming .................................................................................................... 66
Figure 41 Individual Node Characteristics..................................................................................... 68
Figure 42 Link Characteristics ...................................................................................................... 69
Figure 43 Network-wide Setup....................................................................................................... 70
Figure 44 Per-Node Setup .............................................................................................................. 72
Figure 45 Map Overlay .................................................................................................................. 73
Figure 46 Google Maps .................................................................................................................. 74
Figure 47 Offline Map Image ......................................................................................................... 75
Figure 48 Placing Nodes on the Map .............................................................................................. 77
Figure 49 LAN Backbone Example ................................................................................................ 79
Figure 50 WAN Backbone Example............................................................................................... 81

StreamCaster MIMO Radio User Manual 10/7/16
10017C000 Silvus Technologies Confidential Page
5
List of Tables
Table 1 Safe Working Distances ...................................................................................................... 7
Table 2 SC4200 Power/Ethernet/Serial Connector Pinout ............................................................. 15
Table 3 SC4200 Serial and GPS Pinout.......................................................................................... 15
Table 4 SC4200 USB/GPIO Connector Pinout (USB1 is USB 2.0 OTG, USB2 is USB 2.0 Host Mode
Only) ............................................................................................................................. 16
Table 5 SC4200 PTT Connector Pinout ......................................................................................... 16
Table 6 SC3822 Power/Ethernet/Serial Connector Pinout ............................................................. 19
Table 7 SC3822 Serial and GPS Pinout.......................................................................................... 19
Table 8 SC3822 USB/GPIO Connector Pinout ............................................................................... 20
Table 9 SC3822 Extension Port Pinout .......................................................................................... 20
Table 10 SC3500/SC3800 Power Connector Pinout ....................................................................... 22
Table 11 SC3500/SC3800 Ethernet Connector Pinout.................................................................... 22
Table 12 SC3500/SC3800 EXT Connector Pinout .......................................................................... 23
Table 13 SC3500/SC3800 Serial and GPS Pinout ........................................................................... 23
Table 14 MCS vs. Sensitivity Chart (5MHz Bandwidth) ................................................................ 41
Table 15 MCS vs. Sensitivity Chart (10MHz Bandwidth) .............................................................. 42
Table 16 MCS vs. Sensitivity Chart (20MHz Bandwidth) .............................................................. 42
Table 17 RSSI Reporting Format .................................................................................................. 84
Table 18 Sample RSSI Report........................................................................................................ 85
Table 19 Temperature Reporting Format ...................................................................................... 86

StreamCaster MIMO Radio User Manual 10/7/16
10017C000 Silvus Technologies Confidential Page
6
1. General Safety Information
The information that follows, together with local site regulations, should be studied by
personnel concerned with the operation or maintenance of the equipment, to ensure
awareness of potential hazards.
Switch off supplies before removing covers or disconnecting any RF cables, and before
inspecting damaged cables or antennas.
Avoid standing in front of high gain antennas (such as a dish) and never look into the open end
of a waveguide or cable where strong RF power may be present.
Users are strongly recommended to return any equipment that requires RF servicing to Silvus
Technologies.
CAUTION: This system contains MOS devices. Electro-Static Discharge (ESD) precautions
should be employed to prevent accidental damage.

StreamCaster MIMO Radio User Manual 10/7/16
10017C000 Silvus Technologies Confidential Page
7
1.1 Health & Safety
Exposure to Non-Ionizing (RF) Radiation/Safe Working Distances
The safe working distance from a transmitting antenna may be calculated from the relationship:
D = √𝑃𝑇 ∙ 𝐺𝑅
4𝜋 ∙ 𝑤
In which D = safe working distance (meters)
PT = transmitter or combiner power output (watts)
GR = antenna gain ratio = anti log (gain dBi ÷10)
w = power density (watts/square meter)
The RF power density value is determined by reference to safety guidelines for exposure of the
human body to non-ionizing radiation. It is important to note that the guidelines adopted differ
throughout the world and are from time-to-time re-issued with revised guidelines. For Silvus use,
a maximum power density limit of 1w/m² is to be applied when calculating minimum safe
working distances.
Important Note: It must be remembered that any transmitting equipment radiating power at
frequencies of 100 KHz and higher, has the potential to produce thermal and a-thermal effects
upon the human body.
To be safe:
a) Operators should not stand or walk in front of any high gain antenna such as dish antennas,
nor should they allow anyone else to do so.
b) Operators should not operate any RF transmitter or power amplifier with any of its covers
removed, nor should they allow anyone else to do so.
Antenna
Transmitter Power
Type
Gain (dBi)
Gain Ratio (GR)
1W
2W
4W
10W
30W
Omni
3
2
0.4
0.6
0.8
1.3
2.2
Sector
20
100
2.9
4
5.6
9
15.5
Parabolic Dish
35
3162
16
22.5
32
50
87
Minimum Safe Distance (Meters)
Table 1 Safe Working Distances

StreamCaster MIMO Radio User Manual 10/7/16
10017C000 Silvus Technologies Confidential Page
8
1.2 Maximum RF Power Density Limits
The RF Radiation Power Density limit figure recommended by Silvus is based upon guideline
levels published in:
a. IEEE standard C95.1 1999 - IEEE Standard for Safety Levels with respect to Human Exposure
to Radio Frequency Electromagnetic Fields, 3 kHz to 300 GHz.
b. Guidelines for Limiting Exposure to Time-varying Electric, Magnetic & Electromagnetic
Fields (up to 300 GHz) published in 1998 by the Secretariat of the International Commission on
Non-Ionizing Radiation Protection (ICNIRP).
Both documents define guideline RF power density limits for "Controlled" and "Uncontrolled"
environments. An uncontrolled environment is defined as one in which the person subjected to
the RF radiation may be unaware of and has no control over the radiation energy received. The
uncontrolled environment conditions can arise, even in the best regulated operations and for this
reason the limits defined for the uncontrolled environment have been assumed for the RF Central
recommended limit.
Documents a) and b) also show the RF power density guidelines to be frequency dependent.
Different power density / frequency characteristics are presented in the two documents. To avoid
complexity and to avoid areas of uncertainty, Silvus recommends the use of a single power
density limit across the frequency range 100 kHz to 300 GHz. The 1w/m² power density limit we
recommend satisfies the most stringent of the guidelines published to date.
Footnote: The IICNIRP document may be freely downloaded from the internet at
www.icnirp.de/documents/emfgdl.pdf (PDF file).

StreamCaster MIMO Radio User Manual 10/7/16
10017C000 Silvus Technologies Confidential Page
9
2. Introduction
The StreamCaster family of MIMO radios was designed with operator ease of use in mind. Each
radio is capable of operating in a multitude of configurations that are accessed via simple web
pages within the radio. Settings such as transmit power, frequency, channel bandwidth, link
adaptation and range control can be accessed by simply using a web browser to log into any radio
within the network. This quick start user guide contains all essential information for the user to
configure the StreamCaster radio and to also run an iperf network test.
3. StreamCaster Network
Each StreamCaster MIMO radio has a fixed static IP address in the 172.20.xx.yy network. The
radio operates as a network switch; the user equipment does not need to be on the same subnet as
the radio during operation. It is possible to setup a secondary IP address on the radio if the user
finds this feature convenient. Setting up a secondary IP address is useful if the user wishes to
access the radio’s web interface in their network.

StreamCaster MIMO Radio User Manual 10/7/16
10017C000 Silvus Technologies Confidential Page
10
4. StreamCaster Hardware Overview
4.1 Hardware Interfaces
SC4200:
Figure 1 StreamCaster 4200 Ruggedized Enclosure
RF channels 1-2 connectors [TNC Female]
Power Switch [2-Position Rotating]
Power (Optional, 9-20V), Ethernet, and Serial Port connector [Hirose LF10WBRB-12PD]
Bi-Color Status LED (See Section 11.1 for Troubleshooting Information)
Red – Radio is in the process of booting up
Flashing Green – Radio is fully booted but not wirelessly connected to any other
radio
Green – Radio is wirelessly connected to at least one other radio
1
2
3
4
1
3
5
4
6
2

StreamCaster MIMO Radio User Manual 10/7/16
10017C000 Silvus Technologies Confidential Page
11
Flashing Red – Radio has recovered from a bad state and has reverted to factory
default settings.
Push-to-Talk (PTT) Connector [Hirose LF07WBR-6P 12PD]
USB/GPIO connector [Hirose LF10WBRB-12SD]
5
6

StreamCaster MIMO Radio User Manual 10/7/16
10017C000 Silvus Technologies Confidential Page
12
SC3822:
Figure 2 StreamCaster 3822 Ruggedized Enclosure
RF channels 1-2 connectors [SMA Female]
USB/GPIO connector [Hirose LF10WBRB-12SD]
Tri-Color Status LED (See Section 11.1 for Troubleshooting Information)
Red – Radio is in the process of booting up
Orange – Radio is fully booted but not wirelessly connected to any other radio
Green – Radio is wirelessly connected to at least one other radio
Flashing Red – Radio has recovered from a bad state and has reverted to factory
default settings.
Power (9-32 VDC), Ethernet, and Serial Port connector [Hirose LF10WBRB-12PD]
1
2
3
4
2
1
3
4

StreamCaster MIMO Radio User Manual 10/7/16
10017C000 Silvus Technologies Confidential Page
13
SC3500/SC3800:
Figure 3 StreamCaster 3500/3800 Ruggedized Enclosure
RF channels 1-4 connectors [TNC Female]
Ethernet connector [Mighty-Mouse 801-010-07NF7-10SA]
Power (9-20 VDC) and Serial Port connector [Mighty-Mouse 801-010-07NF7-10PA]
Tri-Color Status LED (See Section 11.1 for Troubleshooting Information)
Red – Radio is in the process of booting up
Orange – Radio is fully booted but not wirelessly connected to any other radio
Green – Radio is wirelessly connected to at least one other radio
Flashing Red – Radio has recovered from a bad state and has reverted to factory
default settings
Power Switch
1
2
3
4
5
2
3
4
5
1

StreamCaster MIMO Radio User Manual 10/7/16
10017C000 Silvus Technologies Confidential Page
14
SC3500/SC3800 with EXT Connector (PA Faceplate Option):
Figure 4 StreamCaster 3500/3800 Ruggedized Enclosure
RF channels 1-4 connectors [TNC Female]
EXT PA Connector [Mighty-Mouse 801-010-07NF7-25SA]
Ethernet connector [Mighty-Mouse 801-010-07NF7-10SA]
Power (9-20 VDC) and Serial Port connector [Mighty-Mouse 801-010-07NF7-10PA]
Power Switch
Tri-Color Status LED (See Section 11.1 for Troubleshooting Information)
Red – Radio is in the process of booting up
Orange – Radio is fully booted but not wirelessly connected to any other radio
Green – Radio is wirelessly connected to at least one other radio
Flashing Red – Radio has recovered from a bad state and has reverted to factory
default settings
1
2
3
4
5
6
2
3
4
1
6
5

StreamCaster MIMO Radio User Manual 10/7/16
10017C000 Silvus Technologies Confidential Page
15
4.1 Connector Pinouts
4.1.1 SC4200 Pinouts
SC4200 Power/Ethernet/Serial Connector Pinout
Enclosure PWR/COMM
(LF10WBRB-12PD)
Signal
Switchcraft Pinout
(EN3C2F16X)
1
5V OUT (For External GPS Puck)
NC
2
GND IN (External Power Option Only)
2
3
GND IN (External Power Option Only)
2
4
VCC IN (External Power Option Only)
1
5
VCC IN (External Power Option Only)
1
6
100-Base T ETH0 M2N
NC
7
100-Base T ETH0 M2P
NC
8
100-Base T ETH0 M1P
NC
9
RS232_RXD
NC
10
RS232_TXD
NC
11
RS232_GND
NC
12
100-Base T ETH0 M1N
NC
Table 2 SC4200 Power/Ethernet/Serial Connector Pinout
SC4200 RS-232 and PS/2 (GPS) Pinout
RS-232
PS/2 (GPS)
Signal
Switchcraft Pinout
3
4
TxD
2
2
5
RxD
1
NC
NC
NC
4
NC
2
5V OUT
6
NC
NC
NC
5
5
1
Ground
3
Table 3 SC4200 Serial and GPS Pinout

StreamCaster MIMO Radio User Manual 10/7/16
10017C000 Silvus Technologies Confidential Page
16
SC4200 USB/GPIO Connector Pinout
Enclosure USB/GPIO
(LF10WBRB-12PD)
Signal
1
USB1_GND
2
USB1_D-
3
USB1_VBUS
4
USB2_VBUS
5
GPIO1 (PA Enable 3.3V)
6
USB2_D+
7
USB2_D-
8
RESERVED (Do Not Connect)
9
GND
10
USB1_Sense
11
USB1_D+
12
USB2_GND
Table 4 SC4200 USB/GPIO Connector Pinout (USB1 is USB 2.0 OTG, USB2 is USB 2.0 Host Mode Only)
SC4200 PTT Connector
Enclosure PTT Connector
(Hirose LF07WBR-6P)
Signal
1
RESERVED (Do Not Connect)
2
RESERVED (Do Not Connect)
3
AUDIO_GND
4
PTT
5
SPEAKER_OUT
6
MIC_IN
Table 5 SC4200 PTT Connector Pinout

StreamCaster MIMO Radio User Manual 10/7/16
10017C000 Silvus Technologies Confidential Page
17
DC Power 9 – 20 V
Ground
12
4
2
Ground
3
DC Power 9 – 20 V
5
RJ45 Pin 1 GREEN / WHITE
RJ45 Pin 6 ORANGE
RJ45 Pin 3 ORANGE / WHITE
8
7
Grey
Black
Pink
Pink
SC4200
Power / Ethernet / Serial
Serial Rx
Serial Tx
Serial Ground
V+ for GPS Antenna
White White
11
10
Pink
Grey
Orange
Brown
Red
Yellow
Grey
White
Green
Blue
Purple
B/W striped
Black
9
RJ45 Pin 2 GREEN
6
Power
Ethernet
Serial
1
Switchcraft female
EN3C6FX
- viewed from front
6
Raised
dot
Indicates
Pin #1
5
34
1
White
2
Grey
Figure 5 SC4200 Power (Optional)/Serial/Ethernet Pinout Diagram (Cable Side)
3
5
SC4200
USB / GPIO
Serial Ground
11
10
Pink
Orange
Brown
Red
Yellow
Black
White
Green
Blue
Purple
B/W striped
Grey
USB1_GND
USB1_D-
USB1_VBUS
Ext PA Control
USB2_D+
USB2_GND
USB2_D-
Reserved (DNC)
GND
6
8
7
9
4
2
USB1_D+
1
12
USB2_VBUS
Figure 6 SC4200 USB/GPIO Pinout Diagram (Cable Side)

StreamCaster MIMO Radio User Manual 10/7/16
10017C000 Silvus Technologies Confidential Page
18
Figure 7 SC4200 PTT Pinout Diagram (Cable Side)

StreamCaster MIMO Radio User Manual 10/7/16
10017C000 Silvus Technologies Confidential Page
19
4.1.2 SC3822 Pinouts
SC3822 Power/Ethernet/Serial Connector Pinout
Enclosure PWR/COMM
(LF10WBRB-12PD)
Signal
Switchcraft Pinout
(EN3C2F16X)
1
3.3V (5V on Rev. D Digital and Newer)
NC
2
GND IN
2
3
GND IN
2
4
VCC IN
1
5
VCC IN
1
6
100-Base T ETH0 M2N
NC
7
100-Base T ETH0 M2P
NC
8
100-Base T ETH0 M1P
NC
9
RS232_RXD
NC
10
RS232_TXD
NC
11
RS232_GND
NC
12
100-Base T ETH0 M1N
NC
Table 6 SC3822 Power/Ethernet/Serial Connector Pinout
SC3822 RS-232 and PS/2 (GPS) Pinout
RS-232
PS/2 (GPS)
Signal
Switchcraft Pinout
3
4
TxD
2
2
5
RxD
1
NC
NC
NC
4
NC
2
3.3V (5V on Rev. D Digital and Newer)
6
NC
NC
NC
5
5
1
Ground
3
Table 7 SC3822 Serial and GPS Pinout

StreamCaster MIMO Radio User Manual 10/7/16
10017C000 Silvus Technologies Confidential Page
20
SC3822 USB/GPIO Connector Pinout
Enclosure USB/GPIO
(LF10WBRB-12PD)
Signal
1
USB_GND
2
USB_D-
3
USB_5V
4
NC
5
GPIO1 (PA Enable 3.3V)
6
GPIO2
7
GPIO3
8
3.3V
9
GND
10
USB_Sense
11
USB_D+
12
GPIO4
Table 8 SC3822 USB/GPIO Connector Pinout
SC3822 Extension Port Pinout
Pin #
Signal
Notes
1-6
VCC_IN
9V - 32V. These pins are directly wired to the VCC_IN on FPC 1.
7-10
GPIO1 – GPIO4
These GPIOs are directly wired to the GPIOs on FPC connector 2.
11-19
Reserved for Testing
Do Not Connect
20
CPU Reset (3.3V)
Wired to PS_SRST_EXT signal on FPC 1
21-54
Reserved for Testing
Do Not Connect
55
GND
56
ETH1_MX4N
Second Gigabit Ethernet Interface
57
ETH1_MX4P
58
ETH1_MX3N
59
ETH1_MX3P
60
ETH1_MX2N
61
ETH1_MX2P
62
ETH1_MX1N
63
ETH1_MX1P
64
GND
65-68
Reserved for Testing
Do Not Connect
Table 9 SC3822 Extension Port Pinout

StreamCaster MIMO Radio User Manual 10/7/16
10017C000 Silvus Technologies Confidential Page
21
Figure 8 SC3822 Power/Serial/Ethernet Pinout Diagram (Cable Side)
1 9
11
6
8
7
5
12
102
3
4
4 3 2 1 USB_Ground
USB_Data-
USB_5V
NC
USB_Data+
GPIO1 (PA
Enable 3.3V)
GPIO4
GND
3.3V
GPIO3
GPIO2
USB_Sense
`
`
USB
SC 3822
USB/GPIO
GPIO
1
2
3
4
5
6
Black/White
Figure 9 SC3822 USB/GPIO Pinout Diagram (Cable Side)

StreamCaster MIMO Radio User Manual 10/7/16
10017C000 Silvus Technologies Confidential Page
22
4.1.3 SC3500/SC3800 Pinouts
SC3500/3800 Power Connector Pinout
Enclosure Pinout
(801-010-07NF7-10PA)
Signal
Switchcraft Pinout
(EN3C2F16X)
1
12V Power Return
2
2
12V Power Return
2
3
12V Power
1
4
12V Power
1
5
TxD
For Serial Comm.
6
RxD
For Serial Comm.
7
RTS
For Serial Comm.
8
CTS
For Serial Comm.
9
Ground
For Serial Comm.
10
3.3V (5V on Rev. E Digital and Newer)
3.3VDC for GPS
Table 10 SC3500/SC3800 Power Connector Pinout
SC3500/3800 Ethernet Connector Pinout
Enclosure Pinout
(801-010-07NF7-10SA)
Signal
RJ45 Pinout
1
WHT/BLU
5
2
WHT/BRN
7
3
BRN
8
4
ORG
2
5
WHT/GRN
3
6
WHT/ORG
1
7
BLU
4
8
GRN
6
9
NC
NC
10
NC
NC
Table 11 SC3500/SC3800 Ethernet Connector Pinout

StreamCaster MIMO Radio User Manual 10/7/16
10017C000 Silvus Technologies Confidential Page
23
SC3500/3800 EXT Connector Pinout (PA Faceplate Option Only)
Enclosure Pinout
(801-010-07NF7-25SA)
Signal
1
PA On (+3.3V)
2
Ground
3
NC
4
NC
5
NC
Table 12 SC3500/SC3800 EXT Connector Pinout
SC3500/3800 RS-232 and PS/2 (GPS) Pinout
RS-232
PS/2 (GPS)
Signal
Switchcraft Pinout
3
4
TxD
2
2
5
RxD
1
7
NC
RTS
4
NC
2
3.3V (5V on Rev. E Digital and Newer)
6
8
NC
CTS
5
5
1
Ground
3
NA
NA
LED Ground
NA
NA
NA
Green
NA
NA
NA
Red
NA
Table 13 SC3500/SC3800 Serial and GPS Pinout

StreamCaster MIMO Radio User Manual 10/7/16
10017C000 Silvus Technologies Confidential Page
24
Figure 10 SC3500/SC3800 Power/Serial Pinout Diagram (Cable Side) for GPS (Top) and RS-232 (Bottom)

StreamCaster MIMO Radio User Manual 10/7/16
10017C000 Silvus Technologies Confidential Page
25
Figure 11 SC3500/SC3800 Ethernet Pinout Diagram (Cable Side)
Figure 12 SC3500/SC3800 EXT Pinout Diagram (Cable Side)

StreamCaster MIMO Radio User Manual 10/7/16
10017C000 Silvus Technologies Confidential Page
26
4.2 Mechanical and Operating Specifications
SC4200:
Mechanical
Ambient Temp.
-40° to +65° C
IP Rating
IP-67 (Dust / Immersion in Water up to 1m)**
Dimensions
4.00” x 2.63” x 1.51” (Excluding Connectors)
Weight
15 oz.
Color
Black Anodized
Mounting
4-Hole Mounting Patterns (Through-Hole)
Power
Voltage
9 – 20 VDC
Power Consumption
4.8 W – 24 W
Battery Life
Up to 12 Hours (6.8Ah MBITR Battery)
Power Options
Twist-Lock Battery or Front Panel
Interfaces
RF
TNC(f) (2 Each)
Primary
Ruggedized Circular Connector (Front Panel)
1 x Ethernet, 1x RS232, DC Input (Optional)
Auxiliary
Ruggedized Circular Connector (Front Panel)
1 x USB 2.0 Host, 1 x USB 2.0 OTG
PTT (Push-to-Talk)
Ruggedized Circular Connector (Front Panel)
Status Indicator
Bi-Color LED
Management Interface
Web-Based StreamScape™ Network Manager
Mechanical – OEM
Dimensions
3.61” x 2.15” x 0.71”
Weight
4.1 oz (w/ Outer Shields)
RF Connectors
SMP (m)
(**) Must have all connectors mated with IP67+ cables/antennas

StreamCaster MIMO Radio User Manual 10/7/16
10017C000 Silvus Technologies Confidential Page
27
SC3822:
Environmental
Standard Temperature
Extended Temperature
Operating Temp.
-40° - +55° C
-40° - +65° C
IP Rating
(Ingress Protection)
IP-67 (Dust / Immersion in water up to 1m)*
*Must have all connectors mated and use IP67 or better cables/antennas
Mechanical – Chassis
Standard
Extended Temperature
Dimensions
4.4” x 3.4” x 1.3”
4.4” x 3.4” x 2.0”
Weight
1.0 Pounds
1.2 Pounds
Color
a. Black anodized
b. FED-STD-595B-34094 (green 383)
Mounting
4-hole mounting patterns (Through-hole)
Connectors
RF
SMA (f) (2 each)
Data / Control
Ethernet (Gigabit for OEM, 100 Base-T for Enclosed), RS232, USB
Power
Hirose LF Series Circular Connector (Front Panel)
Samtec QSH (Expansion)
Controls and Indicators
Status Indicator
Tri-Color LED
Power Requirements
Voltage
9 – 32 VDC
Consumption
6W – 16W (Duty Cycle and Frequency Dependent)
24.5 W – 80% Tx Duty Cycle
Mechanical – OEM Board Stack
Dimensions
3.3” x 2.9” x 0.5” L x W x H
Weight
3 oz
RF Connector
SMP (m)
*Standard Temperature enclosure shown.
Extended Temp has height of 2”.
1.3”
Inch

StreamCaster MIMO Radio User Manual 10/7/16
10017C000 Silvus Technologies Confidential Page
28
SC3500/SC3800:
Environmental
Standard
Extended Temperature
Operating Temp.
-40° - +55° C
-40° - +65° C
IP Rating
IP-67 (Dust / Immersion in water up to 1m)*
(Ingress Protection)
*Must have all connectors mated and use IP67 or better cables/antennas
Mechanical – Chassis
Standard
Extended Temperature
Dimensions
3.25” x 5.75” x 4”
H x L x W
4.5” x 5.75” x 4”
H x L x W
Weight
3.7 Pounds
4.0 Pounds
Color
c. FED-STD-595B-34094 (green 383)
d. Black anodized
e. CARC (Chemical Agent Resistant Coating)
Mounting
4-hole mounting patterns (non-penetrating)
located on both rear and bottom sides
Connectors
RF
TNC (f) (4 each)
Data / Control
Ethernet cable, Mighty-Mouse 801 Heavy-Duty, Double-Start 10
conductor (f)
Power
Mighty-Mouse 801 Heavy-Duty, Double-Start 10 conductor (m)
(RS232 / GPS Support)
Controls and Indicators
Power
On / Off Toggle with detent
Status Indicator
Tri-Color LED
Power Requirements
Voltage
9 – 20 VDC
Consumption
12W – 22.5W (Duty Cycle and Frequency Dependent)
24.5 W – 80% Tx Duty Cycle
Mechanical – OEM Board Stack
Dimensions
1.9” x 5.25” x 2.9” H x L x W
Weight
8 oz
RF Connector
SMP (m)
Data Connector
Harwin M80 8-pin (m), (RS232/GPS optional)
Power Connector
Harwin M80 8-pin
5.75
4.50
3.25
Extended Temperature Variant
Standard Temperature Variant
ANT1 ANT4ANT3ANT2
STATUS PWROFF ETH
ON

StreamCaster MIMO Radio User Manual 10/7/16
10017C000 Silvus Technologies Confidential Page
29
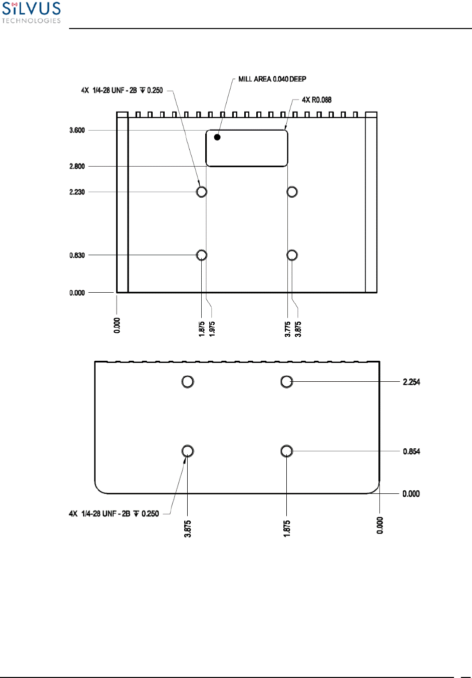
4.2.1 SC3822 Enclosure Mechanical Drawing
Figure 13 SC3822 Mechanical Drawing (top) and Mounting Pattern (bottom)

StreamCaster MIMO Radio User Manual 10/7/16
10017C000 Silvus Technologies Confidential Page
30
4.2.2 SC3500/SC3800 Phase II Enclosure Mounting Pattern
Figure 14 SC3500/SC3800 Phase II Enclosure Mounting Pattern for Back of Enclosure (top) and Bottom of Enclosure
(bottom)

StreamCaster MIMO Radio User Manual 10/7/16
10017C000 Silvus Technologies Confidential Page
31
4.2.3 SC3500/ SC3800 Phase III Enclosure Mounting Pattern
Figure 15 SC3500/SC3800 Phase III Enclosure Mounting Pattern for Back of Enclosure (top) and Bottom of Enclosure
(bottom)

StreamCaster MIMO Radio User Manual 10/7/16
10017C000 Silvus Technologies Confidential Page
32
4.3 SC4200 Specifications
General
Waveform
Mobile Networked MIMO (MN-MIMO™)
Modulation
BPSK, QPSK, 16-QAM, 64-QAM
Channel Bandwidth
5, 10 & 20 MHz (1.25*, 2.5*)
Encryption
DES Standard, AES/GCM 128/256 Optional (FIPS
140-2), Suite B
Tuning Step Size
1 KHz
Data Rates
100+ Mbps (Adaptive)
Error Correction
1/2, 2/3, 3/4, 5/6
Antenna Processing
Spatial Multiplexing, Space-Time Coding,
TX Eigen Beamforming, RX Eigen Beam Forming
No. of Spatial Streams
1-2
No. of Antennas
Total Power Output
2
1mW – 4W (variable)
(up to 8W Effective w/ TX Beamforming)
Performance
Latency
7ms Average
Sensitivity
-99 dBm @ 5MHz BW
Frequency Bands
Bands from 400MHz to 6GHz Available
Dual Band Optional
Onboard Storage
Up to 128 GB*
Frequency Band Options
Band (Freq. Code)
Frequency Range
Band (Freq. Code)
Frequency Range
UHF (042)*
400-450
Low C Band (455)*
4400-4700
ISM 900 (091)*
902-928
Federal C (470)*
4400-5000
L Band (137)
1350-1390
High C Band (485)*
4700-5000
Broadcast A (209)
1980-2200
5.2GHz ISM (520)*
5150-5250
Broadcast B (206)
2025-2110
5.8GHz ISM (580)*
5725-5875
Federal S (225)
2200-2300
Low S Band (230)
2200-2400
High S Band (240)
2300-2500
2.4GHz ISM (245)
2400-2500
(All bands listed in MHz)
Note: If band of interest is not listed, please contact a sales representative
Footnote: (*) in development

StreamCaster MIMO Radio User Manual 10/7/16
10017C000 Silvus Technologies Confidential Page
33
SC4200 PTT Specifications
Supported Mic Type
Moving Coil or Condenser (Software
Configurable)
Max Avg. Speaker Output Power
2.65W with 4 Ohm Speaker Impedance
MIC Bias
2.15V or 3V (Software Configurable);
Applied via a 2K Ohm Resistor
Recommended Speaker Impedance
(Handset)
4 Ohm to 16 Ohm
Recommended Speaker Impedance
(Headset)
75 Ohm to 300 Ohm
Recommended MIC impedance
<= 1K Ohm
Peak Speaker Output Voltage
5.5V
Absolute MIC Input Voltage
3.3V

StreamCaster MIMO Radio User Manual 10/7/16
10017C000 Silvus Technologies Confidential Page
34
4.4 SC3822 Specifications
General
Waveform
Mobile Networked MIMO (MN-MIMO™)
Modulation
BPSK, QPSK, 16-QAM, 64-QAM
Channel Bandwidth
5, 10 & 20 MHz (1.25*, 2.5*)
Encryption
DES Standard, AES 128/256 Optional (FIPS 140-2)
Frequency Stability
1 PPM over temp -40° - +85° C
Tuning Step Size
1 KHz
Data Rates
85 Mbps UDP & 70 Mbps TCP
Error Correction
1/2, 2/3, 3/4, 5/6
Antenna Processing
Spatial Multiplexing, Space-Time Coding,
RX Eigen Beam Forming
No. of Spatial Streams
1-2
No. of Antennas
Total Power Output
2
10mW – 500mW (variable)
Performance
Latency
7 ms average
Sensitivity
Varies with MCS index
Maximum = -99 dBm (5MHz BW, MCS0)
(5 MHz BW, MCS 0)
Frequency Band Specifics
Please note, this table reflects standard frequency bands available, additional bands are frequently added as
demands dictate. If your band of interest is not listed, please contact your sales person. (All bands listed in MHz)
Low Band
High Band
UHF
400-450 *
C-1 Band
4400-4700
ISM 900
902-928 *
C-2 Band
4700-5000
L Band
1350-1390
C-3 Band
5727-5852
Broadcast A
1980-2200
UNII-1 Band
5150-5250
Broadcast B
2025-2110
Federal ‘S’
2200-2300*
ISM2400
Federal ‘S’ +
2.4GHZ ISM
2400-2483*
2200-2500
Footnote: (*) in development

StreamCaster MIMO Radio User Manual 10/7/16
10017C000 Silvus Technologies Confidential Page
35
4.5 SC3500 Specifications
General
Radio Type
MIMO Coded-OFDM
Subcarrier Modulation
BPSK, QPSK, 16-QAM, 64-QAM
Channel Bandwidth
5, 10 & 20 MHz
Encryption
DES Standard, AES 128/256 Optional
Frequency Stability
1 PPM over temp -40° - +85° C
Tuning Step Size
1 KHz
Data Rates
85 Mbps UDP & 70 Mbps TCP
Error Correction
1/2, 2/3, 3/4, 5/6
Antenna Processing
Spatial Multiplexing, Space-Time Coding,
Eigen Beam Forming
No. of Spatial Streams
1-4
No. of Antennas
4
Total Power Output
10mW – 1W (variable)
Performance
Latency
7 ms average
Sensitivity
Varies with MCS index
Maximum = -102 dBm (5 MHz BW, MCS 0)
Frequency Band Specifics
S Band
C Band
Frequency Code ‘245540’
2.385 – 2.490 GHz
4.960 – 5.875 GHz
2.400 – 2.500 GHz
4.940 – 5.875 GHz
Frequency Code ‘245551’
2.400 – 2.500 GHz
5.150 – 5.875 GHz
Frequency Code ‘243578’
2.417 – 2.457 GHz
5.735 – 5.840 GHz

StreamCaster MIMO Radio User Manual 10/7/16
10017C000 Silvus Technologies Confidential Page
36
4.6 SC3800 Specifications
General
Radio Type
MIMO Coded-OFDM
Subcarrier Modulation
BPSK, QPSK, 16-QAM, 64-QAM
Channel Bandwidth
5, 10 & 20 MHz (1.25*, 2.5*)
Encryption
DES Standard, AES 128/256 Optional
Frequency Stability
1 PPM over temp -40° - +85° C
Tuning Step Size
1 KHz
Data Rates
85 Mbps UDP & 70 Mbps TCP
Error Correction
1/2, 2/3, 3/4, 5/6
Antenna Processing
Spatial Multiplexing, Space-Time Coding,
RX Eigen Beam Forming
No. of Spatial Streams
1-4
No. of Antennas
Total Power Output
4
10 mW – 1 W (variable)
Performance
Latency
7 ms average
Sensitivity
Varies with MCS index
Maximum = -102 dBm (5MHz BW, MCS 0)
(5 MHz BW, MCS 0)
Frequency Band Specifics
Please note, this table reflects standard frequency bands available, additional bands are frequently added as
demands dictate. If your band of interest is not listed, please contact your sales person. (All bands listed in MHz)
Low Band
High Band
UHF
400-450 *
C-1 Band
4400-4700
ISM 900
902-928 *
C-2 Band
4700-5000
L Band
1350-1390
C-3 Band
5727-5852
Broadcast A
1980-2200
UNII-1 Band
5150-5250
Broadcast B
2025-2110
Federal ‘S’
2200-2300*
ISM2400
Federal ‘S’ +
2.4GHZ ISM
2400-2483*
2200-2500
Footnote: (*) in development

StreamCaster MIMO Radio User Manual 10/7/16
10017C000 Silvus Technologies Confidential Page
37
5. Web Interface
5.1 Getting Started
Connect a laptop to the StreamCaster radio using the supplied Ethernet cable and turn on the radio.
Users can type “ping <IPaddress>” in order to determine whether the radio is fully booted. A web
configuration will then be available by typing the radio IP address in a web browser. Please ensure
that your laptop is on the same subnet as the radio (172.20.xx.xx by default). Users will be directed
to the Basic Configuration page. (See Figure 16)
5.1.1 Basic Configuration
Figure 16 Basic Configuration Page
This page is used to set basic configurations. A brief description of each parameter is given below.
Frequency: This defines the frequency of the signal. There is a drop-down menu for
frequency selection. The frequency choices will vary depending on the StreamCaster
model(s) you are using. Please see Section 7 for “Custom Frequency Plan” access and
installation instructions.

StreamCaster MIMO Radio User Manual 10/7/16
10017C000 Silvus Technologies Confidential Page
38
Bandwidth: This defines the RF bandwidth of the signal.
Network ID: Network ID allows for clusters of radios to operate in the same channel,
but remain independent. A radio with a given Network ID will only communicate with
other radios with the same Network ID.
Link Distance: Set to an approximate maximum distance between any two nodes in
meters, e.g., 5000 for 5km (default). It is important to set the link distance to allow
enough time for packets to propagate over the air. Failing to set the link distance to an
approximate maximum distance can result in over the air collisions and a degradation
of performance. It is recommended to set the link distance 10-15% greater than the
actual maximum distance.
Total Transmit Power: This defines the total power of the signal (power is divided
equally between the radio antenna ports). There is also an option to ‘Enable Max
Power’ which will allow the radio to push to the highest TX power it can support. This
will be slightly different on each radio and can be up to 2 watts total.
Wired Backbone Gateway: This setting pertains to wired backbone functionality (See
Section 6: Wired Backbone). For normal operation, set Wired Backbone Gateway to
enable. If multiple radios will be connected to a wired backbone, only one radio should
be enabled as a Wired Backbone Gateway and all others on the wireline should be
disabled.
Routing Beacons on Ethernet Port: For radios to be able to communicate and transfer
data over a wired link, routing information needs to be sent over the wireline. These
packets are broadcast packets that are sent even if there is only one radio on the
network. If wired backbone is not being utilized, the user can disable these routing
beacons to prevent loading their local network with these routing packets.
Apply: Apply the new values. Values will change back to the default setting after
reboot.
Save and Apply: Apply the new values and set the new values as the default.

StreamCaster MIMO Radio User Manual 10/7/16
10017C000 Silvus Technologies Confidential Page
39
5.1.2 Advanced Configuration
Figure 17 Advanced Configuration Page
This page is used to set the advanced settings. A brief description of each parameter is given below.
MAC Settings:
Routing Beacon Period: Controls how often routing beacons are sent to other radios. A
lower Routing Beacon Period results in faster reaction to topology changes. A lower
Routing Beacon Period also adds more overhead to the network which scales with the
number of nodes in the network. For larger networks, a larger Routing Beacon Period is
recommended. Default value is 100ms.
Routing Beacon MCS: Select the MCS that routing beacons are sent at. Higher MCS
values require less network overhead and may be beneficial for larger networks. The

StreamCaster MIMO Radio User Manual 10/7/16
10017C000 Silvus Technologies Confidential Page
40
drawback is that the link will break when the Routing Beacon MCS can no longer be
supported.
Fragmentation Threshold: Allows user to determine the minimum over-the-air packet
size in bytes. Smaller packet size can improve performance in high mobility while a larger
packet size will allow for more throughput. (1600 bytes default).
Maximum Ground Speed: This setting improves performance in high mobility scenarios
where the wireless channel may change rapidly. Setting this value to an unnecessarily high
value may have an impact as high as 25 percent on overall achievable throughput.
Burst Time: The burst time determines the maximum amount of time each node is allowed
to transmit at once. A larger burst time will provide higher throughput at the cost of higher
latency. On the other hand, a smaller burst time will provide less latency at the cost of less
throughput. The throughput values shown in Table 14 and Table 16 assume the minimum
burst time.
RTS Retries: A node wishing to send data initiates the process by sending a request to
send message (RTS). The destination node replies with a clear to send (CTS) message. Any
other node that receives the RTS or CTS message will refrain from sending data for a given
time. In larger networks, there is a higher probability of collisions occurring when an RTS
is sent out. This field defines the number of retries before a packet is dropped. A lower
value will result in faster handoffs in mobile situations.
Number of Retransmissions: Allows the user to define the number of times a lost packet
is retransmitted before being dropped. Default value is 20.
MCS: Choose the modulation and coding scheme (MCS). If this is set as AUTO, the radio
will dynamically cycle between a subset of the modes depending on the quality of the link.
This is the recommended setting for most users and will provide the maximum data rate
that the link can support. The EXTENDED AUTO mode includes 64QAM rate modes on
top of those included in the AUTO mode. Table 14 and Table 16 below show the estimated
UDP data rate and sensitivity for each MCS. This table assumes a 20MHz bandwidth, 1000
meter link distance and 1600 byte fragmentation threshold.
Transmit Channels: Allows user to Enable or Disable each channel on the radio for TX.
Receiver Channels: Allows user to Enable or Disable each channel on the radio for RX.
Beamforming (SC4200 Only): Enable or disable TX Beamforming (Up to 40% increase
in range when enabled)
Radio Mode: Switch between Network mode and PHY Diagnostics. If the value equals 0,
it is in Network mode; if the value equals 1, it is in PHY Diagnostics. PHY Diagnostics
mode is only relevant for users who wish to run diagnostic tests on the radio.

StreamCaster MIMO Radio User Manual 10/7/16
10017C000 Silvus Technologies Confidential Page
41
Apply: Applies the new values but does not save them to flash.
Save and Apply: Save the new values to flash and apply.
Modulation Modes and Receiver Sensitivity
Note that listed sensitivity values were measured using a controlled and cabled setup.
Actual results may vary by +/- 2dB. Table assumes link distance of 1000m, 10ms burst
time and 1600 byte Fragmentation Threshold.
* Modes supported under the AUTO MCS option.
* Modes supported under the EXTENDED AUTO MCS option in addition to AUTO MCS
modes.
* Modes that are not currently supported.
NSS
MCS
Coding Rate
PHY Throughput
(Mbps)
UDP User Throughput
(Mbps)
SC3500/SC3800
Sensitivity
SC3822
Sensitivity
1
0
BPSK 1/2
1.625
1.03
-102
-99
1
1
QPSK 1/2
3.25
2.06
-100
-97
1
2
QPSK 3/4
4.875
3.09
-97
-94
1
3
16-QAM 1/2
6.5
4.12
-95
-92
1
4
16-QAM 3/4
9.75
6.18
-92
-89
1
5
64 QAM 2/3
13
8.25
-87
-84
1
6
64 QAM 3/4
14.625
9.28
-85
-82
1
7
64 QAM 5/6
16.25
10.30
-80
-77
2
8
BPSK 1/2
3.25
2.06
-100
-97
2
9
QPSK 1/2
6.5
4.12
-97
-94
2
10
QPSK 3/4
9.75
6.18
-94
-91
2
11
16-QAM 1/2
13
8.25
-91
-89
2
12
16-QAM 3/4
19.5
12.38
-88
-85
2
13
64 QAM 2/3
26
16.21
-84
-81
2
14
64 QAM 3/4
29.25
17.62
-82
-79
2
15
64 QAM 5/6
32.5
18.94
-77
-74
Table 14 MCS vs. Sensitivity Chart (5MHz Bandwidth)

StreamCaster MIMO Radio User Manual 10/7/16
10017C000 Silvus Technologies Confidential Page
42
NSS
MCS
Coding Rate
PHY Throughput
(Mbps)
UDP User Throughput
(Mbps)
SC3500/SC3800
Sensitivity
SC3822
Sensitivity
1
0
BPSK 1/2
3.25
2.48
-99
-96
1
1
QPSK 1/2
6.5
4.96
-97
-94
1
2
QPSK 3/4
9.75
7.40
-94
-91
1
3
16-QAM 1/2
13
9.90
-92
-89
1
4
16-QAM 3/4
19.5
14.80
-89
-86
1
5
64 QAM 2/3
26
19.90
-84
-82
1
6
64 QAM 3/4
29.25
22.40
-82
-80
1
7
64 QAM 5/6
32.5
24.0
-77
-78
2
8
BPSK 1/2
6.5
4.96
-97
-94
2
9
QPSK 1/2
13
9.90
-94
-91
2
10
QPSK 3/4
19.5
14.80
-91
-88
2
11
16-QAM 1/2
26
19.90
-89
-86
2
12
16-QAM 3/4
39
29.90
-85
-82
2
13
64 QAM 2/3
52
39.70
-81
-79
2
14
64 QAM 3/4
58.5
43.50
-79
-77
2
15
64 QAM 5/6
65
48.1
-74
-75
Table 15 MCS vs. Sensitivity Chart (10MHz Bandwidth)
NSS
MCS
Coding Rate
PHY Throughput
(Mbps)
UDP User Throughput
(Mbps)
SC3500/SC3800
Sensitivity
SC3822
Sensitivity
1
0
BPSK 1/2
6.5
4.92
-96
-93
1
1
QPSK 1/2
13
9.82
-94
-91
1
2
QPSK 3/4
19.5
14.73
-91
-88
1
3
16-QAM 1/2
26
19.65
-89
-86
1
4
16-QAM 3/4
39
29.47
-86
-83
1
5
64 QAM 2/3
52
39.29
-82
-79
1
6
64 QAM 3/4
58.5
44.20
-80
-77
1
7
64 QAM 5/6
65
47.45
-78
-75
2
8
BPSK 1/2
13
9.82
-94
-91
2
9
QPSK 1/2
26
19.65
-91
-88
2
10
QPSK 3/4
39
29.47
-88
-85
2
11
16-QAM 1/2
52
39.29
-86
-83
2
12
16-QAM 3/4
78
57.04
-82
-79
2
13
64 QAM 2/3
104
75.00
-79
-76
2
14
64 QAM 3/4
117
75.00 (85.00 for SC3822)
-77
-74
2
15
64 QAM 5/6
130
75.00 (85.00 for SC3822)
-75
-72
Table 16 MCS vs. Sensitivity Chart (20MHz Bandwidth)

StreamCaster MIMO Radio User Manual 10/7/16
10017C000 Silvus Technologies Confidential Page
43
5.1.3 LAN/WIFI Configuration
Figure 18 LAN/WIFI Configuration Page

StreamCaster MIMO Radio User Manual 10/7/16
10017C000 Silvus Technologies Confidential Page
44
Network Settings:
Virtual IP: Enable or Disable the Secondary IP address for the radio.
Virtual IP Address: Set the secondary IP address for the radio. The user may set this to
be on the user’s IP network, e.g., 192.168.2.10. Once this secondary IP address is set, the
user may access the radio web page using either the native IP address or the secondary IP
address. Please note that the secondary IP address should NOT be on the 172.20.xx.xx
subnet.
Virtual Netmask: Netmask for the Secondary IP address, e.g. 255.255.255.0.
Gateway: Gateway for local network to allow radio to connect to the internet
VPN: For WAN wired backbone scenarios where radios from two different sites are
connected via the internet, a public N2N server is needed to route the data. Here is an
example of how to setup an N2N server on a server hosted by Amazon AWS running
Ubuntu 12.04:
Compile:
git clone https://github.com/lukablurr/n2n_v2_fork ### downloads the code
cd n2n_v2_fork
export N2N_OPTION_AES=no
make clean
make
Execute:
./supernode -l 9000 -v
Server will be running on port 9000.
VPN Server IP: IP Address of N2N VPN Server
VPN Server Port: Port that the N2N VPN server is configured to listen on.
VLAN Settings (License Enabled Feature):
VLANs allow users to segregate the Ethernet layer by assigning one or more VLAN IDs to the
ports of a VLAN switch. Ethernet packets are only allowed to travel between ports that belong
to the same VLAN. To allow concatenating multiple VLAN switches and/or a single physical
interface residing on multiple VLANs, a VLAN ID can be inserted to the Ethernet packet
header to indicate which VLAN the packet belongs to. This is called VLAN Tagging. A packet
that contains a VLAN ID is called a tagged packet. A port on a VLAN switch typically operates
in either access mode or trunk mode.
VLAN Mode: Specify ‘Access’ or ‘Trunk’ mode for the radio per the 802.1Q standard.

StreamCaster MIMO Radio User Manual 10/7/16
10017C000 Silvus Technologies Confidential Page
45
Default (Native/PVID) VLAN: This is the VLAN associated with untagged packets
entering the radio. The virtual IP of the radio is available on this VLAN.
Management VLAN: This is the VLAN used for radio management (e.g. routing and
network management). All radios on the network should have the same management
VLAN. The 172.20.xx.yy IP of the radio is available only on this VLAN.
Trunk VLAN(s): This setting enables the trunking of VLANs when the radio is connected
to an 802.1Q switch. If left empty, only the native and management VLAN traffic will be
allowed. User may enter a comma separated list of VLANS, e.g. 4,5,6 or an arry of VLANs
in the format of a:b:c where a and c are start and end, and b is step size, e.g. 4:1:7 translates
to 4,5,6,7. Any combination of the above is allowed.
WiFi Settings (License Enabled Feature – SC3822 Only):
Note: Use of this feature requires a Silvus USB-WiFi adapter. The WiFi settings will only display
if the USB WiFi license is loaded, and the WiFi dongle is attached to the radio’s USB port before
it is powered on.
Wifi Mode: Choose between AP, Client or Disabled. AP mode turns the WiFi dongle into
a wireless AP. This mode is useful for connecting phones, tablets, laptops, etc. to the radio
in order to pull up the web interface and access other devices in the mesh network. Client
mode allows the radio to connect to another wireless AP. This mode is useful for
connecting to wireless cameras and other devices which generate their own ‘hotspot’. Once
set to client mode, a list of detected wireless networks will be displayed with an option to
connect.
Mode: When set to AP, the wireless can be configured to be in Bridge Mode or NAT mode.
In Bridge mode, the wireless interface is bridged with the Ethernet interface and the rest of
the mesh. This is the simplest mode as all data is transparent and at layer 2. NAT mode
puts the WiFi wireless traffic on a LAN, and the rest of the Silvus mesh network on a
WAN. In effect, this means that a device connected wirelessly via the NAT AP will be able
to find any device in the larger mesh network, but not vice versa. NAT mode is
recommended for more advanced users who wish to be able to segregate data.
SSID: Define the SSID for the wireless network. Must be between 1-31 characters. User
also has the option to prevent the AP from broadcasting it’s SSID by checking the ‘Hide’
box.
Security Mode: Determines whether the AP requires a password to connect.
Password: If ‘Security Mode’ is set to ‘Secure’, a password between 8 and 63 characters
must be set.

StreamCaster MIMO Radio User Manual 10/7/16
10017C000 Silvus Technologies Confidential Page
46
Wifi Channel: The Silvus USB-Wifi adapter supports 20 different Wifi channels in both
the 2.4GHz and 5GHz frequency ranges. It is recommended to set the Wifi channel to a
frequency that has maximum separation from the mesh network frequency. (i.e. if mesh
network is operating at 2.4GHz, it is recommended to set the Wifi frequency somewhere
in the 5GHz range). Note that not all user devices support 5GHz Wifi.
Wifi Standard: Specify 802.11b or g wifi standard. Some legacy devices may not be able
to connect to an 802.11g network.
DHCP: When enabled, the USB-Wifi adapter will assign IP addresses to connected
devices. Note that when the AP is set to ‘Bridge’ mode, the DHCP will be delivered to the
entire mesh. Users should be careful to make sure there is only one DHCP server connected
into the mesh network to avoid any conflicts. When DHCP is enabled, the DHCP
parameters must be set.
Wifi TX Power: This slider can be used to control the Wifi TX power from 0dBm (1mW)
up to 17dBm (50mW).
Wifi Status: Provides status information of the wifi adapter. A list of connected clients
will also be shown here.
Port Forwarding (NAT Mode Only): When in NAT mode, devices on the larger mesh
will not be able to locate devices connected to the wireless adapter. This can be overcome
by mapping port forwarding for specific data streams.
Apply: Applies the new values but does not save them to flash.
Save and Apply: Save the new values to flash and apply.

StreamCaster MIMO Radio User Manual 10/7/16
10017C000 Silvus Technologies Confidential Page
47
5.1.4 Quality of Service (QoS) # Qo S
Figure 19 Quality of Service (QoS) Configuration Page
Quality of Service Port Classification:
The Quality of Service configuration page allows the user to make a distinction between low and
high priority traffic transmitted through each radio. High priority traffic will always jump to the
front of the queue and bypass any awaiting low priority traffic. In instances where the link cannot
support the amount of data trying to be transmitted, low priority traffic may be completely shelved
in order to ensure that the high priority traffic gets through.
To specify Low/High priority traffic, the user needs to simply input the port number that the traffic
will be arriving on. Multiple ports of the same priority can be separated by a comma (i.e. 5001,
6001, 6002). Alternatively, the user can specify a range of ports using a dash (i.e. 5001-5006). Any
combination of commas and dashes will work as well (i.e. 5001, 6001-6007, 8000). Any field can
be cleared by removing the text and clicking ‘Apply’ or ‘Save and Apply’. If unspecified, traffic
is treated as Low Priority.

StreamCaster MIMO Radio User Manual 10/7/16
10017C000 Silvus Technologies Confidential Page
48
Quality of Service Contention Window Control:
The Quality of Service Contention Window Control tunes the aggressiveness of CSMA backoffs
when collisions occur. The MAC takes random backoffs in the range [0, 2^cw_min]. Every time
there is a collision/noise it will increase this cw_min by 1, until it is capped by cw_max.
E.g. 4,10 translates to random backoffs in the range [0,16] in the beginning for a packet. If the first
try results in a collision, it will pick another backoff in the range [0,32], then [0,64], until [0,1024].
After successful transmission, backoff is reset to [0,16]. The default is 4,10 for low priority, and
3,6 for high priority. For larger networks, it is recommended to increase the Low Priority minimum
to reduce the chance of collisions occurring.
End-to-End Automatic Repeat request (Beta Feature – License Enabled)
The End-to-End ARQ feature provides packet re-ordering capability to the radio. This feature is
useful in applications that are sensitive to out of order packets (i.e. video applications where the
decoder does not have the ability to re-order packets).
To enable packet reordering, specify the port number of the subject data in the same format as the
QoS ports on the source and destination radio. The settings should match on both radios and do
not need to be set on any relays.
Retransmissions Disabled – Only packet re-ordering with no end-to-end retransmissions if
packets are lost. The receiver timeout is the length of time the receiver waits for out-of-order
packets before giving up and delivering the data it has in its buffer. This is similar in concept to
the jitter buffer in common video decoders (e.g. VLC). The worst case end-to-end delay will be
incremented by the receiver timeout value.
Retransmissions Enabled – Packet re-ordering and end-to-end retransmissions enabled in case
of packet loss. The retransmission timeout is the time the transmitter will wait before re-sending a
lost packet. The worst case end-to-end delay will be incremented by the retransmission timeout
value.
Determining Timeout Value – Both receiver timeout and retransmission timeout should be set to
roughly 3 times the end-to-end latency. The end-to-end latency can be found by disabling e2e and
doing a ping between the transmitter and receiver.

StreamCaster MIMO Radio User Manual 10/7/16
10017C000 Silvus Technologies Confidential Page
49
5.1.5 Serial/USB Setup
Figure 20 Serial/USB Setup Configuration Page
Serial Port Setup:
Each StreamCaster is equipped with one user configurable serial port. A special power cable and
null modem cable are required for access to the radio’s serial port. A brief description of each
parameter is given below.
Serial Port Mode: The user can select one of four available modes for the serial port: GPS,
RS232, Debug, and Disabled.
o GPS: In GPS mode, an external serial GPS module can be connected to and
powered from the serial port of the radio. A gpsd service daemon running on the
node will make the GPS information available to any user on the network from
TCP/IP port 2947. For more information on gpsd please see: http://catb.org/gpsd/
In addition, GPS information can be pushed to the radio via the Ethernet port or
pulled by the radio from a remote device such as an SC-IOM. If using an SC-IOM
to obtain GPS, set the GPS mode to remote, the GPS Server IP to the IP address of
the SC-IOM, and the Port to 2947.

StreamCaster MIMO Radio User Manual 10/7/16
10017C000 Silvus Technologies Confidential Page
50
o RS-232: The RS-232 mode provides a wireless serial connection between any two
serial devices connected to StreamCaster nodes on the network. In this mode, the
user must configure the RS-232 protocol parameters shown in Figure 20 above.
The transport protocol for the serial data can be set as either TCP or UDP. For data
that is sensitive to latency such as command and control data, UDP is
recommended. For data that cannot tolerate any data loss, such as telemetry data,
TCP is recommended.
The Peer IP can be the native or virtual IP address, but must be same at both
ends.
Baud rate must match the baud rate of data being sent.
Note! – An additional ‘null modem’ cable may be needed at either end,
depending upon whether connected device is acting as a terminal or as a
control (DTE or DCE)
o Debug: The debug mode is used to gain terminal access to the StreamCaster radio
and is available for debug or interface purposes (API commands). The user’s
terminal client should be set to a baud rate of 115200 for console access to the radio.
o Disabled: This mode completely disables the serial terminal of the radio.
Apply: Apply the new values but does not save them to flash.
Save and Apply: Save the new values to flash and apply.
USB Status (3822/4200):
The USB port on the 3822/4200 can auto-detect whether the connected device is a USB host
or client device. The USB cable should not be unplugged while the radio is running.

StreamCaster MIMO Radio User Manual 10/7/16
10017C000 Silvus Technologies Confidential Page
51
5.1.6 Node Diagnostics
Figure 21 Node Diagnostics Configuration Page
The Node Diagnostics page allows the user to specify an IP and Port number for Temperature and
RSSI (Receiver Signal Strength Indication) reports to be delivered to. This is useful for users that
intend to feed this information into some other platform for analysis and recording. Section 7 gives
more information on the format of streaming reports.
Temperature Thresholds:
In addition to receiving temperature reports, this page can be used to set minimum and maximum
temperature thresholds for the radio. The StreamCaster™ family of radios is equipped with on
board temperature sensors which are monitored to prevent overheating. Once a radio reaches the
maximum temperature threshold, the radio will begin to reduce its transmission time until the
temperature falls below the minimum temperature threshold. By default, the min and max values
are 75C and 85C respectively.
LED Configuration:
This setting allows the user to disable or enable the LED on the faceplate of the radio.
Voltage Monitor:
Radios built on or after Jan 1, 2015 have the ability to monitor the input voltage, displayed here.

StreamCaster MIMO Radio User Manual 10/7/16
10017C000 Silvus Technologies Confidential Page
52
5.1.7 BDA Support
Figure 22 BDA (Bi-Directional Amplifier) Support Configuration Page
The BDA Support page is used to configure the radio to work with an external bi-directional
amplifier. These settings should be configured before connecting the amplifier to the radio.
Auto Noise Estimation: When enabled, the radio can automatically estimate the noise in
the channel, including any amplification due to the external amplifier. It is preferred that
this remain disabled and the LNA gain values be manually input further below, but if the
LNA gain values are not known, this can be used instead.
PA Mode: Either set to “No PA” when there is no amplifier present or “Basic Mode” when
using an external amplifier.
Basic Settings:
PA Gains for Channels 1-4: Enter the gain (dB) for the power amplifier connected to each
channel of the radio.
LNA Gains for Channels 1-4: Enter the gain (dB) for the LNA connected to each channel
of the radio.
Maximum PA Output Power Per Channel (dBm): Enter the maximum output power for
each PA.
Apply: Apply the new values but does not save them to flash.
Save and Apply: Save the new values to flash and apply.

StreamCaster MIMO Radio User Manual 10/7/16
10017C000 Silvus Technologies Confidential Page
53
5.1.8 Build Information
Figure 23 Build Information
The ‘Build Information’ page provides information about the hardware and firmware loaded onto
the radio.

StreamCaster MIMO Radio User Manual 10/7/16
10017C000 Silvus Technologies Confidential Page
54
5.1.9 Security
The Security section of StreamScape allows users to enable/disable encryption, upgrade radios,
and load license files for enabling features such as AES encryption.
Encryption:
Figure 24 Security (Encryption)
Encryption: Enable or disable AES encryption.
Encryption Key: Set an encryption key if encryption is enabled.
Encryption Profile: Choose between AES, DES and CCM encryption. Note that the
SC3500 and SC3800 currently only support AES and DES encryption.
HTTP Secure (HTTPS): Enable or disable HTTPS access to StreamScape.
Login Authentication: Enabling this will require the user to input login credentials before
accessing the Security section of StreamScape.
Admin:
Figure 25 Security (Admin)

StreamCaster MIMO Radio User Manual 10/7/16
10017C000 Silvus Technologies Confidential Page
55
This tab can be used to set or change the administrator password (SC3822 only).
Upgrade:
Figure 26 Security (Upgrade)
The firmware can be upgraded by simply choosing the upgrade image from your desktop and
uploading it to the radio. This field can be used to upgrade the radio root file system, linux kernel,
or uboot. The upgrade system accepts the root file system image for upgrade or a tar file containing
up to 3 files (uboot, kernel, rootfs) for upgrade. A radio reboot will be required after update before
the changes take effect.
License:
Figure 27 Security (License)

StreamCaster MIMO Radio User Manual 10/7/16
10017C000 Silvus Technologies Confidential Page
56
Features such as encryption levels and frequency ranges can be enabled by license keys obtained
from Silvus. New license keys can be uploaded to the radio on this page.
Factory Reset:
Figure 28 Security (Factory Reset)
This page allows the user to restore the settings in the radio to the factory default settings.

StreamCaster MIMO Radio User Manual 10/7/16
10017C000 Silvus Technologies Confidential Page
57
5.1.10 PTT (SC4200 Only)
Figure 29 PTT (Push-to-Talk)
The PTT page can be used to configure talk groups (Multicast Groups) and speaker/mic settings
for PTT enabled radios. Radios can only communicate with other radios that are subscribed to the
same ‘Multicast Group’. Currently a radio is permitted to be active in only one Multicast Group.
Mic Type – Supported MIC types are Moving Coil or Condenser. The input amplification is
adjusted based on the Mic Type chosen on this page
Mic Bias Voltage – Options are 90% (3V) or 65% (2.15V).
Audio Encoder Type – Default option is G.722 (high quality). G.711 is also supported for
backwards compatibility with the SC-IOM
Speaker Volume – Moving slider adjusts the gain on the speaker
Mic Volume – Moving slider adjust the gain on the microphone

StreamCaster MIMO Radio User Manual 10/7/16
10017C000 Silvus Technologies Confidential Page
58
5.1.11 Spectrum Scan (Beta Feature – License Enabled)
Figure 30 Spectrum Scan Results
The spectrum scan feature turns a Silvus network of radios into a distributed spectrum analyzer.
When a scan is initiated, each selected radio in the network will go offline, perform a scan of the
requested range, and report back. Figure 30 Spectrum Scan above shows the results from a scan of
a network of 6 radios. The checkboxes at the top allow users to show or hide plots from specific
radios. The three plots provided are:
Average – Displays the average power over the time duration specified in the settings.
Peak – Displays the peak power seen at any point during the scan for each frequency. This is the
equivalent of the ‘Max Hold’ feature on common spectrum analyzers.
Threshold – Displays the duty cycle of interference stronger than the user specified ‘Threshold’
power. In the example above, the threshold was set to 5dB. The plot is showing the percentage of
time that the measured power is more than 5dB above the radio’s noise floor.

StreamCaster MIMO Radio User Manual 10/7/16
10017C000 Silvus Technologies Confidential Page
59
Settings:
Figure 31 Spectrum Scan Settings
Clicking the settings button at the top left of the window will show the settings pane as shown in
Figure 31 Spectrum Scan Settings The node list shows the list of nodes currently connected into the
mesh network. Any nodes selected will be used as part of the spectrum scan. Nodes that are
unchecked will resume normal operation. Note that an unchecked node will continue transmitting
in the frequency channel it is operating in and its transmission will show up in the scan results of
scanning radios.
Mode – Set to Spectrum Scan or Zero Span. Spectrum Scan mode provides plots of signal strength
over frequency. Zero Span provides a plot of power over time in a 20MHz Bandwidth (see Figure
33 Zero Span Results below.
Spectrum Scan Mode:
Center Frequency – Specify the center frequency of the scan.
Span – Specify the span of the scan, centered on the center frequency. (e.g. Center freq of
2450MHz and span of 100MHz will scan 2400-2500MHz). A large span will take longer
to complete.
Antenna Mask – Choose which antenna on the radio to use for scanning. If there are 2
antenna radios in the network antenna 1 or 2 must be chosen.
Resolution Bandwidth – Specify the RBW for the scan. A smaller RBW will provide a
more detailed plot, but will take longer to complete the scan. 625KHz is a good balance
between scan detail and time of scan.

StreamCaster MIMO Radio User Manual 10/7/16
10017C000 Silvus Technologies Confidential Page
60
Threshold – Specify the threshold for measurement of the duty cycle of interference.
Duration – Duration of each scan. A longer duration will provide better accuracy but will
take longer to complete.
Zero Span Mode:
Figure 32 Zero Span Settings
In the Zero Span mode, the radio will provide a plot of the power measured in a 20MHz
bandwidth across time. Zero Span can only be conducted on one radio in the network at a
time. Other radios in the network will continue to operate and transmit so a zero span scan
should not be conducted within the same frequency that the mesh network is operating in.
Center Frequency – Specify the center frequency of the scan.
Sampling Rate – Set the sampling rate of the scan. (0.3Msps recommended)
Antenna Mask – Choose which antenna on the radio to use for scanning. If there are 2
antenna radios in the network antenna 1 or 2 must be chosen.
Duration – Duration of each scan. A longer duration will provide better accuracy but will
take longer to complete.

StreamCaster MIMO Radio User Manual 10/7/16
10017C000 Silvus Technologies Confidential Page
61
Figure 33 Zero Span Results

StreamCaster MIMO Radio User Manual 10/7/16
10017C000 Silvus Technologies Confidential Page
62
5.1.12 Admin Settings
Figure 34 Admin Settings
The Admin Settings page provides the option of password protecting access to Streamscape. To
enable, simply set the Login Authentication to Enable and provide a password. If a password had
previously been set, the old password must also be provided in order to change the password. Once
Login Authentication is enabled, access to streamscape will require the admin username and
password as shown in Figure 35 Login
Figure 35 Login

StreamCaster MIMO Radio User Manual 10/7/16
10017C000 Silvus Technologies Confidential Page
63
Reset Password:
Figure 36 Reset Password
If a user forgets the password, they can reset the password using a USB flash drive and a password
reset key provided by Silvus. Note that since the SC3500 and SC3800 do not have USB ports, you
will not be able to set a password for the interface.

StreamCaster MIMO Radio User Manual 10/7/16
10017C000 Silvus Technologies Confidential Page
64
5.2 StreamScape Network Manager
Silvus’ StreamScape Network Management Utility was designed to monitor the status of a Silvus
mesh network in real-time. The graphical interface network map, shown in Figure 1, allows users
to quickly and effortlessly view the network topology and configure key parameters of the
network. For ease of use, the Silvus StreamScape utility is designed to be accessible from a Firefox
or Chrome web browser.
5.2.1 Network Topology
Figure 37 Silvus StreamScapeNetwork Manager
The network topology provides the user with real-time visual feedback of the network. Users will
be able to determine several network characteristics at a glance with the following features:

StreamCaster MIMO Radio User Manual 10/7/16
10017C000 Silvus Technologies Confidential Page
65
Color Coded Link Health – Color coding of each link in the network allows the user to
quickly identify the weak links within a network. A link between two nodes will transition
from green to yellow to red as the link weakens while also displaying the SNR of the link.
This can be seen in Figure 38.
Route Health – The Silvus StreamScape Utility will alert the user when too many packets
are being routed through a single node. In such cases, a node will change from green to
yellow to red as the packet queue increases (see ‘node4411’ and ‘node4569’in Figure 38).
This will allow the user to recognize the issue and rearrange the network accordingly.
Figure 38 Example Network Topology
Routing Information – The user can view the routing path between any 2 nodes within a
network by simply specifying the source and destination node in the Control Panel on the
left hand side. The path will turn bold as shown in Figure 39 for the path from ‘node4411’
to ‘node4569’.

StreamCaster MIMO Radio User Manual 10/7/16
10017C000 Silvus Technologies Confidential Page
66
Figure 39 Routing Path
Custom Node Naming – Naming each node in the network is as simple as double-clicking
on the node name and typing in a new name as shown in Figure 40. This feature enables
quick identification of nodes in the field and is especially useful in mission critical
situations with many mobile assets. The user can click on the ‘Save Labels in Flash’ button
in the left pane to store the node names to the radio’s flash memory. This will store the
names on the radio even after the radio is powered off. The saved labels can also be cleared
back to the defaults by clicking ‘Clear Labels in Flash’. The node labels set in one radio
can also be broadcasted to other radios in the network by clicking the ‘Broadcast Node
Labels’ button.
Figure 40 Custom Node Naming

StreamCaster MIMO Radio User Manual 10/7/16
10017C000 Silvus Technologies Confidential Page
67
Individual Node Characteristics – By simply rolling the mouse over any node in the
network, users can view key operating characteristics of the node. Figure 41 shows an
example of this for ‘node4568’. The characteristics shown are:
o Node ID: The unique node ID assigned to each node at time of manufacture. This
cannot be changed.
o IP: IP address of the node.
o Connections: Number of direct connections to node. Each directly connected node
is listed in the following format:
<Node Name> <RX SNR> <TX MCS> <Pkts in TX Queue> <Num. of Spatial Streams>
<Air Time %><Data Rate (Mbps)><RSSI Ch1> <RSSI Ch2> <RSSI Ch3> <RSSI Ch4>
Notes:
- The ‘Air Time’ specifies the percentage of time the radio is transmitting.
- Data rate shown is actual user data rate in Mbps.
- MCS or NSS of N/A signifies that no data has been sent to that radio yet.
o Frequency: RF center frequency of the node.
o Bandwidth: RF bandwidth of the node.
o Noise Level: Received noise level of the node.
o Interference: Approximate in-band interference level.
o TX Power: Total target transmit power of node.
o TX Power (Actual): Actual transmit power of node. This value may differ from
the target transmit due to temperature variation or inability to transmit a clean signal
with the selected MCS at the target power.
o Fragmentation Threshold: Chosen fragmentation threshold.
o Virtual IP: Secondary IP address of node (0 if none set).
o MCS Mode: Transmit MCS of node.
o Link Distance: Link distance setting of node.
o Burst Time: Burst time setting of node.
o Routing Beacon Period: Routing Beacon Period setting of node.

StreamCaster MIMO Radio User Manual 10/7/16
10017C000 Silvus Technologies Confidential Page
68
o RTS Retries: RTS Retry setting of radio.
o Number of Retransmissions: Num. Retransmission setting of radio.
o Contention Window Minimum: Low Priority Contention Window Minimum
setting of node.
o Maximum Ground Speed: Maximum Ground Speed setting of node.
o Queue Size: Number of packets currently waiting to be transmitted.
o Total Air Time: Total percentage of air time being used by this radio.
o Total Data Rate: Total data rate in Mbps being transmitted from this radio.
o Last Updated: Duration that has passed in seconds since last update.
Figure 41 Individual Node Characteristics

StreamCaster MIMO Radio User Manual 10/7/16
10017C000 Silvus Technologies Confidential Page
69
Link Characteristics – By simply rolling the mouse over any link in the network, users
can view key operating characteristics of that link. Figure 42 Link Characteristicsshows
an example of this for the link between ‘node4568’ and ‘node4564’. The characteristics
shown are:
o SNR: The SNR of the link in each direction.
o MCS: The MCS used to transfer data in each direction.
o UDP User Throughput: The estimated UDP User Throughput available for each
direction of the link. This is estimated based on the current MCS used for
transmission.
o Queue Size: Number of packets in TX Queue in each direction.
o NSS: Number of Spatial Streams in each direction.
o Air Time: Percentage of air time used in each direction
o Data Rate: Data rate in each direction
o Received Signal Powers: Received signal power for each antenna in each
direction.
Figure 42 Link Characteristics

StreamCaster MIMO Radio User Manual 10/7/16
10017C000 Silvus Technologies Confidential Page
70
5.2.2 Network-wide Setup and Multicast
Using the network-wide setup users can configure key parameters of every node in the network
with just one click. Users simply need to check off the parameters they wish to be updated across
the network and click on Apply to apply but not write new values to flash or Save and Apply to
apply and save values to flash. The Broadcast Update Interval field determines how often, in
seconds, the new parameters will be broadcast to the entire network. A list of all nodes will appear
on the right with a check box next to each node. This box will be checked off as each node receives
the update.
Figure 43 Network-wide Setup

StreamCaster MIMO Radio User Manual 10/7/16
10017C000 Silvus Technologies Confidential Page
71
5.2.2.1 Multicast
The Network Wide Setup page is also used to configure up to 5 multicast streams. By default, all
multicast/broadcast flows will be sent to all radios. This configuration is only necessary if a user
wishes to send multicast streams to a subset of radios on the network. The configuration string
format is as follows:
Multicast_ip_address, receiver_id1, receiver_id2, … , receiver_idN
Multicast_ip_address is the multicast group address and receiver_idN are the node ids of the radios
that need to receive the multicast stream. If no receivers are indicated, multicast will be sent to all
radios. If there is only one receiver id = -1, the multicast stream will not be put on the air and
discarded at the transmitter. This allows a quick way for the user to turn off a multicast stream
from anywhere on the network.
Some Multicast examples:
Data for multicast group 224.50.50.51 will be received only by radios with node-ids 1131
and 1261:
224.50.50.51, 1131, 1261
Data for multicast group 224.50.50.51 will be received by all radios:
224.50.50.51,
Data for multicast group 224.50.50.51 will be discarded at the transmitter and not put on
the air:
224.50.50.51, -1

StreamCaster MIMO Radio User Manual 10/7/16
10017C000 Silvus Technologies Confidential Page
72
5.2.3 Per-Node Setup
The per-node setup can be used to modify key parameters of individual nodes within the network.
As shown in Figure 44, users will see a list of all nodes available within the network. The directly
connected node is listed first with the rest ordered lexically. From here, users can click on an
individual node and modify its parameters. Any parameters changed from this interface can either
be applied or saved and applied.
In addition, this page can be used to upgrade a radio’s firmware by simply choosing the upgrade
image from your desktop and uploading it to the radio. This field can be used to upgrade the radio
root file system, linux kernel, or uboot. The upgrade system accepts the root file system image for
upgrade or a tar file containing up to 3 files (uboot, kernel, rootfs) for upgrade. A radio reboot will
be required after update before the changes take effect.
Figure 44 Per-Node Setup

StreamCaster MIMO Radio User Manual 10/7/16
10017C000 Silvus Technologies Confidential Page
73
5.2.4 Map Overlay
The Map Overlay page provides an easy to use method of tracking the location of nodes in real-
time. Nodes with GPS modules attached will be placed on the map as shown in Figure 45.
Figure 45 Map Overlay
For convenience, a small copy of the network topology is displayed on the right hand side of the
page. This allows users to clearly view the network characteristics in instances where nodes are
physically close to one another and difficult to distinguish on the map overlay.

StreamCaster MIMO Radio User Manual 10/7/16
10017C000 Silvus Technologies Confidential Page
74
5.2.4.1 Map Options
There are 4 map options currently available in the Map Overlay view. The default map is
OpenStreet Maps. OpenStreet Maps and OpenStreet Maps Silvus can be saved to the radio’s
internal memory for offline use. For instructions to Download OpenStreet Maps into the radio, see
section 5.2.4.2. OpenStreet Maps Silvus is a version of OpensStreet maps which is hosted on
Silvus’ servers in case of an interruption in service with OpenStreet Maps. The Silvus maps
currently only cover the United States.
In Addition to OpenStreet Maps, Google Maps and Google Satellite are also available. This can
be changed by clicking the ‘+’ symbol at the top right of the map:
Figure 46 Google Maps
Note that Google Maps and Google Satellite require an active internet connection on the viewing
computer. These maps cannot be saved for offline use.

StreamCaster MIMO Radio User Manual 10/7/16
10017C000 Silvus Technologies Confidential Page
75
Offline Map Image:
In addition to the preset map options, the user can also upload a custom image or blueprint in place
of the map.
Figure 47 Offline Map Image
To upload a custom image (800 x 600 pixels recommended), first choose the file from your
desktop. You will then need to provide the image bounds. These bounds will be the latitude of the
left and right bounds of the image and longitude of the top and bottom bounds of the image. Once
entered, click upload and there will now be a 4th option when clicking the ‘+’ at the top left of the
map overlay.

StreamCaster MIMO Radio User Manual 10/7/16
10017C000 Silvus Technologies Confidential Page
76
5.2.4.2 Downloading Maps
An internet connection is required to obtain map data, however, users can cache map data on a
node beforehand. For map caching follow these steps:
1. Attach the radio to a laptop and open the advanced tab.
2. Set the Virtual IP address, netmask and gateway to values appropriate for your local
network. Your local network should be able to access the internet.
3. Attach the radio to your local network and open the Map Overlay tab.
4. Input the address of the location you wish to download
5. You now have two options for caching map data:
a. Zoom/pan around the area you are interested in at the zoom level you will be
using. This will automatically cache the map data at this zoom level.
b. Fill in the radius field (in meters), set the Min/Max zoom levels and click on
‘Seed the Map’. This is a beta feature and will attempt to cache the entire area
for all appropriate zoom levels. Users should be careful in using this feature
since it may take some time and will use up the radio’s available memory. For
reference, a radius of ~3000m will use approximately 5 percent of the total
memory.

StreamCaster MIMO Radio User Manual 10/7/16
10017C000 Silvus Technologies Confidential Page
77
5.2.4.3 Manual GPS for Nodes without GPS Module
Figure 48 Placing Nodes on the Map
If there are nodes within the mesh that do not have a GPS module connected, or are located in an
area with no GPS connectivity, the user can easily place the node on the map by right clicking on
the desired location on the map and choosing which node to place there. These values will be
ignored if GPS coordinates are available via a GPS module.

StreamCaster MIMO Radio User Manual 10/7/16
10017C000 Silvus Technologies Confidential Page
78
6. Wired Backbone
Wired Backbone extends the StreamCaster mesh functionality over LAN (Ethernet) and WAN
(Internet) links. This feature is transparent to end-users - they do not have to re-configure their
devices in any manner to use this feature.
The StreamCaster routing protocol will automatically detect and route data on wired links to
preserve air bandwidth.
6.1 LAN Backbone
The LAN backbone feature allows more than one radio to be connected to a LAN.
6.1.1 Implementation
One of these radios must be configured as a “gateway” radio. This radio then begins listening
promiscuously on its ethernet interface to “register” all devices on the LAN as being connected
to the gateway radio. At the same time it auto-detects other non-gateway radios connected to the
LAN and establishes “wired” links to them. StreamScape Web GUI will show LAN links with
SNR of 150 dB to differentiate from wireless links.
The non-gateway radios do not register any devices, they merely act as relays. The gateway radio
will forward traffic originating from the LAN, destined for a device attached to a wireless radio,
to the non-gateway radio that is closest to the destination. Similarly, any traffic originating from
a device attached to a remote wireless radio, destined to a device on the LAN will be forwarded
by non-gateway radios to the gateway radio. The gateway radio will then send it to the device.
Currently we support data rates of up to 65 Mbps on the LAN without encryption. Since all LAN
traffic goes via the gateway radio, this is the upper limit of all traffic that can enter or go out of
the LAN from/to devices connected to wireless radios. Of course, this limit does not affect the
throughput between two devices connected directly to the LAN backbone.
6.1.2 Use Case
Consider the following scenario. A business wants to do video monitoring of its grounds. High
speed LAN hookups are available only in the HQ building. They want to use the StreamCaster
radios on towers to provide complete coverage of the grounds. All video feeds are sent back and
displayed at the HQ. To conserve air bandwidth and possible interference to other users, we want

StreamCaster MIMO Radio User Manual 10/7/16
10017C000 Silvus Technologies Confidential Page
79
video data to go through the high speed LAN backbone as much as possible. The below diagram
shows the scenario.
Towers 1-3 are equipped with IP cameras attached to StreamCaster radios 1-3. Radios 4-6 are
mounted on three sides of the HQ building with their Ethernet interfaces connected to the high
speed LAN. Tower 1 can only communicate wirelessly with radio 4, Tower 3 with radio 5 and
Tower 2 with radio 6. Video from Tower 1 will flow wirelessly to radio 4, then via the LAN
backbone to the HQ viewer which is also attached to the LAN backbone. Even though the radios
4-6 may communicate wirelessly, they will choose to do so via the LAN backbone.
Figure 49 LAN Backbone Example

StreamCaster MIMO Radio User Manual 10/7/16
10017C000 Silvus Technologies Confidential Page
80
6.2 WAN Backbone with Roaming
The WAN backbone feature allows the wireless mesh network to extend over Internet links.
Multiple geographically separate “sites” can be connected into one single layer 2 network as long
as each site has an uplink to the Internet. The roaming feature allows mobile devices connected
to StreamCaster radios to roam from one site to another without any network re-configuration.
6.2.1 Implementation
Each site wishing to become part of the wireless mesh needs to connect one StreamCaster radio
to its LAN. Such a radio has to be configured to connect to a remote VPN server using the N2N
protocol. Radios from multiple sites will be connected at layer 2 via the N2N VPN server
creating a single broadcast domain for such nodes. By broadcasting routing packets in this
domain, the nodes will auto-detect each other and establish WAN links. Such links will appear
on the StreamScape GUI with a link SNR of 120 dB to differentiate from LAN links (150 dB)
and wireless links.
The N2N VPN server will try to establish peer-to-peer links between the radios if it can. Under
some cases (e.g. symmetric NATs), this is not possible, in which case traffic between the peers is
relayed by the N2N server.
The N2N server can be hosted at any server with a public IP on the Internet. As a proof-of-
concept, a server has been set up on Amazon Web Services. Currently we support up to 10 Mbps
unencrypted between any two sites.
6.2.2 Use Case
Consider a military scenario where a platoon of soldiers begins its mission at an HQ, then breaks
up into two groups. Each group has at least one soldier with an uplink to the Internet (provided
by a 4G card). The HQ also has an uplink to the Internet. Every soldier and the HQ have a
StreamCaster radio attached to their devices.
The soldiers in the two groups want seamless and transparent communication between 1) other
soldiers in the same group 2) soldiers in the other group 3) back to HQ. Some lone soldiers (e.g.
Soldier A with a StreamCaster radio) may break up from each group and move about on their
own. As they get close to group 1, 2 or the HQ, they should be able to immediately establish
communication and talk to all other soldiers in the network.
The StreamCaster radios connected to the uplinks in Group 1-2 and the HQ will automatically
connect and form WAN links.
Note that the WAN and LAN backbone are complementary features. E.g. at the HQ, multiple
radios can be connected to a LAN backbone so that any approaching soldier or group has a direct
line of sight wireless connection to the HQ.

StreamCaster MIMO Radio User Manual 10/7/16
10017C000 Silvus Technologies Confidential Page
81
Figure 50 WAN Backbone Example

StreamCaster MIMO Radio User Manual 10/7/16
10017C000 Silvus Technologies Confidential Page
82
7. Custom Frequency Plan
7.1 Accessing and Installing CFP
The hidden Custom Frequency Plan page can be accessed via http://<radio IP>/custom_freq.sh
The interface will allow an upload of a custom frequency plan file which should be in the
following format:
{
"type": "custom_frequency_plan",
"name": "cfp_example",
"description": "CFP Example",
"frequencies": [
"2412",
"2417",
"2422",
"2427",
"2432",
"2437",
"2442",
"2447",
"2452",
"2457",
"2462",
"2467",
"2472",
"5745",
"5765",
"5785",
"5805",
"5825"
]
}
(Put the above format in a Text file. Name/description can be changed)
Custom Frequency Plan Text file example:
https://drive.google.com/file/d/0ByThlCSjgHe1TDMtZ2xDXzhEblE/view?usp=sharing
The numbers can be changed to the frequencies desired. The name of the text file does not
matter in order to be utilized. After uploading the file, the web interface will be populated with
the Custom Frequency Plan.
Note:
Once installed, the Custom Frequency Plan will be cross-checked with hardware capability and
the licensed frequency range previously installed on the radio. The Custom Frequency Plan will
only change what is displayed. It will not give new frequencies that are previously out of
licensed range.

StreamCaster MIMO Radio User Manual 10/7/16
10017C000 Silvus Technologies Confidential Page
83
8. Streaming Response
Some users may be interested in streaming specific information from the radio e.g. RSSI, noise
floor, temperature, etc. After enabling the response they need using the above commands, the
radio will transmit the desired information in the form of UDP packets to a specific IP address
and port. The format of each report message will be in the type-length-value format as shown
below:
TYPE LENGTH VALUE TYPE LENGTH VALUE …
TYPE and LENGTH will be 16-bit unsigned integers in network-endian format.
TYPE indicates the kind of information being transmitted. Pre-defined types are listed
later in this document.
LENGTH indicates the length of the VALUE field in bytes, including the terminating
null byte.
VALUE will be ASCII-encoded text terminated with a null byte ('\0').
A single report will comprise of a set of type-length-value fields beginning with a
“begin” report type. It will have a type which is specific to the type of report being
generated, length of 1 byte and a value of an empty string (“”). Note the empty string is
still null terminated.
Each report will end with an end of report which has type 1 (type = end of report, length
= 1, value = "").
The empty string listed above has a NULL character and has length 1. Any length
number in the streaming report includes the NULL character
A UDP packet may contain more than one report.
The UDP packets have a maximum size of 1400 bytes.

StreamCaster MIMO Radio User Manual 10/7/16
10017C000 Silvus Technologies Confidential Page
84
8.1 RSSI and Noise Floor Reporting
The type/length/value for RSSI and noise floor reporting are listed in the following table:
Report Type
Data Type
Information
5009
Empty string ""
Begin of RSSI report
5010
Float
Revision number for RSSI report
5000
Integer
Raw signal power of first antenna,
represented in half dBm steps.
5001
Integer
Raw signal power of second antenna
represented in half dBm steps.
5002
Integer
Raw signal power of third antenna
represented in half dBm steps.
5003
Integer
Raw signal power of fourth antenna
represented in half dBm steps.
5004
Integer
Raw noise power represented in half dBm
steps.
5005
32-bit integer
Sync signal power (from digital domain, see
note below).
5006
32-bit integer
Sync noise power (from digital domain, see
note below).
5007
16-bit integer
Node ID of the radio.
5008
32-bit integer
Report sequence number, increments for
every report, resets after 9999.
1
Empty string ""
End of report.
Table 17 RSSI Reporting Format
Note:
The sync noise and power (types 5005, 5006) are special values obtained after packet processing
in the digital domain. They cannot be directly compared to the raw signal and noise values. To
obtain an SNR from these values the user needs to run the below formula on these values:
X = sync signal power;
Y = sync noise power;
Z = (Y-X)/51
SNR_mw = (X – 12 * Z)/(64 * Z)
SNR_db = 10 * log(SNR_mw)/log(10)
SNR_db is the SNR in dB and it is averaged across all antennae.
The SNR obtained above is more accurate when the real SNR goes below 10 dB. Above 10 dB,
the SNR obtained from the raw signal and noise values are more accurate.

StreamCaster MIMO Radio User Manual 10/7/16
10017C000 Silvus Technologies Confidential Page
85
Below is an example of the RSSI report:
Report Type
Length
Information
5009
1
""
5010
4
"1.0"
5008
5
"2333"
5000
5
"-43"
5001
5
"-31"
5002
5
"-28"
5003
5
"-66"
5004
5
"-190"
5005
8
"8604568"
5006
8
"8861322"
5007
5
"1025"
1
1
""
Table 18 Sample RSSI Report
The corresponding raw UDP dump in hexadecimal format is attached below. For the purpose of
easier reading, each byte is separated by a space, and each item is separated by a new line. The
real streaming report is continuous without any spaces or newlines and is currently 109 bytes
long.
13 ffffff91 0 1 0
13 ffffff92 0 4 31 2e 30 0
13 ffffff90 0 5 32 33 33 33 0
13 ffffff88 0 5 20 2d 34 33 0
13 ffffff89 0 5 20 2d 33 31 0
13 ffffff8a 0 5 20 2d 32 38 0
13 ffffff8b 0 5 20 2d 36 36 0
13 ffffff8c 0 5 2d 31 39 30 0
13 ffffff8d 0 a 20 20 38 36 30 34 35 36 38 0
13 ffffff8e 0 a 20 20 38 38 36 31 33 32 32 0
13 ffffff8f 0 5 31 30 32 35 0
0 1 0 1 0

StreamCaster MIMO Radio User Manual 10/7/16
10017C000 Silvus Technologies Confidential Page
86
8.2 Temperature Reporting
The type, length and value for temperature reporting are listed in the following table:
Report Type
Data Type
Data
8
Empty string ""
Begin of temperature report.
9
Float
Revision number for temperature report.
2
Integer
Current Temperature on the radio.
3
Integer
Maximum Temperature reached on the radio
after last booting.
4
Integer
Overheat Count: number of times the radio
temperature has exceeded
temp_reporting_max_threshold.
1
Empty string ""
End of report
Table 19 Temperature Reporting Format

StreamCaster MIMO Radio User Manual 10/7/16
10017C000 Silvus Technologies Confidential Page
87
9. Setting up an Iperf Test
9.1 Required Equipment
Two laptops with jperf installed. It is beyond the scope of this manual to cover the
installation and operation of these tools. The laptops must be on the same subnet but not
necessarily the same subnet as the radios (172.20.xx.yy). It is not required for the user to
set a secondary IP address on the radio to perform this test. It is recommended the iperf or
jperf tests are first conducted between the laptops using an Ethernet switch or cross-over
Ethernet cable between them to verify the laptops and iperf/jperf tools.
Two or more StreamCaster radios properly configured.
9.2 Running Iperf Test
Connect a laptop to one StreamCaster radio using the Ethernet cable.
Connect the other laptop to another StreamCaster radio.
Power up the radios and verify the radios are booted and connected wirelessly.
At the receiver side type the following in a terminal
o iperf –s –u -i 1
At the transmitter side type the following in a terminal
o iperf –c receiver_laptop_ip_address –u –i 1 –b 1M –t 60

StreamCaster MIMO Radio User Manual 10/7/16
10017C000 Silvus Technologies Confidential Page
88
10. Precautions and Recommendations
10.1 Saving the Radio Configuration
It is very important that the radio does not lose power during any configuration changes in which
the user requests a “save and apply” operation. Partial saving of the configuration to the radio due
to power interruption may disable the radio requiring reprogramming at the factory. Also, please
wait for a “done” feedback at the web interface before proceeding to any other configuratio n
changes.

StreamCaster MIMO Radio User Manual 10/7/16
10017C000 Silvus Technologies Confidential Page
89
11. Troubleshooting
11.1 LED Issues
If flashing red LED is present, radio is in safe boot mode. Click save and apply to resume
normal operation.
If LED is orange and node won’t connect to another node, click “restore factory defaults ”
on both radios to ensure all settings are reverted to factory settings.
11.2 Intermittent Link
In a long range scenario if SNR is good but link drops unexpectedly check link distance
parameter and make sure that the link distance is set the same on all radios and sufficiently
large enough.
Check interference levels as strong interference can result in an intermittent link.

StreamCaster MIMO Radio User Manual 10/7/16
10017C000 Silvus Technologies Confidential Page
90
12. FCC Notice (SC3500-243541, SC3822-245580 and
SC4210-245-BB Only)
Silvus P/N: SC3500; SC3822; SC4210
FCC Identifier: N2S-SC3500; N2S-SC3822; N2S-SC42-245
Equipment Class: Digital Transmission System
Maximum Power: 500mW for SC3500; 250mW for SC3822; 800mW for SC4210
Antennas: 3dBi Omni Antennas (AOV3T245515575) for SC3500 and SC3822;
2.15dBi Omni Antennas (AOV2S230515) for SC4210
Bandwidth: 20MHz for SC3500; 20MHz for SC3822; 10MHz for SC4210
This equipment has been tested and found to comply with the limits for a class B digital device
pursuant to Part 15 of the FCC Rules. These limits are designed to provide reasonable protection
against harmful interference in a residential installation. This equipment generates, uses and can
radiate radio frequency energy and if not installed and used in accordance with the instructions,
may cause harmful interference to radio communications. However, there is no guarantee that
interference will not occur in a particular installation. If this equipment does cause harmful
interference to radio or television reception, which can be determined by turning the equipment
off and on, the user is encouraged to try to correct the interference by one or more of the following
measures:
* Reorient or relocate the receiving antenna.
* Increase the separation between the equipment and receiver.
* Connect the equipment into an outlet on a circuit different from that to which the receiver
is connected.
* Consult the dealer or an experienced radio/TV technician for help.
In order to maintain compliance with FCC regulations, shielded cables must be used with this
equipment. Operation with non-approved equipment or unshielded cables is likely to result in
interference to radio and TV reception. The user is cautioned that changes and modifications made
to the equipment without the approval of the manufacturer could void the user’s authority to
operate the equipment.
To satisfy RF exposure requirements, this device and its antennas must operate with a separation
distance of at least 20 cm from all persons and must not be co-located or operating in conjunction
with any other antenna or transmitter.