Snapper Lt 100 Series Users Manual PartsManual
2015-01-24
: Snapper Snapper-Lt-100-Series-Users-Manual-226633 snapper-lt-100-series-users-manual-226633 snapper pdf
Open the PDF directly: View PDF
.
Page Count: 50

Parts Manual fo
r
Revision C,
HYDRO DRIVE ELECTRIC CLUTCH
LT-100 SERIES
McDonough, GA, 30253 U.S.A.
TP 400-5330-C-TC-N
1/30/2008
Manual No. 7006261
LAWN TRACTOR
Copyright © 2008
Briggs & Startton Yard Power Products Group
Milwaukee, WI USA. All Rights Reserved
Briggs & Startton Corporation
MODEL
CLT23460 (7800344)
CLT24520 (7800345)
LT23460 (7800207)
LT24520 (7800212)
SLT23460 (7800342)
SLT24520 (7800343)

Table Of Content
s
TP 400-5330-C-TC-N
Manual No. 7006261HYDRO DRIVE ELECTRIC CLUTCH
LT-100 SERIES 3
PAGE GROUP
4Hood / Seat Group
8Steering Group
10 Main Frame Group
14 Motion Drive Group
18 Fuel Tank Group
20 Engine Group
22 46" Mower Housing Assembly
26 46" Mower Deck Group
30 50" Mower Housing Assembly
32 50" Deck Blade Drive Assembly
34 50" Deck Housing Suspension Assembly
36 52" Mower Housing Assembly
38 52" Deck Blade Drive Assembly
40 52" Deck Housing Suspension Assembly
42 Decals
44 Electrical Group
46 Wiring Schematic

TP 400-5330-C-TC-N
Manual No. 7006261 HYDRO DRIVE ELECTRIC CLUTCH
LT-100 SERIES
4

Hood / Seat Group
Footnotes:
TP 400-5330-C-TC-N
Manual No. 7006261HYDRO DRIVE ELECTRIC CLUTCH
LT-100 SERIES 5
Part No Descri
p
tionItem Qt
y
Note
1 7091016 4 HWST 1/4CX5/8
2 721487 1 BEARING, STEERING
3 7101355 1 CONSOLE TRACTOR
4 1960392 2 SCREW, PHILLIPS HD
5 1732031 1 HOOD GUIDE, RH
1732030 1 HOOD GUIDE, LH (not shown)
7 1933896 2 NUT, HEX LOCK 10C W/ NYL INSERT BZ
8 7090952 4 SCREW, 1/4-20 THREAD CUTTING
9 7101493 1 CUTTING HEIGHT INDICATOR
10 7101770 1 POD W/ DETENT
11 7101771 1 POD W/ COMPARTMENT
12 725181 1 CONTAINER, BATTERY
13 722858 16 CAPSCREW, 5/16-18
14 722411 2 SPRING, COMPRESSION 2.43LENGTH
15 7300677D 1 SEAT DECK
16 1727294D 1 PANEL HOOD RH SIDE
17 1727295D 1 PANEL HOOD LH SIDE
18 1722110D 1 HOOD, W/ LOUVERS
19 1731891 1 AIR DUCT, PLASTIC
20 1960295 12 SCREW, HEX WZ LOCK FLNG 1/4-20X0.625 BLK
21 1930641 12 HFLN, 1/4-20 LARGE BLK
22 7102076 1 CRUISE ROD LINK
23 7300820 1 LATCH, CRUISE (was 7400261, weldment)
24 7101894 1 ROD, PIVOT CRUISE
25 7300805 1 CHANNEL - CRUISE
26 7101891 1 CRUISE - ACTUATOR
27 7102074 1 PULL KNOB, 1/4-20 THREAD
28 7300696Z 1 DASH, SUPPORT BRKT RH
29 7300697Z 1 DASH, SUPPORT BRKT LH
30 7300810Z 1 BRACKET, SUPPORT CRUISE
31 7400252Z 1 WELDMENT, CLUTCH ROD SUPPORT
32 7101860 1 SEAT, HI BACK
33 721257 1 SUPPORT, SEAT
33 7300875D 1 SUPPORT, SEAT used on model SLT24520
34 720102 2 BOLT, SHOULDER 5/16-18
35 720360 2 CAP, PUSH ON
36 721259 1 ROD, PIVOT

Hood / Seat Group
TP 400-5330-C-TC-N
Manual No. 7006261 HYDRO DRIVE ELECTRIC CLUTCH
LT-100 SERIES
6

Hood / Seat Group
Footnotes:
TP 400-5330-C-TC-N
Manual No. 7006261HYDRO DRIVE ELECTRIC CLUTCH
LT-100 SERIES 7
Part No Descri
p
tionItem Qt
y
Note
37 721214 1 SPRING, LEAF
38 722851 4 SCREW 1/4-14X.38”ST-
39 720163 2 FW, .34X.62X16GA
40 721425 2 BOLT, WING, 0.62L X 5/16-18 UNC 2A
41 720101 1 BOLT, SHOULDER 1/4-20 X 3.652 2A
42 721258 1 WASHER, CUP, 1.50 OD X 0.344 ID
43 727614 1 SPRING, COMPRESSION 4.57 FREE LENGTH
44 721531 1 PIVOT, BRACKET SEAT
44 7300794D 1 BRACKET SEAT PIVOT used on model SLT24520
45 7091298 2 HLN, 5/16-18-3B YZ ESNA
46 720146 1 NUT, 1/4-20 HF
47 721276 1 PLATE, INDEX
47 7300865Z 1 PLATE, INDEX used on model SLT24520
48 720182 12 FASTENER PANEL
49 7101772 1 MAT, LEFT
50 7101773 1 MAT, RIGHT
51 7300818Z 1 STIFFENER, STEERING
52 7300772Z 1 BULKHEAD
53 7300658Z 1 HOOD, PIVOT LH
54 7300657Z 1 HOOD, PIVOT RH
55 7101657 2 BOLT, SHOULDER
56 720142 2 NUT, HEX FLANGE, 3/8-16 NC
57 7101458 1 HARNESS, HEADLIGHT, TCT, 1/4 TERMINALS
58 1727296 1 HEADLIGHT ASSY (Includes #'s 59, 60, 61, & 62)
59 1728973 1 REFLECTOR, HEADLIGHT
60 1728974 1 LENS, HEADLIGHT
61 1723451 2 SOCKET, LIGHT
62 1677371 2 BULB, 12.8V (1141)
63 1728059D 1 GRILLE, SNAPPER
64 7101810 1 INSERT, LIGHT BAR

Steering Group
TP 400-5330-C-TC-N
Manual No. 7006261 HYDRO DRIVE ELECTRIC CLUTCH
LT-100 SERIES
8

Steering Group
Footnotes:
TP 400-5330-C-TC-N
Manual No. 7006261HYDRO DRIVE ELECTRIC CLUTCH
LT-100 SERIES 9
Part No Descri
p
tionItem Qt
y
Note
1 729275 1 COVER, INTEGRA
2 727628 1 STEERING WHEEL (SOFT RIM)
3 720973 1 BELLOWS - STEERING POST
4 7101525 1 STEERING POST - 24.56” LONG
5 722867 2 CAPSCREW 5/16-18
6 721242 1 BEARING - LOWER
7 725138 1 GEAR PINION
8 720119 1 SNAP RING, 0.543”ID
9 722620 2 FW, 1.862X .765 X 16GA
10 721318 2 HUB CAP
11 7101566 2 WHEEL & TIRE ASSY, 18X6.50-8

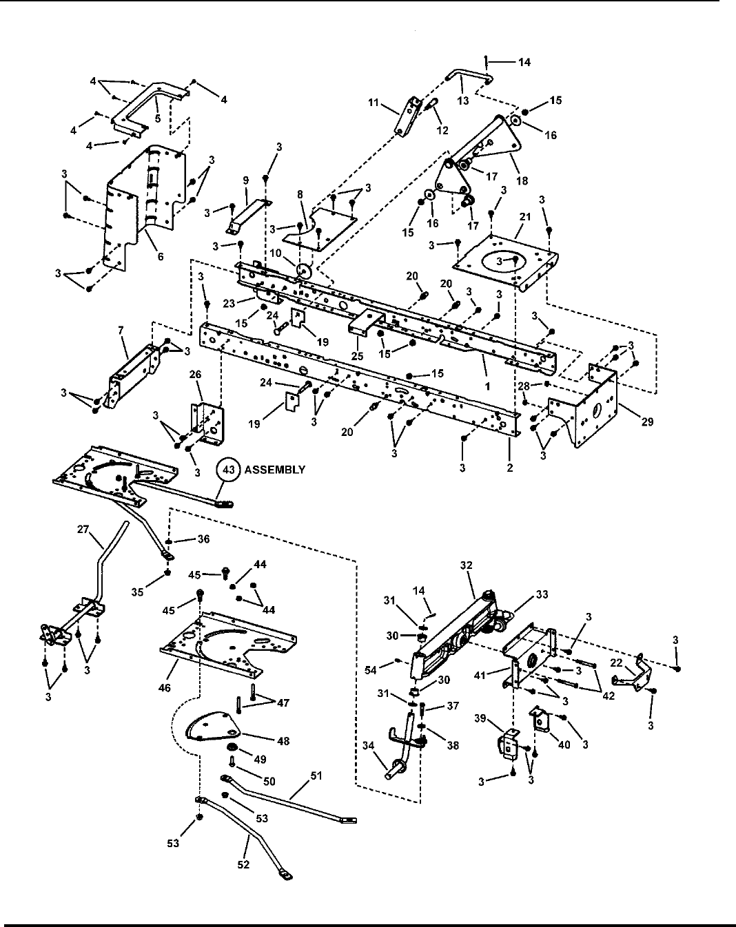
Main Frame Group
TP 400-5330-C-TC-N
Manual No. 7006261 HYDRO DRIVE ELECTRIC CLUTCH
LT-100 SERIES
10

Main Frame Group
Footnotes:
TP 400-5330-C-TC-N
Manual No. 7006261HYDRO DRIVE ELECTRIC CLUTCH
LT-100 SERIES 11
Part No Descri
p
tionItem Qt
y
Note
7400221Z 1 ASSEMBLY, MAIN FRAME (includes 1 thru 54 below)
1 7300869 1 RAIL, FRAME LH was M721603
2 7300870 1 RAIL, FRAME RH was M721604
3 722858 54 CAPSCREW 5/16-18
4 729075 5 SCREW, THREAD FORMING 10-24X.340MIN THREADS
5 7300876 1 TOP, REAR PLATE was M728900
6 7300866 1 PLATE, REAR was M728478
7 7300864 1 PLATE, HITCH was M726871
8 7300689 1 PLATE, IDLER PULLEY HYDRO GEAR
9 7300741 1 BRACKET, BATTERY SUPPORT was 7300741
10 722616 1 WASHER PLAIN .406 X 2.25
11 7300819 1 BRACKET, PIVOT was M721190
12 720099 1 SHOULDER BOLT, 1.563L X 0.75D X 9/16 X 3/8-16
13 7300877 1 LIFT HANDLE LINK was M725122
14 7091809 3 PIN, COTTER 1/8 X 1.25 YZ
15 7091619 6 HFLN, 3/8-16 YZ
16 7013866 2 WASHER 1-1/2 OD
17 725131 2 SPACER - LIFTER PIVOT
18 7500525 1 LIFTER WELDMENT
19 7300868 2 PLATE, STIFFENING was M728409
20 721221 3 PIN - THREADED SHOULDER
21 7300863 1 PLATE, ENGINE was M721187
22 7300817 1 BRACKET, MUFFLER MOUNTING was M725215
23 7300830 1 BRACKET, TRANSAXLE LH was M721271
24 7091008 2 RHSSNB, 3/8CX2-1/2
25 7500601 1 ASSY, IDLER BRKT (SECONDARY)
26 7300831 1 BRACKET, TRANSAXLE RH was M721270
27 7400237 1 WELDMENT - BRAKE LEVER
28 7092081 2 HFLN, 5/16-24 BZ
29 7300751 1 BRACKET, HANGER REAR was M721456
30 725130 4 BEARING SPINDLE
31 7010935 4 WASHER, .77X1.13X.06
32 729160 1 GT AXLE - CAST IRON
33 7400232 1 WELDMENT - SPINDLE LH
34 7400231 1 WELDMENT - SPINDLE RH
35 720142 2 NUT, HEX FLANGE, 3/8-16 NC
36 720166 2 FW, .41 X.82 X 16GA

Main Frame Group
TP 400-5330-C-TC-N
Manual No. 7006261 HYDRO DRIVE ELECTRIC CLUTCH
LT-100 SERIES
12

Main Frame Group
Footnotes:
TP 400-5330-C-TC-N
Manual No. 7006261HYDRO DRIVE ELECTRIC CLUTCH
LT-100 SERIES 13
Part No Descri
p
tionItem Qt
y
Note
37 720192 2 BOLT, HEX, 3/8-16 UNC X 1.50 BRIGHT ZINC
38 722580 2 WASHER, FLAT, 25/64” ID X 1” OD X 14 GA.
39 7300861 1 HANGER, DECK RH was M721198
40 7300860 1 HANGER, DECK LH was M721199
41 7300742 1 AXLE, HANGER was M728334
42 720211 2 HHB, 5/16-24 X 2.75 BOLT
43 7500524 1 SECTOR GEAR ASSY (GEAR DRIVE - LT)
44 7090585 3 HFLN, 5/16-18 BZ
45 720103 2 BOLT, SHOULDER 3/8-16
46 7300867Z 1 PLATE, STEERING MT
47 721293 2 SCREW - GUIDE
48 721240 1 GEAR - SECTOR
49 721241 1 BEARING - SECTOR GEAR
50 7027168 1 HHCS, 5/16-18 X 1 YZ
51 7101805Z 1 DRAG, LINK LH
52 7101806Z 1 DRAG, LINK RH
53 7091619 2 HFLN, 3/8-16 YZ
54 721095 2 FITTING - LUBRICATION (1/4-28 Self-Tap)

Motion Drive Group
TP 400-5330-C-TC-N
Manual No. 7006261 HYDRO DRIVE ELECTRIC CLUTCH
LT-100 SERIES
14

Motion Drive Group
Footnotes:
TP 400-5330-C-TC-N
Manual No. 7006261HYDRO DRIVE ELECTRIC CLUTCH
LT-100 SERIES 15
Part No Descri
p
tionItem Qt
y
Note
1 7101332 1 TRANSAXLE, HYDRO GEAR #310-0510 used on 21 H. P.
1 7101669 1 TRANSAXLE, HYDRO GEAR #310-0610 used on 23 H.P. & 24 H.P.
2 7101569 2 ASSY, WHEEL & TIRE, 22X9.50-12 (incl. next 3 items) used on 23 H.P. & 24 H.P.
7101568 1 TIRE, 22X9 50-12 2PLY K358
7101567 1 RIM, 12X7 INT W/3 5 LG HUB SILVER
7012234 1 VALVE STEM, TR 412
3 7101563 2 ASSY, WHEEL & TIRE, 20X10-8 (incl. next 3 items) used on 21 H. P.
7101562 1 TIRE, 20X10-8 2PLY K358
7101558 1 RIM, 8 X 7 BROACHED HUB WHEEL SILVER
7012234 1 VALVE STEM, TR 412
4 720215 4 HHB, 5/16-18X2.50
5 727761 1 BOLT, 3/8-16 x 2” Square Neck Carriage
6 722440 1 SPRING, Extension Lift
7 721204 1 STUD, Spring Mounting (5/16-18)
8 725137 1 STUD, Swivel (3/8-16)
9 720145 4 NUT, HEX FLANGE LOCK, 5/16-18 NC
10 722620 2 FW, 1.862X .765 X 16GA
11 720010 2 E-RING, .750D X .050T
12 721318 2 HUB CAP
13 720142 1 NUT, HEX FLANGE, 3/8-16 NC
14 2860694 2 NUT, 1/4-20 Hex Flange Lock (Nyloc)
15 7300888 1 PLATE, Forward Stop
16 7091495 2 SCREW, 1/4-20 x 3/4” Hex Head Cap, GR 5
17 7900057 3 SCREW, #12-24X.50 HWST
18 7101653 1 FAN 7.0” (TEN BLADE)
19 7035500 1 BELT, DUAL SPINDLE BRAKE HA Sect.; 85.4” Effective Length
20 720258 2 3/16 SQ KEY - REAR WHEELS
21 720139 8 HEX NUT, 5/16-18 FLANGE SER YZ
22 720018 4 BOLT, 5/16-18 x 5/8” Hex Head, GR 5
23 7300684Z 1 TORQUE BRACKET - HYDRO
24 7300701Z 1 BRKT, ROLL RELEASE
25 7101542 1 ROLL RELEASE LEVER
26 720069 5 HAIR PIN, .56D-.092T
27 7101453 1 ROD - REAR DRIVE
28 7102053 1 ROD, PIVOT DRIVE
29 7046451 1 SWIVEL, Adjustment (3/8-24)
30 7300682Z 1 BRACKET SUPPORT

Motion Drive Group
TP 400-5330-C-TC-N
Manual No. 7006261 HYDRO DRIVE ELECTRIC CLUTCH
LT-100 SERIES
16

Motion Drive Group
Footnotes:
TP 400-5330-C-TC-N
Manual No. 7006261HYDRO DRIVE ELECTRIC CLUTCH
LT-100 SERIES 17
Part No Descri
p
tionItem Qt
y
Note
31 7200130 2 SPACER, AXLE
32 722598 2 WASHER, 3/4 I.D. x 1-1/4” Flat
33 7400248Z 1 WELDMENT, FOOT CONTROL
34 1721675 1 PAD, FORWARD FOOT
35 720049 3 BOLT CARRIAGE, 5/16-18 X .62
36 727933 1 SPRING, Extension
37 7101454 1 ROD - FRONT DRIVE (3/8-24)
38 7500602 1 WELDMENT, IDLER ARM
39 722451 1 SPRING CLUTCH
40 721419 1 PIVOT BUSHING
41 725178 1 IDLER PULLEY - 3” DIA.
42 725167 1 SPACER 1/2” TO 17MM
43 725177 1 IDLER PULLEY - 2.75 DIA.
44 720148 2 NUT FLANGE, 3/8-16 ZINC PLATED
45 721420 1 NUT-TEE (3/8-16)
46 7300934 1 LINK, Clutch
47 720100 1 SHOULDER BOLT, 1/4-20X3.75
48 7101801 1 SPRING, HYDRO BRAKE
49 720164 2 WASHER, .39 Flat
50 720387 1 PIN, .090 x 3/4” Cotter
51 726795 1 LATCH - PARKING BRAKE
52 7101489 1 ROD - CLUTCH DRIVE (3/8-16)
53 7101455 1 ROD - PARKING BRAKE
54 720870 1 GRIP
55 720257 1 CLUTCH / BRAKE PEDAL

Fuel Tank Group
TP 400-5330-C-TC-N
Manual No. 7006261 HYDRO DRIVE ELECTRIC CLUTCH
LT-100 SERIES
18

Fuel Tank Group
Footnotes:
TP 400-5330-C-TC-N
Manual No. 7006261HYDRO DRIVE ELECTRIC CLUTCH
LT-100 SERIES 19
Part No Descri
p
tionItem Qt
y
Note
1 7101521 1 FUEL TANK, TRACTOR W/CAP (SNAPPER)
2 7101520 1 FUEL TANK, TRACTOR
3 727333 1 FUEL CAP (or 7101421 Cap w/tether)
4 7300653Z 1 TANK BRKT
5 722866 2 SCREW .25-20 X0.59 HEX
6 7091016 2 HWST 1/4CX5/8

Engine Group
TP 400-5330-C-TC-N
Manual No. 7006261 HYDRO DRIVE ELECTRIC CLUTCH
LT-100 SERIES
20

Engine Group
Footnotes:
TP 400-5330-C-TC-N
Manual No. 7006261HYDRO DRIVE ELECTRIC CLUTCH
LT-100 SERIES 21
Part No Descri
p
tionItem Qt
y
Note
1 1 * ENGINE, 19.5HP B&S INTEK SINGLE CYL Mod. 445577-0755-
E1
(not shown)
1 1 * ENGINE, 23HP B&S ELS 2-CYL, Mod. 44L777-0125-B1
1 1 * ENGINE, 24HP B&S, ELS, Mod. 44M777-0113-E1 (not shown)
2 720663 2 SCREW, TORX HEAD 5/16-18 X 5/8 YZ all
3 727816 1 EXHAUST TUBE SINGLE 21 H.P.
4 725220 1 EXHAUST TUBE RH 23 H.P. & 24 H.P.
5 725221 1 EXHAUST TUBE LH 23 H.P. & 24 H.P.
6 1727817 1 THROTTLE ASSY, DUAL LEVER 23 H.P. & 24 H.P.
6 1722955 1 THROTTLE, SINGLE (not shown) 21 H.P.
7 720045 4 HHST, 3/8-16X1.25 all
8 720664 2 WASHER, 5/16-18 HEX HEAD all
9 7500533Z 1 ASSY - HEAT SHIELD all
10 7101543 1 ADAPTER - ELECTRIC PTO all
11 7101706 1 CLUTCH, ANCHOR PAD all
12 7101323 1 CLUTCH, ELECTRIC OGURA all
13 722861 4 SCREW - THREAD FORMING, 0.88 X 3/16-15 all
14 728664 1 BRKT - MUFFLER all
15 722866 1 SCREW .25-20 X0.59 HEX all
16 722605 1 WASHER .470- 1.00.25 FLT all
17 720183 1 WASHER, .43-.074 X .04 STAR all
18 721325 1 MUFFLER - SINGLE 21 H.P.
19 721180 1 MUFFLER 23 H.P. & 24 H.P.
20 7300662 1 GUARD, HEAT SHIELD (EURO) 23 H.P.
NOTE: * Purchase engine parts from engine manufacturer dealer.

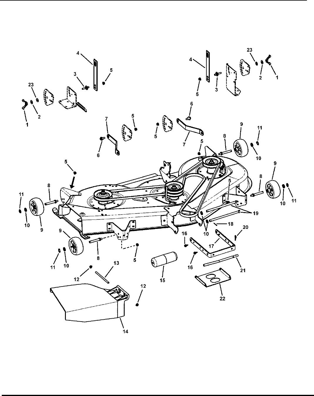
46" Mower Housing Assembly
TP 400-5330-C-TC-N
Manual No. 7006261 HYDRO DRIVE ELECTRIC CLUTCH
LT-100 SERIES
22

46" Mower Housing Assembly
Footnotes:
TP 400-5330-C-TC-N
Manual No. 7006261HYDRO DRIVE ELECTRIC CLUTCH
LT-100 SERIES 23
Part No Descri
p
tionItem Qt
y
Note
1 7300671 1 MOWER DECK HOUSING, 46”
2 722397 3 NUT-NYLOCK RING - PULLEY 9/16-18
3A 726069 2 S.S. PULLEY 46”
3B 7101744 2 PULLEY
4 721447 3 JACKSHAFT HOUSING ASSY
5 726958 1 SHAFT, SPLINED (per Jackshaft Housing
Assembly)
6 726957 2 BALL BEARING, JACKSHAFT (per Jackshaft Housing
Assembly)
7 726959 1 JACKSHAFT HOUSING (per Jackshaft Housing
Assembly)
8 721095 1 FITTING - LUBRICATION (1/4-28 Self-Tap) (per Jackshaft Housing
Assembly)
9 720097 2 SHOULDER BOLT, 3/8-16X1.06
10 726498 2 PLATE SUSPENSION
11 722511 1 SPRING, TORSION RH
12 720049 19 BOLT CARRIAGE, 5/16-18 X .62
13 726831 1 BRACKET, RIGHT REAR
14 720139 3 HEX NUT, 5/16-18 FLANGE SER YZ
15 720142 2 NUT, HEX FLANGE, 3/8-16 NC
16 722485 1 SPRING
17 726830 1 BRACKET, BELL CRANK
18 720045 15 HHST, 3/8-16X1.25
19 728320 1 BRACKET, COVER
20 7400226 1 ASSY - IDLER ARM, 46”, RH
21 720091 5 SHOULDER BOLT, 0.75 X 0.60 X 3/8-16
22 720989 1 GUIDE, BELT
23 721308 1 BRACKET - BRAKE MTG 46'
24 721310 1 BRACKET, BRAKE PLATE
25 722858 4 CAPSCREW 5/16-18
26 720145 6 NUT, HEX FLANGE LOCK, 5/16-18 NC
27 727317 1 BRACKET, LEFT GAUGE WHEEL
28 725149 1 BRACKET, PULLEY COVER
29 721309 1 BRACKET, LEFT LIFTER
30 722512 1 SPRING, TORSION RH
31 728319 1 BRACKET, HINGE
32 721446 2 SPACER, PULLEY
33 725179 3 BLADE ADAPTER
34 720658 3 BLADE (15.68")
35 722601 3 WASHER-BELLEVILLE 1.0 X .625 X .200
36 722600 3 WASHER - HARDENED 1.0OD X .625ID X .188

46" Mower Housing Assembly
TP 400-5330-C-TC-N
Manual No. 7006261 HYDRO DRIVE ELECTRIC CLUTCH
LT-100 SERIES
24

46" Mower Housing Assembly
Footnotes:
TP 400-5330-C-TC-N
Manual No. 7006261HYDRO DRIVE ELECTRIC CLUTCH
LT-100 SERIES 25
Part No Descri
p
tionItem Qt
y
Note
37 722382 3 NUT, BLADE, 9/16-18 ZINC PLATE YELLOW CHROMATE
38 720908 2 GUIDE, SCREW
39 721364 1 BRACKET, RIGHT GAUGE WHEEL
40 728906 1 BRACKET, FRONT DECK
41 720053 1 CARRIAGE BOLT
42 720372 1 BOLT RETAINER

46" Mower Deck Group
TP 400-5330-C-TC-N
Manual No. 7006261 HYDRO DRIVE ELECTRIC CLUTCH
LT-100 SERIES
26

46" Mower Deck Group
Footnotes:
TP 400-5330-C-TC-N
Manual No. 7006261HYDRO DRIVE ELECTRIC CLUTCH
LT-100 SERIES 27
Part No Descri
p
tionItem Qt
y
Note
1 721222 2 KNOB
2 720161 2 WASHER FLAT, 1.0 X .328 X 16GA
3 721250 2 FRICTION PAD
4 721402 2 PIN - HANGER 3/8-16 X 1.25
5 725226 2 LINK, LIFT
6 722579 3 WASHER - FLAT, 1.0”OD X 0.550”
7 720069 2 HAIR PIN, .56D-.092T
8 720098 2 SHOULDER BOLT, 3/8-16 X .600OD X.95L
9 725230 2 BRACKET, REAR SUSPENSION
10 720142 6 NUT, HEX FLANGE, 3/8-16 NC
11 721313 1 COVER, LEFT PULLEY
12 722871 3 SCREW
13 721315 1 COVER, RIGHT PULLEY
14 729075 2 SCREW, THREAD FORMING 10-24X.340MIN THREADS
15 720416 1 BELT, PRIMARY (88.30" HA) 46” MOWER
16 720404 1 BELT, SECONDARY (47.10" HA) 46” MOWER
17 720148 2 NUT FLANGE, 3/8-16 ZINC PLATED
18 725225 1 PULLEY IDLER
19 720091 3 SHOULDER BOLT, 0.75 X 0.60 X 3/8-16
20 7500566 1 BRAKE ASSEMBLY CENTER
21 727459 1 LINK BELLCRANK
22 720163 1 FW, .34X.62X16GA
23 720387 1 PIN - COTTER, 0.75 X 0.090
24 722441 1 SPRING
25 721311 1 BELLCRANK
26 722510 2 SPRING, TORSION BRAKE
27 725171 1 PULLEY BACKSIDE IDLER, 4.0 OD
28 725167 2 SPACER 1/2” TO 17MM
29 7400227 1 ASSY - IDLER ARM, 46”
30 7500565 1 ASSY - BRAKE LH 46”
31 720392 2 CLIP - HAIR PIN
32 720173 2 WASHER, FLAT, .81 X .550 X 16GA
33 721118 2 WHEEL GAGE
34 721197 2 BOLT AXLE, 3/8-16 X 3.0
35 721376 2 ROD, DECK SUSPENSION
36 721263 1 ROD, HANGER
37 722858 2 CAPSCREW 5/16-18

46" Mower Deck Group
TP 400-5330-C-TC-N
Manual No. 7006261 HYDRO DRIVE ELECTRIC CLUTCH
LT-100 SERIES
28

46" Mower Deck Group
Footnotes:
TP 400-5330-C-TC-N
Manual No. 7006261HYDRO DRIVE ELECTRIC CLUTCH
LT-100 SERIES 29
Part No Descri
p
tionItem Qt
y
Note
38 721346 1 BRACKET, FRONT SUSPENSION
39 721312 1 STIFFENER
40 720390 1 COTTER PIN
41 721453 1 ROLLER
42 720983 1 DEFLECTOR, INSIDE
43 720982 1 DEFLECTOR, CHUTE
44 720360 1 CAP, PUSH ON
45 722504 1 SPRING - TORSION
46 721017 1 ROD, DEFLECTOR

50" Mower Housing Assembly
TP 400-5330-C-TC-N
Manual No. 7006261 HYDRO DRIVE ELECTRIC CLUTCH
LT-100 SERIES
30

50" Mower Housing Assembly
Footnotes:
TP 400-5330-C-TC-N
Manual No. 7006261HYDRO DRIVE ELECTRIC CLUTCH
LT-100 SERIES 31
Part No Descri
p
tionItem Qt
y
Note
1 726814 1 BLADE HOUSING 50/52
2 722858 4 CAPSCREW 5/16-18
3 720049 26 BOLT CARRIAGE, 5/16-18 X .62
4 720139 20 HEX NUT, 5/16-18 FLANGE SER YZ
5 720145 3 NUT, HEX FLANGE LOCK, 5/16-18 NC
6 726824 1 BRACKET GAGE WHEEL RH REAR
7 720097 2 SHOULDER BOLT, 3/8-16X1.06
8 726498 2 PLATE SUSPENSION
9 722511 1 SPRING, TORSION RH
10 722512 1 SPRING, TORSION RH
11 726373 1 BRACKET LIFTER RH 50”
12 720142 2 NUT, HEX FLANGE, 3/8-16 NC
13 728319 1 BRACKET, HINGE
14 727152 1 BRACE LH LIFTER
15 726473 1 BRACKET LIFTER LH
16 726823 1 BRACKET GAGE WHEEL LH REAR
17 721457 2 BRACKET GAGE WHEEL 52”
18 721336 1 BRACKET FRONT DECK 50”
19 726790 1 BAFFLE 48/52 RH BOTTOM
20 721399 1 BRACKET CHUTE SUPPORT

50" Deck Blade Drive Assembly
TP 400-5330-C-TC-N
Manual No. 7006261 HYDRO DRIVE ELECTRIC CLUTCH
LT-100 SERIES
32

50" Deck Blade Drive Assembly
Footnotes:
TP 400-5330-C-TC-N
Manual No. 7006261HYDRO DRIVE ELECTRIC CLUTCH
LT-100 SERIES 33
Part No Descri
p
tionItem Qt
y
Note
1 7500607 1 ASSY, MOWER HOUSING 48/50/52”
2 721447 3 JACKSHAFT HOUSING ASSY
3 721446 1 SPACER, PULLEY (per Jackshaft Housing
Assembly)
4 726957 2 BALL BEARING, JACKSHAFT (per Jackshaft Housing
Assembly)
5 726958 1 SHAFT, SPLINED (per Jackshaft Housing
Assembly)
6 726959 1 JACKSHAFT HOUSING (per Jackshaft Housing
Assembly)
7 721095 1 FITTING - LUBRICATION (1/4-28 self-Tap) (per Jackshaft Housing
Assembly)
8 720142 1 NUT, HEX FLANGE, 3/8-16 NC
9 725179 3 BLADE ADAPTER
10 721334 3 BLADE 50/52 (17.66")
11 722600 6 WASHER - HARDENED 1.0OD X .625ID X .188
12 722382 3 NUT, BLADE, 9/16-18 ZINC PLATE YELLOW CHROMATE
13 720192 1 BOLT, HEX, 3/8-16 UNC X 1.50 BRIGHT ZINC
14 7090122 1 WASHER, 3/8” Flat SAE
15 721385 1 PULLEY BACKSIDE IDLER
16 7300924 1 ARM - IDLER ref. 725117 & 7300922)
17 720148 1 NUT FLANGE, 3/8-16 ZINC PLATED
18 720139 2 HEX NUT, 5/16-18 FLANGE SER YZ
19 720049 2 BOLT CARRIAGE, 5/16-18 X .62
20 7300923 1 BRACKET - BRAKE MOUNTING ref. 726514
21 720091 1 SHOULDER BOLT, 0.75 X 0.60 X 3/8-16
22 726842 1 BELT SECONDARY 52.75" HA
23 726855 1 V-BELT A WEDGE 103.10 HA ref. 1734048
24 726069 4 S.S. PULLEY 46”
25 726507 3 NUT PULLEY
26 721313 1 COVER, LEFT PULLEY
27 722871 3 SCREW
28 722859 2 SCREW THREAD FORMING
29 721315 1 COVER, RIGHT PULLEY
30 720045 15 HHST, 3/8-16X1.25
31 728320 1 BRACKET, COVER
32 722438 1 SPRING, EXTENSION
33 7400265 1 ASSEMB-IDLER ARM 50” (was 721338)
34 725167 1 SPACER 1/2” TO 17MM
35 725225 1 PULLEY IDLER
36 721081 1 ROD BELT GUIDE
37 725149 1 BRACKET, PULLEY COVER

50" Deck Housing Suspension Assembly
TP 400-5330-C-TC-N
Manual No. 7006261 HYDRO DRIVE ELECTRIC CLUTCH
LT-100 SERIES
34

50" Deck Housing Suspension Assembly
Footnotes:
TP 400-5330-C-TC-N
Manual No. 7006261HYDRO DRIVE ELECTRIC CLUTCH
LT-100 SERIES 35
Part No Descri
p
tionItem Qt
y
Note
7500606 1 ASSY, BLADE DRIVE 50/52”
1 721380 2 WINGNUT
2 720161 2 WASHER FLAT, 1.0 X .328 X 16GA
3 721402 2 PIN - HANGER 3/8-16 X 1.25
4 728667 2 LINK, LIFT ref. 7300921D
5 720142 8 NUT, HEX FLANGE, 3/8-16 NC
6 720098 2 SHOULDER BOLT, 3/8-16 X .600OD X.95L
7 721212 2 BRACKET, REAR SUSPENSION ref. 7300826D
8 721197 4 BOLT AXLE, 3/8-16 X 3.0
9 721118 4 WHEEL GAGE
10 722579 6 WASHER - FLAT, 1.0”OD X 0.550”
11 720392 4 CLIP - HAIR PIN
12 720360 2 CAP, PUSH ON
13 721017 1 ROD, DEFLECTOR
14 720982 1 DEFLECTOR, CHUTE
15 721453 1 ROLLER
16 722858 4 CAPSCREW 5/16-18
17 728665 1 BRACKET, SUSPENSION FRONT ref. 7300767D
18 720390 1 COTTER PIN
19 721376 2 ROD, DECK SUSPENSION
20 720069 2 HAIR PIN, .56D-.092T
21 721263 1 ROD, HANGER
22 721312 1 STIFFENER ref. 7300871D
23 720185 4 WASHER

52" Mower Housing Assembly
TP 400-5330-C-TC-N
Manual No. 7006261 HYDRO DRIVE ELECTRIC CLUTCH
LT-100 SERIES
36

52" Mower Housing Assembly
Footnotes:
TP 400-5330-C-TC-N
Manual No. 7006261HYDRO DRIVE ELECTRIC CLUTCH
LT-100 SERIES 37
Part No Descri
p
tionItem Qt
y
Note
1 726814 1 BLADE HOUSING 50/52
2 722858 4 CAPSCREW 5/16-18
3 720049 26 BOLT CARRIAGE, 5/16-18 X .62
4 720139 20 HEX NUT, 5/16-18 FLANGE SER YZ
5 720145 3 NUT, HEX FLANGE LOCK, 5/16-18 NC
6 726824 1 BRACKET GAGE WHEEL RH REAR
7 720097 2 SHOULDER BOLT, 3/8-16X1.06
8 726498 2 PLATE SUSPENSION
9 722511 1 SPRING, TORSION RH
10 722512 1 SPRING, TORSION RH
11 726373 1 BRACKET LIFTER RH 50”
12 720142 2 NUT, HEX FLANGE, 3/8-16 NC
13 728319 1 BRACKET, HINGE
14 727152 1 BRACE LH LIFTER
15 726473 1 BRACKET LIFTER LH
16 726823 1 BRACKET GAGE WHEEL LH REAR
17 721457 2 BRACKET GAGE WHEEL 52”
18 721336 1 BRACKET FRONT DECK 50”
19 726790 1 BAFFLE 48/52 RH BOTTOM
20 721399 1 BRACKET CHUTE SUPPORT

52" Deck Blade Drive Assembly
TP 400-5330-C-TC-N
Manual No. 7006261 HYDRO DRIVE ELECTRIC CLUTCH
LT-100 SERIES
38

52" Deck Blade Drive Assembly
Footnotes:
TP 400-5330-C-TC-N
Manual No. 7006261HYDRO DRIVE ELECTRIC CLUTCH
LT-100 SERIES 39
Part No Descri
p
tionItem Qt
y
Note
1 7500607 1 ASSY, MOWER HOUSING 48/50/52”
2 721447 3 JACKSHAFT HOUSING ASSY
3 721446 1 SPACER, PULLEY (per Jackshaft Housing
Assembly)
4 726957 2 BALL BEARING, JACKSHAFT (per Jackshaft Housing
Assembly)
5 726958 1 SHAFT, SPLINED (per Jackshaft Housing
Assembly)
6 726959 1 JACKSHAFT HOUSING (per Jackshaft Housing
Assembly)
7 721095 1 FITTING - LUBRICATION (1/4-28 self-Tap) (per Jackshaft Housing
Assembly)
8 720142 1 NUT, HEX FLANGE, 3/8-16 NC
9 725179 3 BLADE ADAPTER
10 721334 3 BLADE 50/52 (17.66")
11 722600 6 WASHER - HARDENED 1.0OD X .625ID X .188
12 722382 3 NUT, BLADE, 9/16-18 ZINC PLATE YELLOW CHROMATE
13 720192 1 BOLT, HEX, 3/8-16 UNC X 1.50 BRIGHT ZINC
14 7090122 1 WASHER, 3/8” Flat SAE
15 721385 1 PULLEY BACKSIDE IDLER
16 7300924D 1 ARM - IDLER ref. 725117 & 7300922)
17 720148 1 NUT FLANGE, 3/8-16 ZINC PLATED
18 720139 2 HEX NUT, 5/16-18 FLANGE SER YZ
19 720049 2 BOLT CARRIAGE, 5/16-18 X .62
20 7300923 1 BRACKET - BRAKE MOUNTING ref. 726514
21 720091 1 SHOULDER BOLT, 0.75 X 0.60 X 3/8-16
22 726842 1 BELT SECONDARY 52.75” HA
23 1734048 1 V-BELT A WEDGE 103.10" HA ref. 726855 -52
24 726069 4 S.S. PULLEY 46”
25 726507 3 NUT PULLEY
26 721313 1 COVER, LEFT PULLEY
27 722871 3 SCREW
28 722859 2 SCREW THREAD FORMING
29 721315 1 COVER, RIGHT PULLEY
30 720045 15 HHST, 3/8-16X1.25
31 728320 1 BRACKET, COVER
32 722438 1 SPRING, EXTENSION
33 7400265 1 ASSEMB-IDLER ARM 50” (was 721338)
34 725167 1 SPACER 1/2” TO 17MM
35 725225 1 PULLEY IDLER
36 721081 1 ROD BELT GUIDE
37 725149 1 BRACKET, PULLEY COVER

52" Deck Housing Suspension Assembly
TP 400-5330-C-TC-N
Manual No. 7006261 HYDRO DRIVE ELECTRIC CLUTCH
LT-100 SERIES
40

52" Deck Housing Suspension Assembly
Footnotes:
TP 400-5330-C-TC-N
Manual No. 7006261HYDRO DRIVE ELECTRIC CLUTCH
LT-100 SERIES 41
Part No Descri
p
tionItem Qt
y
Note
7500606 1 ASSY, BLADE DRIVE 50/52”
1 721380 2 WINGNUT
2 720161 2 WASHER FLAT, 1.0 X .328 X 16GA
3 721402 2 PIN - HANGER 3/8-16 X 1.25
4 7300921D 2 LINK, LIFT
5 720142 8 NUT, HEX FLANGE, 3/8-16 NC
6 720098 2 SHOULDER BOLT, 3/8-16 X .600OD X.95L
7 7300826D 2 BRACKET, REAR SUSPENSION
8 721197 4 BOLT AXLE, 3/8-16 X 3.0
9 721118 4 WHEEL GAGE
10 722579 6 WASHER - FLAT, 1.0”OD X 0.550”
11 720392 4 CLIP - HAIR PIN
12 720360 2 CAP, PUSH ON
13 721017 1 ROD, DEFLECTOR
14 720982 1 DEFLECTOR, CHUTE
15 721453 1 ROLLER
16 722858 4 CAPSCREW 5/16-18
17 7300767D 1 BRACKET, SUSPENSION FRONT
18 720390 1 COTTER PIN
19 721376 2 ROD, DECK SUSPENSION
20 720069 2 HAIR PIN, .56D-.092T
21 721263 1 ROD, HANGER
22 7300871D 1 STIFFENER
23 720185 4 WASHER

Decals
TP 400-5330-C-TC-N
Manual No. 7006261 HYDRO DRIVE ELECTRIC CLUTCH
LT-100 SERIES
42

Decals
Footnotes:
TP 400-5330-C-TC-N
Manual No. 7006261HYDRO DRIVE ELECTRIC CLUTCH
LT-100 SERIES 43
Part No Descri
p
tionItem Qt
y
Note
1 7102191 1 DECAL, Snapper Name Plate, RH
2 7102192 1 DECAL, Snapper Name Plate, LH
3 7101965 1 DECAL, Ignition
4 7102196 1 DECAL, Snapper Logo, Rear
5 7102211 1 DECAL, Snapper Logo, Steering Wheel
6 7101933 1 DECAL, Operation
7 7101937 1 DECAL, Deck Level
8 7102197 1 DECAL, 19.5 hp (not shown)
8 7102198 1 DECAL, 23 hp
8 7102199 1 DECAL, 24 hp (not shown)
9 7101936 1 DECAL, Drive Pedal
10 7102193 1 DECAL, 46” Deck (not shown)
10 7102194 1 DECAL, 42” Deck (not shown)
10 7102195 1 DECAL, 52” Deck
11 7101939 1 DECAL, Belt/Clutch
12 7101938 1 DECAL, Height of Cut
13 7101934 1 DECAL, Park Brake
14 7101940 1 DECAL, Weight Limitation
15 7101935 1 DECAL, Roll Release
16 7101394 1 DECAL, Warning, Rear Discharge Door
17 724017 1 DECAL, Gage Wheel Instruction
7101663 1 DECAL-Umber (not shown)
7101664 1 DECAL-No Step (not shown)
7101665 1 DECAL, Danger Do Not Operate w/o Deflector (not shown)
7102210 1 DECAL, Height of Cut Snapper (not shown)
724023 1 DECAL, Deck Level (not shown)
724026 1 DECAL, Gage Wheel Leveling (not shown)

Electrical Group
TP 400-5330-C-TC-N
Manual No. 7006261 HYDRO DRIVE ELECTRIC CLUTCH
LT-100 SERIES
44

Electrical Group
Footnotes:
TP 400-5330-C-TC-N
Manual No. 7006261HYDRO DRIVE ELECTRIC CLUTCH
LT-100 SERIES 45
Part No Descri
p
tionItem Qt
y
Note
1 7101446 1 HARNESS, WIRING, HYDRO TCT, ELEC PTO
2 721516 1 SWITCH, LIMIT, NO, SNAP-IN
3 721249 1 SWITCH, LIMIT, NO/NC, SNAP-IN
4 720123 2 WINGNUT, 1/4-20 NC-2 TAP
5 720349 1 CABLE, BAT 8GA 12.00L - BLACK
6 720057 2 CARRIAGE BOLT, 0.63L X 1/4-20 2A
7 720588 1 BOOT, BATTERY POSITIVE
8 720348 1 CABLE, BAT 8GA 18.00L - RED
9 7060618 1 BATTERY, 12 VOLT, 230 CCA replaces 7100449
10 1722887 1 SWITCH, PTO, YELLOW, VERTICAL SYMBOLS
11 7026343 1 SWITCH, IGNITION-AFTERFIRE SOLENOID
12 727338 1 CAP, IGNITION SWITCH
13 721461 1 KEY, IGNITION
14 722851 3 SCREW, 1/4-14X.38”ST
15 722393 2 NUT, HEX LOCK 1/4-20 BZ
16 721615 1 SOLENOID, 3 POLE
17 7023354 1 SWITCH, SEAT
1726556 1 SWITCH, REV MOW OPTION MODULE ONLY W/KEY (not shown)
1726557 1 KEY (CHERRY) (not shown)
1727185 1 KEY W/ HANG TAG (not shown)

Wiring Schematic
TP 400-5330-C-TC-N
Manual No. 7006261 HYDRO DRIVE ELECTRIC CLUTCH
LT-100 SERIES
46

Wiring Schematic
Footnotes:
TP 400-5330-C-TC-N
Manual No. 7006261HYDRO DRIVE ELECTRIC CLUTCH
LT-100 SERIES 47
Part No Descri
p
tionItem Qt
y
Note
1 1 Wiring Schematic for Harness # 7101446

Parts Manual fo
r
HYDRO DRIVE ELECTRIC CLUTCH
LT-100 SERIES
IT IS THE POLICY OF BRIGGS & STRATTON CORP TO IMPROVE ITS
PRODUCTS WHENEVER IT IS POSSIBLE AND PRACTICAL TO DO SO.
WE RESERVE THE RIGHT TO MAKE CHANGES OR ADD
IMPROVEMENTS AT ANY TIME WITHOUT INCURRING ANY
OBLIGATION TO MAKE SUCH CHANGES ON PRODUCTS
Revision C, TP 400-5330-C-TC-N
1/30/2008
Manual No. 7006261
McDonough, GA, 30253 U.S.A.
LAWN TRACTOR
Copyright © 2008
Briggs & Startton Yard Power Products Group
Milwaukee, WI USA. All Rights Reserved
Briggs & Startton Corporation