South Surveying and Mapping Instrument S82-T THE SOUTH S82-T IS A RTK GNSS RECEIVER WHICH IS INTEGRATED WITH BLUETOOTH DEVICE BUILT FOR PRECISION, RELIABILITY AND USER FRIENDLINESS User Manual S82T FCC
South Surveying & Mapping Instrument Co., Ltd THE SOUTH S82-T IS A RTK GNSS RECEIVER WHICH IS INTEGRATED WITH BLUETOOTH DEVICE BUILT FOR PRECISION, RELIABILITY AND USER FRIENDLINESS S82T FCC
Users Manual

Contents
Conte
nt
s
C
o
n
t
en
t
s......................................................................................................................................
1
C
hap
t
er
I
:
A
b
r
ief
in
t
r
o
du
ct
ion
o
f
S
82
T
..........................................................................
2
C
hap
t
er
II
:
S8
2
T
r
ec
ei
ve
r
ma
in
un
it
................................................................................
3
C
hap
t
er
Ⅲ
:
S8
2T
a
cc
ess
o
r
ies
.............................................................................................
6
C
hap
t
er
IV
:
S8
2T
O
perat
ions
.............................................................................................
1 3
Chapter
I
A
brief
introduction
of
S82T
The
SO
U
T
H
S
82
T
is
a
R
TK
G
N
SS
r
eceIII
er
,
b
ui
lt
f
o
r
pr
eci
s
io
n,
r
eli
ab
ili
t
y
and
us
er
f
ri
end
li
ne
ss
.
S
82
T
is
abl
e
t
o
r
ec
eIII
e
G
P
S
s
igna
ls
,
and
al
s
o
s
a
t
ell
it
e
s
igna
ls
f
r
o
m
G
L
O
NA
SS
and
GALIL
E
O
.
The
S
82
T
m
ai
n
r
ec
eIII
e
r
un
i
t
is
in
t
eg
r
a
t
e
d
wit
h
G
NSS
an
t
enna
in
t
er
f
ac
e,
G
NSS
m
odu
le,
Blu
et
oo
t
h
deIVice
t
o
f
ac
ili
t
a
t
e
w
o
r
ki
ng
c
on
IV
eni
ence
f
o
r
t
he
us
e
r
.
The
S
82
T
r
eceIII
er
is
li
g
h
t
w
eig
h
t
an
d
s
t
ur
dy,
an
d
d
e
s
igne
d
f
o
r r
ug
g
e
d
usag
e.
Th
e
r
eceIIIe
r
ho
us
in
g
is
w
a
t
er
p
r
oo
f
a
nd
du
s
t
pr
oo
f
,
an
d
bu
i
lt
wi
t
h
s
up
erio
r
m
a
t
er
ia
l
t
o
wit
hs
t
an
d
l
o
ng
la
s
t
in
g
oper
a
t
io
n
i
n
t
he
field.
Thi
s
deIVice
c
o
mpl
ie
s
wit
h
P
art
15
o
f
t
he
F
CC
Rul
e
s
.
O
p
er
a
t
io
n
is
s
ub
ject
t
o
t
he
f
o
ll
o
win
g
t
w
o
c
ond
it
io
ns
:
(1)
t
hi
s
deIVic
e
m
a
y
no
t
c
au
s
e
ha
r
m
ful
in
t
er
f
e
r
ence,
an
d
(2)
t
hi
s
deIVic
e
m
us
t
ac
cept
any
in
t
er
f
er
ence
r
eceIII
e
d,
i
n
cl
ud
in
g
in
t
er
f
e
r
ence
t
ha
t
may
c
au
s
e
und
e
s
ir
e
d
o
pe
r
a
t
io
n.
CA
UTION:
a) The disposal of electric and electronic device as solid urban waste is strictly prohibited:
they must be collected separately.
b) Contact Local Authorities to obtain practical information about correct handling of the
waste, location and times of waste collection centres. When you buy a new device of ours,
you can give back to our dealer a used similar device.
c) The dumping of these devices at unequipped or unauthorized places may have hazardous
effects on health and environment.
d) The crossed dustbin symbol means that the device must be taken to authorized collection
centres and must be handled separately from solid urban waste.
NOTES:
The treatment, recycling, collection and disposal of electric and electronic devices may vary
in accordance with the laws in force in the Country in question.

Chapter
II
S82T
receIIIer
main
unit
II.
1
The
rec
eIIIer
m
a
in
body
Ther
e
ar
e
t
hr
ee
p
art
s
t
o
t
he
m
ai
n
un
it
:
t
he
c
o
IV
er
,
a
pr
o
t
ectIII
e
r
ubb
er
r
in
g
an
d
t
he
m
a
i
n
s
t
r
uc
t
ur
e.
The
c
o
IV
e
r
p
r
o
t
ec
t
s
t
he
G
NSS
an
t
enna
in
s
id
e.
Th
e
p
r
o
t
ectIII
e
r
ubb
er
ri
ng
ha
s
t
he
func
t
io
n
o
f
a
dd
it
io
na
l
pr
o
t
ec
t
io
n
ag
ai
ns
t
w
a
t
er
an
d
du
s
t
.
The
di
s
pl
a
y
LE
D
p
an
el
a
nd
c
on
t
r
o
l
k
e
y
s
ar
e
in
t
eg
r
a
t
e
d
in
t
o
f
r
on
t
o
f
t
he
m
ai
n
s
t
r
uc
t
ur
e.
All
t
he
o
t
her
s
c
o
m
po
nen
t
s
o
f
t
he
r
ec
eIII
e
r
(
Blu
et
oo
t
h
d
eIV
ic
e,
.
)
a
r
e
c
on
t
aine
d
i
ns
id
e
t
he
ma
in
s
t
r
uc
t
ur
e
o
f
t
he
r
ec
eIII
e
r
.
F
ig.
2.1
–
S
82
T
m
ai
n
un
it
II.
2
I
n
t
erf
ac
e
s
The
in
t
er
f
ac
e
s
ar
e
s
ho
wn
in
F
ig.2-2
:
t
he
le
ft
po
r
t
is
us
e
d
f
o
r
e
xt
e
r
na
l
po
w
er
s
up
pl
y
a
nd
e
xt
er
na
l
t
r
an
s
m
it
t
in
g
r
a
di
o
(
fIII
e
pi
ns
LEMO
),
t
he
r
ig
h
t
po
r
t
is
us
e
d
f
o
r
da
t
a
t
r
an
s
f
e
rr
in
g
b
etw
e
en
r
eceIIIe
r
an
d
c
o
m
pu
t
er
o
r
bet
w
ee
n
r
eceIII
er
an
d
t
he
ha
ndheld
c
on
t
r
o
ll
er
(
ni
n
e
pi
ns
s
er
ia
l
po
r
t
).

F
ig.
2.3
–
5-
pi
ns
L
EMO
c
onnecto
r
F
ig.
2.4
–
9-
pi
ns
c
onnecto
r
II.3
I
ndica
t
or
ligh
ts
and
ins
tru
m
en
t
s
e
tup
5
7
1.
F
un
ctio
n
K
e
y
3
2.
P
o
w
er
K
e
y
3.
S
t
a
t
us
li
g
ht
4.
Da
t
a
l
in
k
li
g
h
t
1 2
5.
Blu
et
oo
t
h
l
ig
h
t
6
6.
S
a
t
ell
it
e
li
g
h
t
4
li
gh
t
s
F
ig
.
2.5
–
S
82
T
k
e
y
s
and
indi
c
at
o
r
8
7.
Bui
lt
-
in
po
w
er
s
up
pl
y
ligh
t
8.
Ext
er
na
l
po
w
er
s
up
pl
y
ligh
t

As
y
ou
s
ee
by
t
h
e
fig
ur
e
2.6
t
he
r
e
a
r
e
t
h
r
ee
s
et
s
o
f
indi
c
a
t
o
r
LEDs
,
e
ac
h
wit
h
t
w
o
di
ff
e
r
en
t
c
o
lo
r
s
and
t
w
o
di
ff
er
en
t
f
un
ctio
ns
.
F
r
o
m
t
he
le
ft
t
o
t
he
r
ig
h
t
ar
e
:
1
st
indi
c
a
t
o
r
:
s
t
a
t
us
indi
c
a
t
o
r
li
g
h
t
(
r
e
d
),
da
t
a
l
in
k
indi
c
a
t
o
r
li
g
h
t
(
g
r
e
en)
2
nd
indi
c
a
t
o
r
:
Blu
et
oo
t
h
i
nd
i
c
a
t
o
r
li
g
h
t
(
r
e
d)
,
s
a
t
ell
it
e
indi
c
a
t
o
r
li
g
h
t
(
g
r
ee
n)
3
rd
indi
c
a
t
o
r
:
Ba
tt
er
y
po
w
er
l
ig
h
t
(
r
e
d
),
e
xt
er
na
l
po
w
er
s
upply
indi
c
a
t
o
r
li
g
h
t
(
g
r
ee
n).
The
d
e
s
crip
t
io
ns
o
f
t
he
LEDs
ar
e
a
s
f
o
ll
o
w
s
B
AT
(
re
d
)
:
Bui
lt
-
in
po
w
er
s
up
pl
y
ligh
t
(
F
ig.2.7).
The
s
t
a
t
us
o
f
t
he
ba
tt
er
y
po
w
er
s
up
pl
y
ar
e
indi
c
a
t
e
d
a
s
f
o
ll
o
w
s
1.
F
ix
e
d
:
Ba
tt
er
y
po
w
e
r
s
up
pl
y
in
g
ood
c
ond
it
io
n
.
2.
F
la
s
hi
ng
:
Ba
tt
er
y
po
w
er
s
up
pl
y
lo
w
.
U
s
ua
ll
y
w
h
en
t
he
li
g
h
t
beg
in
s
t
o
f
la
s
h
y
ou
h
a
IV
e
o
ne
hou
r
o
f
po
w
e
r
le
ft
.
S
82
T
U
ser
ma
nu
a
l
F
ig.
2.6
–
S
82
T
ba
tt
er
y
po
w
e
r
LED
PW
R
(
green
)
:
e
xt
e
r
na
l
po
w
e
r
s
up
pl
y
ligh
t
(
F
ig.
2.7).
The
s
t
a
t
us
o
f
t
he
e
xt
e
r
na
l
po
w
er
s
up
pl
y
ar
e
indi
c
a
t
e
d
a
s
f
o
ll
o
w
s
1.
F
ix
e
d
:
Ext
e
r
na
l
po
w
er
s
up
pl
y
in
g
ood
c
ond
it
io
n.
2.
F
la
s
hi
ng
:
Ext
er
na
l
po
w
er
s
up
pl
y
lo
w

F
ig.
2.7
–
S
82
T
e
xt
er
n
al
po
w
er
L
ED
B
T
(
re
d
)
:
Blu
et
oo
t
h
i
nd
ic
a
t
o
r
li
g
h
t
(
F
ig.
2.8).
W
hen
t
he
c
on
t
r
o
ll
e
r
is
c
onnect
e
d
wit
h
t
he
r
eceIII
er
,
t
hi
s
l
ig
h
t
wi
ll
li
g
h
t
up
.
Bluetooth
F
ig.
2.8
–
S
82
T
Blu
et
oo
t
h
L
E
D
S
AT
(
green):
S
a
t
ell
it
e
li
g
h
t
(
F
ig.
2.9).
It
s
ho
w
s
t
he
a
m
oun
t
o
f
lo
c
a
t
e
d
s
a
t
ell
it
e
s
,
w
hen
t
he
r
e
ceIII
e
r
o
bt
ai
ns
s
a
t
ell
it
e
s
s
igna
ls
,
it
wi
ll
s
t
art
t
o
blin
k,
t
he
nu
m
be
r
o
f
blin
k
s
c
o
rr
e
s
pond
s
wit
h
t
he
nu
m
ber
o
f
lo
c
a
t
e
d
s
a
t
ell
it
e
s
.
F
ig.
2.9
–
S
82
T
s
a
t
ell
it
e
LED
S
TA
(
re
d
)
:
S
t
a
t
us
li
g
h
t
(
F
ig.
2.10).
In
s
t
a
t
ic
m
o
de,
t
hi
s
LED
li
g
h
t
s
when
t
he
r
ec
eIII
er
is
r
ec
o
r
di
ng
da
t
a.
In
R
TK
m
o
de,
it
s
ho
w
s
if
t
h
e
da
t
a
l
in
k
mo
dule
w
o
r
ki
ng
in
g
ood
c
ond
it
i
on.

F
ig.
2.10
–
S
82
T
s
t
a
t
us
LED
D
L
(
green
)
:
Da
t
a
Lin
k
li
g
h
t
(
F
ig.
2.11).
In
s
t
a
t
ic
m
o
de,
it
wi
ll
r
ema
in
li
t
in
no
r
m
al
oper
a
t
io
n
c
ond
it
io
ns
.
In
R
TK
m
o
de,
it
s
ho
w
s
if
t
he
da
t
a
l
in
k
mo
dule
w
o
r
ki
ng
in
g
ood
c
ond
it
i
on.
F
ig.
2.11
–
S
82
T
Da
t
a
Lin
k
LE
D
F
K
e
y
:
F
un
ctio
n
k
e
y
S
wit
che
s
bet
w
e
en
t
he
w
o
r
k
in
g
m
o
de
s
(
s
t
a
t
ic,
ba
s
e
o
r
r
o
IV
e
r
)
an
d
R
TK
c
o
mm
un
ic
a
t
io
n
m
o
de
s
P
K
e
y
:
P
o
w
e
r
k
e
y
P
o
w
er
s
un
it
on
/
o
ff
an
d
c
on
fi
r
m
s
s
elect
e
d
functio
ns
.
P
ower
on
r
ec
eIII
er:
P
r
e
ss
P
k
e
y
on
e
t
im
e
,
t
he
r
ec
eIII
e
r
wi
ll
po
w
e
r
on.
P
ower
off
r
eceIIIe
r
:
P
r
e
ss
an
d
ho
ld
P
k
e
y
f
o
r
f
ew
s
ec
ond
s
,
a
ft
er
t
hr
ee
b
ee
ps
al
l
LEDS
wi
ll
t
urn
o
ff
.
A
t
t
ha
t
po
in
t
r
el
e
a
s
e
t
he
k
e
y,
t
he
r
ec
eIII
er
wi
ll
po
w
er
o
ff
.
S
e
l
f
-
C
he
ck:
wh
en
t
he
r
ec
eIII
er
w
o
r
k
ab
no
r
m
al
l
y,
y
ou
c
an
m
ake
a
s
el
f
-
check
t
o
fix
it
,
t
he
oper
a
t
io
n
p
r
o
c
e
du
r
e
is
a
s
f
o
l
lo
w
s
:
-
P
r
e
ss
an
d
ho
ld
P
k
e
y
f
o
r
m
o
r
e
t
ha
n
10
s
ec
ond
s
a
s
f
o
r
t
ur
ni
ng
it
o
ff
bu
t
k
e
epi
ng
p
r
e
ss
e
d
t
he
k
e
y
a
ft
e
r
al
l
l
ig
h
t
s
haIV
e
t
urned
o
ff
.
-
R
ele
a
s
e
t
he
k
e
y
w
h
en
y
ou
h
e
ar
ano
t
h
er
b
ee
p
:
r
ec
eIII
e
r
wi
ll
s
t
art
t
o
mak
e
a
s
el
f
-
ch
ec
k.

The
S
el
f
-
check
p
r
o
c
e
ss
la
s
t
s
t
ypi
c
al
ly
f
o
r
ab
o
ut
1
min
ut
e
,
a
ft
er
whi
ch
r
eceIII
er
wi
ll
t
urn
on
an
d
r
e
s
um
e
no
r
m
al
oper
a
t
io
n.
S
e
l
e
c
t
i
ng
t
he
w
orkin
g
m
o
de
-
W
it
h
t
he
ba
tt
er
y
inse
r
t
e
d,
t
hen
p
r
e
ss
and
ho
ld
P
k
e
y
+
F
k
e
y:
t
he
r
eceIII
er
wi
ll
s
t
art
.
-
K
ee
p
t
h
e
P
k
e
y
+
F
k
e
y
p
r
e
ss
e
d
un
t
il
t
he
s
ix
L
EDs
blin
k
a
t
t
he
s
am
e
t
im
e
(
F
ig.
2.12),
t
h
en
r
ele
a
s
e
t
he
k
e
y
s
.
F
ig.
2.12
–
S
82
T
s
ix
LE
Ds
blin
ki
ng
s
imul
t
aneou
s
ly
-
S
T
A
LED
is
li
t
,
no
w
eIV
er
y
ti
m
e
t
he
F
k
e
y
is
pr
e
ss
e
d,
t
he
w
o
r
ki
ng
mo
de
wi
ll
ch
an
g
e.
-
P
r
e
ss
P
k
e
y
when
t
he
ch
o
s
en
LED
is
blin
ki
ng
and
t
h
e
r
eceIII
er
wi
ll
s
t
art
t
he
w
o
r
ki
ng
m
o
de
s
elect
e
d.
R
oIVer
m
od
e
:
Wh
en
t
he
S
T
A
li
g
h
t
blin
k
s
,
pr
e
ss
P
k
e
y
t
o
c
on
firm,
y
ou
wi
ll
en
t
er
r
o
IV
er
m
o
de.
Th
e
f
o
ll
o
win
g
di
s
pl
a
y
sh
o
w
s
t
he
r
eceIII
er
in
r
o
IV
e
r
mo
d
e:
F
ig.
2.13
–
S
82
T
s
t
a
t
us
LED
Bas
e
m
od
e
:
W
hen
t
he
B
T
li
g
h
t
blin
k
s
,
pr
e
ss
P
k
e
y
t
o
c
on
firm,
y
ou
wi
ll
en
t
e
r
ba
s
e
m
o
de.
Th
e
f
o
ll
o
win
g
di
s
pl
a
y
sh
o
w
s
t
he
r
eceIII
er
in
ba
s
e
m
o
de
:

F
ig.
2.14
–
S
82
T
Blu
et
oo
t
h
L
ED
St
at
ic
m
od
e
:
Wh
en
t
he
B
A
T
li
g
h
t
blin
k
s
,
pr
e
ss
P
k
e
y
t
o
c
on
firm,
y
ou
wi
ll
en
t
er
s
t
a
t
ic
m
o
de.
Th
e
f
o
ll
o
win
g
di
s
pl
a
y
sh
o
w
s
t
he
r
eceIII
er
in
s
t
a
t
ic
mo
de
:
F
ig.
2.15
–
S
82
T
ba
tt
er
y
po
w
er
L
ED
S
e
l
e
c
t
i
ng
t
he
co
mm
uni
c
a
t
ion
m
o
de
A
ft
er
y
ou
h
a
IV
e
en
t
er
e
d
w
o
r
ki
ng
m
o
de,
pr
e
ss
an
d
ho
ld
F
k
e
y,
wh
en
y
ou
he
a
r
2
b
ee
ps
,
an
d
s
ee
a
g
r
ee
n
li
g
h
t
blin
ki
ng
,
r
el
e
a
s
e
t
he
k
e
y,
w
ai
t
s
eIV
er
al
s
ec
on
ds
,
t
hen
p
r
e
ss
F
k
e
y,
t
he
3
g
r
ee
n
li
g
h
t
s
wi
ll
blin
k
in
t
urns.
Then
y
ou
c
an
s
elect
t
he
di
ff
e
r
en
t
da
t
a
l
in
k
m
et
ho
ds
t
h
r
o
ug
h
t
he
di
ff
e
r
en
t
L
E
D
ch
o
ic
e
s
.
kind
s
o
f
s
t
a
t
us
,
s
uc
h
a
s
f
o
ll
o
w
s
.
St
at
ic
m
od
e
:
Wh
en
y
ou
pr
e
ss
F
k
e
y
on
e
t
im
e
and
s
ee
t
he
f
o
ll
o
win
g
f
ig
ur
e,
it
me
an
s
s
t
a
t
ic
mo
de.
F
ig.
2.16
–
S
82
T
ba
tt
er
y
po
w
er
L
ED

Chapter
III
S82T
Accessories
III.
1
The
c
ase
of
S82
T
F
ig.
3
.1
-
S
82
T
cas
e

III.
2
P
o
we
r
s
upp
ly
R
ec
eIII
ers
The
s
t
anda
r
d
c
on
fig
ur
a
t
io
n
c
on
t
ai
ns
t
w
o
ba
tt
er
ie
s
an
d
a
s
lo
t
f
o
r
ch
a
r
g
in
g
ba
tt
er
ie
s
(na
m
e
d
“
ch
ar
g
e
r
”
f
o
r
s
im
pl
ic
it
y)
an
d
an
a
da
pt
o
r
.
The ba
tt
er
y
a
r
e
“li
t
hi
um
-
io
n”
ba
tt
er
y:
a
t
echn
o
lo
g
y
whi
ch
ha
s
an
hi
g
h
en
er
g
y-
to
-
w
eig
h
t
r
a
t
io
wit
h
r
e
s
pec
t
t
o
NiCd
o
r
NiM
h
ba
tt
e
r
ie
s
,
F
ig.
3
.2
-
Lit
hium
-
io
n
b
a
tt
er
y
The
ch
a
r
g
er
c
an
ch
a
r
g
e
bo
t
h
ba
tt
er
ie
s
s
imul
t
aneou
s
ly
.
The
li
g
h
t
s
o
f
t
he
ch
a
r
g
er
s
ho
w
s
if a
battery is being charging or if it
’
s already charged.
F
ig.
3
.3
-
S
82
T
ch
a
r
g
er
and
a
da
pt
o
r
Con
t
ro
ll
ers
The
Ps
io
n
c
on
t
r
o
ll
e
r
s
t
anda
r
d
c
on
fig
ur
a
t
io
n
i
nc
lu
de
s
t
w
o
ba
tt
er
ie
s
,
a
ch
ar
g
e
r
and
an
a
da
pt
o
r
.

F
ig.
3
.4
-
Ps
io
n
b
a
tt
er
y
F
ig.
3
.5
-
Ps
io
n
a
da
pt
o
r
F
ig.
3
.6
-
Ps
io
n
c
ha
r
g
er

III.3
Cable
s
Radi
o
c
able
Ext
er
na
l
po
w
er
s
up
pl
y
c
ab
le
(
P
CR
R)
s
h
ap
e
a
“
Y
”
c
onn
ect
io
n
c
ab
le.
It
is
us
e
d
t
o
c
onnect
t
he
ba
s
e
m
ai
n
fr
am
e
(
r
e
d
),
t
r
an
s
m
it
t
in
g
r
a
di
o
(
bl
ue)
an
d
c
onnect
t
he
ac
cu
mul
a
t
o
r
(
r
e
d
an
d
bl
ue
cl
ip
).
It
ha
s
t
he
func
t
io
n
o
f
po
w
er
s
up
pl
y
and
da
t
a
t
r
an
s
f
er
.(
F
ig
3
.7)
F
ig.
3
.7
-
Ext
er
na
l
po
w
e
r
s
upply
c
a
ble
Con
t
ro
ll
ers
c
able
U
S
B
c
o
mm
un
ic
a
t
io
n
c
ab
le
i
s
us
e
d
f
o
r
c
onnect
in
g
ha
ndheld
an
d
c
o
m
pu
t
er
,
us
in
g
t
he
s
o
ft
w
a
r
e
Mi
cr
o
s
o
ft
A
ct
III
eS
ync
if
y
ou
us
e
W
in
do
w
s
XP
o
r
an
e
arlier
IV
e
r
s
io
n,
o
r
W
in
do
w
s
Mo
bi
le
De
IVic
e
Ce
n
t
er
i
f
y
ou
us
e
IVis
t
a
o
r
W
in
do
w
s
7
(y
ou
c
an
f
r
ee
do
wnl
o
a
d
t
he
s
e
p
r
o
g
r
am
s
f
r
o
m
Mi
cr
o
s
o
ft
w
ebs
it
e).
The
r
e
ar
e
di
ff
e
r
en
t
c
ab
le
s
f
o
r
di
ff
e
r
en
t
c
on
t
r
o
ll
er
s
.
F
ig.
3
.8
-
U
S
B
c
o
mm
un
ic
a
t
io
n
c
ab
le
f
o
r
Ps
io
n
F
ig.
3
.9
-
U
S
B
c
o
mm
un
ic
a
t
io
n
c
ab
le
R
e
c
e
III
e
rs
c
a
b
le

Mu
lt
i
-
func
t
io
n
c
o
mm
un
ic
a
t
i
on
c
ab
le:
t
hi
s
c
ab
le
i
s
us
e
d
f
o
r
c
onnect
in
g
r
ec
eIII
e
r
an
d
c
o
m
pu
t
e
r
us
e
d
f
o
r
t
r
an
s
f
er
t
h
e
s
t
a
t
ic
da
t
a,
up
da
t
e
o
f
firm
w
a
r
e
a
nd
t
he
li
cens
e.
It
c
an
al
s
o
be
us
e
d
f
o
r
c
onnect
in
g
G
E
O
S
c
on
t
r
o
ll
e
r
an
d
r
ec
eIII
e
r
,
in
c
a
s
e
o
f
m
al
f
un
ctioni
ng
o
f
t
he
Blu
et
oo
t
h
deIVice.
S
ee
F
ig.
3
.10.
F
ig.
3
.10
-
Mu
lt
i
-
func
t
io
n
c
o
mm
un
ic
a
t
io
n
c
ab
le
In
s
id
e
t
he
Ps
io
n
bundle
t
he
r
e
is
al
s
o
a
c
ab
le
us
e
d
f
o
r
c
onnect
in
g
Ps
io
n
an
d
r
ec
eIII
e
r
,
in
c
a
s
e
o
f
m
al
func
t
ioni
ng
o
f
Blu
et
oo
t
h
deIVice.
S
ee
F
ig.
3
.11.
F
ig.
3.11
-
Co
mm
un
ic
a
t
io
n
c
ab
le
b
etw
ee
n
Ps
io
n
an
d
r
ec
e
III
er
III.4
O
ther
ac
c
e
ss
ori
e
s
The
ot
her
ac
c
e
ss
o
r
ie
s
ar
e
2.45
m
r
et
r
ac
t
ab
l
e
po
l
e,
30
cm
s
uppo
r
t
in
g
po
le,
br
ac
k
et
f
o
r
c
on
t
r
o
ll
e
r
,
t
ri
br
ac
h
wit
h
plumm
et
,
t
ri
pod
(
w
ood
o
r
al
uminum
,
wit
h
qu
ick
o
r
t
wis
t
clam
ps
),
c
onnecto
r
bet
w
e
en
r
ec
eIII
e
r
and
t
ri
br
a
ch
,
and
me
a
s
urin
g
t
ape.
F
ig.
3
.12
–
2.45
m
r
et
r
ac
t
ab
l
e
pole

F
ig.
3
.13
–
30cm
s
uppo
r
t
in
g
pole
F
ig.
3
.14
–
B
r
ac
k
et
f
o
r
c
on
t
r
o
ll
er
s
F
ig.
3
.15
–
T
ri
br
ac
h
an
d
a
d
ap
t
er
wit
h
o
pt
ical
plumm
et

F
ig.
3
.16
–
Co
nnecto
r
b
etw
ee
n
t
ri
br
ac
h
an
d
r
ec
eIII
e
r
F
ig.
3
.17
–
Me
a
s
urin
g
t
ap
e
O
n
t
he
ba
s
is
o
f
t
he
c
on
fig
ur
a
t
io
n
ch
o
s
en
(ba
s
e
o
r
r
o
IV
e
r
)
s
o
m
e
o
f
t
he
s
e
acce
ss
o
ri
e
s
a
r
e
in
cl
ud
e
d
o
r
no
t
in
t
he
r
ec
eIII
er
bund
l
e
.

Chapter IV S82T Operations
IV.1
I
ns
tru
m
en
t
s
e
t
ti
ngs
F
un
ctio
n
K
e
y
F
ig.
4
.1
-
Di
s
pl
a
y
k
e
y
s
S
wit
ch
&
c
on
firm
k
e
y
The
s
et
t
in
g
s
o
f
ba
s
e
an
d
r
o
IV
er
c
an
b
e
s
et
by
han
d,
t
he
d
et
ai
ls
ar
e
a
s
f
o
ll
o
w
s
:
R
oIVer
m
od
e
K
ee
p
p
r
e
ss
in
g
P
+F
k
e
y
s
an
d
w
ai
t
f
o
r
s
ix
li
g
h
t
s
fla
s
hi
ng
a
t
t
he
s
am
e
t
im
e,
t
hen
p
r
e
ss
F
k
e
y
t
o
ch
oo
s
e
t
he
w
o
r
ki
ng
m
od
e:
pr
e
ss
P
k
e
y
wh
en
S
T
A
is
li
t
t
o
ch
oo
s
e
t
he
w
o
r
ki
ng
m
od
e
o
f
r
o
IV
e
r
.
W
ai
t
in
g
f
o
r
s
e
IV
er
a
l
s
ec
ond
s
an
d
t
hen
k
e
ep
p
r
e
ss
in
g
F
k
e
y
f
o
r
ab
o
ut
5
s
ec
ond
s
,
a
ft
e
r
t
he
s
ec
ond
beep
r
ele
a
s
e
F
k
e
y,
pr
e
ss
F
k
e
y
t
o
ch
oo
s
e
t
he
c
o
mm
un
ic
a
t
io
n
m
o
de.
Bas
e
m
od
e
K
ee
p
p
r
e
ss
in
g
P
+F
k
e
y
s
an
d
w
ai
t
f
o
r
s
ix
li
g
h
t
s
fla
s
hi
ng
a
t
t
he
s
am
e
t
im
e,
t
hen
p
r
e
ss
F
k
e
y
t
o
ch
oo
s
e
t
he
w
o
r
ki
ng
m
od
e:
pr
e
ss
P
k
e
y
when
B
T
is
li
t
t
o
ch
oo
s
e
t
he
w
o
r
ki
ng
m
od
e
o
f
ba
s
e.
W
ai
t
in
g
f
o
r
s
e
IV
er
al
s
ec
ond
s
an
d
t
hen
k
e
ep
p
r
e
ss
in
g
F
k
e
y
f
o
r
ab
o
ut
5
s
ec
ond
s
,
a
ft
e
r
t
he
s
ec
ond
beep
r
ele
a
s
e
F
k
e
y
,
p
r
e
ss
F
k
e
y
t
o
ch
oo
s
e
t
he
c
o
mm
un
i
c
a
t
io
n
m
o
de.
W
hen
DL
is
li
t
,
pr
e
ss
P
k
e
y
t
o
c
on
firm
t
he
ch
oo
s
in
g
o
f
i
n
t
er
na
l
t
r
an
s
m
it
m
o
de.
St
at
ic
m
od
e
K
ee
p
p
r
e
ss
in
g
P
+F
k
e
y
s
an
d
w
ai
t
f
o
r
s
ix
li
g
h
t
s
fla
s
hi
ng
a
t
t
he
s
am
e
t
im
e,
t
hen
p
r
e
ss
F
k
e
y
t
o
ch
oo
s
e
t
he
w
o
r
ki
ng
mo
d
e,
p
r
e
ss
P
k
e
y
w
h
en
t
he
B
A
T
is
li
t
t
o
ch
oo
s
e
t
he
s
t
a
t
ic
mo
de.
W
hen
y
ou
n
e
xt
t
urn
on
t
h
e
r
eceIII
er
,
t
h
e
w
o
r
ki
ng
mo
de
is
t
he
la
s
t
s
elect
e
d
m
od
e.
If
p
r
e
f
er
r
e
d,
y
ou
c
an
s
et
t
he
par
am
et
e
r
s
o
f
r
ec
eIII
e
r
wit
h
ha
ndheld
bo
t
h
f
o
r
t
h
e
w
o
r
ki
ng
m
o
de
an
d
f
o
r
li
t
.
But
y
ou
c
an
no
t
s
wit
ch
f
r
o
m
o
ne
mo
d
e
t
o
ano
t
he
r
.
m
a
xi
mum
ac
cept
e
d
P
DO
P
IValue.
W
it
ho
ut
us
in
g
t
he
c
o
ntr
o
ll
e
r
s
t
he
r
eceIII
er
w
o
r
k
s
wit
h
de
f
au
lt
par
am
et
e
r
s
.
The
s
t
a
t
ic
m
o
de
par
a
m
et
e
r
s
c
an
no
t
be
s
elect
e
d
by
t
he
c
on
t
r
o
ll
er
,
bu
t
o
nl
y
m
o
dify
i
ng
t
he
fi
l
e
“
c
on
fig
.i
ni
”
on
r
ec
eIII
e
r
ha
r
d
di
s
k
(
s
ee
p
ar
ag
r
ap
h
IV
.3
).
IV.2
O
pera
tion
of
LE
Ds
St
at
ic
m
od
e
The
d
a
t
a
li
nk
an
d
po
w
er
L
EDs
wi
ll
r
em
ai
n
li
t
du
r
in
g
oper
a
t
io
n.
W
hen
t
her
e
a
r
e
s
uf
fic
ien
t
s
a
t
ell
it
e
s
,
t
he
r
ec
eIII
er
wi
ll
s
t
art
r
ec
o
r
di
ng
epo
ch
s
,
t
he
s
t
a
t
us
indi
c
at
o
r
LED
wi
ll
fla
s
h
ac
c
o
r
di
ng
t
o
s
am
plin
g
in
t
er
IVal
(
t
he
de
f
au
lt
is
5
s
ec
ond
s
)
an
d
t
he
s
a
t
ell
it
e
LED
wi
ll
fla
s
h
a
nu
m
b
er
o
f
t
im
e
s
equa
l
t
o
t
he
lo
c
a
t
e
d
s
a
t
ell
it
e
s
.
Bas
e
m
od
e
A
ft
er
s
et
t
in
g
up
t
he
m
o
de,
po
w
er
on
t
he
m
ai
n
fr
am
e
,
t
he
ba
s
e
wi
ll
en
t
e
r
t
he
t
r
an
s
m
it
m
o
de
1
.P
DO
P
<2
.5
;
2.
t
he
s
a
t
ell
it
e
am
oun
t
>8
an
d
P
DO
P
<
4.5,
t
he
ba
s
e
wi
ll
en
t
e
r
t
h
e
t
r
an
s
m
it
s
t
a
t
us
,
t
he
da
t
a
li
nk
fla
s
h
t
wic
e
eIV
er
y
fIII
e
s
ec
ond
s
,
t
he
s
t
a
t
us
indi
c
a
t
o
r
li
g
h
t
fla
s
h
eIV
er
y
o
ne
s
ec
ond
m
e
an
s
t
he
ba
s
e
t
r
an
s
m
it
no
r
m
al,
t
he
in
t
er
IVal
is
1
s
ec
ond
.
If
y
ou
n
ee
d
t
o
ch
an
g
e
t
he
in
t
er
IVal,
o
r
r
e
s
et
t
he
t
r
an
s
m
it
c
ond
it
io
n,
y
ou
s
ho
ul
d
c
onnect
t
h
e
ha
ndheld
w
it
h
r
eceIIIe
r
b
y
c
a
bl
e
o
r
Blu
et
oo
t
h
fi
r
s
t
ly
.
R
oIVer
m
od
e
Blu
et
oo
t
h
an
d
po
w
er
L
ED
w
ill
r
ema
in
li
t
du
r
in
g
o
pe
r
a
t
io
n.
The
s
a
t
ell
it
e
L
ED
wi
ll
blin
k
ac
c
o
r
di
ng
t
o
t
he
nu
m
ber
o
f
s
a
t
ell
it
e
s
a
s
de
s
cri
be
d
f
o
r
s
t
a
t
ic
m
o
de.
Da
t
a
li
nk
LED
wi
ll
blin
k
wit
h
t
he
fr
equ
ency
o
f
1
s
ec
ond
,
whi
le
S
t
a
t
us
li
g
h
t
wi
ll
blin
k
wit
h
a
fr
equ
ency
o
f
ab
o
ut
5
s
ec
ond
s
.
IV.3
Ho
w
t
o
de
s
ign
ne
t
The
n
et
d
e
s
ig
n
m
ai
nl
y
s
u
bjec
t
t
o
t
he
us
e
r
s
’
r
equi
r
emen
t
,
bu
t
o
ut
la
y
,
t
im
e
in
t
er
IV
al
o
f
o
bs
er
IV
a
t
io
n,
t
ype
o
f
r
eceIII
er
and
t
he
r
ec
eIII
e
r
am
oun
t
,
et
c
als
o
r
ela
t
e
t
o
t
he
n
et
d
e
s
ig
n.
In
o
r
de
r
t
o
s
a
t
is
fy
t
he
us
e
r
s
’
r
equi
r
em
en
t
,
w
e
s
ho
ul
d
k
ee
p
t
he
princ
ip
le
a
s
f
o
ll
o
w
s
:
1.
G
P
S
n
et
no
r
m
al
l
y
f
o
r
m
s
c
lo
s
e
d
g
r
ap
h
b
y
in
dependen
t
o
bs
er
IV
a
t
io
n
bo
r
d
e
r
s
,
s
uc
h
a
s
t
r
ia
ng
le,
poly
g
on
o
r
c
onnect
in
g
t
r
a
IV
e
r
s
e,
et
c,
t
o
a
dd
ch
ec
ki
ng
c
ond
it
io
ns
an
d
t
o
im
pr
o
IV
e
t
he
n
e
t
c
o
nsis
t
ency
.
2.
W
hen
de
s
ig
ni
ng
t
he
n
et
,
t
he
net
po
in
t
s
ho
ul
d
be
s
up
er
po
s
it
io
n
wit
h
t
he
o
r
ig
in
al
g
r
ound
n
e
t
po
in
t
s
.
The
s
up
e
r
po
s
it
io
n
po
in
t
s
ar
e
g
en
er
al
ly
no
le
ss
t
ha
n
t
hr
ee
an
d
di
s
t
ri
bu
t
e
eIV
enl
y
on
t
h
e
net
in
o
r
de
r
t
o
e
ns
ur
e
t
he
ch
an
g
in
g
par
am
et
e
r
s
b
etw
ee
n
G
P
S
n
et
and
lo
c
al
net
.
3.
G
P
S
n
et
po
in
t
s
ho
ul
d
b
e
s
up
e
r
po
s
it
io
n
wit
h
t
he
l
eIV
el
po
in
t
s
,
an
d
t
he
o
t
he
r
po
in
t
s
ar
e
no
r
m
al
ly
un
it
e
d
—
s
u
r
IV
e
y
e
d
wit
h
leIV
el
s
urIV
e
yin
g
w
a
y
o
r
t
he
equIII
alen
t
w
a
y.
Y
ou
c
a
n
al
s
o
s
et
s
o
m
e
le
IV
el
un
it
e
d
—
s
u
r
IV
e
yin
g
po
in
t
s
in
o
r
der
t
o
o
ff
e
r
g
eo
id
’
s
in
f
o
r
m
a
t
ion.
4.
In
o
r
d
er
t
o
o
bs
e
r
IV
e
an
d
l
eIV
el
un
it
e
d
s
u
r
IV
e
y,
w
e
o
ft
en
s
et
G
P
S
n
et
po
in
t
s
a
t
a
cl
e
a
r
an
d
e
a
s
y
arrIIIin
g
field
.
5.
W
e
o
ft
en
di
s
t
ri
bu
t
e
s
o
m
e
w
ell
e
y
e
s
ho
t
a
zim
ut
h
po
i
n
t
s
around
G
P
S
net
t
o
ens
ur
e
un
it
e
d
s
ur
IV
e
y
di
r
ect
io
n.
Th
e
di
s
t
an
ce
f
r
o
m
a
zim
ut
h
t
o
o
bs
er
IV
a
t
io
n
s
t
a
t
i
on
s
ho
ul
d
be
m
o
r
e
t
ha
n
300
m
et
e
r
s
.
A
cc
o
r
di
ng
t
o
di
ff
er
en
t
pu
r
po
s
e
o
f
G
P
S
s
ur
IV
e
yin
g
,
in
d
ependen
t
o
bs
e
r
IV
a
t
io
n
bo
r
d
e
r
s
o
f
G
P
S
ne
t
s
ho
ul
d
c
o
m
po
s
e
de
fin
it
e
g
e
o
m
et
r
y
grap
h.
The
ba
s
ic
g
r
a
ph
s
ar
e
a
s
f
o
ll
o
w
s
:
1.
T
r
ia
ng
l
e
n
et

The
t
r
ia
ng
le
in
G
P
S
n
et
is
c
o
m
po
s
e
d
o
f
in
dependen
t
o
bs
er
IV
a
t
io
n
bo
r
de
r
s
,
it
ha
s
s
t
r
o
ng
g
eom
et
r
y
s
t
r
uc
t
ur
e
an
d
w
el
l
s
elf
-
ch
ec
ki
ng
ab
ili
t
y,
it
c
an
al
s
o
fin
d
o
ut
t
he
c
oar
s
e
di
ff
e
r
ence
o
f
r
e
s
ul
t
and
t
o
s
ha
r
e
t
he
di
ff
er
ence
t
o
e
ac
h
ba
s
e
l
in
e
wit
h
a
dju
s
t
m
en
t
.
But
t
hi
s
n
et
ne
e
d
a
l
o
t
o
f
o
bs
er
IV
a
t
io
n,
e
s
pecial
ly
when
r
eceIII
e
r
s
a
r
e
la
ck
in
g
it
wi
ll
g
r
e
a
t
l
y
pr
o
lo
ng
t
he
o
bs
e
r
IV
a
t
io
n
t
im
e.
S
o
o
nl
y
when
ac
cu
r
ac
y
a
nd
s
ecurit
y
a
r
e
r
equi
r
e
d
IV
er
y
hi
g
h,
an
d
r
ec
eIII
e
r
s
a
r
e
mo
r
e
t
ha
n
t
hr
ee,
w
e
c
an
us
e
t
hi
s
g
r
ap
h,
s
ee
f
ig
5-3.
2.
Cir
cl
e
n
et
Cir
cl
e
n
et
is
c
o
m
po
s
e
d
o
f
m
any
lo
o
ps
whi
ch
ar
e
f
o
r
m
e
d
o
f
m
any
in
d
ependen
t
o
bs
e
r
IV
a
t
io
n bo
r
de
r
s
.
Thi
s
n
et
is
s
im
i
la
r
wit
h
o
ne
o
f
t
he
cl
a
ss
ical
s
urIV
e
yin
g
--
l
e
a
d
n
et
.
It
s
s
t
r
uc
t
u
r
e
is
a
li
tt
le
w
o
r
s
e
t
ha
n
t
r
ia
ng
le
net
.
T
he
am
oun
t
o
f
ba
s
e
li
n
e
s
in
cl
o
s
e
d
lo
op
deci
d
e
s
t
he
s
el
f
--
ch
ecki
ng
ab
ili
t
y
and
c
o
nsis
t
ency
.
G
en
er
al
s
peaki
ng
,
t
he
am
oun
t
o
f
ba
s
e
li
ne
s
ha
s
s
uc
h
l
im
it
a
s
f
o
ll
o
w
s
:
The
a
d
IVan
t
ag
e
o
f
ci
r
cl
e
n
et
is
t
he
s
m
al
l
w
o
r
klo
a
d
,
g
ood
s
elf
-
ch
ecki
ng
an
d
c
o
nsis
t
ency
.
But
t
he
m
ai
n
di
s
a
dIV
a
n
t
ag
e
is
t
ha
t
t
h
e
ac
cu
r
ac
y
o
f
indi
r
ect
-
o
bs
e
r
IV
e
d
bo
r
d
er
is
lo
w
e
r
t
ha
n
t
ha
t
o
f
di
r
ect
-
o
bs
er
IV
e
d
bo
r
der
,
an
d
t
he
b
a
s
e
li
ne
ac
cu
r
ac
y
o
f
nei
g
hbo
r
po
in
t
s
di
s
t
ri
bu
t
e
s
un
eIV
enl
y.
In
field
s
ur
IV
e
yin
g
,
w
e
us
ua
ll
y
us
e
a
nn
e
x
e
d
t
r
a
IV
e
r
s
e
a
s
s
pecial
e
x
am
pl
e
ac
c
o
r
di
ng
t
o
pr
ac
t
ical
s
it
ua
t
io
n
an
d
t
he
n
et
usag
e.
Thi
s
r
equ
ir
em
en
t
f
o
r
t
hi
s
t
r
a
IV
e
r
s
e
is
t
he
hi
g
h
ac
c
ur
ac
y
f
o
r
t
he
kno
wn
IV
ecto
r
s
bet
w
e
en
t
w
o
po
in
t
ends
.
F
urt
her
m
o
r
e,
t
h
e
am
oun
t
o
f
anne
x
e
d
t
r
a
IV
e
r
s
e
s
c
an
no
t
e
xce
e
d
t
h
e
li
m
it
s
.
F
ig
4
-2
t
r
ia
ng
le
net
F
ig
4
-3
ci
r
cl
e
net
3.
S
t
ar
sh
ap
e
n
et
S
t
ar
net
ha
s
s
impl
e
g
eom
e
t
r
y
g
r
ap
h,
bu
t
t
he
ba
s
e
lin
e
s
o
f
it
m
o
s
tly
do
n’t
co
m
po
s
e
a
cl
o
s
e
d

g
r
ap
h,
s
o
it
ha
s
a
ba
d
c
hec
ki
ng
abi
li
t
y
and
c
o
nsis
t
ency
.
The
a
d
IVan
t
ag
e
o
f
t
hi
s
net
is
t
ha
t
it
o
nl
y
nee
ds
t
w
o
r
ece
III
e
r
s
,
t
he
w
o
r
k
is
IV
er
y
s
im
p
le,
s
o
it
is
m
o
s
t
ly
us
e
d
in
t
he
qu
ick
s
urIV
e
yin
g
a
s
qu
ick
s
t
a
t
ic
o
ri
en
t
a
t
io
n
an
d
ki
ne
m
a
t
ical
o
r
ien
t
a
t
io
n.
Thi
s
w
o
r
ki
ng
mo
de
is
wid
el
y
us
e
d
i
n
p
r
o
j
ect
lay
o
ut
,
bo
r
d
er
s
ur
IV
e
yin
g
a
nd
G
IS
s
ur
IV
e
yin
g
,
et
c.
F
ig
ure
4
-5
s
t
ar
net
IV.4
Ho
w
t
o
m
e
asur
e
an
t
enna
heigh
t
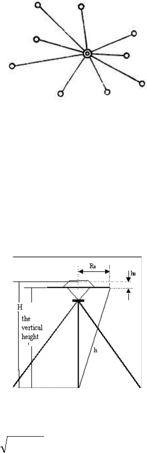
A
ft
er
fix
e
d
t
he
in
s
t
r
um
en
t
,
u
s
er
s
ho
ul
d
m
e
a
s
ur
e
an
t
enna
heig
h
t
a
t
t
he
beg
inni
ng
and
t
he
e
nd
o
f
eIV
er
y
p
er
io
d
o
f
t
im
e
t
o
ens
ur
e
t
h
e
ac
cu
r
acy
“mm
”
l
eIV
e
l.
W
e
us
ua
ll
y
m
e
a
s
ur
e
f
r
o
m
t
he
cen
t
er
po
in
t
on
t
he
g
r
ound
t
o
t
he
c
en
t
er
w
a
t
er
p
r
oo
f
lo
op
o
f
an
t
enna.
Tha
t
is
an
i
n
cl
in
e
d
hei
g
h
t
.
P
le
a
s
e
r
e
f
e
r
t
o
f
ig
5-6.
F
ig
4
-6
M
e
a
s
urin
g
an
t
enna
heig
h
t
W
e
us
e
a
f
o
r
mul
a
t
o
c
al
cu
la
t
e
an
t
enna
h
eig
h
t
.
H
=
h
2
−
R
2
+
h
(
5-3
)
0 0
“h”
is
t
he
in
cl
in
e
d
h
eig
h
t
t
ha
t
m
e
a
s
ur
e
f
r
o
m
po
in
t
on
t
he
g
r
ound
t
o
t
he
w
a
t
er
p
r
oo
f
lo
op
o
f

an
t
enna.
R
0
is
t
he
r
a
di
us
o
f
an
t
enna.
h
0
is
t
he
di
s
t
an
ce
f
r
o
m
an
t
enn
a
ph
a
s
e
cen
t
e
r
t
o
t
he
mi
ddle
o
f
an
t
enna.
H
is
t
he
c
al
cu
la
t
io
n
r
e
s
ul
t
.
W
e
us
ua
ll
y
me
a
s
u
r
e
an
t
enna
h
eig
h
t
t
wic
e
an
d
a
do
pt
t
h
e
a
IV
er
ag
e.
A
tt
en
t
ion
:
W
e
in
pu
t
t
he
in
c
li
ne
d
he
ig
h
t
as
t
he
an
t
en
na
he
ig
h
t
,
whi
c
h
is
t
he
in
c
li
ne
d
di
s
t
an
c
e
from
po
in
t
on
t
he
gr
ound
t
o
t
he
w
at
erp
ro
of
lo
op
of
an
t
en
na.
IV.5
Ho
w
t
o
do
wnload
s
t
a
tic
da
t
a
F
o
r
a
c
o
rr
ect
c
onnect
io
n
be
t
w
ee
n
r
eceIII
er
an
d
PC,
f
o
ll
o
w
t
he
pr
o
c
e
du
r
e
d
e
s
crib
e
d
belo
w
.
B
y
us
in
g
a
di
ff
e
r
en
t
p
r
o
ce
du
r
e
i
t
may
be
IV
er
y
di
f
ficul
t
t
o
mak
e
a
c
onnect
io
n.
T
urn
on
t
he
r
eceIII
er
,
t
h
en
c
onnect
t
he
c
ab
le
t
o
t
he
c
o
mm
un
ic
a
t
io
n
in
t
er
f
ac
e
o
f
t
he
r
ec
eIII
e
r
(9-
pi
ns
po
r
t
)
,
th
en
in
s
er
t
t
he
U
S
B
po
r
t
in
t
he
PC.
The
t
a
s
kba
r
wi
ll
s
ho
w
a
s
f
o
ll
o
w
s
:
F
ig.
4
.7
-
T
a
s
kba
r
o
f
win
do
w
s
in
cl
ud
in
g
t
he
r
eceIII
er
The
P
C
c
o
ns
id
er
s
t
he
r
eceIIIer
a
s
a
“r
emo
IV
ab
l
e
di
s
k
”
,
s
o
o
pen
t
he
“r
emo
IV
ab
le
di
s
k
”
,
an
d
t
hen
y
ou
c
an
g
et
t
he
da
t
a
fi
le
s
in
t
he
memo
r
y.

F
ig.
4
.8
-
Ex
am
pl
e
o
f
r
eceIIIe
r
f
i
le
s
As
F
i
g
.
5.8
s
ho
w
s
,
.
STH
fi
le
is
t
he
da
t
a
fi
le
c
o
ll
ect
e
d
by
r
e
ceIII
er
,
t
he
m
o
di
fi
e
d
t
im
e
is
t
he
t
im
e
o
f
t
he
la
s
t
epo
ch
c
o
ll
ect
e
d.
Y
ou
c
an
c
o
py
t
he
o
r
ig
in
al
fi
le
t
o
P
C
an
d
if
nece
ss
ary
m
od
ify
t
he
fi
l
e
na
m
e
s
.
Y
ou
c
an
s
ee
al
s
o
t
h
e
c
on
fig.ini
fi
le
s
.
Y
ou
c
an
o
pe
n
it
a
s
a
s
impl
e
t
e
xt
fi
le
an
d
s
et
s
o
m
e
par
am
et
e
r
s
o
f
s
t
a
t
ic
mo
de:
s
am
plin
g
f
r
e
qu
enc
y,
minim
u
m
e
l
eIV
a
t
io
n
an
g
le,
et
c.
IV.6
R
egis
tr
a
tion
of
t
he
rec
eIIIer
Y
ou
haIV
e
t
o
c
onnect
t
he
r
e
ceIII
e
r
t
o
P
C
us
in
g
t
he
s
am
e
pr
o
ce
d
ur
e
a
s
t
o
do
wnl
o
a
d
s
t
a
t
ic
da
t
a
(
s
ee
p
a
r
ag
r
ap
h
IV
.5)
,
t
hen
op
en
“
c
on
fig
.i
ni
”
fi
le.
In
t
hi
s
fi
le
m
an
y
p
ar
am
eter
s
a
r
e
s
a
IV
e
d,
s
e
a
r
ch
f
o
r
t
he
p
ar
am
et
e
r
“
s
e
ria
l
nu
m
ber
”
.
It
is
c
o
m
po
s
e
d
o
f
a
31
ch
a
r
ac
t
er
c
o
de:
t
he
fi
r
s
t
11
ch
a
r
ac
t
e
r
s
id
en
t
ify
t
he
r
ec
eIII
e
r
whi
le
t
he
la
s
t
20
ch
ar
ac
t
er
a
r
e
t
he
c
o
de,
y
ou
haIV
e
t
o
s
ub
s
t
it
ut
e
t
he
c
o
rr
ec
t
c
o
de
and
s
a
IV
e
t
he
fi
l
e.