Stihl Ht Km Manual
2014-07-06
: Stihl Ht-Km-Manual ht-km-manual stihl pdf
Open the PDF directly: View PDF
.
Page Count: 66

Instruction Manual
Manual de instrucciones
Warning!
Read and follow all safety precautions in
Instruction Manual – improper use can cause
serious or fatal injury.
Advertencia!
Lea y siga todas las precauciones de
seguridad dadas en el manual de
instrucciones – el uso incorrecto puede
causar lesiones graves o mortales.
STIH)
STIHL HT-KM
BA_U1_86_02.fm Seite 0 Mittwoch, 23. Mai 2007 10:48 10
1HT-KM
English / USA
BA_SE_119_006_01_10.fmPrinted on chlorine-free paper.
Printing inks contain vegetable oils; paper can be recycled.
© ANDREAS STIHL AG & Co. KG, 2009
0458 473 8621 A. M7. B9. CP. Printed in USA
STIHl
Contents
KombiSystem ................................... 2
Guide to Using this Manual .............. 2
Safety Precautions and
Working Techniques ......................... 3
Using the Pole Pruner .................... 13
Approved KombiEngines ................ 16
Mounting the Pole Pruner ............... 16
Mounting the KombiTool ................. 17
Mounting the Bar and Chain ........... 17
Tensioning the Saw Chain .............. 18
Checking Chain Tension ................. 18
Chain Lubricant .............................. 19
Filling Chain Oil Tank ...................... 19
Checking Chain Lubrication ........... 20
Fitting the Harness ......................... 20
Starting / Stopping the Engine ........ 21
Operating Instructions .................... 21
Storing the Machine ........................ 22
Taking Care of Guide Bar ............... 22
Checking and Replacing
the Chain Sprocket ......................... 23
Maintaining and Sharpening
Saw Chain ...................................... 24
Maintenance Chart ......................... 28
Parts and Controls .......................... 29
Specifications ................................. 30
Special Accessories ....................... 30
Maintenance and Repairs ............... 31
Trademarks .................................... 32
Allow only persons who understand the
manuals of the KombiEngine and pole
pruner KombiTool to operate this power
tool combination.
To receive maximum performance and
satisfaction from your STIHL KombiTool,
it is important that you read and
understand the maintenance and safety
precautions, starting on page 3, before
using your KombiTool.
Contact your STIHL dealer or the STIHL
distributor for your area if you do not
understand any of the instructions in this
Manual.
!Warning!
Because this power-tool is a high-speed
cutting tool with a very long reach some
special safety precautions must be
observed to reduce the risk of personal
injury.
Careless or improper use may cause
serious or even fatal injury.
STIHL's philosophy is to continually
improve all of its products. As a result,
engineering changes and improve-
ments are made from time to time. If the
operating characteristics or the
appearance of your attachment differs
from those described in this Manual,
please contact your STIHL dealer for
information and assistance.

2
English / USA
HT-KM
In the STIHL KombiSystem a number of
different KombiEngines and KombiTools
can be combined to produce a power
tool. In this instruction manual the
functional unit formed by the
KombiEngine and KombiTool is referred
to as the power tool.
The KombiEngine and KombiTool come
with separate instruction manuals.
Always read and make sure you
understand both instruction manuals
before starting and using your machine.
Keep the manuals in a safe place for
later reference.
Pictograms
All the pictograms attached to the
machine are shown and explained in
this manual.
The operating and handling instructions
are supported by illustrations.
Symbols in text
The individual steps or procedures
described in the manual may be marked
in different ways:
:A bullet marks a step or procedure
without direct reference to an
illustration.
A description of a step or procedure that
refers directly to an illustration may
contain item numbers that appear in the
illustration.
Example:
Loosen the screw (1)
Lever (2) ...
In addition to the operating instructions,
this manual may contain paragraphs
that require your special attention. Such
paragraphs are marked with the
symbols described below:
Warning where there is a risk of an
accident or personal injury or
serious damage to property.
Caution where there is a risk of
damaging the machine or its
individual components.
Note or hint which is not essential
for using the machine, but may
improve the operator’s under-
standing of the situation and result
in better use of the machine.
Note or hint on correct procedure in
order to avoid damage to the
environment.
KombiSystem
.
.
.
.
002BA159 KN
+
+
Guide to Using this Manual

3HT-KM
English / USA
Equipment and features
This instruction manual may refer to
several models with different
features. Components that are not
installed on all models and related
applications are marked with an
asterisk (*). Such components may
be available as special accessories
from your STIHL dealer.
Engineering improvements
STIHL’s philosophy is to continually
improve all of its products. As a result,
engineering changes and improvements
are made from time to time. If the
operating characteristics or the
appearance of your machine differ from
those described in this manual, please
contact your STIHL dealer for
assistance.
Therefore some changes, modifications
and improvements may not be covered
in this manual.
Because a KombiEngine
equipped with a pole
pruner KombiTool is a
high-speed, fast-cutting
power tool with a very
long reach, special safety
precautions must be
observed to reduce the
risk of personal injury.
It is important that you
read, fully understand and
observe the following
safety precautions and
warnings. Read the
instruction manuals and
the safety precautions for your
KombiEngine and pole pruner
KombiTool periodically. Careless or
improper use may cause serious or fatal
injury.
Have your STIHL dealer show you how
to operate your power tool. Observe all
applicable local safety regulations,
standards and ordinances.
!Warning!
Do not lend or rent your power tool
without the instruction manuals for your
KombiEngine and pole pruner
KombiTool. Be sure that anyone using it
understands the information contained
in these manuals.
!Warning!
The use of this machine may be
hazardous. The pole pruner chain has
many sharp cutters. If the cutters contact
your flesh, they will cut you, even if the
chain is not moving.
Do not cut any material other than wood
or wooden objects. Use your pole pruner
for limbing only. It must not be used for
any other purposes, since such misuse
may result in an accident or damage to
the machine.
!Warning!
Minors should never be allowed to use
this power tool. Bystanders, especially
children, and animals should not be
allowed in the area where it is in use.
!Warning!
To reduce the risk of injury to bystanders
and damage to property, never let your
power tool run unattended. When it is
not in use (e.g. during a work break),
shut it off and make sure that
unauthorized persons do not use it.
Safety Precautions and
Working Techniques

4
English / USA
HT-KM
Most of these safety precautions and
warnings apply to the use of all STIHL
pole pruners. Different models may have
different parts and controls. See the
appropriate section of your
KombiEngine and KombiTool instruction
manuals for a description of the controls
and the function of the parts of your
model.
Safe use of a pole pruner involves
1. the operator
2. the pole pruner
3. the use of the pole pruner.
THE OPERATOR
Physical Condition
You must be in good physical condition
and mental health and not under the
influence of any substance (drugs,
alcohol, etc.) which might impair vision,
dexterity or judgment. Do not operate
this machine when you are fatigued.
!Warning!
Be alert – if you get tired, take a break.
Tiredness may result in loss of control.
Working with any power tool can be
strenuous. If you have any condition that
might be aggravated by strenuous work,
check with your doctor before operating
this machine.
Proper Clothing
!Warning!
To reduce the risk of injury, the operator
should wear proper protective apparel.
!Warning!
To reduce the risk of injury
to your eyes never
operate your power tool
unless wearing goggles or
properly fitted protective
glasses with adequate top
and side protection complying with ANSI
Z 87.1 (or your applicable national
standard). To reduce the risk of injury to
your face STIHL recommends that you
also wear a face shield or face screen
over your goggles or protective glasses.
Wear an approved safety hard hat to
reduce the risk of injury to your head.
Power tool noise may damage your
hearing. Wear sound barriers (ear plugs
or ear mufflers) to protect your hearing.
Continual and regular users should have
their hearing checked regularly.
Be particularly alert and cautious when
wearing hearing protection because
your ability to hear warnings (shouts,
alarms, etc.) is restricted.
Always wear gloves when
handling the machine and
the cutting tool. Heavy-
duty, nonslip gloves
improve your grip and
help to protect your
hands.
Clothing must be sturdy
and snug-fitting, but allow
complete freedom of
movement. Wear long
pants made of heavy
material to help protect
your legs. Do not wear shorts, sandals
or go barefoot.
Avoid loose-fitting jackets, scarfs,
neckties, jewelry, flared or cuffed pants,
unconfined long hair or anything that
could become caught on branches,
brush or the moving parts of the unit.
Secure hair so it is above shoulder level.
Good footing is very
important. Wear sturdy
boots with nonslip soles.
Steel-toed safety boots
with cut retardant inserts
are recommended.

5HT-KM
English / USA
THE POLE PRUNER KOMBITOOL
For illustrations and definitions of the
pole pruner KombiTool parts see the
chapter on “Main Parts and Controls.”
!Warning!
Never modify this KombiTool in any way.
Only attachments supplied by STIHL or
expressly approved by STIHL for use
with the specific STIHL model are
authorized. Although certain
unauthorized attachments are useable
with STIHL power tools, their use may, in
fact, be extremely dangerous.
If this tool is subjected to unusually high
loads for which it was not designed (e.g.
heavy impact or a fall), always check
that it is in good condition before
continuing work. Check in particular that
the fuel system is tight (no leaks) and
that the controls and safety devices are
working properly. Do not continue
operating this machine if it is damaged.
In case of doubt, have it checked by your
STIHL servicing dealer.
THE USE OF THE UNIT
(KOMBIENGINE EQUIPPED WITH
POLE PRUNER KOMBITOOL)
Transporting the Power Tool
!Warning!
This power tool should be carried only in
a horizontal position. Grip the shaft in a
manner that the machine is balanced
horizontally. Keep the hot muffler away
from your body and the cutting
attachment behind you. Accidental
acceleration of the engine can cause the
chain to rotate and cause serious
injuries.
!Warning!
Always switch off the engine and fit the
scabbard over the cutting attachment
before transporting the power tool over
long distances. When transporting it in a
vehicle, properly secure it to prevent
turnover, fuel spillage and damage to the
unit.
Before Starting
Take off the chain guard (scabbard) and
inspect the pole pruner for proper
condition and operation. (See the
maintenance chart near the end of the
instruction manuals.)
!Warning!
Always check your power tool for proper
condition and operation before starting,
particularly the throttle trigger, throttle
trigger interlock, stop switch and cutting
attachment. The throttle trigger must
move freely and always spring back to
the idle position. Never attempt to
modify the controls or safety devices.
!Warning!
Never operate your power tool if it is
damaged, improperly adjusted or
maintained, or not completely or
securely assembled.
390BA000 KN

6
English / USA
HT-KM
Keep the handles clean and dry at all
times; it is particularly important to keep
them free of moisture, pitch, oil, fuel mix,
grease or resin in order for you to
maintain a firm grip and properly control
your power tool.
For proper assembly of the bar and
chain follow the procedure described in
the chapter “Mounting the Bar and
Chain” of your instruction manual.
STIHL Oilomatic chain, guide bar and
sprocket must match each other in
gauge and pitch.
!Warning!
Proper chain tension is extremely
important. In order to avoid improper
setting, the tensioning procedure must
be followed as described in your
manual. Always make sure the hex
nut(s) for the sprocket cover is (are)
tightened securely after tensioning the
chain. Check chain tension once more
after having tightened the nut(s). Never
start the pole pruner with the sprocket
cover loose.
Adjust carrying harness and hand grip to
suit your size before starting work.
Starting
!Warning
To reduce the risk of fire and burn
injuries, start the engine at least 10 feet
(3 meters) from the fueling spot,
outdoors only.
Start and operate your pole pruner
without assistance.
For specific starting instructions, see the
appropriate section of your
KombiEngine manual. Proper starting
methods reduce the risk of injury.
Place the pole pruner on firm ground or
other solid surface in an open area or, in
the alternative, as shown in the above
picture. Maintain good balance and
secure footing.
!Warning!
To reduce the risk of injury from loss of
control, do not attempt to “drop start”
your power tool.
!Warning!
To reduce the risk of injury from loss of
control be absolutely sure that the guide
bar and chain are clear of you and all
other obstructions and objects, including
the ground, because when the engine
starts at starting-throttle, engine speed
will be fast enough for the clutch to
engage the sprocket and turn the chain.
Once the engine has started,
immediately blip the throttle trigger,
which should release the starting throttle
and allow the engine to slow down to
idle.
With the engine running only at idle,
attach the power tool to the spring hook
of your harness (see appropriate
chapter of this manual).
!Warning!
When you pull the starter grip, do not
wrap the starter rope around your hand.
Do not let the grip snap back, but guide
the starter rope to rewind it properly.
Failure to follow this procedure may
result in injury to your hand or fingers
and may damage the starter
mechanism.
275BA006 KN

7HT-KM
English / USA
Important Adjustments
!Warning!
To reduce the risk of personal injury from
loss of control or contact with the
running cutting tool, do not use your unit
with incorrect idle adjustment. At correct
idle speed, the saw chain should not
move. For directions on how to adjust
idle speed, see the appropriate section
of your KombiEngine instruction
manual.
If you cannot set the correct idle speed,
have your STIHL dealer check your
power tool and make proper
adjustments and repairs.
Proper chain tension is very important at
all times. Check it at regular intervals
(whenever the pole pruner is shut off). If
the chain becomes loose while cutting,
switch off the engine and then tighten.
Never try to tighten the chain while the
engine is running.
During Operation
Holding and controlling the power
tool
Always hold the unit firmly with both
hands on the handles while you are
working. Wrap your fingers and thumbs
around the handles.
Place your left hand on front handle and
your right hand on rear grip and throttle
trigger. Left handers should follow these
instructions too. Keep your hands in this
position to have your pole pruner under
control at all times.
!Warning!
Never attempt to operate your power
tool with one hand. Loss of control of the
power tool resulting in serious or fatal
injury may result.
!Warning!
In order to properly control your pole
pruner, always maintain good balance
and a firm foothold. Never work on a
ladder, in a tree or on any other insecure
support. Never hold the machine above
shoulder height. Do not overreach.
When working at a height above 15 feet
(4.5 m) use a lift bucket.
!Warning!
Special care must be taken in slippery
conditions (wet ground, snow) and in
difficult, overgrown terrain. Watch for
hidden obstacles such as tree stumps,
roots, rocks, holes and ditches to avoid
stumbling. For better footing, clear away
fallen branches, scrub and cuttings. Be
extremely cautious when working on
slopes or uneven ground.
!Warning!
Take extreme care in wet and freezing
weather (rain, snow, ice). Put off the
work when the weather is windy, stormy
or rainfall is heavy.
402BA000 KN

8
English / USA
HT-KM
Working conditions
Operate and start your power tool only
outdoors in a well ventilated area.
Operate it under good visibility and
daylight conditions only. Work carefully.
!Warning!
As soon as the engine is
running, this product
generates toxic exhaust
fumes containing
chemicals, such as
unburned hydrocarbons
(including benzene) and carbon
monoxide, that are known to cause
respiratory problems, cancer, birth
defects, or other reproductive harm.
Some of the gases (e.g. carbon
monoxide) may be colorless and
odorless. To reduce the risk of serious or
fatal injury/illness from inhaling toxic
fumes, never run the machine indoors or
in poorly ventilated locations. If exhaust
fumes become concentrated due to
insufficient ventilation, clear
obstructions from work area to permit
proper ventilation before proceeding
and/or take frequent breaks to allow
fumes to dissipate before they become
concentrated.
!Warning!
Inhalation of certain dusts, especially
organic dusts such as mold or pollen,
can cause susceptible persons to have
an allergic or asthmatic reaction.
Substantial or repeated inhalation of
dust and other airborne contaminants, in
particular those with a smaller particle
size, may cause respiratory or other
illnesses. This includes wood dust,
especially from hardwoods, but also
from some softwoods such as Western
Red Cedar. Control dust at the source
where possible. Use good work
practices, such as always cutting with a
properly sharpened chain (which
produces wood chips rather than fine
dust) and operating the unit so that the
wind or operating process directs any
dust raised by the power tool away from
the operator. Follow the
recommendations of EPA/OSHA/
NIOSH and occupational and trade
associations with respect to dust
(“particulate matter”). When the
inhalation of dust cannot be substantially
controlled, i.e., kept at or near the
ambient (background) level, the
operator and any bystanders should
wear a respirator approved by NIOSH/
MSHA for the type of dust encountered.
!Warning!
Breathing asbestos dust is dangerous
and can cause severe or fatal injury,
respiratory illness or cancer. The use
and disposal of asbestos-containing
products have been strictly regulated by
OSHA and the Environmental Protection
Agency. If you have any reason to
believe that you might be cutting
asbestos, immediately contact your
employer or a local OSHA
representative.
!Warning
This power tool has a large range. In
order to reduce the risk of personal or
even fatal injury to bystanders from
falling objects or inadvertent contact with
the moving chain of your power tool
always keep bystanders at least 50 feet
(15 m) away when the power tool is
running.
!Warning!
Even though bystanders should be kept
away from the running saw, never work
alone. Keep within calling distance of
others in case help is needed.
Stop the engine immediately if you are
approached.

9HT-KM
English / USA
Danger!
Your power tool is not
insulated against electric
shock. To reduce the risk
of electrocution, never
operate this power tool in the vicinity of
any wires or cables (power, etc.) which
may be carrying electric current.
Electricity can jump from one point to
another by means of arcing. Higher
voltage increases the distance electricity
can arc. Electricity can also move
through branches, especially if they are
wet. Maintain a clearance of at least
50 feet (15 m) between the pole pruner
(including any branches it is contacting)
and any electrical line carrying live
current. Before working with less
clearance, contact your electric utility
and make sure the current is turned off.
Operating instructions
!Warning!
Do not operate your power tool using the
starting throttle lock, as you do not have
control of the engine speed.
In the event of an emergency, switch off
the engine immediately – move the slide
control / stop switch to 0 or STOP.
!Warning
To reduce the risk of cut injuries, keep
hands and feet away from the saw
chain. Never touch a moving chain with
your hand or any other part of your body.
The saw chain continues to move for a
short period after the throttle trigger is
released (inertia effect).
!Warning!
Accelerating the engine while the chain
is blocked increases the load and will
cause the clutch to slip continuously.
This may result in overheating and
damage to important components (e.g.
clutch, polymer housing components) –
which can then increase the risk of injury
from the chain moving while the engine
is idling.
!Warning!
If the chain becomes clogged, always
turn off the engine and make sure the
chain has stopped before cleaning.
Make sure that the saw chain does not
touch any foreign materials such as
rocks, fences, nails and the like. Such
objects may be flung off and injure the
operator or bystanders, or damage the
saw chain.
!Warning!
Prior to limbing, clear the working area
from interfering limbs and brush. Then,
establish an escape area away from
where the cut limbs can fall, and remove
all obstacles.
Keep work area clear – move away
fallen limbs. Place all tools and
equipment at a safe distance from the
branches being limbed, but not in the
escape area.
!Warning!
Always observe the general condition of
the tree. Look for decay and rot in the
trunk and branches. If it is rotted inside,
it could snap and fall toward the operator
while being cut. Also look for broken or
dead branches which could vibrate
loose and fall on the operator.
If branch is thick or heavy, make a
shallow relief cut on the bottom of the
branch before cutting down from the top
to help prevent splitting of the branch.
15m (50ft)
15m (50ft)

10
English / USA
HT-KM
!Warning!
To reduce the risk of severe or even fatal
injury from falling objects do not cut
vertically above your body. Hold the pole
pruner at an angle of not more than 60°
from the horizontal level (see picture).
Objects may fall in unexpected
directions. Do not stand directly
underneath the limb being cut!
Watch for falling wood! As soon as the
limbed branch starts to fall, step aside
and keep a sufficient distance away from
the falling wood.
!Warning
Always pull the unit out of the cut with
the chain running to reduce the
possibility of pinching the cutting
attachment. Don't put pressure on the
pole pruner when reaching the end of a
cut. The pressure may cause the bar
and rotating chain to pop out of the cut or
kerf, go out of control and strike some
other object.
If the bar becomes pinched and caught
in the branch so that the chain can no
longer move, shut off the pole pruner
and carefully move the branch to open
the pinch and release the bar.
Reactive forces
!Warning!
Reactive forces may occur any time the
chain is rotating.The force used to cut
wood can be reversed and work against
the operator. If the rotating chain is
suddenly stopped by contact with any
solid object such as a branch or is
pinched, the reactive forces may occur
instantly. These reactive forces may
result in loss of control, which, in turn,
may cause personal injury. An
understanding of the causes of these
reactive forces may help you avoid the
element of surprise and loss of control.
Because of the design of the pole
pruner, the reactive forces experienced
when working with it are generally not as
severe as those encountered with a
chainsaw. Nevertheless, you should
always maintain a proper grip and good
footing to control the power tool when
you experience such forces.
The most common reactive forces are:
– kickback,
– pushback,
– pull-in.
275BA005 KN

11HT-KM
English / USA
Kickback
Kickback may occur when the moving
saw chain near the upper quadrant of
the bar nose contacts a solid object or is
pinched.
The reaction of the cutting force of the
chain causes a rotational force on the
chainsaw in the direction opposite to the
chain movement. This may cause the
bar to move upward.
To avoid kickback
The best protection from kickback is to
avoid kickback situations:
1. Be aware of the location of the guide
bar nose at all times.
2. Never let the nose of the guide bar
contact any object. Do not cut limbs
with the nose of the guide bar. Be
especially careful near wire fences
and when cutting small, tough
limbs, which may easily catch the
chain.
3. Cut only one limb at a time.
A = Pull-in
Pull-in occurs when the chain on the
bottom of the bar is suddenly stopped
when it is pinched, caught or encounters
a foreign object in the wood. The
reaction of the chain pulls the saw
forward.
Pull-in frequently occurs when the chain
is not rotating at full speed before it
contacts the wood.
To avoid pull-in
1. Be alert to forces or situations that
may cause material to pinch the
chain at the bottom of the bar.
2. Always start a cut with the chain
rotating at full speed
B = Pushback
Pushback occurs when the chain on the
top of the bar is suddenly stopped when
it is pinched, caught or encounters a
foreign object in the wood. The reaction
of the chain may drive the saw rapidly
straight back toward the operator.
Pushback frequently occurs when the
top of the bar is used for cutting.
To avoid pushback
1. Be alert to forces or situations that
may cause material to pinch the
chain at the top of the bar.
2. Do not cut more than one limb at a
time.
3. Do not twist the bar when
withdrawing it from an underbuck
cut because the chain can pinch.
002BA230 KN
001BA037 KN
A
001BA038 KN
B
12
English / USA
HT-KM
MAINTENANCE, REPAIR AND
STORING
Maintenance, replacement, or repair
of the emission control devices and
systems may be performed by any
nonroad engine repair establishment
or individual. However, if you make a
warranty claim for a component
which has not been serviced or
maintained properly or if
nonapproved replacement parts were
used, STIHL may deny coverage.
!Warning!
Use only identical STIHL replacement
parts for maintenance and repair. Use of
non-STIHL parts may cause serious or
fatal injury.
Strictly follow the maintenance and
repair instructions in the appropriate
sections of your instruction manuals.
Please refer to the maintenance charts
in the manuals.
!Warning!
Always stop the engine and make sure
that the chain is stopped before doing
any maintenance or repair work or
cleaning the power tool. Do not attempt
any maintenance or repair work not
described in your instruction manuals.
Have such work performed by your
STIHL servicing dealer only.
Wear gloves when handling or
performing maintenance on the cutting
attachment.
!Warning!
Keep the chain, bar and sprocket clean;
replace worn sprockets or chains. Keep
the chain sharp. You can spot a dull
chain when easy-to-cut wood becomes
hard to cut or burn marks appear on the
wood.
Tighten all nuts, bolts and screws except
the carburetor adjustment screws after
each use.
Store the power tool in a dry and high or
locked location out of reach of children.
Before storing for longer than a few
days, always empty the fuel tank. See
chapter "Storing the machine" in the
KombiEngine manual.
Store fuel and chain oil in approved and
properly labeled safety-type canisters
only. Take care when handling gasoline!
Avoid direct contact with the skin and
avoid inhaling fuel vapor!

13HT-KM
English / USA
Preparations
:Wear suitable protective clothing
and equipment – see "Safety
Precautions".
:Start the engine.
:Put on the shoulder strap.
Never throw cuttings into the
household garbage can – they
can be composted!
Never stand directly under the
branch you are cutting – be wary of
falling branches. Note that a branch
may spring back at you after it hits
the ground!
Cutting sequence
To allow branches a free fall, always cut
the lower branches first. Prune heavy
branches (large diameter) in several
controllable pieces.
Working position
Hold the control handle with your right
hand, and the drive tube with your left
hand. Your left arm should be extended
to the most comfortable position.
The shaft should always be held at an
angle of 60° or less!
The most convenient working position is
a tool angle of 60°, but any lesser angle
may be used to suit the situation
concerned.
Cross-cutting
To avoid pinching the bar in the cut,
position the cutting attachment with the
hook against the branch and then
perform the cross-cut from the top
downwards.
Using the Pole Pruner
402BA012 KN
390BA052 KN

14
English / USA
HT-KM
Relieving cut
:To avoid tearing the bark on thick
branches, always start by
performing a relieving cut (1) on the
underside of the branch.
:To do this, apply the cutting
attachment and pull it in an arc
across the bottom of the branch
(see illustration).
:Locate the hook against the branch
and then perform the cross-cut (2).
Flush-cutting thick branches
:If branch diameter is more than
4“ (10 cm), first perform undercut (3)
and then cross-cut at a distance (A)
of about 8“ (20 cm) from the final
cut.
Then carry out the flush-cut (4),
starting with a relieving cut and
finishing with a cross-cut.
Cutting above obstacles
The unit's long reach makes it possible
to prune branches that are overhanging
obstacles, such as rivers or lakes.
The tool angle in this case depends on
the position of the branch.
2
1
390BA041 KN
3
4
A
390BA024 KN
402BA013 KN

15HT-KM
English / USA
Cutting from a lift bucket
The unit's long reach enables cutting to
be performed next to the trunk without
the risk of the lift bucket damaging other
branches.
The tool angle in this case depends on
the position of the branch.
:
30° angle drive
(special accessories)
The angle drive keeps the cutting
attachment at an angle of 30° to the
drive tube.
The angle drive may be adjusted on the
drive tube to the following positions only:
:For cutting vertical branches and
bushes, horizontally (1)
:For a better view of the cutting
attachment (2)
402BA014 KN
1
2
390BA053 KN

16
English / USA
HT-KM
Only use KombiEngines supplied by
STIHL or expressly approved by STIHL
for use with the KombiTool.
This KombiTool may be operated only in
combination with the following
KombiEngines:
STIHL KM 55 R, KM 55 RC, KM 90 R,
KM 85 R, KM 110 R, KM 130 R
The KombiTool may also be mounted to
STIHL brushcutters with a split boom or
drive tube (T models).
Operation of this KombiTool is therefore
also permitted on the following power
tool models:
STIHL FS 55 RT, FS 55 RTC, FS 85 RT,
FS 83 RT
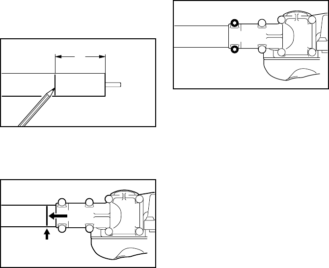
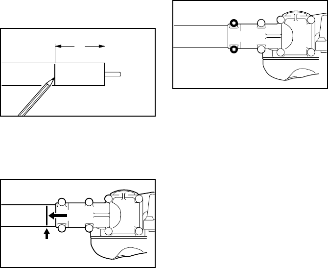
Mounting the Gearbox
Pull the protective caps off the ends of
the drive tube and keep them in a safe
place.
:Apply a mark to the drive tube at a
distance A of 50 mm (2“).
:Push the gearbox (1) onto the drive
tube (2) as far as stop – turn the
gearbox back and forth until the
square end of the shaft engages.
The gearbox is correctly positioned if it
reaches or covers the mark (see arrow).
:Insert clamp screws (3) as far as
stop.
:With the engine is resting on the
machine support, line up the
gearbox (1) so that the clamp
screws face up and the chain
sprocket cover is exactly vertical.
:Tighten down the clamp screws (3)
in the following sequence:
– tighten the left screw moderately
– tighten the right screw moderately
– tighten down the left screw firmly
– tighten down the right screw firmly
Approved KombiEngines Mounting the Pole Pruner
A
402BA002 KN
2
402BA023 KN
1
402BA024 KN
3
3
1

17HT-KM
English / USA
Mounting
:Engage lug (1) on drive tube in
slot (2) in the coupling sleeve and
push home the drive tube as far as
stop.
:When correctly installed, the red
line (3) (arrow point) must be flush
with the end of the coupling sleeve.
:Tighten the wing screw (4) firmly.
Removing
:Reverse the above sequence to
remove the drive tube.
:Unscrew nut and take off cover.
:Turn tensioning screw (1)
counterclockwise until the
tensioning nut (2) butts against the
left end of the housing slot, then
back it off 5 full turns.
The chain is very sharp – wear work
gloves to protect hands from cuts.
:Fit the chain –
start at the bar nose.
Mounting the KombiTool
002BA132 KN
1
2
4
3
002BA133 KN
Mounting the Bar and Chain
390BA042 KN
1
2
390BA043 KN
390BA003 KN

18
English / USA
HT-KM
:Fit guide bar over the stud (3).
Engage peg of tensioner slide in
locating hole (4) – place the chain
over sprocket (5) at the same time.
:Now turn tensioning screw (1)
clockwise until there is very little
chain sag on the underside of the
bar – and the drive link tangs are
located in the bar groove.
:Refit the sprocket cover and screw
on the nut only fingertight.
:Now refer to "Tensioning the Saw
Chain".
Retensioning during cutting work:
:Shut off the engine and then
slacken the nut.
:Hold the bar nose up.
:Use screwdriver to turn the
tensioning screw (1) clockwise until
chain fits snugly against the
underside of the bar.
Tighten down the nut firmly.
A new chain has to be retensioned more
often than one that has been in use for
some time – check chain tension
frequently – see chapter "Operating
Instructions / During Operation".
:Check chain tension.
:Shut down the engine.
:Wear work gloves to protect hands.
:Chain must fit snugly against the
underside of the bar and it must still
be possible to pull the chain along
the bar by hand.
:If necessary, retension the chain.
A new chain has to be retensioned more
often than one that has been in use for
some time.
Check chain tension frequently –
see chapter "Operating Instructions /
During Operation".
1
5
390BA044 KN
43
Tensioning the Saw Chain
1
390BA045 KN
Checking Chain Tension
390BA046 KN

19HT-KM
English / USA
For automatic and reliable
lubrication of the chain and guide
bar – use only an environmentally
compatible quality chain and bar
lubricant with non-fling additive
or the rapidly biodegradable
STIHL BioPlus is recommended.
Biological chain oil must be resistant
to aging (e.g. STIHL BioPlus) since
it will otherwise quickly turn to resin.
This results in hard deposits that are
difficult to remove, especially in the
area of the chain drive and chain. It
may even cause the oil pump to
seize.
The service life of the chain and guide
bar depends on the quality of the
lubricant. It is therefore essential to use
only a specially formulated chain
lubricant.
If special chain lubricant is not available,
you may – in an emergency – use an HD
single grade or multigrade engine oil
with a viscosity that suits the prevailing
outside temperature.
Do not use waste oil!
Medical studies have shown that
renewed contact with waste oil can
cause skin cancer. Moreover, waste
is environmentally harmful!
Waste oil does not have the
necessary lubricating properties
and is unsuitable for chain
lubrication.
:A full chain oil tank is sufficient
for only half a tankful of fuel.
Check the oil level regularly
during cutting work. Never allow
the oil tank to run dry!
:Thoroughly clean the filler cap and
area around it so that no dirt can fall
into the tank.
:Position the unit so that the filler cap
faces up.
If the oil level in the tank does not go
down, the reason may be a problem in
the oil supply system: Check chain
lubrication, clean the oilways, contact
your servicing dealer for assistance if
necessary. STIHL recommends that you
have maintenance and repair work
performed only by a STIHL servicing
dealer.
Chain Lubricant Filling Chain
Oil Tank
390BA047 KN

20
English / USA
HT-KM
The bayonet-type oil tank filler cap with
its hinged grip can be opened and
closed without tools.
:To open the tank, swing the grip (1)
to the vertical position.
:Turn the filler cap counterclockwise
as far as stop and remove.
:Fill up with chain oil.
:To close the oil tank, place the filler
cap in position with the grip upright,
making sure the recesses (2) are in
alignment.
:Turn the filler cap clockwise as far
as stop.
:Fold the grip down so that it is flush
with the top of the cap.
The saw chain must always throw off a
small amount of oil.
:Always check chain lubrication and
the oil level in the tank before
starting work.
Never operate your pruner without
chain lubrication. If the chain is run
dry, the whole cutting attachment
will be irretrievably damaged within
a very short time.
Inadequate lubrication can be caused by
a dirty oil strainer: Have the oil strainer
cleaned or replaced by your servicing
dealer.
Every new chain has to be broken in
for about 2 to 3 minutes.
After breaking in the chain, check
chain tension and adjust if
necessary – see chapter
"Checking Chain Tension".
Shoulder Strap
The type and style of harness depend on
the market.
:Put on the shoulder strap (1).
:Adjust the length of the strap so that
the spring hook (2) is about a hand’s
width below your right hip.
247BA011 KN
12
Checking Chain Lubrication
390BA048 KN
Fitting the Harness

21HT-KM
English / USA
:Remove the chain guard
(scabbard). Check that chain is not
touching the ground or any other
obstacles.
:Position the unit securely for
starting:
The powerhead must rest on the
engine support. Place the hook on
the cutting attachment on a raised
support, e.g. a mound or branch
(see illustration).
:Make sure you have a firm footing:
Press the unit firmly against the
ground with your left hand on the fan
housing. Your thumb should be
under the fan housing.
Do not stand or kneel on the drive
tube.
Alternative method:
:Remove the chain guard.
Hang the cutting attachment on a
branch so that it is held by the hook.
:Hold the unit firmly with your left
hand around the fan housing – your
thumb under the fan housing.
The starting procedure is now as
described in the KombiEngine
instruction manual.
To shut down the engine
:Move the slide control in direction of
arrow ( h ) to STOP – $ or the stop
switch to $.
During operation
Check chain tension frequently!
A new chain has to be tensioned more
often than one that has been in use for
some time.
Cold chain:
Tension is correct when the chain fits
snugly against the underside of the bar
and can still be pulled along the bar by
hand.
Retension if necessary –
see chapter “Tensioning the Saw Chain”.
Chain at operating temperature:
The chain stretches and begins to sag.
The drive links on the underside of the
bar must not come out of the bar groove
– the chain may otherwise jump off the
bar.
Retension the chain – see chapter
“Tensioning the Saw Chain”.
Always slacken off the chain again
after finishing work. The chain
contracts as it cools down. If it is not
slackened off, it may damage the
gear shaft and bearings.
Starting / Stopping
the Engine
402BA028 KN
402BA029 KN
Operating Instructions

22
English / USA
HT-KM
After finishing work
:Slacken off the chain if you have
retensioned it at operating
temperature during cutting work.
The chain contracts as it cools
down. If it is not slackened off, it may
damage the gear shaft and
bearings.
Storing for longer period:
See chapter "Storing the Machine".
For periods of about 3 months or longer:
:Remove and clean the saw chain
and guide bar, spray with corrosion
inhibiting oil.
:If you use biological chain and bar
lubricant (e.g. STIHL BioPlus)
completely fill the chain oil tank.
:If the KombiTool is stored
separately, fit the protective cap on
the drive tube to avoid dirt getting
into the coupling.
:Store the machine in a dry, high or
locked location – out of the reach of
children and other unauthorized
persons.
:Turn the bar over –
every time you sharpen the chain –
and every time you replace the
chain – this avoids one-sided wear,
especiallly at nose and underside of
the bar.
Regularly clean
1 = oil inlet hole
2 = oil passage
3 = bar groove
Storing the Machine Taking Care of Guide Bar
3
2
1
390BA050 KN

23HT-KM
English / USA
:Measure groove depth –
with scale on filing gauge – see
"Special Accessories" – in area
used most for cutting on Rollomatic
bars.
If groove depth is less than specified:
:Replace the guide bar.
The drive link tangs will otherwise
scrape along the bottom of the groove –
the cutters and tie straps will not ride on
the rails.
:Remove the chain sprocket cover,
chain and guide bar.
Replace the chain sprocket:
– after using two Oilomatic chains or
sooner
– if the wear marks (dimension a)
on the sprocket are deeper than
0.02 in (0.5 mm) – the life of the
chain would otherwise be reduced.
Use reference gauge (special
accessory) to check the depth of the
wear marks.
The service life of the chain
sprocket is prolonged if it is used
with two chains in rotation.
Use only original STIHL replacement
sprockets.
The chain sprocket is driven via a friction
clutch and must be replaced by a
servicing dealer.
STIHL recommends that you have
maintenance and repair work performed
only by a STIHL servicing dealer.
Chain type Chain pitch Minimum
groove depth
Picco-Mini 3/8" P 5.0 mm
(0.20")
Checking and Replacing
the Chain Sprocket
a
000BA054 KN

24
English / USA
HT-KM
Correctly sharpened chain
A properly sharpened chain slices
through wood effortlessly and requires
very little feed pressure.
Do not work with a dull or damaged saw
chain as it will increase the physical
effort required, cause higher vibrations,
produce unsatisfactory results and a
higher rate of wear.
:Clean the chain.
:Check the chain for cracks in the
links and damaged rivets.
:Replace any damaged or worn parts
of the chain and match the new
parts to the shape and size of the
original parts by filing back as
necessary.
It is necessary to comply with the
angles and dimensions specified
below. If the saw chain is
incorrectly sharpened – especially
if the depth gauges are too low –
there is an increased risk of
kickback and resulting injury!
The pruner’s saw chain cannot be
locked in place on the guide bar.
Therefore, it is best to remove the
chain from the bar and resharpen it
on a workshop sharpening tool
(FG 2, HOS, USG).
:Select the appropriate sharpening
tools for the chain pitch.
See "Specifications" for the
permitted chain pitches.
The chain pitch (e.g. 3/8") is marked on
the depth gauge of each cutter.
Use only special saw chain files!
Other files have the wrong shape and
cut.
Select the file diameter according to the
chain pitch (see table "Sharpening
Tools" at the end of this chapter).
You must also observe the following
angles when resharpening the chain
cutters.
A = Filing angle
B = Side plate angle
Cutter shape: Micro = Semi-chisel
Specified angles A and B are more
readily obtained if recommended files or
sharpening tools and correct settings
are used.
Maintaining and Sharpening
Saw Chain
3/8
689BA020 KN
Chain type Angle (°)
AB
Picco Micro Mini
(PMMC3, PMN) 30 85
A
B
689BA021 KN

25HT-KM
English / USA
Furthermore, the angles must be the
same on all cutters. If angles are uneven
the chain will run roughly, not in a
straight line, wear quickly and break
prematurely.
As these requirements can be met only
after sufficient and constant practice:
:Use a file holder
A file holder must be used for manual
resharpening of saw chain (see table
"Sharpening Tools"). The correct filing
angles are marked on the file holder.
For checking angles
Use a STlHL filing gauge (see table
"Sharpening Tools"). This is a universal
tool for checking the filing and side plate
angles, depth gauge setting and cutter
length. It also cleans the guide bar
groove and oil inlet holes.
File correctly
:If you use an FG 2, HOS or USG
sharpener: Remove the chain from
the bar and sharpen according to
instructions supplied with the tool.
:Sharpen chain frequently; take
away as little metal as possible –
two or three strokes of the file are
usually enough.
:Hold the file horizontally (at right
angle to side of guide bar) and file
according to the angles marked on
the file holder. Rest the file holder on
the top plate and depth gauge.
:Always file from the inside to the
outside of the cutter.
:The file only sharpens on the
forward stroke – lift the file off the
cutter on the backstroke.
:Avoid touching the tie straps and
drive links with the file.
689BA025 KN
90°
60°
85° 70° 80°
0°
35°
10°
30°
689BA022 KN
689BA018 KN
90°
689BA043 KN

26
English / USA
HT-KM
:Rotate the file at regular intervals
while filing to avoid one-sided wear.
:Use a piece of hardwood to remove
burrs from cutting edge.
:Check angles with the filing gauge.
All cutters must be the same length.
If the cutters are not the same length,
they will have different heights. This
makes the chain run roughly and
increases the risk of breakage of the
chain.
:Find the shortest cutter and then file
all other cutters back to the same
length – it is best to have this work
done in a workshop on an electric
grinder.
Depth gauge setting
The depth gauge determines the height
at which the cutter enters the wood and
thus the thickness of the chip removed.
Specified distance or setting between
depth gauge and cutting edge = a:
This setting may be increased by 0.008"
(0.2 mm) for cutting softwood in mild
weather season – no frost.
Lowering depth gauges
The depth gauge setting is reduced
when the chain is sharpened because
the top plate of the cutter slopes
downward towards the back.
:Check the depth gauge setting
every time you sharpen the chain.
:Place a filing gauge (1) that
matches the chain pitch on the
chain – if the depth gauge projects
from the filing gauge, the depth
gauge has to be lowered.
:File down the depth gauge until it is
level with the filing gauge.
Chain pitch Depth gauge
setting “a“
Inch (mm) mm (inch)
3/8-PMMC3 (9.32) 0.65 (0.026)
3/8-PMN (9.32) 0.45 (0.018)
689BA023 KN
a
689BA047 KN
1
689BA051 KN

27HT-KM
English / USA
:File the top of the depth gauge
parallel to the stamped service
marking (see arrow) – but do not
lower the highest point of the depth
gauge in this process.
The kickback tendency of the
chainsaw is increased if the depth
gauges are too low.
:Place filing gauge on the chain –
highest point of depth gauge must
be level with the filing gauge.
After sharpening
After sharpening, clean the chain
thoroughly, remove filings or grinding
dust – lubricate the chain thoroughly.
Before long out-of-service period
Clean the chain with a brush and store it
in a well-oiled condition.
Saw chain
Sharpening Tools
(special accessories)
689BA044 KN
689BA052 KN
Type: Picco Micro Mini
(PMMC3, PMN)
Pitch: 3/8" P (9.32 mm)
Description Part No.
Round file
5/32" (4.0 mm)
diameter 5605 772 4006
File holder with
Round file 5605 750 4327
Filing gauge
PMMC3
PMN
1110 893 4000
0000 893 4000
Flat file 0814 252 3356
Sharpening kit
(includes all parts
listed above)
PMMC3
PMN
5605 007 1027
5605 007 1026

28
English / USA
HT-KM
1) STIHL recommends a STIHL servicing dealer
Maintenance Chart
Please note that the following maintenance intervals apply for normal
operating conditions only. If your daily working time is longer than normal
or cutting conditions are difficult (very dusty work area, resin-rich wood,
tropical wood etc.), shorten the specified intervals accordingly.
before
starting work
after finishing
work or daily
after each
refueling stop
weekly
monthly
every 12 months
if problem
if damaged
if required
Chain lubrication Check X
Saw chain
Check, also check sharpness XX
Check chain tension XX
Sharpen X
Guide bar
Check (wear, damage) X
Clean and turn over XX
Deburr X
Replace XX
Chain sprocket Check X
Replace 1) X
Safety labels Replace X

29HT-KM
English / USA
1 = Oilomatic Saw Chain
2 = Guide Bar
3 = Oil Tank
4 = Oil Filler Cap
5 = Drive tube
6 = Chain Sprocket Cover
7= Hook
8= Chain Guard (Scabbard)
9= Chain Sprocket
10= Chain Tensioner
11= Bush
Definitions
1. Oilomatic Saw Chain
A loop consisting of cutters,
tie straps and drive links.
2. Guide Bar
Supports and guides the saw chain.
3. Oil Tank
Tank for chain lubricating oil.
4. Oil Filler Cap
For closing the oil tank.
5. Drive tube
Device to connect the engine with
the gearbox.
6. Chain Sprocket Cover
Covers the sprocket.
7. Hook
For hooking machine to branch and
pulling branches away.
8. Chain Guard (Scabbard)
Covers chain for transportation and
during out-of-service periods.
9. Chain Sprocket
The toothed wheel that drives the
saw chain.
10. Chain Tensioner
Permits precise adjustment of chain
tension.
11. Bush
Locates drive tube in coupling
sleeve.
Parts and Controls
5
4
3
2
1
473BA001 KN
5
11
910
8
7
6
30
English / USA
HT-KM
Engine
See KombiEngine instruction manual.
Cutting Attachment
Weight
Contact your STIHL dealer for
information regarding special
accessories that may be available for
your product.
Guide bar
Type: Rollomatic
Rollomatic with
sprocket nose
Cutting length: 12" (30cm)
Oilomatic chain
Type: Picco Micro Mini
Pitch: 3/8"P (9.32mm)
Drive link gauge: 0,043" (1.1mm)
Chain sprocket
Type: Spur sprocket
Pitch: 3/8"P (9,32mm)
No. of teeth: 6
7 (special
accessory)
Specifications
Chain lubrication
Fully automatic, speed-controlled
rotary piston oil pump
Oil tank capacity: 0.46 US pt
(0.22 l)
Cutting attachment
with drive tube:
4 lbs (1.8kg)
Special Accessories
31HT-KM
English / USA
Users of this unit should carry out only
the maintenance operations described
in this manual. Other repair work may be
performed only by authorized STIHL
service shops.
Warranty claims following repairs can be
accepted only if the repair has been
performed by an authorized STIHL
servicing dealer using original STIHL
replacement parts.
Original STlHL parts can be identified by
the STlHL part number, the
STIHl
logo and, in some cases, by the STlHL
parts symbol (. This symbol may
appear alone on small parts.
Maintenance and Repairs

32
English / USA
HT-KM
STIHL Registered Trademarks
STIHL®
q
(
The color combination orange-grey
(U.S. Registrations #2,821,860;
#3,010,057; and #3,010,058)
4-MIX®
AUTOCUT®
EASYSTART®
OILOMATIC®
STIHL Cutquik®
STIHL DUROMATIC®
STIHL Farm Boss®
STIHL Quickstop®
STIHL ROLLOMATIC®
STIHL WOOD BOSS®
TIMBERSPORTS®
YARD BOSS®
Some of STIHL’s Common Law
Trademarks
BioPlus™
Easy2Start™
EasySpool™
ElastoStart™
Ematic™ / Stihl-E-Matic™
FixCut™
HT Plus™
IntelliCarb™
Master Control Lever™
Micro™
Pro Mark™
Quad Power™
Quiet Line™
STIHL Arctic™
STIHL Compact™
STIHL HomeScaper Series™
STIHL Interchangeable Attachment
Series™
STIHL Magnum™ / Stihl-Magnum™
STIHL MiniBoss™
STIHL MotoPlus 4™
STIHL Multi-Cut HomeScaper Series™
Stihl Outfitters™
STIHL PICCO™
STIHL PolyCut™
STIHL PowerSweep™
STIHL Precision Series™
STIHL Protech™
STIHL RAPID™
STIHL SuperCut™
STIHL Territory™
TapAction™
TrimCut™
This listing of trademarks is subject to
change.
Any unauthorized use of these
trademarks without the express written
consent of
ANDREAS STIHL AG & Co. KG,
Waiblingen is strictly prohibited.
Trademarks
33HT-KM
español / EE.UU
BA_SE_119_006_31_10.fmImpreso en papel sin cloro.
Las tintas contienen aceites vegetales,el papel es reciclable.
© ANDREAS STIHL AG & Co. KG, 2009
0458 473 8621 A. M7. B9. CP. Printed in USA
STIHl
Contenido
Sistema Kombi ............................... 34
Guía para el uso de este manual ... 34
Medidas de seguridad y
técnicas de manejo ........................ 35
Uso del podador de varilla .............. 45
Motores KombiEngine aprobados .. 48
Montaje del podador de varilla ....... 48
Instalación del KombiTool ............... 49
Montaje de la barra y la cadena ..... 49
Tensado de la cadena de sierra ..... 50
Revisión de tensión de la cadena .. 50
Lubricante de la cadena ................. 51
Llenado del tanque de aceite
de la cadena ................................... 51
Revisión de lubricación
de la cadena ................................... 52
Colocación del arnés ...................... 52
Arranque / parada del motor ........... 53
Instrucciones de manejo ................ 53
Almacenamiento de la máquina ..... 54
Cuidado de la barra guía ................ 54
Revisión y sustitución
de la rueda dentada de cadena ...... 55
Mantenimiento y afilado
de la cadena de sierra .................... 56
Tabla de mantenimiento ................. 60
Piezas y controles .......................... 61
Especificaciones ............................. 62
Accesorios especiales .................... 62
Mantenimiento y reparaciones ....... 63
Marcas comerciales ........................ 64
Permita que solamente las personas
que comprenden la materia tratada en
los manuales del motor KombiEngine y
del podador de varilla KombiTool mane-
jen esta herramienta motorizada combi-
nada.
Para obtener el rendimiento y satisfac-
ción máximos de la KombiTool STIHL,
es importante leer y comprender las ins-
trucciones de mantenimiento y las pre-
cauciones de seguridad, que empiezan
en la página 35, antes de usarla.
Comuníquese con el concesionario o
distribuidor de STIHL si no entiende
alguna de las instrucciones dadas en el
presente manual.
!Advertencia
Dado que ésta es una herramienta de
corte motorizada de gran velocidad y de
largo alcance, es necesario tomar medi-
das especiales de seguridad para redu-
cir el riesgo de lesiones.
El uso descuidado o inadecuado puede
causar lesiones graves e incluso morta-
les.
La filosofía de STIHL es mejorar conti-
nuamente todos su productos. Como
resultado de ello, periódicamente se
introducen cambios de diseño y mejo-
ras. Si las características de funciona-
miento o la apariencia de su accesorio
difieren de las descritas en este manual,
comuníquese con el concesionario
STIHL para obtener la información y
ayuda que requiera.

34
español / EE.UU
HT-KM
Con el sistema Kombi de STIHL, varios
motores Kombi y accesorios Kombi pue-
den combinarse para formar una herra-
mienta motorizada. En este manual de
instrucciones la unidad formada por el
motor Kombi y el accesorio Kombi se
identifica como la herramienta motori-
zada.
Hay manuales de instrucciones distintos
para el motor Kombi y el accesorio
Kombi.
Siempre lea y asegúrese que com-
prenda bien ambos manuales de ins-
trucciones antes de arrancar y usar la
máquina. Guarde los manuales en un
lugar seguro para referencia futura.
Pictogramas
Todos los pictogramas que se
encuentran en la máquina se muestran
y explican en este manual.
Las instrucciones de uso y manipulación
vienen acompañadas de ilustraciones.
Símbolos en el texto
Los pasos individuales o procedimientos
descritos en el manual pueden estar
señalados en diferentes maneras:
:Un punto identifica un paso o
procedimiento sin referencia directa
a una ilustración.
Una descripción de un paso o
procedimiento que se refiere
directamente a una ilustración puede
tener números de referencia que
aparecen en la ilustración.
Ejemplo:
Suelte el tornillo (1)
Palanca (2) ...
Además de las instrucciones de uso, en
este manual pueden encontrarse
párrafos a los que usted debe prestar
atención especial. Tales párrafos están
marcados con los símbolos que se
describen a continuación.
Advertencia donde existe el riesgo
de un accidente o lesiones
personales o daños graves a la
propiedad.
Precaución donde existe el riesgo
de dañar la máquina o los
componentes individuales.
Nota o sugerencia que no es
esencial para el uso de la máquina,
pero puede ayudar al operador a
comprender mejor la situación y
mejorar su manera de manejar la
máquina.
Nota o sugerencia sobre el
procedimiento correcto con el fin de
evitar dañar el medio ambiente.
Sistema Kombi
.
.
.
.
002BA159 KN
+
+
Guía para el uso de este
manual

35HT-KM
español / EE.UU
Equipo y características
Este manual de instrucciones
puede describir varios modelos con
diferentes características. Los
componentes que no se encuentran
instalados en todos los modelos y
las aplicaciones correspondientes
están marcados con un asterisco
(*). Esos componentes pueden ser
ofrecidos como accesorios
especiales por el concesionario
STIHL.
Mejoramientos técnicos
La filosofía de STIHL es mejorar
continuamente todos su productos.
Como resultado de ello, periódicamente
se introducen cambios de diseño y
mejoras. Si las características de
funcionamiento o la apariencia de su
máquina difieren de las descritas en
este manual, comuníquese con el
concesionario STIHL para obtener la
ayuda que requiera.
Por lo tanto, es posible que algunos
cambios, modificaciones y
mejoramientos no hayan sido descritos
en este manual.
Dado que un motor
KombiEngine equipado
con un accesorio podador
de varilla KombiTool es
una herramienta de corte
motorizada de gran velo-
cidad y de alcance largo, es necesario
tomar medidas especiales de seguridad
para reducir el riesgo de lesiones.
Es importante que usted
lea, comprenda bien y
respete las siguientes
advertencias y medidas
de seguridad. Lea periódi-
camente los manuales de
instrucciones y las instrucciones de
seguridad de su motor KombiEngine y
accesorio podador de varilla KombiTool.
El uso descuidado o inadecuado puede
causar lesiones graves o incluso morta-
les.
Pida a su concesionario STIHL que le
enseñe el manejo de la herramienta
motorizada. Respete todas las disposi-
ciones, reglamentos y normas de segu-
ridad locales del caso.
!Advertencia!
No preste ni alquile nunca su herra-
mienta motorizada sin entregar los
manuales de instrucciones de su motor
KombiEngine y el accesorio podador de
varilla KombiTool. Asegúrese que todas
las personas que utilicen la máquina
lean y comprendan la información con-
tenida en estos manuales.
!Advertencia!
El uso de esta máquina puede ser peli-
groso. La cadena del podador tiene
muchos cortadores afilados. Si los cor-
tadores entran en contacto con alguna
parte del cuerpo del operador, le causa-
rán una herida, aunque la cadena esté
detenida.
No corte ningún material que no sea
madera u objetos de madera. Utilice el
podador solamente para recortar ramas.
No debe usarse para ningún otro propó-
sito ya que el uso indebido puede resul-
tar en accidentes o daños de la
máquina.
!Advertencia!
Nunca se debe permitir a los niños que
usen esta herramienta motorizada. No
se debe permitir la proximidad de otros,
especialmente niños y animales, donde
se esté utilizando la máquina.
!Advertencia!
Para reducir el riesgo de ocasionar
lesiones a las personas en la cercanía y
daños a la propiedad, nunca deje la
herramienta motorizada en marcha des-
atendida. Cuando no está en uso (por
ejemplo durante el descanso), apáguela
y asegúrese que las personas no autori-
zadas no pueden usarla.
Medidas de seguridad y
técnicas de manejo

36
español / EE.UU
HT-KM
Las medidas de seguridad y avisos con-
tenidos en este manual se refieren al
uso de todos los podadores de varilla
STIHL. Los distintos modelos pueden
contar con piezas y controles diferentes.
Vea la sección correspondiente de sus
manuales de instrucciones del motor
Kombi y accesorio Kombi para tener una
descripción de los controles y la función
de los componentes de su modelo.
El uso seguro de un podador de varilla
atañe a
1. el operador
2. el podador de varilla
3. el uso del podador de varilla.
EL OPERADOR
Condición física
Usted debe estar en buenas condicio-
nes físicas y psíquicas y no encontrarse
bajo la influencia de ninguna sustancia
(drogas, alcohol, etc.) que le pueda res-
tar visibilidad, destreza o juicio. No
maneje esta máquina cuando está fati-
gado.
!Advertencia!
Esté alerta. Si se cansa, tómese un des-
canso. El cansancio puede provocar
una pérdida del control. El uso de cual-
quier herramienta motorizada es fati-
goso. Si usted padece de alguna dolen-
cia que pueda ser agravada por la
fatiga, consulte a su médico antes de
utilizar esta máquina.
Vestimenta adecuada
!Advertencia!
Para reducir el riesgo de lesiones el
operador debe usar el equipo protector
adecuado.
!Advertencia!
Para reducir el riesgo de
lesionarse los ojos, nunca
maneje la herramienta
motorizada si no tiene
puestas gafas o anteojos
de seguridad bien ajusta-
dos con una protección adecuada en las
partes superior y laterales que satisfa-
gan la norma ANSI Z 87.1 (o la norma
nacional correspondiente). Para reducir
el riesgo de lesionarse la cara, STIHL
recomienda usar también una careta o
protector facial adecuado sobre las
gafas o anteojos de seguridad.
Use un casco aprobado para reducir el
riesgo de lesionarse la cabeza.
El ruido de la herramienta motorizada
puede dañar los oídos. Siempre use
amortiguadores del ruido (tapones u
orejeras) para protegerse los oídos. Los
usuarios constantes y regulares deben
someterse con frecuencia a un examen
o control auditivo.
Esté especialmente alerta y tenga cui-
dado cuando se usa protectores de
oídos, ya que los mismos reducen la
posibilidad de oír señales de adverten-
cia (gritos, alarmas, etc.).
Siempre use guantes
cuando manipule la
máquina y la herramienta
de corte. Los guantes
gruesos y antideslizantes
mejoran el manejo y ayu-
dan a proteger las manos.
La ropa debe ser de con-
fección fuerte y ajustada,
pero no tanto que impida
la completa libertad de
movimiento. Use pantalo-
nes largos hechos de un
material grueso para protegerse las
piernas. No use pantalones cortos, san-
dalias o pies descalzos.
Evite el uso de chaquetas sueltas,
bufandas, corbatas, joyas, pantalones
acampanados o con vueltas, pelo largo
suelto o cualquier cosa que pueda
engancharse en las ramas, matorrales o
piezas en movimiento de la máquina.
Sujétese el pelo de modo que quede
sobre los hombros.
Es muy importante tener
una buena superficie de
apoyo para los pies. Pón-
gase botas gruesas con
suela antideslizante.
Recomendamos las botas
de seguridad con puntera de acero con
insertos reforzados resistentes a corta-
duras.

37HT-KM
español / EE.UU
EL PODADOR DE VARILLA
KOMBITOOL
Para las ilustraciones y definiciones de
los componentes del podador de varilla
KombiTool, vea el capítulo "Piezas prin-
cipales y controles".
!Advertencia!
Nunca modifique, de ninguna manera,
este accesorio KombiTool. Utilice única-
mente los accesorios y repuestos sumi-
nistrados por STIHL o expresamente
autorizados por STIHL para usarse con
el modelo específico de STIHL. Si bien
es posible conectar a la herramienta
motorizada de STIHL ciertos accesorios
no autorizados, su uso puede ser, en la
práctica, extremadamente peligroso.
Si la máquina experimenta cargas exce-
sivas para las cuales no fue diseñada
(por ejemplo, impactos severos o una
caída), siempre asegúrese que la
máquina está en buenas condiciones
antes de seguir con el trabajo. Inspec-
cione específicamente la integridad del
sistema de combustible (ausencia de
fugas) y asegúrese que los controles y
dispositivos de seguridad funcionan
como es debido. No siga manejando
esta máquina cuando si la misma está
dañada. En caso de dudas, pida que el
concesionario de servicio de STIHL lo
revise.
USO DE LA MAQUINA
(MOTOR KOMBIENGINE
EQUIPADO CON PODADOR DE
VARILLA KOMBITOOL)
Transporte de la herramienta
motorizada
!Advertencia!
Esta herramienta motorizada puede
acarrearse solamente en posición hori-
zontal. Agarre el eje de una manera que
mantenga la máquina equilibrada hori-
zontalmente. Mantenga el silenciador
caliente lejos de su cuerpo y el acceso-
rio de corte detrás de usted. La acelera-
ción accidental del motor puede causar
la rotación de la cadena y lesiones gra-
ves.
!Advertencia!
Siempre apague el motor y coloque la
funda sobre el accesorio de corte antes
de transportar la herramienta motori-
zada por una distancia considerable.
Cuando transporte la máquina en un
vehículo, sujétela firmemente para
impedir su vuelco, el derrame de com-
bustible y el daño a la máquina.
Antes de arrancar
Quite el protector de la cadena (la
funda) e inspeccione el podador de vari-
lla para verificar que está en buenas
condiciones de funcionamiento. (Con-
sulte la tabla de mantenimiento cerca
del final de los manuales de instruccio-
nes.)
!Advertencia!
Siempre revise la herramienta motori-
zada para comprobar que está en bue-
nas condiciones y que funciona correc-
tamente antes de arrancarla, en
particular el gatillo de aceleración y su
bloqueo, el interruptor de parada y el
accesorio de corte. El gatillo de acelera-
ción debe moverse libremente y siempre
debe retornar a la posición de ralentí por
la acción de resorte. Nunca intente
modificar los controles o los dispositivos
de seguridad.
!Advertencia!
No maneje nunca una herramienta
motorizada que esté dañada, mal ajus-
tada o mantenida o que no fue armada
completa y debidamente.
390BA000 KN

38
español / EE.UU
HT-KM
Mantenga los mangos limpios y secos
en todo momento; es particularmente
importante mantenerlos libres de hume-
dad, aceite, combustible, grasa o resi-
nas para garantizar que la máquina
pueda empuñarse firmemente para
mantenerla bajo control seguro.
Para el armado de la espada y la
cadena, siga el procedimiento descrito
en el capítulo "Montaje de la espada y la
cadena" del manual de instrucciones.
La cadena Oilomatic, la espada y el
piñón STIHL deben coincidir entre sí en
cuanto a calibre y paso.
!Advertencia!
La tensión adecuada de la cadena es
extremadamente importante. Para evitar
el ajuste inadecuado, ejecute los proce-
dimientos de tensado tal como se des-
criben en su manual. Siempre asegú-
rese que la tuerca o tuercas
hexagonales para la cubierta del piñón
quedan firmemente apretadas después
de tensar la cadena. Compruebe la ten-
sión de la cadena una vez más después
de apretar la tuerca o las tuercas. Nunca
arranque el podador de varilla mientras
la cubierta del piñón está suelta.
Ajuste el arnés y la empuñadura de
modo correspondiente a su estatura
antes de empezar a trabajar.
Arranque
!Advertencia
Para reducir la posibilidad de incendios
y lesiones por quemaduras, arranque el
motor al aire libre, por lo menos 3 m
(10 pies) del lugar en que lo haya lle-
nado.
Ponga en marcha y maneje el podador
de varilla sin ayuda de nadie.
Para las instrucciones específicas de
arranque, vea la sección correspon-
diente en el manual del motor KombiEn-
gine. Los métodos correctos de arran-
que reducen el riesgo de sufrir lesiones.
Coloque el podador de varilla sobre
suelo firme u otra superficie dura en una
zona despejada, o en la posición alter-
nativa mostrada en la ilustración ante-
rior. Mantenga el equilibrio y elija un
buen punto de apoyo para los pies.
!Advertencia!
Para reducir el riesgo de sufrir lesiones
causadas por la pérdida de control, no
intente arrancar el motor de la herra-
mienta "por lanzamiento".
!Advertencia!
Para reducir el riesgo de lesiones
debido a la pérdida de control, esté
absolutamente seguro que la herra-
mienta de corte se encuentra lejos de su
cuerpo y de todas las obstrucciones y
objetos, incluido el suelo, porque al
arrancar el motor acelerado, su veloci-
dad será lo suficientemente rápida para
que el embrague engrane el piñón y
haga girar la cadena.
Tan pronto arranque, accione inmediata-
mente por un breve momento el gatillo
de aceleración para desconectarlo de la
posición de arranque y permitir que la
velocidad del motor se reduzca al valor
de ralentí.
Con el motor funcionando a velocidad
de ralentí solamente, enganche la herra-
mienta motorizada al gancho de resorte
de su arnés (vea el capítulo correspon-
diente en este manual).
!Advertencia!
Cuando tire del mango de arranque, no
enrolle la cuerda de arranque alrededor
de la mano. No deje que el mango retro-
ceda bruscamente, sino guíe la cuerda
de arranque para que se enrolle debida-
mente. Si no ejecuta este procedimiento
puede lastimarse la mano o los dedos y
también dañar el mecanismo de arran-
que.
275BA006 KN

39HT-KM
español / EE.UU
Ajustes importantes
!Advertencia!
Para reducir el riesgo de lesiones perso-
nales debido a la pérdida de control o al
contacto con la herramienta de corte en
movimiento, no use una máquina cuyo
ralentí está mal regulado. Cuando el
ralentí está correctamente regulado, la
cadena de aserrado no debe moverse.
Para instrucciones acerca de cómo
ajustar la velocidad de ralentí, vea la
sección correspondiente del manual de
instrucciones del motor KombiEngine.
Si no puede regular correctamente el
ralentí, pida a su concesionario STIHL
que revise la herramienta motorizada y
haga los ajustes o reparaciones corres-
pondientes.
Es importante mantener la cadena
correctamente tensada. Revísela perió-
dicamente (cada vez que se apague el
podador de varilla). Si durante el corte la
cadena llega a aflojarse, apague el
motor y ajuste la tensión. Nunca trate de
tensar la cadena mientras el motor está
funcionando.
Durante el trabajo
Sujeción y control de la herramienta
motorizada
Al trabajar, sujete la máquina firme-
mente con ambas manos en los man-
gos. Cierre firmemente los dedos y pul-
gares sobre los mangos.
Coloque la mano izquierda sobre el
mango delantero y la derecha sobre la
empuñadura trasera y el gatillo de ace-
leración. Las personas que trabajan con
la mano izquierda (zurdos) también
deben seguir estas instrucciones. Man-
tenga las manos en esta posición para
guardar el control del podador de varilla
en todo momento.
!Advertencia!
Nunca intente manejar la herramienta
motorizada con una sola mano. La pér-
dida de control de la herramienta moto-
rizada puede ocasionar lesiones graves
o mortales.
!Advertencia!
Para mantener el control del podador de
varilla, siempre tenga bien apoyados y
equilibrados los pies. No trabaje sobre
una escalera, en un árbol o cualquier
otro punto de apoyo que no sea seguro.
Nunca mantenga la máquina a una
altura más arriba de los hombros. No
trate de alcanzar más lejos de lo debido.
Si se va a trabajar a una altura de más
de 4,5 m (15 pies), utilice un canasto
elevador.
!Advertencia!
Se debe tener cuidado especial cuando
las condiciones del suelo son resbaladi-
zas (suelo húmedo, nieve) y en terreno
difícil y con mucha vegetación. Para evi-
tar tropezarse, esté atento a los obstá-
culos ocultos tales como tocones, raí-
ces, hoyos y zanjas. Para obtener un
punto de apoyo seguro, quite las ramas
caídas, los matorrales y el material cor-
tado. Sea precavido cuando trabaje en
declives o terreno irregular.
!Advertencia!
Proceda con sumo cuidado cuando tra-
baje en condiciones climáticas húmedas
o frías (lluvia, nieve, hielo). Interrumpa el
trabajo cuando hay condiciones de
mucho viento, tormenta o lluvia intensa.
402BA000 KN

40
español / EE.UU
HT-KM
Condiciones de trabajo
Maneje y arranque su herramienta
motorizada solamente al aire libre en un
lugar bien ventilado. Manéjela sola-
mente en condiciones de buena visibili-
dad y a la luz del día. Trabaje con mucho
cuidado.
!Advertencia!
Tan pronto arranca, este
producto genera vapores
de escape tóxicos que
contienen productos quí-
micos (tales como hidro-
carburos sin quemar y
monóxido del carbono, incluyendo el
benceno) considerados como causan-
tes de enfermedades respiratorias, cán-
cer, defectos de nacimiento u otra toxici-
dad reproductora. Algunos de estos
gases (por ej., monóxido de carbono)
pueden ser incoloros e inodoros. Para
reducir el riesgo de sufrir lesiones gra-
ves o mortales por respirar gases tóxi-
cos, nunca haga funcionar la máquina
puertas adentro o en lugares mal venti-
lados. Si, debido a la falta de ventilación
adecuada, los gases de escape se con-
centran, elimine los obstáculos de la
zona de trabajo para obtener ventilación
adecuada antes de proceder y/o tome
descansos frecuentes para permitir la
disipación de los gases antes de que se
puedan concentrarse.
!Advertencia!
La inhalación de ciertos polvos, espe-
cialmente los polvos orgánicos, tales
como el moho o polen, puede provocar
reacciones alérgicas o asmáticas en las
personas sensibles. La inhalación repe-
tida o de grandes cantidades de polvo u
otros contaminantes del aire, especial-
mente los de partículas pequeñas
puede causar enfermedades respirato-
rias o de otro tipo. Esto incluye el polvo,
especialmente de las maderas duras,
pero también de algunas maderas blan-
das, tales como el cedro rojo occidental.
Controle el polvo en su fuente, siempre
que sea posible. Utilice buenas prácti-
cas de trabajo, tal como siempre cortar
con una cadena bien afilada (que pro-
duce virutas de madera en vez de polvo
fino) y trabajar de manera que el viento
o el proceso de corte dirige el polvo pro-
ducido por la herramienta motorizado en
sentido opuesto del operador. Observe
las recomendaciones emitidas por EPA/
OSHA/NIOSH y las asociaciones de tra-
bajo y los sindicatos con respecto al
polvo ("materia particulada"). Cuando
sea imposible eliminar significativa-
mente la inhalación del polvo, es decir
mantener el nivel cerca del valor
ambiente, el operador y las personas
que se encuentren en la cercanía siem-
pre deberán usar un respirador apro-
bado por NIOSH/MSHA para el tipo de
polvo presente en el lugar.
!Advertencia!
La aspiración de polvo de asbesto es
peligrosa y puede causar lesiones gra-
ves o mortales, enfermedades de las
vías respiratorias o cáncer. El uso y la
eliminación de los productos que contie-
nen asbesto están estrictamente regla-
mentados por OSHA y el Organismo
para la Protección del Medio Ambiente
(EPA) de los EE.UU. Si por cualquier
motivo cree que está cortando asbesto,
póngase en contacto inmediatamente
con su empleador o un representante de
OSHA local.
!Advertencia
La herramienta motorizada tiene
alcance largo. Para reducir el riesgo de
que otras personas sufran lesiones gra-
ves o mortales causadas por la caída de
objetos, o el contacto inesperado con la
cadena en movimiento de la herra-
mienta motorizada, siempre mantenga a
las demás personas a una distancia no
menor de 15 m (50 pies) de la herra-
mienta motorizada cuando se encuentre
en marcha.
!Advertencia!
Si bien es necesario mantener los terce-
ros lejos de la motosierra en marcha,
nunca trabaje solo. Manténgase a una
distancia que le permita comunicarse
con otras personas en caso de necesitar
ayuda.
Apague el motor inmediatamente si se
le aproxima alguna persona.

41HT-KM
español / EE.UU
¡Peligro!
Su herramienta motori-
zada no está aislada con-
tra las sacudidas eléctri-
cas. Para reducir el riesgo
de electrocución, nunca utilice esta
herramienta motorizada cerca de alam-
bres o cables (de alimentación, etc.) que
puedan tener corriente eléctrica.
La electricidad puede saltar de un punto
a otro al formar arcos en el aire. Los
niveles altos de voltaje aumentan la dis-
tancia sobre la cual la electricidad puede
formar arcos. La electricidad también
puede conducirse por las ramas de un
árbol, especialmente si éstas están
húmedas. Guarde una distancia no
menor de 15 m (50 pies) entre el poda-
dor de varilla (incluyendo las ramas con
las cuales tenga contacto) y todas las
líneas que conduzcan corriente eléc-
trica.
Antes de trabajar a una distancia menor,
comuníquese con la empresa de servi-
cio eléctrico y comprobar que se haya
interrumpido el suministro eléctrico.
Instrucciones de manejo
!Advertencia!
No maneje la herramienta motorizada
usando el bloqueo de acelerador para
arranque, pues no tendrá control de la
velocidad del motor.
En caso de emergencia, apague el
motor inmediatamente – mueva el con-
trol deslizante / interruptor de parada a 0
o STOP.
!Advertencia
Para reducir el riesgo de lesionarse,
mantenga las manos y los pies alejados
de la cadena de aserrado. No toque
nunca con las manos o cualquier parte
del cuerpo la cadena que está en movi-
miento. La cadena de aserrado sigue en
marcha por un rato después que se
suelta el gatillo de aceleración (efecto
de inercia).
!Advertencia!
Al aumentar la velocidad del motor con
la cadena bloqueada se aumenta la
carga y se provoca el patinaje continuo
del embrague. Ésto puede causar
sobrecalentamiento y daño de los com-
ponentes importantes (por ejemplo, el
embrague y las piezas de plástico poli-
mérico de la caja) – ésto a su vez
aumenta el riesgo de lesiones causadas
por el movimiento de la cadena cuando
el motor está a velocidad de ralentí.
!Advertencia!
Si la cadena se atasca, siempre apague
el motor y asegúrese que la cadena está
detenida antes de limpiarla.
Asegúrese que la cadena de aserrado
no toque ninguna materia extraña como
por ejemplo rocas, cercas, clavos y
cosas por el estilo. Tales objetos pueden
ser lanzados y lesionar al operador o a
terceros y dañar la cadena de aserrado.
!Advertencia!
Antes de recortar las ramas, despeje de
zona de trabajo las ramas y matorrales
que puedan causar interferencia. Des-
pués, establezca un lugar de escape de
la zona de caída de las ramas y retire
todos los obstáculos.
Mantenga despejada la zona de trabajo
– quite las ramas caídas. Coloque todas
las herramientas y el equipo a una dis-
tancia prudente de las ramas recorta-
das, pero no en la zona de escape.
!Advertencia!
Siempre observe la condición general
del árbol. Busque evidencia de deterioro
y pudrición en el tronco y en las ramas.
Si está podrido en su interior, podría
romperse repentinamente y caer hacia
el operador cuando está siendo recor-
tado. Siempre busque las ramas que-
bradas o muertas que puedan soltarse
con la vibración y caerle encima.
Si la rama es gruesa o pesada, haga un
corte de distensión no muy profundo en
la parte inferior de la rama antes de cor-
tarla por su parte superior para evitar
que la rama se parta.
15m (50ft)
15m (50ft)

42
español / EE.UU
HT-KM
!Advertencia!
Para reducir el riesgo de lesiones gra-
ves o mortales causadas por la caída de
objetos, no haga cortes directamente
sobre su cuerpo. Sostenga el podador
de varilla a un ángulo no mayor que 60°
respecto a la horizontal (vea la ilustra-
ción). Los objetos pueden caer en direc-
ciones no anticipadas. No se pare direc-
tamente debajo de la rama que es está
recortando!
Esté atento a la caída de las ramas. Tan
pronto la rama recortada empieza a
caer, apártese y guarde una distancia
adecuada de la rama.
!Advertencia
Siempre saque la máquina del corte con
la cadena todavía en marcha para redu-
cir la posibilidad de atrapar el accesorio
de corte. No ejerza presión sobre el
podador de varilla cuando llegue al final
del corte. La presión puede hacer que la
espada y la cadena en movimiento sal-
ten fuera de la ranura de corte o entalla,
perdiéndose el control y golpeando otro
objeto.
Si la espada queda aprisionada en la
rama de modo que la cadena ya no
pueda moverse, apague el podador de
varilla y mueva la rama con cuidado
para aflojar la estricción y liberar la
espada.
Fuerzas reactivas
!Advertencia!
Las fuerzas reactivas pueden ocurrir en
cualquier momento mientras la cadena
está girando. La fuerza utilizada para
cortar madera puede cambiar de sentido
y actuar contra el operador. Si una
cadena en movimiento se detiene
repentinamente al tocar un objeto sólido
como por ejemplo una rama, o bien
queda aprisionada, pueden presentarse
de inmediato las fuerzas reactivas. Esas
fuerzas reactivas pueden causar la pér-
dida del control, lo que a su vez puede
causar lesiones personales. Una buena
comprensión de las causas de estas
fuerzas reactivas puede ayudarle a evi-
tar el elemento de sorpresa y la pérdida
del control.
Debido a su diseño, las fuerzas reacti-
vas producidas al trabajar con el poda-
dor de varilla, por lo general, no son tan
severas como las producidas por una
motosierra. No obstante, siempre agarre
firmemente la herramienta motorizada y
tenga buen apoyo para los pies para
mantener el control cuando se producen
tales fuerzas.
Las fuerzas reactivas más comunes
son:
– contragolpe,
– rechazo,
– tirón.
275BA005 KN

43HT-KM
español / EE.UU
Contragolpe
El contragolpe puede ocurrir cuando la
cadena en movimiento cerca del cua-
drante superior de la punta de la espada
toca un objeto sólido o queda aprisio-
nada.
La reacción de la fuerza de corte de la
cadena causa una fuerza de rotación en
la motosierra en sentido contrario al
movimiento de la cadena. Esto puede
causar el movimiento hacia arriba de la
espada.
Para evitar el contragolpe
La mejor protección contra un contra-
golpe es evitar las situaciones de con-
tragolpe:
1. Sea consciente de la ubicación de
la punta de la espada en todo
momento.
2. Nunca deje que la punta de la
espada haga contacto con ningún
objeto. No corte ramas con la punta
de la espada. Preste especial aten-
ción al trabajar cerca de vallas de
alambre y cuando corte ramas
pequeñas y duras que pueden fácil-
mente quedar enredados en la
cadena.
3. Corte solamente una rama a la vez.
A = Tirón
El tirón ocurre cuando la cadena en la
parte inferior de la espada se detiene
repentinamente cuando queda aprisio-
nada, retenida o choca con algún objeto
extraño en la madera. La reacción de la
cadena tire la motosierra hacia ade-
lante.
A menudo, el tirón ocurre cuando la
cadena no está a plena velocidad antes
de quedar en contacto con la madera.
Para evitar los tirones
1. Esté alerta a las fuerzas o situacio-
nes que pueden permitir que el
material aprisione la cadena en la
parte inferior de la espada.
2. Siempre empiece el corte con la
cadena girando a velocidad
máxima.
B = Rechazo
El rechazo ocurre cuando la cadena en
la parte superior de la espada se detiene
repentinamente cuando queda aprisio-
nada, retenida o choca con algún objeto
extraño en la madera. La reacción de la
cadena puede impulsar repentinamente
la sierra hacia atrás contra el operador.
El rechazo frecuentemente ocurre
cuando se utiliza la parte superior de la
espada para hacer los cortes.
Para evitar el rechazo
1. Esté alerta a las fuerzas o situacio-
nes que pueden permitir que el
material aprisione la cadena en la
parte superior de la espada.
2. No corte más de una rama a la vez.
3. No tuerza la espada al retirarla de
un corte por debajo, porque la
cadena puede quedar aprisionada.
002BA230 KN
001BA037 KN
A
001BA038 KN
B
44
español / EE.UU
HT-KM
MANTENIMIENTO, REPARACION
Y ALMACENAMIENTO
Los trabajos de mantenimiento,
reemplazo o reparación de los dispo-
sitivos y sistemas de control de emi-
siones de escape pueden ser realiza-
dos por cualquier taller o técnico de
motores no diseñados para vehícu-
los. Sin embargo, si usted está recla-
mando cobertura de garantía para
algún componente que no ha sido
reparado o mantenido debidamente,
o cuando se utilizan repuestos no
autorizados, STIHL puede denegar la
garantía.
!Advertencia!
Utilice solamente piezas de repuesto de
STIHL para el mantenimiento y repara-
ción. El uso de piezas no fabricadas por
STIHL puede causar lesiones graves o
mortales.
Siga precisamente las instrucciones de
mantenimiento y reparación dadas en
las secciones correspondiente de los
manuales de instrucciones. Consulte las
tablas de mantenimiento en los manua-
les.
!Advertencia!
Siempre apague el motor y verifique que
la cadena está parada antes de llevar a
cabo cualquier trabajo de manteni-
miento, reparación o limpieza de la
herramienta motorizada. No intente
hacer ningún trabajo de mantenimiento
o reparación que no esté descrito en los
manuales de instrucciones.
Este tipo de trabajo debe ser realizado
únicamente por el concesionario de ser-
vicio de STIHL.
Use guantes para manipular o efectuar
trabajos de mantenimiento de la herra-
mienta de corte.
!Advertencia!
Mantenga la cadena, la espada y el
piñón limpios; sustituya los piñones o
cadenas que estén desgastados. Man-
tenga afilada la cadena. Podrá notar que
la cadena está desafilada cuando la
madera fácil de cortar exige gran
esfuerzo y cuando aparecen marcas de
quemaduras en la madera.
Apriete todas las tuercas, pernos y torni-
llos, excepto los tornillos de ajuste del
carburador, después de cada uso.
Guarde la herramienta motorizada en un
lugar seco y elevado o con llave lejos del
alcance de los niños.
Antes de guardar la máquina durante un
período de más de algunos días, siem-
pre vacíe el tanque de combustible.
Consulte el capítulo "Almacenamiento
de la máquina" en el manual del motor
KombiEngine.
Guarde el combustible y el aceite de la
cadena solamente en envases de segu-
ridad debidamente aprobados para tal
uso. Manipule la gasolina con sumo cui-
dado! Evite el contacto directo con la
piel y evite inhalar los vapores de com-
bustible!

45HT-KM
español / EE.UU
Preparaciones
:Use ropa y equipos protectores
adecuados – vea "Medidas de
seguridad".
:Arranque el motor.
:Colóquese la correa sobre el hom-
bro.
Nunca tire las piezas recortadas en
el basurero doméstico – ¡éstas pue-
den convertirse en abono!
Nunca se pare directamente debajo
de la rama que se está cortando –
esté atento a la caída de las ramas.
¡Obsérvese que una rama puede
rebotar hacia usted después de
haber caído al suelo!
Secuencia de corte
Para permitir que las ramas caigan libre-
mente, siempre corte las ramas más
bajas primero. Recorte las ramas pesa-
das (de diámetro grande) en varios tro-
zos fáciles de manejar.
Posición de trabajo
Sujete el mango de control con la mano
derecha y el tubo de mando con la
izquierda. Extienda el brazo izquierdo a
la posición que le resulte más cómoda.
El eje siempre deberá mantenerse a un
ángulo de 60° ó menos.
La posición de trabajo más cómoda es
mantener la herramienta a un ángulo de
60°, pero cualquier ángulo más
pequeño puede usarse según el caso.
Corte transversal
Para reducir el riesgo de aprisionar la
espada en el corte, coloque el accesorio
de corte con su gancho contra la rama y
después lleve a cabo el corte transver-
sal de arriba hacia abajo.
Uso del podador de varilla
402BA012 KN
390BA052 KN

46
español / EE.UU
HT-KM
Corte de distensión
:Para evitar arrancar la corteza al
recortar ramas gruesas, siempre
haga primero un corte de distensión
(1) en el lado inferior de la rama.
:Para hacer esto, coloque el acceso-
rio de corte y tire del mismo a lo
ancho de la parte inferior de la rama
(vea la ilustración).
:Coloque el gancho contra la rama y
después lleve a cabo el corte trans-
versal (2).
Corte a ras de ramas gruesas
:Si el diámetro de la rama es mayor
que 4 cm (10 pulg), primero haga
un corte en el lado inferior (3) y
haga un corte transversal a una dis-
tancia (A) de aproximadamente
20 cm (8 pulg) del corte final.
Después haga el corte a ras (4),
empezando con un corte de disten-
sión y terminando con el corte trans-
versal.
Corte sobre obstáculos
El largo alcance de la máquina posibilita
el recorte de ramas que se proyectan
sobre obstáculos, tales como los ríos y
lagos.
El ángulo de la herramienta en este
caso depende de la posición de la rama.
2
1
390BA041 KN
3
4
A
390BA024 KN
402BA013 KN

47HT-KM
español / EE.UU
Corte desde un canasto elevado
El largo alcance de la máquina permite
cortar junto al tronco sin el riesgo de que
el canasto dañe otras ramas.
El ángulo de la herramienta en este
caso depende de la posición de la rama.
:
Transmisión angular de 30°
(accesorios especiales)
La transmisión angular mantiene al
accesorio de corte a un ángulo de 30°
respecto al tubo de mando.
La transmisión angular puede ajustarse
en el tubo de mando solamente en las
posiciones siguientes:
:Para cortar ramas en sentido verti-
cal y arbustos en sentido horizontal
(1)
:Para tener una mejor vista del acce-
sorio de corte (2)
402BA014 KN
1
2
390BA053 KN

48
español / EE.UU
HT-KM
Utilice únicamente los motores Kom-
biEngine provistos por STHIL o expresa-
mente aprobados por STIHL para uso
con la KombiTool.
Esta herramienta KombiTool puede
usarse únicamente con los motores
KombiEngine siguientes:
STIHL KM 55 R, KM 55 RC, KM 90 R,
KM 85 R, KM 110 R, KM 130 R
La herramienta KombiTool también
puede instalarse en cortadoras de mato-
rrales STIHL con brazo o tubo de mando
dividido (modelos T).
El uso de la herramienta KombiTool, por
lo tanto, también se permite en los
modelos siguientes de herramientas
mecánicas:
STIHL FS 55 RT, FS 55 RTC, FS 85 RT,
FS 83 RT
Montaje de la caja de engranajes
Quite las tapas protectoras de los
extremos del tubo de mando y déjelas
en un lugar seguro.
:Haga una marca en el tubo de
mando a una distancia A de 50 mm
(2 pulg).
:Empuje la caja de engranajes (1)
sobre el tubo de mando (2) hasta el
tope – gire la caja de engranajes a
uno y otro lado hasta que se encaje
el extremo cuadrado del eje.
La caja de engranajes está
debidamente colocada si alcance o
cubre la marca (vea la flecha).
:Inserte los tornillos de fijación (3)
hasta el tope.
:Con el motor apoyado en el soporte
de la máquina, alinee la caja de
engranajes (1) de modo que los
tornillos de fijación queden
orientados hacia arriba y la cubierta
de la rueda dentada quede
precisamente en posición vertical.
:Apriete los tornillos de fijación (3) en
el orden siguiente:
– apriete el tornillo izquierdo
moderadamente
– apriete el tornillo derecho
moderadamente
– apriete el tornillo izquierdo
firmemente
– apriete el tornillo derecho
firmemente
Motores KombiEngine
aprobados
Montaje del podador de
varilla
A
402BA002 KN
2
402BA023 KN
1
402BA024 KN
3
3
1

49HT-KM
español / EE.UU
Montaje
:Enganche la orejeta (1) del tubo de
mando en la ranura (2) del manguito
de acoplamiento y empuje el tubo
de mando hasta donde tope.
:Cuando la instalación es correcta, la
raya roja (3) (punta de la flecha)
debe estar a ras con el extremo del
manguito de acoplamiento.
:Apriete el tornillo mariposa (4)
firmemente.
Retiro
:Invierta la secuencia anterior para
retirar el tubo de mando.
:Desenrosque la tuerca y quite la
tapa.
:Gire el tornillo tensor (1) en sentido
contrahorario, hasta que la tuerca
tensora (2) tope contra el extremo
izquierdo de la ranura de la caja;
después gírelo en sentido opuesto
5 vueltas completas.
La cadena es muy afilada –
póngase guantes para protegerse
las manos de las cortaduras.
:Coloque la cadena –
empiece por la punta de la barra.
Instalación del KombiTool
002BA132 KN
1
2
4
3
002BA133 KN
Montaje de la barra y la
cadena
390BA042 KN
1
2
390BA043 KN
390BA003 KN

50
español / EE.UU
HT-KM
:Coloque la barra guía sobre el
espárrago (3). Enganche la espiga
del tensor deslizante en el agujero
localizador (4) – coloque la cadena
sobre la rueda dentada (5) al mismo
tiempo.
:Gire el tornillo tensor (1) en sentido
horario hasta que la cadena tenga
muy poco huelgo por el lado inferior
de la barra y las pestañas de los
eslabones impulsores se encuen-
tren en la ranura de la barra.
:Vuelva a colocar la tapa de la rueda
dentada y apriete su tuerca con los
dedos.
:Ahora vea "Tensado de la cadena
de sierra".
Tensado durante el trabajo de corte:
:Apague el motor y después afloje la
tuerca.
:Sostenga la punta de la barra hacia
arriba.
:Utilice un destornillador para girar el
tornillo tensor (1) en sentido horario
hasta que la cadena quede ajustada
contra el lado inferior de la barra.
Apriete la tuerca bien firme.
Es necesario tensar una cadena nueva
con mayor frecuencia que una que ha
estado en uso por cierto tiempo – revise
la tensión de la cadena con frecuencia –
vea el capítulo "Instrucciones de
manejo / Durante el funcionamiento".
:Revise la tensión de la cadena.
:Apague el motor.
:¡Use guantes de trabajo para prote-
gerse las manos!
:La cadena debe quedar ajustada
contra el lado inferior de la barra,
pero debe ser posible tirar de la
cadena a lo largo de la barra con la
mano.
:De ser necesario, vuelva a tensar la
cadena.
Es necesario volver a tensar las cade-
nas nuevas con mayor frecuencia que
las que han estado en uso por algún
tiempo. Revise la tensión de la cadena
frecuentemente – vea el capítulo "Ins-
trucciones de manejo / Durante el fun-
cionamiento".
1
5
390BA044 KN
43
Tensado de la cadena de
sierra
1
390BA045 KN
Revisión de tensión de la
cadena
390BA046 KN

51HT-KM
español / EE.UU
Para una lubricación automática y
segura de la cadena y la barra guía
– se recomienda el uso exclusivo
de un lubricante para cadena y
barra guía no dañino para el
ambiente con aditivo antisalpica-
duras o el aceite STIHL Bioplus.
El aceite de cadena biodegradable
debe ser resistente al envejeci-
miento (por ejemplo, STIHL Bio-
plus), pues de lo contrario se con-
vertiría rápidamente en resina. Esto
produce como resultado depósitos
sólidos difíciles de quitar, especial-
mente en las zonas del mando de la
cadena y la cadena misma. Hasta
puede causar el agarrotamiento de
la bomba de aceite.
La vida útil de la cadena y de la barra
guía depende de la calidad del lubri-
cante. Por lo tanto, es esencial usar un
lubricante de cadena de formulación
especial.
Si no se cuenta con un lubricante espe-
cial para cadena, en caso de emergen-
cia se puede usar un aceite de motor de
grado sencillo o múltiple para servicio
severo cuyo grado de viscosidad corres-
ponda con la temperatura ambiente.
No use aceite de desecho.
Los estudios médicos han determi-
nado que el contacto prolongado
con el aceite de desecho puede
causar cáncer en la piel. Además, el
aceite de desecho es dañino para el
ambiente.
El aceite de desecho no tiene las
propiedades lubricantes necesarias
y no es adecuado para la lubrica-
ción de cadenas.
:El tanque de aceite de cadena
lleno tiene suficiente aceite para
el tiempo de funcionamiento de la
máquina con el tanque de com-
bustible medio lleno. Revise el
nivel de aceite periódicamente
durante los trabajos de corte.
Nunca permita que se agote el
aceite del tanque!
:Limpie a fondo la tapa de llenado y
la zona alrededor del mismo para
evitar la entrada de tierra al tanque.
:Coloque la máquina de modo que la
tapa de llenado quede orientada
hacia arriba.
Si el nivel de aceite en el tanque no se
baja, es posible que existe un problema
en el suministro de aceite. Revise la
lubricación de la cadena y limpie los
conductos de aceite; comuníquese con
el concesionario de servicio, de ser
necesario. STIHL recomienda que un
concesionario de servicio STIHL efectúe
los trabajos de mantenimiento y repara-
ción.
Lubricante de la cadena Llenado del tanque
de aceite de la
cadena
390BA047 KN

52
español / EE.UU
HT-KM
La tapa de llenado tipo bayoneta del tan-
que de aceite, con su empuñadura arti-
culada, puede abrirse y cerrarse sin
necesidad de herramientas.
:Para abrir el tanque, gire la empu-
ñadura (1) a la posición vertical.
:Gire la tapa de llenado en sentido
contrahorario hasta el tope y quí-
tela.
:Llénelo con aceite para la cadena.
:Para cerrar el tanque de aceite,
coloque la tapa de llenado en su
posición, con la empuñadura verti-
cal, asegurándose que las partes
hendidas (2) queden alineadas.
:Gire la tapa de llenado en sentido
horario hasta que tope.
:Pliegue hacia abajo la empuñadura
de tal modo que quede al ras con la
parte superior de la tapa.
La cadena de sierra siempre debe lan-
zar una pequeña cantidad de aceite.
:Siempre revise la lubricación de la
cadena y el nivel de aceite en el tan-
que antes de empezar a trabajar.
Nunca haga funcionar el podador si
la cadena no está lubricada. Si la
cadena funciona sin lubricación,
todo el accesorio de corte sufrirá
daños permanentes en un lapso
muy breve.
La lubricación inadecuada puede
deberse a suciedad en el colador de
aceite: Solicite al concesionario de ser-
vicio que limpie o sustituya el colador de
aceite.
Es necesario someter las cadenas
nuevas a un período de rodaje por 2
a 3 minutos.
Después del rodaje inicial de la
cadena, revise su tensión y ajústela
de ser necesario – vea el capítulo
“Revisión de la tensión de la
cadena”.
Correa para hombro
El tipo y el estilo del arnés dependen del
lugar de venta.
:Colóquese la correa (1) sobre el
hombro.
:Ajuste el largo de la correa de modo
que el gancho con resorte (2) quede
aproximadamente el ancho de la
mano por debajo de su cadera dere-
cha.
247BA011 KN
12
Revisión de lubricación de
la cadena
390BA048 KN
Colocación del arnés

53HT-KM
español / EE.UU
:Quite el protector (funda) de la
cadena. Verifique que la cadena no
esté tocando el suelo ni ningún otro
obstáculo.
:Coloque la máquina en una posi-
ción segura para arrancarla:
El motor debe quedar firmemente
apoyado en su soporte. Coloque el
gancho del accesorio de corte
sobre un soporte elevado, es decir,
un montículo o rama (vea la ilustra-
ción).
:Asegúrese de tener los pies bien
apoyados: Empuje la máquina fir-
memente contra el suelo colocando
la mano izquierda sobre la caja del
ventilador. Coloque el dedo pulgar
debajo de la caja del ventilador.
No se pare ni se arrodille sobre el
tubo de mando.
Método alternativo:
:Quite el protector de la cadena.
Coloque el accesorio de corte sobre
una rama, de modo que quede
sujeto por el gancho.
:Sostenga la máquina firmemente
colocando la mano izquierda alre-
dedor de la caja del ventilador – el
dedo pulgar debe quedar debajo de
la caja del ventilador.
El procedimiento de arranque siguiente
corresponde al descrito en el manual de
instrucciones del KombiEngine.
Para apagar el motor
:Mueva el control deslizante en el
sentido indicado por la flecha (h) a
STOP – $ o el interruptor de parada
a la posición $.
Durante el funcionamiento
Revise frecuentemente la tensión de
la cadena.
Es necesario volver a tensar las cade-
nas nuevas con mayor frecuencia que
las que han estado en uso por algún
tiempo.
Cadena fría:
La tensión es correcta cuando la cadena
encaja ajustadamente contra la parte
inferior de la barra y todavía puede ser
tirada a lo largo de la barra con la mano.
Vuélvala a tensar de ser necesario –
Vea el capítulo "Tensado de la cadena
de sierra".
Cadena a temperatura de funciona-
miento:
La cadena se estira y empieza a colgar
con soltura. Los eslabones impulsores
en la parte inferior de la barra no deben
salirse de la ranura de la barra – de lo
contrario la cadena puede salirse de la
barra.
Vuelva a tensar la cadena – Vea el capí-
tulo "Tensado de la cadena de sierra".
Suelte siempre la tensión de la
cadena después de terminar los tra-
bajos. La cadena se contrae al
enfriarse. Si no se suelta la tensión,
se podría dañar el eje del engranaje
y los cojinetes.
Arranque / parada del moto
r
402BA028 KN
402BA029 KN
Instrucciones de manejo

54
español / EE.UU
HT-KM
Después de terminar el trabajo
:Afloje la cadena si se ha vuelto a
tensar la cadena cuando está a
temperatura de funcionamiento
durante los trabajos de corte.
La cadena se contrae al enfriarse.
Si no se suelta la tensión, se podría
dañar el eje del engranaje y los coji-
netes.
Almacenamiento por tiempo prolon-
gado:
Consulte el capítulo "Almacenamiento
de la máquina".
Para intervalos de 3 meses o más:
:Quite la cadena y la barra guía, lím-
pielas y rocíelas con aceite inhibidor
de corrosión.
:Si se usa lubricante biodegradable
para cadenas y barras (tal como
STIHL BioPlus), llene completa-
mente el tanque de aceite de la
cadena.
:Si la KombiTool se guarda aparte,
coloque la tapa protectora en el
tubo de mando para evitar la
entrada de tierra al acoplamiento.
:Guarde la máquina en un lugar seco
y elevado, o bajo llave – fuera del
alcance de los niños y de otras per-
sonas no autorizadas.
:Dé vuelta a la barra –
cada vez que afile la cadena y cada
vez que sustituya la cadena – con
ello evitará que se produzca des-
gaste por un solo lado, especial-
mente en la punta y la cara inferior
de la barra.
Limpie periódicamente
1 = el agujero de entrada de aceite
2 = el conducto de aceite
3 = la ranura de la barra guía.
Almacenamiento de la
máquina
Cuidado de la barra guía
3
2
1
390BA050 KN

55HT-KM
español / EE.UU
:Mida la profundidad de la ranura
con el calibrador de rectificación* –
consulte "Accesorios especiales" –
en la zona utilizada para la mayoría
de los cortes en las barras Rolloma-
tic.
Si la profundidad de la ranura es menor
que la especificada:
:Sustituya la barra guía.
De lo contrario las pestañas de los
eslabones impulsores rasparán la parte
inferior de la ranura – los cortadores y
amarras no viajarán sobre los rieles.
:Quite la cubierta de la rueda den-
tada, la cadena y la espada.
Cambie la rueda dentada de la cadena:
– después de usar dos cadenas Oilo-
matic o más a menudo
– si las marcas de desgaste (dimen-
sión a) en la rueda dentada tienen
más de 0,5 mm (0,02 pulg) de pro-
fundidad – de lo contrario se acor-
tará la vida útil de la cadena. Utilice
el calibrador (accesorio especial)
para comprobar la profundidad de
las marcas de desgaste.
Se prolongará la vida útil de la
rueda dentada de cadena al usarla
con dos cadenas en secuencia
alternada.
Utilice exclusivamente ruedas dentadas
de repuesto STIHL originales.
La rueda dentada de la cadena es
impulsada por medio de un embrague
de fricción y un taller de servicio debe
cambiarla.
STIHL recomienda que un concesiona-
rio de servicio STIHL efectúe los traba-
jos de mantenimiento y reparación.
Tipo de
cadena
Paso de
cadena
Profundidad
mínima de
ranura
Picco-Mini 3/8 pulg P 5,0 mm
(0,20 pulg)
Revisión y sustitución
de la rueda dentada de
cadena
a
000BA054 KN

56
español / EE.UU
HT-KM
Cadena debidamente afilada
Una cadena debidamente afilada corta
la madera con poco esfuerzo y requiere
aplicar muy poca presión.
No trabaje con una cadena desafilada o
dañada, ya que esto aumenta el
esfuerzo físico requerido, aumenta las
vibraciones, produce resultados no
satisfactorios y acelera el desgaste.
:Limpie la cadena.
:Revise la cadena en busca de rotu-
ras en sus eslabones y daños en
sus remaches.
:Sustituya las piezas dañadas o des-
gastadas de la cadena e instale pie-
zas nuevas que tengan la misma
forma y tamaño que las originales,
rectificándolas de ser necesario.
Es necesario cumplir con los ángu-
los y dimensiones abajo especifica-
dos. Si la cadena se afila de modo
incorrecto – y en particular si los
calibradores de profundidad se fijan
demasiado bajos – se aumenta el
riesgo de contragolpes y lesiones
resultantes de los mismos.
La cadena de sierra del podador no
puede trabarse en su lugar en la
espada. Por lo tanto, es mejor quitar
la cadena de la barra y afilarla colo-
cándola en una herramienta de afi-
lado de taller (FG 2, HOS, USG).
:Elija las herramientas de afilado
correspondientes al paso de la
cadena.
Vea "Especificaciones" para los
pasos de cadena admisibles.
El paso de la cadena (por ejemplo: 3/8
pulg) se encuentra marcado en el lado
del calibrador de profundidad de cada
cortador.
Utilice únicamente limas especiales
para cadenas de sierra. Las limas de
otros tipos tienen forma y patrón de
corte incorrectos.
Seleccione el diámetro de acuerdo al
paso de la cadena (vea la tabla "Herra-
mientas de afilado" al final de este capí-
tulo).
También es necesario observar los
ángulos siguientes al afilar los cortado-
res de las cadenas.
A = Angulo de rectificación
B = Angulo de placa lateral
Forma de cortador:
Micro = Semicincelado
Los ángulos A y B que se especifican se
obtienen con más facilidad si se usan
las limas o herramientas afiladoras que
se recomiendan y si se usan los ajustes
correctos.
Mantenimiento y afilado de
la cadena de sierra
3/8
689BA020 KN
Tipo de cadena Angulo (°)
AB
Picco Micro Mini
(PMMC3, PMN) 30 85
A
B
689BA021 KN

57HT-KM
español / EE.UU
Además, los ángulos deben ser iguales
en todos los cortadores. Si los ángulos
son desiguales, la cadena viajará áspe-
ramente, no en línea recta, se desgas-
tará rápidamente y se romperá prematu-
ramente.
Como estos requisitos pueden cum-
plirse solamente después de una prác-
tica constante y suficiente:
:Use un portalima
Se debe usar un portalima para afilar
manualmente la cadena (vea la tabla
"Herramientas de afilado"). Los ángulos
de rectificación correctos están marca-
dos en el portalima.
Para comprobar los ángulos
Utilice un calibrador de rectificación
STIHL (vea la tabla "Herramientas de
afilado"). Esta es una herramienta uni-
versal para revisar los ángulos de recti-
ficación y de la placa lateral, el ajuste de
los calibradores de profundidad y el
largo de los cortadores. Además, limpia
la ranura de la espada y los agujeros de
entrada de aceite.
Rectificación correcta
:Si se usa la herramienta FG 2, HOS
o USG: Quite la cadena de la barra
y afílela según las instrucciones
incluidas con la herramienta.
:Afile la cadena con frecuencia;
rebaje tan poco metal como sea
posible – dos o tres pasadas de la
lima generalmente son suficientes.
:Sostenga la lima en posición hori-
zontal (perpendicular al lado de la
espada) y pásela a los ángulos indi-
cados en el portalima. Apoye el por-
talima en la placa superior y en el
calibrador de profundidad.
:Siempre pase la lima desde el inte-
rior hacia el exterior del cortador.
:La lima afila únicamente en la
pasada de ida – quite la lima del
cortador para la pasada de retorno.
:Evite tocar las amarras y eslabones
impulsores con la lima.
689BA025 KN
90°
60°
85° 70° 80°
0°
35°
10°
30°
689BA022 KN
689BA018 KN
90°
689BA043 KN

58
español / EE.UU
HT-KM
:Gire la lima a intervalos regulares al
limar para evitar desgastar uno de
sus lados solamente.
:Utilice un trozo de madera dura
para quitar las rebabas del borde
cortante.
:Compruebe el ángulo con el calibra-
dor de rectificación.
Todos los cortadores deben tener el
mismo largo.
Si los cortadores no tienen el mismo
largo, sus alturas serán diferentes. Esto
hace que la cadena viaje de modo
áspero y aumenta el riesgo de que se
rompa.
:Identifique el cortador más corto y
rectifique los demás cortadores
para que tengan el mismo largo – es
mejor hacer este trabajo en un
taller, con un esmeril eléctrico.
Ajuste de calibrador de profundi-
dad
El calibrador de profundidad determina
la altura a la cual el cortador penetra en
la madera y por lo tanto determina el
espesor de la viruta que se quita.
La distancia o el ajuste especificado
entre el calibrador de profundidad y el
borde de corte = a:
Este ajuste puede aumentarse en
0,2 mm (0,008 pulg) para cortar made-
ras blandas cuando el tiempo está tem-
plado – sin escarcha.
Reducción de calibradores de
profundidad
El ajuste del calibrador de profundidad
se reduce cuando se afila la cadena
debido a que la placa superior del corta-
dor se inclina hacia abajo, hacia la parte
trasera.
:Cada vez que afile la cadena, use
un calibrador de rectificación para
verificar el ajuste.
:Coloque un calibrador de rectifica-
ción (1) que iguale el paso en la
cadena – si el calibrador de profun-
didad sobresale del calibrador de
rectificación, entonces se debe
bajar el de profundidad.
:Lime el calibrador de profundidad
hasta que esté a nivel con el de rec-
tificación.
Paso de cadena Calibrador de
profundidad
ajuste "a"
pulg (mm) mm (pulg)
3/8-PMMC3 (9.32) 0.65 (0.026)
3/8-PMN (9.32) 0.45 (0.018)
689BA023 KN
a
689BA047 KN
1
689BA051 KN

59HT-KM
español / EE.UU
:Lime la parte superior del calibrador
de profundidad en sentido paralelo
a la marca de servicio estampada
(vea la flecha) – pero no baje el
punto más alto del calibrador de
profundidad en este proceso.
La tendencia de la motosierra a dar
contragolpes aumenta si los calibra-
dores de profundidad están demasi-
ado bajos.
:Coloque el calibrador de rectifica-
ción en la cadena – el punto más
alto del calibrador de profundidad
debe estar a nivel con el de rectifi-
cación.
Después del afilado
Después del afilado, limpie a fondo la
cadena, quite las limaduras o polvo del
rectificado y lubrique completamente la
cadena.
Antes de poner la máquina fuera de
servicio por un tiempo prolongado
Limpie la cadena con un cepillo y
guárdela bien aceitada.
Cadena de sierra
Herramientas de afilado
(accesorios especiales)
689BA044 KN
689BA052 KN
Tipo: Picco Micro Mini
(PMMC3, PMN)
Paso: 9,32 mm P
(3/8 pulg)
Descripción N° de pieza
Lima redonda
4,0 mm (5/32 pulg)
de diámetro 5605 772 4006
Portalima con lima
redonda 5605 750 4327
Calibrador de rectifi-
cación
PMMC3
PMN
1110 893 4000
0000 893 4000
Lima plana 0814 252 3356
Juego de afilar
(incluye todas las
piezas arriba indica-
das)
PMMC3
PMN
5605 007 1027
5605 007 1026

60
español / EE.UU
HT-KM
1) STIHL recomienda acudir a un concesionario
STIHL para servicio
Tabla de mantenimiento
Por favor observe que los intervalos de mantenimiento dados a continuación
corresponden únicamente a condiciones normales de trabajo. Si el tiempo de tra-
bajo por jornada es más largo que lo normal, o si las condiciones de corte son
extremas (zonas polvorientas, maderas ricas en resina, bosques tropicales, etc.),
acorte los intervalos indicados de modo correspondiente.
antes de
comenzar el trabajo
después de terminar
el trabajo o diariamente
después de cada parada
para cargar combustible
semanalmente
mensualmente
cada 12 meses
si hay problema
si tiene daños
si se requiere
Lubricación de la cadena Revisar X
Cadena de sierra
Inspeccionar, también revisar afilado XX
Revisar la tensión de la cadena XX
Afilar X
Espada
Revisar (desgaste, daño) X
Limpiar e invertir XX
Quitar las rebabas X
Reemplazar XX
Rueda dentada de la cadena Revisar X
Reemplazar 1) X
Etiquetas de seguridad Reemplazar X

61HT-KM
español / EE.UU
1 = Cadena de sierra Oilomatic
2 = Barra guía
3 = Tanque de aceite
4 = Tapa de llenado de aceite
5 = Tubo de mando
6 = Cubierta de la rueda dentada de la
cadena
7= Gancho
8= Protector de cadena (funda)
9= Rueda dentada de la cadena
10= Tensor de cadena
11= Buje
Definiciones
1. Cadena de sierra Oilomatic
Cadena cerrada formada por corta-
dores, amarras y eslabones impul-
sores.
2. Barra guía
Sirve de soporte y de guía de la
cadena de sierra.
3. Tanque de aceite
Tanque que contiene el aceite lubri-
cante de la cadena.
4. Tapa de llenado de aceite
Para tapar el tanque de aceite.
5. Tubo de mando
Dispositivo que conecta el motor
con la caja de engranajes.
6. Cubierta de la rueda dentada de
la cadena
Cubre la rueda dentada.
7. Gancho
Para enganchar ramas con la
máquina con el fin de apartarlas del
camino.
8. Protector de cadena (funda)
Cubre la cadena para transportarla
y durante los períodos de inactivi-
dad.
9. Rueda dentada de la cadena
Una rueda con dientes que impulsa
la cadena de sierra.
10. Tensor de cadena
Permite el ajuste preciso de la ten-
sión de la cadena.
11. Buje
Sitúa el tubo de mando en el man-
guito de acoplamiento.
Piezas y controles
5
4
3
2
1
473BA001 KN
5
11
910
8
7
6
62
español / EE.UU
HT-KM
Motor
Consulte el manual de instrucciones del
KombiEngine.
Accesorio de corte
Peso
Comuníquese con su concesionario
STIHL para información acerca de los
accesorios especiales que pueden estar
disponibles para su producto.
Barra guía
Tipo: Rollomatic con
punta de rueda
dentada
Largo de corte: 12 pulg (30 cm)
Cadena Oilomatic
Tipo: Picco Micro Mini
Paso: 9,32 mm P
(3/8 pulg)
Grueso de eslabón
impulsor:
1,1 mm
(0.043 pulg)
Rueda dentada de
la cadena
Tipo: Rueda dentada
de dientes rectos
Paso: 9,32 mm P
(3/8 pulg)
N° de dientes: 6
7 (Accesorio
especial)
Especificaciones
Lubricación de la
cadena
Bomba de aceite de émbolo giratorio
controlada por velocidad y plenamente
automática
Capacidad del tan-
que de aceite:
0,46 pt EE.UU.
(0,22 l)
Accesorio de corte
con tubo de mando:
4 lb (1,8 kg)
Accesorios especiales
63HT-KM
español / EE.UU
Los usuarios de esta máquina deben
efectuar únicamente los trabajos de
mantenimiento descritos en este
manual. Solamente los talleres autoriza-
dos por STIHL deben llevar a cabo los
demás trabajos de reparación.
Los reclamos de garantía presentados
después de realizadas las reparaciones
serán aceptados únicamente si las mis-
mas fueron ejecutadas por un concesio-
nario de servicio autorizado STIHL utili-
zando piezas de repuesto originales de
STIHL.
Es posible identificar las piezas origina-
les de STIHL por el número de pieza
STIHl
, el logotipo de STIHL y, en
algunos casos, el símbolo ( de piezas
STIHL. En las piezas pequeñas el sím-
bolo puede aparecer solo.
Mantenimiento y
reparaciones

64
español / EE.UU
HT-KM
Marcas registradas de STIHL
STIHL®
q
(
La combinación de colores anaranjado-
gris (N° de registro EE.UU. #2,821,860;
#3,010,057; y #3,010,058)
4-MIX®
AUTOCUT®
EASYSTART®
OILOMATIC®
STIHL Cutquik®
STIHL DUROMATIC®
STIHL Farm Boss®
STIHL Quickstop®
STIHL ROLLOMATIC®
STIHL WOOD BOSS®
TIMBERSPORTS®
YARD BOSS®
Marcas comerciales de STIHL por
ley común
BioPlus™
Easy2Start™
EasySpool™
ElastoStart™
Ematic™ / Stihl-E-Matic™
FixCut™
HT Plus™
IntelliCarb™
Master Control Lever™
Micro™
Pro Mark™
Quad Power™
Quiet Line™
STIHL Arctic™
STIHL Compact™
STIHL HomeScaper Series™
STIHL Interchangeable Attachment
Series™
STIHL Magnum™ / Stihl-Magnum™
STIHL MiniBoss™
STIHL MotoPlus 4™
STIHL Multi-Cut HomeScaper Series™
Stihl Outfitters™
STIHL PICCO™
STIHL PolyCut™
STIHL PowerSweep™
STIHL Precision Series™
STIHL Protech™
STIHL RAPID™
STIHL SuperCut™
STIHL Territory™
TapAction™
TrimCut™
Esta lista de marcas comerciales está
sujeta a cambios.
Queda terminantemente prohibido todo
uso de estas marcas comerciales sin el
consentimiento expreso por escrito de
ANDREAS STIHL AG & Co. KG,
Waiblingen.
Marcas comerciales
0458 473 8621 A
englisch / English USA / spanisch / español EE.UU
BA_U4_86_01.fm Seite 1 Mittwoch, 23. Mai 2007 10:49 10