Sun Microsystems Blade T6320 Users Manual Server Module Service
T6320 to the manual ceff802f-e26b-44db-8733-701045481bee
2015-02-02
: Sun-Microsystems Sun-Microsystems-Blade-T6320-Users-Manual-489857 sun-microsystems-blade-t6320-users-manual-489857 sun-microsystems pdf
Open the PDF directly: View PDF
.
Page Count: 150 [warning: Documents this large are best viewed by clicking the View PDF Link!]
- Sun BladeTM T6320 Server Module Service Manual
- Contents
- Preface
- Sun Blade T6320 Server Module Product Description
- Sun Blade T6320 Server Module Diagnostics
- 2.1 Sun Blade T6320 Server Module Diagnostics Overview
- 2.2 Memory Configuration and Fault Handling
- 2.3 Interpreting System LEDs
- 2.4 Using ILOM for Diagnosis and Repair Verification
- 2.5 Using the ILOM Web Interface For Diagnostics
- 2.5.1 Changing POST Settings With the ILOM Web Interface
- 2.5.2 Changing POST Settings With the ILOM CLI
- 2.5.3 Displaying System Faults
- 2.5.4 Displaying the Environmental Status with the ILOM CLI
- 2.5.5 Displaying the Environmental Status and Sensor Readings with the ILOM Web Interface
- 2.5.6 Displaying FRU Information
- 2.6 Running POST
- 2.7 Using the Solaris Predictive Self-Healing Feature
- 2.8 Collecting Information From Solaris OS Files and Commands
- 2.9 Managing Components With Automatic System Recovery Commands
- 2.10 Exercising the System With SunVTS
- 2.11 Resetting the Password to the Factory Default
- Replacing Hot-Swappable and Hot- Pluggable Components
- Replacing Cold-Swappable Components
- 4.1 Safety Information
- 4.2 Common Procedures for Parts Replacement
- 4.3 Removing and Replacing DIMMs
- 4.4 Removing and Replacing the Service Processor
- 4.5 Removing and Replacing the Battery on the Service Processor
- 4.6 Replacing or Installing the Sun Blade RAID 5 Expansion Module
- 4.7 Removing and Replacing the Sun Blade G2 RAID 0/1 Expansion Module
- 4.8 Finishing Component Replacement
- Specifications
- Creating a Bootable Array With the Sun Blade RAID 5 Expansion Module
- Installing the Solaris OS and the RAID 5 Expansion Module Driver
- XVR-50 Graphics Accelerator
- Index

Sun Microsystems, Inc.
www.sun.com
Submit comments about this document at: http://www.sun.com/hwdocs/feedback
Sun BladeTM T6320 Server Module
Service Manual
Part No. 820-2386-12
June 2009, Revision A

Copyright © 2009 Sun Microsystems, Inc., 4150 Network Circle, Santa Clara, California 95054, U.S.A. All rights reserved.
Sun Microsystems, Inc. has intellectual property rights relating to technology embodied in the product that is described in this document. In
particular, and without limitation, these intellectual property rights may include one or more of the U.S. patents listed at
http://www.sun.com/patents and one or more additional patents or pending patent applications in the U.S. and in other countries.
This distribution may include materials developed by third parties.
Parts of the product may be derived from Berkeley BSD systems, licensed from the University of California. UNIX is a registered trademark in
the U.S. and in other countries, exclusively licensed through X/Open Company, Ltd.
Sun, Sun Microsystems, the Sun logo, Java, Solaris and Sun Blade are trademarks or registered trademarks of Sun Microsystems, Inc., and its
subsidiaries, in the U.S. and other countries.
All SPARC trademarks are used under license and are trademarks or registered trademarks of SPARC International, Inc. in the U.S. and other
countries. Products bearing SPARC trademarks are based upon architecture developed by Sun Microsystems, Inc.
Products covered by and information contained in this service manual are controlled by U.S. Export Control laws and may be subject to the
export or import laws in other countries. Nuclear, missile, chemical biological weapons or nuclear maritime end uses or end users, whether
direct or indirect, are strictly prohibited. Export or reexport to countries subject to U.S. embargo or to entities identified on U.S. export exclusion
lists, including, but not limited to, the denied persons and specially designated nationals lists is strictly prohibited.
Use of any spare or replacement CPUs is limited to repair or one-for-one replacement of CPUs in products exported in compliance with U.S.
export laws. Use of CPUs as product upgrades unless authorized by the U.S. Government is strictly prohibited.
DOCUMENTATION IS PROVIDED "AS IS" AND ALL EXPRESS OR IMPLIED CONDITIONS, REPRESENTATIONS AND WARRANTIES,
INCLUDING ANY IMPLIED WARRANTY OF MERCHANTABILITY, FITNESS FOR A PARTICULAR PURPOSE OR NON-INFRINGEMENT,
ARE DISCLAIMED, EXCEPT TO THE EXTENT THAT SUCH DISCLAIMERS ARE HELD TO BE LEGALLY INVALID.
Copyright © 2009 Sun Microsystems, Inc., 4150 Network Circle, Santa Clara, California 95054, Etats-Unis. Tous droits réservés.
Sun Microsystems, Inc. détient les droits de propriété intellectuels relatifs à la technologie incorporée dans le produit qui est décrit dans ce
document. En particulier, et ce sans limitation, ces droits de propriété intellectuelle peuvent inclure un ou plus des brevets américains listés à
l’adresse http://www.sun.com/patents et un ou les brevets supplémentaires ou les applications de brevet en attente aux Etats - Unis et dans les
autres pays.
Cette distribution peut comprendre des composants développés par des tierces parties.
Des parties de ce produit pourront être dérivées des systèmes Berkeley BSD licenciés par l’Université de Californie. UNIX est une marque
déposée aux Etats-Unis et dans d’autres pays et licenciée exclusivement par X/Open Company, Ltd.
Sun, Sun Microsystems, le logo Sun, Java, Solaris et Sun Blade sont des marques de fabrique ou des marques déposées de Sun Microsystems,
Inc., et ses filiales, aux Etats-Unis et dans d’autres pays.
Toutes les marques SPARC sont utilisées sous licence et sont des marques de fabrique ou des marques déposées de SPARC International, Inc.
aux Etats-Unis et dans d’autres pays. Les produits portant les marques SPARC sont basés sur une architecture développée par Sun
Microsystems, Inc.
Ce produit est soumis à la législation américaine en matière de contrôle des exportations et peut être soumis à la règlementation en vigueur
dans d’autres pays dans le domaine des exportations et importations. Les utilisations , ou utilisateurs finaux, pour des armes nucléaires, des
missiles, des armes biologiques et chimiques ou du nucléaire maritime, directement ou indirectement, sont strictement interdites. Les
exportations ou reexportations vers les pays sous embargo américain, ou vers des entités figurant sur les listes d’exclusion d’exportation
américaines, y compris, mais de manière non exhaustive, la liste de personnes qui font objet d’un ordre de ne pas participer, d’une façon directe
ou indirecte, aux exportations des produits ou des services qui sont régis par la législation américaine en matière de contrôle des exportations et
la liste de ressortissants spécifiquement désignés, sont rigoureusement interdites. L’utilisation de pièces détachées ou d’unités centrales de
remplacement est limitée aux réparations ou à l’échange standard d’unités centrales pour les produits exportés, conformément à la législation
américaine en matière d’exportation. Sauf autorisation par les autorités des Etats-Unis, l’utilisation d’unités centrales pour procéder à des mises
à jour de produits est rigoureusement interdite.
LA DOCUMENTATION EST FOURNIE "EN L’ETAT" ET TOUTES AUTRES CONDITIONS, DECLARATIONS ET GARANTIES EXPRESSES
OU TACITES SONT FORMELLEMENT EXCLUES, DANS LA MESURE AUTORISEE PAR LA LOI APPLICABLE, Y COMPRIS NOTAMMENT
TOUTE GARANTIE IMPLICITE RELATIVE A LA QUALITE MARCHANDE, A L’APTITUDE A UNE UTILISATION PARTICULIERE OU A
L’ABSENCE DE CONTREFACON.

iii
Contents
Preface ix
1. Sun Blade T6320 Server Module Product Description 1–1
1.1 Component Overview 1–1
1.1.1 Multicore Processor Information 1–9
1.2 Support for RAID Storage Configurations 1–10
1.2.1 Sun Blade RAID 5 Expansion Module 1–11
1.2.2 Sun Blade RAID 0/1 G2 Expansion Module 1–11
1.3 Finding the Serial Number 1–11
1.4 Additional Service Related Information 1–14
2. Sun Blade T6320 Server Module Diagnostics 2–1
2.1 Sun Blade T6320 Server Module Diagnostics Overview 2–2
2.2 Memory Configuration and Fault Handling 2–7
2.2.1 FB-DIMM Configuration Guidelines 2–7
2.2.1.1 DIMM Installation Rules 2–8
2.2.1.2 Memory Fault Handling 2–11
2.2.1.3 Troubleshooting Memory Faults 2–11
2.3 Interpreting System LEDs 2–12
2.3.1 Front Panel LEDs and Buttons 2–12

iv Sun Blade T6320 Server Module Service Manual • June 2009
2.3.2 Ethernet Port LEDs 2–16
2.4 Using ILOM for Diagnosis and Repair Verification 2–16
2.5 Using the ILOM Web Interface For Diagnostics 2–18
2.5.1 Changing POST Settings With the ILOM Web Interface 2–19
2.5.2 Changing POST Settings With the ILOM CLI 2–21
2.5.3 Displaying System Faults 2–21
2.5.3.1 Viewing Fault Status Using the ILOM Web Interface 2–
22
2.5.3.2 Viewing Fault Status Using the ILOM CLI 2–23
2.5.4 Displaying the Environmental Status with the ILOM CLI 2–24
2.5.5 Displaying the Environmental Status and Sensor Readings with the
ILOM Web Interface 2–25
2.5.6 Displaying FRU Information 2–27
2.5.6.1 Using the ILOM Web Interface to Display FRU
Information 2–27
2.5.6.2 Using the CLI to Display FRU Information 2–28
2.6 Running POST 2–31
2.6.1 Controlling How POST Runs 2–31
2.6.2 Changing POST Parameters 2–34
2.6.2.1 Using the Web Interface to Change POST Parameters
2–34
2.6.2.2 Using the CLI to Change POST Parameters 2–37
2.6.3 Interpreting POST Messages 2–38
2.6.4 Clearing POST Detected Faults 2–39
2.6.4.1 Clearing Faults With the Web Interface 2–40
2.6.4.2 Clearing Faults With the ILOM CLI 2–41
2.6.4.3 Clearing Faults Manually with ILOM 2–42
2.6.4.4 Clearing Hard Drive Faults 2–42
2.7 Using the Solaris Predictive Self-Healing Feature 2–42

Contents v
2.7.1 Identifying Faults With the fmadm faulty and fmdump
Commands 2–43
2.7.1.1 Using the fmadm faulty Command 2–43
2.7.1.2 Using the fmdump Command 2–44
2.7.2 Clearing PSH Detected Faults 2–45
2.7.3 Clearing the PSH Fault From the ILOM Logs 2–46
2.8 Collecting Information From Solaris OS Files and Commands 2–47
2.8.1 Checking the Message Buffer 2–47
2.8.2 Viewing the System Message Log Files 2–48
2.9 Managing Components With Automatic System Recovery Commands 2–
48
2.9.1 Displaying System Components With the show /SYS Command
2–50
2.10 Exercising the System With SunVTS 2–51
2.10.1 Checking SunVTS Software Installation 2–51
2.10.2 Exercising the System Using SunVTS Software 2–52
2.10.3 Steps for Exercising the System With SunVTS Software 2–52
2.11 Resetting the Password to the Factory Default 2–56
2.11.1 To Reset the Root Password to the Factory Default 2–56
3. Replacing Hot-Swappable and Hot-Pluggable Components 3–1
3.1 Hot-Pluggable Hard Drives 3–1
3.2 Hot-Plugging a Hard Drive 3–1
3.2.1 Rules for Hot-Plugging 3–2
3.2.2 Removing a Hard Drive 3–2
3.2.3 Replacing a Hard Drive or Installing a New Hard Drive 3–4
3.3 Adding PCI ExpressModules 3–5
4. Replacing Cold-Swappable Components 4–1
4.1 Safety Information 4–1

vi Sun Blade T6320 Server Module Service Manual • June 2009
4.1.1 Safety Symbols 4–2
4.1.2 Electrostatic Discharge Safety 4–2
4.1.2.1 Using an Antistatic Wrist Strap 4–2
4.1.2.2 Using an Antistatic Mat 4–3
4.2 Common Procedures for Parts Replacement 4–3
4.2.1 Required Tools 4–3
4.2.2 Shutting Down the System 4–3
4.2.3 Using the ILOM Web Interface to Shut Down the Server Module
4–4
4.2.4 Using the ILOM CLI to Shut Down the Server Module 4–5
4.3 Removing and Replacing DIMMs 4–10
4.3.1 Removing the DIMMs 4–10
4.3.2 Replacing the DIMMs 4–14
4.3.2.1 Verifying DIMM Installation 4–15
4.4 Removing and Replacing the Service Processor 4–15
4.4.1 Removing the Service Processor 4–15
4.4.2 Replacing the Service Processor 4–17
4.5 Removing and Replacing the Battery on the Service Processor 4–18
4.5.1 Replacing the Battery on the Service Processor 4–19
4.6 Replacing or Installing the Sun Blade RAID 5 Expansion Module 4–20
4.6.1 Installing the RAID 5 Expansion Module 4–21
4.6.2 Configuring the RAID 5 Expansion Module 4–24
4.6.3 Creating a Bootable Array With the RAID 5 Expansion Module 4–
25
4.6.4 Additional Information 4–25
4.7 Removing and Replacing the Sun Blade G2 RAID 0/1 Expansion Module
4–25
4.7.1 Replacing the RAID 0/1 Expansion Module 4–26
4.7.2 Verifying the RAID 0/1 Expansion Module Installation 4–27
4.8 Finishing Component Replacement 4–28

Contents vii
4.8.1 Replacing the Cover 4–28
4.8.2 Reinstalling the Server Module in the Chassis 4–28
A. Specifications A–1
A.1 Physical Specifications A–1
A.1.1 System Environmental Specifications A–2
A.2 Motherboard Block Diagram A–3
B. Creating a Bootable Array With the Sun Blade RAID 5 Expansion Module B–1
B.1 About Creating a Bootable Array on a SPARC System B–2
B.2 Creating a Bootable Array Task Map B–2
B.3 Modifying the Miniroot Directory On the Install Server B–3
B.4 Modifying the Product Installation Directory on the Install Server B–5
B.5 Building a Logical Drive On Which to Install the Solaris OS B–6
B.6 Next Steps B–11
B.6.1 Additional Information B–12
C. Installing the Solaris OS and the RAID 5 Expansion Module Driver C–1
C.1 Preparing to Install the Solaris OS C–1
C.2 Installing the RAID 5 Expansion Module Driver With the Solaris OS C–2
C.3 Next Steps C–4
C.3.1 Additional Information C–4
D. XVR-50 Graphics Accelerator D–1
D.1 Features D–1
D.2 Video Formats D–2
D.3 Sun OpenGL for Solaris Software D–3
D.4 Man Pages D–3
D.5 Optional Video Output D–4
D.6 Default Color Depth D–4

ix
Preface
The Sun BladeTM T6320 Server Module Service Manual provides information to aid in
diagnosing hardware problems and describes how to replace components. This
manual also describes how to add components such as hard drives and memory.
This manual is written for technicians, service personnel, and system administrators
who service and repair computer systems. The person qualified to use this manual:
■Can open a system chassis, and can identify and replace internal components.
■Understands the Solaris™ Operating System and the command-line interface.
■Has superuser privileges for the system being serviced.
■Understands typical hardware troubleshooting tasks.
Using UNIX Commands
This document might not contain information about basic UNIX®commands and
procedures such as shutting down the system, booting the system, and configuring
devices. Refer to the following for this information:
■Software documentation that you received with your system
■Solaris Operating System documentation, which is at:
http://docs.sun.com

xSun Blade T6320 Server Module Service Manual • June 2009
Typographic Conventions
Shell Prompts
Accessing Sun Documentation
You can view, print, or purchase a broad selection of Sun documentation, including
localized versions, at:
http://docs.sun.com/app/docs/prod/blade.t6320
To find other product documents, search on the software name or book title.
Typeface*
* The settings on your browser might differ from these settings.
Meaning Examples
AaBbCc123 The names of commands, files,
and directories; on-screen
computer output
Edit your.login file.
Type ls -a to list all files.
% You have mail.
AaBbCc123 What you type, when contrasted
with on-screen computer output
%su
Password:
AaBbCc123 Book titles, new words or terms,
words to be emphasized.
Replace command-line variables
with real names or values.
Read Chapter 6 in the User’s Guide.
These are called class options.
You must be superuser to do this.
To delete a file, type rm filename.
Shell Prompt
C shell machine-name%
C shell superuser machine-name#
Bourne shell and Korn shell $
Bourne shell and Korn shell superuser #

Preface xi
Document Title Description
Sun Blade T6320 Server Module Product Notes,
820-2383
Important late-breaking information about the server module
and related software.
Sun Blade T6320 Server Module Installation
Guide, 820-2384
Basic information about installing, powering on and installing
software. If you purchased hard drives with preinstalled
software you can also find information here:
http://www.sun.com/software/preinstall
Sun Integrated Lights Out Manager 2.0
Supplement for Sun Blade T6320 Server
Modules, 820-2546
ILOM information specific to the UltraSPARC and the Sun Blade
T6320 server module. Provides command comparisons of the
ALOM CMT and ILOM CLI command sets.
Sun Blade T6320 Server Module Safety and
Compliance Manual, 820-2387
Important safety information for the Sun Blade T6320 server
module.
Chassis Documentation (Refer to the documents for your specific modular system chassis.)
Integrated Lights Out Manager ILOM
Administration Guide
ILOM information specific to the modular system chassis.
Modular System Product Notes Late-breaking information about the chassis and related
software.
Modular System Service Manual Component removal and replacement procedures, diagnostics
information and specifications.
Software Documentation
Sun Integrated Lights out Manager 2.0 User’s
Guide, 820-1188
Advanced Lights Out Manager (ALOM) CMT software.
Configuring Jumpstart Servers to Provision Sun
x86-64 Systems, 819-1962-10
Configuring JumpStart servers.
Solaris 10 8/07 Installation Guide: Network-
Based Installations
Setting up network-based installations and JumpStart servers.
Sun VTS 6.4 User’s Guide, 820-1669 Testing the server module, and creating custom hardware tests.
Beginner’s Guide to LDoms: Understanding and
Deploying Logical Domains, 820-0832
Learning about LDoms principles.
Solaris Operating System documentation All information related to Solaris system administration
commands and features. Go to http://www.docs.sun.com

xii Sun Blade T6320 Server Module Service Manual • June 2009
Third-Party Web Sites
Sun is not responsible for the availability of third-party web sites mentioned in this
document. Sun does not endorse and is not responsible or liable for any content,
advertising, products, or other materials that are available on or through such sites
or resources. Sun will not be responsible or liable for any actual or alleged damage
or loss caused by or in connection with the use of or reliance on any such content,
goods, or services that are available on or through such sites or resources.
Documentation, Support, and Training
Sun Welcomes Your Comments
Sun is interested in improving its documentation and welcomes your comments and
suggestions. You can submit your comments by going to:
http://www.sun.com/hwdocs/feedback/
Please include the title and part number of your document with your feedback:
Sun Blade T6320 Server Module Service Manual, part number 820-2386.
Sun Function URL
Documentation http://docs.sun.com/app/docs/prod/blade.t6320
Support http://www.sun.com/support/
Training http://www.sun.com/training/
Preinstalled Software http://www.sun.com/software/preinstall/

1-1
CHAPTER 1
Sun Blade T6320 Server Module
Product Description
This chapter provides an overview of the features of the Sun Blade TM T6320 server
module. (A server module is also known as a “blade.”)
The following topics are covered:
■Section 1.1, “Component Overview” on page 1-1
■Section 1.2, “Support for RAID Storage Configurations” on page 1-10
■Section 1.3, “Finding the Serial Number” on page 1-11
■Section 1.4, “Additional Service Related Information” on page 1-14
1.1 Component Overview
FIGURE 1-1,FIGURE 1-2 and FIGURE 1-3 show the main Sun Blade T6320 components
and some basic connections to the chassis. For information about connectivity to
system fans, PCI ExpressModules, Ethernet modules, and other components, see the
chassis documentation at:
http://docs.sun.com/app/docs/prod/blade.t6320

Chapter 1 Sun Blade T6320 Server Module Product Description 1-3
FIGURE 1-2 Front and Rear Panels
Note – For information about connecting to the server module refer to the Sun Blade
T6320 Server Module Installation Guide, 820-2384.
Rear View
Front View
Power
Signal
White - Locator LED
Blue - Ready to Remove LED
NMI (non-maskable interrupt, for
Power button
Amber - Service Action Required LED
Green - OK LED
Blue - Drive Ready to Remove LED
Amber - Drive Service Action Required LED
Universal Connector Port (UCP)
Green - Drive OK LED
connector
connector
(press to reset the LED)
service use only)

1-4 Sun Blade T6320 Server Module Service Manual • June 2009
FIGURE 1-3 Cable Dongle Connectors
Insert the connector straight into the server module.
VGA 15-pin, female
USB 2.0
(two connectors)
USB 2.0
DB-9 serial, male
VGA 15-pin, female
(two connectors)
(TTYA)
RJ-45 serial
Four connector dongle cable (UCP-4)
Three connector dongle cable (UCP-3)
RJ-45 (Do not use this connector with
the Sun Blade T6320 Server Module)

Chapter 1 Sun Blade T6320 Server Module Product Description 1-5
Caution – Insert the connector straight into the server module. The cable dongle is
for temporary connections only. The cable dongle has not been evaluated for
electromagnetic compatibility (EMC). The cable dongle or server module connectors
could be damaged by closing rack doors or other impacts. Remove the cable dongle
during normal system operation.
Note – If you are using the older 4-cable dongle (UCP-4), do not use the RJ-45
connector with the Sun Blade T6320 server module. Use the DB-9 connector for serial
connections.
TABLE 1-1 Sun Blade T6320 Server Module Features
Feature Description
Processor One UltraSPARC®T2 multicore processor with 4MB L2 cache. Can execute up to 64
threads.
Memory 16 slots for fully buffered DIMMs (FB-DIMM), 667 MHz:
• 1 Gbyte (16 Gbyte maximum)
• 2 Gbyte (32 Gbyte maximum)
• 4 Gbyte (64 Gbyte maximum)
Internal hard drives Up to four hot-pluggable 2.5-inch hard drives.
• SFF SAS 73 Gbyte, 15k rpm, and 10k rpm
• SFF SAS 146 Gbyte, 10k rpm
(Filler panels are inserted anywhere hard drives are not installed.)
RAID Expansion
Modules
RAID expansion modules (hard drive management) with RAID 0, 1 controller.
Eight links, x2 SAS (3 Gb/s) or SATA (1.5 Gb/s), supporting four internal hard drives
and four x2 links to midplane. See Section 1.2, “Support for RAID Storage
Configurations” on page 1-10.

1-6 Sun Blade T6320 Server Module Service Manual • June 2009
Some USB connectors are thick and may distort or damage the connector when you try to connect two USB cables. You can use a USB hub
to avoid this problem.
Universal
Connector Port
One universal connector port (UCP) in the front panel. A universal cable is included with
the chassis and can be purchased separately (FIGURE 1-3). The following connections are
supported:
• USB 2.0*
• VGA video
• Serial (FIGURE 1-3).
• Local keyboard, video, mouse, storage support (KVMS)
Architecture SPARC®V9 architecture, ECC protected
Platform group: sun4v
Platform name: SUNW, Sun Blade T6320 Server Module
Minimum system firmware 7.0.6 or subsequent compatible release
Solaris 10 8/07 OS with appropriate patches
XVR-50 on-board
graphics accelerator
• 2D 24-bit color graphics
• Flexible 8- and 24-bit color application support
• HD15 monitor connector for a wide range of Sun monitors
• 3D support through Sun OpenGL®for SolarisTM software
TABLE 1-2 Interfaces With the chassis
Feature Description
Ethernet ports Two 10 Gb ethernet ports. Consult the chassis documentation or Network Express
Module (NEM) documentation for ethernet pass-through specifications. (See FIGURE 1-5
and FIGURE A-2.)
PCI Express I/O Two 8-lane ports connect to chassis midplane. Can support up to two 8-lane PCI
ExpressModules (PCI EM). (FIGURE 1-5)
SAS/SATA Four channels for remote storage connect from the RAID Express Module (REM) to the
chassis midplane.
Remote
Management
ILOM management controller on the service processor. CLI management (ssh only) and
N1 system manager support. DMTF CLI and ALOM-CMT compatible CLI available
through ssh. Remote console (remote KVMS) is configurable through OpenBoot PROM
and ILOM.
Remote
management
ILOM management controller on the service processor. CLI management (telnet, ssh) and
N1 system manager support. ALOM CMT shell within the ILOM controller.
Power Power is provided in the chassis
Cooling Environmental controls are provided by the chassis.
TABLE 1-1 Sun Blade T6320 Server Module Features (Continued)
Feature Description

Chapter 1 Sun Blade T6320 Server Module Product Description 1-7
For more information about chassis features and controls, refer to the service manual
for your blade chassis at:
http://docs.sun.com/app/docs/prod/blade.srvr
FIGURE 1-4 Field-Replaceable Units
TABLE 1-3 Sun Blade T6320 Server Module FRU List
FRU Description FRU Name*Replacement Instructions
Service
processor
card
Controls the host power and monitors host
system events (power and environmental).
Socketed EEPROM stores system configuration,
all Ethernet MAC addresses, and the host ID.
SYS/SP Section 4.4, “Removing and
Replacing the Service
Processor” on page 4-15
Service
processor
battery
Lithium battery SYS/SP/BAT Section 4.5, “Removing and
Replacing the Battery on
the Service Processor” on
page 4-18
REMs RAID expansion modules (Hard drive
management for up to 12 hard drives)
SYS/MB/REM Section 4.6, “Replacing or
Installing the Sun Blade
RAID 5 Expansion Module”
on page 4-20
Section 4.6, “Replacing or
Installing the Sun Blade
RAID 5 Expansion Module”
on page 4-20
Hard drives
Service processor
Battery
FB-DIMMs
RAID Expansion Module
with NVRAM (EEPROM)
with ILOM and ALOM

1-8 Sun Blade T6320 Server Module Service Manual • June 2009
FB-DIMMs 1 Gbyte, 2 Gbyte, 4 Gbyte SYS/MB/CMPx/B
Rx/CHx/Dx
Section 4.3.1, “Removing
the DIMMs” on page 4-10
Hard drive SFF SAS, or SATA 2.5-inch hard drive in NEMO
bracket
HDD0,1,2,3 Section 3.2.2, “Removing a
Hard Drive” on page 3-2
Server
Module
Enclosure with CPU, motherboard SYS/MB New server module
* The FRU name is used in system messages.
TABLE 1-3 Sun Blade T6320 Server Module FRU List (Continued)
FRU Description FRU Name*Replacement Instructions

Chapter 1 Sun Blade T6320 Server Module Product Description 1-9
FIGURE 1-5 PCI Express and Ethernet Connections on a Sun Blade 6000 Modular System
1.1.1 Multicore Processor Information
The UltraSPARC®T2 multicore processor is the basis of the Sun Blade T6320 server
module. The processor has four, six, or eight UltraSPARC cores. Each core equates to
a 64-bit execution pipeline capable of running eight threads. The result is that the
BL = blade (server module)
NEM0
NEM1

1-10 Sun Blade T6320 Server Module Service Manual • June 2009
8-core processor handles up to 64 active threads concurrently. For more information
about the UltraSPARC®T2 multicore processor, go to:
http://www.sun.com/processors/UltraSPARC-T2/features.xml
http://www.sun.com/servers/wp.jsp?tab=1
1.2 Support for RAID Storage
Configurations
In addition to software RAID configurations, you can set up hardware RAID 1
(mirroring) and hardware RAID 0 (striping) configurations for any pair of internal
hard drives using the on-board controller, providing a high-performance solution for
hard drive mirroring.
By attaching one or more external storage devices (such as the Sun Blade 6000 Disk
Module) to the Sun Blade T6320 server module, you can use a RAID to configure
system drive storage in a variety of different RAID levels.
As shipped, the internal hard drives are not configured for RAID. To make a disk
part of a RAID array while preserving the data on the drive, add the drive to a
mirrored RAID set (also known as hardware RAID Level 1).
Before configuring RAID, you must configure a RAID expansion module (REM).The
Sun Blade T6340 Server Module supports two REMs, the Sun Blade RAID 5 and Sun
Blade RAID 0/1 G2 Expansion Modules.
Refer to the following for RAID configuration instructions:
■Uniform Command-Line Interface User's Guide, 820-2145
■Sun StorageTek RAID Manager Software User's Guide, 820-1177
■Sun StorageTek SAS RAID HBA Installation Guide Eight-Port, Internal HBA
http://docs.sun.com/app/docs/doc/820-1847-17
■Sun Blade 6000 Disk Module Administration Guide, 820-4922
http://docs.sun.com/app/docs/prod/blade.6000disk~blade6000dskmod
Note – The Sun Blade 6000 Disk Module is an external storage blade that provides
eight additional drives for configuring RAID and is supported for both REMs.

Chapter 1 Sun Blade T6320 Server Module Product Description 1-11
1.2.1 Sun Blade RAID 5 Expansion Module
The Sun Blade RAID 5 Expansion Module supports RAID levels 0, 1, 1E, 10, 5, or 6
with global or dedicated hot spares. When a Sun Blade RAID 5 Expansion Module is
installed, SAS drives can be installed in disk slots 0 through 3. You can configure
these disks as RAID 0, 1, 5, or 10.
For information on creating a bootable array, see Appendix B. For information on
installing the OS on a bootable array, see Appendix C.
1.2.2 Sun Blade RAID 0/1 G2 Expansion Module
The Sun Blade RAID 0/1 G2 Expansion Module supports RAID 1 (two mirrored
disks with an optional hot spare) or RAID 1E (three or more mirrored disks with one
or two hot spares).
1.3 Finding the Serial Number
To obtain support for your system, you need the serial number. The serial number is
located on a sticker on the front of the server module (FIGURE 1-6).

1-12 Sun Blade T6320 Server Module Service Manual • June 2009
FIGURE 1-6 Serial Number and MAC Address Location
You can type the ILOM show /SYS command or the ALOM CMT showplatform
command to obtain the chassis serial number. Both examples are shown below.
Serial number
MAC address

Chapter 1 Sun Blade T6320 Server Module Product Description 1-13
ALOM CMT example:
-> show /SYS
/SYS
Targets:
SERVICE
LOCATE
ACT
OK2RM
SP
MB
MIDPLANE
HDD0
HDD1
HDD2
HDD3
NEM0
NEM1
FM0... .... .... ...
Properties:
type = Host System
keyswitch_state = Normal
chassis_name = SUN BLADE 6000 MODULAR SYSTEM
chassis_part_number = 123-4567-89
chassis_serial_number = 0000000-0000YB005A
chassis_manufacturer = SUN MICROSYSTEMS
product_name = Sun Blade T6320 Server Module
product_part_number = 541-2517-04
product_serial_number = 1005LCB-07385R001H
product_manufacturer = SUN MICROSYSTEMS
fault_state = OK
clear_fault_action = (none)
prepare_to_remove_status = NotReady
prepare_to_remove_action = (none)
return_to_service_action = (none)
power_state = On

1-14 Sun Blade T6320 Server Module Service Manual • June 2009
1.4 Additional Service Related Information
Documentation for the Sun Blade T6320 server module, and related hardware and
software is listed in “Accessing Sun Documentation” on page x.
The following resources are also available.
■SunSolvesm Online – Provides a collection of support resources. Depending on
the level of your service contract, you have access to Sun patches, the Sun System
Handbook, the SunSolve knowledge base, the Sun Support Forum, and additional
documents, bulletins, and related links. Access this site at:
http://www.sunsolve.sun.com/handbook_pub/
■Predictive Self-Healing Knowledge Database – You can access the knowledge
article corresponding to a self-healing message by taking the Sun Message
Identifier (SUNW-MSG-ID) and typing it into the field on this page:
http://www.sun.com/msg/
sc> showplatform
SUNW, Sun Blade T6320 Server Module
Blade Serial Number: 1005LCB-07385N005L
Chassis Serial Number: 1005LCB-0709YM007M
Slot Number: 5
Domain Status
------ ------
S0 Running
sc>

2-1
CHAPTER 2
Sun Blade T6320 Server Module
Diagnostics
This chapter describes the diagnostics that are available for monitoring and
troubleshooting the Sun Blade T6320 server module.
This chapter is intended for technicians, service personnel, and system
administrators who service and repair computer systems.
The following topics are covered:
■Section 2.1, “Sun Blade T6320 Server Module Diagnostics Overview” on page 2-2
■Section 2.2, “Memory Configuration and Fault Handling” on page 2-7
■Section 2.3, “Interpreting System LEDs” on page 2-12
■Section 2.4, “Using ILOM for Diagnosis and Repair Verification” on page 2-16
■Section 2.5, “Using the ILOM Web Interface For Diagnostics” on page 2-18
■Section 2.6, “Running POST” on page 2-31
■Section 2.7, “Using the Solaris Predictive Self-Healing Feature” on page 2-42
■Section 2.8, “Collecting Information From Solaris OS Files and Commands” on
page 2-47
■Section 2.9, “Managing Components With Automatic System Recovery
Commands” on page 2-48
■Section 2.10, “Exercising the System With SunVTS” on page 2-51

2-2 Sun Blade T6320 Server Module Service Manual • June 2009
2.1 Sun Blade T6320 Server Module
Diagnostics Overview
There are a variety of diagnostic tools, commands, and indicators you can use to
monitor and troubleshoot a Sun Blade T6320 server module.
■LEDs –Provide a quick visual notification of the status of the server module and
some of the FRUs.
■ILOM firmware –This system firmware runs on the service processor. In addition
to providing the interface between the hardware and the Solaris OS, ILOM tracks
and reports the health of key server module components. ILOM works closely
with POST and Solaris Predictive Self-Healing technology to keep the system up
and running even when there is a faulty component. For more information about
ILOM, see these documents:
■Sun Integrated Lights out Manager 2.0 User’s Guide, 820-1188
■Sun Integrated Lights Out Manager 2.0 Supplement for Sun Blade T6320 Server
Modules, 820-2546. This document describes ILOM information specific to the
UltraSPARC and the Sun Blade T6320 server module. It also provides
command comparisons of the ALOM CMT and ILOM CLI command sets.
■Appendix D of this service manual provides some information about using the
ALOM CMT CLI.
■Power-on self-test (POST) – POST performs diagnostics on system components
upon system reset to ensure the integrity of those components. POST is
configurable and works with ILOM to take faulty components offline if needed.
■Solaris OS Predictive Self-Healing (PSH) –This technology continuously
monitors the health of the CPU and memory, and other components. PSH works
with ILOM to take a faulty component offline if needed. The Predictive Self-
Healing technology enables Sun systems to accurately predict component failures
and mitigate many serious problems before they occur.
■Log files and console messages –Provide the standard Solaris OS log files and
investigative commands that can be accessed and displayed on the device of your
choice.
■SunVTS™–An application that exercises the system, provides hardware
validation, identifies possible faulty components, and provides recommendations
for repair.
The LEDs, ILOM, Solaris OS PSH, and many of the log files and console messages
are integrated. For example, when the Solaris software detects a fault, it will display
the fault, log it, pass information to ILOM where the fault is logged, and depending
on the fault, one or more LEDs may be illuminated.

Chapter 2 Sun Blade T6320 Server Module Diagnostics 2-3
The diagnostic flowchart in FIGURE 2-1 and TABLE 2-1 describes an approach for using
the server module diagnostics to identify a faulty field-replaceable unit (FRU). The
diagnostics you use, and the order in which you use them, depend on the nature of
the problem you are troubleshooting, so you might perform some actions and not
others.
Use this flowchart to understand what diagnostics are available to troubleshoot
faulty hardware, and use TABLE 2-1 to find more information about each diagnostic in
this chapter.

2-4 Sun Blade T6320 Server Module Service Manual • June 2009
FIGURE 2-1 Diagnostic Flowchart
Faulty
hardware
suspected
1. Are the
Power OK
LEDs
off?
Are any
Service
LEDs
0n?
3. Do
the Solaris logs
indicate a faulty
FRU?
5. Does
POST report
any faulty
devices?
4. Does
Sun VTS report
any faulty
devices?
Numbers in this flow chart
correspond to the Action
numbers in Table 2-1.
2. Are any
faults reported
by the ILOM
show
/SP/faultmgt
command?
No
No
No
No
No
Yes
Yes
Yes
Check the
power source
and
connections.
Identify faulty
FRU from the
fault message
and replace
the FRU.
Identify faulty
FRU from the
Sun VTS
message and
replace the
FRU.
Identify faulty
FRU from the
POST message
and replace
the FRU.
9. Contact Sun
Support if the fault
condition persists.
Yes
Yes
7. Is the
fault a PSH
detected
fault?
6. Is
the fault an
environmental
fault?
No
No
Yes
Yes
Identify and replace the
faulty FRU from the PSH
message and perform the
procedure to clear the
PSH detected fault.
Identify and replace the
faulty FRU from the POST
message and perform the
procedure to clear the
POST detected faults.
Identify the fault condition
from the fault message.
The ILOM
show/SP/
faultmgt
command displays
a fault
8. The fault
is a POST
detected fault.

Chapter 2 Sun Blade T6320 Server Module Diagnostics 2-5
TABLE 2-1 Diagnostic Flowchart Actions
Action
No. Diagnostic Action Resulting Action
For more information, see
these sections
1. Check the OK LED. The OK LED is located on the front of the Sun Blade
T6320 server module.
If the LED is not lit, check that the blade is properly
connected and the chassis has power.
Section 2.3, “Interpreting
System LEDs” on page 2-12
2. Type the ILOM
show
/SP/faultmgmt
command to check
for faults.
The faultmgmt command displays the following
types of faults:
• Environmental faults
• Solaris Predictive Self-Healing (PSH) detected
faults
• POST detected faults
Faulty FRUs are identified in fault messages using
the FRU name. For a list of FRU names, see
TABLE 1-3.
Section 2.5.3, “Displaying
System Faults” on
page 2-21
3. Check the Solaris
log files for fault
information.
The Solaris message buffer and log files record
system events and provide information about faults.
• If system messages indicate a faulty device,
replace the FRU.
• To obtain more diagnostic information, go to
Action 4.
Section 2.8, “Collecting
Information From Solaris
OS Files and Commands”
on page 2-47
4. Run the SunVTS
software.
SunVTS can exercise and diagnose FRUs. To run
SunVTS, the server module must be running the
Solaris OS.
• If SunVTS reports a faulty device replace the FRU.
• If SunVTS does not report a faulty device, go to
Action 5.
Section 2.10, “Exercising
the System With SunVTS”
on page 2-51
5. Run POST. POST performs basic tests of the server module
components and reports faulty FRUs.
• If POST indicates a faulty FRU, replace the FRU.
• If POST does not indicate a faulty FRU, go to
Action 9.
Section 2.6, “Running
POST” on page 2-31
6. Determine if the
fault is an
environmental
fault.
If the fault listed by the show /SP/faultmgmt
command displays a temperature or voltage fault,
then the fault is an environmental fault.
Environmental faults can be caused by faulty FRUs
(chassis power supply, fan, or blower) or by
environmental conditions such as high ambient
temperature, or blocked airflow.
Section 2.5.3, “Displaying
System Faults” on
page 2-21
See the Modular System
Service Manual, 820-0051.

2-6 Sun Blade T6320 Server Module Service Manual • June 2009
7. Determine if the
fault was detected
by PSH.
If the fault message displays the following text, the
fault was detected by the Solaris Predictive Self-
Healing software:
Host detected fault
If the fault is a PSH detected fault, identify the faulty
FRU from the fault message and replace the faulty
FRU.
After the FRU is replaced, perform the procedure to
clear PSH detected faults.
Section 2.7, “Using the
Solaris Predictive Self-
Healing Feature” on
page 2-42
Section 4.2, “Common
Procedures for Parts
Replacement” on page 4-3
Section 2.7.2, “Clearing
PSH Detected Faults” on
page 2-45
Section 2.7.3, “Clearing the
PSH Fault From the ILOM
Logs” on page 2-46
8. Determine if the
fault was detected
by POST.
POST performs basic tests of the server module
components and reports faulty FRUs. When POST
detects a faulty FRU, it logs the fault and if possible
takes the FRU offline. POST detected FRUs display
the following text in the fault message:
FRU-name deemed faulty and disabled
In this case, replace the FRU and run the procedure
to clear POST detected faults.
Section 2.6, “Running
POST” on page 2-31
Section 4.2, “Common
Procedures for Parts
Replacement” on page 4-3
Section 2.6.4, “Clearing
POST Detected Faults” on
page 2-39
9. Contact Sun for
support.
The majority of hardware faults are detected by the
server module diagnostics. In rare cases it is possible
that a problem requires additional troubleshooting.
If you are unable to determine the cause of the
problem, contact Sun for support.
Sun Support information:
http://www.sun.com/
support
Section 1.3, “Finding the
Serial Number” on
page 1-11
TABLE 2-1 Diagnostic Flowchart Actions (Continued)
Action
No. Diagnostic Action Resulting Action
For more information, see
these sections

Chapter 2 Sun Blade T6320 Server Module Diagnostics 2-7
2.2 Memory Configuration and Fault
Handling
New dual rank fully-buffered (FB) DIMMs replace the single rank FB-DIMMs. The
Sun Blade T6320 server module has 16 connectors (slots) that hold Sun approved,
industry standard FB-DIMMs in the following capacities:
■1 Gbyte (maximum of 16 Gbytes)
■2 Gbyte (maximum of 32 Gbytes)
■4 Gbyte (maximum of 64 Gbytes)
■8 Gbyte (maximum of 128 Gbytes)
The Sun Blade T6320 server module performs best if all 16 connectors are populated
with 16 identical FB-DIMMs. This configuration also enables the system to continue
operating even when a FB-DIMM fails, or if an entire channel fails.
Note – Only dual rank type DIMMs are available as an assemble to order (ATO)
option.
2.2.1 FB-DIMM Configuration Guidelines
You must follow these guidelines when adding or replacing FB-DIMMs:
■Valid quantities of FB-DIMMs are 4, 8, or 16 (See FIGURE 2-3).
■All FB-DIMMs in the server must be the same capacity.
■All FB-DIMMs in a branch must have the same part number.
Note – FB-DIMMs that run on 1.5V are not supported in this server. An FB-DIMM
that runs on 1.5V is sometimes noted with an LV on the part number label. Do not
install these FB-DIMMs in this server.
When Upgrading Memory
When adding memory to the server, ensure that you follow all of the guidelines. You
might need to move some of the original FB-DIMMs to ensure that all FB-DIMMs in
a branch have the same part number.

2-8 Sun Blade T6320 Server Module Service Manual • June 2009
When Replacing Faulty FB-DIMMs
Within each branch, ensure that the replacement FB-DIMM has the same part
number as the FB-DIMM you are removing. If you are unable to obtain an FB-DIMM
with the same part number, you might need to replace all FB-DIMMs in the branch
to ensure that they all have the same part number.
The following table lists the supported FB-DIMMs and part numbers.
2.2.1.1 DIMM Installation Rules
Caution – The following FB-DIMM rules must be followed. The server module
might not operate correctly if the FB-DIMM rules are not followed. Always use
DIMMs that have been qualified by Sun.
FB-DIMMs must be installed in groups of four, each of the same capacity.
The following configurations are supported in the Sun Blade T6320 server module:
■Four FB-DIMMs (Group 1) Channel 0, FB-DIMM connector 0 in all branches must
be populated.
■Eight FB-DIMMs (Groups 1 and 2)
■Sixteen FB-DIMMs (Groups 1, 2 and 3)
See Section 4.3.1, “Removing the DIMMs” on page 4-10 for FB-DIMM installation
instructions. FIGURE 2-3 shows where to to install FB-DIMMs in groups of four.
TABLE 2 Supported FB-DIMMs and Part Numbers
Description Ordered Separately Assembled at Factory
FB-DIMMs Supported at November 2007 Release of the Server Module
1 GB single rank x4 FB-DIMM x 2 (2 GB FB-DIMM Memory Kit) X4200A 4200A
2 GB single rank x4 FB-DIMM x 2 (4 GB FB-DIMM Memory Kit) X4203A 4203A
4 GB dual rank x8 DIMM x 2 (8 GB FB-DIMM Memory Kit) X4204A 4204A
FB-DIMMs Added at October 2008 Release of the Server Module
1 GB dual rank x8 FB-DIMM x 2 (2 GB FB-DIMM Memory Kit) X4200AF 4200AF
2 GB dual rank x8 FB-DIMM x 2 (4 GB FB-DIMM Memory Kit) X4203AF 4203AF
8 GB dual rank x8 FB-DIMM x 2 (16 GB FB-DIMM Memory Kit) X4290AF 4290AF

Chapter 2 Sun Blade T6320 Server Module Diagnostics 2-9
FIGURE 2-3 FB-DIMM Installation Rules
Four DIMMs installed
BR1/CH0/D0
BR0/CH0/D0
BR2/CH0/D0
BR3/CH0/D0
BR1/CH1/D0
BR0/CH1/D0
Sixteen DIMMs installed
Eight DIMMs installed
BR1/CH1/D1
BR1/CH0/D1
BR0/CH1/D1
BR0/CH0/D1
BR2/CH0/D1
BR2/CH1/D1
BR3/CH0/D1
BR3/CH1/D1
BR2/CH1/D0
BR3/CH1/D0

2-10 Sun Blade T6320 Server Module Service Manual • June 2009
FIGURE 2-4 DIMM Locate Button and DIMM LEDs
You can also use TABLE 2-2 to identify the DIMMs you want to remove.
TABLE 2-2 FB-DIMM Configuration and Installation
Branch Name Channel Name FRU Name
Motherboard
FB-DIMM
Connector
FB-DIMM
Installation
Order*
FB-DIMM
Pair\
Branch 0 Channel 0 /SYS/MB/CMP0/BR0/CH0/D0 J1001 1 A
/SYS/MB/CMP0/BR0/CH0/D1 J1101 3 B
Channel 1 /SYS/MB/CMP0/BR0/CH1/D0 J1201 2 A
/SYS/MB/CMP0/BR0/CH1/D1 J1301 3 B
Branch 1 Channel 0 /SYS/MB/CMP0/BR1/CH0/D0 J1401 1 C
/SYS/MB/CMP0/BR1/CH0/D1 J1501 3 D
Channel 1 /SYS/MB/CMP0/BR1/CH1/D0 J1601 2 C
/SYS/MB/CMP0/BR1/CH1/D1 J1701 3 D
Branch 2 Channel 0 /SYS/MB/CMP0/BR2/CH0/D0 J2001 1 E
/SYS/MB/CMP0/BR2/CH0/D1 J2101 3 F
Channel 1 /SYS/MB/CMP0/BR2/CH1/D0 J2201 2 E
/SYS/MB/CMP0/BR2/CH1/D1 J2301 3 F
Branch 3 Channel 0 /SYS/MB/CMP0/BR3/CH0/D0 J2401 1 G

Chapter 2 Sun Blade T6320 Server Module Diagnostics 2-11
2.2.1.2 Memory Fault Handling
The Sun Blade T6320 server module uses advanced ECC technology, also called chipkill,
that corrects up to 4-bits in error on nibble boundaries, as long as they are all in the same
DRAM. If a DRAM fails, the DIMM continues to function.
Note – The chipkill function is only supported on DIMMs that use “x4” DRAMs.
The following server module features manage memory faults independently.
■POST – Runs when the server module is powered on (based on configuration
variables) and thoroughly tests the memory subsystem.
If a memory fault is detected, POST displays the fault with the FRU name of the
faulty DIMMs, logs the fault, and disables the faulty DIMMs by placing them in
the Automatic System Recovery (ASR) blacklist. For a given memory fault, POST
disables half of the physical memory in the system. When this occurs, you must
replace the faulty DIMMs based on the fault message and enable the disabled
DIMMs with the ILOM command set /SYS/component component_state=
enabled .
■Solaris Predictive Self-healing (PSH) technology – A feature of the Solaris OS,
uses the fault manager daemon (fmd) to watch for various kinds of faults. When
a fault occurs, the fault is assigned a unique fault ID (UUID), and logged. PSH
reports the fault and provides a recommended proactive replacement for the
DIMMs associated with the fault.
2.2.1.3 Troubleshooting Memory Faults
If you suspect that the server module has a memory problem, follow the flowchart
(see FIGURE 2-1). Type the ILOM command: show /SP/faultmgmt . The
faultmgmt command lists memory faults and lists the specific DIMMs that are
/SYS/MB/CMP0/BR3/CH0/D1 J2501 3 H
Channel 1 /SYS/MB/CMP0/BR3/CH1/D0 J2601 2 G
/SYS/MB/CMP0/BR3/CH1/D1 J2701 3 H
* Upgrade path: DIMMs should be added with each group populated in the order shown.
\ Fault replacement path: Each pair is addressed as a unit, and each pair must be identical.
TABLE 2-2 FB-DIMM Configuration and Installation (Continued)
Branch Name Channel Name FRU Name
Motherboard
FB-DIMM
Connector
FB-DIMM
Installation
Order*
FB-DIMM
Pair\

2-12 Sun Blade T6320 Server Module Service Manual • June 2009
associated with the fault. Once you have identified which DIMMs to replace, see
Chapter 4 for DIMM removal and replacement instructions. You must perform the
instructions in that chapter to clear the faults and enable the replaced DIMMs.
2.3 Interpreting System LEDs
The Sun Blade T6320 server module has LEDs on the front panel and the hard
drives. The behavior of LEDs on your server module conforms to the American
National Standards Institute (ANSI) Status Indicator Standard (SIS). These standard
LED behaviors are described in TABLE 2-3
2.3.1 Front Panel LEDs and Buttons
The front panel LEDs and buttons are located in the center of the server module
(FIGURE 2-5,TABLE 2-3, and TABLE 2-4, and TABLE 2-5).

Chapter 2 Sun Blade T6320 Server Module Diagnostics 2-13
FIGURE 2-5 Front Panel and Hard Drive LEDs
.
The LEDs have assigned meanings, described in TABLE 2-4.
TABLE 2-3 LED Behavior and Meaning
LED Behavior Meaning
Off The condition represented by the color is not true.
Steady on The condition represented by the color is true.
Standby blink The system is functioning at a minimal level and ready to resume full
function.
Slow blink Transitory activity or new activity represented by the color that is
taking place.
Fast blink Attention is required.
Feedback flash Activity is taking place commensurate with the flash rate (such as
disk drive activity).
Front View White - Locator LED
Blue - Ready to Remove LED
NMI (non-maskable interrupt
Power button
Amber - Service Action Required LED
Green - OK LED
Blue - Drive Ready to Remove LED
Amber - Drive Service Action Required LED
Universal Connector Port (UCP)
Green - Drive OK LED
(press to reset the LED)
for service use only)

2-14 Sun Blade T6320 Server Module Service Manual • June 2009
TABLE 2-4 LED Behaviors With Assigned Meanings
Color Behavior Definition Description, Actions, and ILOM Commands
White Off Steady state
Fast blink 4 Hz repeating
sequence, equal
intervals On and
Off.
This indicator helps you to locate a particular enclosure, board, or
subsystem (for example, the Locator LED). The LED is activated
using one of the following methods:
• Type the ILOM command: set /SYS/LOCATE value=on
• Press the button to toggle the indicator on or off.
This LED provides the following indications:
• Off– Normal operating state.
Fast blink – The server module received a signal as a result of one
of the preceding methods and is indicating that the server module
is active.
• Type the ILOM command:
set /SYS/LOCATE value=Fast_Blink
Blue Off Steady state Steady state - If LED is off, it is not safe to remove the server
module from the chassis. You must use software to take the
component offline or shut down the server.
Steady on Steady state If the blue LED is on, a service action can be safely performed on
the component.
To remove a server module (and illuminate the blue LED), type:
set /SYS/ prepare_to_remove_action=true
To remove a hard drive, use the Solaris cfgadm command
Amber Off Steady state
Steady on Steady state This indicator signals the existence of a fault condition. Service is
required (for example, the Service Required LED). The ILOM
show /SP/faultmgmt command provides details about any
faults that cause this indicator to be lit. To turn off an amber LED,
type: set /SYS/return_to_service_action=True
Green Off Steady state Off – The system is unavailable. Either it has no power or ILOM is
not running.

Chapter 2 Sun Blade T6320 Server Module Diagnostics 2-15
Standby
blink
Repeating sequence
consisting of a brief
(0.1 sec.) on flash
followed by a long
off period (2.9 sec.)
The system is running at a minimum level and is ready to be
quickly revived to full function (for example, the System Activity
LED).
Steady on Steady state Status normal; system or component functioning with no service
actions required.
Slow blink A transitory (temporary) event is taking place for which direct
proportional feedback is not needed or not feasible.
ILOM is enabled but the server module is not fully powered on.
Indicates that the service processor is running while the system is
running at a minimum level in standby mode and ready to be
returned to its normal operating state.
TABLE 2-5 Front Panel Buttons
Button Color Description
Power button gray Turns the host system on and off. Use a paper clip or other small
tipped object to completely press this button.
(reset) gray This button does not function on the Sun Blade T6320 server
module.
TABLE 2-4 LED Behaviors With Assigned Meanings (Continued)
Color Behavior Definition Description, Actions, and ILOM Commands

2-16 Sun Blade T6320 Server Module Service Manual • June 2009
2.3.2 Ethernet Port LEDs
For information about Ethernet LEDs see the service manual for your modular
system chassis or ethernet device at:
http://docs.sun.com/app/docs/prod/blade.6000mod
2.4 Using ILOM for Diagnosis and Repair
Verification
The Sun Integrated Lights Out Manager (ILOM) is contained on firmware on the
service processor in the Sun Blade T6320 server module. ILOM enables you to
remotely manage and administer your server module.
Note – ILOM also contains an ALOM-CMT compatibility shell. For more
information about ALOM-CMT compatibility see the Sun Integrated Lights Out
Manager 2.0 Supplement for Sun Blade T6320 Server Modules, 820-2546. Appendix D of
this service manual also provides some information about the ALOM CMT CLI.
ILOM enables you to run remote diagnostics such as power-on self-test (POST), that
would otherwise require physical proximity to the server module serial port. You
can also configure ILOM to send email alerts of hardware failures, hardware
warnings, and other events related to the server module or to ILOM.
The ILOM circuitry runs independently of the server module, using the server
module standby power. Therefore, ILOM firmware and software continue to
function when the server module operating system goes offline or when the server
module is powered off.
Faults detected by ILOM, POST, and the Solaris Predictive Self-healing (PSH)
technology are forwarded to ILOM for fault handling (FIGURE 2-6).
In the event of a system fault, ILOM ensures that the Service Action Required LED is
lit, FRU ID PROMs are updated, the fault is logged, and alerts are displayed (faulty
FRUs are identified in fault messages using the FRU name. For a list of FRU names,
see TABLE 1-3).

Chapter 2 Sun Blade T6320 Server Module Diagnostics 2-17
FIGURE 2-6 ILOM Fault Management
In ILOM you can view the ILOM logs to see alerts. FIGURE 2-7 is a sample of the
ILOM web interface. Using the CLI you can type the show
/SP/logs/event/list/ command.
FIGURE 2-7 Sample Event Log in ILOM Web Interface
ILOM can detect when a fault is no longer present and clears the fault in several
ways:
■Fault recovery – The system automatically detects that the fault condition is no
longer present. ILOM extinguishes the Service Action Required LED and updates
the FRU PROM.
Service Required LED
FRU LEDs
FRUID PROMs
Event Logs
Alerts
ILOM

2-18 Sun Blade T6320 Server Module Service Manual • June 2009
Many environmental faults can automatically recover. For example, a temperature
that is exceeding a threshold might return to normal limits, when you connect a
fan. The recovery of environmental faults is automatically detected. Recovery
events are reported using one of two forms:
■fru at location is OK.
■sensor at location is within normal range.
There are three thresholds for an environmental fault:
■Warning: ILOM issues a command to burst the fan speed.
■Soft shutdown: ILOM initiates a graceful shutdown.
■Hard shutdown: Immediate shutdown.
Environmental faults can be repaired through hot removal of the faulty FRU. The
FRU removal is automatically detected by the environmental monitoring and all
faults associated with the removed FRU are cleared. The message for that case,
and the alert sent for all FRU removals is:
fru at location has been removed.
■Fault repair – The fault has been repaired by human intervention. In most cases,
ILOM detects the repair and extinguishes the Service Required LED. In the event
that ILOM does not perform these actions, you must perform these tasks
manually with the following commands:
■set /SYS/clear_fault_action=true (The ALOM-CMT equivalent is
clearfault) Clears the PSH fault logs but does not enable the component.
See Section 2.7.2, “Clearing PSH Detected Faults” on page 2-45.
■set /SYS/component/component_state=enabled (The ALOM-CMT
equivalent is enablecomponent) Clears POST generated faults and enables
the component. See Section 2.6.4, “Clearing POST Detected Faults” on
page 2-39.
2.5 Using the ILOM Web Interface For
Diagnostics
These instructions use the ILOM web interface. To use the command line interface
(CLI), see Appendix D of this manual, theSun Integrated Lights Out Manager 2.0
Supplement for Sun Blade T6320 Server Modules, or the Sun Integrated Lights out
Manager 2.0 User’s Guide.

Chapter 2 Sun Blade T6320 Server Module Diagnostics 2-19
1. Connect to the ILOM web interface by typing the IP address for the Sun Blade
T6320 server module service processor in a web browser.
If you do not know the IP address for the server module, you can obtain the
service processor IP address from the following:
■ILOM CLI: ->show /SP/network
■ALOM-CMT compatibility shell: sc> showsc
■Chassis CMM ILOM: ->show /CH/BLx/SP/network (Where BLxis the
number of the blade server module in the chassis.)
2. Type the username and password to access the diagnostics menus in the ILOM
web interface. The default user name is root, and the default password is
changeme
FIGURE 2-8 ILOM Login Screen
2.5.1 Changing POST Settings With the ILOM Web
Interface
There are two tabs in the web interface to control the POST settings:

2-20 Sun Blade T6320 Server Module Service Manual • June 2009
1. Select the Remote Control tab and the Diagnostics tab (FIGURE 2-9).
2. Set the verbosity level, trigger, and other settings as needed.
TABLE 2-6 shows how different settings produce POST output.
FIGURE 2-9 Setting POST Diagnostics Levels With the ILOM Web Based Interface
3. To set the diagnostics mode, select the Remote Control tab and the Keyswitch
tab.

Chapter 2 Sun Blade T6320 Server Module Diagnostics 2-21
2.5.2 Changing POST Settings With the ILOM CLI
1. Type the show command to see the current POST settings:
2. Change the POST settings with the set /HOST/diag command.
For example:
2.5.3 Displaying System Faults
ILOM displays the following faults with the web interface and CLI:
■Environmental faults – Temperature or voltage problems that might be caused by
faulty FRUs (power supplies, fans, or blower), or by room temperature or blocked
air flow.
■POST detected faults – Detected by the power-on self-test diagnostics.
■PSH detected faults – Detected by the Solaris Predictive Self-healing (PSH)
technology
-> show /HOST/diag
/HOST/diag
Targets
Properties:
level = max
mode = normal
trigger = power-on-reset error-reset
verbosity = normal
Commands:
cd
set
show
-> set /HOST/diag level=min
Set ’level’ to ’min’
-> set /HOST/diag mode=Normal
Set ’mode’ to ’Normal’
-> set /HOST/diag verbosity=max
Set ’verbosity’ to ’max’
-> set /HOST/diag trigger=power-on-reset trigger=error-reset
Set ’trigger’ to ’power-on-reset’
Set ’trigger’ to ’error-reset’

2-22 Sun Blade T6320 Server Module Service Manual • June 2009
Use the web interface or type the show /SP/faultmgmt command for the
following reasons:
■To see if any faults have been passed to, or detected by the ILOM firmware.
■To obtain the fault message ID (SUNW-MSG-ID) for PSH detected faults.
■To verify that the replacement of a FRU has cleared the fault and not generated
any additional faults.
2.5.3.1 Viewing Fault Status Using the ILOM Web Interface
In the ILOM web interface, you can view the system components currently in a fault
state using the Fault Management page.
FIGURE 2-10 Fault Management Page Example
The Fault Management page lists faulted components by ID, FRU, and TimeStamp.
You can access additional information about the faulted component by clicking the
faulted component ID. For example, if you clicked the faulted component ID, 0
SYS/MB/, the following dialog window appears displaying additional details about
the faulted component.

Chapter 2 Sun Blade T6320 Server Module Diagnostics 2-23
FIGURE 2-11 Faulted Component ID Window
Alternatively, in the ILOM web interface, you can identify the fault status of a
component on the Component Management page.
FIGURE 2-12 Component Management Page - Fault Status
2.5.3.2 Viewing Fault Status Using the ILOM CLI
In the ILOM CLI, you can view the fault status of component(s) by using the show
command. For example:

2-24 Sun Blade T6320 Server Module Service Manual • June 2009
->show /SP/faultmgmt
2.5.4 Displaying the Environmental Status with the
ILOM CLI
The ILOM show command displays a snapshot of the server module environmental
status. This command displays system temperatures, hard drive status, power
supply and fan status, front panel LED status, voltage, and current sensors. The
output uses a format similar to the Solaris OS command prtdiag (1M).
At the -> prompt, type the show command.
The output differs according to your system model and configuration.
Note – Some environmental information might not be available when the server
module is in standby mode.
-> show /SYS/MB/V_VCORE
/SYS/MB/V_VCORE
Targets:
Properties:
type = Voltage
class = Threshold Sensor
value = 1.224 Volts
upper_nonrecov_threshold = 1.38 Volts
upper_critical_threshold = 1.34 Volts
upper_noncritical_threshold = 1.32 Volts
lower_noncritical_threshold = 1.15 Volts
lower_critical_threshold = 1.12 Volts
lower_nonrecov_threshold = 1.08 Volts
Commands:
cd
show

Chapter 2 Sun Blade T6320 Server Module Diagnostics 2-25
2.5.5 Displaying the Environmental Status and Sensor
Readings with the ILOM Web Interface
1. Open a web browser and type the IP address of the server module service
processor in the browser.
2. Select the top System Monitoring tab and the lower Sensor Readings tab
(FIGURE 2-13).
3. Double click on the sensor reading that you want to check (FIGURE 2-13).
FIGURE 2-13 Obtaining Sensor Readings and Environmental Status With the ILOM Web Interface

2-26 Sun Blade T6320 Server Module Service Manual • June 2009
FIGURE 2-14 Sensor Reading Window for an FB-DIMM in Channel 1
2.5.6 Displaying FRU Information
ILOM can display static FRU information such as the FRU manufacturer, serial
number and some FRU status information (FIGURE 2-15).
Note – To view dynamic FRU information you must type the ALOM CMT showfru
command. The dynamic FRU information provides more details about FRUs.
2.5.6.1 Using the ILOM Web Interface to Display FRU Information
1. Select the System Information and Components tabs.
2. Click on the component to view the FRU information (FIGURE 2-15).

Chapter 2 Sun Blade T6320 Server Module Diagnostics 2-27
FIGURE 2-15 Static FRU Information in the ILOM Web Interface
2.5.6.2 Using the CLI to Display FRU Information
The show /SYS/MB command displays static information about the FRUs in the
server module. Use this command to see information about an individual FRU,
or for all the FRUs.

2-28 Sun Blade T6320 Server Module Service Manual • June 2009
●At the -> prompt, type the show command.
In the following example, the show command displays information about the
motherboard (MB).
This example shows a portion of the more detailed dynamic FRU information
provided by the ALOM CMT showfru command.
-> show /SYS/MB
/SYS/MB
Targets:
FEM0
REM0
SEEPROM
SCC_NVRAM
NET
SASHBA
USB0
USB1
T_AMB
CMP0
V_VMEML
V_VMEMR
V_+3V3_STBY
V_VCORE
V_+3V3_MAIN
V_VDDIO
V_+12V0_MAIN
VCORE_POK
VMEML_POK
VMEMR_POK
Properties:
type = Motherboard
fru_name = MB
fru_description = 4C,1.17GHZ N2,T6320,DIRECT-A
fru_manufacturer = Celestica
fru_version = 01_01
fru_part_number = 5407368
fru_serial_number = 1B1174
fault_state = Faulted
clear_fault_action = (none)
Commands:
cd
show
->

Chapter 2 Sun Blade T6320 Server Module Diagnostics 2-29
sc> showfru
/SYS/SP (container)
SEGMENT: ST
/Status_CurrentR
/Status_CurrentR/UNIX_Timestamp32: Thu Feb 17 07:25:57 2000
/Status_CurrentR/status: 0x00 (OK)
SEGMENT: TH ...
... ... ...
SEGMENT: FD
/Customer_DataR
/Customer_DataR/UNIX_Timestamp32: Wed Feb 16 08:41:44 GMT 2000
/Customer_DataR/Cust_Data: QT
/InstallationR (1 iterations)
/InstallationR[0]
/InstallationR[0]/UNIX_Timestamp32: Thu Feb 17 07:26:09 GMT 2000
/InstallationR[0]/Fru_Path: /SYS/MB/REM
/InstallationR[0]/Parent_Part_Number: 5017821
/InstallationR[0]/Parent_Serial_Number: 5C00FV
/InstallationR[0]/Parent_Dash_Level: 04
/InstallationR[0]/System_Id: 1005LCB-0709YM00FV
/InstallationR[0]/System_Tz: 0
/InstallationR[0]/Geo_North: 0
/InstallationR[0]/Geo_East: 0
/InstallationR[0]/Geo_Alt: 0
/InstallationR[0]/Geo_Location: GMT
... ... ...
/SYS/MB/CMP0/BR0/CH0/D0 (container)
/SPD/Timestamp: Mon Feb 12 12:00:00 2007
/SPD/Description: DDR2 SDRAM FB-DIMM, 4 GByte
/SPD/Manufacture Location: ff
/SPD/AMB Vendor: IDT
/SPD/Vendor: Micron Technology
/SPD/Vendor Part No: 36HTF51272F667E1D4
/SPD/Vendor Serial No: d2174043
/SPD/Num_Banks: 8
/SPD/Num_Ranks: 2
/SPD/Num_Rows: 14
/SPD/Num_Cols: 11
/SPD/Sdram_Width: 4
/SunSPD/Sun_Serial_Number: 002C010707D2174043
/SunSPD/SPD_Format_Version: 20
/SunSPD/Sun_Part_Dash_Rev: 000-0000-00 Rev 00
/SunSPD/Certified_Platforms: 0x00000001 (OK)
/SunSPD/Sun_Key_Code: 0x0000
/SunSPD/Sun_Certification: NO
/SunSPD/timestamp: Thu Feb 17 07:26:20 2000
/SunSPD/MACADDR: 00:14:4F:98:84:7A

2-30 Sun Blade T6320 Server Module Service Manual • June 2009
2.6 Running POST
Use POST to test and verify server module hardware. Power-on self-test (POST) is a
group of PROM-based tests that run when the server module is powered on or reset.
POST checks the basic integrity of the critical hardware components in the server
module (CPU, memory, and I/O buses).
If POST detects a faulty component, it is disabled automatically, preventing faulty
hardware from potentially harming any software. If the system is capable of running
without the disabled component, the system will boot when POST is complete. For
example, if one of the processor cores is deemed faulty by POST, that core will be
disabled, and the system will boot and run using the remaining cores.
You can use POST as an initial diagnostic tool for the system hardware. In this case,
configure POST to run in diagnostic service mode for maximum test coverage and
verbose output.
Note – Devices can be manually enabled or disabled using ASR commands (see
Section 2.9, “Managing Components With Automatic System Recovery Commands”
on page 2-48).
2.6.1 Controlling How POST Runs
The server module can be configured for normal, extensive, or no POST execution.
You can also control the level of tests that run, the amount of POST output that is
displayed, and which reset events trigger POST by using diag variables.
/SunSPD/status 0x00 (OK)
/SunSPD/Initiator N/A
/SunSPD/Message: No message
/SunSPD/powerupdate: Thu Feb 17 07:01:16 2000
/SunSPD/Poweron_minutes: 1487
/SYS/MB/CMP0/BR1/CH0/D0 (container)
... ... ...
sc>

Chapter 2 Sun Blade T6320 Server Module Diagnostics 2-31
TABLE 2-6 lists the DIAG variables used to configure POST and FIGURE 2-16 shows
how the variables work together.
TABLE 2-6 Parameters Used For POST Configuration
Parameter Values Description
setkeyswitch*
*
normal The system can power on and run POST (based
on the other parameter settings). For details see
FIGURE 2-16. This parameter overrides all other
commands.
diag The system runs POST based on predetermined
settings.
stby The system cannot power on.
locked The system can power on and run POST, but no
flash updates can be made.
diag_mode off POST does not run.
normal Runs POST according to diag_level value.
service Runs POST with preset values for diag_level
and diag_verbosity.
diag_level min If diag_mode =normal, runs minimum set of
tests.
max If diag_mode =normal, runs all the minimum
tests plus extensive CPU and memory tests.
diag_trigger none Does not run POST on reset.
user_reset Runs POST upon user-initiated resets.
power_on_reset Only runs POST for the first power on. This is the
default.
error_reset Runs POST if fatal errors are detected.
all_reset Runs POST after any reset.
diag_verbosity none No POST output is displayed.
min POST output displays functional tests with a
banner and pinwheel.
normal POST output displays all test and informational
messages.
max POST displays all test, informational, and some
debugging messages.

2-32 Sun Blade T6320 Server Module Service Manual • June 2009
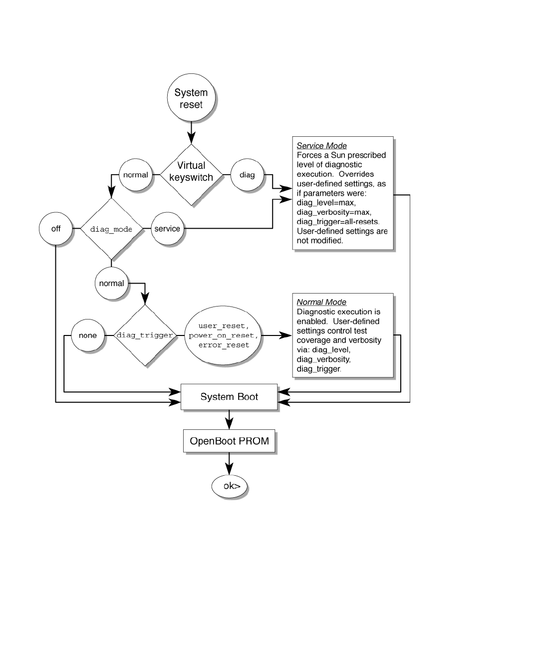
FIGURE 2-16 Flowchart of ILOM Variables for POST Configuration

Chapter 2 Sun Blade T6320 Server Module Diagnostics 2-33
TABLE 2-7 shows typical combinations of ILOM variables and associated POST
modes.
2.6.2 Changing POST Parameters
You can use the web interface or the CLI to change the POST parameters.
2.6.2.1 Using the Web Interface to Change POST Parameters
1. From the ILOM web interface, select the Remote Console tab (FIGURE 2-17).
2. Select the Diagnostics Tab.
3. Select the POST settings that you require.
TABLE 2-7 describes how the POST settings will execute.
4. Click the Save button.
Note – If you do not have a console window open, you should open one. POST will
only display output to a console window, not the web interface.
TABLE 2-7 POST Modes and Parameter Settings
Parameter
Normal Diagnostic Mode
(default settings) No POST Execution
Diagnostic Service
Mode
Keyswitch Diagnostic
Preset Values
diag_mode normal off service normal
setkeyswitch*
* The setkeyswitch parameter, when set to diag, overrides all the other POST variables.
normal normal normal diag
diag_level min n/a max max
diag_trigger power-on-reset
error-reset
none all-resets all-resets
diag_verbosity normal n/a max max
Description of POST
execution This is the default POST
configuration. This
configuration tests the
system thoroughly, and
suppresses some of the
detailed POST output.
POST does not
run, resulting in
quick system
initialization, but
this is not a
suggested
configuration.
POST runs the full
spectrum of tests
with the maximum
output displayed.
POST runs the full
spectrum of tests
with the maximum
output displayed.

Chapter 2 Sun Blade T6320 Server Module Diagnostics 2-35
FIGURE 2-18 Changing Power Settings with the ILOM Web Interface
When you power cycle the server module, POST runs and displays output to the
service processor console window:
{0} ok Chassis | critical: Host has been powered off
Chassis | major: Host has been powered on
2007-11-07 18:22:19.511 0:0:0>
2007-11-07 18:22:19.560 0:0:0>Sun Blade T6320 Server Module POST 4.27.4
2007/10/02 19:09
/export/delivery/delivery/4.27/4.27.4/post4.27.x/Niagara/glendale/integrated
(root)
2007-11-07 18:22:19.836 0:0:0>Copyright 2007 Sun Microsystems, Inc. All rights
reserved
2007-11-07 18:22:20.001 0:0:0>VBSC cmp 0 arg is: 00ffffff.ffff00ff
2007-11-07 18:22:20.108 0:0:0>POST enabling threads: 00ffffff.ffff00ff
2007-11-07 18:22:20.223 0:0:0>VBSC mode is: 00000000.00000001
2007-11-07 18:22:20.321 0:0:0>VBSC level is: 00000000.00000001

2-36 Sun Blade T6320 Server Module Service Manual • June 2009
7. Read the POST output to determine if you need to perform service actions.
See Section 2.6.3, “Interpreting POST Messages” on page 2-38.
2.6.2.2 Using the CLI to Change POST Parameters
1. Verify the current post parameters with the show command. Type:
2. Type the set command to change the POST parameters.
TABLE 2-7 describes how the POST settings will execute. This example shows how
to set the verbosity to max.
2007-11-07 18:22:20.421 0:0:0>VBSC selecting Normal mode, MAX Testing.
2007-11-07 18:22:20.533 0:0:0>VBSC setting verbosity level 3
2007-11-07 18:22:20.629 0:0:0> Niagara2, Version 2.1
2007-11-07 18:22:20.714 0:0:0> Serial Number: 0f880060.768660a8
2007-11-07 18:22:20.843 0:0:0>Basic Memory Tests.....
-> show /HOST/diag
/HOST/diag
Targets:
Properties:
level = min
mode = normal
trigger = power-on-reset error-reset
verbosity = normal
Commands:
cd
set
show
->
-> set /HOST/diag verbosity=max
Set ’verbosity’ to ’max’
->

Chapter 2 Sun Blade T6320 Server Module Diagnostics 2-37
3. Power cycle the server module to run POST.
There are several ways to initiate a reset. The following example uses the ILOM
reset command.
4. Read the POST output to determine if you need to perform service actions. See
Section 2.6.3, “Interpreting POST Messages” on page 2-38.
2.6.3 Interpreting POST Messages
When POST is finished running and no faults were detected, the system will boot.
If POST detects a faulty device, the fault is displayed and the fault information is
passed to ILOM or ALOM CMT for fault handling. Faulty FRUs are identified in
fault messages using the FRU name. For a list of FRU names, see Appendix A.
1. Interpret the POST messages:
POST error messages use the following syntax:
c:s> ERROR: TEST = failing-test
c:s> H/W under test = FRU
c:s> Repair Instructions: Replace items in order listed by H/W
under test above
c:s> MSG = test-error-message
c:s> END_ERROR
In this syntax, c= the core number, s= the strand number.
Warning and informational messages use the following syntax:
INFO or WARNING:message
The following example shows a POST error message report for a missing PCI device:
-> reset /SYS
Are you sure you want to reset /SYS (y/n)? y
Performing hard reset on /SYS
->
0:0:0>ERROR: TEST = PIU PCI id test
0:0:0>H/W under test = MB/PCI-SWITCH
0:0:0>Repair Instructions: Replace items in order listed by ‘H/W under test’
above.
0:0:0>MSG = PCI ID test device missing Cont.
DEVICE NAME: MB/PCI-SWITCH
0:0:0>END_ERROR

2-38 Sun Blade T6320 Server Module Service Manual • June 2009
2. Type the show /SPfaultmgmt command to obtain additional fault
information.
The fault is captured by ILOM, where the fault is logged. The Service Action
Required LED is lit, and the faulty component is disabled.
For example:
In this example, /SYS/MB/CMP0/BR2/CH1/D1 is disabled. The system can
boot using memory that was not disabled until the faulty component is
replaced.
Note – You can use ASR commands to display and control disabled components.
See Section 2.9, “Managing Components With Automatic System Recovery
Commands” on page 2-48.
2.6.4 Clearing POST Detected Faults
In most cases, when POST detects a faulty component, POST logs the fault and
automatically takes the failed component out of operation by placing the component
in the ASR blacklist.
See Section 2.9, “Managing Components With Automatic System Recovery
Commands” on page 2-48).
After the faulty FRU is replaced, you must clear the fault by removing the
component from the ASR blacklist.
ok #.
->
-> show /SP/faultmgmt
/SP/faultmgmt
Targets:
0 (/SYS/MB/CMP0/BR2/CH1/D1)
Properties:
Commands:
cd
show

Chapter 2 Sun Blade T6320 Server Module Diagnostics 2-39
2.6.4.1 Clearing Faults With the Web Interface
This procedure describes how to enable components after a POST fault has been
generated. The POST fault log is not actually cleared.
1. Select the tabs: System Information and Components tabs (FIGURE 2-19).
2. Select the radio button for the component that you must clear.
3. In the Actions menu, select: Enable Component.
FIGURE 2-19 Enabling Components With the ILOM Web Interface
Note – The Clear Faults command in the Action menu will only clear the PSH-
generated faults, and will not enable a component.

2-40 Sun Blade T6320 Server Module Service Manual • June 2009
2.6.4.2 Clearing Faults With the ILOM CLI
1. At the ILOM prompt, type the show /SP/faultmgmt command to identify
POST detected faults.
POST detected faults are distinguished from other faults by the text:
deemed faulty and disabled, and no UUID number is reported.
For example:
-> show /SP/faultmgmt
■If no fault is reported, you do not need to do anything else. Do not perform the
subsequent steps.
■If a fault is detected, continue with Step 2.
2. Type the set component_state=enabled command to clear the fault and
remove the component from the ASR blacklist.
Type the FRU name that was reported in the fault in the previous step.
This example shows how to change directory to thread P32 on the CPU and
enable it.
The fault is cleared and should not show up when you type the show
/SP/faultmgmt command. Additionally, the Service Action Required LED is no
longer illuminated.
3. Reboot the server module.
You must reboot the server module for the enablecomponent command to take
effect.
-> cd /SYS/MB/CMP0/P32
/SYS/MB/CMP0/P32
-> show
/SYS/MB/CMP0/P32
Targets:
Properties:
type = CPU thread
component_state = Disabled
Commands:
cd
show
-> set component_state=enabled
Set ’component_state’ to ’enabled’

Chapter 2 Sun Blade T6320 Server Module Diagnostics 2-41
4. At the ILOM prompt, type the show /SP/faultmgmt command to verify that
no faults are reported.
2.6.4.3 Clearing Faults Manually with ILOM
The ILOM set /SYS/clear_fault_action=enabled command allows you to
manually clear certain types of faults without replacing a FRU. It also allows you to
clear a fault if ILOM was unable to automatically detect the FRU replacement.
2.6.4.4 Clearing Hard Drive Faults
ILOM can detect hard drive replacement. However, to configure and unconfigure a
hard drive, you must type the Solaris cfgadm command. See Section 3.2, “Hot-
Plugging a Hard Drive” on page 3-1. ILOM does not handle hard drive faults. Use
the Solaris message files to view hard drive faults. See Section 2.8, “Collecting
Information From Solaris OS Files and Commands” on page 2-47.
2.7 Using the Solaris Predictive Self-Healing
Feature
The Solaris Predictive Self-Healing (PSH) technology enables the Sun Blade T6320
server module to diagnose problems while the Solaris OS is running. Many
problems can be resolved before they negatively affect operations.
The Solaris OS uses the fault manager daemon, fmd(1M), which starts at boot time
and runs in the background to monitor the system. If a component generates an
error, the daemon handles the error by correlating the error with data from previous
errors and other related information to diagnose the problem. Once diagnosed, the
fault manager daemon assigns the problem a Universal Unique Identifier (UUID)
that distinguishes the problem across any set of systems. When possible, the fault
manager daemon initiates steps to self-heal the system and take the component
offline. The daemon also logs the fault to the syslogd daemon and provides a fault
notification with a message ID (MSGID). You can use the message ID to get
additional information about the problem from Sun’s knowledge article database.
-> show /SP/faultmgmt
Last POST run: THU MAR 09 16:52:44 2006
POST status: Passed all devices
No failures found in System

2-42 Sun Blade T6320 Server Module Service Manual • June 2009
The Predictive Self-Healing technology covers the following Sun Blade T6320 server
module components:
■UltraSPARC®T2 multicore processor (CPU)
■Memory
■I/O bus
The PSH console message provides the following information:
■Type
■Severity
■Description
■Automated response
■Impact
■Suggested action for system administrator
If the Solaris PSH facility has detected a faulty component, type the fmdump
command to identify the fault. Faulty FRUs are identified in fault messages using
the FRU name. For a list of FRU names, see Appendix A.
Note – Additional Predictive Self-Healing information is available at:
http://www.sun.com/msg
2.7.1 Identifying Faults With the fmadm faulty and
fmdump Commands
2.7.1.1 Using the fmadm faulty Command
Type the fmadm faulty command to identify a faulty component.
1. Type fmadm faulty.
The output shows the UUID of the related fault and provides information for
clearing the fault.
#fmdadm faulty
STATE RESOURCE /UUID
faulted cpu:///cpuid=8/serial=FAC006AE4515C47
8856153f-6f9b-47c6-909a-b05180f53c07

Chapter 2 Sun Blade T6320 Server Module Diagnostics 2-43
2. Use the output of this command to clear the fault as shown in Section 2.7.2,
“Clearing PSH Detected Faults” on page 2-45.
If fmadm faulty does not identify a faulty component or if you need more
detailed information, type the fmdump command.
2.7.1.2 Using the fmdump Command
The fmdump command displays the list of faults detected by the Solaris PSH facility.
Use this command for the following reasons:
■To see if any faults have been detected by the Solaris PSH facility.
■To obtain the fault message ID (SUNW-MSG-ID) for detected faults.
■To verify that the replacement of a FRU has not generated any additional faults.
If you already have a fault message ID, go to Step 2 to obtain more information
about the fault from the Sun Predictive Self-Healing Knowledge Article web site.
Note – Faults detected by the Solaris PSH facility are also reported through ILOM
alerts. In addition to the PSH fmdump command, the ILOM show /SYS/ command
also provides information about faults and displays fault UUIDs. See Section 2.5.3,
“Displaying System Faults” on page 2-21.
1. Check the event log by typing the fmdump command with -v for verbose
output.
For example:
In this example, a fault is displayed, indicating the following details:
■Date and time of the fault (Apr 24 06:54:08.2005)
■Universal Unique Identifier (UUID) that is unique for every fault (lce22523-
lc80-6062-e61d-f3b39290ae2c)
■Sun message identifier (SUNW4V-8000-6H) that can be used to obtain additional
fault information
■Faulted FRU (FRU:hc:///component=MB). In this example it is identified as MB,
indicating that the motherboard requires replacement.
2. Use the Sun message ID to obtain more information about this type of fault.
#fmdump -v
TIME UUID SUNW-MSG-ID
Apr 24 06:54:08.2005 lce22523-lc80-6062-e61d-f3b39290ae2c SUN4V-
8000-6H
100% fault.cpu.ultraSPARCT2l2cachedata
FRU:hc:///component=MB
rsrc: cpu:///cpuid=0/serial=22D1D6604A

2-44 Sun Blade T6320 Server Module Service Manual • June 2009
a. In a browser, go to the Predictive Self-Healing Knowledge Article web site:
http://www.sun.com/msg
b. Type the message ID in the SUNW-MSG-ID field, and press Lookup.
In this example, the message ID SUN4U-8000-6H returns the following
information for corrective action:
c. Follow the suggested actions to repair the fault.
2.7.2 Clearing PSH Detected Faults
When the Solaris PSH facility detects faults, the faults are logged and displayed on
the console. After the fault condition is corrected, for example by replacing a faulty
FRU, you might have to clear the fault.
Note – If you are diagnosing or replacing faulty DIMMs, do not follow this
procedure. Instead, perform the procedure in Section 4.3.2, “Replacing the DIMMs”
on page 4-14.
CPU errors exceeded acceptable levels
Type
Fault
Severity
Major
Description
The number of errors associated with this CPU has exceeded
acceptable levels.
Automated Response
The fault manager will attempt to remove the affected CPU from
service.
Impact
System performance may be affected.
Suggested Action for System Administrator
Schedule a repair procedure to replace the affected CPU, the
identity of which can be determined using fmdump -v -u <EVENT_ID>.
Details
The Message ID: SUN4U-8000-6H indicates diagnosis has
determined that a CPU is faulty. The Solaris fault manager arranged
an automated attempt to disable this CPU. The recommended action
for the system administrator is to contact Sun support so a Sun
service technician can replace the affected component.

Chapter 2 Sun Blade T6320 Server Module Diagnostics 2-45
1. After replacing a faulty FRU, boot the system.
2. Type fmadm faulty:
3. Clear the fault from all persistent fault records.
In some cases, even though the fault is cleared, some persistent fault information
remains and results in erroneous fault messages at boot time. To ensure that these
messages are not displayed, perform the following command:
fmadm repair UUID
For example:
Note – You can also use the FRU fault UUID instead of the Fault Management
Resource Identifier (FMRI).
Typing fmadm faulty after the repair command verifies that there are no more
faults.
2.7.3 Clearing the PSH Fault From the ILOM Logs
When the Solaris PSH facility detects faults, the faults are also logged by the ILOM
software.
Note – If you clear the faults using Solaris PSH, you do not have to clear the faults
in ILOM. If you clear the faults in ILOM, you do not also have to clear them with
Solaris PSH.
Note – If you are diagnosing or replacing faulty DIMMs, do not follow this
procedure. Instead, perform the procedure in Section 4.3.2, “Replacing the DIMMs”
on page 4-14.
#fmdadm faulty
STATE RESOURCE /UUID
faulted cpu:///cpuid=8/serial=FAC006AE4515C47
8856153f-6f9b-47c6-909a-b05180f53c07
#fmadm repair cpu:///cpuid=8/serial=FAC006AE4515C47
fmadm: recorded repair to cpu:///cpuid=8/serial=FAC006AE4515C47
#fmadm faulty
STATE RESOURCE/UUID

2-46 Sun Blade T6320 Server Module Service Manual • June 2009
1. After replacing a faulty FRU, at the ILOM prompt, type the ILOM -> show
faults command to identify PSH detected faults.
PSH detected faults are distinguished from other faults by the text:
Host detected fault.
For example:
-> show /SP/faultmgmt
■If no fault is reported, you do not need to do anything else.
■If the fault is reported, continue with Step 2.
2. Type the clear_fault command with the UUID provided in the showfaults
output:
2.8 Collecting Information From Solaris OS
Files and Commands
With the Solaris OS running on the Sun Blade T6320 server module, you have all the
Solaris OS files and commands available for collecting information and for
troubleshooting.
In the event that POST, ILOM, or the Solaris PSH features did not indicate the source
of a fault, check the message buffer and log files for fault notifications. Hard drive
faults are usually captured by the Solaris message files.
Type the syslogd command to view the most recent system message.
Use the /var/adm/messages file to view the system messages log file.
2.8.1 Checking the Message Buffer
1. Log in as superuser.
-> set /SYS/component clear_fault_action=true
Clearing fault from component...
Fault cleared.

Chapter 2 Sun Blade T6320 Server Module Diagnostics 2-47
2. Type the syslogd command.
The syslogd command displays the most recent messages generated by the
system.
2.8.2 Viewing the System Message Log Files
The error logging daemon, syslogd, automatically records various system
warnings, errors, and faults in message files. These messages can alert you to system
problems such as a device that is about to fail.
The /var/adm directory contains several message files. The most recent messages
are in the /var/adm/messages file. After a period of time (usually every ten days),
a new messages file is automatically created. The original contents of the
messages file are rotated to a file named messages.1. Over a period of time, the
messages are further rotated to messages.2 and messages.3, and then deleted.
1. Log in as superuser.
2. Type the following command.
3. If you want to view all logged messages, type this command.
2.9 Managing Components With Automatic
System Recovery Commands
The Automatic System Recovery (ASR) feature enables the server module to
automatically unconfigure failed components to remove them from operation until
they can be replaced. In the Sun Blade T6320 server module, the following
components are managed by the ASR feature:
■UltraSPARC T2 processor strands
■Memory DIMMs
■I/O bus
#syslogd
#more /var/adm/messages
#more /var/adm/messages*

2-48 Sun Blade T6320 Server Module Service Manual • June 2009
The database that contains the list of disabled components is called the ASR blacklist
(asr-db).
In most cases, POST automatically disables a component when it is faulty. After the
cause of the fault is repaired (FRU replacement, loose connector reseated, and so on),
you must remove the component from the ASR blacklist.
The ASR commands (TABLE 2-8) enable you to view and manually add or remove
components from the ASR blacklist. These commands are run from the ILOM ->
prompt. For information about ALOM CMT commands, see the Sun Integrated Lights
Out Manager 2.0 Supplement for Sun Blade T6320 Server Modules, 820-2546.
Note – The components (asrkeys) vary from system to system, depending on how
many cores and memory are present. Type the showcomponent command to see the
asrkeys on a given system.
Note – Areset or powercycle is required after disabling or enabling a
component. If the status of a component is changed with power on there is no effect
to the system until the next reset or powercycle.
TABLE 2-8 ASR Commands
ILOM Web
Interface ILOM Command ALOM Command Description
Select the
following tabs:
System
Information,
Components,
Actions,
then select the
action.
show /SYS/component
component_state
showcomponent*
* The showcomponent command might not report all blacklisted DIMMs.
Displays system
components and
their current state.
set /SYS/component
component_state=enabled
enablecomponent asrkey Removes a
component from the
asr-db blacklist,
where asrkey is the
component to enable.
set /SYS/component
component_state=disabled
disablecomponent asrkey Adds a component to
the asr-db blacklist,
where asrkey is the
component to
disable.
No equivalent in ILOM clearasrdb Removes all entries
from the asr-db
blacklist.

Chapter 2 Sun Blade T6320 Server Module Diagnostics 2-49
2.9.1 Displaying System Components With the show
/SYS Command
To see examples of ILOM web interface and CLI commands that show component
status, see Section 2.5.4, “Displaying the Environmental Status with the ILOM CLI”
on page 2-24.
The show command displays the system components (asrkeys) and reports their
status.
1. At the -> prompt, type the show command.
An example with no disabled components.
An example showing a disabled component:
-> show /SYS/MB/USB0
/SYS/MB/USB0
Targets:
Properties:
type = USB Port
component_state = Enabled
Commands:
cd
show
->
-> show /SYS/MB/USB0
/SYS/MB/USB0
Targets:
Properties:
type = USB Port
component_state = Disabled
Commands:
cd
show

2-50 Sun Blade T6320 Server Module Service Manual • June 2009
2.10 Exercising the System With SunVTS
Sometimes a system exhibits a problem that cannot be isolated definitively to a
particular hardware or software component. In such cases, it might be useful to run
a diagnostic tool that stresses the system by continuously running a comprehensive
battery of tests. Sun provides the SunVTS software for this purpose.
2.10.1 Checking SunVTS Software Installation
This procedure assumes that the Solaris OS is running on the Sun Blade T6320 server
module, and that you have access to the Solaris command line.
1. Check for the presence of SunVTS packages using the pkginfo command.
■If SunVTS software is loaded, information about the packages is displayed.
■If SunVTS software is not loaded, no information is displayed.
TABLE 2-9 lists some SunVTS packages.
If SunVTS is not installed, you can obtain the installation packages from the
following resources:
■Solaris Operating System DVDs
■Sun Download Center: http://www.sun.com/oem/products/vts
#pkginfo | grep -i vts
system SUNWvts SunVTS Framework
system SUNWvtsmn SunVTS Manufacturing package
system SUNWvtsr SunVTS Framework (root)
system SUNWvtsts SunVTS for Tests
#
TABLE 2-9 Sample of installed SunVTS Packages
Package Description
SUNWvts SunVTS framework
SUNWvtsr SunVTS Framework (root)
SUNWvtsts SunVTS for tests
SUNWvtsmn SunVTS man pages

Chapter 2 Sun Blade T6320 Server Module Diagnostics 2-51
The SunVTS 6.4PS1 software, and subsequent compatible versions, are supported on
the Sun Blade T6320 server module.
SunVTS installation instructions are described in the Sun VTS 6.4 User’s Guide, 820-
1669.
2.10.2 Exercising the System Using SunVTS Software
Before you begin, the Solaris OS must be running. You should verify that SunVTS
validation test software is installed on your system. See Section 2.10.1, “Checking
SunVTS Software Installation” on page 2-51.
The SunVTS installation process requires that you specify one of two security
schemes to use when running SunVTS. The security scheme you choose must be
properly configured in the Solaris OS for you to run SunVTS.
SunVTS software features both character-based and graphics-based interfaces.
For more information about the character-based SunVTS TTY interface, and
specifically for instructions on accessing it by TIP or telnet commands, refer to the
Sun VTS 6.4 User’s Guide.
Finally, this procedure describes how to run SunVTS tests in general. Individual tests
might presume the presence of specific hardware, or might require specific drivers,
cables, or loopback connectors. For information about test options and prerequisites,
refer to the following documentation:
■SunVTS 6.4 Test Reference Manual for SPARC Platforms
■Sun VTS 6.4 User’s Guide
2.10.3 Steps for Exercising the System With SunVTS
Software
1. Log in as superuser to a system with a graphics display.
The display system should be one with a frame buffer and monitor capable of
displaying bitmap graphics such as those produced by the SunVTS GUI.
2. Enable the remote display.
On the display system, type:
where test-system is the name of the server you plan to test.
#/usr/openwin/bin/xhost + test-system

2-52 Sun Blade T6320 Server Module Service Manual • June 2009
3. Remotely log in to the server as superuser.
Type a command such as rlogin or telnet.
4. Start SunVTS software.
As SunVTS starts, it prompts you to choose between using CLI, BI, or tty
interfaces. A representative SunVTS BI is displayed below (FIGURE 2-20).
FIGURE 2-20 SunVTS BI
#/opt/SUNWvts/bin/sunvts -display display-system:0

Chapter 2 Sun Blade T6320 Server Module Diagnostics 2-53
5. (Optional) Select the test category you want to run.
Certain tests are enabled by default, and you can choose to accept these.
Alternatively, you can enable or disable test categories by clicking the checkbox
next to the test name or test category name. Tests are enabled when checked, and
disabled when not checked.
TABLE 2-10 lists tests that are especially useful to run on this server.
6. (Optional) Customize individual tests.
You can customize test categories by right-clicking on the name of the test.
7. Start testing.
Click the Start button that is located at the top left of the SunVTS window. Status
and error messages appear in the test messages area located across the bottom of
the window. You can stop testing at any time by clicking the Stop button.
During testing, SunVTS software logs all status and error messages. To view
these messages, click the Log button or select Log Files from the Reports menu.
This action opens a log window from which you can choose to view the
following logs:
■Information –Detailed versions of all the status and error messages that
appear in the test messages area.
■Test Error – Detailed error messages from individual tests.
TABLE 2-10 Useful SunVTS Tests to Run on This Server
Category SunVTS Tests FRUs Exercised by Tests
CPU mptest CPU and motherboard
Graphics pfbtest, graphicstest—indirectly:
systest
DIMMs, CPU motherboard
Processor cmttest, cputest,fputest,iutest,
l1dcachetest, dtlbtest, and
l2sramtest—indirectly:mptest, and
systest
DIMMs, CPU motherboard
Disk disktest Disks, cables, disk backplane
Environment hsclbtest, cryptotest Crypto engine (CPU), SP <-->, host
communication channels (motherboard)
Network nettest,netlbtest,xnetlbtest Network interface, network cable, CPU
motherboard
Memory pmemtest, vmemtest, ramtest DIMMs, motherboard
I/O ports usbtest, iobustest Motherboard, service processor
(Host to service processor interface)

2-54 Sun Blade T6320 Server Module Service Manual • June 2009
■VTS Kernel Error –Error messages pertaining to SunVTS software itself. Look
here if SunVTS software appears to be acting strangely, especially when it
starts up.
■Solaris OS Messages(/var/adm/messages)–A file containing messages
generated by the operating system and various applications.
■Log Files (/var/sunvts/logs)–A directory containing the log files.
2.11 Resetting the Password to the Factory
Default
The procedure for resetting the ILOM root password to the factory default
(changeme) requires installation of a jumper on the service processor. This
procedure should be performed by a technician, a service professional, or a system
administrator who services and repairs computer systems. This person should meet
the criteria described in the preface of the Sun Blade T6320 Server Module Service
Manual.
2.11.1 To Reset the Root Password to the Factory Default
1. Remove the server module from the modular system chassis.
Prepare for removal using ILOM or ALOM CMT commands and ensure that the
blue OK to Remove LED is lit, indicating that it is safe to remove the blade.
2. Open the server module and install a standard jumper on the two pins at
location J0600.
3. Close the server module, install it in the modular system chassis, and boot the
server module.
Refer to the Sun Blade T6320 Server Module Installation Guide for instructions.
The ILOM root password is now reset to the factory default (changeme).
4. Change the root password.
Refer to the Sun Blade T6320 Server Module Installation Guide for instructions.
5. Remove the server module from the modular system chassis and remove the
jumper.
As in Step 1, prepare for removal using ILOM or ALOM CMT commands and
ensure that the blue OK to Remove LED is lit, indicating that it is safe to remove
the blade.

Chapter 2 Sun Blade T6320 Server Module Diagnostics 2-55
6. Close the server module, install it in the modular system chassis, and boot the
server module.
Refer to the Sun Blade T6320 Server Module Installation Guide for instructions.

2-56 Sun Blade T6320 Server Module Service Manual • June 2009

3-1
CHAPTER 3
Replacing Hot-Swappable and Hot-
Pluggable Components
This chapter describes how to remove and replace the hot-swappable and hot-
pluggable field-replaceable units (FRUs) in the Sun Blade T6320 server module.
The following topics are covered:
■Section 3.1, “Hot-Pluggable Hard Drives” on page 3-1
■Section 3.2, “Hot-Plugging a Hard Drive” on page 3-1
■Section 3.3, “Adding PCI ExpressModules” on page 3-5
3.1 Hot-Pluggable Hard Drives
Hot-pluggable devices are those devices that can be removed and installed while the
system is running, but you must perform administrative tasks first. The Sun Blade
T6320 server module hard drives can be hot-swappable (depending on how they are
configured).
For information about a hot-swappable or hot-pluggable PCI ExpressModule (PCI
EM) or network express module (NEM), see the service manual for your modular
system chassis.
3.2 Hot-Plugging a Hard Drive
The hard drives in the Sun Blade T6320 server module are hot-pluggable, but this
capability depends on how the hard drives are configured.

3-2 Sun Blade T6320 Server Module Service Manual • June 2009
3.2.1 Rules for Hot-Plugging
To safely remove a hard drive, you must:
■Prevent any applications from accessing the hard drive.
■Remove the logical software links.
Hard drives cannot be hot-plugged if:
■The hard drive provides the operating system, and the operating system is not
mirrored on another drive.
■The hard drive cannot be logically isolated from the online operations of the
server module.
If your drive falls into these conditions, you must shut the system down before you
replace the hard drive. See Section 4.2.2, “Shutting Down the System” on page 4-3.
3.2.2 Removing a Hard Drive
1. Identify the physical location of the hard drive that you want to replace
(FIGURE 3-2).
2. Type the Solaris OS commands required to stop using the hard drive.
The exact commands required depend on the configuration of your hard drives.
You might need to unmount file systems or perform RAID commands.
One command that you may use to take the drive offline is cfgadm. For more
information see the Solaris cfgadm man page.
3. Verify that the blue Drive Ready to Remove LED is illuminated on the front of
the hard drive.

Chapter 3 Replacing Hot-Swappable and Hot-Pluggable Components 3-3
FIGURE 3-1 Hard Drive Locations and LEDs
4. Push the latch release button (FIGURE 3-2).
Caution – The latch is not an ejector. The latch can be damaged if you bend it too
much. Handle the hard drive carefully: the hard drive printed circuit board is not
covered.
5. Grasp the latch and pull the drive out of the drive slot.
Blue LED
Amber LED
Green LED
Service Action Required
Drive Ready to Remove
HDD3
HDD0
HDD1
HDD2
Drive OK

3-4 Sun Blade T6320 Server Module Service Manual • June 2009
FIGURE 3-2 Hard Drive Locations, Release Button, and Latch
3.2.3 Replacing a Hard Drive or Installing a New Hard
Drive
The hard drive is physically addressed to the slot in which it is installed.
Note – If you removed a hard drive, ensure that you install the replacement drive in
the same slot.
1. If necessary, remove the hard drive filler panel.
2. Slide the drive into the bay until it is fully seated (FIGURE 3-2.).
HDD3
HDD0 HDD1
HDD2

Chapter 3 Replacing Hot-Swappable and Hot-Pluggable Components 3-5
3. Close the latch to lock the drive in place.
4. Perform administrative tasks to reconfigure the hard drive.
The procedures that you perform at this point depend on how your data is
configured. You might need to partition the drive, create file systems, load data from
backups, or have data updated from a RAID configuration.
■You can use the Solaris command cfgadm -al to list all disks in the device tree,
including 'unconfigured' disks.
■If the disk is not in the list, such as with a newly installed disk, you can use
devfsadm to configure it into the tree. See the devfsadm man page for details.
3.3 Adding PCI ExpressModules
The PCI ExpressModules (PCI EMs) plug into the chassis. To verify installation and
to set up the PCI EMs see:
■The service manual for your modular system chassis.
■Sun Integrated Lights Out Manager 2.0 Supplement for Sun Blade T6320 Server
Modules, 820-2546

3-6 Sun Blade T6320 Server Module Service Manual • June 2009

4-1
CHAPTER 4
Replacing Cold-Swappable
Components
This chapter describes how to remove and replace field-replaceable units (FRUs) that
must be cold-swapped.
The following topics are covered:
■Section 4.1, “Safety Information” on page 4-1
■Section 4.2, “Common Procedures for Parts Replacement” on page 4-3
■Section 4.3, “Removing and Replacing DIMMs” on page 4-10
■Section 4.4, “Removing and Replacing the Service Processor” on page 4-15
■Section 4.5, “Removing and Replacing the Battery on the Service Processor” on
page 4-18
■Section 4.6, “Replacing or Installing the Sun Blade RAID 5 Expansion Module” on
page 4-20
■Section 4.7, “Removing and Replacing the Sun Blade G2 RAID 0/1 Expansion
Module” on page 4-25
■Section 4.8, “Finishing Component Replacement” on page 4-28
4.1 Safety Information
This section describes important safety information you need to know prior to
removing or installing parts in the Sun Blade T6320 server module.
For your protection, observe the following safety precautions when setting up your
equipment:

4-2 Sun Blade T6320 Server Module Service Manual • June 2009
■Follow all Sun standard cautions, warnings, and instructions marked on the
equipment and described in Important Safety Information for Sun Hardware Systems,
816-7190.
■Ensure that the voltage and frequency of your power source match the voltage
and frequency inscribed on the equipment s electrical rating label.
■Follow the electrostatic discharge safety practices as described in this section.
4.1.1 Safety Symbols
The following symbols might appear in this manual, note their meanings:
Caution – There is a risk of personal injury and equipment damage. To avoid
personal injury and equipment damage, follow the instructions.
Caution – Hot surface. Avoid contact. Surfaces are hot and might cause personal
injury if touched.
Caution – Hazardous voltages are present. To reduce the risk of electric shock and
danger to personal health, follow the instructions.
4.1.2 Electrostatic Discharge Safety
Electrostatic discharge (ESD) sensitive devices, such as the motherboard, hard
drives, and memory cards require special handling.
Caution – The boards and hard drives contain electronic components that are
extremely sensitive to static electricity. Ordinary amounts of static electricity from
clothing or the work environment can destroy components. Do not touch the
components along their connector edges.
4.1.2.1 Using an Antistatic Wrist Strap
Wear an antistatic wrist strap and use an antistatic mat when handling components
such as drive assemblies, boards, or cards. When servicing or removing server
module components, attach an antistatic strap to your wrist and then to a metal area

Chapter 4 Replacing Cold-Swappable Components 4-3
on the chassis. Do this after you disconnect the power cords from the server module.
Following this practice equalizes the electrical potentials between you and the server
module.
4.1.2.2 Using an Antistatic Mat
Place ESD-sensitive components such as the motherboard, memory, and other PCB
cards on an antistatic mat.
4.2 Common Procedures for Parts
Replacement
Before you can remove and replace internal components, you must perform the
procedures in this section.
4.2.1 Required Tools
You can service the Sun Blade T6320 server module with the following tools:
■Antistatic wrist strap
■Antistatic mat
4.2.2 Shutting Down the System
Performing a graceful shutdown ensures that all of your data is saved and that the
system is ready for restart. This section describes procedures for using the ILOM CLI
and the ILOM web interface to shut down the system.

4-4 Sun Blade T6320 Server Module Service Manual • June 2009
1. Log in as superuser or equivalent.
Depending on the nature of the problem, you might want to view the system
status, the log files, or run diagnostics before you shut down the system. For
more information, refer to:
■Sun Integrated Lights Out Manager 2.0 Supplement for Sun Blade T6320 Server
Modules, 820-2546. This document describes ILOM information specific to the
UltraSPARC and the Sun Blade T6320 server module. It also provides command
comparisons of the ALOM CMT and ILOM CLI command sets.
■Appendix D of this service manual also provides some information about ILOM.
2. Notify affected users.
Refer to your Solaris system administration documentation for additional
information.
3. Save any open files and quit all running programs.
Refer to your application documentation for specific information on these
processes.
4. Shut down the Solaris OS using the shutdown (1M)command.
5. Use either the ILOM web interface, or the ILOM CLI, to finish the shut down
sequence as described in the following sections.
You can also press the power button on the front of the server module to initiate
a graceful shutdown.
4.2.3 Using the ILOM Web Interface to Shut Down the
Server Module
1. From the ILOM web interface, select the tabs: Remote Control, Remote Power
Control (FIGURE 4-1).
In the Select Action menu, choose a shutdown option.
TABLE 4-1 Poweroff Command Equivalents
ILOM Web Interface Tabs ILOM CLI
ALOM-CMT
Compatibility Shell Server Module Power Button
Remote Control,
Remote Power Control,
Select Action
-> stop /sys sc> poweroff -y Use a paper clip to press the
power button for a graceful
shutdown.
-> stop -script /sys

Chapter 4 Replacing Cold-Swappable Components 4-5
FIGURE 4-1 Powering Off the Server Module with the ILOM Web Interface
4.2.4 Using the ILOM CLI to Shut Down the Server
Module
1. Switch from the system (host) console to the ILOM -> prompt by typing the
#. (Hash-Period) key sequence.

4-6 Sun Blade T6320 Server Module Service Manual • June 2009
2. At the ILOM -> prompt, type the set /SYS/PS0
prepare_to_remove_action=true command and type yto confirm.
ILOM CLI, ILOM web interface, and ALOM-CMT command equivalents are
shown in TABLE 4-1.
The blue blade ok2 remove LED is illuminated.
The top white LED is the Locator LED. You can also set the white locator LED to
blink:
Once you have located the server module, you can press the Locator LED to turn
it off.
3. If a cable is connected to the front of the server module, disconnect it.
-> set /SYS/ prepare_to_remove_action=true
Are you sure you want to stop /SYS (y/n)? y
Stopping /SYS
-> set /SYS/LOCATE value=fast_blink

Chapter 4 Replacing Cold-Swappable Components 4-7
FIGURE 4-2 Disconnecting the Cable Dongle
VGA 15-pin, female
USB 2.0
(two connectors)
USB 2.0
DB-9 serial, male
VGA 15-pin, female
(two connectors)
(TTYA)
RJ-45 serial
Four connector dongle cable (UCP-4)
Three connector dongle cable (UCP-3)
RJ-45 (Do not use this connector with
the Sun Blade T6320 Server Module)

4-8 Sun Blade T6320 Server Module Service Manual • June 2009
Caution – The cable dongle is for temporary connections only. The cable dongle has
not been evaluated for electromagnetic compatibility (EMC). The cable dongle or
server module connectors could be damaged by rack doors or other impacts.
Remove the cable dongle during normal system operation.
Note – If you are using the older 4-cable dongle (UCP-4), do not use the RJ-45
connector with the Sun Blade T6320 server module. Use the DB-9 connector for serial
connections.
4. Open the ejector levers (FIGURE 4-3).
FIGURE 4-3 Removing the Sun Blade T6320 Server Module From the Chassis
5. While pinching the release latches, slowly pull the server module forward
until the slide rails latch.

Chapter 4 Replacing Cold-Swappable Components 4-9
Caution – Hold the server module firmly so that you do not drop it. The server
module weighs approximately 16 pounds (7.3 kg).
Caution – Do not stack server modules higher than five units tall. They might fall
and cause damage or injury.
FIGURE 4-4 Stack Five Server Modules or Fewer
6. Set the server module on an antistatic mat.
7. Attach an antistatic wrist strap.
When servicing or removing server module components, attach an antistatic strap to
your wrist and then to a metal area on the chassis.

4-10 Sun Blade T6320 Server Module Service Manual • June 2009
FIGURE 4-5 Antistatic Mat and Wrist Strap
8. While pressing the top cover release button, slide the cover toward the rear of
the server module about an inch (2.5 mm).
9. Lift the cover off the chassis.
4.3 Removing and Replacing DIMMs
This section describes how to remove and replace DIMMs.
4.3.1 Removing the DIMMs
LEDs indicate if a DIMM requires replacement.
■If the system is still powered on and installed in the chassis, see Section 2.2,
“Memory Configuration and Fault Handling” on page 2-7 to determine if a
DIMM requires replacement.
■If the server module is powered off, you can remove the server module from the
chassis. Pressing the DIMM Locate button illuminates and LED next to the faulty
DIMMs (FIGURE 4-6).
Caution – Ensure that you follow antistatic practices as described in Section 4.1.2,
“Electrostatic Discharge Safety” on page 4-2.

Chapter 4 Replacing Cold-Swappable Components 4-11
1. Perform the procedures described in Section 4.2, “Common Procedures for Parts
Replacement” on page 4-3.
2. Locate the DIMMs that you want to replace (FIGURE 4-7).
The server module has a DIMM locate button on the motherboard. Press the
DIMM locate button to illuminate the LEDs of the bad DIMMs.
FIGURE 4-6 DIMM Locate Button and DIMM LEDs
You can also use FIGURE 4-7 and TABLE 4-2 to identify the DIMMs that you want to
remove.

4-12 Sun Blade T6320 Server Module Service Manual • June 2009
FIGURE 4-7 DIMM Installation Rules
TABLE 4-2 FB-DIMM Configuration
Branch Name Channel Name FRU Name
Motherboard
FB-DIMM
Connector
FB-DIMM
Installation
Order*
FB-DIMM
Pair\
Branch 0 Channel 0 /SYS/MB/CMP0/BR0/CH0/D0 J1001 1 A
/SYS/MB/CMP0/BR0/CH0/D1 J1101 3 B
Four DIMMs installed
BR1/CH0/D0
BR0/CH0/D0
BR2/CH0/D0
BR3/CH0/D0
BR1/CH1/D0
BR0/CH1/D0
Sixteen DIMMs installed
Eight DIMMs installed
BR1/CH1/D1
BR1/CH0/D1
BR0/CH1/D1
BR0/CH0/D1
BR2/CH0/D1
BR2/CH1/D1
BR3/CH0/D1
BR3/CH1/D1
BR2/CH1/D0
BR3/CH1/D0

Chapter 4 Replacing Cold-Swappable Components 4-13
Note – FB-DIMM names in ILOM messages are displayed with the full name, such
as /SYS/MB/CMP0/BR0/CH0/D0.
3. Note the DIMM locations so that you can install the replacement DIMMs in
the same sockets.
4. Push down on the ejector levers on each side of the DIMM connector until the
DIMM is released.
Channel 1 /SYS/MB/CMP0/BR0/CH1/D0 J1201 2 A
/SYS/MB/CMP0/BR0/CH1/D1 J1301 3 B
Branch 1 Channel 0 /SYS/MB/CMP0/BR1/CH0/D0 J1401 1 C
/SYS/MB/CMP0/BR1/CH0/D1 J1501 3 D
Channel 1 /SYS/MB/CMP0/BR1/CH1/D0 J1601 2 C
/SYS/MB/CMP0/BR1/CH1/D1 J1701 3 D
Branch 2 Channel 0 /SYS/MB/CMP0/BR2/CH0/D0 J2001 1 E
/SYS/MB/CMP0/BR2/CH0/D1 J2101 3 F
Channel 1 /SYS/MB/CMP0/BR2/CH1/D0 J2201 2 E
/SYS/MB/CMP0/BR2/CH1/D1 J2301 3 F
Branch 3 Channel 0 /SYS/MB/CMP0/BR3/CH0/D0 J2401 1 G
/SYS/MB/CMP0/BR3/CH0/D1 J2501 3 H
Channel 1 /SYS/MB/CMP0/BR3/CH1/D0 J2601 2 G
/SYS/MB/CMP0/BR3/CH1/D1 J2701 3 H
* Upgrade path: DIMMs should be added with each group populated in the order shown.
\ Fault replacement path: Each pair is addressed as a unit, and each pair must be identical.
TABLE 4-2 FB-DIMM Configuration
Branch Name Channel Name FRU Name
Motherboard
FB-DIMM
Connector
FB-DIMM
Installation
Order*
FB-DIMM
Pair\

4-14 Sun Blade T6320 Server Module Service Manual • June 2009
FIGURE 4-8 Removing DIMMs
5. Grasp the top corners of the faulty DIMM and remove it from the system.
6. Place DIMMs on an antistatic mat.
4.3.2 Replacing the DIMMs
See Section 2.2.1, “FB-DIMM Configuration Guidelines” on page 2-7 for complete
memory configuration and installation rules.
Caution – The DIMM rules must be followed. The server module might not operate
correctly if the DIMM rules are not followed. Always use DIMMs that have been
qualified by Sun.
1. Place the replacement DIMMs on an antistatic mat.
2. Ensure that the connector ejector tabs are in the open position.
3. Line up a replacement DIMM with the connector.
Align the DIMM notch with the key in the connector.
a. Push each DIMM into a connector until the ejector tabs lock the DIMM in
place.
b. Perform the procedures described in Section 4.8, “Finishing Component
Replacement” on page 4-28.

Chapter 4 Replacing Cold-Swappable Components 4-15
4.3.2.1 Verifying DIMM Installation
Clear the previous faults and enable the DIMMs. See Section 2.6.4, “Clearing POST
Detected Faults” on page 2-39.
4.4 Removing and Replacing the Service
Processor
The service processor controls the host power and monitors host system events
(power and environmental). The service processor holds a battery and a socketed
EEPROM for storing the system configuration, all Ethernet MAC addresses, and the
host ID.
Caution – Handle the components carefully to avoid damage.
4.4.1 Removing the Service Processor
Caution – The service processor card can be hot. To avoid injury, handle it carefully.
1. Perform the procedures described in Section 4.2, “Common Procedures for Parts
Replacement” on page 4-3.
2. Pull back the plastic retaining tab and lift up on handle of the service
processor card to release it from the bracket (FIGURE 4-10).

4-16 Sun Blade T6320 Server Module Service Manual • June 2009
FIGURE 4-9 Removing the Service Processor
3. Grasp the top corners of the service processor and pull it out of the bracket.
4. Place the service processor card on an antistatic mat.
5. Remove the system configuration PROM (NVRAM) (FIGURE 4-10) from the
service processor card and place the PROM on an antistatic mat.
The service processor contains the persistent storage for the system host ID and
Ethernet MAC addresses. The service processor also contains the ILOM
configuration including the IP addresses and ILOM user accounts, if configured.
This information will be lost unless the system configuration PROM (NVRAM) is
removed and installed in the replacement service processor. The PROM does not
hold the fault data, and the fault data will no longer be accessible when the
service processor is replaced.

Chapter 4 Replacing Cold-Swappable Components 4-17
FIGURE 4-10 Removing the System Configuration PROM (NVRAM)
4.4.2 Replacing the Service Processor
1. Remove the replacement service processor from the package and place it on an
antistatic mat.
2. Install the system configuration PROM (NVRAM) that you removed from the
faulty service processor.
The PROM is keyed to ensure proper orientation.
3. Insert the service processor edge into the bracket and carefully align the
service processor so that each of its contacts is centered on a socket pin.
4. Push firmly and evenly between the handle edges, until the service processor
is firmly seated in the connector socket.

4-18 Sun Blade T6320 Server Module Service Manual • June 2009
5. Perform the procedures described in Section 4.8, “Finishing Component
Replacement” on page 4-28.
4.5 Removing and Replacing the Battery on
the Service Processor
Caution – Handle the components carefully to avoid damage.
1. Perform the procedures described in Section 4.2, “Common Procedures for Parts
Replacement” on page 4-3.
2. To remove the service processor from the chassis, pull back the plastic tab and
lift the handle (Section 4.4, “Removing and Replacing the Service Processor” on
page 4-15).
3. Place the service processor on an antistatic mat.
4. Carefully remove the battery (FIGURE 4-11) from the service processor.

Chapter 4 Replacing Cold-Swappable Components 4-19
FIGURE 4-11 Removing the Battery From the Service Processor
4.5.1 Replacing the Battery on the Service Processor
1. Remove the replacement battery from the package.
2. Press the new battery into the service processor (FIGURE 4-11) with the positive
side (+) facing upward (away from the card).
3. Place the edge of the service processor in between the tabs on the plastic
bracket and carefully align the connectors.
4. Press between the handle edges until the service processor is seated in the
connector.
5. Perform the procedures described in Section 4.8, “Finishing Component
Replacement” on page 4-28.

4-20 Sun Blade T6320 Server Module Service Manual • June 2009
6. Before you poweron the host system, type the ILOM set /SP/clock
datetime command to set the day and time.
For details about this command, refer to the Sun Integrated Lights out Manager 2.0
User’s Guide, 820-1188.
4.6 Replacing or Installing the Sun Blade
RAID 5 Expansion Module
Note – Depending on how you ordered your server, the Sun Blade RAID 5
Expansion Module ships preinstalled in your server or as an option shipped
separately. If your Sun Blade RAID 5 Expansion Module was shipped separately, see
Section 4.6.1, “Installing the RAID 5 Expansion Module” on page 4-21.
Note – Avoid excess strain on the REM edges. Lift as close to the connector as
possible.
Removing the RAID 5 Expansion Module
If you have a previously installed REM, save the configuration before removing it.
Refer to the Sun Blade 6000 Disk Module Service Manual, 820-1703 and the Sun Blade
6000 Disk Module Administration Guide 820-4922
http://docs.sun.com/app/docs/prod/blade.6000disk~blade6000dskmod
Also refer to the Sun Adaptec RAID User’s Guide, 820-4708 for instructions on using
the Java GUI to save the configuration of the existing REM.
->set /SP/clock datetime=10
Set ‘datetime’ to ‘102421532007.30’
-> show
/SP/clock
Targets
Properties:
datetime = Wed Oct 24, 21:53:38 2007
usentpserver = disabled
...

Chapter 4 Replacing Cold-Swappable Components 4-21
1. Place your fingers under the RAID expansion module (REM), with each finger
close top the connector (FIGURE 4-12).
2. Lift the card free from the connector.
3. Lift the REM free from the gray plastic standoff.
FIGURE 4-12 Removing the RAID Expansion Module
4.6.1 Installing the RAID 5 Expansion Module
1. Place the card under the tabs of the gray plastic standoff (FIGURE 4-13).
2. Press on the rubber button on the top of the card until the connector engages
with the connector on the motherboard (FIGURE 4-13).

4-22 Sun Blade T6320 Server Module Service Manual • June 2009
FIGURE 4-13 Replacing the RAID 5 Expansion Module
Verifying the RAID 5 Expansion Module
Installation
Note – Check all SAS cables to ensure that they are securely attached and are not
damaged or pinched anywhere along the length of cable.
1. Power-up the computer and storage systems.
a. Ensure that all hard disk drives are securely installed.
b. Connect all power cords securely and plug them into the proper power
sources.
c. Power-on the disk drive enclosure, and verify that all available HDD status
indicators are normal for the storage enclosure(s) that they are in.
d. Power-on the computer system.

Chapter 4 Replacing Cold-Swappable Components 4-23
2. Enter the Open Boot Prompt (OBP) and use the show-disks command to list
the current devices.
In the following example, the HBA is the first device that is listed.
Note – Device paths might vary from this example, depending on which SPARC
system you are using and into which PCI-E slot the card is plugged.
3. Use the select command to select the device node for the HBA, and follow
the on-screen instructions by pressing Enter when prompted.
Note – When you run this command, omit /disk from the HBA device path, as
shown in the following example.
{0} ok show-disks
a) /pci@500/pci@0/pci@9/scsi@0/disk
b) /pci@500/pci@0/pci@2/pci@0/usb@0,2/storage@5/disk
c) /pci@500/pci@0/pci@2/pci@0/usb@0,2/storage@1/disk
{0} ok select /pci@500/pci@0/pci@9/scsi@0
Waiting for AAC Controller to start: . . Started

4-24 Sun Blade T6320 Server Module Service Manual • June 2009
4. To display additional configuration information, list the device properties by
using the .properties command.
5. Return to the root node by using the unselect-dev command.
Note – At this point, there are no volumes created and the output from a probe-
scsi-all command will not display any drives.
If no errors or issues are discovered, continue to “Creating a Bootable Array With
the RAID 5 Expansion Module” on page 25 to complete the installation process. If
any issues are discovered, correct them and retest the HBA before continuing.
4.6.2 Configuring the RAID 5 Expansion Module
For details, see Appendix B and Appendix C.
{0} ok .properties
firmware-version 15825
assigned-addresses 82e70010 00000000 50000000 00000000 00200000
82e70030 00000000 50200000 00000000 00080000
compatible pciex9005,285.108e.7aac.9
pciex9005,285.108e.7aac
pciex9005,285.9
pciex9005,285
pciexclass,010400
pciexclass,0104
model AAC,285
reg 00e70000 00000000 00000000 00000000 00000000
03e70010 00000000 00000000 00000000 00200000
version 0.00.01
wide 00000010
device_type scsi-2
name scsi
fcode-rom-offset 00011800
interrupts 00000001
cache-line-size 00000010
class-code 00010400
subsystem-id 00007aac
subsystem-vendor-id 0000108e
{0} ok unselect-dev

Chapter 4 Replacing Cold-Swappable Components 4-25
4.6.3 Creating a Bootable Array With the RAID 5
Expansion Module
If you are installing an operating system onto a bootable array, see Appendix B.
4.6.4 Additional Information
For more information, refer to the following documents at:
http://docs.sun.com/app/docs/coll/dsk-cntrl
■Uniform Command-Line Interface User’s Guide, 820-2145
■Sun StorageTek RAID Manager Software User’s Guide, 820-1177
■Sun StorageTek RAID Manager Software Release Notes, 820-2755
For Sun RAID controller drivers, firmware, and utilities including Sun StorageTek
RAID Manager for SPARC (8/4/2008) Version 5.50, go to:
http://support.intel.com/support/motherboards/server/sunraid/
4.7 Removing and Replacing the Sun Blade
G2 RAID 0/1 Expansion Module
Caution – Avoid excess strain on the REM edges. Lift as close to the connector as
possible.
Removing the RAID 0/1 Expansion Module
1. Place your fingers under the RAID expansion module (REM), with each finger
close top the connector (FIGURE 4-14).
2. Lift the card free from the connector.
3. Lift the REM free from the gray plastic standoff.

4-26 Sun Blade T6320 Server Module Service Manual • June 2009
FIGURE 4-14 Removing the RAID Expansion Module
4.7.1 Replacing the RAID 0/1 Expansion Module
1. Place the card under the tabs of the gray plastic standoff (FIGURE 4-15).
2. Press on the rubber button on the top of the card until the connector engages
with the connector on the motherboard (FIGURE 4-15).

Chapter 4 Replacing Cold-Swappable Components 4-27
FIGURE 4-15 Replacing the RAID 0/1 Expansion Module
4.7.2 Verifying the RAID 0/1 Expansion Module
Installation
Refer to the Sun Blade G2 RAID 0/1 Expansion Module Installation Guide (820-5448) for
details.
Note – Check all SAS cables to ensure that they are securely attached and are not
damaged or pinched anywhere along the length of cable.

4-28 Sun Blade T6320 Server Module Service Manual • June 2009
4.8 Finishing Component Replacement
4.8.1 Replacing the Cover
1. Place the cover on the chassis.
Set the cover down so that it hangs over the rear of the server module by about
an inch (2.5 mm).
2. Slide the cover forward until it latches into place (FIGURE 4-16).
FIGURE 4-16 Replacing the Cover
4.8.2 Reinstalling the Server Module in the Chassis
Caution – Hold the server module firmly so that you do not drop it. The server
module weighs approximately 17 pounds (7.7 kg).
1. Turn the server module over so that the ejector levers are on the right side
(FIGURE 4-17).
2. Push the server module into the chassis.
3. Close the latches.

Chapter 4 Replacing Cold-Swappable Components 4-29
■The server module powers on with 3.3v standby power.
■The ILOM software boots.
You can either press the Power button to fully power on the server module, type the
ILOM command start /SYS, command, or use the ALOM-CMT poweron
command.
FIGURE 4-17 Inserting the Server Module in the Chassis

4-30 Sun Blade T6320 Server Module Service Manual • June 2009

A-1
APPENDIX A
Specifications
This appendix discusses the various specifications of the Sun Blade T6320 server
module. Topics covered are:
■Section A.1, “Physical Specifications” on page A-1
■Section A.2, “Motherboard Block Diagram” on page A-3
If you need specifications for the modular system chassis, see the chassis
documentation.
A.1 Physical Specifications
If the server module is placed in an enclosure, ensure that there is adequate airflow
from front to rear.
TABLE A-1 Exterior Dimensions
Depth Width Height Weight
19.56 in.
496.82mm
12.88 in.
327.15 mm
1.75 in.
44.5 mm
17.1 lbs (fully configured)
7.77 kg

A-2 Sun Blade T6320 Server Module Service Manual • June 2009
FIGURE A-1 Server Module Dimensions
A.1.1 System Environmental Specifications
Operating Temperature and Altitude
■Max Temperature at sea level: 35˚ C
■Max Temperature at 10,000ft: 29˚ C
■Maximum altitude: 10,000 ft.
Non-Operating Temperature and Altitude
■Temperature: -40˚ C to 60˚ C
■Maximum altitude: 40,000 ft.
12.88 in.
327.15 mm
19.56 in.
496.82 mm
1.75 in.
44.5 mm

Appendix A Specifications A-3
A.2 Motherboard Block Diagram
FIGURE A-2 Motherboard Block Diagram
T2

A-4 Sun Blade T6320 Server Module Service Manual • June 2009

B-1
APPENDIX B
Creating a Bootable Array With the
Sun Blade RAID 5 Expansion
Module
As an installation option, you can choose to create a bootable array (bootable logical
drive) and then install the Solaris operating system and the HBA driver onto that
array (logical drive). This chapter describes how to set the Sun Blade T6320 to be the
boot controller, and how to create a bootable array on a SPARC system.
Note – This appendix assumes that you are experienced with Solaris network
installs.
Topics include:
■“About Creating a Bootable Array on a SPARC System” on page 2
■“Creating a Bootable Array Task Map” on page 2
■“Modifying the Miniroot Directory On the Install Server” on page 3
■“Modifying the Product Installation Directory on the Install Server” on page 5
■“Building a Logical Drive On Which to Install the Solaris OS” on page 6

B-2 Sun Blade T6320 Server Module Service Manual • June 2009
B.1 About Creating a Bootable Array on a
SPARC System
These instructions describe how to use the Sun Blade RAID 5 Expansion Module to
create boot disks for a SPARC system that will run the Solaris 10 OS with a network
install server. Instructions for creating a bootable array with just the Live CD and no
install server are also included. Creating a bootable array using an install server is
suggested for larger sites.
The SUNWaac driver, which is required by Solaris to communicate with logical
drives created on the Sun Blade RAID 5 Expansion Module, is not present on the
install image. Because of this, you must manually add the driver. Manually adding
the SUNWaac driver is necessary only if you want to boot directly off logical drives
that are presented by the Sun Blade RAID 5 Expansion Module. Disks attached
through a REM must be presented as logical volumes. They cannot be accessed
directly.
B.2 Creating a Bootable Array Task Map
To create a bootable array for a SPARC system that will be running the Solaris 10 OS,
do the following:
1. Install and connect the HBA and disk drives.
See “Replacing or Installing the Sun Blade RAID 5 Expansion Module” on
page 20.
2. Obtain the Live CD from the HBA ship kit or go to:
http://support.intel.com/support/go/sunraid.htm
.
3. To create a bootable array using just the REM and Live CD (no install server),
go to “To Create a Logical Drive Without a Network Install Server” on page 8.
To create a bootable array using the REM, Live CD, and install server (suggested
for larger sites), continue with Step 4.
4. Install and configure a network install server, as described in Solaris 10
Installation Guide: Network Based Installations.
You can obtain this document by performing a search at:
http://docs.sun.com

Appendix B Creating a Bootable Array With the Sun Blade RAID 5 Expansion Module B-3
5. Obtain the following packages from the Live CD or from
http://support.intel.com/support/go/sunraid.htm,
and copy them into a
working directory on the install server:
■SUNWaac
■StorMan
■SUNWgccruntime
Note – When you copy these packages to a working directory, ensure that you use
the recursive copy command (cp -r). The packages are structured in a
directory/file system format, so you need to copy the entire contents.
6. Modify two locations on the network install server:
■The miniroot - The directory on the install server that is mounted as the root
directory on client machines during the client machines’ installation process.
See “Modifying the Miniroot Directory On the Install Server” on page 3.
■The product installation directory - The directory on the network install
server in which all other Solaris products will be installed during the network
install. See “Modifying the Product Installation Directory on the Install Server”
on page 5.
7. Build a logical drive on which to install the Solaris 10 5/08 OS.
See “Building a Logical Drive On Which to Install the Solaris OS” on page 6.
B.3 Modifying the Miniroot Directory On the
Install Server
The miniroot is the Solaris image mounted on / during a network installation, and is
used to provide a Solaris environment to run installation programs within.
To enable configuration of logical drives on the Sun StorageTek SAS RAID Internal
HBA card and to enable booting via the logical drives, you must add three packages
to the miniroot directory:
■SUNWaac - The SUNWaac driver, which is required by the Solaris 10 5/08 OS to
access logical drives.
■SUNWgccruntime - The gcc runtime libraries, which are required by the
command-line interface and the Sun StorageTek RAID Manager graphical user
interface (GUI).

B-4 Sun Blade T6320 Server Module Service Manual • June 2009
■StorMan - The Sun StorageTek SAS RAID Internal HBA utilities package, which
contains the command-line interface and Sun StorageTek RAID Manager GUI.
For information about obtaining these packages, see “Creating a Bootable Array
Task Map” on page 2.
▼To Modify the Miniroot Directory
The examples in this procedure use install_dir_path to refer to the location where
the network install image is located. This is the same directory path that you use
with the setup_install_server command, as described in the Solaris 10
Installation Guide: Network Based Installations.
1. If the install server is running a version of the Solaris OS prior to Solaris 10
5/08, update the server with the appropriate Solaris patch:
■Solaris 10 - patch 137321 (SPARC) or 137322 (x64)
■Solaris 9 - patch 137477 (SPARC) or 137478 (x64)
You can download the patches from http://www.sunsolve.com.You must
install the patch because the SUNWgccruntime package,which is one of the
required packages on the miniroot directory, requires the presence of the p7zip
compression program on the install server. This compression program is included
in the Solaris 10 5/08 OS and in the patches described in this step.
2. Obtain the required packages, as described in “Creating a Bootable Array Task
Map” on page 2.
3. As a root user, log into a SPARC architecture host (install server) from which
you can run the pkgadd commands.
Note – Make sure that the host on which you run the pkgadd commands is a
SPARC architecture host (as opposed to x64). The packages are designed for the
SPARC architecture and might not install correctly from an x64 system.
4. If you are installing the packages directly from the Live CD from the HBA ship
kit, mount the Live CD and use the cd command to change to the Live CD
directory.
5. Use the pkgadd -R command to install the SUNWaac,SUNWgccruntime, and
StorMan packages in the install_dir_path/Solaris_10/Tools/Boot directory.
#cd /cdrom/raid_live/s0/Raid_card

Appendix B Creating a Bootable Array With the Sun Blade RAID 5 Expansion Module B-5
Note – In the following example, the -R flag is directing the pkgadd command to
use an alternate root so that the packages will be installed correctly onto the
miniroot image. When you substitute your own directory path for install_dir_path,be
sure to begin with a /to provide an absolute path name. Also note that -d. (dash d
dot) syntax before the package names.
B.4 Modifying the Product Installation
Directory on the Install Server
The product installation directory is the directory into which all other Solaris products
will be installed during the network install. On the network install server, the
directory is install_dir_path/Solaris_10/Product.
You must place a copy of the SUNWaac package in this product installation directory.
Doing so enables you to add the SUNWaac driver to the client machine after other
Solaris packages have been installed. Without the SUNWaac driver, logical drives,
including boot drives, will not be accessible to the operating system, and booting the
newly installed machine will fail.
▼To Modify the Product Installation Directory
1. Obtain the SUNWaac package, as described in “Creating a Bootable Array Task
Map” on page 2.
2. Use the cp -r command to copy the SUNWaac package from the working
directory to the install_dir_path/Solaris_10/Product directory on the install
server.
#pkgadd -R install_dir_path/Solaris_10/Tools/Boot -d. SUNWaac
#pkgadd -R install_dir_path/Solaris_10/Tools/Boot -d. SUNWgccruntime
#pkgadd -R install_dir_path/Solaris_10/Tools/Boot -d. StorMan
#cp -r SUNWaac install_dir_path/Solaris_10/Product

B-6 Sun Blade T6320 Server Module Service Manual • June 2009
The cp command places the package on a network-mounted directory that will be
available to the install client. However, the command does not install the package.
Installing the package is a manual step that you will perform after the installation of
other Solaris software.
B.5 Building a Logical Drive On Which to
Install the Solaris OS
Before you can install the Solaris OS, you need to build the logical drive (array) on
which to install it. This section contains the following subsections:
■“To Create a Logical Drive Using a Network Install Server” on page 6
■“To Create a Logical Drive Without a Network Install Server” on page 8
■“To Delete a Logical Drive on the REM” on page 9
■“To Label the Newly Created Logical Drive” on page 10
Note – The following procedures provide basic examples of the command-line
interface (CLI). For detailed information about using the CLI, see the Uniform
Command-Line Interface User’s Guide, located at:
http://docs.sun.com/app/docs/prod/stortek.raid.hba
▼To Create a Logical Drive Using a Network
Install Server
1. Ensure that the physical drives are cabled to the internal Sun StorageTek SAS
RAID HBA.
2. From the system console, boot over the network into single user mode.
ok boot net -s

Appendix B Creating a Bootable Array With the Sun Blade RAID 5 Expansion Module B-7
3. At the system prompt, access the command-line interface (CLI), and use the
./arcconf GETCONFIG command to print a list of the complete configuration
of card 1 on the system.
In the following example, note that the CLI is located in the /opt/StorMan
directory, and the name of the CLI is aarconf. All commands must start with ./
unless you have altered the path to include /opt/StorMan in it.
Note – Ignore any “failing to write to log files” messages that might be displayed
after running the command. The command will run successfully and will provide a
list of physical disks, card status, and logical disks. The list might be long if you
have many physical disks.
4. Create a logical drive on the REM, using RAID 5 and all space on disks 0,2 0,3
and 0,4, run the CREATE command as shown in the following example.
Note – After using the CREATE command, you will see error messages like the one
shown in the next example. This is because you are working on a read-only file
system and certain links cannot be created. However, if the last message says
“Command completed successfully”, the logical drive is created.
5. Perform the necessary tasks to configure the drive. Such tasks might include
the following:
■Labeling the drive
■Partitioning the drive
■Preparing a file system
■Installing data from backups or recovering data from RAID capabilities
#cd /opt/StorMan
#./arcconf GETCONFIG 1
#./arcconf CREATE 1 LOGICALDRIVE MAX 5 0 2 0 3 0 4
Creating logical device: Device 2
devfsadm: mkdir failed for /dev 0x1ed: Read-only file system
WARNING: /pci@7c0/pci@0/pci@8/scsi@0/sd@2,0 (sd2):
Corrupt label; wrong magic number
devfsadm: inst_sync failed for /etc/path_to_inst.117: Read-only file system
devfsadm: WARNING: failed to update /etc/path_to_inst
Command completed successfully.

B-8 Sun Blade T6320 Server Module Service Manual • June 2009
■Bringing the drive online
These tasks are covered in the Solaris OS administration documentation. For
additional drive verification, use SunVTS. Refer to the SunVTS and Solaris
documentation at http://docs.sun.com for details.
▼To Create a Logical Drive Without a Network
Install Server
Note – This procedure is supported on Sun Blade T6320 Server Modules released
after July 2009. For Sun Blade T6320 Server Modules released before July 2009, an
external CDROM device with a USB connection is required.
1. Using ILOM, obtain the IP address of the system console from the blade server:
2. Type the IP address in the browser interface and select the Remote Control tab
and the Launch Redirection option.
3. Insert the Live CD in the blade server you are working on, then select
Devices/CDROM.
4. Insert the path to your CDROM drive.
5. On the host system, type the following from the OpenBoot PROM prompt and
follow the directions:
6. At the system prompt, access the command-line interface (CLI), and use the
./arcconf GETCONFIG command to print a list of the complete configuration
of card 1 on the system.
In the following example, note that the CLI is located in the /opt/StorMan
directory, and the name of the CLI is aarconf. All commands must start with ./
unless you have altered the path to include /opt/StorMan in it.
sc> shownetwork
SC network configuration is:
IP Address: 10.6.214.63
Gateway address: 10.6.214.1
Netmask: 255.255.255.0
Ethernet Address: 00:14:4F:E5:AD:6B
ok boot cdrom
#cd /opt/StorMan
#./arcconf GETCONFIG 1

Appendix B Creating a Bootable Array With the Sun Blade RAID 5 Expansion Module B-9
Note – Ignore any “failing to write to log files” messages that might be displayed
after running the command. The command will run successfully and will provide a
list of physical disks, card status, and logical disks. The list might be long if you
have many physical disks.
7. Create a logical drive on the REM, using RAID 5 and all space on disks 0,2 0,3
and 0,4.
Run the CREATE command as shown in the following example.
Note – After using the CREATE command, you will see error messages like the one
shown in the next example. This is because you are working on a read-only file
system and certain links cannot be created. However, if the last message says
“Command completed successfully”, the logical drive is created.
8. To label the logical drive, see “To Label the Newly Created Logical Drive” on
page 10.
▼To Delete a Logical Drive on the REM
You might need to free up some space in order to create the logical drive on which
the Solaris OS will be installed. You can do so by deleting existing logical drives.
Caution – Using the command in this procedure will destroy all data on the
specified logical drive. Be very careful when using this command to prevent
unintentional data loss.
#./arcconf CREATE 1 LOGICALDRIVE MAX 5 0 2 0 3 0 4
Creating logical device: Device 2
devfsadm: mkdir failed for /dev 0x1ed: Read-only file system
WARNING: /pci@7c0/pci@0/pci@8/scsi@0/sd@2,0 (sd2):
Corrupt label; wrong magic number
devfsadm: inst_sync failed for /etc/path_to_inst.117: Read-only file system
devfsadm: WARNING: failed to update /etc/path_to_inst
Command completed successfully.

B-10 Sun Blade T6320 Server Module Service Manual • June 2009
●To delete a logical drive on the REM, use the DELETE card-number
LOGICALDRIVE drive-number command.
In this example, xis the number of the logical drive that you want to delete.
▼To Label the Newly Created Logical Drive
Before the Solaris OS can install software onto the newly created logical drive, you
must label the drive.
1. Use the ./arcconf GETCONFIG card-number LD command to display the logical
drives on the REM.
2. Use the devfsadm command to find the newly created drive and load its
drivers.
3. To label the newly created drive, use the format command and select the
logical drive.
You can distinguish the logical REM drives in the output by looking at the
vendor/product ID string. The Sun StorageTek SAS RAID HBA card is displayed
as “Sun-STKRAID.” The last part of the string will display “EXT” (for external) or
“INT” (for internal), depending on the type of card you have.
#./arcconf DELETE 1 LOGICALDRIVE x
#./arcconf GETCONFIG 1 LD
#devfsadm

Appendix B Creating a Bootable Array With the Sun Blade RAID 5 Expansion Module B-11
4. When the format process displays the Disk not labeled. Label it now?
prompt, type yand press Enter.
5. Exit the format process by typing quit and pressing Enter.
You now have a labeled logical drive.
6. Use the init 0 command, switch to the ok prompt, and use the boot net
command to reboot the system for normal network-based installation.
B.6 Next Steps
Install the Solaris OS and the HBA driver onto the bootable array, as described in
Appendix C.
#format
Searching for disks...done
AVAILABLE DISK SELECTIONS:
0. c0t0d0 <SUN72G cyl 14087 alt 2 hd 24 sec 424>
/pci@780/pci@0/pci@9/scsi@0/sd@0,0
1. c0t1d0 <SUN72G cyl 14087 alt 2 hd 24 sec 424>
/pci@780/pci@0/pci@9/scsi@0/sd@1,0
2. c2t0d0 <Sun-STKRAIDINT-V1.0 cyl 17818 alt 2 hd 255 sec 63>
/pci@7c0/pci@0/pci@8/scsi@0/sd@0,0
3. c2t1d0 <Sun-STKRAIDINT-V1.0 cyl 8907 alt 2 hd 255 sec 63>
/pci@7c0/pci@0/pci@8/scsi@0/sd@1,0
Specify disk (enter its number): 2
#init 0
# syncing file systems... done
Program terminated
r)eboot, o)k prompt, h)alt?
o
ok boot net

B-12 Sun Blade T6320 Server Module Service Manual • June 2009
B.6.1 Additional Information
For more information, refer to the following documents at:
http://docs.sun.com/app/docs/coll/dsk-cntrl
■Uniform Command-Line Interface User’s Guide, 820-2145
■Sun StorageTek RAID Manager Software User’s Guide, 820-1177
■Sun StorageTek RAID Manager Software Release Notes, 820-2755
■Sun StorageTek SAS RAID HBA Installation Guide Eight-Port, Internal HBA
http://docs.sun.com/app/docs/doc/820-1847-17
For Sun RAID controller drivers, firmware, and utilities including Sun StorageTek
RAID Manager for SPARC (8/4/2008) Version 5.50, go to:
http://support.intel.com/support/motherboards/server/sunraid/

C-1
APPENDIX C
Installing the Solaris OS and the
RAID 5 Expansion Module Driver
If you chose to create a bootable array as part of your installation (see Appendix B),
you can install the Solaris operating system (OS) and the REM driver on that
bootable array.
This appendix explains how to install the Solaris OS onto a bootable array (logical
drive) and then install the REM driver on the array (logical drive).
Note – This appendix assumes you are experienced with Solaris network installs.
Topics include:
■“Preparing to Install the Solaris OS” on page 1
■“Installing the RAID 5 Expansion Module Driver With the Solaris OS” on page 2
■“Next Steps” on page 4
C.1 Preparing to Install the Solaris OS
Before you begin, prepare to install the Solaris operating system.
▼To Prepare to Install the Solaris OS
●Complete the procedures in Appendix B.

C-2 Sun Blade T6320 Server Module Service Manual • June 2009
Note – For up-to-date Sun StorageTek SAS RAID HBA support, go to
http://support.intel.com/support/go/sunraid.htm
.
C.2 Installing the RAID 5 Expansion Module
Driver With the Solaris OS
This section contains the following subsection:
■“To Install the RAID 5 Expansion Module Driver With the Solaris OS” on page 2
▼To Install the RAID 5 Expansion Module Driver
With the Solaris OS
1. Obtain the Solaris 10 5/08 OS and perform a normal network installation, as
described in the Solaris 10 Installation Guide: Network-Based Installations, until you
encounter the prompt, Reboot After Installation?.
Note – Do NOT select Auto Reboot at this point in the network installation
process.
2. Specify that you want to perform a Manual Reboot.
Specifying a manual reboot provides you with the opportunity to install the HBA
driver after all other Solaris software is in place. Without this driver, subsequent
reboots will fail.
Note – If you accidentally choose Auto Reboot, you can still install the HBA
driver prior to reboot. From an ok prompt, you can use the boot net -s
command to boot from the network into single-user mode and then install the
driver.
3. Use the df command to verify the following:
■The product install directory is mounted on /cdrom from the network install
server.

Appendix C Installing the Solaris OS and the RAID 5 Expansion Module Driver C-3
■The logical drive onto which you need to place the driver package is mounted
on /a.
/a is the standard Solaris mount point for the disk on which the OS is being
installed.
4. If the product install directory and the logical drive are not mounted, manually
mount them.
Note – With this example, you must substitute the correct host names, directory
paths, and device paths in your environment.
5. Apply the HBA driver package, SUNWaac.
6. Apply any patches that are specifically required for the system.
7. Reboot the system.
The system will now be able to see, and boot from, the logical drive on which you
installed the Solaris OS.
Note – You might want to keep the network install server intact for re-installing or
for emergency recovery, because as of Solaris 10 5/08, the SUNWaac driver is not
included on standard Solaris install media. Using the boot net -s command from
the ok prompt enables you to perform maintenance on the system, while a Solaris
CD will not let you do so. You might also want to install the StorMan package on a
running system. This enables you to have access to the GUI and command-line
interface for the Sun StorageTek SAS RAID Internal HBA card, to configure or
monitor disks.
#mount /dev/dsk/c2t0d0s0 /a (for the logical drive)
#mount install_host:install_dir_path /cdrom (for the install server products)
#cd /cdrom/Solaris_10/Product
#pkgadd -R /a -d. SUNWaac
#reboot

C-4 Sun Blade T6320 Server Module Service Manual • June 2009
C.3 Next Steps
You can optionally install and use the Sun StorageTek RAID Manager GUI to create
arrays on the disk enclosure. See the Sun StorageTek RAID Manager User’s Guide at:
http://docs.sun.com/app/docs/prod/stortek.raid.hba
C.3.1 Additional Information
For more information, refer to the following documents at:
http://docs.sun.com/app/docs/coll/dsk-cntrl
■Uniform Command-Line Interface User’s Guide, 820-2145
■Sun StorageTek RAID Manager Software User’s Guide, 820-1177
■Sun StorageTek RAID Manager Software Release Notes, 820-2755
■Sun StorageTek SAS RAID HBA Installation Guide Eight-Port, Internal HBA
http://docs.sun.com/app/docs/doc/820-1847-17
For Sun RAID controller drivers, firmware, and utilities including Sun StorageTek
RAID Manager for SPARC (8/4/2008) Version 5.50, go to:
http://support.intel.com/support/motherboards/server/sunraid/

D-1
APPENDIX D
XVR-50 Graphics Accelerator
This appendix discusses the XVR-50 Graphics Accelerator Topics covered are:
■Section D.1, “Features” on page D-1
■Section D.2, “Video Formats” on page D-2
■Section D.3, “Sun OpenGL for Solaris Software” on page D-3
■Section D.4, “Man Pages” on page D-3
■Section D.5, “Optional Video Output” on page D-4
■Section D.6, “Default Color Depth” on page D-4
■Section D.7, “Checking Device Configuration” on page D-5
■Section D.8, “HD15 Video Output Port” on page D-6
D.1 Features
The XVR-50 graphics accelerator is a 24-bit on-board PCI-based graphics frame
buffer. The XVR-50 graphics accelerator offers the following features:
■2D 24-bit color graphics
■Flexible 8-bit and 24-bit color application support
■HD15 monitor connector for a wide range of Sun monitors
■3D support through Sun OpenGL®for SolarisTM software

D-2 Sun Blade T6320 Server Module Service Manual • June 2009
D.2 Video Formats
TABLE D-1 lists the monitor video formats supported by the XVR-50 graphics
accelerator.
●To get a list of available screen resolutions for your display device, type:
If you have selected a resolution where support for this resolution cannot be
verified, fbconfig displays the following output:
TABLE D-1 lists video formats supported by the HD15 port.
host% fbconfig -res \?
SUNWpfb_config: Cannot verify that selected resolution is a supported
video resolution for this monitor
TABLE D-1 XVR-50 Graphics Accelerator HD15 Video Formats
Display
Resolution Vertical Refresh Rate Sync Standard
Aspect Ratio
Format
1600 x 1200 60 Hz VESA 4:3
1600 x 1000 66, 76 Hz Sun 16:10
1440 x 900 60 Hz VESA 16:10
1440 x 900 76 Hz Sun 16:10
1280 x 1024 60, 75, 85 Hz VESA 5:4
1280 x 1024 67, 76 Hz Sun 5:4
1280 x 800 76 Hz Sun 16:10
1152 x 900 66, 76 Hz Sun 5:4
1152 x 864 75 Hz VESA 4:3
1024 x 768 60, 70, 75, 85 Hz VESA 4:3
800 x 600 56, 60, 72, 75 Hz VESA 4:3
720 x 400 85 Hz VESA 9:5
640 x 480 60, 72, 75 Hz VESA 4:3

Appendix D XVR-50 Graphics Accelerator D-3
Note – The XVR-50 graphics accelerator video composite sync is an XOR composite
sync.
Note – Not all resolutions are supported by all monitors. Using resolutions that are
not supported by the monitor may damage the monitor. Please refer to your monitor
manuals for supported resolutions.
The default resolution is dictated either by EDID information from the connected
monitor or by the console resolution that is set (see TABLE D-1). When no monitor is
connected to supply EDID information, the default resolution is 1024 x 768 @ 75 Hz.
D.3 Sun OpenGL for Solaris Software
The Sun OpenGL 1.5 for Solaris software supports the XVR-50 graphics accelerator
through software implementation.
D.4 Man Pages
The XVR-50 graphics accelerator man pages describe how you can query and set
frame buffer attributes such as screen resolutions and visual configurations.
Use the fbconfig(1M) man page for configuring all Sun graphics accelerators.
SUNWpfb_config(1M) contains XVR-50 device-specific configuration information.
To get a list of all graphics devices on your system, type:
This example shows a list of graphics devices displayed:
host% fbconfig -list
Device-Filename Specific Config Program
--------------- -----------------------
/dev/fbs/pfb0 SUNWpfb_config

D-4 Sun Blade T6320 Server Module Service Manual • June 2009
Type the fbconfig -help option to display the attributes and parameters
information of the man page.
●To access the fbconfig man page, type:
●To access the XVR-50 graphics accelerator man page, type:
D.5 Optional Video Output
The default system uses a resolution suggested by the monitor as long as the
monitor is connected to power and connected to the XVR-50 video port. This is the
default the system uses if no fbconfig commands have been given, or after
entering fbconfig -dev pfb0 -defaults.
To manually set up a video output resolution, do the following:
8. Set the desired screen resolution. For example, type:
9. Log out, then log in.
To find all possible XVR-50 graphics accelerator resolutions, type:
D.6 Default Color Depth
1. Set or reset the default color depth.
host% fbconfig -dev pfb0 -help
host% man fbconfig
host% man SUNWpfb_config
host% fbconfig -dev pfb0 -res 1280x1024x60
host% fbconfig -dev pfb0 -res \?

Appendix D XVR-50 Graphics Accelerator D-5
To set 8 or 24 as the default color depth, type /usr/sbin/svccfg.
The default color depth is 24.
2. Log out and then log back in for the change to take effect.
D.7 Checking Device Configuration
Type fbconfig to check the X window system (-propt) and XVR-50 graphics
accelerator (-prconf) device configuration values.
The fbconfig -propt option displays the values of all options (for the specified
device) saved in the OWconfig file (see below for an example). These are the values
the X window system will use the next time it starts on that device:
/usr/sbin/svccfg -s x11-server setprop options/default_depth=8
/usr/sbin/svccfg -s x11-server setprop options/default_depth=24
host% fbconfig -dev pfb0 -propt
-- Graphics Configuration for /dev/fbs/pfb0 ---
OWconfig: machine
Video Mode: not set
Screen Information:
Fake8 Rendering: Disable
Gamma Correction: Disable

D-6 Sun Blade T6320 Server Module Service Manual • June 2009
fbconfig -prconf option displays the current XVR-50 graphics accelerator device
configuration (see below for an example). If certain values differ from those
displayed in -propt, it is because those values have been configured since the X
window system started.
D.8 HD15 Video Output Port
The HD15 connector diagram and pinout signals are shown in Section C.3, “HD15
Video Output Connector” on page C-5.
host% fbconfig -dev pfb0 -prconf
--- Hardware Configuration for /dev/fb ---
Type: XVR-50
ASIC: version 0x515e REV: version 0x3000002
Monitor/Resolution Information:
Monitor Manufacturer: SUN
Product code: 1431
Serial #: 0
Manufacture date: 2006, week 24
Monitor dimensions: 34x27 cm
Monitor preferred resolution: SUNW_STD_1280x1024x60
Separate sync supported: yes
Composite sync supported: yes
Gamma: 2.20
EDID: Version 1, Revision 3
Supported resolutions: SUNW_STD_1280x1024x60,
VESA_STD_1280x1024x60, VESA_STD_1280x1024x75,
SUNW_STD_1152x900x66, VESA_STD_1024x768x75,
VESA_STD_720x400x70, VESA_STD_640x480x60, VESA_STD_640x480x67,
VESA_STD_640x480x72, VESA_STD_640x480x75, VESA_STD_800x600x56,
VESA_STD_800x600x60, VESA_STD_800x600x72, VESA_STD_800x600x75,
VESA_STD_832x624x75, VESA_STD_1024x768x70,
VESA_STD_1024x768x75, VESA_STD_1280x1024x75, APPLE_1152x870x75,
1152x870x75
Current resolution setting: 1280x1024x60
Current depth: 24
Depth Information:
Possible depths: 8, 24

Index-1
Index
A
advanced ECC technology, 2-11
Advanced Lights Out Management (ALOM) CMT
and POST, 2-32
antistatic mat, 4-3
antistatic wrist strap, 4-2
architecture designation, 1-6
ASR blacklist, 2-49
asrkeys, 2-50
asrkeys, 2-49
Automatic System Recovery (ASR), 2-48
B
battery, service processor
FRU name, 1-7
replacing, 4-18
blacklist, ASR, 2-49
button
Locator, 4-6
Power, 2-15
C
cfgadm command, 3-2, 3-5
chassis
illustration, 1-2
reinstalling server, 4-28
chipkill, 2-11
clear_fault command, 2-47
clear_fault_action, ILOM command, 2-18
clearasrdb command, 2-49
clearfault, ALOM-CMT command, 2-18
clearing POST detected faults, 2-39
clearing PSH detected faults, 2-45
clock settings, 4-20
common procedures for parts replacement, 4-3
component, replaceable, 1-7
component_state=enabled, ILOM
command, 2-18
components, disabled, 2-49, 2-50
components, displaying the state of, 2-49
connector locations, 1-3
connector, front panel, 1-3
cooling, 1-6
cores, 1-9
cover, removing, 4-10
cover, replacing, 4-28
D
defaults, resetting, 2-56
device configuration, checking
-prconf, D-6
-propt, D-5
diag_level parameter, 2-32, 2-34
diag_mode parameter, 2-32, 2-34
diag_trigger parameter, 2-32, 2-34
diag_verbosity parameter, 2-32, 2-34
diagnostics
about, 2-2
flowchart, 2-4
low level, 2-31
running remotely, 2-16
SunVTS, 2-51

Index-2 Sun Blade T6320 Server Module Service Manual • June 2009
DIMMs, 1-8
example POST error output, 2-38
installation rules, 2-8
interleaving, 2-8
replacing, 4-14
troubleshooting, 2-11
disabled component, 2-50
disabling components with ILOM, 2-49
disk configuration
RAID, 1-10
striping, 1-10
disk drives see hard drives
displaying FRU status, 2-27
dmesg command, 2-48
Drive Ready to Remove LED, 2-14
dynamic FRU and ALOM, 2-27
E
EEPROM, system configuration, 4-16
electrostatic discharge (ESD) prevention, 4-2
enablecomponent command, 2-41, 2-49
enabling components with ILOM, 2-49
environmental faults, 2-5, 2-18, 2-21
Ethernet MAC addresses, 4-16
Ethernet ports
LEDs, 2-16
specifications, 1-6
event log, checking the PSH, 2-44
F
factory defaults, 2-56
fan status, displaying, 2-24
fault manager daemon, fmd(1M), 2-42
fault message ID, 2-22
fault records, 2-46
faults
clearing with PSH, 2-46
environmental, 2-5
ILOM handling, 2-16
POST detected, 2-21
recovery, 2-17
repair, 2-18
fbconfig, D-3
-list, D-3
man page, D-3, D-4
-prconf, D-6
-propt, D-5
features, server module, 1-1
field-replaceable units (FRUs) also see FRUs, 4-1
fmadm command, 2-46
fmadm faulty command, 2-43
fmadm faulty command, 2-46
fmdump command, 2-44
front panel
LED status, displaying, 2-24
LEDs, 2-12
FRU
replacement, common procedures, 4-3
status, displaying, 2-27
FRU ID PROMs, 2-16
FRUs
hot-swapping, 3-1
G
graphics accelerator specifications, D-1
H
hard drives
hot-plugging, 3-1
identification, 3-2
latch release button, 3-3
mirroring, 1-10
replacing, 3-2
replacing or installing, 3-4
specifications, 1-5, 1-8
status, displaying, 2-24
HDD (hard drive FRU names), 1-8
host console, switching to ILOM console, 4-5
host ID, 4-16
hot-plugging hard drives, 3-1
hot-swapping FRUs, 3-1
I
I/O port, front panel, 1-6
identifying the chassis, 1-11
ILOM see Integrated Lights Out Management
Integrated Lights Out Management, 2-16
K
knowledge database, PSH, 1-14, 2-43

Index-3
L
latch release button, hard drive, 3-3
LEDs
descriptions, 2-12, 2-14
Ethernet port (chassis), 2-16
OK, 2-5
system, interpreting, 2-12
locating the server for maintenance, 4-6
locating the server module, 2-14
Locator LED, 4-6
log files, viewing, 2-48
M
MAC address label, 1-11
man pages, D-3
fbconfig, D-3
SUNWpfb_config, D-3, D-4
memory
configuration, 2-7
fault handling, 2-7
overview, 1-5
message ID, 2-42, 2-44
messages file, 2-47
mirrored disk, 1-10
MSG-ID, online, 1-14, 2-43
N
NVRAM, system controller PROM, 4-16
O
OK LED, 2-5, 2-14
operating state, determining, 2-14
P
parts, replaceable, 1-7
parts, replacement see FRUs
password
root, 2-56
PCI EM, adding, 3-5
PCI ExpressModules, adding, 3-5
platform name, 1-6
POST
detected faults, 2-5
reasons to run, 2-31
POST detected faults, 2-21
POST see also power-on self-test (POST), 2-31
Power button, 2-15
power supply, 1-6
power supply status, displaying, 2-24
powering off the system, 4-5
power-on self-test (POST), 2-5
about, 2-31
ALOM CMT commands, 2-32
configuration flowchart, 2-33
error message example, 2-38
error messages, 2-38
fault clearing, 2-39
faulty components detected by, 2-39
memory faults and, 2-11
parameters, changing, 2-34
reasons to run, 2-31
setting with ILOM CLI, 2-21
setting with ILOM web interface, 2-19
troubleshooting with, 2-6
power-on, standby, 4-29
-prconf, D-6
Predictive Self-Healing (PSH)
about, 2-42
clearing faults, 2-45, 2-46
knowledge database, 1-14, 2-43
memory faults and, 2-11
Sun URL, 2-43
preinstalled software, -xi, -xii
procedures for finishing up, 4-28
procedures for parts replacement, 4-3
processor, 1-9
processor description, 1-5
product notes, -xi
PROM, system configuration, 4-16
-propt, D-5
PSH detected faults, 2-21
PSH see also Predictive Self-Healing (PSH), 2-42
R
RAID (redundant array of independent disks)
storage configurations, 1-10
RAID expansion module replacement, 4-20, 4-25
REM replacement, 4-20, 4-25
remote management, 1-6
Remote Power Control in ILOM, 4-6

Index-4 Sun Blade T6320 Server Module Service Manual • June 2009
reset /SYS command, 2-38
reset button, 2-15
resolutions, D-2
S
safety information, 4-1
safety symbols, 4-2
screen resolutions, D-2
serial number
finding, 1-11
server module, 1-11
server module
locating, 2-14
serial number, 1-11
specifications, A-1
Service Action Required LED, 2-14, 2-16, 2-41
service information resources, 1-14
service mode, 2-31
service processor
battery, 4-18
description, 1-7
service processor and ILOM, 2-2
service resources, 1-14
set /HOST/diag command and POST, 2-21
set /SP/clock datetime command and
POST, 4-20
set /SYS/component component_state=disabled
command, 2-49
set /SYS/component component_state=enabled
command, 2-49
set /SYS/LOCATE command, 2-14
set /SYS/PS0 prepare_to_remove_action=
true command, 4-6
set component_state=enabled command, 2-
41
setkeyswitch parameter, 2-32, 2-34
show /SP/faultmgmt command, 2-5, 2-22, 2-23
troubleshooting with, 2-5
show /SYS command, 2-50
show /SYS/MB command, 2-28
showcomponent command, 2-49
showenvironment command, 2-24
showfru command, 2-27, 2-29
showplatform command, 1-11
shutting down the system, 4-3
software, preinstalled, -xi, -xii
Solaris log files, 2-5
Solaris OS, collecting diagnostic information
from, 2-47
Solaris Predictive Self-Healing (PSH) detected
faults, 2-5
specifications, A-1
standby power, 4-29
state of server module, 2-14
stop /SYS command, 4-6
striping disks, 1-10
striping support, 1-10
Sun XVR-50 graphics accelerator
man pages, D-3
video formats, HD15, D-2
SunSolve online, 1-14
SunVTS, 2-5
running, 2-52
tests, 2-54
user interfaces, 2-51, 2-52, 2-54, 2-55
SUNW-MSG-ID, online, 1-14, 2-43
SUNWpfb_config, D-3, D-4
SYS/MB (server module FRU name), 1-8
SYS/MB/CMPx/BRx/CHx/Dx (DIMM FRU
name), 1-8
SYS/MB/REM (RAID expansion module FRU
name), 1-7
SYS/SP (service processor FRU name), 1-7
SYS/SP/BAT (service processor battery FRU
name), 1-7
syslogd command, 2-47
syslogd daemon, 2-48
system configuration PROM, 4-16
system console, switching to ILOM console, 4-5
system controller card
removing, 4-15
replacing, 4-17
system controller, see service processor, 4-15
system status LEDs
interpreting, 2-12
system temperatures, displaying, 2-24
T
tools required, 4-3
troubleshooting

Index-6 Sun Blade T6320 Server Module Service Manual • June 2009



