9092735 Charger 2717 DB Illustrated Parts Book Nss Walk Behind Floor Burnisher Manual
2016-12-21
: Sweepscrub Nss-Charger-2717-Db-Walk-Behind-Floor-Burnisher-Parts-Manual nss-charger-2717-db-walk-behind-floor-burnisher-parts-manual 1606 file product_file
Open the PDF directly: View PDF
.
Page Count: 16

PARTS LIST
CHARGER 2717 DB
ORIGINALINSTRUCTIONS

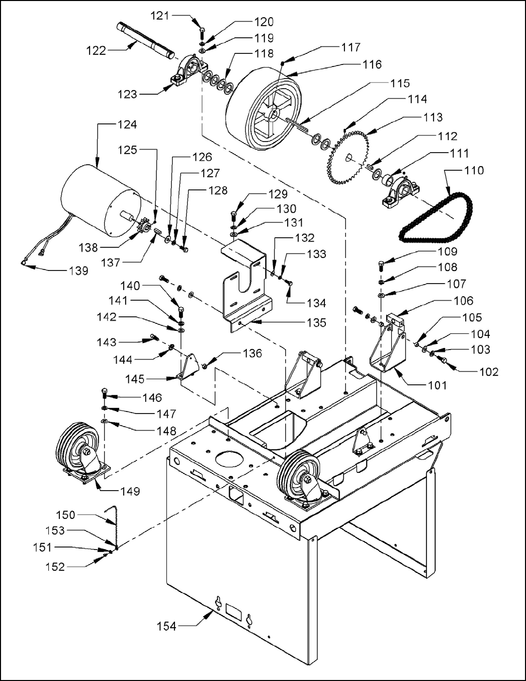
2
CHASSIS AND DRIVE ASSEMBLY
ITEMPARTNO.DESCRIPTIONQTY
1016498051AXLE
/
PIVOTMOUNT 2
10291222603
/
8‐16X1HEXBOLT‐PACKOF2 4
10391221003
/
8SPLITLOCKWASHER ‐PACKOF10 4
104912218013
/
32X13
/
16X.051THICKWASHER‐ PACKOF10 4
1052691181PIVOTSPACER
,
STABILIZERBAR 4
1066495891PIVOT2
107912218013
/
32X13
/
16X.051THICKWASHER‐ PACKOF10 4
10891221003
/
8SPLITLOCKWASHER‐ PACKOF10 4
10991222603
/
8‐16X1HEXBOLT‐PACKOF5 4
1102694069#40ROLLERCHAIN57LINKSWITHMASTER 1
2694081 #40ROLLERCHAIN57LINKSNOMASTER 1
2795211 LINK‐MASTER#40CHAINNICKELPLATED 1
2795221 HALFLINK
(
OFFSETLINK
)
1
1112692271DRIVEWHEELSPACER1”1.0X.6875 1
11291213101
/
4SQUAREX7
/
8LONGKEY‐ STEEL‐ PACKOF2 1
1132694051DRIVENSPROCKET#34TEETH 1
11491208501
/
4‐20X5
/
16SETSCREW‐ KNURLPOINT‐ PACKOF2 2
11591213171
/
4SQUAREX33
/
4LONGKEY‐ PACKOF2 1
116649652110INCHDRIVEWHEEL
(
GREYRUBBER
)
1
11791213805
/
16‐18X3
/
8SETSCREW‐ KNURLPOINT‐ PACKOF2 2
11865905211I.D.X1.5O.D.X.13THICKFLATWASHER‐ 10GA 8
119912218013
/
32X13
/
16X.051THICKWASHER‐ PACKOF10 4
12091221003
/
8SPLITLOCKWASHER‐ PACKOF10 4
12191223003
/
8‐16X11
/
4HEXBOLT‐ PACKOF2 4
1223392571AXLE
,
DRIVEWHEEL1
1233393121PILLOWBLOCKBEARINGSTRAIGHTZERK 2
1242790101DRIVEMOTOR36VOLT 1
12591208501
/
4‐20X5
/
16SETSCREW‐ KNURLPOINT‐ PACKOF2 2
12691214003
/
8I.D.7
/
8O.D.WROUGHTWASHER5
/
16‐ PACKOF10 1
12791215205
/
16SPLITLOCKWASHER‐ PACKOF10 1
12891216405
/
16‐18X3
/
4HEXBOLT‐ PACKOF5 1
12991222603
/
8‐16X1HEXBOLT‐PACKOF5 3
13091221003
/
8SPLITLOCKWASHER‐ PACKOF10 3
131912218013
/
32X13
/
16X.051THICKWASHER‐ PACKOF10 3
13291209309
/
32I.D.X5
/
8O.D.FLATWASHER
(
1
/
4
)
‐ PACKOF10 4
13391208801
/
4SPLITLOCKWASHER‐ PACKOF10 4
13491212501
/
4‐20X3
/
4HEXBOLT‐ PACKOF10 4
1356497291DRIVEMOTORMOUNT 1
13691214205
/
16‐18HEXNUT‐PACKOF10 2
13727926811
/
4”X1
/
4”X1”MOTORKEY 1
1382695011DRIVESPROCKET
,
MOTORWITHSETSCREW 1
13926905811
/
4SPADEMALETERMINAL10‐12AWG
,
YELLOW 2
14091222603
/
8‐16X1HEXBOLT‐PACKOF5 4
14191221003
/
8SPLITLOCKWASHER‐ PACKOF10 4
142912218013
/
32X13
/
16X.051THICKWASHER‐ PACKOF10 4
1436496541BALLSTUD‐GASSPRINGMOUNT 2
14491214105
/
16EXTERNALSTARLOCKWASHER‐ PACKOF10 2
1456497201GASSPRINGMOUNT2
14691222603
/
8‐16X1HEXBOLT‐PACKOF5 8
14791221003
/
8SPLITLOCKWASHER‐ PACKOF10 8
148912218013
/
32X13
/
16X.051THICKWASHER‐ PACKOF10 8
14933945716”X2”MAROONCASTERASSEMBLY 2
1506491860ROUNDBEADCHAIN‐CUTTO8” .7’
1519120330#10EXTERNALSTARLOCKWASHER‐ PACKOF10 1
152912038010‐24X3
/
8ROUNDHEADPHILLIPSMACHINESCREW‐ PACKOF101
1536491871ENDCOUPLINGROUNDBEADCHAIN 1
1546497061CHASSIS
/
BODY1

3
CHASSIS AND DRIVE ASSEMBLY

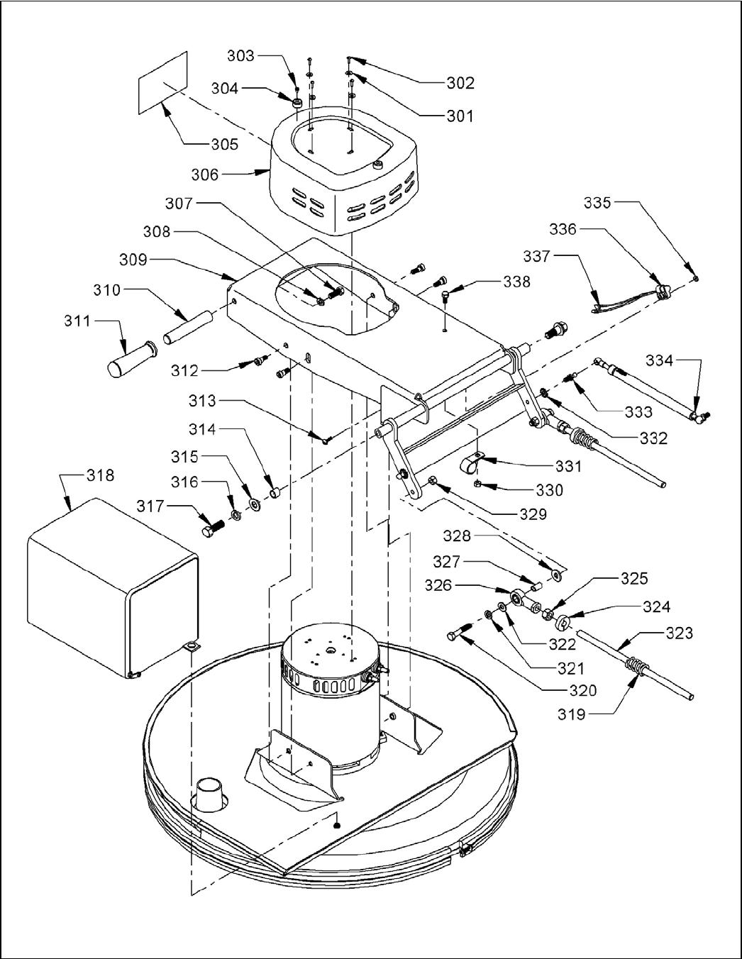
4
HEAD ASSEMBLY
ITEMPARTNO.DESCRIPTIONQTY
2015990731SPRINGCLIPPADHOLDERSET‐ INCLUDES: 1
201A9120205 8X1
/
2PANHEADPHILLIPSSHEETMETALSCREW‐ PACKOF33
20291214905
/
16‐24X7
/
8HEXBOLT‐ PACKOF2 1
20391215205
/
16SPLITLOCKWASHER‐ PACKOF10 1
204912198513
/
32I.D.X1O.D.X.12THICKFLATWASHER11GAGE‐ PACKOF11
20591208273
/
16SQUAREX1”LONGKEY‐ STEEL‐ PACKOF2 1
2066499781DRIVER
,
27”FLEX‐LOCPAD 1
20791209801
/
4‐20X1SOCKETHEADCAPSCREW‐ PACKOF5 3
20891208801
/
4SPLITLOCKWASHER‐ PACKOF10 3
20991209501
/
4X11
/
4FENDERWASHER‐ PACKOF10 3
2106496519FLEXIWALLSHIELD27ASSEMBLY‐ INCLUDES: 1
210A6592531 BUMPER
/
BRUSH27” 1
210B6592552 BUMPERSTRAP27 1
210C9120350 10‐24HEXNUTWITHNY‐LOCKINSERT‐ PACKOF10 1
210D9120450 10‐24X1ROUNDHEADPHILLIPSMACHINESCREW‐ PACKOF101
2119997590METALCOREQUICKEDGETRIM‐ CUTTO67” 5.6’
2126496721MOTOR‐36VOLT
,
2100RPM
,
3.6HP 1
2137692421TERMINALBOOT
(
RED
)
1
21491214105
/
16EXTERNALSTARLOCKWASHER‐ PACKOF10 2
2156496621STEELSKIRT‐27”1
2166496881STUDWITH#10‐32X3
/
8
,
FILTERBAG 1
217912066010‐32XHEXNUTWITHNY‐LOCKINSERT‐ PACKOF10 1

5
HEAD ASSEMBLY

6
HEAD ARM ASSEMBLY
ITEMPARTNO.DESCRIPTIONQTY
301912060010‐24X1
/
2PANHEADPHILLIPSTHREADCUTTINGSCREW‐PACKOF10 4
30291203707
/
32I.D.X1
/
2O.D.X.032
/
.065THICKFLATWASHER
(
#10
)
‐PACKOF10 4
30391202058X1
/
2PANHEADPHILLIPSSHEETMETALSCREW‐ PACKOF32
3046793371RUBBERFOOT2
3050393531NSSLOGODECAL‐3.5X4.0 1
3066496641MOTORCOVER1
30791222603
/
8‐16X1HEXBOLT‐ PACKOF2 1
30891221003
/
8SPLITLOCKWASHER‐ PACKOF10 1
3096497551ARM‐27BRUSHASSEMBLY 1
3106496651GRIPBASE1
3113392901HANDLEGRIP1
31291220203
/
8X3
/
8SOCKETHEADSHOULDERBOLT‐ PACKOF1 4
313912053010‐24X7
/
8TRUSSHEADPHILLIPSMACHINESCREW‐ PACKOF52
3142790751BUSHINGSPACER2
315912245017
/
32I.D.X11
/
16O.D.X.074
/
.121THICKFLATWASHER
(
1
/
2
)
‐PACKOF5 2
31691224201
/
2SPLITLOCKWASHER‐ PACKOF5 2
31791225501
/
2‐13X11
/
2HEXBOLT‐ PACKOF1 2
3186496711BAG
,
FILTERMEDIA1
3196496671COMPRESSIONSPRING1.75X.935O.D. 2
32091223403
/
8‐16X2HEXBOLT‐ PACKOF2 2
32191221003
/
8SPLITLOCKWASHER‐ PACKOF10 2
322912218013
/
32I.D.X13
/
16O.D.X.051
/
.080THICKFLATWASHER
(
3
/
8
)
‐PACKOF10 2
3236497801GUIDE
,
SPRING2
3243393891COLLAR
,
SHAFT1
/
2”2
32591226701
/
2‐20HEXJAMNUT‐ PACKOF5 2
3262391941BALLJOINT2
3276498061SPACER1
/
2X3
/
8X¾ 2
328912198513
/
32I.D.X1O.D.X.12THICKFLATWASHER
(
11GAGE
)
‐ PACKOF12
32991221403
/
8‐16HEXNUTWITHNY=LOCKINSERT‐ PACKOF5 2
33091214505
/
16‐18HEXNUTWITHNY‐LOCKINSERT‐ PACKOF5 1
3312395761CLAMP
,
TUBE1
33291214105
/
16EXTERNALSTARLOCKWASHER‐ PACKOF10 2
3336496541BALLSTUD‐GASSPRINGMOUNT 2
3346496531GASSPRING
(
GGS23‐120I
)
‐ INCLUDES: 2
6496771 SPRINGCLIP2
335912035010‐24HEXNUTWITHNY‐LOCKINSERT‐ PACKOF10 2
3366496781TILTSWITCH1
3374991371FULLYINSULATEDMALETERMINAL22‐18AWG 2
33891216005
/
16‐18X5
/
8HEXNUT‐ PACKOF5 1

7
HEAD ARM ASSEMBLY

8
CONTROL PANEL ASSEMBLY
ITEMPARTNO.DESCRIPTIONQTY
4013392901HANDLEGRIP2
4022691871HANDLEGRIPBASE2
4033393891COLLAR
,
SHAFT1
/
2”2
4042391941BALLJOINT2
4052694131POTENTIOMETER1
4066496991POTENTIOMETERBRACKET 1
40791201708‐32X3
/
16SETSCREW‐ KNURLPOINT‐ STEEL ‐PACKOF5 2
4082691941DRIVENGEAR
,
POTENTIOMETER 1
40991224201
/
2SPLITLOCKWASHER‐ PACKOF5 2
41091227001
/
2‐20X1HEXBOLT‐PACKOF2 2
411912051010‐24X1
/
2TRUSSHEADPHILLIPSMACHINESCREW‐ PACKOF102
412912033010EXTERNALSTARLOCKWASHER‐ PACKOF10 2
41391203707
/
32I.D.X1
/
2O.D.X.032
/
.065THICKFLATWASHER
(
#10
)
‐ PACKOF102
414912043010‐24X3
/
4ROUNDHEADPHILLIPSMACHINESCREW‐ PACKOF104
41591203707
/
32I.D.X1
/
2O.D.X.032
/
.065THICKFLATWASHER
(
#10
)
‐PACKOF104
4166496811WIREASSEMBLY
,
ANDERSON‐ MACHINE‐ INCLUDES: 1
6491841 175AMPANDERSONWITHCONTACTSGRAY36VOLT 1
41791209001
/
4‐20HEXNUTWITHNY‐LOCKINSERT‐ PACKOF10 2
41891209101
/
4‐20HEXNUTWITHSTARLOCKWASHER‐ PACKOF10 2
4196496441CIRCUITBREAKER‐125AMP 1
42091200275
/
32I.D.X3
/
8O.D.X5
/
64THICKSAEFLATWASHER
(
#6
)
‐ PACKOF52
42191200306SPLITLOCKWASHER‐ PACKOF10 2
42291200706‐32X3
/
8ROUNDHEADPHILLIPSMACHINESCREW‐ PACKOF102
423912051010‐24X1
/
2TRUSSHEADPHILLIPSMACHINESCREW‐ PACKOF105
4246496471CONTROLFRAME1
4256497411CONTROLFRAMECOVER 1
4266497391SULKYREADYDECAL1
4276496971BATTERYMETERWITHHARNESS‐ INCLUDES: 1
6496981 BATTERYMETERDISPLAY 1
6496961 WIREHARNESS
,
BATTERYMETER‐ 10PIN 1
4286496761BATTERYMETER
/
CODESDECAL 1
4296496741NAMINGLABEL
,
CHARGER2717DB 1
4306497039KEYSWITCHKIT
(
OPTIONAL
)
‐ INCLUDES: 1
7692511 KEYSWITCH&KEY1
6497021 WIREASSEMBLY
,
KEYSWITCH 1
4312397361HOURMETER1
4326496451FAST‐ACTINGFUSE2AMP 1
4334990321FUSEHOLDERWITHNUT&WASHER 1
4343394721FUSEDECAL1
4356498211CONTROLER
,
BURNISHER+DRIVE
,
588TS 1
91209701
/
4EXTERNALSTARLOCKWASHER‐ PACKOF10 5
91209851
/
4‐28X3
/
8PANHEADPHILLIPSMACHINESCREW 5
4356498351CONTROLER
,
2717DB
,
UL
,
0144–0001 1
4366497561DECAL
,
WIRINGDIAGRAM 1
437912035010‐24HEXNUTWITHNY‐LOCKINSERT‐ PACKOF10 4
438912035010‐24HEXNUTWITHNY‐LOCKINSERT‐ PACKOF10 2
43991203707
/
32I.D.X1
/
2O.D.X.032
/
.065THICKFLATWASHER
(
#10
)
‐ PACKOF102
4406496481SOLENOID
,
36VOLT1
4417692421TERMINALBOOT
(
RED
)
1
44291212101
/
4‐20X5
/
8HEXBOLT‐ PACKOF10 1
44391209701
/
4EXTERNALSTARLOCKWASHER‐ PACKOF10 1
4444490561INSULATEDSTANDOFF 1
44591208801
/
4SPLITLOCKWASHER‐ PACKOF10 1
44691211701
/
4‐20X1
/
2HEXBOLT‐ PACKOF10 1
44791210601
/
4‐20X11
/
4HEXBOLT‐ PACKOF5 2
4489122465.516I.D.X.813O.D.X.027
/
.030THICKFLATWASHER‐ PACKOF22
44906918511
/
2INTERNALSTARLOCKWASHER 2
45007988215
/
8”HEXNUT
(
LARGENUT
)
2

9
CONTROL PANEL ASSEMBLY
ITEMPARTNO.DESCRIPTIONQTY
4514491101TOGGLESWITCH
,
MOTOR 2
4526496191HANDLEBAR27161
4536496081BEARINGPLAINSLEEVE.5X.75X.75LONG 1
4546496091SPRINGTORSION.81I.D..067WIRE 1
4556496171COLLAR
,
SHAFT1
/
2”SETSCREW 1
4562691931DRIVEGEAR
,
HANDLEBAR 1
55791201708‐32X3
/
16SETSCREW‐ KNURLPOINT‐ STEEL‐ PACKOF5 2
55891202708‐32X7
/
8ROUNDHEADPHILLIPSMACHINESCREW‐ PACKOF102
55991202008SPLITLOCKWASHER‐ PACKOF10 2

10
LID AND SIDE ASSEMBLY
ITEMPARTNO.DESCRIPTIONQTY
50191212701
/
4‐20X1HEXBOLT‐PACKOF10 1
502649753136VOLTON‐BOARDCHARGER120
/
240VOLT25AMP‐ INCLUDES: 1
2695861 CORDWRAP1
502649779136VOLTON‐BOARDCHARGER25AMPUL‐ INCLUDES: 1
2695861 CORDWRAP1
5026495701120VOLTON‐BOARDCHARGERCORD 1
5026495711240VOLTON‐BOARDCHARGERCORD 1
5020396271240VOLTON‐BOARDCHARGERCORD–TYPEIPLUG
(
CHINA
)
1
50391212101
/
4‐20X5
/
8HEXBOLT‐ PACKOF10 3
50491208801
/
4SPLITLOCKWASHER‐ PACKOF10 4
50591209309
/
32I.D.X5
/
8O.D.X.051
/
.080THICKFLATWASHER
(
1
/
4
)
‐ PACKOF103
5064890451BUSHING
,
SNAPIN1
50791210371
/
4‐20X5
/
8FLATHEADPHILLIPSMACHINESCREW‐ PACKOF108
5086497811LIDHINGE2
5096497071LID
,
BODY1
51091209001
/
4‐20HEXNUTWITHNY‐LOCKINSERT‐ PACKOF10 8
5119997590METALCOREQUICKEDGETRIM‐ CUTTO12.5” 1
5124890851CABLECLAMP1
51391209001
/
4‐20HEXNUTWITHNY‐LOCKINSERT‐ PACKOF10 4
51491209001
/
4‐20HEXNUTWITHNY‐LOCKINSERT‐ PACKOF10 1
51591209309
/
32I.D.X5
/
8O.D.X.051
/
.080THICKFLATWASHER
(
1
/
4
)
‐ PACKOF101
51691210101
/
4‐20X3
/
4TRUSSHEADPHILLIPSMACHINESCREW‐ PACKOF51
5176497051RETAININGSTRAP18”
,
BRUSHHEAD 1
5187691891NSSLOGODECAL‐3.5X20 1
5196497081SIDEPANEL1
52091209309
/
32I.D.X5
/
8O.D.X.051
/
.080THICKFLATWASHER
(
1
/
4
)
‐ PACKOF104
52191209001
/
4‐20HEXNUTWITHNY‐LOCKINSERT‐ PACKOF10 4
522912052010‐24X5
/
8TRUSSHEADPHILLIPSMACHINESCREW‐ PACKOF101
52391222603
/
8‐16X1HEXBOLT‐PACKOF2 4
52491221003
/
8SPLITLOCKWASHER‐ PACKOF10 4
52591222603
/
8‐16X1HEXBOLT‐PACKOF2 2
526912218013
/
32I.D.X13
/
16O.D.X.051
/
.080THICKWROUGHTWASHER
(
3
/
8
)
‐PACKOF10 2
527912035010‐24HEXNUTWITHNY‐LOCKINSERT‐ PACKOF10 1
52891203707
/
32I.D.X1
/
2O.D.X.032
/
.065THICKFLATWASHER
(
#10
)
‐ PACKOF101
5294894071CLAMP
,
.437DIAMETERCABLE 1
53091220003
/
8‐16HEXNUT‐PACKOF10 2
53191221003
/
8SPLITLOCKWASHER‐ PACKOF10 2
5329997560VELCROLOOP
,
PRESSURESENSITIVE 3.8’
533912218013
/
32I.D.X13
/
16O.D.X.051
/
.080THICKWROUGHTWASHER
(
3
/
8
)
‐PACKOF10 2
5348791070VINYLHOSE
,
3
/
8”I.D.X1
/
2”O.D. 1.3’
5353390661TUBINGCONTROLVALVE 1
5362392481HOSECLAMP
,
7
/
32”‐5
/
8”DIAMETER 1
5372490601FITTING
,
ELL3
/
8BARBX1
/
4NPT 1
5386496551BATTERYTRAY1
5399997550VELCROHOOK
,
PRESSURESENSITIVE .5’
5406497581DECAL
,
BATTERYWARNING–OBC 1
5413394141OBCWARNINGDECAL1
5427692271LIFTHANDLE1
543912039010‐24X3
/
8FLATHEADPHILLIPSMACHINESCREW‐ PACKOF104
5443291111CORDCLAMP1
5459120810#10X1
/
2PANHEADPHILLIPSMACHINESCREW‐ PACKOF10 6
5462695841BATTERYCHARGERMOUNTINGBRACKET 2
54764964611
/
4NPTPLASTICNUT1

11
LID AND SIDE ASSEMBLY

12
ELECTRICAL COMPONENTS
ITEMPARTNO.DESCRIPTIONQTY
667691661WIRINGASSEMBLYANDERSONTOBATTERY 1
806496801WIREHARNESS
,
BRUSHMOTOR 1
816496811WIREASSEMBLY
,
ANDERSON
–
MACHINE 1
826496821WIRE
,
BREAKERTOSTANDOFF 1
836496831WIRE
,
SOLENOIDTOCONTROLLER 1
846496841WIRE
,
CONROLLERTOSTANDOFF 1
866496861WIRE
,
CONTROLLERTODRIVEMOTOR 1
876496871WIRE
,
FUSEHOLDER‐ MASTERSWITCH 1
896496491WIREHARNESS
,
CONTROLLER‐ 12PIN 1
946496941WIRE
,
HOURMETERTOSTANDOFF 1
956496951WIRE
,
WITH2AMPFUSEANDHOLDER 1
972391981BATTERYJUMPER3
/
8”RING 5
‐‐ 26905811
/
4SPADEMALETERMINAL10‐12AWG
,
YELLOW 2
‐‐ 2694131POTENTIOMETER1
‐‐ 2790101DRIVEMOTOR36VOLT 1
‐‐ 4490561INSULATEDSTANDOFF 1
‐‐ 6496481SOLENOID
,
36VOLT1
‐‐ 4491101TOGGLESWITCH
,
MOTOR 2
‐‐ 4990321FUSEHOLDERWITHNUT&WASHER 1
‐‐ 4991371FULLYINSULATEDMALETERMINAL22‐18AWG 2
‐‐ 5392331SWITCH
(
SULKY
)
1
‐‐ 6496441CIRCUITBREAKER‐125AMP 1
‐‐ 649753136VOLTON‐BOARDCHARGER120
/
240VOLT25AMP 1
‐‐ 6495701120VOLTON‐BOARDCHARGERCORD 1
‐‐ 6495711240VOLTON‐BOARDCHARGERCORD 1
‐‐ 0396271240VOLTON‐BOARDCHARGERCORD
–
TYPEIPLUG
(
CHINA
)
1
‐‐ 6496451FAST‐ACTINGFUSE2AMP 2
‐‐ 6496721MOTOR‐36VOLT
,
2100RPM
,
3.6HP 1
‐‐ 6498211CONTROLER
,
BURNISHER +DRIVE
,
588TS 1
‐‐ 6496781TILTSWITCH1
‐‐ 6496971BATTERYMETERWITHHARNESS 1
‐‐ 6496981 BATTERYMETERDISPLAY 1
‐‐ 6496961 WIREHARNESS
,
BATTERYMETER‐ 10PIN 1
‐‐ 6497039KEYSWITCHKIT
(
OPTIONAL
)
‐ INCLUDES: 1
‐‐ 7692511 KEYSWITCH&KEY 1
‐‐ 7692521 REPLACEMENTKEYFORSWITCH7692511 1
026497021WIREASSEMBLY
,
KEYSWITCH 1

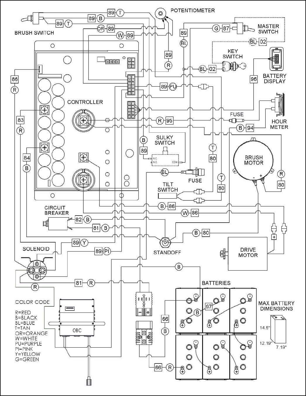
13
WIRING DIAGRAM
.

14
HEAD MOTOR
ITEMPARTNO.DESCRIPTIONQTY
6496721MOTOR36VOLT
,
2100RPM
,
3.6HP‐ INCLUDES: 1
6015991731 COMMUTATORBRACKETCOVER 1
6026493531 COMMUTATORBRACKETASSEMBLY‐ INCLUDES: 1
6026493541 COMMUTATORBRACKET 1
602A6493601 BRUSHBOARDASSEMBLY‐ INCLUDES: 1
602B6493591 SPRING4
602C7692041 CARBONBRUSH 4
6036493631 STATORFRAMEASSEMBLY‐ WITHCLIPSANDMAGNETS‐3HP1
6049120600 10‐24X1
/
2PANHEADPHILLIPSTHREADCUTTINGSCREW‐PK104
6056493621 1
/
4‐20X9HEXHEADTHRUBOLT‐ 3HP 2
606 ‐‐‐‐‐‐‐ HELICALWASHER
–
LARGE 1
6075991551 BEARING‐TOPEND 1
6086493651 ARMATURE‐2100RPM‐ 3.6HP‐ INCLUDES: 1
608A9120827 3
/
16SQUAREX1LONGKEY‐ STEEL‐ PACKOF2 1
608B6493571 ALUMINUMFAN1
6095991541 BEARING‐BOTTOMEND 1
6106493551 ENDBRACKET‐BOTTOMEND 1

15
DRIVE MOTOR
ITEMPARTNO.DESCRIPTIONQTY
2790101DRIVEMOTORASSEMBLY36VOLT‐ INCLUDES: 1
701 ‐‐‐‐‐‐‐‐‐‐‐ PANHEADSCREW 3
7022797721 TOPCOVER1
703 ‐‐‐‐‐‐‐‐‐‐‐ TOPENDBELLASSEMBLY 1
703A2797681 BRUSHBOARDASSEMBLY‐ INCLUDES: 1
703A12797571 BRUSHSPRING 1
703A2 ‐‐‐‐‐‐‐‐‐‐‐ 10‐32X3
/
8BRASSPANHEADSCREW 4
703A32797691 CARBONBRUSHWITH LEADANDTERMINAL 4
7042797581 LEADASSEMBLY‐ 1WIREWITHTERMINALS 2
705 ‐‐‐‐‐‐‐‐‐‐‐ HEYCOSTRAINRELIEF 1
7062797651 STATORFRAMEASSEMBLYWITHMAGNETS 1
7079120600 10‐24X1
/
2SELFTAPPINGROUNDHEADSCREW‐ PACKOF103
7082797591 HELICALWASHER 1
7092797661 ARMATUREASSEMBLY‐ INCLUDES: 1
709A5092041 BEARINGTOPEND‐ COMMUTATOREND 1
709B2792681 SHAFTKEY1
709C2790311 BEARING
,
BOTTOMEND
(
SHAFTEND
)
1
7102797711 BOTTOMENDBELL 1
7112797731 SHAFTSEAL1
712 ‐‐‐‐‐‐‐‐‐‐‐ THRUBOLT2

16
ACCESSORIES
PARTNO.DESCRIPTION
NOTE:ALLPADSCOME5PADSPERCASE
(
EXCEPTTWISTERPADS
)
799275127"LITEBLUEPOLISH
/
BURNISHPAD‐ FORSOFTFINISH
799276127"LITEHAIRBURNISHPAD‐ FORALLFINISHES
799278127"ULTRAHAIRHARDFINISHPAD‐ FORHARDFINISH
799279127"ULTIMATEHAIRPAD‐ HARDFINISHAGGRESSIVEBURNISHING
799282127"BEIGEPLUSUHSSCRUBPAD‐ FORSCUFFMARK
TWISTERPADS
799274127”TWISTERREDPAD
799273127”TWISTERWHITEPAD
799272127”TWISTERYELLOWPAD
799271127”TWISTERGREENPAD
BATTERY&BATTERYCHARGER
2698441DUALPROCHARGERFANREFURBISHMENTKIT
2698421DUALPROCHARGERRINGTERMINALREFURBISHMENTKIT
NSS® Enterprises, Inc.
3115 Frenchmens Road
Toledo, Ohio 43607
PHONE (419) 531-2121
FAX (419) 531-3761
mailus@nss.com
www.nss.com
CHARGER 2717 DB ORIG. 02-08 REV. L-1 04-15 9092735