TOHNICHI MFG FFM96MCU FM Transmitter User Manual
TOHNICHI MFG. CO., LTD FM Transmitter
User Manual

FM REMOTE SIGNAL TORQUE WRENCH
FM96MCU
OPERATION MANUAL

1
Precaution
1. Place the Unit apart form the metallic structure.
2. Do not place the receiver and the transmitter where the antenna contacts
with metal or electric wire.
3. Do not cut or curl the antenna or the receiver.
4. Do not use the Unit where the electromagnetic noise takes place by
welding machines, electrical discharge machines, PC, etc.
5. If there are any questions, place contact Tohnichi sales office or Tohnichi
authorized distributor.
FCC Regulatory Compliance Statement
This equipment has been tested and found to comply with the limits for a Class B digital
device, pursuant to Part 15 of the FCC rules. These limits are designed to provide reasonable
protection against harmful interference in a residential installation. This equipment generates,
uses, and can radiate radio frequency energy and, if not installed and used in accordance with
the instructions, may cause harmful interference to radio communications. However, there is
no guarantee that interference will not occur in a particular installation. If this equipment
does cause harmful interference to radio or television reception, which can be determined by
turning the equipment off and on, the user is encouraged to try to correct the interference by
one or more of the following measures:
• Reorient or relocate the receiving antenna.
• Increase the separation between the equipment and receiver.
• Connect the equipment into an outlet on a circuit different from that to which the receiver
is connected.
• Consult the dealer or an experienced radio/TV technician for help.
This device complies with Part 15 of the FCC Rules. Operation is subject to the following
two conditions: (1) This device may not cause harmful interference, and (2) This device
must accept any interference received, including interference that may cause undesired
operation.
Caution:
Any changes or modifications not expressly approved by the party responsible for product
compliance could void the user's authority to operate the equipment.
Canada Regulatory Compliance Statement
This Class B digital apparatus complies with Canadian ICES-003.
Cet appareil numériqué de la classe B est conformé à la norme NMB-003 du
Canada.
For Customers in Canada
This device complies with RSS 210 of Industry Canada (IC).
Operation is subject to the following two conditions:
(1) this device may not cause interference, and
(2) this device must accept any interference, including interference that may cause undesired
operation of this device.
L’ utilisation de ce dispositif est autorisée seulement aux conditions suivantes :
(1) il ne doit pas produire de brouillage et
(2) l’ utilisateur du dispositif doit étre prêt à accepter tout brouillage radioélectrique reçu,
même si ce brouillage est susceptible de compromettre le fonctionnement du dispositif..

2
<INDEX>
1. Outline ................................................................................................ 3
2. Features .............................................................................................. 3
3. Construction ...................................................................................... 3
4. Specifications ..................................................................................... 4
5. Transmitter-appearance and components .................................. 5
6. Receiver-appearance and components ......................................... 6
7. Precaution .......................................................................................... 7
-1 Power supply .............................................................................. 7
-2 Placing the receiver ................................................................... 7
-3 Connection with other apparatus .......................................... 7
8. Operation ........................................................................................... 8
-1 Precaution ................................................................................... 8
-2 Replacing battery for transmitter .......................................... 8
-3 Setting the Time to avoid Double Counting .................................. 8
-4 Battery Check ............................................................................. 9
-5 Changing channel ...................................................................... 9
9. Connection to CNA-4mk2 ......................................................... 10
10. Applicable Frequency .................................................................... 11
11. Setting the Channel of the Transmitter .................................... 12
12. Setting the Channel of the Receiver .......................................... 13
13. Receiver Board ................................................................................ 14
14. FM Board Replacement Procedure ..................................................... 15
15. Optional Unit .................................................................................. 17
16. Troubleshooting .............................................................................. 18

3
1. Outline
The FM Remote Signal Torque Wrench integrates a wireless signal
generator that counts down the number of bolts or nuts after tightened.
The signal transmitter can be installed onto TOHNICHI torque wrenches,
such as Models QSP, CSP, PQL, PCL, SP, RSP, etc.
It is easy to set the required channel on customer side. 96 channels are
available for the Receiver and 16 channels for the Transmitter.
The receiver can be connected to the CNA-4mk2 Count Checker to
provide complete tightening assurance system to eliminate missed
tightening.
2. Features
This Remote Signal Type torque wrench sends the tightening completion
signal to the Receiver far from the wrench through FM-wave. Tone
frequency of FM-wave can be easily set. This feature reduces the number
of the Remote Signal torque wrenches for spare and a few torque
wrenches enable the more tightening control applications.
3. Construction
Receiver R-FM96D 1 Set
Antenna 1 Set
Transmitter Torque Wrench+F-FM96MCU 1 Set
(Battery Incorporated)
Instruction manual 1 Set

4
4. Specification
Table 1 FM96MCU Specification
Transmitter Receiver
Model F-FM96MCU R-FM96D
Frequency Band 41MHz Band
(41.025~41.300MHz、25kHz Space、12 Types)
Wave Type FM (F3E)
Channel Change
(by DIP Switch)
Radio Frequency (Fixed) 1ch
Tone Frequency 16 Channels Selection
Radio Frequency
A series: 6 Channels Selection
B series: 6 Channels Selection
Tone Frequency
A, B series: 6 Channels Selection
Channel /Unit 16ch 96ch
Total Channel 192ch
Identification Signal Dual Tone System
Signal Output No-Voltage Contact Output(1a)
DC30V 1A, AC125V 0.3A
Power DC1.5V R3 (Alkaline Battery) AC100∼115V±10%
Antenna Wire 1/4λwhip
Operating Temperature
Range 0~40℃
LED Lamp Operating Check Lamp Power, Receiving Lamp
Check Function Battery Check Terminal
Transmitting
Dimension 18.2×36×68(H×W×D) 51×150×210(H×W×D)
Note 1 : A series frequency of the Receiver is not compatible with B series
frequency of the Receiver.
Note 2 : Refer to the bale 3, 4 & 5 for the combination for radio frequency
and tone frequency.

5
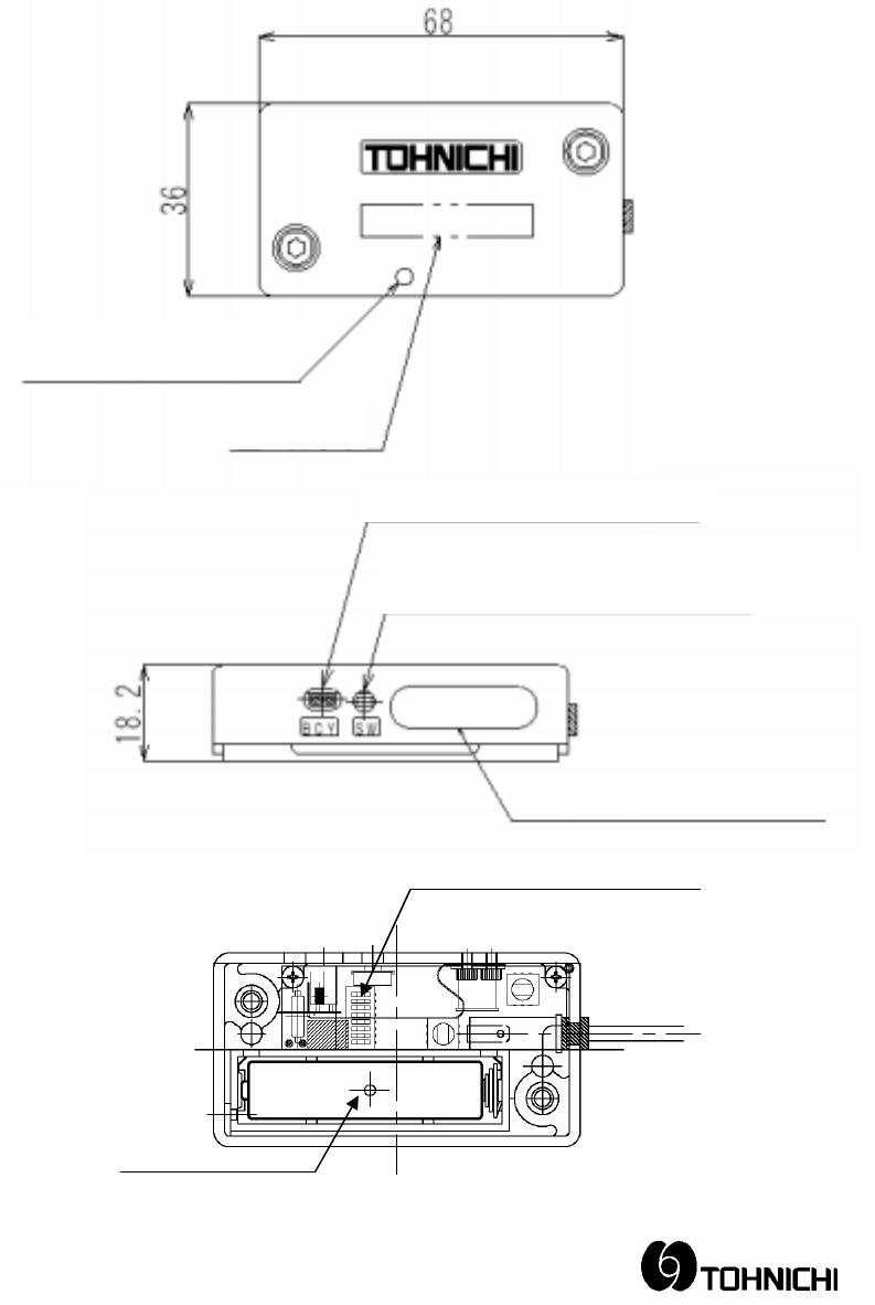
5. Transmitter-appearance and components
Tone Frequency Setting Switch
Battery
OPERATION CHECK
MODEL NAME
BATTERY CHECK TERMINAL
TRANSMITTER-RECEIVER CHECK SWITCH
CHANNEL PLATE

6
6. Receiver-appearance and components
POWER
model
POWER
OUTPUT
SI GNAL
R−FM96D
CH
GND
A1−1
AC100V
ANTENNA CONNECTOR
POWER LAMP RECEIVER LAMP
POWER
SWITCH GND TERMINA
L
POWER CABLE
CHANNEL PLATE
SERIAL No.

7
7. Precaution
1 Power Supply
Use 100∼115VAC±10%(50/60Hz)power source for the Receiver.
Use the constant-voltage transformer where the power supply is not
constant.
Always use LR03 Alkaline battery for the Transmitter.
2. Placing FM Receiver
Avoid placing the antenna near the steel columns or other metal pipes,
which will affect the receiving condition.
Press the Transmission check Button, then confirm that operation
check LED for Transmission turns on and the “SIGNAL” lamp for
Receiver turns on.
3. Connection with Other Apparatus.
Verify that both the Receiver and the equipment are turned off.
Connect the equipment to the output terminal of the Receiver with a
two-core shielded wire.
(Connect a separate shielded wire to the GND terminal.)
First, turn on the Receiver, and then the equipment.

8
8. Operation
1. Precaution
Handle the torque wrench with care.
Read the Operation Manual before operation.
2. Replacing Battery for Transmitter
Loosen two screws of top cover and remove the Transmitter.
Remove the empty Battery, and insert a new one.
Always use an R3 Alkaline Battery.
Install the Transmitter, and tighten the screws. Tightening torque T=270cN・m)
※ Stud, which comes from wrench, should not be between plate spring and the
Battery case when installing the Transmitter.
OK NG
3. Setting the Time to Avoid Double Counting
The Timer is set to 1 second when delivered.
To change the time setting, turn the variable resistance (VR2) on the Receiver
board. (Refer to 13. Circuit Diagram for the Receiver in page 14.)
The time can be set between 0.2 sec. and 2.2 sec. as shown below.
0.2sec
2.2sec
VR2
TIMER
Stud is between plate
spring and Battery case
Stud

9
4. Battery Check
Set the switch of the Battery Checker FM-BCY (Option) to BC side.
Insert the plug of the Battery Checker to the battery terminal of the
Transmitter. The battery should be serviceable if within “OK” range.
If the indicator shows the yellow range, replace the battery. If the
indicator shows “NG”, replace the battery. Refer to 8-2 Replacing the
Transmitter Battery when replace the battery.
5. Channel Setting
Turn off the receiver. To change the current channel, change the position of the
dip switches on the board of the Transmitter and the Receiver. (Refer to the
Table 3∼5.) Channel indication is as follows.
Transmitter:F-FM96MCUA1-16
Receiver:R-FM96DA1-16
Ex. 1:Change of the Transmitter Channel (only tone frequency)
(1) Remove the Transmitter cover.
(2) Change the position of the DIP switches, referring to the Table 3.
(3) Put the transmitter back.
Ex. 2:Change of the Receiver Channel
(1) Remove the front cover.
(2) Change the position of the DIP switches located upper part of the Transmitter
for the radio frequency, referring to the table4. (6 DIP switches)
(3) Change the position of the DIP switch SW 2 located lower part of the
Transmitter for the tone frequency, referring to the table 5. (4 DIP switches)
(4) Put the front cover back.
Channel number of tone frequency
(1∼16ch)
Channel number of radio frequency
(A1toA6 or B1toB6)
Channel number of tone frequency
(1∼16ch)
Channel number of radio frequency
(A1toA6 or B1toB6)

10
9. Connecting to CNA-4mk2
The CNA-4mk2 Count Checker can be used together with the Receiver,
using a two-core shielded wire, which is connected between the output
terminals of the Receiver and the “WRENCH No.” and “COM” terminals.
(Connect separate shielded wire to the GND terminals。)
model
POWER
R−FM96D
OUTPUT
SI GNAL
CH A1−1 OK
RESET
NG
SET UP
SET
SELECT
1 2 3 4
WRENCH No.
OK / NG
COM
1 2 3
1
1
model
2
2
SEL
1 2
COUNT
3
3
WRENCH No.
WORK No.
RST
END
4
4
CNA−4mk2
COM4
Separate shielded wire GND
GND

11
10. Frequency list
Table 2 Applicable frequency
CHANNEL FREQUENCY (MHz)
A1 41.025
A2 41.050
A3 41.075
A4 41.100
A5 41.125
A6 41.150
B1 41.175
B2 41.200
B3 41.225
B4 41.150
B5 41.275
B6 41.300

12
11. Setting Channel of the Transmitter
NOTE : OFF position unless stated.
Table 3 Tone Frequency Setting
CH DS-1 DS-2 DS-3 DS-4 DS-5 DS-6 DS-7 DS-8
1 ON ON
2 ON ON
3 ON ON
4 ON ON
5 ON ON
6 ON ON
7 ON ON
8 ON ON
9 ON ON
10 ON ON
11 ON ON
12 ON ON
13 ON ON
14 ON ON
15 ON ON
16 ON ON

13
12. Setting Channel of the Receiver
NOTE : OFF position unless stated.
Table 4 Radio Frequency Setting
CH SW1-1 SW1-2 SW1-3 SW1-4 SW1-5 SW1-6
1 ON
2 ON
3 ON
4 ON
5 ON
6 ON
Table 5 Tone Frequency Setting
CH SW2-1 SW2-2 SW2-3 SW2-4
1 ON ON ON
2 ON ON ON
3 ON ON
4 ON ON ON
5 ON ON
6 ON ON
7 ON
8 ON ON ON
9 ON ON
10 ON ON
11 ON
12 ON ON
13 ON
14 ON
15
16 ON ON ON ON

14
13. Receiver Board
SW1
SW2
VR2
ON
OFF
ON
OFF
Antenna
Connector
Power supply connector
OUTPUT Terminal
Radio Frequency Setting
DIP SW
Tone frequency
Setting SW
Timer Setting VR

15
Lift up
14. FM Board Replacement Procedure
Preparation
1. RTD500CN
2. Hexagon Bit, size 3mm
3. F-FM96MCU, FM transmitter
5. R-FM96D, FM receiver
1 Loosen two bots and remove the outer cover.
Note : Covered bolt will not leave from cover.
2 Remove antenna connector.
3 Set Antenna Connector.
Insert the antenna connector, as open side must face to torque wrench
body.
Open side
Insert
Pull
Antenna Connector
Set to Outer Case

16
LED
4 Set Antenna Connector
Set AAA battery in the cell, and fit the outer cover with two screws.
Tightening Torque : 270cN.m
Note : FM stud must be located as below drawing shown.
OK NG
5 Check of Operation
Check to make sure that the Light Emitting Diode turns on when the toggle
is depressed and it makes a “click “sound, then perform the following tests.
A. Twist the torque wrench right and left in a no load state to make sure the LED
does not light up.
B. Twist the torque wrench right and left in the state in which the goggle
is the LED should remain ON.
6 Final Check
Perform test to check whether or not the receiver unit, R-FM96D receives
the FM transmission when a bolt is tightened and wrench clicks.
Stud is wrongly stayed between
plate spring and Battery case
Stud

17
15. Optional Unit
1. FM-ANT, whip antenna
Antenna, directly connected to the receiver
2. FM-CNT, connector
Connector, in order to use the antenna away from the receiver.
Ex. Where the separate antenna is required due to bad receiving
condition.
3. FM-MBX, magnet for fixing the antenna
Magnet, in order to fix the antenna away from the receiver.
4. FM-COD, antenna extension wire
5. FM-BCY, battery checker
Checker, in order to check the battery and the condition of
FM-wave transmission.
Ex.1 Turn the FM-BCY switch to BC side and insert the plug of the
FM-BCY into the check terminal of the transmitter to check
the battery condition.
Ex.2 Turn the FM-BCY switch to RC side, insert the plug of the
FM-BCY into the check terminal of the transmitter and press
the transmission check bottom. If the FM-Wave is transmitted,
the red lamp on the FM-BCY lights.

18
16. Trouble Shooting
Phenomenon Possible Cause Check Point Action
Wrong channel setting on
transmitter or receiver
Dip Switch on receiver
and transmission
Correct the channel
Low battery of the
transmission
Check by battery
checker
Replace battery if NG
Battery installed in a wrong
position
Check the polarity of the
battery
Battery misplaced in the
case
Check the battery
position
Set the battery in the right
position horizontally in the
case.
Not Receiving
Noise Check the receiving
condition
Keep away the transmitter
and the receiver from the
noise source.
Loose or disconnected
transmitter antenna and
connector.
Plug the antenna firmly.
Replace the antenna if
disconnected.
Insulation failure of the
transmitter antenna and
connector.
Check the antenna and
connectors.
Failure of receiver placing Any steel columns or
metal pipes near the
receiver?
Remove the receiver or use
FM-COD and FM-MBX
Short
Transmission
distance
Noise Check the receiving
condition
Keep away the transmitter
and the receiver from the
noise source.
Please check a transceiver state periodically.
If there are any questions, please contact a Tohnichi authorized distributor or
Tohnichi office.