TRANE Package Units(both Units Combined) Manual L0905303
User Manual: TRANE TRANE Package Units(both units combined) Manual TRANE Package Units(both units combined) Owner's Manual, TRANE Package Units(both units combined) installation guides
Open the PDF directly: View PDF
.
Page Count: 12

IPTALLATfO
TI
T A CE
ALL phases of this installation must comply with
NATIONAL, STATE AND LOCAL CODES
18-BB23D2-2
Model:
WCM030F1
WCM036F1
WCM042F1
Manufactured Housing
Single Package Heat Pump
2-112- 3-1/2 Ton
llVlPORTANT--This Document is customer property and is to remain with this unit. Please return to service information pack upon compl etion of work.
All phases of this installation must comply with the NATIONAL, STATE & LOCAL CODES. In the absence of local codes, the installa-
tion must conform with National Electric Code ==ANSVNFPA 70 or "LATEST REVISION."
Since the manufacturer has a policy of continuous product and product data improvement,
it reserves the right to change design and specification without notice.
© 2001 American Standard Inc. All rights reserved Dwg. No. 31X730378 P01

GENERAL iNFORMATiON
IMPORTANT: Read this entire manual before beginning instal=
lation procedures.
SAFETY NOTICE. THIS INFORMATION IS INTENDED FOR
USE BY INDIVIDUALS POSSESSING ADEQUATE BACK-
GROUNDS OF ELECTRICAL AND MECHANICAL EXPERI-
ENCE. ANY ATTEMPT TO REPAIR A CENTRAL AIR CONDI-
TIONING PRODUCT MAY RESULT IN PERSONAL INJURY
AND/OR PROPERTY DAMAGE. THE MANUFACTURER OR
SELLER CANNOT BE RESPONSIBLE FOR THE INTERPRE-
TATION OF THIS INFORMATION, NOR CAN IT ASSUME
LIABILITY IN CONNECTION WITH ITS USE.
BEFORE STARTING THE COMPRESSOR, THE CRANKCASE
HEATER SHOULD BE ENERGIZED FOR EIGHT HOURS
Read this manual carefully before attempting to install, operate, or
perform maintenance on this unit. Installation and maintenance
should be performed by qualified service technicians only.
NOTE: "Warnings" and "Cautions" appear at appropriate
places in this manual Your personal safety and the proper
operation of this air conditioning product require that you follow
them carefully. The manufacturer assumes no fiabifity for
installations or servicing performed by unquafified personnel.
IMPORTANT: RECONNECT ALL GROUNDING DEVICES.
ALL PARTS OF THIS PRODUCT CAPABLE OF CONDUCTING
ELECTICAL CURRENT ARE GROUNDED. IF GROUNDING
WIRES, SCREWS, STRAPS, CLIPS NUTS OR WASHERS
USED TO COMPLETE A PATH TO GROUND ARE REMOVED
FOR SERVICE. THEY MUST BE RETURNED TOTHIER ORIGI-
NAL POSITION AND PROPERLY FASTENED.
IMPORTANT: ALL POWER LEGS MAY NOT BE BROKEN BY
CONTACTORS. SEE WIRING DIAGRAM ON UNIT CONTROL
BOX COVER.
iNSPECTION
1. Check for damage after the unit is unloaded. Report promptly,
to the carrier, any damage found to the unit. Do not drop the unit.
2. Check the unit's nameplate to determine if the unit is correct for
the intended application. The power supply must be adequate
for both the unit and all accessories.
3. Check to be sure the refrigerant charge has been retained during
shipment. The 1/4" flare pressure taps are located by the
furnace compartment access panel.
LOCATIONS AND RECOMMENDATIONS
Installation of the unit should conform to local building codes or, in
the absence of local codes, to the ANSl/NFPA No. 70-1987 National
Electrical Code or "Latest Revision." Canadian installations must
conform to CSA and local codes.
Select a location that will permit unobstructed airflow into the
condenser coil and away from the fan discharge and permit unob-
structed service access into the compressor compartment. Sug-
gested airflow clearances and service clearances are given in
Figures 1 and 2.
• Select a location that will permit unobstructed airflow into the
outdoor coil and away from the fan discharge. The discharge air
from the outdoor fan must be unrestricted for a minimum of three
(3) feet above the unit. Any reduction of the unit clearances
recommended may result in condenser coil starvation or the
recirculation of warm condenser air. Actual clearances which are
inadequate should be reviewed with a local sales representative.
If the unit is located under an overhang, provisions must be made
to deflect the warm discharge air from under the overhang. See
Figures 1 and 2. The unit must also be situated to permit easy and
unrestricted access for service.
• Install internal accessories to the unit at the shop if practical.
• Position the unit so roof-run-off water does not pour directly onto
the unit.
• CAUTION MUST ALWAYS BE TAKEN TO AVOID PERSONAL
INJURIES AND/OR DAMAGE TO THE EQUIPMENT.
• In locations with deep snows raise the unit a minimum of 12 inches
off the deck, slab, or pad. This will reduce the chance of the coil
being blocked snow. The water that occurs during the defrost
cycle has a better chance of flowing from the vicinity of the unit.
•Avoid locating the unit where snow drifts. This will reduce the times
when it is necessary to remove snow from around the unit. Snow
accumulations should be removed from the sides of the unit for
best efficiency.
• Consider installing a snow drift barrier around the unit. This will
prevent a build up of snow on the sides of the unit. The barrier
should be of sufficient distance from the unit to prevent restriction
of airflow to and from the unit.
• Locate the unit so that the water vapor discharges upward during
the defrost cycle and does not condense on windows and fog them
or cause icicles to form on the roof overhangs.
• Elevation minimums must be observed for drain line "trap" and
ventilation to the under side of the unit.
• All duct work inside the structure should be adequately insulated.
• All duct work outside of the structure must be insulated and
weatherproofed in accordance with local codes. If supplementary
heat is added, the duct connectors should be of a flame retardant
material.
• Access and service clearances for the unit must be given careful
consideration when locating the duct entrance openings. Figure
1 provides unit dimensions.
• All fabricated outdoor ducts should be as short as possible.
• Be sure the hole(s) in the structure is large enough to accommo-
date the ducts and the insulation surrounding them. See Figure 1.
Page 2 Dwg. No.21X730378 P01

•For outdoor, ground level applications the unit must be mounted on
a solid, level foundation that is not adjoined to the structure because
sound and vibration may otherwise be transmitted to the structure.
•Field supplied mounting pads should be used beneath the unit to
prevent transmission of vibration to the occupied structure.
•Select a location that will minimize the length of the supply and
return ducts.
•Select a location where external water drainage cannot collect
around the unit.
•Give consideration to shade, appearance, and noise.
CLEARANCES
The recommended clearances for single-unit installations are
illustrated in Figures 1 and 2. These minimum requirements are not
only an important consideration when determining unit placement,
but they are also essential to ensure adequate serviceability,
maximum capacity, and peak operating efficiency.
Any reduction of the unit clearances indicated in this illustration
may result in condenser coil starvation, or the recirculation of warm
condenser air.
INSTALLATION
GROUND LEVEL-- HORIZONTAL UNITS
For ground level installations, the unit should be positioned on a pad
the size of the unit or larger. The unit must be level on the pad. The
pad must not come in contact with the structure. Be sure the outdoor
portion of the supply and return air ducts are as short as possible.
Proceed with the installation as follows:
1. Place the unit on the pad and the five (5) rubber isolators
provided.
2. Attach the supply and return air ducts to the unit.
3. Insulate any ductwork outside of the structure with at least 2
inches of insulation and weatherproof. There must be a weath-
erproof seal where the duct enters the structure.
4. Complete the installation according to the instructions in the
following sections of this manual.
DUCTWORK
All conditioned air ductwork should be insulated to minimize heating
and cooling duct losses. Use a minimum of two (2) inches of
insulation with a vapor barrier. The outside ductwork must be
weatherproofed between the unit and the building.
When attaching ductwork to a horizontal unit, provide a flexible
watertight connection to prevent noise transmission from the unit to
the ducts. The flexible connection must be indoors and made out
of heavy canvas.
I NOTE: Do not draw the canvas taut between the solid ducts. I
I
I
FILTER INSTALLATION
AIR FILTERS TABLE 1
Filters are to be used with the WCM030-042F heating/cooling
units. The basic unit does not havefilters in it. However, afilter
frame accessory is offered that will allow filters to be installed
within the unit.
Otherwise a filter rack must be installed by the installer in the
duct work.
Affix the filter label supplied with the unit adjacent to the filter
area.
NOMINAL FILTER* FILTER
UNIT CFM (Sq Ft) SIZE RESISTANCE
WCM030F 1000 3.33 0.05
WCM036F 1200 4.00 0.05
WCM042F 1400 4.67 0.05
*Filters must be installed in the return air system. The above
square footages are based on 300 F.P.M. face velocity. If
permanent filters are used, size per mfg. recommendation
with clear resistance of 0.05"WC.
Dwg. No. 31X730378 P01 Page 3

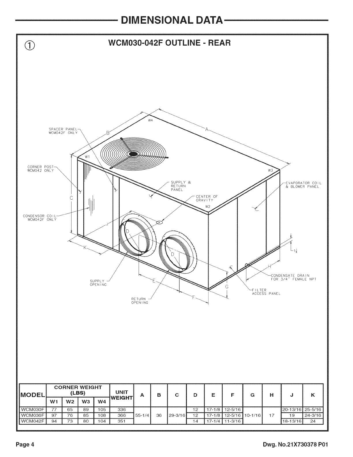
DiMENSiONAL DATA
(_ WCIV1030-042F OUTLINE - REAR
CORNER WEIGHT
MODEL (LBS)
W1 W2 W3 W4
WCMO30F 77 65 89 105
WCMO36F 97 76 85 108
WCMO42F 94 73 80 104
UNIT AB C D E F G H J K
WEIGHT
336 12 17-1/8 12-5/16
366 55-1/4 36 29-3/16 12 17-1/8 12-5/16 10-1/16
351 14 17-1/4 11-3/16
20-13/16 25-5/16
17 19 24-3/16
18-13/16 24
Page 4 Dwg. No.21X730378 P01

DiMENSiONAL DATA
WCIVI030-042F OUTLINE - FRONT
HOLE FOR 1/2" CONDUIT
(UNIT CONTROL WIRES) --
CONTROL BOX
ACCESS PANEL ACCESS PANEL
RECOMMENDED SERVICE CLEARANCE
BACK 6.0"
LEFT SIDE 30.0"
RIGHT SIDE 24.0"
FRONT SIDE 30.0"
729945
CONDENSER COIL
COIL IN THIS
AREA ONLY ON WCC050 & -056F,
TCCO42F, WCCO42F, WCCO48F &
WCCO60F
MODEL A B C D E
WCMO30F
WCMO36F 55=1/4 36 29=3/16 12=1 5/16 4=7/8
WCMO42F
F
KNOCKOUTS FOR 3/4" AND1=1/4" CONDUIT
Dwg. No. 31X730378 P01 Page 5

CONDENSATE DRAIN PiPiNG
A 3/4-inch female NPT condensate drain connection is pro-
vided on the evaporator access panel end of the unit. See
Figure 4. Provide atrap and fill it with water before starting the
unit to avoid air from being drawn through. Follow local codes
and standard piping practices when running the drain line.
Pitch the line downward away from the unit. Avoid long
horizontal runs. See Figure 3.
NOTE: Do not use reducing fittings in the drain lines. The
condensate drain must be:
• Made of 3/4" pipe size.
• Pitched 1/4" per foot to provide free drainage to
convenient drain system,
• Trapped.
• Must not be connected to closed drain system.
®3/4"PVC OR COPPER
TUBING AND FITTINGS
1-1/2"MIN.
ELECTRICAL WIRING
ELECTRICAL CONNECTIONS
Electrical wiring and grounding must be installed in accordance with
local codes or, in the absence of local codes, with the National
Electrical Code ANSI/NFPA 70, Latest Revision.
ELECTRICAL POWER
It is important that proper electrical power be available for the unit.
Voltage variation should remain within the limits stamped on the unit
nameplate.
DISCONNECT SWITCH
Provide an approved weather-proof disconnect either on the side of
the unit or within close proximity and within sight of the unit.
OVER CURRENT PROTECTION
The branch circuit feeding the unit must be protected as shown on
the unit rating plate.
POWER WIRING
The power supply lines must be run in weathertight conduit to the
disconnect and into the bottom of the unit control box. Provide strain
relief for all conduit with suitable connectors.
NOTE: Ground the unit internally as provided. See wiring
diagram for location.
CONTROL WIRING (CLASS II)
Low voltage control wiring should not be run in conduit with power
wiring unless Class 1 wire of proper voltage rating is used. Route
the thermostat cable or equivalent single leads of No. 18 AWG
colored wire from the thermostat subbase terminals through the
rubber gromment on the unit. See Figure 2 for the control entry
location. Make connections as shown on the unit wiring diagram
and in Figure 4.
Do not short thermostat wires since this will damage the control
transformer.
Recommended wire sizes and lengths for installing the unit thermo-
stat are provided in Table 2. The total resistance of these low
voltage wires must not exceed one (1) ohm. Any resistance in
excess of 1 ohm may cause the control to malfunction because of
the excessive voltage drop.
TABLE 2
Provide flexible conduit supports whenever vibration transmission
may cause a noise problem within the building structure.
Be sure all connections are made tight. See Figure 4.
NOTES: For branch circu# wiring (main power supply to unit
disconnect), wire size for the length of run should be determined
using the circu# ampacity found on the unit nameplate and the
N.E.C.
For more than 3 conductors in a raceway or cable, see the
N.E.C. for derating the ampacity of each conductor.
GROUNDING: THE UNIT MUST BE ELECTRICALLY GROUNDED
IN ACCORDANCE WITH LOCAL CODES OR THE NATIONAL
ELECTRIC CODE.
WIRE SIZE MAXIMUM LENTGH (Ft)
18 75
16 125
14 200
THERMOSTAT HEAT ANTICIPATOR
The thermostat heat anticipators should be set to equal the amper-
age draw of the Wl thermostat circuit.
IMPORTANT: Upon completion of wiring check all electrical
connections, including factory wiring within the unit. Make sure
all connections are tight. Replace and secure all electrical box
covers and access doors before leaving the unit or turning on the
power to the unit.
Page 6 Dwg. No.21X730378 P01

After all electrical wiring is complete, set the thermostat system
switch in the OFF position so that the compressor will not run
and then apply power by closing the system main disconnect switch.
This will activate the compressor sump heat. Do not change the
Thermostat System Switch until power has been applied long
enough to evaporate any liquid R-22 in the compressor. It is
recommended that the sump heater be energized for eight (8) hours
prior to starting.
@
...... PH
POWER
5 PH
POWER
UNI]
WCM-F FIELD WIRING DIAGRAM
PACKAGED HEAr PUMP UN} r
UNII CONTROl BOX
I
I
I
I _ 44A(YI ) Y I COMPRESSOR
I Ab IST STAGE ELECTRIC I_EAT
I41A{BR) Wll
............................................................................................41C(BR) W2 2ND STAGE EIECTRIG HEAT
I %, ......................
............._........................................................_: 48A(BR) I I DI ROS CONIROI '1' SIGNA
55A(RD) R
II
UN T LOW VOLTAGE AREA
__lwx21oiI R
YP I CA k RMOSIA
_ NIl EAT R AR A]
I I
1 I I
III
POLARIZ:D I I I
P UG
El CTR C
HEALER
CONTROl
BOX
5Pb
POWER
HEATER
11
FIG. 1 S NG E POWER EN]RY
ACC[ SSORY CONNF C] IONS
UNIT CONTROL
BOX
I
I
....
UNIT LOW
VOLTAGE AREA
....... 1'1q
,__ GROUND
W IR
NOTES:
1 FUSED DISCONNECT SIZE, POWER WIRING AND GROUNDING OF EQUIPMENT MUST
COMPLY WITH CODES
2 BE SURE POWER SUPPLY AGREES WITH EQUIPMENT AND HEATER NAMEPLATE
3 LOW VOLTAGE WIRING TO BE 18 AWG MINIMUM CONDUCTOR,
4 SEE HEATER NAMEPLATE FOR CURRENT RATING OF HEATER USED
5 SEE UNIT AND HEATER DIAGRAM Fore ELECTRICAL CONNECTION DETAILS,
6 IF ELECTRIC HEATER ACCESSORY IS NOT INSTALLED OMIT THE ELECTRIC HEATER,
ASSOCIATED POWER WIRES AND THE 'W' AND 'X2' THERMOSTAT WIRES,
7 FIG 3 DEMONSTRATES CONNECTION OF THE OUTDOOR THERMOSTAT ACCESSORY
ONLY FOR FURTHER UNIT CONNECTION DETAILS REFER TO THE OTHER FIGURES
8 THE 41A(B,_) WIRE IS FIRST STAGE ELECTRIC HEAT, IF THE ELECTRIC HEATER
ACCESSORY HAS TWO HEATING STAGES THE 41C(BR) WIRE IS SECOND STAGE
ELECTRIC HEAT,
9 WHEN THE BAYECON054A OR -055A ECONOMIZER IS INSTALLED THE BAYRLAY003
RELAY ACCESSORY KIT IS REQUIRED TO INTERFACE THE ECONOMIZER TO THE HEAT
PUMP FOR PROPER SYSTEM OPERATION WHEN THE BAYECON054B OR 055B OR 073A
ECONOMIZER IS INSTALLED, THE BAYRLAY004A RELAY ACCESSORY KIT IS REQUIRED
TO INTERFACE THE ECONOMIZER TO THE HEAT PUMP Fore PROPER SYSTEM
OPERATION
10 THE BAYSTAT033A OUTDOOR THERMOSTAT ACCESSORY KIT CONTAINS A
THERMOSTAT AND A RELAY THE RELAY IS NOT REQUIRED TO BE USED IN THIS
APPLICATION
5 pl
POWER
SINGLE POWER
ENTRY
C)U DOOR TII RMOSIA
F O. 5 ACC'::SSORY CONN CIIONS
INIER COMPONEN1 WIRING
............... 24V, _ FACTORY
L_NE V.j W_RING
24V, } F}ELD__ L_NE V. W_RING
WIRE COLOR DESIGNATION
ABBR COLOR ABBR COLOR
BK BLACK PR PURPLE
B[ BlUE RD RE:{}
BR BROWN WR WHITE
OR GREEN YL YELLOW
OR ORANGE
Dwg. No. 31X730378 P01 Page 7

START-. UP
PRE-START QUICK CHECKLIST
•Is the unit properly located and level with the proper clearance?
• Is the duct work correctly sized, run, taped, insulated, and
weatherproofed with proper unit arrangement. See Ductwork
Installation section.
• Is the condensate line properly sized, run, trapped, and pitched?
• Is the filter of the correct size and number? Is itclean and in place?
• Is the wiring properly sized and run according to the unit wiring
diagram?
• Are all the wiring connections, including those in the unit, tight?
• Has the unit been properly grounded and fused with the recom-
mended fuse size? See Wiring Data.
• Is the thermostat level, correctly wired, well located, and set for the
proper heat anticipation?
• Have the air conditioning systems been checked at the service
ports for charge and leak tested if necessary?
• Do the condenser fan and indoor blower turn free without rubbing,
and are they tight on the shafts?
•Has the indoor blower speed been determined and the proper
speed been set? See the Unit Wiring Diagram.
To start the unit in the cooling mode, set the thermostat system
switch to COOL and move the thermostat COOL indicator to a
setting below room temperature. The condenser (outdoor) fan
motor compressor and evaporator (indoor) fan motor will operate
automatically.
OPERATING PRESSURES
After the unit has operated in the cooling mode for a short period of
time, install pressure gauges on the gauge ports of the discharge
and suction line valves. Check the suction and discharge pressures
and compare them to the normal operating pressures provided in
the unit's SERVICE FACTS.
NOTE: Do not use the pressures from the unit's SERVICE FACTS
to determine the unit refrigerant charge. The correct charge is
shown on the unit nameplate. To charge the system accurately,
weigh in tlhe charge according to the unit nameplate.
VOLTAGE
With the compressor operating, check the line voltage at the unit.
The voltage should be within the range shown on the unit name-
plate. If Iowvoltage is encountered, check the size and length of the
supply line from the main disconnect to the unit. The line may be
undersized for the length of the run.
COOLING SHUT DOWN
Place the system selector in the OFF position or reset thermostat at
a setting above room temperature.
•Has all work been done in accordance with applicable local and
national codes?
• Are all covers and access panels in place to prevent air loss and
safety hazards?
STARTING THE UNiT iN THE COOLING MODE
CAUTION: Before starting the system on the cooling cycle, turn the
thermostat switch to OFF and close the unit disconnect switch. This
procedure energizes the compressor crankcase heater, vaporizing
any liquid refrigerant in the crankcase. This is a precaution against
foaming at startup which could damage the compressor bearings.
Allow the heater to operate a minimum of eight (8) hours.
NOTE: See the section on "Sequence of Operation" for a descrip-
tion of the cooling operating sequence.
Do not de-energize the main power disconnect except when unit it
to be serviced. Power is required to keep the heat pump compres-
sor warm and boil off refrigerant in the compressor.
STARTING THE UNIT iN THE HEATING MODE
NOTE: See the section on "Sequence of Operation" for a descrip-
tion of the heat pump heating operating sequence.
Check to make sure all grilles an registers are open an all unit
access doors are closed before start-up.
Slowly set the thermostat above tom temperature until achieving a
first stage call for heat and place the fan switch in the AUTO or ON
position.
HEATING SHUT=DOWN
Place the system selector switch at OFF or place the heating
selector lever at a setting below room temperature.
Page 8 Dwg. No.21X730378 P01

SEQUENCE OF OPERATION
Heat Pump -- General
Operation of the unit heating and cooling cycles is automatic when
the system is in the HEAT or COOL functions. (The optional
automatic changeover thermostat, when in the AUTO position,
automatically changes to heat or cool with an appropriate room
temperature change.) The fan switch can be placed in the ON
position, causing continuous indoor fan operation. The fan switch
may also be placed in the AUTO position causing fan operation to
coincide with heating or cooling run cycles.
Cooling Mode
With the disconnect in the ON position, current is supplied to the
sump heater and control transformer. The sump heater supplies
heat to the compressor to prevent liquid refrigerant from accumulat-
ing in the compressor during the off cycle.
The thermostat temperature switch (TSC-1) closes completing the
24 volt circuit from terminal "R" to terminal "O" energizing the
switchover valve solenoid coil (SC). (Nothing else occurs.)
Second Stage Cooling (after a 0.7°Fto 1.5°F temperature rise): The
thermostat temperature switch (TSC=2) closes completing the 24
volt circuit from terminal "R" to terminal "Y" energizing the compres-
sor contactor (MS) and to terminal "G" to energize the fan relay (F).
The MS-1 and MS-2 contacts close simultaneously energizing the
compressor,and outdoor fan motor. The F=I contact closes and
energizes the indoor fan motor. When the (TSC=2) switch closes, the
cooling anticipator is bypassed.
Heating Mode
The thermostat heating switch (TSH-1) closes completing the 24 volt
circuit from terminal "R" to terminal "Y" energizing the compressor
contactor and to terminal "G" to energize the fan relay (F). When
(TSH-1) closes, the heat anticipator (HA)is energized. (The heat
anticipator provides heat to the thermostat bimetal during operation
of the heat pump or resistance heat cycle. The switchover valve (SO)
is not energized due to the voltage drop across the heat anticipator.)
The MS-1 and MS=2 contacts close simultaneously and energize the
compressor,and the outdoor fan motor. At the same time, the F=I
contacts close and energize the indoor fan motor and the F=2
contacts provide a fan interlock for the heater control circuit
Second Stage Heating (after a 0.7°F to 1.5° F temperature drop):
The thermostat heating switch TSH-2 closes and completes a 24 volt
circuit from terminal "R" to terminals "W" and "U" which are bussed
together and thereby energizes the blue light on the thermostat.
Emergency Heat
Positioning the emergency resistance heat switch (RHS) in the
thermostat to the ON position will de-energize the refrigerant system
and the supplementary heat will come on through the second stage
heating contact (TSH-2) of the thermostat. Prior to this, the first
stage heating contact (TSH-1) would have closed the circuit to the
indoor blower, which will continue to run through the emergency heat
cycle and will stop when TSH-1 is satisfied and opens. A red light
indicator is visible when the switch is set to emergency heat.
Electronic Time and Temperature Defrost
Defrost Cycle
The electronic defrost board is a combination time/temperature
device. It is designed to control the removal of frost and ice from the
outdoor coil of a heat pump when coil temperatures are low.
Defrosting of the coil is initiated at a pre-selected time interval,
provided the outdoor coil is below the preset initiation temperature.
One of three time intervals (50, 70, or 90 minutes) may be chosen,
allowing the installer to adjust the time for his particular climate. In
humid and northern climates, for example, the time interval may
need to be shorter than in dry climates.
The electronic defrost board terminates the defrosting cycle when
the outdoor coil temperature rises to the preset termination tem-
perature or after a preset defrost time has passed, regardless of
windvelocity. This helps ensurethatthe heat pump stays in defrost
only as long as is necessary to remove the frost and ice from the
outdoor coil.
OPERATION: Power to the defrost board (DFC) is provided when
the temperature sensing switch (DT) on the outdoor coil is closed.
Defrost time interval is accumulated with starts and stops of the wall
thermostat's call for heating. At the end of the chosen time interval,
assuming the temperature sensing switch is closed, a defrost cycle
starts. When the defrost cycle starts, the contacts on the defrost
board close thereby energizing the switchover valve relay (SOV)
and the electric heater contactor. A normally closed contact on the
defrost board opens the circuit to the outdoor fan motor (ODM).
The defrost cycle is terminated when the temperature sensing
switch opens or the 10 minute override interrupts the defrost period.
On termination of the defrost cycle, the timing period is reset.
Defrost Control Board
@
DEFROST CONTROL
TEST FEATURE: The test feature is provided for use by the
installer or serviceman to verify that the electronic defrost board is
operating properly. To initiate a defrost cycle, the two TST pins are
shorted together until the cycle has been initiated. All timing
functions are shortened to 11.7, 16.4, or 20.3 seconds for the 50, 70,
and 90 minute time interval settings, respectively. After defrost
initiation, the short across the two TST pins MUST BE REMOVED
IMMEDIATELY, or the defrost period will last only 2.3 seconds.
Defrost is terminated as described in the OPERATION section.
Dwg. No. 31X730378 P01 Page 9

MAINTENANCE
ROUTINE MAINTENANCE BY OWNER
You can do some of the periodic maintenance functions for
your WCM=F unit yourself; this includes replacing the dispos-
able or cleaning the permanent air filters, cleaning the unit
cabinet, clearing the condenser coil, and conducting a general
unit inspection on a regular basis.
Be sure to inspect them at least once each month when
the system is in constant operation. (In new homes, check
the filters every week for the first four (4) weeks.)
If you have disposable-type filters, replace them with new
filters of the same type and size. Do not attempt to clean
disposable filters.
Permanent-type filters can be cleaned by washing them with
a mild detergent and water. Make sure that the filters are
thoroughly dry before re-installing them in the unit (or duct
system).
NOTE: It may be necessary to replace permanent filters
annually if washing fails to clean the filter or ifthe filter shows
signs of deterioration. Be sure to use the same type and size
as was originally installed.
OOUTDOOR COIL
Unfiltered air circulates through the unit's outdoor coil and can
cause the coil's surface to become clogged with dust, dirt, etc.
To clean the coil, vertically (i.e., with the fins) stroke the coil
surface with a soft-bristled brush.
Be sure to keep all vegetation away from the condenser coil
area.
MAINTENANCE PERFORMED BY SERVICEMAN==
COOLING SEASON
To keep your unit operating safely and efficiently, the manu-
facturer recommends that a qualified serviceman check the
entire system at least once each year and any other time that
you feel one is needed. Your serviceman should examine
these areas of your WCM-F unit:
• filters (for cleaning or replacement)
• motors and drive system components
• safety controls (for mechanical cleaning)
• electrical components and wiring (for possible replacement and
connection tightness)
• condensate drain (for cleaning)
• unit duct connections (to see that they are physically sound and
sealed to the unit casing)
• the unit (for obvious unit deterioration)
MAINTENANCE PERFORMED BY SERVICEMAN=-
HEATING SEASON
Complete the unit inspections and service routines described below
at the beginning of each heating season.
• Visually inspect the unit to ensure that the airflow required for
condenser coil is not obstructed from the unit.
• Inspect the control panel wiring to verify that all electrical
connections are tight and that the wire insulation is intact.
WARNING :TO PREVENT INJURY OR DEATH
DUE TO ELECTRICAL SHOCK OR CONTACT WITH MOVING
PARTS. LOCK UNIT DISCONNECT SWITCH IN OPEN
POSITION BEFORE SERVICING UNIT.
The following warning complies with State of California law, Proposition 65.
WARNING: This product contains
fiberglass wool insulation! Fiberglass dust and ceramic
fibers are believed by the State of California to cause
cancer through inhalation. Glasswool fibers may also
cause respiratory, skin, or eye irritation.
PRECAUTIONARY MEASURES
• Avoid breathing fiberglass dust.
• Use a NIOSH approved dust/mist respirator.
• Avoid contact with the skin or eyes. Wear long-
sleeved, loose-fitting clothing, gloves, and eye
protection.
• Wash clothes separately from other clothing: rinse
washer thoroughly.
Operations such as sawing, blowing, tear-out, and
spraying may generate fiber concentrations requiring
additional respiratory protection. Use the appropriate
NIOSH approved respirator in these situations.
FIRST AID MEASURES
Eye Contact Flush eyes with water to remove dust.
If symptoms persist, seek medical
attention.
Skin Contact Wash affected areas gently with soap
and warm water after handling.
A150988P01
Page 10 Dwg. No.21X730378 P01

LiMiTED WARRANTY
HEAT PUMP
WCC, WCD, WCH, WCM and WSC
Models Less Than 20 Tons for Residential Use*
(Parts Only)
This limited warranty is extended by American Standard Inc., to the original purchaser and to any
succeeding owner of the real property to which the Heat Pump is originally affixed, and applies to products
purchased and retained for use within the U.S.A. and Canada.
If any part of your Heat Pump fails because of a manufacturing defect within five years from the date of the
original purchase, Warrantor will fumish without charge the required replacement part. Any local
transportation, related service labor, diagnosis calls, refrigerant and related items are not included.
If the sealed motor-compressor fails because of a manufacturing defect within five years from the date of
original purchase, Warrantor will furnish without charge the required replacement compressor. Any local
transportation, related service labor, diagnosis calls, refrigerant and related items are not included.
This limited warranty does not cover failure of your Heat Pump if it is damaged while in your possession,
failure attributable or caused by unreasonable use of the Heat Pump and/or failure to properly maintain the
Heat Pump as set forth in the Use and Care manual.
This limited warranty applies to product installed on or after 10/1/2001 where product is manufactured after
1/1/2000. This limited warranty is not retroactive to any installations prior to 10/1/2001 or on product
produced prior to 2000.
THE LIMITED WARRANTY AND LIABILITY SET FORTH HEREIN ARE iN LiEU
OF ALL OTHER WARRANTIES AND LiABiLiTiES, WHETHER IN CONTRACT OR
iN NEGLIGENCE, EXPRESS OR iMPLiED, iN LAW OR iN FACT, iNCLUDiNG
iMPLiED WARRANTIES OF MERCHANTABiLiTY AND FITNESS FOR
PARTICULAR USE, AND IN NO EVENT SHALL WARRANTOR BE LIABLE FOR
ANY iNCiDENTAL OR CONSEQUENTIAL DAMAGES.
Some states do not allow limitations on how long an implied limited warranty lasts or do not allow the
exclusion or limitation of incidental or consequential damages, so the above limitation or exclusion may not
apply to you. This limited warranty gives you specific legal rights, and you may also have other rights which
vary from state to state.
Parts will be provided by our factory organization through an authorized service organization in your area
listed in the yellow pages. If you wish further help or information concerning this limited warranty, contact:
American Standard Inc.
Troup Highway
Tyler, TX 75711-9010
Attention: Manager, After Sales Support
GW-611-4001
* This limited warranty is for residential usage of this equipment and not applicable when this equipment is
used for a commercial application. A commercial use is any application where the end purchaser uses the
product for other than personal, family or household purposes.
Dwg. No. 31X730378 P01 Page 11

LiMiTED WARRANTY
HiGH EFFiCiENCY HEAT PUMP
WCZ, WCY, WCX, WCC, WCD, WCH, WCM AND WSC
Models Less Than 20 Tons for Commercial Use*
(Parts Only)
This warranty is extended by American Standard Inc., to the original purchaser and to any
succeeding owner of the real property to which the Heat Pump is originally affixed, and applies to
products purchased and retained for use within the U.S.A. and Canada. There is no warranty
against corrosion, erosion or deterioration.
If any part of your Heat Pump fails because of a manufacturing defect within one year from the
date of the original purchase, Warrantor will furnish without charge the required replacement part.
In addition, if the sealed motor-compressor fails because of a manufacturing defect within the
second through fifth year from the date of original purchase, Warrantor will furnish without charge
the required replacement compressor. Warrantor's obligations and liabilities under this warranty
are limited to furnishing RO.B. Warrantor factory or warehouse replacement parts for Warrantor's
products covered under this warranty. Warrantor shall not be obligated to pay for the cost of lost
refrigerant. No liability shall attach to Warrantor until products have been paid for and then liability
shall be limited solely to the purchase price of the equipment under warranty shown to be
defective.
THE WARRANTY AND LIABILITY SET FORTH HEREIN ARE IN LIEU OF ALL
OTHER WARRANTIES AND LiABiLiTIES, WHETHER IN CONTRACT OR IN
NEGLIGENCE, EXPRESS OR IMPLIED, IN LAW OR IN FACT, INCLUDING
IMPLIED WARRANTIES OF MERCHANTABiLiTY AND FITNESS FOR
PARTICULAR USE, AND IN NO EVENT SHALL WARRANTOR BE LIABLE FOR
ANY INCIDENTAL OR CONSEQUENTIAL DAMAGES.
Some states do not allow limitations on how long an implied warranty lasts or do not allow the
exclusion or limitation of incidental or consequential damages, so the above limitation or exclusion
may not apply to you. This warranty gives you specific legal rights, and you may also have other
rights which vary from state to state.
American Standard Inc.
Troup Highway
Tyler, TX 75711-9010
Attention: Manager, After Sales Support
GW-604-4800
* This warranty is for commercial usage of said equipment and not applicable when the equipment
is used for a residential application. Commercial use is any application where the end purchaser
uses the product for other than personal, family or household purposes.
The Trane Company
Unitary Products Group
6200 Troup Highway
Tyler, TX 75707-9010
An American-Standard Company oQos Technical Lferature - Printed in U.S.A.
Page 12 Dwg. No.21X730378 P01