Tanaka Tbc 230 Users Manual
TBC-230 to the manual 7214c00d-b0a0-86f4-21de-cc7c35f59931
2015-02-02
: Tanaka Tanaka-Tbc-230-Users-Manual-449211 tanaka-tbc-230-users-manual-449211 tanaka pdf
Open the PDF directly: View PDF
.
Page Count: 19

rtsullI rtsullI rtsullI rtsullI
Illustra
aP det P det rararara
ar naM st naM st naM st naM st
ts Manlau lau lau lau
ual
Model Number:
TBC-230
GRASS TRIMMER
P/N 31496
Rev 000
Date 6-12-08
Nikko Tanaka Engineering U.S.A.,Ltd.• 1028 4th Street SW, Bldg B • Auburn, WA 98001 • Phone: (253) 333-1200 • Fax: (253) 333-1212
www.tanakapowerequipment.com custsvc@nikko-tanaka-usa.com

PARTS INFORMATION
custsvc@nikko-tanaka-usa.com
TBC-230
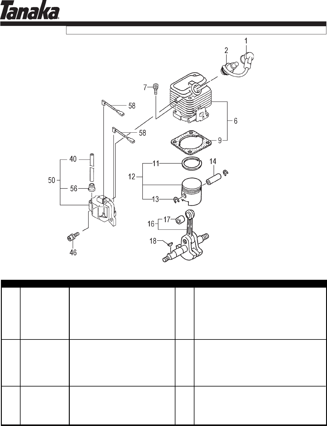
CYLINDER, PISTON, CRANKSHAFT • FIGURE 1
ITEM PART NUMBER DESCRIPTION QTY COMMENTS
1-1 15701570900 CAP,SPARK PLUG,ASSEMBLY 1
1-2 0181166021 PLUG,SPARK 1
1-6 0010713091 CYLINDER SET 1 Includes gasket
1-7 99461050184 BOLT,HEX,5X18,S 2
1-9 0170631A200 GASKET,CYLINDER 1
1-11 04100601210 RING,PISTON 1
1-12 0300007090 SET,PISTON 1 Includes piston rings & circlips
1-13 03901620200 CIRCLIP,PISTON PIN 2
1-14 03706500200 PIN,PISTON 1
1-16 0460713081CRANKSHAFT 1 ~B063250
1-16 0460713580CRANKSHAFT 1B063251~
1-17 99962081225 BEARING,NEEDLE,F-8101
1-18 06810100200 KEY,WOODRUFF,3X13X4.5 1 ~B063250
1-40 1782054620 CORD B 1
1-46 99463040154 BOLT,HEX,4X15,PS 2
1-50 1672054691 COIL,IGNITION 1
1-56 56020517200 CAP,RUBBER1
1-58 1780136M800 CORD,STOP 2
www.tanakapowerequipment.com Page 1

www.tanakapowerequipment.com
PARTS INFORMATION
custsvc@nikko-tanaka-usa.com
Page 2
TBC-230
CRANKCASE, FLYWHEEL, PULLEY • FIGURE 2
2-19 33000200210 SHIM,12.2X19X.10 V Shims are "as needed" to obtain correct
2-19 33000200220 SHIM,12.2X19X.15 V side clearance
2-19 33000200230 SHIM,12.2X19X.20 V
2-19 33000200240 SHIM,12.2X19X.30 V
2-22 7980304520 PULLEY,STARTER 1
2-31 0720712090CRANKCASE ASSY 1 Includes bearings, seals and gasket
2-32 99966122240 SEAL,OIL,#12227 2
2-33 99961600115 2
2-34 0900641020 GASKET,CRANKCASE 1
2-36 99461050184 BOLT,HEX,5X18,S 3
2-51 1552055080 ROTOR,MAGNETO 1 ~B063250
2-51 1552055081 ROTOR,MAGNETO 1 B063251~
2-52 99201080011 WASHER,8 1
2-54 99101080011NUT,8 1
~A293600
ITEM PART NUMBER DESCRIPTION QTY COMMENTS
2-31 0720712092CRANKCASE ASSY 1 Includes bearings, seals and gasket
A293601~
BEARING,BALL,#6001 C3

www.tanakapowerequipment.com
PARTS INFORMATION
custsvc@nikko-tanaka-usa.com
Page 3
TBC-230
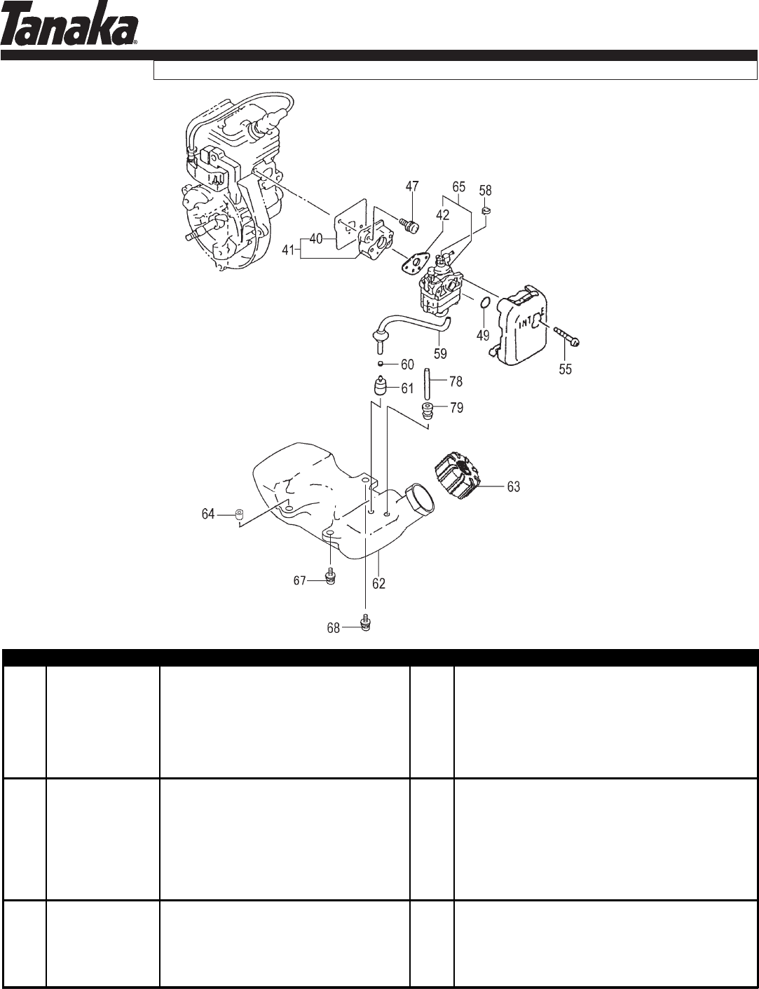
FUEL SYSTEM •FIGURE 3
3-40 4030631A20 GASKET,INLET MANIFOLD 1
3-41 4040099F90 SET,CARB INSULATOR 1
3-42 4020602K21 GASKET,CARBURETOR 1
3-47 99464050224 BOLT,HEX,5X22,WS 2
3-55 99414050601 SCREW,5X60 2
3-56 99201050011 WASHER,5 2
3-59 2230700090 SHIELD,TUBE 1
3-60 68000731201 CLIP 6.3 1
3-61 6750404280 FILTER,FUEL 1
3-62 5910712021 TANK,FUEL 1 Before S/N ~D003100
3-62 5910717F20 TANK,FUEL,EVAPO 1 After S/N D003101~
3-63 5950300290 CAP,TANK (BLACK/RED) 1
3-64 65900801200 COLLAR 3
3-65 4550713990 CARBURETOR SET 1
3-67 99463050164 BOLT,HEX,5X16,PS 2
3-68 99463050205 BOLT,HEX,5X20PS 1
3-78 70003005080 PIPE,FUEL 3X5X80 1
3-79 53432710200 GROMMET,FUEL PIPE 1
ITEM PART NUMBER DESCRIPTION QTY COMMENTS
3-58 5600712020 CAP, SWIVEL 1

www.tanakapowerequipment.com
PARTS INFORMATION
custsvc@nikko-tanaka-usa.com
Page 4
TBC-230
CLUTCH, MUFFLER & ENGINE COVER • FIGURE 4
Units after S/N B205033
(built in spark plug cover)

www.tanakapowerequipment.com
PARTS INFORMATION
custsvc@nikko-tanaka-usa.com
Page 5
TBC-230
CLUTCH, MUFFLER & ENGINE COVER • FIGURE 4
ITEM PART NUMBER DESCRIPTION QTY COMMENTS
4-1 7380716220 PROTECTOR,MUFFLER 1 With built in spark plug cover
4-2 3800641020 SCREW,COVER 1
4-3 99201040061 WASHER,4 1
4-4 99073045124 SCREW,TAPPING,4.5X12 1
4-5 99051050503 BOLT,HEX,5X50 2
4-6 99201050061 WASHER,5 2
4-7 7040713990 MUFFLER SET 1
4-8 99210040062 WASHER,SPRING 4 1
4-16 7370700020 GASKET,MUFFLER 1
4-17 1330654020 SHIELD,HEAT 1
4-24 99463040154 BOLT,HEX,4X15,PS 4
4-30 2570712420 COVER,PLUG 1 S/N ~B205033
4-31 35902103200 WASHER,CLUTCH,B 2
4-32 2900641080 SHOE,CLUTCH 2
4-33 3420641020 SPRING,CLUTCH 1
4-34 3480654020 PLATE,CLUTCH 2
4-35 35700601200 BOLT,STEP,CLUTCH 2
4-36 99464050184 BOLT,HEX,5X18,WS 2
4-38 99205080030 WASHER,8 2
4-39 99072045204 SCREW,TAPPING,4.5X20 1 S/N ~B205033
4-45 99464050304 BOLT,HEX,5X30,WS 1
4-63 19805015800 CLAMP,CORD 1
4-70 20210200201 GROMMET,SECONDARY CORD 1 S/N ~B205033
4-71 0110641020 COVER,COLLAR 1
4-77 75104200201 GASKET,MUFFLER 2
4-78 7340099K90 PIPE,EXHAUST 1
4-79 99434040081 SCREW,4X8/S 2
4-80 7320099F90 SET,SPARK ARRESTER 1

www.tanakapowerequipment.com
PARTS INFORMATION
custsvc@nikko-tanaka-usa.com
Page 6
TBC-230
RECOIL STARTER • FIGURE 5
Consider ordering the
748744, S-Start Kit if you
are replacing the starter
assy. It decreases the pull-
effort by 60%. They are
dependable and easy to
install.
748744
24
9
1
ITEM PART NUMBER DESCRIPTION QTY COMMENTS tiK tratS-S lanoitpO 00021706571Y'SSA RETRATS09540302670-5
1RETRATS,YDOB08540302771-5 1RETRATS,YELLUP02540304772-5
1LIOCER,GNIRPS02540309773-5
1GNIWS,MRA02540307774-5 1TES,WERCS02540309385-5
1YELLUP,YATS02540301776-5 1RETRATS,EPOR02540303877-5 1RETRATS,ELDNAH02540305878-5
5-9
5-24 3153334020
99463040154
NUT, SPECIAL 5MM
HEX, HOLE BOLT 4X15/PS
1
4NOT INCLUDED WITH ASSEMBLY

www.tanakapowerequipment.com
PARTS INFORMATION
custsvc@nikko-tanaka-usa.com
Page 7
TBC-230
AIR CLEANER • FIGURE 6
ITEM PART NUMBER DESCRIPTION QTY COMMENTS
6-0 4100714290 CLEANER,ASS'Y 1
6-1 4520007090 SET,CLEANER COVER 1
6-2 4210007020 ELEMENT,CLEANER 1
6-3 3800637C200 BOLT,CLEANER COVER 1
6-4 4230007081 BODY,CLEANER 1
6-6 5280714320 PLATE,CHOKE 1
6-7 99204080030 WASHER,8 1
6-8 6573252A20 COLLAR 8 1

www.tanakapowerequipment.com
PARTS INFORMATION
custsvc@nikko-tanaka-usa.com
Page 8
TBC-230
CARBURETOR • FIGURE 7
0
ITEM PART NUMBER DESCRIPTION QTY COMMENTS
7-0 4550713990 CARBURETOR SET 1 Includes gasket
7-2 5752515380 BODY,PUMP 1
7-3 4422515180 PUMP,PRIMING 1
7-4 4762515120 COVER,DIAPHRAGM 1
7-5 44725108200 BULB,PRIMING 1
7-6 ~ ~ ~ DIAPHRAGM,METERING 1
7-7 ~ ~ ~ GASKET,DIAPHRAGM 1 ~ Contained in Carb Repair Kit #650.25140.900
7-8 ~ ~ ~ DIAPHRAGM,PUMP 1 (Not available individually)
7-9 ~ ~ ~ GASKET,PUMP 1
7-10 5992000W38 JET,MAIN #38 1
7-11 55025100200 O-RING 1
7-12 48925100200 RING,STOP 1
7-13 53925120200 SWIVEL 1
7-15 54825140200 SCREW,THROTTLE SET 2
7-20 5482515120 SCREW,SET 4
7-201 57825007200 SCREEN,INLET 1

www.tanakapowerequipment.com
PARTS INFORMATION
custsvc@nikko-tanaka-usa.com
Page 9
TBC-230
FAN CASE • FIGURE 8
ITEM PART NUMBER DESCRIPTION QTY COMMENTS
8-1 2890706080 SHAFT,CLUTCH 1
8-3 99350012002 RING,STOP,C-12 EX 1
8-5 5990712021 CUSHION,ANTI-VIBE 1
8-6 99051050163 BOLT,HEX,5X16 1
8-8 99461050254 BOLT,HEX HOLE,5X25S 1
8-11 1120712480 CASE,FAN,(ORANGE) 1
8-15 3600099620 PIPE HOLDER,TPE 1
8-26 99201050061 WASHER,5 1
8-27 3243735020 WASHER,GEAR CASE 1
8-28 3610099020 FITTING,METAL 1

www.tanakapowerequipment.com
PARTS INFORMATION
custsvc@nikko-tanaka-usa.com
Page 10
TBC-230
DRIVE SHAFT, HANDLE • FIGURE 9
ITEM PART NUMBE
R
DESCRIPTION QTY COMMENTS
9-1 3433836020 SHAFT,DRIVE 1
9-2 3413836081 PIPE,DRIVE SHAFT 1
9-3 3473836090 BUSHING 5
9-4 99101050041 NUT,5 3
9-5 5003845120 HANDLE,FRONT 1
9-7 99416050302 SCREW,5x30,WS 3
9-9 8853845191 WIRE,THROTTLE ASSY 1 Includes swivel cap
9-25 8703845190 LEVER,THROTTLE ASSY 1
9-41 8803845120 LEVER,THROTTLE 1
9-42 8323845120 SPRING,RETURN 1
9-43 1623845120 SWITCH,STOP 1
9-44 9253845120 DECAL,STOP SWITCH 1
9-45 1563845180 SWITCH,STOP 1
9-46 99011050301 SCREW,5X30 3
9-47 99101050011 NUT,5 3
9-48 1640701701 TUBE,PROTECTION,7x170 1
9-49 5093845320 GRIP,SHAFT 1
1

www.tanakapowerequipment.com
PARTS INFORMATION
custsvc@nikko-tanaka-usa.com
Page 11
TBC-230
GEAR CASE & SAFETY GUARD • FIGURE 10
From S/N A314251 ~ B138800
Prior to S/N A314250
and
After S/N B138801

www.tanakapowerequipment.com
PARTS INFORMATION
custsvc@nikko-tanaka-usa.com
Page 12
TBC-230
GEAR CASE & SAFETY GUARD • FIGURE 10
ITEM PART NUMBER DESCRIPTION QTY COMMENTS
10-0 4413782090 SAFETY GUARD KIT 1
10-1 3003845190 CASE,GEAR ASSY 1
10-2 99461050254 BOLT,HEX HOLE,5X25S 1
10-4 99351024002 RING,STOP,C-24,IN 1
10-5 99350009002 RING,STOP,C9 1
10-6 99961609002 BEARING,BALL,#609Z 1
10-9 3003836021 CASE,GEAR 1
10-11 99416050121 SCREW,5X12/PS 2
10-12 3163815020 BOLT,FITTING,M8 1
10-13 99961626000 BEARING,BALL,#626 1
10-15 3043845120 SHAFT,GEAR 1
10-16 99961600003 BEARING,BALL,#6000D 1
10-17 99351026002 RING,STOP,IN,C-26 1
10-18 3103836020 HOLDER,CUTTER 1
10-26 99053060203 BOLT,HEX,6X20 2 Prior to S/N A314250 and After S/N B138801
10-27 99210060062 WASHER,S,6 2 Prior to S/N A314250 and After S/N B138801
10-28 4423741720 BRACKET,SAFETY GUARD 2 Prior to S/N A314250 and After S/N B138801
10-29 4413782080 GUARD,SAFETY 1 Prior to S/N A314250 and After S/N B138801
10-32 7973782020 LIMITER,LINE 1 Prior to S/N A314250 and After S/N B138801
10-34 99101040011 NUT 4 2 Prior to S/N A314250 and After S/N B138801
10-35 3013836000 GEAR & PINION SET 1
10-36 99201040011 WASHER 4 2 Prior to S/N A314250 and After S/N B138801
10-38 99414040121 SCREW,4x12S 2 Prior to S/N A314250 and After S/N B138801
10-45 3033836020 COVER,GEAR CASE 1
10-50 99053060303 SCREW,6X30 2 From S/N A314251 ~ S/N B138800
10-51 99210060062 WASHER,S,6 2 From S/N A314251 ~ S/N B138800
10-52 99201060061 WASHER,6 2 From S/N A314251 ~ S/N B138800
10-53 4423845120 BRACKET,GUARD 1 From S/N A314251 ~ S/N B138800
10-54 4413845120 SAFETY GUARD 1 From S/N A314251 ~ S/N B138800
10-55 4453825320 GUARD HOLDER 1 From S/N A314251 ~ S/N B138800
10-56 99011050151 SCREW,5X15 1 From S/N A314251 ~ S/N B138800
10-57 7973782020 BLADE 1 From S/N A314251 ~ S/N B138800
10-58 99201050011 WASHER,5 1 From S/N A314251 ~ S/N B138800
10-59 99174050010 NUT-U,5 1 From S/N A314251 ~ S/N B138800

www.tanakapowerequipment.com
PARTS INFORMATION
custsvc@nikko-tanaka-usa.com
Page 13
TBC-230
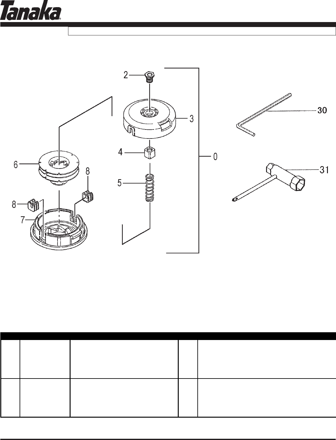
CUTTING HEAD & TOOLS • FIGURE 11
ITEM PART NUMBER DESCRIPTION QTY COMMENTS
11-0 746451 HEAD,SEMI-AUTO,5" 1
11-2 3563383E20 ADAPTER,746451,8x1.25 LHF 1
11-3 7863383020 BODY,CUTTING 1
11-4 3153383020 NUT,SPECIAL 1
11-5 7933383020 SPRING,REEL 1
11-6 7873383020 REEL 1
11-7 7893383020 CAP,BODY 1
11-8 7883383020 EYELET 2
11-30 81320000200 WRENCH,HEX,4 1
11-31 8292000080 SPANNER,COMBI,13X19 1

www.tanakapowerequipment.com
PARTS INFORMATION
custsvc@nikko-tanaka-usa.com
Page 14
TBC-230
DECALS • FIGURE 12
ITEM PART NUMBER DESCRIPTION QTY COMMENTS
12-1 9060713420 DECAL,TBC-230 1
12-3 9290713720 DECAL,TBC-230 1
12-4 92337400200 DECAL,LEVEL 1
12-10 9193782020 DECAL,CAUTION A 1
12-18 9233728620 DECAL,LEVEL 1
12-26 9233738F20 DECAL,LEVEL 1
4

www.tanakapowerequipment.com
PARTS INFORMATION
custsvc@nikko-tanaka-usa.com
Page 1
748503
BLADE KIT
18
WARNING! Read the owners
manual and follow all warnings and
safety instructions. Failure to do so
can result in serious injury to the
operator and/or bystanders. Never
attempt to mount a steel blade to a
machine that is not specifically de-
signed for that purpose. Never at-
tempt to mount a steel blade with-
out using all components of the
blade attachment kit, including
shoulder strap and barrier safety bar.
ITEM PART NUMBER DESCRIPTION QTY COMMENTS
4 3113844020 CAP,CUTTER HOLDER 1 Kit used on TBC-225, 230, 245PF, 2500,
5 99201060061 WASHER,6 4 TBC-225S, TBC-255PF
6 99101060041 NUT,6 2
7 5063730020 BRACKET,HANDLE,A 1
8 5203727720 BARRIER BAR 24MM 1
9 99053060403 BOLT,HEX,6X40 2
10 4423369921 BRACKET,SAFETY GUARD 1
11 44437609200 SPACER,BRACKET 2
12 4413738020 GUARD,SAFETY 1
13 4453738020 HOLDER,GUARD 1
14 3133754720 NUT,FIXING L.H. 8X1.25 1
15 3273718090 PIN,COTTER 2X20 (10 PACK) 1
16 30060 KIT,BLADE GUARD 1
18 746191 STRAP,SHOULDER,PSS-175 1 Includes mounting bracket/hardware

Nikko Tanaka Engineering U.S.A. ,Ltd.• 1028 4th Street SW, Bldg B • Auburn, WA 98001 • Phone: (253) 333-1200 • Fax: (253) 333-1212
Model & Serial: TBC-230 / TBC-230B
A211451 and later
Reason: We have received field reports that some units may not idle properly or may not
be adjustable to an acceptable idle RPM. In this situation the likely cause of this
is the length of the throttle cable. A longer throttle cable, which allows for more
idle speed adjustment is listed below and will correct this condition. In addition a
swivel cap is included to assist with the retention of the new longer throttle wire.
Comments: The new throttle wire inner length changes from the current 87.5mm to 91mm in
the new wire. After connecting the throttle wire to the carburetor swivel install
the swivel cap as shown in Fig. 1-6A. With the new throttle wire installed it will
be necessary to check and adjust the idle RPM.
Part Number Changes:
Old Part # New Part # Description
885-38451-91 Throttle wire complete
N/A 560-07120-20 Swivel cap (#2)
N/A 885-38451-91 Throttle wire set
TECHNICAL SERVICE BULLETIN NUMBER PI 3126
Date: December 2004

S・START KIT
Order Number
A --- TBC2501/D, TPH2501, TPS-2501, TPE2501 748733
B --- TBC230/230B/230D 748744
C --- TBC290/290D/340/340D 748732

S-Start Parts Information
REF. PART Q'TY
NUMBER NUMBER ABC
756-07075-00 S・START KIT (TBC2501) 1
756-07120-00 S・START KIT (TBC230) 1
756-07027-00 S・START KIT (TBC290) 1
000 762-07075-90 RECOIL STARTER BODY ASS'Y 1
000 762-07085-90 RECOIL STARTER BODY ASS'Y 1
000 762-07027-90 RECOIL STARTER BODY ASS'Y 1
001 785-07085-20 STARTER HANDLE 1 1 1
002 772-07085-80 RECOIL STARTER BODY COMP, 1 1 1
003 783-07085-20 RECOIL ROPE 1 1 1
004 780-07085-20 RECOIL SPRING 1 1 1
005 786-07085-20 SPRING PLATE 1 1 1
006,1 778-07027-90 RECOIL SPRING CASE ASS'Y 1 1
006,1 778-07085-90 RECOIL SPRING CASE ASS'Y 1
006,1 778-07075-90 RECOIL SPRING CASE ASS'Y 1
006 778-07085-91 SORING CASE ASS'Y 1 1
007 328-07085-20 STARTER BUSH 1 1 1
008,1 774-07075-20 STARTER PULLEY 1
008,1 774-07085-20 STARTER PULLEY 1
008,1 774-07027-20 STARTER PULLEY 1
008 774-07085-21 STARTER PULLEY 1
009 182-07085-20 SPECIAL WASHER 5.2X15 1 1 1
010 990-72050-144 TAPPING SCREW 5X14 1 1 1
011 991-01080-011 HEX. NUT 8 1
012 994-64040-185 HEX. HOLE BOLT 4X18WS 4
013 806-07027-20 STARTER BASE 1
014 806-07070-20 STARTER BASE 1
015 806-07120-20 STARTER BASE 1
016 990-73045-144 TAPPING SCREW 4.5X14 3 3 3
017 994-64040-125 HEX. HOLE BOLT 4X12WS 4
020 798-07085-90 STARTER PULLEY ASS'Y 1 1 1
021 991-91050-001 SQUARE NUT 5 1
022 915-07078-20 STARTER MARK (S・START) 1 1 1
060 314-07070-20 SPECIAL BOLT 1
DESCRIPTION