Toro Greenkeeper 212 Users Manual ManualsLib Makes It Easy To Find Manuals Online!
2014-12-11
: Toro Toro-Greenkeeper-212-Users-Manual-121616 toro-greenkeeper-212-users-manual-121616 toro pdf
Open the PDF directly: View PDF
.
Page Count: 39

GreenKeeper 212 Features:
• Easily Expandable Up To 12 Stations
with 2-Station Plug-in Modules
•3 Watering Programs With:
- Calendar, Interval and Odd/Even Days
- 1 Min. to 4 Hrs. Station Run Time
- 4 Start Times Per Program
•Battery Back-Up
•Automatic Pump Start
•Seasonal Run Time Adjust
•Rain Delay
•Rain Sensor Ready
•Remote Control Ready
•Snap-in Wire Connectors
Automatic Sprinkler System Controller
User’s Guide
MANUAL
START
ON
NEXT
OFF
PROGRAMS
BCA
R
R
Downloaded from www.Manualslib.com manuals search engine

Introduction and Set Up
■GreenKeeper 212 Components......................2-5
■Sprinkler System Basics....................................6
■Watering Program Basics..................................7
■Watering Program Details ..............................8-9
■Planning Your Watering Schedule...................10
■Filling Out the Watering Schedule Form.....10-11
❚Watering Schedule Form ..............................12
■Programming Before Installation .....................13
■Installing the Battery ........................................13
■Selecting Optional Features ............................14
❚24-Hour Clock Mode .....................................14
❚15-Second Run Delay ..................................14
❚Odd/Even Watering Days..............................14
■About the Controller Memory...........................14
■Resetting the Controller Memory.....................15
❚To Reset the Permanent Memory.................15
❚To Clear the Memory ...................................15
Programming the Controller
■Setting the Current Time and Day or Date ......16
■Setting the Watering Day Schedule............17-19
❚Setting a Calendar Schedule ........................17
❚Setting an Interval Schedule .........................18
❚Setting an Odd or Even Schedule.................19
❚Turning Off a Program .................................19
■Setting Program Start Times ...........................20
■Setting Station Run Times...............................21
Controller Installation
■Indoor Model Installation ..............................22
❚Connecting the Valves ..................................23
❚Connecting a Pump Start Relay....................24
❚Connecting the Transformer .........................24
■Outdoor Model Installation ...........................25
❚Preparing the Cabinet for Installation............25
❚Installing the Cabinet.....................................26
❚Connecting the Valves ..................................27
❚Connecting a Pump Start Relay....................28
❚Connecting the Power Source ................28–29
■Connecting a Toro Rain Switch .......................29
Controller Operation
■Automatic Operation .....................................30
■Manual Operation ..........................................31
❚Starting Programs or Stations Manually........31
❚Watering Control Features............................32
❚
To Pause Watering .....................................32
❚
To Resume Watering..................................32
❚
To Cancel Watering ....................................32
❚
To Skip Zones.............................................32
❚
To Adjust the Station Run TIme..................33
■Turning Off the GreenKeeper 212 ...................33
■Using the Rain Delay Feature..........................33
■Using the Season Adjust Feature....................34
Service and Specifications
■Replacing the Fuse..........................................35
■Adding a Station Module..................................36
■Troubleshooting...............................................36
■Specifications...................................................37
■Warranty ..........................................................38
■Electromagnetic Compatibility .........................38
Table of Contents
1

Controller Components
GreenKeeper 212 Introduction
and Set Up
2
1
3
BATTERY
2

GreenKeeper 212 Components
The following are brief descriptions of the controller com-
ponents and display elements. Each of these items will
be explained in further detail within the appropriate pro-
gramming, operating and installation sections of this
guide.
1 - LCD Display
A - “Start Time” symbol – Alarm clock is displayed
when setting the program start times.
B - Program start time identification numbers 1–4.
C - Main display of various time values and prompts.
D - Program A, B and C identifiers.
E - “Watering On” symbol – Water droplet indicates a
watering station is running. Droplet flashes if water-
ing is paused.
F - “Watering Off” symbol – Water droplet with slash
indicates all watering activity is Off.
G - “Power Off” symbol – Displayed when main power
is disconnected and controller is on battery power
only.
H - “Low Battery Voltage” symbol – Indicates low bat-
tery voltage (when main power is disconnected).
I - Watering Station identification numbers.
J - “Percent” symbol – Indicates the Season Adjust
feature is in use.
K - Day of the week identifiers.
L - “Run Time” symbol – Hourglass is displayed when
setting the watering station run times.
2 - Control Buttons
+/ON button – Increases the time display, scrolls for-
ward through the program information and selects
watering days.
–/OFF button – Decreases the time display, scrolls
backward through the program information and
removes watering days.
NEXT button – Advances to the next portion of pro-
gram information. Resumes watering if paused.
Advances through stations manually when watering.
MANUAL START button – Selects and starts manual
watering operations.
3 - Control Dial – Selects all controller programming
and operation controls (except Manual Start).
Control Dial Positions
RUN – The normal dial position for all automatic
and manual operations.
CURRENT TIME/DAY – Enables the clock time
and day to be set.
WATERING DAYS – Enables the watering day
schedules to be set and reviewed.
PROGRAM START TIME – Enables the program
start times to be set and reviewed.
STATION TIMES – Enables the station run time to
be set and reviewed.
(continued)
3

Controller Components
3 - Control Dial Positions (continued)
SEASON ADJUST – Enables the run time of all
zones in a program to be simultaneously increased
or decreased in 10% increments.
OFF – Shuts off and prevents all automatic and
manual watering activity.
RAIN DELAY – Enables all watering operations to
be delayed from 1 to 7 days.
4 - Program Select Switch – Three-position slide
switch used to select watering program A, B or C
during the programming procedures and manual
operation.
5 - 12 or 24-Hour Clock Selector Jumper – Removing
this jumper selects 24-hour (military time) clock
mode. Jumper installed selects 12-hour clock mode.
6 - Run Delay Selector Jumper– Removing this
jumper selects a 15-second delay period before a
station begins watering. Jumper installed provides a
2-second delay.
7 - Odd/Even Day Schedule Selector Jumper –
Removing this jumper enables an Odd or Even
watering day schedule to be selected.
8 - Fuse – Domestic - 0.75A, 3AG (shown throughout
manual). Export - 0.63A, (not shown).
9 - Battery Charger Switch – Controls the battery
charging circuit. Switch positions provided for
Alkaline (ALK) and rechargeable (RCHG) batteries.
10 - Rain Sensor Control Switch – Controls the sensor
input circuit. Switch positions provided for sensor
circuit On and Off.
11 - Sensor Connection Terminals – Snap-in connec-
tors for connection of an (optional) Toro Rain Switch.
12 - Valve Common Connection Terminal – Snap-in
wire connector for the valve common wire.
13 - Pump/Master Valve Connection Terminal –
Snap-in wire connector for a pump start relay or
master valve.
14 - Transformer Connection Terminals – Snap-in
connectors for the plug-in transformer wires.
15 - Plug-In Station Control Module – Each control
module provides snap-in connectors for two station
control valve power wires. Up to six modules can be
installed.
16 - 9-Volt Battery – The battery maintains the con-
troller memory if the transformer power is discon-
nected. Either an Alkaline or rechargeable Ni-MH
battery can be installed.
17 - Power Supply – A Plug-in transformer supplies
24 V a.c. power to the indoor controller models.
(Domestic transformer version shown.)
18 - Remote Control Receiver Jack – Modular jack
provided for connection of the optional Toro Remote
Control receiver cable.
(Refer to the instructions provided with the remote
control device for installation and operation details.)
19 - Transformer – A built-in transformer supplies
24 V a.c. power to the outdoor controller models.
20 - Terminal Block – Input power wire connection ter-
minals for outdoor controller models.
4

5
BATTERY
MANUAL
START
ON
NEXT
OFF
PROGRAMS
BCA
16
18
19
20
BATTERY
16
17
18
5
6
7
10
11
12
13
14
9
8
15
3
4
Controller Components

The three main components of every automatic sprinkler
system are the controller, station control valves and
sprinklers.
The controller is the brain of the system, telling the control
valves when and how long to supply water to the sprin-
klers. The sprinklers direct and control the water applied to
the lawn and plants.
Each valve controls a specific group of sprinklers called
a watering station. The stations are generally laid out
and installed according to the type of plant material to be
watered, the location of the plant within the landscape
and the maximum amount of water which can be sup-
plied. Each valve is connected to a numbered terminal
within the controller, identifying it as Station 1, Station 2,
etc.
The controller operates the valves in order, one at a
time. In other words, one station would water completely
before another station would turn on. This is called a
watering cycle. The information stored in the controller
memory which determines when and how long the sta-
tions will water is called a program.
The next section of this guide is very important. It explains
what a program is and how the GreenKeeper 212 controls
the operation of the sprinkler system.
Sprinkler System Basics
6
R
MANUAL
START
ON
NEXT
OFF
PROGRAMS
BCA
Valve 1 - Station 1 - Parkway Lawn - Fixed Spray
Valve 2 - Station 2 - Front Lawn - Fixed Spray
Valve 3 - Station 3 - Front Shrubs - Flood Bubbler
Valve 4 - Station 4 - Back Lawn - Geared Rotor
Valve 5 - Station 5 - Garden - Drip
Valve 1
Controller
Valve 2
House
Valve 3
Valve 4
Valve 5

A watering program requires three basic instructions to
operate automatically:
• What days to water –called watering days
• When to water – called a program start time
• How long to water – called station run time
The following example illustrates how a typical watering
program could be set for the sprinkler system shown on
the previous page.
Example: The program start time is set for 5:00 AM. Lawn
stations 1 and 2 each have a run time of 10 minutes and
lawn station 4 is set to run for 20 minutes. Note that sta-
tions 3 and 5 water shrubs and flowers and have been
excluded from this program. (These stations will be set
to operate on separate programs).
As shown in the watering program diagram, at 5:00 AM
the controller starts the program watering cycle. Station
1 sprinklers run for 10 minutes and shut off. Station 2
sprinklers turn on, run for 10 minutes and shut off. The
controller skips station 3 and turns on station 4, which
runs for 20 minutes and shuts off. Station 5 is skipped
and the watering cycle ends at 5:40 AM.
As you can see from this example, only one program
start time was needed to operate three different stations.
Because of variations in plant watering needs, the
GreenKeeper 212 provides three separate programs.
The programs, called A, Band C, are completely inde-
pendent of one another – like having three timers in one
housing.
Using more than one program for example, would enable
lawn zones to be watered every day on program A,
shrub zones to run on on Monday, Wednesday and Fri-
day on program Band drip irrigation to soak the flower
beds every three days on program C.
Although the GreenKeeper 212 offers the multiple pro-
gram feature, you may want to have all zones on one
program if it meets your needs. The other programs can
remain turned off until you need to use them.
Watering Program Basics
7
3
12
9
6
3
12
9
6
3
12
9
6
Station 1
Program
Starts - 5:00 AM
Program
Ends- 5:40 AM
Station 2
Station 4
Watering Program Diagram

This section covers in detail each of the three parts of a
watering program – watering days, program start times
and station run times.
Selecting Watering Days
The GreenKeeper 212 provides four options for schedul-
ing watering days: Calendar, Interval, Odd or Even and
Off.
Calendar Schedule
A Calendar schedule enables you to select specific days
of the week to water, for example, Monday, Wednesday
and Friday. This is a seven-day schedule which starts on
Sunday and ends on Saturday.
This illustration shows how a Calendar schedule would
be displayed when the control dial is in the
WATERING DAYS position.
In this example, program A
has watering days set for MO
(Monday), WE (Wednesday)
and FR (Friday).
Interval Schedule
An Interval schedule enables you to set watering days
without regard to the actual days of the week. For exam-
ple, if you want to water every third day, you would
select a 3-day Interval. Interval schedules range from
1-day (watering every day) to 7-day (watering every sev-
enth day). Once you have selected an Interval schedule,
you can choose which day of the week will be the first day
of the Interval. The number of days in the Interval deter-
mines the available start days. For example, if you have
selected a 3-day Interval and today is Sunday, you may
choose to start the Interval today, Monday or Tuesday.
This illustration shows how
an Interval schedule would
be displayed. In this exam-
ple, program Bhas a 3-day
Interval schedule which will
start on Monday.
Odd/Even Schedule
The Odd/Even schedule enables you to select odd or
even numbered days of the month as watering days.
This illustration shows how
an Odd day schedule
would be displayed.
Program Off
Selecting OFF suspends the operation of the program
when it is not needed. Turning the program off does not
alter or erase the watering day schedule of the program,
it simply places the program on hold until it is needed.
This illustration shows how a
program would be displayed
if its watering day schedule
is turned off. In this exam-
ple, program Cis off.
Watering Program Details
8
PGM A
SU MO TU WE TH FR SA
PGM A B C
SU MO TU WE TH FR SA
1 2 3 4 5 6 7 8
PGM A

Selecting Program Start Times
A program start time is the time of day you select to
begin an automatic program watering cycle.
It is important to remember that a program only
requires one start time to operate automatically.
When a program starts, each station assigned to the
program will water in numerical order, one at a time for
its set run time.
Sometimes it is necessary to run a watering program
more than one time per day. For example, when growing
a new lawn. The GreenKeeper 212 enables each pro-
gram to have up to four separate start times per day.
Program start times are numbered 1 through 4. These
numbers are shown at the top left of the display next to
the start time symbol when the control dial is in the
PROGRAM START TIME position and indicate how
many start times are currently set for the program.
This illustration shows how
a program start time is
displayed. In this example,
program Ahas one start
time (start time number 1)
set for 5:00 AM.
Setting the Station Run Time
A station run time is the length of time the station (con-
trolled by the valve) will water during the program water-
ing cycle. The run time for each station can be set from
Off (no run time) to 4 hours, in one-minute increments.
A station is assigned to a program when it is given a run
time. If the run time for a station is turned Off in a pro-
gram, it will not operate during the program watering
cycle. This is how the GreenKeeper 212 enables you to
assign stations to different programs.
All stations assigned to the program are shown on the
lower portion of the display when the control dial is in the
STATION TIMES position.
This illustration shows how
a station run time is dis-
played for a program. In this
example, zones 1–6 are
assigned to program A.
Station 1 has a 10-minute
run time and station 2 is set
to run for 25 minutes.
The station run time being
displayed is identified by the
flashing station number.
9
Flashing
Flashing

It is always helpful to plan your watering schedule on
paper before beginning the programming steps. You will
have a record of your watering schedule and station loca-
tions which can be kept with your GreenKeeper 212 after
it is installed. If you have an indoor model controller, a
watering schedule form is provided on page 12 for you to
fill out then remove to keep with the controller. This form is
duplicated on a decal located on the inside cover of the
outdoor model.
◆Guidelines for Watering
There are several factors to be considered when decid-
ing when and how long to water. For example, the soil
type (i.e., clay, loam, etc.), the part of the landscape
being watered, climate conditions and the type of sprin-
klers being used. Because of these variables, we cannot
provide an exact schedule to follow, but here are some
general watering guidelines to help you get started.
• Water early in the morning, one to two hours before
sunrise. You will have the best water pressure at this
time and the water can soak into the plant root zone
while evaporation is minimal. Watering during mid-day
or in the evening may cause plant damage or mildew.
• Watch for signs of under- or over-watering and make
program adjustments immediately.
Filling Out the Watering Schedule Form
When filling out this form, use a pencil so changes can be
easily made. After installing the indoor model controller,
remove the form and store it in the pocket formed
between the mounting bracket and the back of the con-
troller housing.
Refer to the example form shown on the opposite page
and fill out your form in a similar manner with the follow-
ing information:
•Location - Identify the location of each watering sta-
tion and the type of plant being watered.
Note: Enter the following information for each pro-
gram. If the program is not needed, leave its informa-
tion column blank.
•Watering Day Schedule - For a Calendar schedule,
indicate which day(s) of the week watering is desired.
For an Interval schedule indicate the desired Interval
number. For Odd or Even days, simply mark the
appropriate box.
•Station Run Time - Indicate the amount of run time
(1 minute to 4 hours) for each station. Write “Off” for any
station which you do not want to operate in the program.
•Program Start Times - Indicate the time of day to
start the program. Each program can have 1 to 4 start
times per watering day.
Note: The GreenKeeper will run only one watering
cycle at a time. Therefore, when using multiple start
times within a program or when using multiple pro-
grams, make sure that each watering cycle will be
able to run completely before the next watering cycle
is scheduled to start. A program start time that occurs
while a watering cycle is in progress will be delayed
until the current watering cycle is finished.
Planning Your Watering Schedule
10

11
(Example)

12
SU MO TU WE TH FR SA SU MO TU WE TH FR SA SU MO TU WE TH FR SA
1
1
2
3
4
5
6
7
8
9
10
11
12
23 456 7123 456 7123 456 7
CALENDAR
LOCATIONZONE STATION RUN TIME STATION RUN TIME STATION RUN TIME
WATERING
DAY SCHEDULE INTERVAL
ODD
ODD/EVEN EVEN
PROGRAM
START TIMES
1
2
3
4
PROGRAM AWatering Schedule Form PROGRAM B PROGRAM C
ODD EVEN ODD EVEN

The GreenKeeper 212 utilizes a 9-volt battery to retain its
watering program information in the event of a main power
interruption. This battery backup feature also enables
your controller to be fully programmed for operation right
out of the box—before installation—in the comfort of your
home. Simply attach the battery and begin the program-
ming steps. The program information will be retained for
the duration of the battery life – about 72 hours for an
Alkaline battery or 24 hours for a rechargeable Nickel-
Metal Hydride (Ni-MH) battery.
Note: The 9-volt battery does not supply enough voltage
to operate the station control valves.
1. Indoor models: Slide the lower housing cover toward
the bottom of the controller to remove.
Outdoor models: Pull outward on the lower housing
cover handle to remove.
Locate the battery wire clip and attach it to the battery
terminals. Place the battery into the cabinet compart-
ment as shown in Figure 1.
2. The display will begin flashing 12:00 AM. Press the
+/ON button to stop the display from flashing. The
colon (:) will continuously flash while displaying the
time and during watering operation. The Power Off
symbol will be displayed until the main power
supply is connected.
3. Locate the battery charger
switch (9) as indicated in
Figure 2. If an Alkaline bat-
tery is installed, the switch
must be set to the left posi-
tion (ALK) to turn the
charging circuit off. If a
rechargeable Ni-MH battery
is used, the switch must be
set to the right position
(RCHG) to turn the charging circuit on.
Caution: The battery charger switch must be set
correctly. Damage to the controller can result from
an Alkaline battery which may fail if charged.
4. Reinstall the lower housing cover.
Installing the Battery
Programming Before Installation
13
BATTERY
Figure 1
Figure 2
9
WARNING:
Always replace battery with the same or equivalent
type. Dispose of used batteries according to the
battery manufacturer’s recommendations.
Indoor Controller Outdoor Controller

24-Hour Clock Mode
The GreenKeeper 212 is
set to display time in the
12-hour clock mode. If you
prefer to use a 24-hour
clock mode (military time),
select this option by remov-
ing the 12/24 Hour Selector
Jumper (5). To store the
jumper, install it on one pin
as shown. See Figure 3.
15-Second Run Delay
The 15-second run delay feature is useful for sprinkler
systems utilizing a pump or master valve. For example,
a pump usually requires a few seconds to build pressure
after first starting. With the 15-second run delay select-
ed, the pump would be running (or the master valve
would open) 15 seconds before the first station begins
watering. A 15-second delay would also occur between
station operations. This helps ensure that one valve is
closed before another valve opens.
Note: A 2-second run delay will occur if this option is not
selected.
To select the 15-second delay option, remove the Delay
Selector Jumper (6). See Figure 3.
Odd/Even Watering Days
If you plan to use an Odd/Even day watering schedule,
remove the Odd/Even Selector Jumper (7) for this option.
The GreenKeeper 212 has a permanent watering sched-
ule within its memory to assist you in two ways. First, it
will restore watering operation in case your watering pro-
gram is lost due to a power interruption lasting longer
than the battery backup reserve. This prevents your
landscape from going unwatered if the power outage
occurs while you are away.
Secondly, if you do not want to program your
GreenKeeper 212, you can use the permanent water-
ing schedule to operate your sprinklers. Just set the
current time and day and your GreenKeeper 212 will
be ready to operate automatically.
The permanent watering schedule operates as follows:
When power is applied, the controller clock is set to
12:00 AM Sunday. Program Ahas a Calendar watering
schedule set to water every day. One program start time
is set for 5:00 AM (5:00) and a run time of 10 minutes is
set for each station. Programs Band Care turned Off
and have no program start times or run times.
Note: An optional feature is provided which enables the
The GreenKeeper 212 memory to be reset to the perma-
nent program or cleared completely if you choose. If you
do not want to use this option, skip the next procedure
“Resetting The Controller Memory” and continue at page
16 to begin programming.
About the GreenKeeper 212 Memory
Selecting Optional Features
14
BATTERY
Figure 3

15
The GreenKeeper 212 program memory can be reset to
the permanent program values or cleared completely at
any time without removing power.
Resetting the permanent program erases all user input
and replaces it with the permanent program values.
Clearing the program memory sets all program values to
Off (i.e., no active days, program start times or station
run times). You may find that this simplifies programming
the controller if your watering requirements are quite
different than the permanent values.
Note: When power is first applied, the GreenKeeper 212
will always reset to the permanent program values.
To Reset the Permanent Program (Figure 4)
Turn the control dial to the OFF position. OFF will
be displayed.
Press the +/ON and –/OFF buttons at the same time
until CLR is displayed.
Return the control dial to the RUN position.
To Clear the Memory (Figure 5)
Turn the control dial to the OFF position. OFF will
be displayed.
Press the +/ON and NEXT buttons at the same time
until CLR 0 is displayed.
Return the control dial to the RUN position.
Resetting the Controller Memory
2
2
1
3
2
1
3
2
Figure 4
Figure 5

16
Note: To select the 24-hour clock mode, see page 14.
Turn the control dial to the CURRENT TIME/DAY
position (the hour digits will begin flashing).
To adjust the display, press the +/ON button to scroll
the digits forward or the –/OFF button to scroll the
digits backward.
Note: The display will begin to change rapidly if either
button is held down for more than two seconds.
Press the NEXT button to select the next portion of
the display.
4. Repeat step 2 and 3 to set the current minutes.
Note: If the Odd/Even Jumper is removed, the current
year, month and day must be set. Continue at step 7 for
this procedure. If this option is not selected, set the cur-
rent day by continuing at step 5. Refer to Example 1.
To set the current day, press the +/ON button to
scroll forward or the –/OFF button to scroll backward
until the current weekday is displayed.
The weekday abbreviations are as follows:
SU (Sunday) MO (Monday)
TU (Tuesday) WE (Wednesday)
TH (Thursday) FR (Friday) SA (Saturday)
When the current time and day are displayed, return
the control dial to the RUN position.
To adjust the display, press the +/ON button to scroll
the digits forward or the –/OFF button to scroll the
digits backward. Refer to Example 2.
Press the NEXT button to select the next portion of
the display.
9. Repeat steps 7 and 8 to set the current month (first
two digits) and the day (second two digits).
When the current time and date are set, return the
control dial to the RUN position.
Setting the Current Time and Day or Date
Programming the Controller
SU
SU
7
10
8
7
7
7
8
Example 1
Example 2
Day
Month

For each program, you can select Calendar, Interval
Odd, Even or Off. To set a Calendar schedule, continue
here. To set an Interval schedule see page 18. To set an
Odd or Even schedule see page 19. To turn Off a pro-
gram, see page 19.
Setting a Calendar Schedule
Turn the control dial to the WATERING DAYS
position.
Check the PROGRAMS switch setting. If necessary,
reposition the switch to select the desired program.
The current watering schedule will be displayed. If
CAL (Calendar) is not displayed, press the +/ON or
–/OFF button as needed to select CAL.
Press the NEXT button. The watering days currently
set for this program will be displayed. SU (Sunday)
will begin flashing.
To select Sunday as a watering day, press the +/ON
button. To remove Sunday from the schedule, press
the –/OFF button. MO (Monday) will now begin flash-
ing. Continue to select or remove each day of the
week until only the desired watering days are shown.
6. To set a Calendar schedule for another program,
repeat all of the steps beginning at step .
When you have completed setting the Calendar
schedule for each program (as needed) return the
control dial to the RUN position.
Note: Each program can have its own Calendar, Inter-
val or Odd/Even schedule, but only one schedule can
be active at a time for that program. The watering day
schedule or OFF shown in the display when the control
dial is in the WATERING DAYS position, will be the
current schedule for that program.
Setting the Watering Day Schedule
17
3
1
PGM A
3
2
7
5
4
5
5
4
2
SU MO TU WE TH FR SA
3

Setting an Interval Schedule
Turn the control dial to the WATERING DAYS
position.
Check the PROGRAMS switch setting. If necessary,
reposition the switch to select the desired program.
The current watering schedule will be displayed. If
Int (Interval) is not displayed, press the +/ON or
–/OFF button as needed to select Int.
Press the NEXT button. The current Interval number
(1–7) will begin flashing. The day of the week on
which the Interval will start will be shown.
To change the Interval number, press the +/ON or
–/OFF button until the desired number is flashing.
Press the NEXT button. The Interval start day will
begin flashing.
To change the Interval start day, press the +/ON
button or the –/OFF button until the desired day is
flashing.
8. To set an Interval schedule for another program,
repeat all of the steps beginning at step .
When you have completed setting the Interval
schedule for each program (as needed) return the
control dial to the RUN position.
18
9
5 7
4 6
3
5 73
2
PGM A
3
5
74
1
32
MO
6

Setting an Odd or Even Schedule
Note:The Odd/Even Selector Jumper must be removed
for this type of watering schedule. See page 14 for details.
Turn the control dial to the WATERING DAYS
position.
Check the PROGRAMS switch setting. If necessary,
reposition the switch to select the desired program.
The current watering schedule will be displayed. If
Odd or Even is not displayed, press the +/ON or
–/OFF button as needed to select Odd or Even.
Note: When Odd is selected, the 31st day of the
month and the 29th day of a leap year will not be
active watering days.
4. To set an Odd or Even schedule for another
program, repeat steps and as needed.
When you have completed setting the Odd or Even
schedule for each program as needed, return the
control dial to the RUN position.
Turning Off a Program
Note: Turning off a program does not alter or erase a
preset watering day schedule. Selecting Off simply
places the program on hold until one of the watering day
schedules is selected.
Turn the control dial to the WATERING DAYS
position.
Check the PROGRAMsswitch setting. If necessary,
reposition the switch to select the desired program.
Press the +/ON or –/OFF button until OFF is flashing.
4. To turn another program Off, repeat steps and
as needed.
Return the control dial to the RUN position.
19
3
3
1
5
2
32
PGM C
5
3
3
2
PGM B
1
32

Turn the control dial to the PROGRAM START TIME
position.
Check the PROGRAMS switch setting. If necessary,
reposition the switch to select the desired program.
Program start time number 1 will begin flashing. The
current program start time or OFF will be displayed
for start time number 1. To select a different program
start time number, press the +/ON or the –/OFF button
until the desired number is flashing.
Note: The numbers (1–4) shown at the top of the display
designate program start times and should not be con-
fused with station numbers. The station numbers will be
shown at the bottom of the display when setting zone run
time.
Press the NEXT button. The hour digit(s) or OFF will
begin flashing.
Note: To remove the start time, select OFF by
pressing the +/ON and –/OFF buttons at the same
time, and continue at step .
To set the hour (and AM/PM), press the +/ON or the
–/OFF button until the desired hour is flashing.
Press the NEXT button. The minute digits will begin
flashing.
To set the minutes, press the +/ON or –/OFF button
until the desired minute is flashing.
Press the NEXT button. The next program start time
number will begin flashing.
To select another start time number, press the +/ON
or the –/OFF button until the desired start time num-
ber is flashing.
10. To set, change or remove a program start time for
the start time number selected, repeat all of the
steps starting at step .
11. To set program start times for another program,
repeat all of the steps starting at step .
Return the control dial to the RUN position.
Setting Program Start Times
20
PGM A
AM
12
12
468
357
3
4 5 6 7
75
92
3
9
9
2
1

Turn the control dial to the STATION TIMES
position.
Check the PROGRAMS switch setting. If necessary,
reposition the switch to select the desired program.
Station number 1 will be flashing and its current run
time or OFF will be shown. To select a different sta-
tion number, press the +/ON or –/OFF button until the
desired station number is flashing.
Press the NEXT button. The run time (or OFF) will
begin flashing.
To set the run time, press the +/ON or –/OFF button
until the desired run time is shown.
Note: To remove the run time, select OFF by press-
ing the +/ON and –/OFF buttons at the same time.
Press the NEXT button. The next station number will
begin flashing.
7. Repeat steps and as needed to set, change,
or remove the run time for the remaining stations.
8. To set the station run time for another program,
repeat all of the steps starting at step .
Return the control dial to the RUN position.
Setting Station Run Times
21
PGM A
123 4 5 6
3 5
3 5
9
4
3
5
2
1
4
2
5

Note: The GreenKeeper 212 indoor controller is not
weather resistant and must be installed indoors or in
a protected area.
For outdoor installation of an indoor model, a
weather-resistant outdoor cabinet is available. Order
model number GK212-CAB-01 for domestic controllers or
GK212-CAB-02 for export controllers.
1. Select a location for the controller within 4' (1.2m) of
an electrical outlet to enable the transformer wires to
easily reach. Make sure the outlet is not controlled by
a light switch.
2. Remove the mounting bracket attached to the back
of the controller housing by pulling the lower edge of
the bracket away and downward from the controller
housing.
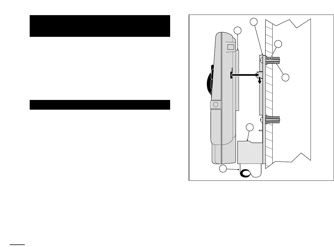
3. Place the mounting bracket (A) against the wall align-
ing the top edge at about eye level. Drive three 1"
(25mm) wood screws (B) into the wall through the
three holes provided in the bracket.
Note: If you are installing the bracket on drywall or
masonry, install screw anchors (C) to prevent screws
from loosening.
4. Optional - Insert 3/4" (19mm) PVC conduit (D) for
valve wiring into bracket sleeve (E).
5. Align the slotted openings on the back of controller
housing with the mounting bracket tabs. Slide the
controller downward to engage the tabs.
Note: After installation, store the Quick Reference
Guide and the Watering Schedule Form in the
pocket (F) behind the controller.
Indoor Model Installation
Controller Installation
22
B
C
F
A
E
D

1. Route the valve control wires between the valves and
the controller.
Note: Using 18 AWG (1.0mm2) multi-wire sprinkler
valve connection cable is recommended. This cable
is insulated for direct burial and is color-coded to sim-
plify installation.
2. Attach the white color-coded wire from the cable to
one wire from each valve solenoid. (Either solenoid
wire can be used for this connection.) This is called
the valve common wire.
3. Attach a separate cable wire to the remaining wire
from each valve solenoid. Make a note of the wire
color code used for each valve and the watering sta-
tion it controls. You will need to have this information
when connecting the valve wires to the controller.
4. Secure all wire splices using twist-on wire connectors.
To prevent corrosion and possible short circuits, use
a grease cap or similar waterproofing method to insu-
late each connection.
5. Route the wire cable into the controller through the
large opening in the base of the housing or through
PVC conduit if it is installed. Strip insulation back
1/2" (13mm) from all cable wires.
Note: The GreenKeeper 212 has snap-in wire termi-
nals. To attach wires, simply raise the lever, insert the
stripped wire, and press the lever down to secure.
6. Referring to the Controller Components on page 5 and
the diagram above, secure the valve common wire to
the terminal labeled COM (12). Connect the individual
station valve wires to the appropriate station module
terminals (15). Connect the master valve wire (if
applicable) to the terminal labeled PUMP/MV (13).
Note: Connecting a master valve or pump start relay
is optional and may not be required in your sprinkler
system.
Connecting the Valves
23
BATTERY
OFF
PROGRAMS
BCA
Valve Common
Wire
Station
Valves
Master
Valve

(Optional)
CAUTION: To prevent controller damage,
ensure the relay current draw does not exceed
0.30 Amps. Do not connect the controller
directly to the pump starter.
1. Route a wire pair from the pump relay into the con-
troller housing.
2. Connect one wire to the terminal labeled COM (12).
Connect the remaining wire to the terminal labeled
PUMP/MV (13) as shown below.
CAUTION: To prevent pump damage due to
“Dead-heading,” connect a jumper wire from any
unused station terminal to a station terminal with
a valve connected.
Note: For model GK212-26-04, contact your Toro dis-
tributor for the recommended transformer.
CAUTION: Do not plug the transformer into an
electrical outlet until all of the wiring procedures
have been completed.
1. Route the cable from the transformer (17) through the
small opening provided in the base of the housing.
Wrap the cable around the post as shown below.
2. Connect one transformer cable wire to each terminal
labeled 24 VAC (14). The wires can be connected to
either terminal.
Connecting the Plug-In TransformerConnecting a Pump Start Relay
24
1234
5678
17
14
12345678 9
1
0
U
N
T
I
M
E
S
9V
BATTERY
Pump Relay Valve Common Wire
Jumper Wire

1. Remove the lower housing cover (A) by pulling
outward on the handle.
2. Remove two phillips screws from the transformer
access cover (B). Pull the cover outward from the
bottom to remove.
3. Three lower mounting holes (C) are provided. The
center hole is open and the outer holes are plugged.
If you intend to use the outer holes for installation,
carefully drill through the plugs with a 3/16" (5mm)
drill bit.
Four wiring access holes are provided in the cabinet
base as follows:
(D) - 1/2" (13mm) for power and equipment ground wires.
(E) - 1/2" (13mm) (plugged) for optional Toro Rain Switch
wires.
(F) - 3/4" (19mm) for sprinkler valve wires.
(G) -1/2" (13mm) (plugged) for optional Toro remote
control cable.
4. If planning to install the optional Toro components,
remove the plugs as necessary.
Outdoor Model Installation
Preparing the Cabinet for Installation
25
MANUAL
START
ON
NEXT
OFF
MANUAL
START
ON
NEXT
OFF
PROGRAMS
BCA
R
R
R
R
BATTERY
MANUAL
START
ON
NEXT
OFF
PROGRAMS
BCA
A
B
C
DEF G

1. For safe, reliable operation, select an installation site
which will provide the following conditions:
•Protection from irrigation spray, exposure to direct
sun during the hottest hours, wind and snow.
•Access to a grounded power source which is not
controlled by a light switch or utilized by a high
current load appliance, such as a refrigerator or air
conditioner.
•Access to the sprinkler control valve wiring and
optional accessory wiring.
2. Drive a wood screw (provided) into the wall at eye
level (A). Leave the screw extended approximately
1/4" (6.5mm) from the wall.
Note: If you are installing the controller on drywall or
masonry, install screw anchors to prevent screws
from loosening. Use the dimension shown to predrill
holes for screw anchors.
3. Hang the cabinet on the screw using the keyhole
slot (B) on the back panel. Make sure the cabinet
slides down securely on the screw.
4. Install the lower mounting screw(s) and tighten
securely.
Note: Conduit and adapters are not provided. Install
conduit as required by local electrical codes.
5. Install 1/2" (13mm) conduit (C) for power/equipment
ground wires and 3/4" (19mm) conduit (D) for valve
wires.
Note: After installation, store the User’s Guide and
Quick Reference Guide on the hook located on the
inside of the door.
Installing the Cabinet
26
BATTERY
MANUAL
START
ON
NEXT
OFF
PROGRAMS
BCA
A
B
CD
6" (15.24cm)

1. Route the valve wires or wire cable from the valves,
into the controller cabinet.
Note: Using 18 AWG (1mm2) multi-wire sprinkler
valve connection cable is recommended. This cable
is insulated for direct burial and is color-coded to
simplify installation.
2. Attach the white color-coded wire from the cable to
one wire from each valve solenoid. (Either solenoid
wire can be used for this connection.) This is called
the valve common wire.
3. Attach a separate cable wire to the remaining wire
from each valve solenoid. Make a note of the wire
color code used for each valve and the watering sta-
tion it controls. You will need to have this information
when connecting the valve wires to the controller.
4. Secure all wire splices using twist-on wire connectors.
To prevent corrosion and possible short circuits, use
a grease cap or similar waterproofing method to insu-
late each connection.
5. Strip back 1/2" (13mm) of insulation from all cable
wires at the other end of the valve connection cable.
Note: The GreenKeeper 212 has snap-in wire termi-
nals. To attach wires, simply raise the lever, insert the
stripped wire, and press the lever down to secure.
6. Referring to the Controller Components on page 5 and
the diagram above, secure the valve common wire to
the terminal labeled COM (12). Connect the individual
station valve wires to the appropriate station module
terminals (15). Connect the master valve wire (if
applicable) to the terminal labeled PUMP/MV (13).
Note: Connecting a master valve or pump start relay
is optional and may not be required in your sprinkler
system.
Connecting the Valves
27
BATTERY
START
OFF
PROGRAMS
BCA
Valve Common
Wire
Station
Valves
Master
Valve

(Optional)
CAUTION: To prevent controller damage,
ensure the relay current draw does not exceed
0.30 Amps. Do not connect the controller
directly to the pump starter.
1. For pump relay wires, install a 1/2" (13mm) conduit
adapter and conduit.
2. Connect a wire pair to the pump relay terminals and
route the cable through the conduit and into the con-
troller housing.
3. Connect one wire to the terminal labeled COM (12).
Connect the remaining wire to the terminal labeled
PUMP/MV (13) as shown below.
CAUTION: To prevent pump damage due to
“dead-heading,” connect a jumper wire from any
unused station terminal to a station terminal with
a valve connected.
1. Route the power and equipment ground wires from the
power source, through the conduit and into the con-
troller transformer compartment.
Note: The controller terminal block accepts wire size
up to 12 AWG (4mm2).
2. Remove 3/8" (10mm) insulation from the wire ends.
3. Using a small flat blade screwdriver, secure the wires
as shown to the terminal block as follows:
Line or Line 1 (L1) to L, Neutral or Line 2 (L2) to N
and Equipment Ground to .
4. Install and secure the transformer compartment
cover.
5. Apply power to the controller.
Connecting the Power SourceConnecting a Pump Start Relay
28
BATTERY
Pump Relay Valve Common Wire
Jumper Wire
WARNING:
AC power wiring must be installed and connected
by qualified personnel only. All electrical compo-
nents and installation procedures must comply
with all applicable local and national electrical
codes. Some codes may require a means of discon-
nection from the AC power source installed in the
fixed wiring and having a contact separation of at
least 0.120" (3mm) in the line and neutral poles.
Make sure the power source is OFF prior to con-
necting the controller.
12
13

(Optional)
The Toro Rain Switch is a remote rain sensor which can
be connected directly to your GreenKeeper 212 to auto-
matically interrupt watering during rain.
A sensor bypass switch is provided which enables the
Rain Switch operation to be turned On and Off.
When the Rain Switch absorbs rain water it automatically
signals the GreenKeeper 212 to suspend all watering
operations. The “No Watering” symbol will appear in
the upper right corner of the display until the Rain Switch
drys out and automatically resets. The “No Watering”
symbol will disappear and controller operation will
resume as programmed.
1. Route the wire cable
from the Toro Rain
Switch into the con-
troller housing through
the access hole provid-
ed.
2. The Rain Switch cable
has four wires: two cop-
per wires and two silver
wires. Connect the
heavier 18 AWG
(1.0mm2) copper wire
and the thinner 24 AWG
(0.50mm2) silver wire to
the terminals labeled
SENSOR (11). Trim off
the remaining two wires.
3. Set Sensor Switch (10) as required: ON allows the
Rain Switch to interrupt watering; OFF bypasses the
Rain Switch input.
Note: The Toro Rain Switch is a normally closed
device. To install a normally open Rain Switch,
refer to the instructions provided with the device and
and install accordingly.
Connecting a Toro Rain Switch
Connecting the Power Source (cont.)
29
12
S
E
S
E
T
V
A
L
V
E
S
E
A
S
O
N
S
R
U
N
T
I
M
E
S
A
D
J
U
S
T
BATTERY
11
10
Toro Rain Switch
BATTERY

The GreenKeeper 212 controller has three modes of
operation: Automatic, Manual and Off. In the Automatic
mode the controller tracks the time and day and oper-
ates the automatic watering schedules. The Manual
mode enables the watering programs to be started and
controlled manually at any time. The Off mode shuts off
all watering activity and prevents any zones from operat-
ing automatically or manually.
The Rain Delay and Season Adjust control features are
provided to enable quick, temporary changes in operation
to help compensate for variables in weather and season.
Each of the operating modes and control features are
explained in this section of the guide and can be found
on the following pages:
•Automatic Operation, page 30
•Manual Operation, page 31
•Watering Control Features, page 32
•Turning Off The GreenKeeper 212, page 33
•Using the Rain Delay Feature, page 33
•Using the Season Adjust Feature, page 34
In the Automatic mode, the GreenKeeper 212 keeps
track of the current time, day of the week and the auto-
matic watering program schedule. Automatic operation
will occur whenever a programmed watering day and
start time match the current time and day.
The Automatic mode is selected when the control dial is
in the RUN position. While in the automatic mode, the
display will show two types of information:
status and operation.
This illustration shows the
status display. In this
example the current time is
2:45 PM and the current
day is Monday. Programs
Aand Bare active on Monday.
When watering starts, the operating display appears and
is shown for the duration of the program.
In this example, program A
is operating. Station 1 is
watering and has 10 min-
utes of run time remaining.
Zones 2, 3 and 4 will oper-
ate during this program.
Program Bis also pro-
grammed to run today.
Note: If the control dial remains in any other position
(except OFF) for more than 8 minutes, the controller
reverts to the Automatic mode.
Note: The position of the PROGRAMS switch does not
determine which program will run during automatic con-
troller operation. In other words, if a program has an
assigned watering day schedule, start time and a station
with run time, it will operate automatically regardless of
the position of the PROGRAMS switch.
Automatic Operation
Controller Operation
30
PM
MO
56
Flashing
Flashing

Manual operation enables the automatic watering pro-
grams or selected stations assigned to the program to be
started manually. During operation, temporary changes
can be made to increase or decrease the station run
time, step through the station sequence and pause or
stop watering using the “Watering Control Features”
described on page 32. Upon completion of the manual
watering operation, the controller will return to the Auto-
matic mode.
Starting Programs and/or Stations Manually
You may operate all stations or selected stations in each
program. Watering programs can be started individually or
set to start in order. When one program finishes the next
selected program will operate.
Ensure the control dial is in the RUN position.
Position the PROGRAMS switch to select the program
you wish to start.
Choose one of the following manual operations:
•To operate the selected program with all
assigned stations, press the MANUAL START
button two times to begin watering.
•To operate only selected stations, press the
MANUAL START button, then press the +/ON button
to select the flashing zone number, or press the
–/OFF button to skip the zone number. Continue
selecting or omitting zones in this manner. When
only the desired zones are displayed, press the
MANUAL START button again to begin watering.
4. To select additional programs, repeat steps and .
Note: Additional programs set to start will operate
one at a time in alphabetical order. Each program
letter will be displayed as it is selected. The program
currently operating is indicated by the flashing pro-
gram letter.
Manual Operation
31
PGM A B
123 4 5 6
3
3
3
1
2
Flashing
Flashing
Example: Program Ais operating. Program Bwill start
when program Ais finished.

The following watering control features enable you to fur-
ther control the watering program during operation.
All watering control features apply to watering programs
started manually and automatically.
To Pause Watering
Press the +/ON and –/OFF buttons at the same time.
•The station currently watering will shut off.
•The “Watering On” symbol will begin flashing.
•The display will show the amount of run time remain-
ing for the paused station.
Note: If watering is not resumed within 8 minutes, all
watering operations will be canceled and the con-
troller will return to the automatic mode.
To Resume Watering (when paused)
Press the NEXT button.
•Watering activity will resume from the point of inter-
ruption.
To Cancel Watering
Press the +/ON and –/OFF buttons at the same time -
two times.
•All watering operations will be canceled and the con-
troller will return to the automatic mode.
Note: Placing the control dial in the OFF position for
two seconds, then back to RUN will also cancel all
watering operations.
To Skip Stations
Press the NEXT button one time.
•The station currently watering will shut off and the
next station will start.
•If the last station is skipped, the program will end. If
additional programs have been set to operate, the
next program in alphabetical order will start.
To Adjust the Station Run Time
Press the +/ON button to increase run time or the –/OFF
button to decrease run time.
•If the station run time is decreased to less than
1 minute, the station will shut off. The next station in
sequence will start.
•The station run time is changed during this operation
only. The program memory will not be changed.
Watering Control Features
32

When the control dial is turned to the OFF position, the
controller immediately shuts off any watering operation
currently in progress. Leaving the control dial in the
OFF position will prevent all automatic and manual
watering operations. The controller will continue to track
the current time and day of the week.
For extended shutdown of the sprinkler system leave the
control dial in the OFF position.
The word OFF will be displayed
for 8 minutes. The automatic sta-
tus display will then appear.
Automatic operation is resumed
by turning the control dial to the
RUN position.
This feature enables all watering operations to be
delayed from 1 to 7 days. For example, rain is forecast in
your area for the next two days. Instead of turning the
controller off (and possibly forgetting to turn it back on), a
rain delay of 3 days can be easily entered. At the end of
3 days, the controller will resume automatic operation as
scheduled.
Turn the control dial to the RAIN DELAY position.
The rain delay display will begin alternating with the
automatic status display.
To set the number of rain delay days, press the +/ON
or –/OFF button until the desired number (1–7) is
flashing.
Return the control dial to the RUN position.
Note: The rain delay number will automatically
decrease as each day passes. When the number
reaches 0 (zero), automatic operation will resume at
the next scheduled start time.
To cancel the rain delay, turn the control dial
momentarily (3 seconds) to the OFF position.
Using the Rain Delay Feature
Turning Off the GreenKeeper 212
33
2
2
13
PM
MO
PM
MO
Flashing

Changes in season and temperature generally require a
change in station run time to maintain a healthy land-
scape and conserve water. The season adjust feature
enables you to change the run time of all zones assigned
to a program, simultaneously up or down, in 10% incre-
ments – with just the press of a button. Adjustments can
be reduced to 10% or increased to 200% of the pro-
grammed run time of each station.
A 50% setting, for example, would decrease a 20-minute
station run time to 10 minutes. Increases however, work
a little differently. With any adjustment above 100%, the
GreenKeeper 212 will first increase the run time by the
adjustment percentage, then split the time in half and run
the watering program twice. This allows the water to
soak in instead of pooling or running off. For example,
adjusting to 150% would first increase a 20-minute sta-
tion run time to 30 minutes, then split the time in half and
run two watering cycles back-to-back with 15 minutes in
each operation. During operation the % symbol will flash
to indicate a multiple watering operation.
Note: All station run times are retained in the controller
memory and returned to their set value when the season
adjust is reset to 100%. The only time a station run time
will appear changed is during operation.
Turn the control dial to the SEASON ADJUST posi-
tion. The season adjust display will be shown and
100% will be flashing.
Check the PROGRAMsswitch setting. If necessary,
reposition the switch to select the desired program.
Press the +/ON or –/OFF until the desired adjustment
value is flashing.
4. To apply the Season Adjust feature to another pro-
gram, repeat steps and .
Return the control dial the RUN position.
Using the Season Adjust Feature
34
3
3
1
5
2
%

The fuse protects the controller from damage due to
power surges and excessive current draw through the
Station Modules. Before replacing the fuse, check for the
probable cause, such as a shorted or improperly connect-
ed control valve wire, then replace the fuse as follows:
1. Unplug the transformer from the wall receptacle.
(indoor model) or shut off power at the source
(outdoor model).
2. Remove the lower housing cover from the controller.
3. Carefully remove the blown fuse from the retaining
clip. (See page 5 item 8 for fuse location.)
4. Remove the replacement fuse from the back side of
lower housing cover (indoor model) or the lower
inside corner of the door (outdoor model) and install it
into the fuse retaining clip.
5. Install the lower housing cover.
6. Apply power to the controller.
1. Turn the control dial to the OFF position.
2. Remove the lower front cover from the controller
housing by sliding it downward.
3. Place the back of the station control module (model
number MOD 212-02) squarely between the guides
of the first open expansion slot (from left to right).
Pushing lightly on the bottom of the module, slide it
upward until it locks into position.
4. To connect the valve wires, refer to “Connecting The
Valves” on page 23 or 27.
5. Install the lower front cover.
6. To set the station run time, refer to “Setting Station
Run Times” on page 21.
7. To test the operation of the new watering station(s),
refer to “Manual Operation” on page 31.
Adding a Station Module
Replacing the Fuse
Service and Specifications
35
24HR
12HR
7 4 3 2 1 8
WARNING:
For continued protection against risk of fire,
replace only with the same type and rating of fuse.
Remove the controller power source prior to
servicing the fuse. Failure to comply may result in
serious injury and/or controller damage.

36
If you are having a problem with the controller, check the following symptoms, possible causes and remedies. If
the problem cannot be resolved or you would like assistance with any Toro irrigation product, call our toll-free
Toro Help Line, 1-800-664-4740 Monday through Friday, 7:30 AM – 4:00 PM (Pacific Standard Time).
Troubleshooting
Possible Cause
The battery is dead and one or more
of the following causes:
Blown fuse.
Main power is disconnected.
Watering programs have overlapping
schedules.
Faulty control valve wire connections.
Station run time is turned Off.
Control valve problem.
More than one start time on the
program.
Season Adjust setting greater than
100%.
Remedy
Replace the battery and one or
more of the following:
Replace the fuse. See page 35.
Check the transformer connections
(indoor model) or circuit breaker ser-
vice panel (outdoor model).
Shorten station run times and/or
space start times farther apart.
Check the wire connections at the
control valve and controller.
Enter a station run time. See page 21.
Inspect, clean and/or repair valve as
needed.
Remove additional program start
times. See page 20.
Set SEASON ADJUST to 100%.
See page 34.
Symptom
The display is blank and the
controller does not operate.
Watering programs start at
unscheduled times.
Watering station does not turn on.
Watering station does not turn off.
Program restarts unexpectedly
after the completion of an auto-
matic operation.

Cabinet Dimensions:
Indoor Model
7.5" W x 8.5" H x 2" D
(19cm W x 21.6cm H x 5cm D)
Outdoor Model
13.25" W x 9" H x 3.5" D
(33.7cm W x 22.9cm H x 9cm D)
Power Specifications:
Indoor Model - Domestic
Plug-in Transformer, Class 2, UL Listed, CSA Certified
(or equivalent)
• Input: 120 V a.c. 60 Hz, 0.5A
• Output: 24 V a.c. 60 Hz, 18 VA
Indoor Model - Export
Plug-in Transformer, TUV Approved
• Input: 230 V a.c. 50Hz, 0.1A
• Output: 24 V a.c. 50 Hz, 18 VA
Indoor Model - Australia
Plug-in Transformer, SAA Approved
• Input: 240 V a.c. 50Hz, 0.1A
• Output: 24 V a.c. 50 Hz, 18 VA
Outdoor Model - Domestic
Built-in Transformer, Class 2, UL Listed, CSA Certified
(or equivalent)
• Input: 120 V a.c. 60 Hz, 0.5A
• Output: 24 V a.c. 60 Hz, 20–30 VA
Power Specifications (continued):
Outdoor Model - Export
Built-in Transformer, TUV Approved, SAA Approved
• Input: 230/240 V a.c. 50/60 Hz, 0.1A
• Output: 24 V a.c. 50/60 Hz, 20 VA
Outdoor Model - Australia
Built-in Transformer, SAA Approved
• Input: 230/240 V a.c. 50/60 Hz, 0.1A
• Output: 24 V a.c. 50/60 Hz, 20 VA
Maximum Load Per Station:
0.30 Amps @ 24 V a.c.
Maximum Load For Pump/Master Valve:
0.30 Amps @ 24 V a.c.
Total Maximum Output: (one station plus pump),
not to exceed 0.60 Amps @ 24 V a.c.
Fuse: 0.75A, 3AG (Domestic) or
0.63A, IEC (Export/Australia) – Protects AC Return
Battery Type and Back-Up Duration (approximate):
9-Volt Alkaline – 72 hrs. or 9-Volt Ni-MH – 24 hrs.
Temperature Limit Range:
Operating – 14°F to 140°F (-10°C to 60°C)
Storage – -22°F to 149°F (-30°C to 65°C)
Specifications
37

Domestic: This equipment has been tested and found to comply with the
limits for a Class B digital device, pursuant to Part 15 of the FCC Rules.
These limits are designed to provide reasonable protection against harm-
ful interference in a residential installation. This equipment generates,
uses and can radiate radio frequency energy and, if not installed and
used in accordance with the instructions, may cause harmful interference
to radio communications. However, there is no guarantee that interfer-
ence will not occur in a particular installation. If this equipment does
harmful interference to radio or television reception, which can be deter-
mined by turning the equipment off and on, the user is encouraged to try
to correct the interference by one or more of the following measures:
1. Reorient or relocate the receiving antenna.
2. Increase the separation between the equipment and receiver.
3. Connect the equipment into an outlet on a circuit different from that to
which the receiver is connected.
4. Consult the dealer or an experienced radio/TV technician for help.
The user may find the following booklet prepared by the Federal Com-
munications Commission helpful:
“How To Identify and Resolve Radio-TV Interference Problems”. This
booklet is available from the U.S. Government Printing Office, Washing-
ton, DC 20402. Stock No. 004-000-00345-4.
International: This is a CISPR 22 Class B product.
©2002 The Toro Company, Irrigation Division, An ISO 9000-Certified Company Form Number 373-0193 Rev. B
The Toro Promise — Limited Three-Year Warranty
The Toro Company and its affiliate, Toro Warranty Company, pursuant to an agree-
ment between them, jointly warrants, to the owner, each new piece of equipment
(featured in the current catalog at date of installation) against defects in material and
workmanship for a period described below, provided they are used for irrigation
purposes under manufacturer's recommended specifications. Product failures due
to acts of God (i.e., lightning, flooding, etc.) are not covered by this warranty.
Neither Toro nor Toro Warranty Company is liable for failure of products not
manufactured by them even though such products may be sold or used in conjunc-
tion with Toro products.
During such warranty period, we will repair or replace, at our option, any part
found to be defective. Your remedy is limited solely to the replacement or repair of
defective parts.
Return the defective part to your local Toro distributor, who may be listed in
your telephone directory Yellow Pages under "Irrigation Supplies" or "Sprinkler Sys-
tems," or contact The Toro Warranty Company P.O. Box 489, Riverside, California,
92502.
Phone (800) 664-4740 for the location of your nearest Toro distributor or outside
the U.S., call (909) 688-9221.
This warranty does not apply where equipment is used, or installation is per-
formed, in any manner contrary to Toro’s specifications and instructions, nor where
equipment is altered or modified.
Neither Toro nor Toro Warranty Company is liable for indirect, incidental or
consequential damages in connection with the use of equipment, including but
not limited to: vegetation loss, the cost of substitute equipment or services
required during periods of malfunction or resulting non-use, property damage or
personal injury resulting from installer’s actions, whether negligent or other-
wise.
Some states do not allow the exclusion or limitation of incidental or conse-
quential damages, so the above limitation or exclusion may not apply to you.
All implied warranties, including those of merchantability and fitness for
use, are limited to the duration of this express warranty.
Some states do not allow limitations of how long an implied warranty lasts,
so the above limitation may not apply to you.
This warranty gives you specific legal rights and you may have other rights
which vary from state to state.
The GreenKeeper 212 controller is covered by this warranty for a period of three
years from the date of installation.
Warranty Electromagnetic Compatibility