Toshiba Information Systems TQ5-E01 GSM SmartPhone w/WiFi and Bluetooth User Manual TG02 UM EN
Toshiba Information Systems (UK) Ltd, Mobile Communications Division GSM SmartPhone w/WiFi and Bluetooth TG02 UM EN
TQ5-E01 User Guide [short-term confidential] rev01

Table of contents
1
Table of contents
Preface 5
Declaration of conformity 6
Important Health and Safety
Information 8
SAFETY ICONS 8
Handling your Toshiba phone 23
Emergency Calls and GPS 23
BLUETOOTH AND WIRELESS LAN
FUNCTIONS 24
Attention 27
Disposal 28
FCC Notice 30
FCC RF exposure information 31
Disclaimers 32
Important Legal Information 33
Disclaimers 33
Copyright Notice 35
Care and maintenance 36
LCD Panel 36
Restarting your Toshiba phone 36
Resetting your Toshiba phone 37
Reinitialising your Toshiba phone 37
Getting started 38
Unpacking 38
Phone layout and functions 39
Installing the SIM card, microSD card
and battery 42
Charging the battery 46
Switching the power on and off 47
Touch user interface 48
Operator Settings 57
Synchronising your Toshiba phone
with a PC 57

Table of contents
2
Table of contents
Call functions 60
Receiving a call 60
Ending a call 60
Making a call 61
Speed Dial 62
In-call options 64
Multiple and multiparty calls 65
Call History 67
Messaging 68
Text messages 68
MMS messages 71
E-mail 74
Windows Live Messenger 76
Nimbuzz 77
Applications and multimedia 78
Calendar 78
Camera 79
Contacts 82
CorePlayer 85
File Explorer 85
Games 85
Getting Started 85
Internet Explorer 86
Java 88
Marketplace 89
Microsoft My Phone 90
Notes 90
Office Mobile 91
PhotoBase 92
Pictures & Videos 92
Search Phone 93
SIM Toolkit 93
Streaming Player 94
Tasks 94
Video Editor 95
Windows Live 95
Windows Media 96

Table of contents
3
Table of contents
Connectivity 98
Beam 98
Bluetooth 99
Domain Enroll 101
Internet connections 102
Internet Sharing 102
USB Mode 103
Wi-Fi 103
Wireless Manager 104
Settings 106
About 106
Adjust Geomagnetic Sensor 106
Adjust Motion Sensor 107
Backlight 107
Browser Settings 108
Certificates 108
Clock & Alarms 108
Customer Feedback 109
Encryption 109
Error Reporting 110
External GPS 110
Internal GPS 111
Location Request 111
Managed Programs 111
Master Clear 111
Memory 112
Motion Sensor Settings 113
Owner Information 113
Phone 113
Power Saving Settings 119
Power 119
Regional Settings 120
Remove Programs 120
Screen 121
Security 121
Sleep Mode Indicator 125

Table of contents
4
Table of contents
Sounds & Notifications 125
Task Manager 126
Toolbox Settings 126
Video Quality Setting 127
Volume control 127
Specifications 128
Troubleshooting 131
Annex 1 - Text input 135
Input methods 135
Input Panel 135
Writing and drawing on the screen 136
Annex 2 - Navigating your Toshiba
phone 138
Phone screen 138
Annex 3 - Common status
icons 142
Annex 4 - Configuring SMS, MMS
and e-mail 145
Setting up text messages service
centre 145
Configuring MMS settings 145
Setting up e-mail accounts 146
General messaging options 153
Annex 5 - Configuring internet
settings 155
Toshiba Corporation 160
End User License Agreements
(EULAs) 162
Licenses 168
Index 170

Preface
5
Preface
Preface
Hello and welcome
Congratulations on your purchase of the Toshiba TG02.
For additional phone content, please visit www.toshiba-europe.com/mobile.
If you require further technical support please contact our customer operations team as follows:
Tel.: 008000 505 2006
E-mail: customer_operations@toshiba.co.uk
Opening hours: Monday - Friday 9AM - 1PM and 2PM - 6PM (CET)
We hope you enjoy using your new Toshiba phone.
To use your Toshiba phone, you must have service from a wireless service provider. Many of the
features in your Toshiba phone depend on features in the wireless network to function. These
network services may not be available on all networks, or you may have to make specific
arrangements with your service provider before you can utilise network services. Your service
provider may need to give you additional instructions for their use and explain what charges will
apply. Some networks may have limitations that affect how you can use network services. For
instance, some networks may not support all language-dependent characters and services.
Please note that the Windows Live Messenger and Windows Live applications described in this
user manual may not be available on your Toshiba phone because support for these applications
is dependent on your network service provider.
The availability of particular products may vary by region.
Due to the continual development of our products, Toshiba reserves the right to modify this
document at any time without prior notice.

Declaration of conformity
6
Declaration of conformity
Declaration of conformity
We, Toshiba Information Systems UK (Ltd), Mobile Communications Division, of
Toshiba Court, Weybridge Business Park, Addlestone Road, Weybridge, KT15 2UL declare under our
sole responsibility that this product (TG02, Type (Model) Name TM5-E01) is in conformity with the following
standards and/or other normative documents:
EN301511 v9.0.2, 2003-03, EN301908-1 v3.2.1, 2007, EN301908-2 v3.2.1, 2007-05, EN60950-1 2006,
EN300328 v1.7.1, 2006, EN300440 v1.2.1, 2008, EN50360 2001, EN62209-1 2006, EN301489-1 v1.8.1,
2008, EN301489-3 v1.4.1, 2003, EN301489-7 v1.3.1, 2005, EN301489-17 v1.3.2, 2008 and EN301489-24
v1.4.1, 2007
We hereby declare that all essential radio test suites, EMC & safety requirements have been carried out and that
the above named product is in conformity to all the essential requirements of Directive 1999/5/EC.
The conformity assessment procedure referred to in Article 10(5) and detailed in Annex IV of Directive 1999/5/
EC has been followed with the involvement of the following Notified Body(ies):
SGS UK, South Industrial Estate, Bowburn, and County Durham, United Kingdom DH6 5AD
XX XXXX XXXX
Hidehito Koka
Deputy Managing Director of TIU
General Manager Mobile Communications Division

Declaration of conformity
7
Declaration of conformity
This equipment may be operated in:
AT BE BG CH CY CZ DE DK
EE ES FI FR GB GR HU IE
IT IS LI LT LU LV MT NL
NO PL PT RO SE SI SK TR

Important Health and Safety Information
8
Important Health and Safety Information
Important Healt h and Safety Information
SAFETY ICONS
This manual contains safety instructions that must be observed to avoid potential hazards that
could result in personal injuries, damage to your equipment, or loss of data. These safety cautions
have been classified according to the seriousness of the risk, and icons highlight these instructions
as follows:
• Indicates a hazardous situation which, if not avoided, could result in death
or serious injury.
• Indicates a hazardous situation which, if not avoided, could result in minor
or moderate injury.
• Indicates a potentially hazardous situation which, if not avoided, may
result in property damage.
•NOTICE: Provides important information.
!
WARNING
!
CAUTION
CAUTION

Important Health and Safety Information
9
Important Health and Safety Information
RECOMMENDATIONS FOR SAFE USE OF YOUR DEVICE (PHONE,
BATTERY, ADAPTOR/CHARGER, CABLE AND OTHER ACCESSORIES)
•Never allow your Device to become wet or exposed to moisture or humidity.
Contact with liquids may cause overheating, electric shock, fire, malfunction, or serious injury.
The warranty for your Device does not apply if the water exposure detection sticker shows water
exposure or tests determine that corrosion has occurred due to water exposure, condensation,
or perspiration.
• Always turn off your Device when near a flammable or explosive gas, e.g. at a gas
station. Also, do not charge your Device in these locations. Doing so may cause the gas
to ignite or explode.
•Always check your surroundings and situation to ensure it is safe to make and receive
calls, send and receive messages, text, and/or take pictures.
Failure to do so may cause you to trip or cause a traffic accident.
•Never leave your Device in humid, dusty or hot places.
Doing so may cause malfunction.
!
WARNING
!
CAUTION
CAUTION

Important Health and Safety Information
10
Important Health and Safety Information
•Never disassemble, modify or repair the Device.
Doing so may cause overheating, cracks, electrical shock, fire, damage to the equipment, or
serious injury.
For repair, contact your service provider.
•Never deposit fluids or insert objects such as pieces of metal or flammable materials
into the microSD card slot.
Doing so may cause overheating, fire, electric shock or malfunction.
•If you have a weak heart, always use caution when setting the call vibration or ring tone
volume.
Sudden loud sounds or vibrations may affect your heart.
•If the display is broken and the liquid crystal leaks, do not lick, swallow, or touch it.
If the liquid crystal or liquid comes into contact with your eyes or mouth, immediately
rinse with water and see a doctor. If the liquid crystal adheres to your skin or clothing,
immediately wipe it off with alcohol and wash with soap and water.
Failure to observe these precautions may cause blindness or skin injury.
!
WARNING

Important Health and Safety Information
11
Important Health and Safety Information
KEEP DEVICE OUT OF REACH OF CHILDREN
•Always keep cables away from babies and children.
The cable, battery pack and other product parts may create a choking or swallowing hazard.
• If you see lightning or hear thunder while using your Device outdoors, immediately turn
off the power and take shelter in a safe place.
• Always keep your Device in a location within acceptable ambient temperatures of 5 to 35°C (41
to 95°F) and with humidity between 35 and 85%. Ranges are approximate. Extremely low or high
temperature/humidity conditions may temporarily shorten your battery life or result in a system
failure, malfunction or data loss.
NOTICE:
•Never use or store your Device near strong magnetic objects which may cause it to
malfunction.
Strong magnetic objects may cause misoperation.
!
WARNING
CAUTION

Important Health and Safety Information
12
Important Health and Safety Information
BATTERY PACK
Failure to observe these instructions and avoidance of these hazards could cause the battery pack
to leak acid, explode, overheat, smoke and / or ignite, and could result in serious bodily injury.
• Never disassemble or modify the battery pack. The battery pack is equipped with built-in safety/
protection features.
• Never connect the positive (+) and negative
(-) terminals with a metal object. Never transport or store the battery pack together with metal
objects since this could cause a short-circuit and over-current.
• Never use or leave the battery pack near a heat source such as a fire or a heater (80°C (176°F)
or higher).
• Never put the battery pack into a microwave oven or pressurised container.
• The charging temperature range is 5 to 35°C (41 to 95°F) (approximately).
Never charge the battery outside this temperature range. Doing so could activate its built-in
protective features, which will prevent the recharging of the battery pack and could result in an
excessively high current and voltage.
!
WARNING
!
WARNING

Important Health and Safety Information
13
Important Health and Safety Information
• Never connect the battery pack to an electrical outlet or vehicle cigarette lighter or otherwise
charge the battery pack other than by the method described in this user guide. Always use the
AC Adaptor or USB Cable with your Toshiba phone to charge the battery pack. Failure to do so
could result in an extremely high current and voltage being generated.
• Always confirm that the battery terminals are correctly oriented. Reversing the terminals will
result in reverse charging, and possibly lead to acid leakage, overheating, smoke
emission,bursting and/or ignition of the battery pack.
• Never use the battery pack with any equipment other than your Toshiba phone. Doing so could
result in extremely high current and voltage.
• NEVER allow battery electrolyte liquid to come into contact with your eyes. In the event
electrolyte liquid does come into contact with your eyes, rinse immediately with clear running
water and consult a doctor. Failure to do so could result in serious eye injury.
• Always maintain a charge in the phone’s battery. Leaving the battery uncharged will affect its
performance and useful life.
NOTICE:
The battery recharge time varies depending on usage. Battery charging time is the estimated time
for a depleted battery to be charged to ‘full’ when your phone is turned off. Charging time can be
extended when your Toshiba phone is turned on. If recharging is not completed within the
recharging time immediately, stop further recharging. Continued recharging will cause the battery
to lose its ability to perform at maximum capacity.
!
WARNING

Important Health and Safety Information
14
Important Health and Safety Information
ADAPTOR/CHARGER AND CABLE
•Never disassemble, modify or repair the Adaptor/Charger.
Doing so may cause overheating, cracks, electrical shock, fire, damage to the equipment, or
serious injury.
•Never use the adaptor/charger or cable if the power cord is damaged.
Doing so may cause electric shock, overheating or fire.
• Always charge your Toshiba phone on a stable surface and avoid excessive dust and
vibration when charging.
•Never put heavy objects on the adaptor/charger or cable or cover with any material
during charging.
Doing so may cause electric shock or fire.
•Never touch the adaptor/charger, cable or power outlet with wet hands.
Doing so may cause electric shock.
•Always use the specified voltage and current.
Using the adaptor with incorrect voltage may cause a fire or malfunction. Use the AC Adaptor for
Global Use to charge the battery overseas.
AC Adaptor: AC 120V
AC Adaptor for Global Use: AC100V to 240V (specific to vehicle with negative ground)
• Never use AC Adaptor for charging near a landline phone or receiver to avoid noise
bursts.
!
WARNING

Important Health and Safety Information
15
Important Health and Safety Information
•Always grasp the plug when unplugging the adaptor/charger from the power supply.
Do not pull the cord itself.
Pulling the cord may damage it and cause electric shock or fire.
•Always unplug the adaptor/charger from the power outlet before cleaning and when the
adaptor/charger will be left unused for an extended period.
Failure to do so may cause electric shock, fire or malfunction.
•If water or other liquid gets into the adaptor/charger, immediately unplug it from the
power outlet.
Failure to do so may cause electric shock, smoke or fire.
• Always connect to products that bear the USB-IF logo or have completed the USB-IF
compliance program.
POTENTIAL HEARING LOSS AND DAMAGE
Prolonged exposure to loud sounds [including music] is one cause of preventable hearing loss and
other auditory damage, including tinnitus (ringing in the ear). Scientific research suggests that the
prolonged use of portable phones and/or music devices at high volume for long periods of time
could cause hearing damage. This includes the use of headsets, earbuds and Bluetooth® or other
wireless devices. When using any portable audio device, you should exercise common sense,
including limiting the amount of time you listen, lowering the volume, and discontinuing use and
consulting a doctor if you experience any hearing difficulty or discomfort after listening.
!
WARNING
!
WARNING

Important Health and Safety Information
16
Important Health and Safety Information
DRIVING SAFETY
• Always check and comply with local laws and regulations concerning the legal and permitted use
of wireless devices in moving vehicles. Many jurisdictions prohibit or otherwise restrict the use
of wireless devices by vehicle drivers and operators. It is your responsibility to know and comply
with the law in your area.
• Always use hands-free operation where required by law.
When hands-free operation is not available pull off the road to a safe location before making or
answering a call.
• Never use the video function of your Toshiba phone when driving a motor vehicle or other mode
of transportation.
• Never place objects, including either installed or portable wireless equipment, in the area over
the airbag or in the airbag deployment area.
!
WARNING

Important Health and Safety Information
17
Important Health and Safety Information
RADIO FREQUENCY(RF) INTERFERENCE/PERSONAL MEDICAL DEVICES
Your Toshiba phone generates, uses and can radiate radio frequency energy. Almost all electronic
receivers are subject to radio frequency interference from external sources if inadequately shielded
or designed, or otherwise not configured to be compatible. As a result, your Toshiba phone may
cause interference with other receivers.
Users of your phone are encouraged to avoid such interference by following one or more of these
measures:
• Reorienting or relocating the receiver antenna.
• Increasing the gap between your Device and the receiver.
• Increasing the separation between the equipment, your Device and the receiver.
• Connecting your Device into an outlet on a circuit other than that to which the receiver is
connected.
• Consulting the dealer or an experienced radio/TV technician.
In addition to the above, follow these instructions to avoid interference problems:
Aircraft: Use of your Toshiba phone may be prohibited while in the aircraft, whether on the ground
or in flight. Always follow the instructions of flight crew, pilots and/or others responsible for the
safety of the aircraft and passengers concerning the permitted and prohibited use of your Toshiba
phone.
!
WARNING

Important Health and Safety Information
18
Important Health and Safety Information
Vehicles: RF signals may affect installed or inadequately shielded electronic systems in motor
vehicles. Check with the vehicle manufacturer or its representative.
Pacemakers: The Health Industry Manufacturers Association recommends the following:
• That a minimum separation of at least six inches (15 centimetres) be maintained between a
handheld wireless device or phone and a pacemaker to avoid potential interference with the
pacemaker.
• Never carry your Toshiba phone or other wireless device near to your heart.
• If there is any reason to suspect that interference is taking place, turn off the Device immediately.
• Always use the ear opposite the pacemaker side.
Hearing Aids: Mobile phone usage may interfere with some hearing aids. If this happens, you
should contact your service provider or doctor for further information.
Other Medical Devices: If you use any other medical device, consult the device manufacturer or
your physician to determine whether it is adequately shielded from external RF energy.
Health Care Facilities: Always turn your Toshiba phone off in health care facilities when regulations
posted in these areas instruct you to do so. Hospitals and other health care facilities may use
equipment that is sensitive to external RF energy.

Important Health and Safety Information
19
Important Health and Safety Information
Blasting Area: Always turn your Toshiba phone off when in a “blasting area” or in areas with a
notification to “Turn off Two-way radios”.
Other Posted Facilities: Always turn off your Toshiba phone in any facility or other location where
required by posted notice.
PLASTIC BAGS
Plastic bags can be dangerous. To avoid danger of suffocation keep this bag away from babies and
children.
!
WARNING

Important Health and Safety Information
20
Important Health and Safety Information
EFFICIENT USE
When using your Toshiba phone always take frequent breaks and rest your eyes periodically to
avoid eyestrain, fatigue and/or headaches. Always position the LCD screen away from bright light
sources and glare. Glare on the LCD screen could cause eyestrain, fatigue and/or headaches.
Proper lightning conditions can improve the visibility of the LCD screen and reduce eyestrain, eye
fatigue or headaches.
Repetitive motion and use, such as pressing keys on the screen or playing games may cause
repetitive strain. As a result, you may experience occasional discomfort in your hands, wrists, arms,
shoulders, neck, or other parts of your body. Take short/ periodical rest breaks to avoid strain. If
you continue to have discomfort during or after such use, stop using your Toshiba phone and
consult your doctor.
!
CAUTION

Important Health and Safety Information
21
Important Health and Safety Information
METAL ALLERGIES
If you have any metal allergies, contact with certain components of your Toshiba phone could
cause itchiness, rashes or sores. If this occurs, stop using your Toshiba phone immediately and
consult a doctor.
Your Toshiba phone contains the following metal components at the following locations:
Part Materials Surface treatment
Power key
Volume keys
Camera key
Polycarbonate Aluminium deposition
+ UV coating
Side slip Polycarbonate Tin deposition
+ UV coating

Important Health and Safety Information
22
Important Health and Safety Information
HOT DEVICE AFTER PROLONGED USE
When you use your Device for a prolonged period of time, such as when you are talking on the
phone, charging the battery or browsing the web, your Toshiba phone or Adaptor/charger
(including conversion cable) can become hot. Always avoid prolonged contact with the phone and
AC Adaptor/charger to prevent skin irritation and/or heat related injury.
PROTECTION OF PERSONAL INFORMATION
•Never place the Device near magnetic cards or media.
The magnetic data in cash cards, credit cards, telephone cards, floppy disks, etc. may be
erased.
• Always scan new files for viruses. Ask your service provider or network administrator to help you.
To safeguard your privacy, you should erase important data before selling or disposing of your
Toshiba phone. IF YOUR DATA IS ALTERED OR LOST DUE TO ANY TROUBLE, FAILURE OR
MALFUNCTION OF THE DEVICE AND DATA CANNOT BE RECOVERED, TOSHIBA SHALL
NOT BE LIABLE FOR ANY DAMAGE OR LOSS OF DATA, OR ANY OTHER DAMAGES
RESULTING THEREFROM. WHEN COPYING OR TRANSFERRING YOUR DATA, PLEASE BE
SURE TO CONFIRM WHETHER THE DATA HAS BEEN SUCCESSFULLY COPIED OR
TRANSFERRED. TOSHIBA DISCLAIMS ANY LIABILITY FOR THE FAILURE TO COPY OR
TRANSFER THE DATA CORRECTLY.
!
CAUTION

Important Health and Safety Information
23
Important Health and Safety Information
Handling your Toshiba
phone
NOTICE:
• Do not turn off your Toshiba phone when
using the microSD card. Doing so may cause
data loss or malfunction.
• Removing the battery from the phone or
failing to keep the battery charged could
result in the loss or corruption of stored data
and settings.
• The digital communication system your
Toshiba phone employs provides a high level
of privacy protection. However, the possibility
of someone eavesdropping on your
conversation cannot be ruled out as long as
radio waves are used.
Emergency Calls and GPS
Never rely solely upon your Toshiba phone for
essential communications (e.g. medical
emergencies) since a wireless phone requires a
complex combination of radio signals, relay
stations and landline networks for its operation.
Consequently, emergency calls may not always
be possible under all conditions on all wireless
phone systems.
CAUTION

Important Health and Safety Information
24
Important Health and Safety Information
BLUETOOTH AND
WIRELESS LAN FUNCTIONS
NOTICE:
• Your Toshiba phone supports the Bluetooth®
security function compliant with Bluetooth
standards, but the security may not be
sufficient depending on the setting.
In the event your Toshiba phone causes harmful
radio wave interference with other equipment
using the same Bluetooth frequency band,
promptly change the operating frequency or
stop radio wave emission by turning off the
power.
Do not use the wireless LAN function in
magnetic fields surrounding electric appliances
or AV, OA equipment, or at the place where
electromagnetic waves are generated.
• When the wireless LAN is adversely
affected by magnetism or electric noise, the
transmission noise may be increased or
communication disabled (especially when
you use a microwave oven, the wireless
LAN may often be influenced).
• When you use the wireless LAN near a
television set or a radio, poor reception may
occur or the TV picture may be distorted.
• If there are multiple wireless LAN access
points within a confined space and the
same channel is used, correct channel
searching may be adversely affected.
• Precaution when using a 2.4 GHz device
within the frequency band used by wireless
LAN equipment, a local radio station
(requiring a license) is operated, which is
used for mobile object identification at the
production lines of factories manufacturing
industrial, scientific and medical equipment
such as microwave ovens and others, as well
as a specified low power radio station (not
requiring license) and an amateur radio
station (requiring a license).
1. Ensure that both the specified low power
radio station and the amateur radio station
are not operating.

Important Health and Safety Information
25
Important Health and Safety Information
2. Where the local radio station for mobile
object identification is adversely affected by
radio wave interference from the
equipment, change the frequency used by
the equipment or stop the radio-wave
transmission immediately, and then contact
the inquiries number provided on the back
of this manual to consult for handling details
to prevent interference (for example, setting
up partitions), and so on.
3. In addition, when other troubles occur, such
as where a specified low power radio station
or amateur radio station for mobile object
identification is adversely affected by radio
wave interference from the equipment,
contact your service provider.
• Bluetooth wireless technology is a new
innovative technology, and Toshiba does not
guarantee compatibility of its Bluetooth
equipment/function with all equipment using
such Bluetooth wireless technology.
• Bluetooth and Wireless LAN devices operate
within the same radio frequency range and
may interfere with one another. If you use
Bluetooth and Wireless LAN devices
simultaneously, you may occasionally
experience sub-optimal network
performance or even lose your network
connection. If you should experience any
such trouble, immediately 1) separate the two
devices with a gap of at least 10 meters (33
ft); or 2) turn off either one of your Bluetooth or
Wireless LAN.
• Wireless connectivity and some features may
require the purchase of additional
subscription service from your service
provider.
The availability of public Wireless LAN
access points may be limited. The
transmission speed may also vary depending
on the surrounding electromagnetic
environment, obstacles, access point design,
application software installed, and the format
of the data transmitted.

Important Health and Safety Information
26
Important Health and Safety Information
• Bluetooth wireless technology is a new
innovative technology, and Toshiba does not
guarantee the compatibility of its Bluetooth
equipment/function all headsets and/or other
equipment using Bluetooth wireless
technology.
• Bluetooth and Wireless LAN devices operate
within the same radio frequency range
(2.4Ghz) and may interfere with one another.
If you use Bluetooth/ Wireless LAN near any
device using Wireless LAN/ Bluetooth, you
may occasionally experience sub-optimal
network performance or even lose your
network connection. If you should experience
any such trouble, 1) immediately separate
these two devices with a gap of at least 10
meters (33 ft) or more; or 2) immediately turn
off either your Bluetooth or Wireless LAN.
• Wireless connectivity and some features may
require the purchase of an additional
subscription service from your service
provider.
The availability of public Wireless LAN
access points may be limited. The
transmission speed may vary depending on
the surrounding electromagnetic
environment, obstacles, access point design,
application software installed, and the format
of the data transmitted.
• 54Mbps is the theoretical maximum speed
under the IEEE802.11 (a/b/g) standard.
Actual data transmission speeds will vary
depending on the line conditions or the
surrounding environment. When you are
outside of your service providers’ high-speed
network coverage or connecting to a wireless
access point not corresponding to the high
speed network, the actual data transmission
speed may be slow.

Important Health and Safety Information
27
Important Health and Safety Information
Attention
• Please be aware that your service provider is
not responsible when the data stored cannot
be restored for security reasons when
passwords, such as your security code (PIN),
have been forgotten.
• When the memory residual quantity of your
Toshiba phone decreases, the low
application of an activity ratio is forced to
terminate. Since data being worked on may
not have been saved, please save
periodically.
• When you repair or replace your phone,
please delete any personal data saved to
your Device beforehand.
In the case of repair, the Phonebook, data
saved, programs, and various settings are
initialised.
THIRD PARTY SERVICES AND
ACCESSORIES
• Certain features of your Toshiba phone
require a separately purchased subscription
service from your service provider. The
performance of certain features will vary
depending on your service providers’ network
coverage and settings, and/or environmental
conditions.
Always contact your service provider
concerning the availability of the service,
functional limitations and terms and
conditions.
• Use of third-party services requires a
functioning Internet and Wireless LAN
connection and may be limited or unavailable
based on conditions, factors, or events
outside Toshiba’s control, such as your
Internet connection, router, wiring, and other
network and/or transmission conditions. You
are responsible for any telephone or
broadband service charges incurred as a
result of using such services.
CAUTION

Important Health and Safety Information
28
Important Health and Safety Information
• Before connecting your Toshiba phone to an
accessory or other device, read the
supporting documentation to confirm that the
other device is compatible.
• Toshiba does not guarantee that the read/
write function of your Toshiba phone is
compatible with all microSD cards in the
market. Always use only high quality and
stable SD cards to best ensure data
protection and integrity.
• Earphones are not provided as original
equipment and must be purchased
separately. Toshiba does not guarantee the
compatibility and/or the functionality of
earphones used with this phone. Consult with
the earphone manufacturer.
Also, before purchasing and using earphones
read and understand the section of this
manual entitled “Potential Hearing Loss and
Damage.”
Disposal
The following information is only valid for EU-
member states.
Disposal of products
The crossed out wheeled dust bin symbol
indicates that products must be collected and
disposed of separately from household waste.
Integrated batteries and accumulators can be
disposed of with the product. They will be
separated at the recycling centres.
The black bar indicates that the product was
placed on the market after August 13, 2005.
By participating in separate collection of

Important Health and Safety Information
29
Important Health and Safety Information
products and batteries, you will help to assure
the proper disposal of products and thus help to
prevent potential negative consequences for
the environment and human health.
For more detailed information about the
collection and recycling programmes available
in your country, please contact your local city
office or the shop where you purchased the
product.
Disposal of batteries and/or
accumulators
The crossed out wheeled dust bin symbol
indicates that batteries and/or accumulators
must be collected and disposed of separately
from household waste.
If the battery or accumulator contains more than
the specified values of lead (Pb), mercury (Hg),
and/or cadmium (Cd) defined in the Battery
Directive (2006/66/EC), then the chemical
symbols for lead (Pb), mercury (Hg) and/or
cadmium (Cd) will appear below the crossed out
wheeled dust bin symbol.
By participating in separate collection of
batteries, you will help to assure the proper
disposal of products and batteries and thus help
to prevent potential negative consequences for
the environment and human health.
For more detailed information about the
collection and recycling programmes available
in your country, please contact your local city
office or the shop where you purchased the
product.

Important Health and Safety Information
30
Important Health and Safety Information
FCC Notice
This Device complies with part 15 of the FCC
Rules. Operation is subject to the following two
conditions: (1) This Device may not cause
harmful interference, and (2) this Device must
accept any interference received, including
interference that may cause undesired
operation.
NOTICE:
• This equipment has been tested and found to
comply with the limits for a Class B digital
Device, pursuant to part 15 of the FCC Rules.
These limits are designed to provide
reasonable protection against harmful
interference in a residential installation. This
equipment generates, uses and can radiate
radio frequency energy and, if not installed
and used in accordance with the instructions,
may cause harmful interference to radio
communications. However, there is no
guarantee that interference will not occur in a
particular installation.
If this equipment does cause harmful
interference to radio or television reception,
which can be determined by turning the
equipment off and on, the user is encouraged
to try to correct the interference by one or
more of the following measures:
- Reorient or relocate the receiving antenna.
- Increase the separation between the
equipment and receiver.
- Connect the equipment into an outlet on a
circuit different from that to which the
receiver is connected.
- Consult the dealer or an experienced radio/
TV technician for help.
You are cautioned that changes or
modifications not expressly approved by the
part responsible for compliance could void the
user’s authority to operate the equipment.

Important Health and Safety Information
31
Important Health and Safety Information
FCC RF exposure
information
Your Toshiba phone is a radio transmitter and
receiver. It is designed and manufactured not to
exceed the emission limits for exposure to radio
frequency (RF) energy set by the Federal
Communications Commission of the U.S.
Government.
The guidelines are based on standards that
were developed by independent scientific
organisations through periodic and thorough
evaluation of scientific studies. The standards
include a substantial safety margin designed to
assure the safety of all persons, regardless of
age and health.
The exposure standard for wireless handsets
employs a unit of measurement known as the
Specific Absorption Rate, or SAR. The SAR limit
set by the FCC is 1.6 W/kg. The tests are
performed in positions and locations (e.g., at the
ear and worn on the body) as required by the
FCC for each model. The SAR value for this
model handset when tested for use at the ear is
0.239 W/kg and when worn on the body, as
described in this user guide, is 0.381 W/kg.
Body-worn operation
This phone was tested for typical body-worn
operations with the back of the phone kept at a
distance of 1.5 cm from the body. To maintain
compliance with FCC RF exposure
requirements, use accessories that maintain a
1.5cm separation distance between your body
and the back of the phone. The use of belt clips,
holsters and similar accessories should not
contain metallic components. The use of
accessories that do not satisfy these
requirements may not comply with FCC RF
exposure requirements, and should be avoided.
The FCC has granted an Equipment
Authorization for this model handset with all
reported SAR levels evaluated as in compliance
with the FCC RF emission guidelines. SAR
information on this model handset is on file with
the FCC and can be found under the Display
Grant section of https://fjallfoss.fcc.gov/oetcf/
eas/reports/GenericSearch.cfm after searching

Important Health and Safety Information
32
Important Health and Safety Information
on FCC ID SP2-TM5-E01.
Additional information on Specific Absorption
Rates (SAR) can be found on the Cellular
Telecommunications & Internet Association
(CTIA) website at http://www.phonefacts.net.
Disclaimers
Under some conditions, your Toshiba phone
may automatically lock-up. This is a normal
protective feature designed to reduce the risk of
lost data or damage to the product when used
outside recommended conditions. To avoid any
risk of lost data, always make backup copies of
data by periodically storing it on an external
storage medium. Use your Toshiba phone only
under recommended conditions.
!
CAUTION

Important Legal Information
33
Important Legal Information
Important Legal Information
Disclaimers
Performance of your Device may vary from
specifications under certain conditions,
including the following:
1. The use of certain multimedia, computer
generated graphics or video applications,
2. Slow network connections,
3. The use of several applications or functions
simultaneously, or
4. The use of your Device at temperatures
outside the range of 5 to 35°C (41 to 95°F).
The information contained in this manual,
including but not limited to any product
specifications, is subject to change without
notice.
TOSHIBA CORPORATION AND
TOSHIBAINFORMATION SYSTEMS,
(UK) LIMITED (TOSHIBA) PROVIDE NO
WARRANTY WITH REGARD TO THIS
MANUAL OR ANY OTHER INFORMATION
CONTAINED HEREIN AND HEREBY
DISCLAIMS ANY IMPLIED WARRANTIES OF
SATISFACTORY QUALITY OR FITNESS FOR
PARTICULAR PURPOSE WITH REGARD TO
ANY OF THE FOREGOING. TOSHIBA
ASSUMES NO LIABILITY FOR ANY
DAMAGES INCURRED DIRECTLY OR
INDIRECTLY FROM ANY TECHNICAL OR
TYPOGRAPHICAL ERRORS OR OMISSIONS
CONTAINED HEREIN OR FOR
DISCREPANCIES BETWEEN THE
PRODUCT AND THE MANUAL. UNDER NO
CIRCUMSTANCES SHALL TOSHIBA BE
LIABLE FOR ANY INCIDENTAL,
CONSEQUENTIAL, SPECIAL, OR
EXEMPLARY DAMAGES,OR LOSS OF DATA
WHETHER BASED ON TORT, CONTRACT
OR OTHERWISE, ARISING OUT OF OR IN
CONNECTION WITH THIS MANUAL OR ANY
OTHER INFORMATION CONTAINED
HEREIN OR THE USE THEREOF.

Important Legal Information
34
Important Legal Information
Export Administration Regulations.
Your Device and this document contains
technical data that may be controlled under
European and each Member State law. Any
export, directly or indirectly, in contravention of
the laws are prohibited.
Third-party Services
Toshiba makes no warranties, representations,
or assurances about the availability or
functionality of third-party services. Such
services are provided by third parties, and the
availability, functionality, and/or content thereof
may be changed, removed, discontinued,
interrupted, restricted, or disabled at any time.
Without altering or restricting this general
disclaimer, Toshiba expressly disclaims any
liability for changes, removals, discontinuations,
interruptions, restrictions, or disablement of
third-party services.
Software
Some software may differ from its retail version
(if available), and may not include user guide or
all program functionality.

Copyright Notice
35
Copyright Notice
Copyright Notice
Your Device contains works of which the
copyright is owned by Toshiba or third parties
(“Copyrighted Works”). Laws preserved for
Toshiba and the third parties certain exclusive
rights for the Copyrighted Works. You are
granted a nonexclusive, non-transferable and
non-assignable license to use the Copyrighted
Works solely for the intended purpose of your
Device. The purchase of your Device shall not
be deemed to grant any license under the
copyrights, except for the foregoing license. No
Copyrighted Works may be modified,
distributed, reverse-engineered, decompiled or
reproduced in any manner except to the extent
allowed by law.
Images recorded with the camera of your
Device are intended for personal use. Do not
record images that infringe copyright laws
without the prior permission of the copyright
holder. Recording of images from
performances, exhibitions, or commercial
properties may lead to violations of copyright or
other legal rights even if the image was shot for
personal use. The copying or reproducing of
paper money, coins, and securities in circulation
is strictly prohibited.

Care and maintenance
36
Care and maintenance
Care and maintenance
LCD Panel
• Always use a soft and dry cloth or other
suitable non-abrasive product or material
(such as lens paper or eyeglass cleaning
cloth) to clean your Toshiba phone. Your
phone’s LCD panel is coated with a special
agent that allows a clear view of the colour
liquid crystal display. Never vigorously wipe
or scratch the LCD panel.
• Never use alcohol, thinner, benzene,
ammonia, window cleaners, household
cleaners, aerosol sprays, solvents, abrasives
or detergents to clean your phone. Doing so
may cause the printing on the surfaces of
your phone to fade.
• In the event water or other liquid gets on the
LCD panel, clean and dry as directed above.
Failure to properly clean the LCD panel could
result in spotting and damage to the LCD
coating.
Restarting your Toshiba
phone
If you have any problems, such as your phone
freezing, restart your phone.
To do so:
1. Press and hold the Power key.
2. Tap Power Off to confirm powering off your
phone.
3. Wait a few seconds, then press and hold the
Power key to switch your phone on.
If, after you have restarted your Toshiba phone,
the problem remains:
1. Remove the battery (see Getting started
for instructions).
2. Re-insert the battery, then switch on your
phone (see Getting started for
instructions).

Care and maintenance
37
Care and maintenance
Resetting your Toshiba
phone
If you still have problems after restarting your
phone, you can reset your phone.
Resetting your Toshiba phone causes it to
restart and adjusts the memory allocation. Your
phone will revert to the same status as it was the
last time it was “On”. Unsaved data may be lost.
To reset your Toshiba phone:
Press and hold the Power key for
approximately 15 seconds.
Reinitialising your Toshiba
phone
For details of reinitialising your Toshiba phone,
see Master Clear in Settings.
We recommend that you back up all of your data
before reinitialising your Toshiba phone.
NOTICE: Unsaved data may be lost. It is
recommended that you frequently back up the
data on your phone.
NOTICE: If you attempt to reset your Toshiba
phone just after installation of any of your own
programs or changing settings, you will be
unable to do so. In such case, you should install
your own program or change settings again.
NOTICE: Before reinitialising your Toshiba
phone, see the Settings (page 106) of this user
guide including Encryption (page 109) and
Master Clear (page 111). Failure to carefully
follow these instructions may result in the
permanent loss of data.

Getting started
38
Getting started
Getting started
Unpacking
Please ensure that the contents of your sales
pack include:
• Your Toshiba phone
• Battery
•AC charger
•USB cable
• Headset and headset adapter
•Quick Start Guide
• Legal and Safety Information leaflet
• CD (User Guide)
NOTE: If any of the items listed are
missing, contact the retailer where you
purchased your Toshiba phone.
n

Getting started
39
Getting started
Phone layout and functions
1. Earpiece
2. LED indicator - indicates various states of
the phone.
Red - phone is charging.
Blue (flashing) - a call, message or
notification has been received.
Green (flashing) - phone is in sleep mode.
3. Touch screen
4. Home key - tap to access the Home
screen.
5. Start key - tap to access the Windows
Mobile Start screen.
6. Send key - used to make, answer and hold
calls. Tap to access the Phone screen.
7. Microphone

Getting started
40
Getting started
8. Camera lens
9. microSD card slot
10.Battery cover
11.Speaker
12.SIM card slot

Getting started
41
Getting started
13.Cable, phone charging and headset
connector (Micro-USB)
14.Camera key - long press to launch the
Camera application.
If Camera application is already running,
press to capture a photo or begin/stop
recording a video clip.
15.Volume Down key - press to decrease the
volume.
16.Volume Up key - short press to increase
the volume; long press to switch between
portrait and landscape modes when the
Auto screen orientation change
checkbox is unticked (see Motion Sensor
Settings in Settings for details).
17.Power key - short press to enter/leave
sleep mode; long press to switch phone on/
off (The phone starts with a vibration and
the green LED indicator illuminated.); long
press for approximately 15 seconds to reset
the phone.

Getting started
42
Getting started
Installing the SIM card,
microSD card and battery
To install the SIM card, microSD card and
battery:
1. Move the cover of the cable, phone
charging and headset connector away from
the side of the phone.
2. With the back of the phone facing up, press
down on the battery cover. Slide the cover
towards the bottom of the phone, then lift it
upwards and remove it from the phone.
3. If the battery is already installed, lift the tab
at its base, then remove the battery.
IMPORTANT: The SIM card is easily
damaged by scratching and bending, so
take care when handling it.
IMPORTANT: Keep SIM card away from
static, dust and water.
IMPORTANT: Power off the phone and
disconnect the charger before inserting or
removing the SIM card.

Getting started
43
Getting started
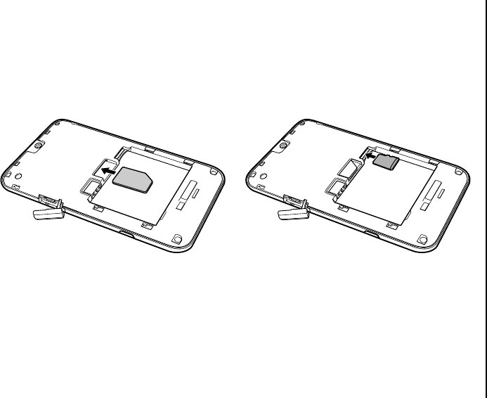
4. With the gold connectors facing
downwards, align the SIM card the correct
way, as shown in the diagram below. Push
down lightly while sliding the SIM card into
place.
5. With the gold connectors facing
downwards, align the microSD card the
correct way, as shown in the diagram
below. Gently slide the microSD card into
the slot until it clicks into place.

Getting started
44
Getting started
To remove the microSD card, gently press it
inwards. It will automatically eject.
IMPORTANT: Do not remove the
microSD card while the phone is reading
data from, or writing data to, the card.
TIP: Your Toshiba TG02 supports
microSDHC™ memory cards. When
transferring a memory card from your
Toshiba phone to another device, please
check with the device manufacturer that
SDHC cards are fully supported.

Getting started
45
Getting started
6. Insert the battery into the battery
compartment with the gold connectors
facing towards the top of the phone. The
battery is shaped so that it can only be
inserted this way. Gently push on the
bottom of the battery (non-connector end)
to insert it completely.
7. Gently slide the battery cover upward into
place.
WARNING: There is a danger of
explosion if the battery is incorrectly
replaced.
!

Getting started
46
Getting started
Charging the battery
You will need to fully charge the battery before
you can switch your Toshiba phone on for the
first time. You can charge your battery in the
following two ways:
•Either plug the AC charger into an AC outlet
and connect it to the charger connector on
your Toshiba phone. When the battery is
fully charged, unplug the AC charger from
the AC outlet and disconnect it from the
phone charger connector by gripping it
tightly and pulling gently,
or
•connect your Toshiba phone to a PC with the
USB cable.
The battery will only achieve optimum
performance after two or three complete
charges.
When charging is complete, disconnect the AC
charger from the power source, or the USB
cable from the PC, then disconnect your
Toshiba phone.
Battery information
Battery performance depends on many factors,
such as your service provider's network
configuration, signal strength, the temperature
of the environment in which you operate your
Toshiba phone, the features and/or settings you
select and use, items attached to your phone's
connecting ports, and your voice, data, and
other program usage patterns.
IMPORTANT: Do not remove the battery
while it is charging.
NOTE: It is recommended that you save
the data in your phone memory to a PC or
storage card. The manufacturer is not
responsible for data lost or altered due to
battery discharge.
TIP: For information on optimising the
power performance of your Toshiba
phone, see Backlight, Power, and
Power Saving Settings in Settings.
n

Getting started
47
Getting started
Low battery
When the battery charge level drops to 10% of
its total capacity, an alert message and the low
battery icon are displayed.
If the battery charge level runs too low for normal
operation, your Toshiba phone will
automatically switch off.
Managing a low battery
When the low battery alert is displayed, you
should do the following:
1. Save your current data.
2. Charge the battery as soon as possible.
3. If you are unable to charge the battery
immediately, we recommend that you
switch off your phone.
Switching the power on and
off
To switch your Toshiba phone on:
1. Press and hold the Power key for
approximately two seconds.
2. If a PIN or security code is requested, enter
the code.
To switch your Toshiba phone off:
1. Press and hold the Power key.
2. Tap Power Off to confirm powering off the
phone.
WARNING: The PIN code activates the
services in your Toshiba phone and
should be provided in the documentation
supplied by your service provider.
If you enter the incorrect PIN for your SIM
card three consecutive times, you will
need to contact your service provider to
obtain the Personal Unblocking Key
(PUK). Do not try to guess the PUK as
your SIM card will be rendered
permanently inoperative following ten
consecutive unsuccessful attempts.
!

Getting started
48
Getting started
Touch user interface
Overview
The enormous 4.1” wide VGA (800x480) touch-
screen display, Spb Mobile Shell, and Toshiba’s
custom-built, toolbox which includes the
magnifying glass, Toshiba free pad, and task
switcher provide users with easy-to-use
navigation between different applications.
Innovative gesture operations also make it easy
to carry out everyday tasks without even
touching the screen - a simple shake when the
Toshiba phone is ringing, for instance, will
automatically activate an incoming call, while the
magnifying glass with its capability will enlarge
anything that comes under it when you need to
easily view the screen display. Also coupling with
floating touch pad and task switcher makes your
Toshiba phone's one hand operation easier.
Spb Mobile Shell
Spb Mobile Shell brings the perfect usability
balance to the Toshiba touch screen phone. It
will allow you, using one hand, to get
information, launch programs, make calls and
navigate your Toshiba phone simply and easily.
Spb Home has two components: Professional
Home and Lifestyle Home. Spb Lifestyle Home
is set as a default for your Toshiba phone. You
can fully customise the Home layout by adding
your own favourite widgets for one-tap access in
a user friendly manner.
The majority of the Home functionality is
implemented via widgets. There are widgets for
all purposes: widget-based photo contacts,
media player, profiles, weather, world time, and
wireless manager, etc.
The Home screen extends beyond the screen
width to provide more space for adding icons,
widgets, and more. Slide your finger horizontally
across the screen to go to the left or right side of
the extended Home screen.
NOTE: To access the Home screen, tap
located below the touch screen. To
access the Windows Mobile Start screen,
tap located below the touch screen at
any time.
n

Getting started
49
Getting started
1. Menu button - tap to view the available
layout options such as adding widgets,
editing layout, and changing settings.
2. View button - tap to access the Spb Mobile
Shell pages in the selected view style
(carousel or tiles).
3. Launcher tab - tap to access the Launcher,
which consists of two pages, a smart
launcher and Spb Menu. The smart
launcher shows the frequently used
shortcuts to display and allows you to
manage your favourite items. the Spb Menu
contains all your Toshiba phone programs,
settings, and tools well-organised in
categories.
4. Contacts tab - tap to access the Favorite
Contacts, which helps you manage your
contacts and calls.
2143
5
6
7
98
10
12
14
11
13
15
16

Getting started
50
Getting started
5. Status indicators - See Annex 3 -
Common status icons for further
information.
6. Operator Name - displays the operator
name of the current network.
7. Battery - displays the remaining power in
your battery. Tap to access Power settings.
8. Phone Profile - allows you to select one of
three basic phone profiles Normal, Vibrate,
and Silent. You can also edit the normal
profile.
9. Wireless Manager - allows you to quickly
turn on or off your phone wireless
connections such as Bluetooth, Wi-Fi,
Phone, and Flight Mode on or off.
10.Digital Clock - displays the current time.
Tap to open the time screen for more
details.
11.Missed Calls - icon is highlighted with the
number of new missed calls. Tap to access
call history.
12.Voicemails - icon is highlighted with the
number of new voicemails. Tap to dial the
voicemail. For details of setting up voice
mail, see Setting up voice mail in
Settings.
13.Emails - icon is highlighted with the number
of new emails you have in your inbox. You
can open your Inbox to read new emails
with just a tap.
14.SMS and MMS – icon is highlighted with the
number of new SMS and MMS messages.
Tap to access text messages inbox.
15.Weather - displays the current weather
forecast. Tap to open the weather details
page where you can update forecast or
access the weather options.
16.Agenda - displays events and
appointments. Tap to view the detailed
agenda in calendar.
See the Spb Mobile Shell webpage for further
information.
To access the Home screen at any time, tap .

Getting started
51
Getting started
Basic Controls
The controls on the Toshiba phone touch user
interface change dynamically depending on the
task you are performing.
Starting an application
To start an application:
Tap the application icon.
To return to the Home screen:
Tap located below the touch screen at any
time.
You can view and switch active applications by
using Task Switcher. See Task Switcher for
details.
Scrolling
To scroll up or down:
Drag up or down by your finger. On some
screens such as web pages, you can also scroll
from side to side.

Getting started
52
Getting started
To scroll up or down quickly:
Flick by your finger. You can wait for the
scrolling to come to a stop, or tap or touch
anywhere on the screen to stop it immediately.
Magnifying Glass
The Magnifying Glass enables you to magnify a
portion of the displayed screen.
Starting the Magnifying Glass
To start the Magnifying Glass:
Start the Toolbox, and then tap . For
information on starting the Toolbox, see
Toolbox.

Getting started
53
Getting started
Drag the Magnifying Glass to where you want
to magnify by tapping and holding its frame. The
items displayed within the glass are magnified.
Changing the display magnification power
To change the display magnification power:
Tap the magnification power icon on the right of
the Magnifying Glass to toggle between x1.5,
x2, and x2.5.
Ending the Magnifying Glass
To close the Magnifying Glass:
Tap X on the right of the glass.
NOTE: The Magnifying Glass is disabled
by disabling the Toolbox.
n

Getting started
54
Getting started
Motion Sensor
The Motion Sensor in your Toshiba phone
enables you to quickly and easily carry out a
variety of operations.
You can set up your phone to carry out specific
operations when you move the phone in a
particular way.
Examples of the motions and corresponding
operations are as follows:
• Change the screen orientation by turning the
phone sideways.
• Answer a call by lightly shaking the phone.
•Start Task Manager by tapping the back of
the phone twice.
For information on setting up the Motion
Sensor, see Motion Sensor Settings in
Settings.
Toolbox
The Toolbox enables you to start the following
functions:
•Toshiba Free Pad
•Magnifying Glass
•Task Switcher
To open the Toolbox:
Slide your finger upwards on the Start key
located below the touch screen.
The Toolbox is automatically hidden after
approximately 5 seconds.
NOTE: You can choose to disable the
Toolbox. By not using Toolbox, the
Toshiba Free Pad, Magnifying Glass,
and Task Switcher are also disabled. For
information on setting up the Toolbox,
see Toolbox Settings in Settings.
n

Getting started
55
Getting started
Toshiba Free Pad
The Toshiba Free Pad consists of two items -
the Multi Function Pad and the Free Cursor
Pad.
The Multi Function Pad operates as cursor
(up, down, left, right) and Enter buttons. It also
enables you to access the Windows Mobile
Start screen.
The Free Cursor Pad displays a mouse pointer
on the screen so that you can operate the phone
in the same way as using a mouse with a PC.
To open the Toshiba Free Pad, start the
Toolbox and tap .
You can choose to use the right- or left-handed
Toshiba Free Pad. For information on setting
up the Toshiba Free Pad, see Toolbox
Settings in Settings.
To close the Toshiba Free Pad, drag it out of
the touch screen or tap X.
Multi Function Pad
Right-handed use Left-handed use
1. Top bar
To move the Multi Function Pad, tap and
hold the top bar, and move the pad as it
expands.
2. Up, Down, Left and Right buttons
3. Enter button
Operates as the Enter key for selected items.
4. Start screen button
5. OK/Close button
Operates as the OK or X button is displayed
at the bottom right of the screen.
6. Switching pad button
Tap and hold this button to switch to the
Free Cursor Pad.
7. Closing pad button
NOTE: The Toshiba Free Pad is disabled
by disabling the Toolbox, see Toolbox
Settings in Settings.
n

Getting started
56
Getting started
Free Cursor Pad
Right-handed use Left-handed use
1. Top bar
To move the Free Cursor Pad, tap and
hold the top bar, and move the pad as it
expands.
2. Free cursor area
Move the pointer by moving your finger on
the pad.
3. Enter button
Tapping this button operates in the same
way as clicking the mouse button on an
item.
4. Switching pad button
Tap and hold this button to switch to the
Multi Function Pad.
5. Closing pad button
Task Switcher
The Task Switcher displays the icons of the
current active applications.
Tap the required icon to change the screen
display to the application.
To start the Task Switcher:
Start the Toolbox, and then tap .
To close the Task Switcher:
Tap X on the bottom left of the screen.
NOTE: The Task Switcher is disabled by
disabling the Toolbox.
In addition, you can access the Task
Manager by tapping on the right
bottom of the screen.
n

Getting started
57
Getting started
Operator Settings
Using Operator Settings, you can quickly and
easily configure mobile service provider
settings, including GPRS, WAP, and MMS.
To use Operator Settings:
1. Tap > Settings > Connections >
Operator Settings.
2. If the required settings are available from
the U/SIM, tap the button showing your
mobile service provider name.
3. If the settings are not available from the
U/SIM, tap Select Operator.
4. Tap your country in the list, then tap Next.
5. Tap your mobile service provider in the list,
then tap OK.
Synchronising your Toshiba
phone with a PC
ActiveSync (for PCs running
Windows XP or earlier)
ActiveSync acts as the gateway between your
Microsoft Windows-powered PC and your
Toshiba phone. It allows you to synchronise
Microsoft Outlook information, Microsoft Office
documents, pictures, music, videos and
applications to and from your phone.
In addition to synchronising with a PC,
ActiveSync allows you to synchronise
Microsoft Outlook information directly with
Microsoft Exchange Server 2003 and Microsoft
Exchange Server 2007, so that you can keep
your e-mail, calendar data, tasks and contact
information updated wirelessly when you’re
away from your PC.
You can install ActiveSync by downloading it
from the Microsoft website.

Getting started
58
Getting started
Once the software has been installed and your
Toshiba phone is connected to your PC, the
ActiveSync Setup Wizard is started. Simply
follow the on-screen instructions.
If you are not synchronising directly with a
Microsoft Exchange server, do not select the
option to synchronise directly with a server. The
alternative is to synchronise your Toshiba
phone with your PC. You cannot do both at the
same time.
Starting and stopping ActiveSync
synchronisation
To start and stop synchronisation:
1. Access ActiveSync. For details, see
Windows Mobile Start Screen Structure
in Annex 2 - Navigating your Toshiba
phone.
2. To start synchronisation, tap Sync.
3. To stop synchronisation, tap Stop.
Changing ActiveSync settings
Once you have set up synchronisation using the
ActiveSync Setup Wizard on the PC, you can
change your synchronization settings at a later
stage:
• If you want to change ActiveSync settings
for synchronising with a PC, use
ActiveSync on the PC. For more
information, see ActiveSync Help on the
PC.
• If you want to change ActiveSync settings
for synchronising with an Exchange server,
use ActiveSync on your Toshiba phone.
NOTE: Disconnect your Toshiba phone
from your PC before changing the
synchronisation settings.
n

Getting started
59
Getting started
Windows Mobile Device Center
(for PCs running Windows Vista)
The Windows Mobile Device Center:
• Combines an efficient synchronisation
platform with a compelling user experience.
• Enables you to set up new partnerships,
synchronise content and manage music,
pictures and video with Windows Mobile
powered devices (Windows Mobile 2003 or
later).
• Helps you to synchronise information such
as e-mail, contacts and calendar
appointments, easily manage your
synchronisation settings, and transfer
documents between your phone and PC.
You can install Windows Mobile Device Center
(WMDC) by downloading it from the Microsoft
website.
For further information on ActiveSync and
WMDC, refer to the Help on your PC.

Call functions
60
Call functions
Call functions
Receiving a call
Answering or ignoring a call
• To answer an incoming call, tap or .
• To ignore an incoming call, tap .
Ending a call
To end a call, tap End or End Call.
NOTE: If you choose to ignore a call, the
caller will be connected to your voice mail,
provided you are subscribed to this
service.
TIP: When you have an incoming call
during sleep mode, you can do the
following:
• Answer the incoming call by sliding the
to the right.
• Ignore the incoming call by sliding the
to the right.
TIP: You can answer an incoming call by
lightly shaking the phone.
For information on activating shake
operation, see Motion Sensor Settings
in Settings.
n
TIP: When you have the headset
connected to your Toshiba phone, you
can do the following:
• Answer an incoming call by pressing
the headset button.
Ignore an incoming call by pressing and
holding the headset button.
TIP: When you have the headset
connected to your Toshiba phone, you
can end a call by pressing and holding the
headset button.

Call functions
61
Call functions
Making a call
Before making a call, ensure that your Toshiba
phone is switched on, that there is a valid SIM
card installed, and that the signal is sufficiently
strong.
Making a call from the Phone
screen
To make a call from the Phone screen:
1. Access the Phone screen.
2. Enter a phone number using the numeric
keypad.
3. Tap or Talk.
Dialling the last number called
To dial the last number called:
Tap twice.
Making a call from Contacts
To make a call from Contacts:
1. Access Contacts.
2. Tap the required contact.
3. Tap the required phone number,
or
select it to be highlighted then tap
or .
TIP: If you have a long list of contacts,
enter the first few letters of the contact's
name. The phone will display only the
matching contact. To call the contact, tap
the required contact, and then tap the
required phone number.
TIP: A work phone number (w), mobile
phone number (m) and home phone
number (h) can be assigned to a contact
that is saved to the phone.
The mobile phone number is dialled by
default.

Call functions
62
Call functions
Making an international call
To make an international call:
1. Access the Phone screen.
2. Tap and hold 0 on the keypad until the +
sign is displayed.
3. Enter the full phone number, including the
country code, area code (without the first 0)
and phone number.
4. Tap or Talk.
Speed Dial
Creating a speed dial
To create a speed dial:
1. Access the Phone screen.
2. Tap Speed Dial.
3. Tap > New.
4. Tap the required contact.
5. In the Location: field, select the speed dial
number.
6. Tap OK twice.
NOTE: The digit 0 is reserved for inserting
the + character when dialling an
international phone number. The digit 1 is
reserved for calling your voice mail
mailbox as a speed dial.
n

Call functions
63
Call functions
Making a call using speed dial
To make a call using speed dial:
1. Access the Phone screen.
2. Tap Speed Dial.
3. Tap the speed dial number beside the
required contact.
TIP: To create a speed dial from
Contacts:
1. Access Contacts.
2. Tap the required contact.
3. Scroll to the required phone number to
be highlighted, then tap > Add to
Speed Dial....
4. In the Location: field, select the speed
dial number.
5. Tap OK twice.
TIP: To make a call using speed dial from
the Phone screen:
From the Phone screen, tap and hold the
required speed dial number on the
keypad. If the speed dial number has two
digits, tap the first digit, then tap and hold
the second digit.

Call functions
64
Call functions
In-call options
Adjusting the volume
To adjust the volume while in a call:
Press the Volume Up key to increase the
volume, and the Volume Down key to
decrease the volume.
Putting a call on speakerphone
To put a call on speakerphone, tap Speaker On
or > Turn Speakerphone On.
To switch the speakerphone off, tap Speaker
Off or > Turn Speakerphone Off.
Muting a call
To mute a call, tap Mute or > Mute.
To unmute the call, tap Unmute or >
Unmute.
Putting a call on hold
To put a call on hold, tap , Hold or > Hold.
To unhold the call, tap , Unhold or >
Unhold.
Putting a call on hands-free
To put a call on hands-free:
When hands-free equipment is attached to your
Toshiba phone, the item > Turn Hands-free
On will be enabled.
NOTE: The speakerphone is
automatically switched off at the end of a
call.
n
TIP: When you have the headset
connected to your Toshiba phone, you
can place a call on hold by pressing the
headset button.
To unhold the call, press the button again.

Call functions
65
Call functions
Multiple and multiparty calls
Answering or ignoring a second
call
• To answer a second call, tap or or
slide to the right. The original call will
be put on hold.
• To ignore a second call, tap or slide
to the right.
Making a second call
To make a second call while already in a call:
1. Tap , Hold, or > Hold to put the first
call on hold.
2. Tap or Add Call to display the numeric
keypad.
3. Dial the second number, then tap or
Talk. The first call will remain on hold.
Swapping between calls
To swap between calls, tap , Swap or >
Swap.
TIP: To end the second call after
answering it:
Tap End or End Call, or press the
Camera key. You will be reconnected to
the original caller.
NOTE: To interact with a second call, you
need to have Call Waiting enabled. For
information on enabling Call Waiting, see
Call Waiting in Settings.
n
TIP: To end the second call after it is
connected:
Tap End or End Call, or press the
Camera key. You will be reconnected to
the original caller.
TIP: Tapping or Add Call without
putting a call on hold, you can still dial the
second number. The first call, however,
will be put on hold when is tapped.

Call functions
66
Call functions
Creating a conference call
To create a conference call:
With two calls active on your Toshiba phone,
one active and the other on hold, tap
Conference or > Conference. The calls will
be joined together, and each party will be able to
hear the other.
Having a private conversation with
a conference call party
To have a private conversation with a
conference call party, you need to split the
conference call.
To have a private conversation from a
conference call:
1. Tap Private or > Private.
2. Select the party with whom you wish to have
the private conversation, then tap Private.
NOTE: The conference call feature is
dependent on your service provider
supporting it.
TIP: To add another party to the
conference call:
1. Tap , Hold, or > Hold to put the
conference call on hold.
2. Tap to display the numeric keypad.
3. Dial the new party's phone number,
then tap or Talk.
4. When the new party has answered, tap
Conference or > Conference.
n

Call functions
67
Call functions
Call History
Call History displays a list of calls that you have
missed, received and dialled recently.
Viewing Call History
To view Call History:
1. Access Call History.
2. If required, you can filter the list by tapping
> Filter > Missed, Outgoing, or
Incoming.
3. To view the details of a call, tap the required
call.
Deleting Call History records
To delete a call from Call History:
1. Access Call History.
2. Scroll to the required entry in the list to be
highlighted, then tap > Delete.
3. Tap Yes to confirm the deletion.
To delete all calls from Call History:
1. Access Call History.
2. Tap > Delete All Calls.
3. Tap Yes to confirm the deletion.
Viewing Call Timers
To view Call Timers:
1. Access Call History.
2. Tap > Call Timers....
Resetting Call Timers
To reset Call Timers:
1. Access Call History.
2. Tap > Call Timers....
3. Tap Reset.
NOTE: Deleting all calls from the Call
History does not reset the Call Timers.
These need to be reset separately (see
Resetting Call Timers).
NOTE: The length of waiting calls is not
recorded.
n
n

Messaging
68
Messaging
Messaging
You can create, send, receive, organise, delete
and store the following message types on your
Toshiba phone:
• Short Message Service (SMS) messages.
• Multimedia Messaging Service (MMS)
messages.
•E-mail.
You can also use Windows Live for instant
messaging with Windows Live Messenger
and to access Hotmail.
Text messages
Text messaging, or the Short Message Service
(SMS), enables you to exchange text messages
with other phones. For details on text
messages, contact your service provider.
For information on setting up your text message
service centre, see Setting up text messages
service centre in Annex 4 - Configuring
SMS, MMS and e-mail.
Your Toshiba phone supports the sending of
more than the standard 160-character limit. If
you enter more than 160 characters, the
message is split into linked text messages.
These linked messages will be sent at the same
time.
Receiving text messages
Text messages are automatically received
when your Toshiba phone is switched on. When
your phone is off, messages are held by your
service provider until the next time your phone is
connected to the network.
Your Toshiba phone will alert you when a new
text message arrives.
When you have an ongoing conversation using
text messages, the messages are threaded
together into a single conversation. This
enables you to view the entire conversation as
you type.

Messaging
69
Messaging
Replying to a text message
To reply to a text message:
1. Access Text Messages.
2. Tap the required message in the Inbox, or
scroll to the required message in the Inbox
to be highlighted and tap . If you are
replying to multiple recipients, scroll to the
required message and tap > Reply/
Forward > Reply All.
3. Enter your message.
4. Tap .
Forwarding a text message
To forward a text message:
1. Access Text Messages.
2. Scroll to the required message in the Inbox
to be highlighted, and tap > Reply/
Forward > Forward.
3. Add recipient(s). For details of how to add a
recipient, refer to Creating and sending a
text message.
4. If required, edit the message in the
message area.
5. Tap .
Creating and sending a text
message
To create and send a text message:
1. Access Text Messages.
2. Tap > New > SMS.
3. Add recipient(s) using one or more of the
following methods:
• With the cursor in the To: field, tap >
Add Recipient..., then tap a recipient from
the list of contacts.
TIP: You can also reply to a New Text
Message by tapping . (Tap
Notification or if required.)

Messaging
70
Messaging
• With the cursor in the To: field, enter the first
few letters of a name stored in Contacts,
then tap > Check Names. If several
matches are displayed, select the required
one.
• Enter mobile phone number(s) in the To:
field. Use a semicolon to separate multiple
recipients.
•Tap To:, then tap a recipient from the list of
contacts.
4. Tap the message area and enter your
message.
5. Tap .
Options available when creating a
text message
To convert the message to an MMS message,
tap > Insert, then tap the type of item that
you want to add to the message.
To save time by inserting predefined text, tap
> My Text, then select the text to insert. You
can also edit existing My Text items as
required.
To save a message as a draft, tap > Save to
Drafts.
To check spelling before sending the message,
tap > Spell Check.
To cancel the message without sending it, tap X
or > Close.
Requesting delivery notification
To request a delivery notification:
1. Tap > Message Options... or Message
Options.
2. Tick the Request message delivery
notification checkbox.
3. Tap OK.

Messaging
71
Messaging
MMS messages
The Multimedia Messaging Service (MMS)
enables you to exchange multimedia messages
containing data such as text, pictures, sounds,
animation and video clips. You can send MMS
messages to other mobile phones or to e-mail
addresses. For details of MMS, and to enable
your account for this service, contact your
service provider.
For details of configuring MMS settings
manually, see Configuring MMS settings in
Annex 4 - Configuring SMS, MMS and e-
mail.
Receiving MMS messages
Your Toshiba phone will alert you when a new
MMS message arrives. Depending on your
settings, the message contents may download
a few moments later.
To view the MMS message, tap the message in
the Inbox of Text Messages, then tap .
Creating an MMS message
An MMS message can consist of many pages,
also known as 'slides'. Each slide can hold an
image, a sound and text, but you do not need to
set all of these for each message. The maximum
amount of content that can be sent in a message
is set by your service provider.
To create an MMS message:
1. Access Text Messages.
2. Tap > New > MMS.
3. Add recipient(s) using one or more of the
following methods:
•Tap > Add Recipient > From
Contacts..., From Call History..., or From
Sent History..., then tap a recipient.
• Tap , then tap a recipient from the list of
contacts.
•Tap Insert contacts here field, then tap
, and tap a recipient from the list of
contacts.
, and enter mobile phone number(s) or
e-mail address(es). Use a semicolon to
separate multiple recipients. Tap Done

Messaging
72
Messaging
when you have finished.
, and tap a recipient from sent history.
, and tap a recipient from call history.
Tap Done when you have finished.
4. Enter a message. (Insert the subject if
required.) Tap Done or OK when you have
finished.
5. Tap Send when the message is ready.
Options available when creating
an MMS message
Changing to carbon copy (Cc) or blind
carbon copy (Bcc)
After adding recipient(s) to your message, you
can change to carbon copy or blind carbon
copy by the following steps.
1. Tap the added recipient(s) in Insert
contacts here field.
2. Select a recipient from the list.
3. Tap > Change to Cc or Change to
Bcc.
4. Repeat 2. and 3. if required. Tap Done
when you have finished.
Inserting a picture or video
To insert a picture or video in the message:
1. Tap or > Insert > Picture/
Video.... A preview of all pictures and
videos in the current folder is displayed.
2. Either select one of the previewed pictures
or
launch the Camera application and capture
a new picture by tapping or a new video
by tapping .
Once you have selected a picture or video,
the message creation screen is displayed
again.
NOTE: If you add a video to a slide, you
cannot add any further audio to that slide.
TIP: You can also capture a new picture or
video from the message creation screen
by tapping > Capture > Image... or
Video....
n

Messaging
73
Messaging
Inserting text
To insert text in the message:
1. Tap notepad or > Insert > Text....
2. Enter text. To insert predefined text, tap
or tap > Insert My Text..., then select
the text to insert.
You can also insert emoticon, favorite,
contact, and calendar by tapping , ,
, and , respectively, or selecting these
options from .
3. Tap Done or OK when you have finished
inserting text.
Inserting audio
To insert audio in the message:
1. Tap or > Insert > Audio.... A list of
all audio files in the current folder is displayed.
2. Either select an audio file,
or
launch the Audio Recorder and capture a
new audio by tapping or tapping >
Capture > Audio....
Inserting file
To insert file in the message:
1. Tap , or > Attachment....
2. Tap , , or to add vCard, vCalendar,
any file, respectively, or select these
options from .
3. Select a required item, then tap OK.
To use or create a template:
Tap Menu > Template.
Tap Select a Template... to select a template to
use for a new MMS message, or Save as
Template to save the current MMS message as
a template for future use.
To preview the message before sending, tap the
.
To cancel the message without sending it, tap
> Cancel Message.
To select a background colour for the message,
tap > Options > Background, then tap
the required colour.
You can also set the priority of the message, a
delivery time delay for the sending of the

Messaging
74
Messaging
message, an expiry time for the message, and
request delivery and read reports.
To set these options, tap > Options >
Send Options..., then set the options as
required.
E-mail
Before you can send or receive e-mails, you
need to set up an e-mail account. Your Toshiba
phone supports the following types of e-mail
accounts:
• Internet e-mail (POP3/IMAP).
• Exchange server (Outlook).
For details of setting up e-mail accounts, see
Setting up e-mail accounts in Annex 4 -
Configuring SMS, MMS and e-mail.
Creating an e-mail
To create an e-mail:
1. Access Messaging. (Tap > E-mail.)
2. Tap the e-mail account to use.
3. Tap > New.
4. Add recipient(s) using one or more of the
following methods:
• With the cursor in the To: field, tap >
Add Recipient..., then tap a recipient from
the list of contacts.
• With the cursor in the To: field, enter the first
few letters of a name stored in Contacts,
then tap Menu > Check Names. If several
matches are displayed, select the required
one.
• Enter e-mail address(es) in the To: field.
Use a semicolon to separate multiple
recipients.
•Tap To:, then tap a recipient from the list of
contacts.
5. Tap the message area and enter your
message.
6. Tap when the message is ready.
E-mails are stored in your Outbox and are
sent to recipients the next time you
synchronise or connect to your e-mail
server.

Messaging
75
Messaging
Options available when creating
an e-mail
You can add recipients in the Cc: and/or Bcc:
fields.
You can enter a subject for the e-mail in the
Subject: field.
To add an attachment, tap > Insert >
Picture, Voice Note, or File, then select the
item to add.
To save time by inserting predefined text, tap
> My Text, then select the text to insert.
To save a message as a draft, tap > Save to
Drafts.
To check spelling before sending the message,
tap > Spell Check.
To cancel the message without sending it, tap X.
To set the priority and language of the e-mail,
tap > Message Options..., then select the
required options in the Priority: and
Language: field respectively.
Sending and receiving e-mail
To send and receive e-mail:
1. Access Messaging.
2. Tap the required e-mail account.
3. Tap > Send/Receive. Your Toshiba
phone connects to your Internet e-mail
server and sends and receives your
messages.
Downloading a complete e-mail
To download a complete e-mail:
1. Access Messaging.
2. Tap the required e-mail account.
3. Tap the required e-mail, then tap >
Download Message. The complete
message is retrieved the next time you
synchronise or connect to your e-mail
server to send/receive e-mail.
TIP: Scroll up to view the Cc: and Bcc:
fields.
TIP: To stop this process, tap > Stop
Send/Receive.

Messaging
76
Messaging
Downloading and viewing an
e-mail attachment
To download and view an e-mail attachment:
From an open message with an attachment, tap
the attachment. The attachment is downloaded
the next time you synchronise or connect to your
e-mail server to send/receive e-mail.
After it has been downloaded, you can tap the
attachment to view it.
Windows Live Messenger
Windows Live Messenger enables you to:
• send instant messages or join group chats.
• set your status and see the presence of
friends and colleagues.
• send messages via voice as well as text.
• send pictures and files.
• use emoticons to express how you feel.
To use Windows Live Messenger, you need
Windows Live ID credentials.
For details of Windows Live ID, go to:
https://accountservices.passport.net/
ppnetworkhome.srf.
You will also need to sign in to Windows Live
before you can sign in to Windows Live
Messenger.

Messaging
77
Messaging
Nimbuzz
Nimbuzz enables you to use your favourite
instant messaging features to connect with all
your Yahoo! Messenger, AIM, Facebook,
MySpace, Google Talk, Windows Live
Messenger (MSN), ICQ, Gadu-Gadu, Jabber,
studiVZ and Hyves buddies from one contact
list.
You can broadcast your activity status with your
Personal Message, and express yourself with
emoticons.
To get started with Nimbuzz:
Start Nimbuzz, then either create an account,
or log in with your existing account.
Add your instant messaging accounts to your
Nimbuzz contact list. Your buddies will appear
in the contact list and you can start chatting or
sharing files.
Visit http://www.nimbuzz.com/en/help for more
information on how to use Nimbuzz.
NOTE: The limited version of Nimbuzz
preinstalled on your Toshiba phone
includes instant messaging and dial-in
calling, but does not include free VoIP
calling.
n

Applications and multimedia
78
Applications and multimedia
Applications and multimedia
Calendar
The Calendar application works like an
electronic diary. You can keep track of your
appointments, including meetings and other
events.
You can display reminders on your Toshiba
phone, as well as synchronising your phone
with Outlook on your PC.
You can also schedule meetings via e-mail with
contacts who use Microsoft Outlook or Outlook
Mobile.
Scheduling an appointment
To schedule a new appointment:
1. Access Calendar.
2. Tap > New Appointment.
3. Enter details of the appointment, then tap
OK.
TIP: To send a meeting request:
1. Tap the Attendees: field.
2. Tap Add Required Attendee... or
Add Optional Attendee... as
required.
3. Tap the contact to invite.
4. Add more contacts if required.
5. Tap OK when you have finished
adding attendees.
6. Tap OK.
7. Tap Yes if required to save the
change and send the meeting request
to the attendees.
The meeting request will be sent to the
attendees when you next synchronise
your Toshiba phone with your PC.
When attendees accept the meeting
request, the meeting is automatically
added to their schedules. When their
responses are received, your calendar is
updated.

Applications and multimedia
79
Applications and multimedia
Sending an appointment
You can send an appointment within an MMS
message.
To send an appointment:
1. Access Calendar.
2. Tap the required appointment.
3. Tap > Send as vCalendar.
4. Add a recipient to the message, then tap
Send.
Changing the default reminder
time
By default, the reminder time is set to 15
minutes before an appointment.
To change the default reminder time:
1. Access Calendar.
2. Tap > Tools > Options....
3. Select Appointments on the upper screen
menu.
4. Make sure that the Set reminders for new
items checkbox is ticked, then change the
reminder time.
5. Tap OK.
Changing the Calendar view
To change the Calendar view:
Tap , , , or to toggle between
Agenda, Day, Week, Month and Year views.
Camera
Your Toshiba phone is equipped with a digital
camera that can be used to capture
photographs and video clips.
Starting the Camera
You can launch the Camera application using
one of the following methods:
•Tap > Camera.
•Press and hold the Camera key.
TIP: You can also change the Calendar
view by tapping > View, then tapping
the required view.

Applications and multimedia
80
Applications and multimedia
Main Camera screen
The following options are available from the
main Camera screen:
• - to access the Camera menu items.
• - to change the screen orientation.
• - to toggle the capture mode between the
following modes:
- default, to capture a single photograph.
- to capture a video.
- to capture a series of 9 photos. This
feature is useful for capturing a photograph
of a subject in motion.
- to capture a photograph after
approximately 5, 10 or 15 seconds. This
feature is useful for capturing a photograph
that you can be in.
• - to select the required resolution for the
photo or video.
• - to zoom in and out.
Capturing a photo
To capture a photo:
1. Start the Camera.
2. Aim the camera at the subject, then press
the Camera key or tap . A preview of the
photo is displayed.
3. Select the required action from the
following:
• tap to save the photo.
•tap > Send to send the photo in an MMS
message or e-mail.
•tap or > Delete, then to delete the
photo.
NOTE: Images of higher resolution
(quality) will use more storage space.
n
TIP: The auto-focus icon flashes when the
Camera is started. Tap before
capturing the photo to activate the auto-
focus feature. When the auto-focus is
completed, the edge of the auto-focus
icon becomes green and stops flashing. It
becomes red and stops flashing,
however, if the lens-to-subject distance is
too close.

Applications and multimedia
81
Applications and multimedia
Capturing a video
To capture a video:
1. Start the Camera.
2. Tap or > Capture Mode > Video.
3. Aim the camera at the subject, then press
the Camera key or tap to start
recording.
4. Press the Camera key or tap to stop
recording.
5. Select the required action from the
following:
• tap to save the video.
•tap > Play to play the video.
•tap > Send to send the video in an MMS
message or e-mail.
•tap or > Delete, then to delete the
video.
Changing storage location
By default, all photographs and videos taken
with the Camera are saved in the My Pictures
or My Videos folder on your Toshiba phone.
To save photographs and videos on a storage
card:
1. Ensure that a storage card has been
installed (refer to Installing the SIM card,
microSD card and battery in Getting
started for installation instructions).
2. Start the Camera.
3. Tap > Settings.
4. Tap General tab.
5. In the Save to: field, select Storage Card.
6. Tap OK.
NOTE: Close all open applications before
capturing videos with maximum resolution
(640 x 480). This will avoid any
deterioration in the video quality.
For information on ending all running
applications, see Ending applications in
Task Manager.
TIP: To capture the video without sound,
tap before capturing the video. The
icon will change to .
n

Applications and multimedia
82
Applications and multimedia
Contacts
You can use the Contacts feature to store
phone numbers, e-mail addresses, home
addresses, and other information relating to a
contact. You can also add a picture or assign a
ring tone to a contact.
If you use Microsoft Outlook on a PC, you can
synchronise contacts between your Toshiba
phone and the PC.
Creating a new contact
To create a new contact:
1. Access Contacts.
2. Tap .
3. Tap the contact type to create (Outlook
Contact, SIM Contact, or Windows Live).
Outlook contacts are stored on your
Toshiba phone.
4. Enter the details of the new contact.
5. Tap OK.
NOTE: SIM contacts (except when using
a USIM card) only support a single name
and phone number. Contacts stored on a
USIM card can include a name, three
phone numbers and an e-mail address.
n
NOTE: If you move the SIM card to
another phone, your SIM contacts are
moved as well.
TIP: You can customise Outlook contacts
by adding a picture or a ring tone to
uniquely identify the person calling you.
TIP: If someone whose phone number is
not stored in Contacts calls you, you can
create a contact for that person. To do
this:
1. Access Call History.
2. Scroll to the required call to be
highlighted, then tap > Save to
Contacts.
3. Tap <New Contact>.
4. Tap the contact type to create.
5. Edit the details of the new contact as
required, then tap OK.
TIP: You can create E-mail Group and
Messaging Group if required.
n

Applications and multimedia
83
Applications and multimedia
Finding a contact
To find a contact by name:
1. Access Contacts.
2. Tap the Enter a name... field.
3. Enter the first letter of the name of the
contact to find. Matching contacts will be
listed.
Copying contacts
To copy a phone contact to the SIM card:
1. Access Contacts.
2. Tap the required contact.
3. Tap > Save to SIM.
4. Tap OK.
To copy a SIM contact to the phone:
1. Access Contacts.
2. Tap the required contact.
3. Tap > Save to Contacts.
4. Tap OK.
To copy all phone contacts to the SIM card:
1. Access SIM Manager.
2. Tap the picture of the phone.
3. Tap Menu > Select All.
4. Tap Menu > Copy to SIM.
5. Tap ok after the copying has finished.
6. Tap OK twice to exit the SIM Manager
application.
To copy all SIM contacts to the phone:
1. Access SIM Manager.
2. Tap the picture of the SIM card.
3. Tap Menu > Select All.
4. Tap Menu > Copy to Phone.
5. Tap ok after the copying has finished.
6. Tap OK twice to exit the SIM Manager
application.
NOTE: When copying phone contacts to a
SIM card, only the supported fields will be
copied.
n

Applications and multimedia
84
Applications and multimedia
Deleting contacts
To delete a contact:
1. Access Contacts.
2. Tap the required contact.
3. Tap > Delete Contact or Delete SIM
Contact.
4. Tap Yes to confirm the deletion.
To delete all contacts:
1. Access Contacts.
2. Tap > Select Contacts > All.
3. Tap > Delete.
4. Tap Yes to confirm the deletion.
To delete all contacts from the phone:
1. Access SIM Manager.
2. Tap the picture of the phone.
3. Tap Menu > Select All.
4. Tap Menu > Delete.
5. Tap Yes to confirm the deletion.
6. Tap ok after the deleting.
7. Tap OK twice to exit the SIM Manager
application.
To delete all contacts from the SIM card:
1. Access SIM Manager.
2. Tap the picture of the SIM card.
3. Tap Menu > Select All.
4. Tap Menu > Delete.
5. Tap Yes to confirm the deletion.
6. Tap ok after the deleting.
7. Tap OK twice to exit the SIM Manager
application.
Sending contact information
You can send contact information in a text
message or MMS message, or using Bluetooth.
To send contact information in a text message:
1. Access Contacts.
2. Tap the required contact.
3. Tap > Send Contact > Text Messages.
4. Select the specific information to send, then
tap Done.
5. Add a recipient to the message, then tap
.

Applications and multimedia
85
Applications and multimedia
To send contact information in an MMS
message:
1. Access Contacts.
2. Select the required contact to be
highlighted.
3. Tap > Send as vCard.
4. Add a recipient to the message, then tap
Send.
For details of sending contact information using
Bluetooth, see Beaming an item in
Connectivity.
CorePlayer
With CorePlayer, you can take control of your
mobile multimedia playback using
CorePlayer’s simple yet powerful interface and
features. It also comes with built-in YouTube
support.
For any further information, visit
http://support.corecodec.com/.
File Explorer
File Explorer enables you to view and manage
files saved in your Toshiba phone, or on a
storage card.
Games
Your Toshiba phone comes preloaded with the
following games:
•Solitaire
Getting Started
Getting Started gives you step-by-step
instructions for carrying out common
procedures with your Toshiba phone.

Applications and multimedia
86
Applications and multimedia
Internet Explorer
Internet Explorer Mobile gives quick and easy
access to searching using Bing and web pages
in your Favorites and History.
You can also type in an address to access other
web pages.
Accessing a web page
To access a web page:
1. Access Internet Explorer.
2. Tap the address bar.
3. Enter a web page address.
4. Tap .
Changing the text size of web
pages
To change the text size of a web page:
1. From a web page, tap > View > Text
Size.
2. Tap the required size.
Adding a web page to Favorites
To add a web page to Favorites:
1. From a web page, tap , then .
2. Edit the details if required, then tap OK.
Zooming in or out on a web page
To zoom in or out on a web page:
Zoom in or out by using the zoom bar.
NOTE: Full-screen mode is the default
setting. Tap to return to the address
and softkey bar.
TIP: To return to the Home page, tap
> Home Page.
n
TIP: To reposition the zoom bar on the left
or right of the screen by tapping, holding,
and dragging it to the desired location.

Applications and multimedia
87
Applications and multimedia
Changing the home page
To change the home page:
1. From a web page, tap > Tools >
Options.
2. Tap Home Page.
3. Tap one of the following options:
•Default Home page - to use the default
home page.
•Current page - to set the current web page
as the home page.
•Custom page - to set a new home page.
Enter the address of the new home page in
the field below.
4. Tap OK.
Clearing temporary files, cookies
and History
When you use the Internet, your Toshiba phone
stores data that uses up some of the storage
capacity of the phone. You can delete these files
to free up storage.
To clear temporary files, cookies and History:
1. Access Internet Explorer.
2. Tap > Tools > Options.
3. Tap Browsing History.
4. Select the item to clear, then tap Clear.
5. Tap Yes to confirm the deletion.
6. Tap OK when you have finished.

Applications and multimedia
88
Applications and multimedia
Sending a link
To send a link using Messaging:
1. From a web page, tap > Tools > Send
Link....
2. Select the Messaging account to use to
send the link. A new message is created
with the web page address in the body of
the message.
3. Add a recipient and edit the message if
required.
4. Tap Send or .
Increasing the speed of your
Internet browser
For details of increasing the speed of your
Internet browser, see Browser Settings in
Settings.
Java
Your Toshiba phone supports Java applications
(also known as MIDlets) that are written for
mobile devices. Java applications include
games and utilities.
Your phone supports Java 2 Edition, J2ME.
The Java application on your Toshiba phone
enables you to download, install and manage
Java applications.
Installing a Java application
To install a Java application:
1. Access Java.
2. Tap Menu > Install.
3. Select where to install the application from:
• To install from a website, tap Browser. This
will launch the default browser. Go to the
website with the required Java application
and download the application. It is then
loaded into the Java application.

Applications and multimedia
89
Applications and multimedia
• To install from a specific URL, tap URL.
If the URL has already been entered, tap it,
then tap Go.
If the URL has not been entered, tap Add,
enter a name for the URL and the web
address, then tap OK.
• To install an application stored on your
Toshiba phone, tap Local Files. All
uninstalled Java applications stored on the
phone and the storage card are displayed.
Tap the one to install.
4. The details of the selected application will
be displayed and you will be prompted to
confirm the installation. Tap Continue to
install the application.
5. Select the folder in which to install the
application, then tap OK.
6. Wait a few seconds while the application is
being installed. You can then run the
application.
Running a Java application
Once Java applications are successfully
installed, they are displayed on the main Java
screen.
To run a Java application:
1. Access Java.
2. Tap the required application.
Marketplace
Marketplace is an integral part of the mobile
experience. Marketplace allows you to expand
your Toshiba phone's capabilities through
powerful software.
You can manage your Marketplace account
and application purchases directly from your
Toshiba phone.

Applications and multimedia
90
Applications and multimedia
Microsoft My Phone
My Phone is a service that allows you to back up
your Toshiba phone data to a password-
protected server online. My Phone backs up
your contacts and appointments through your
Web account. My Phone also allows you to
share the photos on your Toshiba phone with
your family and friends.
Notes
With Notes, you can quickly capture ideas,
questions, reminders, to-do lists and meeting
notes by writing, typing or recording your voice
in a note. This is especially useful when you
don’t have a pen and paper to hand.
For further details of Notes, see Writing and
drawing on the screen in Annex 1 - Text
input.
Creating a note
To create a note:
1. Access Notes.
2. Tap .
3. Change the input method if required. See
Input methods in Annex 1 - Text input for
further details.
4. Enter the note using your selected input
method.
5. Tap OK when you have finished.

Applications and multimedia
91
Applications and multimedia
Viewing or playing a note
To view or play a note:
1. Access Notes.
2. Tap the note to view or play.
Office Mobile
Excel Mobile
With Excel Mobile you can work on
spreadsheets in the same way as on a PC. You
can create new spreadsheets and charts, and
open and edit workbooks created on a PC.
OneNote Mobile
With OneNote Mobile, you can gather notes
and information in one place.
Notes in OneNote Mobile can contain text,
images and voice recordings. You can also
synchronise the notes with OneNote on a PC
using ActiveSync.
NOTE: To record a voice note, use the
recording toolbar.
If this bar is not displayed, tap > View
Recording Toolbar.
n
NOTE: Excel Mobile does not fully
support some features. See the Microsoft
website for details.
NOTE: Some data and formatting may be
lost when you save a workbook created on
a PC to your Toshiba phone. See the
Microsoft website for details.
n
n

Applications and multimedia
92
Applications and multimedia
PowerPoint Mobile
With PowerPoint Mobile, slide show
presentations created on your PC can be
opened and viewed on your Toshiba phone.
Word Mobile
With Word Mobile you can work on documents
in the same way as on a PC. You can create new
documents and templates, and open and edit
documents created on a PC.
PhotoBase
PhotoBase is a full-featured image,
management, editing and sharing application
that enables you to manage and quickly preview
images stored on your Toshiba phone.
Pictures & Videos
Viewing pictures and videos
You can view pictures and videos stored on your
Toshiba phone or storage card using the
Pictures & Videos application.
To view pictures and videos:
1. Access Pictures & Videos.
2. Tap the required picture or video.
NOTE: PowerPoint Mobile does not fully
support some features. See the Microsoft
website for details.
NOTE: Word Mobile does not fully
support some features. See the Microsoft
website for details.
NOTE: Some data and formatting may be
lost when you save the document on your
Toshiba phone. See the Microsoft website
for details.
n
n
n

Applications and multimedia
93
Applications and multimedia
Search Phone
You can search for files and other items stored
on your Toshiba phone in the My Documents
folder or on a storage card.
You can search by file name or by keywords
located in the item. For example, you can
search e-mail messages, notes, appointments,
contacts, and tasks as well as in Help.
To search for a file or an item:
1. Access Search Phone.
2. In the Search for: field, enter the file name,
word, or other information you require.
3. If you have searched for an item before, tap
the arrow to the right of the Search for: field
to find it in the searching history.
4. In the Type: field, select a data type to help
narrow your search.
5. Tap Search.
In the Results list, you can tap the item you
require to open it.
SIM Toolkit
When you install a SIM card that has
applications loaded on it, you can run the
applications using the SIM Toolkit application.
To run an application from the SIM card:
1. Access SIM Toolkit. The list of SIM
applications is displayed.
2. Select the application that you want to run,
then tap Select.
NOTE: The SIM Toolkit icon ( ) is not
displayed when the installed SIM card
does not have any applications loaded.
The title of this icon depends on the title of
the SIM. It will generally show the name of
your service provider.
n

Applications and multimedia
94
Applications and multimedia
Streaming Player
Streaming Player enables you to play live and
recorded streaming media on your Toshiba
phone.
To use Streaming Player:
1. Access Streaming Player.
2. Tap Open.
3. Enter the URL of the required media, then
tap Connect.
Tasks
With the Tasks application, you can create one-
off tasks or recurring tasks. You can also set
reminders for your tasks, and organise them by
category.
Overdue tasks will be displayed in red.
Creating a task
To create a new task:
1. Access Tasks.
2. Tap > New Task.
3. Edit the details of the task as required.
4. Tap OK.
NOTE: To access the URL of a streaming
media item, your Toshiba phone must
connect to the network. For more
information about connecting your phone
to a network, see Internet connections
in Connectivity.
n
TIP: You can also create a task by
entering a name for the task in the Tap
here to add a new task field. However,
using this method you will need to add the
details of the task separately.

Applications and multimedia
95
Applications and multimedia
Changing the status of a task
When a new task is created, it will be set as
active. When you have completed the task, you
can update its status.
To mark a task as completed:
1. Access Tasks.
2. Scroll to the required task to be highlighted,
then tap .
Video Editor
Video Editor enables you to easily edit videos.
You can also create video clips by combining
still images, or create a video storyboard by
mixing video, photos, text and music.
Windows Live
Windows Live gives access to searching using
Bing, as well as access to Windows Live
Messenger.
For information on Windows Live Messenger,
see Windows Live Messenger in Messaging.
TIP: You can synchronise tasks on your
Toshiba phone with your PC. This will
keep tasks up to date in both locations.
If you create a new task with a reminder on
your PC and then synchronise tasks with
your phone, the reminder is activated at
the time set on your PC.
TIP: If you need to reactivate a task, scroll
to the required task, then tap .
TIP: You can toggle the status of a task by
tapping the checkbox next to the task.

Applications and multimedia
96
Applications and multimedia
Windows Media
Overview of Windows Media
Player 10 Mobile
You can use Windows Media Player 10 Mobile
to play digital audio and video files that are
stored on your Toshiba phone, a storage card or
on the Internet.
Overview of screens and menus
Windows Media Player 10 Mobile has three
primary screens:
•Library screen - enables quick access of
files and playlists. It also includes an item
that enables you to switch to the Now
Playing screen.
To switch to the Playback screen from the
Library screen, tap OK.
The Library screen will be the default screen
displayed when you first use Windows
Media Player Mobile.
•Now Playing screen - displays the Now
Playing playlist. This shows the file currently
playing, as well as any files that are queued
up to play next.
•Playback screen - displays the playback
controls and the video window. You can
change the appearance of this screen by
selecting a different skin.

Applications and multimedia
97
Applications and multimedia
Playing items stored on your
Toshiba phone
Use the Library to find and play music, videos,
and playlists that are stored on your Toshiba
phone or storage card.
To play an item stored on your Toshiba phone:
1. Access Windows Media.
2. If the item is in the Library, select the item,
then tap Play.
If the item is not in the Library, tap Menu >
Open File.... Select the item, then tap Play.
Playing items stored on a network
To play an item stored on a network:
1. Access Windows Media.
2. From the Library screen, tap Menu > Open
URL....
3. Enter the URL of the file or select a URL
from the History: field, then tap OK.
TIP: To add files to the Library, tap Menu
> Update Library....
NOTE: To play an item on a network, your
Toshiba phone must connect to the
network. For more information about
connecting your phone to a network, see
Internet connections in Connectivity.
n

Connectivity
98
Connectivity
Connectivity
Beam
The term ‘Beam’ is used to describe the short
range transfer of data between two devices via
a Bluetooth connection.
You can beam Calendar, Contacts, Tasks,
and Pictures & Videos items, and other files
stored on your Toshiba phone, to other devices.
Beaming an item
To beam an item to another device:
1. Select the item that you want to beam, then
tap > Beam.... (This path will vary
slightly depending on the type of item that
you want to beam. To beam a contact, tap
> Send Contact > Beam.)
2. Tap the device to which you want to send
the item.
Configuring your Toshiba phone
to receive beamed data
To configure your Toshiba phone to receive
beamed data:
1. Access Beam.
2. Tick the Receive all incoming beams.
checkbox, then tap OK.
NOTE: Bluetooth must be set to On or
Visible to send beamed items.
To receive beamed items, Bluetooth must
be set to Visible.
n

Connectivity
99
Connectivity
Bluetooth
Bluetooth is a short-range wireless
communications technology. Bluetooth-
capable devices can exchange data without
requiring a wired connection.
Bluetooth on your Toshiba phone has three
modes: Off, On and Visible.
In Off mode, you cannot send or receive data
using Bluetooth.
In On mode, your Toshiba phone can search for
and connect to other devices. However, your
phone will not be visible in searches by other
devices.
In Visible mode, your Toshiba phone can
search for and connect to other devices. Your
phone will also be visible to other devices.
Changing Bluetooth mode
By default, Bluetooth is in Off mode. Bluetooth
will remain in the same mode when turning your
Toshiba phone off and on.
To change Bluetooth mode:
1. Access Bluetooth.
2. Select Mode on the upper screen menu.
3. To set Bluetooth to Off mode, untick the
Turn on Bluetooth checkbox.
To set Bluetooth to On mode, tick the Turn
on Bluetooth checkbox.
To set Bluetooth to Visible mode, tick both
the Turn on Bluetooth and Make this
device visible to other devices
checkboxes.
TIP: You can also toggle Bluetooth mode
between On and Off, or Visible and Off
using Wireless Manager, when the
Bluetooth is turned on.

Connectivity
100
Connectivity
Pairing devices
When devices are paired, a relationship is
created that enables the exchange of data
between the devices.
The pairing can be set up using a passcode,
which will ensure that exchanged data is kept
secure.
Pairing of devices only needs to be carried out
once. After this, the devices can connect to
each other and exchange data without the
passcode needing to be entered again.
Before pairing your Toshiba phone with another
device, ensure that:
• Your Toshiba phone and the other device
are within 10 metres of each other.
• Bluetooth on your Toshiba phone is set to
On or Visible.
• Bluetooth on the other device is set to
Visible.
To pair your Toshiba phone with another device:
1. Access Bluetooth.
2. On the Devices screen, tap Add new
device... or Add. Your Toshiba phone will
search for other Bluetooth-enabled devices
and display them in a list.
3. Tap the required device, then tap Next.
4. For enhanced security, enter a passcode in
the Passcode: field. This is alphanumeric,
and can be between 1 and 16 characters in
length.
5. Tap Next.
6. Wait for the other device to accept the
pairing. If a passcode has been set on your
Toshiba phone, then it will need to be
entered on the other device.
7. To edit the settings for the device, tap
Advanced. You can then edit the name to
be used for the device, and select services
to use from the device. Tap Save when you
have finished.
To finish the pairing without editing the
settings, tap Done.

Connectivity
101
Connectivity
Connecting a Bluetooth headset
Before connecting a Bluetooth headset to your
Toshiba phone, ensure that:
• Bluetooth on your Toshiba phone is set to
On or Visible.
• the Bluetooth headset is set to pairing mode.
To connect a Bluetooth headset:
1. Access Bluetooth.
2. On the Devices screen, tap Add new
device..., or Add.
3. Tap the Bluetooth headset in the list of
devices, then tap Next.
4. Enter the passcode for the headset if
required. This will be provided with your
Bluetooth headset.
5. Tap Next.
6. Wait for the headset to accept the pairing.
7. A confirmation will be displayed when the
headset has been connected. Tap
Advanced. (The confirmation will
disappear after a while. If so, tap the the
headset in the list.)
8. If required, edit the name of the headset.
9. Make sure that the Hands Free checkbox is
ticked. If you are using a stereo Bluetooth
headset, also make sure that the Wireless
Stereo checkbox is ticked.
10.Tap Save when you have finished.
Bluetooth security
Although your Toshiba phone has security
features compliant with the Bluetooth standard
specification, this security might not work
properly when using your Toshiba phone in a
non-secure environment. Take care when using
the Bluetooth feature.
Domain Enroll
Domain Enroll enables you to enroll your
Toshiba phone as a domain member. You can
then connect your phone securely to a network,
e.g. your work network.

Connectivity
102
Connectivity
Internet connections
Your Toshiba phone is equipped with powerful
networking functions that enable you to connect
to the Internet through a General Packet Radio
Service (GPRS) or Universal Mobile
Telecommunications System (UMTS) network.
You can set up connections to the Internet or to
a corporate network to browse the Internet, and
exchange e-mail or instant messages.
If your Toshiba phone has not been
preconfigured, you will need to manually enter
the details for the required internet connections.
For details of setting up internet connections,
see Annex 5 - Configuring internet settings.
Internet Sharing
Internet Sharing enables you to use your
Toshiba phone as a modem for a PC.
To connect to the Internet using Internet
Sharing:
1. Connect your Toshiba phone to a PC using
the USB cable or Bluetooth.
2. Access Internet Sharing.
3. In the PC Connection: field, select the type
of connection used for connecting the
phone and PC.
4. In the Network Connection: field, select
the connection to use to connect to the
Internet.
5. Tap Connect. Once the connection is
enabled, you can access the Internet on a
PC using your Toshiba phone as a modem.
6. When you have finished using the Internet,
tap Disconnect on your phone.
NOTE: This functionality is only available
if it is supported on your SIM card.
n

Connectivity
103
Connectivity
USB Mode
USB Mode enables you to change the type of
USB connection used between your Toshiba
phone and PC.
Wi-Fi
Your Toshiba phone supports Wi-Fi (Wireless
LAN), which is IEEE 802.11b/g compliant, and
Wi-Fi Protected Setup (WPS), which is a
standard for easy and secure establishment of a
wireless network.
Connecting to a Wi-Fi network
Before connecting to a Wi-Fi network, ensure
that Wi-Fi on your Toshiba phone is on.
To connect to a Wi-Fi network:
1. Access Wi-Fi settings.
2. Select the required network, then tap
Connect.
To connect to a Wi-Fi network via WPS:
1. Access Wi-Fi Settings.
2. Tap Add New.
3. Tap WPS.
4. Select Connect Button or PIN.
When Connect Button is selected:
Push the WPS button on an access point such
as wireless router and modem.
When a PIN is selected:
Access the access point via the registrar such
as PC, then enter the PIN displayed on the
phone screen.
5. Tap Connect. The phone starts searching
for the access point and then obtaining its
information.
NOTE: The Wi-Fi on your Toshiba phone
is set to Off as a default. To turn it on,
access Wireless Manager, then tap Wi-
Fi.
n

Connectivity
104
Connectivity
6. Tap Next when the Setting Complete
appears on the phone screen.
7. Name the connection and enter it in the
Connection name: field if required.
8. Tap OK and wait until the phone completes
the connection process.
To connect to a Wi-Fi network manually:
1. Access Wi-Fi Settings.
2. Tap Add New.
3. Tap Manual.
4. Enter the details of the network.
Wi-Fi security
It is possible for an outside party to easily gain
unlawful access to your Toshiba phone via
Wi-Fi if the security function is not used.
Without this security, your Toshiba phone
carries the risk of unlawful access, wiretapping,
and loss or destruction of data.
You should set up your Toshiba phone to use
the authentication and encryption features in
order to prevent such access.
Wireless Manager
Wireless Manager enables you to easily switch
the Phone, Bluetooth and Wi-Fi functionality
on or off.
NOTE: If the same SSID already exists,
the phone asks whether or not you desire
to replace it to a new network. Tap
Replace to connect with the new network.
TIP: You can also connect to a Wi-Fi
network from the Wi-Fi.
n
TIP: You can also access the detailed
settings for the Phone, Bluetooth, and
Wi-Fi from the Menu on the bottom
screen.
NOTE: You can conserve battery power
by switching off Bluetooth and Wi-Fi
when they are not in use.
n

Connectivity
105
Connectivity
Switching radio transmission on/
off
You can switch the telephony radio
transmission of your Toshiba phone on and off.
When the radio transmission is off, it is in 'Flight
Mode'. In this mode, you will not be able to
make or receive calls, send or receive
messages, or access the Internet.
To switch radio transmission on/off:
From Wireless Manager, tap the Phone item.
Radio transmission will toggle on or off.

Settings
106
Settings
Settings
About
The About setting enables you to view technical
information about your Toshiba phone,
including the operating system and memory of
the phone. This information is useful when
installing new applications on your Toshiba
phone.
You can also change the name of your Toshiba
phone as it is displayed to other devices (for
example, when using Bluetooth).
Changing device name
To change the device name:
1. Access About.
2. Select Device ID on the upper screen
menu.
3. Enter a new name for your Toshiba phone in
the Device name: field. You can also add a
description if required.
4. Tap OK.
Adjust Geomagnetic Sensor
The geomagnetic sensor works as the
electronic compass. Operating in tandem with
the user's map application that supports
geomagnetic sensor, the direction in which the
user is moving will always be at the top of the
phone screen. In addition, in applications
unrelated to maps, it can simply be used as a
compass.
The Adjust Geomagnetic Sensor starts when
an application that supports geomagnetic
sensor is started for the first time.
To adjust geomagnetic sensor:
1. Tap Adjust and repeat following steps until
the adjustment is completed.
2. Hold the phone horizontal to the ground and
rotate it as shown in the figures on the touch
screen.
3. Rotate the phone toward your body at least
120 degree and return it.
4. Rotate the phone to the left at least 120
degrees and return it.

Settings
107
Settings
Adjust Motion Sensor
If the Motion Sensor does not seem to be
operating correctly, you can adjust it as follows:
1. Place your Toshiba phone on a stable, level
surface, with the touch screen facing
upwards.
2. Access Adjust Motion Sensor.
3. If the yellow circle is not in the centre of the
target area, tap Adjust.
4. When the adjustment is complete, tap OK.
Backlight
You can adjust the brightness of the backlight,
and set the backlight to dim after a specific
amount of time has elapsed.
You can configure settings to prolong battery
power.
To change the backlight settings:
1. Access Backlight.
2. On the Battery Power screen, you can
select when to turn off the backlight when
using battery power.
3. On the External Power screen, you can
select when to turn off the backlight when
using external power.
4. On the Brightness screen, you can adjust
the brightness of the screen when using
battery or external power.
5. Tap OK when you have finished.
TIP: You can access Adjust
Geomagnetic Sensor by tapping >
Settings > System > Adjust
Geomagnetic Sensor.
NOTE: The higher the brightness, and the
longer the backlight remains on, the more
power will be used.
n

Settings
108
Settings
Browser Settings
Browser Settings enables you to set Internet
Explorer as a high speed browser.
Certificates
To view certificate details:
Access Certificates. On each screen, the
certificate names, along with their issuing
authority and expiry date, are displayed. Tap a
certificate to view its details.
Clock & Alarms
Setting the date and time
To set the date and time:
1. Access Clock & Alarms.
2. Select Time on the upper screen menu if
required.
3. Set the time zone, current date and time.
4. Tap OK when you have finished.
5. Tap Yes to save the changes.
NOTE: Using the high speed browser
setting will increase battery consumption,
and may increase the time taken to switch
your Toshiba phone on/off.
n
NOTE: These settings are only lost if you
reset your Toshiba phone. Your settings
are saved if you power off the phone, or if
the battery is fully discharged.
n

Settings
109
Settings
Setting an alarm
To set an alarm:
1. Access Clock & Alarms.
2. Select Alarms on the upper screen menu.
3. Tap one of the alarm display areas for
accessing Alarm Settings screen. (You can
set up to three alarms.)
4. Set a time for this alarm.
5. Tap < Description > field to label this alarm
if required.
6. Select the days when the alarm is required.
7. Select a sound and the types of alarm to
use.
8. Tap OK, and make sure that the checkbox
for the set alarm is ticked.
Customer Feedback
Customer Feedback sends anonymous
information to Microsoft for use in helping
improve Windows Mobile software.
Encryption
This feature allows you to secure sensitive
information on your storage card. The data will
only be accessible when the card is installed in
your Toshiba phone. If the card is lost or stolen,
the information remains secure. The contents of
the storage card cannot be accessed by anyone
else because they are encrypted.
To encrypt the contents of your storage card:
1. Access Encryption.
2. Tick the Encrypt files when placed on a
storage card. checkbox.
3. Tap OK.
TIP: Tap Play button to listen to a sample
of the selected sound.
NOTE: To set alarms to be audible, even
when the phone is set to silent or vibrate,
tick the Sound alarms even when the
device is set to silent or vibrate
checkbox, then tap OK.
n
WARNING: Anyone in possession of the
encryption key can decrypt and access
information stored on the storage card.
!

Settings
110
Settings
Error Reporting
Error Reporting sends data from your Toshiba
phone to Microsoft technical support groups.
The data is used to diagnose program errors for
devices running Windows Mobile software.
If a program error occurs, Error Reporting
starts automatically. The information Microsoft
receives is used by programming groups at
Microsoft. The data is used for quality control
and will not be used for tracking individual users,
installations or for any marketing purpose.
External GPS
To set up External GPS:
1. Access GPS Settings. (Tap External
GPS.)
2. On the Programs screen, select the port
that your Toshiba phone will use to obtain
GPS data.
3. On the Hardware screen, select the
hardware port to which your GPS device is
connected. You can also set the baud rate.
4. On the Access screen, tick the Manage
GPS automatically (recommended)
checkbox if required. You are strongly
advised to use this feature as it will enable
Windows Mobile to manage access to your
GPS device, and allows multiple programs
to obtain GPS data simultaneously.
5. Tap OK when you have finished.

Settings
111
Settings
Internal GPS
Internal GPS enables you to change the
settings for downloading the latest satellite data
from the network and detecting position
information quickly.
Location Request
Location Request sets the action of your
Toshiba phone when there is a location request
from the third party.
Managed Programs
Managed Programs lists applications that
have been installed remotely by your company
system administrator. You can view details of
these applications.
Master Clear
Master Clear resets all settings on your
Toshiba phone to their factory defaults, and
deletes all of your data.
You should only use this procedure as a last
resort. It is recommended that you back up all of
your data before using Master Clear.
If you are experiencing a problem with an
application, it is most likely a result of a conflict
between installed programs. We recommend
uninstalling the most recently added program
first. Also verify that the program is designed to
be run on your Toshiba phone by comparing the
requirements to the information provided with
your phone. To view this information, access
About.
To reinitialise your Toshiba phone when it is
switched on:
1. Access Master Clear.
2. Follow the on-screen instructions to
reinitialise your phone. The phone will
restart after it has been reinitialised.

Settings
112
Settings
To reinitialise your Toshiba phone if there are
problems in accessing the Master Clear
application:
1. Press and hold the Power key, the Volume
Up key and the Camera key until the
Master Clear screen is displayed (at least
five seconds).
2. Within 60 seconds, press the Volume
Down key to select < Yes > for the on-
screen confirmation, then press the
Camera key.
3. Press the Volume Down key to select
< Yes > for the on-screen final confirmation,
then press the Camera key. The phone will
restart after it has been reinitialised.
Memory
To ensure optimum performance of your
Toshiba phone, it is necessary to maintain
sufficient memory.
To check the memory available on your Toshiba
phone:
1. Access Memory.
2. On the Main screen, you can view the
details of Storage and Program memory.
3. On the Storage Card screen, you can view
the memory available on the storage card.
4. Tap Find large files using storage
memory. to search for specific files.

Settings
113
Settings
Motion Sensor Settings
These settings will allow you to select whether
the motion sensor is activated when you tilt, tap
or shake your Toshiba phone.
To set up the Motion Sensor:
1. Access Motion Sensor Settings.
2. Tick or untick the Auto screen orientation
change, Double tap to Task Manager
and Activate shake operation checkbox
as required. (You can select one of the
following options for Activate shake
operation, Go to Phone screen, Go to
Today Screen, or Answer Call.)
3. Tap OK.
Owner Information
Owner Information enables you to enter your
identification such as address, telephone, e-
mail, and notes for your reference.
Phone
Setting ring tones
To set a ring tone:
1. Access the Phone settings.
2. On the Sounds screen, select the following:
•In the Ring type: field, select the required
type of tone. This can be ringing,
vibration, a combination of ringing and
vibration, or none.
•In the Ring tone: field, select the required
tone.
TIP: Tap the play icon to listen to a sample
of the selected ring tone.

Settings
114
Settings
3. Tap OK.
Setting keypad tones
To set keypad tones:
1. Access the Phone settings.
2. On the Sounds screen, select the required
type of keypad tones in the Keypad: field.
To have no keypad tones, select Off.
Call Barring
Call Barring enables you to block certain
categories of incoming and outgoing calls (for
example, international calls).
To set up Call Barring:
1. Access the Phone settings.
2. Select Services on the upper screen menu.
3. In the list of services, tap Call Barring, then
tap the Get Settings... button. The settings
will then be read from the network.
4. When the current settings are displayed,
select the settings required for blocking
incoming and outgoing calls.
5. Tap OK.
6. Enter the call barring password, then tap
OK. The settings are sent to the network.
TIP: You can use custom sounds as ring
tones. You can copy the files to your
phone from your PC using ActiveSync, or
download them from the Internet.
TIP: You can also set the ring tone from
the Sounds & Notifications settings.
NOTE: Call Barring is only available if it is
supported by your service provider.
NOTE: Before setting up Call Barring,
you will need to obtain your call barring
password from your service provider.
n
n

Settings
115
Settings
Caller ID
Caller ID allows selected call recipients to view
your name and phone number information on
their phone when you call them.
To configure Caller ID:
1. Access the Phone settings.
2. Select Services on the upper screen menu.
3. In the list of services, tap Caller ID, then tap
the Get Settings... button.
4. In the Provide my caller ID to: field, select
one of the following:
•Everyone - your information will be
displayed to everyone that you call.
•No one - your information will be hidden
from everyone that you call.
•Only to contacts - your information will
only be displayed when you call a number
stored in Contacts.
5. Tap OK.
Call Forwarding
Call Forwarding enables you to forward
incoming calls to another number.
To set up Call Forwarding:
1. Access the Phone settings.
2. Select Services on the upper screen menu.
3. In the list of services, tap Call Forwarding,
then tap the Get Settings... button.
4. Select the conditions during which you
would like to forward incoming calls. Enter
the phone number(s) for forwarded calls.
5. Tap OK.
NOTE: Call Forwarding is only available
if it is supported by your service provider.
TIP: If you have set up voice mail, you can
select Voicemail as the phone number for
forwarded calls. For details of setting up
voice mail, see Setting up voice mail.
n

Settings
116
Settings
Call Waiting
Call Waiting notifies you of incoming calls
when you are already in a call. You will then
have the option to answer or ignore the second
call.
To enable Call Waiting:
1. Access the Phone settings.
2. Select Services on the upper screen menu.
3. In the list of services, tap Call Waiting, then
tap the Get Settings... button.
4. Select whether or not you wish to be notified
of waiting calls.
5. Tap OK.
Setting up voice mail
Voice mail is normally preconfigured. If it is not
preconfigured, you can save your voice mail
number to the phone manually.
To set up voice mail manually:
1. Access Mail Settings.
2. Tap SMS.
3. Enter your voice mail number in the Voice
mail number: field. This can be obtained
from your service provider.
4. Tap OK.
Fixed Dialing
Fixed Dialing restricts the numbers that you
can call from your Toshiba phone. When Fixed
Dialing is activated, you can only call
predefined numbers or area codes. These
numbers are stored in a list that you can set up
and edit using your Toshiba phone.
NOTE: Call Waiting is only available if it is
supported by your service provider.
n
NOTE: Fixed Dialing is only available if it
is supported by your service provider.
n

Settings
117
Settings
To set up Fixed Dialing:
1. Access the Phone settings.
2. Select Services on the upper screen menu.
3. In the list of services, tap Fixed Dialing,
then tap the Get Settings... button.
4. Tick the Enable fixed dialing checkbox.
5. Tap Menu > Add.
6. In the Name: and Number: field,
respectively enter the name and phone
number you want to be able to call.
7. Tap Done.
8. If required, add more numbers, then tap
Done.
9. Tap OK, then enter PIN2 and tap Done.
Setting the network selection type
To set the network selection type:
1. Access the Phone settings.
2. Select Network on the upper screen menu.
3. In the Network selection field, select
Automatic or Manual as required.
4. If you select Automatic, your Toshiba
phone will register to the default network.
This network is defined by your SIM card.
5. If you select Manual, you will need to wait
for the phone to search for all available
networks.
When the list of networks is displayed, tap
the required network, then tap OK. Your
Toshiba phone will register to the selected
network.
6. Tap OK.
The default setting is Automatic.
If you select Manual, and your current network
becomes unavailable, you will need to wait for
NOTE: Before setting up Fixed Dialing,
you will need to obtain PIN2 from your
service provider.
n
NOTE: This setting is only available if it is
supported by your service provider.
n

Settings
118
Settings
the phone to search for all available networks.
You can then select one to connect to.
Preferred networks
If you have selected the Automatic network
selection type, following any failure in
connection to your home network, your Toshiba
phone will attempt to connect to the first network
in the list of Preferred networks. If this fails, the
phone will attempt to connect to the next
network in the list, and so on.
To set up or update the list of Preferred
networks:
1. Access the Phone settings.
2. Select Network on the upper screen menu.
3. Tap Set Networks. The settings will then
be read from the network.
4. Add new networks or reorder the list as
required. You can also remove networks
from the list by unticking the checkbox
beside the network name.
5. Tap OK when you have finished.
Connecting to a network
To connect to a network:
1. Access the Phone settings.
2. Select Network on the upper screen menu.
3. Tap Find Network. You will need to wait for
the phone to search for all available
networks.
When the list of networks is displayed, tap
the required network, then tap OK. Your
Toshiba phone will register to the selected
network.
Setting network mode
To set the network mode:
1. Access the Phone settings.
2. Select Mode on the upper screen menu.
3. Select a network mode from one of the
following:
•Automatic - selects network mode
automatically.
•HSDPA - selects 3G/3.5G network mode.
•GSM - selects 2G/2.5G network mode.
4. Tap OK.

Settings
119
Settings
Power Saving Settings
Power Saving Settings enables you to set up
your Toshiba phone to optimise performance or
save battery power, depending on your
preferences.
Power
The Power settings enable you to check the
battery status and configure settings to prolong
battery power.
To view and change Power settings:
1. Access Power.
2. On the Battery screen, the remaining
battery power is displayed.
3. On the Advanced screen, you can select
when to turn off the screen when using
battery or external power.
4. On the Wi-Fi screen, you can restrict sleep
mode activation, and set the power save
setting to use when Wi-Fi is on.
5. Tap OK when you have finished.
NOTE: Changing the network mode
settings may limit the ability of your
Toshiba phone to connect to the wireless
network, and may result in signal failure.
n

Settings
120
Settings
Regional Settings
Regional Settings enables you to specify the
styles in which numbers, currency, time and
date are displayed.
To change Regional Settings:
1. Access Regional Settings.
2. On the Region screen, select your region in
the drop-down list. Changing this setting
automatically updates the styles in which
numbers, currency, time and date are
displayed to the defaults for the selected
region.
3. Change specific items on the other screens
if required.
4. Tap OK when you have finished.
Remove Programs
Remove Programs enables you to delete
applications that you have installed.
To remove a program:
1. Access Remove Programs.
2. Tap the application to remove, then tap
Remove.
3. Tap Yes to confirm the deletion.
4. Tap OK when you have finished removing
programs.
NOTE: Programs that were pre-installed
on your Toshiba phone cannot be
removed in this way.
n

Settings
121
Settings
Screen
Adjusting screen settings
To adjust screen settings:
1. Access Screen.
2. On the General screen, you can set up the
screen orientation and alignment.
3. On the ClearType screen, you can enable
ClearType, which smooths the edge of
screen fonts.
4. On the Text Size screen, you can slide the
marker to adjust the text size. An example of
the selected text size is displayed.
5. Tap OK when you have finished.
Adjusting scroll speed
The scroll speed is the speed at which you can
scroll through items in a list.
To adjust the scroll speed:
1. Access Buttons.
2. In the Delay before first repeat: field,
move the pointer to adjust the time taken
before scrolling begins.
3. In the Repeat rate: field, move the pointer
to adjust the time taken to scroll from one
item to the next.
4. Tap OK when you have finished.
Security
It is advisable to apply certain security features
in case your Toshiba phone is lost or stolen.
You can apply the following security to prevent
unauthorised use:
•Device lock - when this feature is activated,
you will need to unlock the phone before you
can use it.
You can enable a password for the device

Settings
122
Settings
lock to prevent unauthorised use of your
Toshiba phone. You can also set a time after
which the device lock will be activated if the
phone is left idle.
When the device lock is activated with a
password enabled, you will be prompted to
enter the password to unlock the phone.
By using the device lock without a password,
you can prevent accidental calls and
operations.
•Phone lock - using a personal identification
number (PIN), this feature prevents
unauthorised use of your SIM card in any
phone. When this feature is activated, you
will be prompted for your PIN when you
switch on your Toshiba phone. You cannot
use the SIM card until the PIN is entered
correctly.
•SIM Lock - this feature prevents
unauthorised use of your Toshiba phone
with other SIM cards. When this feature is
activated, your Toshiba phone can only be
used with the SIM card that was in the phone
during SIM Lock activation.
Enabling a password for the
device lock
To enable a password for the device lock:
1. Access Lock.
2. On the Password screen, tick the Prompt
if phone unused for checkbox, and select
how long your phone can be left idle before
a password is required.
3. Select a password type.
4. Enter and confirm a password.
5. Enter a hint on the Hint screen if required.
6. Tap OK.
7. Tap Yes to confirm the changes.
IMPORTANT: If you forget your
password, you will need to reinitialise your
phone. See Master Clear for details.

Settings
123
Settings
Disabling the device lock
password
To disable the device lock password:
1. Access Lock.
2. Enter your current password, then tap
Unlock.
3. On the Password screen, untick the
Prompt if phone unused for checkbox.
4. Tap OK.
5. Tap Yes to confirm the change.
Activating the device lock
To activate the device lock, enter the sleep
mode or tap and then tap .
Deactivating the device lock
The device lock will be activated when returning
from the sleep mode.
To deactivate the device lock:
If the device lock password is enabled,
1. Slide the to the right or left if required.
2. Enter your current password.
3. Tap or Unlock to return to where you
left off,
to go to Contacts, or
to go to Messaging.
If the device lock password is not enabled, slide
the to the left or right.
Enabling phone lock
To enable the phone lock:
1. Access the Phone settings.
2. Select Security on the upper screen menu.
NOTE: Before you start, you will need to
know the SIM PIN. This is provided with
your SIM card.
n

Settings
124
Settings
3. Tick the Require PIN when phone is used
checkbox.
4. Enter the SIM PIN, then tap Enter.
5. Tap OK.
Disabling phone lock
To disable the phone lock:
1. Access the Phone settings.
2. Select Security on the upper screen menu.
3. Untick the Require PIN when phone is
used checkbox.
4. Enter the SIM PIN, then tap Enter.
5. Tap OK.
Activating SIM Lock
To activate SIM Lock:
1. Access SIM Lock.
2. Tick the Lock phone to use current SIM
card only checkbox.
3. Enter and confirm a password of eight
digits.
4. Tap Done or OK.
5. Tap Yes to confirm the changes.
Deactivating SIM Lock
To deactivate SIM Lock:
1. Access SIM Lock.
2. Enter the SIM Lock password, then tap
Done or OK.
3. Untick the Lock phone to use current SIM
card only checkbox.
4. Tap Done or OK.
5. Tap Yes to confirm the changes.
WARNING: If you enter the incorrect PIN
for your SIM card three consecutive times,
you will need to contact your service
provider to obtain the PUK. Do not try to
guess the PUK as your SIM card will be
rendered permanently inoperative
following ten consecutive unsuccessful
attempts.
!

Settings
125
Settings
Sleep Mode Indicator
This setting enables you to set the LED indicator
to be on when your Toshiba phone is in sleep
mode.
Sounds & Notifications
You can set a different sound for different
events. The sound can be set to something
different for each type of event.
You can also set up the sounds and vibrations
required when tapping the screen.
Setting sounds and notifications
To set sounds and notifications:
1. Access Sounds & Notifications.
2. On the Sounds screen, select the required
settings from the following:
•Tick the Events checkbox to enable sounds
for events such as warnings.
•Tick the Programs checkbox to enable
sounds for applications.
• Select whether to enable sounds for
Screen taps or pressing Hardware
buttons. You can also specify the level of
the sounds.
3. On the Notifications screen, select the
specific sound required for each event, and
the way in which you want to be notified of
the event. Available items are dependent on
the event selected.
4. On the Vibrations screen, select whether
to activate vibrations for screen taps. You
can also specify the length of the vibrations.
5. Tap OK when you have finished.
TIP: Tap the play icon to listen to a sample
of the selected sound.
TIP: You can use custom sounds by
copying the files to your phone from your
PC using ActiveSync, or downloading
them from the Internet.
TIP: Disabling sounds and flashing lights
for events will help to conserve battery
power.

Settings
126
Settings
Task Manager
Task Manager enables you to quickly switch
between currently running applications.
It also enables you to end an application if it
becomes unstable or the memory is low.
Switching between applications
To switch between applications using Task
Manager:
1. Access Task Manager.
2. Double-tap on the application to access.
Ending applications
To end an application using Task Manager:
1. Access Task Manager.
2. Tap the application to end, then tap End
Task.
3. Tap X or Menu > Exit when you have
finished.
Toolbox Settings
Enabling or disabling Toolbox
To enable/disable the Toolbox:
1. Access Toolbox Settings.
2. Tick or untick the Use Toolbox checkbox
as required.
3. Tap OK.
TIP: Alternatively, tap the application, then
tap Menu > Switch To.
TIP: To end all running applications, tap
Menu > End All Tasks, then tap Yes to
confirm the action.
NOTE: By disabling the Toolbox, the
Toshiba Free Pad, Magnifying Glass,
and Task Switcher are also disabled.
n

Settings
127
Settings
Setting up Toshiba Free Pad for
left or right-handed use
To set up Toshiba Free Pad for left or right-
handed use:
1. Access Toolbox Settings.
2. Ensure that the Use Toolbox checkbox is
ticked.
3. Select Right-handed or Left-handed as
required.
4. Tap OK.
Video Quality Setting
This setting enables you to set the quality for
playing video files.
Volume control
You can access the phone sound volume and
ringer/call volume settings by tapping the ringer
icon on the status indicators.
Volume control has the following settings:
• Phone sound volume - 6 levels.
• Ringer/call volume - 6 levels.
• Both phone volume and ringer/call volume
can be set to On, Vibrate or Off.
TIP: You can change the volume settings
by pressing the Volume keys.
TIP: You can also change the phone
volume and ringer/call volume settings
using Toshiba Volume Settings. To do
this:
1. Access Volume Settings.
2. Tap the required setting (On, Vibrate
or Off), then tap OK.

Specifications
128
Specifications
Specifications
System Information
Processor Qualcomm® Snapdragon™ QSD8250, Scorpion™ at 1 GHz
Memory RAM : 256 MB
ROM : 512 MB
Operating System Windows Mobile® 6.5 Professional
UMTS/HSDPA/HSUPA GSM/GPRS/EDGE Frequency Range
Within 3G (UMTS) 2100 1920 - 2170 MHz
Within 3G (UMTS) 900 880 - 960 MHz
Within GSM 850 824 - 894 MHz
Within GSM 900 880 - 960 MHz
Within DCS 1800 1710 - 1880 MHz
Within PCS 1900 1850 - 1990 MHz
Continuous Talk Time
Within 3G (UMTS) area Approximately 240 minutes
Within GSM area Approximately 275 minutes
Continuous Standby Time
Within 3G (UMTS) area Approximately 220 hours
Within GSM area Approximately 225 hours

Specifications
129
Specifications
Maximum Output
Within 3G (UMTS) 2100 Class 3 0.25 W
Within 3G (UMTS) 900 Class 3 0.25 W
Within GSM 850 Class 4 2 W
Within GSM 900 Class 4 2 W
Within DCS 1800 Class 1 1 W
Within PCS 1900 Class 1 1 W
Dimensions (H × W × D) Approximately 126 mm x 66 mm x 9.9 mm
Weight Approximately 125 g
AC Charger
Input voltage 100 to 240 VAC, 50/60 Hz
Charging temperature range 5 to 35 °C
Battery charging time Approximately 140 minutes
Display
LCD 104mm (4.1'') TFT LCD with Touch screen
Resolution 800 x 480 (65536 colours)

Specifications
130
Specifications
Audio/Video codecs
Audio AAC, AAC+, eAAC+, AMRNB, MP3, WMA
Video ASF, H.263, H.264, MPEG-4, WMV
Connectivity
Bluetooth Bluetooth™ ver2.0 + EDR (Power Class 2)
Advanced Audio Distribution Profile (A2DP)
Audio/Video Remote Control Profile (AVRCP)
Generic Access Profile (GAP)
Hands-Free Profile (HFP)
Headset Profile (HSP)
Personal Area Networking Profile (PAN)
Phone Book Access Profile (PBAP)
Serial Port Profile (SPP)
Wireless LAN IEEE 802.11b/g
AES, TKIP, WEP, WPA, WPA-PSK, WPA2, WPA2-PSK, WPS
Interface
Cable, headset and phone
charging
Micro-USB (Client, Full Speed, High Speed, Host) / Headset /
Charger
Headset Connector Micro-USB stereo headset
Expansion slot microSD™

Troubleshooting
131
Troubleshooting
Troubleshooting
Problem Possible cause Possible solution
Cannot switch
phone on.
Battery out of power. Charge the battery (see page 46).
Battery not installed correctly. Ensure that the battery is inserted correctly
(see page 45).
Phone switches
off automatically.
Battery out of power. Charge the battery (see page 46).
Cannot charge
battery.
Battery not installed correctly. Ensure that the battery is inserted correctly
(see page 45).
AC charger not connected. Ensure that the AC charger is connected to
the phone and to a working AC outlet.
Connectors are dirty. Clean the connectors of the AC charger and
battery.
Battery has worn out. Replace the battery.
Battery or AC charger is
damaged.
Replace the battery or charger. Contact
your dealer for assistance.
Battery loses
power quickly.
Backlight, Power settings
and Power Saving Settings
need to be adjusted.
Adjust settings to optimise power
performance (see page 107, page 119 and
page 119).

Troubleshooting
132
Troubleshooting
Network not
displayed.
SIM card not installed
correctly.
Ensure that the SIM card is inserted
correctly (see page 43).
Contacts between SIM card
and phone are dirty.
Gently clean the contacts of the SIM card
and phone.
Network signal is weak. Move clear of any obstructions that may
block the signal.
SIM card is damaged. Contact your service provider to obtain a
replacement SIM card.
Cannot make a
call.
You are outside of your
network service area.
Connect to a different network if this is
supported by your service provider
(see page 118).
Phone or SIM card is locked. Unlock the phone or SIM card
(see page 121).
Call Barring is active. Deactivate Call Barring (see page 114).
Cannot answer a
call.
Call Forwarding is active. Deactivate Call Forwarding (see
page 115).
Call Barring is active. Deactivate Call Barring (see page 114).
No ringing for an
incoming call.
Phone is set to not ring for
incoming calls.
Edit the ringtone settings (see page 113).
Problem Possible cause Possible solution

Troubleshooting
133
Troubleshooting
Poor call quality. Network signal is weak. Move clear of any obstructions that may
block the signal.
Network signal is changing
frequently, e.g. when travelling
on a train.
Wait until signal strength is consistently high
before making or answering a call.
Other party in a
call cannot hear
you.
Phone is muted. Unmute the phone (see page 64).
Cannot send or
receive text
messages.
Your service provider is not
enabling this service.
Contact your service provider to check your
subscription status.
Cannot send or
receive MMS
messages.
Your service provider is not
enabling this service.
Contact your service provider to check your
subscription status.
MMS settings are missing or
incorrect.
Ensure that the MMS settings are correct
(see page 145). To obtain the settings,
contact your service provider.
Cannot access
the Internet.
Your service provider is not
enabling this service.
Contact your service provider to check your
subscription status.
Network settings are missing
or incorrect.
Ensure that the network settings are correct
(see page 102). To obtain the settings,
contact your service provider.
Problem Possible cause Possible solution

Troubleshooting
134
Troubleshooting
Storage memory
is low.
Too many items stored on the
phone.
Delete any unwanted messages, clear the
Internet history, and delete any unwanted
files.
Storage card is
not recognised.
Storage card not installed
correctly.
Ensure that the storage card is inserted
correctly (see page 43).
Storage card is damaged. Replace the storage card.
Problem Possible cause Possible solution

Annex 1 - Text input
135
Annex 1 - Text input
Annex 1 - Text input
Input methods
Your Toshiba phone enables you to enter
information in three different ways:
•Typing - using the Input Panel.
• Writing - using your finger, writing directly on
the screen.
• Drawing - using your finger, drawing directly
on the screen.
Input Panel
The Input Panel provides the following input
methods:
•Keyboard
•Toshiba Keyboard
The Input Panel icon is displayed at the centre
bottom of the screen when text input is possible.
To open the Input Panel, tap the Input Panel
icon.
When you begin entering a word using any of
the input methods, your Toshiba phone will
suggest possible words. Tap one of the
suggested words to enter it.
Your Toshiba phone will learn words as you use
them. They will then be used as suggested
words in the future.
Keyboard
With Keyboard, you use your finger to tap on
the keyboard to enter characters.
TIP: Tap and hold to switch the Input
Panel.
TIP: Tap áü to enter miscellaneous letters
and symbols.

Annex 1 - Text input
136
Annex 1 - Text input
Toshiba Keyboard
With Toshiba Keyboard, you use your finger to
tap on the keyboard to enter characters.
Toshiba Keyboard consists of the following
three keyboard layouts:
•QWERTY pad - this has a similar layout to a
PC keyboard.
•Multi-tap pad - this has a similar layout to a
conventional multi-tap mobile phone
keypad.
•Numeric/Symbol pad - this enables easy
entry of numbers, symbols and special
language characters.
Tap the pad switch buttons ( and for
QWERTY pad, for Multi-tap pad, for
Numeric/Symbol pad) to switch between the
different pads.
Writing and drawing on the
screen
With your Toshiba phone, you can draw directly
on the screen, write on the screen, and save
notes in your own handwriting. To do this, you
must first set the input mode in Notes to
Writing. If you prefer to use handwriting or
frequently add drawings to your notes, you may
find it helpful to set Writing as the default input
mode. If you prefer typed text, set Typing as the
default input mode.
To set the input mode for Notes:
1. Access Notes.
2. Tap > Options....
3. In the Default mode: field, select one of the
following:
•Writing - if you want to draw or enter
handwritten text in a note.
•Typing - if you want to create a typed
note.
4. Tap OK.

Annex 1 - Text input
137
Annex 1 - Text input
To hand write a note:
1. Access Notes.
2. Tap .
3. Tap , and make sure that Draw is ticked.
4. Write text on the screen.
5. Tap OK when you have finished.
To draw on the screen using your finger:
1. Access Notes.
2. Tap .
3. Tap , and make sure that Draw is ticked.
4. Using your finger, draw over at least three
ruled lines. A box labelled Drawing is
displayed around the drawing.
5. Tap OK when you have finished.
NOTE: If a letter crosses three or more
ruled lines, it is treated as a drawing rather
than text.
n
TIP: To select a drawing (for example, to
copy or delete it), tap and hold the drawing
briefly. When you lift your finger, the
drawing is selected.

Annex 2 - Navigating your Toshiba phone
138
Annex 2 - Navigating your Toshiba phone
Annex 2 - Navigating yo ur Toshiba phon e
This section gives information about some of
the main screens on your Toshiba phone. It also
gives an overview of the menu structure of your
phone.
Phone screen
You can access the Phone screen in the
following ways:
•Tap Send key located below the touch
screen.
• Tap , and then tap .
TIP: When you tap a key on the numeric
keypad, a list of names and/or numbers is
displayed. This list shows matching
names and numbers from Contacts, Call
History, Speed Dial and the SIM card.
For example, if you tap 2, names
beginning with A, B or C and phone
numbers beginning with 2 are displayed.
You can enter more characters to reduce
the number of matching entries.
To call an entry, tap it, then tap or .

Annex 2 - Navigating your Toshiba phone
139
Annex 2 - Navigating your Toshiba phone
Windows Mobile Start Screen
Structure
Start
Today
Phone
Text Messages
Messaging
Text Messages
Outlook E-mail
Setup E-mail
Contacts
Internet Explorer
Calendar
Settings
Bluetooth
Clock & Alarms
Lock
Network Settings
Power
Power Saving Settings
Sounds & Notifications
Home
Wi-Fi Settings
Connections
Beam
Connections
Domain Enrollment
GPRS Settings
Mail Settings
Operator Settings
USB Mode
Wi-Fi
Wireless Manager
Personal
Buttons
Owner Information
Phone
Toolbox Settings
System
About
Adjust Geomagnetic Sensor
Adjust Motion Sensor
Backlight
Browser Setttings
Certificates
Customer Feedback

Annex 2 - Navigating your Toshiba phone
140
Annex 2 - Navigating your Toshiba phone
Encryption
Error Reporting
GPS Settings
Internal GPS Setting
Location Request
Managed Programs
Master Clear
Memory
Motion Sensor Settings
Regional Settings
Remove Programs
Screen
SIM Lock
Sleep Mode Indicator
Task Manager
Video Quality Setting
Volume Settings
Microsoft My Phone
Getting Started
Clock & Alarms
Pictures & Videos
Windows Media
Marketplace
Windows Live Messenger
Microsoft My Phone
MSN Weather
Windows Live
MSN Money
Calculator
Games
Solitaire
Notes
Tasks
Office Mobile
Excel Mobile
OneNote Mobile
PowerPoint Mobile
Word Mobile
File Explorer
ActiveSync
Internet Sharing
Task Manager
Search Phone
Help
Adobe Reader LE
Camera

Annex 2 - Navigating your Toshiba phone
141
Annex 2 - Navigating your Toshiba phone
Contacts Backup
Java
PhotoBase
SIM Manager
Streaming Player
Video Editor
Spb Mobile Shell
Spb Home
CorePlayer

Annex 3 - Common status icons
142
Annex 3 - Common status icons
Annex 3 - Common status icons
Type Icon Description
Radio signal icons Signal strength
No signal
No radio service. The phone has not yet connected to a network.
Radio signal lost. The phone is searching for a signal.
Phone set to Off.
GPRS available
3G+ available
EDGE available
3G/UMTS available
HSDPA available
Connecting to GPRS
Connecting to EDGE
Connecting to 3G/UMTS
Connecting to HSDPA
Active GPRS connection
Active EDGE connection
Active 3G/UMTS connection
Active HSDPA connection
Roaming

Annex 3 - Common status icons
143
Annex 3 - Common status icons
Connectivity icons Pairing request received from another device.
Incoming beam.
Wi-Fi set to On.
Wi-Fi network(s) in range.
Animated - connecting to a Wi-Fi network.
Static - connected to a Wi-Fi network.
Call icons Call in progress
Data call in progress
Call on hold
Speakerphone on
Calls forwarded
Missed call
Volume icons Ringer on for incoming calls
Ringer off for incoming calls
Vibrate for incoming calls
Notification icons New message(s) received (includes voice mail messages)*
New voice mail message received*
New instant message(s) received
New MMS message(s) received
Type Icon Description

Annex 3 - Common status icons
144
Annex 3 - Common status icons
* The type of voice mail message indicator displayed is dependent on your service provider. Your
service provider may also allow you to select the type of voice mail notification that you receive.
Please contact your service provider for details.
Notification icons Multiple notifications. This icon is displayed when there are
multiple occurrences that would normally each display an icon, for
example, when there is a missed call and a message received.
This icon is displayed automatically after the last notification icon
has been displayed briefly. You can tap this icon to view the
individual notifications.
Battery icons Battery level
Battery level low
Battery charging
ActiveSync icons Synchronisation over GPRS in progress
Synchronisation over EDGE in progress
Synchronisation over 3G/UMTS in progress
Synchronisation over Wi-Fi in progress
Synchronisation error
Other icons Alarm pending
No SIM card
Type Icon Description

Annex 4 - Configuring SMS, MMS and e-mail
145
Annex 4 - Configuring SMS, MMS and e-mail
Annex 4 - Co nfiguring SMS, MMS an d e-mail
Setting up text messages
service centre
To set up the text messages service centre:
1. Access Mail Settings.
2. Tap SMS.
3. Enter the required number in the Text
messages service centre: field. This
number can be obtained from your service
provider.
4. Tap OK.
Configuring MMS settings
If your Toshiba phone has not been
preconfigured, you will need to manually enter
the details of the MMS account. These details
are available from your service provider.
To configure MMS settings:
1. Access Mail Settings.
2. Tap MMS.
3. Tap Add New.
4. Enter the following details:
•Server name: - enter a descriptive name,
such as the name of your service provider.
•Gateway: - enter the WAP gateway to be
used for this connection.
•Server address: - enter the URL address
of the MMS server.
5. Tap Next.
6. Enter the following details:
•Port number: - enter the HTTP port number
for connecting to the MMS server and for file
transfer.
TIP: You can also set up the text
messages service centre from the Phone
settings by selecting Voice Mail and Text
Messages on the Services screen, then
tapping Get Settings....

Annex 4 - Configuring SMS, MMS and e-mail
146
Annex 4 - Configuring SMS, MMS and e-mail
•Message sending size limit: - select the
maximum MMS message size permitted by
your service provider.
•Connect via: - select the connection point
for the MMS server.
7. Tap OK.
Setting up e-mail accounts
Setting up an e-mail account
automatically
To set up an e-mail account automatically:
1. Access Messaging. (Tap > E-mail.)
2. Tap Setup E-mail.
3. In the E-mail address: field, enter the
e-mail address for this account.
4. Enter a password in the Password: field.
5. Tick the Save password checkbox if you
wish to save your password to your Toshiba
phone. This will mean that you do not need
to enter it each time you connect to your e-
mail server. This may or may not be
required by your internet service provider
(ISP).
TIP: If you have several MMS providers,
you can set one as the default. To do this,
tap the required entry, then tap Default. A
check mark is displayed next to the default
MMSC entry. TIP: Choose a strong password -
strengthen the security of your password
by selecting a combination of alphabet
and numeric characters.

Annex 4 - Configuring SMS, MMS and e-mail
147
Annex 4 - Configuring SMS, MMS and e-mail
6. Tap Next.
7. Ensure that the Try to get e-mail settings
automatically from the Internet is ticked,
then tap Next.
If the account has set up successfully, you are
prompted to send and receive e-mail.
If the account has not set up successfully, tap
Next and then set up the account manually.
Setting up a Gmail or Yahoo! Mail
account automatically
To set up Gmail or Yahoo! Mail account
automatically:
1. Access Messaging. (Tap > E-mail.)
2. Tap Setup E-mail.
3. In the E-mail address: field, enter the e-
mail address for this account.
4. Enter a password in the Password: field.
5. Tick the Save password checkbox if you
wish to save your password to your Toshiba
phone. This will mean that you do not need
to enter it each time you connect to your e-
mail server.
6. Tap Next twice.
7. Enter your name in the Your name: field.
Modify the name for this account on your
Toshiba phone in the Account display
name: field if required.
8. Tap Next.
9. Select the frequency with which to send and
receive your e-mail in the Automatic Send/
Receive: field.
10.Tap the Review all download settings link
to set the following additional settings if
required:
The Download messages: field enables
you to set the time range for downloading
messages from the server.
Tap Advanced Settings to edit additional
settings for sending, receiving and deleting
e-mails if required. Tap Done, then Next
WARNING: If you save your password
and then lose your Toshiba phone, you
run the risk of someone else being able to
access your e-mail account.
!

Annex 4 - Configuring SMS, MMS and e-mail
148
Annex 4 - Configuring SMS, MMS and e-mail
when you have finished.
11.Select the format for sending messages
(HTML or Plain Text) in the Message
format: field.
12.Select the download size limitation in the
Message download limit: field.
13.Select the download preferences for
attachments in IMAP4 e-mails in the
Download attachments: field.
14.Tap Finish.
Setting up a Hotmail account
automatically
To set up a hotmail account automatically:
1. Access Messaging. (Tap > E-mail.)
2. Tap Setup E-mail.
3. In the E-mail address: field, enter the e-
mail address for this account.
4. Enter a password in the Password: field.
5. Tick the Save password checkbox if you
wish to save your password to your Toshiba
phone. This will mean that you do not need
to enter it each time you connect to your e-
mail server. Tap Next twice. (Set up
Roaming Settings as required, then tap
Done.)
6. Select Accept or Reject for the Windows
Live Terms of Use. If you Accept, go to the
next step.
7. Tick Windows Live services for showing
Windows Live on the Today screen, then
tap Next.
8. Choose among the options on the screen,
then tap Next.
9. Tap Done when finished.
Setting up an Internet or custom
domain e-mail account manually
You will need to set up an Internet or custom
domain e-mail account if your e-mail provider
supports POP or IMAP e-mail. Contact your e-
mail provider for further information.
A custom domain e-mail account has an
address hosted by a different provider than
indicated by the domain. For example, your e-
mail address may be “user@mycompany.com”,

Annex 4 - Configuring SMS, MMS and e-mail
149
Annex 4 - Configuring SMS, MMS and e-mail
although “live.com” hosts the account and
provides the messaging services.
To set up an Internet or custom domain e-mail
account manually:
1. Access Messaging. (Tap > E-mail.)
2. Tap Setup E-mail.
3. In the E-mail address: field, enter the e-
mail address for this account.
4. Enter a password in the Password: field.
5. Tick the Save password checkbox if you
wish to save your password to your Toshiba
phone. This will mean that you do not need
to enter it each time you connect to your e-
mail server. This may or may not be
required by your internet service provider
(ISP).
6. Tap Next.
7. Untick the Try to get e-mail settings
automatically from the Internet
checkbox, then tap Next.
8. In the Your e-mail provider: field, select
Internet e-mail or Custom domain as
required.
9. Tap Next.
10.If you are setting up a custom domain e-mail
account, enter the domain of your e-mail
address provider in the E-mail provider
domain: field, then tap Next.
11.Enter the name that you want displayed
when you send e-mail in the Your name:
field.
12.Enter a unique name for this account in the
Account display name: field, then tap
Next.
13.Enter the name of the incoming server in the
Incoming mail server: field.
14.Select the server type that hosts your e-mail
mailbox in the Account type: list (POP3 or
IMAP4), then tap Next.
NOTE: Before setting up the account, you
will need to obtain the required information
from your e-mail provider.
n
NOTE: This name cannot be changed
later.
n

Annex 4 - Configuring SMS, MMS and e-mail
150
Annex 4 - Configuring SMS, MMS and e-mail
15.Enter the user name assigned to you by
your ISP in the User name: field. This is
usually the first part of your e-mail address,
before the ‘@’ sign.
16.Tap Next.
17.Enter the name of the outgoing server in the
Outgoing (SMTP) mail server: field.
18.Tick the Outgoing server requires
authentication checkbox if the outgoing
server requires authentication. This
authentication will use the user name and
password that you have already entered.
19.Tick the Use the same user name and
password for sending e-mail checkbox if
required.
20.Tap the Advanced Server Settings link to
set the following additional settings if
required.
Tick the checkboxes if you wish to enable
Secure Sockets Layer (SSL) connection.
The Network connection: field enables
you to select the network to which your e-
mail server connects.
Tap Done when you have finished.
21.Tap Next.
22.Select the frequency with which to send and
receive your e-mail in the Automatic Send/
Receive: field.
23.Tap the Review all download settings link
to set the following additional settings if
required:
The Download messages: field enables
you to set the time range for downloading
messages from the server.
Tap Advanced Settings to edit additional
settings for sending, receiving and deleting
e-mails if required.
IMPORTANT: SSL connection enables
you to send and/or receive personal
information more securely. If you select
one or both of these options and your ISP
does not support SSL connection, you will
not be able to send and/or receive e-mail.

Annex 4 - Configuring SMS, MMS and e-mail
151
Annex 4 - Configuring SMS, MMS and e-mail
Tap Done, then Next when you have
finished.
24.Select the format for sending messages
(HTML or Plain Text) in the Message
format: field.
25.Select the download size limitation in the
Message download limit: field.
26.Select the download preferences for
attachments in IMAP4 e-mails in the
Download attachments: field.
27.Tap Finish.
Setting up an Outlook e-mail
account manually
An Outlook e-mail account is created and
managed by a Microsoft Exchange server,
usually within a company or other organisation.
To set up an Outlook e-mail account manually:
1. Access Messaging. (Tap > E-mail.)
2. Tap Setup E-mail.
3. In the E-mail address: field, enter the e-
mail address for this account.
NOTE: You need to have an e-mail
account set up on the Exchange server
before you can receive e-mails from this
account on your Toshiba phone. Contact
the administrator of the Exchange server
for further information.
NOTE: Before setting up the account, you
will need to obtain the required information
about the Exchange server. Contact the
administrator of the Exchange server for
further information.
n
n

Annex 4 - Configuring SMS, MMS and e-mail
152
Annex 4 - Configuring SMS, MMS and e-mail
4. Enter the password of your Outlook e-mail
account in the Password: field.
5. Tick the Save password checkbox if you
wish to save your password to your Toshiba
phone. This will mean that you do not need
to enter it each time you connect to your e-
mail server. This may or may not be
required by your internet service provider
(ISP).
6. Tap Next.
7. Untick the Try to get e-mail settings
automatically from the Internet
checkbox, then tap Next.
8. In the Your e-mail provider: field, select
Exchange server, then tap Next.
9. Tap Next.
10.Tap Next.
11.Enter the address of the Exchange server in
the Server address: field.
12.If the Exchange server uses SSL, ensure
that the This server requires an
encrypted (SSL) connection checkbox is
ticked.
13.Tap Next.
14.Make sure that the user name and
password information is correct.
15.Enter the Exchange server domain in the
Domain: field, then tap Next.
16.Select the data that you would like to
synchronise with the Exchange server (from
Contacts, Text Messages, E-mail,
Calendar and Tasks).
17.Tap Finish.
18.Wait for the synchronisation to finish. This
may take several minutes.

Annex 4 - Configuring SMS, MMS and e-mail
153
Annex 4 - Configuring SMS, MMS and e-mail
General messaging options
You can customise the options for your
Messaging accounts, message options,
addressing, and message storage.
To access the Messaging options:
1. Access Messaging. (Tap > E-mail.)
2. Tap Menu > Options.
3. Customise the following options as
required:
•Accounts screen - enables you to change
the settings for each messaging account.
Tap New Account... to set up a new
messaging account.
•Message screen - enables you to change
options for sending and deleting messages.
Tick the Display account picker when
opening Messaging checkbox if you
would like to select the messaging account
each time you open Messaging.
•Address screen - enables you to select
whether to check Contacts as well as any
online address books for e-mail addresses.
You can also add online address books and
select which ones to use for e-mail address
checking.
•Storage screen - enables you to check the
memory space of your phone, storage card
and attachments. You can also select
whether to store attachments on a storage
card, and specify how deleted items are
emptied.
Inserting a signature
To create a signature and insert it in messages:
1. Access Messaging. (Tap > E-mail.)
2. Tap Menu > Options.
3. On the Accounts screen, tap
Signatures....
4. In the Select an account: field, select the
account for which you are creating the
signature.
5. Tick the Use signature with this account
checkbox.
6. To insert a signature in every message you
send, tick the Use when replying and
forwarding checkbox. If this checkbox is

Annex 4 - Configuring SMS, MMS and e-mail
154
Annex 4 - Configuring SMS, MMS and e-mail
not ticked, the signature is inserted in new
messages only.
7. Enter the signature.
8. Tap OK twice.

Annex 5 - Configuring internet settings
155
Annex 5 - Configuring internet settings
Annex 5 - Conf iguring internet setting s
Setting up a GPRS connection
GPRS is a packet-based wireless
communication service which enables data to
be sent and received using mobile phones.
You can use GPRS to connect to the Internet or
to send and receive MMS messages using your
phone. When you use GPRS, you will usually be
billed based on the data traffic volume.
However, you should check billing information
with your service provider.
To set up a GPRS connection manually:
1. Access Network Settings.
2. Tap Network Settings.
3. Select Cellular Line (GPRS), then tap
Next.
4. In the Access point name: field, enter the
GPRS access point name (APN) for your
service provider, then tap Next.
5. In the User name: field, enter your user
name for the network, then tap Next.
6. In the Password: field, enter your password
for the network, then tap Next.
7. If you need to specify extra settings, tap one
or more of the following items and enter the
required information:
•Domain - enter the domain name, then tap
OK.
NOTE: Before you begin, you will need to
obtain the following information:
• From your phone service provider - data
connectivity plan information, access
point name, and PAP/CHAP security
settings.
• From your ISP or wireless service
provider - access point name, user
name and password, and other security
information.
n
NOTE: Before setting up a GPRS
connection, you will need to obtain the
required settings from your service
provider. As a minimum, the access point
name will be required.
n

Annex 5 - Configuring internet settings
156
Annex 5 - Configuring internet settings
•IP Address - select Use server-assigned
IP address to automatically configure the
IP address. Otherwise, select Use specific
IP address and manually enter the IP
address.
Tap Next.
Tick the checkbox(es) for the required types
of compression, then tap OK.
•Server Address - to automatically
configure the server address, select Use
server-assigned address, then tap OK.
Otherwise, select Use specific server
address to manually enter the server
address information in the Primary DNS:,
Secondary DNS:, Primary WINS:, and
Secondary WINS: fields.
Tap OK.
8. Authentication - select one of the
following:
•None - no authentication (default).
•CHAP - use Challenge Handshake
Authentication Protocol.
•PAP - use Password Authentication
Protocol.
Tap OK.
9. Tap OK.
10.In the ISP name: field, enter a name for the
GPRS connection.
11.Tap OK.
Setting up a dial-up connection
To set up a dial-up connection:
1. Access Network Settings.
2. Tap Network Settings.
3. Select Cellular Line, then tap Next.
4. In the Dialling number: field, enter the
phone number used to dial the network,
then tap Next.
NOTE: Before setting up a dial-up
connection, you will need to obtain the
required settings from your service
provider.
n

Annex 5 - Configuring internet settings
157
Annex 5 - Configuring internet settings
5. Enter the required information. See Setting
up a GPRS connection for details.
6. Tap OK.
Setting up a VPN connection
To set up a VPN connection:
1. Access Network Settings.
2. Tap Advanced.
3. On the Tasks screen, tap Add a new VPN
server connection in the My Work
Network section.
4. Enter the following information:
•Name: - name for the connection.
•Host name/ IP: - name of the VPN
server.
•VPN type: - select the type of VPN.
5. Tap Next.
6. If you selected IPSec/L2TP in the VPN
type: field, select the type of authentication.
Enter the pre-shared key if required.
Tap Next.
7. Enter the required information. See Setting
up a GPRS connection for details.
8. Tap Finish.
IMPORTANT: Please ensure that you
have set up a GPRS connection before
attempting to set up a VPN connection.
The VPN connection uses the GPRS
connection to connect to a network, such
as a corporate network.
NOTE: Before setting up a VPN
connection, you will need to obtain the
required settings.
n

Annex 5 - Configuring internet settings
158
Annex 5 - Configuring internet settings
Setting up a proxy connection
Depending on your service provider's
configuration, you may need to add a proxy
connection to allow your Toshiba phone to
access the Internet or WAP services.
Your service provider will be able to advise
whether you need to create a proxy connection.
To set up a proxy connection:
1. Access Network Settings.
2. Tap Advanced.
3. On the Tasks screen, tap Set up my proxy
server for the required group.
4. On the Proxy Settings screen, tick the
This network connects to the Internet
and This network uses a proxy server to
connect to the Internet checkboxes.
5. In the Proxy server: field, enter the name of
the proxy server.
6. If you need to specify extra settings, tap the
Advanced... button and edit the settings as
required.
Tap OK when you have finished.
7. Tap OK.
NOTE: Before setting up a proxy
connection, you will need to obtain the
required settings from your service
provider.
n

Annex 5 - Configuring internet settings
159
Annex 5 - Configuring internet settings
Connecting to intranet URLs
Some URLs for corporate intranet pages may
use ‘.’ characters, for example:
intranet.companyname.com. To view these
pages, you need to set up a URL exception.
To set up a URL exception:
1. Access Network Settings.
2. Tap Advanced.
3. Select Advanced on the upper screen
menu.
4. Tap the Exceptions... button.
5. Tap Add new URL....
6. In the Work URL: field, enter the required
URL.
7. Tap OK three times.

Toshiba Corporation
160
Toshiba Corporation
Toshiba Corp oration
End User License Agreement
This End User License Agreement ("EULA") is a legal agreement
between you (as the user) and TOSHIBA CORPORATION
("Toshiba") with regard to the copyrighted software installed in a
Toshiba 3G mobile phone supplied to you (the "Phone").
Use or employment of any software installed in the Phone and related
documentations (the "Software") will constitute your acceptance of
these terms, unless separate terms are provided by the Software
supplier on the Phone, in which case certain additional or different
terms may apply. If you do not agree with the terms of this EULA, do
not use or employ the Software.
1. License Grant. Toshiba grants to you a personal, non-
transferable and non-exclusive right to use the Software as set
out in this EULA. Modifying, adapting, translating, renting,
copying, making available, transferring or assigning all or part of
the Software, or any rights granted hereunder, to any other
persons, and removing any proprietary notices, labels or marks
from the Software is strictly prohibited, except as expressly
permitted in this EULA. Furthermore, you hereby agree not to
create derivative works based on the Software.
2. Copyright. The Software is licensed, not sold. You acknowledge
that no title to the intellectual property in the Software is or will be
transferred to you. You further acknowledge that title and full
ownership rights to the Software will remain the exclusive
property of Toshiba, Toshiba's affiliates, and/or their suppliers,
and you will not acquire any rights to the Software, except as
expressly set out in this EULA. You may keep a backup copy of
the Software only so far as necessary for its lawful use. All copies
of the Software must contain the same proprietary notices as
contained in the Software and are subject to the terms of this
EULA. All rights not expressly granted under this EULA are
reserved to Toshiba, Toshiba's affiliates and/or their suppliers.
3. Reverse Engineering. You agree that you will not attempt, and
if you are a business organisation, you will use your best efforts
to prevent your employees, workers and contractors from
attempting, to reverse engineer, decompile, modify, translate or
disassemble the Software in whole or in part except to the extent
that such actions cannot be excluded by mandatory applicable
law and only if those actions are taken in accordance with such
applicable law. Any failure to comply with the above or any other
terms and conditions contained herein will result in the automatic
termination of this license and the reversion of the rights granted
hereunder to Toshiba.
4. LIMITED WARRANTY. Only during the warranty period for the
Phone, Toshiba, Toshiba's affiliates, its suppliers or its
authorised service company will repair or replace, at Toshiba's
sole discretion, defective Software unless such defect results
from acts or incidences beyond the reasonable control of
Toshiba. EXCEPT AS PROVIDED IN THIS EULA:
(A) TOSHIBA, TOSHIBA'S AFFILIATES, AND THEIR
SUPPLIERS DISCLAIM ALL WARRANTIES, CONDITIONS OR
OTHER TERMS (WHETHER EXPRESS OR IMPLIED),
INCLUDING BUT NOT LIMITED TO WARRANTIES,
CONDITIONS AND TERMS OF SATISFACTORY QUALITY,
MERCHANTABILITY, FITNESS FOR A PARTICULAR
PURPOSE AND NON-INFRINGEMENT OF THIRD-PARTY
RIGHTS; AND (B) THE ENTIRE RISK AS TO THE QUALITY
AND PERFORMANCE OF THE SOFTWARE IS WITH YOU.
YOU ACCEPT THAT THE SOFTWARE MAY NOT MEET YOUR
REQUIREMENTS AND NO WARRANTY CAN BE GIVEN THAT
OPERATION OF THE SOFTWARE WILL BE UNINTERRUPTED
OR ERROR-FREE.
IMPORTANT: PLEASE READ THE FOLLOWING BEFORE
USING YOUR MOBILE PHONE AS ATTEMPTING TO USE
ANY SOFTWARE ON THE SUPPLIED PHONE
CONSTITUTES YOUR ACCEPTANCE OF THESE EULA
TERMS. IF YOU REJECT OR DO NOT AGREE WITH ALL
THE TERMS OF THIS EULA, PLEASE DO NOT ATTEMPT TO
ACCESS OR USE THE SUPPLIED SOFTWARE.

Toshiba Corporation
161
Toshiba Corporation
5. LIMITATION OF LIABILITY. TO THE FULLEST EXTENT
LEGALLY PERMITTED, IN NO EVENT SHALL TOSHIBA,
TOSHIBA'S AFFILIATES OR THEIR SUPPLIERS BE LIABLE TO
YOU FOR ANY DAMAGES FOR (A) LOST BUSINESS OR
REVENUE, BUSINESS INTERRUPTION, LOSS OF BUSINESS
DATA; OR (B) CONSEQUENTIAL, SPECIAL, INCIDENTAL OR
INDIRECT DAMAGES OF ANY KIND (WHETHER UNDER
CONTRACT, TORT OR OTHERWISE) ARISING OUT OF: (I)
THE USE OR INABILITY TO USE THE SOFTWARE, EVEN IF
TOSHIBA, TOSHIBA'S AFFILIATES OR THEIR SUPPLIER HAS
BEEN ADVISED OF THE POSSIBILITY OF SUCH DAMAGES;
OR (II) ANY CLAIM BY A THIRD PARTY.
SAVE AS SET OUT IN THIS SECTION, TOSHIBA'S ENTIRE
LIABILITY UNDER THIS EULA SHALL NOT EXCEED THE
PRICE PAID FOR THE SOFTWARE, IF ANY. THE ABOVE
DISCLAIMER AND LIMITATION DOES NOT EXCLUDE OR
LIMIT (A) LIABILITY FOR DEATH OR PERSONAL INJURY
CAUSED BY NEGLIGENCE; OR (B) ANY MANDATORY LEGAL
RIGHT OR LIABILITY TO THE EXTENT THAT IT CANNOT BE
LAWFULLY EXCLUDED OR LIMITED UNDER APPLICABLE
LAW. P LE ASE MAK E AND RETAIN A C OPY OF A LL DA TA YOU
HAVE INSERTED INTO YOUR PRODUCT, FOR EXAMPLE
NAMES, ADDRESSES, PHONE NUMBERS, PICTURES,
RINGTONES ETC., BEFORE SUBMITTING YOUR PRODUCT
FOR A WARRANTY SERVICE, AS SUCH DATA MAY BE
DELETED OR ERASED AS PART OF THE REPAIR OR
SERVICE PROCESS.
6. Laws. This EULA will be governed by the laws of England and
Wales. All disputes arising out of this EULA shall be subject to the
exclusive jurisdiction of the English Courts.
7. Export Laws. Any use, duplication or employment of the
Software involves products and/or technical data that may be
controlled under the export laws of applicable countries or region,
and may be subject to the approval of the applicable
governmental authorities prior to export. Any export, directly or
indirectly, in contravention of the export laws of applicable
countries or region is prohibited.
8. Third Party Beneficiary. You agree that certain suppliers of the
Software to Toshiba have a right as a third party beneficiary to
enforce the terms of this EULA against you as a user.
9. Transfers. The Software may be transferred only as installed on
the Phone to a lawful third party user, where that party accepts
the terms of this EULA, which will continue to apply.
10. IF YOU ARE DEALING AS A CONSUMER IN THE UK AND THE
SOFTWARE QUALIFIES AS 'GOODS', YOUR STATUTORY
RIGHTS UNDER APPLICABLE LAW ARE NOT AFFECTED.
11. The Software is subject to change for upgrading purposes
without prior notice.
EU Warranty
Your Toshiba phone, battery and AC charger contain no user
serviceable parts. For further information on service, please contact
your retailer or service provider.

End User License Agreements (EULAs)
162
End User License Agreements (EULAs)
End User Lic ense Agreements (EU LAs)
MICROSOFT SOFTWARE LICENSE
TERMS FOR WINDOWS MOBILE 6.5
SOFTWARE
These license terms are an agreement between you and TOSHIBA.
Please read them. They apply to the software included on this device.
The software also includes any separate media on which you received
the software.
The software on this device includes software licensed by TOSHIBA
from Microsoft Corporation or its affiliate.
The terms also apply to any
•updates,
• supplements,
• Internet-based services, and
• support services
for this software, unless other terms accompany those items. If so,
those terms apply.
As described below, using some features also operates as your
consent to the transmission of certain standard computer
information for Internet-based services.
By using the software, including use on this device, you accept
these terms. If you do not accept them, do not use the device or
software. Instead, contact TOSHIBA to determine its return
policy for a refund or credit.
WARNING: If the software contains voice operated technologies, then
operating this software requires user attention. Diverting attention
away from the road while driving can possibly cause an accident or
other serious consequence. Even occasional, short diversions of
attention can be dangerous if your attention is diverted away from your
driving task at a critical time. TOSHIBA and Microsoft make no
representations, warranties or other determinations that ANY use of
this software is legal, safe, or in any manner recommended or
intended while driving or otherwise operating a motor vehicle.
If you comply with these license terms, you have the rights
below.
1. USE RIGHTS. You may use the software on the device with
which you acquired the software.
2. ADDITIONAL LICENSING REQUIREMENTS AND/OR USE
RIGHTS.
a. Specific Use. TOSHIBA designed this device for a specific
use. You may only use the software for that use.
b. Included Microsoft Programs and Additional Required
Licenses. Except as provided below, these license terms
apply to all Microsoft programs included with the software. If
the license terms with any of those programs give you other
rights that do not expressly conflict with these license terms,
you also have those rights.
i. This agreement does not grant you any rights with respect
to the Windows Mobile Device Center, Microsoft
ActiveSync or Microsoft Outlook 2007 Trial which are
subject to the licenses accompanying those items.
c. Speech Recognition. If the software includes speech
recognition component(s), you understand that speech
recognition is an inherently statistical process and that
recognition errors are inherent in the process. Neither
TOSHIBA nor Microsoft or their suppliers shall be liable for
any damages arising out of errors in the speech recognition
process.
d. Phone Functionality. If the device software includes phone
functionality, all or certain portions of the device software may
be inoperable if you do not have and maintain a service
account with a wireless telecommunication carrier ("Mobile
Operator"), or if the Mobile Operator's network is not
operating or configured to operate with the device.
3. SCOPE OF LICENSE. The software is licensed, not sold. This
agreement only gives you some rights to use the software.
TOSHIBA and Microsoft reserve all other rights. Unless
applicable law gives you more rights despite this limitation, you

End User License Agreements (EULAs)
163
End User License Agreements (EULAs)
may use the software only as expressly permitted in this
agreement. In doing so, you must comply with any technical
limitations in the software that allow you to use it only in certain
ways. You shall not:
• work around any technical limitations in the software;
• reverse engineer, decompile or disassemble the software;
• make more copies of the software than specified in this
agreement;
• publish the software for others to copy;
• rent, lease or lend the software; or
• use the software for commercial software hosting services.
Except as expressly provided in this agreement, rights to access the
software on this device do not give you any right to implement
Microsoft patents or other Microsoft intellectual property in software or
devices that access this device.
You may use remote access technologies in the software such as
Remote Desktop Mobile to access the software remotely from a
computer or server. You are responsible for obtaining any licenses
required for use of the protocols to access other software.
4. INTERNET-BASED SERVICES. Microsoft provides Internet-
based services with the software. Microsoft may change or
cancel them at any time.
a. Consent for Internet-based Services. The software
features described below connect to Microsoft or service
provider computer systems over the Internet. In some cases,
you will not receive a separate notice when they connect. You
may switch off some of these features or not use them. For
more information about these features, visit
http://go.microsoft.com/fwlink/?LinkId=81931.
By using these features, you consent to the
transmission of this information. Microsoft does not use
the information to identify or contact you.
Device Information. The following features use Internet
protocols, which send to the appropriate systems device
information, such as your Internet protocol address, the type
of operating system, browser and name and version of the
software you are using, and the language code of the device
where you installed the software. Microsoft uses this
information to make the Internet-based services available to
you.
•Windows Mobile Update Feature. The Windows Mobile
Update feature provides you the ability to obtain and install
software updates on your device if updates are available. You
may choose not to use this feature. TOSHIBA and/or your
Mobile Operator may not support this feature or an update for
your device.
•Windows Media Digital Rights Management. Content
owners use Windows Media digital rights management
technology (WMDRM) to protect their intellectual property,
including copyrights. This software and third party software
use WMDRM to play and copy WMDRM-protected content. If
the software fails to protect the content, content owners may
ask Microsoft to revoke the software's ability to use WMDRM
to play or copy protected content. Revocation does not affect
other content. When you download licenses for protected
content, you agree that Microsoft may include a revocation list
with the licenses. Content owners may require you to upgrade
WMDRM to access their content. Microsoft software that
includes WMDRM will ask for your consent prior to the
upgrade. If you decline an upgrade, you will not be able to
access content that requires the upgrade.
b. Misuse of Internet-based Services. You shall not use these
services in any way that could harm them or impair anyone
else's use of them. You shall not use the services to try to gain
unauthorized access to any service, data, account or network
by any means.
5. NOTICES ABOUT THE MPEG-4 VISUAL STANDARD. The
software may include MPEG-4 visual decoding technology. This
technology is a format for data compression of video information.
MPEG LA, L.L.C. requires this notice:
USE OF THIS PRODUCT IN ANY MANNER THAT COMPLIES

End User License Agreements (EULAs)
164
End User License Agreements (EULAs)
WITH THE MPEG 4 VISUAL STANDARD IS PROHIBITED,
EXCEPT FOR USE DIRECTLY RELATED TO (A) DATA OR
INFORMATION (i) GENERATED BY AND OBTAINED
WITHOUT CHARGE FROM A CONSUMER NOT THEREBY
ENGAGED IN A BUSINESS ENTERPRISE, AND (ii) FOR
PERSONAL USE ONLY; AND (B) OTHER USES
SPECIFICALLY AND SEPARATELY LICENSED BY MPEG LA,
L.L.C.
If you have questions about the MPEG-4 visual standard, please
contact MPEG LA, L.L.C., 250 Steele Street, Suite 300, Denver,
CO 80206; www.mpegla.com.
6. DIGITAL CERTIFICATES. The software uses digital certificates
in X.509 format. These digital certificates are used for
authentication.
7. CONNECTIVITY SOFTWARE. Your device package may
include Windows Mobile Device Center or Microsoft ActiveSync
software. If it is included, then you may install and use it in
accordance with the license terms that are provided with it. If no
license terms are provided, then you may install and use only one
(1) copy of the software on a single computer.
8. NETWORK ACCESS. If you are using a network, such as an
employer network, the network administrator may limit features or
functionality on your device.
9. PRODUCT SUPPORT. Contact TOSHIBA for support options.
Refer to the support information provided with the device.
10. LINKS TO THIRD PARTY WEBSITES. If the software provides
links to third party websites, those links are provided to you only
as a convenience, and the inclusion of any link does not imply an
endorsement of the third party website by Microsoft.
11. BACKUP COPY. You may make one backup copy of the
software. You may use it only to reinstall the software on the
device.
12. PROOF OF LICENSE. If you acquired the software on the
device, or on a disc or other media, a genuine Certificate of
Authenticity label with a genuine copy of the software identifies
licensed software. To be valid, this label must be affixed to the
device, or included on or in TOSHIBA's software packaging. If
you receive the label separately, it is not valid. You should keep
the label on the device or packaging to prove that you are
licensed to use the software. To identify genuine Microsoft
software, see http://www.howtotell.com.
13. TRANSFER TO A THIRD PARTY. You may transfer the software
only with the device, the Certificate of Authenticity label, and
these license terms directly to a third party. Before the transfer,
that party must agree that these license terms apply to the
transfer and use of the software. You may not retain any copies
of the software including the backup copy.
14. NOT FAULT TOLERANT. The software is not fault tolerant.
TOSHIBA installed the software on the device and is
responsible for how it operates on the device.
15. RESTRICTED USE. The Microsoft software was designed for
systems that do not require fail-safe performance. You may not
use the Microsoft software in any device or system in which a
malfunction of the software would result in foreseeable risk of
injury or death to any person. This includes operation of nuclear
facilities, aircraft navigation or communication systems and air
traffic control.
16. NO WARRANTIES FOR THE SOFTWARE. The software is
provided "as is". You bear all risks of using it. Microsoft
gives no express warranties, guarantees or conditions. Any
warranties you receive regarding the device or the software
do not originate from, and are not binding on, Microsoft or
its affiliates. When allowed by your local laws, TOSHIBA
and Microsoft exclude implied warranties of
merchantability, fitness for a particular purpose and non-
infringement.
17. LIABILITY LIMITATIONS. You can recover from Microsoft
and its affiliates only direct damages up to fifty U.S. Dollars
(U.S. $50.00), or equivalent in local currency. You cannot
recover any other damages, including consequential, lost
profits, special, indirect or incidental damages.

End User License Agreements (EULAs)
165
End User License Agreements (EULAs)
This limitation applies to:
• anything related to the software, services, content
(including code) on third party internet sites, or third
party programs, and
• claims for breach of contract, breach of warranty,
guarantee or condition, strict liability, negligence, or
other tort to the extent permitted by applicable law.
It also applies even if Microsoft should have been aware of
the possibility of the damages. The above limitation may
not apply to you because your country may not allow the
exclusion or limitation of incidental, consequential or other
damages.
18. EXPORT RESTRICTIONS. The software is subject to United
States export laws and regulations. You must comply with all
domestic and international export laws and regulations that apply
to the software. These laws include restrictions on destinations,
end users and end use. For additional information, see
www.microsoft.com/exporting.
End User License Agreement for
ArcSoft Software
The following is a legal software license agreement between you, the
software end user, and ArcSoft, Inc. Carefully read this license
agreement before using the relevant ArcSoft software ("Software").
Installing the Software on a computer or other hardware device
indicates that you have read this license agreement and agree to its
terms.
1. Grant of License. This license permits you to use one copy of
the Software included in this package or product on any single
computer. For each software licensee, the program can be "in
use" on only one computer or hardware device at any given time.
The Software is "in use" when it is either loaded into RAM or
installed into the hard disk or other permanent memory of a
computer or other hardware device. A special license permit from
ArcSoft is required if the program is going to be installed on a
network server for the sole purpose of distribution to other
computers. You may not modify, translate, reverse assemble,
decompile, disassemble or otherwise attempt (i) to defeat, avoid,
bypass, remove, deactivate or otherwise circumvent any
software protection mechanisms in the Software, including
without limitation any such mechanism used to restrict or control
the functionality of the Software, or (ii) to derive the source code
or the underlying ideas, algorithms, structure or organization from
the Software (except to the extent that such activities may not be
prohibited under applicable law).
2. Copyright. The Software contained in this package or device is
protected by United States copyright laws, international treaty
provisions, and all other applicable national laws. The Software
must be treated like all other copyrighted materials (e.g. books
and musical recordings). This license does not allow the
Software to be rented or leased, and the written materials
accompanying the Software (if any) may not be copied.

End User License Agreements (EULAs)
166
End User License Agreements (EULAs)
3. Ownership. Title, ownership rights, and all intellectual property
rights in and to the Software and any accompanying
documentation, and any copy of the foregoing, shall remain the
sole and exclusive property of ArcSoft and/or its third party
licensors. You agree to abide by the copyright law and all other
applicable laws. You acknowledge that the Software contains
valuable confidential information and trade secrets of ArcSoft
and/or its third party licensors.
4. Warranty Disclaimer. NO WARRANTIES, EITHER EXPRESS
OR IMPLIED, ARE MADE WITH RESPECT TO THIS
SOFTWARE, INCLUDING BUT NOT LIMITED TO THE IMPLIED
WARRANTIES OF MERCHANTABILITY AND FITNESS FOR A
PARTICULAR PURPOSE AND WARRANTIES FOR NON-
INFRINGEMENT OF INTELLECTUAL PROPERTY, AND
ARCSOFT EXPRESSLY DISCLAIMS ALL WARRANTIES NOT
STATED HEREIN. YOU ASSUME THE ENTIRE RISK AS TO
THE QUALITY AND PERFORMANCE OF THE SOFTWARE.
SHOULD THE SOFTWARE PROVE DEFECTIVE, YOU, AND
NOT ARCSOFT OR AN AUTHORIZED RESELLER, ASSUME
THE ENTIRE COST OF NECESSARY SERVICING, REPAIR,
OR CORRECTION. SOME STATES DO NOT ALLOW THE
EXCLUSION OF IMPLIED WARRANTIES, SO THE ABOVE
EXCLUSION MAY NOT APPLY TO YOU. THIS WARRANTY
GIVES YOU SPECIFIC LEGAL RIGHTS, AND YOU MAY ALSO
HAVE OTHER RIGHTS THAT VARY FROM STATE TO STATE.
YOUR SOLE REMEDY AND THE ENTIRE LIABILITY OF
ARCSOFT ARE SET FORTH ABOVE. IN NO EVENT WILL
ARCSOFT BE LIABLE TO YOU OR ANY OTHER PERSON FOR
ANY DAMAGES, INCLUDING ANY INCIDENTAL OR
CONSEQUENTIAL DAMAGES, EXPENSES, LOST PROFITS,
LOST SAVINGS, OR OTHER DAMAGES ARISING OUT OF
USE OF OR INABILITY TO USE SUCH SOFTWARE.
5. No Liability for Consequential Damages. In no event shall
ArcSoft be liable for any damages whatsoever (including but not
limited to damages for loss of business profits, business
interruption, loss of business information, or any other pecuniary
loss) which results from an inability to use this Software, even if
ArcSoft, Inc. has been advised of the possibility of such
damages. Because some states/jurisdictions do not allow the
exclusion or limitation of consequential or incidental damages,
the above limitations may not apply to you.
6. Export. Subject to permission of the appropriate United States or
foreign licenses, export or re-export the product incorporating the
Software is able to be made.
7. U.S. Government Restricted Rights. If you are a unit or agency
of the United States government, the Software and related
documentation are deemed to be "commercial computer
software" and "commercial computer software documentation,"
respectively, pursuant to DFAR Section 227.7202 and FAR
Section 12.212(b), as applicable. Any use, modification,
reproduction, release, performing, displaying or disclosing of the
Software and/or the related documentation by the United States
government shall be governed solely by the terms of this
Agreement and shall be prohibited except to the extent expressly
permitted by the terms of this Agreement. Any technical data
provided that is not covered by the above provisions is deemed
to be "technical data commercial items" pursuant to DFAR
Section 227.7015(a). Any use, modification, reproduction,
release, performing, displaying or disclosing of such technical
data shall be governed by the terms of DFAR Section
227.7015(b).
8. High Risk Activities. The Software is not fault-tolerant and is not
designed or intended for use in hazardous environments
requiring fail-safe performance, or any other application in which
the failure of the Software could lead directly to death, personal
injury, or severe physical or property damage (collectively, "High
Risk Activities"). ARCSOFT EXPRESSLY DISCLAIMS ANY
EXPRESS OR IMPLIED WARRANTY OF FITNESS FOR HIGH
RISK ACTIVITIES.

End User License Agreements (EULAs)
167
End User License Agreements (EULAs)
9. Termination. Your rights with respect to the Software may be
terminated, either immediately or after a notice period not
exceeding thirty (30) days, upon unauthorized copying of the
Software or failure to comply with the restrictions contained in this
license agreement. Upon termination of the license, you shall
cease to use thereof.
10. Governing Law. If this product was purchased in the United
States, this Agreement is governed by the laws of the state of
California; otherwise, local laws may apply.

Licenses
168
Licenses
Licenses
Snapdragon™ is a trademark of Qualcomm
Incorporated.
Microsoft, Windows, Windows Mobile,
Windows Live, Hotmail, Windows Media,
ActiveSync, Internet Explorer, Outlook, Excel,
PowerPoint and Word are either registered
trademarks or trademarks of Microsoft
Corporation in the United States and/or other
countries.
ArcSoft and the ArcSoft logo are registered
trademarks of ArcSoft, Inc.
The Bluetooth™ word mark and logos are
trademarks owned by Bluetooth SIG, Inc.
CorePlayer® is a registered trademark of
CoreCodec, Inc.
Java™ and all Java-based marks are
trademarks or registered trademarks of Sun
Microsystems, Inc.

Licenses
169
Licenses
microSD™ and the microSD™ logo are
trademarks.
Nimbuzz and the Nimbuzz logo trademarks of
Nimbuzz.
The Wi-Fi CERTIFIED Logo is a certification
mark of the Wi-Fi Alliance.

Index
170
Index
IndexA
About 106
AC charger 131
Adjust Geomagnetic Sensor 106
Alarm 109
Attachments 75, 76
Authentication 156
B
Backlight 107, 131
Battery 45, 46, 107, 119, 131
Beam 98
Bluetooth 99
Bluetooth headset 101
Bluetooth mode 99
Browser Settings 108
C
Calendar 78
Call Barring 114, 132
Call barring password 114
Call Forwarding 115, 132
Call History 67
Call Timers 67
Call Waiting 116
Caller ID 115
Camera 79
Certificates 108
Clock 108
Conference calls 66
Contacts 61, 82
Cookies 87
CorePlayer 85
Creating a contact 82
Creating an e-mail 74

Index
171
Index
Creating an MMS message 71
Custom domain e-mail 148
Customer Feedback 109
D
Date 108
Device lock 122
Device name 106
Dial-up connection 156
Disposal 28
Domain Enroll 101
Drafts 70, 75
Drawing 136
E
E-mail 74
Emergency Calls 23
Encryption 109
Ending a call 60
Ending applications 126
Error Reporting 110
Excel Mobile 91
Exchange server 74, 151
External GPS 110
F
FCC Notice 30
File Explorer 85
Fixed Dialing 116
Flight Mode 105
Forwarding a message 69
G
Games 85
Getting Started 85
GPRS connection 155
GSM 118

Index
172
Index
H
Hands-free 64
Holding a call 64
HSDPA 118
I
Input Panel 135
Internal GPS 111
International calls 62
Internet 133
Internet connections 102
Internet e-mail 74, 148
Internet Explorer 86
Internet Favorites 86
Internet History 87
Internet Sharing 102
Internet Zoom 86
J
Java 88
K
Keyboard 135
Keypad tones 114
L
Location Request 106
M
Magnifying Glass 52
Making a call 61
Managed Programs 111
Marketplace 89
Master Clear 111
Memory 112
microSD card 43
Microsoft My Phone 90
MMS messages 71, 133
MMS settings 145
Motion Sensor 54, 107, 113
Muting a call 64

Index
173
Index
N
Network mode 118
Nimbuzz 77
Notes 90
O
Office Mobile 91
OneNote Mobile 91
Operator Settings 57
Outlook e-mail 151
Owner Information 113
P
Pairing 100
Phone layout 39
Phone lock 123
Phone screen 138
PhotoBase 92
Photos 80
Pictures 92
Pictures & Videos 92
Power 119, 131
PowerPoint Mobile 92
Preferred networks 118
Proxy connection 158
R
Receiving a call 60
Receiving MMS messages 71
Regional Settings 120
Reinitialising 37
Reminders 79
Removing Programs 120
Replying to a message 69
Resetting 37
Restarting 36
Ring tones 113

Index
174
Index
S
Screen 121
Search Phone 93
Security 121
Sending a text message 69
Sending and receiving e-mail 75
Sending contacts 84
Setting up e-mail 146
Signatures 153
SIM card 42, 43, 132
SIM Lock 124
SIM Toolkit 93
Sleep Mode Indicator 125
Speakerphone 64
Speed Dial 62
Starting and stopping
synchronisation 58
Status icons 142
Storage card 81
Streaming Player 94
T
Task Manager 126
Task Switcher 56
Tasks 94
Temporary internet files 87
Text messages 68, 133
Text messages service centre 145
Time 108
Toolbox 54, 126
Toshiba Free Pad 55
Toshiba Keyboard 136
Touch user interface 48
U
USB Mode 103
V
Video Editor 95
Video Quality 127
Videos 81, 92

Index
175
Index
Voice mail 116
Volume 64
Volume control 127
VPN connection 157
W
Wi-Fi 103
Wi-Fi security 104
Windows Live 95
Windows Live Messenger 76
Windows Media Player 96
Wireless Manager 104
Word Mobile 92
TG02-EN-V1.0