Toshiba TEC OH0001 Bluetooth modular transceiver User Manual
Toshiba TEC Corporation Bluetooth modular transceiver Users Manual
Contents
- 1. Users Manual
- 2. users manual
Users Manual
Regulatory statement:
This device complies with Part 15 of the FCC Rules as well as Industry Canada
requirements. Operation is subject to the following two conditions: (1) this device may
not cause harmful interference, and (2) this device must accept any interference
received, including interference that may cause undesired operation.Operation is
subject to the following two conditions: (1) this device may not cause interference, and
(2) this device must accept any interference, including interference that may cause
undesired operation of the device. To prevent radio interference to the licensed service,
this device is intended to be operated indoors and away from windows to provide
maximum shielding. Equipment that is installed outdoors is subject to licensing.

7.
LOADING THE LABEL
ENGLISH VERSION E01-33014
7.1 How to load the liner backed label roll
8.
Push down the media cover until the two cover release catches click and they are put in the lock
position.
NOTE:
If
the
media
performed. cover is open and unlocked, an error will result and the printing will not be
Fig. 7-6
9.
In case of the strip
issue,
pull out the top of the liner of the label roll
to
eliminate the slack from the
label roll.
[How to remove
the liner backed label roll]
1.
Open the media cover.
2.
Fully raise up the release lever, slide the paper guide (R) to the right, and then remove the liner
backed label roll.
E7-3

7. LOADING THE LABEL
ENGLISH VERSION EOl-33014
;‘.I
How lo load the
lmer
backed label
rot1
‘*
.-,,,
5.
Load the liner backed label roll
WM.
6.
Slide the paper guide (R) to accommodate the label roll width, and then push the release lever
downward to fix the paper guide (R).
NOTE: Before fixing the paper guide
(I?),
make
sure
that the label roll rotates smoothly without
wobble.
Label Roll
-
fielease
Lever
--‘-
Paper Guide
(R)
Fig. 7-3
7.
In case of the strip issue, draw out the top of the label roll onto the platen. In case of the
continuous issue, insert the top of the label roll into the outlet of the rnedia cover.
Strip Issue Batch Issue
Fig. 7-4 Fig. 7-5
E7-2

7. LOADING THE LABEL
ENGLISH VERSION EOl-33014
7.1
HOW
KI
load
the
lmer
backed label
roll
7. LOADING THE LABEL
7.1
How to load the liner backed label roll
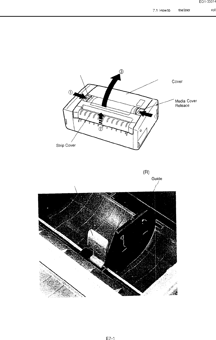
1.
Place the printer on the level surface as shown below.
2.
To
unlock the media cover, press the two cover release catches in the directions of the arrows.
3.
Open the media cover by pushing up the strip cover.
Media Cover Release catch
0
Media Cover
Media
Cover
Releace catch
Fig. 7-l
4.
Fully
raise up the release lever, and then slide the paper guide
(R)
to the right.
Paper Gu;de
(R)
Release Lever
Fig. 7-2
E7-1

