Uniden America UT417 CB TRANSCEIVER User Manual CMX760
Uniden America Corporation CB TRANSCEIVER CMX760
Contents
- 1. User Manual FCC Part 95
- 2. User Manual CMX660
- 3. User Manual CMX760
User Manual CMX760

© 2017 Uniden America Corporation U01UT417ZZZ(0)
Irving, Texas Printed in Vietnam
CMX760
PROFESSIONAL MOBILE CB RADIO
Owner’s Manual

CONTENTS
DESCRIPTION ...................................................... 5
WHAT’S IN THE BOX ........................................................... 7
CONTROLS AND CONNECTORS ......................................... 8
Radio (Front and Back) .....................................................8
Remote LCD Speaker MIC ................................................9
INSTALLATION .................................................. 10
CONNECT POWER ............................................................ 11
Ground Information ......................................................11
Connect Power................................................................12
MARINE INSTALLATION .................................................. 12
CONNECT ANTENNA ......................................................... 12
Safety Notice ................................................................... 13
INSTALL MICROPHONE HANGER/CONNECT
MICROPHONE .................................................................... 14
Install Microphone Hanger ............................................ 14
Connect Microphone ...................................................... 14
Disconnect the Microphone ..........................................15
INSTALL RADIO BRACKET/INSTALL RADIO ................... 15
Attach Side Rails ............................................................15
Attach Bracket/Install Radio .........................................16
EMERGENCY OPERATION ................................ 17
USING YOUR CMX760 ....................................... 17
SPEAKER/MICROPHONE LCD DISPLAY .......................... 17
BASIC OPERATIONS .......................................................... 21
Turn On/O .....................................................................21
Transmit/Receive ............................................................ 22
Adjust Volume ................................................................22
Select Channel before Transmit/Receive .....................22
Adjust Squelch ................................................................ 22
Set Monitor Mode ........................................................... 23
Automatic Noise Limiter (ANL/HI CUT) .......................... 23
Adjust Radio Sensitivity (LO/DX) ..................................24
Set Key Lock ....................................................................24
CHANNEL SCAN................................................................. 25
WEATHER MODE WX MODE .......................................... 25
Set Weather Scan ............................................................ 26
Set Weather Alert Mode ................................................. 26
MENU OPERATION ............................................................ 27
Select Backlight Color ....................................................27
Set Dimmer .....................................................................27
Set Contrast ....................................................................28
Set Key Beep ...................................................................28
Set Roger Beep ...............................................................29
Set Battery Check ...........................................................29
PREVENTIVE MAINTENANCE .......................... 30
MAINTENANCE ................................................. 30
TROUBLESHOOTING ........................................ 31
SERVICING YOUR RADIO ................................. 32
SPECIFICATIONS ............................................... 32
FCC PART 15 & IC COMPLIANCE ...................... 35
FCC PART 15 COMPLIANCE .............................................. 35
IC COMPLIANCE ................................................................ 36
ONEYEAR LIMITED WARRANTY .................... 37
RADIO CODE DEFINITIONS ............................. 40

5
DESCRIPTION
Your Uniden CMX760 represents the highest
quality communications device designed for use
in the Citizens Band Radio Service. It will operate
on any of the 40 AM frequencies authorized by the
Federal Communications Commission (FCC).
The CMX760 is designed to provide years of
trouble-free service. Its slim profile can fit easily
under the seat to free up space in the vehicle’s
cabin. Its rugged components and materials are
capable of withstanding harsh environments.
Please read this Owner’s Manual carefully to
ensure you gain the optimum performance of the
unit.
The Citizens Band Radio Service is under the
jurisdiction of the Federal Communications
Commission (FCC). Any adjustments
or alterations which would alter the
performance of the radio’s original FCC
type acceptance, or which would change the
frequency determining method, are strictly
prohibited.

6
Replacement or substitution of crystal,
transistors, ICs, regulator diodes, or any
other part of a unique nature, with parts
other than those recommend by Uniden,
may cause violations of the technical
regulations in Part 95 of the FCC Rules or in
violation of type acceptance requirements in
Part 2 of the rules.
This is an FCC rule and applies to all CB radio
operators.
FEATURES
• 40 AM Channels • 7 Weather Channels
• Channel Monitor • Weather Channel
Scan
• Emergency Channel 9/19 • Weather Alert
• Channel Scan • Volume Control
• Squelch Control • Key Lock
• Automatic Noise Limiter • High Cut
• Key Beep • Roger Beep
• Backlight Color • Backlight Dim
• Contrast Control • Battery Check
• S/RF Meter • Frequency Indicator

7
WHAT’S IN THE BOX
CMX760 Radio Remote LCD
Speaker
Microphone
Microphone
Hanger with
Hardware
CMX760
Extension
Cable
CMX760 Slide
Mount Bracket
with Hardware
CMX760 DC
Power Cord with
Fuse
Not Shown:
Printed Materials

8
CONTROLS AND CONNECTORS
Radio (Front and Back)
1
4
3
FRONT
BACK
2
NUMBER NAME
1 MIC Jack
2 Antenna Connection
3 Power Input Connection (13.8VDC)
4 EXT SP - Exterior Speaker Jack

9
Remote LCD Speaker MIC
8
1
23 4
5
6
7
10
13
15
9
11
12
14
NO. NAME
1 Microphone Hanger
2 PTT - Push to Talk Button
3 Power Button
4 ANL / HI CUT Button
5 LCD Screen
6 SCAN Button
7 SQ/MON Button

10
8▲ ▼ - Move up or down one channel or
menu selection.
9 Microphone
10 LO / DX Button
11 Speaker
12 CH9/19 Button
13 + / - Volume Up/Down Button
14 MENU/LOCK Button
15 WX/ALERT Button
INSTALLATION
You can install the CMX760 either on top/
underneath a flat surface like a dashboard or
under the driver’s seat in a vehicle. Select a location
that is convenient for operating the radio but does not
interfere with the driver or passenger.
Plan the location of the radio and microphone
brackets before beginning installation.
The basic steps to install this unit are:
• Connect Power
• Connect Antenna
• Install Microphone Hanger/Connect
Microphone
• Install Radio Bracket/Install Radio

11
CONNECT POWER
Uniden recommends connecting the power lead
to the Ignition Switch Accessory Terminal. This
way, the radio is automatically turned off when the
ignition switch is turned off.
As an alternative, the power cord may be
connected to an available terminal on the fuse
block or to a point in the wiring harness. However,
caution must be taken to prevent a short circuit.
If in doubt, contact your vehicle dealer for
information.
The CMX760 can operate on 12VDC power supply.
Ground Information
This radio may be installed and used in any 12-
volt DC negative ground system vehicle.
With a negative ground system, the negative (-)
battery terminal is usually connected to the vehicle
motor block.
Connect the red DC power cord from the radio to
the positive (+) battery terminal or other convenient
point. Then connect the black power cord to the
vehicle chassis or negative (-) battery terminal.
12
Connect Power
1. Connect the power cord to the power
connector from the radio.
2. Connect the red DC power cord to the
Ignition Switch Accessory Terminal or the
positive (+) battery terminal.
3. Next, connect the black power cord to the
Ignition Switch Accessory Terminal, the
vehicle chassis, or negative (-) battery
terminal.
4. Start the vehicle. The unit should turn on.
Turn the vehicle off. The unit should turn off.
MARINE INSTALLATION
Consult your dealer for information regarding
marine installation. It is important to adequately
ground the system and to prevent electrolysis
between the fittings in the hull and the water.
CONNECT ANTENNA
Because the maximum power output of the
transmitter is limited by the FCC, the quality of
your antenna is very important. To achieve the
maximum transmission distance, Uniden strongly
recommends that you install only a high quality
antenna. You have just purchased a superior radio;
don’t diminish its performance by installing an
inferior antenna.
13
Only a properly matched antenna system will
allow maximum power transfer from the 50-ohm
transmission line to the radiating element. Your
Uniden dealer is qualified to help you select the
proper antenna for your requirements. A whip style
antenna may be used for automobile installation.
CAUTION: Never operate your radio with no
antenna or with a damaged antenna cable.
This can damage the radio.
A short “loaded” whip antenna is easier to install
on an automobile, but its efficiency is less than
that of a full quarter-wave whip antenna.
Once your antenna is installed, tune it using a
Standing-Wave Ratio (SWR) meter (not included):
set it to channel 20 and adjust the antenna until
the SWR is as close as 1:1 as possible.
CAUTION: Make sure the SWR is less than 2:1
before using the radio. An SWR higher than
2:1 can damage the radio.
Safety Notice
The antenna used for this radio must be properly
installed and maintained and must provide a
separation distance of at least 24 inches (61 cm)
from all persons and must not be collocated or
operated in conjunction with any other antenna or
transmitter. Never transmit if any person is closer
than the specified distance to the antenna.

14
Note that Uniden does not specify or supply any
antenna with this radio. While a 0 dBi gain antenna
is normal for a typical installation, the above limit
applies to any antenna with up to 3 dBi gain.
INSTALL MICROPHONE HANGER/CONNECT MI
CROPHONE
Install Microphone Hanger
1. Find a location to install the microphone
hanger. Install it, using the same precautions
as installing the radio. Adjust wiring if
necessary.
2. Hang the speaker/microphone onto the
hanger.
Connect Microphone
Mic Jack for Remote LCD
Speaker Mic
1. Pull back the MIC jack rubber cover and
slide it back along the cord.
15
2. Insert the MIC jack into the radio’s MIC
socket until it clicks into place.
3. Gently tug on the cable to be sure the
connection is locked.
4. Slide the rubber cover down the cable and
cover the MIC jack to seal it from dust.
If you want to use the extension cable, connect
the cable to the radio and the MIC to the
other end of the extension cable.
Disconnect the Microphone
1. Pull back the MIC jack rubber cover and
slide it back along the cord.
2. Push down the MIC jack’s lock tab; tug
gently on the MIC cord until it disconnects.
If you are using the extension cable,
disconnect the cable from the radio and
the MIC from the other end of the extension
cable.
INSTALL RADIO BRACKET/INSTALL RADIO
The CMX760 uses a slide mount assembly to
mount the unit onto a surface. It can be mounted
either below or on top of a surface.
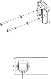
Attach Side Rails
1. Align the guide rails along the sides of
the radio and insert L-tabs into the L-tab

16
slots. Be sure the slide mount latches face
outward.
L-Tab
(2 on each rail)
L-Tab Slot
(2 on each side)
Slide Mount Latch
(1 on each rail)
2. Use the screws provided to fasten the guide
rails into position on the radio.
Attach Bracket/Install Radio
1. Using the screws provided, screw the
bracket into a stable, level surface. If
mounting the radio in a vehicle, for example,
screw the bracket onto the top of the
dashboard or underneath the dashboard.
Be sure the words “FRONT-SLIDE IN” are
visible from the front of the bracket.
Be sure you do not mount the bracket where
the screws can damage any wiring or
hardware. Move the wiring/hardware out of
the way or relocate the radio bracket.
2. Slide the back of the radio into the bracket
until the slide mounts latch and click into
place.

17
EMERGENCY OPERATION
1. Press CH9/19 or use ▲ or ▼to select
Channel 9.
2. Press PTT and speak clearly.
3. If there is no response, select an active
channel and ask that party to relay your
emergency broadcast on Channel 9.
All channels except Channel 9 may be used for
normal communication. The FCC reserves
Channel 9 for emergencies involving
the immediate safety of individuals or
protection of property. Use Channel 9 to
render assistance to a motorist.
This is an FCC rule and applies to all CB radio
operators.
USING YOUR CMX760
SPEAKER/MICROPHONE LCD DISPLAY
SCAN
BUSY
S/RF
ALERT
MHz
27.185
19
TX
MON
BP
HICUT
ANL
This LCD layout is for reference only. Different
icons display depending on scanner status.
Dimensions and layout may vary slightly.
LOCAL1
wx

18
ITEM OFF ON BLINKING
TX * Receiving Transmitting Transmit
error
Busy • No signal/
signal
too weak
to open
Squelch
• Receiving
signal is
strong
enough
to open
Squelch
• Monitor
function is
active
NA
MON Monitor
function is
inactive.
NA Monitor
function is
active.
BP
(Beep)
• Beep
output is
inactive
Beep is on.
BP
displays.
In Menu
mode,
set Beep
volume
level or off.
Roger
Beep
• Menu
mode
active;
Roger
Beep off
Roger Beep
is on; Roger
Beep icon
displays.
In Menu
mode,
set Roger
Beep on or
off.
SCAN Not SCAN
mode
Channel
Scan mode
NA

19
ITEM OFF ON BLINKING
ANL /
HICUT
• ANL /
HICUT
functions
are
inactive.
Press once -
ANL
displays
(active).
Press once
again -
ANL
goes away
(inactive).
Press and
hold -
HICUT
displays
(active)
Press and
hold again
-
HICUT
goes away
(inactive).
NA
Local 1
Local 2
Local
setting is
off.
Local setting
is active.
LOCAL 1
or
LOCAL 2
displays.
NA
Key Lock Key lock
function is
off.
Key lock
function is
on.
NA

20
ITEM OFF ON BLINKING
Channel
Indicator
Backlight
color
setting
in Menu
mode.
Channel
number
displays.
In Menu
mode, menu
selection
displays.
TX error
Menu
mode
Frequency
Indicator
(EX:
27.185)
WX mode. In Menu
mode, Menu
displays.
In CB mode,
Frequency
displays.
Volume
setting
mode
Squelch
setting
mode
MHz Frequency
is not
displayed
in
Frequency
indicator.
Frequency is
displayed in
Frequency
indicator.
NA

21
ITEM OFF ON BLINKING
S/RF icon
(Signal
Strength/
RF Power)
and Meter
S/RF
(S/RF icon
always on
except in
WX mode)
Meter off
- No signal
received or
transmitted
(S/RF icon
always on
except in WX
mode)
Meter on -
Transmitting,
Received
RF signal
strength.
NA
* Items with an asterisk ( * ) indicate that they are not
displayed on the LCD screen graphic on page 17.
BASIC OPERATIONS
Turn On/O
The CMX760 remembers its power condition when
it is turned off or powered down. For example: if
the CMX760 is on when you disconnect power to
the unit, when you reconnect power it remembers
that it was on and returns to the ON state. You do
not have to press POWER again.
1. Press and hold the POWER key to turn the
CMX760 on.
2. Press and hold the POWER again to turn it
off.
22
Transmit/Receive
1. Press and hold the PTT key to transmit.
TX
displays.
2. Release PTT to receive.
TX
goes away.
Adjust Volume
Press the +/- keys to turn the volume up and down.
There are 8 volume levels, from 00 (Off) to 07.
VOL.
XX
displays.
Select Channel before Transmit/Receive
Press the ▲/▼ keys to move up or down the
channels one at a time. Press and hold them to
move quickly through the channels. The channel
number changes (1 - 40) and the corresponding
frequency displays.
If Key Beep is active, the speaker/microphone
beeps each time the channel changes.
Adjust Squelch
1. Press SQ/MON.
SQL-X
blinks on the screen.
2. Press ▲/▼ to select the remote squelch
level (1 - 7).
3. Press SQ/MON to store the setting and exit.
SQL-X
goes away.
23
Set Monitor Mode
Turn on Monitor to have the radio search for
transmissions on the current channel.
1. Press and hold SQ/MON.
MON
blinks on the
screen and
BUSY
displays.
2. To stop monitoring, press and hold SQ/MON.
Monitor function stops and
MON
and
BUSY
do
not display on the screen.
Automatic Noise Limiter (ANL/HI CUT)
ANL (Automatic Noise Limiter) detects static
noise peaks and clips those peaks to preserve the
integrity of the received signal. HI CUT (High Cut)
attenuates signals higher than a specific threshold.
You can set either ANL or HI CUT on individually,
or both of them on at the same time. If both are
turned on,
ANL
and
HICUT
both display on the LCD.
1. Press ANL/HI CUT (on top of the speaker/
microphone) once. ANL on;
ANL
only
displays on the LCD.
2. Press and hold ANL/HI CUT. HIGH CUT is
on;
HICUT
displays on the LCD.
3. To turn off ANL, press ANL/HI CUT.
ANL
no
longer displays.
4. To turn off HI CUT, press and hold ANL/HI
CUT.
HI CUT
no longer displays.
24
Adjust Radio Sensitivity (LO/DX)
Noise caused by strong signals from nearby
channels may be heard. The LO/DX settings
(LOCAL 1 and LOCAL 2) will reduce this noise by
reducing the radio’s sensitivity. If
LOCAL 1
or
LOCAL 2
do not display, noise levels are not reduced.
1. Press LO/DX.
LOCAL 1
displays; noise levels
are reduced.
2. Press LO/DX again.
LOCAL 2
displays; noise
levels are further reduced.
3. Press LO/DX again.
LOCAL 2
goes away;
noise levels return to normal.
Occasionally, you may want to listen to
weaker signals (for example: receiving a
distant signal). In that case, do not reduce
sensitivity levels.
Set Key Lock
Turning on Key Lock prevents the keys from
operating (except PTT, volume (▲/▼), SQ, and
PWR).
1. Press and hold MENU/LOCK until the key
icon displays. Key Lock is ON.
2. Press and hold MENU/LOCK until the key
icon goes away. Key Lock is OFF
25
CHANNEL SCAN
When Channel Scan is on, the radio scans
channels until it receives a signal. It will move to
the next channel if no signal is received after 3
seconds.
1. Press SCAN.
SCAN
displays and the radio
begins scanning upward through the
channels.
To skip the channel the radio has stopped on,
press ▲ or ▼. The radio continues scanning
in the selected direction.
2. To exit Channel Scan mode, press SCAN,
PTT, CH9/19, WX/ALERT, or MENU/LOCK.
WEATHER MODE WX MODE
Your radio combines a CB radio with a Weather
radio and a Weather Alert system. The Weather
Alert system sounds a seven-second signal in
the event of severe weather when you are in CB
mode. The Weather radio continually broadcasts
weather conditions when you are in Weather
mode.
1. Press WX/ALERT. Your radio is now in
Weather radio mode.
2. Press ▲ or ▼ to select weather channels
1 - 7.
26
Set Weather Scan
Weather Scan mode allows the radio to move to
the next weather channel if no signal is detected.
1. Press WX/ALERT to enter Weather mode. The
WX
icon displays and the radio tunes to the
last weather channel.
2. Press SCAN to scan weather channels.
3. Press SCAN again to stop scanning weather
channels.
4. Press WX/ALERT to exit Weather mode.
If Weather Scan is ON when you turn off the
radio, Weather Scan remains ON.
Left at these setting (WX, WX Scan), you will
hear only weather broadcasts and Weather Alert
signals. To use your CB radio normally while
monitoring weather alerts, exit WX or WX Scan
modes.
Set Weather Alert Mode
Weather Alert mode only operates when you are
in CB mode; it does not operate in Weather mode.
In CB mode, the radio sounds an alert tone when it
detects a 1050Hz tone on a weather channel.
1. Press and hold WX/ALERT to turn Weather
Alert on.
ALERT
displays.
2. Press and hold WX/ALERT to turn Weather
Alert off.
ALERT
goes away.
27
MENU OPERATION
Press MENU/LOCK to access the 6 CMX760
menus:
Backlight Color
Dimmer
Contrast
Key Beep
Roger Beep
Battery Check
Menus will time out after about 10 seconds.
Select Backlight Color
1. Press MENU/LOCK to activate the menus.
The current menu color displays and blinks.
2. Press ▲ or ▼ to scroll through the options:
• Clear
• Blue
• Red
• Purple
• Green
• Cyan
• Yellow
3. Press and hold MENU/LOCK to save the
selection and exit the menus. A beep
sounds.
Set Dimmer
The Dimmer menu lets you dim the backlight or
make it brighter.
28
1. Press MENU/LOCK until
DIMMER
displays on
the screen and the dimmer level displays
and blinks.
2. Press ▲ or ▼ to scroll through the options
[oF (OFF), 1, 2, or 3].
3. When you have selected a dimmer level,
press and hold MENU/LOCK to save the
selection and exit the menus. A beep
sounds.
Set Contrast
The Contrast selections lets you make the screen
text darker or lighter.
1. Press MENU/LOCK until
CONTRAST
displays
on the screen and the contrast level displays
and blinks.
2. Press ▲ or ▼ to scroll through the options
(01 - 10).
3. When you have selected a contrast level,
press and hold MENU/LOCK to save the
selection and exit the menus. A beep
sounds.
Set Key Beep
Key Beep sounds a beep tone when you press
a key. Select a Key Beep volume level to turn on
Key Beep.
29
1. Press MENU/LOCK until
KEY BEEP
displays
on the screen and the volume level displays
and blinks.
2. Press ▲ or ▼ to scroll through the options
[oF (OFF), 1 - 7].
3. When you have selected a Key Beep
volume level, press and hold MENU/LOCK
to save the selection and exit the menus. A
beep sounds.
Set Roger Beep
Turn Roger Beep on to transmit a Roger Beep
tone when you finish transmitting.
1. Press MENU/LOCK until
ROGER BP
displays
on the screen and the current selection
displays and blinks.
2. Press ▲ or ▼ to turn Roger Beep on or off.
3. Press and hold MENU/LOCK to save the
selection and exit the menus. A beep
sounds.
Set Battery Check
Turning Battery Check on lets the radio display
a notification if the battery power supply is in the
upper (high) or lower (low) range. This notification
displays for 2 seconds in 15 second intervals. A
double beep also sounds.

1. Press MENU/LOCK until
BATT CHK
displays on
the screen and the current selection displays
and blinks.
2. Press ▲ or ▼ to turn Battery Check on or
off.
3. Press and hold MENU/LOCK to save the
selection and exit the menus. A beep
sounds.
PREVENTIVE MAINTENANCE
Every six months:
1. Check the SWR.
2. Be sure all electrical connections are tight.
3. Inspect antenna coaxial cable for wear or
breaks in shielding.
4. Be sure all screws and mounting hardware
are tight.
MAINTENANCE
The CMX760 is designed to give you years
of trouble-free service. There are no user-
serviceable parts inside. Except for the fuse in the
DC power cord, no maintenance is required.
To replace a blown fuse:
1. Press ends of the fuse holder together. Twist
to open. Carefully separate the two pieces.
2. Remove the fuse and inspect. If blown,
replace with the same type fuse.

Use only the fuse specified for your CMX760.
Failure to do so may void your warranty.
TROUBLESHOOTING
In the event of system malfunction, perform the
following procedures:
PROBLEM SUGGESTION
Unit does not
power up
Check power cord connections.
Check fuse.
Check vehicle electrical system.
No reception Check microphone connection.
Check volume and squelch.
Check antenna.
Check antenna connection.
Poor Reception Check volume and squelch.
No Transmission Check microphone connection.
Be sure radio is not set to
Weather channel or Weather
Scan. Turn off to return to CB
mode.
Battery power
check displays Lo
or HI.
Make sure your power wires
have a good connection.
Check your battery charge;
it needs to be fully charged.
Lower voltage will cause a
failure.
Check your alternator.

If you do not get satisfactory results after
performing these checks, visit the Uniden website
(www.uniden.com) for troubleshooting and FAQ
information.
SERVICING YOUR RADIO
It is the user’s responsibility to see that this radio
is operating at all times in accordance with the
FCC Citizens Radio Service regulations. We highly
recommend that you consult a qualified radio/
telephone technician for servicing and aligning this
CB radio product.
When ordering parts, be sure to specify the
correct model number and serial number of
the unit.
SPECIFICATIONS
GENERAL
Channel: 40
Frequency Range: 26.965 ~ 27.405 MHz
Frequency Con-
trol:
PLL Synthesizer
Antenna Imped-
ance:
50 ohms, unbalanced
Power Input: 13.8VDC
33
Current Drain
TX: AM Full Modulation: 1.5A (max)
RX: At no signal: 400mA (max)
Operating
Temperature:
–22°F to 140°F
–30°C to 60°C
Accessories: DC Power Cord with Built-In
Fuse
Microphone
Microphone Hanger with
Screws
Mounting Bracket with Screws
Owner’s Manual
Part 95 Subpart D (FCC Rules)
Size (W x D x H): 4 in. W x 0.97 in. H x 3.86 in. D
(without knobs and jacks)
(102 mm W x 24.6 mm H x 98.2
mm D)
Weight: 0.9 Pounds
Antenna
Connector
M-Type
TRANSMITTER
Output Power: 4 watts
Emission Type: 6A3
Hum and Noise: 40 dB Nominal
34
Frequency Toler-
ance:
±0.002%
Spurious Rejec-
tion:
-70 dBc
RECEIVER
Sensitivity at 10
dB S/N
–110 dBm
Maximum Sensi-
tivity
–114 dBm
Squelch Sensitiv-
ity
Step 1 (Max): –107 dBm
Step 7 (Max): –47 dBm
Signal Meter S-9: –67 dBm
Audio Output
Power (max.):
3 watts
Adjacent Channel
Rejection:
60 dB
Image Rejection: 70dB
External Speaker
Impedance:
8 ohms
WEATHER
RADIO UNIT NOMINAL
Usable Sensitivity
for 12dB SINAD
dBm –112

35
Distortion (0.5W
output) @ 1KHz ±
3KHz DEV.
% 3
Maximum Audio
Output Power
W 3
Alert Sense dB –110
Alert Frequency Hz 1040 to
1060
Squelch Sensitiv-
ity (Threshold)
dBm –110
Specifications shown are typical and subject to
change without notice.
FCC PART 15 & IC COMPLIANCE
FCC PART 15 COMPLIANCE
This device complies with Part 15 of the FCC
rules. Operation is subject to the following two
conditions: (1) This device may not cause harmful
interference, and (2) this device must accept any
interference received, including interference that
may cause undesired operation.
Changes or modifications not expressly approved
by the party responsible for compliance could void
your authority to operate the equipment.
36
Avis de conformité à la FCC : Ce dispositif a
été testé et s’avère conforme à l’article 15 des
règlements de la Commission fédérale des
communications (FCC). Ce dispositif est soumis
aux conditions suivantes: 1) Ce dispositif ne doit
pas causer d’interférences nuisibles et; 2) Il doit
pouvoir supporter les parasites qu’il reçoit, incluant
les parasites pouvant nuire à son fonctionnement.
Tout changement ou modification non approuvé
expressément par la partie responsable pourrait
annuler le droit à l’utilisateur de faire fonctionner
cet équipement.
IC COMPLIANCE
This device complies with Industry Canada
license-exempt RSS standard(s). Operation is
subject to the following two conditions: (1) this
device may not cause interference, and (2) this
device must accept any interference, including
interference that may cause undesired operation
of the device.
Changes or modifications not expressly approved
by the party responsible for compliance could void
your authority to operate the equipment.
Cet appareil est conforme aux normes RSS
exemptes de licences d’Industrie Canada. Son
fonctionnement est soumis aux deux conditions
suivantes : (1) cet appareil ne doit pas causer

37
d’interférences nuisibles et (2), il doit pouvoir
accepter les interférences, incluant celles pouvant
nuire à son fonctionnement normal.
Tout changement ou modification non approuvé
expressément par la partie responsable pourrait
annuler le droit à l’utilisateur de faire fonctionner
cet équipement.
ONEYEAR LIMITED WARRANTY
Important: Evidence of original purchase is
required for warranty service.
WARRANTOR: UNIDEN AMERICA
CORPORATION (“Uniden”)
ELEMENTS OF WARRANTY: Uniden warrants,
for one year, to the original retail owner, this
Uniden Product to be free from defects in
materials and craftsmanship with only the
limitations or exclusions set out below.
WARRANTY DURATION: This warranty to the
original user shall terminate and be of no further
effect one year after the date of original retail
sale. The warranty is invalid if the Product is (A)
damaged or not maintained as reasonable or
necessary, (B) modified, altered, or used as part
of any conversion kits, subassemblies, or any
configurations not sold by Uniden, (C) improperly
installed, (D) serviced or repaired by someone
other than an authorized Uniden service center for
38
a defect or malfunction covered by this warranty,
(E) used in any conjunction with equipment or
parts or as part of any system not manufactured
by Uniden, or (F) installed or programmed by
anyone other than as detailed by the owner’s
manual for this product.
STATEMENT OF REMEDY: In the event that
the product does not conform to this warranty
at any time while this warranty is in effect,
warrantor will either, at its option, repair or
replace the defective unit and return it to you
without charge for parts, service, or any other
cost (except shipping and handling) incurred by
warrantor or its representatives in connection
with the performance of this warranty. Warrantor,
at its option, may replace the unit with a new or
refurbished unit. THE LIMITED WARRANTY
SET FORTH ABOVE IS THE SOLE AND
ENTIRE WARRANTY PERTAINING TO THE
PRODUCT AND IS IN LIEU OF AND EXCLUDES
ALL OTHER WARRANTIES OF ANY NATURE
WHATSOEVER, WHETHER EXPRESS,
IMPLIED OR ARISING BY OPERATION OF
LAW, INCLUDING, BUT NOT LIMITED TO ANY
IMPLIED WARRANTIES OF MERCHANTABILITY
OR FITNESS FOR A PARTICULAR PURPOSE.
THIS WARRANTY DOES NOT COVER OR
PROVIDE FOR THE REIMBURSEMENT
39
OR PAYMENT OF INCIDENTAL OR
CONSEQUENTIAL DAMAGES.
Some states do not allow this exclusion or
limitation of incidental or consequential damages
so the above limitation or exclusion may not apply
to you.
LEGAL REMEDIES: This warranty gives you
specific legal rights, and you may also have other
rights which vary from state to state. This warranty
is void outside the United States of America.
PROCEDURE FOR OBTAINING
PERFORMANCE OF WARRANTY: If, after
following the instructions in the owner’s manual
you are certain that the Product is defective, pack
the Product carefully (preferably in its original
packaging). The Product should include all parts
and accessories originally packaged with the
Product. Include evidence of original purchase and
a note describing the defect that has caused you
to return it. The Product should be shipped freight
prepaid, by traceable means, to warrantor at:
Uniden America Service
C/O Saddle Creek
743 Henrietta Creek Rd., Suite 100
Roanoke, TX 76262

40
RADIO CODE DEFINITIONS
The following list contains common “10-Codes”
used by CB radio operators for faster
communication and better understanding.
CODE MEANING CODE MEANING
10-1 Received poorly 10-34 Trouble at this
station
10-2 Receiving well 10-35 Confidential
information
10-3 Stop
transmitting
10-36 Correct time is
10-4 OK, message
received
10-37 Wrecker needed
at
10-5 Relay message 10-38 Ambulance
needed at
10-6 Busy, stand by 10-39 Your message is
delivered
10-7 Out of service,
leaving air
10-41 Please turn to
channel
10-8 In service,
subject to call
10-42 Traffic accident
at
10-9 Repeat message 10-43 Traffic tie up at
10-10 Transmission
completed,
standing by
10-44 I have a message
for you

41
CODE MEANING CODE MEANING
10-11 Talking too
rapidly
10-45 All units within
range please
report
10-12 Visitors present 10-50 Break channel
10-13 Advise Weather/
Road conditions
10-60 What is next
message
number
10-16 Make pickup at 10-62 Unable to copy,
use phone
10-17 Urgent business 10-63 Net directed to
10-18 Anything for us? 10-64 Net clear
10-19 Nothing for you,
return to base
10-65 Awaiting your
next message/
assignment
10-20 My location is 10-67 All units comply
10-21 Call by
telephone
10-70 Fire at
10-22 Report in
person to
10-71 Proceed with
transmission in
sequence
10-23 Stand by 10-77 Negative
contact
10-24 Completed last
assignment
10-81 Reserve hotel
room for

42
CODE MEANING CODE MEANING
10-25 Can you contact 10-82 Reserve room
for
10-26 Disregard last
information
10-84 My telephone
number is
10-27 I am moving to
channel
10-85 My address is
10-28 Identify your
station
10-91 Talk closer to
microphone
10-29 Time is up for
contact
10-93 Check my
frequency on
this channel
10-30 Does not
conform to FCC
rules
10-94 Please give me a
long count
10-32 I will give you a
radio check
10-99 Mission
completed, all
units secure
10-33 EMERGENCY
TRAFFIC
10-
200
Police needed at