Weslo 831150490 User Manual BODY SHOP Manuals And Guides 99020112
WESLO Weight System Manual 99020112 WESLO Weight System Owner's Manual, WESLO Weight System installation guides
User Manual: Weslo 831150490 831150490 WESLO WESLO BODY SHOP - Manuals and Guides View the owners manual for your WESLO WESLO BODY SHOP #831150490. Home:Fitness Equipment Parts:Weslo Parts:Weslo WESLO BODY SHOP Manual
Open the PDF directly: View PDF
.
Page Count: 16

OB.ODYS H0 p
SEARS
Model No. 831.150490
Serial No.
The sedal numbercan be foundinthe
locationshownbelow.Writethe serial
numberinthe space above.
\i.
Serial Number Decal
F"x i_ R C:: i S i_
EQU I PM E N T
HELPLI N IE !
.=B_t_.O0- 736- 6879
PATENT PENDING
USER'S MANUAL
SEARS, ROEBUCK AND CO., HOFFMAN ESTATES, IL 60179

vVESLOBODYSH0 P
TABLE OF CONTENTS
FULL 90 DAY WARRANTY .................................................... ?......... .2
IMPORTANT PRECAUTIONS ............................................................. 3
BEFORE YOU BEGIN ................................................................... 4
ASSEMBLY ........................................................................... 5
USING THE BODYSHOP ............. .................................................... 8
TROUBLE-SHOOTING AND MAINTENANCE ....................... ;_....................... 13
PART LIST ........................................................................... 14
EXPLODED DRAWING .................................................................. 15
ORDERING REPLACEMENT PARTS ................................................ Beck Cover
I FULL 90 DAY WARRANTY I
For 90=days from the date of purchase, if failure occurs due to defect in matedal or workmanship in this
SEARS WEIGHT SYSTEM EXERCISER, contact the nearest SEARS store throughout the United
States and SEARS will repair or replace the WEIGHT SYSTEM EXERCISER, free of charge.
This warranty does not apply when the WEIGHT SYSTEM EXERCISER is used commercially or for
rental purposes.
This warranty gives you specific legal rights, and you may also have other dghtswhich Very from state
to state_
SEARS, ROEBUCK AND CO.i DEPT. 817WA, HOFFMAN ESTATES_ IL 60179

IMPORTANT PRECAUTIONS

BEFORE YOU BEGIN
Thank you for selecting the versatile WESLO °
BODYSHOR The BODYSHOP offers a selection of
weight stations designed to develop several major
muscle groups. Whether your goal is to tone your
body, develop greater muscular strength, or improve -
your cardiovascular system, the BODYSHOP will help
you to achieve the specific results you want.
For your benefit, read this manuel carefully before
using the WESLO °BODYSHOR If you have addi-
tional questions, please call our toll-free HELPLINE at
1-800-736-6879, Monday through Saturday, 7a.m.
until7 p.m. Central "13me(excluding holidays). To help
us assist you, please note the product model number
and serial number before calling. The model number
is 831.150490. The serial number can be found on a
decal attached to the BODYSHOP (see the front
cover of this manual).
Before reading further, please review the drawing
below and familiarize yourself with the parts that are
labeled.
Crunch Handle
ASSEMBLED
DIMENSIONS:
Height: 47 In.
Width: 36 In.
Length: 45 In.
Backrest
PivotArm
Spring Clip
weight Band
Lock Pin
Adduction/
.Abduction Arms
\
-Leg Lever
4

ASSEMBLY
Before beginning assembly, carefully read the THE FOLLOWING TOOLS (NOT INCLUDED) ARE
following information and Instructions: REQUIRED FOR ASSEMBLY:
•Place all parts of the BODYSHOP in a Cleared
area and remove the packing matedals; do not
dispose of the packing materials until assembly is
completed.
•Tighten all parts as you assemble them, unless
instructed to do otherwise.
•For help identifying the small pads used in
assembly, use the PART IDENTIFICATION
CHART below.
•As you assemble the BODYSHOP, be sure that
all parts are oriented as shown in the drawings.
PART IDENTIFICATION CHART
This chart is provided to help you ideniify the small
pads used in assembly. Important: Some parts may
have been pre-assembled for shipping purposes.
If you cannot find a part in the parts packet, check
•Two (2) adjustable wrenches
•One (1) rubber mallet
•The included allen wrench
•The Included lubricant and a small amount of
warm soapy water will also be needed for
assembly.
Assembly will be more convenient if you have the
following tools: A socket set, aset of open-end or
closed-end wrenches, or a set of ratchet wrenches.
to see if it has been pre-assembled. The number in
parenthesis below each part refers to the key number
of the part. The second number refers to the quantity
needed for assembly.
1/2" Bushing (31)-2 3/8" Washer (30)-2
1/4" x 1" Screw (2)-4
G
• 1/2" Axle Cap (7)-6
1/4" Nylon Locknut (1)--4
1 3/4" Pin (25)-2
3/8" x 2 1/4' Carriage Bolt (33)-2
3/8" Nylon Locknut (34)-2
D©
1/4" x 2" Bolt (3)-2

o
.
.
o
Before beginning assembly, ea_-efully read
the information on the previous page.
Remove the Left Arm (13) and Right Arm (14)
from the Base (4). Note: The Left and Right
Arms are placed upside down and on the
opposite sides of the Base for shipping.
Lubricate the indicated posts on the Base (4).
Slide the Left Arm (13) onto the post on the left
side of the Base. Tap a1/2" Axle Cap (7) onto
the post. Attach the Right Arm (14) to the post
on the dght side with a 1/2"Axle Cap (7).
Using the included allen wrench, attach the
Seat Frame (11) to the Base (4) with four 1/4"x
1" Screws (2) and four 1/4" Nylon Locknuts (1).
Be sure that the indicated pin is or=the dght
side of the Base.
Wet the ends of the Right and Left.Arms (13,
14) with soapy water. Slide aLarge Pad (35)
onto each Arm.
Insert the Seat Bushing (12) into the hole in the
center of the Seat Frame (11).
Insert the post on the Pivot Plate (39) which is
attached to the underside of the Seat (22) into
the Seat Bushing (12).
Press a1/2" Bushing (31) into each side of the
Seat Frame (11).
Lubricate both 1 3/4" Pins (25)° Attach each
• side of the Pivot Arm (16) to the Seat Frame
(11) with aI3/4" Pin and two 1/2" Axle Caps
(7). See the Inset drawing for the proper ori-
entation of all parts.
Insert the Lock Pin (24) Into the indicated hole
in the left side of the Pivot Arm (16) and the left
side of the Seat Frame (11).
2
3
13
39
16\
16
25 !
6

5. 5
o
Attach the Backrest Frame (19) to the Pivot Arm
(16) with two 318"x 2 1/4_Carriage Bolts (33),
two 3/8" Washers (30), and two 318" Nylon
Locknuts (34).
Using the included allen wrench, attach the
Backrest (23) to the Backrest Frame (19) with two
1/4" x 2" Baits (3).
6
7

USING THE BODYSHOP
The BODYSHOP is a tool, and learning to use it prop-
erly is essential for the success of your exemise pro-
gram. Read this manual carefully before beginning
your exercise program. Remember, the information
in this section is general in nature--for detailed Infor-
mation about exemise, consultyour physician or
obtain a reputable book about exercise.
THE FOUR BASIC TYPES OF WORKOUTS
Muscle Building
In order to increase the size and strength of your
muscles, you must push your muscles to a high pep
centage of their capacity. You must also progressively
increase the intensity of your exercise so that your
muscles will continue to adapt and grow. Each individ-
ual exercise can be tailored to the proper intensity
level by changing the weight bands, or by changing
the number of repetitions or sets performed. (A'repe-
tition" is one complete cycle of an exercise, such as
one sit-up. A "set" is a sedas of repetitions performed
consecutively.)
The proper weight bands to use for each exercise
depends upon the individual user. It is up to you to
gauge your limits. Select the resistance level that you
think is right for you. Begin with 3 sets of 8 repetitions
for each exercise that you perform. Rest for 3 minutes
after each set. When you can complete 3 sets of 12
repetitions without difficulty,increase the resistance
level.
Toning
To tone your muscles, you must push your muscles to
a moderate percentage of their capacity. Select a
moderate resistance level and increase the number of
repetitions in each set. Complete as many sets of 15
to 20 repetitions as possible without discomfort. Rest
for 1minute after each set. Work your muscles by
completing more sets rather than by using high
amounts of resistance.
Weight Loss
To lose weight, use a low level of resistance and
increase the number of repetitions in each set.
Exercise for 20 to 30 minutes, resting for a maximum
of 30 seconds between sets.
Cross Training
In the pursuit of a complete and well-balanced fitness
program, many have found that cress training Is the
answer. We recommend that on Monday, Wednesday
and Friday, you plan weight training workouts. On
Tuesday and Thursday, plan 20 to 30 minutes of aero-
bic exercise, suc.has cycling, running or swimming.
Rest from both weight training and aerobic exercise
for at least one full day each week to give your body
time to regenerate. By combining weight training with
aerobic exercise, you can reshape and strengthen
your body, plus develop astronger heart and lungs.
PERSONALIZING YOUR EXERCISE PROGRAM
We have not specified an exact length of time for
each workout, or aspecific number of repetitions or
sets for each exercise. It is important to avoid overdo-
ing it during the first few months of your exercise pro-
gram, and to progress at your own pace.
Remember that adequate rest and a proper diet are
also important.
WARMING UP
Begin each workout with 5 to 10 minutes of light
stretching and exercise to warm up. Warming up pre-
pares your body for exercise by increasing circulation,
raising your body temperature and delivering more
oxygen to yourmuscles.
WORKING OUT
Using the BODYSHOP is an effective way to develop
your legs, lower back, and abdomen. This.section
details the seven exercises that you can perform
using the BODYSHOPo To give balance and vadety to
your workouts, your workout should also Include
other types of exercises that focus on your upper
body and arms.
Schedule your workouts for the time of day when your
energy level is the highest. Each workout should be
followed by at least one day of rest. Once you find the
schedule that is right for you, stick with it.
8

EXERCISE FORM
In order to obtain the greatest benefits from exercis-
ing, proper form is essential. Maintaining proper form
means moving through the full range of motion for
each exercise, and moving only the appropriate parts
of the body. Exercising in an uncontrolled manner will
leave you feeling exhausted.
On pages 9 through 12 of this manual, you will find
illustrations demonstrating how to set up the
BODYSHOP for each exercise and photographs
showing the correct form for each exemise. A descrip-
tion of each exercise is also provided, along with a list
of the muscles affected.
The rapetitions in each set should be performed
smoothly and without pausing. The exertion stage of
each repetition should last about half as long as the
return stage. Proper breathing is important. Exhale
during the exertion stage of each repetition and inhale
during the return stroke; never hold your breath. Rest
for 3 minutes after each set if _iou are doing a muscle
building workout, 1 minute after each set if you are
doing a toning workout, and 30 seconds after each
set if you are doing a weight loss workout.
COOLING DOWN
Finish each workout with 5 to 10 minutes of stretch-
ing. Include stretches for both your arms and legs.
Move slowly as you stretch-do not bounce. Ease
into each stretch gradually and go only as far as you
can without strain. Stretching at the end of each work-
out is effective for increasing flexibility and helping to
prevent soreness and other post-workout problems.
STAYING MOTIVATED
For motivation, keep a record of each workout. Write
the date, exercises performed, resistance selected,
and numbers of repetitions and sets completed.
Record your weight and key body measurements
each month.
The key to success Is to make exercise a regular and
enjoyable part of your everyday life.
SET-UP AND EXERCISE FORM
il Bring the Right and Left Arms (13, 14) together, until you can
slide the desirednumber of Weight Bands (27, 28, or 29) onto
the,indicated pins. Secure the Weight Band(s) with Spring
Clips (32). Note: The seat is shown removed for illustra-
tion purposes.
Be sure the Pivot Arm (16) is secured with the Lock Pin (24).
16
13
I
Place the desired amount of resistance on the arms (see
above). Sit on the seat. Position your legs against the insides
of the arms as shown. Press the arms out as far as possible.
Return to the starting position.
Muscles affected: abductor, gluteus medlus
9

ElBdng the ends of the Right and Left Arms (13, 14) together,
until you can slide the desired number of Weight Bands (27,
28, or 29) onto the indicated pins. Secure the Weight
Band(s) with Spring Clips (32). Note: The seat is shown
removed for Illustration purposes.
Be sure the PivotArm (16) is secured with the Lock Pin (24).
16
Place the desired amount of resistance on the arms (see
above). Sit on the seat. Position your legs against the out-
sides of _arms as shown. Bring your legs together. Return
to the starling position.
Muscles affected: abductor, gfuteus medlus
_1_ Remove the Lock Pin (24) from the Pivot Arrn (16)_
"nit the Pivot Arrn (16) forward, until you can slide the desired
number of Weight Bands (27, 28, or 29) onto the indicated
pins. Secure the Weight Band(s) with Spring Clips (32).
Sit on the seat and hold the handles as shown. Keep your
back straightand bend back at the waist. Return to the start-
ing position.
Muscles affected: hip extensors

BRemove the Lock Pin (24) from tha Pivot Arm (16).
Slide the desired number of Weight Bands (27, 28, or 29)
onto the indicated pins. Secure the Weight Bands with
Spring Clips (32).
\
27, 28,
or 29
Sit on the seat and hold the handles as shown. Keep your
back straight and slowly bend forward at the waist. Return to
the starting position.
Muscles affected: rectus abdominus, upper abdominals
El Remove the Lock Pin (24) from the Pivot Arm (16).
Slide the desired number of Weight Bands (27, 28, or 29)
onto the indicated pins. Secure the Weight Bands with
Spring Clips (32).
27, 28,
or 29
Sit on the seat and tum your body to the right or to the left.
Twist your upper body and hotd the handles as shown. Keep
your back straight and slowly bend forward at the waist.
Return to the starting position. Alternate sides after each rep-
etition.
•Muscles affected: rectus abdominus, upper abdomlnais,
obliques
11

ElRemove the "L"-Pin (38) from the bracket on the Base (4). Lift
the Leg Lever (18) and re-insert the "L'-Pin into the bracket.
Lower the Leg Lever onto the =L'-Pin. Slide the desired num-
ber of Weight Bands (27, 28, or 29) onto the indicated pins on
one or both sides of the leg lever. Secure the Weight Bands
with Spring Clips (32).
Be sure the Pivot Arm (16) is secured with the Lock Pin (24).
When the Leg Lever is not in use, remove the Weight Bands
(27, 28, or 29) and "L'-Pin (38). Lay the Leg Lever on the
Base (4) and re-insertthe "L'-Pin (38).
Sit on the seat and place your feet on the leg lever as shown.
Press forward until your legs are fully extended. Return to the
starting position.
Muscles affected: qusdriceps
27, 28,
or 29
4
Be sure that all Weight Bands have been removed from the
Right and Left Arms (13, 14) and from the Leg Lever (18). Be
sure the Pivot Arm (16) is secured with the Lock Pin (24). 16
Sit on the seat, with your legs extended, and hold the handles
as shown. Hold your upper body stralghL Rotate on the seat,
twisting at the walsL Twistten times.
Muscles affected: hip flexors, gluteus medlus

TROUBLE-SHOOTING AND MAINTENANCE
Inspect and tighten all parts of the BODYSHOP often. Replace any worn parts immediately.
Regularly inspect the Weight Bands (27, 28, or 29) for
cracks and wear. To inspect the Weight Bands, bend the
Weight Band several different directions (see the drawing to
the dght). If there are any cracks forming, they will appear
when the Weight Band is bent in this manner. If the Weight
Bands are damaged, discontinue using them and replace
them immediately.
29
Lubricate moving parts regularly. The BODYSHOP can be cleaned using adamp cloth and mild non-abrasive
detergent. Do not use solvents.
To order replacement parts, see the back cover of this manual.
13

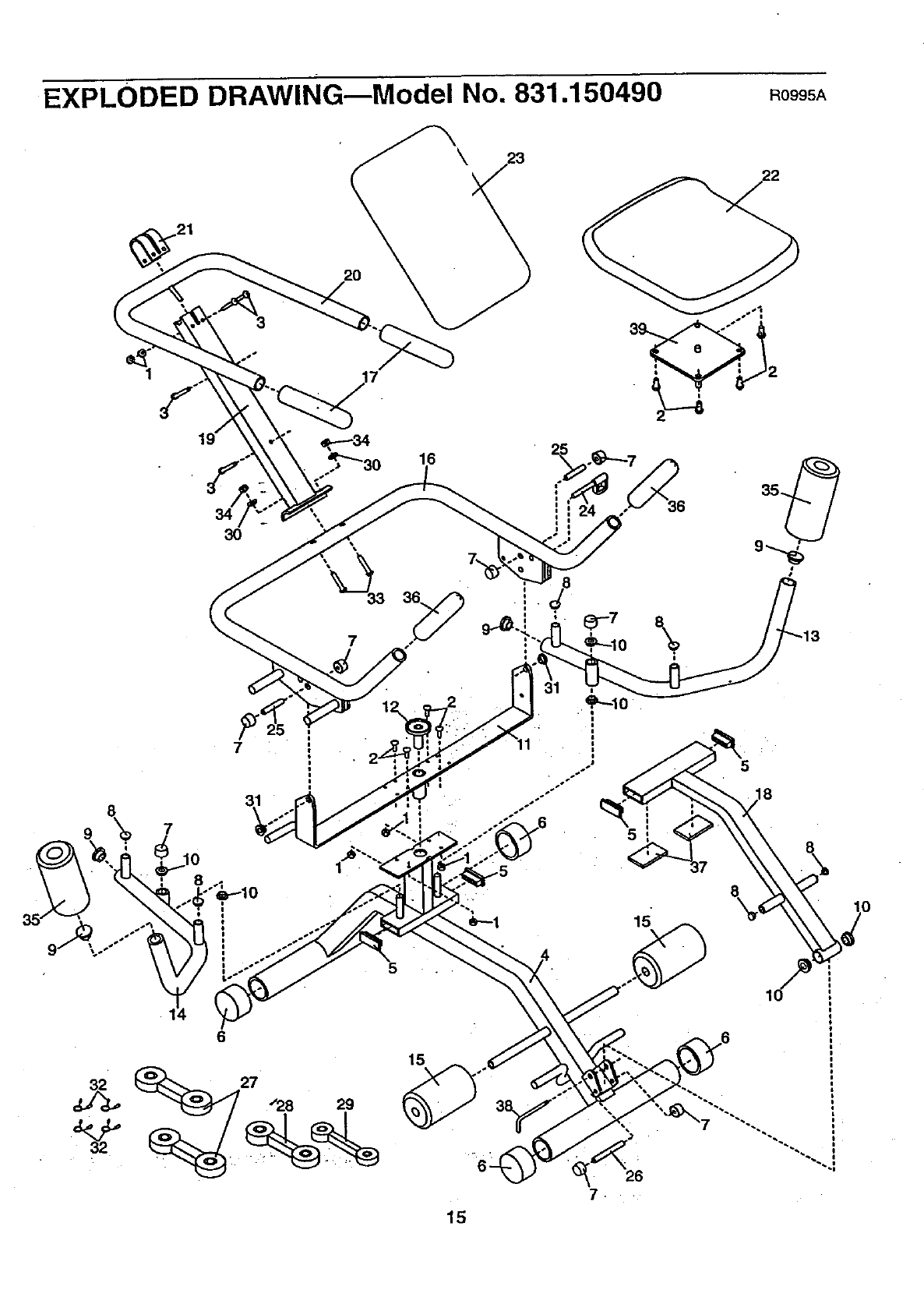
PART LIST--Model No. 831.150490 Ro995A
Key No. Part No. Qty. Description Key No. Part No. Qty.. DescripUon
1 012139 6 1/4" Nylon Locknut 21 126097 1 Slotted =U'-Bracket
2 013492 8 l/4"xl"Screw 22 _1 Seat /__")(_Oc_
3 013523 4 1/4" x 2" Bolt 23 ,_ 1 Backrest /_, "7 jl _o_
4 NSP 1 Base 24 126090 1 Lock Pin
5 126166 4 3" x 1" Endcap 25 17_5397 2 1 3/4" Pin
6 109416 4 2" Round Endcap 26 109470 1 3 1/2" Pin
7 103903 8 1/2" Axle Cap 27 105741 2 #25 Weight Band
8 125979 6 3/4" Endcap 28 105739 1 #10 Weight Band
9 115998 4 1 1/2" Endcap 29 105736 1 #5 Weight Band
10 124546 6 1/2" Bushing "30 014086 2 3/8" Washer
• 11 125876 1 Seat Frame 31 103677 2 1/2" Bushing
12 125973 1 Seat Bushing 32 100092 4 Spdng Clip
13 125962 1 Left Arm 33 121568 2 3/8" x 2 1/4" Carriage Bolt
14 125888 1 Right Arm 34 012025 2 3/8" Nylon Locknut
15 103805 2 Small Pad • 35 125983 2 Large Pad
16 126168 1 Pivot Arm 35 104899 26" Foam Gdp
17 105500 2 1 1/4" Foam Gdp 37 126709 2- Foam Foot Pad
18 126712 1 Leg Lever 38 126708 1 "L"-Pin
19 125965 1 Backrest Frame 39 127156 1 Pivot Plate
20 126092 1 Crunch Handle #125631 1 User's Manual
Note: =f indicates a non-iilustrated parL Specifications are subject to change without notice. See the back cover
for information about ordedng replacement pads.

EXPLODED DRAWING--Model No. 831.150490 RO99SA
34
3O
2O
7
\23
\
7
5
18
1
6
15
26
15

SEARS
Model No. 831.1504.90
QUESTIONS?
If you find that:
• you need help assembling or
operating the WESLO"
BODYSHOP
•a part Is missing
•or you need to schedule repair
service
call our toll-free HELPLINE
1-800-736-6879
Monday-Saturday, 7 am-7 pm
Central Time (excluding holidays)
:IEPLACEMENT
PARTS
If parts become worn and need to
be replaced, call the following toll-
free number
1-800-FON-PART
(1-800-366-7278)
The model number and sedal number of your WESLO _
BODYSHOP are listed on a decal attached to the frame. See the
front cover of this manual to find the location of the decal.
All replacement parts are available for immediate purchase or
special order when you visit your nearest SEARS Service Center.
To request service or to order parts by telephone, call the toll-free
numbers listed at the left.
When requesting help or service, or ordering parts, please be pre-
pared to provide the following information:
•The NAME OF THE PRODUCT 0NESLO e BODYSHOP).
• The MODEL NUMBER OF THE PRODUCT (631.150490).
•The PART NUMBER OF THE PART (see the PART LIST on
page 14 of this manual).
• The DESCRIPTION OF THE PART (see the PART LIST on page
14 of this manual).
SEARS, ROEBUCK AND CO., ROFRM N ESTATES, IL 60;179
Part No. 125631 R0995A© 1995 Seam, Roebuck, and Co. Printed in USA