Wuerth Elektronik eiSos and Co KG AMB2301 Bluetooth 2.0 Module User Manual
AMBER Wireless GmbH Bluetooth 2.0 Module
User Manual

AMB2301_MA_1_1 2/17 Date: 01/2018
Table of contents
1 Introduction ............................................................................................................................................ 3
1.1.1 Block diagram .............................................................................................................................. 3
2 Physical parameters ................................................................................................................................ 4
3 Pinout ...................................................................................................................................................... 5
3.1 Minimum connection to run the AMB2301 .............................................................................................. 6
3.2 Default settings ......................................................................................................................................... 6
3.3 Detailed Description ................................................................................................................................. 6
3.3.1 UART configuration with OP4, OP5 ............................................................................................. 6
3.3.2 UART interface RX_BT, TX_BT, RTS#_BT and CTS#_BT ................................................................ 6
3.3.3 Details to the remaining connections of the AMB2301 .............................................................. 6
3.4 Commando Interface ................................................................................................................................ 6
4 Hardware integration .............................................................................................................................. 7
4.1 Dimension ................................................................................................................................................. 7
4.2 Recommendation for footprint ................................................................................................................. 8
4.3 Design recommendation ........................................................................................................................... 9
4.3.1 Layout .......................................................................................................................................... 9
4.3.2 Power supply ............................................................................................................................... 9
4.4 Soldering & Reflow.................................................................................................................................. 10
4.5 Warning notice ........................................................................................................................................ 11
5 Modification from AMB2300 to AMB2301..............................................................................................11
6 References ..............................................................................................................................................12
7 Regulatory compliance information .......................................................................................................13
7.1 Important notice ..................................................................................................................................... 13
7.3 EU Declaration of Conformity ................................................................................................................. 14
7.4 FCC Compliance statement AMB2301 .................................................................................................... 15
7.5 IC Compliance statement AMB2301 ....................................................................................................... 15
8 Bluetooth Product Listing Certificate ......................................................................................................16
9 Important information ...........................................................................................................................17
9.1 Exclusion of liability ................................................................................................................................. 17
9.2 Trademarks ............................................................................................................................................. 17
9.3 Usage restriction ..................................................................................................................................... 17

AMB2301_MA_1_1 3/17 Date: 01/2018
1 Introduction
AMBER wireless provides with the AMB2301 a certified, qualified and listed Bluetooth class 2 module. It is based
on LMX9830 from Texas Instruments. This module is qualified for a serial data or audio transmission.
The module has an integrated PCB-antenna and can be placed into a circuit with surface mount techniques.
AMB2301 comes with an integrated firmware with the complete Bluetooth Stack (Bluetooth 2.0). The Stack
supports SPP, GAP, SDAP, DUN, OBEX, HSP and onter Profiles.
A Point-to-Point connection and a Point-to-Multipoint (Piconet) connection are supported by the firmware. Up to
seven active links (Piconet) and one SCO-link (Audio) are possible.
The module can be integrated easily in a system. According to the application and the settings the AMB2301 can
work as a stand-alone-slave-module e.g. as a virtual cable replacement in combination with any other commercial
Bluetooth system.
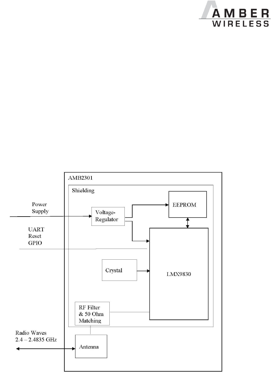
1.1.1 Block diagram
Figure 1 Block diagram

AMB2301_MA_1_1 4/17 Date: 01/2018
2 Physical parameters
Voltage supply 2.9 to 3.6V
Current consumption typ. 65mA
RF output typ. 0dBm (Class 2)
Rx sensitivity typ. –80dBm
Data rate UART 2.4 to 921.6 kbits/s
Operating temperature -40°C to 85°C
Antenna Integrated PCB antenna
Dimension 27.5 x 16.0 x 3.5mm
Bluetooth-PIN 0000
Miscellaneous All further technical data according to the LMX9830 module of
Texas Instruments, see [1]

AMB2301_MA_1_1 5/17 Date: 01/2018
3 Pinout
Figure 2 Pinout
Pin name
Typ1
Notice
GND
I
Ground
OP3
I
Must be connected to Vcc
PG7
I/O
GPIO (default setting: UART activity)
SCLK
I/O
Audio PCM Interface Clock
SFS
I/O
Audio PCM Interface Frame Synchronization
SRD
I
Audio PCM Interface Receive Data Input
STD
O
Audio PCM Interface Transmit Data Output
OP5
I
Configuration UART-data rate at Start up
OP4
I/O
Configuration UART-data rate at Start up, otherwise GPIO
RESETBB#
I
Reset, internal Pull up, active low
CTS#_BT
I
Host Serial Port Clear To Send, active low2
RTS#_BT
O
Host Serial Port Request To Send, active low3
TX_BT
O
Host Serial Port Transmit Data
RX_BT
I
Host Serial Port Receive Data
PG6
I/O
GPIO (default setting: BT link status)
NC
I
Do not connect.
Vcc
I
Power supply, 2.9V to 3.6V
Antenna
O
Not internally connected.
Table 1 Pin out
1
I = Input, O = Output
2
Connect with ground if not used
3
Not connected if not used

AMB2301_MA_1_1 6/17 Date: 01/2018
3.1 Minimum connection to run the AMB2301
In order to realize a radio transmission, the following connections of the AMB2301 have to be wired:
VCC, GND Power supply
RX, TX UART data
RTS, CTS UART handshake; if does not need: short RTS and CTS or contact CTS at GND (without flow
control it can come to overrun and lost data)
OP3 High (connect to VCC)
OP4, OP5 Configuration UART, see chapter 2.2.3 (open or 1KΩ pull-up)
All other pins don’t need to be connected.
3.2 Default settings
All parameters are stored inside the internal EEPROM. See [1] and [2]. In the Bluetooth environment, the device
announces itself as a XXXXXX (Device Name), whereas XXXXXX has to be replaced by the device’s Bluetooth
address.
3.3 Detailed Description
3.3.1 UART configuration with OP4, OP5
The serial interface of the AMB2301 must be configured as follows:
OP4
OP5
Function
Open
Open
UART speed read from NVS (EEPROM)
Open
High
UART speed 9.6 kbps
High
Open
UART speed 115.2 kbps
High
High
UART speed 921.6 kbps
Caution: Use 1KOhm pull up for OP4 and OP5 High state.
While power up OP4 and OP5 are pulled down internally. Using other resistor values might lead to malfunction.
3.3.2 UART interface RX_BT, TX_BT, RTS#_BT and CTS#_BT
The interface serves for communication with the AMB2301. Hardware handshake is used (RTS/CTS). If this should
not be supported by the host system, RTS#_BT and CTS#_BT must be short circuit or CTS#_BT put on Low levels.
This can lead however to data loss due to overrun.
Therefore it is recommended to use handshake.
3.3.3 Details to the remaining connections of the AMB2301
ResetBB# Internal Pull up, low active, no external pull up recommended
SCLK, SFS, SRD, STD Audio interface, if not used, pins does not attached
PG6, PG7 I/O ports, if not used, pins does not attached
Vcc, Gnd Power supply
3.4 Commando Interface
The AMB2301 based on LMX9830 provides a simple Commando Interface. Detailed Information can be found in
the IC documentation [2]. To simplify the use of this commands further a PC tool, the “Simply Blue Commander” is
available.

AMB2301_MA_1_1 7/17 Date: 01/2018
4 Hardware integration
4.1 Dimension
Figure 3 Measures, recommended distance to antenna
.

AMB2301_MA_1_1 8/17 Date: 01/2018
4.2 Recommendation for footprint
Figure 4 Footprint, all dimensions in mm

AMB2301_MA_1_1 9/17 Date: 01/2018
4.3 Design recommendation
4.3.1 Layout
To achieve the maximum of range no metal (ground, strip line, components, etc..) has to be near the antenna, as
shown hatched in the following figure. The antenna should have a distance of minimum 12.5mm to any ground,
strip line or component. Most suitable is to place the antenna at the edge of the motherboard.
Caution: The AMB2301 is not isolated on the bottom side, so even if there are normally no short circuit
problems because of the solder resist, an isolation should be placed between AMB2301 and motherboard
in case of any copper on the top side of the motherboard underneath the AMB2301.
4.3.2 Power supply
For a reliable operation of the module, the power supply has to be provided with a slew rate over 3V per 500
microseconds. Take care of having no voltage on any pin until the power supply is turned on properly (Tip: Pay
attention to remaining charges of smoothing capacitors).

AMB2301_MA_1_1 10/17 Date: 01/2018
4.4 Soldering & Reflow
The AMB2301-TR Units suits for automatic assembly reflow process.
AMB2301 are not vacuum packed and must be dried before soldering.
The temperature curve depends on the motherboard its character, like the number and conditioning of
parts, etc. Please ask your manufactor.
Depending on the limit values of the components following limits are not allowed to excess
o 260°C max. 10s (Crystal)
The following drawing shows the example of the temperature curve of a 31cm² PCB assembled on one side.
Figure 5 Example of a temperature curve
Caution: Soldering profile has to be adapted corresponding to the conditions on the motherboard.

AMB2301_MA_1_1 11/17 Date: 01/2018
4.5 Warning notice
Caution! ESD sensitive device.
Care should be taken when handling the device in order to prevent permanent damage.
MSL 4
Caution! This assembly contains moisture sensitive devices.
Care should be taken when processing the device. It requires proper handling per IPC/JEDEC J-
STD-033.
Please be aware, that the cable of the power supply must not exceed a maximum length of 3 meters to
comply with CE requirements regarding EMC.
Since the module itself is not fused the voltage supply shall be fed from a limited power source
according to EN 62368-1.
5 Modification from AMB2300 to AMB2301
There is no modification required regarding hardware connection or connection to the host (soft and hardware).
Due to the new integrated antenna Radio Matters inside the application might be retested.
No modification concerning the Bluetooth listing is required, as the AMB2301 comes under the same Declaration
ID as the AMB2300. Customer Listings were supposed to link to this Declaration ID since market launch.

AMB2301_MA_1_1 12/17 Date: 01/2018
6 References
[1] LMX9830 Data Sheet
[2] LMX9830 Software User’s Guide
[3] Simply Blue Commander

AMB2301_MA_1_1 13/17 Date: 01/2018
7 Regulatory compliance information
7.1 Important notice
The use of Radio frequencies is limited by national regulations. The AMB2301 has been designed to comply with
the RED 2014/53/EU directive of the European Union.
The AMB2301 can be operated without notification and free of charge in the area of the European Union.
Conformity assessment of the final product
The AMB2301 is a subassembly. It is designed to be embedded into other products (products incorporating the
AMB2301 are henceforward referred to as "final products").
It is the responsibility of the manufacturer of the final product to ensure that the final product is in compliance
with the essential requirements of the European Union's Radio Equipment directive (RED).
The conformity assessment of the subassembly AMB2301 carried out by AMBER wireless GmbH does not replace
the required conformity assessment of the final product in accordance to the RED .
Exemption clause
Relevant regulation requirements are subject to change. AMBER wireless GmbH does not guarantee the accuracy
of the before mentioned information. Directives, technical standards, procedural descriptions and the like may be
interpreted differently by the national authorities. Equally, the national laws and restrictions may vary with the
country. In case of doubt or uncertainty, we recommend that you consult with the authorities or official
certification organizations of the relevant countries. AMBER wireless GmbH is exempt from any responsibilities or
liabilities related to regulatory compliance.

AMB2301_MA_1_1 14/17 Date: 01/2018
7.3 EU Declaration of Conformity

AMB2301_MA_1_1 15/17 Date: 01/2018
7.4 FCC Compliance statement AMB2301
FCC ID: R7TAMB2301
This device complies with Part 15 of the FCC Rules.
Operation is subject to the following two conditions:
(1) this device may not cause harmful interference, and
(2) this device must accept any interference received, including interference that may
cause undesired operation.
(FCC 15.19)
Modifications (FCC 15.21)
Caution: Changes or modifications for this equipment not expressly approved by AMBER wireless may void the FCC
authorization to operate this equipment.
7.5 IC Compliance statement AMB2301
Certification Number: 5136A-AMB2301
This device complies with Industry Canada licence-exempt RSS standard(s). Operation is subject to the following
two conditions: (1) this device may not cause harmful interference, and (2) this device must accept any
interference received, including interference that may cause undesired operation.
Le présent appareil est conforme aux CNR d'Industrie Canada applicables aux appareils radio exempts de licence.
L'exploitation est autorisée aux deux conditions suivantes : (1) l'appareil ne doit pas produire de brouillage, et (2)
l'utilisateur de l'appareil doit accepter tout brouillage radioélectrique subi, même si le brouillage est susceptible
d'en compromettre le fonctionnement.

AMB2301_MA_1_1 16/17 Date: 01/2018
8 Bluetooth Product Listing Certificate

AMB2301_MA_1_1 17/17 Date: 01/2018
9 Important information
9.1 Exclusion of liability
AMBER wireless GmbH presumes that the information in this document is correct at the time of publication.
However, AMBER wireless GmbH reserves the right to modify technical specifications or functions of its products
or discontinue the production of these products or the support of one of these products without any written
announcement or notification to customers. The customer must make sure that the information used is valid.
AMBER wireless GmbH does not assume any liability for the use of its products. Amber wireless GmbH does not
grant licenses for its patentrights or for any other of its intellectual property rights or third-party rights.
Customers bear responsibility for compliance of systems or units in which AMBER wireless
products are integrated with applicable legal regulations.
9.2 Trademarks
AMBER wireless® is a registered trademark of AMBER wireless GmbH.
All other trademarks, registered trademarks, and product names are the exclusive property of the respective
owners.
9.3 Usage restriction
AMBER wireless products are not approved for use in life-supporting or life-sustaining systems or units or other
systems whose malfunction could result in serious bodily injury to the user. Moreover, AMBER wireless products
are not approved for use as key components of any life-supporting or life-sustaining system or unit whose
malfunction could result in the failure of the life-supporting system or unit or could affect its safety or
effectiveness. AMBER wireless customers who use these products in such applications or sell them for such usage
act at their own risk and must relieve AMBER wireless GmbH from all damages that may result from the
sale for unsuitable purposes or unsuitable usage.
By using AMBER wireless products, the user agrees to these terms and conditions.
Copyright © 2018, AMBER wireless GmbH. All rights reserved.
AMBER wireless GmbH
Phone +49.651.993.550
Email info@amber-wireless.de
Internet www.amber-wireless.de
