Xiaomi Yunbike EN
yunbike-EN User manuals for Xiaomi Mi devices | XIAOMI-MI.com
User Manual: Xiaomi User manuals for Xiaomi Mi devices | Xiaomi-Mi.com
Open the PDF directly: View PDF
.
Page Count: 6

Xiaomi Yunbike C 1
Accessories
Battery Charging device Pedals х 2 Hex wrench Keys х 2 Wrench
1. Wheel
2. Front sleeve
3. Fork
4. Front brake
5. Brake System
6. Headlights
7. Front steering cup
8. Wheel
9. Measuring panel
10. Right brake handle
11. Stem
12. Left brake handle
13. Saddle
14. Saddle pin
15. Battery
16. Power
17. Battery
18. Lock Battery
19. Socket
20. Pedal
21. Rear brake
22. Chain wheel
23. Chain
24. Motor
25. Footstep
XIAOMI-MI.COM
XIAOMI-MI.COM

Assembling and settings
1. Spinning front wheel clockwise by 180 degrees, conrm the right direction of motion (after the scroll wheel, press
the front brakes).
2. Reduce the stem clamp bolt using a 5mm hex wrench (need to twist counterclockwise). Alternately, remove the
front fork cartridge and other connecting elements.
3. First assemble front fork sleeve and place the into steering column. Take connecting elements of stern (logo side
up) and connect with the sleeve, insert tensioner bolt.
4. Set a stem parallel with the front wheel, then tighten the tensioner bolt.
5. Set and secure the right and left pedals using the 5mm Allen key (on the pedals, you will see notation R / L,
indicating the right and left foot).
Setting / Removing of battery
When installing battery in a special slot, follow the signs depicted direction, then you need to connect the battery to
the socket.
If you need to disassemble the battery, unplug it from the socket, turn key 90 degrees clockwise, remove the battery,
pulling it up.
After dismantling the battery, you can see the presence of USB port. Open the protective case and connect USB
cable, you can charge your digital devices (5V / 1A).
Socket
port
Slot for battery
installation
Express Install Mi YunBike C1
For more information, visit the website
www.zhixingche.com
Video
XIAOMI-MI.COM

Driving of the Bicycle
Press and hold the power button (more than
2 seconds), the system will give power then
strengthening is possible.
When driving, keep the velocity faster than
4.2 km / h (usually this speed is reached
after passage of two circles). Using the
control panel (which is located on the right
side), you can adjust the ride only by an
electric motor, in which case you can not
pedal. Turn o power of brake and gears,
then switch to gain.
Measuring panel has an USB port to charge
your phone (5V / 1A).
If after bike C1 be at rest for 20 minutes, it
automatically turns o.
During braking better use the left rear brake
handle;
Please choose roads, that are banned from
entering self-propelled vehicles;
Timely check the battery level since riding,
low charge could aect the lifespan of the
battery.
Use battery according to the conditions
described in the instructions;
When driving on long distances, you need
to contact the pro shop to check the spokes
and screws.
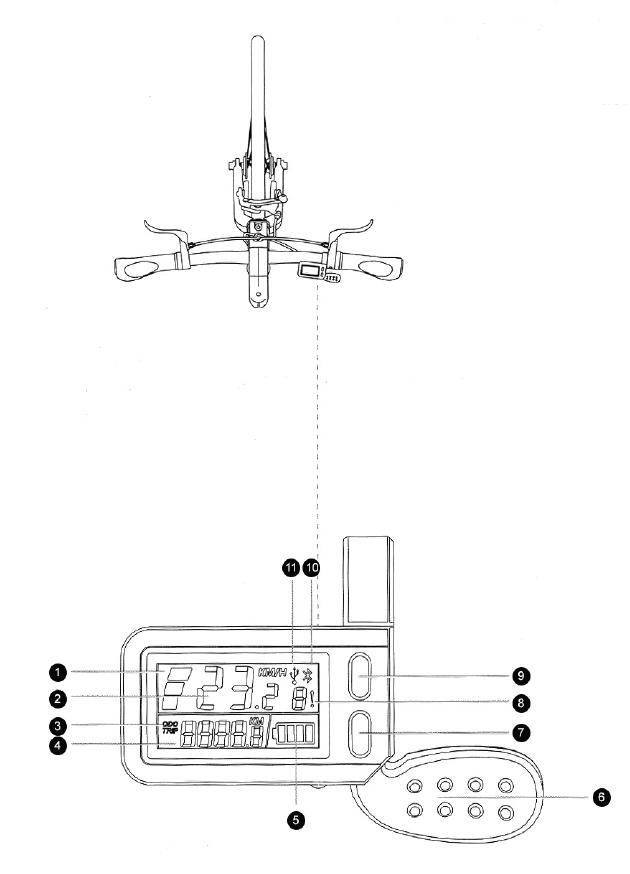
1. Level of gain; low, medium and high speed
2. Current speed
3. Run; ODO total mileage / TRIP single run
4. Mileage
5. Charge level of 4 blocks - 100-80% of charge; 3 blocks
- 80-60% of charge; 2 blocks - 60-40% of charge; 1 unit -
40-20% of charge; 0 units - 20-0% of charge
6. Switch Gears
7. Gain -: Turn on: short press to decrease gain
8. Error Code: Hall sensor fault (1), switching of speeds
fault (2) failure of the electric motor (3) protection of
low pressure (4), protection against electric overload
(5), protection from blocking messages (6), problems
powered brake system (7), failure data (8). If you nd
faults displayed wink appropriate designation
9. Gain + / Rear lights: Turn on: short press to increase
the gain; long press to turn on backlight, repeated long
press to turn o backlight
10. Bluetooth icon: when Bluetooth is connected,
appropriate designation lits
11.USB icon: when connected to the USB port, the
display shows the USB icon designation
XIAOMI-MI.COM

Free warranty Terms
Note: The following are the conditions which can not be
free warranty service.
A. Term of the warranty expired;
B. The emergence of breakage, due to improper care
and device settings, and as a result of using Mi YunBike
C1 is not in accordance with instructions;
C. Failure as a result of misuse, improper care or
accident;
D. Damage caused by self repair, alteration,
dismantling, then the device does not meet its original
state, or as a result of improper technical analysis and
determination of fault;
E. Improper use of original charger, which caused
problems of Mi YunBike C1 charging;
F. You have not a valid document (current invoice) or a
mismatch of data from the device;
G. Malfunction through smoke, pharmaceuticals, chemicals,
corrosion, water ingress, etc.;
H. Malfunction of the electronic system bike through
dampness, rain or snow;
I. Damage incurred in a force majeure (including but not
limited to - lightning, re or ood);
J. Natural breakdown / failure of parts that easily wear parts
and consumables (fuses, light bulbs, brake pads, brake
cables, spokes, tires, pedals, rubber plugs, plastic parts);
K. Maintenance device in unauthorized service centers;
L. After purchase you do not like the color, size vehicle.
Warranty
After-sales servicing is carried out according to the law on «The rights of consumers of China» and «Law on product
quality of China». In warranty service includes:
During the warranty period you have the right to repair, modify or return.
For repair, replacement or return of goods, you must have a receipt.
First, ocials from the customer must examine the goods, identify existing problems and conrm its compliance with
the terms of the warranty service.
Enable / disable the battery, rear lights, charging
Power button
System:
1. Press and hold the power button for more than 2 seconds, then turns
indicator will light up 4. Every indicator points to a level of charge;
75-100% 4 LED1- lits;
50-75%, LED1 is o, LED2-4 lit;
25-50%, LED1, LED2 are o, LED3-4 lit;
0-25%, LED1, LED2, LED3 are o, LED4 lights;
2. One short press the power button - continuous icker of 4 indicators;
Press power button - 4 simultaneous ashing indicators;
Press power button - all 4 lights on constantly;
Press power button - repeat of three specied modes listed above
indicators;
Turn o: under any circumstances, hold down
the power button for 2 seconds to eliminate the
vehicle;
Charging: When the battery charge indicators are
lit red when the battery is fully charged, green
lights are ashing;
Determining the level of charge the device while it
is charging:
> 98%, lamp 4 lits;
75-98%, LED1 ickers, the other 3 indicator lit continuously;
50-75%, LED1 is o, LED2 blinking, LED3, LED4 is constantly lit;
20-50%, LED1, LED2 are o, LED3 ickers, LED4 is lit
constantly;
0-20%, LED1, LED2, LED3 are o, LED4 ickers;
XIAOMI-MI.COM

List of faults
XIAOMI-MI.COM

Specications
Use of APP
1. Scan the QR-code or go to https://zhixingche.
com/product/app, to download the Smart Bike
RDA.
2. Start Smart Bike RDA application, select the
appropriate bike home page. Click on the Bike
C1 to access more information about the bike.
3. Click the button on the left side of the main page
«connecting the vehicle» and enter the code.
4. In order to successfully connect devices must use your
smartphone to scan the QR-code, depicted on the handlebars
of the bike.
XIAOMI-MI.COM