Zebra Technologies AP6 Access Point Radio Module 6 User Manual AP 6511 Install Guide
Zebra Technologies Corporation Access Point Radio Module 6 AP 6511 Install Guide
Contents
- 1. Manual
- 2. Antenna Installation Guide 050412
- 3. AP 6511 Install Guide Rev B 050412
- 4. AP 6521 Install Guide Rev B 050412
AP 6511 Install Guide Rev B 050412

AP-6511 Access Point
Installation Guide
M
MOTOROLA and the Stylized M Logo are registered in the US Patent & Trademark Office. Sym-
bol is a registered trademark of Symbol Technologies, Inc. All other product or service names are
the property of their respective owners. © Motorola, Inc. 2012. All rights reserved.

1.0 Introduction . . . . . . . . . . . . . . . . . . . . . . . . . . . . . . . . . . . . . . . . . 1
1.1 Document Conventions . . . . . . . . . . . . . . . . . . . . . . . . . . . . . . . . . . 1
1.2 Warnings . . . . . . . . . . . . . . . . . . . . . . . . . . . . . . . . . . . . . . . . . . . . . 1
1.3 Site Preparation . . . . . . . . . . . . . . . . . . . . . . . . . . . . . . . . . . . . . . . 2
1.4 Package Contents . . . . . . . . . . . . . . . . . . . . . . . . . . . . . . . . . . . . . . 2
1.5 Features . . . . . . . . . . . . . . . . . . . . . . . . . . . . . . . . . . . . . . . . . . . . . . 2
2.0 Hardware Installation . . . . . . . . . . . . . . . . . . . . . . . . . . . . . . . . . 4
2.1 Installation Instructions . . . . . . . . . . . . . . . . . . . . . . . . . . . . . . . . . . 4
2.2 Precautions . . . . . . . . . . . . . . . . . . . . . . . . . . . . . . . . . . . . . . . . . . . 4
2.3 Access Point Placement . . . . . . . . . . . . . . . . . . . . . . . . . . . . . . . . . 5
2.4 Power Injector System. . . . . . . . . . . . . . . . . . . . . . . . . . . . . . . . . . . 5
2.5 Wall Mount Installation. . . . . . . . . . . . . . . . . . . . . . . . . . . . . . . . . . 6
2.6 Telco Box Installation . . . . . . . . . . . . . . . . . . . . . . . . . . . . . . . . . . . 9
2.7 AP-6511 Antennas . . . . . . . . . . . . . . . . . . . . . . . . . . . . . . . . . . . . . 14
2.8 LED Indicators . . . . . . . . . . . . . . . . . . . . . . . . . . . . . . . . . . . . . . . . 14
3.0 Defining a Basic AP-6511 Configuration . . . . . . . . . . . . . . . . 15
4.0 Specifications. . . . . . . . . . . . . . . . . . . . . . . . . . . . . . . . . . . . . . . 33
4.1 Electrical Characteristics . . . . . . . . . . . . . . . . . . . . . . . . . . . . . . . . 33
4.2 Physical Characteristics . . . . . . . . . . . . . . . . . . . . . . . . . . . . . . . . 33
4.3 Radio Characteristics . . . . . . . . . . . . . . . . . . . . . . . . . . . . . . . . . . 34
5.0 Regulatory Information . . . . . . . . . . . . . . . . . . . . . . . . . . . . . . . 35
6.0 Motorola’s Enterprise Mobility Support Center . . . . . . . . . 46
Table of Contents


Introduction 1
1 Introduction
The AP-6511 Access Point, a component of MotorolaSolutions Wireless Controller System, links
wireless 802.11a/b/g/n devices to the controller, enabling the growth of your wireless network with a
cost-effective alternative to standard access points.
The AP-6511 is an enterprise class 802.11n access point, installed in minutes anywhere a CAT-5 (or
better) cable is located. The AP-6511’s mechanical design is optimized for installation over a standard
CAT-5 (or better) wall jack. The AP does not protrude into the wall cavity, allowing for an efficient heat
transfer and a universal installation over a standard Telco wiring plate. The AP-6511’s modular design
allows the end-user to add switched Ethernet ports as-needed, and attach a standard keystone or
Leviton QuickPort® modular connector to the wall plate.
The AP-6511 access point ships with a single dual-band radio supporting the 802.11a/b/g/n radio
bands.
The AP6511 receives all power and transfers data through the same CAT-5 or better Ethernet cable.
There is no additional power supply required. An 802.3af PoE Ethernet switch or mid span power
injector is required.
The AP-6511 can be ordered for US deployment (AP-6511-60010-US) or ordered for deployment
outside of the US (AP-6511-60010-WR).
1.1 Document Conventions
The following graphical alerts are used in this document to indicate notable situations:
1.2 Warnings
•Read all installation instructions and site survey reports, and verify correct equipment
installation before connecting the AP-6511 access point.
NOTE Tips, hints, or special requirements that you should take note of.
CAUTION Care is required. Disregarding a caution can result in data loss or
equipment malfunction.
WARNING! Indicates a condition or procedure that could result in personal injury or
equipment damage.
!

AP-6511 Access Point Installation Guide
2
•Verify any device connected to this unit is properly wired and grounded.
•Verify there is adequate ventilation around the device, and ambient temperatures meet
equipment operation specifications.
1.3 Site Preparation
•Consult your site survey and network analysis reports to determine specific equipment
placement, power drops etc.
•Assign installation responsibility to the appropriate personnel.
•Identify and document where all installed components are located.
•Ensure adequate, dust-free ventilation to all installed equipment.
•Prepare Ethernet port connections.
•Verify cabling is within the maximum 100 meter allowable length.
1.4 AP-6511 Package Contents
The AP-6511 model access point ships with internal (integrated) antennas.
•AP-6511 Access Point
•Mounting plate (used for both wall mount and Telco Box installations)
•Mounting plate lock screw
•AP-6511 Installation Guide (This Guide)
•RJ-45 double plug interconnect cable
•Fast Ethernet port 1 interconnect cable
1.5 Features
•One RJ-45 PoE Ethernet port (built into the AP-6511 access point)
•Optional second RJ-45 Ethernet port utilizing a pass through (keystone) cable (included)
•Optional three port Ethernet expansion module (sold separately)
•2 LED indicators
The pass through (keystone) cable provides an option to add a second Ethernet port before installing
the AP-6511.
The AP-6511 has one RJ-45 connector supporting an 10/100 Ethernet port and requires 802.3af
compliant power from an external source.
The AP-6511 ships with a single dual-band radio supporting the 802.11a/b/g/n radio bands.

Introduction 3
The access point contains runtime firmware which enables the unit to boot after either a power up
or a watchdog reset. The runtime firmware on the access point can be updated via the Ethernet
interface.
The front of the AP-6511 has an access cover that can be removed to expose an additional connector.
A three port RJ-45 Ethernet expansion module connects to the hidden header and snaps onto the
AP-6511 in place of the access cover.
Remove the AP-6511’s access cover by inserting a long pointed tool into the circular hole (opening)
on the bottom of the AP-6511. Pull the access cover up and away from the AP-6511. Reverse the
procedure to install the expansion module.
The Ethernet expansion module has three ports labeled FE2, FE3 and FE4.
The expansion module (KT-6511-0000D-WR) is a separately orderable component from Motorola
Solutions.

AP-6511 Access Point Installation Guide
4
2 Hardware Installation
2.1 Installation Instructions
An AP-6511 access point mounts either on a wall, under a table or over a Telco Box. The AP-6511 is
not plenum rated.
The AP-6511 is mounted to a wall or Telco Box so the mounting plate is flush with the mounting
surface.
The AP-6511 snaps on to the mounting plate without the use of tools or fastening hardware. Removal
of the AP-6511 from the mounting plate can be accomplished without the use of a tool. A mounting
lock screw is provided to help ensure a tamper resistant installation.
To prepare for an AP-6511 installation, perform the following:
1. Verify the contents of the box includes the intended AP-6511 access point model and
accessory hardware.
2. Review site survey and network analysis reports to determine the location and mounting
position for the AP-6511 access point.
3. Connect a CAT-5 or better Ethernet cable to a PoE compatible device and run the cable to the
installation site. Ensure there is sufficient cable slack to perform the installation steps.
2.2 Precautions
Before installing an AP-6511 access point:
• Verify the intended AP-6511 deployment location is not prone to moisture or dust.
• Verify the environment has a continuous temperature range between 0° C to 40° C.
NOTE The provided metal mounting plate is fastened to an existing standard
Telco in-wall box. The box is customer provided within the customer
building structure, and can be either plastic or metal in composition.
Screws and other mounting hardware are not included.
NOTE Once installed onto the mounting plate, the assembly can resist a
minimum of 10 lbs of force before unit breakage or accidental
disassembly.

Hardware Installation 5
2.3 Access Point Placement
For optimal performance, install the access point away from transformers, heavy-duty motors,
fluorescent lights, microwave ovens, refrigerators and other industrial equipment. Signal loss can
occur when metal, concrete, walls or floors block transmission. Install the access point in an open
area or add access points as needed to improve coverage.
To maximize the access point’s radio coverage area, Motorola Solutions recommends conducting a
site survey to define and document radio interference obstacles before installing the access point.
2.4 Power Injector System
When users purchase a WLAN solution, they often need to place access points in obscure locations.
In the past, a dedicated power source was required for each access point in addition to the Ethernet
infrastructure. This often required an electrical contractor to install power drops at each access point
location. The Power Injector merges power and Ethernet into one cable, reducing the burden of
installation and allowing optimal access point placement in respect to the intended coverage area.
A Motorola Solutions Power Injector (AP-PSBIAS-2P2-AFR) is recommended as the 802.3af
compatible power supply for the AP-6511. The Power Injector is capable of providing 12.95 Watts up
to 100 meters. The Power Injector is separately ordered and not shipped with the AP-6511. A separate
Power Injector is required for each access point comprising the network.
The Power Injector has no On/Off power switch. The Injector receives power and is ready for device
connection and operation as soon as AC power is applied. Refer to the Installation Guide shipped with
the Power Injector for a description of the device’s LEDs.The Power Injector can be installed free
standing, on an even horizontal surface or wall mounted using the Power Injector’s wall mounting key
holes.
The following guidelines should be adhered to before cabling the Power Injector to an Ethernet source
and an access point:
• Do not block or cover airflow to the Power Injector.
• Keep the Power Injector away from excessive heat, humidity, vibration and dust.
• The Power Injector isn’t a repeater, and does not amplify the Ethernet signal. For optimal
performance, ensure the Power Injector is placed as close as possible to the Ethernet
switch. This will allow the AP-6511 to be deployed away from power drops.

AP-6511 Access Point Installation Guide
6
• Ensure the cable length from the Ethernet source (host) to the Power Injector and AP-6511
access point does not exceed 100 meters (333 ft).
2.5 Wall Mount Installation
To support wall mount installations, the metal mounting plate (provided with the AP-6511) is fastened
to a flat wall surface. The wall should be of gypsum board, plaster, wood or concrete in composition.
To install an AP-6511 model access point to a wall surface:
1. Attach the metal mounting plate (shipped with the AP-6511) to a wall surface at the desired
deployment location.
CAUTION To avoid problematic performance and restarts, disable POE from a
wired controller port connected to an access point if mid-span power
sourcing equipment (PSE) is used between the two, regardless of the
manufacturer.
CAUTION Ensure AC power is supplied to the Power Injector using an AC cable
with an appropriate ground connection approved for the country of
operation.
NOTE Motorola Solutions recommends the following customer supplied
mounting accessories an AP-6511 wall mount installation:
2, screws, #6 x 2.00 inch pan head
2, wall anchors suitable for the #6 screws
!
!

Hardware Installation 7
The screws used to mount the bracket are customer provided and should be #6, with a 2.00
inch length.
2. Connect one end of an RJ-45 cable into the wall mount connector on the AP-6511 as
illustrated below.

AP-6511 Access Point Installation Guide
8
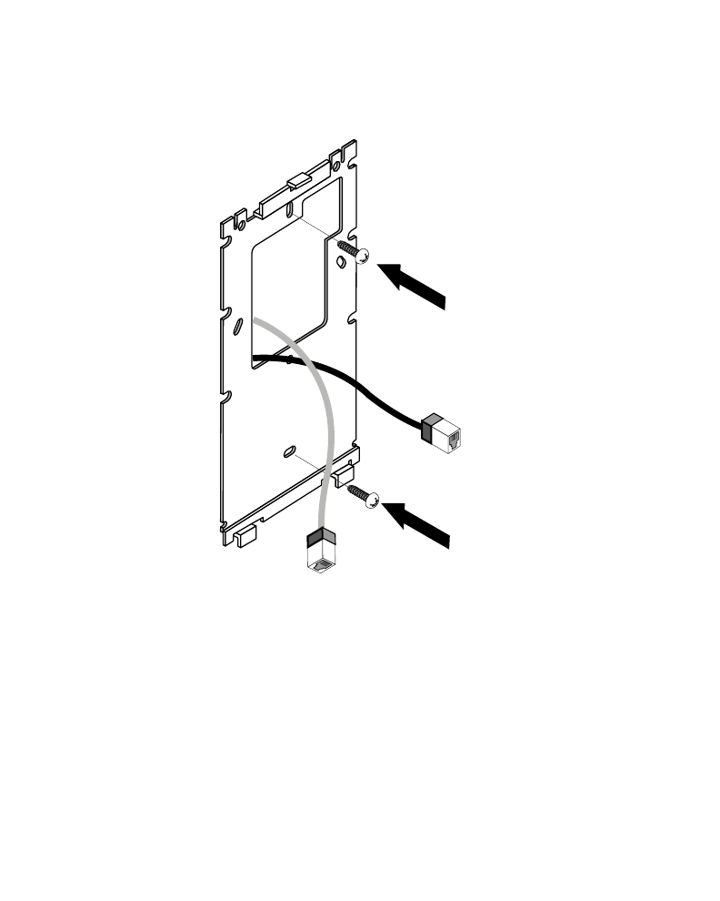
3. If using the optional second RJ-45 Ethernet port (utilizing a pass through keystone cable),
ensure the following steps are completed:
a. Bend the cable into a “U” shape so the mini pin connector and the RJ-45 keystone cable
are in close proximity to one another.
b. Install the mini pin connector into the pin socket on the back of the AP-6511. The
connector is keyed and can only be installed one way. Ensure the mini pin connector is
connected securely.
c. Remove the blank plug from the keystone hole by gently pushing it out from the back.
d. Orient the RJ-45 keystone connector so the flexible keystone tab is away from the mini
pin connector. Tip the keystone RJ-45 while installing in the keystone opening so the
solid locking tabs engage, then rotate the RJ-45 forward until the tab snaps securely.
4. Snap the AP-6511 on to the mounted wall plate. Use the locking screw to secure the unit.
This connection does not require the use of tools or fastening hardware.
Once installed, connections are hidden from forward view, with only the physical
infrastructure cables (Ethernet and power) extending from the AP-6511.

Hardware Installation 9
5. Cable the access point using a Power Injector solution (AP-PSBIAS-2P2-AFR) as described in
the following:
a. Connect an RJ-45 CAT5 Ethernet cable between the network data supply (host) and the
Power Injector’s Data In connector.
b. Connect an RJ-45 CAT5 Ethernet cable between the Power Injector’s Data & Power Out
connector and the AP-6511 access point.
c. Ensure the cable length from the Ethernet source (host) to the Power Injector and access
point does not exceed 100 meters (333 ft). The Power Injector has no On/Off power
switch. The Power Injector receives power as soon as AC power is applied. For more
information, see “Power Injector System” on page 5.
6. Verify the behavior of the AP-6511 access point LEDs. For more information, see “LED
Indicators” on page 14.
7. The AP-6511 is ready to configure. For information on basic access point device
configuration, see “Defining a Basic AP-6511 Configuration” on page 15.
2.6 Telco Box Installation
For Telco Box installations, the AP-6511 is installed directly over the standard wall plate supplying
Ethernet. All cabled electrical connections are mode within a recessed well in the housing of the
AP-6511 access point.
To install the AP-6511 access point over a Telco Box:

AP-6511 Access Point Installation Guide
10
1. Remove the cover of the CAT5 wall plate.
2. Snap out keystone connectors from existing plate.
NOTE The example above assumes the Telco Box has a 1 RJ11 phonejack and
1 RJ-45 10/100 Ethernet connection.

Hardware Installation 11
3. Gently pull some cable out of the wall so it can be used with the AP-6511 access point.
4. Attach the metal mounting plate (shipped with the AP-6511) to an existing standard Telco
in-wall box.
The screws used to mount the bracket to the Telco Box are customer provided. You can use
the same screws that covered the existing wall plate if necessary.
Mount the bracket to the wall so the Telco Box is ready available behind the mounting plate.
5. Remove the blank plug before installing the RJ11 into the snap-in port.

AP-6511 Access Point Installation Guide
12
6. Install the RJ11 (keystone style) connector into the AP-6511’s snap-in port.
7. If using the optional second RJ-45 Ethernet port (utilizing a pass through keystone cable),
ensure the following steps are completed:
a. Bend the cable into a “U” shape so the mini pin connector and the RJ-45 keystone cable
are in close proximity to one another.
b. Install the mini pin connector into the pin socket on the back of the AP-6511. The
connector is keyed and can only be installed one way. Ensure the mini pin connector is
connected securely.
c. Remove the blank plug from the keystone hole by gently pushing it out from the back.
d. Orient the RJ-45 keystone connector so the flexible keystone tab is away from the mini
pin connector. Tip the keystone RJ-45 while installing in the keystone opening so the
solid locking tabs engage, then rotate the RJ-45 forward until the tab snaps securely.
8. Install the RJ-45 double plug uplink jumper into the UP1/POE jack and connect it into the
RJ-45 Ethernet connector.
To PBX
RJ45 connector

Hardware Installation 13
9. Snap the AP-6511 on to the mounted wall plate and secure the AP-6511 using the mounting
plate lock screw. This connection does not require the use of tools or fastening hardware.
Once installed, no cables extend from the AP-6511 since they are hidden from view within
the Telco Box.
10. Cable the access point using a Power Injector solution (AP-PSBIAS-2P2-AFR) as described in
the following:
a. Connect an RJ-45 CAT5 Ethernet cable between the network data supply (host) and the
Power Injector’s Data In connector.
b. Connect an RJ-45 CAT5 Ethernet cable between the Power Injector’s Data & Power Out
connector and the AP-6511 access point.
c. Ensure the cable length from the Ethernet source (host) to the Power Injector and access
point does not exceed 100 meters (333 ft). The Power Injector has no On/Off power
switch. The Power Injector receives power as soon as AC power is applied. For more
information, see “Power Injector System” on page 5.
11. Verify the behavior of the AP-6511 access point LEDs. For more information, see “LED
Indicators” on page 14.
12. The AP-6511 is ready to configure. For information on basic access point device
configuration, see “Defining a Basic AP-6511 Configuration” on page 15.

AP-6511 Access Point Installation Guide
14
2.7 AP-6511 Antennas
The AP-6511 model access point contains two internal (embedded) dual-band antennas supporting
both the 802.11bgn (2.4 GHz) and 802.11an (5.0 GHz) bands. No customer assembly or antenna
orientation is required.
The AP-6511 radio can transmit on one or two antennas depending on the operating modes. The radio
can receive on one or two antennas as well. The data rates supported are different in each case.
2.8 LED Indicators
An AP-6511 model access point has two LED activity indicators on the front of the unit.
The LEDs provide a status display indicating error conditions, transmission, and network activity for
the 5 GHz 802.11a/n (amber) radio or the 2.4 GHz 802.11b/g/n (green) radio.
Task 5 GHz Activity LED (Amber) 2.4 GHz Activity LED (Green)
Unadopted Off Blinking 5 times per second
Normal
Operation
• If this radio band is enabled:
Blink at 5 second interval
• If this radio band is disabled:
Off
• If there is activity on this band:
Blink at a 1Hz
• If this radio band is enabled:
Blink at 5 second interval
• If this radio band is disabled:
Off
• If there is activity on this band:
Blink at a 1Hz
Firmware
Update
On Off
Locate AP
Mode
Blink at 5Hz
(Out of Phase with Activity LED)
Blink at 5Hz
(Out of Phase with Activity LED)

Defining a Basic AP-6511 Configuration 15
3 Defining a Basic AP-6511 Configuration
Once the access point is installed and powered on, complete the following steps to get the device up
and running using the Initial Setup Wizard and access the AP-6511’s management functions:
1. Connect one end of an Ethernet cable to the PoE port on the back of the AP-6511. Connect
the other end to a computer with a functional Web browser. Use a power injector as needed
to consolidate power and Ethernet in one cable (for more information, see “Power Injector
System” on page 5).
If your host system is a DHCP server, an IP address is automatically assigned to the AP-6511
and can be used for device connection. However, if a DHCP server is not available, you’ll
need to derive the IP address from the AP-6511 MAC address. Using this method, the last
two bytes of the AP-6511 MAC address become the last two octets of the IP address.
AP-6511 MAC address - 00:C0:23:00:F0:0A
AP-6511 IP address equivalent - 169.254.240.10
To derive the AP-6511’s IP address using its factory assigned MAC address:
a. Open the Windows calculator be selecting Start > All Programs > Accessories >
Calculator. This menu path may vary slightly depending on your version of Windows.
b. With the Calculator displayed, select View > Scientific. Select the Hex radio button.
c. Enter a hex byte of the AP-6511’s MAC address. For example, F0.
d. Select the Dec radio button. The calculator converts F0 into 240. Repeat this process for
the last AP-6511 MAC address octet.
2. Point the Web browser to the AP-6511’s IP address. The following login screen displays.

AP-6511 Access Point Installation Guide
16
3. Enter the default username admin in the Username field.
4. Enter the default password motorola in the Password field.
5. Click the Login button to load the management interface.
6. Select the Start Wizard button to run the initial setup wizard.
The setup wizard displays the first time the AP-6511 user interface is accessed in order to
define the AP-6511’s configuration.
7. If this is the first time the management interface has been accessed, a dialogue displays to
start the wizard. Select Start Wizard to run the wizard.
NOTE When logging in for the first time, you’re prompted to change the
password to enhance device security in subsequent logins.
NOTE If you get disconnected when running the wizard, you can connect again
with the access point’s actual IP address (once obtained) and resume the
wizard.

Defining a Basic AP-6511 Configuration 17
The first page of the Initial AP Setup Wizard displays the Navigation Panel and Introduction
for the configuration activities comprising the access point's initial setup
A green checkmark to the left of an item in the Navigation Panel defines the listed task as
having its minimum required configuration parameters set correctly. A red X defines the task
as still requiring at least one parameter be defined correctly.

AP-6511 Access Point Installation Guide
18
The Introduction screen displays a list of the basic configuration activities supported by the
Initial Setup Wizard.
8. Select Save/Commit within each page to save the updates made to that page's
configuration. Select Next to proceed to the next page listed in the Navigation Panel. Select
Back to revert to the previous screen in the Navigation Panel without saving your updates.
9. Select Next. The Initial AP Setup Wizard displays the Access Point Type screen to define
the access point's Standalone versus Virtual Controller AP functionality and the way the
access point is adopted to a controller.
NOTE While you can navigate to any page in the navigation panel, you cannot
complete the Initial AP Setup Wizard until each task in the Navigation
Panel has a green checkmark.

Defining a Basic AP-6511 Configuration 19
10. Select an Access Point Type from the following options:
•Virtual Controller AP - When more than one access point is deployed, a single access point can
function as a Virtual Controller AP. Up to 24 access points can be connected to, and managed by, a
single Virtual Controller AP of the same AP-6511 model.
•Standalone AP -Select this option to deploy this access point as an autonomous fat access point. A
Standalone AP isn't managed by a Virtual Controller AP, or adopted by a RFS series controller.
•Adopted to Controller - Select this option when deploying the access point as a controller managed
(Dependent mode) access point. Selecting this option closes the Initial AP Setup Wizard. An adopted
access point obtains its configuration from a profile stored on its managing controller. Any manual
configuration changes are overwritten by the controller upon reboot.
Select the Automatic controller discovery option to enable the access point to be discovered and
adopted using layer 2 settings. If preferring layer 3 adoption, select the Static Controller
Configuration option, and define the addresses of the preferred controllers. If using the static method,
NOTE If designating the access point as a Standalone AP, Motorola Solutions recommends
the access point’s UI be used exclusively to define its device configuration, and not
the CLI. The CLI provides the ability to define more than one profile and the UI does
not. Consequently, the two interfaces cannot be used collectively to manage profiles
without an administrator encountering problems.

AP-6511 Access Point Installation Guide
20
you’ll also need to define whether the access point receives an IP address using DHCP or
if IP resources are provided statically.
11. Select Next. The Initial AP Setup Wizard displays the Access Point Mode screen to define
the access point's routing or bridging mode functionality.

Defining a Basic AP-6511 Configuration 21
12. Select an Access Point Mode from the available options.
•Router Mode - In Router Mode, the access point routes traffic between the local network
(LAN) and the Internet or external network (WAN). Router mode is recommended in a
deployment supported by just a single access point.
•Bridge Mode - In Bridge Mode, the AP depends on an external router for routing LAN and
WAN traffic. Routing is generally used on one device, whereas bridging is typically used
in a larger network. Thus, select Bridge Mode when deploying this access point with
numerous peer APs supporting clients on both the 2.4 and 5GHz radio bands.
13. Select Next. The Initial AP Setup Wizard displays the LAN Configuration screen to set the
access point's LAN interface configuration.

AP-6511 Access Point Installation Guide
22
14. Set the following DHCP and Static IP Address/Subnet information for the LAN interface:
•Use DHCP - Select the checkbox to enable an automatic network address configuration
using the access point’s DHCP server. An AP-6511 access point does not have an onboard
DHCP server and an external DHCP server must be utilized.
•Static IP Address/Subnet - Enter an IP Address and a subnet for the access point's LAN
interface. If Use DHCP is selected, this field is not available. When selecting this option,
define the following DHCP Server and Domain Name Server (DNS) resources, as those
fields will become enabled on the bottom portion of the screen.
•Use on-board DHCP server to assign IP addresses to wireless clients -Select the
checkbox to enable the access point’s DHCP server to provide IP and DNS information
to clients on the LAN interface.
•Range - Enter a starting and ending IP Address range for client assignments on the
LAN interface. Avoid assigning IP addresses from x.x.x.1 - x.x.x.10 and x.x.x.255, as
they are often reserved for standard network services. This is a required parameter.

Defining a Basic AP-6511 Configuration 23
•Default Gateway - Define a default gateway address for use with the default
gateway. This is a required parameter.
•DNS Forwarding - Select this option to allow a DNS server to translate domain names
into IP addresses. If this option is not selected, a primary and secondary DNS resource
must be specified. DNS forwarding is useful when a request for a domain name is made
but the DNS server, responsible for converting the name into its corresponding IP
address, cannot locate the matching IP address.
•Primary DNS - Enter an IP Address for the main Domain Name Server providing DNS
services for the access point's LAN interface.
•Secondary DNS - Enter an IP Address for the backup Domain Name Server providing
DNS services for the access point's LAN interface
15. Select Next. The Initial AP Setup Wizard displays the WAN Configuration screen to set
the access point's WAN interface configuration.

AP-6511 Access Point Installation Guide
24
16. Set the following DHCP and Static IP Address/Subnet information for the WAN interface:
•Use DHCP - Select the checkbox to enable an automatic network address configuration
using the access point’s DHCP server.
•Static IP Address/Subnet - Enter an IP Address/Subnet and gateway for the access
point's WAN interface. These are required fields
•The port connected to the WAN - Select the port used as the physical access point
connection to the external network. This ports available differ depending on the access
point model deployed. Access point models with a single port have this option fixed.
•Enable NAT on the WAN Interface - Select the checkbox to allow traffic to pass between
the access point's WAN and LAN interfaces.
17. Select Next. The Initial AP Setup Wizard displays the Radio Configuration screen to
define support for the 2.4GHz radio band, 5GHz radio band or to set the radio's functionality
as a dedicated sensor. An AP-6511 is supports a single dual-band radio.
NOTE The ADSP Sensor Support field displays at the bottom of the screen
only if a radio has been dedicated as a sensor.

Defining a Basic AP-6511 Configuration 25
18. Set the following parameters for the radio:
•Configure as a Date Radio - Select this option to dedicate this radio for WLAN client support
in either the selected 2.4 or 5GHz radio band.
•Radio Frequency Band - Select either the 2.4GHz or 5.0GHz radio band to use with the
radio when selected as a Data Radio. The selected band is used for WLAN client support.
Considers selecting one radio for 2.4GHz and another for 5GHz support (if using a dual or
three radio model) when supporting clients in both the 802.11bg and 802.11n bands.
•Power Level - Use the spinner control to select a 1 - 23 dBm minimum power level to
assign to this radio in selected 2.4 or 5.0 GHz band. 1 dBm is the default setting.
•Channel Mode - Select either Random, Best or Static. Select Random for use with a
802.11a/n radio. To comply with Dynamic Frequency Selection (DFS) requirements in the
European Union, the 802.11a/n radio uses a randomly selected channel each time the
access point is powered on.
Select Best to enable the access point to scan non-overlapping channels and listen for

AP-6511 Access Point Installation Guide
26
beacons from other access points. After the channels are scanned, it will select the
channel with the fewest access points. In the case of multiple access points on the
same channel, it will select the channel with the lowest average power level. When
Constantly Monitor is selected, the access point will continuously scan the
network for excessive noise and sources of interference. Select Static to assign the
access point a permanent channel and scan for noise and interference only when
initialized.
•Configure as a Sensor Radio - Select this option to dedicate the radio to sensor support
exclusively. When functioning as a sensor, the radio scans in sensor mode across all
channels within the 2.4 and 5.0GHz bands to identify potential threats within the access
point managed network. If dedicating a radio as a sensor resource, a primary and
secondary ADSP server must be specified as an ADSP management resource.
•Disable the Radio - Select this option to disable this radio, thus prohibiting it from either
providing WLAN or sensor support. Verify this course action with your network
administrator before rendering the radio offline.
19. Select Next. The Initial AP Setup Wizard displays the Wireless LAN Setting screen to
define network address and security settings for two WLAN configurations available to the
access point as part of the Initial Setup Wizard. Once the access point has an initial
configuration defined, numerous additional WLAN configurations can be set.
NOTE If configuring an AP-6511 model access point as a sensor, the access
point will require a reboot before its sensor functionality is invoked. The
reboot can take place at the completion of the Initial Setup Wizard.

Defining a Basic AP-6511 Configuration 27
20. Set the following parameters for each of the two WLAN configurations available as part of
this Initial AP Setup Wizard:
•SSID - Enter or modify the Services Set Identification (SSID) associated with the WLAN.
The WLAN name is auto-generated using the SSID until changed by the user. The
maximum number of characters is 32. Do not use < > | “ & \ ? , This is a required
parameter for each WLAN.
•WLAN Type - Set the data protection scheme used by clients and access points within
the WLAN. The following options are available:
•No Authentication and no Encryption - Select this option to provide no security
between the access point and connected clients on this WLAN.
•Captive Portal Authentication and No Encryption - Select this option to use a Web
page (either internally or externally hosted) to authenticate users before access is
granted to the network. If using this option, define whether a local or external
RADIUS authentication resource is used.
•PSK Authentication and WPA2 Encryption - Select the option to implement a pre-
shared key that must be correctly shared between the access point and requesting
clients using this WLAN. If using this option, specify a WPA key in either ASCII (8-63
characters) or HEX (64 characters) format.

AP-6511 Access Point Installation Guide
28
•EAP Authentication and WPA2 Encryption - Select this option to authenticate clients
within this WLAN through the exchange and verification of certificates. If using this
option, define whether a local or external RADIUS authentication resource is used.
•WPA Key - If a WPA key is required (PSK Authentication and WPA2 Encryption), enter an
alphanumeric string of 8 to 63 ASCII characters or 64 HEX characters as the primary
string both transmitting and receiving authenticators must share. The alphanumeric
string allows character spaces. This passphrase saves the administrator from entering
the 256-bit key each time keys are generated.
•RADIUS Server - If the WLAN type requires a RADIUS server to validate user credentials,
designate whether the access point is using an External RADIUS Server resource or
the access point's own Onboard RADIUS Server. If using an external RADIUS server
resource, provide the IP address of the external server and the shared secret used to
authenticate the request.
21. Select Next. The Initial AP Setup Wizard displays the RADIUS Server Configuration
screen if the access point’s onboard RADIUS server is required to validate user requests. If
an onboard RADIUS server is not required, the Initial AP Setup Wizard displays the
Country/Date/Time screen to set device deployment, administrative contact and system
time information.
NOTE If using the access point’s onboard RADIUS server, an additional RADIUS
Server Configuration screen displays within the Navigation Panel on
the left-hand side of the screen. Use this screen to create user accounts
validated when the access point authenticates client connection requests
to the onboard RADIUS server.

Defining a Basic AP-6511 Configuration 29
22. Refer to the Username, Password, Description and Actions columns to review credentials of
existing RADIUS Server user accounts. Add new accounts or edit the properties of existing
accounts as updates are required.
23. Refer to the Add On-Board RADIUS Server Users field to set the following parameters
for a user account:
•Username - If adding a new user account, create a username up to X characters in
length. The username cannot be revised if modifying the user configuration. This is a
required parameter.
•Password - Provide (or modify) a password between X - X characters in length entered
each time a requesting client attempts access to the AP managed network using the
access point's onboard RADIUS server. This is a required parameter.

AP-6511 Access Point Installation Guide
30
•Confirm Password - Re-enter (or modify) the password as a means of confirming the
password. This is a required parameter.
•Description - Optionally provide a description of the user account as means of further
differentiating it from others.
24. When completed, select Add User to commit a new user, Modify User to commit a
modified user or Reset to clear the screen without updating the configuration. Selecting
Reset clears the field of all entered user account information.
25. Select Next. The Initial AP Setup Wizard displays the Country/Date/Time screen to set
device deployment, administrative contact and system time information. The system time
can either be set manually or be supplied by a dedicated Network Time Protocol (NTP)
resource.

Defining a Basic AP-6511 Configuration 31
26. Refer to the Country and Time Zone field to set the following device deployment
information:
•Location - Define the location of the access point. The Location parameter acts as a
reminder of where the AP can be located within the Motorola Solutions managed
wireless network.
•Contact - Specify the contact information for the administrator. The credentials provided
should accurately reflect the individual responding to service queries.
•Country - Select the Country where the access point is deployed. The access point
prompts for the correct country code on the first login. A warning message also displays
stating an incorrect country setting may result in illegal radio operation. Selecting the
correct country is central to legal operation. Each country has its own regulatory
restrictions concerning electromagnetic emissions and the maximum RF signal strength
that can be transmitted. This is a required parameter.
•Time Zone - Set the time zone where the access point is deployed. This is a required
parameter. The setting should be complimentary with the selected deployment country.
27. If an NTP resource is unavailable, set the System Date and Time (calendar date, time and
AM/PM designation).
28. Optionally enter the IP address of a server used to provide system time to the access point.
Once the IP address is entered, the Network Time Protocol (NTP) functionality is
engaged automatically for synchronization with the NTP resource.
29. If an NTP resource is unavailable, set the System Date and Time (calendar date, time and
AM/PM designation).
30. Optionally enter the IP address of a server used to provide system time to the access point.
Once the IP address is entered, the Network Time Protocol (NTP) functionality is
engaged automatically for synchronization with the NTP resource.
31. Select Next. The Initial AP Setup Wizard displays the Summary and Commit screen to
summarize the screens (pages) and settings updated using the Initial AP Setup Wizard.
There's no user intervention or additional settings required within this screen. Its an
additional means of validating the configuration before its deployed. However, if a screen
displays settings not intended as part of the initial configuration, the screen can be selected
from within the Navigation Panel and its settings modified accordingly.

AP-6511 Access Point Installation Guide
32
If the configuration displays as intended, select the Save/Commit button to implement
these settings to the access point’s configuration. If additional changes are warranted based
on the summary, either select the target page from the Navigational Panel, or use the Back
and Next buttons to scroll to the target screen
For advanced configuration information beyond the scope of this AP-6511 Installation Guide,
refer to the Motorola Wireless Services Controller System Reference Guide, available at
http://support.symbol.com/support/product/manuals.do.

Specifications 33
4 Specifications
4.1 Electrical Characteristics
An AP-6511 model access point has the following electrical characteristics:
4.2 Physical Characteristics
An AP-6511 model access point has the following physical characteristics:
Operating Current &
Voltage
250mA@48VDC
Dimensions 2.75 width x 5 height x 1.25 deep (Inches)
6.985 width x 12.7 height x 3.175 deep (centimeters)
Housing Plastic and metal
Weight 0.5 lbs (with mounting plate)
Operating
Temperature
32°F to 104°F/0°C to 40°C
Storage Temperature -40°F to 158°F/-40°C to 85°C
Operating Humidity 5 to 95% Relative Humidity non-condensing
Storage Humidity 95% Relative Humidity non-condensing
Operating Altitude
(max)
8,000 ft @ 28°C
Storage Altitude
(max)
30,000 ft @ 12°C
Electrostatic
Discharge
+/-15kV Air and +/-8kV Contact @ 50% Relative Humidity

AP-6511 Access Point Installation Guide
34
4.3 Radio Characteristics
An AP-6511 model access point has the following radio characteristics:
Operating Channels 2.4 GHz - Channels 1-13
5 GHz - Channels 36-64; channels 100 - 165
Actual operating frequencies depend on regulatory approval for the
country of use.
Data Rates Supported 802.11b: 1Mbps, 2Mbps, 5.5Mbps and 11Mbps
802.11g: 6Mbps, 9Mbps, 12Mbps, 18Mbps, 24Mbps, 36MBps,
48Mbps and 54Mbps
802.11n: MCS0 through MCS15, HT20 and HT40
Wireless Medium Direct Sequence Spread Spectrum (DSSS),
Orthogonal Frequency Division Multiplexing (OFDM)
Spatial multiplexing (MIMO)
Network Standards 802.11a, 802.11b, 802.11g, 802.3, 802.11n
Typical Transmit
Power Per Antenna
2.4G: +24dBm max
5.2G: +22dBm max
Transmit Power
Adjustment
1dB increments

Regulatory Information 35
5 Regulatory Information
5.1 Regulatory Overview
This device is approved under the Motorola brand.
This guide applies to Model Number AP-6511.
All Motorola/Symbol devices are designed to be compliant with rules and regulations in locations
they are sold and will be labeled as required.
Local language translations are available at the following website: http://support.symbol.com
Any changes or modifications to Motorola/Symbol Technologies equipment, not expressly approved
by Motorola/Symbol Technologies, could void the user’s authority to operate the equipment.
Motorola/Symbol Access Points must be professionally installed and configured so that the Radio
Frequency Output Power will not exceed the maximum allowable limit for the country of operation.
Antennas: Use only the supplied or an approved replacement antenna. Unauthorized antennas,
modifications, or attachments could cause damage and may violate regulations. Use of an
unapproved antenna is illegal under FCC regulations subjecting the end user to fines and equipment
seizure.
5.2 Wireless Device Country Approvals
Regulatory markings, subject to certification, are applied to the device signifying the radio(s) is/are
approved for use in the following countries: United States, Canada, Japan, China, S. Korea, Australia,
and Europe.
Please refer to the Declaration of Conformity (DoC) for details of other country markings. This is
available at
http://www.motorola.com/Business/US-EN/Document+Library/Declaration+of+Conformity
Note: For 2.4GHz or 5GHz Products: Europe includes, Austria, Belgium, Bulgaria, Czech Republic,
Cyprus, Denmark, Estonia, Finland, France, Germany, Greece, Hungary, Iceland, Ireland, Italy, Latvia,
Liechtenstein, Lithuania, Luxembourg, Malta, Netherlands, Norway, Poland, Portugal, Romania,
Slovak Republic, Slovenia, Spain, Sweden, Switzerland and the United Kingdom.
Operation of the device without regulatory approval is illegal.

AP-6511 Access Point Installation Guide
36
5.2.1 Country Selection – Note for AP & Wireless Controller
Select only the country in which you are using the device. Any other selection will make the operation
of this device illegal. The US version of the Access Point will only have US listed in the country
selection table. The US version will be sold / used in the US protectorates: American Samoa, Guam,
Puerto Rico, US Virgin Islands.
5.2.2 Frequency of Operation – FCC and IC
5 GHz Only
The use on UNII (Unlicensed National Information Infrastructure) Band 1 5150-5250 MHz is restricted
to indoor use only, any other use will make the operation of this device illegal.
Industry Canada Statement:
Caution: The device for the band 5150-5250 MHz is only for indoor usage to reduce potential for
harmful interference to co-Channel mobile satellite systems. High power radars are allocated as
primary users (meaning they have priority) of 5250-5350 MHz and 5650-5850 MHz and these radars
could cause interference and/or damage to LE-LAN devices.
Avertissement: Le dispositive fonctionnant dans la bande 5150-5250 MHz est réservé uniquement
pour une utilisation à l'intérieur afin de réduire les risques de brouillage préjudiciable aux systèmes
de satellites mobiles utilisant les mêmes canaux. Les utilisateurs de radars de haute puissance sont
désignés utilisateurs principaux (c.-à-d., qu'ils ont la priorité) pour les bands 5250-5350 MHz et 5650-
5850 MHz et que ces radars pourraient causer du brouillage et/ou des dommages aux dispositifs
LAN-EL.
2.4 GHz Only
The available channels for 802.11 b/g operation in the US are Channels 1 to 11. The range of channels
is limited by firmware.
5.3 Health and Safety Recommendations
5.3.1 Warnings for the use of Wireless Devices
Please observe all warning notices with regard to the usage of wireless devices
5.3.2 Potentially Hazardous Atmospheres – Fixed Installations
You are reminded of the need to observe restrictions on the use of radio devices in fuel depots,
chemical plants etc. and areas where the air contains chemicals or particles (such as grain, dust, or
metal powders).

Regulatory Information 37
5.3.3 Safety in Hospitals
Wireless devices transmit radio frequency energy and may affect medical electrical equipment.
When installed adjacent to other equipment, it is advised to verify that the adjacent equipment is not
adversely affected.
Pacemakers
Pacemaker manufacturers recommended that a minimum of 15cm (6 inches) be maintained between
a handheld wireless device and a pacemaker to avoid potential interference with the pacemaker.
These recommendations are consistent with independent research and recommendations by
Wireless Technology Research.
Persons with Pacemakers:
• Should ALWAYS keep the device more than 15cm (6 inches) from their pacemaker when
turned ON.
• Should not carry the device in a breast pocket.
• Should use the ear furthest from the pacemaker to minimize the potential for interference.
• If you have any reason to suspect that interference is taking place, turn OFF your device.
Other Medical Devices
Please consult your physician or the manufacturer of the medical device, to determine if the operation
of your wireless product may interfere with the medical device.
5.4 RF Exposure Guidelines
5.4.1 Safety Information
Reducing RF Exposure—Use Properly
Only operate the device in accordance with the instructions supplied.
5.5 International
The device complies with internationally recognized standards covering human exposure to
electromagnetic fields from radio devices. For information on “International” human exposure to
eletromagnic fields refer to the Motorola/Symbol Declaration of Conformity (DoC) at
http://www.motorola.com/Business/US-EN/Document+Library/Declaration+of+Conformity

AP-6511 Access Point Installation Guide
38
5.6 EU
Remote and Standalone Antenna Configurations
To comply with EU RF exposure requirements, antennas that are mounted externally at remote
locations or operating near users at stand-alone desktop of similar configurations must operate with
a minimum separation distance of 20 cm from all persons.
5.7 US and Canada
Co-located statement
To comply with FCC RF exposure compliance requirement, the antennas used for this transmitter must
not be co-located or operating in conjunction with any other transmitter/antenna except those
already approved in this filling.
Remote and Standalone Antenna Configurations
To comply with FCC RF exposure requirements, antennas that are mounted externally at remote
locations or operating near users at stand-alone desktop of similar configurations must operate with
a minimum separation distance of 20 cm from all persons.
5.8 Power Supply
This device is powered from a 802.3af compliant power source which is UL approved and certified by
the appropriate agencies.
5.9 Radio Frequency Interference Requirements—FCC
This equipment has been tested and found to comply with the limits for a Class B
digital device, pursuant to Part 15 of the FCC rules. These limits are designed to
provide reasonable protection against harmful interference in a residential
installation. This equipment generates, uses and can radiate radio frequency energy
and, if not installed and used in accordance with the instructions, may cause harmful interference to
radio communications. However there is no guarantee that interference will not occur in a particular
installation. If this equipment does cause harmful interference to radio or television reception, which
can be determined by turning the equipment off and on, the user is encouraged to try to correct the
interference by one or more of the following measures:
• Increase the separation between the equipment and receiver
• Connect the equipment into an outlet on a circuit different from that to which the receiver
is connected
• Consult the dealer or an experienced radio/TV technician for help

Regulatory Information 39
Radio Transmitters (Part 15)
This device complies with Part 15 of the FCC Rules. Operation is subject to the following two
conditions: (1) this device may not cause harmful interference, and (2) this device must accept any
interference received, including interference that may cause undesired operation.
Restricted Band 5.60 – 5.65 GHz
5.10 Radio Frequency Interference Requirements – Canada
This Class B digital apparatus complies with Canadian ICES-003.
Cet appareil numérique de la classe B est conforme à la norme NMB-003 du Canada.
5.10.1 Radio Transmitters
For RLAN Devices:
The use of 5 GHz RLAN’s, for use in Canada, have the following restrictions:
• Restricted Band 5.60 – 5.65 GHz
L'utilisation de RLAN de 5 GHz, pour utilisation au Canada est soumise aux restrictions suivantes:
• Bande Restreinte de 5,60 à 5,65 GHz
This device complies with RSS 210 of Industry & Science Canada. Operation is subject to the
following two conditions: (1) this device may not cause harmful interference and (2) this device must
accept any interference received, including interference that may cause undesired operation.
Ce dispositif est conforme à la norme CNR-210 d'Industrie Canada applicable aux appareils radio
exempts de licence. Son fonctionnement est sujet aux deux conditions suivantes: (1) le dispositif ne
doit pas produire de brouillage préjudiciable, et (2) ce dispositif doit accepter tout brouillage reçu, y
compris un brouillage susceptible de provoquer un fonctionnement indésirable
Label Marking: The Term "IC:" before the radio certification only signifies that Industry Canada
technical specifications were met.
5.11 CE Marking and European Economic Area (EEA)
The use of 2.4 GHz RLAN’s, for use through the EEA, have the following restrictions:
• Maximum radiated transmit power of 100 mW EIRP in the frequency range 2.400 -2.4835
GHz.
• France, outside usage is restricted to 2.4 – 2.454 GHz.
• Italy requires a user license for outside usage.

AP-6511 Access Point Installation Guide
40
5.12 Mexico
"La operación de este equipo está sujeta a lassiguientes dos condiciones: (1) es posible que este
equipo o dispositivo no cause interferencia perjudicialy (2) este equipo o dispositivo debe aceptar
cualquierinterferencia, incluyendo la que pueda causar suoperación no deseada."
5.13 Statement of Compliance
Motorola/Symbol hereby, declares that this device is in compliance with the essential requirements
and other relevant provisions of Directive 1999/5/EC. A Declaration of Conformity may be obtained
from http://www.motorola.com/Business/US-EN/Document+Library/Declaration+of+Conformity.

Regulatory Information 41
5.14 Waste Electrical and Electronic Equipment (WEEE)
English: For EU Customers: All products at the end of their life must be returned to Symbol for
recycling. For information on how to return product, please go to:
http://www.symbol.com/environmental_compliance.
Dansk: Til kunder i EU: Alle produkter skal returneres til Symbol til recirkulering, når de er
udtjent. Læs oplysningerne om returnering af produkter på: http://www.symbol.com/
environmental_compliance.
Deutsch: Für Kunden innerhalb der EU: Alle Produkte müssen am Ende ihrer Lebensdauer zum
Recycling an Symbol zurückgesandt werden. Informationen zur Rücksendung von Produkten
finden Sie unter http://www.symbol.com/environmental_compliance.
Eesti: EL klientidele: kõik tooted tuleb nende eluea lõppedes tagastada taaskasutamise
eesmärgil Symbol'ile. Lisainformatsiooni saamiseks toote tagastamise kohta külastage palun
aadressi: http://www.symbol.com/environmental_compliance.
Español: Para clientes en la Unión Europea: todos los productos deberán entregarse a Symbol
al final de su ciclo de vida para que sean reciclados. Si desea más información sobre cómo
devolver un producto, visite: http://www.symbol.com/environmental_compliance.
Français : Clients de l'Union Européenne : Tous les produits en fin de cycle de vie doivent être
retournés à Symbol pour recyclage. Pour de plus amples informations sur le retour de produits,
consultez : http://www.symbol.com/environmental_compliance.
Italiano: per i clienti dell'UE: tutti i prodotti che sono giunti al termine del rispettivo ciclo di
vita devono essere restituiti a Symbol al fine di consentirne il riciclaggio. Per informazioni sulle
modalità di restituzione, visitare il seguente sito Web: http://www.symbol.com/
environmental_compliance.
Magyar: Az EU-ban vásárlóknak: Minden tönkrement terméket a Symbol vállalathoz kell
eljuttatni újrahasznosítás céljából. A termék visszajuttatásának módjával kapcsolatos
tudnivalókért látogasson el a http://www.symbol.com/environmental_compliance weboldalra

AP-6511 Access Point Installation Guide
42
5.15 TURKISH WEEE Statement of Compliance
EEE Yönetmeliğine Uygundur
5.16 Japan (VCCI) - Voluntary Control Council for Interference Class B
ITE
This is a Class B product based on the standard of the Voluntary Control Council for Interference from
Information Technology Equipment (VCCI). If this is used near a radio or television receiver in a
domestic environment, it may cause radio interference. Install and use the equipment according to
the instruction manual.
この装置は、情報処理装置等電波障害自主規制協議会 (VCCI)の基準に基づくク
ラス B情報技術装置です。この装置は、家庭環境で使用することを目的としています
が、この装置がラジオやテレビジョン受信機に近接して使用されると、受信障害を引
き起こすことがあります。 取扱説明書に従って正しい取り扱いをして下さい。
Nederlands: Voor klanten in de EU: alle producten dienen aan het einde van hun levensduur
naar Symbol te worden teruggezonden voor recycling. Raadpleeg http://www.symbol.com/
environmental_compliance voor meer informatie over het terugzenden van producten.
Português: Para clientes da UE: todos os produtos no fim de vida devem ser devolvidos à
Symbol para reciclagem. Para obter informações sobre como devolver o produto, visite: http:/
/www.symbol.com/environmental_compliance.
Slovenski: Za kupce v EU: vsi izdelki se morajo po poteku življenjske dobe vrniti podjetju
Symbol za reciklažo. Za informacije o vraèilu izdelka obišèite: http://www.symbol.com/
environmental_compliance.
Suomi: Asiakkaat Euroopan unionin alueella: Kaikki tuotteet on palautettava kierrätettäväksi
Symbol-yhtiöön, kun tuotetta ei enää käytetä. Lisätietoja tuotteen palauttamisesta on
osoitteessa http://www.symbol.com/environmental_compliance.

Regulatory Information 43
5.17 Korea Warning Statement for Class B ITE
5.18 Other Countries
5.18.1 Australia
Use of 5 GHz RLAN’s in Australia is restricted in the following band 5.50 – 5.65 GHz.
5.18.2 Brazil
Regulatory declarations for AP-6511 - BRAZIL
Note: The certification mark applied to the AP-6511 is for Restrict Radiation Equipment. This
equipment operates on a secondary basis and does not have the right for protection against harmful
interference from other users including same equipment types. Also this equipment must not cause
interference to systems operating on primary basis.
For more information consult the website http://www.anatel.gov.br
Declarações Regulamentares para AP-6511 - Brasil
Nota: "A marca de certificação se aplica ao Transceptor, modelo AP-650. Este equipamento opera em
caráter secundário, isto é, não tem direito a proteção contra interferência prejudicial, mesmo de
estações do mesmo tipo, e não pode causar interferência a sistemas operando em caráter primário.”
Para maiores informações sobre ANATEL consulte o site: http://www.anatel.gov.br
5.18.3 Chile
“Este equipo cumple con la Resolución No 403 de 2008, de la Subsecretaria de telecomunicaciones,
relativa a radiaciones electromagnéticas.”.
"This device complies with the Resolution Not 403 of 2008, of the Undersecretary of
telecommunications, relating to electromagnetic radiation.”
기 종 별 사 용 자 안 내 문
B급 기기
( 가정용 방송통신기기 )
이 기기는 가정용 (B 급 ) 으로 전자파적합등록을
한 기기로서 주로 가정에서 사용하는 것을 목적
으로 하며 , 모든 지역에서 사용할 수 있습니다 .
Class B (Broadcasting
Communication Device for Home
Use)
This device obtained EMC registration mainly for home use
(Class B) and may be used in all areas.

AP-6511 Access Point Installation Guide
44
5.18.4 Mexico
Restrict Frequency Range to: 2.450 – 2.4835 GHz.
5.18.5 Taiwan
NOTICE!
According to: Administrative Regulations on Low Power Radio Waves Radiated Devices
Article 12
Without permission granted by the DGT, any company, enterprise, or user is not allowed to change
frequency, enhance transmitting power or alter original characteristic as well as performance to an
approved low power radio-frequency devices.
Article 14
The low power radio-frequency devices shall not influence aircraft security and interfere legal
communications; If found, the user shall cease operating immediately until no interference is
achieved.
The said legal communications means radio communications is operated in compliance with the
Telecommunications Act.
The low power radio-frequency devices must be susceptible with the interference from legal
communications or ISM radio wave radiated devices.
臺灣
低功率電波輻射性電機管理辦法
第十二條
經型式認證合格之低功率射頻電機,非經許可,公司、商號或使用者均不得擅自
變更頻率、加大功率或變更原設計之特性及功能。
第十四條
低功率射頻電機之使用不得影響飛航安全及干擾合法通信;經發現有干擾現象
時,應立即停用,並改善至無干擾時方得繼續使用。
前項合法通信,指依電信規定作業之無線電通信。
低功率射頻電機須忍受合法通信或工業、科學及醫療用電波輻射性電機設備之干
擾。

Regulatory Information 45
Wireless device operate in the frequency band of 5.25-5.35 GHz, limited for Indoor use only.
5.18.6 Korea
For radio equipment using 2400~2483.5MHz or 5725~5825MHz, the following expressions should be
displayed:
1. “This radio equipment can be interfered with during operation.”
2. “This radio equipment cannot provide a service relevant to human life safety, as it can be
crossed” through the user manual, etc.
在 5.25-5.35 赫頻帶內操作之無線資訊傳輸設備,限於室內使用。
당해 무선설비는 운용 중 전파혼신 가능성이 있음
당해 무선설비 는전파혼 신 가능성이 있으므로 인명안전과 관련된 서비스는 할 수 없습니다

AP-6511 Access Point Installation Guide
46
6 Motorola’s Enterprise Mobility Support Center
If you have a problem with your equipment, contact Enterprise Mobility support for your region.
Contact information is available by visiting http://www.motorola.com/customersupport and after
selecting your region, click on the appropriate link under Support for Business.
When contacting Enterprise Mobility support, please provide the following information:
• Serial number of the unit
• Model number or product name
• Software type and version number
Motorola responds to calls by email, telephone or fax within the time limits set forth in support
agreements. If you purchased your Enterprise Mobility business product from a Motorola business
partner, contact that business partner for support.
6.1 Customer Support Web Sites
Motorola's Support Central Web site, located at http://www.motorola.com/customersupport
provides information and online assistance including developer tools, software downloads, product
manuals and online repair requests.
6.2 Manuals
http://support.symbol.com/support/product/manuals.do

MOTOROLA INC.
1303 E. ALGONQUIN ROAD
SCHAUMBURG, IL 60196
http://www.motorola.com
72-145343-01 Revision B
May 2012