Zebra Technologies P430I-UHF Thermal Card Printer User Manual P430i UM
Zebra Technologies Corporation Thermal Card Printer P430i UM
Contents
- 1. User Manual Part 1 of 2
- 2. User manual Part 2 of 2
- 3. user manaul part 1 of 2
- 4. user manual part 2 of 2
user manaul part 1 of 2

980470-001 Rev. A
User’s Manual
Zebra® P430i
Card Printer

Dual-Sided Color

980470-001 Rev. B P430i User’s Manual i
Foreword
This manual contains installation and operation information for the Zebra P430i Card Printers manufactured by
Zebra Technologies Corporation, Camarillo, California.
Return Materials Authorization
Before returning any equipment to Zebra Technologies Corporation for in-warranty or out-of-warranty repair,
contact Repair Administration for a Return Materials Authorization (RMA) number. Repack the equipment in
the original packing material and mark the RMA number clearly on the outside. Ship the equipment, freight
prepaid, to the address listed below:
• For USA, Latin America, and Asia / Pacific:
Zebra Technologies Corporation
Zebra Card Printer Solutions
1001 Flynn Road
Camarillo, CA. 93012-8706.USA
Phone: +1 (805) 578-5001
FAX: +1 (805) 579-1808
• For Europe and Middle East:
Zebra Technologies Corporation
Zebra Card Printer Solutions
Pittman Way, Fulwood
Preston, PR2 9ZD
Lancashire, U.K.
Phone: +44 - 1 - 772 - 797555
FAX: +44 - 1 - 772 - 693000

ii P430i User’s Manual 980470-001 Rev. B
Foreword
Copyright Notice
© 2006 ZIH Corp.
This document contains information proprietary to Zebra Technologies Corporation. This document and the
information contained within is Copyrighted by Zebra Technologies Corporation and may not be duplicated in
full or in part by any person without written approval from Zebra. While every effort has been made to keep the
information contained within current and accurate as of the date of publication, no guarantee is given that the
document is error-free or that it is accurate with regard to any specification. Zebra reserves the right to make
changes, for the purpose of product improvement, at any time.
Trademarks
P430i is a trademark and Zebra is a registered trademark of Zebra Technologies Corporation. Windows and
MS.DOS are registered trademarks of Microsoft Corp. All other trademarks or registered trademarks are marks
of their respective holders.
Product Disposal
Product Disposal Information • Do not dispose of this product in unsorted municipal
waste. This product is recyclable, and should be recycled according to your local
standards. For more information, please see our web site at:
http://www.zebra.com/environment

Foreword
980470-001 Rev. B P430i User’s Manual v
EUROPE: Norway Only: This product is also designed for IT power system with phase to phase
voltage 230V. Earth grounding is via the polarized, 3-wire power cord.
FI: “Laite on liitettävä suojamaadoitus koskettimilla varustettuun pistorasiaan”
SE: “Apparaten skall anslutas till jordat uttag”
NO: “Apparatet må tilkoples jordet stikkontakt”
FCC Regulations
Note: This equipment has been tested and found to comply with the limits
for a Class B digital device, pursuant to part 15 of the FCC Rules. These
limits are designed to provide reasonable protection against harmful
and can radiate radio frequency energy and, if not installed and used in
accordance with the instructions, may cause harmful interference to radio
communications. However, there is no guarantee that interference will not
occur in a particular installation. If this equipment does cause harmful
interference to radio or television reception, which can be determined by
turning the equipment off and on, the user is encouraged to try to correct
the interference by one or more of the following measures:
—Reorient or relocate the receiving antenna.
—Increase the separation between the equipment and receiver.
—Connect the equipment into an outlet on a circuit different from that to
which the receiver is connected.
—Consult the dealer or an experienced radio/TV technician for help.
Pursuant to Part 15.21 of the FCC Rules, any changes or modifications to this equipment not
expressly approved by Zebra may cause harmful interference and void the FCC authorization
to operate this equipment.
FCC Radiation Exposure Statement (applicable to 15.247 device only)
This equipment complies with FCC radiation exposure limits set forth for an uncontrolled
environment. This equipment should be installed and operated with minimum 20 cm between
the radiator and your body. This transmitter must not be collocated or operating in conjunction
with any other antenna or transmitter unless authorized to do so by the FCC.
Industry Canada Notice
This device complies with Industry Canada ICES-003 requirements.
Cet equipement est conforme a l’ICES-003 de la norm Industrielle Canadian.

iv P430i User’s Manual 980470-001 Rev. B
Foreword
P430i Printer Model
The Zebra Product Number tells a story:
Here is a quick review of the Zebra Card Printer Series numbering and lettering system to help you.
Model numbers include identifiers that specify options using the following lettering conventions:
Icons
Throughout this manual, different icons highlight important information, as follows:
Part Number Description
P 4 3 0 i - _ _ _ _ _ - _ _ _ Base Printer
P430i Color Card Printer
_ _ _ _ _ - 0 _ _ _ _ - _ _ _
_ _ _ _ _ - B _ _ _ _ - _ _ _
_ _ _ _ _ - C _ _ _ _ - _ _ _
_ _ _ _ _ - D _ _ _ _ - _ _ _
_ _ _ _ _ - E _ _ _ _ - _ _ _
_ _ _ _ _ - F _ _ _ _ - _ _ _
_ _ _ _ _ - H _ _ _ _ - _ _ _
Smart Card Options
None
Contact Encoder
Contact encoder & HID iCLASS
Contact encoder & MIFARE contactless
Contact station
HID iCLASS
MIFARE contactless
_ _ _ _ _ - _ 0 _ _ _ - _ _ _
_ _ _ _ _ - _ M _ _ _ - _ _ _
Magnetic Encoder
None
Yes (select defaults below)
_ _ _ _ _ - _ _ 0 _ _ - _ _ _
_ _ _ _ _ - _ _ 1 _ _ - _ _ _
_ _ _ _ _ - _ _ 3 _ _ - _ _ _
Magnetic Encoder Defaults
None
Stripe Down, HiCo
Stripe Up, HiCo
_ _ _ _ _ - _ _ _ 0 _ - _ _ _
Memory Expansion
None
_ _ _ _ _ - _ _ _ _ A - _ _ _
_ _ _ _ _ - _ _ _ _ C - _ _ _
Interface
USB Only
USB and Ethernet
_ _ _ _ _ - _ _ _ _ _ - I _ _
_ _ _ _ _ - _ _ _ _ _ - U _ _
Power Cords
U. S. and Europe
U. K. and Australia
_ _ _ _ _ - _ _ _ _ _ - _ D 0
Windows Drivers and User Documentation / Training CD
Windows Drivers and User Documentation / Training
included on one CD (Software & Documentation Package)
which contains Multi-language documentation

Foreword
980470-001 Rev. B P430i User’s Manual v
Note • Indicates information that emphasizes or supplements important points of the main
text.
Important • Advises you of information that is essential to complete a task, or points out the
importance of specific information in the text.
Provides an example or scenario to demonstrate or clarify a section of text.
Electrostatic Discharge Caution • Warns you of the potential for electrostatic
discharge.
Electric Shock Caution • Warns you of a potential electric shock situation.
Caution • Warns you of a situation where excessive heat could cause a burn.
Caution • Advises you that failure to take or avoid a specific action could result in
physical harm to you, or could result in physical damage to the hardware.

vi P430i User’s Manual 980470-001 Rev. B
Foreword
Dual-Sided Color

980470-001 Rev. A P430i User’s Manual vii
Table of Contents
1 • Introduction . . . . . . . . . . . . . . . . . . . . . . . . . . . . . . . . . . . . . . . . . . . . . . . . . . . . 1
Printer Features . . . . . . . . . . . . . . . . . . . . . . . . . . . . . . . . . . . . . . . . . . . . . . . . . . . . . . . . . 1
Controls, Connectors, and Indicators . . . . . . . . . . . . . . . . . . . . . . . . . . . . . . . . . . . . . . . . . 2
LCD Panel . . . . . . . . . . . . . . . . . . . . . . . . . . . . . . . . . . . . . . . . . . . . . . . . . . . . . . . . . . 3
2 • Installation and Setup . . . . . . . . . . . . . . . . . . . . . . . . . . . . . . . . . . . . . . . . . . . . 5
General Information . . . . . . . . . . . . . . . . . . . . . . . . . . . . . . . . . . . . . . . . . . . . . . . . . . . . . . 5
Unpacking the Printer . . . . . . . . . . . . . . . . . . . . . . . . . . . . . . . . . . . . . . . . . . . . . . . . . . . . . 6
Installing the Print Driver Software and Setting Driver Options. . . . . . . . . . . . . . . . . . . . . 10
Installing the P430i Print Driver . . . . . . . . . . . . . . . . . . . . . . . . . . . . . . . . . . . . . . . . . 10
Loading a Ribbon . . . . . . . . . . . . . . . . . . . . . . . . . . . . . . . . . . . . . . . . . . . . . . . . . . . . . . . .11
Installing the Card Cleaning Cartridge . . . . . . . . . . . . . . . . . . . . . . . . . . . . . . . . . . . . . . . 14
Setting the Card Thickness Control . . . . . . . . . . . . . . . . . . . . . . . . . . . . . . . . . . . . . . . . . 16
Loading Cards. . . . . . . . . . . . . . . . . . . . . . . . . . . . . . . . . . . . . . . . . . . . . . . . . . . . . . . . . . 18
Card Output Hopper . . . . . . . . . . . . . . . . . . . . . . . . . . . . . . . . . . . . . . . . . . . . . . . . . . . . . 20
Connecting the Printer to your Computer . . . . . . . . . . . . . . . . . . . . . . . . . . . . . . . . . . . . . 21
Connecting Power. . . . . . . . . . . . . . . . . . . . . . . . . . . . . . . . . . . . . . . . . . . . . . . . . . . . . . . 22
Printing a Test Card . . . . . . . . . . . . . . . . . . . . . . . . . . . . . . . . . . . . . . . . . . . . . . . . . . . . . 23
Packing the P430i Printer for Shipment . . . . . . . . . . . . . . . . . . . . . . . . . . . . . . . . . . . . . . 23
3 • Printing a Card . . . . . . . . . . . . . . . . . . . . . . . . . . . . . . . . . . . . . . . . . . . . . . . . . 25
Setting Printer Properties . . . . . . . . . . . . . . . . . . . . . . . . . . . . . . . . . . . . . . . . . . . . . . . . . 25
Printing a Sample Card. . . . . . . . . . . . . . . . . . . . . . . . . . . . . . . . . . . . . . . . . . . . . . . . . . . 26
Removing Rejected Cards . . . . . . . . . . . . . . . . . . . . . . . . . . . . . . . . . . . . . . . . . . . . . . . . 27
Feeding One Card at a Time. . . . . . . . . . . . . . . . . . . . . . . . . . . . . . . . . . . . . . . . . . . . . . . 28

Table of Contents
viii P430i User’s Manual 980470-001 Rev. A
4 • Cleaning . . . . . . . . . . . . . . . . . . . . . . . . . . . . . . . . . . . . . . . . . . . . . . . . . . . . . . 29
Cleaning the Printer . . . . . . . . . . . . . . . . . . . . . . . . . . . . . . . . . . . . . . . . . . . . . . . . . . . . . 29
When to Clean . . . . . . . . . . . . . . . . . . . . . . . . . . . . . . . . . . . . . . . . . . . . . . . . . . . . . . 29
How to Clean . . . . . . . . . . . . . . . . . . . . . . . . . . . . . . . . . . . . . . . . . . . . . . . . . . . . . . . 30
Cleaning the Print Head . . . . . . . . . . . . . . . . . . . . . . . . . . . . . . . . . . . . . . . . . . . . . . . . . . 31
Card Cleaning Cartridge . . . . . . . . . . . . . . . . . . . . . . . . . . . . . . . . . . . . . . . . . . . . . . . . . . 32
When to Replace the Cleaning Roller. . . . . . . . . . . . . . . . . . . . . . . . . . . . . . . . . . . . . 32
How To Replace the Cleaning Roller . . . . . . . . . . . . . . . . . . . . . . . . . . . . . . . . . . . . . 32
5 • Troubleshooting . . . . . . . . . . . . . . . . . . . . . . . . . . . . . . . . . . . . . . . . . . . . . . . 35
Print Quality Issues. . . . . . . . . . . . . . . . . . . . . . . . . . . . . . . . . . . . . . . . . . . . . . . . . . . . . . 37
Troubleshooting the Ethernet Connection and Adapter . . . . . . . . . . . . . . . . . . . . . . . . . . 41
Resetting to Factory Defaults . . . . . . . . . . . . . . . . . . . . . . . . . . . . . . . . . . . . . . . . . . . 41
Ethernet Adapter Status Indicator. . . . . . . . . . . . . . . . . . . . . . . . . . . . . . . . . . . . . . . . 41
Network Status/Activity Indicator . . . . . . . . . . . . . . . . . . . . . . . . . . . . . . . . . . . . . . . . 42
6 • Technical Specifications . . . . . . . . . . . . . . . . . . . . . . . . . . . . . . . . . . . . . . . . . 43
General Specifications . . . . . . . . . . . . . . . . . . . . . . . . . . . . . . . . . . . . . . . . . . . . . . . . . . . 43
Ribbon Specifications . . . . . . . . . . . . . . . . . . . . . . . . . . . . . . . . . . . . . . . . . . . . . . . . . . . . 43
Card Specifications . . . . . . . . . . . . . . . . . . . . . . . . . . . . . . . . . . . . . . . . . . . . . . . . . . . . . . 44
Bar Codes. . . . . . . . . . . . . . . . . . . . . . . . . . . . . . . . . . . . . . . . . . . . . . . . . . . . . . . . . . . . . 44
Fonts. . . . . . . . . . . . . . . . . . . . . . . . . . . . . . . . . . . . . . . . . . . . . . . . . . . . . . . . . . . . . . . . . 44
Card Dimensions . . . . . . . . . . . . . . . . . . . . . . . . . . . . . . . . . . . . . . . . . . . . . . . . . . . . . . . 44
Bi-Directional Communications Interfaces . . . . . . . . . . . . . . . . . . . . . . . . . . . . . . . . . . . . 45
Mechanical Specifications. . . . . . . . . . . . . . . . . . . . . . . . . . . . . . . . . . . . . . . . . . . . . . . . . 45
Electrical . . . . . . . . . . . . . . . . . . . . . . . . . . . . . . . . . . . . . . . . . . . . . . . . . . . . . . . . . . . . . . 45
Environmental. . . . . . . . . . . . . . . . . . . . . . . . . . . . . . . . . . . . . . . . . . . . . . . . . . . . . . . . . . 46
Options . . . . . . . . . . . . . . . . . . . . . . . . . . . . . . . . . . . . . . . . . . . . . . . . . . . . . . . . . . . . . . . 46
Introduction . . . . . . . . . . . . . . . . . . . . . . . . . . . . . . . . . . . . . . . . . . . . . . . . . . . . . . . . . . . . 47
Media Loading Orientation . . . . . . . . . . . . . . . . . . . . . . . . . . . . . . . . . . . . . . . . . . . . . . . . 47
• Magnetic Card Stripe Encoder . . . . . . . . . . . . . . . . . . . . . . . . . . . . . . . . . . . . . 47
Sample Encoding Program. . . . . . . . . . . . . . . . . . . . . . . . . . . . . . . . . . . . . . . . . . . . . . . . 48
Magnetic Encoder Cleaning . . . . . . . . . . . . . . . . . . . . . . . . . . . . . . . . . . . . . . . . . . . . . . . 48
When to Clean . . . . . . . . . . . . . . . . . . . . . . . . . . . . . . . . . . . . . . . . . . . . . . . . . . . . . . 48
How to Clean . . . . . . . . . . . . . . . . . . . . . . . . . . . . . . . . . . . . . . . . . . . . . . . . . . . . . . . 48
ISO Standard Encoding . . . . . . . . . . . . . . . . . . . . . . . . . . . . . . . . . . . . . . . . . . . . . . . . . . 49
Introduction . . . . . . . . . . . . . . . . . . . . . . . . . . . . . . . . . . . . . . . . . . . . . . . . . . . . . . . . . . . . 51
Media Loading Orientation . . . . . . . . . . . . . . . . . . . . . . . . . . . . . . . . . . . . . . . . . . . . . . . . 51

Table of Contents
980470-001 Rev. A P430i User’s Manual ix
• Smart Card Contact Station . . . . . . . . . . . . . . . . . . . . . . . . . . . . . . . . . . . . . . . 51
Smart Card Contact Station Interface . . . . . . . . . . . . . . . . . . . . . . . . . . . . . . . . . . . . . . . . 52
Printer Sharing . . . . . . . . . . . . . . . . . . . . . . . . . . . . . . . . . . . . . . . . . . . . . . . . . . . . . . . . . 53
• Connecting to a Network . . . . . . . . . . . . . . . . . . . . . . . . . . . . . . . . . . . . . . . . . 53
External Print Server. . . . . . . . . . . . . . . . . . . . . . . . . . . . . . . . . . . . . . . . . . . . . . . . . . . . . 54
Internal Print Server . . . . . . . . . . . . . . . . . . . . . . . . . . . . . . . . . . . . . . . . . . . . . . . . . . . . . 54
Sales and Support Locations . . . . . . . . . . . . . . . . . . . . . . . . . . . . . . . . . . . . . . . . . . . . . . 55
• Worldwide Sales & Support . . . . . . . . . . . . . . . . . . . . . . . . . . . . . . . . . . . . . . . 55
Corporate Headquarters . . . . . . . . . . . . . . . . . . . . . . . . . . . . . . . . . . . . . . . . . . . . . . . . . . 56
Website. . . . . . . . . . . . . . . . . . . . . . . . . . . . . . . . . . . . . . . . . . . . . . . . . . . . . . . . . . . . . . . 56

x P430i User’s Manual 980470-001 Rev. A
Table of Contents
Dual-Sided Color

980470-001 Rev. A P430i User’s Manual 1
1
Introduction
Thank you for choosing the Zebra P430i Card Printer. This manual guides you to efficient start up and operation
of your new Card Printer.
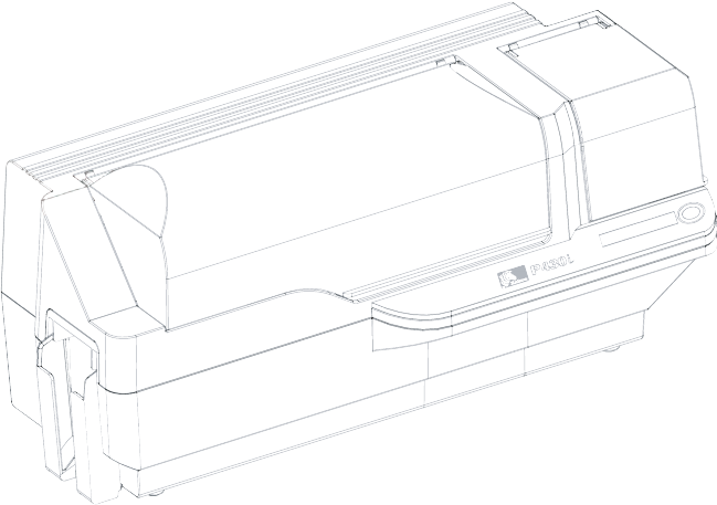
Printer Features
The following shows the main functional features found on your P430i Printer.
Dual-Sided Color
Panel
Button
Print
Head
(Optional)
Smart Card
Contact Station
Output
Hopper
(shown in
open
position)
Card
Feeder
Cover
(shown
open)
Card
Thickness
Control
Card
Cleaning
Cartridge
LCD
Display
Panel
Print Head
Carriage Latch
Print Head Carriage
(shown in open
position)
Main
Lid(shown
(Optional)
Magnetic
Encoding
Station
Ribbon
Supply
Spindle
Ribbon
Take-Up
Spindle
Card Flipper
Reject Bin
(Access Door shown open)

2 P430i User’s Manual 980470-001 Rev. A
Introduction
Controls, Connectors, and Indicators
Controls, Connectors, and Indicators
Your P430i Printer has an LCD Display Panel and a Panel Button on the front and a power connector, power
switch, and interface connector(s) on the rear panel.
Dual-Sided Color
LCD Display
Panel
Panel Button
Power
Switch
Power
Connector
Network
Status /
Activity
LED *
Ethernet
Adapter
Status
LED *
10/100base-T
Connector * Ethernet Switch *
USB Connector
* These
are on the
optional
Ethernet
Adapter.
Optional DB-9
Connector location
for Smart Card
Contact Station

Introduction
Controls, Connectors, and Indicators
980470-001 Rev. A P430i User’s Manual 3
LCD Panel
The LCD Panel can display the following messages:
Message Mode
Operational
Initializing Scrolling
SELF TEST Scrolling
READY Fixed
DOWNLOADING DATA Fixed
PRINTING MONO Fixed
MAG ENCODING Fixed
CONTACT ENCODING Fixed
CONTACTLESS ENCODING Scrolling
PRINTING CYAN Fixed
PRINTING YELLOW Fixed
PRINTING MAGENTA Fixed
PRINTING BLACK Fixed
PRINTING OVERLAY Fixed
DOWNLOADING FW Fixed
Warnings (Printer will still Operate)
CLEAN PRINTER Scrolling
ENCODING ERROR (printing stops) Blinking
CONTACT ERROR Blinking
CONTACTLESS ERROR Scrolling
INVALID MAGNETIC DATA (encoding stops) Scrolling
INVALID CONTACT DATA (encoding stops) Scrolling
INVALID CONTACTLESS DATA (encoding stops) Scrolling
EMPTY FEEDER & PRESS BUTTON Scrolling
Cleaning
CLEANING PRINTER Blinking
REMOVE RIBBON THEN CLOSE HEAD Scrolling
EMPTY FEEDER & PRESS BUTTON Scrolling
LOAD CLEANING CARD INTO FEEDER Scrolling
PRESS BUTTON TO CONTINUE Scrolling
FEED LONG CLEANING CARD IN EXIT Scrolling

4 P430i User’s Manual 980470-001 Rev. A
Introduction
Controls, Connectors, and Indicators
CLEANING PRINTER Blinking
Errors (Printer will not operate)
BROKEN RIBBON Blinking
OUT OF RIBBON Blinking
MECHANICAL ERROR Blinking
OUT OF CARDS Blinking
PRINT HEAD OPEN Blinking
CHECK RIBBON Blinking
REJECT BOX FULL Blinking
LID OPEN Fixed
COMMAND ERROR Blinking
Message Mode

980470-001 Rev. A P430i User’s Manual 5
2
Installation and Setup
General Information
This section will guide you through the installation and setup of your P430i Card Printer. This consists of the
following procedures, which should be performed in the order presented.
• Unpacking the Printer
• Installing the Print Driver Software and Setting Driver Options
• Loading a Ribbon
• Installing the Card Cleaning Cartridge
• Setting the Card Thickness Control
• Loading Cards
• Connecting the Printer to your Computer
• Connecting Power
• Printing a Test Card to verify printer operation
The procedure to be followed for Packing the Printer for Shipment is given at the end of this section.
The printer should be placed in a location that allows easy access to all sides. The printer should never be
operated while resting on its side or upside down.

6 P430i User’s Manual 980470-001 Rev. A
Installation and Setup
Unpacking the Printer
Unpacking the Printer
Your P430i Card Printer ships in a carton and protective anti-static bag. Keep all packaging material in case you
need to move or re-ship the printer.
1. Inspect the shipping container to ensure that no damage has occurred during shipment. If any damage is
apparent, file a claim with the shipper.
2. Unlatch and remove the handles on either end of the shipping container, as shown in the figure below.
3. (See the figure on the next page as you perform the following steps.) Lift the upper part of the shipping
container off of the lower part (which will still hold the printer and its packing material).
4. Remove the packing material around the top of the printer.
Electric Shock Caution • Limit AC power supplied to the P430i Printer to 100 – 230
volts, 60 ~ 50 Hertz. Limit excess current draw to 16 amps or less, using an associated
circuit breaker or other such device. Never operate the printer in a location where
operator, computer, or printer can get wet. Personal injury could result. The printer must
be connected to an earthed electrical power source and properly protected against
electrical surges and grounding faults; the electrical reliability of the printer is based on
the reliability of the mains power source and with the earth connection.
The printer’s power supply is an internal unit that can only be serviced or replaced by
trained and authorized personnel.
U
P

Installation and Setup
Unpacking the Printer
980470-001 Rev. A P430i User’s Manual 7
5. Lift the printer out of the carton by holding it with both hands.
6. Please ensure that you have a clean and nearly dust free environment for proper operation and storage of the
printer.
7. Make sure the following items are included with your P430i printer:

8 P430i User’s Manual 980470-001 Rev. A
Installation and Setup
Unpacking the Printer
If any items are missing, please contact your dealer. To reorder, please refer to Appendix D of this
manual.
8. Remove packing tape securing the printer’s Main Cover and Card Feeder Cover.
9. Your P430i Printer ships with warning tape where the Card Cleaning Cartridge will be installed, and a pad
that protects the print head from possible damage in shipment. To remove the tape and pad, follow the
following steps:
a. Open the printer’s main lid by lifting at its lower front lip.
Power Cables (2)
Cleaning Kit
CD-ROM with Driver Wizard
and User’s Manual
Card Cleaning Cartridge
USB Cable
Dual-Sided Color

Installation and Setup
Unpacking the Printer
980470-001 Rev. A P430i User’s Manual 9
b. Locate the Print Head protection pad and the Card Cleaning Cartridge location tape (see below).
Remove the tape.
c. Release the Print Head Carriage by pushing the Print Head Carriage Latch to the left, and raise the Print
Head Carriage. It will remain open at about a 45° angle.
I
N
S
T
A
L
L
Remove me
Print Head P
rotection Pad
Card Cleaning Cartridge
Location Tape
Print Head
Carriage
Latch
Dual-Sided Color

10 P430i User’s Manual 980470-001 Rev. A
Installation and Setup
Installing the Print Driver Software and Setting Driver Options
d. Remove the print head protection pad. Keep the pad, as well as the other packing material and the
shipping carton, in case the printer is shipped or moved. If the original material is lost, a replacement
Shipping Kit can be ordered from your reseller.
Installing the Print Driver Software and Setting Driver
Options
Printing with the P430i Printer requires the Windows Printer Driver and your card design/issuing software or
printer command level programming through the printer interface.
The P430i Card Printer can be used with any Windows 2000 or Windows XP computer, using the drivers
provided on CD with the printer.
This section contains information on the printing of a sample card in color (using the 5-panel color ribbon
YMCKO and the Windows Printer Driver).
Installing the P430i Print Driver
To install the P430i Printer Driver automatically on all Operating Systems, use the Zebra Install Wizard.
The Install Wizard will walk you through the appropriate installation steps. The Wizard will:
• Automatically launch when the driver CD is inserted.
• From the main menu of your documentation CD, select your desired language and then select “DRIVERS”
from the subsequent menu. The Install Wizard will walk you through the appropriate steps.
Note • If updating the printer driver from a previous version, before installing the updated
printer driver version, always delete the existing version from your computer.
Note • Ensure that you have administrative privileges to perform this installation, or contact
your IT department.
Dual-Sided Color

Installation and Setup
Loading a Ribbon
980470-001 Rev. A P430i User’s Manual 11
• Delete previous versions of the driver and clean up any necessary Registry entries. You must select
“Remove” from the install options to remove any previous driver versions.
Loading a Ribbon
i Series Printers require the use of i Series ribbons for full color printing. The Resin Thermal Transfer and Dye
Sublimination ribbons for P430i are specifically designed for your P430i Printer.
1. Place the printer power switch in the OFF (0) position.
2. If the printer’s Main Lid is closed:
a. Open the printer’s Main Lid; lift it by the lip at the bottom front as shown in the figure below left.
b. Raise the Print Head Carriage by pressing the release latch to the left (toward the output hopper) and
lifting as shown below to about a 45° angle. The Print Head Carriage will stay in that position, as
shown at the right below.
Electrostatic Discharge Caution • DO NOT TOUCH the Print Head or the electronic
components on the Print Head Carriage. Discharges of electro-static energy that
accumulate on the human body or other surfaces can damage the Print Head or other
electronic components used in the printer.
Note • Avoid any direct contact with the print head to prevent transfer of oils or
contamination. Outside of normal operation, only the Zebra-approved cleaning materials
should come in contact with the print head.
Dual-Sided Color
Dual-Sided Color

12 P430i User’s Manual 980470-001 Rev. A
Installation and Setup
Loading a Ribbon
3. Locate the Ribbon Supply Spindle and the Ribbon Take-up Spindle (see above). Load ribbon onto the
supply spindle (under the print head carriage) flange side in, and load the empty core (with tape attached)
onto the take-up spindle. Make sure the ribbon comes off the top of the supply spindle and feeds to the top
of the take-up spindle.
Dual-Sided Color
Ribbon Supply
Spindle
Ribbon Take-up
Spindle
Dual-Sided Color
Flange
Supply Spool
Take-up
Spool

Installation and Setup
Loading a Ribbon
980470-001 Rev. A P430i User’s Manual 13
4. Gently press the print head carriage down until it is fully lowered, as shown below. Very little force is
neccessary to perform this step.
Note • During normal operation (with power connected and turned on), the ribbon would
automatically synchronize when the Print Head is restored to its fully-down position. The
ribbon would be identified and the corresponding parameters sent to the driver.
Since power is not connected at this point in the Installation and Setup Procedure, nothing
will happen when the Print Head Carriage is closed. The ribbon will synchronize when
power is turned on.
Caution • Do not touch the print head if the printer has been in service within the last 10
minutes. It could be very hot and cause a burn.
Electrostatic Discharge Caution • A static discharge is possible if you touch any
exposed metal parts. Use of an anti-static wrist strap or comparable anti-static protection is
required.
Dual-Sided Color
Dual-Sided Color

14 P430i User’s Manual 980470-001 Rev. A
Installation and Setup
Installing the Card Cleaning Cartridge
Installing the Card Cleaning Cartridge
The Card Cleaning Cartridge cleans the cards entering the printer. The Card Cleaning Cartridge consists of a
Cartridge Frame and an Adhesive Roller, which are packed together.
1. Remove the Cartridge Frame and the Adhesive Roller from their packaging. Insert the Adhesive Roller into
the Cartridge Frame, as shown below. To avoid contamination, always hold the frame and the roller by the
ends.
.
2. Peel the protective wrapper from the Adhesive Roller.
3. If the printer’s Main Lid is closed, open it. Locate the area where the Card Cleaning Cartridge will be
installed (initially, this area was covered by a warning tape).
Dual-Sided Color
Card Cleaning
Cartridge Mounting
Location

Installation and Setup
Installing the Card Cleaning Cartridge
980470-001 Rev. A P430i User’s Manual 15
4. Locate the slot at the rear of the Card Cleaning Cartridge mounting location; see below.
5. Hold the Card Cleaning Cartridge by the extended “handle” (so the large arrow on the top is pointing away
from you). With the cartridge at about a 30° angle (pointing downward), insert the lip of the cartridge into
the slot, until the cartridge seats against the back wall. Then press the front of the cartridge down until it
seats all the way down and latches with an audible “click”. See below.
6. Close the printer’s Main Lid.
Dual-Sided Color
Card Cleaning
Slot
Card Cleaning Cartridge in final position

16 P430i User’s Manual 980470-001 Rev. A
Installation and Setup
Setting the Card Thickness Control
Setting the Card Thickness Control
The Card Thickness Control is set by the user to adjust the gap as cards enter the printer, to prevent
double-feeds (which could cause a jam) or mis-feeds.
1. Open the Card Feeder cover. The cover is hinged; lift it by the lip at the right front corner.
2. The Card Thickness Control Lever is at the front of the left-side opening of the Card Feeder area.
Note • Set the Card Thickness Control before loading cards.
Note • To reduce contamination and ensure better print quality, minimize the time the Card
Feeder cover is open.
Dual-Sided Color
Card Thickness
Control
Dual-Sided Color

Installation and Setup
Setting the Card Thickness Control
980470-001 Rev. A P430i User’s Manual 17
3. There are four detents to set the position of the Card Thickness Control. Slide the Card Thickness Control
to the position corresponding to the following:
Detent Position Card Thickness
Highest 50 mil (1.27 mm) to 60 mil (1.52 mm)
3rd position 30 mil (0.76 mm) to 50 mil (1.27 mm)
2nd position 20 mil (0.51 mm) to 40 mil (1.02 mm)
Lowest 10 mil (0.25 mm) to 20 mil (0.51 mm)
Note • The overlap in settings above accomodates variations in environmental conditions
(especially humidity) and cards from different manufacturers. In general, start at the lowest
position and move the lever up until cards feed reliably.
Note • “60 mil” (“1.524 mm”) cards may have a significant variation (over 10%) in the
actual thickness of the cards; do not use these cards unless each card has been measured to
have a thickness less than 66 mil (1.676 mm).

18 P430i User’s Manual 980470-001 Rev. A
Installation and Setup
Loading Cards
Loading Cards
This section shows how to load plastic cards into the P430i Printer. The P430i can use cards with a range of
thickness from 10 mil (0.25 mm) to 60 mil (1.5 mm).
The P430i Printer can also load and print cards fed individually. Information on this is given in the next chapter.
The plastic cards generally come in decks of 100 cards; the Card Feeder can hold a full deck of 100 30-mil
cards. Cards sometimes will stick together; this can cause mis-feeding or double-feeding. To avoid this, separate
the cards before loading, as described in steps 2 through 4 below.
1. If the Card Feeder cover is closed, open it. The cover is hinged; lift it by the lip at the right front corner.
Note • Do not mix cards of different thicknesses!
Note • DO NOT bend cards or touch print surfaces as this can reduce print quality. The
surface of the cards must remain clean and dust free. Always store cards in an enclosed
container. Ideally, use cards as soon as possible.
Note • For cards with magnetic stripe, refer to Appendix A for loading instructions.
Note • To reduce contamination and ensure better print quality, minimize the time the Card
Feeder cover is open.
Caution • Do not touch print surfaces of the cards; this can reduce print quality
Dual-Sided Color
Dual-Sided Color