ASSALOY SCYICLS0 S-series iClass lock User Manual Exhibit Cover
ASSA ABLOY Inc. S-series iClass lock Exhibit Cover
ASSALOY >
Contents
Manual

5015 B.U. Bowman Drive Buford, GA 30518 USA Voice: 770-831-8048 Fax: 770-831-8598
Certification Exhibit
FCC ID: U4A-SCYICLS0
IC: 6982A-SCYICLS0
FCC Rule Part: 15.225
IC Radio Standards Specification: RSS-210
ACS Report Number: 11-0125.W06.11.A
Manufacturer: Assa Abloy, Inc.
Models: TCWI1-M812/M813, TCIP1-M812/M813
Manual

Installation Instructions
For ML20800 TCWI1/TCIP1 Series
Mortise Lockset
Important: The accuracy of the door preparation is critical for proper functioning and security of this lock.
Misalignment can cause premature wear and a lessening of security.
Please read these instructions carefully to prevent missing important steps.
Please Note: Improper installation may result in damage to the lock and void the factory warranty.
FM 335
(Rev. 0/2011)
For installation assistance contact Corbin Russwin Inc., at 1-800-810-WIRE (9473)
CAUTION
DOOR MUST REMAIN OPEN
DURING INSTALLATION.
USE DOOR STOP.
1 2 3
4
7
5
8
0
6
9
#
*TEST
FOR PROPER
OPERATION
BEFORE
CLOSING
DOOR
Access 800
TM

1
ML20800 TCWI1/ TCIP1 Series Mortise Lock
1) Warning………………………………………………………………. 1
2) General Description…………………………………………………. 2
3) Specifications/ Features…………………………….……………… 2
4) Product Illustration……………..……………………………………. 3
5) Installation Instructions……………………………………………… 4-10
6) Wiring Diagrams…………………………………………………….. 11-17
7) Mechanical Operation Check ……………………………………… 18
8) Electrical Operation Check…………………………………………. 19
TCWI1 - WiFi
NOTE: This equipment has been tested and found to comply with the limits for a Class B digital device, pursuant to Part 15 of the FCC
Rules. These limits are designed to provide reasonable protection against harmful interference in a residential installation. This equipment
generates, uses, and can radiate radio frequency energy and, if not installed and used in accordance with the instructions, may cause
harmful interference to radio communications. However, there is no guarantee that interference will not occur in a particular installation. If
this equipment does cause harmful interference to radio or television reception, which can be determined by turning the equipment off and
on, the user is encouraged to try to correct the interference by one or more of the following measures:
• Reorient or relocate the receiving antenna.
• Increase the separation between the equipment and receiver.
• Connect the equipment into an outlet on a circuit different from that to which the receiver is connected.
• Consult the dealer or an experienced radio/TV technician for help.
This equipment complies with FCC radiation exposure limits set forth for an uncontrolled environment. This equipment should be installed
and operated with minimum distance 20cm between the radiator and your body. This transmitter must not be co-located or operating in
conjunction with any other antenna or transmitter.
Under Industry Canada regulations, this radio transmitter may only operate using an antenna of a type and maximum (or lesser) gain
approved for the transmitter by Industry Canada. To reduce potential radio interference to other users, the antenna type and its gain should
be so chosen that the equivalent isotropically radiated power (e.i.r.p.) is not more than that necessary for successful communication.
This device complies with Industry Canada licence-exempt RSS standard(s). Operation is subject to the following two conditions: (1) this
device may not cause interference, and (2) this device must accept any interference, including interference that may cause undesired
operation of the device.
TCIP1 - POE
NOTE: This equipment has been tested and found to comply with the limits for a Class A digital device, pursuant to part 15 of the FCC rules.
These limits are designed to provide reasonable protection against harmful interference when the equipment is operated in a commercial
environment. This equipment generates, uses, and can radiate radio frequency energy and, if not installed and used in accordance with the
instruction manual, may cause harmful interference to radio communications. Operation of this equipment in a residential area is likely to
cause harmful interference in which case the user will be required to correct the interference at his own expense.
Under Industry Canada regulations, this radio transmitter may only operate using an antenna of a type and maximum (or lesser) gain
approved for the transmitter by Industry Canada. To reduce potential radio interference to other users, the antenna type and its gain should
be so chosen that the equivalent isotropically radiated power (e.i.r.p.) is not more than that necessary for successful communication.
This device complies with Industry Canada licence-exempt RSS standard(s). Operation is subject to the following two conditions: (1) this
device may not cause interference, and (2) this device must accept any interference, including interference that may cause undesired
operation of the device.
Copyright © 2011 Corbin Russwin, Inc. All rights reserved.
Reproduction in whole or in part without the express written permission of
Corbin Russwin
,
Inc. is
p
rohibited.
Table of Contents
1) Warning
Warning: Changes or modifications to this unit not expressly approved by ASSA
ABLOY Inc. could void the user’s authority to operate the equipment

2
ML20800 TCWI1/TCIP1 Series Mortise Lock
The Corbin Russwin Access 800 Series mortise locks are available in WiFi (WI1) and PoE (IP1)
configurations. When coupled with third party software the WI1 and IP1 offer a complete integrated
access control system. The Access 800 may be used for both indoor and outdoor applications (weather
gaskets supplied).
Hardware Specifications
Latch – Stainless Steel (Easily field reversible without disassembling lock body)
Deadbolt – Stainless Steel
Door Thickness – 1-3/4” Standard; Consult factory for other door thicknesses
Case – 12 gauge heavy duty wrought steel
Outside lever controlled by 125kHz Prox reader, 13.56MHz iCLASS reader, keypad, and/or
mechanical key
Inside lever retracts latch
BHMA Grade 1; UL Fire Listed
Outside lever for iCLASS controlled by HID iCLASS credential or other 13.56 MHz credential
(such as CSN, Chip Serial Number, read only supported, including MiFare, DesFire, and FeliCa.
Electrical Specifications:
2400 users per lock; 10,000 event audit trail
Multiple time zone and holiday access scheduling
First-In unlock configuration, either by time or by valid time or by user (selectable)
TCWI1 – WiFi
WiFi 802.11b/g
DC9V, 1.5A (6 AA Alkaline Batteries or Remote Electrical Power)
TCIP1 – PoE
Class 2 Device, as defined by IEEE 802.3af, requires up to 7 watts over structured cabling
Copyright © 2011 Corbin Russwin, Inc. All rights reserved.
Reproduction in whole or in part without the express written permission of
Corbin Russwin
,
Inc. is
p
rohibited.
2) General Descri
p
tion
3) S
p
ecifications/ Features

3
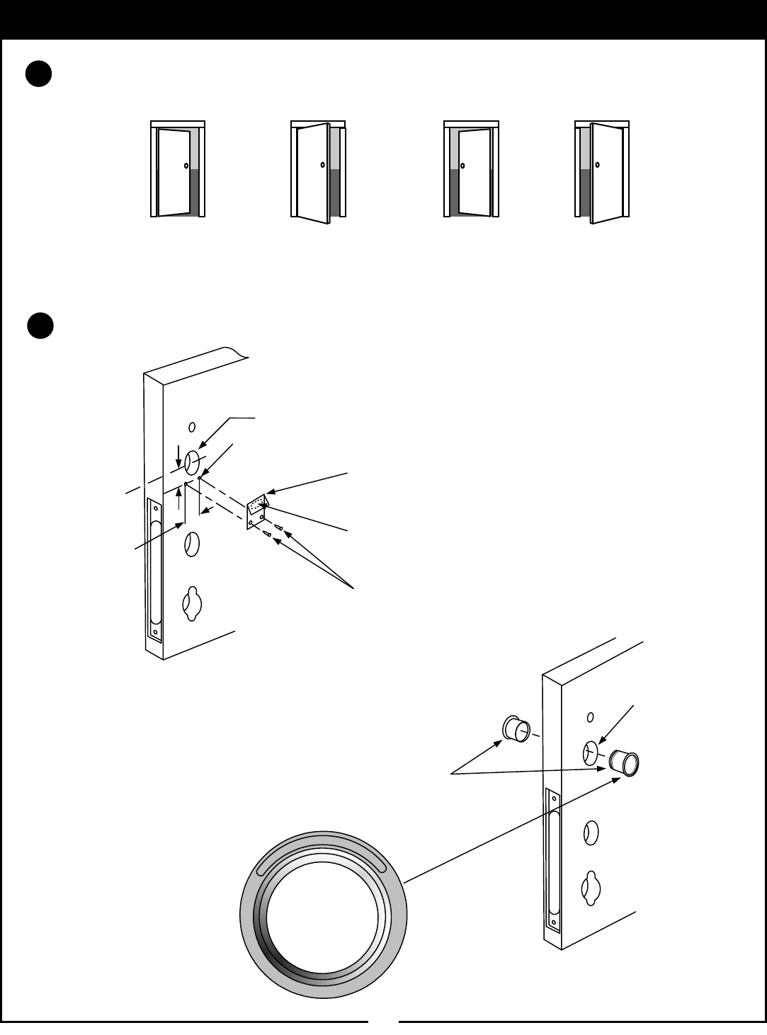
3) ML20800 Series Product Illustration

Verify Hand and Bevel of door. Illustrations shown are as viewed from the outside
or secure side of opening.
1
4) Installation Instructions
3
2
4
Prep door according to supplied Corbin Russwin Inc. door marker.
FOR
USE
ON
FIRE
DOOR
NOT
Left Hand
Hinges Left.
Open Inward.
"LH"
Left Hand
Reverse Bevel
Hinges Left.
Open Outward
"LHR"
Right Hand
Hinges Right.
Open Inward.
"RH"
Right Hand
Reverse Bevel
Hinges Right.
Open Outward
"RHR"
7/8"
1-1/2
1/8" Dia. holes
(2) required
Fire Stop Plate required
for fire rated doors
Slot
Attach Fire Stop Plate
Using self tapping screws
#8-32x1/2 long for wood &
metal doors
.C of 1-1/2 Dia
L
Outside
of Door
Hole for ribbon cable
Non Fire Rated Exterior Doors
install weather conduit.
(Hollow Doors Only)
Outside
of Door
Non Fire Rated Door
Hole for
ribbon cable
Install conduit half with recessed
panel "Not For Use On Fire Door"
visible from outside of door.
The Optional Conduit is available
for Non Fire rated doors to provide
weather protection for exterior door
applications. It is included in the M99
Weatherseal Gasketing Kit when
ordered with the device. If ordered
separately, order part number
794F929.

Lock Assembly Instructions
Align bevel accordingly. Engage 7/64 Allen wrench on to cap screw required for step 2
page 6. Feed connector and wires through 1 (25) dia. wire access hole. Insert lockbody
into mortised cutout in door and hold loosely in place with (2) #12x1" lockbody screws.
3
Installation Instructions
5
(2) #12x1"
combination screws
Lockbody
7/64 Allen Wrench
Inside
of Door
Feed connectors & wires
through wire access hole

4
6
Spindles
Keypad ribbon cable
Outside
of Door
Installation of Outside Escutcheon
2A. For fire rated doors feed ribbon cable connector and ground wire from outside escutcheon
through the fire stop plate.
2B. For non-fire rated doors, feed ribbon cable connector and ground wire from outside escutcheon
through weather seal gasket (if used), then conduit sleeve in door (not shown).
3. With outside lever horizontal, insert mounting posts into the door. Make certain
the lever spindle is properly engaged in lock. (see diagram and Note A. below)
Screw cylinder into mortise lockbody make certain the cylinder orientation is in the correct
position (see diagram below) . Using the 7/64 Allen wrench provided, hand tighten (5-10 in. lbs.)
the cap screw to prevent unscrewing of the cylinder. Turn the key to make certain that the
locking mechanism (latch, deadbolt, key) functions correctly. Tighten (2) #12 x 1" lockbody
screws. Remove Allen wrench.
Installation Instructions
Ground
wire
Gasket (optional)
CAUTION
DOOR MUST REMAIN OPEN
DURING INSTALLATION.
USE DOOR STOP.
NOTE: Key and
cylinder must be
rotated as shown
Correct Incorrect
Use Correct Spindle Orientation
STANDARD MUSÉO
GASKET APPLICATION:
Peel off the adhesive protective paper from
gasket. Feed Trim assembly motor harness
through gasket opening as shown and firmly
press gasket to escutcheon, aligning edge of
gasket with the edge of the escutcheon.
1. For exterior applications, an optional M99 Weatherseal Gasketing Kit can be ordered when a
device is ordered. this kit includes gaskets and a conduit. When ordering the kit separately,
order part number 794F929. The gaskets may be used as a seal between the escutcheon
and the door surfaces.
NOTE A.
For MUSÉO Lever
collections ONLY.
Rotate adapter
bushing as needed
to insure horizontal
lever position and
maximum thread
engaging lever -
adapter bushing.
Lever
Lever

5
7
Motor connector
Ground Terminal
Red & Black wires
Keypad ribbon
cable
Locate (3) oval head screws
and insert through the
Escutcheon and thread
into the outside Escutcheon.
Ground
Wire
Keypad harness
(ribbon cable)
Remote Power
Connector
(M35 Remote Power
Wiring Harness also
available as part
No. 793F069)
Tu
Inside
of door
Turnpiece
Installation of Inside Escutcheon
NOTE: Connectors go on only one way. Do not offset connector and be sure they are completely seated.
1. Remove black battery cover from the eschutcheon with High Security T20 Trox bit provided.
2. Connect Ground wire to Ground terminal, Keypad ribbon cable connector to controller, lockbody
harness to motor connector, DPS conector on lockbody harness to remote power and DPS harness, and
connect remote power if applicable.
3. Align turnpiece to the vertical position.
4. Push excess keypad ribbon cable into the ribbon cable hole.
Installation Instructions
Controller
Turnpiece male switch
1
Male turnpiece
switch connector
CAUTION
DOOR MUST REMAIN OPEN
DURING INSTALLATION.
USE DOOR STOP.
Lockbody Harness
Lockbody
Harness
Gasket
GASKET APPLICATION:
Peel off the adhesive protective paper from
gasket. Feed Trim assembly motor harness
through gasket opening as shown and firmly
press gasket to escutcheon, aligning edge of
gasket with the edge of the escutcheon.
Lockbody
Harness
Motor connector
Keypad harness
(ribbon cable)
Ground Terminal
Remote power
DPS
Remote power
and DPS

5
8
Installation Instructions
Installation of Inside Escutcheon (continued)
CAUTION: Do not allow lockbody harness wires to enter cylinder hole in lockbody. Wire
damage and/or malfunction of the lock may occur.
1. Turn inside lever to the horizontal position and rotate the turnpiece to the vertical position. Slide
onto spindle halfway. With inside escutcheon resting on spindle, be certain that all keypad ribbon
cable will remain inside ribbon cable hole, and that ground wire will not get pinched once
escutcheon is mounted. Escutcheon will not fit flush on door otherwise.
2. Insert 3 #10-24 screws through inside escutcheon and thread loosely into outside escutcheon. Check
operation of both inside and outside levers and make sure the turnpiece and key still operate the
latch and deadbolt correctly. If lock function is satisfactory, fully tighten the bottom two screws.
Check operation of both levers again. If levers move freely, tighten top screw. If levers do not move
freely, loosen bottom screws and realign the escutcheons until proper operation is obtained.
Inside
of door
Lockbody harness - Feed excess
wire back into the mortise of the
door between the door cavity and
lockbody. Do not feed excess
wires into the cylinder hole of
the lock.

6
Installation Instructions
9
Installation of Armored Front Plate
1.Install armored front plate using two #8-32 x 1/4"screws provided.
Lockbody screws
Front Plate
screws
Armored Front Plate

7
Installation Instructions
Battery Polarity
10
Tabs Retaining Slots
Security Screw
Battery Keeper
Bottom Tabs
Top Tab
Battery Installation
1. Remove battery keeper by lifting top tab and pulling away from the unit.
2. Install (6) AA Batteries into controller compartment being careful to align +/- polarity
properly.
3. Install Battery Keeper by first inserting bottom tabs in bottom slots of controller. Lift the
top tab over batteries and snap into position.
4. Attach battery cover to inside controller escutcheon making sure to line up tabs with
retaining slots in battery cover. Secure with security screw using security T20 bit.
T20 bit
TEST
FOR PROPER
OPERATION
BEFORE
CLOSING
DOOR
CAUTION
DOOR MUST REMAIN OPEN
DURING INSTALLATION.
USE DOOR STOP.

5) Operational Check
8
11
Lock Operational Check For devices with cylinders:
1. Insert key into cylinder and rotate. (There should be no friction against lock case, wire
harness or any other obstructions)
2. The key will retract the latch, key should rotate freely. If the deadbolt is thrown, the key will
first retract the deadbolt and then the latch. Inside lever retracts latch and deadbolt, if
provided.
3.8VH3UR[LPLW\&DUGRU3LQFRGHVHWXSZLWK/RFN&RQILJXUDWLRQ7RRO7KLVVKRXOGXQORFN
RXWVLGHOHYHUDQGDOORZODWFKWREHUHWUDFWHG3OHDVHVHH1HWZRUN/RFN&RQILJXUDWLRQ
7RRO8VHU0DQXDO:)01IRUPRUHLQIRUPDWLRQ
CAUTION
DOOR MUST REMAIN OPEN
DURING INSTALLATION.
USE DOOR STOP.
TEST
FOR PROPER
OPERATION
BEFORE
CLOSING
DOOR
Corbin Russwin, Inc. Technical Product Support:
225 Episcopal Road Corbin Russwin, Inc.
Berlin, CT 06037-4004 Phone 800-810-WIRE (9473)
www.corbinrusswin.com
copyright 2007
Canada: Assa Abloy DSS Canada
160 Four Valley Drive
Vaughun, ONT L4K 4TG
www.yalecorbin.on.ca

6) ML20800 Hard Wiring Instructions
12
1. Caution: disconnect all input power before beginning installation to prevent
electrical shock and equipment damage.
2. Installer must be a trained, experienced service person.
3. All wiring must comply with applicable local electrical codes, ordinances
and regulations.
6.1) Important
1. With new applications, an ElectroLynx™ door harness with 8 and 4 pin connectors
will be pre-installed inside door by ASSA ABLOY door manufacturer when specified
during ordering process.
2. Wiring to pigtail harness is per facility wiring requirement. ElectroLynx™ connector
terminations and wire colors all match.
3. If door does not have an ElectroLynx™ type door harness, cut connectors off
product and hard wire, or consult factory for appropriate mating harness.
6.2) Installation Notes
The system is designed to be installation friendly with pluggable connectors from the
electric hinge through the door to the rail. The only wiring required is to the loose wires
on the pigtail harness assembly on the frame side of the electric hinge.
IMPORTANT:
The plug and receptacle connectors are designed to mate and lock together as shown
in the figure. Plug the connectors into each other with the locking mechanism aligned
as indicated.
Do NOT Force connectors on any other way.
6.3) ElectroLynx™ Connector System Notes:
As part of their promise to provide
innovative, fast and effective, and higher
security solutions to their customers,
ASSA ABLOY Group companies offer
ElectroLynx™, a universal quick-connect
system that simplifies the electrification of
the door opening.
ElectroLynx™ is a registered trademark of
ASSA ABLOY North America, Inc.
Receptacle
Locking Mechanism
Plug
Hardwiring Made Easy
ELECTRO
TM

6) ML20800 Hard Wiring Instructions
13
ELECTRO
6.4) Hard Powered Connections
END OF INSTALLATION INSTRUCTIONS