Araknis Networks AN700APOAC Araknis Networks Dual-Band Wireless-AC 1750 Outdoor Access Point User Manual 1 rev
Araknis Networks Araknis Networks Dual-Band Wireless-AC 1750 Outdoor Access Point Users Manual 1 rev
Contents
- 1. Users Manual-1_rev.pdf
- 2. Users Manual-2.pdf
Users Manual-1_rev.pdf

OUTDOOR WIRELESS ACCESS POINT
Quick Start Guide
AN-700-AP-O-AC

© 2017 Araknis Networks® 3
Araknis Networks Outdoor Wireless Access Point
Quick Start Guide
Federal Communication Commission Interference Statement
This equipment has been tested and found to comply with the limits for a Class B digital device, pursuant to Part
15 of the FCC Rules. These limits are designed to provide reasonable protection against harmful interference in a
residential installation. This equipment generates, uses and can radiate radio frequency energy and, if not installed
and used in accordance with the instructions, may cause harmful interference to radio communications. However,
there is no guarantee that interference will not occur in a particular installation. If this equipment does cause harmful
interference to radio or television reception, which can be determined by turning the equipment o and on, the user
is encouraged to try to correct the interference by one of the following measures:
• Reorient or relocate the receiving antenna.
• Increase the separation between the equipment and receiver.
• Connect the equipment into an outlet on a circuit dierent from that to which the receiver is connected.
• Consult the dealer or an experienced radio/TV technician for help.
FCC Caution: Any changes or modifications not expressly approved by the party responsible for compliance could
void the user’s authority to operate this equipment.
This device complies with Part 15 of the FCC Rules. Operation is subject to the following two conditions: (1) This
device may not cause harmful interference, and (2) this device must accept any interference received, including
interference that may cause undesired operation.
This transmitter must not be co-located or operating in conjunction with any other antenna or transmitter.
Operations in the 5.15-5.25GHz band are restricted to indoor usage only.

4
Araknis Networks Outdoor Wireless Access Point
Quick Start Guide
Support: 866.838.5052
FCC Warning, Continued
IMPORTANT NOTE:
FCC Radiation Exposure Statement:
This equipment complies with FCC radiation exposure limits set forth for an uncontrolled environment. This
equipment should be installed and operated with minimum distance 30cm between the radiator & your body.
Industry Canada Statement
This device complies with ISED’s licence-exempt RSSs. Operation is subject to the following two conditions: (1) This
device may not cause harmful interference, and (2) this device must accept any interference received, including
interference that may cause undesired operation.
Le présent appareil est conforme aux CNR d’ ISED applicables aux appareils radio exempts de licence. L’exploitation
est autorisée aux deux conditions suivantes : (1) le dispositif ne doit pas produire de brouillage préjudiciable, et (2)
ce dispositif doit accepter tout brouillage reçu, y compris un brouillage susceptible de provoquer un fonctionnement
indésirable.

© 2017 Araknis Networks® 5
Araknis Networks Outdoor Wireless Access Point
Quick Start Guide
Industry Canada Statement, Continued
Caution:
(i) the device for operation in the band 5150-5250 MHz is only for indoor use to reduce the potential for harmful
interference to co-channel mobile satellite systems;
(ii) the maximum antenna gain permitted for devices in the band 5725-5850 MHz shall be such that the equipment
still complies with the e.i.r.p. limits specified for point-to-point and non-point-to-point operation as appropriate; and
(iii) Users should also be advised that high-power radars are allocated as primary users (i.e. priority users) of the
bands 5650-5850 MHz and that these radars could cause interference and/or damage to LE-LAN devices.
Avertissement:
(i) les dispositifs fonctionnant dans la bande 5150-5250 MHz sont réservés uniquement pour une utilisation à
l’intérieur afin de réduire les risques de brouillage préjudiciable aux systèmes de satellites mobiles utilisant les
mêmes canaux;
(ii) le gain maximal d’antenne permis (pour les dispositifs utilisant la bande de 5725 à 5 850 MHz) doit être conforme
à la limite de la p.i.r.e. spécifiée pour l’exploitation point à point et l’exploitation non point à point, selon le cas;
(iii) De plus, les utilisateurs devraient aussi être avisés que les utilisateurs de radars de haute puissance sont désignés
utilisateurs principaux (c.-à-d., qu’ils ont la priorité) pour les bandes 5650-5850 MHz et que ces radars pourraient
causer du brouillage et/ou des dommages aux dispositifs LAN-EL.

6
Araknis Networks Outdoor Wireless Access Point
Quick Start Guide
Support: 866.838.5052
Industry Canada Statement, Continued
Radiation Exposure Statement:
This equipment complies with ISED radiation exposure limits set forth for an uncontrolled environment. This
equipment should be installed and operated with minimum distance 35cm between the radiator & your body.
Déclaration d’exposition aux radiations:
Cet équipement est conforme aux limites d’exposition aux rayonnements ISED établies pour un environnement
non contrôlé. Cet équipement doit être installé et utilisé avec un minimum de 35 cm de distance entre la source de
rayonnement et votre corps.

© 2017 Araknis Networks® 7
Araknis Networks Outdoor Wireless Access Point
Quick Start Guide
Welcome to Araknis Networks™
Thank you for choosing an Araknis™ Outdoor Wireless Access Point (WAP). With sleek, unobtrusive housings,
extensive features, unique easy setup, and convenient PoE power, these products are ideal for use in both residential
and commercial applications.
Features
• IP55 weather resistant
• Versatile mounting
• Bottom or rear cable entrance
• PoE+ powered only (no DC input)
• 3x3 Wireless-AC
• Kensington lock hole for added security
Outdoor Installation Guidelines
• For wall mount, position at least 24" (60cm) away from eve or ceiling edge.
• Cable feed opening must be directed away from the open environment.
• Cable feed must be pointed down when wall-mounted.
• Shielded Cat 5 cable or above is recommended for outdoor installation and
should be grounded through the AC ground of the PoE.
• Operating Temperature Range: -20-55° C
• Storage Temperature Range: -30-80° C

8
Araknis Networks Outdoor Wireless Access Point
Quick Start Guide
Support: 866.838.5052
Step 1: Unbox
Wireless Access
Point (WAP)
Mounting Bracket
Rubber Weep
Hole Plugs (10)
Inner Foam
Cable Inserts (2*)
Rear Bracket
Foam Inserts (2*)
AN-ACC-AP-O-POLE
Accessory Pole Mount
(not included, sold
separately)
Bracket
Cable Inserts (2*)
Wall Mount Hardware
(4 each screws &
anchors)
*Includes one gasket each for small or large diameter cables. Use the size that fits your cable best.

© 2017 Araknis Networks® 9
Araknis Networks Outdoor Wireless Access Point
Quick Start Guide
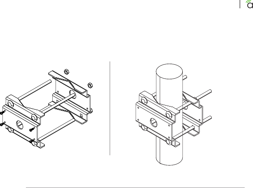
Step 2: (Optional) Install Pole Mount Accessory
The AN-ACC-AP-O-POLE accessory mount can be purchased separately and used to securely attach the access
point to a pole 1.5-3.1" in diameter.
Tighten the clamp nuts enough to prevent
unwanted side-to-side movement without
damaging the pole or clamps.

10
Araknis Networks Outdoor Wireless Access Point
Quick Start Guide
Support: 866.838.5052
Step 3: Mount the Bracket
Mount Bracket
Drill only the mounting holes
required for your install.
Pole mounting shown for reference. For
surface mounting, fasten to the surface
using the included screws and anchors.
Prepare Bracket
A B