Beautiful Enterprise SFQ04A Bluetooth Module User Manual update
Beautiful Enterprise Co., Ltd. Bluetooth Module update
Users Manual
BC05 ROM Module Spec. 
Shenzhen Synchron Electronics Co., Ltd. 2012.08 
1.  General Description and Specification 
1.1 General Description 
This product is a Class 2 SMT Bluetooth Module used CSR BC5-BlueTunes ROM. It 
provides data and voice communications. Support data rate up to 3Mbps. 
    General Features: 
■ Class 2 Bluetooth Module 
■ Bluetooth Spec. V2.1+EDR Compliant 
■ Support Firmware Upgrade 
■ High-quality audio 95dB SNR on DAC playback 
■ Integrated linear regulator with 1.5V output from 1.8V to 2.7V input 
■ Integrated Switched-mode Regulator 
■ Integrated 150mA lithium Battery Charger 
■ Integrated Microphone bias& LED Driver 
■ 64MIPS Kalimba DSP Co-processor 
■ cVc support for echo and noise reduction 
■ Green (RoHS Compliant) 
1.2 Device Details 
Radio 
  Common TX/RX terminal simplifies external matching; eliminates external antenna switch 
  BIST minimises production test time 
  Bluetooth v2.1 + EDR specification compliant 
Transmitter 
  4dBm RF transmit power with level control from onchip 6-bit DAC over a dynamic range 
>30dB 
 Class 2 and Class 3 support without the need for an external power amplifier or TX/RX 
switch 
Receiver 
  Receiver sensitivity of -70dBm 
 Integrated channel filters 
  Digital demodulator for improved sensitivity and cochannel rejection 
  Real-time digitised RSSI available on HCI interface 
  Fast AGC for enhanced dynamic range 
Baseband and Software 
 Internal ROM 
  48KB of internal RAM, allows full-speed data transfer, mixed voice/data and full piconet 
support 
  Logic for FEC, HEC, access code correlation, CRC, demodulation, encryption bit stream 
generation, whitening and transmit pulse shaping 
  Transcoders for A-law, μ-law and linear voice from host and A-law, μ-law and CVSD voice 
over air 
  FastStream, CSR low latency codec significantly, reduces the latency of the audio link, 
from source to, sink, avoiding lip-sync issues when simultaneously listening to audio and 
watching video images 
  Bluetooth v2.1 + EDR specification Secure Simple Pairing support 
  DSP based single-microphone cVc echo and noise reduction is included in the BlueTunes 
ROM QFN 
  A new high-performance dual-microphone noise reduction is available in BlueTunes ROM 
QFN as a licensed option for an extra 20dB of noise suppression, order code 
BCSWCVCHS2MR3 
Physical Interfaces 
  Synchronous serial interface for system debugging 
 I
2C compatible interface to external EEPROM containing device configuration data (PS 
Keys) 
 UART interface 
  Two LED drivers with faders 
Kalimba DSP 
  Very low power Kalimba DSP co-processor, 64MIPS, 24-bit fixed point core 
  Support for SBC and MP3(1) codec for improved audio quality 
  Single-cycle MAC; 24 x 24-bit multiply and 56-bit accumulator 
  32-bit instruction word, dual 24-bit data memory 
  6K x 32-bit program RAM,8K x 24-bit +8K x 24- bit data RAM 
  64 x 32-bit program memory cache when executing from ROM 
Stereo Audio Codec 
  16-bit internal codec 
  DAC for stereo audio 
 ADC dual channel mono voice band audio 

 Integrated amplifiers for driving 16Ω speakers; no need for external components 
 Support for single-ended speaker termination and line output 
  Integrated low-noise microphone bias 
Auxiliary Features 
  Power management includes digital shutdown and wake-up commands with an integrated 
low-power oscillator for ultra-low power Park/Sniff/Hold mode 
  On-chip regulators: 1.5V output from 1.8V to 2.7V input 
  On-chip high-efficiency switched-mode regulator; 1.8V output from 2.7V to 4.4V input 
  Power-on-reset cell detects low supply voltage 
  10-bit ADC available to applications 
  On-chip 150mA charger for lithium ion/polymer batteries 
1.3 Specification 
Chipset  CSR BlueTunes ROM QFN 
Specification Version Bluetooth V2.1+EDR 
Power Class  Class 2 
Frequency Band  2400~2483.5MHz 
Max. Tx Power  -6~+4dBm 
RX Sensitivity  <-70dBm 
Distance >10m(No obstacle) 
ROM Size  64K 
Power Voltage  3.3V 
Supply Current  <40mA 
Operation Temperature  -10 ~ +45 ℃ 
Dimension  32mm(L)x 13.5 mm(W) x 1.2mm(H) 

2. Package Information 
2.1 Pinout  Diagram 
Figure 1: BC05 ROM Module Pinout (Top View) 

2.2 Terminal  Functions 
Pin Name  Pin Number  Description 
GND 1 Ground 
PIO4 2 
PIO5 3 
Programmable input/output line 
NC 4 NC 
GND 5 Ground 
GND 6 Ground 
AIO1 7 
AIO0 8 
Analogue programmable input/output line 
RESET 9 System Reset(Low Active) 
GND 10 Ground 
GND 11 Ground 
PIO10 12 
PIO11 13 
PIO12 14 
PIO13 15 
Programmable input/output line 
NC 16 NC 
VDD 17 
Positive supply for SPI/UART ports and PIO[13:10] 
&PIO[5:0] and EEPROM, Connect to 3.3V 
GND 18 Ground 
NC 19 NC 
NC 20 NC 
GND 21 Ground 
GND 22 Ground 
NC 23 NC 
NC 24 NC 
GND 25 Ground 
GND 26 Ground 
UART_RX  27  UART data input, active high 
UART_TX  28  UART data output, active high 
GND 29 Ground 
GND 30 Ground 
GND 31 Ground 
GND 32 Ground 
SPI_CSB  33  Chip select for SPI, active low 

SPI_MISO  34  SPI data output 
SPI_CLK 35 SPI clock 
SPI_MOSI  36  SPI data input 
VRE_IN 37 
Take high to enable high-voltage linear regulator 
and switch-mode regulator 
VDD_BAT 38 
Lithium ion/polymer battery positive terminal. 
Battery charger output and input to switch-mode 
regulator 
GND 39 Ground 
VDD_CHG  40  Battery charge input 
LED1 41 
LED0 42 
LED Driver 
GND 43 Ground 
SPK_L_N  44  Speaker output negative, left 
SPK_L_P  45  Speaker output positive, left 
SPK_R_N  46  Speaker output negative, right 
SPK_R_P  47  Speaker output positive, right 
GND_S 48 Signal Ground  
MIC_BIAS 49 Microphone bias 
MIC_B_P  50  Microphone input positive, right 
MIC_B_N  51  Microphone input negative, right 
MIC_A_P  52  Microphone input positive, left 
MIC_A_N  53  Microphone input negative, left 
GND 54 Ground 
PIO0 55 
PIO1 56 
PIO2 57 
PIO3 58 
Programmable input/output line 
GND 59 Ground 
RF  60  Transmitter output/switched receiver input 

2.3 Package  Dimensions 
Figure 2: BC05 ROM Module package Dimensions 
Ø0.45mm X 60 

3. Hardware Description 
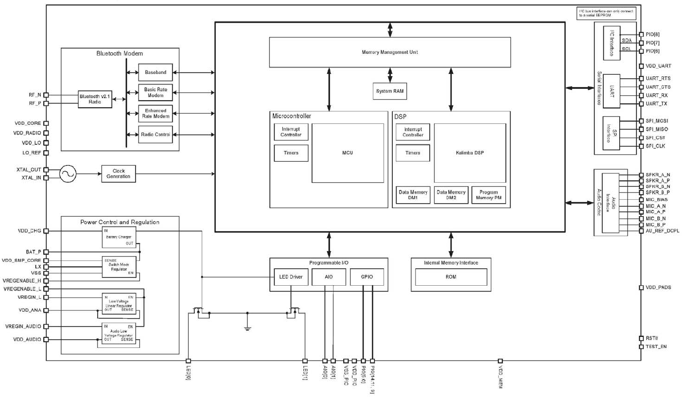
3.1 Block Diagram 
Figure 3: BC05 ROM Module Block Diagram 

3.2 RF Ports 
                         Figure 4: RF Ports Diagram 
RF_N and RF_P form a complementary balanced pair and are available for both transmit and 
receive. On transmit their outputs are combined using an external balun into the single-ended 
output required for the antenna. Similarly, on receive their input signals are combined internally. 
Both terminals present similar complex impedances that may require matching networks 
between them and the balun. 
An LC network: L9 and C1. This provides a DC bias for the BlueTunes ROM from the 1.5V rail. 
The T2 used to suppress the signal out of Bluetooth Frequency Band and enhance the EMC 
capacity. 
The DC level must be set at VDD_RADIO. 
3.3 UART Ports 
BC05 ROM Module UART interface provides a simple mechanism for communicating with 
other serial devices using the RS232 protocol. When BlueTunes ROM QFN is connected to 
another digital device, UART_RX and UART_TX transfer data between the two devices. 
The Baud rate of the UART ports: 
1200 baud (≤2%Error) 
Minimum  9600 baud (≤1%Error) 
Baud rate 
Maximum 4Mbaud (≤1%Error) 
4. Green Products and RoHS Compliance 
5. Reference 
1) BlueTunes ROM Product Data Sheet, CS-122312-DSP1   
2) Specification of the Bluetooth System, Version 2.1+EDR 
FCC Statement 
This equipment has been tested and found to comply with the limits for a Class B 
digital device, pursuant to Part 15 of the FCC Rules. These limits are designed to 
provide reasonable protection against harmful interference in a residential installation. 
This equipment generates, uses and can radiate radio frequency energy and, if not 
installed and used in accordance with the instructions, may cause harmful interference 
to radio communications. However, there is no guarantee that interference will not 
occur in a particular installation. If this equipment does cause harmful interference to 
radio or television reception, which can be determined by turning the equipment off 
and on, the user is encouraged to try to correct the interference by one of the 
following measures:   
- Reorient or relocate the receiving antenna.   
- Increase the separation between the equipment and receiver.   
- Connect the equipment into an outlet on a circuit different from that to which the 
receiver is connected.   
- Consult the dealer or an experienced radio/TV technician for help.   
FCC Caution:   
Any changes or modifications not expressly approved by the party responsible for 
compliance could void the user's authority to operate this equipment.   
This device complies with Part 15 of the FCC Rules. Operation is subject to the 
following two conditions:   
(1) This device may not cause harmful interference, and 
(2) This device must accept any interference received, including interference that may 
cause undesired operation. 
FCC Radiation Exposure Statement:     
This equipment complies with FCC radiation exposure limits set forth for an 
uncontrolled environment. This transmitter module must not be co-located or 
operating in conjunction with any other antenna or transmitter.     
The module must be installed in Sound Kick Audio System. 
This End equipment should be installed and operated with a minimum distance of 20 
centimeters between the radiator and your body. 
IMPORTANT NOTE:   
In the event that these conditions can not be met (for example certain laptop 
configurations or co-location with another transmitter), then the FCC authorization is 
no longer considered valid and the FCC ID can not be used on the final product. In 
these circumstances, the OEM integrator will be responsible for re-evaluating the end 
product (including the transmitter) and obtaining a separate FCC authorization. 
End Product Labeling     
The final end product must be labeled in a visible area with the following:      
“Contains FCC ID:UZZSFQ04A”. 
Manual Information to the End User     
The OEM integrator has to be aware not to provide information to the end user 
regarding how to install or remove this RF module in the user’s manual of the end 
product which integrates this module. 
Canada Statement     
This device complies with Industry Canada licence-exempt RSS standard(s). 
Operation is subject to the following two conditions: (1) this device may not cause 
interference, and (2) this device must accept any interference, including interference 
that may cause undesired operation of the device.   
Le présent appareil est conforme aux CNR d'Industrie Canada applicables aux 
appareils radio exempts de licence. L'exploitation est autorisée aux deux conditions 
suivantes : (1) l'appareil ne doit pas produire de brouillage, et (2) l'utilisateur de 
l'appareil doit accepter tout brouillage radioélectrique subi, même si le brouillage est 
susceptible d'en compromettre le fonctionnement. 
Caution Exposure: 
This device meets the exemption from the routine evaluation limits in section 2.5 of 
RSS102 and users can obtain Canadian information on RF exposure and compliance. 
Le dispositif répond à l'exemption des limites d'évaluation de routine dans la section 
2.5 de RSS102 et les utilisateurs peuvent obtenir des renseignements canadiens sur 
l'exposition aux RF et le respect. 
The final end product must be labelled in a visible area with the following:        
The Industry Canada certification label of a module shall be clearly visible at all times 
when installed in the host device, otherwise the host device must be labelled to 
display the Industry Canada certification number of the module, preceded by the 
words “Contains transmitter module”, or the word “Contains”, or similar wording 
expressing the same meaning, as follows:       
Contains transmitter module IC: 7633A-SFQ04A       
The module must be installed in Sound Kick Audio System. 
This End equipment should be installed and operated with a minimum distance of 20 
centimeters between the radiator and your body. 
Cet équipement devrait être installé et actionné avec une distance minimum de 20 
centimètres entre le radiateur et votre corps. 
The end user manual shall include all required regulatory information/warning as 
show in this manual.