Data Critical AVTS1030 Model AVTS1030, Rule Part 90.203(j)(7) User Manual UG First Pages p65
Data Critical Corporation Model AVTS1030, Rule Part 90.203(j)(7) UG First Pages p65
Contents
- 1. User Guide
- 2. Admin Manual
User Guide
EXHIBIT U – User Guide
FCC ID# NMEAVTS1030

Wireless Data Network System
User’s Guide
The AlarmView™ System is intended for use with Nellcor™ NPB-290,
NPB-295, N-395, and N-3000 Pulse Oximeters
AlarmView™ is a trademark of Data Critical Corporation.
Nellcor Puritan Bennett Inc. is a wholly owned subsidiary of Mallinckrodt
Inc. Nellcor™ is a trademark of Mallinckrodt Inc.
Microsoft® and Windows® CE are registered trademarks of Microsoft
Corporation.
Compaq® and Aero® are registered trademarks of Compaq Computer
Corporation.
All other trademarks and registered trademarks are the property of their
respective owners.
© 2000 Data Critical Corporation. All rights reserved.

Part #880-0325-01 Rev. A
Table of Contents
AlarmView™ Wireless Data Network System
User’s Guide
Table of Contents
Using this Guide .................................................................................... 1
Procedures ....................................................................................... 1
Warnings .......................................................................................... 1
Cautions ........................................................................................... 1
Notes ................................................................................................ 1
For More Information ........................................................................ 2
Safety Information ................................................................................. 3
System Warnings.............................................................................. 3
Section 1: AlarmView™ System Overview .......................................... 6
Introduction ....................................................................................... 6
AlarmView™ Transmitter .........................................................
6
AlarmView™ Pager ..................................................................
7
AlarmView™ Programmer .......................................................
7
Section 2: AlarmView™ Transmitter Overview ................................... 9
Transmitter Product Description ..................................................... 10
Top Panel...............................................................................
10
Antenna Connector ...................................................................... 10
On/Off Button ............................................................................... 11
Front Panel ............................................................................
11
AC Indicator ................................................................................. 11
Transmitting Indicator .................................................................. 12
Communications Indicator ........................................................... 12
Infrared Port ................................................................................. 13
Rear Panel .............................................................................
13
Monitor Input Port ........................................................................ 13
Power Input Port .......................................................................... 13

Part #880-0325-01 Rev. A
AlarmView™ System User’s Guide
Using the Transmitter ..................................................................... 14
Transmitter Placement ...........................................................
14
Turning Transmitter On ..........................................................
15
Turning Transmitter Off ..........................................................
17
Operating Transmitter On Battery Power........................................ 17
Testing System Setup ..................................................................... 17
Send Test Page .....................................................................
18
Section 3: AlarmView™ Pager Overview........................................... 19
Pager Product Description .............................................................. 19
Alarm Pages ................................................................................... 20
Alarm Page Event Levels ......................................................
20
Alarm Page Format................................................................
21
Alarm Page Types .................................................................
22
Alarm Pages ................................................................................ 22
System Error Pages ..................................................................... 23
Section 4: AlarmView™ Programmer Overview ............................... 25
Programmer Product Description.................................................... 26
Using the Programmer .................................................................... 27
Viewing and Editing Bed Numbers.........................................
28
Viewing and Editing Pager Numbers .....................................
31
Viewing and Changing Bed and Pager Assignments .............
33
Viewing Current Transmitter Assignments ..................................34
Changing Transmitter Assignments.............................................37
Assigning All Pagers from the Transmitter .............................
41
Setting Reminder Page Delay................................................
42
Section 5: Maintenance, Service, and Support................................. 47
Cleaning Procedures ...................................................................... 47
Inspection and Testing .................................................................... 47
Electromagnetic Interference (EMI) ................................................ 48
Appendix A: Basic Pager Functions................................................ A-1
Pager On/Off................................................................................. A-1
Power On .............................................................................
A-1
Power Off ............................................................................
A-2
Setting the Pager Functions ......................................................... A-2
Setting Tone .........................................................................
A-3
Setting Time.........................................................................
A-3

Part #880-0325-01 Rev. A
Table of Contents
Setting Date .........................................................................
A-4
Adjusting Screen Contrast ...................................................
A-4
Message Mode ............................................................................. A-4
Viewing Messages ...............................................................
A-4
Deleting Messages ..............................................................
A-5
Deleting a Single Message ........................................................ A-5
Delete All Messages at Once .................................................... A-5
Replacing Battery ......................................................................... A-6
Removing and installing the battery .....................................
A-6
Appendix B: Basic Programmer Functions .................................... B-1
Safety Information......................................................................... B-1
General Precautions ............................................................
B-1
Damage Requiring Service ..................................................
B-1
Servicing ..............................................................................
B-2
Heat .....................................................................................
B-2
Water and Moisture .............................................................
B-2
Accessibility .........................................................................
B-2
Internal Battery ....................................................................
B-2
Rechargeable Battery Pack .................................................
B-3
Programmer Functions ................................................................. B-3
Programmer On/Off ...................................................................... B-4
Turn on Backlight .......................................................................... B-4
Adjusting Screen Contrast ............................................................ B-5
Setting Date/Time ......................................................................... B-5
Batteries ....................................................................................... B-5
Recharging Main Programmer Battery ................................
B-6
Replacing Programmer Backup Battery...............................
B-7

Part #880-0325-01 Rev. A
AlarmView™ System User’s Guide

Using This Guide
Part #880-0325-01 Rev. A 1
Using this Guide
Procedures
As you work through this guide, steps to perform are numbered in
sequence. For example:
1. Turn monitor off or disconnect cable from transmitter.
2. Press On/Off button on transmitter.
Warnings
Warnings alert you to potential serious outcomes (including death,
injury, or adverse events) to the patient or user.
Warnings are identified by this symbol.
Cautions
Cautions alert you to actions or conditions necessary for the safe use of
the equipment to prevent damage or malfunction.
uCautions are identified by this symbol.
Notes
Notes provide additional tips or hints to make it easier for you to work
with the AlarmView System.

2 Part #880-0325-01 Rev. A
AlarmView™ System User’s Guide
!Notes are identified by this symbol.
For More Information
This guide contains instructions for the daily use of the
AlarmView System only.
For information on system applications, installation, program-
ming, testing and maintenance, refer to the
AlarmView Wireless
Data Networking System Administrator’s Manual
.

Safety Information
Part #880-0325-01 Rev. A 3
Safety Information
System Warnings
Prescription - Federal (USA) law restricts this device to sale by
or on the order of a physician.
Patient Monitoring – The most reliable method of patient
monitoring combines close personal surveillance with correct
operation of monitoring equipment.
Secondary Patient Monitoring System – The bedside monitor
and designated station make up the patient monitoring system.
Patient alarm conditions and notifications are primary functions
of the patient monitoring system. It is imperative that patient
alarm conditions be monitored at the primary monitor or
designated station. The AlarmView System is not intended
for use as the primary source for patient alarm notification.
Explosion Hazard – Do not use the AlarmView System in the
presence of flammable anesthetics, skin cleaning agents,
disinfectants or gases. Care must be taken when the device is
used in oxygen-enriched environments (where room air contains
25% or more oxygen or nitrous oxide).
Electrical Shock – To reduce the risk of electrical shock, do not
remove the cover of the AlarmView transmitter. Refer servicing
to qualified personnel. Do not spray or spill any liquid on the
AlarmView transmitter, power supply, pager, programmer, or any
accessories, connectors, switches or openings in the equipment.
Pacemaker Interference – The programmer’s speaker may
cause interference with some pacemakers when used in close
proximity. For patients with pacemakers, do not use the
AlarmView programmer near a patient’s chest area or place the
programmer on a patient’s chest.

4 Part #880-0325-01 Rev. A
AlarmView™ System User’s Guide
Radio Frequency (RF) Radiation Safety – The AlarmView
transmitter is designed for use as a mobile device as defined by
the Federal Communications Commission (FCC). Do not place
the transmitter on a patient’s or user’s body. Ensure that the
transmitter is located at least 20 cm (8 inches) from a patient or
user’s body. Location of the transmitter closer than 20 cm (8
inches) to a person’s body will void the user’s FCC authority to
operate the equipment.
Transmitter Placement – Do not place the AlarmView transmit-
ter in any position where it might fall on and potentially harm a
patient. Do not lift the transmitter or connected monitor by the
interface cable or power cord, as they may become discon-
nected and cause the transmitter and/or monitor to fall on and
potentially harm a patient.
Use During Defibrillation – The AlarmView transmitter is not
electrical shockproof. When attached to a monitor that is at-
tached to a patient during defibrillation or while an
electrosurgical unit is in use, the transmitter may temporarily
lose communication with the monitor and/or pages may be
delayed.
Transmitter Range – Users are not notified when the
AlarmView pagers are out of range of the AlarmView transmitter.
A range test must be performed (as indicated in the
Administrator’s Manual
) to determine system boundaries.
System Redundancy – To provide redundancy, the AlarmView
System should consist of at least two pagers. If one pager is not
receiving pages for any reason and the alarm is not silenced at
the monitor, the second pager will be notified by a reminder
page. If redundancy is not possible, caregivers should use extra
vigilance in monitoring the patient and use the primary monitor-
ing alarm.
Site Surveys – Each institution is responsible for surveying
existing equipment and ensuring no interference risk exists
when introducing additional devices.

Safety Information
Part #880-0325-01 Rev. A 5
Transmission Bands – Each institution is responsible for
continued surveillance of transmission bands in the facility to
prevent co-occupation of bands and cross-band interference.
Environment – Data Critical does not assume responsibility for
damage caused to the equipment by improper use or installa-
tion.
Home Use – The AlarmView System is not intended for home
use.
IEC Standards – When connecting the AlarmView transmitter to
any monitor, verify proper operation before clinical use. Both the
transmitter and the monitor connected to it must be connected to
a grounded outlet. Accessory equipment connected to the
monitor’s data interface must be certified according to IEC
Standard 950 for data-processing equipment or IEC Standard
60601-1 for electromedical equipment. All combinations of
equipment must be in compliance with IEC Standard 60601-1-1
systems requirements. Anyone who connects additional equip-
ment to the signal input port configures a medical system and is
therefore responsible for ensuring that the system complies with
the requirements of system standard IEC Standard 60601-1-1
and the electromagnetic compatibility system standard IEC
Standard 60601-1-2.

6 Part #880-0325-01 Rev. A
AlarmView™ System User’s Guide
Section 1: AlarmView™
System Overview
Introduction
The AlarmView System is a complete, secondary patient monitoring
system. AlarmView notifies caregivers of patient events using a wireless
network that supplements the primary notification system.
AlarmView is intended for use in hospitals and hospital-type facilities,
and is installed in care units where pulse oximetry monitors are used.
AlarmView consists of the following three basic components:
• Transmitter
• Pager
• Programmer
AlarmView™ Transmitter
At each bedside, a transmitter
connects to the data port on the
patient monitor. The transmitter
detects alarms identified by the
monitor, and sends the informa-
tion within seconds to one or

Part #880-0325-01 Rev. A 7
Section 1: AlarmView™ System Overview
more text pagers worn by caregivers.
AlarmView™ Pager
The pager is worn by the caregiver
responsible for the patient. It receives
Alarm Pages in the form of text
messages from the transmitter, and
displays immediate information about
the patient and type of alarm. If an alarm condition continues or
is not silenced at the monitor, a Reminder Page is sent to all
pagers on the AlarmView System.
AlarmView™ Programmer
The programmer is a handheld computing device used to define
or change bed and caregiver assignments, and to configure the
AlarmView transmitter.
An AlarmView System includes up to 24 transmitters (one for
each bedside oximetry monitor), up to 12 pagers, and one

8 Part #880-0325-01 Rev. A
AlarmView™ System User’s Guide
programmer. All transmitters and pagers within one system
operate on the same radio frequency and the same baud rate.
uThe AlarmView pager coverage is limited and designed to cover
a care unit only. Operating range from the AlarmView transmitter
to pager is approximately 150 feet with no intervening structures
(walls, columns, doors, floors, etc.). Coverage is not long range.
Exact coverage area will be determined during initial installation,
and you can re-examine the coverage area at any time by
performing a Transmitter Range Test (as indicated in the
Administrator’s Manual)
.
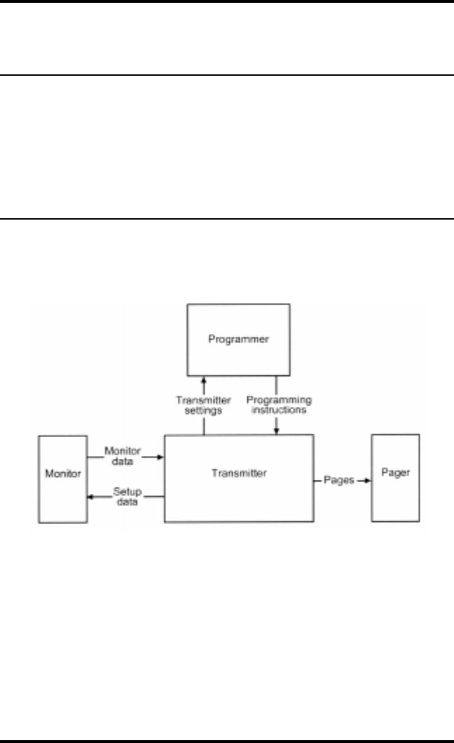
The system communicates as indicated in the diagram below:
AlarmView™ System Communication Flow Chart

Section 2: AlarmViewTM Transmitter Overview
Part #880-0325-01 Rev. A 9
Section 2: AlarmView™
Transmitter Overview
As with all medical equipment, carefully route patient cabling to
reduce the possibility of patient entanglement or strangulation.
Do not use an AlarmView transmitter, pager, or programmer that
appears to be damaged.
The AlarmView wireless data network system is a secondary
alarm notification system. The AlarmView System is intended to
supplement and not to replace any part of the hospital’s device
monitoring procedures (including procedures regarding bedside
pulse oximeters and responding to bedside oximeter alarms).
The delivery of pages cannot be guaranteed or verified. Do not
rely on the AlarmView System as the sole source of oximetry
alarms.
An AlarmView System must always consist of at least two
pagers, so that if one pager is temporarily not receiving pages
(for example, because the batteries are exhausted or the user is
out of range) and no one silences the alarm at the monitor, the
second pager will be notified via a reminder page.
To ensure accurate performance and prevent device failure, do
not subject the AlarmView System to extreme moisture, such as
direct exposure to rain. Such exposure may cause inaccurate
performance or device failure. The transmitter, transmitter
power supply, programmer and/or pager must be removed from
service if they ever become submerged in liquid.
The AlarmView transmitter interfaces with a pulse oximetry monitor.
Alarm settings and parameters are entered in the monitor – the transmit-
ter itself does not screen or select alarms.
When the pulse oximeter goes into alarm, the transmitter detects the

10 Part #880-0325-01 Rev. A
AlarmView™ System User’s Guide
alarm from the monitor, then transmits that alarm to an assigned pager
or pagers. The alarm is transmitted as a text message to the pager(s).
Data relayed includes patient bed number, alarm type, and parameter
values.
Transmitter Product Description
Top Panel
Transmitter Top View
Antenna Connector
Connector for the transmitter antenna.
uThe antenna must be connected to the transmitter before the
transmitter is turned on. Turning the transmitter on without the
antenna connected may damage the transmitter. Do not discon-
nect the antenna while the transmitter is turned on.
uFor best transmission range, the antenna must be pointing
straight up.

Section 2: AlarmViewTM Transmitter Overview
Part #880-0325-01 Rev. A 11
The AlarmView transmitter is designed for use as a mobile
device as defined by the Federal Communications Commission
(FCC). Do not place the transmitter on a patient’s or user’s body.
Ensure that the transmitter is located at least 20 cm (8 inches)
from a patient or user’s body. Location of the transmitter closer
than 20 cm (8 inches) to a person’s body will void the user’s
FCC authority to operate the equipment.
On/Off Button
Turns the transmitter on and off. Also used to initiate Test
Pages, and to assign All Pagers from the transmitter. (Refer to
Section 4: Using the Programmer
for an explanation of assigning
Test Pages and for an explanation of assigning All Pagers from
the transmitter.)
Front Panel
Transmitter Front View
AC Indicator
Off Transmitter is not connected to AC power.
Green Transmitter is connected to AC power and the battery is
charging.

12 Part #880-0325-01 Rev. A
AlarmView™ System User’s Guide
uA green AC indicator does not mean that the transmitter is
turned on, only that it is connected to power. The Communica-
tions Indicator must also be green or amber to show that the
transmitter is turned on.
Transmitting Indicator
Off Transmitter is not attempting to transmit.
Amber Transmitter is attempting to transmit, but cannot due to
interference (for example another transmitter is transmit-
ting at the same frequency and in the same vicinity).
Green Transmitter is transmitting a page.
uIf the Transmitting Indicator remains green for more than two
seconds, the transmitter is malfunctioning and should be taken
out of service. Contact Data Critical for repair or replacement.
uIf the Transmitting Indicator remains amber for more than 10
seconds, it may be an indication of interfering transmissions in
the vicinity. Contact the appropriate personnel at your facility for
an assessment.
Communications Indicator
Off Transmitter is turned off.
Amber Transmitter is turned on, but is either not connected to
the monitor,
or
is unable to communicate with the
monitor.
Green Transmitter is turned on and is communicating with the
monitor.

Section 2: AlarmViewTM Transmitter Overview
Part #880-0325-01 Rev. A 13
Infrared Port
Allows communication between the transmitter and the program-
mer.
Rear Panel
Transmitter Rear View
Monitor Input Port
Data port for interface cable that connects transmitter to monitor.
Power Input Port
Input connector for DC power supply.
Do not connect the AlarmView transmitter to an electrical outlet
controlled by a wall switch, because AC power may accidentally
be turned off.
To ensure patient safety, do not place the AlarmView transmitter
in any position that might cause it to fall on the patient.
Do not lift the transmitter by the data cable or power cord,
because the cable or cord could disconnect from the transmitter,
causing it to drop on the patient.

14 Part #880-0325-01 Rev. A
AlarmView™ System User’s Guide
Using the Transmitter
To install, setup, and test the transmitter, refer to the
AlarmView System
Administrator’s Manual
.
Transmitter Placement
1. Place transmitter on top of or beside the pulse oximeter it is
being used with.
To minimize the possibility of the transmitter creating interference with
the monitor, place the transmitter at the rear of the monitor. For best
results with N-395 monitors, place the transmitter to the right-rear of the
monitor.
Preferred N-395 Transmitter Placement

Section 2: AlarmViewTM Transmitter Overview
Part #880-0325-01 Rev. A 15
Turning Transmitter On
1. Check oximetry monitor to ensure it is on and functioning
properly, and that alarm settings are appropriate.
2. Check all transmitter connections:
a. Antenna is connected to transmitter,
b. Transmitter is plugged in and connected to power (AC
Indicator should be green),
c. Interface cable is connected to transmitter and to
monitor.
uThe antenna must be connected to the transmitter before the
transmitter is turned on. Turning the transmitter on without the
antenna connected may damage the transmitter. Do not discon-
nect the antenna while the transmitter is turned on.
uOnly use the power supply provided by Data Critical.
uA monitor that is running on battery will not communicate with
the transmitter, so the AlarmView System will not be able to
establish communication. The only exception is the Nellcor N-
395 monitor, which will continue to communicate with the
transmitter while operating on battery power.
3. Press On/Off button on top of transmitter
Indicators will flash on and off while the transmitter performs a
Power-On Self Test (POST) to check its function.
The Communications Indicator will turn green when the
transmitter has established communication with the monitor.

16 Part #880-0325-01 Rev. A
AlarmView™ System User’s Guide
The Transmitting Indicator will flash green, and the transmitter
will send a Communication Page to the assigned pager(s) to
confirm communication between transmitter and monitor. The
message will display:
Bed: 1234
Comm OK
All Pagers*
*All Pagers shows that the transmitter is set up to transmit to all
of the pagers on the AlarmView System. All Pagers will be
replaced with “Pager 1234” if one pager is assigned to the
transmitter, and “Pager 1234 5678” if two pagers are assigned to
the transmitter. The four (4) digits correspond to the last four (4)
digits of the assigned pager(s) cap code. (Refer to
Section 3:
AlarmView Pager Overview
for an explanation of cap codes.)
!Not receiving a “Comm OK” page at the assigned pagers is an
indication to check pager assignments at the transmitter, and
ensure that the pagers are turned on.
4. Verify that page is sent to the assigned pager(s) and that
bed number is correct.
The transmitter will now send pages to the assigned pager(s)
whenever it detects alarms identified by the monitor.

Section 2: AlarmViewTM Transmitter Overview
Part #880-0325-01 Rev. A 17
Turning Transmitter Off
The transmitter can be turned off only when it is not communi-
cating with the monitor. To turn the transmitter off:
1. Turn monitor off or disconnect interface cable from transmit-
ter or monitor. The Communications Indicator will turn amber
after a few seconds.
2. Press On/Off button. The Communications Indicator will turn
Off.
!If you disable communications between the transmitter and
monitor and do not turn off the transmitter, the transmitter will
send Communication Failure pages to assigned pagers at
periodic intervals for up to one hour. After an hour has passed,
the transmitter will automatically turn itself off.
Operating Transmitter On Battery Power
The transmitter has an internal, rechargeable battery. It can operate on
battery power for approximately 45 minutes if it becomes disconnected
from AC power.
The battery will automatically recharge when connected to AC power.
When the AC Indicator is green, it indicates that the transmitter is
connected to power, and that the internal battery is recharging. A
completely discharged battery takes approximately 17 hours to return to
full charge. The transmitter can be used while it is recharging.
Testing System Setup
You should test the AlarmView System setup by conducting a Test Page
when any changes affecting the system have occurred. The following
are examples of when a Test Page should be performed:
• A transmitter is setup for initial use.

18 Part #880-0325-01 Rev. A
AlarmView™ System User’s Guide
• A transmitter has been moved to a different monitor.
• You are concerned the system is not operating properly.
• Any of the transmitter or pager components appear to be or
could be damaged.
•Any of the transmitter or pager components have been
splashed with liquids (and component has been allowed to
dry for 24 hours and checked before returning to service).
Send Test Page
With transmitter turned on and communicating with monitor,
press and release On/Off button again.
All pagers assigned to the transmitter will display the following
page (if a patient is not connected to the sensor, dashes will be
displayed for SPO2 and pulse rate):
Bed: 1234
Test Page
SPO2: 83%
PR: 70 bpm*
* For the Nellcor N-3000 monitor, the last line of the test page
will display heart rate (HR), if available.

Section 3: AlarmViewTM Pager Overview
Part #880-0325-01 Rev. A 19
Section 3: AlarmView™ Pager
Overview
The AlarmView pager is worn by caregivers assigned to monitor pa-
tients. It is intended as an additional means of receiving patient alarm
information.
Within seconds of detecting an alarm identified by the oximetry monitor,
the transmitter sends an Alarm Page to its assigned pager(s) only. Each
transmitter can be programmed to send the initial Alarm Page to one
pager, two pagers, or all pagers.
Information communicated includes bed number, alarm type, and
parameter values, such as blood oxygenation (SPO2), pulse rate, or
heart rate that is outside alarm limits.
If the alarm condition continues or has not been silenced at the monitor,
the transmitter will follow up with a Reminder Page sent
once
to all
pagers in the system.
Pager Product Description
Below is a picture of a typical pager. Your pager may differ slightly from
the one shown here.
AlarmView™ Pager

20 Part #880-0325-01 Rev. A
AlarmView™ System User’s Guide
Because pager operations may vary in different models, the basic
functions of your pager are described in
Appendix A: Basic Pager
Functions
of this guide. Refer to Appendix A for instructions on the
following functions:
• Turning Pager On/Off
• Selecting Tone or Vibrate
• Setting Date/Time
• Adjusting Contrast
• Viewing and Deleting Pages
• Replacing Pager Battery
u Replace pager batteries weekly. If pager batteries are low or
depleted, the pager’s range may be reduced or the pager may
not correctly receive pages.
Alarm Pages
u The pager must be turned on to receive pages. Do not turn the
pager off at any time when being used for alarm notification.
Doing so may result in failure to receive notice of a patient
alarm.
Alarm Page Event Levels
Alarm pages are prioritized for four (4) event levels: 4=immedi-
ate, 3=high, 2=medium, 1=low.
Initial Alarm Messages with a 4 priority are sent to all pagers in
the system. Messages with priority 1, 2, or 3 are sent to as-
signed pager(s) only. Reminder Pages are sent to all pagers in
the system regardless of priority level.

Section 3: AlarmViewTM Pager Overview
Part #880-0325-01 Rev. A 21
When the transmitter generates a page, it is placed in a queue
that holds up to four pages while they are being processed.
Pages in the queue that have the same priority will be sent in
the order they were received. If a higher priority alarm occurs
while a lower priority page is being processed by the transmitter,
the higher priority alarm will be sent first.
If a new page is generated and the queue has four pages with a
higher priority, the new page will be discarded. If a new page is
generated, and the queue has four pages with a lower priority, it
will replace the oldest page with the lowest priority.
Alarm Page Format
The transmitter will send alarm pages to the pager in a format
similar to the following example:
Bed: 1234
Low Sat
SPO2: 83%
PR: 70 bpm*
*The first line displays the bed number of the patient being
monitored. The second line of the message will display the type
of alarm. All of the alarm types are listed in the following table.
The third and fourth lines display the SPO2 percentage and
pulse rate readings at the time of the alarm.
!If the page is sent from a transmitter attached to a Nellcor N-
3000 monitor with ECG and/or respiration capabilities, the last
line of the message will display the pulse rate, heart rate, or
respiration parameter that is outside alarm limits.

22 Part #880-0325-01 Rev. A
AlarmView™ System User’s Guide
Alarm Page Types
Alarm Pages
Message Description Priority
No Pulse, No Rdg Monitor is not detecting
patient motion or patient
pulse
3
Asystole Monitor is detecting no heart
rate 3
High Sat SPO2% has exceeded
monitor’s upper alarm limit 2
Low Sat SPO2% has fallen below the
monitor’s lower alarm limit 2
High PR Pulse rate has exceeded
monitor’s upper alarm limit 2
Low PR Pulse rate has fallen below
monitor’s lower alarm limit 2
High HR ECG measured heart rate
has exceeded monitor’s
upper alarm limit
2
Low HR ECG measured heart rate
has fallen below monitor’s
lower alarm limit
2
High Resp Rate Respiration rate has
exceeded monitor’s upper
alarm limit
2
Low Resp Rate Respiration rate has fallen
below monitor’s lower alarm
limit
2
Motion, No Rdg Monitor is detecting motion
and cannot determine a pulse 1

Section 3: AlarmViewTM Pager Overview
Part #880-0325-01 Rev. A 23
Message Description Pri
Tx Battery
Low/Shutting
Down
Transmitter operating on battery
power has depleted battery
charge and will shut down
immediately
Comm
Failure/Shutting
Down
Transmitter has not been able to
communicate with the monitor for
about an hour and is shutting
down
Sensor Disconn Sensor has become disconnected
from monitor during monitoring
ECG/RSP Cable
Dis ECG cable has become
disconnected from monitor or
ECG leads during monitoring
ECG/RSP Lead
Off ECG leads have become
disconnected from patient during
monitoring
ECG/RSP Noise Monitor has detected unwanted
noise in the ECG or respiration
signal
ECG/RSP Op
Fail Monitor’s ECG/Respiration
function is non-operational
Sensor Off SPO2 Sensor has become
disconnected from the patient
during monitoring
Low Mon
Battery Monitor’s battery is running low
(N-395 only. The other monitors
will not communicate when
running on battery.)
Low Tx Battery Transmitter
’
s battery is running
System Error Pages

24 Part #880-0325-01 Rev. A
AlarmView™ System User’s Guide
!Types of alarms depend on the functions of the monitor. Refer to
the monitor’s Operator’s Manual for a more complete listing of
alarm types.

Section 4: AlarmViewTM Programmer Overview
Part #880-0325-01 Rev. A 25
Section 4: AlarmView™
Programmer Overview
The AlarmView programmer is a handheld computing device, or per-
sonal digital assistant (PDA), that is used to setup and change the
configuration of the AlarmView transmitter. Use the programmer to
perform the following tasks:
• View or edit the list of bed numbers.
• View or edit the list of pager numbers and cap codes.
• View or change bed number and pager assignments.
• Set the Reminder Page Time Delay.
Changes and additions to bed numbers, pager numbers, and transmitter
assignments are entered in the programmer. Entered or changed data is
then sent to the transmitter via infrared (IrDA) ports on both the program-
mer and transmitter.
Information about the transmitter and monitor configuration can also be
retrieved from the transmitter to the programmer through the infrared
ports.
uThe programmer is to be used for the AlarmView System only.
Do not attempt to load or use other software with the program-
mer, as it may corrupt or damage system software.
The programmer’s speaker may cause interference with some
pacemakers when used in close proximity. Do not place the
programmer on a patient or operate near a patient’s chest area.
Do not carry the programmer in a breast pocket.

26 Part #880-0325-01 Rev. A
AlarmView™ System User’s Guide
Programmer Product Description
Below is a picture of a typical programmer. Your programmer may differ
slightly from the one shown here.
AlarmView™ Programmer
Because programmer operations may vary in different models, the basic
functions of your programmer are described in
Appendix B: Basic
Programmer Functions
of this guide. Refer to Appendix B for instructions
on the following functions:
• Turning Programmer On/Off
• Adjusting Contrast
• Turning on Backlight
• Recharging or Replacing Programmer Main Battery
• Replacing Programmer Backup Battery
• Setting Date/Time

Section 4: AlarmViewTM Programmer Overview
Part #880-0325-01 Rev. A 27
uKeep the programmer connected to the AC adapter and plugged
in when it is not in use to ensure the programmer is always fully
charged.
uEnsure that the programmer’s main batteries are charged and a
full backup battery is installed at all times or the AlarmView
software and hospital specific data may be lost.
u Do not remove both the main and backup batteries from the
programmer at the same time, as the AlarmView software and
hospital specific data will be lost.
u Use the stylus that came with the programmer or other stylus
designed specifically for use with a handheld computer. Use of
other pointed items such as pens and pencils may damage the
programmer screen.
Using the Programmer
The AlarmView System Manager (SysMgr) software will be installed and
running when you receive the programmer. When you turn the program-
mer on, you will see the SysMgr main screen, with three buttons for
Assignments, Admin, and Service.
For all programming functions, use the stylus to tap the appropriate spot
on the screen to perform the desired action.

28 Part #880-0325-01 Rev. A
AlarmView™ System User’s Guide
AlarmView System Manager Main Screen
You will also see a ÿ button in the lower left corner of the screen. The
Start button is used for installing and configuring the AlarmView System
only; you should not need it for daily use of the programmer.
A Keyboard button is in the middle of the screen. The keyboard
should be visible automatically when it is needed for programming.
However, if it is not visible, tap the Keyboard button to open it.
Some help screens are available in submenus. Tap Help button (in
upper left corner) to view the help screen. Tap the X in the upper right
corner of the screen to close help screen.
Viewing and Editing Bed Numbers
Turn the programmer on and use the following procedure to
view, add, delete, or edit bed numbers stored in the program-
mer:
1. From SysMgr Main Screen, tap Admin button .

Section 4: AlarmViewTM Programmer Overview
Part #880-0325-01 Rev. A 29
2. A warning screen appears, asking if you’re sure you wish to
continue. Tap YES to
view
bed numbers.
3. The current list of beds 1-24 is displayed. To display beds
25-48, tap Beds 25-48 tab.
4. a. To
edit
bed number, double-tap or drag stylus across
bed number to highlight it, and tap the keyboard characters
to enter desired bed number (maximum of six characters).

30 Part #880-0325-01 Rev. A
AlarmView™ System User’s Guide
b. To
delete
a bed number, highlight bed number and tap
the Backspace key until bed number field is empty.
c. To
add
a cap code (up to a total of 12), tap in an empty
cap code field and use the keyboard to enter the new
code.
5. If you make an error, tap the Backspace key on the key-
board to delete single characters, or tap RESTORE to
restore all values to what they were before you began
editing.
6. Tap SAVE to save your changes.
!After tapping SAVE, values cannot be restored. Repeat the edit
procedure to re-enter previous bed number.
7. Tap Exit button (in upper-right hand corner of the screen)
to return to SysMgr Main Screen. If you have made changes
and tap Exit before tapping Save, the programmer will
prompt you to “Save changes?” Tap Yes to save changes
and exit.
!IMPORTANT: When you save edits, entries are automatically
resorted alphabetically and numerically. The bed numbers you
changed or entered will move in the display to appear in their
new place in the sort, not necessarily in the field where you
made the changes. To view an edit you’ve made, look for the
bed number in its correct place in the alphanumeric sort.
!Lists of all bed numbers in the AlarmView System are retained
permanently in the programmer. The values in these lists are the
values that will be selectable when programming the transmitter.
These lists should be set up during installation of the AlarmView
System and should not be changed unless beds need to be
added or replaced.

Section 4: AlarmViewTM Programmer Overview
Part #880-0325-01 Rev. A 31
Viewing and Editing Pager Numbers
Pagers are identified in the system using a Cap Code. Cap
codes are 7-digit numbers unique to each pager. The seven (7)
digits correspond to the last seven digits of the pager’s serial
number (located on the back of the pager). If the serial number
is less than seven digits, then add zeros in front.
For example, if a pager’s serial number is 45678, its cap code is
0045678.
Turn the programmer on and use the following procedure to
view, add, delete, or edit pager cap codes stored in the program-
mer:
1. From SysMgr Main Screen, tap the Admin button .
2. A warning screen appears, asking if you’re sure you wish to
continue. Tap YES and current list of bed numbers 1-24 will
display.
3. To view pager cap codes, tap Pager tab. A list of up to 12
pagers and their cap codes is displayed.

32 Part #880-0325-01 Rev. A
AlarmView™ System User’s Guide
4. a. To
edit
pager cap codes, double-tap or drag the stylus
across a cap code to highlight it, and then tap on the
keyboard characters to enter the desired cap code
(must be seven (7) characters).
b. To
delete
a cap code, highlight the cap code and tap the
Backspace key until the cap code field is empty.
c. To
add
a cap code (up to a total of 12), tap in an empty
cap code field and use the keyboard to enter a new
code.
5. If you make an error, tap the Backspace key on keyboard to
delete single characters, or tap RESTORE to restore all
values to what they were before you began editing.
6. Tap SAVE to save your changes.
7. Tap Exit button to return to SysMgr Main Screen.

Section 4: AlarmViewTM Programmer Overview
Part #880-0325-01 Rev. A 33
!When you save edits to cap codes, entries are automatically
resorted in numeric order. The cap codes you changed or
entered will move in the display to appear in their new place in
the sort, not necessarily in the field where you made the
changes. To view an edit you’ve made, look for the cap code in
its correct place in the numeric sort.
!Lists of all cap codes in the AlarmView System are retained
permanently in the programmer. The values in these lists are the
values that will be selectable when programming the transmitter.
These lists should be set up during installation of the AlarmView
System and should not be changed unless pagers need to be
added or replaced.
Viewing and Changing Bed and Pager
Assignments
One bed is assigned to each transmitter. You must change the
bed number assignment if you move the transmitter to a different
bed or room.
One, two, or all pagers may be assigned to each transmitter. You
can change pager cap code assignments if caregivers or pagers
change. If you assign All Pagers, the transmitter will transmit to
all pagers on the AlarmView System.
uDo not exchange transmitters or pagers from different systems.
Because transmitters and pagers within a system operate on a
single, defined frequency, interchanged transmitters or pagers
will not correctly transmit or receive.

34 Part #880-0325-01 Rev. A
AlarmView™ System User’s Guide
Viewing Current Transmitter Assignments
To view and change the bed number and pager cap codes
assigned to a transmitter, first retrieve the current assignments
from the transmitter. Use the following procedure to get current
transmitter assignments:
1. Turn transmitter on.
2. Turn programmer on.
3. From SysMgr Main Screen, tap the Assignments button
.
The programmer will display the assignment screen. The Info
Line near the top of the screen will indicate that the programmer
is ready to “Assign Bed and Pagers.”
!Pager numbers on this screen show the last four digits of the
cap code only (which will also match the last four digits of the
pager serial number).

Section 4: AlarmViewTM Programmer Overview
Part #880-0325-01 Rev. A 35
4. Aim the infrared port on the programmer directly at the
infrared port on the front of the transmitter and tap the
CHECK button.
Aligning the Infrared Ports
!The programmer must be within four feet (1.2 meters) of the
transmitter and the infrared ports must be aimed directly at each
other.

36 Part #880-0325-01 Rev. A
AlarmView™ System User’s Guide
5. If the following error message is displayed, tap OK. Check
to ensure the transmitter is turned on, check the orientation
and the distance, then try again.
6. When retrieval of information from transmitter is successful,
the Info Line will change to read “Current Unit Assignment.”
The currently assigned bed number will be displayed in the bed
number field, and the currently assigned pager numbers will be
checked. The display will only show the last four digits of the
pager number.
In the next example, bed number 1733-B and pager 0027 is
assigned to this transmitter. Only pager 0027 will receive alarm
pages from this transmitter.

Section 4: AlarmViewTM Programmer Overview
Part #880-0325-01 Rev. A 37
Changing Transmitter Assignments
!The bed numbers and pagers may be selected and the transmit-
ter programmed without first retrieving the transmitter set up.
After you have retrieved the current transmitter assignments into
the programmer, use the following procedure to change the bed
number and cap code(s) assigned to the transmitter:

38 Part #880-0325-01 Rev. A
AlarmView™ System User’s Guide
1. To change bed number, tap the Down Arrow in the bed
number field. A current list of all bed numbers will be dis-
played. Continue to tap the Down Arrow until the bed
number you want is displayed.
2. Tap a new bed number from the list to assign it to this
transmitter.
3. To change pager numbers, tap the circles to the left of the
cap codes to select or deselect pager(s) to assign to this
transmitter.
You can select one pager, two pagers, or tap All Pagers to
assign all pagers in the system to this transmitter.
4. The Info Line will read “Now Press SEND Button” after you
have made your bed number and pager selections. Now you
need to program your new assignments into the transmitter.

Section 4: AlarmViewTM Programmer Overview
Part #880-0325-01 Rev. A 39
5. Ensure that transmitter is on and pagers assigned to this
transmitter are on.
6. Aim the infrared port on the programmer directly at the
infrared port on the front of the transmitter and tap the
SEND button.
!The programmer must be within four (4) feet (1.2 meters) of the
transmitter and the infrared ports must be aimed directly at each
other.
If you attempt to send, but have not selected either a bed
number or pager numbers, the following error message will
be displayed on the programmer. Tap OK, perform steps 2-4
above, and try again.

40 Part #880-0325-01 Rev. A
AlarmView™ System User’s Guide
7. The Info Line will display “Programming Successful” when
transmission is complete.
The transmitter will send a Confirmation Page to the assigned
pager(s) similar to the following example.
Bed: 1234
Programming OK
u If a Confirmation Page is not sent to the assigned pager(s), the
programming was not completed successfully. Repeat the
procedure and check for confirmation.

Section 4: AlarmViewTM Programmer Overview
Part #880-0325-01 Rev. A 41
!If the following error message is displayed on the programmer,
the programmer’s port could not be accessed. Use the stylus to
tap the reset button on the back of the programmer. This will
return you to the SysMgr Main Screen. Try the procedure again.
Refer to Appendix B for more information.
Assigning All Pagers from the Transmitter
The All Pagers option can also be selected from the transmitter
without using the programmer. The transmitter should be on, but
not communicating with a monitor.
1. Turn the transmitter on, but turn the monitor off or discon-
nect interface cable. The Communications Indicator
should be amber.
2. Turn on a pager.

42 Part #880-0325-01 Rev. A
AlarmView™ System User’s Guide
3. Press and hold the transmitter On/Off button until a “Pro-
gramming OK” confirmation message is received at the
pager (approximately 5 seconds).
Bed: 1234
Programming OK
All Pagers
Setting Reminder Page Delay
If an alarm condition continues or has not been silenced at the
monitor, the transmitter will follow up with a Reminder Page
sent
once
to all pagers in the system.
The format will be the same as the initial page, except that the
word “Rem” will be added to the first line. Current patient data at
the time the Reminder Page was transmitted are displayed.
Bed: 1234 REM
Test Page
SPO2: 83%
PR: 70 bpm
The Reminder Page will be sent only once. The time delay of
the reminder can be set using the programmer. Follow the next
procedure to view and change the time delay.
u The time delay interval is intended to be the same for the entire
system. When changing this value, you should program the
change into every transmitter in the system.

Section 4: AlarmViewTM Programmer Overview
Part #880-0325-01 Rev. A 43
1. Turn transmitter and programmer on.
2. From SysMgr Main Screen, tap the Service button .
3. The Info Line will read “Press CHECK Button.” Aim the
programmer’s infrared port directly at the infrared port on
the front of the transmitter and tap CHECK to retrieve the
current Reminder Page setting from the transmitter.
When retrieval of transmitter information is successful, the Info
Line will read “Current Transmitter Setup” and the current value
will appear in the Reminder Page field. In the next example, the
time delay is set at one minute (1 min).

44 Part #880-0325-01 Rev. A
AlarmView™ System User’s Guide
4. Tap the Down Arrow in Reminder Page field. A list of delay
intervals will display with 30 sec, 45 sec, 1 min, and 2 min
intervals. Tap the time delay value you want to store in
transmitter.
5. Now you need to program the changed value into the
transmitter. Aim the infrared port on the programmer directly
at the infrared port on the front of the transmitter and tap the
SEND button.

Section 4: AlarmViewTM Programmer Overview
Part #880-0325-01 Rev. A 45
Transmission is complete when the Info Line reads “Pro-
gramming Successful” and the pager receives a “Program-
ming OK” page.
6. Repeat step 5 for all transmitters in the system.
7. Tap the Exit button to return to SysMgr Main Screen.

46 Part #880-0325-01 Rev. A
AlarmView™ System User’s Guide

Section 5: AlarmViewTM Maintenance, Service and Support
Part #880-0325-01 Rev. A 47
Section 5: Maintenance, Service, and
Support
Cleaning Procedures
When necessary, clean only the outer casing of the transmitter with a
soft cloth, damp with a nonabrasive, commercial cleaner or 70% alcohol
solution in water. Lightly wipe surfaces of the transmitter.
Use a clean cloth designed for lenses to clean the pager and program-
mer screens. Use a damp cloth to dust their casings, and wipe dry
immediately.
uDo not spray, pour, or spill liquids on any part of the AlarmView
System components. Do not submerge any of the components in
liquids. If fluids are spilled on the equipment, take the equipment
out of service for at least 24 hours. Have appropriate service
personnel check the operation of the equipment before returning
to service.
Inspection and Testing
At least every two years, inspect the transmitter, pagers, cables and
programmer for mechanical and functional damage. Inspect safety labels
to ensure they are legible.
If any system components appear to be damaged, or subjected to
potential damage (such as being dropped or exposed to liquids), quali-
fied personnel should test the system using the procedures in the
AlarmView™ System
Administrator’s Manual.

48 Part #880-0325-01 Rev. A
AlarmView™ System User’s Guide
Electromagnetic Interference (EMI)
The AlarmView transmitter has been tested and found to comply with the
limits for medical devices to the FDA guidance for electromagnetic
compatibility (EMC). These limits are designed to provide reasonable
protection against harmful interference in a typical medical installation.
uIt is possible that high levels of radio frequency or conducted
frequency electromagnetic interference due to close proximity or
strength of source may result in performance disruption of
transmitter.
The transmitter is designed for use as a mobile device as
defined by the Federal Communications Commission (FCC). Do
not place the transmitter on a patient’s or user’s body. Ensure
that the transmitter is located at least 20 cm (8 inches) from a
patient or user’s body. Location of the transmitter closer than 20
cm (8 inches) to a person’s body will void the user’s FCC
authority to operate the equipment.
The Nellcor NPB-290, NPB-295, N-395, and N-3000 pulse oximetry
monitors are not designed for use in environments in which the pulse
can be obscured by EMI. Interference may cause measurements that
seem inappropriate or monitor may not seem to operate correctly. The
AlarmView System may generate alarms or error messages during these
conditions.
The AlarmView System generates, uses, and can radiate radio-fre-
quency energy and – if not installed and operated according to these
instructions – may cause interference with other devices in vicinity.
Evidence of disruption may include erratic readings, amber Tx LED,
equipment ceasing to operate, or other incorrect functioning. If this
occurs, survey the site to determine the source of disruption, and take
the following actions to eliminate the source(s):

Section 5: AlarmViewTM Maintenance, Service and Support
Part #880-0325-01 Rev. A 49
1. Turn equipment in vicinity off and on to isolate disruptive equip-
ment.
2. Relocate or re-orient interfering equipment.
3. Increase distance between interfering equipment and this
equipment.
4. Manage use of frequencies close to AlarmView System frequen-
cies.
5. Remove devices that are highly susceptible to EMI.
6. Lower power from internal sources within facility control (such as
paging systems).
7. Labeling will not eliminate interference with devices susceptible
to EMI.
8. Educate clinical staff to recognize potential EMI-related prob-
lems.
9. Eliminate or reduce EMI with technical solutions (such as
shielding).
10. Restrict use of personal communicators (cell phones, comput-
ers) in areas with devices susceptible to EMI.
11. Share relevant EMI information with others, particularly when
evaluating new equipment purchases which may generate EMI.
12. Purchase critical care equipment that complies with IEC 601-1-2
EMC Standards (3V/meter EMI immunity, limit interference level
to 0.0014 V/meter).
Use the following chart to estimate protective distance:

50 Part #880-0325-01 Rev. A
AlarmView™ System User’s Guide

Part #880-0325-01 Rev. A A-1
Appendix A: Basic Pager Functions
Appendix A: Basic Pager Functions
The following instructions are for the PerComm model PA8002 pager
only. If you have a different pager, contact your administrative personnel
or Data Critical for instructions.
Not all pager functions will be described here, only the basic functions
needed for AlarmView System operations.
!Pressing the left button multiple times will eventually take you
back to the pager’s main menu.
Pager On/Off
Power On
1. Press the key and wait until the screen shows “POWER
ON?”.
2. Press the key to confirm.

A-2 Part #880-0325-01 Rev. A
AlarmView™ System User’s Guide
3. The screen will show the Standby Screen in the normal
condition.
Main Screen
Power Off
1. Press the key to reach the Icon Screen:
2. Press the key to select the Power Off icon , then
press the key to display “POWER OFF?”.
3. Press the key again to confirm.
uThe pager must be turned on to receive pages. Do not turn the
pager off at any time when being used for alarm notification.
Doing so may result in failure to receive notice of a patient
alarm.
Setting the Pager Functions
Press the key twice to enter the Icon Screen mode.

Part #880-0325-01 Rev. A A-3
Appendix A: Basic Pager Functions
Setting Tone
1. To set the private alert tone, press or to highlight
Alert/Vibration/Sleep Mode button
and press to
select.
2. Press or to highlight the Alert icon .
3. Press to select.
4. Press the to scroll through alert tone options. Press
to confirm.
5. Repeat steps 1 through 4 to set public alert also.
uThe pager should never be used in Vibration Mode unless
absolutely necessary.
uWhen using the pager in Vibration Mode, it must be carried or
worn in a location where the vibration can be detected.
uDo not use Sleep Mode when using the pager for alarm
notification. Doing so will result in failure to receive notice of a
patient alarm.
Setting Time
1. From the Icon Screen, press or to select the Time/
Date Set icon
and press to select .
2. Press to select the Time icon
,
and press to
activate the time setting.
3. Press or to set the value and to confirm each
input.

A-4 Part #880-0325-01 Rev. A
AlarmView™ System User’s Guide
Setting Date
1. From the Icon Screen, press to select the Time/Date
Set icon , and press to activate the date format.
2. Press once to select the Date Format icon and press
to confirm.
3. Press or to select the format and press to
confirm.
Adjusting Screen Contrast
1. From the Icon Screen, press to select the Auto-scroll/
Contrast icon
and press to activate the Auto-
scroll/Contrast screen.
2. Press to go to the Contrast line.
3. On the Contrast line, press or to select the contrast
,
and press to confirm.
Message Mode
Viewing Messages
When paged, a unread message icon will appear on the
Standby Screen. The icon will remain until the page is read.
(The unread “private” message icon may also be displayed. All
Alarm View messages are sent as private messages.)
1. Press to read the message.
2. Press or keys to scroll forwards and backwards
through the messages.

Part #880-0325-01 Rev. A A-5
Appendix A: Basic Pager Functions
Deleting Messages
Deleting a Single Message
1. While reading the message, press .
2. Press once to select the Single Message Delete
icon.
3. Press to show “DELETE?”
4. Press again to confirm.
Delete All Messages at Once
1. Press to enter the message screen.
2. Press , then press twice to select the Delete All
Messages icon.
3. Press to show “DELETE ALL?”
4. Press again to confirm.

A-6 Part #880-0325-01 Rev. A
AlarmView™ System User’s Guide
Replacing Battery
Typical pager battery life under normal usage is one week. When the
battery is low, the user will be alerted by a tone, and the Standby Screen
will display the Low Battery icon . These alerts will subside only
when a fresh battery has been installed. The pager uses one AA Alka-
line battery.
A fresh battery must be installed within 5 minutes of alert, or all
data and memory could be erased.
Removing and installing the battery
1. Unlock the battery cabinet by sliding up the lock.
2. Slide the lid forward to open the cabinet. Remove old battery
and insert new one according to polarity diagram (+ - ).
1. 2.
Replacing Pager Battery
Dispose of old battery according to facility policy.
uReplace pager batteries weekly. If pager batteries are low or
depleted, the pager’s range may be reduced or the pager may not
correctly receive pages.

Part #880-0325-01 Rev. A Page B-1
Appendix B: Basic Programmer Functions
Appendix B: Basic Programmer
Functions
Safety Information
General Precautions
Retain the product’s safety and operating instructions for future
reference. Follow all operating and usage instructions. Observe
all warnings on the product and in the operating instructions.
To reduce the risk of fire, bodily injury, and damage to the
equipment, observe the following precautions:
Damage Requiring Service
Unplug the product from the electrical outlet and send to Data
Critical under the following conditions:
• The power cord, extension cord of plug is damaged.
• Liquid has been spilled or an object has fallen into the
product.
• The product has been exposed to water.
• The product has been damaged in any way.
• There are noticeable signs of overheating.
• The product does not operate normally when you follow the
operating instructions.

B-2 Part #880-0325-01 Rev. A
AlarmView™ System User’s Guide
Servicing
Except as explained elsewhere in the Compaq
documentation, do not service any Compaq
product yourself. Opening or removing covers
that are marked with the symbol to the left may
expose you to electric shock. Service needed
on components inside these compartments
should be done by Data Critical.
Heat
The product should be placed away from radiators, heat regis-
ters, stoves, or other pieces of equipment (including amplifiers)
that produce heat.
Water and Moisture
Do not use the product in a wet location.
Accessibility
Be sure that the power outlet you plug the power cord into is
easily accessible and located as close to the equipment opera-
tor as possible. When you need to disconnect power to the
equipment, be sure to unplug the power cord from the electrical
outlet.
Internal Battery
Your programmer may contain an internal battery-powered real-
time clock circuit. Do not attempt to recharge the battery, disas-
semble it, immerse it in water, or dispose of it in fire. Replace-
ment should be done by Data Critical using Data Critical spare
parts for the programmer.

Part #880-0325-01 Rev. A Page B-3
Appendix B: Basic Programmer Functions
Rechargeable Battery Pack
Do not crush, puncture, or incinerate the battery pack or short
the metal contacts. In addition, do not attempt to open or service
the battery pack.
Programmer Functions
The following instructions are for the Compaq® Aero® programmer
model only. If you have a different programmer, contact your administra-
tive personnel or Data Critical for instructions.
Not all programmer functions will be described here, only the basics
needed for AlarmView™ System operations. The left application button
at the bottom of the programmer will take you to the AlarmView System
Manager (SysMgr) main screen. The other three application buttons are
not used for the AlarmView System.
The stylus is stored in the top right corner of the programmer. The
infrared port (for retrieving and sending programming from/to the
AlarmView transmitter) is located on the top right corner of the program-
mer next to the stylus.

B-4 Part #880-0325-01 Rev. A
AlarmView™ System User’s Guide
Programmer On/Off
Press and release On/Off button at bottom center of programmer to turn
on and off.
Turn on Backlight
When the programmer is on, press and hold the On/Off button to turn on
or off the screen backlight.

Part #880-0325-01 Rev. A Page B-5
Appendix B: Basic Programmer Functions
Adjusting Screen Contrast
1. Press the Q button on the left side of programmer. The
QLaunch menu will appear on screen.
2. Tap Contrast, then Set Contrast.
3. Tap to increase or decrease contrast and tap OK in upper
right corner to return to the main screen.
Setting Date/Time
1. Tap Start button.
2. Tap Settings.
3. Tap System.
4. a. To change the time, tap Clock.
b. To change the date, tap Date.
5. Enter the new time or date, then tap OK to return to the
main screen.
Batteries
Typical battery life is one week, programming up to 24 transmitters, 3
times per day. The programmer uses a rechargeable battery pack as its
main power supply.

B-6 Part #880-0325-01 Rev. A
AlarmView™ System User’s Guide
To check current battery power:
1. Press the Q button.
2. Tap Power.
3. Tap OK to return to main screen.
The programmer also has a coin cell backup battery used to preserve
data and programming when main batteries have been drained or
removed from programmer.
u Store the programmer connected to the AC power jack when
not in use to ensure that the main battery pack stays charged.
Ensure that the programmer has charged main batteries and a
charged backup battery installed at all times, or programming
and data in the programmer will be lost.
Recharging Main Programmer Battery
1. Plug AC power cord into a properly grounded AC outlet.
2. It will start charging automatically. The amber battery
charging indicator light flashes.

Part #880-0325-01 Rev. A Page B-7
Appendix B: Basic Programmer Functions
Charge the battery for at least three (3) hours if the battery is not
charged.
Replacing Programmer Backup Battery
u To prevent the loss of data or programming, ensure that a fully-
charged main battery pack is in the programmer before remov-
ing the backup battery.
1. Turn off the programmer.
2. Press the recessed button on the back lower left corner of
the programmer with the stylus. The cover will pop open.
3. Take out the old battery. Insert a new battery according to
the diagram on the inside of the battery compartment.
4. Close the compartment door.
Data Critical Corporation
19820 North Creek Parkway, Suite 100
Bothell, WA 98011
1-888-881-1322
www.datacritical.com