LigoWave 27016G Broadband Digital Transmission System with WIFI User Manual 0
LigoWave Inc. Limited Broadband Digital Transmission System with WIFI 0
LigoWave >
Contents
- 1. user manual
- 2. User Manual
user manual

1
Installation Instructions
0.9m 5GHz Standard Performance Dual Polarization Antenna
Description
This antenna consists of a 0.9m reflector,feed and mounting bracket. The mounting bracket is designed
to attach the antenna to a vertical tower pipe of diameterφ60 toφ114mm(2.36”to 4.5”).
The mount also provides adjustment ranges of ±30°(±15°fine)elevation and ±180°(±15°fine)azimuth.
Notice
The installation instruction must be read before installing the antenna systems.
The installation, maintenance, or removal of antenna systems requires qualified, experienced
personnel.
Please verify that the polarization of antenna is required by system after having finished installation.
0.9m Standard Performance Antenna application

2
1. Installing the feed assembly
We should install the feed assembly in the reflector, and make the notch of feed locking plate align to
the the notch ,then lock it for hex screws M4×12 (4 pieces), as shown in Fig.1.
Fig.1 Installing Feed assembly
Hex screws M4×12(4件)
V-Polarization
Notch to notch
H-Polarization
Feed assembly
Notch to notch
H-Polarization
V-Polarization
2
Feed locking plate

3
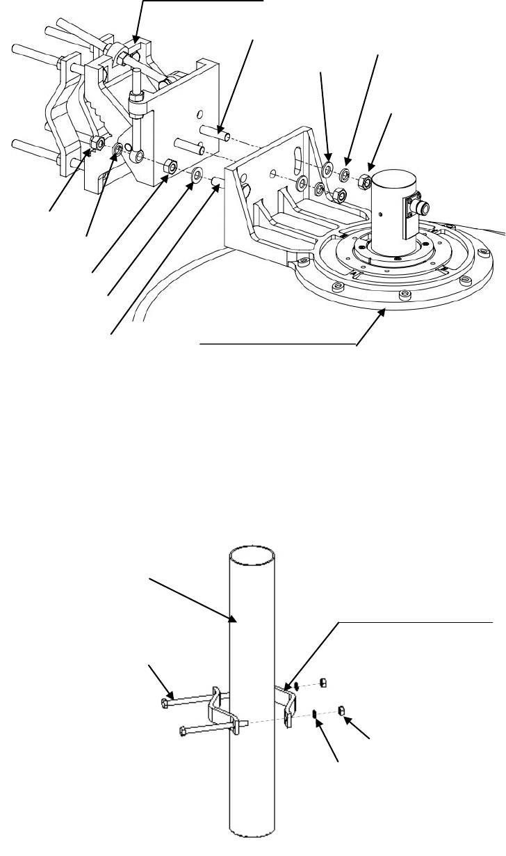
2. Installing the mounting bracket
At first, we should remove the nut , flat washer, spring washer ,then insert bolts in hole and lock the
nut (as show in Fig.2).
3. Installing the support band assembly
To ensure safety during mounting bracket and adjustment of the antenna, we should install the
support band assembly on pipe at the approximate location, and lock then by bolts M10×130, spring
washers and nuts (as show in Fig. 3).
Fig.3 Install support band assembly
Nut M10
Spring washer10
Bolts M10
×
130
Pipeφ60mm~φ114mm
(Supply by customers)
Support band assembly
4
Mounting bracket
Fig.2 Install Mount assembly
0.9m Reflector assembly
1
Nut M10
Spring washer 10
Flat washer 10
Bolt M10×30
3
Spring washer 10
Nut M10
Flat washer 10
Nut M10
Bolt M10×40

4
4. Installation of the antenna
Lifting and Installing the antenna on pipe, and have the antenna approximately aim at the direction
of communication, then tighten the mounting bracket by using boltM10(4sets) as shown in Fig.4.
Finally drill one holes (Φ13mm) on the proper position on the tower, connect one side of the
strengthening strut assembly to the hole by bolt M12, and connect the other side to reflector by bolt M12.
If it is not convenient to have the hole, one can reinforce the antenna by the reinforce assembly and the
U-bolt M12 to tower member (See Fig.4).
Note: Tighten all strut attachment hardware .
U-boltM12
Attach to tower member
Fig.6 Install antenna
tower pipe
Φ
60
~Φ
114mm
(supplied by customer)
Strengthening strut assembly
Bolt M12
Reinforce assembly
5
6
7
Tower member
Bolt M12 connect to hole(Φ13mm)
Or connect to reinforce assembly
Locking the nutM10
(4pieces)

5
5. Adjusting the azimuth and the elevation of antenna
After installed antenna and equipment, one can begin to adjust antenna. Loosen the nuts on the
orientation adjustment. Adjust the elevation and azimuth again and again, until the optimum orientation
of antenna is found. Re-tighten all the loosened bolt and nuts (See Fig.5).
Note: Tighten all strut attachment hardware after finishing all adjustment.
Loosen bolt to adjust azimuth
Loosen and rotate the
nuts to adjust azimuth
Loosen and rotate the nuts
to adjust elevation
Loosen the nut to adjust elevation
Loosen the nut to
adjust elevation
Loosen the nuts to
adjust azimuth
Loosen nuts to adjust azimuth
Fig.5 Adjust antenna
Loosen nuts to adjust azimuth

6
0.9m 5GHz Standard Performance Dual Polarization Antenna Packing List
Item Description Qty Remark
1 0.9m Reflector assembly 1 Include: Feed assembly, Reflector, etc.
2 Feed assembly 1 Include:Feed locking plate,Hex screws M4×12
3 Mounting bracket 1 Include: Bolt M10,nut, flat & spring washer
4 Support band assembly 1 Include: Bolt M10×130,nut, & spring washer
5 Strengthening strut assembly 1 Include: accessories ,boltM12, nut, washer
6 Reinforce assembly 1
7 U-bolt M12 1 Include: nut, washer
8 3mm hexagon ring spanner 1 Used to installing feed assembly
9 Installation instruction 1