MOBASE ELECTRONICS SEKS-SL11ARX Remote Keyless Entry System (receiver only) User Manual SL BCM FCC Marking 110405
Daedong Co. Ltd. Remote Keyless Entry System (receiver only) SL BCM FCC Marking 110405
User manual
1. GENERAL
1.1. Make
Shinchang Electrics Co.,Ltd.
1.2. Model No.
- Transmitter : SEKS-AM11ATx
- Receiver : SEKS-SL11ARX
1.3. Name and address of manufacturer
Shinchang Electrics Co.,Ltd.
734-2, Wonshi-dong, Danwon-gu, Ansan-si, Kyungki-do, 425-090, Korea
1.4. Address of assembly plant
Shinchang Electrics Co.,Ltd.
734-2, Wonshi-dong, Danwon-gu, Ansan-si, Kyungki-do, 425-090, Korea

2. PRODUCT SPECIFICATION
2.1 SCOPE OF REMOTE KEYLESS ENTRY SYSTEM
2.1.1 KEY PART : TRANSMITTER is inside of the REMOTE KEY, and it
sends the ROLLING CODE to the RECEIVER by Radio Frequency.
2.1.2 RECEIVER : It receives the ROLLING CODE and decodes that,
thereafter RECEIVER send CAN data and drives the Hazard Lamp.
2.2 SPECIFICATIONS
2.2.1 TRANSMITTER
2.2.2 RECEIVER
Storage temperature range -30 ~ 80℃
Modulation FSK
ITEM SPECIFICATION
Rated supply voltage DC 3V
Operating voltage range DC 2.5 ~ 3.2V
Operating temperature range -20 ~+60℃
Frequency 315.00MHz
Code Rolling Code(Hopping Algorithm)
Battery life 2 Year(10Times/Day)(Lithium 3V 1EA)
Electric field strength 10mW (433.92MHz)
Below than 5.5mA
Operating Temperature - 30 ~ + 80℃
Max Humidity 95%
Standby Current (in alarm setting condition)
Specification
Item
DC 9 ~ 16V Operating Voltage
DC 12V Rated Supply Voltage

3. USER MANUAL
3.1 NAME : BCM system
- This system is BCM and inculdes RKE.
- RKE in BCM system is intended for auto door lock or unlock or PANIC in vehicle.
- This BCM system is to be installed on motor vehicles as *OE item.
*OE : Original Equipment.
*BCM : Anti Theft Alarm System.
*RKE : Remote Keyless Entry.
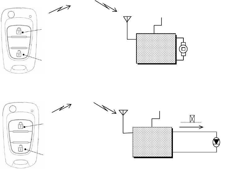
3.2 SYSTEM CONSTRUCTION
3.2.1 SYSTEM IN VEHICLE
3.2.1 SYSTEM FOR TEST
* Through the use of lamp, operating state is displayed by lamp.
lamp 'ON' means that actuator is operated by door lock or unlock or PANIC output signal.
ANTENNA BATTERY
DOOR
ACTUATOR
ROLLING
CODE
ANTENNA
RECEIVER
BATTERY
lamp
RECEIVER
LOCK or UNLOCK or PANIC DATA
ROLLING CODE
(315.00MHz)
3.3 Operating summary
① TRANSMITTER's button is pushed.
② TRANSMITTER sends the code by radio frequency.
③ RECEIVER gets the code and decodes it.
④ RECEIVER judges the code whether it is right code or not.
⑤ RECEIVER checks door lock or unlock
⑥ RECEIVER send lock or unlock CAN Data and drives the Hazard Lamp.
3.3.1 LOCK & UNLOCK
① If LOCK or UNLOCK button is pushed for less than 1 sec, then
TRANSMITTER sends the LOCK or UNLOCK DATA.
3.4 Caution
① Danger of explosion if battery is incorrectly replaced.
② Replace only with the same or equivalent type recommended by the manufacturer.
③ Dispose of used batteries according to the manufacturer's instructions.
